JP2013026729A - Image processing device, image forming device, image processing method, and computer program - Google Patents
Image processing device, image forming device, image processing method, and computer program Download PDFInfo
- Publication number
- JP2013026729A JP2013026729A JP2011158136A JP2011158136A JP2013026729A JP 2013026729 A JP2013026729 A JP 2013026729A JP 2011158136 A JP2011158136 A JP 2011158136A JP 2011158136 A JP2011158136 A JP 2011158136A JP 2013026729 A JP2013026729 A JP 2013026729A
- Authority
- JP
- Japan
- Prior art keywords
- image
- gradation
- correction
- input
- ratio
- Prior art date
- Legal status (The legal status is an assumption and is not a legal conclusion. Google has not performed a legal analysis and makes no representation as to the accuracy of the status listed.)
- Withdrawn
Links
- 238000012545 processing Methods 0.000 title claims abstract description 109
- 238000003672 processing method Methods 0.000 title claims description 6
- 238000004590 computer program Methods 0.000 title claims description 4
- 238000012937 correction Methods 0.000 claims abstract description 143
- 238000000034 method Methods 0.000 claims abstract description 83
- 230000015572 biosynthetic process Effects 0.000 claims description 26
- 238000003786 synthesis reaction Methods 0.000 claims description 23
- 230000008569 process Effects 0.000 claims description 14
- 238000009792 diffusion process Methods 0.000 claims description 13
- 230000007423 decrease Effects 0.000 claims description 4
- 230000007246 mechanism Effects 0.000 claims description 3
- 230000009467 reduction Effects 0.000 claims description 3
- 230000002194 synthesizing effect Effects 0.000 claims 2
- 238000006243 chemical reaction Methods 0.000 abstract description 4
- 239000002131 composite material Substances 0.000 abstract description 3
- 239000000203 mixture Substances 0.000 description 25
- 238000012546 transfer Methods 0.000 description 8
- 238000004458 analytical method Methods 0.000 description 7
- 238000003384 imaging method Methods 0.000 description 7
- 230000006870 function Effects 0.000 description 6
- 239000003086 colorant Substances 0.000 description 5
- 238000010586 diagram Methods 0.000 description 4
- 238000004364 calculation method Methods 0.000 description 2
- 238000004891 communication Methods 0.000 description 2
- 238000009795 derivation Methods 0.000 description 2
- 238000011161 development Methods 0.000 description 2
- 230000008901 benefit Effects 0.000 description 1
- 239000000284 extract Substances 0.000 description 1
- 238000010438 heat treatment Methods 0.000 description 1
- 230000004048 modification Effects 0.000 description 1
- 238000012986 modification Methods 0.000 description 1
- 230000002093 peripheral effect Effects 0.000 description 1
- 108091008695 photoreceptors Proteins 0.000 description 1
- 230000004044 response Effects 0.000 description 1
- 229920006395 saturated elastomer Polymers 0.000 description 1
- 239000004065 semiconductor Substances 0.000 description 1
- 238000011144 upstream manufacturing Methods 0.000 description 1
Images
Landscapes
- Image Processing (AREA)
- Facsimile Image Signal Circuits (AREA)
Abstract
Description
本発明は、画像の階調を再現するための画像処理をする装置、方法およびコンピュータープログラムに関する。 The present invention relates to an apparatus, a method, and a computer program for performing image processing for reproducing the gradation of an image.
面積階調によって中間調を再現する画像形成装置において、ディザ法や誤差拡散法といった階調再現方法を用いる画像処理が行なわれる。画像処理は多値の入力画像を作像機構の構成に適合する2値または多値の出力画像に変換する。この画像処理において、複数の階調再現方法を使い分けたり併用したりすることができる。すなわち、文字には高周波成分の再現性に優れる誤差拡散法を用い、写真には粒状性に優れるディザ法を用いるというように、画像属性に適した階調再現方法を選択的に用いる使い分け形式の画像処理が一般に行なわれている。また、一つの入力画像に複数の階調再現方法をそれぞれ用いて当該入力画像を変換し、得られた複数の画像を所定の比率で合成する併用形式の画像処理が知られている。 In an image forming apparatus that reproduces a halftone by area gradation, image processing using a gradation reproduction method such as a dither method or an error diffusion method is performed. In the image processing, a multi-value input image is converted into a binary or multi-value output image suitable for the configuration of the image forming mechanism. In this image processing, a plurality of gradation reproduction methods can be used properly or used together. In other words, selectively using a gradation reproduction method suitable for image attributes, such as using an error diffusion method with excellent reproducibility of high-frequency components for text and a dither method with excellent graininess for photographs. Image processing is generally performed. Also, a combined image processing is known in which an input image is converted into a single input image using a plurality of gradation reproduction methods, and the obtained images are synthesized at a predetermined ratio.
複数の階調再現方法を併用する画像処理では、合成の比率、すなわち複数の階調再現方法の配分を入力画像に応じて調整することにより、複数の階調再現方法のそれぞれの長所の生かされた画質の良好な出力画像を生成することができる。合成の比率の調整に関して、特許文献1において、多値画像中の所定画素数のブロック内の最大濃度と最小濃度とに基づいて、誤差拡散法とディザ処理法との分配比率を決定する画像処理装置が提案されている。特許文献2において、入力画像の特徴をウェーブレット解析し、判別した特徴に応じて合成比率を決定する画像処理装置が提案されている。 In image processing that uses multiple gradation reproduction methods, the advantage of each of the multiple gradation reproduction methods can be exploited by adjusting the composition ratio, that is, the distribution of the multiple gradation reproduction methods, according to the input image. An output image with good image quality can be generated. Regarding the adjustment of the composition ratio, in Japanese Patent Application Laid-Open No. 2004-228688, image processing for determining a distribution ratio between the error diffusion method and the dither processing method based on the maximum density and the minimum density in a block having a predetermined number of pixels in a multi-valued image. A device has been proposed. Patent Document 2 proposes an image processing apparatus that performs wavelet analysis on features of an input image and determines a composition ratio in accordance with the determined features.
複数の階調再現方法のそれぞれにより得られる複数の画像を合成する併用形式の画像処理において、合成の比率をどのように定めても、出力画像の濃度が再現したい入力画像の濃度よりも低くなるという問題のあることが判明した。 In combined image processing that combines multiple images obtained by each of multiple tone reproduction methods, the density of the output image is lower than the density of the input image that you want to reproduce, no matter how the composition ratio is determined. It turned out that there was a problem.
本発明は、複数の階調再現方法のそれぞれによる画像変換の結果を合成する画像処理の階調再現性を向上させることを目的としている。 An object of the present invention is to improve the gradation reproducibility of image processing for combining the results of image conversion by each of a plurality of gradation reproduction methods.
上記目的を達成する画像処理装置は、入力画像に対して濃度を増大させる階調補正を行なう入力階調補正部と、前記入力階調補正部によって階調補正された前記入力画像を、前記第1の階調再現方法を用いて、前記第1の階調再現方法の配分を定める第1の比率に応じた濃度を表す第1の画像に変換する第1処理部と、前記入力階調補正部によって階調補正された前記入力画像または階調補正されていない前記入力画像を、前記第2の階調再現方法を用いて、前記第2の階調再現方法の配分を定める第2の比率に応じた濃度を表す第2の画像に変換する第2処理部と、前記第1処理部によって得られる前記第1の画像と、前記第2処理部によって得られる前記第2の画像とを合成し、それによって出力画像を生成する合成部と、を備える。 An image processing apparatus that achieves the above object includes: an input tone correction unit that performs tone correction for increasing density of an input image; and the input image that has been tone-corrected by the input tone correction unit. A first processing unit that converts the first gradation reproduction method into a first image representing a density according to a first ratio that determines the distribution of the first gradation reproduction method, and the input gradation correction; A second ratio for determining the distribution of the second gradation reproduction method using the second gradation reproduction method for the input image subjected to gradation correction by the unit or the input image not subjected to gradation correction; A second processing unit that converts to a second image representing a density corresponding to the first image, the first image obtained by the first processing unit, and the second image obtained by the second processing unit. And a synthesis unit for generating an output image thereby.
本発明によれば、合成する複数の画像の間で濃度が0でない画素が重複することによって生じる濃度の低下が入力画像の階調補正によって補われるので、画像処理の階調再現性が向上する。 According to the present invention, the gradation reduction of the input image is compensated for the decrease in density caused by overlapping non-zero pixels among the plurality of images to be combined, so that the gradation reproducibility of the image processing is improved. .
面積階調による階調再現のための画像処理を画像形成装置が行なう例を挙げる。ただし、
画像形成装置とは別体の装置において画像処理を行ない、得られた画像を画像形成装置に入力して印刷することができる。また、画像処理の結果の用途は画像形成に限らず、例えば2値表示素子で構成される画面による画像表示のために画像処理を行なってもよい。
An example will be given in which the image forming apparatus performs image processing for gradation reproduction by area gradation. However,
Image processing can be performed in an apparatus separate from the image forming apparatus, and the obtained image can be input to the image forming apparatus and printed. Further, the use of the result of the image processing is not limited to image formation, and image processing may be performed for image display on a screen constituted by binary display elements, for example.
以下では、まず画像形成装置の構成を説明し、その後に画像形成装置1で行なわれる画像処理を説明する。
Hereinafter, the configuration of the image forming apparatus will be described first, and then image processing performed in the
図1に例示される画像形成装置1は、コピーおよびネットワークプリンティングを含む多様な用途をもつMFP(Multi-functional Peripheral)である。画像形成装置1は、電子写真法によってカラーまたはモノクロの画像を形成するタンデム式のプリンターエンジン10を備えている。プリンターエンジン10は、4個のイメージングユニット11,12,13,14を用いてイエロー(Y)、マゼンダ(M)、シアン(C)およびブラック(K)の4色のトナー像を並行して形成することができる。イメージングユニット11〜14は、像担持体としての感光体ドラム15,16,17,18を一つずつ有する。イメージングユニット11〜14のそれぞれにおいて、筒状の感光体の周囲に、現像器、プリントヘッド、帯電チャージャー、およびクリーナーといったトナー像の形成に必要な構成部品が配置されている。この画像形成装置1には、操作パネル35による直接の操作またはネットワークを介して接続される図示しない外部装置(典型的にはパーソナルコンピューター)からのアクセスによって、印刷ジョブが与えられる。印刷ジョブにはイメージスキャナー30によって原稿画像を読み取って複製するコピージョブが含まれる。例えば、カラー画像を形成する印刷ジョブが与えられたとき、画像形成装置1は次のように動作する。
An
イメージスキャナー30または外部装置から与えられる印刷対象の画像データに基づいて、画像形成装置1に実装されている電気回路100が、Y,M,C,Kの各色の露光パターンデータであるラスター画像を生成する。感光体ドラム15,16,17,18が回転する状態で、帯電した感光体に向けて各イメージングユニット11〜14のプリントヘッド22がレーザー光を照射する。このとき、プリントヘッドはラスター画像に従って光源を制御し、それによって感光体に対する色別の主走査を行なう。主走査と副走査(感光体の回転)とによって感光体上に静電潜像が形成される。現像形式が反転現像であるので、静電潜像の形成において感光体上のトナーを付着させるべきドット部分が露光され、その部分の電荷が他の部分の電荷よりも少なくなる。各イメージングユニット11〜14の現像器が感光体にトナーを吸着させて静電潜像に対応するトナー像を形成する。形成されたトナー像は、感光体の配列に沿って移動する無端の被転写体である中間転写ベルト25に一次転写される。トナー像の形成順序および一次転写の順序はイメージングユニット11〜14の配置によって決まっており、本例では上流側からY、M、C、Kの順である。
Based on image data to be printed supplied from the
用紙の1紙面あたり四つずつトナー像を形成する動作と並行して、多段式の用紙スタッカー40から図示しない用紙がピックアップローラー45によって取り出され、二次転写位置へ搬送される。二次転写位置は中間転写ベルト25と圧接ローラー26とがニップ部を形成するように対向する位置である。二次転写位置を通過する用紙に中間転写ベルト25から4色の重なり合ったトナー像が一括に二次転写される。その後、用紙は定着ユニット29の内部を通って排紙トレイ48上に排紙される。用紙が定着ユニット29を通過する際に、加熱・加圧を受けてトナーが溶融し、トナー像が印刷画像として用紙に定着する。
In parallel with the operation of forming four toner images per sheet surface, a sheet (not shown) is taken out from the
図2に示されるように、画像形成装置1は全体の制御を統括するメインコントローラー60を有する。メインコントローラー20によって、操作パネル35によるユーザーの指示および通信インタフェース66を介して通信する外部機器からの動作要求に応じて所定の制御が行なわれる。コピー動作においては、イメージスキャナー30が制御される。コピーを含む各種印刷動作では、プリンターエンジン10の制御を受け持つエンジンコントローラー80へメインコントローラー20から指示が与えられる。また、必要に応じて、内蔵のストレージ68としてのハードディスクドライブ(HDD)がメインコントローラー20によってアクセスされる。このようなメインコントローラー20は、制御プログラムや各種アプリケーションを実行するCPU(central processing unit)、制御プログラムを記憶するROM(Read Only Memory)およびプログラム実行のワークエリアとされるRAM(Random Access Memory)を有している。メインコントローラー20には、画像処理装置として機能するプリンターコントローラー70が含まれる。プリンターコントローラー70は、電気回路100において制御プログラムの実行によって実現される機能要素である。言い換えれば、CPU、RAM、ROMおよび他の回路部品で構成される電気回路100はプリンターコントローラー70の機能を実現する画像処理回路を含んでいる。
As shown in FIG. 2, the
図3はプリンターコントローラー70が実行する処理の概要を示している。プリンターコントローラー70は、印刷対象の画像データを受け付け(S71)、RGBからYMCKへの色変換処理を含むラスタライズジングを実行(S72)。そして、プリンターコントローラー70は、複数の階調再現方法を用いて、ラスタライズジングの結果である多値(例えば8ビット、256階調)のラスター画像データを露光制御用のラスターデータである出力画像データに変換する(S73)。
FIG. 3 shows an outline of processing executed by the
図4のように、プリンターコントローラー70は、解析部71と、ラスタライズ部72と、階調再現部73とを有する。プリンターコントローラー70は、印刷対象データD1を印刷するための4色のトナー像のそれぞれに対応する出力画像データD4y,D4m,D4c,D4kを生成する。プリンターコントローラー70には、コピー動作においてイメージスキャナー30からスキャン画像データが印刷対象データD1として入力され、ネットワークプリンティングおよびファクシミリ受信において通信インタフェース66から印刷対象データD1が入力される。また、画像形成装置1内で保存されているドキュメントを印刷する場合には、ストレージ68から印刷対象データD1がプリンターコントローラー70に入力される。
As shown in FIG. 4, the
解析部71は、印刷ジョブがネットワークプリンティングジョブである場合、ページ記述言語(Page Description Language :PDL)で記述された印刷対象データD1を解釈し、描画すべき内容を表す中間データを生成してラスタライズ部72に引き渡す。すなわち、中間データがこの場合の解析部71が出力するデータD2である。PDLで記述される描画すべき内容は、文字を表す「テキスト」、図形や線を表す「グラフィック」、およびラスター画像を表す「イメージ」の三つの属性(種類)に大別される。中間データには、ページ内の領域の属性を示す情報が含まれる。一方、コピージョブやファクシミリ受信ジョブのようにPDLで記述されていない画像データD1が入力される場合、解析部71は、印刷対象データD1を実質的にそのままデータD2としてラスタライズ部72に引き渡す。それとともに、解析部71は、印刷対象データD1から公知の領域判別技術を用いてテキスト領域およびグラフィック領域を抽出し、その結果を示す領域属性情報をラスタライズ部72および階調再現部73に与える。
When the print job is a network printing job, the
ラスタライズ部72は、解析部71から引き渡されたデータD2に対して、RGBからYMCKへの色変換処理を行ない、YMCKの4色のそれぞれに対応した多値のラスター画像データ(フレーム)D3y,D3m,D3c,D3kを生成する。
The rasterizing
階調再現部73は、複数の階調再現方法を用いて、ラスター画像データD3y,D3m,D3c,D3kを露光制御のためのラスター画像データD4y,D4m,D4c,D4kに変換する。階調再現部73によって生成されたラスター画像データD4y,D4m,D4c,D4kは、エンジンコントローラー80を介して4色のそれぞれに対応するプリントヘッドに送られ、半導体レーザーを光源とする露光の制御に用いられる。
The
図5は階調再現部73の機能構成を示している。図5においては、YMCKの4色のそれぞれについての処理が総括的に示されている。階調再現部73には入力画像データD3(上述のラスター画像データD3y,D3m,D3c,D3kの総称)が入力され、階調再現部73から出力画像データD4(上述のラスター画像データD4y,D4m,D4c,D4kの総称)が出力される。
FIG. 5 shows a functional configuration of the
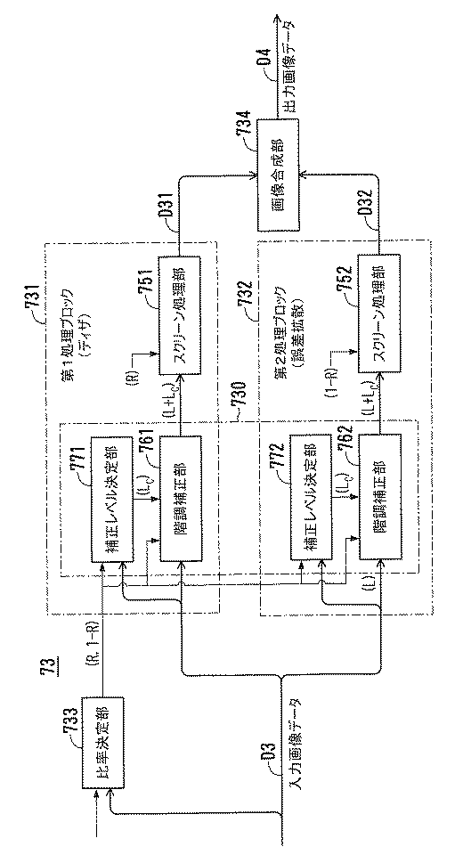
入力画像データD3は、第1の階調再現方法を用いる第1処理ブロック731と、第2の階調再現方法を用いる第2処理ブロック732と、複数の階調再現方法の適用に係る配分を決める比率決定部733とに入力される。比率決定部733は、入力画像における所定の区画ごとに配分を決定し、決定した配分を表す第1の合成比率(R)および第2の合成比率(1−R)を第1処理ブロック731および第2処理ブロック732へ出力する。本実施形態において、第1の階調再現方法はディザ法であり、第2の階調再現方法は誤差拡散法である。
The input image data D3 includes a
ここで、配分は、入力画像データD3がもつ濃度情報および上述の解析部71からの領域属性情報に基づいて決定される。例えば、写真領域に対してはディザ法の配分を大きくし、文字領域に対しては誤差拡散法の配分を大きくすることにより、写真領域の粒状性が良好でかつ文字領域の分解能が高い階調再現を実現することができる。
Here, the distribution is determined based on the density information of the input image data D3 and the region attribute information from the
第1処理ブロック731において、補正レベル決定部771が第1の合成比率(R)および第2の合成比率(1−R)に基づいて階調補正レベル(LC)を決定し、階調補正部761が入力画像データD3に対して階調補正レベル(LC)に応じた階調補正を行なう。そして、階調補正された入力画像データD3に対して、スクリーン処理部751がディザ法による階調再現処理(第1のスクリーン処理)を行う。第1処理ブロック731は、スクリーン処理部751によって得られた第1の画像データD31を画像合成部734へ出力する。階調補正レベルの決定方法および階調補正処理については後述する。
In the
第2処理ブロック732において、第1処理ブロック731と同様に、補正レベル決定部772が第1の合成比率(R)および第2の合成比率(1−R)に基づいて階調補正レベル(LC)を決定し、階調補正部762が階調補正レベル(LC)に応じた階調補正を入力画像データD3に対して行なう。そして、第2処理ブロック732では、階調補正された入力画像データD3に対して、スクリーン処理部752が誤差拡散法による階調再現処理(第2のスクリーン処理)を行う。第2処理ブロック732は、スクリーン処理部752によって得られた第2の画像データD32を画像合成部734へ出力する。
In the
画像合成部734は、第1の画像データD31と第2の画像データD32とを合成し、それによって出力画像データD4を生成する。ここでいう画像の合成は、合成する両画像データの論理和(OR)を画素単位で求める重ね合わせ処理である。すなわち、図6のように、合成画像の各画素は、合成する二つ画像における対応画素のうちの少なくとも片方がトナー像のドットに該当する濃度の0でない有色の画素(図中で塗り潰された画素)であれば、有色の画素となる。
The
図5の例示では、入力画像データD3に対して階調補正を実施する入力階調補正部730が、二つの補正レベル決定部771,772および二つの階調補正部761,762を有する。この構成においては、ディザ法と誤差拡散法とについて互いの間で補正量の異なる階調補正を実施することができるとともに、共通の階調補正を実施することもできる。ただし、共通の階調補正に限る場合には、一つの補正レベル決定部771と一つの階調補正部761とで入力階調補正部730を構成し、階調補正部761で補正した入力画像データD3を二つのスクリーン処理部751,752に共通に入力するようにしてもよい。
In the example of FIG. 5, the input
次に、入力階調補正部730の機能をさらに詳しく説明する。入力階調補正部730は、複数の階調再現方法を併用する画像処理の階調再現性を向上させるために設けられている。すなわち、図5の構成において、入力画像データD3に対して階調補正を行わずにそのまま入力画像データD3をスクリーン処理部751,752に入力して両スクリーン処理の結果を合成すると、出力画像データD4の示す濃度が、入力画像データD3の示す再現すべき濃度よりも低くなる。その理由は、一方のスクリーン処理部751が出力する画像データD31と他方のスクリーン処理部752が出力する画像データD32との間で、ドットに該当する有色の画素の重複が生じるからである。階調補正を行なわない場合の画像合成の様子が図7に模式的に示されている。
Next, the function of the input
図7において、入力画像内のある領域の濃度である目標階調(L)を、ディザ法の配分である第1の合成比率(R)を25%とし誤差拡散法の配分である第2の合成比率(1−R)を75%として再現する場合が例示されている。図示の想定では目標階調(L)が階調の最大値(最大濃度)の80%の階調レベルである。図7(A)のように、ディザ法については、目標階調(L)と第1の合成比率(R)との積(80%×25%)で定まる面積率20%のスクリーンMA20が適用される。誤差拡散法については、図7(B)のように、目標階調(L)と第2の合成比率(1−R)との積(80%×75%)で定まる面積率60%のスクリーンMA60が適用される。そして、図7(C)のようにスクリーンMA20とスクリーンMA60とを合成(重ね合わせ)すると、両スクリーン間で一部のドットが重なるので、合成画像M4zにおけるドット面積はスクリーンMA20のドット面積とスクリーンMA60のドット面積との和よりも小さくなる。その重複面積率は、ドット配置パターンに依存するものの、確率計算の上では、スクリーンMA20の面積率とスクリーンMA60の面積率との積とみなすことができる。重複面積率がドットの重複による階調再現の誤差の大きさを表す。 In FIG. 7, the target gradation (L) that is the density of a certain area in the input image is set to 25% for the first synthesis ratio (R) that is the distribution of the dither method, and the second that is the distribution of the error diffusion method. A case where the synthesis ratio (1-R) is reproduced as 75% is illustrated. In the illustrated assumption, the target gradation (L) is a gradation level of 80% of the maximum gradation value (maximum density). As shown in FIG. 7A, for the dither method, a screen MA20 having an area ratio of 20% determined by the product (80% × 25%) of the target gradation (L) and the first synthesis ratio (R) is applied. Is done. As for the error diffusion method, as shown in FIG. 7B, a screen with an area ratio of 60% determined by the product (80% × 75%) of the target gradation (L) and the second synthesis ratio (1-R). MA60 is applied. When the screen MA20 and the screen MA60 are combined (superposed) as shown in FIG. 7C, some dots overlap between the two screens, so the dot area in the combined image M4z is equal to the dot area of the screen MA20. It becomes smaller than the sum of the dot area of MA60. The overlapping area ratio depends on the dot arrangement pattern, but can be regarded as a product of the area ratio of the screen MA20 and the area ratio of the screen MA60 in terms of probability calculation. The overlapping area ratio represents the magnitude of the gradation reproduction error due to the overlapping of dots.
このようなドットの重複による濃度低下を見込んでスクリーン処理に先立って濃度を増大させる階調補正を行うことにより、入力画像データD3を出力画像データD4に変換する画像処理の階調再現性を向上させることができる。図8は階調補正を行なう場合の画像合成の様子を模式的に示している。 The gradation reproducibility of the image processing for converting the input image data D3 to the output image data D4 is improved by performing gradation correction for increasing the density prior to the screen processing in anticipation of the density reduction due to such overlapping of dots. Can be made. FIG. 8 schematically shows a state of image composition when gradation correction is performed.
図8において、図7の例と同様に第1の合成比率(R)を25%とし第2の合成比率(1−R)を75%として階調レベル80%の目標階調(L)を再現する場合が例示されている。図8の例示における階調補正レベルLCは、ディザ法と誤差拡散法とに共通である。図8(A)のように、ディザ法については、目標階調(L)に階調補正レベル(LC)を加えた階調レベル(L+LC)と第1の合成比率(R)との積で定まる所定面積率のスクリーンMA23が適用される。誤差拡散法については、図7(B)のように、目標階調(L)に階調補正レベル(LC)を加えた階調レベル(L+LC)と第2の合成比率(1−R)との積で定まる所定面積率のスクリーンMA63が適用される。これにより、図8(C)のように、目標階調(L)に合致する面積率80%の合成画像M4が生成される。 In FIG. 8, similarly to the example of FIG. 7, the first combination ratio (R) is set to 25%, the second combination ratio (1-R) is set to 75%, and the target gradation (L) at the gradation level of 80% is set. The case of reproduction is illustrated. The gradation correction level L C in the example of FIG. 8 is common to the dither method and the error diffusion method. As shown in FIG. 8A, in the dither method, the gradation level (L + L C ) obtained by adding the gradation correction level (L C ) to the target gradation (L) and the first synthesis ratio (R) A screen MA23 having a predetermined area ratio determined by the product is applied. As for the error diffusion method, as shown in FIG. 7B, the gradation level (L + L C ) obtained by adding the gradation correction level (L C ) to the target gradation (L) and the second synthesis ratio (1-R The screen MA63 having a predetermined area ratio determined by the product of As a result, as shown in FIG. 8C, a composite image M4 having an area ratio of 80% that matches the target gradation (L) is generated.
階調補正レベル(LC)は次のように第1の合成比率(R)と第2の合成比率(1−R)とによって決まる。
ここでは、
階調の最大値:L0
目標階調:L
階調補正レベル(第1スクリーン処理と第2スクリーン処理とで共通):LC
第1の合成比率:R
第2の合成比率:1−R
目標階調Lの面積率:SL=L/L0
補正後の階調レベルの面積率:SC=(L+LC)/L0
第1スクリーン処理の面積率:SC×R
第2スクリーン処理の面積率:SC×(1−R)
重複面積率:SC×R×SC×(1−R)=SC 2×R×(1−R)
とする。階調補正後の階調レベルの面積率SCが目標階調Lの面積率SLと等しくなればよいので、すなわち、第1、第2のスクリーン処理の面積率の和から重複面積率を差し引いた値が面積率SLの値と一致すればよいので、
SC・R+SC・(1−R)−SC 2・R・(1−R)=SL
を満たすLCを計算すればよい。階調補正レベルLCは下記の(1)式で表させる(導出の記述を省略)。
The gradation correction level (L C ) is determined by the first synthesis ratio (R) and the second synthesis ratio (1-R) as follows.
here,
Maximum gradation value: L 0
Target gradation: L
Tone correction level (common to the first screen process and the second screen process): L C
First synthesis ratio: R
Second synthesis ratio: 1-R
Area ratio of target gradation L: S L = L / L 0
Area ratio of gradation level after correction: S C = (L + L C ) / L 0
Area ratio of first screen processing: S C × R
Area ratio of second screen processing: S C × (1-R)
Overlap area ratio: S C × R × S C × (1−R) = S C 2 × R × (1−R)
And Since the area ratio S C of the gradation level after the gradation correction may if equal to the area ratio S L of target gradation L, that, first, overlap area ratio of the sum of the area ratio of the second screen processing the value obtained by subtracting may be consistent with the value of the area ratio S L,
S C · R + S C · (1-R) -S C 2 · R · (1-R) = S L
L C that satisfies the above may be calculated. The gradation correction level L C is expressed by the following equation (1) (description of derivation is omitted).
図9は二つのスクリーン処理部にそれぞれ与える入力画像に共通の階調補正を加える場合の第1の合成比率Rと階調補正レベルLCとの関係を示すグラフである。図9では目標階調Lが64,126,192のそれぞれである場合について、上記(1)式によって計算した階調補正レベルLCが示されている。図のように、第1の合成比率Rが50%のとき、すなわち第1の合成比率Rと第2の合成比率(1−R)とが等しいとき、階調補正レベルLCが最も大きい。そして、合成比率Rが50%より小さいほど階調補正レベルLCが小さく、階調補正レベルLCが50%より大きいほど階調補正レベルLCが小さい。つまり、第1の合成比率Rと第2の合成比率(1−R)との差が小さいほど階調補正レベルLCは大きい。 FIG. 9 is a graph showing the relationship between the first composition ratio R and the gradation correction level L C when common gradation correction is applied to the input images given to the two screen processing sections. FIG. 9 shows the gradation correction level L C calculated by the above equation (1) when the target gradation L is 64, 126, and 192, respectively. As shown in the figure, when the first composition ratio R is 50%, that is, when the first composition ratio R and the second composition ratio (1-R) are equal, the gradation correction level L C is the largest. The synthesis ratio R is small gradation correction level L C smaller than 50%, the gradation correction level L C is smaller gradation correction level L C larger than 50%. That is, the smaller the difference between the first synthesis ratio R and the second synthesis ratio (1-R), the greater the gradation correction level L C.
このような補正特性を特定する上記(1)式に基づいて、補正レベル決定部771,772(図5参照)は演算またはルックアップデーブルの参照によって階調補正レベルLCを決定し、階調補正部761,762が目標階調Lに階調補正レベルLCを加算する階調補正を行う。そして、スクリーン処理部751が補正後の階調レベル(L+LC)と第1の合成比率Rとに応じたスクリーン処理を行ない、スクリーン処理部752が補正後の階調レベル(L+LC)と第2の合成比率(1−R)とに応じたスクリーン処理を行う。
Based on the above equation (1) for specifying such correction characteristics, the correction
以上では第1処理ブロック731および第2処理ブロック732において共通の階調補正を行なう例を説明したが、階調再現方法ごとに異なる量の階調補正を行ってもよい。例えば、第1処理ブロック731に入力する入力画像データD3に対してのみ階調補正を行なってよい。ここでは、
階調の最大値:L0
目標階調:L
階調補正レベル(第1スクリーン処理のみ):LC
第1の合成比率:R
第2の合成比率:1−R
目標階調Lの面積率:SL=L/L0
補正後の階調レベルの面積率:SC=(L+LC)/L0
第1スクリーン処理の面積率:SC×R
第2スクリーン処理の面積率:SL×(1−R)
重複面積率:SC×R×SL×(1−R)
とする。この場合も階調補正後の階調レベルの面積率SCが目標階調Lの面積率SLと等しくなればよいので、
SC・R+SL・(1−R)−SC・SL・R(1−R)=SL
となるLCを計算すればよい。階調補正レベルLCは下記の(1)式で表させる(導出の記述を省略)。
In the above, an example in which the common gradation correction is performed in the
Maximum gradation value: L 0
Target gradation: L
Tone correction level (first screen processing only): L C
First synthesis ratio: R
Second synthesis ratio: 1-R
Area ratio of target gradation L: S L = L / L 0
Area ratio of gradation level after correction: S C = (L + L C ) / L 0
Area ratio of first screen processing: S C × R
Area ratio of second screen processing: S L × (1-R)
Overlap area ratio: S C × R × S L × (1-R)
And Also in this case, the area ratio S C of the gradation level after gradation correction should be equal to the area ratio S L of the target gradation L.
S C · R + S L · (1−R) −S C · S L · R (1−R) = S L
L C can be calculated as follows. The gradation correction level L C is expressed by the following equation (1) (description of derivation is omitted).
図10は二つのスクリーン処理部の一方に階調補正をした入力画像を与え、他方に階調補正をしていない入力画像を与える場合の、第1の合成比率Rと階調補正レベルLCとの関係を示すグラフである。図10では目標階調Lが64,126,192のそれぞれである場合について、上記(2)式によって計算した階調補正レベルLCが示されている。図のように、この場合の補正特性は、階調補正をした入力画像に対応する合成比率Rが大きいほど階調補正レベルLCが小さい特性となる。 FIG. 10 shows the first composition ratio R and the gradation correction level L C when an input image with gradation correction is given to one of the two screen processing units and an input image without gradation correction is given to the other. It is a graph which shows the relationship. FIG. 10 shows the gradation correction level L C calculated by the above equation (2) when the target gradation L is 64, 126, and 192, respectively. As shown in the figure, the correction characteristic in this case is such that the gradation correction level L C becomes smaller as the composition ratio R corresponding to the input image subjected to gradation correction is larger.
以上の実施形態の変形として、例えば、第1のスクリーン処理の面積率または第2のスクリーン処理の面積率が予め決められた閾値を超える場合には、閾値を超える方のスクリーン処理の入力画像には階調補正を行わず、他方のスクリーン処理の入力画像に対してのみ階調補正を行ってもよい。これは、高濃度側の階調が階調補正を行なったがために飽和してしまう不都合を防ぐためである。 As a modification of the above embodiment, for example, when the area ratio of the first screen process or the area ratio of the second screen process exceeds a predetermined threshold, the input image of the screen process that exceeds the threshold is used. May not perform gradation correction, and may perform gradation correction only for the input image of the other screen processing. This is to prevent the disadvantage that the gradation on the high density side is saturated due to the gradation correction.
さらに、階調補正を実施する条件を画像形成装置1のユーザーまたはサービスパーソンが指定するためのマンマシンインタフェースを設けてもよい。例えば、図11に示すような操作画面Q10を操作パネル35のディスプレイ351に表示させることにより、階調補正を行なうべき階調レベル範囲の上限を指定する操作が可能となる。操作画面Q10は、操作者が上限としたい階調レベルまたは合成比率を数値入力する領域903,904を有している。
Further, a man-machine interface may be provided for the user of the
上述の実施形態によれば、スクリーン処理に先立って入力画像の濃度を大きくする階調補正を行うので、複数のスクリーン処理の結果を合成する際のドットの重複に起因する出力画像の濃度不足が軽減される。(1)式または(2)式に基づいて階調補正レベルLCを決定するので、入力と出力とで誤差の小さい階調再現が実現される。 According to the above-described embodiment, gradation correction for increasing the density of the input image is performed prior to the screen processing, so that there is insufficient output image density due to overlapping of dots when combining the results of a plurality of screen processing. It is reduced. Since the gradation correction level L C is determined based on the expression (1) or (2), gradation reproduction with a small error between the input and the output is realized.
上述の実施形態において、適用する階調再現方法はディザ法と誤差拡散法との組み合わせに限らない。例えば、スクリーンパターンの異なる2種のディザ法を併用する場合にも本発明を適用することができる。階調補正部73の機能を例示のようにソフトウェアによって実現してもよいし、当該機能の全部または一部をハードウェアによって実現してもよい。
In the above-described embodiment, the gradation reproduction method to be applied is not limited to the combination of the dither method and the error diffusion method. For example, the present invention can be applied to a case where two types of dither methods having different screen patterns are used in combination. The function of the
1 画像形成装置
70 プリンターコントローラー(画像処理装置)
100 電気回路(画像処理回路)
D3 入力画像データ(入力画像)
730 入力階調補正部
R 合成比率(第1の比率)
D31 第1の画像
751 スクリーン処理部(第1処理部)
(1−R) 合成比率(第2の比率)
D32 第2の画像
752 スクリーン処理部(第2処理部)
D4 出力画像
734 画像合成部(合成部)
10 プリンターエンジン(作像機構)
Q10 画面(マンマシンインタフェース)
1 Image forming
100 Electrical circuit (image processing circuit)
D3 Input image data (input image)
730 Input tone correction unit R Composition ratio (first ratio)
D31
(1-R) Composition ratio (second ratio)
10 Printer engine (imaging mechanism)
Q10 screen (man-machine interface)
Claims (13)
入力画像に対して濃度を増大させる階調補正を行なう入力階調補正部と、
前記入力階調補正部によって階調補正された前記入力画像を、前記第1の階調再現方法を用いて、前記第1の階調再現方法の配分を定める第1の比率に応じた濃度を表す第1の画像に変換する第1処理部と、
前記入力階調補正部によって階調補正された前記入力画像または階調補正されていない前記入力画像を、前記第2の階調再現方法を用いて、前記第2の階調再現方法の配分を定める第2の比率に応じた濃度を表す第2の画像に変換する第2処理部と、
前記第1処理部によって得られる前記第1の画像と、前記第2処理部によって得られる前記第2の画像とを合成し、それによって出力画像を生成する合成部と、を備える
ことを特徴とする画像処理装置。 An image processing apparatus that performs image processing using a first gradation reproduction method and a second gradation reproduction method,
An input tone correction unit that performs tone correction to increase the density of the input image;
Using the first tone reproduction method, the input image that has been tone-corrected by the input tone correction unit has a density corresponding to a first ratio that determines the distribution of the first tone reproduction method. A first processing unit for converting into a first image to be represented;
Using the second gradation reproduction method, the second gradation reproduction method is used to distribute the input image that has undergone gradation correction by the input gradation correction unit or the input image that has not undergone gradation correction. A second processing unit for converting to a second image representing a density according to a second ratio to be determined;
A synthesis unit that synthesizes the first image obtained by the first processing unit and the second image obtained by the second processing unit, thereby generating an output image. An image processing apparatus.
請求項1記載の画像処理装置。 The input gradation correction unit, as the gradation correction, the first ratio and the second ratio so that the amount of increase in density increases as the difference between the first ratio and the second ratio decreases. The image processing apparatus according to claim 1, wherein the correction is performed to increase the density in accordance with the ratio.
前記第1処理部は、前記第1の階調補正が加えられた前記入力画像を前記第1の画像に変換し、
前記第2処理部は、前記第2の階調補正が加えられた前記入力画像を前記第2の画像に変換する
請求項1または2記載の画像処理装置。 The input gradation correction unit performs first gradation correction and second gradation correction having a correction amount different from that of the first gradation correction as the gradation correction,
The first processing unit converts the input image to which the first gradation correction has been applied into the first image;
The image processing apparatus according to claim 1, wherein the second processing unit converts the input image to which the second gradation correction has been added into the second image.
前記画像処理回路は、
入力画像に対して濃度を増大させる階調補正を行なう入力階調補正部と、
前記入力階調補正部によって階調補正された前記入力画像を、前記第1の階調再現方法を用いて、前記第1の階調再現方法の配分を定める第1の比率に応じた濃度を表す第1の画像に変換する第1処理部と、
前記入力階調補正部によって階調補正された前記入力画像または階調補正されていない前記入力画像を、前記第2の階調再現方法を用いて、前記第2の階調再現方法の配分を定める第2の比率に応じた濃度を表す第2の画像に変換する第2処理部と、
前記第1処理部によって得られる前記第1の画像と、前記第2処理部によって得られる前記第2の画像とを合成し、それによって出力画像を生成する合成部と、を備える
ことを特徴とする画像形成装置。 An image forming apparatus comprising: an image processing circuit that performs image processing using a first gradation reproduction method and a second gradation reproduction method; and an image forming mechanism that prints an image generated by the image processing circuit. ,
The image processing circuit includes:
An input tone correction unit that performs tone correction to increase the density of the input image;
Using the first tone reproduction method, the input image that has been tone-corrected by the input tone correction unit has a density corresponding to a first ratio that determines the distribution of the first tone reproduction method. A first processing unit for converting into a first image to be represented;
Using the second gradation reproduction method, the second gradation reproduction method is used to distribute the input image that has undergone gradation correction by the input gradation correction unit or the input image that has not undergone gradation correction. A second processing unit for converting to a second image representing a density according to a second ratio to be determined;
A synthesis unit that synthesizes the first image obtained by the first processing unit and the second image obtained by the second processing unit, thereby generating an output image. Image forming apparatus.
請求項4記載の画像形成装置。 The input gradation correction unit, as the gradation correction, the first ratio and the second ratio so that the amount of increase in density increases as the difference between the first ratio and the second ratio decreases. The image forming apparatus according to claim 4, wherein the correction is performed to increase the density in accordance with the ratio.
前記第1処理部は、前記第1の階調補正が加えられた前記入力画像を前記第1の画像に変換し、
前記第2処理部は、前記第2の階調補正が加えられた前記入力画像を前記第2の画像に変換する
請求項4または5記載の画像形成装置。 The input gradation correction unit performs first gradation correction and second gradation correction having a correction amount different from that of the first gradation correction as the gradation correction,
The first processing unit converts the input image to which the first gradation correction has been applied into the first image;
The image forming apparatus according to claim 4, wherein the second processing unit converts the input image to which the second gradation correction has been applied into the second image.
請求項4ないし6のいずれかに記載の画像形成装置。 The image forming apparatus according to claim 4, wherein the input tone correction unit increases the density of only a portion of the input image that is equal to or lower than a set density.
請求項7記載の画像形成装置。 The image forming apparatus according to claim 7, further comprising a man-machine interface for an operation of designating the set density.
請求項4ないし8のいずれかに記載の画像形成装置。 The image forming apparatus according to claim 4, wherein one of the first gradation reproduction method and the second gradation reproduction method is a dither method and the other is an error diffusion method.
入力画像に対して濃度を増大させる階調補正を行ない、
階調補正された前記入力画像を、前記第1の階調再現方法を用いて、前記第1の階調再現方法の配分を定める第1の比率に応じた濃度を表す第1の画像に変換し、
階調補正された前記入力画像または階調補正されていない前記入力画像を、前記第2の階調再現方法を用いて、前記第2の階調再現方法の配分を定める第2の比率に応じた濃度を表す第2の画像に変換し、
前記第1の画像と前記第2の画像とを合成し、それによって出力画像を生成する
ことを特徴とする画像処理方法。 An image processing method using a first gradation reproduction method and a second gradation reproduction method,
Perform tone correction to increase the density of the input image,
The gradation-corrected input image is converted into a first image representing a density corresponding to a first ratio that determines the distribution of the first gradation reproduction method, using the first gradation reproduction method. And
The input image that has been subjected to gradation correction or the input image that has not been subjected to gradation correction is used in accordance with a second ratio that determines the distribution of the second gradation reproduction method using the second gradation reproduction method. Converted into a second image representing the measured density,
An image processing method comprising: synthesizing the first image and the second image, thereby generating an output image.
請求項10記載の画像処理方法。 Density reduction due to overlapping of dots, determined by applying a product of the first ratio and the second ratio as the degree of overlap between the dots of the first image and the dots of the second image The image processing method according to claim 10, wherein the correction amount for the gradation correction is determined based on an arithmetic expression that determines a correction amount that compensates for the minute.
請求項11記載の画像処理方法。 In the gradation correction, the density is increased in accordance with the first ratio and the second ratio so that the amount of increase in density increases as the difference between the first ratio and the second ratio decreases. The image processing method according to claim 11, wherein the correction is performed.
入力画像に対して濃度を増大させる階調補正を行なう入力階調補正処理と、
前記入力階調補正処理によって階調補正された前記入力画像を、前記第1の階調再現方法を用いて、前記第1の階調再現方法の配分を定める第1の比率に応じた濃度を表す第1の画像に変換する第1処理と、
前記入力階調補正処理によって階調補正された前記入力画像または階調補正されていない前記入力画像を、前記第2の階調再現方法を用いて、前記第2の階調再現方法の配分を定める第2の比率に応じた濃度を表す第2の画像に変換する第2処理と、
前記第1処理によって得られる前記第1の画像と、前記第2処理によって得られる前記第2の画像とを合成し、それによって出力画像を生成する合成処理と、を前記コンピューターに実行させる
ことを特徴とするコンピュータープログラム。 A computer program executed by a computer for realizing image processing using a first gradation reproduction method and a second gradation reproduction method,
An input tone correction process for performing tone correction to increase the density of the input image;
Using the first gradation reproduction method, the input image that has undergone gradation correction by the input gradation correction processing has a density corresponding to a first ratio that determines the distribution of the first gradation reproduction method. A first process for converting to a first image to be represented;
Using the second tone reproduction method, the second tone reproduction method is used to distribute the input image that has been tone-corrected by the input tone correction process or the input image that has not been tone-corrected. A second process for converting to a second image representing a density according to a second ratio to be determined;
Causing the computer to execute a synthesis process for synthesizing the first image obtained by the first process and the second image obtained by the second process, thereby generating an output image. A featured computer program.
Priority Applications (1)
| Application Number | Priority Date | Filing Date | Title |
|---|---|---|---|
| JP2011158136A JP2013026729A (en) | 2011-07-19 | 2011-07-19 | Image processing device, image forming device, image processing method, and computer program |
Applications Claiming Priority (1)
| Application Number | Priority Date | Filing Date | Title |
|---|---|---|---|
| JP2011158136A JP2013026729A (en) | 2011-07-19 | 2011-07-19 | Image processing device, image forming device, image processing method, and computer program |
Publications (1)
| Publication Number | Publication Date |
|---|---|
| JP2013026729A true JP2013026729A (en) | 2013-02-04 |
Family
ID=47784626
Family Applications (1)
| Application Number | Title | Priority Date | Filing Date |
|---|---|---|---|
| JP2011158136A Withdrawn JP2013026729A (en) | 2011-07-19 | 2011-07-19 | Image processing device, image forming device, image processing method, and computer program |
Country Status (1)
| Country | Link |
|---|---|
| JP (1) | JP2013026729A (en) |
Cited By (2)
| Publication number | Priority date | Publication date | Assignee | Title |
|---|---|---|---|---|
| JP2017072966A (en) * | 2015-10-07 | 2017-04-13 | 株式会社LinkPro | Image processing apparatus |
| JP2021106364A (en) * | 2019-12-27 | 2021-07-26 | 国立大学法人千葉大学 | Image processing device, image processing method, and program |
-
2011
- 2011-07-19 JP JP2011158136A patent/JP2013026729A/en not_active Withdrawn
Cited By (3)
| Publication number | Priority date | Publication date | Assignee | Title |
|---|---|---|---|---|
| JP2017072966A (en) * | 2015-10-07 | 2017-04-13 | 株式会社LinkPro | Image processing apparatus |
| JP2021106364A (en) * | 2019-12-27 | 2021-07-26 | 国立大学法人千葉大学 | Image processing device, image processing method, and program |
| JP7303504B2 (en) | 2019-12-27 | 2023-07-05 | 国立大学法人千葉大学 | Image processing device, image processing method and program |
Similar Documents
| Publication | Publication Date | Title |
|---|---|---|
| US7940425B2 (en) | Image processing apparatus and method controlling the amount of transparent ink for recording | |
| US8885214B2 (en) | Color image processing apparatus which reduces the amount of color materials consumed that are used to form a color image with reference to an index with high utility | |
| US20060066925A1 (en) | Image forming apparatus, image processor, image processing method, and storage medium storing program | |
| RU2491753C1 (en) | Image processing device and image processing method | |
| JP5959815B2 (en) | Image processing apparatus and method | |
| JP5300418B2 (en) | Image forming apparatus | |
| JP4228621B2 (en) | Image forming apparatus and image processing apparatus | |
| JP5817268B2 (en) | Image forming apparatus, toner consumption calculation method, and computer program | |
| JP2007155963A (en) | Image forming apparatus, method, program, and recording medium | |
| JP2004139011A (en) | Image processing apparatus, image processing method, and image processing program | |
| JP6630086B2 (en) | Image processing apparatus, image processing method, and program | |
| JP2013026729A (en) | Image processing device, image forming device, image processing method, and computer program | |
| US11039040B2 (en) | Display device, printing system, and non-transitory computer readable medium | |
| JP2014165776A (en) | Image forming device | |
| JP2013246396A (en) | Image forming apparatus, image forming method, program, and recording medium | |
| JP2012186770A (en) | Image processing apparatus, image forming apparatus, and program | |
| JP2006227444A (en) | Printing apparatus, printing method, printing program, and recording medium | |
| JP5817269B2 (en) | Image forming apparatus, toner consumption calculation method, and computer program | |
| JP2016224229A (en) | Image forming apparatus, information formation method, and program | |
| JP5419608B2 (en) | Image forming apparatus and image forming method | |
| JP5092422B2 (en) | Image forming apparatus and image processing apparatus | |
| JP2015169733A (en) | Image formation apparatus, control apparatus, and control method thereof | |
| JPH08228298A (en) | Image processing method and apparatus | |
| JP5904979B2 (en) | Image processing apparatus and image processing program | |
| JP7649119B2 (en) | Image forming apparatus and image forming method |
Legal Events
| Date | Code | Title | Description |
|---|---|---|---|
| A711 | Notification of change in applicant |
Free format text: JAPANESE INTERMEDIATE CODE: A712 Effective date: 20130417 |
|
| A300 | Withdrawal of application because of no request for examination |
Free format text: JAPANESE INTERMEDIATE CODE: A300 Effective date: 20141007 |
