JP2011207152A - Optical lens and manufacturing method of the same - Google Patents
Optical lens and manufacturing method of the same Download PDFInfo
- Publication number
- JP2011207152A JP2011207152A JP2010079037A JP2010079037A JP2011207152A JP 2011207152 A JP2011207152 A JP 2011207152A JP 2010079037 A JP2010079037 A JP 2010079037A JP 2010079037 A JP2010079037 A JP 2010079037A JP 2011207152 A JP2011207152 A JP 2011207152A
- Authority
- JP
- Japan
- Prior art keywords
- bis
- compound
- optical lens
- manufacturing
- lens
- Prior art date
- Legal status (The legal status is an assumption and is not a legal conclusion. Google has not performed a legal analysis and makes no representation as to the accuracy of the status listed.)
- Pending
Links
Images
Landscapes
- Eyeglasses (AREA)
- Optical Filters (AREA)
- Surface Treatment Of Optical Elements (AREA)
- Casting Or Compression Moulding Of Plastics Or The Like (AREA)
Abstract
【課題】1枚当たりの体積が大きいレンズ、強度レンズ、またはセミフィニッシュレンズを製造する場合であっても脈理の発生が少ない光学レンズの製造方法を提供する。
【解決手段】本発明の光学レンズの製造方法は、下記一般式(1)で表される構造を1分子中に1個以上有する化合物(A)、硫黄原子および/またはセレン原子を有する無機化合物(B)および1分子中にメルカプト基を1個以上有する化合物(C)からなる光学用樹脂組成物3を、一対のガラスモールドを有する成形用モールド1内に注入して重合硬化させる光学レンズの製造方法であって、重合硬化時に成形用モールド1を水平面に対して60°〜120°の角度に保持することを特徴とする。
[化1]
【選択図】図1The present invention provides a method for manufacturing an optical lens with little striae even when a lens, a strength lens, or a semi-finished lens having a large volume per sheet is manufactured.
The method for producing an optical lens of the present invention comprises a compound (A) having at least one structure represented by the following general formula (1) in one molecule, an inorganic compound having a sulfur atom and / or a selenium atom. (B) and an optical resin composition 3 composed of a compound (C) having at least one mercapto group in one molecule is injected into a molding mold 1 having a pair of glass molds and polymerized and cured. It is a manufacturing method, Comprising: Molding mold 1 is hold | maintained at the angle of 60 degrees-120 degrees with respect to a horizontal surface at the time of polymerization hardening.
[Chemical 1]
[Selection] Figure 1
Description
本発明は、光学レンズおよびその製造方法に関する。 The present invention relates to an optical lens and a manufacturing method thereof.
プラスチック材料は軽量かつ靭性に富み、染色も比較的容易なことから各種光学要素、特に眼鏡レンズに近年多用されている。 In recent years, plastic materials have been widely used for various optical elements, particularly spectacle lenses, because they are light and tough and relatively easy to dye.
眼鏡レンズには、低比重、高透明性、低黄色度、高屈折率、高アッベ数、強靭性等が要求されている。高屈折率はレンズの薄肉化を可能とし、高アッベ数はレンズの色収差の低減を可能とする。
そのため近年では、薄肉化を目的として、屈折率1.7以上かつアッベ数30以上の光学材料を与える光学材料用組成物が提案されている。
最近では、さらに高屈折率化が可能なエピスルフィド系化合物を用いた光学材料用組成物が提案されている。
The spectacle lens is required to have low specific gravity, high transparency, low yellowness, high refractive index, high Abbe number, toughness, and the like. A high refractive index makes it possible to reduce the thickness of the lens, and a high Abbe number makes it possible to reduce the chromatic aberration of the lens.
Therefore, in recent years, for the purpose of thinning, an optical material composition that provides an optical material having a refractive index of 1.7 or more and an Abbe number of 30 or more has been proposed.
Recently, a composition for an optical material using an episulfide compound capable of further increasing the refractive index has been proposed.
しかし、これらの組成物はレンズ製造において脈理が発生しやすい問題があった。
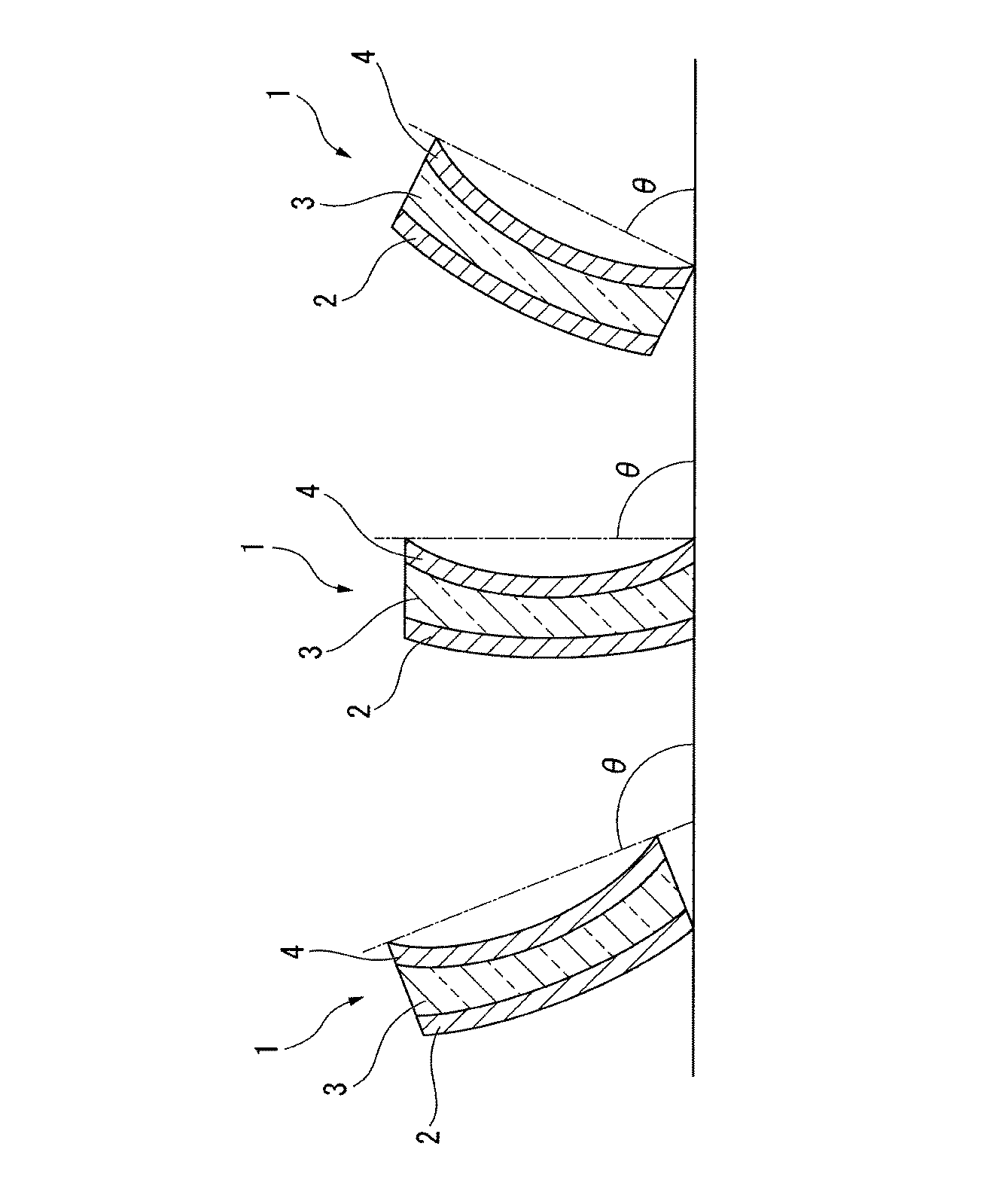
脈理を低減する方法としては、セミフィニッシュレンズ成形用レンズモールドにプラスチック原料を注入した後、該レンズモールドの凸面側を上、且つ水平面に対して0°〜45°未満の角度に固定して重合を行うレンズの製造方法(例えば、特許文献1参照)や、成形用レンズモールドにプラスチックレンズ原料を注入した後、sinθ=d/(2R)(d:上型モールドの直径、R:上型モールドの曲率半径)の関係が成立する角度をθ°としたとき、レンズモールドを水平面に対して角度θ°以上θ°+15°未満の角度だけ傾けて重合を行うレンズの製造方法(例えば、特許文献2参照)が知られている。
また、重合硬化させる際の重合パターンにより脈理を低減することが常道であった。
However, these compositions have a problem that striae are likely to occur in lens production.
As a method of reducing striae, after injecting a plastic raw material into a lens mold for molding a semi-finished lens, the convex side of the lens mold is fixed at an angle of 0 ° to less than 45 ° with respect to the horizontal plane. A manufacturing method of a lens for performing polymerization (see, for example, Patent Document 1), or after injecting a plastic lens material into a molding lens mold, sin θ = d / (2R) (d: diameter of upper mold, R: upper mold) When the angle at which the relationship of the curvature radius of the mold is established is θ °, a lens manufacturing method (for example, patent) in which the lens mold is tilted with respect to the horizontal plane by an angle of θ ° or more and less than θ ° + 15 °. Document 2) is known.
Further, it has been common practice to reduce striae due to the polymerization pattern during polymerization and curing.
しかしながら、上記のような脈理の低減方法では、改善の度合いが小さく、商品化出来るレベルには至らなかった。 However, the striae reduction method as described above has a small degree of improvement and has not reached a level where it can be commercialized.
本発明は、上記事情に鑑みてなされたものであり、1枚当たりの体積が大きいレンズ、強度レンズ、またはセミフィニッシュレンズを製造する場合であっても脈理の発生が少ない光学レンズの製造方法を提供することを目的とする。 The present invention has been made in view of the above circumstances, and a method of manufacturing an optical lens with little striae even when a lens, a strength lens, or a semi-finished lens having a large volume per sheet is manufactured. The purpose is to provide.
(1)本発明の光学レンズの製造方法は、下記一般式(1)で表される構造を1分子中に1個以上有する化合物(A)、硫黄原子および/またはセレン原子を有する無機化合物(B)、および1分子中にメルカプト基を1個以上有する化合物(C)からなる光学用樹脂組成物を、一対のガラスモールドを有する成形用モールド内に注入して重合硬化させる光学レンズの製造方法であって、重合硬化時に成形用モールドを水平面に対して60°〜120°の角度に保持することを特徴とする。
(2)本発明の光学レンズの製造方法は、前記成形用モールドを水平面に対して90°の角度に保持することが好ましい。
(3)本発明の光学レンズの製造方法は、前記化合物(A)を25〜96重量%、前記化合物(B)を0.1〜30重量%、前記化合物(C)を0.1〜40重量%の範囲で含有することが好ましい。
(4)本発明の光学レンズの製造方法は、染料および/または顔料をさらに含有することが好ましい。
(5)本発明の光学レンズの製造方法は、前記光学レンズの片面または両面に、光照射により青色に着色するフォトクロミック性能を有するコーティング層を少なくとも1層有することが好ましい。
(6)本発明の光学レンズの製造方法は、前記光学レンズの片面または両面に、衝撃強度を付与するためのプライマー層を少なくとも1層有することが好ましい。
(7)本発明の光学レンズの製造方法は、前記光学レンズの表面に、ハードコート層および反射防止層を有することが好ましい。
(8)本発明の光学レンズの製造方法は、前記ハードコート層が、酸化チタンを主成分とする複合酸化物粒子と、有機ケイ素化合物とを主成分として含有することが好ましい。
(9)本発明の光学レンズの製造方法は、前記反射防止層が、多層無機酸化物層からなることが好ましい。
(10)本発明の光学レンズは、前記製造方法で得られることを特徴とする。
(1) The method for producing an optical lens of the present invention comprises a compound (A) having at least one structure represented by the following general formula (1) in one molecule, an inorganic compound having a sulfur atom and / or a selenium atom ( B) and a method for producing an optical lens in which an optical resin composition comprising a compound (C) having one or more mercapto groups in one molecule is injected into a molding mold having a pair of glass molds and polymerized and cured. The molding mold is held at an angle of 60 ° to 120 ° with respect to the horizontal plane during the polymerization curing.
(2) In the method for producing an optical lens of the present invention, the molding mold is preferably held at an angle of 90 ° with respect to a horizontal plane.
(3) In the method for producing an optical lens of the present invention, the compound (A) is 25 to 96% by weight, the compound (B) is 0.1 to 30% by weight, and the compound (C) is 0.1 to 40%. It is preferable to contain in the range of weight%.
(4) It is preferable that the manufacturing method of the optical lens of this invention further contains dye and / or a pigment.
(5) It is preferable that the manufacturing method of the optical lens of this invention has at least one coating layer which has the photochromic performance colored in blue by light irradiation on the single side | surface or both surfaces of the said optical lens.
(6) The method for producing an optical lens of the present invention preferably has at least one primer layer for imparting impact strength on one side or both sides of the optical lens.
(7) The method for producing an optical lens of the present invention preferably has a hard coat layer and an antireflection layer on the surface of the optical lens.
(8) In the method for producing an optical lens of the present invention, the hard coat layer preferably contains composite oxide particles mainly composed of titanium oxide and an organosilicon compound as main components.
(9) In the method for producing an optical lens of the present invention, the antireflection layer is preferably composed of a multilayer inorganic oxide layer.
(10) The optical lens of the present invention is obtained by the above manufacturing method.
本発明によれば、1枚当たりの体積が大きいレンズ、強度レンズ、またはセミフィニッシュレンズを製造する場合であっても脈理の発生が少ない光学レンズおよびその製造方法を提供することができる。 According to the present invention, it is possible to provide an optical lens with little striae even when a lens, a strength lens, or a semi-finished lens having a large volume per sheet is produced, and a method for producing the same.
以下、本発明の光学レンズおよびその製造方法について詳細に説明する。
本発明の光学レンズの製造方法は、下記一般式(1)で表される構造を1分子中に1個以上有する化合物(A)、硫黄原子および/またはセレン原子を有する無機化合物(B)、および1分子中にメルカプト基を1個以上有する化合物(C)からなる光学用樹脂組成物を、一対のガラスモールドを有する成形用モールド内に注入して重合硬化させる光学レンズの製造方法であって、重合硬化時に成形用モールドを水平面に対して60°〜120°の角度に保持することを特徴とする。
The method for producing an optical lens of the present invention includes a compound (A) having at least one structure represented by the following general formula (1) in one molecule, an inorganic compound (B) having a sulfur atom and / or a selenium atom, And a method for producing an optical lens in which an optical resin composition composed of a compound (C) having one or more mercapto groups in one molecule is injected into a molding mold having a pair of glass molds and polymerized and cured. The molding mold is held at an angle of 60 ° to 120 ° with respect to the horizontal plane during the polymerization curing.
まず、本発明の光学レンズの製造方法に使用される光学用樹脂組成物(以下、「本発明の光学用樹脂組成物」という。)について説明する。
本発明の光学用樹脂組成物は、前記一般式(1)で表される構造を1分子中に1個以上有する化合物(A)、硫黄原子および/またはセレン原子を有する無機化合物(B)、および1分子中にメルカプト基を1個以上有する化合物(C)からなる。
First, the optical resin composition (hereinafter referred to as “the optical resin composition of the present invention”) used in the method for producing an optical lens of the present invention will be described.
The optical resin composition of the present invention includes a compound (A) having at least one structure represented by the general formula (1) in one molecule, an inorganic compound (B) having a sulfur atom and / or a selenium atom, And a compound (C) having one or more mercapto groups in one molecule.
「一般式(1)で表される構造を1分子中に1個以上有する化合物(A)」
前記化合物(A)としては、前記一般式(1)で表される構造を1分子中に1個以上有する化合物が必須であり、2個以上有する化合物が好ましい。具体的には、分子内に2個以上のエピスルフィド基を有する化合物が好ましい。このような化合物としては、公知の2官能以上のエピスルフィド化合物全てが対象となる。
“Compound (A) having at least one structure represented by the general formula (1) in one molecule”
As the compound (A), a compound having at least one structure represented by the general formula (1) in one molecule is essential, and a compound having at least two structures is preferable. Specifically, a compound having two or more episulfide groups in the molecule is preferable. Examples of such a compound include all known bifunctional or higher functional episulfide compounds.
一般式(1)中、R1は炭素数1〜10の炭化水素基を表し、R2、R3およびR4はそれぞれ独立して炭素数1〜10の炭化水素基または水素原子を表し、YはO、S、SeまたはTeを表し、l=0〜5、m=0または1、n=1〜5である。 In General Formula (1), R 1 represents a hydrocarbon group having 1 to 10 carbon atoms, R 2 , R 3, and R 4 each independently represent a hydrocarbon group having 1 to 10 carbon atoms or a hydrogen atom, Y represents O, S, Se or Te, and 1 = 0 to 5, m = 0 or 1, and n = 1 to 5.
R1である炭素数1〜10の2価の炭化水素基としては、具体的には、直鎖状、分岐鎖状または環状の炭素数1〜10のアルキレン、フェニレン、アルキル置換フェニレンおよびナフタレン等の炭素数6〜10のアリーレン基、またはアルキレンおよびアリーレンの組み合わせからなる炭素数7〜10のアラルキレン基が挙げられる。これらの中でも、炭素数1〜10のアルキレン基が好ましく、メチレン基またはエチレン基がより好ましく、メチレン基が更に好ましい。
mは、1が好ましい。
R2、R3およびR4である炭素数1〜10の炭化水素基としては直鎖状、分岐鎖状または環状の炭素数1〜10のアルキル基、炭素数6〜10のアリール基、炭素数7〜10のアラルキル基が挙げられる。R2、R3およびR4としては、水素原子または炭素数1〜10のアルキレン基が好ましく、水素原子またはメチル基がより好ましく、水素原子が更に好ましい。
Yは、高屈折率な光学レンズを作製するという観点からは、S、SeまたはTeが好ましく、Sがより好ましい。
lは、0〜4が好ましく、0または1がより好ましく、1が特に好ましい。
nは、1または2が好ましく、1がより好ましい。
Specific examples of the divalent hydrocarbon group having 1 to 10 carbon atoms as R 1 include linear, branched or cyclic alkylene having 1 to 10 carbon atoms, phenylene, alkyl-substituted phenylene, naphthalene, and the like. And an arylene group having 6 to 10 carbon atoms, or an aralkylene group having 7 to 10 carbon atoms composed of a combination of alkylene and arylene. Among these, a C1-C10 alkylene group is preferable, a methylene group or ethylene group is more preferable, and a methylene group is still more preferable.
m is preferably 1.
The hydrocarbon group having 1 to 10 carbon atoms which is R 2 , R 3 and R 4 is a linear, branched or cyclic alkyl group having 1 to 10 carbon atoms, an aryl group having 6 to 10 carbon atoms, carbon The aralkyl group of several 7-10 is mentioned. R 2 , R 3 and R 4 are preferably a hydrogen atom or an alkylene group having 1 to 10 carbon atoms, more preferably a hydrogen atom or a methyl group, and still more preferably a hydrogen atom.
Y is preferably S, Se or Te, and more preferably S from the viewpoint of producing an optical lens having a high refractive index.
l is preferably 0 to 4, more preferably 0 or 1, and particularly preferably 1.
n is preferably 1 or 2, and more preferably 1.
本発明の一般式(1)で表される構造を1分子中に1個以上有する化合物としては、以下のものが挙げられる。
(a)エピチオ基を有する有機化合物、(b)エピチオアルキルオキシ基を有する有機化合物、(c)エピチオアルキルチオ基を有する有機化合物、(d)エピチオアルキルセレノ基を有する有機化合物、(e)エピチオアルキルテルロ基を有する有機化合物。
上記(a)、(b)、(c)、(d)、(e)は、使用に際しては単独でも、2種類以上を混合して使用しても良い。
また、上記(a)、(b)、(c)、(d)、(e)は、鎖状化合物、分岐状化合物、脂肪族環状化合物、芳香族化合物、または窒素、酸素、硫黄、セレン、テルル原子を含むヘテロ環化合物を主骨格とするものであり、エピチオ基、エピチオアルキルオキシ基、エピチオアルキルチオ基、エピチオアルキルセレノ基、エピチオアルキルテルロ基を1分子中に同時に有してもよい。
さらにこれらの化合物は、分子内に、スルフィド、セレニド、テルリド、エーテル、スルフォン、ケトン、エステル、アミド、ウレタン等の結合を含んでいてもよい。
Examples of the compound having at least one structure represented by the general formula (1) of the present invention in one molecule include the following.
(A) an organic compound having an epithio group, (b) an organic compound having an epithioalkyloxy group, (c) an organic compound having an epithioalkylthio group, (d) an organic compound having an epithioalkylseleno group, (e ) An organic compound having an epithioalkyltelluro group.
The above (a), (b), (c), (d), and (e) may be used alone or in admixture of two or more.
In addition, the above (a), (b), (c), (d), (e) are a chain compound, a branched compound, an aliphatic cyclic compound, an aromatic compound, or nitrogen, oxygen, sulfur, selenium, It has a heterocyclic compound containing a tellurium atom as its main skeleton, and has an epithio group, an epithioalkyloxy group, an epithioalkylthio group, an epithioalkylseleno group, and an epithioalkyltelluro group simultaneously in one molecule. Also good.
Furthermore, these compounds may contain bonds such as sulfide, selenide, telluride, ether, sulfone, ketone, ester, amide, urethane, etc. in the molecule.
(a)エピチオ基を1個以上有する有機化合物としては、エポキシ基(グリシジル基ではない)を有する化合物のエポキシ基の1個以上をエピチオ基に置換した化合物を代表例として挙げることができ、鎖状脂肪族骨格を有する有機化合物、脂肪族環状骨格を有する化合物、芳香族骨格を有する化合物が挙げられる。 (A) As an organic compound having one or more epithio groups, a compound obtained by substituting one or more epoxy groups of an epoxy group (not a glycidyl group) with an epithio group can be cited as a representative example. Organic compounds having an aliphatic skeleton, compounds having an aliphatic cyclic skeleton, and compounds having an aromatic skeleton.
鎖状脂肪族骨格を有する有機化合物としては、1,1−ビス(エピチオエチル)メタン、1−(エピチオエチル)−1−(β−エピチオプロピル)メタン、1,1−ビス(β−エピチオプロピル)メタン、1−(エピチオエチル)−1−(β−エピチオプロピル)エタン、1,2−ビス(β−エピチオプロピル)エタン、1−(エピチオエチル)−3−(β−エピチオプロピル)ブタン、1,3−ビス(β−エピチオプロピル)プロパン、1−(エピチオエチル)−4−(β−エピチオプロピル)ペンタン、1,4−ビス(β−エピチオプロピル)ブタン、1−(エピチオエチル)−5−(β−エピチオプロピル)ヘキサン、1−(エピチオエチル)−2−(γ−エピチオブチルチオ)エタン、1−(エピチオエチル)−2−〔2−(γ−エピチオブチルチオ)エチルチオ〕エタン、テトラキス(β−エピチオプロピル)メタン、1,1,1−トリス(β−エピチオプロピル)プロパン、1,3−ビス(β−エピチオプロピル)−1−(β−エピチオプロピル)−2−チアプロパン、1,5−ビス(β−エピチオプロピル)−2,4−ビス(β−エピチオプロピル)−3−チアペンタン等が挙げられる。 Examples of the organic compound having a chain aliphatic skeleton include 1,1-bis (epithioethyl) methane, 1- (epithioethyl) -1- (β-epithiopropyl) methane, and 1,1-bis (β-epithiopropyl). ) Methane, 1- (epithioethyl) -1- (β-epithiopropyl) ethane, 1,2-bis (β-epithiopropyl) ethane, 1- (epithioethyl) -3- (β-epithiopropyl) butane 1,3-bis (β-epithiopropyl) propane, 1- (epithioethyl) -4- (β-epithiopropyl) pentane, 1,4-bis (β-epithiopropyl) butane, 1- (epithioethyl) ) -5- (β-epithiopropyl) hexane, 1- (epithioethyl) -2- (γ-epithiobutylthio) ethane, 1- (epithioethyl) -2- [2- (γ-epithiobu) Tilthio) ethylthio] ethane, tetrakis (β-epithiopropyl) methane, 1,1,1-tris (β-epithiopropyl) propane, 1,3-bis (β-epithiopropyl) -1- (β- Epithiopropyl) -2-thiapropane, 1,5-bis (β-epithiopropyl) -2,4-bis (β-epithiopropyl) -3-thiapentane, and the like.
脂肪族環状骨格を有する化合物としては、1,3または1,4−ビス(エピチオエチル)シクロヘキサン、1,3または1,4−ビス(β−エピチオプロピル)シクロヘキサン、2,5−ビス(エピチオエチル)−1,4−ジチアン、2,5−ビス(β−エピチオプロピル)−1,4−ジチアン、4−エピチオエチル−1、2−シクロヘキセンスルフィド、4−エポキシ−1、2−シクロヘキセンスルフィド、等の脂肪族環状構造を1個有する化合物や、2,2−ビス〔4−(エピチオエチル)シクロヘキシル〕プロパン、2,2−ビス〔4−(β−エピチオプロピル)シクロヘキシル〕プロパン、ビス〔4−(エピチオエチル)シクロヘキシル〕メタン、ビス〔4−(β−エピチオプロピル)シクロヘキシル〕メタン、ビス〔4−(β−エピチオプロピル)シクロヘキシル〕スルフィド、ビス〔4−(エピチオエチル)シクロヘキシル〕スルフィド、等の脂肪族環状構造を2個有する化合物が挙げられる。 Examples of the compound having an aliphatic cyclic skeleton include 1,3 or 1,4-bis (epithioethyl) cyclohexane, 1,3 or 1,4-bis (β-epithiopropyl) cyclohexane, 2,5-bis (epithioethyl). -1,4-dithiane, 2,5-bis (β-epithiopropyl) -1,4-dithiane, 4-epithioethyl-1,2-cyclohexene sulfide, 4-epoxy-1,2-cyclohexene sulfide, etc. Compounds having one aliphatic cyclic structure, 2,2-bis [4- (epithioethyl) cyclohexyl] propane, 2,2-bis [4- (β-epithiopropyl) cyclohexyl] propane, bis [4- ( Epithioethyl) cyclohexyl] methane, bis [4- (β-epithiopropyl) cyclohexyl] methane, bis [4- (β-epithio) Examples thereof include compounds having two aliphatic cyclic structures such as (propyl) cyclohexyl] sulfide and bis [4- (epithioethyl) cyclohexyl] sulfide.
芳香族骨格を有する化合物としては、1,3または1,4−ビス(エピチオエチル)ベンゼン、1,3または1,4−ビス(β−エピチオプロピル)ベンゼン、等の芳香族骨格を1個有する化合物や、ビス〔4−(エピチオエチル)フェニル〕メタン、ビス〔4−(β−エピチオプロピル)フェニル〕メタン、2,2−ビス〔4−(エピチオエチル)フェニル〕プロパン、2,2−ビス〔4−(β−エピチオプロピル)フェニル〕プロパン、ビス〔4−(エピチオエチル)フェニル〕スルフィド、ビス〔4−(β−エピチオプロピル)フェニル〕スルフィド、ビス〔4−(エピチオエチル)フェニル〕スルフォン、ビス〔4−(β−エピチオプロピル)フェニル〕スルフォン、4,4’−ビス(エピチオエチル)ビフェニル、4,4’−ビス(β−エピチオプロピル)ビフェニル、等の芳香族骨格を2個有する化合物が挙げられる。さらには、これらの化合物のエピチオ基の水素の少なくとも1個がメチル基で置換された化合物も挙げられる。 The compound having an aromatic skeleton has one aromatic skeleton such as 1,3 or 1,4-bis (epithioethyl) benzene, 1,3 or 1,4-bis (β-epithiopropyl) benzene. Compounds, bis [4- (epithioethyl) phenyl] methane, bis [4- (β-epithiopropyl) phenyl] methane, 2,2-bis [4- (epithioethyl) phenyl] propane, 2,2-bis [ 4- (β-epithiopropyl) phenyl] propane, bis [4- (epithioethyl) phenyl] sulfide, bis [4- (β-epithiopropyl) phenyl] sulfide, bis [4- (epithioethyl) phenyl] sulfone, Bis [4- (β-epithiopropyl) phenyl] sulfone, 4,4′-bis (epithioethyl) biphenyl, 4,4′-bis (β Epithiopropyl) biphenyl, a compound having two aromatic backbone of the like. Furthermore, compounds in which at least one hydrogen of the epithio group of these compounds is substituted with a methyl group are also included.
(b)エピチオアルキルオキシ基を1個以上有する有機化合物としては、エピハロヒドリンから誘導されるエポキシ化合物のグリシジル基の1個以上をエピチオアルキルオキシ基(チオグリシジル基)に置換した化合物が挙げられる。 (B) Examples of the organic compound having one or more epithioalkyloxy groups include compounds in which one or more glycidyl groups of an epoxy compound derived from epihalohydrin are substituted with epithioalkyloxy groups (thioglycidyl groups). .
前記エポキシ化合物の具体例としては、ヒドロキノン、カテコール、レゾルシン、ビスフェノールA、ビスフェノールF、ビスフェノールスルフォン、ビスフェノールエーテル、ビスフェノールスルフィド、ハロゲン化ビスフェノールA、ノボラック樹脂等の多価フェノール化合物とエピハロヒドリンの縮合により製造されるフェノール系エポキシ化合物;エチレングリコール、ジエチレングリコール、トリエチレングリコール、ポリエチレングリコール、プロピレングリコール、ジプロピレングリコール、ポリプロピレングリコール、1,3−プロパンジオール、1,4−ブタンジオール、1,6−ヘキサンジオール、ネオペンチルグリコール、グリセリン、トリメチロールプロパントリメタクリレート、ペンタエリスリトール、1,3−または1,4−シクロヘキサンジオール、1,3−または1,4−シクロヘキサンジメタノール、水添ビスフェノールA、ビスフェノルA・エチレンオキサイド付加物、ビスフェノールA・プロピレンオキサイド付加物等の多価アルコール化合物とエピハロヒドリンの縮合により製造されるアルコール系エポキシ化合物;アジピン酸、セバチン酸、ドデカンジカルボン酸、ダイマー酸、フタル酸、イソ、テレフタル酸、テトラヒドロフタル酸、メチルテトラヒドロフタル酸、ヘキサヒドロフタル酸、ヘキサヒドロイソフタル酸、ヘキサヒドロテレフタル酸、ヘット酸、ナジック酸、マレイン酸、コハク酸、フマール酸、トリメリット酸、ベンゼンテトラカルボン酸、ベンゾフェノンテトラカルボン酸、ナフタリンジカルボン酸、ジフェニルジカルボン酸等の多価カルボン酸化合物とエピハロヒドリンの縮合により製造されるグリシジルエステル系エポキシ化合物;エチレンジアミン、1,2−ジアミノプロパン、1,3−ジアミノプロパン、1,2−ジアミノブタン、1,3−ジアミノブタン、1,4−ジアミノブタン、1,5−ジアミノペンタン、1,6−ジアミノヘキサン、1,7−ジアミノヘプタン、1,8−ジアミノオクタン、ビス−(3−アミノプロピル)エーテル、1,2−ビス−(3−アミノプロポキシ)エタン、1,3−ビス−(3−アミノプロポキシ)−2,2’−ジメチルプロパン、1,2−、1,3−または1,4−ビスアミノシクロヘキサン、1,3−または1,4−ビスアミノメチルシクロヘキサン、1,3−または1,4−ビスアミノエチルシクロヘキサン、1,3−または1,4−ビスアミノプロピルシクロヘキサン、水添4,4’−ジアミノジフェニルメタン、イソホロンジアミン、1,4−ビスアミノプロピルピペラジン、m−またはp−フェニレンジアミン、2,4−または2,6−トリレンジアミン、m−またはp−キシリレンジアミン、1,5−または2,6−ナフタレンジアミン、4,4’−ジアミノジフェニルメタン、4,4’−ジアミノジフェニルエーテル、2,2−(4,4’−ジアミノジフェニル)プロパン等の一級ジアミン、N,N’−ジメチルエチレンジアミン、N,N’−ジメチル−1,2−ジアミノプロパン、N,N’−ジメチル−1,3−ジアミノプロパン、N,N’−ジメチル−1,2−ジアミノブタン、N,N’−ジメチル−1,3−ジアミノブタン、N,N’−ジメチル−1,4−ジアミノブタン、N,N’−ジメチル−1,5−ジアミノペンタン、N,N’−ジメチル−1,6−ジアミノヘキサン、N,N’−ジメチル−1,7−ジアミノヘプタン、N,N’−ジエチルエチレンジアミン、N,N’−ジエチル−1,2−ジアミノプロパン、N,N’−ジエチル−1,3−ジアミノプロパン、N,N’−ジエチル−1,2−ジアミノブタン、N,N’−ジエチル−1,3−ジアミノブタン、N,N’−ジエチル−1,4−ジアミノブタン、N,N’−ジエチル−1,6−ジアミノヘキサン、ピペラジン、2−メチルピペラジン、2,5−あるいは2,6−ジメチルピペラジン、ホモピペラジン、1,1−ジ−(4−ピペリジル)−メタン、1,2−ジ−(4−ピペリジル)−エタン、1,3−ジ−(4−ピペリジル)−プロパン、1,4−ジ−(4−ピペリジル)−ブタン等の二級ジアミンとエピハロヒドリンの縮合により製造されるアミン系エポキシ化合物、上述の多価アルコール、フェノール化合物とジイソシアネートおよびグリシドール等から製造されるウレタン系エポキシ化合物等が挙げられる。
より具体的には、鎖状脂肪族骨格を有する有機化合物、脂肪族環状骨格を有する化合物、芳香族骨格を有する化合物が挙げられる。
Specific examples of the epoxy compound are produced by condensation of a polyhydric phenol compound such as hydroquinone, catechol, resorcin, bisphenol A, bisphenol F, bisphenol sulfone, bisphenol ether, bisphenol sulfide, halogenated bisphenol A, novolac resin, and epihalohydrin. Phenolic epoxy compounds; ethylene glycol, diethylene glycol, triethylene glycol, polyethylene glycol, propylene glycol, dipropylene glycol, polypropylene glycol, 1,3-propanediol, 1,4-butanediol, 1,6-hexanediol, neo Pentyl glycol, glycerin, trimethylolpropane trimethacrylate, pentaerythritol, 1,3- Or polyhydric alcohol compounds such as 1,4-cyclohexanediol, 1,3- or 1,4-cyclohexanedimethanol, hydrogenated bisphenol A, bisphenol A / ethylene oxide adduct, bisphenol A / propylene oxide adduct and epihalohydrin Alcoholic epoxy compounds produced by condensation of adipic acid, sebacic acid, dodecanedicarboxylic acid, dimer acid, phthalic acid, iso, terephthalic acid, tetrahydrophthalic acid, methyltetrahydrophthalic acid, hexahydrophthalic acid, hexahydroisophthalic acid , Hexahydroterephthalic acid, het acid, nadic acid, maleic acid, succinic acid, fumaric acid, trimellitic acid, benzenetetracarboxylic acid, benzophenonetetracarboxylic acid, naphthalene dicarboxylic acid, diphenyldi Glycidyl ester epoxy compounds produced by condensation of polycarboxylic acid compounds such as rubonic acid and epihalohydrins; ethylenediamine, 1,2-diaminopropane, 1,3-diaminopropane, 1,2-diaminobutane, 1,3- Diaminobutane, 1,4-diaminobutane, 1,5-diaminopentane, 1,6-diaminohexane, 1,7-diaminoheptane, 1,8-diaminooctane, bis- (3-aminopropyl) ether, 1, 2-bis- (3-aminopropoxy) ethane, 1,3-bis- (3-aminopropoxy) -2,2′-dimethylpropane, 1,2-, 1,3- or 1,4-bisaminocyclohexane 1,3- or 1,4-bisaminomethylcyclohexane, 1,3- or 1,4-bisaminoethylcyclohexane 1,3- or 1,4-bisaminopropylcyclohexane, hydrogenated 4,4′-diaminodiphenylmethane, isophoronediamine, 1,4-bisaminopropylpiperazine, m- or p-phenylenediamine, 2,4- Or 2,6-tolylenediamine, m- or p-xylylenediamine, 1,5- or 2,6-naphthalenediamine, 4,4'-diaminodiphenylmethane, 4,4'-diaminodiphenyl ether, 2,2- Primary diamine such as (4,4′-diaminodiphenyl) propane, N, N′-dimethylethylenediamine, N, N′-dimethyl-1,2-diaminopropane, N, N′-dimethyl-1,3-diaminopropane N, N′-dimethyl-1,2-diaminobutane, N, N′-dimethyl-1,3-diaminobutane, N, N′-dimethyl 1,4-diaminobutane, N, N′-dimethyl-1,5-diaminopentane, N, N′-dimethyl-1,6-diaminohexane, N, N′-dimethyl-1,7-diaminoheptane N, N′-diethylethylenediamine, N, N′-diethyl-1,2-diaminopropane, N, N′-diethyl-1,3-diaminopropane, N, N′-diethyl-1,2-diaminobutane N, N′-diethyl-1,3-diaminobutane, N, N′-diethyl-1,4-diaminobutane, N, N′-diethyl-1,6-diaminohexane, piperazine, 2-methylpiperazine, 2,5- or 2,6-dimethylpiperazine, homopiperazine, 1,1-di- (4-piperidyl) -methane, 1,2-di- (4-piperidyl) -ethane, 1,3-di- ( 4-piperidyl)- Produced from amine-based epoxy compounds produced by condensation of secondary diamines such as lopan, 1,4-di- (4-piperidyl) -butane and epihalohydrins, the above-mentioned polyhydric alcohols, phenol compounds and diisocyanates and glycidol. Examples include urethane-based epoxy compounds.
More specifically, an organic compound having a chain aliphatic skeleton, a compound having an aliphatic cyclic skeleton, and a compound having an aromatic skeleton can be given.
鎖状脂肪族骨格を有する有機化合物としては、ビス(β−エピチオプロピル)エーテル、ビス(β−エピチオプロピルオキシ)メタン、1,2−ビス(β−エピチオプロピルオキシ)エタン、1,3−ビス(β−エピチオプロピルオキシ)プロパン、1,2−ビス(β−エピチオプロピルオキシ)プロパン、1−(β−エピチオプロピルオキシ)−2−(β−エピチオプロピルオキシメチル)プロパン、1,4−ビス(β−エピチオプロピルオキシ)ブタン、1,3−ビス(β−エピチオプロピルオキシ)ブタン、1−(β−エピチオプロピルオキシ)−3−(β−エピチオプロピルオキシメチル)ブタン、1,5−ビス(β−エピチオプロピルオキシ)ペンタン、1−(β−エピチオプロピルオキシ)−4−(β−エピチオプロピルオキシメチル)ペンタン、1,6−ビス(β−エピチオプロピルオキシ)ヘキサン、1−(β−エピチオプロピルオキシ)−5−(β−エピチオプロピルオキシメチル)ヘキサン、1−(β−エピチオプロピルオキシ)−2−〔(2−β−エピチオプロピルオキシエチル)オキシ〕エタン、1−(β−エピチオプロピルオキシ)−2−[〔2−(2−β−エピチオプロピルオキシエチル)オキシエチル〕オキシ]エタン、テトラキス(β−エピチオプロピルオキシメチル)メタン、1,1,1−トリス(β−エピチオプロピルオキシメチル)プロパン、1,5−ビス(β−エピチオプロピルオキシ)−2−(β−エピチオプロピルオキシメチル)−3−チアペンタン、1,5−ビス(β−エピチオプロピルオキシ)−2,4−ビス(β−エピチオプロピルオキシメチル)−3−チアペンタン、1−(β−エピチオプロピルオキシ)−2,2−ビス(β−エピチオプロピルオキシメチル)−4−チアヘキサン、1,5,6−トリス(β−エピチオプロピルオキシ)−4−(β−エピチオプロピルオキシメチル)−3−チアヘキサン、1,8−ビス(β−エピチオプロピルオキシ)−4−(β−エピチオプロピルオキシメチル)−3,6−ジチアオクタン、1,8−ビス(β−エピチオプロピルオキシ)−4,5ビス(β−エピチオプロピルオキシメチル)−3,6−ジチアオクタン、1,8−ビス(β−エピチオプロピルオキシ)−4,4−ビス(β−エピチオプロピルオキシメチル)−3,6−ジチアオクタン、1,8−ビス(β−エピチオプロピルオキシ)−2,4,5−トリス(β−エピチオプロピルオキシメチル)−3,6−ジチアオクタン、1,8−ビス(β−エピチオプロピルオキシ)−2,5−ビス(β−エピチオプロピルオキシメチル)−3,6−ジチアオクタン、1,9−ビス(β−エピチオプロピルオキシ)−5−(β−エピチオプロピルオキシメチル)−5−〔(2−β−エピチオプロピルオキシエチル)オキシメチル〕−3,7−ジチアノナン、1,10−ビス(β−エピチオプロピルオキシ)−5,6−ビス〔(2−β−エピチオプロピルオキシエチル)オキシ〕−3,6,9−トリチアデカン、1,11−ビス(β−エピチオプロピルオキシ)−4,8−ビス(β−エピチオプロピルオキシメチル)−3,6,9−トリチアウンデカン、1,11−ビス(β−エピチオプロピルオキシ)−5,7−ビス(β−エピチオプロピルオキシメチル)−3,6,9−トリチアウンデカン、1,11−ビス(β−エピチオプロピルオキシ)−5,7−〔(2−β−エピチオプロピルオキシエチル)オキシメチル〕−3,6,9−トリチアウンデカン、1,11−ビス(β−エピチオプロピルオキシ)−4,7−ビス(β−エピチオプロピルオキシメチル)−3,6,9−トリチアウンデカン等が挙げられる。 Examples of the organic compound having a chain aliphatic skeleton include bis (β-epithiopropyl) ether, bis (β-epithiopropyloxy) methane, 1,2-bis (β-epithiopropyloxy) ethane, 1, 3-bis (β-epithiopropyloxy) propane, 1,2-bis (β-epithiopropyloxy) propane, 1- (β-epithiopropyloxy) -2- (β-epithiopropyloxymethyl) Propane, 1,4-bis (β-epithiopropyloxy) butane, 1,3-bis (β-epithiopropyloxy) butane, 1- (β-epithiopropyloxy) -3- (β-epithio Propyloxymethyl) butane, 1,5-bis (β-epithiopropyloxy) pentane, 1- (β-epithiopropyloxy) -4- (β-epithiopropyloxymethyl) pe Lanthanum, 1,6-bis (β-epithiopropyloxy) hexane, 1- (β-epithiopropyloxy) -5- (β-epithiopropyloxymethyl) hexane, 1- (β-epithiopropyloxy) ) -2-[(2-β-epithiopropyloxyethyl) oxy] ethane, 1- (β-epithiopropyloxy) -2-[[2- (2-β-epithiopropyloxyethyl) oxyethyl] Oxy] ethane, tetrakis (β-epithiopropyloxymethyl) methane, 1,1,1-tris (β-epithiopropyloxymethyl) propane, 1,5-bis (β-epithiopropyloxy) -2- (Β-epithiopropyloxymethyl) -3-thiapentane, 1,5-bis (β-epithiopropyloxy) -2,4-bis (β-epithiopropyloxymethyl) -3-thiapentane, 1- (β-epithiopropyloxy) -2,2-bis (β-epithiopropyloxymethyl) -4-thiahexane, 1,5,6-tris (β-epithiopropyloxy) -4- (β-epithiopropyloxymethyl) -3-thiahexane, 1,8-bis (β-epithiopropyloxy) -4- (β-epithiopropyloxymethyl) -3,6-dithiaoctane, , 8-bis (β-epithiopropyloxy) -4,5bis (β-epithiopropyloxymethyl) -3,6-dithiaoctane, 1,8-bis (β-epithiopropyloxy) -4,4 -Bis (β-epithiopropyloxymethyl) -3,6-dithiaoctane, 1,8-bis (β-epithiopropyloxy) -2,4,5-tris (β-epithiopropyloxymethyl) ) -3,6-dithiaoctane, 1,8-bis (β-epithiopropyloxy) -2,5-bis (β-epithiopropyloxymethyl) -3,6-dithiaoctane, 1,9-bis (β -Epithiopropyloxy) -5- (β-epithiopropyloxymethyl) -5-[(2-β-epithiopropyloxyethyl) oxymethyl] -3,7-dithianonane, 1,10-bis (β -Epithiopropyloxy) -5,6-bis [(2-β-epithiopropyloxyethyl) oxy] -3,6,9-trithiadecane, 1,11-bis (β-epithiopropyloxy) -4 , 8-bis (β-epithiopropyloxymethyl) -3,6,9-trithiaundecane, 1,11-bis (β-epithiopropyloxy) -5,7-bis (β-epithiopropyloxy) Methyl ) -3,6,9-trithiaundecane, 1,11-bis (β-epithiopropyloxy) -5,7-[(2-β-epithiopropyloxyethyl) oxymethyl] -3,6 Examples include 9-trithiaundecane and 1,11-bis (β-epithiopropyloxy) -4,7-bis (β-epithiopropyloxymethyl) -3,6,9-trithiaundecane.
脂肪族環状骨格を有する化合物としては、1,3または1,4−ビス(β−エピチオプロピルオキシ)シクロヘキサン、1,3または1,4−ビス(β−エピチオプロピルオキシメチル)シクロヘキサン、ビス〔4−(β−エピチオプロピルオキシ)シクロヘキシル〕メタン、2,2−ビス〔4−(β−エピチオプロピルオキシ)シクロヘキシル〕プロパン、ビス〔4−(β−エピチオプロピルオキシ)シクロヘキシル〕スルフィド、2,5−ビス(β−エピチオプロピルオキシメチル)−1,4−ジチアン、2,5−ビス(β−エピチオプロピルオキシエチルオキシメチル)−1,4−ジチアン等が挙げられる。
Examples of the compound having an aliphatic cyclic skeleton include 1,3 or 1,4-bis (β-epithiopropyloxy) cyclohexane, 1,3 or 1,4-bis (β-epithiopropyloxymethyl) cyclohexane, bis [4- (β-epithiopropyloxy) cyclohexyl] methane, 2,2-bis [4- (β-epithiopropyloxy) cyclohexyl] propane, bis [4- (β-epithiopropyloxy) cyclohexyl]
芳香族骨格を有する化合物としては、1,3または1,4−ビス(β−エピチオプロピルオキシ)ベンゼン、1,3または1,4−ビス(β−エピチオプロピルオキシメチル)ベンゼン、等の芳香族骨格を1個有する化合物や、ビス〔4−(β−エピチオプロピル)フェニル〕メタン、2,2−ビス〔4−(β−エピチオプロピルチオ)フェニル〕プロパン、ビス〔4−(β−エピチオプロピルチオ)フェニル〕スルフィド、ビス〔4−(β−エピチオプロピルチオ)フェニル〕スルフォン、4,4’−ビス(β−エピチオプロピルチオ)ビフェニル等の芳香族骨格を2個有する化合物が挙げられる。さらには、これらの化合物のエピチオ基の水素の少なくとも1個がメチル基で置換された化合物も挙げられる。 Examples of the compound having an aromatic skeleton include 1,3 or 1,4-bis (β-epithiopropyloxy) benzene, 1,3 or 1,4-bis (β-epithiopropyloxymethyl) benzene, and the like. Compounds having one aromatic skeleton, bis [4- (β-epithiopropyl) phenyl] methane, 2,2-bis [4- (β-epithiopropylthio) phenyl] propane, bis [4- ( Two aromatic skeletons such as β-epithiopropylthio) phenyl] sulfide, bis [4- (β-epithiopropylthio) phenyl] sulfone, 4,4′-bis (β-epithiopropylthio) biphenyl The compound which has is mentioned. Furthermore, compounds in which at least one hydrogen of the epithio group of these compounds is substituted with a methyl group are also included.
(c)エピチオアルキルチオ基を1個以上有する有機化合物としては、メルカプト基を有する化合物とエピハロヒドリンから誘導されるエポキシ化合物のエポキシアルキルチオ基(具体的には、β−エポキシプロピルチオ基)の1個以上をエピチオアルキルチオ基に置換した化合物が挙げられる。
より具体的には、鎖状脂肪族骨格を有する有機化合物、脂肪族環状骨格を有する化合物、芳香族骨格を有する化合物が挙げられる。
(C) As an organic compound having one or more epithioalkylthio groups, one epoxyalkylthio group (specifically, β-epoxypropylthio group) of an epoxy compound derived from a compound having a mercapto group and an epihalohydrin The compound which substituted the above by the epithioalkylthio group is mentioned.
More specifically, an organic compound having a chain aliphatic skeleton, a compound having an aliphatic cyclic skeleton, and a compound having an aromatic skeleton can be given.
鎖状脂肪族骨格を有する有機化合物としては、ビス(β−エピチオプロピル)スルフィド、ビス(β−エピチオプロピル)ジスルフィド、ビス(β−エピチオプロピル)トリスルフィド、ビス(β−エピチオプロピルチオ)メタン、ビス(β−エピチオプロピルジチオ)メタン、ビス(β−エピチオプロピルジチオ)エタン、ビス(β−エピチオプロピルジチオエチル)スルフィド、ビス(β−エピチオプロピルジチオエチル)ジスルフィド、1,2−ビス(β−エピチオプロピルチオ)エタン、1,3−ビス(β−エピチオプロピルチオ)プロパン、1,2−ビス(β−エピチオプロピルチオ)プロパン、1−(β−エピチオプロピルチオ)−2−(β−エピチオプロピルチオメチル)プロパン、1,4−ビス(β−エピチオプロピルチオ)ブタン、1,3−ビス(β−エピチオプロピルチオ)ブタン、1−(β−エピチオプロピルチオ)−3−(β−エピチオプロピルチオメチル)ブタン、1,5−ビス(β−エピチオプロピルチオ)ペンタン、1−(β−エピチオプロピルチオ)−4−(β−エピチオプロピルチオメチル)ペンタン、1,6−ビス(β−エピチオプロピルチオ)ヘキサン、1−(β−エピチオプロピルチオ)−5−(β−エピチオプロピルチオメチル)ヘキサン、1−(β−エピチオプロピルチオ)−2−〔(2−β−エピチオプロピルチオエチル)チオ〕エタン、1−(β−エピチオプロピルチオ)−2−[〔2−(2−β−エピチオプロピルチオエチル)チオエチル〕チオ]エタンテトラキス(β−エピチオプロピルチオメチル)メタン、テトラキス(β−エピチオプロピルジチオメチル)メタン、1,1,1−トリス(β−エピチオプロピルチオメチル)プロパン、1,2,3−トリス(β−エピチオプロピルジチオ)プロパン、1,5−ビス(β−エピチオプロピルチオ)−2−(β−エピチオプロピルチオメチル)−3−チアペンタン、1,5−ビス(β−エピチオプロピルチオ)−2,4−ビス(β−エピチオプロピルチオメチル)−3−チアペンタン、1,6−ビス(β−エピチオプロピルジチオメチル)−2−(β−エピチオプロピルジチオエチルチオ)−4−チアヘキサン、1−(β−エピチオプロピルチオ)−2,2−ビス(β−エピチオプロピルチオメチル)−4−チアヘキサン、1,5,6−トリス(β−エピチオプロピルチオ)−4−(β−エピチオプロピルチオメチル)−3−チアヘキサン、1,8−ビス(β−エピチオプロピルチオ)−4−(β−エピチオプロピルチオメチル)−3,6−ジチアオクタン、1,8−ビス(β−エピチオプロピルチオ)−4,5ビス(β−エピチオプロピルチオメチル)−3,6−ジチアオクタン、1,8−ビス(β−エピチオプロピルチオ)−4,4−ビス(β−エピチオプロピルチオメチル)−3,6−ジチアオクタン、1,8−ビス(β−エピチオプロピルチオ)−2,4,5−トリス(β−エピチオプロピルチオメチル)−3,6−ジチアオクタン、1,8−ビス(β−エピチオプロピルチオ)−2,5−ビス(β−エピチオプロピルチオメチル)−3,6−ジチアオクタン、1,9−ビス(β−エピチオプロピルチオ)−5−(β−エピチオプロピルチオメチル)−5−〔(2−β−エピチオプロピルチオエチル)チオメチル〕−3,7−ジチアノナン、1,10−ビス(β−エピチオプロピルチオ)−5,6−ビス〔(2−β−エピチオプロピルチオエチル)チオ〕−3,6,9−トリチアデカン、1,11−ビス(β−エピチオプロピルチオ)−4,8−ビス(β−エピチオプロピルチオメチル)−3,6,9−トリチアウンデカン、1,11−ビス(β−エピチオプロピルチオ)−5,7−ビス(β−エピチオプロピルチオメチル)−3,6,9−トリチアウンデカン、1,11−ビス(β−エピチオプロピルチオ)−5,7−〔(2−β−エピチオプロピルチオエチル)チオメチル〕−3,6,9−トリチアウンデカン、1,11−ビス(β−エピチオプロピルチオ)−4,7−ビス(β−エピチオプロピルチオメチル)−3,6,9−トリチアウンデカン等が挙げられる。 Examples of organic compounds having a chain aliphatic skeleton include bis (β-epithiopropyl) sulfide, bis (β-epithiopropyl) disulfide, bis (β-epithiopropyl) trisulfide, and bis (β-epithiopropyl). Thio) methane, bis (β-epithiopropyldithio) methane, bis (β-epithiopropyldithio) ethane, bis (β-epithiopropyldithioethyl) sulfide, bis (β-epithiopropyldithioethyl) disulfide, 1,2-bis (β-epithiopropylthio) ethane, 1,3-bis (β-epithiopropylthio) propane, 1,2-bis (β-epithiopropylthio) propane, 1- (β- Epithiopropylthio) -2- (β-epithiopropylthiomethyl) propane, 1,4-bis (β-epithiopropylthio) butane, 1,3-bis (β-epithiopropylthio) butane, 1- (β-epithiopropylthio) -3- (β-epithiopropylthiomethyl) butane, 1,5-bis (β-epithiopropyl) Thio) pentane, 1- (β-epithiopropylthio) -4- (β-epithiopropylthiomethyl) pentane, 1,6-bis (β-epithiopropylthio) hexane, 1- (β-epithio) Propylthio) -5- (β-epithiopropylthiomethyl) hexane, 1- (β-epithiopropylthio) -2-[(2-β-epithiopropylthioethyl) thio] ethane, 1- (β -Epithiopropylthio) -2-[[2- (2-β-epithiopropylthioethyl) thioethyl] thio] ethanetetrakis (β-epithiopropylthiomethyl) methane, tetrakis (β-epithiopropyl) Thiomethyl) methane, 1,1,1-tris (β-epithiopropylthiomethyl) propane, 1,2,3-tris (β-epithiopropyldithio) propane, 1,5-bis (β-epithiopropyl) Thio) -2- (β-epithiopropylthiomethyl) -3-thiapentane, 1,5-bis (β-epithiopropylthio) -2,4-bis (β-epithiopropylthiomethyl) -3- Thiapentane, 1,6-bis (β-epithiopropyldithiomethyl) -2- (β-epithiopropyldithioethylthio) -4-thiahexane, 1- (β-epithiopropylthio) -2,2-bis (Β-epithiopropylthiomethyl) -4-thiahexane, 1,5,6-tris (β-epithiopropylthio) -4- (β-epithiopropylthiomethyl) -3-thiahexane, 1, -Bis (β-epithiopropylthio) -4- (β-epithiopropylthiomethyl) -3,6-dithiaoctane, 1,8-bis (β-epithiopropylthio) -4,5bis (β- Epithiopropylthiomethyl) -3,6-dithiaoctane, 1,8-bis (β-epithiopropylthio) -4,4-bis (β-epithiopropylthiomethyl) -3,6-dithiaoctane, 1, 8-bis (β-epithiopropylthio) -2,4,5-tris (β-epithiopropylthiomethyl) -3,6-dithiaoctane, 1,8-bis (β-epithiopropylthio) -2 , 5-bis (β-epithiopropylthiomethyl) -3,6-dithiaoctane, 1,9-bis (β-epithiopropylthio) -5- (β-epithiopropylthiomethyl) -5-[( 2-β-epithiopropyl Oethyl) thiomethyl] -3,7-dithianonane, 1,10-bis (β-epithiopropylthio) -5,6-bis [(2-β-epithiopropylthioethyl) thio] -3,6,9 -Trithiadecane, 1,11-bis (β-epithiopropylthio) -4,8-bis (β-epithiopropylthiomethyl) -3,6,9-trithiaundecane, 1,11-bis (β- Epithiopropylthio) -5,7-bis (β-epithiopropylthiomethyl) -3,6,9-trithiaundecane, 1,11-bis (β-epithiopropylthio) -5,7- [ (2-β-epithiopropylthioethyl) thiomethyl] -3,6,9-trithiaundecane, 1,11-bis (β-epithiopropylthio) -4,7-bis (β-epithiopropylthio) Methyl) -3,6,9-tri Thiaundecane and the like can be mentioned.
エステル基とエピチオアルキルチオ基を有する鎖状化合物としては、テトラ〔2−(β−エピチオプロピルチオ)アセチルメチル〕メタン、1,1,1−トリ〔2−(β−エピチオプロピルチオ)アセチルメチル〕プロパン、テトラ〔2−(β−エピチオプロピルチオメチル)アセチルメチル〕メタン、1,1,1−トリ〔2−(β−エピチオプロピルチオメチル)アセチルメチル〕プロパン等が挙げられる。 Examples of the chain compound having an ester group and an epithioalkylthio group include tetra [2- (β-epithiopropylthio) acetylmethyl] methane, 1,1,1-tri [2- (β-epithiopropylthio). Acetylmethyl] propane, tetra [2- (β-epithiopropylthiomethyl) acetylmethyl] methane, 1,1,1-tri [2- (β-epithiopropylthiomethyl) acetylmethyl] propane and the like. .
脂肪族環状骨格を有する化合物としては、1,3または1,4−ビス(β−エピチオプロピルチオ)シクロヘキサン、1,3または1,4−ビス(β−エピチオプロピルチオメチル)シクロヘキサン2,5−ビス(β−エピチオプロピルチオメチル)−1,4−ジチアン、2,5−ビス(β−エピチオプロピルジチオメチル)−1,4−ジチアン、2,5−ビス(β−エピチオプロピルチオエチルチオメチル)−1,4−ジチアン等の脂肪族環状骨格を1個有する化合物や、ビス〔4−(β−エピチオプロピルチオ)シクロヘキシル〕メタン、2,2−ビス〔4−(β−エピチオプロピルチオ)シクロヘキシル〕プロパン、ビス〔4−(β−エピチオプロピルチオ)シクロヘキシル〕スルフィド、2,2−ビス〔4−(β−エピチオプロピルチオ)シクロヘキシル〕プロパン、ビス〔4−(β−エピチオプロピルチオ)シクロヘキシル〕スルフィド等の脂肪族環状骨格を2個有する化合物が挙げられる。
Examples of the compound having an aliphatic cyclic skeleton include 1,3 or 1,4-bis (β-epithiopropylthio) cyclohexane, 1,3 or 1,4-bis (β-epithiopropylthiomethyl)
芳香族骨格を有する化合物としては、1,3または1,4−ビス(β−エピチオプロピルチオ)ベンゼン、1,3または1,4−ビス(β−エピチオプロピルチオメチル)ベンゼン、1,3または1,4−ビス(β−エピチオプロピルジチオメチル)ベンゼン、等の芳香族骨格を1個有する化合物や、ビス〔4−(β−エピチオプロピルチオ)フェニル〕メタン、2,2−ビス〔4−(β−エピチオプロピルチオ)フェニル〕プロパン、ビス〔4−(β−エピチオプロピルチオ)フェニル〕スルフィド、ビス〔4−(β−エピチオプロピルチオ)フェニル〕スルフォン、4,4’−ビス(β−エピチオプロピルチオ)ビフェニル等の芳香族骨格を2個有する化合物が挙げられる。さらには、これらの化合物のβ−エピチオプロピル基の水素の少なくとも1個がメチル基で置換された化合物も具体例となる。 Examples of the compound having an aromatic skeleton include 1,3 or 1,4-bis (β-epithiopropylthio) benzene, 1,3 or 1,4-bis (β-epithiopropylthiomethyl) benzene, 1, A compound having one aromatic skeleton such as 3 or 1,4-bis (β-epithiopropyldithiomethyl) benzene, bis [4- (β-epithiopropylthio) phenyl] methane, 2,2- Bis [4- (β-epithiopropylthio) phenyl] propane, bis [4- (β-epithiopropylthio) phenyl] sulfide, bis [4- (β-epithiopropylthio) phenyl] sulfone, 4, Examples thereof include compounds having two aromatic skeletons such as 4′-bis (β-epithiopropylthio) biphenyl. Furthermore, compounds in which at least one of hydrogens in the β-epithiopropyl group of these compounds is substituted with a methyl group are also specific examples.
(d)エピチオアルキルセレノ基を有する有機化合物としては、金属セレン、アルカリ金属セレニド、アルカリ金属セレノール、アルキル(アリール)セレノール、セレン化水素等のセレン化合物とエピハロヒドリンから誘導されるエポキシ化合物のエポキシアルキルセレノ基(具体的には、β−エポキシプロピルセレノ基)の1個以上をエピチオアルキルセレノ基に置換した化合物が挙げられる。
より具体的には、鎖状脂肪族骨格を有する有機化合物、脂肪族環状骨格を有する化合物、芳香族骨格を有する化合物が挙げられる。
(D) As an organic compound having an epithioalkylseleno group, an epoxy alkyl of an epoxy compound derived from a selenium compound such as metal selenium, alkali metal selenide, alkali metal selenol, alkyl (aryl) selenol, hydrogen selenide, and epihalohydrin Examples include compounds in which one or more seleno groups (specifically, β-epoxypropylseleno groups) are substituted with epithioalkylseleno groups.
More specifically, an organic compound having a chain aliphatic skeleton, a compound having an aliphatic cyclic skeleton, and a compound having an aromatic skeleton can be given.
鎖状脂肪族骨格を有する有機化合物としては、ビス(β−エピチオプロピル)セレニド、ビス(β−エピチオプロピル)ジセレニド、ビス(β−エピチオプロピル)トリセレニド、ビス(β−エピチオプロピルセレノ)メタン、1,2−ビス(β−エピチオプロピルセレノ)エタン、1,3−ビス(β−エピチオプロピルセレノ)プロパン、1,2−ビス(β−エピチオプロピルセレノ)プロパン、1−(β−エピチオプロピルセレノ)−2−(β−エピチオプロピルセレノメチル)プロパン、1,4−ビス(β−エピチオプロピルセレノ)ブタン、1,3−ビス(β−エピチオプロピルセレノ)ブタン、1−(β−エピチオプロピルセレノ)−3−(β−エピチオプロピルセレノメチル)ブタン、1,5−ビス(β−エピチオプロピルセレノ)ペンタン、1−(β−エピチオプロピルセレノ)−4−(β−エピチオプロピルセレノメチル)ペンタン、1,6−ビス(β−エピチオプロピルセレノ)ヘキサン、1−(β−エピチオプロピルセレノ)−5−(β−エピチオプロピルセレノメチル)ヘキサン、1−(β−エピチオプロピルセレノ)−2−〔(2−β−エピチオプロピルセレノエチル)チオ〕エタン、1−(β−エピチオプロピルセレノ)−2−[〔2−(2−β−エピチオプロピルセレノエチル)セレノエチル〕チオ]エタン、テトラキス(β−エピチオプロピルセレノメチル)メタン、1,1,1−トリス(β−エピチオプロピルセレノメチル)プロパン、1,5−ビス(β−エピチオプロピルセレノ)−2−(β−エピチオプロピルセレノメチル)−3−チアペンタン、1,5−ビス(β−エピチオプロピルセレノ)−2,4−ビス(β−エピチオプロピルセレノメチル)−3−チアペンタン、1−(β−エピチオプロピルセレノ)−2,2−ビス(β−エピチオプロピルセレノメチル)−4−チアヘキサン、1,5,6−トリス(β−エピチオプロピルセレノ)−4−(β−エピチオプロピルセレノメチル)−3−チアヘキサン、1,8−ビス(β−エピチオプロピルセレノ)−4−(β−エピチオプロピルセレノメチル)−3,6−ジチアオクタン、1,8−ビス(β−エピチオプロピルセレノ)−4,5ビス(β−エピチオプロピルセレノメチル)−3,6−ジチアオクタン、1,8−ビス(β−エピチオプロピルセレノ)−4,4−ビス(β−エピチオプロピルセレノメチル)−3,6−ジチアオクタン、1,8−ビス(β−エピチオプロピルセレノ)−2,4,5−トリス(β−エピチオプロピルセレノメチル)−3,6−ジチアオクタン、1,8−ビス(β−エピチオプロピルセレノ)−2,5−ビス(β−エピチオプロピルセレノメチル)−3,6−ジチアオクタン、1,9−ビス(β−エピチオプロピルセレノ)−5−(β−エピチオプロピルセレノメチル)−5−〔(2−β−エピチオプロピルセレノエチル)セレノメチル〕−3,7−ジチアノナン、1,10−ビス(β−エピチオプロピルセレノ)−5,6−ビス〔(2−β−エピチオプロピルセレノエチル)チオ〕−3,6,9−トリチアデカン、1,11−ビス(β−エピチオプロピルセレノ)−4,8−ビス(β−エピチオプロピルセレノメチル)−3,6,9−トリチアウンデカン、1,11−ビス(β−エピチオプロピルセレノ)−5,7−ビス(β−エピチオプロピルセレノメチル)−3,6,9−トリチアウンデカン、1,11−ビス(β−エピチオプロピルセレノ)−5,7−〔(2−β−エピチオプロピルセレノエチル)セレノメチル〕−3,6,9−トリチアウンデカン、1,11−ビス(β−エピチオプロピルセレノ)−4,7−ビス(β−エピチオプロピルセレノメチル)−3,6,9−トリチアウンデカン、テトラ〔2−(β−エピチオプロピルセレノ)アセチルメチル〕メタン、1,1,1−トリ〔2−(β−エピチオプロピルセレノ)アセチルメチル〕プロパン、テトラ〔2−(β−エピチオプロピルセレノメチル)アセチルメチル〕メタン、1、1,1−トリ〔2−(β−エピチオプロピルセレノメチル)アセチルメチル〕プロパン、ビス(5,6−エピチオ−3−セレノヘキシル)セレニド、2,3−ビス(6,7−チオエポキシ−1−セレナ−4−セレノヘプチル)−1−(3,4−チオエポキシ−1−セレノブチル)プロパン、1,1,3,3,−テトラキス(4,5−チオエポキシ−2−セレノペンチル)−2−セレナプロパン、ビス(4,5−チオエポキシ−2−セレノペンチル)−3,6,9−トリセレナウンデカン−1,11−ビス(3,4−チオエポキシ−1−セレノブチル)、1,4−ビス(3,4−チオエポキシ−1−セレノブチル)−2,3−ビス(6,7−チオエポキシ−1−セレナ−4−セレノヘプチル)ブタン、トリス(4,5−チオエポキシ−2−セレノペンチル)−3−セレナ−6−チアオクタン−1,8−ビス(3,4−チオエポキシ−1−セレノブチル)、ビス(5,6−エピチオ−3−セレノヘキシル)テルリド、2,3−ビス(6,7−チオエポキシ−1−テルラ−4−セレノヘプチル)−1−(3,4−チオエポキシ−1−セレノブチル)プロパン、1,1,3,3,−テトラキス(4,5−チオエポキシ−2−セレノペンチル)−2−テルラプロパン、ビス(4,5−チオエポキシ−2−セレノペンチル)−3,6,9−トリテレラウンデカン−1,11−ビス(3,4−チオエポキシ−1−セレノブチル)、1,4−ビス(3,4−チオエポキシ−1−セレノブチル)−2,3−ビス(6,7−チオエポキシ−1−テルラ−4−セレノヘプチル)ブタン、トリス(4,5−チオエポキシ−2−セレノペンチル)−3−テルラ−6−チアオクタン−1,8−ビス(3,4−チオエポキシ−1−セレノブチル)等が挙げられる。 Examples of the organic compound having a chain aliphatic skeleton include bis (β-epithiopropyl) selenide, bis (β-epithiopropyl) diselenide, bis (β-epithiopropyl) triselenide, and bis (β-epithiopropylseleno). ) Methane, 1,2-bis (β-epithiopropylseleno) ethane, 1,3-bis (β-epithiopropylseleno) propane, 1,2-bis (β-epithiopropylseleno) propane, 1- (Β-epithiopropylseleno) -2- (β-epithiopropylselenomethyl) propane, 1,4-bis (β-epithiopropylseleno) butane, 1,3-bis (β-epithiopropylseleno) Butane, 1- (β-epithiopropylseleno) -3- (β-epithiopropylselenomethyl) butane, 1,5-bis (β-epithiopropylseleno) penta 1- (β-epithiopropylseleno) -4- (β-epithiopropylselenomethyl) pentane, 1,6-bis (β-epithiopropylseleno) hexane, 1- (β-epithiopropylseleno) ) -5- (β-epithiopropylselenomethyl) hexane, 1- (β-epithiopropylseleno) -2-[(2-β-epithiopropylselenoethyl) thio] ethane, 1- (β-epi Thiopropylseleno) -2-[[2- (2-β-epithiopropylselenoethyl) selenoethyl] thio] ethane, tetrakis (β-epithiopropylselenomethyl) methane, 1,1,1-tris (β- Epithiopropylselenomethyl) propane, 1,5-bis (β-epithiopropylseleno) -2- (β-epithiopropylselenomethyl) -3-thiapentane, 1,5-bis β-epithiopropylseleno) -2,4-bis (β-epithiopropylselenomethyl) -3-thiapentane, 1- (β-epithiopropylseleno) -2,2-bis (β-epithiopropylseleno) Methyl) -4-thiahexane, 1,5,6-tris (β-epithiopropylseleno) -4- (β-epithiopropylselenomethyl) -3-thiahexane, 1,8-bis (β-epithiopropyl) Seleno) -4- (β-epithiopropylselenomethyl) -3,6-dithiaoctane, 1,8-bis (β-epithiopropylseleno) -4,5bis (β-epithiopropylselenomethyl) -3 , 6-dithiaoctane, 1,8-bis (β-epithiopropylseleno) -4,4-bis (β-epithiopropylselenomethyl) -3,6-dithiaoctane, 1,8-bis (β- Pithiopropylseleno) -2,4,5-tris (β-epithiopropylselenomethyl) -3,6-dithiaoctane, 1,8-bis (β-epithiopropylseleno) -2,5-bis (β -Epithiopropylselenomethyl) -3,6-dithiaoctane, 1,9-bis (β-epithiopropylseleno) -5- (β-epithiopropylselenomethyl) -5-[(2-β-epithio Propylselenoethyl) selenomethyl] -3,7-dithianonane, 1,10-bis (β-epithiopropylseleno) -5,6-bis [(2-β-epithiopropylselenoethyl) thio] -3,6 , 9-trithiadecane, 1,11-bis (β-epithiopropylseleno) -4,8-bis (β-epithiopropylselenomethyl) -3,6,9-trithiaundecane, 1,11-bis ( β-epithiopropylseleno) -5,7-bis (β-epithiopropylselenomethyl) -3,6,9-trithiaundecane, 1,11-bis (β-epithiopropylseleno) -5,7 -[(2-β-epithiopropylselenoethyl) selenomethyl] -3,6,9-trithiaundecane, 1,11-bis (β-epithiopropylseleno) -4,7-bis (β-epithio Propylselenomethyl) -3,6,9-trithiaundecane, tetra [2- (β-epithiopropylseleno) acetylmethyl] methane, 1,1,1-tri [2- (β-epithiopropylseleno) Acetylmethyl] propane, tetra [2- (β-epithiopropylselenomethyl) acetylmethyl] methane, 1,1,1-tri [2- (β-epithiopropylselenomethyl) acetylmethyl Propane, bis (5,6-epithio-3-selenohexyl) selenide, 2,3-bis (6,7-thioepoxy-1-selena-4-selenoheptyl) -1- (3,4-thioepoxy-1- Selenobutyl) propane, 1,1,3,3-tetrakis (4,5-thioepoxy-2-selenopentyl) -2-selenapropane, bis (4,5-thioepoxy-2-selenopentyl) -3,6 9-Triselenaundecane-1,11-bis (3,4-thioepoxy-1-selenobutyl), 1,4-bis (3,4-thioepoxy-1-selenobutyl) -2,3-bis (6,7- Thioepoxy-1-selena-4-selenoheptyl) butane, tris (4,5-thioepoxy-2-selenopentyl) -3-selena-6-thiaoctane-1,8-bis (3,4-thio) Epoxy-1-selenobutyl), bis (5,6-epithio-3-selenohexyl) telluride, 2,3-bis (6,7-thioepoxy-1-tellura-4-selenoheptyl) -1- (3,4 -Thioepoxy-1-selenobutyl) propane, 1,1,3,3-tetrakis (4,5-thioepoxy-2-selenopentyl) -2-tellapropane, bis (4,5-thioepoxy-2-selenopentyl) -3,6,9-triteraundecane-1,11-bis (3,4-thioepoxy-1-selenobutyl), 1,4-bis (3,4-thioepoxy-1-selenobutyl) -2,3-bis (6,7-thioepoxy-1-tella-4-selenoheptyl) butane, tris (4,5-thioepoxy-2-selenopentyl) -3-tella-6-thiaoctane-1,8 Bis (3,4-thioepoxy-1-Serenobuchiru) and the like.
脂肪族環状骨格を有する化合物としては、(1,3または1,4)−ビス(β−エピチオプロピルセレノ)シクロヘキサン、(1,3または1,4)−ビス(β−エピチオプロピルセレノメチル)シクロヘキサン、ビス〔4−(β−エピチオプロピルセレノ)シクロヘキシル〕メタン、2,2−ビス〔4−(β−エピチオプロピルセレノ)シクロヘキシル〕プロパン、ビス〔4−(β−エピチオプロピルセレノ)シクロヘキシル〕スルフィド、2,5−ビス(β−エピチオプロピルセレノメチル)−1,4−ジチアン、2,5−ビス(β−エピチオプロピルセレノエチルチオメチル)−1,4−ジチアン、(2,3、2,5または2,6)−ビス(3,4−エピチオ−1−セレノブチル)−1,4−ジセレナン、(2,3、2,5または2,6)−ビス(4,5−エピチオ−2−セレノペンチル)−1,4−ジセレナン、(2,4、2,5または5,6)−ビス(3,4−エピチオ−1−セレノブチル)−1,3−ジセレナン、(2,4、2,5または5,6)−ビス(4,5−エピチオ−2−セレノペンチル)−1,3−ジセレナン、(2,3、2,5、2,6または3,5)−ビス(3,4−エピチオ−1−セレノブチル)−1−チア−4−セレナン、(2,3、2,5、2,6または3,5)−ビス(4,5−エピチオ−2−セレノペンチル)−1−チア−4−セレナン、(2,4または4,5)−ビス(3,4−エピチオ−1−セレノブチル)−1、3−ジセレノラン、(2,4または4,5)−ビス(4,5−エピチオ−2−セレノペンチル)−1、3−ジセレノラン、(2,4、2,5または4,5)−ビス(3,4−エピチオ−1−セレノブチル)−1−チア−3−セレノラン、(2,4、2,5または4,5)−ビス(4,5−エピチオ−2−セレノペンチル)−1−チア−3−セレノラン、2,6−ビス(4,5−エピチオ−2−セレノペンチル−1,3,5−トリセレナン、ビス(3,4−エピチオ−1−セレノブチル)トリシクロセレナオクタン、ビス(3,4−エピチオ−1−セレノブチル)ジシクロセレナノナン、(2,3、2,4、2,5または3,4)−ビス(3,4−エピチオ−1−セレノブチル)セレノファン、(2,3、2,4、2,5または3,4)−ビス(4,5−エピチオ−2−セレノペンチル)セレノファン、2−(4,5−チオエポキシ−2−セレノペンチル)−5−(3,4−チオエポキシ−1−セレノブチル)−1−セレナシクロヘキサン、(2,3、2,4、2,5、2,6、3,4、3,5または4,5)−ビス(3,4−チオエポキシ−1−セレノブチル)−1−セレナシクロヘキサン、(2,3、2,4、2,5、2,6、3,4、3,5または4,5)−ビス(4,5−チオエポキシ−2−セレノペンチル)−1−セレナシクロヘキサン、(2,3、2,5または2,6)−ビス(3,4−エピチオ−1−セレノブチル)−1,4−ジテルラン、(2,3、2,5または2,6)−ビス(4,5−エピチオ−2−セレノペンチル)−1,4−ジテルラン、(2,4、2,5または5,6)−ビス(3,4−エピチオ−1−セレノブチル)−1,3−ジテルラン、(2,4、2,5または5,6)−ビス(4,5−エピチオ−2−セレノペンチル)−1,3−ジテルラン、(2,3、2,5、2,6または3,5)−ビス(3,4−エピチオ−1−セレノブチル)−1−チア−4−テルラン、(2,3、2,5、2,6または3,5)−ビス(4,5−エピチオ−2−セレノペンチル)−1−チア−4−テルラン、(2,4または4,5)−ビス(3,4−エピチオ−1−セレノブチル)−1、3−ジテルロラン、(2,4または4,5)−ビス(4,5−エピチオ−2−セレノペンチル)−1、3−ジテルロラン、(2,4、2,5または4,5)−ビス(3,4−エピチオ−1−セレノブチル)−1−チア−3−テルロラン、(2,4、2,5または4,5)−ビス(4,5−エピチオ−2−セレノペンチル)−1−チア−3−テルロラン、2,6−ビス(4,5−エピチオ−2−セレノペンチル−1,3,5−トリテルラン、ビス(3,4−エピチオ−1−セレノブチル)トリシクロテルラオクタン、ビス(3,4−エピチオ−1−セレノブチル)ジシクロテルラノナン、(2,3、2,4、2,5または3,4)−ビス(3,4−エピチオ−1−セレノブチル)テルロファン、(2,3、2,4、2,5または3,4)−ビス(4,5−エピチオ−2−セレノペンチル)テルロファン、2−(4,5−チオエポキシ−2−セレノペンチル)−5−(3,4−チオエポキシ−1−セレノブチル)−1−テルラシクロヘキサン、(2,3、2,4、2,5、2,6、3,4、3,5または4,5)−ビス(3,4−チオエポキシ−1−セレノブチル)−1−テルラシクロヘキサン、(2,3、2,4、2,5、2,6、3,4、3,5または4,5)−ビス(4,5−チオエポキシ−2−セレノペンチル)−1−テルラシクロヘキサン等が挙げられる。 Examples of the compound having an aliphatic cyclic skeleton include (1,3 or 1,4) -bis (β-epithiopropylseleno) cyclohexane, (1,3 or 1,4) -bis (β-epithiopropylselenomethyl). ) Cyclohexane, bis [4- (β-epithiopropylseleno) cyclohexyl] methane, 2,2-bis [4- (β-epithiopropylseleno) cyclohexyl] propane, bis [4- (β-epithiopropylseleno) ) Cyclohexyl] sulfide, 2,5-bis (β-epithiopropylselenomethyl) -1,4-dithiane, 2,5-bis (β-epithiopropylselenoethylthiomethyl) -1,4-dithiane, ( 2,3,2,5 or 2,6) -bis (3,4-epithio-1-selenobutyl) -1,4-diselenane, (2,3,2,5 or 2,6) Bis (4,5-epithio-2-selenopentyl) -1,4-diselenane, (2,4,2,5 or 5,6) -bis (3,4-epithio-1-selenobutyl) -1,3 Diselenane, (2,4,2,5 or 5,6) -bis (4,5-epithio-2-selenopentyl) -1,3-diselenane, (2,3,2,5,2,6 or 3,5) -bis (3,4-epithio-1-selenobutyl) -1-thia-4-selenane, (2,3,2,5,2,6 or 3,5) -bis (4,5- Epithio-2-selenopentyl) -1-thia-4-selenane, (2,4 or 4,5) -bis (3,4-epithio-1-selenobutyl) -1,3-diselenolane, (2,4 or 4,5) -bis (4,5-epithio-2-selenopentyl) -1,3-diselenolane, (2, 4,2,5 or 4,5) -bis (3,4-epithio-1-selenobutyl) -1-thia-3-selenolane, (2,4,2,5 or 4,5) -bis (4 5-epithio-2-selenopentyl) -1-thia-3-selenolane, 2,6-bis (4,5-epithio-2-selenopentyl-1,3,5-triselenane, bis (3,4-epithio) -1-selenobutyl) tricycloselenaoctane, bis (3,4-epithio-1-selenobutyl) dicycloselenanane, (2,3,2,4,2,5 or 3,4) -bis (3,4 -Epithio-1-selenobutyl) selenophan, (2,3,2,4,2,5 or 3,4) -bis (4,5-epithio-2-selenopentyl) selenophan, 2- (4,5 -Thioepoxy-2-selenopentyl) -5- (3,4 Thioepoxy-1-selenobutyl) -1-selenacyclohexane, (2,3,2,4,2,5,2,6,3,4,3,5 or 4,5) -bis (3,4-thioepoxy- 1-selenobutyl) -1-selenacyclohexane, (2,3,2,4,2,5,2,6,3,4,3,5 or 4,5) -bis (4,5-thioepoxy-2- Selenopentyl) -1-selenacyclohexane, (2,3,2,5 or 2,6) -bis (3,4-epithio-1-selenobutyl) -1,4-diterlan, (2,3,2,5 Or 2,6) -bis (4,5-epithio-2-selenopentyl) -1,4-diterlan, (2,4,2,5 or 5,6) -bis (3,4-epithio-1- Selenobutyl) -1,3-diterlan, (2,4,2,5 or 5,6) -bis 4,5-epithio-2-selenopentyl) -1,3-diterlan, (2,3,2,5,2,6 or 3,5) -bis (3,4-epithio-1-selenobutyl) -1 -Thia-4-tellrane, (2,3,2,5,2,6 or 3,5) -bis (4,5-epithio-2-selenopentyl) -1-thia-4-tellane, (2, 4 or 4,5) -bis (3,4-epithio-1-selenobutyl) -1,3-ditellolane, (2,4 or 4,5) -bis (4,5-epithio-2-selenopentyl)- 1,3-ditellolane, (2,4,2,5 or 4,5) -bis (3,4-epithio-1-selenobutyl) -1-thia-3-tellurolane, (2,4,2,5 or 4,5) -bis (4,5-epithio-2-selenopentyl) -1-thia-3-tellurolane, 2,6-bis (4,5-epithio-2-selenopentyl-1,3,5-triterulan, bis (3,4-epithio-1-selenobutyl) tricyclotellaoctane, bis (3,4-epithio- 1-selenobutyl) dicyclotellanonane, (2,3,2,4,2,5 or 3,4) -bis (3,4-epithio-1-selenobutyl) tellurophan, (2,3,2,4, 2,5 or 3,4) -bis (4,5-epithio-2-selenopentyl) tellurophane, 2- (4,5-thioepoxy-2-selenopentyl) -5- (3,4-thioepoxy-1- Selenobutyl) -1-tellulacyclohexane, (2,3,2,4,2,5,2,6,3,4,3,5 or 4,5) -bis (3,4-thioepoxy-1-selenobutyl) -1-tellulacyclohexane, 2,3,2,4,2,5,2,6,3,4,3,5 or 4,5) -bis (4,5-thioepoxy-2-selenopentyl) -1-telluracyclohexane It is done.
芳香族骨格を有する化合物としては、(1,3または1,4)−ビス(β−エピチオプロピルセレノ)ベンゼン、(1,3または1,4)−ビス(β−エピチオプロピルセレノメチル)ベンゼン、ビス〔4−(β−エピチオプロピルセレノ)フェニル〕メタン、2,2−ビス〔4−(β−エピチオプロピルセレノ)フェニル〕プロパン、ビス〔4−(β−エピチオプロピルセレノ)フェニル〕スルフィド、ビス〔4−(β−エピチオプロピルセレノ)フェニル〕スルフォン、4,4’−ビス(β−エピチオプロピルセレノ)ビフェニル等が挙げられる。
さらには、これらの化合物のβ−エピチオプロピル基の水素の少なくとも1個がメチル基で置換された化合物も挙げられる。
Examples of the compound having an aromatic skeleton include (1,3 or 1,4) -bis (β-epithiopropylseleno) benzene, (1,3 or 1,4) -bis (β-epithiopropylselenomethyl). Benzene, bis [4- (β-epithiopropylseleno) phenyl] methane, 2,2-bis [4- (β-epithiopropylseleno) phenyl] propane, bis [4- (β-epithiopropylseleno) Phenyl] sulfide, bis [4- (β-epithiopropylseleno) phenyl] sulfone, 4,4′-bis (β-epithiopropylseleno) biphenyl, and the like.
Furthermore, compounds in which at least one hydrogen of the β-epithiopropyl group of these compounds is substituted with a methyl group are also included.
(e)エピチオアルキルテルロ基を有する有機化合物としては、金属テルル、アルカリ金属テルリド、アルカリ金属テルロール、アルキル(アリール)テルロール、テルル化水素等のテルル化合物とエピハロヒドリンから誘導されるエポキシ化合物のエポキシアルキルテルロ基(具体的には、β−エポキシプロピルテルロ基)の1個以上をエピチオアルキルテルロ基に置換した化合物が挙げられる。
より具体的には、鎖状脂肪族骨格を有する有機化合物、脂肪族環状骨格を有する化合物、芳香族骨格を有する化合物が挙げられる。
(E) As an organic compound having an epithioalkyltelluro group, epoxyalkyl of an epoxy compound derived from a tellurium compound such as metal tellurium, alkali metal telluride, alkali metal tellurol, alkyl (aryl) tellurol, hydrogen telluride and epihalohydrin The compound which substituted one or more of the tellurium group (specifically (beta) -epoxypropyl tellurium group) with the epithioalkyltelluro group is mentioned.
More specifically, an organic compound having a chain aliphatic skeleton, a compound having an aliphatic cyclic skeleton, and a compound having an aromatic skeleton can be given.
鎖状脂肪族骨格を有する有機化合物としては、ビス(β−エピチオプロピル)テルリド、ビス(β−エピチオプロピル)ジテルリド、ビス(β−エピチオプロピル)トリテルリド、ビス(β−エピチオプロピルテルロ)メタン、1,2−ビス(β−エピチオプロピルテルロ)エタン、1,3−ビス(β−エピチオプロピルテルロ)プロパン、1,2−ビス(β−エピチオプロピルテルロ)プロパン、1−(β−エピチオプロピルテルロ)−2−(β−エピチオプロピルテルロメチル)プロパン、1,4−ビス(β−エピチオプロピルテルロ)ブタン、1,3−ビス(β−エピチオプロピルテルロ)ブタン、1−(β−エピチオプロピルテルロ)−3−(β−エピチオプロピルテルロメチル)ブタン、1,5−ビス(β−エピチオプロピルテルロ)ペンタン、1−(β−エピチオプロピルテルロ)−4−(β−エピチオプロピルテルロメチル)ペンタン、1,6−ビス(β−エピチオプロピルテルロ)ヘキサン、1−(β−エピチオプロピルテルロ)−5−(β−エピチオプロピルテルロメチル)ヘキサン、1−(β−エピチオプロピルテルロ)−2−〔(2−β−エピチオプロピルテルロエチル)チオ〕エタン、1−(β−エピチオプロピルテルロ)−2−[〔2−(2−β−エピチオプロピルテルロエチル)テルロエチル〕チオ]エタン、テトラキス(β−エピチオプロピルテルロメチル)メタン、1,1,1−トリス(β−エピチオプロピルテルロメチル)プロパン、1,5−ビス(β−エピチオプロピルテルロ)−2−(β−エピチオプロピルテルロメチル)−3−チアペンタン、1,5−ビス(β−エピチオプロピルテルロ)−2,4−ビス(β−エピチオプロピルテルロメチル)−3−チアペンタン、1−(β−エピチオプロピルテルロ)−2,2−ビス(β−エピチオプロピルテルロメチル)−4−チアヘキサン、1,5,6−トリス(β−エピチオプロピルテルロ)−4−(β−エピチオプロピルテルロメチル)−3−チアヘキサン、1,8−ビス(β−エピチオプロピルテルロ)−4−(β−エピチオプロピルテルロメチル)−3,6−ジチアオクタン、1,8−ビス(β−エピチオプロピルテルロ)−4,5ビス(β−エピチオプロピルテルロメチル)−3,6−ジチアオクタン、1,8−ビス(β−エピチオプロピルテルロ)−4,4−ビス(β−エピチオプロピルテルロメチル)−3,6−ジチアオクタン、1,8−ビス(β−エピチオプロピルテルロ)−2,4,5−トリス(β−エピチオプロピルテルロメチル)−3,6−ジチアオクタン、1,8−ビス(β−エピチオプロピルテルロ)−2,5−ビス(β−エピチオプロピルテルロメチル)−3,6−ジチアオクタン、1,9−ビス(β−エピチオプロピルテルロ)−5−(β−エピチオプロピルテルロメチル)−5−〔(2−β−エピチオプロピルテルロエチル)セレノメチル〕−3,7−ジチアノナン、1,10−ビス(β−エピチオプロピルテルロ)−5,6−ビス〔(2−β−エピチオプロピルテルロエチル)チオ〕−3,6,9−トリチアデカン、1,11−ビス(β−エピチオプロピルテルロ)−4,8−ビス(β−エピチオプロピルテルロメチル)−3,6,9−トリチアウンデカン、1,11−ビス(β−エピチオプロピルテルロ)−5,7−ビス(β−エピチオプロピルテルロメチル)−3,6,9−トリチアウンデカン、1,11−ビス(β−エピチオプロピルテルロ)−5,7−〔(2−β−エピチオプロピルテルロエチル)セレノメチル〕−3,6,9−トリチアウンデカン、1,11−ビス(β−エピチオプロピルテルロ)−4,7−ビス(β−エピチオプロピルテルロメチル)−3,6,9−トリチアウンデカン、テトラ〔2−(β−エピチオプロピルテルロ)アセチルメチル〕メタン、1,1,1−トリ〔2−(β−エピチオプロピルテルロ)アセチルメチル〕プロパン、テトラ〔2−(β−エピチオプロピルテルロメチル)アセチルメチル〕メタン、1、1,1−トリ〔2−(β−エピチオプロピルテルロメチル)アセチルメチル〕プロパン、ビス(5,6−エピチオ−3−テルロヘキシル)セレニド、2,3−ビス(6,7−チオエポキシ−1−セレナ−4−テルロヘプチル)−1−(3,4−チオエポキシ−1−テルロブチル)プロパン、1,1,3,3,−テトラキス(4,5−チオエポキシ−2−テルロペンチル)−2−セレナプロパン、ビス(4,5−チオエポキシ−2−テルロペンチル)−3,6,9−トリセレナウンデカン−1,11−ビス(3,4−チオエポキシ−1−テルロブチル)、1,4−ビス(3,4−チオエポキシ−1−テルロブチル)−2,3−ビス(6,7−チオエポキシ−1−セレナ−4−テルロヘプチル)ブタン、トリス(4,5−チオエポキシ−2−テルロペンチル)−3−セレナ−6−チアオクタン−1,8−ビス(3,4−チオエポキシ−1−テルロブチル)、ビス(5,6−エピチオ−3−テルロヘキシル)テルリド、2,3−ビス(6,7−チオエポキシ−1−テルラ−4−テルロヘプチル)−1−(3,4−チオエポキシ−1−テルロブチル)プロパン、1,1,3,3,−テトラキス(4,5−チオエポキシ−2−テルロペンチル)−2−テルラプロパン、ビス(4,5−チオエポキシ−2−テルロペンチル)−3,6,9−トリテレラウンデカン−1,11−ビス(3,4−チオエポキシ−1−テルロブチル)、1,4−ビス(3,4−チオエポキシ−1−テルロブチル)−2,3−ビス(6,7−チオエポキシ−1−テルラ−4−テルロヘプチル)ブタン、トリス(4,5−チオエポキシ−2−テルロペンチル)−3−テルラ−6−チアオクタン−1,8−ビス(3,4−チオエポキシ−1−テルロブチル)等が挙げられる。 Examples of the organic compound having a chain aliphatic skeleton include bis (β-epithiopropyl) telluride, bis (β-epithiopropyl) ditelluride, bis (β-epithiopropyl) tritellide, and bis (β-epithiopropyltelluro). ) Methane, 1,2-bis (β-epithiopropyltelluro) ethane, 1,3-bis (β-epithiopropyltelluro) propane, 1,2-bis (β-epithiopropyltelluro) propane, 1- (Β-epithiopropyltelluro) -2- (β-epithiopropyltelluromethyl) propane, 1,4-bis (β-epithiopropyltelluro) butane, 1,3-bis (β-epithiopropyltelluro) Butane, 1- (β-epithiopropyltelluro) -3- (β-epithiopropyltelluromethyl) butane, 1,5-bis (β-epithiopropyltelluro) pentane 1- (β-epithiopropyltelluro) -4- (β-epithiopropyltelluromethyl) pentane, 1,6-bis (β-epithiopropyltelluro) hexane, 1- (β-epithiopropyltelluro) ) -5- (β-epithiopropyltelluromethyl) hexane, 1- (β-epithiopropyltelluro) -2-[(2-β-epithiopropyltelluroethyl) thio] ethane, 1- (β-epi Thiopropyltelluro) -2-[[2- (2-β-epithiopropyltelluroethyl) telluroethyl] thio] ethane, tetrakis (β-epithiopropyltelluromethyl) methane, 1,1,1-tris (β- Epithiopropyltelluromethyl) propane, 1,5-bis (β-epithiopropyltelluro) -2- (β-epithiopropyltelluromethyl) -3-thiapentane, 1,5-bis β-epithiopropyltelluro) -2,4-bis (β-epithiopropyltelluromethyl) -3-thiapentane, 1- (β-epithiopropyltelluro) -2,2-bis (β-epithiopropyltelluro) Methyl) -4-thiahexane, 1,5,6-tris (β-epithiopropyltelluro) -4- (β-epithiopropyltelluromethyl) -3-thiahexane, 1,8-bis (β-epithiopropyl) Tellurium) -4- (β-epithiopropyltelluromethyl) -3,6-dithiaoctane, 1,8-bis (β-epithiopropyltelluro) -4,5bis (β-epithiopropyltelluromethyl) -3 , 6-dithiaoctane, 1,8-bis (β-epithiopropyltelluro) -4,4-bis (β-epithiopropyltelluromethyl) -3,6-dithiaoctane, 1,8-bis (β- Pithiopropyltelluro) -2,4,5-tris (β-epithiopropyltelluromethyl) -3,6-dithiaoctane, 1,8-bis (β-epithiopropyltelluro) -2,5-bis (β -Epithiopropyltelluromethyl) -3,6-dithiaoctane, 1,9-bis (β-epithiopropyltelluro) -5- (β-epithiopropyltelluromethyl) -5-[(2-β-epithio Propyltelluroethyl) selenomethyl] -3,7-dithianonane, 1,10-bis (β-epithiopropyltelluro) -5,6-bis [(2-β-epithiopropyltelluroethyl) thio] -3,6 , 9-trithiadecane, 1,11-bis (β-epithiopropyltelluro) -4,8-bis (β-epithiopropyltelluromethyl) -3,6,9-trithiaundecane, 1,11-bis ( β-epithiopropyltelluro) -5,7-bis (β-epithiopropyltelluromethyl) -3,6,9-trithiaundecane, 1,11-bis (β-epithiopropyltelluro) -5,7 -[(2-β-epithiopropyltelluroethyl) selenomethyl] -3,6,9-trithiaundecane, 1,11-bis (β-epithiopropyltelluro) -4,7-bis (β-epithio Propyltelluromethyl) -3,6,9-trithiaundecane, tetra [2- (β-epithiopropyltelluro) acetylmethyl] methane, 1,1,1-tri [2- (β-epithiopropyltelluro) Acetylmethyl] propane, tetra [2- (β-epithiopropyltelluromethyl) acetylmethyl] methane, 1,1,1-tri [2- (β-epithiopropyltelluromethyl) acetylmethyl Propane, bis (5,6-epithio-3-tellurohexyl) selenide, 2,3-bis (6,7-thioepoxy-1-selena-4-telloheptyl) -1- (3,4-thioepoxy-1-tellulobutyl) Propane, 1,1,3,3-tetrakis (4,5-thioepoxy-2-tellopentyl) -2-selenapropane, bis (4,5-thioepoxy-2-tellopentyl) -3,6,9-triselena Undecane-1,11-bis (3,4-thioepoxy-1-tellulobutyl), 1,4-bis (3,4-thioepoxy-1-tellulobutyl) -2,3-bis (6,7-thioepoxy-1- Selena-4-telluroheptyl) butane, tris (4,5-thioepoxy-2-telluropentyl) -3-selena-6-thiaoctane-1,8-bis (3,4-thio) Epoxy-1-tellulobutyl), bis (5,6-epithio-3-tellurohexyl) telluride, 2,3-bis (6,7-thioepoxy-1-tellla-4-telluroheptyl) -1- (3,4-thioepoxy) -1-tellulobutyl) propane, 1,1,3,3-tetrakis (4,5-thioepoxy-2-tellopentyl) -2-tellapropane, bis (4,5-thioepoxy-2-tellopentyl) -3,6 , 9-triteraoundedecane-1,11-bis (3,4-thioepoxy-1-tellulobutyl), 1,4-bis (3,4-thioepoxy-1-tellulobutyl) -2,3-bis (6,7 -Thioepoxy-1-tellla-4-telluroheptyl) butane, tris (4,5-thioepoxy-2-tellopentyl) -3-tella-6-thiaoctane-1,8 Bis (3,4-thioepoxy-1-Terurobuchiru) and the like.
脂肪族環状骨格を有する化合物としては、(1,3または1,4)−ビス(β−エピチオプロピルテルロ)シクロヘキサン、(1,3または1,4)−ビス(β−エピチオプロピルテルロメチル)シクロヘキサン、ビス〔4−(β−エピチオプロピルテルロ)シクロヘキシル〕メタン、2,2−ビス〔4−(β−エピチオプロピルテルロ)シクロヘキシル〕プロパン、ビス〔4−(β−エピチオプロピルテルロ)シクロヘキシル〕スルフィド、2,5−ビス(β−エピチオプロピルテルロメチル)−1,4−ジチアン、2,5−ビス(β−エピチオプロピルテルロエチルチオメチル)−1,4−ジチアン、(2,3、2,5または2,6)−ビス(3,4−エピチオ−1−テルロブチル)−1,4−ジセレナン、(2,3、2,5または2,6)−ビス(4,5−エピチオ−2−テルロペンチル)−1,4−ジセレナン、(2,4、2,5または5,6)−ビス(3,4−エピチオ−1−テルロブチル)−1,3−ジセレナン、(2,4、2,5または5,6)−ビス(4,5−エピチオ−2−テルロペンチル)−1,3−ジセレナン、(2,3、2,5、2,6または3,5)−ビス(3,4−エピチオ−1−テルロブチル)−1−チア−4−セレナン、(2,3、2,5、2,6または3,5)−ビス(4,5−エピチオ−2−テルロペンチル)−1−チア−4−セレナン、(2,4または4,5)−ビス(3,4−エピチオ−1−テルロブチル)−1、3−ジセレノラン、(2,4または4,5)−ビス(4,5−エピチオ−2−テルロペンチル)−1、3−ジセレノラン、(2,4、2,5または4,5)−ビス(3,4−エピチオ−1−テルロブチル)−1−チア−3−セレノラン、(2,4、2,5または4,5)−ビス(4,5−エピチオ−2−テルロペンチル)−1−チア−3−セレノラン、2,6−ビス(4,5−エピチオ−2−テルロペンチル−1,3,5−トリセレナン、ビス(3,4−エピチオ−1−テルロブチル)トリシクロセレナオクタン、ビス(3,4−エピチオ−1−テルロブチル)ジシクロセレナノナン、(2,3または2,4または2,5または3,4)−ビス(3,4−エピチオ−1−テルロブチル)セレノファン、(2,3、2,4、2,5または3,4)−ビス(4,5−エピチオ−2−テルロペンチル)セレノファン、2−(4,5−チオエポキシ−2−テルロペンチル)−5−(3,4−チオエポキシ−1−テルロブチル)−1−セレナシクロヘキサン、(2,3、2,4、2,5、2,6、3,4、3,5または4,5)−ビス(3,4−チオエポキシ−1−テルロブチル)−1−セレナシクロヘキサン、(2,3、2,4、2,5、2,6、3,4、3,5または4,5)−ビス(4,5−チオエポキシ−2−テルロペンチル)−1−セレナシクロヘキサン、(2,3、2,5または2,6)−ビス(3,4−エピチオ−1−テルロブチル)−1,4−ジテルラン、(2,3、2,5または2,6)−ビス(4,5−エピチオ−2−テルロペンチル)−1,4−ジテルラン、(2,4、2,5または5,6)−ビス(3,4−エピチオ−1−テルロブチル)−1,3−ジテルラン、(2,4、2,5または5,6)−ビス(4,5−エピチオ−2−テルロペンチル)−1,3−ジテルラン、(2,3、2,5、2,6または3,5)−ビス(3,4−エピチオ−1−テルロブチル)−1−チア−4−テルラン、(2,3、2,5、2,6または3,5)−ビス(4,5−エピチオ−2−テルロペンチル)−1−チア−4−テルラン、(2,4または4,5)−ビス(3,4−エピチオ−1−テルロブチル)−1、3−ジテルロラン、(2,4または4,5)−ビス(4,5−エピチオ−2−テルロペンチル)−1、3−ジテルロラン、(2,4、2,5または4,5)−ビス(3,4−エピチオ−1−テルロブチル)−1−チア−3−テルロラン、(2,4、2,5または4,5)−ビス(4,5−エピチオ−2−テルロペンチル)−1−チア−3−テルロラン、2,6−ビス(4,5−エピチオ−2−テルロペンチル−1,3,5−トリテルラン、ビス(3,4−エピチオ−1−テルロブチル)トリシクロテルラオクタン、ビス(3,4−エピチオ−1−テルロブチル)ジシクロテルラノナン、(2,3、2,4、2,5または3,4)−ビス(3,4−エピチオ−1−テルロブチル)テルロファン、(2,3、2,4、2,5または3,4)−ビス(4,5−エピチオ−2−テルロペンチル)テルロファン、2−(4,5−チオエポキシ−2−テルロペンチル)−5−(3,4−チオエポキシ−1−テルロブチル)−1−テルラシクロヘキサン、(2,3、2,4、2,5、2,6、3,4、3,5または4,5)−ビス(3,4−チオエポキシ−1−テルロブチル)−1−テルラシクロヘキサン、(2,3、2,4、2,5、2,6、3,4、3,5または4,5)−ビス(4,5−チオエポキシ−2−テルロペンチル)−1−テルラシクロヘキサン等が挙げられる。 Examples of the compound having an aliphatic cyclic skeleton include (1,3 or 1,4) -bis (β-epithiopropyltelluro) cyclohexane, (1,3 or 1,4) -bis (β-epithiopropyltelluromethyl). ) Cyclohexane, bis [4- (β-epithiopropyltelluro) cyclohexyl] methane, 2,2-bis [4- (β-epithiopropyltelluro) cyclohexyl] propane, bis [4- (β-epithiopropyltelluro) ) Cyclohexyl] sulfide, 2,5-bis (β-epithiopropyltelluromethyl) -1,4-dithiane, 2,5-bis (β-epithiopropyltelluroethylthiomethyl) -1,4-dithiane, ( 2,3,2,5 or 2,6) -bis (3,4-epithio-1-tellulobutyl) -1,4-diselenane, (2,3,2,5 or 2,6) Bis (4,5-epithio-2-telluropentyl) -1,4-diselenane, (2,4,2,5 or 5,6) -bis (3,4-epithio-1-tellulobutyl) -1,3- Diselenane, (2,4,2,5 or 5,6) -bis (4,5-epithio-2-telluropentyl) -1,3-diselenane, (2,3,2,5,2,6 or 3, 5) -Bis (3,4-epithio-1-tellulobutyl) -1-thia-4-selenane, (2,3,2,5,2,6 or 3,5) -bis (4,5-epithio- 2-tellopentyl) -1-thia-4-selenane, (2,4 or 4,5) -bis (3,4-epithio-1-tellulobutyl) -1,3-diselenolane, (2,4 or 4,5 ) -Bis (4,5-epithio-2-terlopentyl) -1,3-diselenolane, (2, 4,2,5 or 4,5) -bis (3,4-epithio-1-tellulobutyl) -1-thia-3-selenolane, (2,4,2,5 or 4,5) -bis (4 5-epithio-2-tellopentyl) -1-thia-3-selenolane, 2,6-bis (4,5-epithio-2-tellopentyl-1,3,5-triselenane, bis (3,4-epithio-1) -Tellulobutyl) tricycloselenaoctane, bis (3,4-epithio-1-tellurobutyl) dicycloselenanane, (2,3 or 2,4 or 2,5 or 3,4) -bis (3,4-epithio -1-tellulobutyl) selenophan, (2,3,2,4,2,5 or 3,4) -bis (4,5-epithio-2-tellopentyl) selenophan, 2- (4,5-thioepoxy- 2-telluropentyl) -5 3,4-thioepoxy-1-tellulobutyl) -1-selenacyclohexane, (2,3,2,4,2,5,2,6,3,4,3,5 or 4,5) -bis (3 4-thioepoxy-1-tellulobutyl) -1-selenacyclohexane, (2,3,2,4,2,5,2,6,3,4,3,5 or 4,5) -bis (4,5- Thioepoxy-2-tellulopentyl) -1-selenacyclohexane, (2,3,2,5 or 2,6) -bis (3,4-epithio-1-tellulobutyl) -1,4-diterlan, (2,3, 2,5 or 2,6) -bis (4,5-epithio-2-telluropentyl) -1,4-diterlan, (2,4, 2,5 or 5,6) -bis (3,4-epithio- 1-tellurobutyl) -1,3-diterlan, (2,4,2,5 or 5,6 -Bis (4,5-epithio-2-telluropentyl) -1,3-diterlan, (2,3,2,5,2,6 or 3,5) -bis (3,4-epithio-1-tellulobutyl) -1-thia-4-tellrane, (2,3,2,5,2,6 or 3,5) -bis (4,5-epithio-2-telluropentyl) -1-thia-4-tellane, (2 , 4 or 4,5) -bis (3,4-epithio-1-tellulobutyl) -1,3-ditellurolane, (2,4 or 4,5) -bis (4,5-epithio-2-telluropentyl)- 1,3-ditellolane, (2,4,2,5 or 4,5) -bis (3,4-epithio-1-tellulobutyl) -1-thia-3-tellurolane, (2,4,2,5 or 4,5) -Bis (4,5-epithio-2-terlopentyl) -1-thia-3-ter Lorane, 2,6-bis (4,5-epithio-2-tellopentyl-1,3,5-triterulan, bis (3,4-epithio-1-tellulobutyl) tricyclotellaoctane, bis (3,4-epithio) -1-tellulobutyl) dicyclotelllanonane, (2,3,2,4,2,5 or 3,4) -bis (3,4-epithio-1-tellulobutyl) tellophane, (2,3,2,4 , 2,5 or 3,4) -bis (4,5-epithio-2-terlopentyl) tellurophane, 2- (4,5-thioepoxy-2-terlopentyl) -5- (3,4-thioepoxy-1-tellulobutyl ) -1-tellulacyclohexane, (2,3,2,4,2,5,2,6,3,4,3,5 or 4,5) -bis (3,4-thioepoxy-1-tellulobutyl)- 1-Telluracyclohe Sun, (2,3,2,4,2,5,2,6,3,4,3,5 or 4,5) -bis (4,5-thioepoxy-2-telluropentyl) -1-tellulacyclohexane, etc. Is mentioned.
芳香族骨格を有する化合物としては、(1,3または1,4)−ビス(β−エピチオプロピルテルロ)ベンゼン、(1,3または1,4)−ビス(β−エピチオプロピルテルロメチル)ベンゼン、ビス〔4−(β−エピチオプロピルテルロ)フェニル〕メタン、2,2−ビス〔4−(β−エピチオプロピルテルロ)フェニル〕プロパン、ビス〔4−(β−エピチオプロピルテルロ)フェニル〕スルフィド、ビス〔4−(β−エピチオプロピルテルロ)フェニル〕スルフォン、4,4’−ビス(β−エピチオプロピルテルロ)ビフェニル等が挙げられる。さらには、これらの化合物のβ−エピチオプロピル基の水素の少なくとも1個がメチル基で置換された化合物も具体例となる。 Examples of the compound having an aromatic skeleton include (1,3 or 1,4) -bis (β-epithiopropyltelluro) benzene, (1,3 or 1,4) -bis (β-epithiopropyltelluromethyl). Benzene, bis [4- (β-epithiopropyltelluro) phenyl] methane, 2,2-bis [4- (β-epithiopropyltelluro) phenyl] propane, bis [4- (β-epithiopropyltelluro) Phenyl] sulfide, bis [4- (β-epithiopropyltelluro) phenyl] sulfone, 4,4′-bis (β-epithiopropyltelluro) biphenyl, and the like. Furthermore, compounds in which at least one of hydrogens in the β-epithiopropyl group of these compounds is substituted with a methyl group are also specific examples.
さらには、不飽和基を有する有機化合物も上述の(a)〜(e)に含まれ、ビニルフェニルチオグリシジルエーテル、ビニルベンジルチオグリシジルエーテル、チオグリシジルメタクリレート、チオグリシジルアクリレート、アリルチオグリシジルエーテル等が挙げられる。 Furthermore, organic compounds having an unsaturated group are also included in the above (a) to (e), and vinylphenylthioglycidyl ether, vinylbenzylthioglycidyl ether, thioglycidyl methacrylate, thioglycidyl acrylate, allylthioglycidyl ether, etc. Can be mentioned.
これら例示化合物の中で、(c)エピチオアルキルチオ基を有する有機化合物がより好ましく、ビス(β−エピチオプロピル)スルフィドが特に好ましい。 Among these exemplified compounds, (c) an organic compound having an epithioalkylthio group is more preferable, and bis (β-epithiopropyl) sulfide is particularly preferable.
「硫黄原子および/またはセレン原子を有する無機化合物(B)」
硫黄原子および/またはセレン原子を有する無機化合物(B)は、硫黄原子および/またはセレン原子を有する無機化合物である。本発明で好適に使用される無機化合物は、「標準化学用語辞典」(日本化学会編(1991)丸善)に記載されている通りの化合物であり、炭素を含まない化合物および炭素を含んでいても比較的簡単な化合物を指す。例えば、炭素を含む比較的簡単な化合物である二硫化炭素、チオシアン酸カリウム等は無機化合物として扱う。本発明の光学用樹脂組成物においては、硫黄原子および/またはセレン原子を有する無機化合物(B)の含有量を増加させることにより、さらなる光学レンズの高屈折率化が可能となる。
“Inorganic compound (B) having sulfur atom and / or selenium atom”
The inorganic compound (B) having a sulfur atom and / or selenium atom is an inorganic compound having a sulfur atom and / or selenium atom. The inorganic compound suitably used in the present invention is a compound as described in “Standard Chemical Glossary of Terms” (edited by the Chemical Society of Japan (1991) Maruzen), which contains a compound not containing carbon and carbon. Also refers to relatively simple compounds. For example, carbon disulfide and potassium thiocyanate, which are relatively simple compounds containing carbon, are treated as inorganic compounds. In the optical resin composition of the present invention, the refractive index of the optical lens can be further increased by increasing the content of the inorganic compound (B) having a sulfur atom and / or selenium atom.
本発明で用いられる硫黄原子および/またはセレン原子を有する無機化合物(B)としては、硫黄原子および/またはセレン原子を1個以上有する無機化合物であれば特に限定されないが、無機化合物中の硫黄原子および/またはセレン原子の重量の割合が30%以上であることが好ましい。この割合が、30%未満である場合、光学レンズの高屈折率化の効果が小さくなる。 The inorganic compound (B) having a sulfur atom and / or selenium atom used in the present invention is not particularly limited as long as it is an inorganic compound having at least one sulfur atom and / or selenium atom, but the sulfur atom in the inorganic compound And / or the ratio of the weight of selenium atoms is preferably 30% or more. When this ratio is less than 30%, the effect of increasing the refractive index of the optical lens is reduced.
硫黄原子を有する無機化合物の具体例としては、硫黄、硫化水素、二硫化炭素、セレノ硫化炭素、硫化アンモニウム、二酸化硫黄、三酸化硫黄等の硫黄酸化物、チオ炭酸塩、硫酸およびその塩、硫酸水素塩、亜硫酸塩、次亜硫酸塩、過硫酸塩、チオシアン酸塩、チオ硫酸塩、二塩化硫黄、塩化チオニル、チオホスゲン等のハロゲン化物、硫化硼素、硫化窒素、硫化珪素、硫化リン、硫化砒素、金属硫化物、金属水硫化物等があげられる。これらの中でも、硫黄、二硫化炭素、硫化リン、硫化セレン、金属硫化物および金属水硫化物が好ましく、硫黄、二硫化炭素および硫化セレンがより好ましく、硫黄が特に好ましい。 Specific examples of the inorganic compound having a sulfur atom include sulfur, hydrogen sulfide, carbon disulfide, selenocarbon sulfide, ammonium sulfide, sulfur dioxide, sulfur trioxide and other sulfur oxides, thiocarbonate, sulfuric acid and salts thereof, sulfuric acid Hydrogen salt, sulfite, hyposulfite, persulfate, thiocyanate, thiosulfate, halides such as sulfur dichloride, thionyl chloride, thiophosgene, boron sulfide, nitrogen sulfide, silicon sulfide, phosphorus sulfide, arsenic sulfide, Examples thereof include metal sulfides and metal hydrosulfides. Among these, sulfur, carbon disulfide, phosphorus sulfide, selenium sulfide, metal sulfide and metal hydrosulfide are preferable, sulfur, carbon disulfide and selenium sulfide are more preferable, and sulfur is particularly preferable.
硫黄は、その純度が、98%以上のものが好適とされる。純度が98%未満の場合、不純物の影響でレンズに曇りが生じる現象が発生しやすくなるが、98%以上であれば曇りが解消されるため好ましい。硫黄含有無機化合物(B)である硫黄の純度は、99.0%以上がより好ましく、99.5%以上がさらに好ましく、99.9%以上が最も好ましい。硫黄に含まれる不純物の中でも、レンズに曇りを与える成分として、オイル、酸性分、灰分、ヒ素、塩化物、硫化物、金属がある。したがって、このようなオイル、酸性分、灰分は硫黄中の1重量%以下であることが好ましい。オイル、酸性分、灰分は他のモノマーと共重合しないため、重合硬化後のレンズに残存し、曇りの原因となる。よって、これらは0.1重量%以下であるのがより好ましい。
なお、ここで言う、硫黄の純度や、オイル、酸性分、灰分、ヒ素についての測定は、JIS K6222−1規格を、塩化物、硫化物の測定はJIS K8088規格に準じた基準溶液との比較を適用する。原子吸光分析で検出される金属の主成分は、銅、鉛、鉄、ニッケル等である。
Sulfur having a purity of 98% or more is suitable. If the purity is less than 98%, the lens tends to cloud due to the influence of impurities, but if it is 98% or more, the cloudiness is eliminated, which is preferable. The purity of sulfur as the sulfur-containing inorganic compound (B) is more preferably 99.0% or more, further preferably 99.5% or more, and most preferably 99.9% or more. Among impurities contained in sulfur, oil, acid content, ash content, arsenic, chloride, sulfide, and metal are components that cloud the lens. Therefore, such oil, acid content, and ash content are preferably 1% by weight or less in sulfur. Oil, acid content, and ash content do not copolymerize with other monomers, and therefore remain in the lens after polymerization and curing, causing fogging. Therefore, these are more preferably 0.1% by weight or less.
The sulfur purity, oil, acid content, ash content, and arsenic are measured according to JIS K6222-1 standard, and chloride and sulfide are measured with a standard solution according to JIS K8088 standard. Apply. The main components of metals detected by atomic absorption analysis are copper, lead, iron, nickel and the like.
また、硫黄としては、10メッシュより細かい微粉を用いることが好ましい。10メッシュより大きな粒の場合、硫黄が完全に溶解しにくいため、レンズが作製しにくくなる。より好ましくは、30メッシュより細かい微粉であり、最も好ましくは60メッシュより細かい微粉である。 Moreover, as sulfur, it is preferable to use fine powder finer than 10 mesh. In the case of grains larger than 10 mesh, it is difficult to completely dissolve the sulfur, so that it is difficult to produce a lens. More preferably, it is fine powder finer than 30 mesh, and most preferably fine powder finer than 60 mesh.
硫黄の製法については、天然硫黄鉱からの昇華精製法、地下に埋蔵する硫黄の溶融法による採掘、石油や天然ガスの脱硫工程などから得られる硫化水素等を原料とする回収法等があるが、本発明において使用される硫黄は、純度98%以上が確保されるのであればいずれの製法でもよい。
一般的に市販されている硫黄は、その形状や精製法の違いにより、微粉硫黄、コロイド硫黄、沈降硫黄、結晶硫黄、昇華硫黄等があるが、本発明においては、純度98%以上が確保されるのであれば、いずれの硫黄でもよいが、好ましくは、粒子の細かい微粉硫黄である。
As for sulfur production methods, there are sublimation purification methods from natural sulfur ores, mining by underground sulfur melting methods, recovery methods using hydrogen sulfide obtained from petroleum and natural gas desulfurization processes, etc. as raw materials. The sulfur used in the present invention may be produced by any method as long as a purity of 98% or more is ensured.
In general, commercially available sulfur includes finely divided sulfur, colloidal sulfur, precipitated sulfur, crystalline sulfur, sublimated sulfur, etc. depending on the shape and purification method. In the present invention, a purity of 98% or more is ensured. Any sulfur may be used as long as it is fine, but finely divided sulfur with fine particles is preferred.
セレン原子を有する無機化合物の具体例としては、硫黄原子を有する無機化合物の具体例として挙げたセレノ硫化炭素と硫化セレンを除き、セレン、セレン化水素、二酸化セレン、二セレン化炭素、セレン化アンモニウム、二酸化セレン等のセレン酸化物、セレン酸およびその塩、亜セレン酸およびその塩、セレン酸水素塩、セレノ硫酸およびその塩、セレノピロ硫酸およびその塩、四臭化セレン、オキシ塩化セレン等のハロゲン化物、セレノシアン酸塩、セレン化硼素、セレン化リン、セレン化砒素、金属のセレン化物等が挙げられる。これらの中、セレン、二セレン化炭素、セレン化リン、金属のセレン化物が好ましく、セレンおよび二セレン化炭素がより好ましい。
これらの硫黄原子を有する無機化合物、セレン原子を有する無機化合物は、単独で用いても、2種類以上を混合して用いても良い。
Specific examples of the inorganic compound having a selenium atom include selenium, hydrogen selenide, selenium dioxide, carbon diselenide, and ammonium selenide except for the selenosulfuric sulfide and selenium sulfide, which are listed as specific examples of the inorganic compound having a sulfur atom. Selenium oxides such as selenium dioxide, selenic acid and salts thereof, selenous acid and salts thereof, hydrogen selenate, selenosulfuric acid and salts thereof, selenopyrosulfuric acid and salts thereof, halogens such as selenium tetrabromide and selenium oxychloride Compounds, selenocyanate, boron selenide, phosphorus selenide, arsenic selenide, metal selenide and the like. Among these, selenium, carbon diselenide, phosphorus selenide, and metal selenide are preferable, and selenium and carbon diselenide are more preferable.
These inorganic compounds having a sulfur atom and inorganic compounds having a selenium atom may be used alone or in combination of two or more.
「1分子中にメルカプト基を1個以上有する化合物(C)」
1分子中にメルカプト基を1個以上有する化合物(C)は、メルカプト基以外にスルフィド結合を有していてもよく、脂肪族ポリチオール化合物または芳香族ポリチオール化合物が挙げられる。これらの中でも、好ましくは、高硫黄含有率のポリチオール化合物であり、これらは単独で用いてもよいし、2種以上混合して用いてもよい。
“Compounds having one or more mercapto groups in one molecule (C)”
The compound (C) having one or more mercapto groups in one molecule may have a sulfide bond in addition to the mercapto group, and examples thereof include an aliphatic polythiol compound and an aromatic polythiol compound. Among these, Preferably, it is a polythiol compound with a high sulfur content rate, and these may be used independently and may be used in mixture of 2 or more types.
1分子中にメルカプト基を1個以上有する化合物(C)である芳香族ポリチオール化合物としては、具体的には、1,2−ベンゼンジチオール、1,3−ベンゼンジチオール、1,4−ベンゼンジチオール、1,2−ビス(メルカプトメチル)ベンゼン、1,3−ビス(メルカプトメチル)ベンゼン、1,4−ビス(メルカプトメチル)ベンゼン、1,2−ビス(メルカプトエチル)ベンゼン、1,3−ビス(メルカプトエチル)ベンゼン、1, 4−ビス(メルカプトエチル)ベンゼン、1,2,3−トリメルカプトベンゼン、1,2, 4−トリメルカプトベンゼン、1,3,5−トリメルカプトベンゼン、1,2,3−トリス(メルカプトメチル)ベンゼン、1,2,4−トリス(メルカプトメチル)ベンゼン、1,3,5−トリス(メルカプトメチル)ベンゼン、1,2,3−トリス(メルカプトエチル)ベンゼン、1,2,4−トリス(メルカプトエチル)ベンゼン、1,3,5−トリス(メルカプトエチル)ベンゼン、2,5−トルエンジチオール、3,4−トルエンジチオール、1,3−ジ(p−メトキシフェニル)プロパン−2,2−ジチオール、1,3−ジフェニルプロパン−2,2−ジチオール、フェニルメタン−1,1−ジチオール、2,4−ジ(p−メルカプトフェニル)ペンタン、1,2−ビス(メルカプトエチルチオ)ベンゼン、1,3−ビス(メルカプトエチルチオ)ベンゼン、1,4−ビス(メルカプトエチルチオ)ベンゼン、1,2,3−トリス(メルカプトメチルチオ)ベンゼン、1,2,4−トリス(メルカプトメチルチオ)ベンゼン、1,3,5−トリス(メルカプトメチルチオ)ベンゼン、1,2,3−トリス(メルカプトエチルチオ)ベンゼン、1,2,4−トリス(メルカプトエチルチオ)ベンゼン、1,3,5−トリス(メルカプトエチルチオ)ベンゼン等の芳香族ポリチオール化合物およびメルカプト基以外に硫黄原子を含有する芳香族ポリチオール化合物が挙げられる。 Specific examples of the aromatic polythiol compound (C) having one or more mercapto groups in one molecule include 1,2-benzenedithiol, 1,3-benzenedithiol, 1,4-benzenedithiol, 1,2-bis (mercaptomethyl) benzene, 1,3-bis (mercaptomethyl) benzene, 1,4-bis (mercaptomethyl) benzene, 1,2-bis (mercaptoethyl) benzene, 1,3-bis ( Mercaptoethyl) benzene, 1,4-bis (mercaptoethyl) benzene, 1,2,3-trimercaptobenzene, 1,2,4-trimercaptobenzene, 1,3,5-trimercaptobenzene, 1,2, 3-tris (mercaptomethyl) benzene, 1,2,4-tris (mercaptomethyl) benzene, 1,3,5-tris (me Captomethyl) benzene, 1,2,3-tris (mercaptoethyl) benzene, 1,2,4-tris (mercaptoethyl) benzene, 1,3,5-tris (mercaptoethyl) benzene, 2,5-toluenedithiol, 3,4-toluenedithiol, 1,3-di (p-methoxyphenyl) propane-2,2-dithiol, 1,3-diphenylpropane-2,2-dithiol, phenylmethane-1,1-dithiol, 2, 4-di (p-mercaptophenyl) pentane, 1,2-bis (mercaptoethylthio) benzene, 1,3-bis (mercaptoethylthio) benzene, 1,4-bis (mercaptoethylthio) benzene, 1,2 , 3-Tris (mercaptomethylthio) benzene, 1,2,4-tris (mercaptomethylthio) benzene, 1,3 , 5-Tris (mercaptomethylthio) benzene, 1,2,3-tris (mercaptoethylthio) benzene, 1,2,4-tris (mercaptoethylthio) benzene, 1,3,5-tris (mercaptoethylthio) In addition to aromatic polythiol compounds such as benzene and mercapto groups, aromatic polythiol compounds containing sulfur atoms can be mentioned.
これらの芳香族ポリチオール化合物の中でも、特に下記一般式(2)で表される化合物が好適に用いられる。 Among these aromatic polythiol compounds, compounds represented by the following general formula (2) are particularly preferably used.
一般式(2)中、p、q、rは、それぞれ独立に、0又は1以上の整数を表し、0である場合、すなわち、キシリレンジチオールであるのが最も好ましい。なお、キシリレンジチオールとしては、o-キシリレンジチオール,m-キシリレンジチオール,p-キシリレンジチオールのいずれであってもよい。
また、上記一般式(2)におけるp、q、rがいずれも1以上である場合においても、メルカプト基を有してなる官能基は、ベンゼン環に対してo-,m-,p-のいずれの配置になっていてもよい。
さらに、メルカプト基を有してなる官能基は、ベンゼン環に対して、二つでなく三つ以上あっていてもよい。すなわち、この化合物(C)は、3個以上のメルカプト基を有していてもよい。
上記一般式(2)で表される化合物としては、分子鎖が長すぎるとガラス転移温度(Tg)が低下し、ベンゼン環が多すぎるとアッベ数が低下するため、前記p、q、rは、いずれも0又は1であるのが好ましい。
In general formula (2), p, q, and r each independently represent 0 or an integer of 1 or more, and when 0, that is, xylylene thiol is most preferable. In addition, as xylylene dithiol, any of o-xylylene dithiol, m-xylylene dithiol, and p-xylylene dithiol may be sufficient.
In addition, even when p, q, and r in the general formula (2) are all 1 or more, the functional group having a mercapto group is o-, m-, p- with respect to the benzene ring. Any arrangement may be adopted.
Furthermore, the functional group which has a mercapto group may have three or more with respect to a benzene ring instead of two. That is, this compound (C) may have three or more mercapto groups.
As the compound represented by the general formula (2), the glass transition temperature (Tg) decreases when the molecular chain is too long, and the Abbe number decreases when there are too many benzene rings. , Both are preferably 0 or 1.
1分子中にメルカプト基を1個以上有する化合物(C)である脂肪族ポリチオール化合物としては、具体的には、次の化合物を挙げることができる。
メタンジチオール、1,2−エタンジチオール、1,1−プロパンジチオール、1,2−プロパンジチオール、1,3−プロパンジチオール、2,2−プロパンジチオール、1,6−ヘキサンジチオール、1,2,3−プロパントリチオール、1,1−シクロヘキサンジチオール、1,2−シクロヘキサンジチオール、2,2−ジメチルプロパン−1,3−ジチオール、3,4−ジメトキシブタン−1,2−ジチオール、2−メチルシクロヘキサン−2,3−ジチオール、1,1−ビス(メルカプトメチル)シクロヘキサン、チオリンゴ酸ビス(2−メルカプトエチルエステル)、2,3−ジメルカプト−1−プロパノール(2−メルカプトアセテート)、2,3−ジメルカプト−1−プロパノール(3−メルカプトプロピオネート)、ジエチレングリコールビス(2−メルカプトアセテート)、ジエチレングリコールビス(3−メルカプトプロピオネート)、1,2−ジメルカプトプロピルメチルエーテル、2,3−ジメルカプトプロピルメチルエーテル、2,2−ビス(メルカプトメチル)−1,3−プロパンジチオール、ビス(2−メルカプトエチル)エーテル、エチレングリコールビス(2−メルカプトアセテート)、エチレングリコールビス(3−メルカプトプロピオネート)、トリメチロールプロパンビス(2−メルカプトアセテート)、トリメチロールプロパンビス(3−メルカプトプロピオネート)、ペンタエリスリトールテトラキス(2−メルカプトアセテート)、ペンタエリスリトールテトラキス(3−メルカプトプロピオネート)、テトラキス(メルカプトメチル)メタン等の脂肪族ポリチオール化合物。
Specific examples of the aliphatic polythiol compound that is the compound (C) having one or more mercapto groups in one molecule include the following compounds.
Methanedithiol, 1,2-ethanedithiol, 1,1-propanedithiol, 1,2-propanedithiol, 1,3-propanedithiol, 2,2-propanedithiol, 1,6-hexanedithiol, 1,2,3 -Propanetrithiol, 1,1-cyclohexanedithiol, 1,2-cyclohexanedithiol, 2,2-dimethylpropane-1,3-dithiol, 3,4-dimethoxybutane-1,2-dithiol, 2-methylcyclohexane- 2,3-dithiol, 1,1-bis (mercaptomethyl) cyclohexane, bis (2-mercaptoethyl ester) thiomalate, 2,3-dimercapto-1-propanol (2-mercaptoacetate), 2,3-dimercapto- 1-propanol (3-mercaptopropionate), die Lenglycol bis (2-mercaptoacetate), diethylene glycol bis (3-mercaptopropionate), 1,2-dimercaptopropyl methyl ether, 2,3-dimercaptopropyl methyl ether, 2,2-bis (mercaptomethyl) -1,3-propanedithiol, bis (2-mercaptoethyl) ether, ethylene glycol bis (2-mercaptoacetate), ethylene glycol bis (3-mercaptopropionate), trimethylolpropane bis (2-mercaptoacetate), Trimethylolpropane bis (3-mercaptopropionate), pentaerythritol tetrakis (2-mercaptoacetate), pentaerythritol tetrakis (3-mercaptopropionate), tetrakis (mercapto) Chill) aliphatic polythiol compound such as methane.
ジメルカプトエチルスルフィド、ヒドロキシメチルスルフィドビス(2−メルカプトアセテート)、ヒドロキシメチルスルフィドビス(3−メルカプトプロピオネート)、ヒドロキシエチルスルフィドビス(2−メルカプトアセテート)、ヒドロキシエチルスルフィドビス(3−メルカプトプロピオネート)、ヒドロキシプロピルスルフィドビス(2−メルカプトアセテート)、ヒドロキシプロピルスルフィドビス(3−メルカプトプロピオネート)、ヒドロキシメチルジスルフィドビス(2−メルカプトアセテート)、ヒドロキシメチルジスルフィドビス(3−メルカプトプロピオネート)、ヒドロキシエチルジスルフィドビス(2−メルカプトアセテート)、ヒドロキシエチルジスルフィドビス(3−メルカプトプロピオネート)、ヒドロキシプロピルジスルフィドビス(2−メルカプトアセテート)、ヒドロキシプロピルジスルフィドビス(3−メルカプトプロピオネート)、2−メルカプトエチルエーテルビス(2−メルカプトアセテート)、2−メルカプトエチルエーテルビス(3−メルカプトプロピオネート)、1,4−ジチアン−2,5−ジオールビス(2−メルカプトアセテート)、1,4−ジチアン−2,5−ジオールビス(3−メルカプトプロピオネート)、チオジグリコール酸ビス(2−メルカプトエチルエステル)、チオジプロピオン酸ビス(2−メルカプトエチルエステル)、4,4−チオジブチル酸ビス(2−メルカプトエチルエステル)、ジチオジグリコール酸ビス(2−メルカプトエチルエステル)、ジチオジプロピオン酸ビス(2−メルカプトエチルエステル)、4,4−ジチオジブチル酸ビス(2−メルカプトエチルエステル)、チオジグリコール酸ビス(2,3−ジメルカプトプロピルエステル)、チオジプロピオン酸ビス(2,3−ジメルカプトプロピルエステル)、ジチオグリコール酸ビス(2,3−ジメルカプトプロピルエステル)、ジチオジプロピオン酸ビス(2,3−ジメルカプトプロピルエステル)、1,1,3,3−テトラキス(メルカプトメチルチオ)プロパン、1,1,2,2−テトラキス(メルカプトメチルチオ)エタン、3−メルカプトメチル−1,5−ジメルカプト−2,4−ジチアペンタン、1,2,5−トリメルカプト−4−チアペンタン、3,3−ジメルカプトメチル−1,5−ジメルカプト−2,4−ジチアペンタン、3−メルカプトメチル−1,5−ジメルカプト−2,4−ジチアペンタン、3−メルカプトメチルチオ−1,7−ジメルカプト−2,6−ジチアヘプタン、3,6−ジメルカプトメチル−1,9−ジメルカプト−2,5,8−トリチアノナン、3, 7−ジメルカプトメチル−1,9−ジメルカプト−2,5,8−トリチアノナン、4,6−ジメルカプトメチル−1,9−ジメルカプト−2,5,8−トリチアノナン、3−メルカプトメチル−1,6−ジメルカプト−2,5−ジチアヘキサン、3−メルカプトメチルチオ−1,5−ジメルカプト−2−チアペンタン、1,1,2,2−テトラキス(メルカプトメチルチオ)エタン、1,1,3,3−テトラキス(メルカプトメチルチオ)プロパン、1,4,8,11−テトラメルカプト−2,6,10−トリチアウンデカン、1,4,9,12−テトラメルカプト−2,6,7,11−テトラチアドデカン、2,3−ジチア−1,4−ブタンジチオール、2,3,5,6−テトラチア−1,7−ヘプタンジチオール、2,3,5,6,8,9−ヘキサチア−1,10− デカンジチオール、4,5−ビス(メルカプトメチルチオ)−1,3−ジチオラン、4,6−ビス(メルカプトメチルチオ)−1,3−ジチアン、2−ビス(メルカプトメチルチオ)メチル−1,3−ジチエタン、2−(2,2−ビス(メルカプトメチルチオ)エチル)−1,3−ジチエタン、2−メルカプトメチル−6−メルカプト−1,4−ジチアシクロヘプタン等のメルカプト基以外に硫黄原子を含有する脂肪族ポリチオール化合物。 Dimercaptoethyl sulfide, hydroxymethyl sulfide bis (2-mercaptoacetate), hydroxymethyl sulfide bis (3-mercaptopropionate), hydroxyethyl sulfide bis (2-mercaptoacetate), hydroxyethyl sulfide bis (3-mercaptopropio) Nate), hydroxypropyl sulfide bis (2-mercaptoacetate), hydroxypropyl sulfide bis (3-mercaptopropionate), hydroxymethyl disulfide bis (2-mercaptoacetate), hydroxymethyl disulfide bis (3-mercaptopropionate) , Hydroxyethyl disulfide bis (2-mercaptoacetate), hydroxyethyl disulfide bis (3-mercaptopropionate), hydride Xypropyl disulfide bis (2-mercaptoacetate), hydroxypropyl disulfide bis (3-mercaptopropionate), 2-mercaptoethyl ether bis (2-mercaptoacetate), 2-mercaptoethyl ether bis (3-mercaptopropionate) ), 1,4-dithian-2,5-diol bis (2-mercaptoacetate), 1,4-dithian-2,5-diol bis (3-mercaptopropionate), bis (2-mercaptoethyl) thiodiglycolate Ester), bis (2-mercaptoethyl ester) thiodipropionate, bis (2-mercaptoethyl ester) 4,4-thiodibutyrate, bis (2-mercaptoethyl ester) dithiodiglycolate, bis (dithiodipropionate) 2-mercapto Thiol ester), 4,4-dithiodibutyric acid bis (2-mercaptoethyl ester), thiodiglycolic acid bis (2,3-dimercaptopropyl ester), thiodipropionic acid bis (2,3-dimercaptopropyl ester) Bis (2,3-dimercaptopropyl ester) dithioglycolate, bis (2,3-dimercaptopropyl ester) dithiodipropionate, 1,1,3,3-tetrakis (mercaptomethylthio) propane, 1,1 , 2,2-Tetrakis (mercaptomethylthio) ethane, 3-mercaptomethyl-1,5-dimercapto-2,4-dithiapentane, 1,2,5-trimercapto-4-thiapentane, 3,3-dimercaptomethyl- 1,5-dimercapto-2,4-dithiapentane, 3-mercaptomethyl-1 , 5-dimercapto-2,4-dithiapentane, 3-mercaptomethylthio-1,7-dimercapto-2,6-dithiaheptane, 3,6-dimercaptomethyl-1,9-dimercapto-2,5,8-trithianonane, 3,7-dimercaptomethyl-1,9-dimercapto-2,5,8-trithianonane, 4,6-dimercaptomethyl-1,9-dimercapto-2,5,8-trithianonane, 3-mercaptomethyl-1 , 6-dimercapto-2,5-dithiahexane, 3-mercaptomethylthio-1,5-dimercapto-2-thiapentane, 1,1,2,2-tetrakis (mercaptomethylthio) ethane, 1,1,3,3-tetrakis (Mercaptomethylthio) propane, 1,4,8,11-tetramercapto-2,6,10-trithiaounde Can, 1,4,9,12-tetramercapto-2,6,7,11-tetrathiadecane, 2,3-dithia-1,4-butanedithiol, 2,3,5,6-tetrathia-1, 7-heptanedithiol, 2,3,5,6,8,9-hexathia-1,10-decanedithiol, 4,5-bis (mercaptomethylthio) -1,3-dithiolane, 4,6-bis (mercaptomethylthio) ) -1,3-dithiane, 2-bis (mercaptomethylthio) methyl-1,3-dithietane, 2- (2,2-bis (mercaptomethylthio) ethyl) -1,3-dithietane, 2-mercaptomethyl-6 -An aliphatic polythiol compound containing a sulfur atom in addition to a mercapto group such as mercapto-1,4-dithiacycloheptane.
2,5−ビス(メルカプトメチル)−1,4−ジチアン、2,5−ビス(2−メルカプトエチル)−1,4−ジチアン、2,5−ビス(3−メルカプトプロピル)−1,4−ジチアン、2−(2−メルカプトエチル)−5−メルカプトメチル−1,4−ジチアン、2−(2−メルカプトエチル)−5−(3−メルカプトプロピル)−1,4−ジチアン、2−メルカプトメチル−5−(3−メルカプトプロピル)−1,4−ジチアン、2,4−ビス(メルカプトメチル)−1,3−ジチオラン、2−メルカプトメチル−5−メルカプト−1,3−ジチオラン、2,2−ビス(メルカプトメチル)−1,3−ジチオラン、2−(3 −メルカプトプロピル)−4−メルカプトメチル−1,3−ジチオラン、2,2−ビス(メルカプトメチル)−1,3,5−トリチアン、2,4,5−トリス(メルカプトメチル)−1,3−ジチオラン、2,2−ビス(メルカプトメチル)−5−メルカプト−1,3−ジチオラン、2−(1,2−ジメルカプトエチル)−4−メルカプトメチル−1,3−ジチオラン、2−(1,2−ジメルカプトエチル)−4−メルカプト−1,3,5−トリチアン、2−(3−メルカプトプロピル)−4,5−ビス(メルカプトメチル)−1,3−ジチオラン、2,2,4,5−テトラキス(メルカプトメチル)−1,3−ジチオラン、2−(1,2−ジメルカプトエチル)−4,5−ビス(メルカプトメチル)−1,3−ジチオラン等の環状化合物が挙げられる。 2,5-bis (mercaptomethyl) -1,4-dithiane, 2,5-bis (2-mercaptoethyl) -1,4-dithiane, 2,5-bis (3-mercaptopropyl) -1,4- Dithian, 2- (2-mercaptoethyl) -5-mercaptomethyl-1,4-dithiane, 2- (2-mercaptoethyl) -5- (3-mercaptopropyl) -1,4-dithiane, 2-mercaptomethyl -5- (3-mercaptopropyl) -1,4-dithiane, 2,4-bis (mercaptomethyl) -1,3-dithiolane, 2-mercaptomethyl-5-mercapto-1,3-dithiolane, 2,2 -Bis (mercaptomethyl) -1,3-dithiolane, 2- (3-mercaptopropyl) -4-mercaptomethyl-1,3-dithiolane, 2,2-bis (mercaptomethyl) -1, 3,5-trithiane, 2,4,5-tris (mercaptomethyl) -1,3-dithiolane, 2,2-bis (mercaptomethyl) -5-mercapto-1,3-dithiolane, 2- (1,2 -Dimercaptoethyl) -4-mercaptomethyl-1,3-dithiolane, 2- (1,2-dimercaptoethyl) -4-mercapto-1,3,5-trithiane, 2- (3-mercaptopropyl)- 4,5-bis (mercaptomethyl) -1,3-dithiolane, 2,2,4,5-tetrakis (mercaptomethyl) -1,3-dithiolane, 2- (1,2-dimercaptoethyl) -4, And cyclic compounds such as 5-bis (mercaptomethyl) -1,3-dithiolane.
前記一般式(1)で表される構造を1分子中に1個以上有する化合物(A)、硫黄原子および/またはセレン原子を有する無機化合物(B)および1分子中にメルカプト基を1個以上有する化合物(C)からなる光学用樹脂組成物においては、前記化合物(A)を25〜96重量%、前記化合物(B)を0.1〜30重量%、前記化合物(C)を0.1〜40重量%の範囲で含有することが好ましい。 Compound (A) having one or more structures represented by the general formula (1) in one molecule, inorganic compound (B) having a sulfur atom and / or selenium atom, and one or more mercapto groups in one molecule In the optical resin composition comprising the compound (C) having 25 to 96% by weight of the compound (A), 0.1 to 30% by weight of the compound (B), and 0.1 to 0.1% of the compound (C). It is preferable to contain in the range of -40 weight%.
屈折率調整成分である硫黄原子および/またはセレン原子を有する無機化合物(B)の配合比については、屈折率が1.72以上になるようにすれば特に添加量は限定されないものの、好ましくは0.1〜30重量%、さらに好ましくは5〜20重量%とされる。硫黄原子および/またはセレン原子を有する無機化合物(B)の添加(配合)量が多くなる(例えば30重量%を超える)と、加熱後における黄変の増大、耐光性の低下、くもり等の外観不良の増加といった問題が生じるおそれがあるからである。また、配合量が少なすぎる(例えば0.1重量%未満)と、得られるプラスチックレンズの屈折率が例えば1.72より低くなってしまうからである。 Regarding the compounding ratio of the inorganic compound (B) having a sulfur atom and / or selenium atom which is a refractive index adjusting component, the addition amount is not particularly limited as long as the refractive index is 1.72 or more, but preferably 0 0.1 to 30% by weight, more preferably 5 to 20% by weight. When the amount (incorporation) of the inorganic compound (B) having a sulfur atom and / or selenium atom is increased (for example, more than 30% by weight), the appearance of yellowing increases, light resistance decreases, cloudiness, etc. after heating This is because problems such as an increase in defects may occur. Moreover, it is because the refractive index of the plastic lens obtained will become lower than 1.72, for example when there are too few compounding quantities (for example, less than 0.1 weight%).
また、1分子中にメルカプト基を1個以上有する化合物(C)については、0.1〜40重量%とするのが好ましく、4〜10重量%とするのがより好ましい。化合物(C)の配合比は多すぎると耐熱性が低下し、少なすぎると耐光性が低下してしまうため前記範囲内が好ましい。
なお、1分子中にエピチオ基を1個以上有する化合物(A)については、前記の硫黄原子および/またはセレン原子を有する無機化合物(B)の好ましい配合比および前記の1分子中にメルカプト基を1個以上有する化合物(C)の好ましい配合比を差し引いた配合比、つまり
(A)の配合比=100重量%−((B)の配合比+(C)の配合比)が好ましい配合比となる。
Moreover, about the compound (C) which has one or more mercapto groups in 1 molecule, it is preferable to set it as 0.1 to 40 weight%, and it is more preferable to set it as 4 to 10 weight%. When the compounding ratio of the compound (C) is too large, the heat resistance is lowered, and when it is too small, the light resistance is lowered.
In addition, about the compound (A) which has 1 or more of epithio groups in 1 molecule, the preferable compounding ratio of the said inorganic compound (B) which has the said sulfur atom and / or a selenium atom, and a mercapto group in said 1 molecule. A blending ratio obtained by subtracting a preferred blending ratio of the compound (C) having one or more, that is, a blending ratio of (A) = 100 wt% − (a blending ratio of (B) + a blending ratio of (C)) Become.
配合する化合物およびその配合比を選択することにより、屈折率を1.72〜1.76、より好ましくは、1.73〜1.75に調整することができる。 By selecting the compound to be blended and the blending ratio thereof, the refractive index can be adjusted to 1.72 to 1.76, more preferably 1.73 to 1.75.
「添加剤」
本発明の光学用樹脂組成物は、前記化合物(A)、前記硫黄原子および/またはセレン原子を有する無機化合物(B)、前記化合物(C)以外にも、種々の添加剤が配合される。
例えば、硫黄原子および/またはセレン原子を有する無機化合物(B)に起因する黄変を少なくするため、前記化合物(A)や前記化合物(C)ではない、ジスルフィド結合を1個以上有する化合物(D)が効果的に配合される。この化合物(D)の添加量としては、前記化合物(A)、硫黄原子および/またはセレン原子を有する無機化合物(B)、前記化合物(C)の合計量を100重量部とすると、0.3〜20重量部使用するのが好ましい。ただし、化合物(D)は他のモノマーと架橋する成分ではないため、多量に添加するとガラス転移温度(Tg)が低下し、さらに芳香環を含む化合物を選択した場合はアッベ数も低下する。したがって、0.5〜5重量部使用するのがより好ましい。
"Additive"
The optical resin composition of the present invention contains various additives in addition to the compound (A), the inorganic compound (B) having the sulfur atom and / or selenium atom, and the compound (C).
For example, in order to reduce yellowing due to the inorganic compound (B) having a sulfur atom and / or selenium atom, the compound (D) which is not the compound (A) or the compound (C) but has one or more disulfide bonds (D ) Is effectively blended. The amount of the compound (D) added is 0.3 parts by weight when the total amount of the compound (A), the inorganic compound (B) having a sulfur atom and / or selenium atom, and the compound (C) is 100 parts by weight. It is preferable to use ~ 20 parts by weight. However, since the compound (D) is not a component that crosslinks with other monomers, the glass transition temperature (Tg) decreases when added in a large amount, and further, the Abbe number decreases when a compound containing an aromatic ring is selected. Therefore, it is more preferable to use 0.5 to 5 parts by weight.
また、この化合物(D)のうち、得られるプラスチックレンズの高屈折率、低黄色、化合物(D)のハンドリングを考慮すると、特定な構造を有するものが好ましいことが分かった。
すなわち、化合物(D)としては、光学材料の高屈折率を維持するためには芳香環を有するものが好ましく、光学材料の低黄色を実現するためにはその分子量は300未満が好ましく、さらにハンドリングしやすい面から、液状または固状で臭気が弱いものとして、その分子量が150以上のものが好ましい。
Moreover, it turned out that what has a specific structure is preferable among this compound (D) when the high refractive index of the plastic lens obtained, low yellow, and handling of the compound (D) are considered.
That is, the compound (D) preferably has an aromatic ring in order to maintain the high refractive index of the optical material, and the molecular weight thereof is preferably less than 300 in order to realize a low yellow color of the optical material. From the viewpoint of being easy to do, those having a molecular weight of 150 or more are preferred as those that are liquid or solid and have a weak odor.
このような化合物(D)として具体的には、ジメチルジスルフィド、ジエチルジスルフィド、ジn−プロピルジスルフィド、ジn−ブチルジスルフィド、ジn−ヘキシルジスルフィド、ジn−オクチルジスルフィド、ジn−デシルジスルフィド、ジn−ドデシルジスルフィド、ジi−プロピルジスルフィド、ジt−ブチルジスルフィド、ジアリルジスルフィド、ビス(2−ヒドロキシエチル)ジスルフィド、ビス(3−カルボキシプロピル)ジスルフィド、ジシクロヘキシルジスルフィド、ジフェニルジスルフィド、ジp−トルイルジスルフィド、ジクロロジフェニルジスルフィド、ビス(2,4,5−トリクロロジフェニル)ジスルフィド、ジナフチルジスルフィド、ビス(6−ヒドロキシ−2−ナフチル)ジスルフィド、ジフルフリルジスルフィド、ジピリジルジスルフィド、ジチオジモルフォリン、テトラn−ブチルチウラムジスルフィド等があげられ、これらを単独で用いてもよいし、2種以上を併用してもよい。これらの化合物(D)の中でも、ジフェニルジスルフィド、ジp−トルイルジスルフィド、ジクロロジフェニルジスルフィド、ジナフチルジスルフィド、ジフルフリルジスルフィド、ジピリジルジスルフィド等が好ましく、ジフェニルジスルフィドがより好ましい。 Specific examples of such a compound (D) include dimethyl disulfide, diethyl disulfide, di n-propyl disulfide, di n-butyl disulfide, di n-hexyl disulfide, di n-octyl disulfide, di n-decyl disulfide, di n-dodecyl disulfide, di-propyl disulfide, di-t-butyl disulfide, diallyl disulfide, bis (2-hydroxyethyl) disulfide, bis (3-carboxypropyl) disulfide, dicyclohexyl disulfide, diphenyl disulfide, di-p-toluyl disulfide, Dichlorodiphenyl disulfide, bis (2,4,5-trichlorodiphenyl) disulfide, dinaphthyl disulfide, bis (6-hydroxy-2-naphthyl) disulfide, difurfuryl disulfide Rufido, dipyridyl disulfide, dithio dimorpholine, tetra n- butyl disulfide and the like, may be used these alone or in combination of two or more. Among these compounds (D), diphenyl disulfide, di-p-toluyl disulfide, dichlorodiphenyl disulfide, dinaphthyl disulfide, difurfuryl disulfide, dipyridyl disulfide and the like are preferable, and diphenyl disulfide is more preferable.
本発明の光学用樹脂組成物は、必要に応じて、紫外線吸収剤、予備反応触媒、反応調整剤、硬化触媒、染料または顔料、その他の添加剤を適宜配合することができる。 The optical resin composition of the present invention can be appropriately mixed with an ultraviolet absorber, a preliminary reaction catalyst, a reaction modifier, a curing catalyst, a dye or pigment, and other additives as necessary.
「紫外線吸収剤」
紫外線吸収剤としては、紫外線を吸収または拡散する能力を有する物質であれば特に限定されないが、例えば、特開2004−315556号公報に記載のベンゾフェノン系、ベンゾトリアゾール系、シアノアクリレート系および立体障害アミン系の紫外線吸収剤などが挙げられ、ベンゾトリアゾール系が好ましい。これらの紫外線吸収剤は単独で用いても2種以上を併用してもよい。
"UV absorber"
The ultraviolet absorber is not particularly limited as long as it is a substance capable of absorbing or diffusing ultraviolet rays. For example, benzophenone-based, benzotriazole-based, cyanoacrylate-based, and sterically hindered amines described in JP-A-2004-315556 UV absorbers of the type are mentioned, and benzotriazole type is preferable. These ultraviolet absorbers may be used alone or in combination of two or more.
本発明の光学用樹脂組成物における紫外線吸収剤の含有量は、100重量%に対して0.1〜5重量%であることが好ましく、0.5〜1.7重量%であることがより好ましい。紫外線吸収剤の含有量が上記下限以上になると、光学材料の紫外線カット率および耐候性に優れる傾向にある。他方、上記上限以下とすることにより、光学材料の耐熱性が向上し、黄色度が低減する傾向にある。 The content of the ultraviolet absorber in the optical resin composition of the present invention is preferably 0.1 to 5% by weight and more preferably 0.5 to 1.7% by weight with respect to 100% by weight. preferable. When the content of the ultraviolet absorber is at least the above lower limit, the optical material tends to be excellent in ultraviolet cut rate and weather resistance. On the other hand, by setting it to the upper limit or less, the heat resistance of the optical material is improved and the yellowness tends to be reduced.
「硬化触媒」
本発明の光学レンズは、本発明の光学用樹脂組成物をガラスや金属などの型(レンズ成形用モールド)に注入し、加熱により重合硬化させることによって得ることができる。このとき、十分に硬化させるために前記光学用樹脂組成物に硬化触媒を添加することが好ましい。
"Curing catalyst"
The optical lens of the present invention can be obtained by injecting the optical resin composition of the present invention into a mold such as glass or metal (lens molding mold) and polymerizing and curing by heating. At this time, it is preferable to add a curing catalyst to the optical resin composition for sufficient curing.
硬化触媒としては、錫化合物や、特開2004−315556号公報に記載のアミン類、フォスフィン類、第4級アンモニウム塩類、第4級ホスホニウム塩類、第3級スルホニウム塩類、第2級ヨードニウム塩類、鉱酸類、ルイス酸類、有機酸類、ケイ酸類、四フッ化ホウ酸類、過酸化物、アゾ系化合物、アルデヒドとアンモニア系化合物の縮合物、グアニジン類、チオ尿酸類、チアゾール類、スルフェンアミド類、チウラム類、ジチオカルバミン酸塩類、キサントゲン酸塩類、酸性リン酸エステル類などが挙げられ第4級アンモニウム塩類が好ましく、トリエチルベンジルアンモニウムクロライドがより好ましい。
これらの硬化触媒は単独で用いてもよく2種以上を併用してもよい。
Examples of the curing catalyst include tin compounds, amines, phosphines, quaternary ammonium salts, quaternary phosphonium salts, tertiary sulfonium salts, secondary iodonium salts, ores described in JP-A-2004-315556. Acids, Lewis acids, organic acids, silicic acids, tetrafluoroboric acids, peroxides, azo compounds, condensates of aldehydes and ammonia compounds, guanidines, thiouric acids, thiazoles, sulfenamides, thiuram , Quaternary ammonium salts are preferable, and triethylbenzylammonium chloride is more preferable.
These curing catalysts may be used alone or in combination of two or more.
前記硬化触媒の添加量は、本発明の光学用樹脂組成物100重量%に対して、0.0001〜10.0重量%であることが好ましく、0.001〜5.0重量%であることがより好ましい。 The addition amount of the curing catalyst is preferably 0.0001 to 10.0% by weight and preferably 0.001 to 5.0% by weight with respect to 100% by weight of the optical resin composition of the present invention. Is more preferable.
「反応調整剤」
本発明の光学用樹脂組成物は、レンズ成形用モールドへの注入時の作業性を向上させるために、反応調整剤を添加することもできる。反応調整剤としては、反応(重合)調製の効果を発現するものであれば特に限定されず、従来公知のものを使用することができる。中でも、ハロゲン化物が好ましく、塩化物がより好ましく、トリクロロ化合物またはジクロロ化合物がさらに好ましく、ジアルキル錫ジクロライド化合物、アルキル錫トリクロライド化合物が特に好ましく、ジブチル錫ジクロライドが最も好ましい。
"Reaction modifier"
In the optical resin composition of the present invention, a reaction modifier may be added in order to improve workability at the time of injection into the lens molding mold. The reaction modifier is not particularly limited as long as it exhibits the effect of preparing the reaction (polymerization), and conventionally known ones can be used. Among these, halides are preferable, chlorides are more preferable, trichloro compounds or dichloro compounds are more preferable, dialkyltin dichloride compounds and alkyltin trichloride compounds are particularly preferable, and dibutyltin dichloride is most preferable.
「染料・顔料」
本発明の光学用樹脂組成物には必要に応じて初期色調不良または黄変、赤変を防ぐために染料または顔料を添加してもよい。染料および顔料としては、初期色調不良または黄変、赤変を防ぐことができる物質であれば特に限定されないが、例えば、眼鏡レンズ材料用として市販されているブルーイング剤などの光学材料用染料および顔料を使用することができる。
"Dyes and pigments"
If necessary, a dye or pigment may be added to the optical resin composition of the present invention in order to prevent poor initial color tone, yellowing or redness. The dyes and pigments are not particularly limited as long as they are substances that can prevent poor initial color tone, yellowing, and redness. For example, dyes for optical materials such as bluing agents that are commercially available for spectacle lens materials and the like Pigments can be used.
「その他の添加剤」
本発明の光学用樹脂組成物にはさらに必要に応じて酸化防止剤、内部離型剤、内部密着性改善剤、その他各種添加剤を添加してもよい。
"Other additives"
The optical resin composition of the present invention may further contain an antioxidant, an internal mold release agent, an internal adhesion improver, and various other additives as necessary.
本発明の光学レンズの製造方法は、前記一般式(1)で表される構造を1分子中に1個以上有する化合物(A)(以下、化合物(A)という。)、硫黄原子および/またはセレン原子を有する無機化合物(B)(以下、化合物(B)という。)、1分子中にメルカプト基を1個以上有する化合物(C)(以下、化合物(C)という。)からなる光学用樹脂組成物を、一対のガラスモールドを有する成形用モールド内に注入して重合硬化させる光学レンズの製造方法であって、重合硬化時に成形用モールドを水平面に対して60°〜120°の角度に保持することを特徴とする。 In the method for producing an optical lens of the present invention, a compound (A) having at least one structure represented by the general formula (1) in one molecule (hereinafter referred to as compound (A)), a sulfur atom and / or Optical resin comprising an inorganic compound (B) having a selenium atom (hereinafter referred to as compound (B)) and a compound (C) having at least one mercapto group in one molecule (hereinafter referred to as compound (C)). An optical lens manufacturing method in which a composition is injected into a molding mold having a pair of glass molds and polymerized and cured, and the molding mold is held at an angle of 60 ° to 120 ° with respect to a horizontal plane during polymerization and curing. It is characterized by doing.
化合物(A)、化合物(B)、化合物(C)からなる光学用樹脂組成物を重合硬化させる方法としては、あらかじめ光学用樹脂組成物を予備的に反応させる方法が挙げられる。
光学用樹脂組成物を予備的に反応させる方法としては、硬化触媒を添加する前に予備反応触媒を添加して光学用樹脂組成物の予備反応をより進める方法と、予備反応触媒以外の硬化触媒添加後に加熱を行い増粘させる方法とが挙げられる。予備反応は、化合物(A)、化合物(B)、化合物(C)などの成分を混合し、さらに加熱により当該光学用樹脂組成物中のモノマーの一部を重合させる。予備反応は、攪拌下で行うことが好ましく、常圧で行ってもよいし、減圧下で脱気しながら行ってもよい。
Examples of the method for polymerizing and curing the optical resin composition comprising the compound (A), the compound (B), and the compound (C) include a method in which the optical resin composition is preliminarily reacted.
As a method for preliminarily reacting the optical resin composition, a preliminary reaction catalyst is added before the curing catalyst is added to further advance the preliminary reaction of the optical resin composition, and a curing catalyst other than the preliminary reaction catalyst is used. And a method of increasing the viscosity by heating after the addition. In the preliminary reaction, components such as the compound (A), the compound (B), and the compound (C) are mixed, and a part of the monomer in the optical resin composition is polymerized by heating. The preliminary reaction is preferably performed under stirring, and may be performed at normal pressure or may be performed while degassing under reduced pressure.
前記各成分を混合する場合、これら全てを同一の容器内で攪拌しながら同時に混合してもよいし、各成分を段階的に添加して混合してもよいし、数成分ずつ混合して複数個の混合物を調製した後、これらの混合物を同一容器で混合してもよい。前記各成分を段階的にまたは複数個の混合物に分けて混合する場合、その混合順序は操作性および反応性を考慮して適宜決定することができる。温度、時間などの混合条件は、得られる光学用樹脂組成物が十分に均一になる条件であれば特に限定されず、各成分間で好ましくない反応が起こらない条件とすればよい。 When mixing each of the above components, all of them may be mixed at the same time while stirring in the same container, or each component may be added and mixed in stages, or several components may be mixed and mixed. After preparing the individual mixtures, these mixtures may be mixed in the same container. When the components are mixed stepwise or divided into a plurality of mixtures, the mixing order can be appropriately determined in consideration of operability and reactivity. The mixing conditions such as temperature and time are not particularly limited as long as the obtained optical resin composition is sufficiently uniform, and may be a condition that does not cause an undesirable reaction between the components.
予備反応の温度は、0〜100℃とすることが好ましく、10〜90℃とすることがより好ましく、20〜80℃とすることがさらに好ましい。予備反応の時間は、10〜180分とすることが好ましく、20〜150分とすることがより好ましく、30〜120分とすることがさらに好ましい。予備反応を、このような範囲の温度および時間で行うことにより、当該光学用樹脂組成物を増粘させて、その粘度を調整することができる。 The temperature of the preliminary reaction is preferably 0 to 100 ° C, more preferably 10 to 90 ° C, and further preferably 20 to 80 ° C. The time for the preliminary reaction is preferably 10 to 180 minutes, more preferably 20 to 150 minutes, and further preferably 30 to 120 minutes. By performing the preliminary reaction at a temperature and time in such a range, the viscosity of the optical resin composition can be increased and the viscosity can be adjusted.
予備反応における光学用樹脂組成物の増粘は、当該樹脂組成物中のモノマー成分の反応進行度に依存する。従って、予備反応により光学用樹脂組成物の粘度を所望の値に調整する方法としては、上述した温度や時間の制御に加えて、当該樹脂組成物中の各成分の添加方法により制御することもできる。本発明の光学用樹脂組成物においては、加熱により化合物(A)のエピチオ基と化合物(C)のメルカプト基が反応して重合する。予備反応時の化合物(C)の添加量は最終的に得られる光学用樹脂の耐光性、耐酸化性、耐熱性等の物性バランスを考慮して任意に決定することができる。 The thickening of the optical resin composition in the preliminary reaction depends on the reaction progress of the monomer component in the resin composition. Therefore, as a method of adjusting the viscosity of the optical resin composition to a desired value by a preliminary reaction, in addition to the above-described temperature and time control, the viscosity can be controlled by the method of adding each component in the resin composition. it can. In the optical resin composition of the present invention, the epithio group of the compound (A) and the mercapto group of the compound (C) react and polymerize by heating. The amount of the compound (C) added during the preliminary reaction can be arbitrarily determined in consideration of the balance of physical properties such as light resistance, oxidation resistance and heat resistance of the optical resin finally obtained.
予備反応に際しては、触媒(予備反応触媒)を添加してもよいし、添加しなくてもよい。予備反応触媒としては、本発明の光学用樹脂組成物の重合反応に寄与するものであれば特に限定されず、上記硬化触媒で挙げたものと同じものを使用することができる。予備反応触媒の添加量は、予備反応の温度、時間、化合物(A)と化合物(C)の割合などにより変化するので、特に限定するものではないが、予備反応時の化合物(A)と化合物(C)の総重量を100重量部とした場合、0.0001〜5.0重量部とすることが好ましく、0.001〜2.0重量部とすることがより好ましい In the preliminary reaction, a catalyst (preliminary reaction catalyst) may or may not be added. The preliminary reaction catalyst is not particularly limited as long as it contributes to the polymerization reaction of the optical resin composition of the present invention, and the same catalysts as those mentioned above for the curing catalyst can be used. The amount of the preliminary reaction catalyst added varies depending on the temperature and time of the preliminary reaction, the ratio of the compound (A) and the compound (C), and is not particularly limited. However, the compound (A) and the compound during the preliminary reaction are not limited. When the total weight of (C) is 100 parts by weight, it is preferably 0.0001 to 5.0 parts by weight, more preferably 0.001 to 2.0 parts by weight.
予備反応触媒以外の硬化触媒は、予備反応時に重合反応が過度に進行し、予備反応後のモールドへの注入が困難となるのを防ぐために、予備反応終了後に光学用樹脂組成物に添加することが好ましい。しかし、硬化触媒を添加した後に当該樹脂組成物の増粘を行って、粘度調整を行う場合には、その際の加熱温度および加熱時間を上記の予備反応の温度よりも低く設定すれば、過度な重合反応を防ぐことができる。硬化触媒を添加した光学用樹脂組成物を増粘させる場合の温度としては、0〜50℃とすることが好ましく、15〜45℃とすることが好ましい。その場合に加熱時間は10〜240分が好ましく、30〜120分がより好ましい。 Curing catalysts other than the pre-reaction catalyst should be added to the optical resin composition after the pre-reaction to prevent the polymerization reaction from proceeding excessively during the pre-reaction and making it difficult to inject into the mold after the pre-reaction. Is preferred. However, when the viscosity of the resin composition is increased after the curing catalyst is added to adjust the viscosity, if the heating temperature and heating time are set lower than the temperature of the preliminary reaction, excessive Polymerization reaction can be prevented. The temperature for thickening the optical resin composition to which the curing catalyst is added is preferably 0 to 50 ° C, and preferably 15 to 45 ° C. In that case, the heating time is preferably 10 to 240 minutes, more preferably 30 to 120 minutes.
予備反応は、1回のみ行ってもよいし、さらに1回または2回以上の再加熱を行っても良い。また、上述したような光学用樹脂組成物を増粘させる方法を2種以上組み合わせて、または連続して行ってもよい。このように予備反応を行うことによって光学用樹脂組成物の各成分の混合時に析出物が発生することを防ぐことができるので、製造される光学レンズは、均一な特性で、外観が良好となる。 The preliminary reaction may be performed only once, or may be reheated once or twice or more. Further, two or more methods for increasing the viscosity of the optical resin composition as described above may be combined or continuously performed. By performing the preliminary reaction in this way, it is possible to prevent the occurrence of precipitates when the components of the optical resin composition are mixed, so that the manufactured optical lens has a uniform characteristic and a good appearance. .
このようにして調製した光学用樹脂組成物を、ガラスや金属などの型(レンズ成形用モールド)に注入し、加熱により重合硬化させることによって、本発明の光学レンズを得ることができる。調製した光学用樹脂組成物をレンズ成形用モールドへ注入する際の温度は特に限定されるものではないが、10〜30℃が好ましく、15〜25℃がより好ましい。 The optical lens of the present invention can be obtained by injecting the optical resin composition thus prepared into a mold (lens molding mold) such as glass or metal and polymerizing and curing by heating. The temperature at which the prepared optical resin composition is poured into the lens molding mold is not particularly limited, but is preferably 10 to 30 ° C, and more preferably 15 to 25 ° C.
本発明の光学用樹脂組成物は、レンズ成形用モールド中での重合硬化中に気泡が発生するのを防止するために、前記各成分の混合前、混合時、または混合後に、減圧下に脱ガス操作を行うと、後の注型重合硬化中の気泡時発生を防止する点から好ましい。この時の減圧度は、0.1〜700mmHg(0.1〜700Torr)程度で行うのが好ましく、より好ましくは0.5〜300mmHg(0.5〜300Torr)である。さらに、本発明の光学レンズの品質をより高めるために、前記各成分またはこれらを混合および/または予備反応させた光学用樹脂組成物を孔径0.05〜3μmのフィルターで濾過して精製することが好ましい。 The optical resin composition of the present invention is removed under reduced pressure before, during, or after mixing the above components in order to prevent bubbles from being generated during polymerization and curing in a lens molding mold. When gas operation is performed, it is preferable from the point which prevents generation | occurrence | production at the time of the bubble in cast polymerization hardening after that. The degree of decompression at this time is preferably about 0.1 to 700 mmHg (0.1 to 700 Torr), more preferably 0.5 to 300 mmHg (0.5 to 300 Torr). Furthermore, in order to further improve the quality of the optical lens of the present invention, the above-mentioned components or optical resin compositions obtained by mixing and / or pre-reacting these components are filtered and purified through a filter having a pore size of 0.05 to 3 μm. Is preferred.
このようにして調製した光学用樹脂組成物を所望のガラスや金属製の型に注入した後、電気炉などによる熱重合硬化を行なう。熱重合硬化させる場合、硬化時間は0.1〜100時間であることが好ましく、1〜72時間であることが好ましい。硬化温度は−10〜160℃であることが好ましく、0〜140℃であることが好ましい。熱重合硬化は、所定の硬化温度で所定時間保持して行なってもよいが、これに昇温(0.1〜100℃/h)や降温(0.1〜100℃/h)などの操作を適宜組み合わせて行なってもよい。 The thus-prepared optical resin composition is poured into a desired glass or metal mold and then subjected to thermal polymerization and curing using an electric furnace or the like. When thermosetting and curing, the curing time is preferably 0.1 to 100 hours, and preferably 1 to 72 hours. The curing temperature is preferably −10 to 160 ° C., and preferably 0 to 140 ° C. Thermal polymerization and curing may be carried out by holding at a predetermined curing temperature for a predetermined time, but operations such as temperature increase (0.1 to 100 ° C./h) and temperature decrease (0.1 to 100 ° C./h) are performed. May be combined as appropriate.
本発明の光学レンズの製造方法においては、光学用樹脂組成物の重合硬化時に成形用モールドを水平面に対して60°〜120°の角度に保持することが必須であり、90°とすることが好ましい。
図1は、本発明の光学レンズの製造方法の一態様を示した概略断面図である。成形用モールド1は、ガラスモールド2及び4からなり、光学用樹脂組成物3を成形用モールドに注入した後、図1に示されるように成形用モールド1を水平面に対してθの角度に保持する。上述した様に、θは60°〜120°であり、90°が好ましい。
成形用モールド1を水平面に対してこのような範囲の角度に保持することにより、成形用モールド内における光学用樹脂組成物の熱対流の痕が残りにくく、光学レンズの脈理を生じにくくすることができる。また、脈理が生じたとしても、上記熱対流の痕として、レンズの周縁部に脈理が生じるため問題とならない。
In the method for producing an optical lens of the present invention, it is essential to hold the molding mold at an angle of 60 ° to 120 ° with respect to the horizontal plane at the time of polymerization and curing of the optical resin composition, and it should be 90 °. preferable.
FIG. 1 is a schematic cross-sectional view showing an embodiment of a method for producing an optical lens of the present invention. The molding mold 1 comprises
By maintaining the molding mold 1 at an angle in such a range with respect to the horizontal plane, traces of thermal convection of the optical resin composition in the molding mold are less likely to remain, and striations of the optical lens are less likely to occur. Can do. Further, even if striae occur, there is no problem because striae occur at the peripheral edge of the lens as traces of the heat convection.
また、成形用モールド内における光学用樹脂組成物の熱対流を抑制するために、断熱材を用いて断熱処理してもよい。例えば、断熱材の熱抵抗が0.010m2K/W以上である断熱材を用いて断熱処理してもよい。また、断熱材の耐熱温度が100℃以上である断熱材を用いて断熱処理してもよい。具体的には、ガスケットやテープ部材を用いて、成形用モールドの側面部及び周縁部を覆う方法が挙げられる。 Moreover, in order to suppress the thermal convection of the optical resin composition in the molding mold, a heat insulating treatment may be performed using a heat insulating material. For example, you may heat-insulate using the heat insulating material whose heat resistance of a heat insulating material is 0.010 m < 2 > K / W or more. Moreover, you may heat-treat using the heat insulating material whose heat-resistant temperature of a heat insulating material is 100 degreeC or more. Specifically, the method of covering the side part and peripheral part of a molding mold using a gasket or a tape member is mentioned.
このようにして重合硬化させた硬化物を型から離型する。離型した硬化物はそのまま本発明の光学レンズとして使用することもできるが、光学材料の歪を除くために50〜150℃の温度で10分〜5時間アニール処理を行なうことが好ましい。 The cured product thus polymerized and cured is released from the mold. The released cured product can be used as it is as the optical lens of the present invention, but it is preferable to perform an annealing treatment at a temperature of 50 to 150 ° C. for 10 minutes to 5 hours in order to remove distortion of the optical material.
得られた光学レンズは、通常、所望の形状(例えば、眼鏡レンズ形状)に加工して使用される。また、必要に応じて、前記光学レンズを基材として用い、所望の形状に加工する前または加工した後にその片面または両面に各種コーティング層を形成してもよい。前記コーティング層としては、プライマー層、ハードコート層、反射防止層、防曇コート層、汚れ防止層などが挙げられる。このようなコーティング層は1層だけ形成してもよいが、2種以上の層を積層して多層のコーティング層を形成してもよい。 The obtained optical lens is usually used after being processed into a desired shape (for example, a spectacle lens shape). Further, if necessary, the optical lens may be used as a base material, and various coating layers may be formed on one side or both sides before or after processing into a desired shape. Examples of the coating layer include a primer layer, a hard coat layer, an antireflection layer, an antifogging coat layer, and an antifouling layer. Only one such coating layer may be formed, but two or more layers may be laminated to form a multilayer coating layer.
プライマー層の構成材料は特に限定されないが、ウレタン系樹脂、エポキシ系樹脂、ポリエステル系樹脂、メラニン系樹脂、ポリビニルアセタール等が挙げられる。
上記プライマー組成物は、さらに塗布性の改善を目的とした各種レベリング剤あるいは耐候性の向上を目的とした紫外線吸収剤や酸化防止剤、さらに染料や顔料、フォトクロミック染料やフォトクロミック顔料その他、膜性能を高める等の機能を付加するための公知の添加剤を併用することができる。
The constituent material of the primer layer is not particularly limited, and examples thereof include urethane resin, epoxy resin, polyester resin, melanin resin, and polyvinyl acetal.
The above primer composition has various filming properties such as various leveling agents for the purpose of improving coatability or ultraviolet absorbers and antioxidants for the purpose of improving weather resistance, dyes and pigments, photochromic dyes and photochromic pigments, etc. Known additives for adding a function such as enhancement can be used in combination.
上記プライマー組成物を基板へ塗布又は固化させることによりプライマー層を形成することができる。塗布方法としては、スピンコート法、ディッピング法など公知の方法が挙げられる。CVD法や真空蒸着法などの乾式法で形成することも可能である。光学レンズの表面に、必要に応じて、アルカリ処理、プラズマ処理、紫外線処理などの前処理を行っておいてもよい。プライマー層の硬化後の膜厚は、0.1〜10μmであり、好ましくは0.2〜3μmである。プライマー層の膜厚が0.1μm以上の場合、耐衝撃性に優れ、また10μm以下の場合、耐熱性及び面精度に優れる。 A primer layer can be formed by applying or solidifying the primer composition to a substrate. Examples of the coating method include known methods such as spin coating and dipping. It can also be formed by a dry method such as a CVD method or a vacuum deposition method. If necessary, the surface of the optical lens may be subjected to pretreatment such as alkali treatment, plasma treatment, or ultraviolet treatment. The film thickness after hardening of a primer layer is 0.1-10 micrometers, Preferably it is 0.2-3 micrometers. When the thickness of the primer layer is 0.1 μm or more, the impact resistance is excellent, and when it is 10 μm or less, the heat resistance and the surface accuracy are excellent.
ハードコート層は、光学レンズ表面に耐摩耗性、耐湿性、耐温水性、耐熱性、耐候性等を付与するために、有機ケイ素系化合物等に酸化チタン、酸化ジルコニウム等の高屈折率の無機酸化物微粒子等を加えてなるハードコート液を塗布し、硬化させて形成する。
また、染色可能なハードコート層を使用することにより光学材料を着色してもよい。基板の表面にハードコート層を形成後に、分散染料、昇華性染料、反応性染料、塩基性染料、酸性染料等をハードコート層に浸漬させ、ハードコート層の表面近傍あるいはハードコート全体を着色する。あるいは、あらかじめハードコート液に染料を分散させ、ハードコート液を塗布し、硬化させ、着色されたハードコート層を基板表面に形成する。
さらに、光照射により青色に着色するフォトクロミック性能を有するハードコート層を形成させてもよい。フォトクロミック性能としては、青色へのフォトクロミック性能を発現するものであれば特に限定されないが、ハードコート層へ青色へのフォトクロミック化合物を含有させる方法により形成できる。この青色へのフォトクロミック化合物としては、酸化チタン粒子及び/又は酸化チタン含有複合粒子等が挙げられ、比較的膜厚を厚く出来るハードコート層として光学材料表面に形成することが好ましい。また、ハードコート層以外の層にフォトクロミック性能を付与してもよい。
The hard coat layer is a high refractive index inorganic material such as titanium oxide, zirconium oxide, etc. for organosilicon compounds, etc., to impart wear resistance, moisture resistance, warm water resistance, heat resistance, weather resistance, etc. to the optical lens surface. A hard coat liquid to which oxide fine particles and the like are added is applied and cured.
Further, the optical material may be colored by using a dyeable hard coat layer. After the hard coat layer is formed on the surface of the substrate, disperse dyes, sublimation dyes, reactive dyes, basic dyes, acid dyes, etc. are immersed in the hard coat layer, and the surface of the hard coat layer or the entire hard coat is colored. . Alternatively, a dye is dispersed in advance in the hard coat liquid, the hard coat liquid is applied and cured, and a colored hard coat layer is formed on the substrate surface.
Furthermore, you may form the hard-coat layer which has the photochromic performance colored blue by light irradiation. The photochromic performance is not particularly limited as long as it exhibits a blue photochromic performance, but it can be formed by a method in which a hard coat layer contains a blue photochromic compound. Examples of the blue photochromic compound include titanium oxide particles and / or titanium oxide-containing composite particles, and it is preferably formed on the surface of the optical material as a hard coat layer that can be relatively thick. Moreover, you may provide photochromic performance to layers other than a hard-coat layer.
ハードコート層は、ハードコート液を光学レンズ上に塗布後、硬化して形成されるが、硬化方法としては、熱硬化方法、触媒による効果方法、エネルギー線照射による硬化方法等が挙げられる。ハードコート層の硬化膜の厚さは、一般に、乾燥後で0.3〜30μmが好ましく、また、得られた硬化膜の屈折率は、ハードコート層積層前の光学レンズとの屈折率との差が、±0.1の範囲にあるようにするのが好ましい。 The hard coat layer is formed by applying a hard coat solution on an optical lens and then curing, and examples of the curing method include a thermal curing method, an effect method using a catalyst, and a curing method using energy beam irradiation. In general, the thickness of the cured film of the hard coat layer is preferably 0.3 to 30 μm after drying, and the refractive index of the obtained cured film is the refractive index of the optical lens before lamination of the hard coat layer. The difference is preferably in the range of ± 0.1.
さらに必要に応じて、ハードコート層の上にSiO2、TiO2等の無機酸化物からなる単層又は多層の反射防止膜層を形成させてもよい。前記反射防止膜層は、多層膜反射防止膜とすることが好ましく、その場合、低屈折率膜と高屈折率膜とを交互に積層する。高屈折率膜としては、ZnO、TiO2、CeO2、Sb2O5、SnO2、ZrO2、ZrO2、Ta2O5等の膜があり、低屈折率膜としては、SiO2膜等が挙げられる。反射防止膜層の形成方法としては、真空蒸着法、スパッタリング法、イオンプレーティング法、イオンビームアシスト法、CVD法などの乾式法が挙げられる。 Further, if necessary, a single-layer or multilayer antireflection film layer made of an inorganic oxide such as SiO 2 or TiO 2 may be formed on the hard coat layer. The antireflection film layer is preferably a multilayer antireflection film. In that case, a low refractive index film and a high refractive index film are alternately laminated. Examples of the high refractive index film include ZnO, TiO 2 , CeO 2 , Sb 2 O 5 , SnO 2 , ZrO 2 , ZrO 2 , and Ta 2 O 5 , and examples of the low refractive index film include an SiO 2 film. Is mentioned. Examples of the method for forming the antireflection film layer include dry methods such as vacuum deposition, sputtering, ion plating, ion beam assist, and CVD.
反射防止膜層の上には、必要に応じて防曇コート膜層又は汚れ防止膜層を形成させることが可能である。 On the antireflection film layer, an antifogging coating film layer or an antifouling film layer can be formed as necessary.
本発明の光学レンズの製造方法によれば、光学用樹脂組成物の重合硬化時に成形用モールドを水平面に対して60°〜120°の角度に保持することにより、1枚当たりの体積が大きいレンズ、強度レンズ、またはセミフィニッシュレンズを製造する場合であっても脈理の発生が少ない光学レンズが生産性良く製造できる製造方法およびその製造方法により得られる光学レンズを提供することが可能となる。 According to the method for producing an optical lens of the present invention, a lens having a large volume per sheet is obtained by holding the molding mold at an angle of 60 ° to 120 ° with respect to a horizontal plane during polymerization curing of the optical resin composition. In addition, it is possible to provide a manufacturing method capable of manufacturing an optical lens with less striae with high productivity even when a strength lens or a semi-finished lens is manufactured, and an optical lens obtained by the manufacturing method.
以下、実施例により本発明をより具体的に説明するが、本発明は以下の実施例に限定されるものではない。
なお、実施例および比較例の物性評価は、以下のようにして行った。
〔脈理レベルの評価〕
水銀灯光源を作製した光学レンズに透過させ、透過光を白色板に投影し、図2に示される見本を基準に外観脈理レベルを0〜5の6段階で評価した。この外観脈理レベルが2以上のものを商品化可能レベルとした。n回評価を行い、脈理レベルの平均値を算出した。図2に示される脈理レベルの基準を以下に説明する。
α帯:レンズ幾何中心から半径15mmの範囲
β帯:α以外の範囲
レベル5:外観上、目視で確認ができない。
レベル4:レンズ中心から離れたβ帯の周辺部に1本の薄い筋状の脈理がある。
レベル3:レンズ中心から離れたβ帯周辺に2〜3本の薄い筋状の脈理がある。但し、1本であっても濃い場合はレベル3に該当する。
レベル2:α帯とβ帯の境界を跨ぐが、レンズの中心から離れた箇所に3本以下の脈理がある。
レベル1:α帯とβ帯を完全に跨ぎ、またその濃さも濃い脈理がある。
レベル0:濃さに関係なく、レンズ中心を横切る様な脈理がある。
〔光学樹脂組成物の製造〕
Aとしてビス(β−エピチオプロピル)スルフィド(三菱ガス化学社製、商品名:IU−11A)785重量部を、Bとして硫黄粉末(純度98%以上試薬)143重量部を、Cの一部としてキシリレンジチオール25重量部を、紫外線吸収剤として2−(4−ブトキシ−2−ヒドロキシフェニル)−2H−ベンゾトリアゾール(大和化成社製、商品名:DAINSORB T−53)14重量部を添加し、60℃で溶解するまで攪拌した。
続いて、この混合液に、予備反応触媒として予備反応触媒として2−メルカプト−1−メチルイミダゾール2重量部を加え、60℃にて50分間の予備反応を行った後、20℃まで冷却した。
次に、Cの残りとしてキシリレンジチオール46重量部に硬化触媒としてトリエチルベンジルアンモニウムクロライド0.2重量部と反応調整剤としてジブチル錫ジクロライド2重量部を溶解させたものを添加し、光学樹脂組成物とした。
EXAMPLES Hereinafter, although an Example demonstrates this invention more concretely, this invention is not limited to a following example.
The physical properties of Examples and Comparative Examples were evaluated as follows.
[Evaluation of striae level]
The mercury lamp light source was transmitted through the optical lens, the transmitted light was projected onto a white plate, and the appearance striae level was evaluated in 6 stages from 0 to 5 based on the sample shown in FIG. Those having an appearance striae level of 2 or more were defined as commercializable levels. Evaluation was performed n times, and the average value of the striae level was calculated. The standard of the striae level shown in FIG. 2 will be described below.
α band: Range with a radius of 15 mm from the geometric center of the lens β band: Range other than α Level 5: Appearance cannot be confirmed visually.
Level 4: There is one thin streak in the periphery of the β-band away from the lens center.
Level 3: There are 2 to 3 thin streaks in the vicinity of the β band away from the lens center. However, even if there is only one, it corresponds to
Level 2: Crosses the boundary between the α band and the β band, but there are three or less striae at locations away from the center of the lens.
Level 1: completely straddles the α and β bands, and has a deep striae.
Level 0: There is a striae that crosses the center of the lens regardless of the darkness.
[Production of optical resin composition]
A is 785 parts by weight of bis (β-epithiopropyl) sulfide (Mitsubishi Gas Chemical Co., Ltd., trade name: IU-11A) as A, 143 parts by weight of sulfur powder (reagent with a purity of 98% or more) as B, part of C And 25 parts by weight of xylylene thiol as a UV absorber and 14 parts by weight of 2- (4-butoxy-2-hydroxyphenyl) -2H-benzotriazole (manufactured by Daiwa Kasei Co., Ltd., trade name: DAINSORB T-53) And stirred at 60 ° C. until dissolved.
Subsequently, 2 parts by weight of 2-mercapto-1-methylimidazole was added as a preliminary reaction catalyst to the mixed solution, and a preliminary reaction was performed at 60 ° C. for 50 minutes, followed by cooling to 20 ° C.
Next, as the remainder of C, 46 parts by weight of xylylene thiol, 0.2 parts by weight of triethylbenzylammonium chloride as a curing catalyst and 2 parts by weight of dibutyltin dichloride as a reaction modifier are added, and an optical resin composition It was.
(実施例1)
前記光学用樹脂組成物を一対のガラスモールドをテープで保持したキャビティー内に注入し、角度が90°となるように重合炉内に設置した後、20℃から60℃まで24時間で昇温させ、60℃で7時間保持し、その後100℃まで4時間で昇温させ、100℃で5時間保持する重合パターンで重合硬化させた。得られたレンズの脈理を評価し、結果を表1に示した。
Example 1
The optical resin composition is poured into a cavity in which a pair of glass molds are held by a tape, and placed in a polymerization furnace so that the angle is 90 °, and then the temperature is raised from 20 ° C. to 60 ° C. in 24 hours. It was held at 60 ° C. for 7 hours, then heated to 100 ° C. over 4 hours, and polymerized and cured with a polymerization pattern held at 100 ° C. for 5 hours. The striae of the obtained lenses were evaluated, and the results are shown in Table 1.
(比較例1)
角度が30°となるように重合炉内に設置した以外は実施例1と同様に重合硬化させた。得られたレンズの脈理を評価し、結果を表1に示した。
(Comparative Example 1)
Polymerization and curing were carried out in the same manner as in Example 1 except that it was installed in the polymerization furnace so that the angle was 30 °. The striae of the obtained lenses were evaluated, and the results are shown in Table 1.
(比較例2)
角度が180°となるように重合炉内に設置した以外は実施例1と同様に重合硬化させた。得られたレンズの脈理を評価し、結果を表1に示した。
(Comparative Example 2)
Polymerization and curing were carried out in the same manner as in Example 1 except that the angle was set to 180 ° in the polymerization furnace. The striae of the obtained lenses were evaluated, and the results are shown in Table 1.
表1に示すとおり、重合硬化時に成形用モールドを水平面に対して60°〜120°の角度に保持した実施例1では、得られた光学レンズに脈理が認められなかった。 As shown in Table 1, in Example 1 in which the molding mold was held at an angle of 60 ° to 120 ° with respect to the horizontal plane during polymerization and curing, no striae was observed in the obtained optical lens.
以上の結果から、本発明の光学レンズの製造方法によれば、1枚当たりの体積が大きいレンズ、強度レンズ、セミフィニッシュレンズを製造する場合であっても脈理の発生が少ない光学レンズを得ることができることが明らかである。 From the above results, according to the method of manufacturing an optical lens of the present invention, an optical lens with little striae is obtained even when a lens, a strength lens, and a semi-finished lens having a large volume per sheet are manufactured. Obviously it can be.
1 成形用モールド
2、4 ガラスモールド
3 光学用樹脂組成物
1
Claims (10)
An optical lens obtained by the manufacturing method according to claim 1.
Priority Applications (1)
| Application Number | Priority Date | Filing Date | Title |
|---|---|---|---|
| JP2010079037A JP2011207152A (en) | 2010-03-30 | 2010-03-30 | Optical lens and manufacturing method of the same |
Applications Claiming Priority (1)
| Application Number | Priority Date | Filing Date | Title |
|---|---|---|---|
| JP2010079037A JP2011207152A (en) | 2010-03-30 | 2010-03-30 | Optical lens and manufacturing method of the same |
Publications (1)
| Publication Number | Publication Date |
|---|---|
| JP2011207152A true JP2011207152A (en) | 2011-10-20 |
Family
ID=44938759
Family Applications (1)
| Application Number | Title | Priority Date | Filing Date |
|---|---|---|---|
| JP2010079037A Pending JP2011207152A (en) | 2010-03-30 | 2010-03-30 | Optical lens and manufacturing method of the same |
Country Status (1)
| Country | Link |
|---|---|
| JP (1) | JP2011207152A (en) |
Cited By (5)
| Publication number | Priority date | Publication date | Assignee | Title |
|---|---|---|---|---|
| JP2013205777A (en) * | 2012-03-29 | 2013-10-07 | Hoya Corp | Spectacle lens |
| WO2018169031A1 (en) * | 2017-03-17 | 2018-09-20 | 三菱ケミカル株式会社 | Urethane (meth)acrylate polymer |
| KR20180107286A (en) | 2016-03-30 | 2018-10-01 | 미쯔이가가꾸가부시끼가이샤 | Polymerizable composition for optical material, optical material obtained from the composition, and plastic lens |
| KR20200023551A (en) | 2015-06-15 | 2020-03-04 | 미쯔이가가꾸가부시끼가이샤 | Method for producing plastic lens and device for producing plastic lens |
| US10723832B2 (en) | 2015-02-03 | 2020-07-28 | Mitsui Chemicals, Inc. | Polymerizable composition for optical material and optical material and plastic lens obtainable from same composition |
Citations (10)
| Publication number | Priority date | Publication date | Assignee | Title |
|---|---|---|---|---|
| JP3002423U (en) * | 1994-03-28 | 1994-09-27 | テイジンレンズ株式会社 | Mold stand |
| JPH09193256A (en) * | 1996-01-12 | 1997-07-29 | Asahi Optical Co Ltd | Lens manufacturing method |
| JP2003145555A (en) * | 2001-11-09 | 2003-05-20 | Seiko Epson Corp | Plastic lens manufacturing method |
| JP2004137481A (en) * | 2002-09-27 | 2004-05-13 | Mitsubishi Gas Chem Co Inc | Optical material manufacturing method |
| JP2004315556A (en) * | 2003-04-11 | 2004-11-11 | Nikon-Essilor Co Ltd | Composition for optical material, optical material and spectacle lens |
| JP2005520708A (en) * | 2002-03-19 | 2005-07-14 | エシロール アンテルナショナル コムパニージェネラル ドプテイク | Method for obtaining an optical lens and seal and apparatus for its implementation |
| JP2006231825A (en) * | 2005-02-28 | 2006-09-07 | Seiko Epson Corp | Raw material injection method |
| WO2007052566A1 (en) * | 2005-10-31 | 2007-05-10 | Nikon-Essilor Co., Ltd. | Composition for optical material, optical material and eyeglass lens |
| JP2007176184A (en) * | 2004-06-08 | 2007-07-12 | Hoya Corp | Method for manufacturing plastic lens, gasket for molding plastic lens, mold for molding plastic lens, jig for injecting plastic lens raw material liquid, tool for holding mold for plastic lens, and apparatus for manufacturing plastic lens |
| JP2009244865A (en) * | 2008-03-13 | 2009-10-22 | Seiko Epson Corp | Plastic lens |
-
2010
- 2010-03-30 JP JP2010079037A patent/JP2011207152A/en active Pending
Patent Citations (10)
| Publication number | Priority date | Publication date | Assignee | Title |
|---|---|---|---|---|
| JP3002423U (en) * | 1994-03-28 | 1994-09-27 | テイジンレンズ株式会社 | Mold stand |
| JPH09193256A (en) * | 1996-01-12 | 1997-07-29 | Asahi Optical Co Ltd | Lens manufacturing method |
| JP2003145555A (en) * | 2001-11-09 | 2003-05-20 | Seiko Epson Corp | Plastic lens manufacturing method |
| JP2005520708A (en) * | 2002-03-19 | 2005-07-14 | エシロール アンテルナショナル コムパニージェネラル ドプテイク | Method for obtaining an optical lens and seal and apparatus for its implementation |
| JP2004137481A (en) * | 2002-09-27 | 2004-05-13 | Mitsubishi Gas Chem Co Inc | Optical material manufacturing method |
| JP2004315556A (en) * | 2003-04-11 | 2004-11-11 | Nikon-Essilor Co Ltd | Composition for optical material, optical material and spectacle lens |
| JP2007176184A (en) * | 2004-06-08 | 2007-07-12 | Hoya Corp | Method for manufacturing plastic lens, gasket for molding plastic lens, mold for molding plastic lens, jig for injecting plastic lens raw material liquid, tool for holding mold for plastic lens, and apparatus for manufacturing plastic lens |
| JP2006231825A (en) * | 2005-02-28 | 2006-09-07 | Seiko Epson Corp | Raw material injection method |
| WO2007052566A1 (en) * | 2005-10-31 | 2007-05-10 | Nikon-Essilor Co., Ltd. | Composition for optical material, optical material and eyeglass lens |
| JP2009244865A (en) * | 2008-03-13 | 2009-10-22 | Seiko Epson Corp | Plastic lens |
Cited By (11)
| Publication number | Priority date | Publication date | Assignee | Title |
|---|---|---|---|---|
| JP2013205777A (en) * | 2012-03-29 | 2013-10-07 | Hoya Corp | Spectacle lens |
| US10723832B2 (en) | 2015-02-03 | 2020-07-28 | Mitsui Chemicals, Inc. | Polymerizable composition for optical material and optical material and plastic lens obtainable from same composition |
| KR20200023551A (en) | 2015-06-15 | 2020-03-04 | 미쯔이가가꾸가부시끼가이샤 | Method for producing plastic lens and device for producing plastic lens |
| US11358354B2 (en) | 2015-06-15 | 2022-06-14 | Mitsui Chemicals, Inc. | Process for producing plastic lens and apparatus for producing plastic lens |
| KR20180107286A (en) | 2016-03-30 | 2018-10-01 | 미쯔이가가꾸가부시끼가이샤 | Polymerizable composition for optical material, optical material obtained from the composition, and plastic lens |
| US11414515B2 (en) | 2016-03-30 | 2022-08-16 | Mitsui Chemicals, Inc. | Polymerizable composition for optical material and optical material and plastic lens obtainable from same composition |
| WO2018169031A1 (en) * | 2017-03-17 | 2018-09-20 | 三菱ケミカル株式会社 | Urethane (meth)acrylate polymer |
| KR20190115477A (en) * | 2017-03-17 | 2019-10-11 | 미쯔비시 케미컬 주식회사 | Urethane (meth) acrylate polymer |
| CN110446736A (en) * | 2017-03-17 | 2019-11-12 | 三菱化学株式会社 | Polyurethane (meth)acrylate polymers |
| KR102275295B1 (en) | 2017-03-17 | 2021-07-12 | 미쯔비시 케미컬 주식회사 | Urethane (meth)acrylate polymer |
| CN110446736B (en) * | 2017-03-17 | 2021-09-28 | 三菱化学株式会社 | Polyurethane (meth) acrylate polymer |
Similar Documents
| Publication | Publication Date | Title |
|---|---|---|
| KR101900837B1 (en) | Polymerizable composition for optical material, method for producing same, and method for producing optical material | |
| KR101096368B1 (en) | Polymerizable Compositions, Resins and Optical Components Using the Same | |
| US20150259477A1 (en) | Novel episulfide compound and optical material composition | |
| JP6306403B2 (en) | Transparent member forming composition and transparent member comprising cured product thereof | |
| KR101050006B1 (en) | Polymerizable Compositions and Resins, Optical Components, and Lenses Using the Same | |
| WO2002023230A1 (en) | Composition for optical material | |
| CN101616958A (en) | Metal thietane compound, polymerizable composition containing the compound, resin and application thereof | |
| KR20030007912A (en) | Polymerization regulator and composition for resin | |
| US10472435B2 (en) | Polymerizable composition and novel alkyne compound | |
| WO2002102806A1 (en) | Alicyclic compound for optical material | |
| EP2230271B1 (en) | Additive for polymerizable composition, polymerizable composition containing the same, and use of the polymerizable composition | |
| TWI309603B (en) | Process for producing plastic lens and plastic lens | |
| JP2011231185A (en) | Method of manufacturing prepolymer for optical lens molding, and method of manufacturing optical lens | |
| JP2011207152A (en) | Optical lens and manufacturing method of the same | |
| JP2004315556A (en) | Composition for optical material, optical material and spectacle lens | |
| JP2000327677A (en) | How to store episulfide compounds | |
| JP2015034990A (en) | Method for manufacturing optical lens | |
| JP2011212850A (en) | Optical lens, and method for producing the same | |
| KR102202261B1 (en) | Optical material composition and optical material using same | |
| JP5322438B2 (en) | Composition for optical material, optical material and spectacle lens | |
| JP2011073165A (en) | Optical lens and method of manufacturing the same | |
| JP2012061665A (en) | Production method for optical lens | |
| JP2012063507A (en) | Method for manufacturing optical lens | |
| JP2011152759A (en) | Optical lens and method for manufacturing the same | |
| CN101443413A (en) | Polymerizable composition, resin using the same, optical component and lens |
Legal Events
| Date | Code | Title | Description |
|---|---|---|---|
| A625 | Written request for application examination (by other person) |
Free format text: JAPANESE INTERMEDIATE CODE: A625 Effective date: 20130319 |
|
| A977 | Report on retrieval |
Free format text: JAPANESE INTERMEDIATE CODE: A971007 Effective date: 20140117 |
|
| A131 | Notification of reasons for refusal |
Free format text: JAPANESE INTERMEDIATE CODE: A131 Effective date: 20140128 |
|
| A521 | Written amendment |
Free format text: JAPANESE INTERMEDIATE CODE: A523 Effective date: 20140325 |
|
| A02 | Decision of refusal |
Free format text: JAPANESE INTERMEDIATE CODE: A02 Effective date: 20150317 |
