JP2010179094A - Radiation tomographic image generator - Google Patents
Radiation tomographic image generator Download PDFInfo
- Publication number
- JP2010179094A JP2010179094A JP2010003268A JP2010003268A JP2010179094A JP 2010179094 A JP2010179094 A JP 2010179094A JP 2010003268 A JP2010003268 A JP 2010003268A JP 2010003268 A JP2010003268 A JP 2010003268A JP 2010179094 A JP2010179094 A JP 2010179094A
- Authority
- JP
- Japan
- Prior art keywords
- radiation
- imaging
- tomographic image
- image generation
- unit
- Prior art date
- Legal status (The legal status is an assumption and is not a legal conclusion. Google has not performed a legal analysis and makes no representation as to the accuracy of the status listed.)
- Abandoned
Links
Images
Landscapes
- Apparatus For Radiation Diagnosis (AREA)
Abstract
【課題】作業効率の向上を図ることができると共に、患者の被曝や患者の拘束時間に無駄を生じさせることがない放射線断層画像生成装置を提供する。
【解決手段】放射線検出装置12に対向して設けられた放射線照射部20を複数の位置に移動しながら各位置において放射線照射部20から放射線検出装置12上の被写体24に対して異なる方向から放射線26を照射して、放射線検出装置12から複数枚の放射線画像を取得する放射線画像取得部14と、放射線画像取得部14にて取得された複数枚の放射線画像を再構成して、被写体24の放射線検出装置12の検出面に平行な断層画像を生成する画像再構成部16とを有する画像生成装置10において、撮影中の被写体24の動きを検出する体動検出部100と、体動検出部100にて検出された被写体24の動きのレベルに基づいて、撮影を続行するか否かを判定する撮影続行判定部102とを有する。
【選択図】図1Provided is a radiation tomographic image generation apparatus capable of improving work efficiency and causing no waste in patient exposure and patient restraint time.
Radiation from a different direction from a radiation irradiation unit 20 to a subject 24 on the radiation detection device 12 at each position while moving the radiation irradiation unit 20 provided facing the radiation detection device 12 to a plurality of positions. 26, the radiation image acquisition unit 14 that acquires a plurality of radiation images from the radiation detection device 12, and the plurality of radiation images acquired by the radiation image acquisition unit 14 are reconstructed to In an image generation apparatus 10 having an image reconstruction unit 16 that generates a tomographic image parallel to the detection surface of the radiation detection apparatus 12, a body motion detection unit 100 that detects the movement of the subject 24 being imaged, and a body motion detection unit And a photographing continuation determination unit 102 that determines whether or not to continue photographing based on the level of movement of the subject 24 detected at 100.
[Selection] Figure 1
Description
本発明は、放射線撮影により断層画像を取得する放射線断層画像生成装置に関する。 The present invention relates to a radiation tomographic image generation apparatus that acquires a tomographic image by radiography.
近年、X線撮影装置においても、患部をより詳しく観察するために、X線管を移動させて異なる角度から被写体にX線を照射して撮影を行い、得られた放射線画像を加算して所望の断層面を強調した断層画像を得ることができるトモシンセシス撮影(Tomosynthesis)が提案されている(例えば特許文献1参照)。 In recent years, in order to observe the affected area in more detail, an X-ray imaging apparatus also performs imaging by moving the X-ray tube and irradiating the subject with X-rays from different angles, and adding the obtained radiographic images to obtain a desired result. Tomosynthesis imaging (Tomosynthesis) that can obtain a tomographic image in which the tomographic plane is emphasized has been proposed (see, for example, Patent Document 1).
トモシンセシス撮影では、X線管をフラットパネル等の検出器と平行に移動させたり、円や楕円の弧を描くように移動させて、異なる撮影角で被写体を撮影した複数の放射線画像を取得して、これらの放射線画像を再構成して断層画像を作成する。この断層画像は、複数の放射線画像を平行移動させたり画像の大きさを調整して加算することにより取得することができる(例えば特許文献2参照)。 In tomosynthesis imaging, the X-ray tube is moved in parallel with a detector such as a flat panel, or moved so as to draw a circle or ellipse arc, and multiple radiation images obtained by imaging the subject at different imaging angles are acquired. These tomographic images are created by reconstructing these radiation images. This tomographic image can be acquired by translating a plurality of radiographic images or adjusting and adding the sizes of the images (see, for example, Patent Document 2).
しかしながら、特許文献1や特許文献2に示すように、任意の断層画像を再構成可能な放射線断層画像生成装置では、1回の撮影開始指示に基づいて、被写体の複数の画像を撮影することから、撮影開始から撮影終了までの撮影時間として数秒を要し、この撮影時間内に被写体が動いてしまう場合がある。
However, as shown in Patent Document 1 and
撮影時間内での被写体の動き(体動)のレベルが再構成に影響のないレベルであれば問題ないのであるが、体動のレベルが再構成に影響がある場合は、その後の撮影は無駄なものとなる。しかも、再撮影が必要になる等、作業効率、患者の被曝、患者の拘束時間の点で無駄が多くなるという問題がある。 There is no problem if the level of movement (body movement) of the subject within the shooting time does not affect the reconstruction, but if the body movement level affects the reconstruction, the subsequent shooting is useless. It will be something. Moreover, there is a problem that waste is increased in terms of work efficiency, patient exposure, and patient restraint time, such as the need for re-imaging.
そこで、トモシンセシス撮影が行われている期間にわたって、オペレータが被写体の体動を観察し続けて、撮影に影響を及ぼす程度の体動があった段階で、撮影を続行するか中止するかを判断することも考えられるが、オペレータの作業負担が多大になり、疲労による作業ミスを引き起こすおそれがある。 Therefore, the operator continues to observe the body movement of the subject over the period during which tomosynthesis imaging is performed, and determines whether to continue or stop the imaging when there is a body movement that affects the imaging. However, there is a possibility that an operator's work load becomes large and a work mistake due to fatigue may be caused.
本発明はこのような課題を考慮してなされたものであり、作業効率の向上を図ることができると共に、患者の被曝や患者の拘束時間に無駄を生じさせることがない放射線断層画像生成装置を提供することを目的とする。 The present invention has been made in view of such problems, and a radiation tomographic image generation apparatus that can improve work efficiency and does not cause waste in patient exposure and patient restraint time. The purpose is to provide.
また、本発明の他の目的は、トモシンセシス撮影が行われている期間にわたって、オペレータが被写体の体動を観察し続ける必要がなく、オペレータの作業負担を有効に軽減させることができ、また、作業効率の向上を図ることができると共に、患者の被曝や患者の拘束時間に無駄を生じさせることがない放射線断層画像生成装置を提供することを目的とする。 Another object of the present invention is that it is not necessary for the operator to continue observing the body movement of the subject over the period during which tomosynthesis imaging is performed, and the work burden on the operator can be effectively reduced. An object of the present invention is to provide a radiation tomographic image generation apparatus that can improve efficiency and does not cause waste in patient exposure and patient restraint time.
[1] 第1の本発明に係る放射線断層画像生成装置は、放射線検出装置に対向して設けられた放射線照射部を複数の位置に移動しながら各位置において前記放射線照射部から前記放射線検出装置上の被写体に対して異なる方向から放射線を照射して、前記放射線検出装置から出力された複数枚の放射線画像を取得する放射線画像取得手段と、前記放射線画像取得手段にて取得された前記複数枚の放射線画像を再構成して、前記被写体の断層画像を生成する再構成手段とを有する放射線断層画像生成装置において、撮影中の前記被写体の動きを検出する体動検出手段と、前記体動検出手段にて検出された前記被写体の動きのレベルに基づいて、撮影を続行するか否かを判定する撮影続行判定手段とを有することを特徴とする。 [1] The radiation tomographic image generation device according to the first aspect of the present invention is configured to move the radiation irradiation unit provided facing the radiation detection device to a plurality of positions while moving the radiation irradiation unit from the radiation irradiation unit to the radiation detection device at each position. Radiation image acquisition means for irradiating the upper subject with radiation from different directions and acquiring a plurality of radiation images output from the radiation detection device; and the plurality of sheets acquired by the radiation image acquisition means In the radiation tomographic image generation apparatus having the reconstruction means for reconstructing the radiographic image of the subject and generating the tomographic image of the subject, the body motion detection means for detecting the motion of the subject being photographed, and the body motion detection Photographing continuation determining means for determining whether or not to continue photographing based on the level of movement of the subject detected by the means.
これにより、被写体の体動のレベルが再構成に影響がある場合に、その後の撮影を停止することが可能となり、作業効率の向上を図ることができると共に、患者の被曝や患者の拘束時間に無駄を生じさせることがない。 As a result, when the level of body movement of the subject has an effect on reconstruction, it is possible to stop subsequent imaging, improve work efficiency, and increase patient exposure and patient restraint time. There is no waste.
[2] 第1の本発明において、前記体動検出手段は、前記被写体の動きを接触式あるいは非接触式で検知し、前記被写体の動きのレベルに応じた電気信号に変換して出力するセンサを有するようにしてもよい。 [2] In the first aspect of the present invention, the body movement detecting means detects the movement of the subject by a contact type or a non-contact type, and converts it into an electric signal corresponding to the level of movement of the subject and outputs the electric signal. You may make it have.
[3] 第1の本発明において、前記撮影続行判定手段は、前記センサから出力される電気信号のレベルがしきい値レベルを一度も超えない間は前記撮影を続行する判定を行い、前記電気信号のレベルがしきい値レベルを超えた段階で、前記撮影を中止する判定を行うようにしてもよい。 [3] In the first aspect of the present invention, the imaging continuation determining means determines to continue the imaging while the level of the electrical signal output from the sensor never exceeds the threshold level, and the electrical When the signal level exceeds the threshold level, it may be determined to stop the imaging.
[4] 第1の本発明において、前記体動検出手段は、前記被写体を撮像する光学カメラと、前記光学カメラからの撮像画像に基づいて、撮影開始時点からの前記被写体の動きベクトル(二次元上のベクトル)を検出する手段とを有するようにしてもよい。 [4] In the first aspect of the present invention, the body motion detecting means includes an optical camera that captures the subject, and a motion vector (two-dimensional) of the subject from the shooting start point based on a captured image from the optical camera. And a means for detecting the above vector).
[5] 第1の本発明において、前記撮影続行判定手段は、検出された前記被写体の動きベクトルの大きさがしきい値レベルを一度も超えない間は前記撮影を続行する判定を行い、前記動きベクトルの大きさがしきい値レベルを超えた段階で、前記撮影を中止する判定を行うようにしてもよい。 [5] In the first aspect of the present invention, the shooting continuation determining means determines to continue the shooting while the magnitude of the detected motion vector of the subject never exceeds a threshold level, and the motion vector It may be determined that the shooting is stopped when the size of the image exceeds a threshold level.
[6] 第1の本発明において、前記体動検出手段は、順次取得される前記放射線画像から前記被写体の注目領域を抽出する手段と、抽出した前記注目領域の三次元座標を推定する手段と、推定された前記三次元座標に基づいて、撮影開始時点からの前記注目領域の移動ベクトル(三次元上のベクトル)を検出する手段とを有するようにしてもよい。 [6] In the first aspect of the present invention, the body movement detection means includes means for extracting a region of interest of the subject from the sequentially acquired radiographic images, and means for estimating a three-dimensional coordinate of the extracted region of interest. And a means for detecting a movement vector (three-dimensional vector) of the region of interest from the imaging start time point based on the estimated three-dimensional coordinates.
[7] 第1の本発明において、前記撮影続行判定手段は、検出された前記注目領域の移動ベクトルの大きさがしきい値レベルを一度も超えない間は前記撮影を続行する判定を行い、前記移動ベクトルの大きさがしきい値レベルを超えた段階で、前記撮影を中止する判定を行うようにしてもよい。 [7] In the first aspect of the present invention, the imaging continuation determining unit determines to continue the imaging while the magnitude of the detected movement vector of the attention area has never exceeded the threshold level, and the movement It may be determined that the shooting is stopped when the magnitude of the vector exceeds a threshold level.
[8] 第1の本発明において、さらに、前記撮影続行判定手段にて前記撮影を中止する判定がなされたことを契機に警告を発する体動警告手段を有するようにしてもよい。 [8] The first aspect of the present invention may further include body movement warning means for issuing a warning when the photographing continuation determining means determines that the photographing is to be stopped.
[9] 第1の本発明において、さらに、前記撮影を続行する判定がなされている期間に前記放射線画像取得手段にて取得された放射線画像の枚数に基づいて再撮影の要否を判定する再撮影判定手段を有するようにしてもよい。 [9] In the first aspect of the present invention, re-determining whether or not re-imaging is necessary based on the number of radiographic images acquired by the radiographic image acquisition means during a period when the determination of continuing the imaging is made. You may make it have an imaging | photography determination means.
[10] 第1の本発明において、前記再撮影判定手段は、前記撮影を続行する判定がなされている期間に前記放射線画像取得手段にて取得された放射線画像の枚数が、予め設定された前記放射線画像取得手段にて取得されるべき全枚数の所定割合未満の場合に、再撮影が必要であると判定するようにしてもよい。 [10] In the first aspect of the present invention, the re-imaging determination unit sets the number of radiographic images acquired by the radiological image acquisition unit during a period in which the determination to continue the imaging is made in advance. You may make it determine that re-imaging is required when it is less than the predetermined ratio of the total number of sheets which should be acquired by the radiographic image acquisition means.
[11] 次に、第2の本発明に係る放射線断層画像生成装置は、放射線検出装置に対向して設けられた放射線照射部を複数の位置に移動しながら各位置において前記放射線照射部から前記放射線検出装置上の被写体に対して異なる方向から放射線を照射して、前記放射線検出装置から出力される複数枚の放射線画像を取得する放射線画像取得手段と、前記放射線画像取得手段にて取得された前記複数枚の放射線画像を再構成して、前記被写体の断層画像を生成する再構成手段とを有する放射線断層画像生成装置において、撮影中の前記被写体の動きを検出する体動検出手段と、前記体動検出手段にて検出された前記被写体の動きのレベルがしきい値レベルを超えた時点で、警告を出力する警告出力手段とを有することを特徴とする。 [11] Next, the radiation tomographic image generation device according to the second aspect of the present invention is configured to move the radiation irradiation unit provided facing the radiation detection device to a plurality of positions from the radiation irradiation unit at each position. Radiation image acquisition means for irradiating a subject on the radiation detection apparatus from different directions and acquiring a plurality of radiation images output from the radiation detection apparatus, and acquired by the radiation image acquisition means Reconstructing means for reconstructing the plurality of radiographic images to generate a tomographic image of the subject, a radiation tomographic image generating apparatus, and a body motion detecting means for detecting movement of the subject being imaged, And a warning output means for outputting a warning when the level of movement of the subject detected by the body motion detection means exceeds a threshold level.
これにより、撮影に影響を及ぼす程度の体動があった場合に、そのことをオペレータに知らせることができ、オペレータは、警告があった段階で、被写体の体動を観察し、撮影を続行するか中止するかを判断すればよい。すなわち、トモシンセシス撮影が行われている期間にわたって、オペレータが被写体の体動を観察し続ける必要がなく、オペレータの作業負担を有効に軽減させることができ、また、作業効率の向上を図ることができると共に、患者の被曝や患者の拘束時間に無駄を生じさせることがない。 As a result, when there is a body movement that affects the photographing, the operator can be notified of this, and the operator observes the body movement of the subject and continues the photographing at the stage of the warning. Or just decide to cancel. In other words, it is not necessary for the operator to continue observing the body movement of the subject over the period during which tomosynthesis imaging is performed, the operator's work burden can be effectively reduced, and work efficiency can be improved. At the same time, there is no waste in patient exposure and patient restraint time.
[12] 第2の本発明において、前記放射線検出装置から出力される前記放射線画像を表示装置に表示する撮影状態モニタ手段を有することを特徴とする。 [12] In the second aspect of the present invention, the radiographic image output from the radiation detection device further includes an imaging state monitoring means for displaying the radiation image on a display device.
[13] 第2の本発明において、前記撮影状態モニタ手段は、前記放射線検出装置から出力される前記放射線画像を1枚単位に順番に表示するようにしてもよい。 [13] In the second aspect of the present invention, the radiographing state monitoring means may sequentially display the radiographic images output from the radiation detection apparatus in units of one sheet.
[14] 第2の本発明において、前記撮影状態モニタ手段は、前記放射線検出装置から出力される前記放射線画像を基準パターンと共に1枚単位に順番に表示するようにしてもよい。 [14] In the second aspect of the present invention, the radiographing state monitoring means may sequentially display the radiographic images output from the radiation detection apparatus together with a reference pattern in units of one sheet.
[15] 第2の本発明において、前記撮影状態モニタ手段は、前記放射線検出装置から出力される前記放射線画像を順番にシフト加算しながら表示するようにしてもよい。 [15] In the second aspect of the present invention, the imaging state monitoring means may display the radiographic images output from the radiation detection device while sequentially shifting and adding them.
以上説明したように、本発明に係る放射線断層画像生成装置によれば、作業効率の向上を図ることができると共に、患者の被曝や患者の拘束時間に無駄を生じさせることがない。 As described above, according to the radiation tomographic image generation apparatus according to the present invention, it is possible to improve the working efficiency and to avoid waste in patient exposure and patient restraint time.
また、本発明に係る放射線断層画像生成装置によれば、トモシンセシス撮影が行われている期間にわたって、オペレータが被写体の体動を観察し続ける必要がなく、オペレータの作業負担を有効に軽減させることができ、また、作業効率の向上を図ることができると共に、患者の被曝や患者の拘束時間に無駄を生じさせることがない。 Further, according to the radiation tomographic image generation apparatus according to the present invention, it is not necessary for the operator to continuously observe the body motion of the subject over the period during which tomosynthesis imaging is performed, and the work burden on the operator can be effectively reduced. In addition, work efficiency can be improved, and patient exposure and patient restraint time are not wasted.
以下、本発明に係る放射線断層画像生成装置の実施の形態例(以下、画像生成装置と記す)を図1〜図13を参照しながら説明する。 Embodiments of a radiation tomographic image generation apparatus according to the present invention (hereinafter referred to as an image generation apparatus) will be described below with reference to FIGS.
第1の実施の形態に係る画像生成装置10は、放射線検出装置12と、放射線画像取得部14と、画像再構成部16と、これらを制御するコンソール18(制御部)とを有する。
The
放射線画像取得部14は、放射線検出装置12に対向して設けられた放射線照射部20と、該放射線照射部20を予め設定された複数の位置に移動させる移動機構22と、放射線照射部20が予め設定された複数の位置に到達した時点で、放射線照射部20から放射線検出装置12上の被写体24に対して放射線26を照射するように制御する放射線制御部28と、放射線検出装置12から順次送られてくる放射線画像を画像メモリ30に例えば時系列に記憶する画像記憶部32とを有する。すなわち、この放射線画像取得部14は、放射線検出装置12に対向して設けられた放射線照射部20を複数の位置に移動しながら各位置において放射線照射部20から放射線検出装置12上の被写体24に対して異なる方向から放射線26を照射することによって、放射線検出装置12から複数枚の放射線画像を取得するように動作する。図1の例では、移動機構22によって放射線照射部20を直線軌道に沿って移動させた例を示しているが、その他、図2Aに示すように、放射線照射部20と放射線検出装置12とを被写体24を挟んで互いに反対方向に同期移動させるようにしてもよい。あるいは、図2Bに示すように、放射線照射部20を円弧軌道に沿って移動させるようにしてもよい。
The radiation
なお、放射線画像取得部14での撮影は、放射線照射部20が予め設定された複数の位置に到達した時点で行われる個々の撮影という概念と、これら個々の撮影全体を1つの撮影として捉える概念が存在する。そこで、個々の撮影を「放射線撮影」と記し、個々の撮影全体を1つの撮影として捉えた撮影を「トモシンセシス撮影」と記す。
Note that the radiographic
画像再構成部16は、画像メモリ30に記憶された複数の放射線画像を再構成して、被写体24の断層画像、特に、被写体24の関心部位34における放射線検出装置12の検出面に平行な断層画像を生成する。再構成方法としては、例えば単純逆投影法やフィルタ逆投影法を採用することができる。ここで、単純逆投影法は、複数の放射線画像に再構成フィルタをかけずにそのまま複数の放射線画像をそれぞれ逆投影した後、加算処理して再構成画像を得る方法である。一方、フィルタ逆投影法は、複数の放射線画像に再構成フィルタを畳み込みフィルタとしてかけてから逆投影した後、加算処理して再構成画像を得る方法と、複数の放射線画像を一旦フーリエ変換して周波数空間のデータに置き換え、該データに再構成フィルタをかけてから逆投影した後、加算処理して再構成画像を得る方法とがあるが、いずれを採用してもよい。なお、単純逆投影法及びフィルタ逆投影法を総称して逆投影法と記す。
The
一方、放射線検出装置12は、筐体36と、該筐体36内に収容されたバッテリ38(図2参照)と、放射線検出器40と、検出器制御部42とを有する。
On the other hand, the
放射線検出器40は、図3に示すように、放射線26を感知して電荷を発生させるアモルファスセレン(a−Se)等の物質からなる光電変換層51を行列状の薄膜トランジスタ(TFT:Thin Film Transistor)52のアレイの上に配置した構造を有し、発生した電荷を蓄積容量53に蓄積した後、各行毎にTFT52を順次オンにして、電荷を画像信号として読み出す。図2では、光電変換層51及び蓄積容量53からなる1つの画素50と1つのTFT52との接続関係のみを示し、その他の画素50の構成については省略している。なお、アモルファスセレンは、高温になると構造が変化して機能が低下してしまうため、所定の温度範囲内で使用する必要がある。従って、筐体36内に放射線検出器40を冷却する手段を配設することが好ましい。
As shown in FIG. 3, the
各画素50に接続されるTFT52には、行方向と平行に延びるゲート線54と、列方向と平行に延びる信号線56とが接続される。各ゲート線54は、ライン走査駆動部58に接続され、各信号線56は、読取回路を構成するマルチプレクサ66に接続される。
A
ゲート線54には、行方向に配列されたTFT52をオンオフ制御する制御信号Von、Voffがライン走査駆動部58から供給される。この場合、ライン走査駆動部58は、ゲート線54を切り替える複数の第1スイッチSW1と、第1スイッチSW1の1つを選択する選択信号を出力する行アドレスデコーダ60とを備える。行アドレスデコーダ60には、検出器制御部42からアドレス信号が供給される。
Control signals Von and Voff for controlling on / off of the
また、信号線56には、列方向に配列されたTFT52を介して各画素50の蓄積容量53に保持されている電荷が流出する。この電荷は、増幅器62によって増幅される。増幅器62には、サンプルホールド回路64を介してマルチプレクサ66が接続される。マルチプレクサ66は、信号線56を切り替える複数の第2スイッチSW2と、第2スイッチSW2の1つを選択する選択信号を出力する列アドレスデコーダ68とを備える。列アドレスデコーダ68には、検出器制御部46からアドレス信号が供給される。マルチプレクサ66には、A/D変換器70が接続され、A/D変換器70によってデジタル信号に変換された放射線画像が検出器制御部42を介して出力され、図1に示すように、画像メモリ30に記憶されることになる。つまり、画像生成装置10において放射線撮影が行われるたびに放射線検出装置12から放射線画像が出力され、出力された放射線画像が画像メモリ30に例えば時系列で記憶される。
In addition, the charge held in the
そして、この画像生成装置10は、放射線撮影中の被写体24の動きを検出する体動検出部100と、該体動検出部100にて検出された被写体24の動きのレベルに基づいて、トモシンセシス撮影を続行するか否かを判定する撮影続行判定部102とを有する。
The
ここで、第1の実施の形態に係る画像生成装置10Aの具体例について図4〜図8を参照しながら説明する。
Here, a specific example of the
先ず、第1の具体例に係る画像生成装置(以下、第1画像生成装置10Aaと記す)は、図4に示すように、体動検出部として、被写体の動きを接触式あるいは非接触式で検知し、被写体の動きのレベルに応じた電気信号(検知信号)に変換して出力するセンサ104を有する。センサ104としては、該センサ104から被写体までの距離を測定する距離センサ(超音波距離センサ、赤外線距離センサ等)、被写体の変位を検知する変位センサ(渦電流型変位センサ、静電容量型変位センサ、差動トランス、レーザ式変位センサ、光ファイバ式変位センサ、ワイヤ式変位センサ、磁歪式変位センサ等)、例えば被写体が寝るベッド等に設置され、被写体の重心の移動を検知する圧力センサ等を好ましく採用することができる。
First, the image generation apparatus according to the first specific example (hereinafter referred to as the first image generation apparatus 10Aa), as shown in FIG. It has a
また、第1画像生成装置10Aaは、撮影続行判定部102として、センサ104から出力される検知信号Saのレベルと第1レジスタ108に記憶されているしきい値レベルL1とを比較する第1比較部106を有する。第1比較部106は、検知信号Saのレベルが第1しきい値レベルL1以下であれば、論理的に「0」を示す信号(撮影続行信号Sb)を出力し、検知信号Saのレベルがしきい値レベルL1を超えた段階で、論理的に「1」を示す信号(撮影中止信号Sc)を出力する。一度、撮影中止信号Scが出力された場合は、第1比較部106がリセットされるまで、該撮影中止信号Scの出力を維持する。第1比較部106からの撮影続行信号Sb及び撮影中止信号Scは、ケーブルあるいは無線にて放射線画像取得部14に供給される。
Further, the first
放射線画像取得部14は、第1比較部106から撮影続行信号Sbが入力されている間は、通常どおり放射線撮影を順次行って、トモシンセシス撮影を続行する。しかし、一旦、撮影中止信号Scが入力されると、トモシンセシス撮影を中止し、当該トモシンセシス撮影で行われる予定であったその後の放射線撮影を行わないようにする。すなわち、放射線照射部20からの放射線26の出射を停止すると共に、移動機構22によって放射線照射部20を初期位置に戻す。
The radiographic
また、第1画像生成装置10Aは、上述のセンサ104及び第1比較部106に加えて、体動警告部110と、再撮影判定部112と、再撮影警告部114とを有する。
The first
体動警告部110は、撮影続行判定部102からの撮影中止信号Scの入力に基づいて警告を発する。警告は、第1画像生成装置10Aaに接続されたモニタ116上に撮影中止を示すメッセージを表示したり、警告灯118の点灯(あるいは点滅)を行ったり、撮影中止を示すメッセージ(予め設定された音声データ)をスピーカ120を介して音声出力する等が挙げられる。この警告によって、オペレータは、被写体24が撮影を中止しなければならない程度に動いてしまい、それによって被写体24に対する撮影が中止されたことを知る。さらに、被写体24に対する再撮影への準備が行われることになる。
The body
ところで、撮影する部位や目的によっては、1回のトモシンセシス撮影で取得される放射線画像の枚数全体が全て揃わなくても十分な断層画像が得られる可能性がある。そこで、再撮影判定部112は、トモシンセシス撮影が中止された場合に、再撮影すべきかどうかの判定基準を、撮影部位や撮影目的に応じて変えるための構成を有する。すなわち、再撮影判定部112は、放射線撮影の回数を計数するカウンタ122と、カウンタ122での計数値nとレジスタ124に記憶された判定基準値Daとを比較する比較部126と、入力される撮影条件のデータのうち、撮影部位や撮影目的等を参照して、レジスタ124に記憶される判定基準値Daを決定する基準値決定部128とを有する。
By the way, depending on the part to be imaged and the purpose, there is a possibility that a sufficient tomographic image can be obtained even if all the radiographic images acquired by one tomosynthesis imaging are not all prepared. Therefore, the
そして、例えばトモシンセシス撮影の開始前において、コンソール18から撮影条件のデータが基準値決定部128に供給されると、基準値決定部128は、撮影部位や撮影目的等を参照して、判定基準値Daを決定する。放射線撮影の枚数を100枚としたときの判定基準値Daの決定の一例について以下の表1に示す。
For example, when data of imaging conditions is supplied from the
例えば撮影部位が四肢で、撮影目的が経過撮影であれば、判定基準値=100枚×50%=50枚を判定基準値Daとする。例えば撮影部位が胸部で、撮影目的が患部撮影であれば、判定基準値=100枚×90%=90枚を判定基準値Daとする。決定された判定基準値Daはレジスタ124に格納される。
For example, if the imaging region is an extremity and the purpose of imaging is follow-up imaging, the determination reference value = 100 × 50% = 50 is set as the determination reference value Da. For example, if the imaging region is the chest and the imaging purpose is imaging of the affected area, the determination reference value = 100 sheets × 90% = 90 is set as the determination reference value Da. The determined determination reference value Da is stored in the
トモシンセシス撮影が開始されると、予め設定された回数の放射線撮影が順次行われ、再撮影判定部112のカウンタ122にて放射線撮影の回数が計数されていく。トモシンセシス撮影の途中で、被写体24の体動によってトモシンセシス撮影が中止されると、カウンタ122での計数動作が終了し、カウンタ122内の計数値nが比較部126に供給される。比較部126は、カウンタ122から供給された計数値nとレジスタ124に記憶された判定基準値Daとを比較し、計数値nが判定基準値Da以上であれば、再撮影不要を示す信号(再撮影不要信号Sd)を出力し、計数値nが判定基準値Da未満であれば、再撮影必要を示す信号(再撮影要信号Se)を出力する。これら再撮影不要信号Sd又は再撮影要信号Seは再撮影警告部114に供給される。
When tomosynthesis imaging is started, a predetermined number of radiographing operations are sequentially performed, and the
再撮影警告部114は、再撮影判定部112からの再撮影不要信号Sd又は再撮影要信号Seの入力に基づいて注意喚起又は警告を発する。注意喚起は、第1画像生成装置10Aに接続されたモニタ116上に、トモシンセシス撮影が中止されたが再撮影は不要であることを示すメッセージを表示する。もちろん、再構成された断層画像のうち、読影において影響のない箇所(例えば周囲部分等)に、トモシンセシス撮影が中止されたことを示すマークを表示するようにしてもよい。このマークと共に放射線撮影の回数(枚数又は比率)を表示するようにしてもよい。これによって、読影の段階で、この断層画像が、トモシンセシス撮影が中止されたにも拘わらず、再構成されたものであることを容易に認識することができる。
The
一方、警告は、再撮影が必要であることを示すメッセージをモニタ116に表示したり、警告灯118の点灯(あるいは点滅)を行ったり、再撮影が必要であることを示すメッセージ(予め設定された音声データ)をスピーカ120を介して音声出力する等が挙げられる。この警告によって、オペレータは、被写体24に対する再撮影が必要であることを知ることができ、迅速に、被写体24に対する再撮影への準備を行うことができる。
On the other hand, the warning displays a message indicating that re-shooting is necessary on the
第1画像生成装置10Aは、基本的には以上のように構成されるものであり、次にその動作について図4も参照しながら説明する。
The first
先ず、図5のステップS1において、撮影対象である患者(被写体24)の患者情報が、撮影に先立ち、コンソール18に予め登録される。撮影部位や撮影方法が予め決まっている場合には、これらの撮影条件も予め登録しておく。撮影条件は再撮影判定部112に供給される。
First, in step S1 of FIG. 5, patient information of a patient to be imaged (subject 24) is registered in advance in the
その後、ステップS2において、再撮影判定部112の基準値決定部128は、コンソール18から供給された撮影条件の撮影部位、撮影目的等に基づいて判定基準値Daを決定し、レジスタ124に格納する。
Thereafter, in step S <b> 2, the reference
その後、ステップS3において、再撮影判定部112のカウンタ122は、計数値nを0にリセットする。
Thereafter, in step S3, the
その後、ステップS4において、被写体24(患者)を第1画像生成装置10Aに誘導し、撮影部位等に応じたポジショニングを行う。
Thereafter, in step S4, the subject 24 (patient) is guided to the first
ポジショニングが終了した段階で、ステップS5に進み、オペレータのコンソール18への操作指示に基づいてトモシンセシス撮影を開始する。これと共に、体動検出部100のセンサ104での検出動作(被写体24の動きの検出)並びに撮影続行判定部102の第1比較部106での比較処理も開始される。すなわち、センサ104は、被写体24の動きのレベルに応じた電気信号(検知信号Sa)に変換して出力する。第1比較部106は、センサ104から出力される検知信号Saのレベルと第1レジスタ108に記憶されているしきい値レベルL1とを比較し、検知信号Saのレベルがしきい値レベルL1以下であれば、撮影続行信号Sbを出力し、検知信号Saのレベルがしきい値レベルL1を超えた段階で撮影中止信号Scを出力する。
When the positioning is completed, the process proceeds to step S5, and tomosynthesis imaging is started based on an operation instruction from the operator to the
ステップS6において、放射線画像取得部14は、放射線照射部20がn番目の位置に到達させるように移動機構22を制御する。
In step S <b> 6, the radiation
放射線照射部20がn番目の位置に到達した段階で、次のステップS7に進み、撮影中止であるか否かが判別される。この判別は、撮影続行判定部102から撮影中止信号Scが供給されたかどうかで行われる。
When the
撮影中止信号Scが供給されていない、すなわち、撮影続行信号Sbが供給されているのであれば、ステップS8に進み、n番目の放射線撮影を行う。このn番目の放射線撮影によるn枚目の放射線画像は、画像メモリ30に記憶される。すなわち、n番目の放射線画像が取得されることになる。
If the imaging stop signal Sc is not supplied, that is, if the imaging continuation signal Sb is supplied, the process proceeds to step S8, and the n-th radiation imaging is performed. The nth radiographic image obtained by the nth radiography is stored in the
その後、ステップS9において、再撮影判定部のカウンタ122の計数値nが+1更新される。
Thereafter, in step S9, the count value n of the
その後、ステップS10において、放射線撮影が規定の回数(例えば100回)行われたか否かが判別される。この判別は、例えばカウンタ122の計数値nが100以上であるかどうかで行われる。
Thereafter, in step S10, it is determined whether or not radiation imaging has been performed a prescribed number of times (for example, 100 times). This determination is made based on whether the count value n of the
放射線撮影の回数が規定の回数未満であれば、ステップS6に戻り、該ステップS6以降の処理を繰り返す。 If the number of radiation imaging is less than the prescribed number, the process returns to step S6, and the processes after step S6 are repeated.
そして、ステップS10において、放射線撮影の回数が規定の回数となった段階で、次のステップS11に進み、画像メモリ30に記憶された規定の回数分の放射線画像を、逆投影方法を用いて再構成することによって、被写体の断層画像を生成する。生成された断層画像は、第1画像生成装置10Aに接続されたモニタ116に表示される。
In step S10, when the number of times of radiation imaging has reached the prescribed number, the process proceeds to the next step S11, and the prescribed number of radiation images stored in the
一方、上述のステップS7において、撮影中止信号Scが供給されたと判別された場合は、ステップS12に進み、体動警告部110は、第1比較部106からの撮影中止信号Scの入力に基づいて警告を発する。
On the other hand, if it is determined in step S7 that the imaging stop signal Sc is supplied, the process proceeds to step S12, and the body
その後、ステップS13において、放射線画像取得部14は、トモシンセシス撮影を中止し、放射線照射部20からの放射線26の出射を停止すると共に、移動機構22によって放射線照射部20を初期位置に戻す。
Thereafter, in step S <b> 13, the radiation
その後、ステップS14において、再撮影が必要か否かが判別される。この判別は、再撮影判定部112の比較部126で行われ、カウンタ122から供給された計数値nがレジスタ124に記憶された判定基準値Da以上であれば、再撮影不要信号Sdを出力し、計数値nが判定基準値Da未満であれば、再撮影要信号Seを出力する。
Thereafter, in step S14, it is determined whether or not re-shooting is necessary. This determination is performed by the
比較部126から再撮影不要信号Sdが出力された場合は、ステップS15に進み、再撮影警告部114を通じて注意喚起が発せられる。この注意喚起は、第1画像生成装置10Aに接続されたモニタ116上に、トモシンセシス撮影が中止されたが再撮影は不要であることを示すメッセージを表示する等である。
When the re-shooting unnecessary signal Sd is output from the
その後、ステップS16に進み、放射線撮影された回数分の放射線画像を、逆投影方法を用いて再構成することによって、被写体の断層画像を生成する。このとき、再構成された断層画像のうち、読影において影響のない箇所(例えば周囲部分等)に、トモシンセシス撮影が中止されたことを示すマークや、放射線撮影の回数(枚数又は比率)を示すテキストデータを付加する。この断層画像はモニタ116に表示される。
Thereafter, the process proceeds to step S16, and a tomographic image of the subject is generated by reconstructing the radiographic images for the number of times of radiography using the back projection method. At this time, in the reconstructed tomographic image, a mark indicating that tomosynthesis imaging has been stopped, or a text indicating the number of times (number of sheets or ratio) of radiation imaging, at a portion that is not affected by interpretation (for example, a surrounding portion). Append data. This tomographic image is displayed on the
一方、上述のステップS14において、比較部126から再撮影要信号Seが出力されたと判別された場合は、ステップS17に進み、再撮影警告部114を通じて再撮影を示す警告が発せられる。例えば再撮影が必要であることを示すメッセージを表示したり、警告灯118の点灯(あるいは点滅)を行ったり、再撮影が必要であることを示すメッセージ(予め設定された音声データ)をスピーカ120を介して音声出力する等が挙げられる。この警告によって、オペレータは、被写体24に対する再撮影が必要であることを知ることができ、被写体24に対する再撮影への準備を行う。
On the other hand, if it is determined in step S14 that the re-shooting necessity signal Se is output from the
上述のように、第1画像生成装置10Aにおいては、被写体24の体動のレベルが再構成に影響がある場合に、その後の放射線撮影を停止することが可能となり、作業効率の向上を図ることができると共に、患者の被曝や患者の拘束時間に無駄を生じさせることがない。
As described above, in the first
また、トモシンセシス撮影が中止された場合に、再撮影すべきかどうかの判定基準を、撮影部位や撮影目的に応じて変えるようにしているため、取得された放射線画像で再構成が可能な場合でも再撮影するという無駄を省くことができる。 In addition, when tomosynthesis imaging is stopped, the criteria for determining whether or not to re-image is changed according to the imaging region and imaging purpose. It is possible to eliminate the waste of shooting.
なお、上述の例では、再撮影すべきかどうかの判定基準を、撮影部位や撮影目的に応じて変えるようにしたが、一律、全体枚数の50%としてもよい。 In the above example, the criterion for determining whether or not to re-image is changed according to the imaging region and the imaging purpose. However, it may be uniformly 50% of the total number of images.
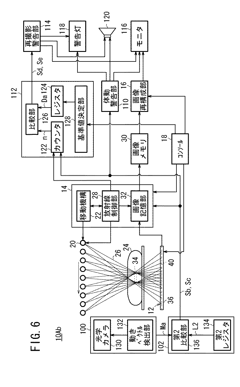
次に、第2の具体例に係る画像生成装置(以下、第2画像生成装置10Abと記す)について図6を参照しながら説明する。 Next, an image generation apparatus according to a second specific example (hereinafter referred to as a second image generation apparatus 10Ab) will be described with reference to FIG.
第2画像生成装置10Abは、図6に示すように、上述した第1画像生成装置10Aとほぼ同様の構成を有するが、体動検出部100と撮影続行判定部102の構成が以下の点で異なる。
As shown in FIG. 6, the second image generation device 10Ab has substantially the same configuration as the first
すなわち、体動検出部100は、被写体24を撮像する光学カメラ130と、該光学カメラ130からの撮像画像に基づいて、トモシンセシス撮影の開始時点からの被写体24の動きベクトル(光学カメラ130を視点とする二次元上のベクトル)を検出する動きベクトル検出部132とを有する。光学カメラ130は、予め設定された箇所に固定されて固定視点とされる。動きベクトル検出部132は、画像圧縮技術や移動物体の認識技術にて使用されている動きベクトルの考えを取り入れたアルゴリズムを有し、撮像された1フレーム間、あるいは数フレーム間で差分をとって、1フレーム間、あるいは数フレーム間で動きのあった画像を抽出し、その画像がトモシンセシス撮影の開始時点からどれだけ動いたかを例えば画素数として取得する。
That is, the body
一方、撮影続行判定部102は、動きベクトル検出部132から出力される動きベクトルの大きさMa(画素数)と第2レジスタ134に記憶されている第2しきい値レベルL2とを比較する第2比較部136を有する。第2比較部136は、動きベクトルの大きさMaが第2しきい値レベルL2以下であれば、撮影続行信号Sbを出力し、動きベクトルの大きさMaが第2しきい値レベルL2を超えた段階で、撮影中止信号Scを出力する。
On the other hand, the imaging
その他の放射線検出装置12、放射線画像取得部14、画像再構成部16、コンソール18、体動警告部110、再撮影判定部112、再撮影警告部114の動作は第1画像生成装置10Aと同様であるため、その重複説明を省略する。
The other operations of the
この第2画像生成装置10Abにおいても、被写体24の体動のレベルが再構成に影響がある場合に、その後の放射線撮影を停止することが可能となり、作業効率の向上を図ることができると共に、患者の被曝や患者の拘束時間に無駄を生じさせることがない。 Even in the second image generation device 10Ab, when the level of body movement of the subject 24 affects the reconstruction, it is possible to stop the subsequent radiographic imaging, and to improve the work efficiency. There is no waste in patient exposure and patient restraint time.
次に、第3の具体例に係る画像生成装置(以下、第3画像生成装置10Acと記す)について図7を参照しながら説明する。 Next, an image generation apparatus according to a third specific example (hereinafter referred to as a third image generation apparatus 10Ac) will be described with reference to FIG.
第3画像生成装置10Acは、図7に示すように、上述した第1画像生成装置10Aaとほぼ同様の構成を有するが、体動検出部100と撮影続行判定部102の構成が以下の点で異なる。
As shown in FIG. 7, the third image generation apparatus 10Ac has substantially the same configuration as the first image generation apparatus 10Aa described above, but the configuration of the body
すなわち、体動検出部100は、順次取得される放射線画像(二次元画像)から順番に被写体24の注目領域を抽出する注目領域抽出部138と、抽出した注目領域の座標を推定する座標推定部140と、推定された座標に基づいて、トモシンセシス撮影の開始時点からの注目領域の移動ベクトル(ワールド座標における三次元上のベクトル)を検出する移動ベクトル検出部142とを有する。
That is, the body
注目領域は、予め手動で決めたり、画像処理にて自動的に決定することができる。 The attention area can be determined manually in advance or automatically by image processing.
手動で決める場合は、例えばトモシンセシス撮影の前に予め被写体24にマーカを付けておき、このマーカの放射線画像を注目領域とする。マーカとしては、例えば5mm程度の鉛球や円板等を利用することができる。 In the case of manual determination, for example, a marker is attached to the subject 24 in advance before tomosynthesis imaging, and the radiation image of this marker is set as a region of interest. As the marker, for example, a lead ball of about 5 mm or a disk can be used.
自動で決定する場合の例としては、例えば放射線画像から例えば幾何学的な形状を持った画像を抽出する等である。幾何学的な画像としては、例えば直線状の画像が数10画素にわたって延在する画像や、該直線状の画像を含んだ画像等である。 As an example in the case of automatic determination, for example, an image having, for example, a geometric shape is extracted from a radiographic image. Examples of the geometric image include an image in which a linear image extends over several tens of pixels, and an image including the linear image.
そして、注目領域抽出部138は、1枚目の放射線画像から注目領域の画像を抽出する。2枚目以降の放射線画像からは、抽出した注目領域の画像の位置をパターンマッチング等を使用して追跡していくことになる。
Then, the attention
座標推定部140は、注目領域抽出部138にて得られた注目領域の追跡結果に基づいて注目領域の三次元座標を推定する。注目領域の三次元座標は、例えば1枚目の放射線画像における注目領域の投影経路と、各放射線画像における注目領域の投影経路との交点(または最近接点)により求める。
The coordinate
移動ベクトル検出部142は、座標推定部140にて得られた注目領域の三次元座標と、トモシンセシス撮影の開始時点での注目領域の三次元座標に基づいて、注目領域の移動ベクトルを検出する。移動ベクトルは、例えばμm、mm等のスケールで求められる。
The movement
一方、撮影続行判定部102は、移動ベクトル検出部142から出力される移動ベクトルの大きさMbと第3レジスタ144に記憶されている第3しきい値レベルL3とを比較する第3比較部146を有する。第3比較部146は、移動ベクトルの大きさMbが第3しきい値レベルL3以下であれば、撮影続行信号Sbを出力し、移動ベクトルの大きさMbが第3しきい値レベルL3を超えた段階で、撮影中止信号Scを出力する。
On the other hand, the imaging
その他の放射線検出装置12、放射線画像取得部14、画像再構成部16、コンソール18、体動警告部110、再撮影判定部112、再撮影警告部114の動作は第1画像生成装置10Aと同様であるため、その重複説明を省略する。
The other operations of the
この第3画像生成装置10Acにおいても、被写体24の体動のレベルが再構成に影響がある場合に、その後の放射線撮影を停止することが可能となり、作業効率の向上を図ることができると共に、患者の被曝や患者の拘束時間に無駄を生じさせることがない。 Even in the third image generation apparatus 10Ac, when the level of body movement of the subject 24 affects the reconstruction, it is possible to stop the subsequent radiography and improve the work efficiency. There is no waste in patient exposure and patient restraint time.
次に、第4の具体例に係る画像生成装置(以下、第4画像生成装置10Adと記す)について図8を参照しながら説明する。 Next, an image generation apparatus according to a fourth specific example (hereinafter referred to as a fourth image generation apparatus 10Ad) will be described with reference to FIG.
この第4画像生成装置10Adは、図8に示すように、上述した第3画像生成装置10Acとほぼ同様の構成を有するが、体動検出部100と撮影続行判定部102の構成が以下の点で異なる。
As shown in FIG. 8, the fourth image generation device 10Ad has substantially the same configuration as the third image generation device 10Ac described above, but the configuration of the body
すなわち、体動検出部100は、順次取得される放射線画像(二次元画像)から順番に被写体24の注目領域を抽出する上述と同様の注目領域抽出部138と、抽出した注目領域に基づいて、時間的に隣接する2つの放射線画像間での注目領域の移動ベクトルを算出する移動ベクトル算出部148と、順次算出される移動ベクトルの差分を算出する差分算出部150とを有する。
That is, the body
一方、撮影続行判定部102は、差分算出部150から出力される差分(移動ベクトルの差分)の大きさMcと第4レジスタ152に記憶されている第4しきい値レベルL4とを比較する第4比較部154を有する。第4比較部154は、移動ベクトルの差分Mcが第4しきい値レベルL4以下であれば、撮影続行信号Sbを出力し、移動ベクトルの差分Mcが第4しきい値レベルL4を超えた段階で、撮影中止信号Scを出力する。
On the other hand, the imaging
その他の放射線検出装置12、放射線画像取得部14、画像再構成部16、コンソール18、体動警告部110、再撮影判定部112、再撮影警告部114の動作は第1画像生成装置10Aと同様であるため、その重複説明を省略する。
The other operations of the
この第4画像生成装置10Adにおいても、被写体24の体動のレベルが再構成に影響がある場合に、その後の放射線撮影を停止することが可能となり、作業効率の向上を図ることができると共に、患者の被曝や患者の拘束時間に無駄を生じさせることがない。 Even in the fourth image generation device 10Ad, when the level of body movement of the subject 24 affects the reconstruction, it is possible to stop the subsequent radiography and improve work efficiency. There is no waste in patient exposure and patient restraint time.
次に、第5の具体例に係る画像生成装置(以下、第5画像生成装置10Aeと記す)について図9を参照しながら説明する。 Next, an image generation apparatus according to a fifth specific example (hereinafter referred to as a fifth image generation apparatus 10Ae) will be described with reference to FIG.
この第5画像生成装置10Aeは、図9に示すように、上述した第3画像生成装置10Ac(図7参照)とほぼ同様の構成を有するが、以下の点で異なる。
As shown in FIG. 9, the fifth
すなわち、先ず、放射線制御部28は、移動機構22による放射線照射部20の往動動作時に間引き照射を行い、移動機構22による放射線照射部20の復動動作時に間引き照射を行うことで、全点照射が完了するように制御される。例えば70個の位置(P1、P2、P3・・・P70)で放射線照射を行う場合を想定したとき、往動動作では、間引きされた位置、例えばP1、P3、P5・・・P69の位置で放射線照射を行い、復動動作では、間引きされた位置、例えばP70、P68、P66・・・P2の位置で放射線照射を行うように制御される。
That is, first, the
また、放射線制御部28は、往動動作における複数の照射位置のうち、予め設定された照射位置において放射線照射を行った時点で、体動検出部100の注目領域抽出部138に画像読込指令信号Sgを出力し、復動動作における複数の照射位置のうち、予め設定された照射位置において放射線照射を行った時点で、同じく注目領域抽出部138に画像読込指令信号Sgを出力するように制御する。
Further, the
注目領域抽出部138は、放射線制御部28からの画像読込指令信号Sgの入力に基づいて、予め設定された照射位置における放射線画像を読み出し、読み出した放射線画像から被写体24の注目領域を抽出する。具体的には、注目領域抽出部138は、1回目の画像読込指令信号Sgの入力に基づいて、往動時における予め設定された照射位置での放射線画像から注目領域の画像を抽出し、その後、2回目の画像読込指令信号Sgの入力に基づいて、復動時における予め設定された照射位置での放射線画像から注目領域の画像を抽出する。移動ベクトル検出部142は、往動時に抽出された注目領域と復動時に抽出された注目領域の移動ベクトルを算出する。
The attention
撮影続行判定部102の第3比較部146は、移動ベクトルの大きさMbが第3しきい値レベルL3以下であれば、撮影続行信号Sbを出力し、移動ベクトルの大きさMbが第3しきい値レベルL3を超えた段階で、撮影中止信号Scを出力する。
The
注目領域抽出部138にて注目領域の抽出を行うタイミングとしては、1回目の抽出時点と2回目の抽出時点との間にある程度の時間間隔があり、しかも、撮影中止に至る体動があった場合に、なるべく復動動作を行わないようなタイミングが好ましい。そこで、本実施の形態では、放射線制御部28は、往動動作の中央(P35)と復動動作の中央(P36)において放射線照射を行った時点でそれぞれ画像読込指令信号Sgを出力するように制御している。あるいは、往動動作と復動動作でそれぞれ複数回(例えば、往復動作時のP13、P35、P57と、復動動作時のP58、P36、P14等)画像読込指令信号Sgを出力するようにして、それぞれの放射線画像の組(P57とP58、P35とP36、P13とP14)における注目領域の関係から体動の有無を検出してもよい。
There is a certain time interval between the first extraction time point and the second extraction time point as the timing at which the attention
その他の放射線検出装置12、放射線画像取得部14、画像再構成部16、コンソール18、体動警告部110、再撮影判定部112、再撮影警告部114の動作は第1画像生成装置10Aと同様であるため、その重複説明を省略する。
The other operations of the
この第5画像生成装置10Aeにおいても、被写体24の体動のレベルが再構成に影響がある場合に、その後の放射線撮影を停止することが可能となり、作業効率の向上を図ることができると共に、患者の被曝や患者の拘束時間に無駄を生じさせることがない。 Even in the fifth image generation device 10Ae, when the level of body movement of the subject 24 affects the reconstruction, it is possible to stop the subsequent radiography and improve work efficiency. There is no waste in patient exposure and patient restraint time.
この第5画像生成装置10Aeは、例えば特開2000−139901号公報等に記載されたコーンビームCT等の三次元画像を生成することができる放射線画像形成装置にも適用することができる。 The fifth image generating apparatus 10Ae can also be applied to a radiation image forming apparatus that can generate a three-dimensional image such as a cone beam CT described in, for example, Japanese Patent Application Laid-Open No. 2000-139901.
コーンビームCT等の放射線画像形成装置170は、図10A及び図10Bに示すように、放射線照射部20と、撮影台172上の被写体24を挟んで放射線照射部20と対向した位置に設置された放射線検出装置12とを有し、これら放射線照射部20及び放射線検出装置12は、天井に吊り下げられたC字型アームによって支持されている。なお、放射線のビーム形状は、放射線検出装置12の形状に応じて、コリメータ178によって例えば角錐状とされる。
As shown in FIGS. 10A and 10B, the radiation
そして、移動機構22(図9参照)は、C字型アームを360°回転させて、放射線照射部20を予め設定された複数の位置に移動させる。放射線制御部28は、放射線照射部20が予め設定された複数の位置に到達した時点で、放射線照射部20から撮影台上の被写体24に対して放射線26を照射するように制御する。
Then, the moving mechanism 22 (see FIG. 9) rotates the C-shaped arm 360 ° to move the
このとき、放射線制御部28は、移動機構22による放射線照射部20の1回目の360°の回転動作時に間引き照射を行い、移動機構22による放射線照射部20の2回目の360°回転動作時に間引き照射を行うことで、全点照射が完了するように制御される。例えば360個の位置(0°、1°、2°・・・359°)で放射線照射を行う場合を想定したとき、1回目の回転動作では、間引きされた位置、例えば0°、2°、4°・・・358°の2°間隔の位置で放射線照射を行い、2回目の回転動作では、間引きされた位置、例えば1°、3°、5°・・・359°の2°間隔の位置で放射線照射を行うように制御される。これによって、被写体24に対する360°の方向の放射線画像が取得される。取得された放射線画像は、画像再構成部16にて三次元再構成処理され、三次元画像として生成される。再構成処理にはFeldkamp法、Grangeat法等、数種のアルゴリズムが知られている。
At this time, the
この場合も、上述したように、放射線制御部28は、1回目の回転動作における複数の照射位置のうち、予め設定された照射位置において放射線照射を行った時点で、体動検出部100の注目領域抽出部138に画像読込指令信号Sgを出力し、2回目の回転動作における複数の照射位置のうち、予め設定された照射位置において放射線照射を行った時点で、同じく注目領域抽出部138に画像読込指令信号Sgを出力するように制御する。注目領域抽出部138、座標推定部140、移動ベクトル検出部142及び撮影続行判定部102での動作は既に説明したので、ここでは省略する。
Also in this case, as described above, the
注目領域抽出部138にて注目領域の抽出を行うタイミングとしては、上述と同様に、1回目の抽出時点と2回目の抽出時点との間にある程度の時間間隔があり、しかも、撮影中止に至る体動があった場合に、なるべく復動走査を行わないようなタイミングが好ましい。そこで、放射線制御部28は、1回目の回転動作の最初と最後(0°の位置と358°の位置)において放射線照射を行った時点で、それぞれ画像読込指令信号Sgを出力するように制御する、あるいは、1回目の回転動作の最初と2回目の回転動作の最初(0°の位置と1°の位置)において放射線照射を行った時点で、それぞれ画像読込指令信号Sgを出力するように制御する。あるいは、往動動作、復動動作でそれぞれ複数回画像読込指令信号Sgを出力するようにして、それぞれの撮像画像の組における注目領域の関係から体動の有無を検出してもよい。
As the timing at which the attention
このように、コーンビームCT等の三次元画像を生成することができる放射線画像形成装置170にも適用した場合でも、被写体24の体動のレベルが再構成に影響がある場合に、その後の放射線撮影を停止することが可能となり、作業効率の向上を図ることができると共に、患者の被曝や患者の拘束時間に無駄を生じさせることがない。
Thus, even when applied to the radiation
次に、第2の実施の形態に係る画像生成装置10Bについて図11を参照しながら説明する。
Next, an
この画像生成装置10Bは、図11に示すように、上述した画像生成装置10Aとほぼ同様の構成を有するが、体動検出部100にて検出された被写体24の動きのレベルがしきい値レベルを超えた時点で、警告を出力する警告出力部156を有する点で異なる。警告は、画像生成装置10Bに接続されたモニタ116上に撮影中止を示すメッセージを表示したり、警告灯118の点灯(あるいは点滅)を行ったり、撮影中止を示すメッセージ(予め設定された音声データ)をスピーカ120を介して音声出力する等が挙げられる。しきい値レベルを設定した理由は、被写体24が例えば人間であれば、オペレータのポジショニングによって設定された姿勢を全く動かずに維持させることは困難であり、何らかの体動が生じる。体動検出部100の感度が高ければ、わずかな体動でも検知してしまい、その結果、警告が出力され続ける、あるいは頻繁に警告が出力され、煩わしいという問題がある。そこで、この例では、しきい値レベルを設定し、撮影に支障のないわずかな体動であれば、警告を発しないようにしている。すなわち、警告出力部156から警告が出力されたことは、撮影に影響を及ぼす程度の体動があったことを示すことになる。従って、オペレータは、トモシンセシス撮影が行われている期間にわたって、被写体の体動を観察し続ける必要がなくなり、警告があった段階で初めて被写体24の体動を観察し、撮影を続行するか中止するかを判断すればよい。つまり、オペレータの作業負担を有効に軽減させることができる。
As shown in FIG. 11, the
体動検出部100の具体例としては、上述した第1画像生成装置10Aaのセンサ104、第2画像生成装置10Abの光学カメラ130及び動きベクトル検出部132、第3画像生成装置10Acの注目領域抽出部138、座標推定部140及び移動ベクトル検出部142、第4画像生成装置10Adの注目領域抽出部138、移動ベクトル算出部148及び差分算出部150を用いることができる。
Specific examples of the body
一方、警告出力部156としては画像生成装置10Aの撮影続行判定部102と同様の構成を採用することができ、この場合、警告出力部の156しきい値レベルは、撮影続行判定部102で用いたしきい値レベルと同じレベルを用いてもよいし、異なるレベルを用いてもよい。従って、警告出力部156の具体例としては、体動検出部100の具体例と対応させて、上述した第1画像生成装置10Aaの第1比較部106及び第1レジスタ108、第2画像生成装置10Abの第2比較部136及び第2レジスタ134、第3画像生成装置10Acの第3比較部146及び第3レジスタ144、第4画像生成装置10Adの第4比較部154及び第4レジスタ152を用いることができる。
On the other hand, the
次に、第2の実施の形態に係る画像生成装置10Bの変形例について図12及び図13を参照しながら説明する。
Next, a modification of the
先ず、第1の変形例に係る画像生成装置10Baは、図12に示すように、上述した画像生成装置10Bとほぼ同様の構成を有するが、放射線検出装置12から出力される放射線画像をモニタ116に表示して、トモシンセシス撮影を続行するか否かのオペレータによる判定を支援する撮影状態モニタ部158を有する点で異なる。
First, as shown in FIG. 12, the
この撮影状態モニタ部158は、放射線検出装置12から1枚単位に出力される放射線画像を受け取る放射線画像受取部160と、受け取られた放射線画像を1枚単位に順番にモニタ116に表示する放射線画像表示部162とを有する。放射線画像表示部162は、放射線画像を基準パターンと共に表示するようにしてもよい。基準パターンとしては、例えばモニタ116の画面の中心位置を交点とする十字パターンや、枠パターンと十字パターンとが組み合わされた格子パターン等が挙げられる。
The imaging
オペレータは、モニタ116に表示される放射線画像を例えば基準パターンと共に見ることによって、被写体24の体動を容易に認識することができ、トモシンセシス撮影を続行すべきか中止すべきかを容易に判定することができる。
The operator can easily recognize the body movement of the subject 24 by, for example, viewing the radiation image displayed on the
このように、画像生成装置10Baにおいては、放射線撮影中の被写体24の撮影画像をモニタ116に表示させることによって、オペレータに、被写体24の体動のレベルを容易に把握させることができ、しかも、警告出力部156からの警告の出力によって、オペレータに注意喚起を促すことができ、これにより、作業効率の向上を図ることができると共に、患者の被曝や患者の拘束時間に無駄を生じさせることがない。
As described above, in the image generation device 10Ba, by displaying the captured image of the subject 24 during radiography on the
次に、第2の変形例に係る画像生成装置10Bbについて図13を参照しながら説明する。 Next, an image generation device 10Bb according to a second modification will be described with reference to FIG.
画像生成装置10Bbは、図13に示すように、上述した画像生成装置10Baとほぼ同様の構成を有するが、撮影状態モニタ部158が以下の点で異なる。
As shown in FIG. 13, the image generation device 10Bb has substantially the same configuration as the above-described image generation device 10Ba, but the imaging
すなわち、撮影状態モニタ部158は、放射線検出装置12から1枚単位に出力される放射線画像を受け取る放射線画像受取部160と、受け取られた放射線画像を順番にシフト加算して徐々に再構成画像を生成していく簡易再構成部164と、簡易再構成部164において徐々に生成される再構成画像をモニタ116に表示する放射線画像表示部162とを有する。すなわち、撮影状態モニタ部158は、放射線検出装置12から出力される放射線画像を順番にシフト加算しながらモニタ116に表示する。
That is, the imaging
被写体24の体動が小さければ、放射線検出装置12からの放射線画像を順番にシフト加算しながら表示することで、徐々に断層画像が生成されていくことが認識できるため、トモシンセシス撮影を続行すべきあるという判断を容易に行うことができる。反対に、被写体24の体動が大きければ、放射線検出装置12からの放射線画像を順番にシフト加算しながら表示しても、断層画像が生成されないことから、トモシンセシス撮影を中止すべきであるという判断を容易に行うことができる。
If the body movement of the subject 24 is small, it is possible to recognize that a tomographic image is gradually generated by displaying the radiation image from the
この画像生成装置10Bbにおいても、放射線撮影中の被写体24の撮影画像をモニタ116に表示させることによって、オペレータに、被写体24の体動のレベルを容易に把握させることができ、しかも、警告出力部156からの警告の出力によって、オペレータに注意喚起を促すことができる。
Also in this image generation apparatus 10Bb, by displaying the captured image of the subject 24 during radiography on the
なお、本発明に係る放射線断層画像生成装置は、上述の実施の形態に限らず、本発明の要旨を逸脱することなく、種々の構成を採り得ることはもちろんである。 In addition, the radiation tomographic image generation apparatus according to the present invention is not limited to the above-described embodiment, and it is needless to say that various configurations can be adopted without departing from the gist of the present invention.
例えば、放射線検出装置12の放射線検出器40は、入射した放射線26の線量を光電変換層51によって直接電気信号に変換するもの(直接変換方式)であるが、これに代えて、入射した放射線Xをシンチレータによって一旦可視光に変換した後、この可視光をアモルファスシリコン(a−Si)等の固体検出素子を用いて電気信号に変換するように構成(間接変換方式)した放射線検出器を用いてもよい(特許第3494683号公報参照)。
For example, the
また、光読出方式の放射線検出器を利用して放射線画像情報を取得することもできる。この光読出方式の放射線検出器では、マトリクス状に配列された各固体検出素子に放射線が入射すると、その線量に応じた静電潜像が固体検出素子に蓄積記録される。静電潜像を読み取る際には、放射線検出器に読取光を照射し、発生した電流の値を放射線画像情報として取得する。なお、放射線検出器は、消去光を放射線検出器に照射することで、残存する静電潜像である放射線画像情報を消去して再使用することができる(特開2000−105297号公報参照)。 Further, radiation image information can be acquired by using a light readout type radiation detector. In this optical readout type radiation detector, when radiation is incident on the solid detection elements arranged in a matrix, an electrostatic latent image corresponding to the dose is accumulated and recorded on the solid detection elements. When reading the electrostatic latent image, the radiation detector is irradiated with reading light, and the value of the generated current is acquired as radiation image information. The radiation detector can erase and reuse the radiation image information that is the remaining electrostatic latent image by irradiating the radiation detector with erasing light (refer to Japanese Patent Laid-Open No. 2000-105297). .
また、上述した放射線検出器40では、TFT52を用いた例を示したが、その他、CMOS(Complementary Metal−Oxside Semiconductor)イメージセンサ等、他の撮像素子と組み合わせて実現してもよい。さらにまた、TFT52で言うところのゲート信号に相当するシフトパルスにより電荷をシフトしながら転送するCCD(Charge−Coupled Device)イメージセンサに置き換えることも可能である。
In the
また、上述の例では、第5画像生成装置10Aeを、コーンビームCT等の三次元画像を生成することができる放射線画像形成装置に適用した例を示したが、その他、第1画像生成装置10Aa〜第4画像生成装置10Ad、第2の実施の形態に係る画像生成装置10B(及びその変形例を含む)も、コーンビームCT等の三次元画像を生成することができる放射線画像形成装置に適用させることができることはもちろんである。
In the above example, the fifth image generation apparatus 10Ae is applied to a radiation image forming apparatus that can generate a three-dimensional image such as a cone beam CT. The fourth image generation apparatus 10Ad and the
10A、10Aa〜10Ae、10B、10Ba、10Bb…画像生成装置
12…放射線検出装置
14…放射線画像取得部
16…画像再構成部
18…コンソール
20…放射線照射部
24…被写体
26…放射線
30…画像メモリ
40…放射線検出器
100…体動検出部
102…撮影続行判定部
104…センサ
106…第1比較部
110…体動警告部
112…再撮影判定部
114…再撮影警告部
116…モニタ
130…光学カメラ
132…動きベクトル検出部
136…第2比較部
138…注目領域抽出部
140…座標推定部
142…移動ベクトル検出部
146…第3比較部
148…移動ベクトル算出部
150…差分算出部
154…第4比較部
156…警告出力部
158…撮影状態モニタ部
160…放射線画像受取部
162…放射線画像表示部
164…簡易再構成部
10A, 10Aa to 10Ae, 10B, 10Ba, 10Bb ...
Claims (15)
撮影中の前記被写体の動きを検出する体動検出手段と、
前記体動検出手段にて検出された前記被写体の動きのレベルに基づいて、撮影を続行するか否かを判定する撮影続行判定手段とを有することを特徴とする放射線断層画像生成装置。 The radiation irradiating unit provided facing the radiation detecting device is moved to a plurality of positions, and the radiation is irradiated from different directions to the subject on the radiation detecting device from the radiation irradiating unit at each position. A radiological image acquisition unit that acquires a plurality of radiographic images output from the detection device, and reconstructs the plurality of radiographic images acquired by the radiographic image acquisition unit to generate a tomographic image of the subject. In a radiation tomographic image generation apparatus having a reconstruction means,
Body movement detecting means for detecting movement of the subject during photographing;
A radiological tomographic image generation apparatus comprising: an imaging continuation determination unit that determines whether or not to continue imaging based on a level of movement of the subject detected by the body motion detection unit.
前記体動検出手段は、
前記被写体の動きを接触式あるいは非接触式で検知し、前記被写体の動きのレベルに応じた電気信号に変換して出力するセンサを有することを特徴とする放射線断層画像生成装置。 The radiation tomographic image generation apparatus according to claim 1,
The body movement detecting means includes
A radiation tomographic image generating apparatus, comprising: a sensor that detects the movement of the subject by a contact type or a non-contact type, converts the detected movement into an electrical signal corresponding to the level of movement of the subject, and outputs the electrical signal.
前記撮影続行判定手段は、
前記センサから出力される電気信号のレベルがしきい値レベルを一度も超えない間は前記撮影を続行する判定を行い、前記電気信号のレベルがしきい値レベルを超えた段階で、前記撮影を中止する判定を行うことを特徴とする放射線断層画像生成装置。 The radiation tomographic image generating apparatus according to claim 2,
The photographing continuation determining means is
While the level of the electrical signal output from the sensor does not exceed the threshold level, it is determined to continue the imaging, and when the level of the electrical signal exceeds the threshold level, the imaging is performed. A radiation tomographic image generation apparatus characterized by performing determination to stop.
前記体動検出手段は、
前記被写体を撮像する光学カメラと、
前記光学カメラからの撮像画像に基づいて、撮影開始時点からの前記被写体の動きベクトルを検出する手段とを有することを特徴とする放射線断層画像生成装置。 The radiation tomographic image generation apparatus according to claim 1,
The body movement detecting means includes
An optical camera for imaging the subject;
A radiation tomographic image generation apparatus comprising: means for detecting a motion vector of the subject from the start of imaging based on a captured image from the optical camera.
前記撮影続行判定手段は、
検出された前記被写体の動きベクトルの大きさがしきい値レベルを一度も超えない間は前記撮影を続行する判定を行い、前記動きベクトルの大きさがしきい値レベルを超えた段階で、前記撮影を中止する判定を行うことを特徴とする放射線断層画像生成装置。 The radiation tomographic image generating apparatus according to claim 4,
The photographing continuation determining means is
While the detected motion vector magnitude has never exceeded the threshold level, it is determined to continue the imaging, and the imaging is stopped when the motion vector magnitude exceeds the threshold level. A radiation tomographic image generation apparatus characterized by performing determination.
前記体動検出手段は、
順次取得される前記放射線画像から前記被写体の注目領域を抽出する手段と、
抽出した前記注目領域の三次元座標を推定する手段と、
推定された前記三次元座標に基づいて、撮影開始時点からの前記注目領域の移動ベクトルを検出する手段とを有することを特徴とする放射線断層画像生成装置。 The radiation tomographic image generation apparatus according to claim 1,
The body movement detecting means includes
Means for extracting a region of interest of the subject from the radiographic images sequentially acquired;
Means for estimating the extracted three-dimensional coordinates of the region of interest;
A radiation tomographic image generation apparatus comprising: means for detecting a movement vector of the region of interest from the imaging start time based on the estimated three-dimensional coordinates.
前記撮影続行判定手段は、
検出された前記注目領域の移動ベクトルの大きさがしきい値レベルを一度も超えない間は前記撮影を続行する判定を行い、前記移動ベクトルの大きさがしきい値レベルを超えた段階で、前記撮影を中止する判定を行うことを特徴とする放射線断層画像生成装置。 The radiation tomographic image generation apparatus according to claim 6.
The photographing continuation determining means is
While the magnitude of the detected movement vector of the attention area has never exceeded the threshold level, it is determined to continue the imaging, and the imaging is stopped when the magnitude of the movement vector exceeds the threshold level. A radiation tomographic image generation apparatus characterized by performing determination to perform.
さらに、前記撮影続行判定手段にて前記撮影を中止する判定がなされたことを契機に警告を発する体動警告手段を有することを特徴とする放射線断層画像生成装置。 The radiation tomographic image generation device according to claim 3, 5 or 7,
The radiation tomographic image generating apparatus further includes a body motion warning unit that issues a warning when the imaging continuation determination unit determines to stop the imaging.
さらに、前記撮影を続行する判定がなされている期間に前記放射線画像取得手段にて取得された放射線画像の枚数に基づいて再撮影の要否を判定する再撮影判定手段を有することを特徴とする放射線断層画像生成装置。 The radiation tomographic image generation apparatus according to claim 3, 5, 7, or 8,
Furthermore, it has re-imaging determination means for determining whether or not re-imaging is necessary based on the number of radiographic images acquired by the radiological image acquisition means during a period in which it is determined to continue the imaging. Radiation tomographic image generator.
前記再撮影判定手段は、
前記撮影を続行する判定がなされている期間に前記放射線画像取得手段にて取得された放射線画像の枚数が、予め設定された前記放射線画像取得手段にて取得されるべき全枚数の所定割合未満の場合に、再撮影が必要であると判定することを特徴とする放射線断層画像生成装置。 The radiation tomographic image generation apparatus according to claim 9.
The re-photographing determination means includes
The number of radiographic images acquired by the radiological image acquisition means during a period when the determination to continue the imaging is made is less than a predetermined ratio of the total number of radiographic images to be acquired by the radiographic image acquisition means set in advance. In this case, the radiation tomographic image generating apparatus determines that re-imaging is necessary.
撮影中の前記被写体の動きを検出する体動検出手段と、
前記体動検出手段にて検出された前記被写体の動きのレベルがしきい値レベルを超えた時点で、警告を出力する警告出力手段とを有することを特徴とする放射線断層画像生成装置。 The radiation irradiating unit provided facing the radiation detecting device is moved to a plurality of positions, and the radiation is irradiated from different directions to the subject on the radiation detecting device from the radiation irradiating unit at each position. A radiological image acquisition unit that acquires a plurality of radiographic images output from the detection device, and reconstructs the plurality of radiographic images acquired by the radiographic image acquisition unit to generate a tomographic image of the subject. In a radiation tomographic image generation apparatus having a reconstruction means,
Body movement detecting means for detecting movement of the subject during photographing;
A radiation tomographic image generating apparatus, comprising: warning output means for outputting a warning when a level of movement of the subject detected by the body motion detection means exceeds a threshold level.
前記放射線検出装置から出力される前記放射線画像を表示装置に表示する撮影状態モニタ手段を有することを特徴とする放射線断層画像生成装置。 The radiation tomographic image generation apparatus according to claim 11.
A radiological tomographic image generation apparatus comprising imaging state monitoring means for displaying the radiographic image output from the radiation detection apparatus on a display device.
前記撮影状態モニタ手段は、
前記放射線検出装置から出力される前記放射線画像を1枚単位に順番に表示することを特徴とする放射線断層画像生成装置。 The radiation tomographic image generation device according to claim 12,
The photographing state monitoring means includes
A radiation tomographic image generation apparatus, wherein the radiation images output from the radiation detection apparatus are sequentially displayed in units of one sheet.
前記撮影状態モニタ手段は、
前記放射線検出装置から出力される前記放射線画像を基準パターンと共に1枚単位に順番に表示することを特徴とする放射線断層画像生成装置。 The radiation tomographic image generation apparatus according to claim 13.
The photographing state monitoring means includes
A radiation tomographic image generation apparatus, wherein the radiation images output from the radiation detection apparatus are sequentially displayed together with a reference pattern in units of one sheet.
前記撮影状態モニタ手段は、
前記放射線検出装置から出力される前記放射線画像を順番にシフト加算しながら表示することを特徴とする放射線断層画像生成装置。 The radiation tomographic image generation device according to claim 12,
The photographing state monitoring means includes
A radiation tomographic image generation apparatus, wherein the radiation images output from the radiation detection apparatus are displayed while being sequentially shifted and added.
Priority Applications (1)
| Application Number | Priority Date | Filing Date | Title |
|---|---|---|---|
| JP2010003268A JP2010179094A (en) | 2009-01-08 | 2010-01-08 | Radiation tomographic image generator |
Applications Claiming Priority (2)
| Application Number | Priority Date | Filing Date | Title |
|---|---|---|---|
| JP2009002442 | 2009-01-08 | ||
| JP2010003268A JP2010179094A (en) | 2009-01-08 | 2010-01-08 | Radiation tomographic image generator |
Publications (1)
| Publication Number | Publication Date |
|---|---|
| JP2010179094A true JP2010179094A (en) | 2010-08-19 |
Family
ID=42761092
Family Applications (1)
| Application Number | Title | Priority Date | Filing Date |
|---|---|---|---|
| JP2010003268A Abandoned JP2010179094A (en) | 2009-01-08 | 2010-01-08 | Radiation tomographic image generator |
Country Status (1)
| Country | Link |
|---|---|
| JP (1) | JP2010179094A (en) |
Cited By (13)
| Publication number | Priority date | Publication date | Assignee | Title |
|---|---|---|---|---|
| JP2012066063A (en) * | 2010-08-24 | 2012-04-05 | Fujifilm Corp | Radiographic image capturing system and radiographic image capturing method |
| JP2012066062A (en) * | 2010-08-24 | 2012-04-05 | Fujifilm Corp | Radiographic image capturing system and radiographic image capturing method |
| JP2012231905A (en) * | 2011-04-28 | 2012-11-29 | Fujifilm Corp | Radiation imaging apparatus, and radiation imaging system |
| WO2013162201A1 (en) * | 2012-04-27 | 2013-10-31 | 가천대학교 산학협력단 | Method for tracking motion of subject in real time and for correcting medical image |
| JP2014198276A (en) * | 2014-07-30 | 2014-10-23 | キヤノン株式会社 | Radiation photographing apparatus and radiation photographing method |
| JP2015006264A (en) * | 2013-06-25 | 2015-01-15 | 株式会社東芝 | Imaging apparatus and imaging method |
| KR101607289B1 (en) | 2013-12-31 | 2016-03-29 | 연세대학교 원주산학협력단 | A radiation-cover that is used at Tomosynthesis system and method for photographing radiation image using it |
| JP2020000313A (en) * | 2018-06-25 | 2020-01-09 | 富士フイルム株式会社 | Imaging control apparatus, method, and program |
| JP2020517330A (en) * | 2017-04-21 | 2020-06-18 | コーニンクレッカ フィリップス エヌ ヴェKoninklijke Philips N.V. | Pressure contact sensitive patient table for tomographic imaging |
| JP2020130237A (en) * | 2019-02-13 | 2020-08-31 | キヤノンメディカルシステムズ株式会社 | X-ray diagnostic equipment |
| WO2023028532A1 (en) * | 2021-08-25 | 2023-03-02 | Hologic, Inc. | Systems and methods for measuring movement of a compressed breast |
| JP2023516662A (en) * | 2020-03-02 | 2023-04-20 | アダプティクス リミテッド | X-ray sensor |
| KR20240137087A (en) * | 2022-06-22 | 2024-09-19 | 코닌클리케 필립스 엔.브이. | Patient monitoring during scanning |
Citations (5)
| Publication number | Priority date | Publication date | Assignee | Title |
|---|---|---|---|---|
| JPS61100233A (en) * | 1984-10-23 | 1986-05-19 | 株式会社東芝 | Ct scanner apparatus |
| JPH04144550A (en) * | 1990-10-04 | 1992-05-19 | Toshiba Corp | medical imaging equipment |
| JPH11342125A (en) * | 1998-03-30 | 1999-12-14 | Toshiba Corp | X-ray CT system |
| WO2008084413A2 (en) * | 2007-01-08 | 2008-07-17 | Koninklijke Philips Electronics N.V. | Imaging system for imaging a region of interest comprising a moving object |
| JP2009159380A (en) * | 2007-12-27 | 2009-07-16 | Samsung Techwin Co Ltd | Imaging apparatus and imaging method |
-
2010
- 2010-01-08 JP JP2010003268A patent/JP2010179094A/en not_active Abandoned
Patent Citations (5)
| Publication number | Priority date | Publication date | Assignee | Title |
|---|---|---|---|---|
| JPS61100233A (en) * | 1984-10-23 | 1986-05-19 | 株式会社東芝 | Ct scanner apparatus |
| JPH04144550A (en) * | 1990-10-04 | 1992-05-19 | Toshiba Corp | medical imaging equipment |
| JPH11342125A (en) * | 1998-03-30 | 1999-12-14 | Toshiba Corp | X-ray CT system |
| WO2008084413A2 (en) * | 2007-01-08 | 2008-07-17 | Koninklijke Philips Electronics N.V. | Imaging system for imaging a region of interest comprising a moving object |
| JP2009159380A (en) * | 2007-12-27 | 2009-07-16 | Samsung Techwin Co Ltd | Imaging apparatus and imaging method |
Cited By (19)
| Publication number | Priority date | Publication date | Assignee | Title |
|---|---|---|---|---|
| JP2012066062A (en) * | 2010-08-24 | 2012-04-05 | Fujifilm Corp | Radiographic image capturing system and radiographic image capturing method |
| JP2012066063A (en) * | 2010-08-24 | 2012-04-05 | Fujifilm Corp | Radiographic image capturing system and radiographic image capturing method |
| JP2012231905A (en) * | 2011-04-28 | 2012-11-29 | Fujifilm Corp | Radiation imaging apparatus, and radiation imaging system |
| WO2013162201A1 (en) * | 2012-04-27 | 2013-10-31 | 가천대학교 산학협력단 | Method for tracking motion of subject in real time and for correcting medical image |
| KR101376834B1 (en) | 2012-04-27 | 2014-03-20 | 가천대학교 산학협력단 | a real-time motion tracking of the subject and medical imaging correction method |
| JP2015006264A (en) * | 2013-06-25 | 2015-01-15 | 株式会社東芝 | Imaging apparatus and imaging method |
| KR101607289B1 (en) | 2013-12-31 | 2016-03-29 | 연세대학교 원주산학협력단 | A radiation-cover that is used at Tomosynthesis system and method for photographing radiation image using it |
| JP2014198276A (en) * | 2014-07-30 | 2014-10-23 | キヤノン株式会社 | Radiation photographing apparatus and radiation photographing method |
| JP2020517330A (en) * | 2017-04-21 | 2020-06-18 | コーニンクレッカ フィリップス エヌ ヴェKoninklijke Philips N.V. | Pressure contact sensitive patient table for tomographic imaging |
| JP2020000313A (en) * | 2018-06-25 | 2020-01-09 | 富士フイルム株式会社 | Imaging control apparatus, method, and program |
| US11154257B2 (en) | 2018-06-25 | 2021-10-26 | Fujifilm Corporation | Imaging control device, imaging control method, and imaging control program |
| JP7122886B2 (en) | 2018-06-25 | 2022-08-22 | 富士フイルム株式会社 | Imaging control device, method and program |
| JP2020130237A (en) * | 2019-02-13 | 2020-08-31 | キヤノンメディカルシステムズ株式会社 | X-ray diagnostic equipment |
| JP7237628B2 (en) | 2019-02-13 | 2023-03-13 | キヤノンメディカルシステムズ株式会社 | X-ray diagnostic equipment |
| JP2023516662A (en) * | 2020-03-02 | 2023-04-20 | アダプティクス リミテッド | X-ray sensor |
| US12193865B2 (en) | 2020-03-02 | 2025-01-14 | Adaptix Ltd | X-ray sensor |
| WO2023028532A1 (en) * | 2021-08-25 | 2023-03-02 | Hologic, Inc. | Systems and methods for measuring movement of a compressed breast |
| KR20240137087A (en) * | 2022-06-22 | 2024-09-19 | 코닌클리케 필립스 엔.브이. | Patient monitoring during scanning |
| KR102861868B1 (en) | 2022-06-22 | 2025-09-22 | 코닌클리케 필립스 엔.브이. | Patient monitoring during scanning |
Similar Documents
| Publication | Publication Date | Title |
|---|---|---|
| JP2010179094A (en) | Radiation tomographic image generator | |
| JP5460666B2 (en) | Radiation imaging system and long imaging method of radiation imaging system | |
| JP5544152B2 (en) | Radiation tomographic image generator | |
| CN1327813C (en) | Nuclear medical diagnosing apparatus and data collecting method for nuclear medical diagnosis | |
| JP2023011927A (en) | Radiation image analysis device, program, and radiation image analysis method | |
| JP2012065769A (en) | Portable radiation imaging system, holder used therein, and portable set for radiation imaging | |
| JPWO1993019672A1 (en) | Radiation diagnostic equipment | |
| JP6552809B2 (en) | Mammography unit | |
| JP5550209B2 (en) | X-ray equipment | |
| JP2012065768A (en) | Portable radiation imaging system, holder used therein, and portable set for radiation imaging | |
| EP2562564B1 (en) | Radiographic imaging apparatus and method | |
| KR100280198B1 (en) | X-ray imaging apparatus and method capable of CT imaging | |
| JP5587640B2 (en) | Radiographic imaging system and radiographic image display method | |
| JPH09276259A (en) | X-ray diagnostic device | |
| JP2001013089A (en) | X-ray tomographic imaging device | |
| JP2010167134A (en) | Mammographic system | |
| JP2010162154A (en) | Radiation-tomographic image generation apparatus | |
| JP2005027823A (en) | X-ray equipment | |
| JP7387298B2 (en) | Medical image diagnostic systems and medical image diagnostic devices | |
| JP4772355B2 (en) | X-ray diagnostic equipment | |
| JP5534648B2 (en) | X-ray diagnostic apparatus, image data processing apparatus, and image data processing method | |
| JP2003088519A (en) | Dental X-ray equipment | |
| JPH11155850A (en) | X-ray equipment | |
| JP2006141905A (en) | X-ray radiographing apparatus | |
| JP4504034B2 (en) | X-ray diagnostic equipment |
Legal Events
| Date | Code | Title | Description |
|---|---|---|---|
| A621 | Written request for application examination |
Free format text: JAPANESE INTERMEDIATE CODE: A621 Effective date: 20120725 |
|
| A131 | Notification of reasons for refusal |
Free format text: JAPANESE INTERMEDIATE CODE: A131 Effective date: 20130618 |
|
| A762 | Written abandonment of application |
Free format text: JAPANESE INTERMEDIATE CODE: A762 Effective date: 20130724 |
