JP2010167639A - Graphic receptive article and graphic structure - Google Patents
Graphic receptive article and graphic structure Download PDFInfo
- Publication number
- JP2010167639A JP2010167639A JP2009011329A JP2009011329A JP2010167639A JP 2010167639 A JP2010167639 A JP 2010167639A JP 2009011329 A JP2009011329 A JP 2009011329A JP 2009011329 A JP2009011329 A JP 2009011329A JP 2010167639 A JP2010167639 A JP 2010167639A
- Authority
- JP
- Japan
- Prior art keywords
- layer
- graphics
- resin
- meth
- sensitive adhesive
- Prior art date
- Legal status (The legal status is an assumption and is not a legal conclusion. Google has not performed a legal analysis and makes no representation as to the accuracy of the status listed.)
- Granted
Links
Images
Landscapes
- Ink Jet (AREA)
- Ink Jet Recording Methods And Recording Media Thereof (AREA)
- Adhesives Or Adhesive Processes (AREA)
Abstract
【課題】本発明は、インクジェット印刷に使用した際に、ブロッキング、印刷基材(支持体)裏面へのインク移り、及び微小球が樹脂層から脱落(粉落ち)することのないグラフィックス受容性物品及びグラフィックス構造体を提供することを目的とする。
【解決手段】支持体層、前記支持体層の第一の面に積層され、体積平均粒径が18μm〜40μmの微小球と樹脂とを含み、前記微小球と前記樹脂との質量比が45〜180:100である背面樹脂層、及び前記支持体層の第二の面に積層されるレセプター層を含むグラフィックス受容性物品、及び前記グラフィックス受容性物品のレセプター層に、さらに印刷層、及び粘着剤層をこの順で含むグラフィックス構造体を提供する。
【選択図】なしThe present invention relates to graphics receptivity in which blocking, ink transfer to the back of a printing substrate (support), and microspheres do not fall off (powder off) when used in inkjet printing. An object is to provide an article and a graphics structure.
The support layer includes a microsphere having a volume average particle diameter of 18 μm to 40 μm and a resin laminated on a first surface of the support layer, and a mass ratio of the microsphere to the resin is 45. A graphics receptive article comprising a back resin layer of ~ 180: 100 and a receptor layer laminated to the second side of the support layer; and a receptor layer of the graphics receptive article; And a graphics structure including an adhesive layer in this order.
[Selection figure] None
Description
本発明は、グラフィックス受容性物品に関する。詳しくは、支持体層、前記支持体層の第一の面に積層された背面樹脂層、及び前記支持体層の第二の面に積層されたレセプター層を含むグラフィックス受容性物品に関する。さらに本発明は、前記グラフィックス受容性物品に、さらに印刷層及び白色粘着剤層を含むグラフィックス構造体に関する。 The present invention relates to graphics receptive articles. Specifically, the present invention relates to a graphics receptive article including a support layer, a back resin layer laminated on a first surface of the support layer, and a receptor layer laminated on a second surface of the support layer. Furthermore, the present invention relates to a graphics structure that further includes a printed layer and a white pressure-sensitive adhesive layer on the graphics-receptive article.
インクジェットプリンターにより、フィルム等の平滑な基材に、高速で高画質な画像を印刷する技術が普及している。このような印刷において、インクジェットにより高画質な画像を基材に印刷した後すぐに、基材を巻き取ったり、基材を重ねるというのが通常の工程である。しかし、印刷後すぐに印刷面と基材の裏面が接触することにより、印刷面にブロッキングが生じたり、基材の裏面にインクが移ることが問題となる。 A technique for printing a high-quality image at a high speed on a smooth substrate such as a film by an ink jet printer has been widespread. In such printing, it is a normal process to wind up the substrate or stack the substrate immediately after printing a high-quality image on the substrate by inkjet. However, when the printing surface and the back surface of the base material come into contact immediately after printing, blocking occurs on the printing surface or ink moves to the back surface of the base material.
例えば特許文献1には、離型性担体に積層されたアクリル系樹脂フィルムからなる印刷基材(A)と、前記アクリル系樹脂フィルムに印刷を施して形成される印刷面に積層するための白色顔料が分散された粘着基材(B)が積層されてなる粘着フィルムが開示されている。本発明は、耐擦傷性、耐候性等の耐久性が良好で、焼却廃棄が容易な印刷物積層体を提供する。
For example,
例えば特許文献2には、透明基材上に少なくとも透明インクジェット受像層を設け反対面に背面層を設けた透明インクジェット記録シートにおいて、基材が透明樹脂フィルムであり、背面層がバインダーと球状粒子からなることを特徴とする透明インクジェット記録シートが開示されている。前記球状粒子の平均粒径Dが、1〜15μmの範囲であり、かつ、球状粒子の粒径のばらつきが、D±0.3Dμmの範囲内の単分散粒子である。さらに、背面層の厚さTと球状粒子の平均粒径Dの関係が、D−T=0.9〜14μmであり、かつ、記録シートの全光線透過率が85%以上であることを必須用件とする。
For example, in
例えば特許文献3には、支持体の表面と裏面にそれぞれインク受理層と裏塗層を設けてなるインクジェット記録シートにおいて、該支持体が、JIS−B0601による中心線平均粗さ0.4μm以下の表面を有するポリオレフィン樹脂被覆紙又はポリエステルフィルムであり、該裏塗層中に平均粒子径5〜15μmの球状微粒子ポリマーを乾燥重量で5〜100mg/m2含有してなり、且つ該裏塗層の厚さが、該球状微粒子ポリマーの平均粒子径よりも小さいことを特徴とするインクジェット記録シートが開示されている。 For example, in Patent Document 3, in an ink jet recording sheet in which an ink receiving layer and a backcoat layer are provided on the front and back surfaces of a support, the support has a center line average roughness of 0.4 μm or less according to JIS-B0601. A polyolefin resin-coated paper or a polyester film having a surface, comprising 5 to 100 mg / m 2 of a spherical fine particle polymer having an average particle size of 5 to 15 μm in a dry weight in the backing layer, and An ink jet recording sheet having a thickness smaller than the average particle size of the spherical fine particle polymer is disclosed.
インクジェット印刷に使用した際に、ブロッキング、印刷基材(支持体)裏面へのインク移り、及び微小球が樹脂層から脱落(粉落ち)することのないグラフィックス受容性物品及びグラフィックス構造体を提供することを目的とする。 A graphics-receptive article and a graphics structure in which blocking, ink transfer to the back surface of a printing substrate (support), and microspheres do not fall off (powder off) when used for inkjet printing. The purpose is to provide.
すなわち本発明は、支持体層、前記支持体層の第一の面に積層され、体積平均粒径が18μm〜40μmの微小球と樹脂とを含み、前記微小球と前記樹脂との質量比が45〜180:100である背面樹脂層、及び前記支持体層の第二の面に積層されるレセプター層を含むグラフィックス受容性物品を提供するものである。 That is, the present invention includes a support layer, a microsphere having a volume average particle diameter of 18 μm to 40 μm and a resin laminated on the first surface of the support layer, and the mass ratio of the microsphere to the resin is A graphics-receptive article is provided that includes a back resin layer that is 45-180: 100 and a receptor layer laminated to the second side of the support layer.
さらに本発明は、前記グラフィックス受容性物品のレセプター層に、さらに印刷層、及び粘着剤層をこの順で含むグラフィックス構造体を提供するものである。 Furthermore, the present invention provides a graphics structure including a printed layer and an adhesive layer in this order in the receptor layer of the graphics-receiving article.
本発明のグラフィックス受容性物及びグラフィックス構造体は、微小球を含有する樹脂層によりブロッキングや印刷基材(支持体)裏面へのインク移りを防ぐことができ、かつ樹脂層中の微小球が樹脂層から脱落(粉落ち)することがない。 The graphics receiving material and graphics structure of the present invention can prevent blocking and ink transfer to the back of the printing substrate (support) by the resin layer containing microspheres, and the microspheres in the resin layer Does not fall off (powder off) from the resin layer.
本発明のグラフィックス受容性物品は、支持体層、前記支持体層の第一の面に積層される背面樹脂層、及び前記支持体層の第二の面に積層されるレセプター層を含む。 The graphics receptive article of the present invention includes a support layer, a back resin layer laminated on the first surface of the support layer, and a receptor layer laminated on the second surface of the support layer.
本発明の支持体層は、レセプター層の基材となり、レセプター層の表面を保護するものである。このような支持体層として、上記役割を満たす強度(剛性)を有するフィルム、あるいは樹脂を前記レセプター層表面に塗布して乾燥した樹脂層を使用することができる。 The support layer of the present invention serves as a substrate for the receptor layer and protects the surface of the receptor layer. As such a support layer, a film having strength (rigidity) satisfying the above role, or a resin layer coated with a resin on the surface of the receptor layer and dried can be used.
前記フィルムとしては、例えばポリエチレンテレフタレート(PET)等のポリエステル、ポリ塩化ビニル、ポリエチレンやポリプロピレン(PP)等のポリオレフィン、アクリル系ポリマー、ウレタン系ポリマー、またはフッ素系ポリマーからなるフィルムを使用することができる。なかでも剛性の面からPETやPPを好ましいものとして挙げることができる。また前記樹脂としては、例えばポリエステル、ポリ塩化ビニル、ポリエチレンやポリプロピレン等のポリオレフィン、アクリル系ポリマー、ウレタン系ポリマー、またはフッ素系ポリマー等の樹脂を使用することができる。 As the film, for example, a film made of polyester such as polyethylene terephthalate (PET), polyvinyl chloride, polyolefin such as polyethylene or polypropylene (PP), acrylic polymer, urethane polymer, or fluorine polymer can be used. . Among these, PET and PP can be mentioned as preferable from the viewpoint of rigidity. Moreover, as said resin, resin, such as polyolefin, such as polyester, polyvinyl chloride, polyethylene, a polypropylene, an acrylic polymer, a urethane type polymer, or a fluorine-type polymer, can be used, for example.
また、ここで用いるフィルムあるいは樹脂は、透明であっても不透明であってもよく、さらに着色の有無も問わない。 Moreover, the film or resin used here may be transparent or opaque, and may or may not be colored.
前記支持体層の厚さは、適宜選択することができ限定されない。例えば、約5μm〜約300μmとすることができる。 The thickness of the support layer can be appropriately selected and is not limited. For example, it can be about 5 μm to about 300 μm.
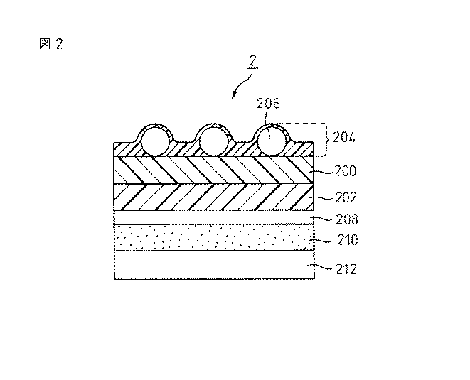
本発明の背面樹脂層は、微小球と樹脂とを含む。かかる背面樹脂層において、微小球が背面樹脂層を構成する樹脂中にほぼ包括されている(例えば、図1または図2に示す態様)ことが、微小球の脱落(粉落ち)を防ぐため好ましい。 The back surface resin layer of the present invention contains microspheres and resin. In such a back resin layer, it is preferable that the microspheres are substantially included in the resin constituting the back resin layer (for example, the embodiment shown in FIG. 1 or 2) in order to prevent the microspheres from falling off (powder off). .
前記微小球は、有機材料または無機材料からなる球状の微粒子であり、非粘着性であることが好ましい。具体的には例えば、ポリエステル樹脂、ポリスチレン樹脂、アクリル樹脂、ウレタン樹脂、シリカ、またはガラスからなる球状微粒子を用いることができる。形状は、ブロッキングやインク移り防止の観点から真球状であることが好ましい。また、耐溶剤性の面から、前記微小球は、架橋粒子であることが好ましい。また、中空の粒子も使用することができる。 The microspheres are spherical fine particles made of an organic material or an inorganic material, and are preferably non-adhesive. Specifically, for example, spherical fine particles made of polyester resin, polystyrene resin, acrylic resin, urethane resin, silica, or glass can be used. The shape is preferably spherical from the viewpoint of blocking and ink transfer prevention. From the viewpoint of solvent resistance, the microspheres are preferably crosslinked particles. Hollow particles can also be used.
前記微小球の体積平均粒径(D)は、約18μm〜約40μmである。あるいは、約18μm〜約30μmとすることができる。尚、本明細書において、体積平均粒径はコールター(株)社製レーザー回折・散乱粒径測定装置LS−230を用いて測定している。 The volume average particle diameter (D) of the microspheres is about 18 μm to about 40 μm. Alternatively, it can be about 18 μm to about 30 μm. In the present specification, the volume average particle diameter is measured using a laser diffraction / scattering particle diameter measuring apparatus LS-230 manufactured by Coulter, Inc.
前記背面樹脂層の樹脂は、非粘着性の樹脂であれば良く特に限定されない。前記微小球との濡れ性が良好で膜強度及び耐溶剤性に優れた樹脂を用いるのが好ましい。また、耐溶剤性の面から架橋型の樹脂を利用するのが好ましい。具体的には例えば、シリコーン樹脂、エポキシ樹脂、メラミン樹脂、アルキド樹脂、またはアルキド・メラミン樹脂などを挙げることができる。前記樹脂の粘度は、約100〜約5000センチポイズとすることができる。 The resin of the back resin layer is not particularly limited as long as it is a non-adhesive resin. It is preferable to use a resin having good wettability with the microspheres and excellent film strength and solvent resistance. Moreover, it is preferable to use a cross-linked resin from the viewpoint of solvent resistance. Specific examples include silicone resins, epoxy resins, melamine resins, alkyd resins, alkyd melamine resins, and the like. The viscosity of the resin can be about 100 to about 5000 centipoise.
前記微小球と前記樹脂との質量比は約45〜約180:約100とすることが好ましい。微小球の添加量がこれより少ないと、本発明のグラフィックス受容性物品またはグラフィックス構造体を巻き取る際に、微小球による突起が印刷面に食い込みやすくインプレッション発生や印刷層脱落の恐れがある。一方、微小球の添加量が上記より多いと印刷層(印刷面)との接触割合が大きくなり印刷層脱落やグロス低下の恐れがある。 The mass ratio of the microspheres to the resin is preferably about 45 to about 180: about 100. If the addition amount of the microsphere is less than this, when the graphics-receiving article or graphics structure of the present invention is wound up, the projection due to the microsphere tends to bite into the printing surface and there is a risk of generating an impression or dropping the printing layer. . On the other hand, if the amount of microspheres added is larger than the above, the contact ratio with the printing layer (printing surface) becomes large, and there is a risk of the printing layer falling off or the gloss being lowered.
また、前記背面樹脂層のレセプター層への塗布重量は、約10g/m2〜約30g/m2とすることができる。 The weight of the back resin layer applied to the receptor layer can be about 10 g / m 2 to about 30 g / m 2 .
前記背面樹脂層は、前記樹脂に前記微小球を添加、混合した後、支持体層の第一の面に例えばナイフコーティングなどの従来公知の方法により塗布、乾燥して得ることができる。このとき、微小球が、凝集したり重なり合ったりせず単層で離散的に塗布されていることが、本発明の効果を達成するために好ましい。 The back resin layer can be obtained by adding and mixing the microspheres to the resin and then applying and drying the first surface of the support layer by a conventionally known method such as knife coating. At this time, it is preferable for the microspheres to be applied discretely in a single layer without agglomerating or overlapping.
前記背面樹脂層において、厚さは特に限定されない。例えば、前記支持体層の第一の面から前記背面樹脂層の凸部頂点までを厚さ(T)とした場合、Tは約10μm〜約50μmとすることができる。また、微粒子による厚さを除いた樹脂部分のみの厚さ(H)は、約5〜約40μmとすることができる。 The thickness of the back resin layer is not particularly limited. For example, when the thickness (T) is from the first surface of the support layer to the top of the convex portion of the back resin layer, T can be about 10 μm to about 50 μm. The thickness (H) of only the resin portion excluding the thickness due to the fine particles can be about 5 to about 40 μm.
さらに、前記背面樹脂層において、前記微小球の約40%〜約90%を樹脂に埋没させることができる。すなわち、微小球の体積平均粒径(D)の約40%〜約90%を、厚さHの樹脂部分に埋没させることができる。 Further, in the back resin layer, about 40% to about 90% of the microspheres can be embedded in the resin. That is, about 40% to about 90% of the volume average particle diameter (D) of the microspheres can be embedded in the resin portion having the thickness H.
本発明のレセプター層は、各種印刷のレセプター層として従来から使用されている公知の樹脂からなる層である。このような樹脂は熱可塑性樹脂であればよく、その表面に施す印刷方法や使用するインクに応じて適宜選択可能である。例えばアクリル系樹脂、アクリルウレタン系樹脂、ウレタン系樹脂、例えばポリエチレンテレフタレート等のポリエステル系樹脂、酢酸ビニル系樹脂、ポリ塩化ビニル系樹脂、またはポリスチレン系樹脂を挙げることができる。前記レセプター層は、これらの樹脂を所望の厚さで、基材や剥離剤等に塗布・乾燥して形成することができる。 The receptor layer of the present invention is a layer made of a known resin conventionally used as a receptor layer for various printing. Such a resin should just be a thermoplastic resin, and can be suitably selected according to the printing method applied to the surface and the ink to be used. Examples thereof include acrylic resins, acrylic urethane resins, urethane resins, polyester resins such as polyethylene terephthalate, vinyl acetate resins, polyvinyl chloride resins, and polystyrene resins. The receptor layer can be formed by applying and drying these resins at a desired thickness on a substrate or a release agent.
前記レセプター層の厚さは特に限定されないが、例えば、約1μm〜約80μmとすることができる。この厚さは、グラフィックス受容性物品の使用態様や、レセプター層に施す印刷の種類等に合わせて適宜調整することができる。 The thickness of the receptor layer is not particularly limited, and can be, for example, about 1 μm to about 80 μm. This thickness can be appropriately adjusted according to the usage mode of the graphics-receptive article, the type of printing applied to the receptor layer, and the like.
本発明のグラフィックス受容性物品は、従来公知の方法を適宜選択することにより製造することができる。以下に製造法の一例を示す。まず支持体となるフィルムに、微小球を混合した樹脂を塗布・乾燥して背面樹脂層を設ける。続いて、前記支持体の背面樹脂層とは反対側の面に、樹脂を塗布・乾燥してレセプター層を設けてグラフィックス受容性物品を得る。 The graphics receptive article of the present invention can be produced by appropriately selecting a conventionally known method. An example of the production method is shown below. First, a resin mixed with microspheres is applied to a film to be a support and dried to provide a back resin layer. Subsequently, on the surface of the support opposite to the back surface resin layer, a resin is applied and dried to provide a receptor layer to obtain a graphics-receptive article.
本発明のグラフィックス構造体は、前記グラフィックス受容性物品のレセプター層に、さらに印刷層、及び白色粘着剤層をこの順で含む。 The graphics structure of the present invention further includes a printing layer and a white adhesive layer in this order in the receptor layer of the graphics-receiving article.
本発明の印刷層は、水性溶媒系インク、有機溶媒系インク、あるいはUVインクを用いた各種インクジェット印刷によって前記レセプター層に施されるものである。 The printing layer of the present invention is applied to the receptor layer by various ink jet printing using an aqueous solvent-based ink, an organic solvent-based ink, or a UV ink.
本発明の粘着剤層は、アクリル系、ウレタン系、ポリエステル系、またはシリコーン系など、従来公知の粘着性ポリマーからなる粘着剤を含む。さらに、所望により白色顔料を含んでもよい。このような粘着性ポリマーや白色顔料は従来公知のものを適宜選択して用いることができ限定されない。本発明のグラフィックス構造体を種々の条件で使用する場合に、グラフィックスの色濃度に差が生じないようにするためには、適度の隠蔽性を有する粘着剤を用いることが好ましい。 The pressure-sensitive adhesive layer of the present invention includes a pressure-sensitive adhesive made of a conventionally known pressure-sensitive polymer such as acrylic, urethane, polyester, or silicone. Further, if desired, a white pigment may be included. Such a tacky polymer and white pigment can be appropriately selected from conventionally known ones and are not limited. When the graphics structure of the present invention is used under various conditions, it is preferable to use a pressure-sensitive adhesive having an appropriate concealing property so as not to cause a difference in the color density of graphics.
隠蔽性を持たせるためには、例えば、
カルボキシル基含有(メタ)アクリル系ポリマー、
前記カルボキシル基含有(メタ)アクリル系ポリマー100質量部に対して約5〜約150質量部の白色顔料、及び
芳香族ビニルモノマーを含まないアミノ基含有(メタ)アクリル系ポリマーを含むアクリル系白色粘着剤を使用することができる。
In order to have concealment, for example,
Carboxyl group-containing (meth) acrylic polymer,
About 5 to about 150 parts by mass of white pigment with respect to 100 parts by mass of the carboxyl group-containing (meth) acrylic polymer, and an acrylic white adhesive containing an amino group-containing (meth) acrylic polymer that does not contain an aromatic vinyl monomer Agents can be used.
本明細書において、「(メタ)アクリル」とは「アクリルまたはメタクリル」を、
「カルボキシル基含有(メタ)アクリル系ポリマー」とは「カルボキシル基含有ポリマー」を、及び
「芳香族ビニルモノマーを含まないアミノ基含有(メタ)アクリル系ポリマー」とは「アミノ基含有ポリマー」をそれぞれ意味することがある。
In this specification, “(meth) acryl” means “acryl or methacryl”,
“Carboxyl group-containing (meth) acrylic polymer” means “carboxyl group-containing polymer”, and “amino group-containing (meth) acrylic polymer not containing aromatic vinyl monomer” means “amino group-containing polymer”. It may mean.
前記白色粘着剤は、(i)カルボキシル基含有(メタ)アクリル系粘着ポリマー、及び(ii)前記カルボキシル基含有(メタ)アクリル系ポリマー100質量部に対して、約5質量部〜約150質量部の白色顔料、及び芳香族ビニルモノマーを含まないアミノ基含有(メタ)アクリル系ポリマーからなる着色剤を含んでいても良い。 The white pressure-sensitive adhesive is about 5 parts by weight to about 150 parts by weight with respect to (i) carboxyl group-containing (meth) acrylic pressure-sensitive adhesive polymer and (ii) 100 parts by weight of the carboxyl group-containing (meth) acrylic polymer. A white pigment and a colorant comprising an amino group-containing (meth) acrylic polymer not containing an aromatic vinyl monomer may be included.
前記着色剤を含むことにより、すなわち、あらかじめ白色顔料をポリマーに分散させることにより、より多くの白色顔料を粘着剤中に安定に分散させることができる。 By including the colorant, that is, by dispersing the white pigment in the polymer in advance, more white pigment can be stably dispersed in the pressure-sensitive adhesive.
さらに、前記白色粘着剤は、架橋剤を含んでも良い。 Further, the white pressure-sensitive adhesive may contain a crosslinking agent.
前記白色粘着剤は、カルボキシル基を含有するモノマーを構成成分として重合したポリマーであるカルボキシル基含有ポリマーと、アミノ基を含有するモノマーを構成成分として重合したポリマーであるアミノ基含有ポリマーとを混合することにより、粘着剤中の白色顔料の分散性を向上し、粘着剤中に白色顔料を安定に保持することができる。そのため、より多くの顔料を含む白色粘着剤を提供することができる。そして当該白色粘着剤を本発明のグラフィックス構造体の粘着剤層として使用することにより、内照や外照等、種々の環境下で使用した際にもグラフィックスの色濃度差が少ない画像を提供することが可能となる。 The white pressure-sensitive adhesive mixes a carboxyl group-containing polymer which is a polymer obtained by polymerizing a monomer containing a carboxyl group as a constituent component and an amino group-containing polymer which is a polymer obtained by polymerizing a monomer containing an amino group as a constituent component. Thus, the dispersibility of the white pigment in the pressure-sensitive adhesive can be improved, and the white pigment can be stably held in the pressure-sensitive adhesive. Therefore, a white pressure-sensitive adhesive containing more pigment can be provided. And by using the white adhesive as the adhesive layer of the graphics structure of the present invention, an image with little difference in color density of graphics can be obtained even when used under various environments such as internal lighting and external lighting. It becomes possible to provide.
カルボキシル基含有(メタ)アクリル系ポリマー
前記カルボキシル基含有(メタ)アクリル系ポリマーは、モノエチレン性不飽和モノマーを主成分とするポリマーであって、その一部にカルボキシル基を含有するモノエチレン性不飽和モノマー(カルボキシル基含有モノエチレン性不飽和モノマー)を含有するものである。前記モノエチレン性不飽和モノマーは、ポリマーの主成分となるものであって、一般には式CH2=CR1COOR2(式中、R1は水素又はメチル基であり、R2は直鎖、環状又は分岐状のアルキル基やフェニル基、アルコキシアルキル基、フェノキシアルキル基、ヒドロキシアルキル基、環状エーテル基である)で表される。このようなモノマーとしては、例えば、メチル(メタ)アクリレート、エチル(メタ)アクリレート、n−ブチル(メタ)アクリレート、イソアミル(メタ)アクリレート、n−ヘキシル(メタ)アクリレート、2−エチルヘキシル(メタ)アクリレート、イソオクチル(メタ)アクリレート、イソノニル(メタ)アクリレート、デシル(メタ)アクリレート、またはドデシル(メタ)アクリレート、シクロヘキシル(メタ)アクリレート等のアルキル(メタ)アクリレート;フェノキシエチル(メタ)アクリレート等のフェノキシアルキル(メタ)アクリレート;メトキシプロピル(メタ)アクリレート、2−メトキシブチル(メタ)アクリレート等のアルコキシアルキル(メタ)アクリレート;2−ヒドロキシエチル(メタ)アクリレート、2−ヒドロキシプロピル(メタ)アクリレート、4−ヒドロキシブチル(メタ)アクリレート等のヒドロキシアルキル(メタ)アクリレート;グリシジル(メタ)アクリレート、テトラヒドロフルフリル(メタ)アクリレート等の環状エーテル含有(メタ)アクリレートなどを挙げることができる。必要に応じ、1種又は2種以上のモノエチレン性不飽和モノマーを使用することができる。
Carboxyl group-containing (meth) acrylic polymer The carboxyl group-containing (meth) acrylic polymer is a polymer mainly composed of a monoethylenically unsaturated monomer, and a monoethylenic polymer containing a carboxyl group in a part thereof. It contains a saturated monomer (carboxyl group-containing monoethylenically unsaturated monomer). The monoethylenically unsaturated monomer is the main component of the polymer and generally has the formula CH 2 = CR 1 COOR 2 (wherein R 1 is hydrogen or a methyl group, R 2 is a straight chain, A cyclic or branched alkyl group, a phenyl group, an alkoxyalkyl group, a phenoxyalkyl group, a hydroxyalkyl group, or a cyclic ether group). Examples of such monomers include methyl (meth) acrylate, ethyl (meth) acrylate, n-butyl (meth) acrylate, isoamyl (meth) acrylate, n-hexyl (meth) acrylate, and 2-ethylhexyl (meth) acrylate. , Isooctyl (meth) acrylate, isononyl (meth) acrylate, decyl (meth) acrylate, or alkyl (meth) acrylate such as dodecyl (meth) acrylate, cyclohexyl (meth) acrylate; phenoxyalkyl (such as phenoxyethyl (meth) acrylate) (Meth) acrylate; alkoxyalkyl (meth) acrylate such as methoxypropyl (meth) acrylate and 2-methoxybutyl (meth) acrylate; 2-hydroxyethyl (meth) acrylate, Examples include hydroxyalkyl (meth) acrylates such as loxypropyl (meth) acrylate and 4-hydroxybutyl (meth) acrylate; cyclic ether-containing (meth) acrylates such as glycidyl (meth) acrylate and tetrahydrofurfuryl (meth) acrylate. Can do. If necessary, one or more monoethylenically unsaturated monomers can be used.
前記カルボキシル基含有モノエチレン性不飽和モノマーとして、アクリル酸、メタクリル酸、クロトン酸等の不飽和モノカルボン酸;イタコン酸、フマル酸、シトラコン酸、マレイン酸等の不飽和ジカルボン酸;ω−カルボキシポリカプロラクトンモノアクリレート、β−カルボキシエチルアクリレート、または2−(メタ)アクリロイルオキシエチルコハク酸等を挙げることができる。 Examples of the carboxyl group-containing monoethylenically unsaturated monomer include unsaturated monocarboxylic acids such as acrylic acid, methacrylic acid, and crotonic acid; unsaturated dicarboxylic acids such as itaconic acid, fumaric acid, citraconic acid, and maleic acid; ω-carboxypoly Examples include caprolactone monoacrylate, β-carboxyethyl acrylate, 2- (meth) acryloyloxyethyl succinic acid, and the like.
前記カルボキシル基含有(メタ)アクリル系ポリマーは、例えば前記モノエチレン性不飽和モノマーを80〜99.5質量部と、前記カルボキシル基含有モノエチレン性不飽和モノマーを0.5〜20質量部の割合で共重合することにより得られる。あるいは、前記モノエチレン性不飽和モノマーを90〜99質量部、前記カルボキシル基含有モノエチレン性不飽和モノマーを1〜10質量部とすることもできる。 The carboxyl group-containing (meth) acrylic polymer is, for example, a ratio of 80 to 99.5 parts by mass of the monoethylenically unsaturated monomer and 0.5 to 20 parts by mass of the carboxyl group-containing monoethylenically unsaturated monomer. Can be obtained by copolymerization with Alternatively, the monoethylenically unsaturated monomer can be 90 to 99 parts by mass, and the carboxyl group-containing monoethylenically unsaturated monomer can be 1 to 10 parts by mass.
前記カルボキシル基含有(メタ)アクリル系ポリマーの質量平均分子量は特に限定されないが、例えば、約100,000〜約2,000,000、あるいは約300,000〜約1,000,000とすることができる。 The mass average molecular weight of the carboxyl group-containing (meth) acrylic polymer is not particularly limited, and may be, for example, about 100,000 to about 2,000,000, or about 300,000 to about 1,000,000. it can.
前記カルボキシル基含有(メタ)アクリル系ポリマーは、前記白色粘着剤の主成分として用いることができ、その配合量は、前記白色粘着剤全体を100質量部とした場合に、約35質量部〜約80質量部とすることができる。 The carboxyl group-containing (meth) acrylic polymer can be used as a main component of the white pressure-sensitive adhesive, and the blending amount thereof is about 35 parts by weight to about 35 parts by weight when the whole white pressure-sensitive adhesive is 100 parts by weight. The amount can be 80 parts by mass.
芳香族ビニルモノマーを含まないアミノ基含有(メタ)アクリル系ポリマー
前記芳香族ビニルモノマーを含まないアミノ基含有(メタ)アクリル系ポリマーとは、モノエチレン性不飽和モノマーを主成分とするポリマーであって、その一部にアミノ基含有不飽和モノマーを含有し、かつ芳香族ビニルモノマーをポリマーの構成成分として含まないものである。かかるモノエチレン性不飽和モノマーは、前記カルボキシル基含有(メタ)剤中アクリル系ポリマーの場合と同様であり、前記芳香族ビニルモノマーは、スチレン、α−メチルスチレン、ビニルトルエン、ビニルナフタレン、ビニルアントラセン、ビニルアントラキノン、芳香族アミンの(メタ)アクリルアミド、または水酸基含有芳香族化合物の(メタ)アクリレート等を含む。前記芳香族アミンとしてはアニリン、ベンジルアミン、ナフチルアミン、アミノアントラセン、アミノアントラキノン又はこれらの誘導体が挙げられる。また前記水酸基含有芳香族化合物は前記芳香族アミンに対応する水酸基含有化合物が挙げられる。前記アミノ基含有(メタ)アクリル系ポリマーを得る方法として、モノエチレン性不飽和モノマーとアミノ基を含有する不飽和モノマーとを共重合することが挙げられる。
Amino group-containing (meth) acrylic polymer not containing an aromatic vinyl monomer The amino group-containing (meth) acrylic polymer not containing an aromatic vinyl monomer is a polymer mainly composed of a monoethylenically unsaturated monomer. In addition, some of them contain an amino group-containing unsaturated monomer and do not contain an aromatic vinyl monomer as a constituent component of the polymer. The monoethylenically unsaturated monomer is the same as that of the acrylic polymer in the carboxyl group-containing (meth) agent, and the aromatic vinyl monomer is styrene, α-methylstyrene, vinyltoluene, vinylnaphthalene, vinylanthracene. , Vinyl anthraquinone, (meth) acrylamide of an aromatic amine, or (meth) acrylate of a hydroxyl group-containing aromatic compound. Examples of the aromatic amine include aniline, benzylamine, naphthylamine, aminoanthracene, aminoanthraquinone, and derivatives thereof. Examples of the hydroxyl group-containing aromatic compound include a hydroxyl group-containing compound corresponding to the aromatic amine. As a method for obtaining the amino group-containing (meth) acrylic polymer, copolymerization of a monoethylenically unsaturated monomer and an unsaturated monomer containing an amino group can be mentioned.
前記アミノ基含有不飽和モノマーとしては、N,N−ジメチルアミノエチルアクリレート(DMAEA)、N,N−ジメチルアミノエチルメタクリレート(DMAEMA)などのジアルキルアミノアルキル(メタ)アクリレート;N,N−ジメチルアミノプロピルアクリルアミド(DMAPAA)、N,N−ジメチルアミノプロピルメタクリルアミドなどのジアルキルアミノアルキル(メタ)アクリルアミド;N,N−ジメチルアミノエチルビニルエーテル、N,N−ジエチルアミノエチルビニルエーテルなどのジアルキルアミノアルキルビニルエーテル;またはこれらの混合物を挙げることができる。 Examples of the amino group-containing unsaturated monomer include dialkylaminoalkyl (meth) acrylates such as N, N-dimethylaminoethyl acrylate (DMAEA) and N, N-dimethylaminoethyl methacrylate (DMAEMA); N, N-dimethylaminopropyl Dialkylaminoalkyl (meth) acrylamides such as acrylamide (DMAPAA), N, N-dimethylaminopropyl methacrylamide; dialkylaminoalkyl vinyl ethers such as N, N-dimethylaminoethyl vinyl ether, N, N-diethylaminoethyl vinyl ether; Mention may be made of mixtures.
前記アミノ基含有ポリマーは、例えば前記モノエチレン性不飽和モノマーを約80〜約99.5質量部と、前記アミノ基含有不飽和モノマーを約0.5〜約20質量部の割合で共重合することにより得られる。あるいは、前記モノエチレン性不飽和モノマーを約90〜約99質量部、前記アミノ基含有不飽和モノマーを約1〜約10質量部とすることもできる。 The amino group-containing polymer is, for example, copolymerized in a proportion of about 80 to about 99.5 parts by mass of the monoethylenically unsaturated monomer and about 0.5 to about 20 parts by mass of the amino group-containing unsaturated monomer. Can be obtained. Alternatively, the monoethylenically unsaturated monomer can be about 90 to about 99 parts by mass, and the amino group-containing unsaturated monomer can be about 1 to about 10 parts by mass.
前記アミノ基含有ポリマーの質量平均分子量は特に限定されないが、例えば、約1,000〜約500,000、約5,000〜約200,000、または約10,000〜約100,000とすることができる。 Although the mass average molecular weight of the amino group-containing polymer is not particularly limited, for example, about 1,000 to about 500,000, about 5,000 to about 200,000, or about 10,000 to about 100,000 Can do.
前記アミノ基含有ポリマーの配合量は、前記白色粘着剤全体を100質量部とした場合に、約1質量部〜約20質量部とすることができる。また、前記白色粘着剤が着色剤を含有する場合は、当該着色剤の一成分として用いることができる。 The compounding amount of the amino group-containing polymer can be about 1 part by mass to about 20 parts by mass when the total amount of the white pressure-sensitive adhesive is 100 parts by mass. Moreover, when the said white adhesive contains a coloring agent, it can be used as one component of the said coloring agent.
これらポリマーの共重合は、ラジカル重合により行なうことができる。この場合、溶液重合、懸濁重合、乳化重合、あるいは塊状重合等の公知の重合方法を用いることができる。開始剤としては過酸化ベンゾイル、ラウロイルパーオキサイド、ビス(4−ターシャリーブチルシクロヘキシル)パーオキシジカーボネートのような有機過酸化物や、2,2’−アゾビスイソブチロニトリル、2,2’−アゾビス−2−メチルブチロニトリル、4,4’−アゾビスー4−シアノバレリアン酸、2,2’−アゾビス(2−メチルプロピオン酸)ジメチル、アゾビス2,4−ジメチルバレロニトリル(AVN)等のアゾ系重合開始剤が用いられる。この開始剤の使用量としては、モノマー混合物100質量部あたり、0.05〜5質量部とすることができる。 Copolymerization of these polymers can be performed by radical polymerization. In this case, a known polymerization method such as solution polymerization, suspension polymerization, emulsion polymerization, or bulk polymerization can be used. Initiators include organic peroxides such as benzoyl peroxide, lauroyl peroxide, bis (4-tertiarybutylcyclohexyl) peroxydicarbonate, 2,2′-azobisisobutyronitrile, 2,2 ′. -Azobis-2-methylbutyronitrile, 4,4'-azobis-4-cyanovaleric acid, 2,2'-azobis (2-methylpropionic acid) dimethyl, azobis-2,4-dimethylvaleronitrile (AVN), etc. An azo polymerization initiator is used. As a usage-amount of this initiator, it can be set as 0.05-5 mass parts per 100 mass parts of monomer mixtures.
白色顔料
前記白色顔料として、従来公知の白色顔料、例えば、炭酸亜鉛、酸化亜鉛、硫化亜鉛、または酸化チタン(二酸化チタン)を挙げることができる。また、添加剤としてタルク、カオリン、炭酸カルシウムを含んでもよい。これら白色顔料は単体で、あるいは二種以上を混合して用いることができる。また、これらの白色顔料はいずれの形態でもよく、あるいは従来公知の方法によって各種の分散処理が施されたものであってもよい。
White Pigment Examples of the white pigment include conventionally known white pigments such as zinc carbonate, zinc oxide, zinc sulfide, and titanium oxide (titanium dioxide). Moreover, you may contain a talc, a kaolin, and a calcium carbonate as an additive. These white pigments can be used alone or in admixture of two or more. These white pigments may be in any form, or may have been subjected to various dispersion treatments by a conventionally known method.
前記白色顔料は、前記カルボキシル基含有(メタ)アクリル系ポリマー100質量部に対して、約5質量部〜約150質量部、または約25質量部〜約150質量部とすることができる。 The white pigment may be about 5 parts by mass to about 150 parts by mass, or about 25 parts by mass to about 150 parts by mass with respect to 100 parts by mass of the carboxyl group-containing (meth) acrylic polymer.
着色剤
前記着色剤は、白色顔料と芳香族ビニルモノマーを含まないアミノ基含有(メタ)アクリル系ポリマーとを含有する。ここで、前記白色顔料、及び前記芳香族ビニルモノマーを含まないアミノ基含有(メタ)アクリル系ポリマーはそれぞれ上述のとおりである。
Colorant The colorant contains a white pigment and an amino group-containing (meth) acrylic polymer that does not contain an aromatic vinyl monomer. Here, the white pigment and the amino group-containing (meth) acrylic polymer not containing the aromatic vinyl monomer are as described above.
本明細書において、着色剤中の、芳香族ビニルモノマーを含まないアミノ基含有(メタ)アクリル系ポリマーを「着色剤のポリマー」と記載することがある。また、本発明の白色粘着剤の主成分として用い、着色剤に由来しないポリマーを、「粘着剤のポリマー」と記載することがある。 In the present specification, an amino group-containing (meth) acrylic polymer that does not contain an aromatic vinyl monomer in the colorant may be referred to as a “colorant polymer”. In addition, a polymer that is used as a main component of the white pressure-sensitive adhesive of the present invention and is not derived from a colorant may be referred to as a “pressure-sensitive adhesive polymer”.
前記着色剤のポリマーは、長期安定性維持の観点から、前記粘着剤のポリマーと相溶することが好ましい。 The colorant polymer is preferably compatible with the pressure-sensitive adhesive polymer from the viewpoint of maintaining long-term stability.
前記着色剤は、前記白色顔料と前記着色剤のポリマーとを、従来公知の方法で混合することにより得られる。例えば、ペイントシェイカー、サンドグラインドミル、ボールミル、アトライターミル、または三本ロールミル等を用いて混合することにより得られる。このとき、必要に応じて、水系あるいは有機系の溶媒を加えることもできる。 The colorant can be obtained by mixing the white pigment and the polymer of the colorant by a conventionally known method. For example, it can be obtained by mixing using a paint shaker, a sand grind mill, a ball mill, an attritor mill, or a three-roll mill. At this time, an aqueous or organic solvent may be added as necessary.
前記着色剤は、調製直後はもちろん、調製後長時間(例えば、約1ヶ月程度)経過後も、調製直後と同様、顔料粒子が凝集せず、かつ良好に分散した状態を維持することができる。このことは、例えば、サンドグラインドミル、ボールミル、アトライターミル、または三本ロールミル等の比較的混合力の強い機器を用いて調製した場合のみならず、ペイントシェイカー等の比較的混合力の弱い機器のみを用いて調製した場合も同様である。さらに、この比較的混合力の弱い機器を用いる場合、比較的短時間(例えば、約10分程度)の混合により、調製直後及び長時間経過後に、顔料粒子が凝集せず、かつ良好に分散した着色剤を得ることができる。 The colorant can maintain a well-dispersed state in which the pigment particles do not aggregate as well as immediately after the preparation, as well as after the preparation for a long time (for example, about 1 month). . This is not only the case when using a device with a relatively strong mixing force such as a sand grind mill, a ball mill, an attritor mill, or a three roll mill, but also a device with a relatively low mixing force such as a paint shaker. The same applies to the case of using only the above. Furthermore, when using this relatively weak mixing device, the pigment particles do not aggregate and disperse well immediately after preparation and after a long period of time by mixing for a relatively short time (for example, about 10 minutes). A colorant can be obtained.
架橋剤
前記白色粘着剤は、架橋剤を含んでも良い。かかる架橋剤として、例えば、ビスアミド系架橋剤(例えば、1,1’−イソフタロイル−ビス(2−メチルアジリジン))、アジリジン系架橋剤(例えば、日本触媒製ケミタイトPZ33、アビシア製NeoCryl CX−100)、カルボジイミド系架橋剤(例えば、日清紡製カルボジライトV−03,V−05,V−07)、エポキシ系架橋剤(例えば綜研化学製E−AX,E−5XM,E5C)、イソシアネート系架橋剤(例えば、日本ポリウレタン製コロネートL、コロネートHK、バイエル社製デスモジュールH、デスモジュールW、デスモジュールI)等を用いることができる。
Crosslinking agent The white pressure-sensitive adhesive may contain a crosslinking agent. Examples of such cross-linking agents include bisamide-based cross-linking agents (for example, 1,1′-isophthaloyl-bis (2-methylaziridine)), aziridine-based cross-linking agents (for example, Nippon Shokubai Chemite PZ33, Avisia NeoCryl CX-100). , Carbodiimide-based crosslinking agents (for example, Nisshinbo Carbodilite V-03, V-05, V-07), epoxy-based crosslinking agents (for example, E-AX, E-5XM, E5C manufactured by Soken Chemical), isocyanate-based crosslinking agents (for example, , Nippon Polyurethane Coronate L, Coronate HK, Bayer Death Module H, Death Module W, Death Module I) and the like can be used.
前記架橋剤の添加量は、カルボキシル基を含有するポリマー中のカルボキシル基、あるいはアミノ基を含有するポリマー中のアミノ基に対して0.01から0.5当量とすることができる。 The addition amount of the crosslinking agent can be 0.01 to 0.5 equivalents relative to the carboxyl group in the polymer containing a carboxyl group or the amino group in the polymer containing an amino group.
前記白色粘着剤は、前記カルボキシル基含有(メタ)アクリル系ポリマー、前記白色顔料、及び前記芳香族ビニルモノマーを含まないアミノ基含有(メタ)アクリル系ポリマーを、従来公知の方法によって混合することにより得られる。 The white pressure-sensitive adhesive is obtained by mixing the carboxyl group-containing (meth) acrylic polymer, the white pigment, and the amino group-containing (meth) acrylic polymer not containing the aromatic vinyl monomer by a conventionally known method. can get.
例えば、各成分をほぼ同時に混合容器に入れ、ペイントシェイカー、サンドグラインドミル、ボールミル、アトライターミル、または三本ロールミル等を用いて混合することにより得られる。この際、必要に応じて、前記架橋剤、または公知の水系あるいは有機系の溶媒を使用することができる。あるいは、前記白色顔料を水系あるいは有機系の溶媒に混合してから、他の成分と混合することもできる。 For example, it can be obtained by putting each component in a mixing container almost simultaneously and mixing them using a paint shaker, sand grind mill, ball mill, attritor mill, or three roll mill. At this time, the cross-linking agent or a known aqueous or organic solvent can be used as necessary. Alternatively, the white pigment can be mixed with an aqueous or organic solvent and then mixed with other components.
また、前記白色粘着剤が着色剤を含有する場合、前記カルボキシル基含有アクリル系ポリマー及び前記着色剤とを従来公知の方法で混合することにより得られる。 Moreover, when the said white adhesive contains a coloring agent, it is obtained by mixing the said carboxyl group-containing acrylic polymer and the said coloring agent by a conventionally well-known method.
また、本発明のグラフィックス構造体は、前記白色粘着剤層の前記印刷層とは反対側にライナー(剥離層)を設けることができる。このようなライナーは、粘着テープなどの分野で一般的に使用されているものでよく、特定の部材に限定されるものではない。好適なライナーとしては、例えば、紙、例えば、ポリエチレン、ポリプロピレン、ポリエステル、または酢酸セルロース等のプラスチック材料、あるいはこのようなプラスチック材料で被覆又はそれを積層された紙やその他の材料などを挙げることができる。これらのライナーは、そのまま使用してもよいが、シリコーン処理あるいはその他の方法で処理して剥離特性を向上させた後に使用することができる。 Moreover, the graphics structure of this invention can provide a liner (peeling layer) on the opposite side to the said printing layer of the said white adhesive layer. Such a liner may be one generally used in the field such as an adhesive tape, and is not limited to a specific member. Suitable liners include, for example, paper, for example, plastic materials such as polyethylene, polypropylene, polyester, or cellulose acetate, or paper or other materials coated or laminated with such plastic materials. it can. These liners may be used as they are, but they can be used after being treated with a silicone treatment or other methods to improve the release characteristics.
本発明のグラフィックス構造体は、さらに必要に応じてプライマー層など他の機能を有する層を有していても良い。 The graphics structure of the present invention may further have a layer having another function such as a primer layer, if necessary.
本発明のグラフィックス構造体は、従来公知の方法を適宜選択することにより製造することができる。以下に製造法の一例を示す。本発明のグラフィックス受容性物品のレセプター層に溶剤系インクジェットプリンターにより印刷を施して印刷層を形成する。例えば前記アクリル系白色粘着剤を有機系の溶媒に溶解した溶液を、ナイフコートあるいはバーコータ等によりライナー上に塗布・乾燥して粘着剤層を得る。得られた粘着剤層とライナーの積層物の粘着面を前記印刷層に貼り合わせて本発明のグラフィックス構造体が得られる。 The graphics structure of the present invention can be manufactured by appropriately selecting a conventionally known method. An example of the production method is shown below. The receptor layer of the graphics-receiving article of the present invention is printed by a solvent-based inkjet printer to form a printed layer. For example, a solution in which the acrylic white pressure-sensitive adhesive is dissolved in an organic solvent is applied and dried on a liner with a knife coater or a bar coater to obtain a pressure-sensitive adhesive layer. The graphics structure of the present invention is obtained by sticking the pressure-sensitive adhesive surface of the laminate of the obtained pressure-sensitive adhesive layer and liner to the printed layer.
本発明のグラフィックス構造体は、さらに前記粘着剤層に、(i)第二の粘着剤層を積層したり、(ii)アルミニウム層などの金属層または芯材となるフィルム等の層及び第二の粘着剤層を積層することもできる。第二の粘着剤層は、前記粘着剤層と同様の構成とすることができ、透明、白色、乳白色その他の着色がされていても良い。このような態様のグラフィックス構造体は例えば次のようにして製造することができる。 In the graphics structure of the present invention, (i) a second pressure-sensitive adhesive layer is laminated on the pressure-sensitive adhesive layer, or (ii) a metal layer such as an aluminum layer or a layer such as a film serving as a core material and Two adhesive layers can also be laminated. The second pressure-sensitive adhesive layer can have the same configuration as the pressure-sensitive adhesive layer, and may be transparent, white, milky white, or other colored. Such a graphics structure can be manufactured as follows, for example.
(i)の場合
剥離処理をしたライナー上に第二の粘着剤層を積層する。得られた積層体の粘着面を、本発明のグラフィックス受容性物品のレセプター層に形成した印刷層の印刷面に貼り付けてグラフィックス構造体を得る。
In the case of (i) A second pressure-sensitive adhesive layer is laminated on the release-treated liner. The pressure-sensitive adhesive surface of the obtained laminate is affixed to the printed surface of the printed layer formed on the receptor layer of the graphics-receiving article of the present invention to obtain a graphics structure.
(ii)の場合
まず、剥離処理をしたライナー上に第二の粘着剤層を設け、さらにアルミ箔などの金属層を積層した後、前記粘着剤層、剥離処理済みライナーを順に積層してマウント用フィルムを製造する。つづいて、本発明のグラフィックス受容性物品のレセプター層に形成した印刷層の印刷面に、前記マウント用フィルムの粘着剤層側のライナーを剥がして積層する。
In the case of (ii) First, a second pressure-sensitive adhesive layer is provided on the release-treated liner, and further a metal layer such as an aluminum foil is laminated, and then the pressure-sensitive adhesive layer and the release-treated liner are laminated in order. Manufacturing films. Subsequently, the liner on the pressure-sensitive adhesive layer side of the mounting film is peeled off and laminated on the printing surface of the printing layer formed on the receptor layer of the graphics-receiving article of the present invention.
本発明のグラフィックス構造体は、屋内外の車両、建築物(壁、柱)、交通標識、包装材料、または看板等に貼付して使用できる。あるいは、内照看板表面に取り付けることにより、内照グラフィックスとして使用することができる。 The graphics structure of the present invention can be used by being attached to indoor and outdoor vehicles, buildings (walls, pillars), traffic signs, packaging materials, signs, and the like. Or it can be used as an internal lighting graphic by attaching to the surface of an internal lighting signboard.
本明細書においては、以下の略称を使用することがある。
BA :ブチルアクリレ−ト
2EHA :2−エチルへキシルアクリレート
AA :アクリル酸
MMA :メチルメタクリレート
BMA :ブチルメタクリルレート
DMAEMA :ジメチルアミノエチルメタクリレート
VAc :酢酸ビニル
EtAc :酢酸エチル
MIBK :メチルイソブチルケトン
Mw :重量平均分子量
Dv :体積平均粒径(volume average diameter)
In the present specification, the following abbreviations may be used.
BA: Butyl acrylate 2EHA: 2-ethylhexyl acrylate AA: Acrylic acid MMA: Methyl methacrylate BMA: Butyl methacrylate DMAEMA: Dimethylaminoethyl methacrylate VAc: Vinyl acetate EtAc: Ethyl acetate MIBK: Methyl isobutyl ketone Mw: Weight average molecular weight Dv: Volume average particle diameter (volume average diameter)
以下、表1に記載の材料を使用した。 Hereinafter, the materials shown in Table 1 were used.
実施例1
グラフィックス受容性物品の製造
100質量部のハードポリマー1と、50質量部のソフトポリマー1を混合した。さらに、ソフトポリマー1が100質量部に対して架橋剤2を3質量部(固形分比)添加してポリマー組成物を得た。ポリマー同士の相溶性は良好であった。厚さ50μmの剥離処理ポリエステルフィルム(支持体)の剥離処理面に前記組成物をナイフコートにより塗布し、95℃で3分間及び155℃で2分間乾燥及び架橋し、厚さ50μmの透明レセプター層を得た。
Example 1
Production of
次に、100質量部の背面処理用樹脂1と35質量部の背面処理用樹脂2(固形分比)とを混合し背面処理用樹脂溶液を準備した。前記背面処理用樹脂溶液が100質量部に対して微小球1を50質量部添加して混合し非粘着微小球含有溶液を得た。前記支持体の透明レセプター層の反対側の面に、得られた非粘着微小球含有溶液を、塗布重さが15g/m2となるようにナイフコートにより塗布し、95℃で3分間及び155℃で3分間乾燥及び架橋し背面樹脂層を得た。
Next, 100 parts by mass of the
実施例2〜9
実施例1と同様に表2に従いサンプルを作製した。
Examples 2-9
Samples were prepared according to Table 2 in the same manner as in Example 1.
実施例10
ハードポリマー1が10質量部、酸化チタン1が50質量部に対してメチルイソブチルケトン(MIBK)を40質量部添加しペイントシェイカー(株式会社シンキー(Thinky)製ARE250)で10分間攪拌し顔料プレミックス溶液を得た。
Example 10
40 parts by mass of methyl isobutyl ketone (MIBK) is added to 10 parts by mass of
次に、粘着ポリマー1が100質量部に対して、酸化チタン1が50質量部、ハードポリマー1が10質量部になるように粘着剤成分と前記顔料プレミックスを混合し白色粘着剤組成物溶液を準備した。粘着ポリマー1が100質量部に対して架橋剤1を0.2質量部(固形分比)添加した。粘着剤と顔料の相溶性は良好で容易に分散可能であった。前記白色粘着剤組成物溶液を、ナイフコートにより紙ベース両面ポリエチレンラミネート剥離紙上に乾燥後の厚さが30μmになるように塗布、90℃で5分間加熱、乾燥及び架橋して白色粘着剤層を得た。
Next, the pressure-sensitive adhesive component and the pigment premix are mixed so that the pressure-sensitive
実施例1で作製したグラフィックス受容性物品に溶剤系インクジェットプリンター(Roland製XC540)で印刷画像(印刷層)を形成した。この印刷層に上記で得られた白色粘着剤層をドライラミネートにより積層してサンプルを得た。 A printed image (printing layer) was formed on the graphics-receptive article prepared in Example 1 using a solvent-based inkjet printer (XC540 manufactured by Roland). The white pressure-sensitive adhesive layer obtained above was laminated on this printed layer by dry lamination to obtain a sample.
比較例1〜14
実施例1と同様に表2に従いサンプル作製した。
Comparative Examples 1-14
Samples were prepared according to Table 2 in the same manner as in Example 1.
実施例11
マウント用フィルムの作製
粘着ポリマー1が100質量部に対して、架橋剤1を0.2質量部(固形分比)添加した。前記粘着剤組成物溶液を、ナイフコートにより紙ベース両面ポリエチレンラミネート剥離紙上に乾燥後の厚さが45μmになるように塗布、90℃で5分間加熱、乾燥及び架橋して粘着剤層を得た。前記粘着剤層のエアサイドに50μmのアルミ箔をラミネートしアルミ層を形成した。さらに、前記アルミ層上に実施例10と同様にして白色粘着剤層を形成した。白色粘着剤層の厚さは30μmであった。その後、白色粘着剤層にシリコーン剥離処理済み25μmポリエステルフィルムをラミネートし、マウント用フィルムを得た。
Example 11
Production of Film for Mounting 0.2 parts by mass (solid content ratio) of the
グラフィックス構造体の作製
実施例10と同様に、実施例1で作製したグラフィックス受容性物品に溶剤系インクジェットプリンター(Roland製XC540)で印刷画像(印刷層)を形成した。上記で得られたマウント用フィルムからシリコーン剥離処理済みポリエステルフィルムを除去し、白色粘着剤層と前記印刷層をドライラミネートすることによりグラフィックス構造体サンプルを得た。
Production of Graphics Structure In the same manner as in Example 10, a printed image (printing layer) was formed on the graphics-receptive article produced in Example 1 using a solvent-based inkjet printer (Roland XC540). The polyester film after the silicone release treatment was removed from the mounting film obtained above, and a white pressure-sensitive adhesive layer and the printed layer were dry laminated to obtain a graphics structure sample.
実施例12
微小球6(スリーエム製グラスバブルS60HS)を使用した以外は実施例1と同様にしてサンプルを作製した。
Example 12
A sample was prepared in the same manner as in Example 1 except that the microsphere 6 (3M glass bubble S60HS) was used.
インク転写試験
実施例1〜9、12、及び比較例1〜14で得られたサンプルのレセプター層に、溶剤系インクジェットプリンター(Roland製XC540)で印刷画像(印刷層)を形成した。インクはRoland製ECO−SOL MAXを使用した。作画条件は6色(シアン、マゼンタ、イエロー、ブラック、ライトシアン、ライトマゼンタ)、双方向作画、高画質モード(720dpi×1440dpi)、バリアブルドット、300%インク濃度にてベタ印刷を実施した。送り速度は約3m/時間、プラテン温度は約40℃であった。
Ink transfer test Print images (printing layers) were formed on the receptor layers of the samples obtained in Examples 1 to 9, and Comparative Examples 1 to 14 using a solvent-based ink jet printer (Roland XC540). As the ink, ECO-SOL MAX manufactured by Roland was used. The printing conditions were 6 colors (cyan, magenta, yellow, black, light cyan, light magenta), bidirectional printing, high image quality mode (720 dpi × 1440 dpi), variable dots, and solid printing at 300% ink density. The feed rate was about 3 m / hour, and the platen temperature was about 40 ° C.
印刷層と背面樹脂層とが接するように、得られたサンプルを巻き取り、24時間放置した後印刷層と背面樹脂層を引き剥がした。背面樹脂層にインク転移が見られた場合はインク転移“あり”、インク転移がなかった場合はインク転移“なし”と判断した。結果を表3に示した。 The obtained sample was wound up so that the printed layer and the back resin layer were in contact with each other and allowed to stand for 24 hours, and then the printed layer and the back resin layer were peeled off. When ink transfer was observed on the back resin layer, it was determined that ink transfer was “present”, and when there was no ink transfer, ink transfer was “not present”. The results are shown in Table 3.
巻き取り後外観の観察
前記インク転写試験後のサンプルの印刷層表面を目視で観察した。表面インプレッション及びグロス斑が見られた場合は“Bad”、軽微な表面インプレッション及びグロス斑が見られた場合は”Poor“、表面インプレッション及びグロス斑が見られなかった場合は”Good“と判断した。結果を表3に示した。
Observation of appearance after winding The surface of the printed layer of the sample after the ink transfer test was visually observed. “Bad” was determined when surface impressions and gross spots were observed, “Poor” when minor surface impressions and gross spots were observed, and “Good” when surface impressions and gross spots were not observed. . The results are shown in Table 3.
表面グロスの測定
前記インク転写試験後のサンプルの印刷層表面の60°グロス値を測定した。ポータブルグロスメーター(村上色彩技術研究所製GMX−202)にて60°表面光沢度を測定した。表面光沢保持率の計算式は以下のとおりである。
[表面光沢保持率(%)]={[照射後表面光沢度]/[照射前表面光沢度]}×100
測定はN=3で行い平均値を代表値とした。結果を表3に示した。
Measurement of surface gloss The 60 ° gloss value of the surface of the printed layer of the sample after the ink transfer test was measured. The 60 ° surface glossiness was measured with a portable gloss meter (GMX-202 manufactured by Murakami Color Research Laboratory). The formula for calculating the surface gloss retention is as follows.
[Surface gloss retention (%)] = {[surface gloss after irradiation] / [surface gloss before irradiation]} × 100
The measurement was performed at N = 3, and the average value was used as a representative value. The results are shown in Table 3.
1 グラフィックス受容性物品
2 グラフィックス構造体
100,200 支持体層
102,202 レセプター層
104,204 背面樹脂層
106,206 微小球
208 印刷層
210 粘着剤層
212 ライナー
D 微小球の体積平均粒径
H 背面樹脂層の樹脂部分のみの厚さ
T 背面樹脂層の厚さ
DESCRIPTION OF
Claims (5)
前記支持体層の第一の面に積層され、体積平均粒径が18μm〜40μmの微小球と樹脂とを含み、前記微小球と前記樹脂との質量比が45〜180:100である背面樹脂層、及び
前記支持体層の第二の面に積層されるレセプター層を含むグラフィックス受容性物品。 Support layer,
A back surface resin that is laminated on the first surface of the support layer and includes a microsphere having a volume average particle diameter of 18 μm to 40 μm and a resin, and a mass ratio of the microsphere to the resin is 45 to 180: 100. A graphics receptive article comprising: a layer; and a receptor layer laminated to the second side of the support layer.
カルボキシル基含有(メタ)アクリル系ポリマー、
前記カルボキシル基含有(メタ)アクリル系ポリマー100質量部に対して、5〜150質量部の白色顔料、及び
芳香族ビニルモノマーを含まないアミノ基含有(メタ)アクリル系ポリマーを含むアクリル系白色粘着剤からなる請求項4に記載のグラフィックス構造体。 The pressure-sensitive adhesive layer is
Carboxyl group-containing (meth) acrylic polymer,
An acrylic white pressure-sensitive adhesive containing 5 to 150 parts by weight of a white pigment and an amino group-containing (meth) acrylic polymer not containing an aromatic vinyl monomer with respect to 100 parts by weight of the carboxyl group-containing (meth) acrylic polymer. The graphics structure according to claim 4, comprising:
Priority Applications (1)
| Application Number | Priority Date | Filing Date | Title |
|---|---|---|---|
| JP2009011329A JP5596291B2 (en) | 2009-01-21 | 2009-01-21 | Graphics receptive article and graphics structure |
Applications Claiming Priority (1)
| Application Number | Priority Date | Filing Date | Title |
|---|---|---|---|
| JP2009011329A JP5596291B2 (en) | 2009-01-21 | 2009-01-21 | Graphics receptive article and graphics structure |
Publications (2)
| Publication Number | Publication Date |
|---|---|
| JP2010167639A true JP2010167639A (en) | 2010-08-05 |
| JP5596291B2 JP5596291B2 (en) | 2014-09-24 |
Family
ID=42700239
Family Applications (1)
| Application Number | Title | Priority Date | Filing Date |
|---|---|---|---|
| JP2009011329A Active JP5596291B2 (en) | 2009-01-21 | 2009-01-21 | Graphics receptive article and graphics structure |
Country Status (1)
| Country | Link |
|---|---|
| JP (1) | JP5596291B2 (en) |
Cited By (1)
| Publication number | Priority date | Publication date | Assignee | Title |
|---|---|---|---|---|
| JP2016085289A (en) * | 2014-10-23 | 2016-05-19 | スリーエム イノベイティブ プロパティズ カンパニー | Graphics structure, method for manufacturing the same, and lighting system |
Families Citing this family (1)
| Publication number | Priority date | Publication date | Assignee | Title |
|---|---|---|---|---|
| JP7186046B2 (en) | 2018-09-27 | 2022-12-08 | スリーエム イノベイティブ プロパティズ カンパニー | Graphic sheet and lighting system using graphic sheet |
Citations (12)
| Publication number | Priority date | Publication date | Assignee | Title |
|---|---|---|---|---|
| JPS6431632A (en) * | 1987-07-29 | 1989-02-01 | Nippon Carbide Kogyo Kk | High chromatic adhesive sheet |
| JPH10310754A (en) * | 1997-05-13 | 1998-11-24 | Soken Chem & Eng Co Ltd | Adhesive composition |
| JP2002211142A (en) * | 2001-01-15 | 2002-07-31 | Dainippon Printing Co Ltd | Thermal transfer image receiving medium for composite recording |
| JP2003080856A (en) * | 2001-09-11 | 2003-03-19 | Mitsubishi Paper Mills Ltd | Inkjet image protection method |
| JP2003191652A (en) * | 2001-12-28 | 2003-07-09 | Oji Paper Co Ltd | Dye thermal transfer receiving sheet |
| JP2003211838A (en) * | 2002-01-25 | 2003-07-30 | Hewlett Packard Co <Hp> | Coated medium with improved stacking behavior on output tray |
| JP2005105256A (en) * | 2003-09-09 | 2005-04-21 | Three M Innovative Properties Co | (Meth) acrylic film, marking film using the same, and receptor sheet |
| JP2005231208A (en) * | 2004-02-19 | 2005-09-02 | Daicel Chem Ind Ltd | Recording sheet |
| JP2007054991A (en) * | 2005-08-23 | 2007-03-08 | Seiko Epson Corp | Inkjet recording medium |
| JP2007210240A (en) * | 2006-02-10 | 2007-08-23 | Three M Innovative Properties Co | Image acceptive material and image accepting sheet |
| JP2007313838A (en) * | 2006-05-29 | 2007-12-06 | Fujicopian Co Ltd | Oil-based inkjet recording sheet |
| JP2007313837A (en) * | 2006-05-29 | 2007-12-06 | Fujicopian Co Ltd | Transparent inkjet recording sheet |
-
2009
- 2009-01-21 JP JP2009011329A patent/JP5596291B2/en active Active
Patent Citations (12)
| Publication number | Priority date | Publication date | Assignee | Title |
|---|---|---|---|---|
| JPS6431632A (en) * | 1987-07-29 | 1989-02-01 | Nippon Carbide Kogyo Kk | High chromatic adhesive sheet |
| JPH10310754A (en) * | 1997-05-13 | 1998-11-24 | Soken Chem & Eng Co Ltd | Adhesive composition |
| JP2002211142A (en) * | 2001-01-15 | 2002-07-31 | Dainippon Printing Co Ltd | Thermal transfer image receiving medium for composite recording |
| JP2003080856A (en) * | 2001-09-11 | 2003-03-19 | Mitsubishi Paper Mills Ltd | Inkjet image protection method |
| JP2003191652A (en) * | 2001-12-28 | 2003-07-09 | Oji Paper Co Ltd | Dye thermal transfer receiving sheet |
| JP2003211838A (en) * | 2002-01-25 | 2003-07-30 | Hewlett Packard Co <Hp> | Coated medium with improved stacking behavior on output tray |
| JP2005105256A (en) * | 2003-09-09 | 2005-04-21 | Three M Innovative Properties Co | (Meth) acrylic film, marking film using the same, and receptor sheet |
| JP2005231208A (en) * | 2004-02-19 | 2005-09-02 | Daicel Chem Ind Ltd | Recording sheet |
| JP2007054991A (en) * | 2005-08-23 | 2007-03-08 | Seiko Epson Corp | Inkjet recording medium |
| JP2007210240A (en) * | 2006-02-10 | 2007-08-23 | Three M Innovative Properties Co | Image acceptive material and image accepting sheet |
| JP2007313838A (en) * | 2006-05-29 | 2007-12-06 | Fujicopian Co Ltd | Oil-based inkjet recording sheet |
| JP2007313837A (en) * | 2006-05-29 | 2007-12-06 | Fujicopian Co Ltd | Transparent inkjet recording sheet |
Cited By (1)
| Publication number | Priority date | Publication date | Assignee | Title |
|---|---|---|---|---|
| JP2016085289A (en) * | 2014-10-23 | 2016-05-19 | スリーエム イノベイティブ プロパティズ カンパニー | Graphics structure, method for manufacturing the same, and lighting system |
Also Published As
| Publication number | Publication date |
|---|---|
| JP5596291B2 (en) | 2014-09-24 |
Similar Documents
| Publication | Publication Date | Title |
|---|---|---|
| CN101379158B (en) | Image Receptive Materials and Image Receptive Sheets | |
| CN1124940C (en) | Ink-receptive composition and coated products | |
| EP1664163B1 (en) | (meth)acrylic film, and making film and receptor sheet using the same | |
| US20100266859A1 (en) | Colored acrylic adhesive and marking film | |
| JP5296335B2 (en) | Colored acrylic adhesive and marking film | |
| JP5307378B2 (en) | (Meth) acrylic film and marking film using the same | |
| CN101622304B (en) | (meth)acrylic pigmented film, marking film, receptor sheet and method for preparing the same | |
| JP7186046B2 (en) | Graphic sheet and lighting system using graphic sheet | |
| CN1340003A (en) | Image receptor medium, method of making and using same | |
| JP6571667B2 (en) | Pressure sensitive adhesive composition, marking film and retroreflective sheet | |
| JP5319163B2 (en) | Graphics structure | |
| JP6510318B2 (en) | Graphic film for license plate, and license plate including graphic film and method of manufacturing the same | |
| JP5706063B2 (en) | Marking film | |
| JP5596291B2 (en) | Graphics receptive article and graphics structure | |
| JP7022496B2 (en) | Graphics structure and its manufacturing method, as well as lighting system | |
| JP3814083B2 (en) | Inkjet recording sheet | |
| JP5933957B2 (en) | Graphics film precursor | |
| JP5370518B2 (en) | Intermediate transfer medium | |
| JP4092041B2 (en) | Inkjet recording sheet | |
| JP2008207426A (en) | recoding media | |
| EP4680684A1 (en) | Decorative film | |
| JP2719922B2 (en) | Recording material for impact printer | |
| JPH10240439A (en) | Recording medium for producing mouse pad, kit for producing mouse pad including the same, and method for producing mouse pad using the same |
Legal Events
| Date | Code | Title | Description |
|---|---|---|---|
| A621 | Written request for application examination |
Free format text: JAPANESE INTERMEDIATE CODE: A621 Effective date: 20111125 |
|
| A977 | Report on retrieval |
Free format text: JAPANESE INTERMEDIATE CODE: A971007 Effective date: 20130802 |
|
| A131 | Notification of reasons for refusal |
Free format text: JAPANESE INTERMEDIATE CODE: A131 Effective date: 20130806 |
|
| A601 | Written request for extension of time |
Free format text: JAPANESE INTERMEDIATE CODE: A601 Effective date: 20131106 |
|
| A602 | Written permission of extension of time |
Free format text: JAPANESE INTERMEDIATE CODE: A602 Effective date: 20131111 |
|
| A521 | Request for written amendment filed |
Free format text: JAPANESE INTERMEDIATE CODE: A523 Effective date: 20131210 |
|
| TRDD | Decision of grant or rejection written | ||
| A01 | Written decision to grant a patent or to grant a registration (utility model) |
Free format text: JAPANESE INTERMEDIATE CODE: A01 Effective date: 20140708 |
|
| A61 | First payment of annual fees (during grant procedure) |
Free format text: JAPANESE INTERMEDIATE CODE: A61 Effective date: 20140807 |
|
| R150 | Certificate of patent or registration of utility model |
Ref document number: 5596291 Country of ref document: JP Free format text: JAPANESE INTERMEDIATE CODE: R150 |
|
| R250 | Receipt of annual fees |
Free format text: JAPANESE INTERMEDIATE CODE: R250 |
|
| R250 | Receipt of annual fees |
Free format text: JAPANESE INTERMEDIATE CODE: R250 |
|
| R250 | Receipt of annual fees |
Free format text: JAPANESE INTERMEDIATE CODE: R250 |
|
| R250 | Receipt of annual fees |
Free format text: JAPANESE INTERMEDIATE CODE: R250 |
|
| R250 | Receipt of annual fees |
Free format text: JAPANESE INTERMEDIATE CODE: R250 |
|
| R250 | Receipt of annual fees |
Free format text: JAPANESE INTERMEDIATE CODE: R250 |
|
| R250 | Receipt of annual fees |
Free format text: JAPANESE INTERMEDIATE CODE: R250 |
|
| R250 | Receipt of annual fees |
Free format text: JAPANESE INTERMEDIATE CODE: R250 |
