JP2010090445A - Sputtering system and film deposition method - Google Patents
Sputtering system and film deposition method Download PDFInfo
- Publication number
- JP2010090445A JP2010090445A JP2008262597A JP2008262597A JP2010090445A JP 2010090445 A JP2010090445 A JP 2010090445A JP 2008262597 A JP2008262597 A JP 2008262597A JP 2008262597 A JP2008262597 A JP 2008262597A JP 2010090445 A JP2010090445 A JP 2010090445A
- Authority
- JP
- Japan
- Prior art keywords
- electrode
- target
- anode
- power source
- vacuum chamber
- Prior art date
- Legal status (The legal status is an assumption and is not a legal conclusion. Google has not performed a legal analysis and makes no representation as to the accuracy of the status listed.)
- Pending
Links
- 238000004544 sputter deposition Methods 0.000 title claims abstract description 75
- 238000000151 deposition Methods 0.000 title abstract description 7
- 239000000758 substrate Substances 0.000 claims abstract description 89
- 238000000034 method Methods 0.000 claims description 17
- 239000002245 particle Substances 0.000 abstract description 40
- 230000008021 deposition Effects 0.000 abstract description 6
- 230000001629 suppression Effects 0.000 abstract 1
- 239000010408 film Substances 0.000 description 39
- 239000010409 thin film Substances 0.000 description 24
- 239000007789 gas Substances 0.000 description 12
- 239000010936 titanium Substances 0.000 description 8
- XKRFYHLGVUSROY-UHFFFAOYSA-N Argon Chemical compound [Ar] XKRFYHLGVUSROY-UHFFFAOYSA-N 0.000 description 6
- NRTOMJZYCJJWKI-UHFFFAOYSA-N Titanium nitride Chemical compound [Ti]#N NRTOMJZYCJJWKI-UHFFFAOYSA-N 0.000 description 6
- 230000015572 biosynthetic process Effects 0.000 description 6
- IJGRMHOSHXDMSA-UHFFFAOYSA-N Atomic nitrogen Chemical compound N#N IJGRMHOSHXDMSA-UHFFFAOYSA-N 0.000 description 5
- RTAQQCXQSZGOHL-UHFFFAOYSA-N Titanium Chemical compound [Ti] RTAQQCXQSZGOHL-UHFFFAOYSA-N 0.000 description 3
- 229910052786 argon Inorganic materials 0.000 description 3
- 238000005336 cracking Methods 0.000 description 3
- 230000007423 decrease Effects 0.000 description 3
- 238000004519 manufacturing process Methods 0.000 description 3
- 238000001179 sorption measurement Methods 0.000 description 3
- 229910052719 titanium Inorganic materials 0.000 description 3
- 238000010586 diagram Methods 0.000 description 2
- 239000010419 fine particle Substances 0.000 description 2
- 150000002500 ions Chemical class 0.000 description 2
- 239000000463 material Substances 0.000 description 2
- 229910052757 nitrogen Inorganic materials 0.000 description 2
- 229910052782 aluminium Inorganic materials 0.000 description 1
- XAGFODPZIPBFFR-UHFFFAOYSA-N aluminium Chemical compound [Al] XAGFODPZIPBFFR-UHFFFAOYSA-N 0.000 description 1
- 230000007547 defect Effects 0.000 description 1
- 229910001873 dinitrogen Inorganic materials 0.000 description 1
- 238000002474 experimental method Methods 0.000 description 1
- 230000009191 jumping Effects 0.000 description 1
- 239000002184 metal Substances 0.000 description 1
- 229910052751 metal Inorganic materials 0.000 description 1
- 239000004065 semiconductor Substances 0.000 description 1
- 229910001220 stainless steel Inorganic materials 0.000 description 1
- 239000010935 stainless steel Substances 0.000 description 1
- 230000007847 structural defect Effects 0.000 description 1
- 239000000126 substance Substances 0.000 description 1
Images
Landscapes
- Physical Vapour Deposition (AREA)
- Electrodes Of Semiconductors (AREA)
Abstract
Description
本発明は、薄膜形成装置の一種のスパッタリング装置と、このスパッタリング装置を用いた成膜方法に係り、詳しくは、スパッタリング装置を用いて薄膜を形成する際に、真空槽内の露出面に堆積する薄膜の剥がれや割れによって生じるパーティクルの発生を抑制する技術に関するものである。 The present invention relates to a kind of thin film forming apparatus, a sputtering apparatus, and a film forming method using the sputtering apparatus. Specifically, when a thin film is formed using a sputtering apparatus, it is deposited on an exposed surface in a vacuum chamber. The present invention relates to a technique for suppressing generation of particles caused by peeling or cracking of a thin film.
スパッタリング装置は、対象物の表面に薄膜を作成する装置として産業の各分野で盛んに使用されている。特に、LSIを始めとする各種電子デバイスの製造では、各種導電膜や絶縁膜の作成にスパッタリング装置は多用されている。 Sputtering apparatuses are actively used in various industrial fields as apparatuses for forming a thin film on the surface of an object. In particular, in the manufacture of various electronic devices such as LSIs, sputtering apparatuses are frequently used to create various conductive films and insulating films.
スパッタリング装置において、通常ターゲットのスパッタカソードに対して、アースシールド、防着板がアノードとなる。その構成を図7に示す。図7は、従来のスパッタリング装置の構成例であり、その主要部を示す概略図である。
このスパッタリング装置50は、真空槽51を有しており、その真空槽51の内部空間にあって、上方の位置には、ターゲット52が配置されている。また、真空槽51の内部空間にあって、下方の位置には、(たとえば、真空槽51の壁面と絶縁した状態で)基板台53が取り付けられている。基板台53の内部には図示しない吸着機能を有する電極が配置されており、真空槽51内を真空排気し、基板台53上に基板58を載置し、吸着電極に電圧を印加すると、基板58は基板台53表面に静電吸着されるようになっている。
In a sputtering apparatus, an earth shield and a deposition preventing plate are usually used as an anode with respect to a target sputtering cathode. The configuration is shown in FIG. FIG. 7 is a schematic diagram showing an example of the configuration of a conventional sputtering apparatus and showing the main part thereof.
The sputtering
また、ターゲット52にはスパッタ電源61が接続されており、真空槽51は接地電位に接続されている。真空槽51内部を真空排気し、基板台53上に基板58を静電吸着した後、真空槽51内にスパッタリングガス(たとえば、混合ガス(アルゴンガス+窒素ガス))を導入し、スパッタ電源61を起動してターゲットに負電圧を印加することにより、ターゲット52表面近傍にプラズマが発生する。このプラズマ中に生じた電離したAr+ イオンがターゲット52に入射すると、ターゲット52表面からターゲット52を構成する物質がスパッタリング粒子となって飛び出す。
A sputtering
このスパッタリング装置50では、ターゲット52の周囲を囲うようにアースシールド55が設置されると共に、ターゲット52と基板台53との間に位置する空間を取り囲むように、基板台53側に下部シールド56、ターゲット52側に上部シールド57がそれぞれ配されている。このアースシールド55、下部シールド56、及び上部シールド57はアノードを構成し、何れも真空槽51と同じ電位である接地電位に置かれている。
In this
一方、基板台53には、バイアス電源59によって高周波パワーが印加されており、基板58はセルフバイアスによって負電位に置かれている。従って、プラズマ中の電子はアノードに引きつけられ、ターゲット52から飛び出した正電荷を有するスパッタリング粒子は、基板58に引きつけられる。このためスパッタリング粒子は、アノードを構成するアースシールド55、下部シールド56、及び上部シールド57の内側の空間sを飛行し、基板58の表面に到達し、基板58表面に薄膜が形成される。
そして、基板58表面に所定膜厚の薄膜が形成された後、基板58を冷却し、その後、真空槽51外に処理済の基板58を搬出し、未処理の基板58を真空槽51内に搬入するとで、薄膜形成作業を繰り返し行うことができる。
On the other hand, high frequency power is applied to the substrate stand 53 by a
Then, after a thin film having a predetermined thickness is formed on the surface of the
このような従来のスパッタリング装置50では、成膜の際、ターゲット52から放出されるスパッタ粒子は、基板58の表面のみならず、真空槽51内の露出面にも堆積することが避けられない。この露出面への薄膜の堆積が重なると、内部応力や自重によって薄膜の剥離や割れといった、所謂パーティクルが発生する。剥離した薄膜は、ある程度の大きさの微粒子となって真空槽51内を浮遊する。この微粒子が基板58に付着すると、作成される薄膜に微小な突起が形成される等の形状あるいは構造欠陥を生じさせる場合がある。
In such a
しかしながら、上述したスパッタリング装置50では、図8に矢印で示すように、スパッタ電源61を起動してターゲット52に負電圧を印加すると、スパッタ電源61から流れる電流が、ターゲット52の直近にあるアノードであるアースシールド55に殆ど流れることになる。そうすると、アースシールド55は、電流が流れることにより温度上昇が激しくなり、300℃〜400℃の高温になる。そして、成膜が終了すると、アースシールド55の温度が急激に低下する。
However, in the
ところが、ステンレスやTi(チタン)、Al(アルミニウム)等の金属からなるアースシールド55は、この成膜過程における温度上昇や温度低下によって膨張、収縮を繰り返す。ゆえに、アースシールド55に成膜された薄膜は剥がれ易く、また、硬い薄膜(硬質膜)である場合、薄膜の割れを起こしたりすることになる。その結果、従来のスパッタリング装置50では、パーティクルが大量発生するという問題があった。
However, the
また、図9に示すように、防着板を構成する上部シールドに正電圧を印加することで、基板表面に形成される薄膜のステップカバレッジを改善するように構成したスパッタリング装置も提案されている。図9は、従来のスパッタリング装置の他の構成例であり、その主要部を示す概略図である。
このスパッタリング装置70は、上述したスパッタリング装置50とは、アノードを構成するアースシールド55と下部シールド56が、真空槽51と同じ電位である接地電位に置かれている点、及び上部シールド57には、正電圧を印加する制御電源62が接続されている点で異なる以外は、同様の構成を有している(たとえば、特許文献1参照)。
Also, as shown in FIG. 9, a sputtering apparatus configured to improve the step coverage of a thin film formed on the substrate surface by applying a positive voltage to the upper shield constituting the deposition preventing plate has also been proposed. . FIG. 9 is another schematic configuration example of a conventional sputtering apparatus, and is a schematic view showing the main part thereof.
This
ところが、上述したスパッタリング装置70では、制御電源62によって上部シールド57に対して正電圧を印加した場合、図10に矢印で示すように、スパッタ電源61から流れる電流が、殆ど上部シールド57に流れてしまうことがある。そうすると、上部シールド57は、電流が流れることにより温度上昇が激しく高温になる。そして、成膜が終了すると、上部シールド57の温度が急激に低下する。したがって、この成膜過程における温度上昇や温度低下によって膨張、収縮を繰り返し、上部シールド57に成膜された薄膜は剥がれ易く、また、硬い薄膜(硬質膜)である場合、薄膜の割れを起こしたりすることになる。その結果、スパッタリング装置70の場合もまた、パーティクルが大量発生するものであった。
このように最近の半導体製造向けスパッタリング装置では、パーティクル発生の制御が非常に重要になっているが、現在までのところパーティクルを抑制することが可能な有効な手段は提案されていない。
As described above, in recent sputtering apparatuses for semiconductor production, control of particle generation is very important, but no effective means capable of suppressing particles has been proposed so far.
本発明は、上記事情に鑑みてなされたものであり、成膜過程においてアノードの温度上昇を抑制し、パーティクルの発生を抑制することが可能なスパッタリング装置を提供することを目的とする。
また、本発明は、アノードに起因したパーティクル発生を抑制し、硬い薄膜(硬質膜)であっても大量生産することが可能な成膜方法を提供することを他の目的とする。
The present invention has been made in view of the above circumstances, and an object of the present invention is to provide a sputtering apparatus capable of suppressing the temperature rise of the anode during the film forming process and suppressing the generation of particles.
Another object of the present invention is to provide a film forming method that suppresses the generation of particles due to the anode and can be mass-produced even if it is a hard thin film (hard film).
本発明の請求項1に係るスパッタリング装置は、真空槽、前記真空槽内に配されたターゲット、前記ターゲットに負電圧を印加する第一電源、前記真空槽内にあって前記ターゲットに対向して配された基板台、前記真空槽内にあって前記ターゲットと前記基板台との間に位置する空間を取り囲むように配されるアノード、及び、前記アノードに正電位を印加する第二電源、を少なくとも備えたスパッタリング装置であって、前記アノードは、前記空間のうち、前記ターゲット側の近傍に位置する第一電極、前記基板台側の近傍に位置する第二電極、及び、前記第一電極と前記第二電極との間に位置する第三電極、からなる分割構造を成し、前記第二電源は、前記アノードに対して印加する正電位を制御できるように構成されていることを特徴とする。 A sputtering apparatus according to a first aspect of the present invention includes a vacuum chamber, a target disposed in the vacuum chamber, a first power source for applying a negative voltage to the target, and in the vacuum chamber facing the target. A substrate base disposed, an anode disposed in the vacuum chamber so as to surround a space located between the target and the substrate base, and a second power source for applying a positive potential to the anode. A sputtering apparatus comprising at least a first electrode located near the target side in the space, a second electrode located near the substrate stage side, and the first electrode; A divided structure comprising a third electrode positioned between the second electrode and the second electrode is formed, and the second power source is configured to control a positive potential applied to the anode. To.
また、本発明の請求項2に係るスパッタリング装置は、請求項1に記載のスパッタリング装置において、前記第二電源が、前記アノードを構成する前記第三電極に対して正電位を印加することを特徴とする。
A sputtering apparatus according to
また、本発明の請求項3に係るスパッタリング装置は、請求項1又は2に記載のスパッタリング装置において、前記アノードを構成する前記第二電極に対して正電位を印加する第三電源を、さらに備えたことを特徴とする。
A sputtering apparatus according to
また、本発明の請求項4に係る成膜方法は、真空槽、前記真空槽内に配されたターゲット、前記ターゲットに負電圧を印加する第一電源、前記真空槽内にあって前記ターゲットに対向して配された基板台、前記真空槽内にあって前記ターゲットと前記基板台との間に位置する空間を取り囲むように配されるアノード、及び、前記アノードに正電位を印加する第二電源、を少なくとも備え、前記アノードは、前記空間のうち、前記ターゲット側の近傍に位置する第一電極、前記基板台側の近傍に位置する第二電極、及び、前記第一電極と前記第二電極との間に位置する第三電極、からなる分割構造を成し、前記第二電源は、前記アノードに対して印加する正電位を制御できるように構成されて成るスパッタリング装置を用いた成膜方法であって、前記第一電源により前記ターゲットに対して印加される電圧の絶対値をV1、及び、前記第二電源により前記アノードに対して印加される電圧の絶対値をV2、と定義した際に、V1がV2より大きい設定条件において、前記基板台に載置した基板上に硬質膜を形成することを特徴とする。 According to a fourth aspect of the present invention, there is provided a film forming method comprising: a vacuum chamber; a target disposed in the vacuum chamber; a first power source that applies a negative voltage to the target; and the target in the vacuum chamber. A substrate table disposed oppositely, an anode disposed in the vacuum chamber so as to surround a space located between the target and the substrate table, and a second that applies a positive potential to the anode A power source, wherein the anode is a first electrode located near the target side in the space, a second electrode located near the substrate stage side, and the first electrode and the second electrode Forming a film using a sputtering apparatus that has a divided structure composed of a third electrode positioned between the electrode and the second power source so that a positive potential applied to the anode can be controlled. The way When the absolute value of the voltage applied to the target by the first power source is defined as V1, and the absolute value of the voltage applied to the anode from the second power source is defined as V2, V1 is A hard film is formed on the substrate placed on the substrate table under a setting condition greater than V2.
また、本発明の請求項5に係る成膜方法は、請求項4に記載の成膜方法において、前記V2が、+2V〜+20Vであることを特徴とする。
The film forming method according to
本発明のスパッタリング装置によれば、アノードが、ターゲット側の近傍に位置する第一電極と、基板台側の近傍に位置する第二電極と、第一電極と第二電極との間に位置する第三電極とからなる分割構造を成し、アノードに対して印加する正電位を制御できるように構成され第二電源を備えている。ゆえに、第一電源から流れる電流が、分割構造を成すアノードによって分配することができ、特定の部位だけを必要以上に高温となることを抑制することができる。
したがって、成膜過程においてアノードの温度上昇を抑制し、パーティクル発生を抑制することが可能なスパッタリング装置を提供することができる。
According to the sputtering apparatus of the present invention, the anode is located between the first electrode located near the target side, the second electrode located near the substrate stage, and the first electrode and the second electrode. A divided structure composed of a third electrode is formed, and a second power supply is provided so that a positive potential applied to the anode can be controlled. Therefore, the current flowing from the first power source can be distributed by the anode having the divided structure, and it is possible to suppress the temperature of only a specific portion from becoming higher than necessary.
Therefore, it is possible to provide a sputtering apparatus capable of suppressing the temperature rise of the anode during the film formation process and suppressing the generation of particles.
また、本発明の成膜方法では、第一電源によりターゲットに対して印加される電圧の絶対値をV1、及び第二電源によりアノードに対して印加される電圧の絶対値をV2と定義した際に、V1がV2より大きい設定条件において、基板台に載置した基板上に硬質膜を形成する。ゆえに、パーティクルの発生を抑制し、真空槽内部のクリーニングする機会を頻繁に設けることなく、連続して長時間の成膜が可能となる。
したがって、本発明に係る成膜方法は、アノードに起因したパーティクル発生を抑制し、硬い薄膜(硬質膜)であっても大量生産することが可能となる。
In the film forming method of the present invention, the absolute value of the voltage applied to the target from the first power source is defined as V1, and the absolute value of the voltage applied to the anode from the second power source is defined as V2. In addition, a hard film is formed on the substrate placed on the substrate table under a setting condition where V1 is larger than V2. Therefore, it is possible to continuously form a film for a long time without suppressing generation of particles and frequently providing an opportunity to clean the inside of the vacuum chamber.
Therefore, the film forming method according to the present invention suppresses the generation of particles due to the anode, and enables mass production even for a hard thin film (hard film).
以下、本発明の一実施の形態について説明する。
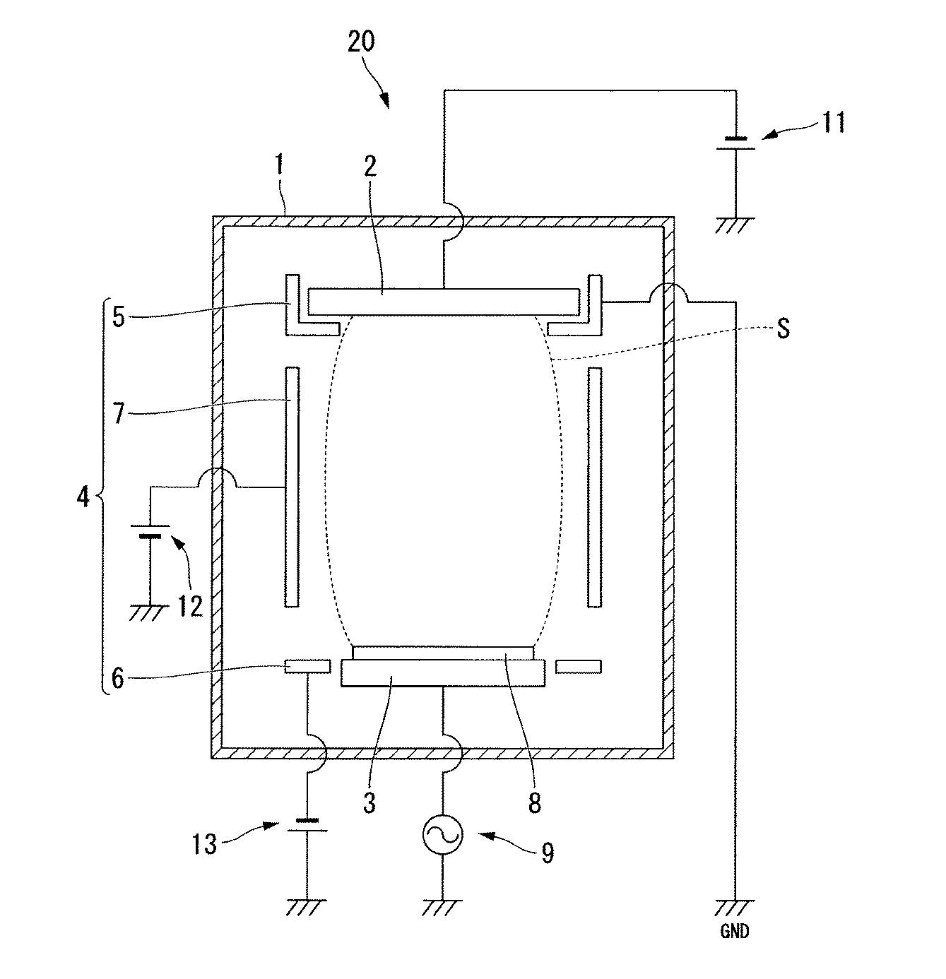
図1は、本実施の形態に係る第一スパッタリング装置の構造を示す概略図である。
本実施の形態に係るスパッタリング装置10は、真空槽1と、ターゲット2と、基板台3と、アノード4と、を少なくとも具備する。
Hereinafter, an embodiment of the present invention will be described.
FIG. 1 is a schematic view showing the structure of the first sputtering apparatus according to the present embodiment.
A
真空槽1は、気密な真空容器であり、電気的には接地電位に接続されている。ここで、接地電位に接続されているとは、グラウンド電位状態もしくはアースした状態をいう。また、図示しないが、真空槽1の底壁には排気口が形成されており、この排気口には真空ポンプが接続されている。この真空ポンプを起動し、排気口から真空槽1内部を真空排気するようになっている。 The vacuum chamber 1 is an airtight vacuum vessel and is electrically connected to the ground potential. Here, being connected to the ground potential means a ground potential state or a grounded state. Although not shown, an exhaust port is formed in the bottom wall of the vacuum chamber 1, and a vacuum pump is connected to the exhaust port. The vacuum pump is activated and the inside of the vacuum chamber 1 is evacuated from the exhaust port.
ターゲット2は、基板8の表面に作成しようとする薄膜の材料で形成されており、本実施の形態においては、たとえばTi(チタン)とすることができる。このターゲット2は、真空槽1の内部空間にあって、上方の位置(天井側の内側)に配置され、真空槽1の外部に設けられた第一電源11に接続されている。
また、第一電源11は、所謂スパッタ電源であり、スパッタリングの際にターゲット2に対して負電圧を印加するようになっている。
The
The
基板台3は、真空槽1の内部空間にあって、下方の位置に、たとえば真空槽1の壁面とは電気的に絶縁した状態で、ターゲット2に対向して配置されている。すなわち、基板台3の表面は真空槽1内に露出しており、ターゲット2に平行に対向するように配置されている。
この基板台3は、真空槽1の外部に設けられバイアス電源9に接続され、高周波パワーが印加されるようになっている。したがって、基板8はセルフバイアスによって負電位に置かれる。
また、基板台3の内部には図示しない吸着機能を有する電極が配置されており、基板台3上に基板8を載置して吸着電極に電圧を印加すると、基板8が基板台3表面に静電吸着されるようになっている。この場合、バイアス電極9に静電吸着用の電圧を印加する構成が採用できる。さらに、基板台3の内部には、ヒータ(不図示)が配置されている。
The substrate table 3 is in the internal space of the vacuum chamber 1 and is disposed at a lower position, for example, facing the
The substrate table 3 is provided outside the vacuum chamber 1 and is connected to a
In addition, an electrode having an adsorption function (not shown) is arranged inside the substrate table 3. When the substrate 8 is placed on the substrate table 3 and a voltage is applied to the adsorption electrode, the substrate 8 is placed on the surface of the substrate table 3. It is designed to be electrostatically attracted. In this case, a configuration in which a voltage for electrostatic adsorption is applied to the
アノード4は、真空槽1の内部空間にあってターゲット2と基板台3との間に位置する空間Sを取り囲むように配されている。このアノード4は、ターゲット2側の近傍に位置する第一電極5と、基板台3側の近傍に位置する第二電極6と、第一電極5と第二電極6との間に位置する第三電極7とからなる分割構造を成している。ここで、分割構造を成しているとは、所謂電気的にフローティングな状態いい、他の電極と電気的に切り離された状態をいう。
The
また、アノード4は、真空槽1の外部に設けられた第二電源12に接続されている。この第二電源12は、スパッタリングの際にアノード4に対して正電位を印加するようになっており、このアノード4に対して印加する正電位を制御できるように構成されている。
The
第一電極5は、ターゲット2の周囲を囲うように設置された、所謂、アースシールドであり、この第一電極5は接地されている。
第一電極5は、ターゲット2以外の部品がスパッタリングされることを防止する役割を果たすと共に、ターゲットの外周部における放電を防止してプラズマを安定して発生させるように設けられている。ターゲット2の周囲に第一電極5を設けると、第一電源11を介してターゲット2に負電圧を印加してプラズマを発生させた場合、ターゲット2から第一電極5へと電流が流れる。
The
The
第二電極6は、基板台3の周囲を囲うように設置された防着板(下部シールド)であり、本実施の形態において、真空槽1と同じ電位である接地電位に置かれている。
The
第三電極7は、上述したように第一電極5と第二電極6との間に位置して設置された防着板(上部シールド)であり、本実施の形態において、真空槽1の外部に設けられた第二電源12に接続され、スパッタリングの際に正電位が印加されるようになっている。
The
次に、このスパッタリング装置10を用いて基板8表面に薄膜を形成する工程を説明する。
まず、真空槽1内を真空排気し、その内部が所定圧力になった後、真空槽1内に基板8を搬入し、基板台3上に載置する。
次いで、基板台3の内部に配置した吸着電極に電圧を印加すると、基板8は基板台3表面に静電吸着される。その際、基板台3内部のヒータに通電して発熱させ、基板8を昇温させる。
Next, a process of forming a thin film on the surface of the substrate 8 using the
First, the inside of the vacuum chamber 1 is evacuated, and after the inside reaches a predetermined pressure, the substrate 8 is carried into the vacuum chamber 1 and placed on the substrate table 3.
Next, when a voltage is applied to the attracting electrode disposed inside the substrate table 3, the substrate 8 is electrostatically attracted to the surface of the substrate table 3. At that time, the heater inside the substrate table 3 is energized to generate heat, and the substrate 8 is heated.
そして、基板8が所定温度に昇温したところで、真空槽1内に、たとえばAr(アルゴン)ガスとH2 (窒素)ガスとを混合したスパッタリングガスを導入し、第一電源11とバイアス電源9を起動し、ターゲット2に負電圧を、基板台3に高周波パワーを、それぞれ印加する。これにより、ターゲット2表面近傍にスパッタリングガスのプラズマが発生し、ターゲット2表面がスパッタリングされる。
Then, when the substrate 8 is heated to a predetermined temperature, for example, a sputtering gas in which Ar (argon) gas and H 2 (nitrogen) gas are mixed is introduced into the vacuum chamber 1, and the
このプラズマ中に生じた電離したAr+ イオンがターゲット2に入射すると、ターゲット2表面からターゲット2を構成する物質がスパッタリング粒子となって飛び出す。スパッタリング粒子は正電荷を有しているので、ターゲット2から飛び出したスパッタリング粒子は、負電位に置かれた基板8に引きつけられ、アノード4の内側の空間Sを飛行して多量のスパッタリング粒子が基板8表面に垂直に入射する。これにより、基板8表面には薄膜が形成される。
When ionized Ar + ions generated in the plasma enter the
本実施の形態においてターゲット2は、たとえばTi(チタン)で構成されており、ターゲット2表面からはTi粒子がスパッタリング粒子となって飛び出し、ターゲット2の表面近傍には、電子とスパッタリング粒子のプラズマが形成される。この状態でスパッタリングガスの導入を停止すると、プラズマ中のスパッタリング粒子によってターゲット2がスパッタリングされる。
In the present embodiment, the
すなわち、第一電源11によりターゲット2に対して印加される電圧の絶対値をV1、及び第二電源12によりアノード4に対して印加される電圧の絶対値をV2と定義した際に、V1がV2より大きい設定条件において、基板台3に載置した基板8上に硬質膜、たとえば窒化チタン(TiN)膜を形成する。
That is, when the absolute value of the voltage applied to the
また、スパッタリングを開始する際に、第二電源12を起動し、アノード4を構成する第三電極7に正電圧を印加しておくと、プラズマ中の電子は、第一電極5だけでなく、第三電極7にも引きつけられる。
Moreover, when starting the sputtering, if the
以上のように本実施の形態においては、第三電極7部分をフローティング構造にして、第二電源12を接続するので、第二電源12によって第三電極7に正電圧を印加し、適切な電位をかけると、第一電源11から流れ出た電流が第一電極5と第三電極7とに分配され、第一電極5が必要以上に高温となることを抑制することができる。
したがって、アノードに対して印加する正電位を制御し、アノードの電流値を制御して各電極への電流値を分配することで、各電極の温度上昇を最小にすることができるので、第一電極5や第三電極7の表面にパーティクルが発生するのを抑制することができる。
As described above, in the present embodiment, since the
Therefore, by controlling the positive potential applied to the anode and controlling the current value of the anode to distribute the current value to each electrode, the temperature rise of each electrode can be minimized. Generation of particles on the surfaces of the
そして、このようにターゲット2のスパッタリングを行い、基板8表面に所定膜厚の硬質の薄膜(ここではTiN薄膜)が形成された後、第一電源11、バイアス電源9、及び第二電源12を停止させ、スパッタリングを終了させ、基板台3内部のヒータへの通電を終了させると共に、基板8を冷却する。
その後、基板8の温度が所定温度まで低下したら、処理済の基板8を真空槽1外部に搬出し、未処理の基板8を搬入し、上記と同じ工程によってスパッタリングを行う。
Then, after sputtering the
Thereafter, when the temperature of the substrate 8 is lowered to a predetermined temperature, the processed substrate 8 is carried out of the vacuum chamber 1, the untreated substrate 8 is carried in, and sputtering is performed by the same process as described above.
<第2の実施の形態>
また、本発明では、図5に示すように、複数のアノードに対して正電位を個々に印加する構成のスパッタリング装置20とすることもできる。
図5は、本実施の形態に係る第二スパッタリング装置の構造を示す概略図である。
以下、本発明の第2の実施の形態について説明する。なお、本実施の形態においては、上記第1の実施の形態と同様の構成部分の説明は省略し、特に説明しない限り同じであるものとする。
図5に示すように、本実施の形態に係るスパッタリング装置20は、真空槽1と、ターゲット2と、基板台3と、アノード4と、を具備すると共に、第二電極6に対して正電位を印加する第三電源13をさらに備える。
<Second Embodiment>
Moreover, in this invention, as shown in FIG. 5, it can also be set as the sputtering
FIG. 5 is a schematic view showing the structure of the second sputtering apparatus according to the present embodiment.
Hereinafter, a second embodiment of the present invention will be described. In the present embodiment, the description of the same components as those in the first embodiment is omitted, and is the same unless otherwise described.
As shown in FIG. 5, the
すなわち、アノード4は、ターゲット2側の近傍に位置する第一電極5と、基板台3側の近傍に位置する第二電極6と、第一電極5と第二電極6との間に位置する第三電極7とからなる分割構造を成しており、第三電極7は、真空槽1の外部に設けられた第二電源12に接続されていると共に、第二電極6が、真空槽1の外部に設けられた第三電源13に接続されている。なお、第一電極5は、接地電位に置かれている。
That is, the
以上のように本実施の形態においては、第三電極7部分をフローティング構造にして、第二電源12を接続すると共に、第二電極6部分もフローティング構造にして、第三電源13に接続する。ゆえに、第二電源12によって第三電極7に正電圧を印加し、適切な電位をかけると共に、第三電源13によって第二電極6に正電圧を印加し、適切な電位をかけると、第一電源11から流れ出た電流が、第一電極5と第二電極6と第三電極7とに分配され、第一電極5が必要以上に高温となることを抑制することができる。
したがって、アノードに対して印加する正電位を制御し、アノードの電流値を制御して各電極への電流値を分配することで、各電極の温度上昇を最小にすることができるので、第一電極5や第二電極6、及び第三電極7の表面にパーティクルが発生するのを抑制することができる。
As described above, in the present embodiment, the
Therefore, by controlling the positive potential applied to the anode and controlling the current value of the anode to distribute the current value to each electrode, the temperature rise of each electrode can be minimized. Generation of particles on the surfaces of the
次に、第二電源のアノードに対する正電位の印加の制御により、どの程度パーティクルの発生が抑制されたかを確認するため、上述した第一スパッタリング装置を用いて第三電極に対して印加する電圧値を変えて、基板上に硬質膜(=TiN膜)が30nm成膜された時のパーティクル径が0.2μm以上のパーティクル量と処理(成膜)した基板枚数とをそれぞれ測定した。この際、第三電極に対して印加する第二電源の電圧は、表2に示すとおり0V、50V、及び10Vの各電圧値とした。成膜基板枚数と、このときのパーティクル量は表1に示すとおりである。 Next, in order to confirm how much the generation of particles is suppressed by controlling the application of the positive potential to the anode of the second power source, the voltage value applied to the third electrode using the first sputtering device described above. And the amount of particles having a particle diameter of 0.2 μm or more and the number of processed (deposited) substrates when a hard film (= TiN film) of 30 nm was formed on the substrate were measured. At this time, the voltage of the second power source applied to the third electrode was set to 0V, 50V, and 10V as shown in Table 2. The number of deposition substrates and the amount of particles at this time are as shown in Table 1.
また、この際の成膜実験は、いずれの電圧値の場合も以下の条件により行われた。
ターゲットがTi、第一電源の印加パワーが18kW、バイアス電源の印加パワーが13.56MHz,750W、導入ガスがAr(アルゴン)ガス8sccmとN2 (窒素)ガス40sccmの混合ガス、基板温度が250℃とした。
そして、その結果を図3に示す。図3は、第二電源により印加される電圧を変更して[GND(0V)、10V、50V]、成膜した基板枚数(「成膜基板枚数」とも呼ぶ)とパーティクル量との関係を示す図である。
In addition, the film formation experiment at this time was performed under the following conditions for any voltage value.
The target is Ti, the applied power of the first power source is 18 kW, the applied power of the bias power source is 13.56 MHz, 750 W, the introduced gas is a mixed gas of 8 sccm of Ar (argon) gas and 40 sccm of N 2 (nitrogen) gas, and the substrate temperature is 250 C.
The results are shown in FIG. FIG. 3 shows the relationship between the number of deposited substrates (also called “number of deposited substrates”) and the amount of particles by changing the voltage applied by the second power source [GND (0 V), 10 V, 50 V]. FIG.
表1及び図3から分かるように、第三電極に対して印加する電圧値が0の場合、第一電源から流れ出た電流が殆ど第一電極に流れるため、第一電極の温度が異常上昇してデポジション膜が割れを発生して75枚成膜したところでパーティクル量が増加した。このパーティクル量の増加は、第一電極に大きなスパッタ電流が流れることにより、第一電極に付着した硬質膜(=TiN膜)が第一電極の温度変動により膜割れを起こし、パーティクルを発生したものである。
また、第三電極に対して印加する電圧値が+50Vの場合、第一電源から流れ出た電流が殆ど第三電極に流れるため、第三電極の温度が異常上昇してデポジション膜が割れを発生して200枚成膜したところでパーティクル量が増加した。このパーティクル量の増加は、第三電極に大きなスパッタ電流が流れることにより、第三電極に付着した硬質膜(=TiN膜)が第三電極の温度変動により膜割れを起こし、パーティクルを発生したものである。
ところが、第三電極に対して印加する電圧値を+10Vに制御した場合、第一電源から流れ出た電流が第一電極と第三電極に分配して流れるため、第一電極と第三電極の温度上昇が抑制され、400枚成膜したがパーティクル量が抑制された。
As can be seen from Table 1 and FIG. 3, when the voltage value applied to the third electrode is 0, the current flowing from the first power source almost flows into the first electrode, so the temperature of the first electrode rises abnormally. As a result, the deposition film cracked, and when 75 films were formed, the amount of particles increased. This increase in the amount of particles is due to the fact that a large sputter current flows through the first electrode, causing the hard film (= TiN film) attached to the first electrode to crack due to temperature fluctuations of the first electrode and generate particles. It is.
In addition, when the voltage applied to the third electrode is + 50V, almost all of the current flowing from the first power source flows to the third electrode, so the temperature of the third electrode rises abnormally and the deposition film is cracked. Then, the amount of particles increased when 200 sheets were formed. This increase in the amount of particles is caused by the fact that a large sputter current flows through the third electrode, causing the hard film (= TiN film) attached to the third electrode to crack due to the temperature fluctuation of the third electrode and generate particles. It is.
However, when the voltage value applied to the third electrode is controlled to +10 V, the current flowing from the first power source is distributed and flows to the first electrode and the third electrode, so the temperature of the first electrode and the third electrode The rise was suppressed, and 400 films were formed, but the amount of particles was suppressed.
これより、第三電極に対して正電位を印加し、この印加する正電位を適切に制御することで、第一電源からアノードに流れるスパッタ電流は第一電極と第三電極とに分配して流れ、各電極の温度変動が小さく付着した硬質膜(=TiN膜)の膜割れを引き起こさず、パーティクルの発生が抑制されることが分かる。 Thus, by applying a positive potential to the third electrode and appropriately controlling the applied positive potential, the sputtering current flowing from the first power source to the anode is distributed to the first electrode and the third electrode. It can be seen that the generation of particles is suppressed without causing film cracking of the hard film (= TiN film) attached with small flow fluctuations of the electrodes.
また、第二電源によるアノードに対する正電位の印加により、第一電源からアノードに流れる電流がどのように変化したかを確認するため、第二電源によって第三電極に正電圧を印加し、上述した第一スパッタリング装置を用いて第一電源及び第二電源のVI特性を測定した。この際、アノードに対して印加する第二電源の電圧は、表1に示すとおり0V〜100Vまで可変した各電圧値とした。このときの第一電源の電圧値と電流値、及び第二電源の電流値は表2に示すとおりである。
そして、その結果を図4に示す。図4は、第二電源の電圧制御による、第一電源の電圧と電流、及び第二電源の電流のVI特性を示す図である。
In addition, in order to confirm how the current flowing from the first power source to the anode changed due to the application of a positive potential to the anode by the second power source, a positive voltage was applied to the third electrode by the second power source, as described above. The VI characteristics of the first power source and the second power source were measured using the first sputtering apparatus. At this time, the voltage of the second power source applied to the anode was set to each voltage value varied from 0 V to 100 V as shown in Table 1. The voltage value and current value of the first power source and the current value of the second power source at this time are as shown in Table 2.
The results are shown in FIG. FIG. 4 is a diagram illustrating VI characteristics of the voltage and current of the first power source and the current of the second power source by voltage control of the second power source.
表2及び図4から分かるように、第三電極に対して印加する第二電源の電圧値が0(すなわち接地電位)の場合、第三電極には6.0Aの電流が流れる。したがって、第一電極には、第一電源の電流値である35.5Aとの差の29.5Aが流れる。一方、第三電極に対して印加する電圧値を+10Vにした場合、第三電極には23.5Aの電流が流れる。したがって、第一電極には第一電源の電流値である35.9Aとの差の12.4Aが流れる。ところが、第三電極に対して印加する第二電源の電圧値が+30Vの場合、第三電極には37.6Aの電流が流れる。したがって、第一電極には電流が殆ど流れない状態となる。 As can be seen from Table 2 and FIG. 4, when the voltage value of the second power source applied to the third electrode is 0 (that is, the ground potential), a current of 6.0 A flows through the third electrode. Therefore, 29.5 A of the difference from 35.5 A which is the current value of the first power source flows through the first electrode. On the other hand, when the voltage value applied to the third electrode is +10 V, a current of 23.5 A flows through the third electrode. Therefore, 12.4 A, which is the difference from 35.9 A, which is the current value of the first power source, flows through the first electrode. However, when the voltage value of the second power source applied to the third electrode is +30 V, a current of 37.6 A flows through the third electrode. Therefore, almost no current flows through the first electrode.
これより、第三電極に対して正電位を印加し、この印加する正電位を適切に制御することで、第一電源からアノードに流れる電流は第一電極と第三電極に分配して流れることが分かる。しかも、第三電極に対して印加する第二電源の電圧値は、+2V〜+20Vに制御されると望ましいことが分かる。 Thus, by applying a positive potential to the third electrode and appropriately controlling the applied positive potential, the current flowing from the first power source to the anode can be distributed to the first electrode and the third electrode. I understand. Moreover, it can be seen that the voltage value of the second power source applied to the third electrode is preferably controlled to + 2V to + 20V.
なお、本実施の形態では、第二電源の電圧制御によってアノードに流れる電流を分配するものとしたが、本発明はこれに限定せず、第二電源の電流制御によってアノードに流れる電流を分配するものとしても良い。 In this embodiment, the current flowing to the anode is distributed by the voltage control of the second power supply. However, the present invention is not limited to this, and the current flowing to the anode is distributed by the current control of the second power supply. It is good as a thing.
S 空間、1 真空槽、2 ターゲット、3 基板台、4 アノード、5 第一電極(アースシールド)、6 第二電極(下部シールド)、7 第三電極(上部シールド)、8 基板、9 バイアス電源、10,20 スパッタリング装置、11 第一電源、12 第二電源、13 第三電源。
S space, 1 vacuum chamber, 2 target, 3 substrate stand, 4 anode, 5 first electrode (earth shield), 6 second electrode (lower shield), 7 third electrode (upper shield), 8 substrate, 9
Claims (5)
前記アノードは、前記空間のうち、前記ターゲット側の近傍に位置する第一電極、前記基板台側の近傍に位置する第二電極、及び、前記第一電極と前記第二電極との間に位置する第三電極、からなる分割構造を成し、
前記第二電源は、前記アノードに対して印加する正電位を制御できるように構成されていることを特徴とするスパッタリング装置。 A vacuum chamber, a target disposed in the vacuum chamber, a first power source for applying a negative voltage to the target, a substrate table disposed in the vacuum chamber and facing the target, and in the vacuum chamber. A sputtering apparatus comprising at least an anode disposed so as to surround a space located between the target and the substrate stage, and a second power source that applies a positive potential to the anode,
The anode is a first electrode located in the vicinity of the target side in the space, a second electrode located in the vicinity of the substrate stage side, and a position between the first electrode and the second electrode. A divided structure consisting of a third electrode,
The sputtering apparatus, wherein the second power source is configured to control a positive potential applied to the anode.
前記第一電源により前記ターゲットに対して印加される電圧の絶対値をV1、及び、前記第二電源により前記アノードに対して印加される電圧の絶対値をV2、と定義した際に、V1がV2より大きい設定条件において、前記基板台に載置した基板上に硬質膜を形成することを特徴とする成膜方法。 A vacuum chamber, a target disposed in the vacuum chamber, a first power source for applying a negative voltage to the target, a substrate table disposed in the vacuum chamber and facing the target, and in the vacuum chamber. And at least an anode disposed so as to surround a space located between the target and the substrate stage, and a second power source that applies a positive potential to the anode, A divided structure including a first electrode located near the target side, a second electrode located near the substrate stage side, and a third electrode located between the first electrode and the second electrode The second power source is a film forming method using a sputtering apparatus configured to control a positive potential applied to the anode,
When the absolute value of the voltage applied to the target by the first power source is defined as V1, and the absolute value of the voltage applied to the anode from the second power source is defined as V2, V1 is A film forming method, comprising: forming a hard film on a substrate placed on the substrate table under a setting condition greater than V2.
Priority Applications (1)
| Application Number | Priority Date | Filing Date | Title |
|---|---|---|---|
| JP2008262597A JP2010090445A (en) | 2008-10-09 | 2008-10-09 | Sputtering system and film deposition method |
Applications Claiming Priority (1)
| Application Number | Priority Date | Filing Date | Title |
|---|---|---|---|
| JP2008262597A JP2010090445A (en) | 2008-10-09 | 2008-10-09 | Sputtering system and film deposition method |
Publications (1)
| Publication Number | Publication Date |
|---|---|
| JP2010090445A true JP2010090445A (en) | 2010-04-22 |
Family
ID=42253432
Family Applications (1)
| Application Number | Title | Priority Date | Filing Date |
|---|---|---|---|
| JP2008262597A Pending JP2010090445A (en) | 2008-10-09 | 2008-10-09 | Sputtering system and film deposition method |
Country Status (1)
| Country | Link |
|---|---|
| JP (1) | JP2010090445A (en) |
Cited By (4)
| Publication number | Priority date | Publication date | Assignee | Title |
|---|---|---|---|---|
| CN103343324A (en) * | 2013-07-04 | 2013-10-09 | 深圳先进技术研究院 | Magnetron sputtering equipment |
| CN108770176A (en) * | 2018-08-06 | 2018-11-06 | 法德(浙江)机械科技有限公司 | A kind of high line direct current hollow cathode source of large size low-voltage high-efficiency |
| JP2018536768A (en) * | 2015-12-09 | 2018-12-13 | アプライド マテリアルズ インコーポレイテッドApplied Materials,Incorporated | System configured for sputter deposition on a substrate, shield apparatus for a sputter deposition chamber, and method of providing an electrical shield in a sputter deposition chamber |
| WO2022181434A1 (en) * | 2021-02-26 | 2022-09-01 | 株式会社フルヤ金属 | Powder surface film-forming device and method for manufacturing coated powder |
Citations (4)
| Publication number | Priority date | Publication date | Assignee | Title |
|---|---|---|---|---|
| JPH11176821A (en) * | 1997-12-08 | 1999-07-02 | Toshiba Corp | Film forming apparatus and film forming method |
| JP2000188265A (en) * | 1998-12-22 | 2000-07-04 | Hitachi Ltd | Sputtering apparatus and sputtering method |
| JP2002129320A (en) * | 2000-10-24 | 2002-05-09 | Ulvac Japan Ltd | Method and apparatus for sputtering |
| JP2005139479A (en) * | 2003-11-04 | 2005-06-02 | Ulvac Japan Ltd | Sputtering apparatus |
-
2008
- 2008-10-09 JP JP2008262597A patent/JP2010090445A/en active Pending
Patent Citations (4)
| Publication number | Priority date | Publication date | Assignee | Title |
|---|---|---|---|---|
| JPH11176821A (en) * | 1997-12-08 | 1999-07-02 | Toshiba Corp | Film forming apparatus and film forming method |
| JP2000188265A (en) * | 1998-12-22 | 2000-07-04 | Hitachi Ltd | Sputtering apparatus and sputtering method |
| JP2002129320A (en) * | 2000-10-24 | 2002-05-09 | Ulvac Japan Ltd | Method and apparatus for sputtering |
| JP2005139479A (en) * | 2003-11-04 | 2005-06-02 | Ulvac Japan Ltd | Sputtering apparatus |
Cited By (7)
| Publication number | Priority date | Publication date | Assignee | Title |
|---|---|---|---|---|
| CN103343324A (en) * | 2013-07-04 | 2013-10-09 | 深圳先进技术研究院 | Magnetron sputtering equipment |
| CN103343324B (en) * | 2013-07-04 | 2016-04-20 | 深圳先进技术研究院 | Magnetron sputtering equipment |
| JP2018536768A (en) * | 2015-12-09 | 2018-12-13 | アプライド マテリアルズ インコーポレイテッドApplied Materials,Incorporated | System configured for sputter deposition on a substrate, shield apparatus for a sputter deposition chamber, and method of providing an electrical shield in a sputter deposition chamber |
| CN108770176A (en) * | 2018-08-06 | 2018-11-06 | 法德(浙江)机械科技有限公司 | A kind of high line direct current hollow cathode source of large size low-voltage high-efficiency |
| CN108770176B (en) * | 2018-08-06 | 2023-11-17 | 法德(浙江)机械科技有限公司 | Large-scale low-voltage high-efficiency Gao Shu direct-current hollow cathode source |
| WO2022181434A1 (en) * | 2021-02-26 | 2022-09-01 | 株式会社フルヤ金属 | Powder surface film-forming device and method for manufacturing coated powder |
| JP2022131218A (en) * | 2021-02-26 | 2022-09-07 | 株式会社フルヤ金属 | Powder surface film deposition apparatus and method of manufacturing coated powder |
Similar Documents
| Publication | Publication Date | Title |
|---|---|---|
| TWI460786B (en) | A plasma processing apparatus, a plasma processing method, and a memory medium | |
| JP5231038B2 (en) | Plasma processing apparatus, plasma processing method, and storage medium | |
| US8133362B2 (en) | Physical vapor deposition with multi-point clamp | |
| JP4838736B2 (en) | Plasma processing equipment | |
| KR100886273B1 (en) | Plasma processing apparatus and plasma processing method | |
| CN107250425B (en) | Automatic Capacitance Regulator Current Compensation Controlling One or More Membrane Properties by Target Lifetime | |
| KR20020005512A (en) | Biased shield in a magnetron sputter reactor | |
| US20110209985A1 (en) | Physical Vapor Deposition With Heat Diffuser | |
| JP5405504B2 (en) | Plasma processing apparatus and plasma processing method | |
| JP4945566B2 (en) | Capacitively coupled magnetic neutral plasma sputtering system | |
| JPH10330938A (en) | Ionized sputtering apparatus and ionized sputtering method | |
| JP5951324B2 (en) | Plasma processing equipment | |
| JP5461690B2 (en) | Sputtering apparatus and sputtering method | |
| JP5674280B2 (en) | Plasma processing equipment | |
| KR20160074397A (en) | Plasma etching method | |
| JP2010090445A (en) | Sputtering system and film deposition method | |
| JP5525504B2 (en) | Plasma processing method and plasma processing apparatus | |
| US20110209989A1 (en) | Physical vapor deposition with insulated clamp | |
| WO2013099044A1 (en) | Ion beam processing device and neutralizer | |
| JP2007197840A (en) | Ionized sputtering equipment | |
| JP7158308B2 (en) | Plasma processing apparatus and plasma processing method | |
| JP6088780B2 (en) | Plasma processing method and plasma processing apparatus | |
| JP2021027176A (en) | Plasma processing apparatus | |
| JP2016096342A (en) | Plasma processing device | |
| JP2020063498A (en) | Film deposition method for tungsten film |
Legal Events
| Date | Code | Title | Description |
|---|---|---|---|
| A621 | Written request for application examination |
Free format text: JAPANESE INTERMEDIATE CODE: A621 Effective date: 20110524 |
|
| A977 | Report on retrieval |
Free format text: JAPANESE INTERMEDIATE CODE: A971007 Effective date: 20120910 |
|
| A131 | Notification of reasons for refusal |
Effective date: 20121002 Free format text: JAPANESE INTERMEDIATE CODE: A131 |
|
| A02 | Decision of refusal |
Free format text: JAPANESE INTERMEDIATE CODE: A02 Effective date: 20130305 |
