JP2010077022A - Group iii nitride crystal substrate, method for producing the same, and group iii nitride semiconductor device - Google Patents
Group iii nitride crystal substrate, method for producing the same, and group iii nitride semiconductor device Download PDFInfo
- Publication number
- JP2010077022A JP2010077022A JP2009271689A JP2009271689A JP2010077022A JP 2010077022 A JP2010077022 A JP 2010077022A JP 2009271689 A JP2009271689 A JP 2009271689A JP 2009271689 A JP2009271689 A JP 2009271689A JP 2010077022 A JP2010077022 A JP 2010077022A
- Authority
- JP
- Japan
- Prior art keywords
- group iii
- containing material
- iii nitride
- nitride crystal
- alkali metal
- Prior art date
- Legal status (The legal status is an assumption and is not a legal conclusion. Google has not performed a legal analysis and makes no representation as to the accuracy of the status listed.)
- Pending
Links
- 239000013078 crystal Substances 0.000 title claims abstract description 213
- 150000004767 nitrides Chemical class 0.000 title claims abstract description 133
- 239000000758 substrate Substances 0.000 title claims abstract description 89
- 238000004519 manufacturing process Methods 0.000 title claims abstract description 24
- 239000004065 semiconductor Substances 0.000 title claims abstract description 16
- IJGRMHOSHXDMSA-UHFFFAOYSA-N Atomic nitrogen Chemical compound N#N IJGRMHOSHXDMSA-UHFFFAOYSA-N 0.000 claims abstract description 202
- 229910052783 alkali metal Inorganic materials 0.000 claims abstract description 122
- 150000001340 alkali metals Chemical class 0.000 claims abstract description 122
- 238000006243 chemical reaction Methods 0.000 claims abstract description 106
- 229910052757 nitrogen Inorganic materials 0.000 claims abstract description 101
- 239000000155 melt Substances 0.000 claims abstract description 66
- 239000000463 material Substances 0.000 claims description 195
- QVGXLLKOCUKJST-UHFFFAOYSA-N atomic oxygen Chemical compound [O] QVGXLLKOCUKJST-UHFFFAOYSA-N 0.000 claims description 39
- 239000001301 oxygen Substances 0.000 claims description 39
- 229910052760 oxygen Inorganic materials 0.000 claims description 39
- 239000003513 alkali Substances 0.000 claims description 20
- 238000010521 absorption reaction Methods 0.000 claims description 15
- QJGQUHMNIGDVPM-UHFFFAOYSA-N nitrogen group Chemical group [N] QJGQUHMNIGDVPM-UHFFFAOYSA-N 0.000 claims description 5
- 230000031700 light absorption Effects 0.000 abstract description 16
- 239000000126 substance Substances 0.000 abstract description 7
- 229910052751 metal Inorganic materials 0.000 description 32
- 239000002184 metal Substances 0.000 description 32
- 238000001035 drying Methods 0.000 description 24
- 239000007789 gas Substances 0.000 description 24
- XLYOFNOQVPJJNP-UHFFFAOYSA-N water Substances O XLYOFNOQVPJJNP-UHFFFAOYSA-N 0.000 description 21
- 239000011261 inert gas Substances 0.000 description 18
- 238000000034 method Methods 0.000 description 15
- 239000007788 liquid Substances 0.000 description 12
- 238000001816 cooling Methods 0.000 description 8
- 230000018044 dehydration Effects 0.000 description 6
- 238000006297 dehydration reaction Methods 0.000 description 6
- 238000010586 diagram Methods 0.000 description 6
- 238000006392 deoxygenation reaction Methods 0.000 description 5
- 230000003647 oxidation Effects 0.000 description 5
- 238000007254 oxidation reaction Methods 0.000 description 5
- 125000004430 oxygen atom Chemical group O* 0.000 description 5
- JMASRVWKEDWRBT-UHFFFAOYSA-N Gallium nitride Chemical compound [Ga]#N JMASRVWKEDWRBT-UHFFFAOYSA-N 0.000 description 4
- 230000000052 comparative effect Effects 0.000 description 4
- 230000001737 promoting effect Effects 0.000 description 4
- 238000003860 storage Methods 0.000 description 4
- 125000004429 atom Chemical group 0.000 description 3
- 150000002500 ions Chemical class 0.000 description 3
- 229910001338 liquidmetal Inorganic materials 0.000 description 3
- 238000007726 management method Methods 0.000 description 3
- 238000002156 mixing Methods 0.000 description 3
- 238000005498 polishing Methods 0.000 description 3
- 229910052594 sapphire Inorganic materials 0.000 description 3
- 239000010980 sapphire Substances 0.000 description 3
- 229910018072 Al 2 O 3 Inorganic materials 0.000 description 2
- 150000001875 compounds Chemical class 0.000 description 2
- 239000002019 doping agent Substances 0.000 description 2
- 238000007716 flux method Methods 0.000 description 2
- 238000002248 hydride vapour-phase epitaxy Methods 0.000 description 2
- 238000005086 pumping Methods 0.000 description 2
- 238000010926 purge Methods 0.000 description 2
- 238000001004 secondary ion mass spectrometry Methods 0.000 description 2
- RYGMFSIKBFXOCR-UHFFFAOYSA-N Copper Chemical compound [Cu] RYGMFSIKBFXOCR-UHFFFAOYSA-N 0.000 description 1
- 229910001218 Gallium arsenide Inorganic materials 0.000 description 1
- 101000905241 Mus musculus Heart- and neural crest derivatives-expressed protein 1 Proteins 0.000 description 1
- 239000003795 chemical substances by application Substances 0.000 description 1
- 238000005229 chemical vapour deposition Methods 0.000 description 1
- 229910052802 copper Inorganic materials 0.000 description 1
- 239000010949 copper Substances 0.000 description 1
- 238000002109 crystal growth method Methods 0.000 description 1
- 238000005520 cutting process Methods 0.000 description 1
- 238000000354 decomposition reaction Methods 0.000 description 1
- 230000007423 decrease Effects 0.000 description 1
- 239000012024 dehydrating agents Substances 0.000 description 1
- 238000003795 desorption Methods 0.000 description 1
- 230000004907 flux Effects 0.000 description 1
- 229910052733 gallium Inorganic materials 0.000 description 1
- 238000010438 heat treatment Methods 0.000 description 1
- 238000010348 incorporation Methods 0.000 description 1
- 238000005259 measurement Methods 0.000 description 1
- 238000002844 melting Methods 0.000 description 1
- 230000008018 melting Effects 0.000 description 1
- -1 metal Ga Chemical class 0.000 description 1
- 150000002739 metals Chemical class 0.000 description 1
- 230000004048 modification Effects 0.000 description 1
- 238000012986 modification Methods 0.000 description 1
- 239000002808 molecular sieve Substances 0.000 description 1
- 125000004433 nitrogen atom Chemical group N* 0.000 description 1
- 229910017464 nitrogen compound Inorganic materials 0.000 description 1
- 150000002830 nitrogen compounds Chemical class 0.000 description 1
- 238000005192 partition Methods 0.000 description 1
- URGAHOPLAPQHLN-UHFFFAOYSA-N sodium aluminosilicate Chemical compound [Na+].[Al+3].[O-][Si]([O-])=O.[O-][Si]([O-])=O URGAHOPLAPQHLN-UHFFFAOYSA-N 0.000 description 1
- 239000007787 solid Substances 0.000 description 1
- 230000002463 transducing effect Effects 0.000 description 1
- 239000012808 vapor phase Substances 0.000 description 1
Images
Landscapes
- Led Devices (AREA)
- Crystals, And After-Treatments Of Crystals (AREA)
Abstract
【課題】光の吸収係数の小さいIII族窒化物結晶基板およびその製造方法ならびにIII族窒化物半導体デバイスを提供する。
【解決手段】反応容器51内にアルカリ金属元素含有物1と、III族元素含有物2と、窒素元素含有物3とを導入する工程と、反応容器51内に少なくともアルカリ金属元素、III族元素および窒素元素を含有する融液5を形成する工程と、融液5からIII族窒化物結晶6を成長させる工程とを含み、融液5からIII族窒化物結晶6を成長させる工程において、III族窒化物結晶の成長温度を880℃以上とする。
【選択図】図2A group III nitride crystal substrate having a small light absorption coefficient, a method of manufacturing the same, and a group III nitride semiconductor device are provided.
SOLUTION: A step of introducing an alkali metal element-containing substance 1, a group III element-containing substance 2, and a nitrogen element-containing substance 3 into a reaction vessel 51; and at least an alkali metal element and a group III element in the reaction vessel 51 And a step of growing a group III nitride crystal 6 from the melt 5, and a step of growing the group III nitride crystal 6 from the melt 5. The growth temperature of the group nitride crystal is set to 880 ° C. or higher.
[Selection] Figure 2
Description
本発明は、アルカリ金属元素、III族元素および窒素元素を含有する融液からIII族窒化物結晶を成長させて得られるIII族窒化物結晶基板およびその製造方法に関し、さらにこのIII族窒化物結晶基板に少なくとも1のIII族窒化物結晶層が形成されたIII族窒化物半導体デバイスに関する。 The present invention relates to a group III nitride crystal substrate obtained by growing a group III nitride crystal from a melt containing an alkali metal element, a group III element and a nitrogen element, and a method for producing the group III nitride crystal. The present invention relates to a group III nitride semiconductor device in which at least one group III nitride crystal layer is formed on a substrate.
発光ダイオード(Light Emitting Diode;以下LEDという)またはレーザダイオード(Laser Diode;以下LDという)などの半導体デバイスの基板として、サファイア基板、GaN基板などが用いられている。 As a substrate of a semiconductor device such as a light emitting diode (hereinafter referred to as LED) or a laser diode (hereinafter referred to as LD), a sapphire substrate, a GaN substrate, or the like is used.
しかし、サファイア基板は絶縁性が高いため、サファイア基板の裏面(基板上に発光層を有する半導体層が形成されていない面をいう、以下同じ)に電極を設けることができないため、サファイア基板上に形成した半導体層上にp側電極だけでなくn側電極までも形成する必要があり、電流が厚みの小さい半導体層を通過することにより発光デバイスの駆動電圧が高くなるという問題点があった。 However, since the sapphire substrate has high insulating properties, an electrode cannot be provided on the back surface of the sapphire substrate (referred to as a surface where a semiconductor layer having a light emitting layer is not formed on the substrate, hereinafter the same). It is necessary to form not only the p-side electrode but also the n-side electrode on the formed semiconductor layer, and there is a problem that the driving voltage of the light emitting device is increased by passing the current through the semiconductor layer having a small thickness.
これに対して、GaN基板は、GaN基板の裏面にも電極を設けることができるため、発光デバイスの駆動電圧を低減することができるが、サファイア基板に比べて光の吸収係数が大きく、LEDなどにおいて発光の一部がGaN基板に吸収され、発光強度を低下させるという問題があった。この問題を解決するため、HVPE(Hydride Vapor Phase Epitaxy;ハイドライド気相成長法)法などの気相法により、透明度が高く、光の吸収係数の小さいGaN結晶基板の製造方法およびその製造方法によって得られるGaN結晶基板が提案されているが、そのGaN結晶基板の光吸収係数も十分小さなものではなかった(たとえば、特許文献1を参照)。 On the other hand, since the GaN substrate can be provided with an electrode on the back surface of the GaN substrate, the driving voltage of the light emitting device can be reduced. In this case, a part of the light emission is absorbed by the GaN substrate, and the light emission intensity is lowered. In order to solve this problem, a GaN crystal substrate manufacturing method having a high transparency and a small light absorption coefficient by a vapor phase method such as HVPE (Hydride Vapor Phase Epitaxy) method and a manufacturing method thereof are obtained. A GaN crystal substrate is proposed, but the light absorption coefficient of the GaN crystal substrate is not sufficiently small (see, for example, Patent Document 1).
一方、アルカリ金属元素であるNa、III族元素であるGaおよび窒素元素Nを含有する融液から、GaN結晶を成長させるフラックス法によるGaN結晶基板の製造方法も提案されているが、このフラックス法によって得られるGaN結晶基板もだいだい色や褐色に着色しており、そのGaN結晶基板の光吸収係数は十分小さなものではなかった(たとえば、非特許文献1を参照)。 On the other hand, a method of manufacturing a GaN crystal substrate by a flux method in which a GaN crystal is grown from a melt containing Na as an alkali metal element, Ga as a group III element, and a nitrogen element N has been proposed. The GaN crystal substrate obtained by the above method is also colored in brown or brown, and the light absorption coefficient of the GaN crystal substrate is not sufficiently small (see, for example, Non-Patent Document 1).
したがって、発光ダイオード(Light Emitting Diode;以下LEDという)またはレーザダイオード(Laser Diode;以下LDという)などの半導体デバイスの基板として、光の吸収係数の小さいGaN結晶基板の開発が望まれていた。 Accordingly, it has been desired to develop a GaN crystal substrate having a small light absorption coefficient as a substrate of a semiconductor device such as a light emitting diode (hereinafter referred to as LED) or a laser diode (hereinafter referred to as LD).
本発明は、アルカリ金属元素、III族元素および窒素元素を含有する融液からIII族窒化物結晶を成長させるIII族窒化物結晶基板の製造方法において、光の吸収係数の小さいIII族窒化物結晶基板およびその製造方法ならびにIII族窒化物半導体デバイスを提供することを目的とする。 The present invention relates to a group III nitride crystal having a small light absorption coefficient in a method for producing a group III nitride crystal substrate in which a group III nitride crystal is grown from a melt containing an alkali metal element, a group III element and a nitrogen element. It is an object of the present invention to provide a substrate, a manufacturing method thereof, and a group III nitride semiconductor device.
本発明は、アルカリ金属元素、III族元素および窒素元素を含有する融液からIII族窒化物結晶を成長させるIII族窒化物結晶基板の製造方法であって、反応容器内にアルカリ金属元素を含有するアルカリ金属元素含有物と、III族元素を含有するIII族元素含有物と、窒素元素を含有する窒素元素含有物とを導入する工程と、反応容器内に少なくともアルカリ金属元素、III族元素および窒素元素を含有する融液を形成する工程と、融液からIII族窒化物結晶を成長させる工程とを含む。ここで、上記融液からIII族窒化物結晶を成長させる工程において、III族窒化物結晶の成長温度を880℃以上とすることを特徴とするIII族窒化物結晶基板の製造方法である。 The present invention relates to a method for producing a group III nitride crystal substrate in which a group III nitride crystal is grown from a melt containing an alkali metal element, a group III element and a nitrogen element, and the alkali metal element is contained in a reaction vessel. Introducing an alkali metal element-containing material, a group III element-containing material containing a group III element, and a nitrogen element-containing material containing a nitrogen element, at least an alkali metal element, a group III element and Forming a melt containing elemental nitrogen and growing a group III nitride crystal from the melt. Here, in the step of growing a group III nitride crystal from the melt, the group III nitride crystal growth method is characterized in that the growth temperature of the group III nitride crystal is 880 ° C. or higher.
また、本発明にかかるIII族窒化物結晶基板の製造方法において、反応容器内にアルカリ金属元素含有物とIII族元素含有物と窒素元素含有物とを導入する工程が、反応容器にアルカリ金属元素含有物と、III族元素含有物とを導入する工程と、反応容器内に少なくともアルカリ金属元素およびIII族元素を含有するIII族−アルカリ融液を形成する工程と、III族−アルカリ融液に窒素含有物を導入する工程とを含み、反応容器内に少なくともアルカリ金属元素、III族元素および窒素元素を含有する融液を形成する工程が、III族−アルカリ融液に窒素元素含有物を溶解させる工程を含むことができる。 Further, in the method for producing a group III nitride crystal substrate according to the present invention, the step of introducing an alkali metal element-containing material, a group III element-containing material, and a nitrogen element-containing material into the reaction vessel includes an alkali metal element in the reaction vessel. A step of introducing an inclusion and a Group III element-containing material, a step of forming a Group III-alkali melt containing at least an alkali metal element and a Group III element in the reaction vessel, and a Group III-alkali melt. A step of forming a melt containing at least an alkali metal element, a group III element and a nitrogen element in the reaction vessel, and the step of dissolving the nitrogen element containing material in the group III-alkali melt. The process to make it include.
さらに、本発明にかかるIII族窒化物結晶基板の製造方法において、上記融液からIII族窒化物結晶を成長させる工程において、さらに、アルカリ金属元素含有物、III族元素含有物および窒素元素含有物の少なくともいずれかを反応容器に導入する工程を含むことができる。 Furthermore, in the method for producing a group III nitride crystal substrate according to the present invention, in the step of growing a group III nitride crystal from the melt, further, an alkali metal element-containing material, a group III element-containing material, and a nitrogen element-containing material A step of introducing at least one of the above into the reaction vessel.
本発明は、上記のIII族窒化物結晶基板の製造方法によって製造されたIII族窒化物結晶基板であって、400nm〜600nmの波長領域にある光の吸収係数が、40cm-1以下であるIII族窒化物結晶基板である。 The present invention is a group III nitride crystal substrate manufactured by the above-described method for manufacturing a group III nitride crystal substrate, wherein an absorption coefficient of light in a wavelength region of 400 nm to 600 nm is 40 cm −1 or less. It is a group nitride crystal substrate.
本発明は、酸素濃度が1×1017個/cm3以下であり、かつ、400nm〜600nmの波長領域にある光の吸収係数が、40cm-1以下であるIII族窒化物結晶基板である。 The present invention is a group III nitride crystal substrate having an oxygen concentration of 1 × 10 17 atoms / cm 3 or less and an absorption coefficient of light in a wavelength region of 400 nm to 600 nm of 40 cm −1 or less.
本発明は、上記のIII族窒化物結晶基板に少なくとも1層のIII族窒化物結晶層が形成されたIII族窒化物半導体デバイスである。 The present invention is a group III nitride semiconductor device in which at least one group III nitride crystal layer is formed on the above group III nitride crystal substrate.
上記のように、本発明によれば、光の吸収係数の小さいIII族窒化物結晶基板およびその製造方法ならびに発光強度の大きい半導体デバイスを提供することができる。 As described above, according to the present invention, it is possible to provide a group III nitride crystal substrate having a small light absorption coefficient, a method for producing the same, and a semiconductor device having a large light emission intensity.
(実施形態1)
本発明にかかる一のIII族窒化物結晶基板の製造方法は、図1を参照して、アルカリ金属元素、III族元素および窒素元素を含有する融液5からIII族窒化物結晶6を成長させるIII族窒化物結晶基板の製造方法であって、図1(a)に示すように、反応容器51内に、アルカリ金属元素を含有するアルカリ金属元素含有物1と、III族元素を含有するIII族元素含有物2と、窒素元素を含有する窒素元素含有物3とを導入する工程と、図1(b)に示すように、反応容器51内に少なくともアルカリ金属元素、III族元素および窒素元素を含有する融液5を形成する工程と、図1(c)に示すように、融液5からIII族窒化物結晶6を成長させる工程とを含み、少なくとも反応容器51内にアルカリ金属元素含有物1を導入する工程において、アルカリ金属元素含有物1を水分濃度が1.0ppm(露点:−76℃)以下に管理された乾燥容器100内で取り扱うことを特徴とする。乾燥容器100内の水分濃度を1.0ppm(露点:−76℃)以下にすることにより、アルカリ金属元素含有物の酸化を防止し、III族窒化物結晶への酸素原子の混入を抑制することができ、光の吸収係数の小さいIII族窒化物結晶基板が得られる。かかる観点から、乾燥容器100内の水分濃度を0.54ppm(露点:−80℃)以下にすることが好ましい。
(Embodiment 1)
In one method for producing a group III nitride crystal substrate according to the present invention, referring to FIG. 1, group III
ここで、アルカリ金属元素含有物の酸化を防止するため、乾燥容器100内は
Arガス、N2ガスなどの不活性ガスが充填されている。乾燥容器内の酸素濃度は5ppm以下であることが好ましい。アルカリ金属元素含有物を取り扱うとは、具体的には、アルカリ金属元素含有物を貯蔵容器から所定量取り出して反応容器内に導入することをいう。
Here, in order to prevent the oxidation of the alkali metal element-containing material, the inside of the
また、アルカリ金属元素含有物、III族元素含有物および窒素元素含有物は、気体、液体および固体のいずれであってもよいし、反応容器内へのそれぞれの導入の方法および時期が異なっていてもよい。アルカリ金属元素含有物としては、金属Naなどのアルカリ金属、NaN3などのアルカリ金属元素化合物などが挙げられる。III族元素含有物としては、金属Ga、金属Al、金属InなどのIII族元素金属、GaN、GaAsなどのIII族元素化合物などが挙げられる。窒素元素含有物としては、N2ガスの他、NH3ガス、NaN3などの窒素化合物などが挙げられる。 In addition, the alkali metal element-containing material, the group III element-containing material, and the nitrogen element-containing material may be any of gas, liquid, and solid, and the method and timing of introduction into the reaction vessel are different. Also good. Examples of the alkali metal element-containing material include alkali metals such as metal Na and alkali metal element compounds such as NaN 3 . Examples of the group III element-containing material include group III element metals such as metal Ga, metal Al, and metal In, and group III element compounds such as GaN and GaAs. Examples of the nitrogen element-containing material include nitrogen compounds such as NH 3 gas and NaN 3 in addition to N 2 gas.
図1を参照して、本実施形態をさらに具体的に説明する。まず、図1(a)に示すように、反応容器51内にアルカリ金属元素含有物1と、III族元素含有物2と、窒素元素含有物3とを導入する工程として、水分濃度が1.0ppm(露点:−76℃)以下、好ましくは水分濃度が0.54ppm(露点:−80℃)以下に管理された乾燥容器100内に反応容器51を格納した後、反応容器本体51aから反応容器蓋51bを外して、反応容器本体51a内部に設置された結晶成長容器52に、アルカリ金属元素含有物1としてたとえば金属Naと、III族元素含有物2としてたとえば金属Gaと、窒素元素含有物3としてたとえばNaN3またはGaNなどをそれぞれ所定量収納する。反応容器本体51aを反応容器蓋51bで密封して上記乾燥容器から取り出す。ここで、アルカリ金属元素含有物1は、水分濃度が1.0ppm(露点:−76℃)以下に管理された乾燥容器100内で取り扱われているため、酸化されない。
With reference to FIG. 1, the present embodiment will be described more specifically. First, as shown in FIG. 1A, as a step of introducing an alkali metal element-containing
次に、図1(b)に示すように、反応容器51内に少なくともアルカリ金属元素、III族元素および窒素元素を含有する融液5を形成する工程として、反応容器51の窒素元素含有物導入弁31を窒素元素含有物供給ライン32に接続するとともに、反応容器51の周囲にヒータ53を配設する。真空ポンプなどの真空引装置44を用いて真空引弁43から反応容器51内の不活性ガスを除去した後、窒素元素含有物導入弁31を開いてN2ガスを反応容器51内に導入した後、反応容器51をヒータ53により加熱する。このことにより、上記アルカリ金属元素含有物、III族元素含有物および窒素含有物が融解して、アルカリ金属元素(たとえばNa)、III族元素(たとえばGa)および窒素元素(N)を含有する融液5が形成される。ここで、アルカリ金属含有物が酸化されないため、融液5の酸素濃度は低くなる。
Next, as shown in FIG. 1B, the nitrogen element-containing material in the
次に、図1(c)に示すように、ヒータ53の熱出力を調節することにより、反応容器51を所定の圧力および温度として、上記融液5からIII族窒化物結晶6であるGaN結晶を成長させる。ここで、融液5の酸素濃度が低いことから、得られるIII族窒化物結晶6の酸素濃度も低くなる。
Next, as shown in FIG. 1 (c), by adjusting the heat output of the
なお、融液5からIII族窒化物結晶6を成長させる際に、融液に溶解せず残存した窒素含有物あるいは融液5の温度よりも、III族窒化物結晶6の温度を低くすることは、III族窒化物結晶6の成長を促進する点から好ましい。たとえば、ヒータ53aの熱出力とヒータ53bの熱出力とを調節することにより、窒素含有物あるいは融液5の温度をIII族窒化物結晶6の温度より高くすることができる。また、図示はしないが、予め種結晶を、アルカリ金属元素含有物、III族元素含有物および窒素元素含有物とともに反応容器内に導入し、III族窒化物結晶を成長させる際に融液中に種結晶を存在させることは、III族窒化物結晶の成長を促進する点から好ましい。種結晶には、特に制限はないが、成長させようとするIII族窒化物結晶と同種類のIII族窒化物結晶が好ましい。
When the group
さらに、反応容器51内から成長したIII族窒化物結晶を取り出し、所定の大きさに切り出して、表面を研磨することにより、酸素濃度が低く光の吸収係数の低いIII族窒化物結晶基板が得られる。
Further, the group III nitride crystal grown from the
(実施形態2)
本実施形態は、実施形態1において、反応容器内にアルカリ金属元素含有物とIII族元素含有物と窒素元素含有物とを導入する工程が、反応容器にアルカリ金属元素含有物とIII族元素含有物とを導入する工程と、反応容器内に少なくとも上記アルカリ金属元素およびIII族元素を含有するIII族−アルカリ融液を形成する工程と、III族−アルカリ融液に窒素含有物を導入する工程とによって行なわれ、反応容器内に少なくともアルカリ金属元素、III族元素および窒素元素を含有する融液を形成する工程が、III族−アルカリ融液に窒素元素含有物を溶解させる工程によって行なわれる。
(Embodiment 2)
In this embodiment, the step of introducing the alkali metal element-containing material, the group III element-containing material, and the nitrogen element-containing material into the reaction vessel in the embodiment 1 A step of introducing a product, a step of forming a group III-alkali melt containing at least the alkali metal element and group III element in the reaction vessel, and a step of introducing a nitrogen-containing material into the group III-alkali melt The step of forming a melt containing at least an alkali metal element, a group III element and a nitrogen element in the reaction vessel is performed by a step of dissolving the nitrogen element-containing material in the group III-alkali melt.
図2を参照して、本実施形態を具体的に説明する。最初に、反応容器51内にアルカリ金属元素含有物1と、III族元素含有物2と、窒素元素含有物3とを導入する工程について説明する。まず、図2(a)に示すように、水分濃度が1.0ppm(露点:−76℃)以下、好ましくは水分濃度が0.54ppm(露点:−80℃)以下に管理された乾燥容器100内に、少なくとも窒素元素含有物導入弁31を有する反応容器51を格納した後、反応容器本体51aから反応容器蓋51bを外して、反応容器本体51a内部に設置された結晶成長容器52に、アルカリ金属元素含有物1としてたとえば金属Naと、III族元素含有物2としてたとえば金属Gaとをそれぞれ所定量収納する。反応容器本体51aを反応容器蓋51bで密封して上記乾燥容器から取り出す。ここで、アルカリ金属元素含有物1は、水分濃度が1.0ppm(露点:−76℃)以下に管理された乾燥容器100内で取り扱われているため、酸化が防止される。
The embodiment will be specifically described with reference to FIG. First, the process of introducing the alkali metal element-containing
次いで、図2(b)に示すように、反応容器51の窒素元素含有物導入弁31を窒素元素含有物供給ライン32に接続するとともに、反応容器51の周囲にヒータ53を配設する。真空ポンプなどの真空引装置44を用いて真空引弁43から反応容器51内の不活性ガスを除去した後、窒素元素含有物供給容器34を用いて窒素元素含有物導入弁31からN2ガスを反応容器51内に導入した後、反応容器51をヒータ53により加熱することにより、上記アルカリ金属元素含有物1およびIII族元素含有物2が融解して、アルカリ金属元素(たとえばNa)およびIII族元素(たとえばGa)を含有するIII族−アルカリ融液4が形成される。ここで、アルカリ金属含有物の酸化が防止されているため、III族−アルカリ融液4の酸素濃度は低くなる。次いで、窒素元素含有物供給容器34を用いて窒素元素含有物導入弁31から窒素元素含有物3としてたとえばN2ガスを反応容器51内に再度導入して、反応容器51内の圧力を調節する。
Next, as shown in FIG. 2B, the nitrogen element-containing
次に、図2(b)および図2(c)に示すように、反応容器51内に導入された窒素元素含有物3であるN2ガスがIII族−アルカリ融液4に溶解して、アルカリ金属元素(たとえばNa)、III族元素(たとえばGa)および窒素元素(N)を含有する融液5が形成される。ここで、III族−アルカリ融液4の酸素濃度が低いため、融液5の酸素濃度も低くなる。
Next, as shown in FIG. 2B and FIG. 2C, the N 2 gas that is the nitrogen element-containing
次に、図2(d)に示すように、ヒータ53の熱出力を調節するとともに、窒素元素含有物導入弁31、窒素元素含有物供給弁33ならびに真空引弁43を調節することにより、反応容器51を所定の圧力および温度として、上記融液5からIII族窒化物結晶6であるGaN結晶を成長させる。ここで、融液5の酸素濃度が低いことから、得られるIII族窒化物結晶6の酸素濃度も低くなる。
Next, as shown in FIG. 2 (d), by adjusting the heat output of the
なお、融液5からIII族窒化物結晶6を成長させる際に、融液5の表面からIII族窒化物結晶6の表面にかけて液温が低下するような温度勾配をかけることは、III族窒化物結晶6の成長を促進する点から好ましい。また、図示はしないが、予め種結晶を、アルカリ金属元素含有物およびIII族元素含有物とともに反応容器内に導入し、III族窒化物結晶を成長させる際に融液中に種結晶を存在させることは、III族窒化物結晶の成長を促進する点から好ましい。種結晶には、特に制限はないが、成長させようとするIII族窒化物結晶と同種類のIII族窒化物結晶が好ましい。
In addition, when the group
さらに、反応容器51内から成長したIII族窒化物結晶を取り出し、所定の大きさに切り出して、表面を研磨することにより、酸素濃度が低く光の吸収係数の低いIII族窒化物結晶基板が得られる。
Further, the group III nitride crystal grown from the
(実施形態3)
本実施形態は、実施形態1または実施形態2において、反応容器内にアルカリ金属元素含有物を導入する工程において、アルカリ金属元素含有物を、水分濃度が1.0ppm(露点:−76℃)以下、好ましくは水分濃度が0.54ppm(露点:−80℃)以下に管理された乾燥容器内で取り扱うことを必要としないが、少なくとも、アルカリ金属元素(たとえばNa)、III族元素(たとえばGa)および窒素元素(N)を含有する融液5からIII族窒化物結晶6(たとえばGaN結晶)を成長させる工程において、III族窒化物結晶の成長温度を850℃以上とする実施形態である。
(Embodiment 3)
In this embodiment, in the step of introducing the alkali metal element-containing material into the reaction vessel in the first or second embodiment, the alkali metal element-containing material has a moisture concentration of 1.0 ppm (dew point: −76 ° C.) or less. It is not necessary to handle in a dry container whose water concentration is preferably controlled to 0.54 ppm (dew point: −80 ° C.) or less, but at least an alkali metal element (for example, Na), a group III element (for example, Ga) In the step of growing group III nitride crystal 6 (for example, GaN crystal) from
すなわち、図1(c)または図2(d)において、融液5からIII族窒化物結晶6を成長させるときの、結晶成長温度(III族窒化物結晶6の成長部分の温度、すなわち融液5と成長するIII族窒化物結晶6との界面温度に該当する)を850℃以上とする。
That is, in FIG. 1 (c) or FIG. 2 (d), the crystal growth temperature (the temperature of the growth portion of the group
III族窒化物結晶の成長温度が高いほど、酸素原子の結晶への取り込み率が低くなり、III族窒化物結晶(たとえばGaN結晶)に含まれる酸素濃度が低減する。これは、結晶の成長温度が高いほど、熱力学的により安定な状態に各原子が配置しやすくなるため、III族元素の原子および窒素原子と原子半径の異なる酸素原子が取り込まれ難くなるためと考えられる。上記の点から、III族窒化物結晶の成長温度は、880℃以上が好ましく、910℃以上がより好ましい。したがって、このIII族窒化物結晶を切り出し研磨して得られるIII族窒化物結晶基板は、酸素濃度が低く光の吸収係数も低くなる。 The higher the growth temperature of the group III nitride crystal, the lower the oxygen atom incorporation rate into the crystal, and the lower the concentration of oxygen contained in the group III nitride crystal (for example, GaN crystal). This is because the higher the crystal growth temperature, the easier it is for each atom to be placed in a more thermodynamically stable state, which makes it difficult for oxygen atoms having different atomic radii from group III elements and nitrogen atoms to be incorporated. Conceivable. From the above points, the growth temperature of the group III nitride crystal is preferably 880 ° C. or higher, and more preferably 910 ° C. or higher. Therefore, the group III nitride crystal substrate obtained by cutting and polishing the group III nitride crystal has a low oxygen concentration and a low light absorption coefficient.
(実施形態4)
本実施形態は、実施形態1または実施形態2において、さらに、アルカリ金属元素(たとえばNa)、III族元素(たとえばGa)および窒素元素(N)を含有する融液5からIII族窒化物結晶6(たとえばGaN結晶)を成長させる工程において、III族窒化物結晶の成長温度を850℃以上とする実施形態である。
(Embodiment 4)
This embodiment is the same as that of
すなわち、図1および図2を参照して、図1(a)または図2(a)に示すように、少なくとも反応装置51にアルカリ金属元素含有物1を導入する工程において、アルカリ金属元素含有物1を、水分濃度が1.0ppm(露点:−76℃)以下、好ましくは水分濃度が0.54ppm(露点:−80℃)以下に管理された乾燥容器100内で取り扱うとともに、図1(c)または図2(d)に示すように、融液5からIII族窒化物結晶6を成長させる工程において、III族窒化物結晶6の成長温度を850℃以上とする実施形態である。本実施形態においては、融液への酸素原子の混入およびIII族窒化物結晶への酸素原子の混入を抑制することにより、III族窒化物結晶基板の酸素濃度をさらに低減することができる。
That is, with reference to FIG. 1 and FIG. 2, as shown in FIG. 1 (a) or FIG. 2 (a), at least in the step of introducing the alkali metal element-containing
(実施形態5)
本実施形態は、実施形態1〜実施形態4のいずれかにおいて、少なくともアルカリ金属元素、III族元素および窒素元素を含有する融液からIII族窒化物結晶を成長させる工程において、さらに、アルカリ金属元素含有物、III族元素含有物および窒素元素含有物の少なくともいずれかを反応容器に導入する工程を含む実施形態である。
(Embodiment 5)
In this embodiment, in any one of
ここで、図3を参照して、実施形態2における本実施形態の適用を説明する。まず、図3(a)に示すように、水分濃度が1.0ppm(露点:−76℃)以下、好ましくは水分濃度が0.54ppm(露点:−80℃)以下に管理された乾燥容器100内において、反応容器本体51a内部に設置された結晶成長容器52に、アルカリ金属元素含有物1としてたとえば金属Naと、III族元素含有物2としてたとえば金属Gaとをそれぞれ所定量収納する。反応容器本体51aを反応容器蓋51bで密封して上記乾燥容器100から取り出す。ここで、本実施形態において用いられる反応容器51には、アルカリ金属元素含有物導入弁11、III族元素含有物導入弁21および窒素元素含有物導入弁31が設けられている。
Here, with reference to FIG. 3, application of the present embodiment in the second embodiment will be described. First, as shown in FIG. 3 (a), a drying
次いで、図3(b)に示すように、反応容器51の窒素元素含有物導入弁31を窒素元素含有物供給ライン32に、III族元素含有物導入弁21をIII族元素含有物供給ライン22に、アルカリ金属元素含有物導入弁11をアルカリ金属元素含有物供給ライン12に接続するとともに、反応容器51の周囲にヒータ53を配設する。真空ポンプなどの真空引装置44を用いて真空引弁43から反応容器51内の不活性ガスを除去した後、窒素元素含有物供給容器34を用いて窒素元素含有物導入弁31からN2ガスを反応容器51内に導入した後、反応容器51をヒータ53により加熱することにより、上記アルカリ金属元素含有物1(たとえば金属Na)およびIII族元素含有物2(たとえば金属Ga)が融解して、アルカリ金属元素(たとえばNa)およびIII族元素(たとえばGa)を含有するIII族−アルカリ融液4(たとえばGa−Na融液)が形成される。次いで、窒素元素含有物供給容器34を用いて窒素元素含有物導入弁31から窒素元素含有物3としてたとえばN2ガスを反応容器51内に導入する。
Next, as shown in FIG. 3B, the nitrogen element-containing
次に、図3(b)および図3(c)に示すように、反応容器51内に導入された窒素元素含有物3であるN2ガスがIII族−アルカリ融液4に溶解して、アルカリ金属元素(たとえばNa)、III族元素(たとえばGa)および窒素元素(N)を含有する融液5が形成される。
Next, as shown in FIGS. 3 (b) and 3 (c), the N 2 gas that is the nitrogen element-containing
次に、図3(d)に示すように、ヒータ53の熱出力を調節するとともに、窒素元素含有物導入弁31、窒素元素含有物供給弁33ならびに真空引弁43を調節することにより、反応容器51を所定の圧力および温度として、上記融液5からIII族窒化物結晶6であるGaN結晶を成長させる。ここで、III族窒化物結晶6の成長とともに、融液5中のアルカリ金属元素、III族元素および窒素元素の組成が変化するため、結晶成長が阻害される。
Next, as shown in FIG. 3D, the heat output of the
これに対して、図3(d)に示すように、窒素元素含有物供給容器34から窒素元素含有物供給弁33、窒素元素含有物供給ライン32および窒素元素含有物導入弁31を介して、窒素元素含有物3であるN2ガスが反応容器51内に導入される。また、III族元素含有物供給ライン22に残存する大気が真空引弁42を介して真空引装置44により除去された後、III族元素含有物供給容器24からIII族元素含有物供給弁23、III族元素含有物供給ライン22およびIII族元素含有物導入弁21を介して、III族元素含有物2である液状の金属Gaが反応容器51内の結晶成長容器52内に導入される。また、アルカリ金属元素含有物供給ライン12に残存する大気が真空引弁41を介して真空引装置44により除去された後、アルカリ金属元素含有物供給容器14からアリカリ金属元素含有物供給弁13、アルカリ金属元素含有物供給ライン12およびアルカリ金属元素含有物導入弁11を介して、アルカリ金属元素含有物1である液状の金属Naが反応容器51内の結晶成長容器52内に導入される。
On the other hand, as shown in FIG. 3 (d), from the nitrogen element-containing
このように、III族窒化物結晶を成長させる工程において、アルカリ金属元素含有物、III族元素含有物および窒素元素含有物の少なくともいずれかを適宜または連続的に反応容器に導入することによって、アルカリ金属元素含有物、III族元素含有物および窒素元素含有物の組成比を一定に保ちながら長時間にわたってIII族窒化物結晶を成長させることが可能となり、酸素濃度が低く、光の吸収係数が低く、さらに大きなIII族窒化物結晶基板を得ることができる。 As described above, in the step of growing the group III nitride crystal, the alkali metal element-containing material, the group III element-containing material, and the nitrogen element-containing material are introduced into the reaction vessel appropriately or continuously, thereby allowing alkali. It is possible to grow a group III nitride crystal over a long period of time while maintaining a constant composition ratio of a metal element-containing material, a group III element-containing material, and a nitrogen element-containing material, a low oxygen concentration, and a low light absorption coefficient. Further, a larger group III nitride crystal substrate can be obtained.
なお、アルカリ金属元素含有物供給容器内にアルカリ金属元素を収納する際にも、水分濃度が1.0ppm(露点:−76℃)以下、好ましくは水分濃度が0.54ppm(露点:−80℃)以下に管理された乾燥容器内でアルカリ金属元素含有物を取り扱うことが、アルカリ金属元素含有物の酸化を防止する点から好ましい。たとえば、図4を参照して、図4(a)に示すように、上記乾燥容器100内で、アルカリ金属元素含有物供給容器本体14aにアルカリ金属元素含有物1である金属Naを収納する。次いで、アルカリ金属元素含有物供給容器本体14aをアルカリ金属元素含有物供給容器蓋14bで密封して、上記乾燥容器100から取り出す。次に、アルカリ金属元素含有物供給容器14をヒータ15により加熱することにより、アルカリ金属元素含有物1として液状の金属Naを得ることができる。
Even when the alkali metal element is contained in the alkali metal element-containing material supply container, the moisture concentration is 1.0 ppm (dew point: −76 ° C.) or less, preferably the moisture concentration is 0.54 ppm (dew point: −80 ° C.). ) It is preferable to handle the alkali metal element-containing material in a dry container controlled as follows from the viewpoint of preventing oxidation of the alkali metal element-containing material. For example, referring to FIG. 4, as shown in FIG. 4A, metal Na that is the alkali metal element-containing
ここで、上記実施形態1〜実施形態5において用いられる乾燥容器100の水分濃度管理方法(または露点管理方法)について、図5を参照して説明する。乾燥容器100は、本体容器100aとサイド容器100bによって構成されている。本体容器100aのアームホール105には手袋106が設けられ、手袋106内に手をいれて乾燥容器100の本体容器100a内での作業を行なう。
Here, the moisture concentration management method (or dew point management method) of the drying
図5を参照して、本体容器100aまたはサイド容器100bには、本体容器100aおよび/またはサイド容器100bの真空引きを行なうための真空ポンプ131、本体真空引弁133、サイド真空引弁134が配設され、本体容器100aおよび/またはサイド容器100bに不活性ガスを供給するための不活性ガス供給容器121、不活性ガス供給元弁122、不活性ガス本体供給弁123、不活性ガスサイド供給弁124が配設されている。また、本体容器100aには、水分濃度1.0ppm(露点:−76℃)以下、好ましくは水分濃度0.54ppm(露点:−80℃)以下を達成して、維持、管理するためのブロワ111、冷却塔112、冷却機113、脱水・脱酸素塔114、循環弁115、水分計102、酸素計103が配設されている。ここで、冷却塔112は冷却機113により冷却され、脱水・脱酸素塔114にはモレキュラーシーブなどの脱水剤および還元銅などの脱酸素剤が充填されている。
Referring to FIG. 5,
ここで、乾燥容器100の本体容器100aおよびサイド容器100bの水分濃度を低減するために、真空ポンプ131によって本体容器100aおよびサイド容器100b内を真空引きした後、不活性ガス供給容器121から不活性ガスとしてArガスまたはN2ガスを導入する。さらに、乾燥容器100の本体容器100aの水分濃度を1.0ppm(露点:−76℃)以下、好ましくは水分濃度を0.54ppm(露点:−80℃)以下に管理するために、本体容器100aに設置された水分計102および酸素計103によって本体容器100a内の水分濃度および酸素濃度を測定しながら、本体容器100a内に充填された不活性ガスを、ブロワ111、冷却塔112、脱水・脱酸素塔114、本体容器100aの順に循環させる。上記のようにして循環される不活性ガスは、脱水・脱酸素塔114を通過する際に、脱水および脱酸素が行なわれるため、冷却塔における冷却温度を0℃以下として不活性ガスの循環量を調節することにより、本体容器100a内の水分濃度を、以下に述べる作業中においても、1.0ppm以下、好ましくは0.54ppm以下に管理することができる。
Here, in order to reduce the moisture concentration of the
上記乾燥容器100においてアルカリ金属元素含有物などを取り扱う場合は、たとえば、反応容器およびアルカリ金属元素含有物などの貯蔵容器を、まず、サイド容器100bに入れて、サイド容器100bを真空引きした後、Arガス、N2ガスなどの不活性ガスを導入する。ついで、サイド容器と本体容器の仕切りを開けて、反応容器およびアルカリ金属含有物などの貯蔵容器をサイド容器から本体容器に移動させ、水分濃度が管理された本体容器内で反応容器およびアルカリ金属元素含有物などの貯蔵容器を開けて、アルカリ金属元素含有物などを反応容器内に収納し、反応容器を密封する。密封した反応容器は、サイド容器に移動させた後、乾燥容器100外に取り出す。このような取り扱いをすることにより、本体容器の水分濃度を1.0ppm(露点:−76℃)以下、好ましくは水分濃度を0.54ppm(露点:−80℃)以下に管理しながら、アルカリ金属元素含有物を酸化させることなく反応容器内に導入することができる。
When handling the alkali metal element-containing material or the like in the
(実施形態6)
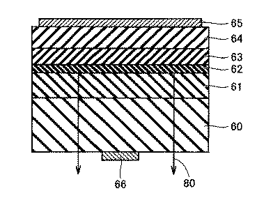
本実施形態は、実施形態1〜実施形態5において得られたIII族窒化物結晶基板に少なくとも1層のIII族窒化物層が形成されたIII族窒化物半導体デバイスについての実施形態である。本実施形態における半導体デバイスは、図6を参照して、III族窒化物結晶基板としてGaN結晶基板60上に、MOCVD法により、III族窒化物結晶層として、n型GaN層61、In0.15Ga0.85N層とGaN層からなる対を1対以上積層させた多重量子井戸構造62、p型Al0.20Ga0.80N層63およびp型GaN層64を順次形成し、GaN結晶基板60の下側にn側電極66を、p型GaN層64の上側にp側電極65を形成したLED(Light Emitting Diode;発光ダイオード)である。本実施形態におけるLEDは、酸素濃度が低く、光の吸収係数が低いIII族窒化物基板を用いているために、発光強度が大きくなる。
(Embodiment 6)
The present embodiment is an embodiment of a group III nitride semiconductor device in which at least one group III nitride layer is formed on the group III nitride crystal substrate obtained in the first to fifth embodiments. Referring to FIG. 6, the semiconductor device according to the present embodiment has an n-
実施形態1〜実施形態5において得られる本発明にかかるIII族窒化物結晶基板は、LEDの発光強度を向上させる点から、400nm〜600nmの波長領域にある光の吸収係数は40cm-1以下であり、20cm-1以下であることが好ましい。また、本発明にかかるIII族窒化物結晶基板は、LEDの発光強度を向上させる点から、酸素濃度は1×1017個/cm3以下であり、5×1016個/cm3以下が好ましく、2×1016個/cm3以下がより好ましい。 In the group III nitride crystal substrate according to the present invention obtained in the first to fifth embodiments, the light absorption coefficient in the wavelength region of 400 nm to 600 nm is 40 cm −1 or less from the viewpoint of improving the emission intensity of the LED. Yes, it is preferably 20 cm -1 or less. Further, the group III nitride crystal substrate according to the present invention has an oxygen concentration of 1 × 10 17 pieces / cm 3 or less, preferably 5 × 10 16 pieces / cm 3 or less, from the viewpoint of improving the light emission intensity of the LED. 2 × 10 16 pieces / cm 3 or less is more preferable.
(実施例1)
本実施例は、上記実施形態2に対応する実施例である。図2を参照して、図2(a)に示すように、水分濃度が0.09ppm〜0.54ppm(露点:−90℃〜−80℃)、酸素濃度が0.3ppm〜0.8ppmに管理された乾燥容器100内で、直径が2.5cmで高さが10cmのSUS製の反応容器51内に設置された直径が1.9cmで高さが8cmのAl2O3製(純度99.99%)の結晶成長容器(るつぼ)52に、アルカリ金属元素含有物1として10gの金属Na(純度99.95%)と、III族元素含有物2として10gの金属Ga(純度99.9999%)とを、種結晶としての170mgのGaN種結晶とともに収納した(金属Gaと金属Naの組成モル%は、25%と75%であった)。
Example 1
This example corresponds to the second embodiment. Referring to FIG. 2, as shown in FIG. 2 (a), the water concentration is 0.09 ppm to 0.54 ppm (dew point: −90 ° C. to −80 ° C.), and the oxygen concentration is 0.3 ppm to 0.8 ppm. In a controlled drying
次に、図2(b)に示すように、上記反応容器51の窒素元素含有物導入弁31を窒素元素含有物供給ライン32に接続するとともに、反応容器51の周囲にヒータ53を配設した。次いで、窒素元素含有物供給容器34から窒素元素含有物供給弁33および窒素元素含有物導入弁31を介して反応容器51に、窒素元素含有物3としてN2ガス(純度99.9999%)を導入した。さらに、ヒータ53により反応容器51を加熱することにより、III族−アルカリ融液4であるGa−Na融液(融液表面の液温780℃)を形成した。ここで、N2ガスのガス分圧が50気圧(5.065MPa)となるように窒素元素含有物供給弁33および窒素元素含有導入弁31を調節した。
Next, as shown in FIG. 2 (b), the nitrogen element-containing
このとき、図2(c)に示すように、N2ガスがGa−Na融液に溶解して、アルカリ金属元素(Na)、III族元素(Ga)および窒素元素(N)を含有する融液5(融液表面の液温780℃)が形成され、図2(d)に示すように、融液5からIII族窒化物結晶6であるGaN結晶を成長させた。ここで、GaN結晶の成長温度(すなわち、融液5とIII族窒化物結晶6との界面温度)が750℃となるように、ヒータ53a,53bを調節した。
At this time, as shown in FIG. 2 (c), N 2 gas is dissolved in the Ga—Na melt, and a melt containing an alkali metal element (Na), a group III element (Ga) and a nitrogen element (N) is contained. A liquid 5 (liquid temperature on the melt surface of 780 ° C.) was formed, and a GaN crystal as a group
反応容器51から上記GaN結晶を取り出して、切り出し、表面研磨を行い、10mm×10mm×厚さ300μmのGaN結晶基板を得た。このGaN結晶基板の400nm〜600nmの波長領域にある光の最大吸収係数は30cm-1、酸素濃度は5×1016個/cm3であった。光の吸収係数は分光光度計を用いて、酸素濃度はSIMS(Secondary Ion Mass Spectroscopy;2次イオン質量分析法)により測定した。
The GaN crystal was taken out from the
さらに、図6を参照して、上記GaN結晶基板60の(0001)表面(上側表面)上に、MOCVD(Metal Organic Chemical Vapor Deposition;有機金属化学気相堆積)法により、厚さ2μmのn型GaN層61、厚さ3nmのIn0.15Ga0.85N層と厚さ15nmのGaN層からなる対を3対積層させた多重量子井戸構造62、厚さ20nmのp型Al0.20Ga0.80N層63および厚さ100nmのp型GaN層64を順次形成し、GaN結晶基板60の下側表面の中央部に直径50μmのn側電極66を、p型GaN層64の上側表面にp側電極65を形成して、LEDデバイスを得た。ここで、n型のドーパントはSi、p型のドーパントはMgとした。このLEDデバイスの両電極に20mAの電流を流したときの相対発光強度は、後述する比較例1のLEDデバイスの発光強度1.0に対して、3.7であった。LEDデバイスの発光強度は分光光度計により測定を行なった。結果を表1にまとめた。
Further, referring to FIG. 6, an n-type layer having a thickness of 2 μm is formed on the (0001) surface (upper surface) of the
(実施例2)
本実施例は、上記実施形態2に対応する実施例である。図2(a)を参照して、反応容器51内に設置された結晶成長容器52内にアルカリ金属元素含有物1(金属Na)とIII族元素含有物2(金属Ga)を導入する工程を、水分濃度が0.54ppm〜1.0ppm(露点:−80℃〜−76℃)、酸素濃度が0.3ppm〜0.5ppmに管理された乾燥容器100内で行なったこと以外は、実施例1と同様にして、GaN結晶基板を得た。得られたGaN結晶基板の400nm〜600nmの波長領域にある光の最大吸収係数は40cm-1、酸素濃度は8×1016個/cm3であった。また、このGaN結晶基板を用いて実施例1と同様にして、LEDデバイスを作製した。得られたLEDデバイスの相対発光強度は2.1であった。結果を表1にまとめた。
(Example 2)
This example corresponds to the second embodiment. Referring to FIG. 2A, the step of introducing alkali metal element-containing material 1 (metal Na) and group III element-containing material 2 (metal Ga) into
(実施例3)
本実施例は、上記実施形態3に対応する実施例である。図2(a)を参照して、反応容器51内に設置された結晶成長容器52内にアルカリ金属元素含有物1(金属Na)とIII族元素含有物2(金属Ga)を導入する工程を、水分濃度が1.0ppm〜2.6ppm(露点:−76℃〜−70℃)、酸素濃度が0.3ppm〜0.5ppmに管理された乾燥容器100内で行なったこと、また、図2(d)を参照して、融液5からIII族窒化物結晶6(GaN結晶)を成長させる工程における融液表面の液温を880℃、GaN結晶の成長温度を850℃としたこと以外は、実施例1と同様にして、GaN結晶基板を得た。得られたGaN結晶基板の400nm〜600nmの波長領域にある光の最大吸収係数は30cm-1、酸素濃度は5×1016個/cm3であった。また、このGaN結晶基板を用いて実施例1と同様にして、LEDデバイスを作製した。得られたLEDデバイスの相対発光強度は3.7であった。結果を表1にまとめた。
(Example 3)
This example is an example corresponding to the third embodiment. Referring to FIG. 2A, the step of introducing alkali metal element-containing material 1 (metal Na) and group III element-containing material 2 (metal Ga) into
(実施例4)
本実施例も、実施形態3に対応する実施例である。図2(d)を参照して、融液5からIII族窒化物結晶6(GaN結晶)を成長させる工程における融液表面の液温を910℃、GaN結晶の成長温度を880℃としたこと以外は、実施例3と同様にして、GaN結晶基板を得た。得られたGaN結晶基板の400nm〜600nmの波長領域にある光の最大吸収係数は30cm-1、酸素濃度は5×1016個/cm3であった。また、このGaN結晶基板を用いて実施例1と同様にして、LEDデバイスを作製した。得られたLEDデバイスの相対発光強度は3.7であった。結果を表1にまとめた。
Example 4
This example is also an example corresponding to the third embodiment. Referring to FIG. 2 (d), the liquid temperature on the surface of the melt in the step of growing group III nitride crystal 6 (GaN crystal) from
(実施例5)
本実施例は、実施形態4に対応する実施例である。図2(d)を参照して、融液5からIII族窒化物結晶6(GaN結晶)を成長させる工程における融液表面の液温を880℃、GaN結晶の成長温度を850℃としたこと以外は、実施例1と同様にして、GaN結晶基板を得た。得られたGaN結晶基板の400nm〜600nmの波長領域にある光の最大吸収係数は20cm-1、酸素濃度は2×1016個/cm3であった。また、このGaN結晶基板を用いて実施例1と同様にして、LEDデバイスを作製した。得られたLEDデバイスの相対発光強度は8.5であった。結果を表1にまとめた。
(Example 5)
The present example is an example corresponding to the fourth embodiment. Referring to FIG. 2 (d), the liquid temperature on the surface of the melt in the step of growing group III nitride crystal 6 (GaN crystal) from
(実施例6)
本実施例も、実施形態4に対応する実施例である。図2(d)を参照して、融液5からIII族窒化物結晶6(GaN結晶)を成長させる工程における融液表面の液温を910℃、GaN結晶の成長温度を880℃としたこと以外は、実施例1と同様にして、GaN結晶基板を得た。得られたGaN結晶基板の400nm〜600nmの波長領域にある光の最大吸収係数は18cm-1、酸素濃度は2×1016個/cm3であった。また、このGaN結晶基板を用いて実施例1と同様にして、LEDデバイスを作製した。得られたLEDデバイスの相対発光強度は8.9であった。結果を表1にまとめた。
(Example 6)
This example is also an example corresponding to the fourth embodiment. Referring to FIG. 2 (d), the liquid temperature on the surface of the melt in the step of growing group III nitride crystal 6 (GaN crystal) from
(実施例7)
本実施例も、実施形態4に対応する実施例である。図2(d)を参照して、融液5からIII族窒化物結晶6(GaN結晶)を成長させる工程における融液表面の液温を910℃、GaN結晶の成長温度を910℃としたこと以外は、実施例1と同様にして、GaN結晶基板を得た。得られたGaN結晶基板の400nm〜600nmの波長領域にある光の最大吸収係数は12cm-1、酸素濃度は1×1016個/cm3であった。また、このGaN結晶基板を用いて実施例1と同様にして、LEDデバイスを作製した。得られたLEDデバイスの相対発光強度は15であった。結果を表1にまとめた。
(Example 7)
This example is also an example corresponding to the fourth embodiment. Referring to FIG. 2 (d), the liquid temperature on the surface of the melt in the step of growing group III nitride crystal 6 (GaN crystal) from
(比較例1)
図2(d)を参照して、融液5からIII族窒化物結晶6(GaN結晶)を成長させる工程における融液表面の液温を840℃、GaN結晶の成長温度を810℃としたこと以外は、実施例3と同様にして、GaN結晶基板を得た。得られたGaN結晶基板の400nm〜600nmの波長領域にある光の最大吸収係数は120cm-1、酸素濃度は1.5×1017個/cm3であった。また、このGaN結晶基板を用いて実施例1と同様にして、LEDデバイスを作製した。上述のように、本比較例で得られたLEDデバイスの相対発光強度を1.0とした。結果を表1にまとめた。
(Comparative Example 1)
Referring to FIG. 2 (d), the liquid temperature on the surface of the melt in the process of growing group III nitride crystal 6 (GaN crystal) from
(実施例8)
本実施例も、実施形態4に対応する実施例である。しかし、上記実施例1〜7および比較例1が、図2に示すように、反応容器51内にアルカリ金属元素含有物1(金属Na)とIII族元素含有物2(金属Ga)とを導入し、III族−アルカリ融液4とした後、窒素元素含有物(N2ガス)を溶解させて、融液5を形成するのに対し、本実施例は、図1に示すように、反応容器51内にアルカリ金属元素含有物1として金属Naと、III族元素含有物2および窒素元素含有物3としてNaN3とを導入して融解させることにより融液5を形成する点で異なる。
(Example 8)
This example is also an example corresponding to the fourth embodiment. However, Examples 1 to 7 and Comparative Example 1 introduced the alkali metal element-containing material 1 (metal Na) and the group III element-containing material 2 (metal Ga) into the
すなわち、本実施例においては、図1を参照して、図1(a)に示すように、水分濃度が0.09ppm〜0.54ppm(露点:−90℃〜−80℃)、酸素濃度が0.4ppm〜0.9ppmに管理された乾燥容器100内で、直径が2.5cmで高さが21cmのSUS製の反応容器51内に設置された直径が1.9cmで高さが20cmのAl2O3製の結晶成長容器(るつぼ)52に、アルカリ金属元素含有物1および窒素元素含有物3として28.3gのNaN3と、III族元素含有物2として10gの金属Gaとを、種結晶としての170mgのGaN種結晶とともに収納した(金属GaとNaN3の組成モル%は、25%と75%であった)。
That is, in this example, referring to FIG. 1, as shown in FIG. 1A, the water concentration is 0.09 ppm to 0.54 ppm (dew point: −90 ° C. to −80 ° C.), and the oxygen concentration is In a drying
次に、図1(b)に示すように、上記反応容器51の窒素元素含有物導入弁31を窒素元素含有物供給ライン32に接続するとともに、反応容器51の周囲にヒータ53を配設した。ヒータ53により反応容器51を加熱することにより、アルカリ金属元素(Na)、III族元素(Ga)および窒素元素(n)を含有する融液5(融液表面の液温880℃)を形成した。このときの、反応容器51内の圧力は、NaN3の分解によって生じたN2ガスの一部を真空引弁43を介して真空引装置44に逃がすことにより、50気圧(5.065MPa)に調整した。
Next, as shown in FIG. 1 (b), the nitrogen element-containing
次に、図1(c)に示すように、上記融液5からIII族窒化物結晶6であるGaN結晶を成長させた。ここで、GaN結晶の成長温度(すなわち、融液5とIII族窒化物結晶6との界面温度)850℃となるように、ヒータ53a,53bを調節した。
Next, as shown in FIG. 1 (c), a GaN crystal, which is a group
反応容器51から上記GaN結晶を取り出して、切り出し、表面研磨を行い、6mm×8mm×厚さ300μmのGaN結晶基板を得た。このGaN結晶基板の400nm〜600nmの波長領域にある光の最大吸収係数は20cm-1、酸素濃度は2×1016個/cm3であった。
The GaN crystal was taken out from the
また、このGaN結晶基板を用いて実施例1と同様にして、LEDデバイスを作製した。得られたLEDデバイスの相対発光強度は8.5であった。結果を表1にまとめた。 Further, an LED device was produced in the same manner as in Example 1 using this GaN crystal substrate. The relative light emission intensity of the obtained LED device was 8.5. The results are summarized in Table 1.
表1より明らかなように、反応容器にアルカリ金属元素含有物を導入する工程においてアルカリ金属元素含有物を水分濃度が1.0ppm(露点:−76℃)以下、好ましくは水分濃度が0.54ppm(露点:−80℃)以下に管理された乾燥容器内で取り扱うこと(実施例1,2)、または、少なくともアルカリ金属元素、III族元素および窒素元素を含有する融液からIII族窒化物結晶を成長させる工程において、結晶の成長速度を850℃以上とすること(実施例3,4)により、400nm〜600nmの波長領域にある光の吸収係数が40cm-1以下であり、酸素濃度が5×1016個/cm3以下であるIII族窒化物結晶基板が得られた。このIII族窒化物結晶基板を用いたLEDデバイスの相対発光強度は2.1以上に向上した。 As is apparent from Table 1, in the step of introducing the alkali metal element-containing material into the reaction vessel, the alkali metal element-containing material has a water concentration of 1.0 ppm (dew point: −76 ° C.) or less, preferably a water concentration of 0.54 ppm. (Dew point: −80 ° C.) Handled in a dry container controlled below (Examples 1 and 2), or Group III nitride crystals from a melt containing at least alkali metal element, Group III element and nitrogen element In the step of growing the crystal, the crystal growth rate is set to 850 ° C. or higher (Examples 3 and 4), whereby the light absorption coefficient in the wavelength region of 400 nm to 600 nm is 40 cm −1 or less and the oxygen concentration is 5 A group III nitride crystal substrate having × 10 16 pieces / cm 3 or less was obtained. The relative light emission intensity of the LED device using this group III nitride crystal substrate was improved to 2.1 or more.
また、反応容器にアルカリ金属元素含有物を導入する工程においてアルカリ金属元素含有物を水分濃度が0.54ppm(露点:−80℃)以下に管理された乾燥容器内で取り扱い、かつ、少なくともアルカリ金属元素、III族元素および窒素元素を含有する融液からIII族窒化物結晶を成長させる工程において、結晶の成長速度を850℃以上とすること(実施例5〜8)により、400nm〜600nmの波長領域にある光の吸収係数が20cm-1以下であり、酸素濃度が2×1016個/cm3以下であるIII族窒化物結晶基板が得られた。このIII族窒化物結晶基板を用いたLEDデバイスの相対発光強度は8.5以上に向上した。 In addition, in the step of introducing the alkali metal element-containing material into the reaction vessel, the alkali metal element-containing material is handled in a dry container whose moisture concentration is controlled to 0.54 ppm (dew point: −80 ° C.) or less, and at least the alkali metal In the step of growing a group III nitride crystal from a melt containing an element, a group III element and a nitrogen element, the crystal growth rate is set to 850 ° C. or higher (Examples 5 to 8). A group III nitride crystal substrate having an absorption coefficient of light in the region of 20 cm −1 or less and an oxygen concentration of 2 × 10 16 atoms / cm 3 or less was obtained. The relative light emission intensity of the LED device using this group III nitride crystal substrate was improved to 8.5 or more.
今回開示された実施の形態および実施例はすべての点で例示であって制限的なものではないと考えられるべきである。本発明の範囲は、上記した説明でなくて特許請求の範囲によって示され、特許請求の範囲と均等の意味および範囲内のすべての変更が含まれることが意図される。 It should be understood that the embodiments and examples disclosed herein are illustrative and non-restrictive in every respect. The scope of the present invention is defined by the terms of the claims, rather than the description above, and is intended to include any modifications within the scope and meaning equivalent to the terms of the claims.
上記のように、本発明は、光の吸収係数の小さいIII族窒化物結晶基板およびその製造方法ならびにIII族窒化物半導体デバイスに広く利用することができる。 As described above, the present invention can be widely used for a group III nitride crystal substrate having a small light absorption coefficient, a method for manufacturing the same, and a group III nitride semiconductor device.
1 アルカリ金属元素含有物、2 III族元素含有物、3 窒素元素含有物、4 III族−アルカリ融液、5 融液、6 III族窒化物結晶、11 アルカリ金属元素含有物導入弁、12 アリカリ金属元素含有物供給ライン、13 アルカリ金属元素含有物供給弁、14 アルカリ金属元素供給容器、14a アルカリ金属元素供給容器本体、14b アルカリ金属元素供給容器蓋、15,53,53a,53b ヒータ、21 III族元素含有物導入弁、22 III族元素含有物供給ライン、23 III族元素含有物供給弁、24 III族元素含有物供給容器、31 窒素元素含有物導入弁、32 窒素元素含有物供給ライン、33 窒素元素含有物供給弁、34 窒素元素含有物供給容器、41,42,43 真空引弁、44 真空引装置、51 反応容器、51a 反応容器本体、51b 反応容器蓋、52 結晶成長容器、60 GaN結晶基板、61 n型GaN層、62 多重量子井戸構造、63 p型In0.20Ga0.80N層、64 p型GaN層、65 p側電極、66 n側電極、80 発光、100 乾燥容器、100a 本体容器、100b サイド容器、101 本体パージ弁、102 水分計、103 酸素計、104 サイドパージ弁、105 アームホール、106 手袋、111 ブロワ、112 冷却塔、113 冷却機、114 脱水・脱酸素塔、115 循環弁、121 不活性ガス供給容器、122 不活性ガス供給元弁、123 不活性ガス本体供給弁、124 不活性ガスサイド供給弁、131 真空ポンプ、132 リーク電磁弁、133 本体真空引弁、134 サイド真空引弁、141 ベビーコンプレッサー。 1 Alkali metal element-containing material, 2 Group III element-containing material, 3 Nitrogen element-containing material, 4 Group III-alkali melt, 5 Melt, 6 Group III nitride crystal, 11 Alkali metal element-containing material introduction valve, 12 Alikari Metal element-containing material supply line, 13 Alkali metal element-containing material supply valve, 14 Alkali metal element supply container, 14a Alkali metal element supply container body, 14b Alkali metal element supply container lid, 15, 53, 53a, 53b Heater, 21 III Group element containing material introduction valve, 22 Group III element containing material supply line, 23 Group III element containing material supply valve, 24 Group III element containing material supply container, 31 Nitrogen element containing material introduction valve, 32 Nitrogen element containing material supply line, 33 Nitrogen element-containing material supply valve, 34 Nitrogen element-containing material supply container, 41, 42, 43 Vacuum valve, 44 Vacuum device, 51 Reaction volume , 51a reaction vessel main body, 51b reaction vessel lid, 52 crystal growth vessel, 60 GaN crystal substrate, 61 n-type GaN layer, 62 multiple quantum well structure, 63 p-type In 0.20 Ga 0.80 N layer, 64 p-type GaN layer, 65 p-side electrode, 66 n-side electrode, 80 light emission, 100 drying container, 100a body container, 100b side container, 101 body purge valve, 102 moisture meter, 103 oximeter, 104 side purge valve, 105 armhole, 106 gloves, 111 blower 112 cooling tower, 113 cooling machine, 114 dehydration / deoxygenation tower, 115 circulation valve, 121 inert gas supply container, 122 inert gas supply source valve, 123 inert gas main body supply valve, 124 inert gas side supply valve 131 Vacuum pump, 132 Leak solenoid valve, 133 Main body vacuum valve, 134 Side vacuum valve, 141 Babyco Repressor.
Claims (6)
反応容器内に前記アルカリ金属元素を含有するアルカリ金属元素含有物と、前記III族元素を含有するIII族元素含有物と、前記窒素元素を含有する窒素元素含有物とを導入する工程と、前記反応容器内に少なくとも前記アルカリ金属元素、前記III族元素および前記窒素元素を含有する融液を形成する工程と、前記融液からIII族窒化物結晶を成長させる工程とを含み、
前記融液から前記III族窒化物結晶を成長させる工程において、前記III族窒化物結晶の成長温度を880℃以上とすることを特徴とするIII族窒化物結晶基板の製造方法。 A method for producing a group III nitride crystal substrate for growing a group III nitride crystal from a melt containing an alkali metal element, a group III element and a nitrogen element,
Introducing the alkali metal element-containing material containing the alkali metal element into the reaction vessel, the group III element-containing material containing the group III element, and the nitrogen element-containing material containing the nitrogen element; Forming a melt containing at least the alkali metal element, the group III element and the nitrogen element in a reaction vessel, and growing a group III nitride crystal from the melt,
A method for producing a group III nitride crystal substrate, wherein, in the step of growing the group III nitride crystal from the melt, a growth temperature of the group III nitride crystal is set to 880 ° C. or higher.
前記反応容器内に少なくとも前記アルカリ金属元素、前記III族元素および前記窒素元素を含有する融液を形成する工程が、前記III族−アルカリ融液に窒素元素含有物を溶解させる工程を含む請求項1に記載のIII族窒化物結晶基板の製造方法。 The step of introducing the alkali metal element-containing material, the group III element-containing material, and the nitrogen element-containing material into the reaction vessel includes the alkali metal element-containing material and the group III element-containing material in the reaction vessel. A step of introducing a product, a step of forming a group III-alkali melt containing at least the alkali metal element and the group III element in the reaction vessel, and the nitrogen-containing material in the group III-alkali melt. Including the step of introducing
The step of forming a melt containing at least the alkali metal element, the group III element and the nitrogen element in the reaction vessel includes a step of dissolving a nitrogen element-containing material in the group III-alkali melt. 2. A method for producing a group III nitride crystal substrate according to 1.
400nm〜600nmの波長領域にある光の吸収係数が、40cm-1以下であるIII族窒化物結晶基板。 A group III nitride crystal substrate produced by the method for producing a group III nitride crystal substrate according to any one of claims 1 to 3,
A group III nitride crystal substrate having an absorption coefficient of light in a wavelength region of 400 nm to 600 nm of 40 cm −1 or less.
Priority Applications (1)
| Application Number | Priority Date | Filing Date | Title |
|---|---|---|---|
| JP2009271689A JP2010077022A (en) | 2009-11-30 | 2009-11-30 | Group iii nitride crystal substrate, method for producing the same, and group iii nitride semiconductor device |
Applications Claiming Priority (1)
| Application Number | Priority Date | Filing Date | Title |
|---|---|---|---|
| JP2009271689A JP2010077022A (en) | 2009-11-30 | 2009-11-30 | Group iii nitride crystal substrate, method for producing the same, and group iii nitride semiconductor device |
Related Parent Applications (1)
| Application Number | Title | Priority Date | Filing Date |
|---|---|---|---|
| JP2004116879A Division JP2005298269A (en) | 2004-04-12 | 2004-04-12 | Group III nitride crystal substrate, manufacturing method thereof, and group III nitride semiconductor device |
Publications (1)
| Publication Number | Publication Date |
|---|---|
| JP2010077022A true JP2010077022A (en) | 2010-04-08 |
Family
ID=42207894
Family Applications (1)
| Application Number | Title | Priority Date | Filing Date |
|---|---|---|---|
| JP2009271689A Pending JP2010077022A (en) | 2009-11-30 | 2009-11-30 | Group iii nitride crystal substrate, method for producing the same, and group iii nitride semiconductor device |
Country Status (1)
| Country | Link |
|---|---|
| JP (1) | JP2010077022A (en) |
Cited By (3)
| Publication number | Priority date | Publication date | Assignee | Title |
|---|---|---|---|---|
| WO2013176215A1 (en) | 2012-05-23 | 2013-11-28 | 株式会社ダイセル | Separating agent |
| WO2014087937A1 (en) | 2012-12-06 | 2014-06-12 | 株式会社ダイセル | Separating agent |
| EP4165689A2 (en) * | 2020-06-15 | 2023-04-19 | Google LLC | Low-defect optoelectronic devices grown by mbe and other techniques |
Citations (7)
| Publication number | Priority date | Publication date | Assignee | Title |
|---|---|---|---|---|
| JP2000012900A (en) * | 1998-06-18 | 2000-01-14 | Sumitomo Electric Ind Ltd | GaN single crystal substrate and method of manufacturing the same |
| JP2002293696A (en) * | 2001-03-29 | 2002-10-09 | Japan Science & Technology Corp | Manufacturing method of GaN single crystal |
| JP2003511326A (en) * | 1999-10-06 | 2003-03-25 | ゼネラル・エレクトリック・カンパニイ | Crystalline gallium nitride and method of forming crystalline gallium nitride |
| WO2004013385A1 (en) * | 2002-07-31 | 2004-02-12 | Osaka Industrial Promotion Organization | Method for producing group iii element nitride single crystal and group iii element nitride transparent single crystal prepared thereby |
| JP2005112718A (en) * | 2003-09-18 | 2005-04-28 | Mitsubishi Chemicals Corp | Method for producing group 13 nitride crystal |
| JP2005154254A (en) * | 2003-10-31 | 2005-06-16 | Sumitomo Electric Ind Ltd | Group III nitride crystal and method for producing the same, and apparatus for producing group III nitride crystal |
| WO2005095682A1 (en) * | 2004-03-31 | 2005-10-13 | Ngk Insulators, Ltd. | Gallium nitride single crystal growing method and gallium nitride single crystal |
-
2009
- 2009-11-30 JP JP2009271689A patent/JP2010077022A/en active Pending
Patent Citations (7)
| Publication number | Priority date | Publication date | Assignee | Title |
|---|---|---|---|---|
| JP2000012900A (en) * | 1998-06-18 | 2000-01-14 | Sumitomo Electric Ind Ltd | GaN single crystal substrate and method of manufacturing the same |
| JP2003511326A (en) * | 1999-10-06 | 2003-03-25 | ゼネラル・エレクトリック・カンパニイ | Crystalline gallium nitride and method of forming crystalline gallium nitride |
| JP2002293696A (en) * | 2001-03-29 | 2002-10-09 | Japan Science & Technology Corp | Manufacturing method of GaN single crystal |
| WO2004013385A1 (en) * | 2002-07-31 | 2004-02-12 | Osaka Industrial Promotion Organization | Method for producing group iii element nitride single crystal and group iii element nitride transparent single crystal prepared thereby |
| JP2005112718A (en) * | 2003-09-18 | 2005-04-28 | Mitsubishi Chemicals Corp | Method for producing group 13 nitride crystal |
| JP2005154254A (en) * | 2003-10-31 | 2005-06-16 | Sumitomo Electric Ind Ltd | Group III nitride crystal and method for producing the same, and apparatus for producing group III nitride crystal |
| WO2005095682A1 (en) * | 2004-03-31 | 2005-10-13 | Ngk Insulators, Ltd. | Gallium nitride single crystal growing method and gallium nitride single crystal |
Non-Patent Citations (1)
| Title |
|---|
| JPN6010045353; Masato Aoki, Hisanori Yamane, Masahiko Shimada, et al.: 'Growth of GaN single crystals from a Na-Ga melt at 750℃ and 5 MPa of N2' Journal of Crystal Growth 218, 2000, 7-12 * |
Cited By (8)
| Publication number | Priority date | Publication date | Assignee | Title |
|---|---|---|---|---|
| WO2013176215A1 (en) | 2012-05-23 | 2013-11-28 | 株式会社ダイセル | Separating agent |
| US9233355B2 (en) | 2012-05-23 | 2016-01-12 | Daicel Corporation | Separating agent |
| EP4016075A1 (en) | 2012-05-23 | 2022-06-22 | Daicel Corporation | Separating agent |
| WO2014087937A1 (en) | 2012-12-06 | 2014-06-12 | 株式会社ダイセル | Separating agent |
| KR20150091372A (en) | 2012-12-06 | 2015-08-10 | 주식회사 다이셀 | Separating agent |
| US9409145B2 (en) | 2012-12-06 | 2016-08-09 | Daicel Corporation | Separating agent |
| EP4165689A2 (en) * | 2020-06-15 | 2023-04-19 | Google LLC | Low-defect optoelectronic devices grown by mbe and other techniques |
| JP2023530956A (en) * | 2020-06-15 | 2023-07-20 | グーグル エルエルシー | Low defect optoelectronic devices grown by MBE and other techniques |
Similar Documents
| Publication | Publication Date | Title |
|---|---|---|
| JP2005298269A (en) | Group III nitride crystal substrate, manufacturing method thereof, and group III nitride semiconductor device | |
| US7905958B2 (en) | Group III-nitride semiconductor crystal and manufacturing method thereof, and group III-nitride semiconductor device | |
| JP4001170B2 (en) | Group III element nitride single crystal manufacturing method and group III element nitride transparent single crystal obtained thereby | |
| CN101605930B (en) | N-type conductive aluminum nitride semiconductor crystal and method for producing the same | |
| JP4831940B2 (en) | Manufacturing method of semiconductor device | |
| JP4821007B2 (en) | Method for producing group III element nitride crystal and group III element nitride crystal | |
| US20110220912A1 (en) | Semi-insulating Group III Metal Nitride and Method of Manufacture | |
| JP2007277055A (en) | Semiconductor crystal manufacturing method and semiconductor substrate | |
| WO2007108338A1 (en) | Process and apparatus for producing nitride single crystal | |
| JP2010077022A (en) | Group iii nitride crystal substrate, method for producing the same, and group iii nitride semiconductor device | |
| JP2007320790A (en) | Silicon carbide single crystal manufacturing method, silicon carbide single crystal ingot, and silicon carbide single crystal substrate | |
| JP2002134416A (en) | Crystal growth method and manufacturing method of p-type group III nitride, and semiconductor device | |
| CN106068340A (en) | The manufacture method of crystal of nitride | |
| JP4749792B2 (en) | Method for producing aluminum group III nitride crystal and crystal laminated substrate | |
| JP2004292286A (en) | Apparatus and method for producing group III-V compound crystal, and method for etching seed crystal surface | |
| JP4824920B2 (en) | Group III element nitride crystal semiconductor device | |
| JP5326865B2 (en) | Method for producing sapphire single crystal | |
| US20250034751A1 (en) | METHOD OF PRODUCING SINGLE CRYSTAL AlN, SINGLE CRYSTAL AlN, AND SINGLE CRYSTAL AlN PRODUCTION APPARATUS | |
| JP2009221056A (en) | Crystal growth method, crystal growth apparatus, and semiconductor device | |
| JP5471398B2 (en) | Sapphire single crystal wafer for epitaxial growth and manufacturing method thereof | |
| JP2010027913A (en) | Method for fabricating light emitting element and light emitting element | |
| JP2005239517A (en) | Gallium oxide single crystal composite and method for producing the same | |
| JP2006179810A (en) | Method for producing group III nitride crystal | |
| JP2009215085A (en) | Flux treating device | |
| JPS60239397A (en) | Preparation of red light emitting element comprising gallium phosphide |
Legal Events
| Date | Code | Title | Description |
|---|---|---|---|
| A521 | Written amendment |
Free format text: JAPANESE INTERMEDIATE CODE: A523 Effective date: 20091224 |
|
| A977 | Report on retrieval |
Free format text: JAPANESE INTERMEDIATE CODE: A971007 Effective date: 20120404 |
|
| A131 | Notification of reasons for refusal |
Free format text: JAPANESE INTERMEDIATE CODE: A131 Effective date: 20120828 |
|
| A02 | Decision of refusal |
Free format text: JAPANESE INTERMEDIATE CODE: A02 Effective date: 20130108 |
