JP2010066555A - Content display - Google Patents
Content display Download PDFInfo
- Publication number
- JP2010066555A JP2010066555A JP2008233142A JP2008233142A JP2010066555A JP 2010066555 A JP2010066555 A JP 2010066555A JP 2008233142 A JP2008233142 A JP 2008233142A JP 2008233142 A JP2008233142 A JP 2008233142A JP 2010066555 A JP2010066555 A JP 2010066555A
- Authority
- JP
- Japan
- Prior art keywords
- content
- information
- content information
- unit
- display
- Prior art date
- Legal status (The legal status is an assumption and is not a legal conclusion. Google has not performed a legal analysis and makes no representation as to the accuracy of the status listed.)
- Pending
Links
- 238000000034 method Methods 0.000 description 6
- 238000010586 diagram Methods 0.000 description 3
- 238000004891 communication Methods 0.000 description 2
- 238000005516 engineering process Methods 0.000 description 2
- 239000004973 liquid crystal related substance Substances 0.000 description 1
- 239000000463 material Substances 0.000 description 1
- 238000005259 measurement Methods 0.000 description 1
- 238000012545 processing Methods 0.000 description 1
- 238000012546 transfer Methods 0.000 description 1
Images
Landscapes
- Controls And Circuits For Display Device (AREA)
- User Interface Of Digital Computer (AREA)
- Storage Device Security (AREA)
Abstract
Description
本発明はコンテンツ情報を表示するコンテンツ表示装置に関する。 The present invention relates to a content display device that displays content information.
オフィスにはプリンタや複写機が多く普及しており、例えばパーソナルコンピュータ(以下「PC」と記す)で作成・編集した電子データをPCの画面で閲覧するだけでなく、プリンタ等から紙に出力して閲覧する場合がある。また、PCで作成・編集した電子データを会議資料として使用する場合、会議の参加者用にプリンタ等から多量に紙に出力して会議室に出力した紙を持ち運んで使用する。 Printers and copiers are widely used in offices. For example, electronic data created and edited on a personal computer (hereinafter referred to as “PC”) can be viewed on a PC screen and output to paper from a printer. May be viewed. When electronic data created and edited on a PC is used as a conference material, a large amount of paper output from a printer or the like is output to a conference room and used for conference participants.
しかし、プリンタ等から出力した紙は不要になると廃棄処分となってしまうため、エコロジーの観点で好ましくない。従って、プリンタ等から紙に出力せず、PCで作成・編集した電子データをユーザーが気軽に持ち運んで閲覧出来る方法が望まれていた。 However, since paper output from a printer or the like is not necessary, it is discarded, which is not preferable from the viewpoint of ecology. Therefore, there has been a demand for a method in which a user can easily carry and browse electronic data created and edited on a PC without outputting the data from a printer or the like to a paper.
そこで、近年、紙に出力せず電子データを持ち運んで閲覧出来る電子ペーパーの技術が実用化されつつあり、将来的にはオフィス等においても利用される可能性がある。また、ハードディスクを持たないPCを持ち歩き、必要な場合にそのPCからサーバにアクセスして電子データを閲覧する技術も考えられている。 Therefore, in recent years, a technique of electronic paper that can be carried and viewed without being output on paper has been put into practical use, and may be used in offices and the like in the future. In addition, a technique for carrying a PC without a hard disk and browsing the electronic data by accessing the server from the PC when necessary is also considered.
電子ペーパー等の表示記録媒体の技術としては特許文献1に記載の技術がある。特許文献1に記載の技術は、ドキュメント画像を書き換え可能に表示保持する電子ペーパーを用いて、ドキュメント画像の表示態様をユーザー毎に変更することにより、ユーザー権限に基づく個々のドキュメント管理を合理的に行うという技術である。
ところで、電子ペーパー等を用いて電子データを閲覧する際に、閲覧する時刻や時間に関してセキュリティを考慮する必要がある。 By the way, when browsing electronic data using electronic paper or the like, it is necessary to consider security regarding the browsing time and time.
例えば、オフィスにおいてサーバから電子データを取得して電子ペーパー等で閲覧する場合、オフィスの就業時間において業務に関する電子データをサーバから取得して自由に閲覧することは問題ない。しかし、深夜などの就業時間外で業務に関する電子データを自由に閲覧させる必要はなく、就業時間外で業務に関する電子データを自由に閲覧出来てしまうと、例えばオフィスへの侵入者に業務に関する機密情報が漏洩してしまう可能性がある。更に就業時間内であっても、例えば電子ペーパー等を社外に持ち運んで社外の会議に臨む場合、会議の時間は業務に関する電子データを閲覧可能としてよいが、会議の時間外(移動時間等)に業務に関する電子データを閲覧出来てしまうと、社外の人物に業務に関する機密情報が漏洩してしまう可能性がある。 For example, when electronic data is acquired from a server in an office and browsed by electronic paper or the like, there is no problem in acquiring electronic data related to work from the server and browsing freely during office hours. However, it is not necessary to freely view electronic data related to work outside working hours such as late at night. May leak. Furthermore, even if it is within working hours, for example, when electronic paper is carried outside the company to attend an outside meeting, it is possible to view electronic data related to work during the meeting time, but outside the meeting time (travel time, etc.) If electronic data related to business can be viewed, confidential information related to business may be leaked to a person outside the company.
また、オフィスにおいてサーバから業務に関する電子データを電子ペーパー等に記憶させ、長い時間閲覧出来る状態にしておくと、ユーザーが就業時間外にオフィス外で閲覧する可能性があり、オフィス外で閲覧している最中に不用意に他人に機密情報が見られ、機密情報が漏洩してしまう可能性がある。 In addition, if electronic data related to work is stored in the electronic paper etc. from the server in the office and can be browsed for a long time, there is a possibility that the user may browse outside the office outside the working hours. There is a possibility that confidential information is inadvertently seen by other people while the information is being leaked and the confidential information is leaked.
特許文献1に記載の技術ではユーザー毎にドキュメント画像の表示態様を変更しているが、閲覧する時刻や時間に関してセキュリティは考慮されておらず、機密性の観点で万全ではない。 In the technique described in Patent Document 1, the display mode of a document image is changed for each user, but security is not considered with respect to browsing time and time, and it is not perfect in terms of confidentiality.
そこで、本発明の目的は、閲覧する時刻や時間等に基づいてコンテンツ情報を管理し、機密性の高いコンテンツ情報の漏洩を防止するコンテンツ表示装置を提供することになる。 Accordingly, an object of the present invention is to provide a content display device that manages content information based on browsing time, time, etc., and prevents leakage of highly confidential content information.
上記目的を達成するため、本発明に係るコンテンツ表示装置は、
コンテンツ情報と、時刻又は所定時間に対応してコンテンツ情報の利用制限が規定された制限情報と、を保持する保持部と、
当該保持部により保持されたコンテンツ情報を表示する表示部と、
時刻情報又は所定の時間情報の少なくとも一方を取得する取得部と、
少なくとも前記表示部を制御する制御部と、を有し、
前記制御部は、前記保持部に保持された前記制限情報と、前記取得部により取得された前記時刻情報又は前記所定の時間情報に基づき、前記保持部に保持されたコンテンツ情報の中から利用出来るコンテンツ情報を把握し、利用出来るコンテンツ情報を前記表示部に表示するよう、少なくとも前記表示部を制御することを特徴とするものである。
In order to achieve the above object, a content display device according to the present invention provides:
A holding unit that holds the content information and restriction information in which restriction of use of the content information is defined corresponding to time or a predetermined time;
A display unit for displaying the content information held by the holding unit;
An acquisition unit for acquiring at least one of time information or predetermined time information;
A control unit for controlling at least the display unit,
The controller can be used from the content information held in the holding unit based on the restriction information held in the holding unit and the time information or the predetermined time information acquired by the acquisition unit. It is characterized in that at least the display unit is controlled so as to grasp content information and display usable content information on the display unit.
本発明に係るコンテンツ表示装置によれば、閲覧する時刻や時間等に基づいてコンテンツ情報を管理し、機密性の高いコンテンツ情報の漏洩を防止することが出来る。 According to the content display device of the present invention, content information can be managed based on browsing time, time, etc., and leakage of highly confidential content information can be prevented.
[コンテンツ表示装置の概要]図1はコンテンツ表示装置とPCが接続された状態を示す概略図である。 [Outline of Content Display Device] FIG. 1 is a schematic diagram showing a state in which a content display device and a PC are connected.
図1に示すコンテンツ表示装置Aは電子ペーパーやモバイルパソコン等、持ち運び可能な表示端末である。コンテンツ表示装置Aは内部に複数のコンテンツ情報(画像や文章等)を記憶(保持)しており、コンテンツ表示装置Aの表示部104において記憶されたコンテンツ情報が表示される。
A content display device A shown in FIG. 1 is a portable display terminal such as an electronic paper or a mobile personal computer. The content display device A stores (holds) a plurality of pieces of content information (images, sentences, etc.) therein, and the content information stored in the
コンテンツ表示装置Aに記憶されたコンテンツ情報のうち表示部104に表示させるコンテンツ情報は、選択部105を通じてユーザーが選択する。
The content information to be displayed on the
図1に示すようにコンテンツ表示装置AはクレードルKにセットされ充電等が行われる。クレードルKにはPC(パーソナルコンピュータ)が接続されている。コンテンツ情報をコンテンツ表示装置Aに記憶させる場合、コンテンツ表示装置AをクレードルKにセットし、PCの画面又はコンテンツ表示装置Aの表示部104を通じて所定のコンテンツ情報をPCからコンテンツ表示装置Aに転送させる。
As shown in FIG. 1, the content display device A is set in the cradle K and charged. A PC (personal computer) is connected to the cradle K. When content information is stored in the content display device A, the content display device A is set in the cradle K, and predetermined content information is transferred from the PC to the content display device A through the screen of the PC or the
なお、クレードルKを介さず、コンテンツ表示装置AをUSBやIEEE1394でPCに直に接続し、コンテンツ情報をPCからコンテンツ表示装置Aに転送させるようにしてもよい。また、無線LANやBlueToothを通じてコンテンツ情報をPCからコンテンツ表示装置Aに転送させても良い。 Note that the content display device A may be directly connected to the PC via USB or IEEE 1394 without using the cradle K, and the content information may be transferred from the PC to the content display device A. Further, the content information may be transferred from the PC to the content display device A through a wireless LAN or BlueTooth.
図2はコンテンツ表示装置Aのブロック図であり、代表的な構成を示している。コンテンツ表示装置AとPCは通信部107を介してコンテンツ情報の授受が行われる。
FIG. 2 is a block diagram of the content display apparatus A and shows a typical configuration. The content display device A and the PC exchange content information via the
制御部101はコンテンツ表示装置Aにおける各部の動作を制御するものであり、具体的にはCPU(Central Processing Unit)、ROM(Read Only Memory)、RAM(Random Access Memory)等から構成される。
The
保持部102は、PCから転送されたコンテンツ情報を保持するものであり、ハードディスク等、情報を記憶出来るものであれば良い。また、保持部102は、時刻又は所定時点からの経過時間(所定時間)に対応してコンテンツ情報の利用制限が規定された制限情報も保持しており、この制限情報を利用することにより表示部104に表示されるコンテンツ情報が制限される。
The
取得部103は、時刻に関する情報(時刻情報)又は所定時点からの経過時間に関する情報(所定の時間情報)を取得するものであり、保持部102に保持された制限情報と同様、取得部103により取得された時刻情報等を利用することにより表示部104に表示されるコンテンツ情報が制限される。時刻情報は、電波や通信可能な所定のサーバから取得する。また、取得部103はタイマーを内蔵しており、例えばコンテンツ表示装置Aの電源がONした時からの経過時間や、表示部104にコンテンツ情報が表示された時からの経過時間を取得する。
The
表示部104は、コンテンツ表示装置Aにおいて利用出来るコンテンツ情報を表示する。表示部104はタッチパネル形式となっており、表示部104に表示されたコンテンツ情報に対して書き込み等を行うことが出来る。表示部104は液晶、有機EL、プラズマ等、公知の表示手段である。
The
選択部105は、表示部104に表示させるコンテンツ情報を選択したり、コンテンツ表示装置Aにおいてどのような動作を実行させるのか選択したりする。
The
通知部106は、コンテンツ表示装置Aを使用するユーザーに所定の警告等を通知するものであり、表示部104を通じて通知したり、音声を通じて通知したりする。
The
[コンテンツ情報の利用制限]図1、図2に示すコンテンツ表示装置Aは持ち運び可能な表示端末であるが、例えば、オフィスにおいてPCから業務に関するコンテンツ情報を取得してコンテンツ表示装置Aで閲覧する場合、オフィスの就業時間において業務に関するコンテンツ情報を自由に閲覧することは問題ない。しかし、深夜などの就業時間外で業務に関するコンテンツ情報を自由に閲覧出来てしまうと、例えばオフィスへの侵入者に業務に関する機密情報が漏洩してしまう可能性がある。そこで、時刻や時間を基準としてコンテンツ表示装置Aで閲覧出来るコンテンツ情報を制限するようにする。以下、この点について詳しく説明する。 [Content Information Usage Restriction] The content display device A shown in FIGS. 1 and 2 is a portable display terminal. For example, in the office, content information related to work is acquired from a PC and viewed on the content display device A. There is no problem in freely browsing content information related to work during office hours. However, if content information related to work can be freely browsed outside working hours such as late at night, confidential information related to the work may be leaked to an intruder into the office, for example. Therefore, the content information that can be browsed by the content display device A is limited based on time and time. Hereinafter, this point will be described in detail.
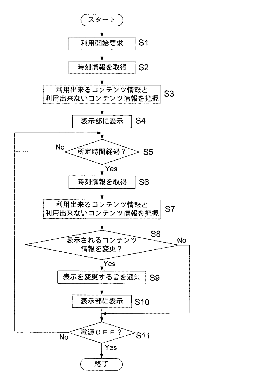
[時刻を基準とするコンテンツ情報の利用制限]まず、時刻を基準として利用出来るコンテンツ情報を把握する動作について説明する。図3は、時刻を基準として利用出来るコンテンツ情報を把握してコンテンツ情報を表示部に表示する動作を示すフローチャート図である。なお、図3における判断ステップ(ステップS5、S8、S11)は、制御部101により実行される。 [Restriction on Use of Content Information Based on Time] First, an operation for grasping content information that can be used on the basis of time will be described. FIG. 3 is a flowchart showing an operation of grasping content information that can be used on the basis of time and displaying the content information on the display unit. Note that the determination steps (steps S5, S8, and S11) in FIG.
ユーザーによってコンテンツ表示装置Aの電源がONされ、利用開始要求(利用開始時を示す要求である)があると(ステップS1)、コンテンツ表示装置Aにおける取得部103によって、現在の時刻に関する情報である時刻情報を取得する(ステップS2)。取得した時刻情報は保持部102に一旦保存される。
When the power of the content display device A is turned on by the user and there is a use start request (a request indicating the start of use) (step S1), the
ステップS2において時刻情報を取得すると、現在の時刻において利用出来るコンテンツ情報と利用出来ないコンテンツ情報を各々把握する(ステップS3)。 When the time information is acquired in step S2, the content information that can be used at the current time and the content information that cannot be used are grasped (step S3).
利用出来るコンテンツ情報と利用出来ないコンテンツ情報の把握は、ステップS2で取得した時刻情報と、時刻に対応してコンテンツ情報の利用制限が規定された制限情報に基づいて実行される。制限情報はコンテンツ表示装置Aにおける保持部102に保持されており、例えば以下の表1、表2に示すようなデータテーブルの情報である。なお、本実施形態では、保持部102においてコンテンツ1〜コンテンツ50の50個のコンテンツ情報が保持されているものとする。
The grasp of the content information that can be used and the content information that cannot be used is executed based on the time information acquired in step S2 and the restriction information that defines the restriction on the use of the content information corresponding to the time. The restriction information is held in the holding
表1は、時刻毎にセキュリティレベルが設定されており、時刻によって3段階に分かれている。例えばステップS2において取得した時刻が8:30〜17:10の間であれば、保持部102に保持されているコンテンツ1〜コンテンツ50の全てのコンテンツ情報が利用出来るコンテンツ情報であると把握される。また、例えばステップS2において取得した時刻が7:00〜8:30の間、又は17:10〜22:00の間であれば、保持部102に保持されているコンテンツ2〜50が利用出来るコンテンツ情報であると把握され、コンテンツ1が一部利用出来るコンテンツ情報であると把握される。
In Table 1, the security level is set for each time, and is divided into three stages according to the time. For example, if the time acquired in step S2 is between 8:30 and 17:10, it is understood that all the content information of content 1 to content 50 held in the holding
表2は、コンテンツ毎に利用出来る時刻、一部利用出来る時刻、利用出来ない時刻が規定されている。例えばステップS2において取得した時刻が5月30日の11:00であれば、保持部102に保持されているコンテンツ1は利用出来るコンテンツ情報であると把握される(表2に示すように時刻だけでなく日付も考慮して把握させるようにしても良い)。
Table 2 defines the time that can be used for each content, the time that can be partially used, and the time that cannot be used. For example, if the time acquired in step S2 is 11:00 on May 30, the content 1 held in the holding
ステップS3において利用出来るコンテンツ情報と利用出来ないコンテンツ情報を把握すると、利用出来るコンテンツ情報をコンテンツ表示装置Aにおける表示部104に表示する(ステップS4)。一方、利用出来ないコンテンツ情報は機密性を考慮して表示部104に表示しない。このように時刻情報に基づいてコンテンツ情報の利用を制限すれば、機密性の高いコンテンツ情報の漏洩を防止しつつ、利用出来るコンテンツ情報を閲覧することが出来る。
When the content information that can be used and the content information that cannot be used are grasped in step S3, the usable content information is displayed on the
なお、表示部104におけるコンテンツ情報の表示動作であるが、利用出来ないコンテンツ情報に対して視認性を劣化(例えば文字や画像をぼかす等)させて表示部104に表示しても良い。このようにすれば同様に機密性の高いコンテンツ情報の漏洩を防止出来る。
Although the display operation of the content information is performed on the
また、表1、表2に示す制限情報を利用して把握した一部利用出来るコンテンツ情報に対しては、例えば、図4に示すようにコンテンツ情報の最初の5文字のみを表示したり、図5に示すように書誌事項のみ表示したりして、一部の情報のみを表示部104に表示しても良い。このようにすればコンテンツ情報を全部は閲覧させなくないが、一部は閲覧させたい場合に有効となる。
For the partially usable content information grasped by using the restriction information shown in Tables 1 and 2, for example, only the first five characters of the content information are displayed as shown in FIG. As shown in FIG. 5, only bibliographic items may be displayed, or only some information may be displayed on the
また、ステップS4において利用出来るコンテンツ情報を表示する場合、最初に利用出来るコンテンツ情報を一部の情報のみを表示し、ユーザーが選択した場合にコンテンツ情報の全体を表示するようにしても良い。 Further, when displaying the content information that can be used in step S4, only a part of the content information that can be used first is displayed, and when the user selects, the entire content information may be displayed.
また、ステップS3において利用出来るコンテンツ情報と利用出来ないコンテンツ情報を把握すると、利用出来るコンテンツ情報のみをリストとして表示し、閲覧したい場合はリストの中のコンテンツ情報を選択するようにしても良い。また、利用出来るコンテンツ情報と利用出来ないコンテンツ情報をリストとして表示し、利用出来ないコンテンツ情報の閲覧を要求しても表示しなかったり、視認性を劣化させて表示したりする。リストにおいて利用出来るコンテンツ情報と利用出来ないコンテンツ情報が区別して表示しても良いし、利用可能な時刻情報を表示しても良い。また、閲覧要求時に今は閲覧出来ない等をユーザーに対して通知しても良い。 In addition, when the content information that can be used and the content information that cannot be used are grasped in step S3, only the content information that can be used may be displayed as a list, and if it is desired to browse, the content information in the list may be selected. Moreover, the content information that can be used and the content information that cannot be used are displayed as a list, and even if a request for browsing the content information that cannot be used is requested, it is not displayed, or the visibility is deteriorated. The content information that can be used and the content information that cannot be used in the list may be displayed separately, or usable time information may be displayed. Moreover, you may notify a user that it cannot browse now at the time of a browsing request.
ステップS3で一度、時刻情報に基づいて利用出来るコンテンツ情報と利用出来ないコンテンツ情報を把握し、その結果に基づいてステップS4で利用出来るコンテンツ情報を表示部104に表示したが、継続的にコンテンツ情報の機密性を確保するため、定期的に時刻情報を取得して利用出来るコンテンツ情報と利用出来ないコンテンツ情報を把握する。
In step S3, the content information that can be used and the content information that cannot be used are grasped once based on the time information, and the content information that can be used in step S4 is displayed on the
ステップS5において、例えば時刻情報を取得した時(ステップS2)から所定時間経過したか否か判断する。所定時間経過したか否かは取得部103に内蔵されたタイマーの計測時間を用いて判断する。
In step S5, for example, it is determined whether or not a predetermined time has elapsed since the time information was acquired (step S2). Whether or not a predetermined time has elapsed is determined using a measurement time of a timer built in the
ステップS5で所定時間経過したと判断すると(ステップS5;Yes)、ステップS2と同様に取得部103によって現在の時刻情報を取得し(ステップS6)、表1や表2に示す制限情報を利用して現在の時刻において利用出来るコンテンツ情報と利用出来ないコンテンツ情報を各々把握する(ステップS7)。
If it is determined in step S5 that the predetermined time has passed (step S5; Yes), the current time information is acquired by the
そしてステップS7で把握した利用出来るコンテンツ情報等と、前に把握した利用出来るコンテンツ情報等を比較し、表示されるコンテンツ情報を変更するか否か判断する(ステップS8)。 Then, the usable content information or the like grasped in step S7 is compared with the usable content information or the like grasped before, and it is determined whether or not to change the displayed content information (step S8).
ステップS8において表示されるコンテンツ情報を変更すると判断した場合は(ステップS8;Yes)、表示されるコンテンツ情報の種類を変更する旨を通知部106により通知した後(ステップS9)、ステップS7で把握した利用出来るコンテンツ情報をコンテンツ表示装置Aの表示部104に表示し(ステップS10)、利用出来ないコンテンツ情報は機密性を考慮して表示部104に表示しない。つまり、ユーザーがコンテンツ情報を閲覧中であっても、時刻情報を取得した結果、閲覧中のコンテンツ情報が利用出来ないコンテンツ情報として把握された場合は、その旨が通知され、利用出来るコンテンツ情報、利用出来ないコンテンツ情報等の種類を変更することになる(なお、表示部104の片隅に利用出来るコンテンツ情報の条件を表示しても良い)。このようにコンテンツ情報の種類を変更する旨を通知部106により通知すれば、ユーザーは違和感なくコンテンツ表示装置Aの利用を継続することが出来る。
If it is determined in step S8 that the content information to be displayed is to be changed (step S8; Yes), the
なお、ステップS9における通知の後で、コンテンツ情報の表示を変更するか否かを選択部105を通じてユーザーに選択してもらい、表示の変更が選択された場合にのみ表示部104に表示されるコンテンツ情報の種類を変更するようにしても良い。このようにすれば、ユーザーの意思も反映されることが出来る。
In addition, after the notification in step S9, the user selects whether or not to change the display of the content information through the
ステップS8において表示されるコンテンツ情報を変更しないと判断した場合(ステップS8;No)、以前把握されたものと同様の利用出来るコンテンツ情報をコンテンツ表示装置Aにおける表示部104に表示し、利用出来ないコンテンツ情報は機密性を考慮して表示部104に表示しない。
When it is determined that the content information displayed in step S8 is not to be changed (step S8; No), the same usable content information as previously grasped is displayed on the
そして電源OFFでない限り、ステップS5〜S10までの動作を繰り返す。 Unless the power is turned off, the operations from step S5 to S10 are repeated.
以上説明したように、定期的に時刻情報を取得して利用出来るコンテンツ情報と利用出来ないコンテンツ情報を把握すれば、継続的に機密性の高いコンテンツ情報の漏洩を防止することが出来る。 As described above, if content information that can be used and content information that cannot be used by periodically acquiring time information is grasped, leakage of highly confidential content information can be prevented continuously.
[所定時点からの経過時間を基準とするコンテンツ情報の利用制限]次に所定時点からの経過時間を基準として利用出来るコンテンツ情報を把握する動作について説明する。図6は、所定時点からの経過時間を基準として利用出来るコンテンツ情報を把握してコンテンツ情報を表示部に表示する動作を示すフローチャート図である。なお、図6における判断ステップ(ステップS23、S26、S29)は、制御部101により実行される。 [Restriction on Use of Content Information Based on Elapsed Time from Predetermined Time] Next, an operation for grasping content information that can be used on the basis of time elapsed from a predetermined time will be described. FIG. 6 is a flowchart showing an operation of grasping content information that can be used on the basis of the elapsed time from a predetermined time point and displaying the content information on the display unit. Note that the determination steps (steps S23, S26, and S29) in FIG.
ユーザーによってコンテンツ表示装置Aの電源がONされ、利用開始要求(利用開始時を示す要求である)があると(ステップS21)、保持部102に保持されているコンテンツ情報を表示部104に表示する(ステップS22)。ステップS22の段階ではコンテンツ情報の利用が制限されず、保持部102に保持されている全てのコンテンツ情報が表示可能となっている。
When the power of the content display apparatus A is turned on by the user and there is a use start request (a request indicating the start of use) (step S21), the content information held in the holding
次に、表示部104における表示動作からの時間を取得部103に内蔵するタイマーで計測し、所定時間経過したが否か判断する(ステップS23)。所定時間は予め決められている時間であり、また、コンテンツ情報の利用を定期的に制限するために決められている時間である。
Next, the time from the display operation in the
ステップS23で所定時間経過したと判断すると(ステップS23;Yes)、取得部103によって経過時間情報(所定の時間情報)を取得することとなり(ステップS24)、経過時間情報に基づいて利用出来るコンテンツ情報と利用出来ないコンテンツ情報を各々把握する(ステップS25)。
If it is determined in step S23 that the predetermined time has elapsed (step S23; Yes), the
利用出来るコンテンツ情報と利用出来ないコンテンツ情報の把握は、ステップS24で取得した経過時間情報と、所定時間に対応してコンテンツ情報の利用制限が規定された制限情報に基づいて実行される。制限情報はコンテンツ表示装置Aにおける保持部102に保持されており、例えば以下の表3、表4に示すようなデータテーブルの情報である。なお、保持部102においてコンテンツ1〜コンテンツ50の50個のコンテンツ情報が保持されているものとする。
The grasping of the usable content information and the unusable content information is executed based on the elapsed time information acquired in step S24 and the restriction information in which the use restriction of the content information is defined corresponding to the predetermined time. The restriction information is held in the holding
表3は、表示部104に表示されてからの経過時間毎にセキュリティレベルが設定されており、経過時間によって3段階に分かれている。例えばステップS24において取得された経過時間が表示部104に表示されてから1日経過した時間であれば、保持部102に保持されているコンテンツ1〜コンテンツ50の全てのコンテンツ情報が利用出来るコンテンツ情報であると把握される。また、例えばステップS24において取得された経過時間が表示部104に表示されてから5日経過した時間であれば、表3に示す制限情報が利用され、保持部102に保持されているコンテンツ2〜50が利用出来るコンテンツ情報であると把握される。また、コンテンツ1が一部利用出来るコンテンツ情報であると把握される。
In Table 3, a security level is set for each elapsed time after being displayed on the
表4は、コンテンツ毎に利用出来る経過時間、一部利用出来る経過時間、利用出来ない経過時間が規定されている。例えばステップS24において取得された経過時間が、表示部104に表示されてから2日経過した時間であれば、コンテンツ1は利用出来るコンテンツ情報と把握されるが、コンテンツ2は利用出来ないコンテンツ情報であると把握される。なお、表4のように所定時間が経過したらコンテンツ情報が保持部102から消去されるようにしてもよい。
Table 4 defines an elapsed time that can be used for each content, an elapsed time that can be partially used, and an elapsed time that cannot be used. For example, if the elapsed time acquired in step S24 is a time two days after being displayed on the
ステップS23において利用出来るコンテンツ情報と利用出来るコンテンツ情報を把握すると、表示されるコンテンツ情報を変更するか否か判断する(ステップS26)。 When the content information that can be used and the content information that can be used are grasped in step S23, it is determined whether or not to change the displayed content information (step S26).
ステップS26において表示されるコンテンツ情報を変更すると判断した場合は(ステップS26;Yes)、表示されるコンテンツ情報の種類を変更する旨を通知部106により通知した後(ステップS27)、ステップS25で把握した利用出来るコンテンツ情報をコンテンツ表示装置Aの表示部104に表示し(ステップS28)、利用出来ないコンテンツ情報は機密性を考慮して表示部104に表示しない。
If it is determined in step S26 that the displayed content information is to be changed (step S26; Yes), the
ステップS26において表示されるコンテンツ情報を変更しないと判断した場合(ステップS26;No)、以前把握されたものと同様の利用出来るコンテンツ情報をコンテンツ表示装置Aにおける表示部104に表示し、利用出来ないコンテンツ情報は機密性を考慮して表示部104に表示しない。
When it is determined that the content information displayed in step S26 is not changed (step S26; No), the same usable content information as previously grasped is displayed on the
そして電源OFFでない限り、ステップS23〜S28までの動作を繰り返す。 Unless the power is turned off, the operations from step S23 to S28 are repeated.
なお、ステップS23において表示部104にコンテンツ情報が表示されてからの経過時間を取得部103に内蔵するタイマーで計測して所定の経過時間が経過したか否か判断したが、経過時間はこれに限定されることなく、例えば、コンテンツ情報が保持部102に保持されてからの経過時間をタイマーで計測して所定の経過時間が経過したか否か判断してもよい。
In step S23, the elapsed time after the content information is displayed on the
以上説明したように定期的に所定の時間情報を取得して利用出来るコンテンツ情報と利用出来ないコンテンツ情報を把握すれば、継続的に機密性の高いコンテンツ情報の漏洩を防止することが出来る。 As described above, if content information that can be used and content information that cannot be used by acquiring predetermined time information periodically are grasped, leakage of content information with high confidentiality can be continuously prevented.
なお、本発明は当該実施の形態に限定されるものではなく、本発明の要旨を逸脱しない範囲における変更や追加があっても本発明に含まれる。 In addition, this invention is not limited to the said embodiment, Even if there exists a change and addition in the range which does not deviate from the summary of this invention, it is contained in this invention.
図3に示す動作では、所定時間経過したら現在の時刻情報を取得し、その時刻情報から利用出来るコンテンツ情報と利用出来ないコンテンツ情報を各々把握したが、スケジューラと連動させて、例えば会議の時間になったらその時刻情報から利用出来るコンテンツ情報と利用出来ないコンテンツ情報を各々把握するようにしてもよい。 In the operation shown in FIG. 3, the current time information is acquired when a predetermined time has elapsed, and the content information that can be used and the content information that cannot be used are ascertained from the time information. Then, the content information that can be used and the content information that cannot be used may be grasped from the time information.
また、時刻情報や所定の時間情報に基づいてコンテンツ情報の利用を制限するだけでなく、コンテンツ表示装置Aを利用するユーザー情報も考慮して、利用出来るコンテンツ情報と利用出来ないコンテンツ情報を把握するようにしても良い。 In addition to restricting the use of content information based on time information and predetermined time information, the user information using the content display device A is also taken into consideration to grasp usable content information and unavailable content information. You may do it.
また、コンテンツ表示装置Aにおいて利用出来るコンテンツ情報に対しては表示部104に表示させるだけでなく、他のコンテンツ表示装置に転送を許可するようにし、利用出来ないコンテンツ情報に対しては他のコンテンツ表示装置に転送を禁止したりするようにしても良い。
Further, not only the content information that can be used in the content display device A is displayed on the
A コンテンツ表示装置
101 制御部
102 保持部
103 取得部
104 表示部
105 選択部
106 通知部
107 通信部
A
Claims (10)
当該保持部により保持されたコンテンツ情報を表示する表示部と、
時刻情報又は所定の時間情報の少なくとも一方を取得する取得部と、
少なくとも前記表示部を制御する制御部と、を有し、
前記制御部は、前記保持部に保持された前記制限情報と、前記取得部により取得された前記時刻情報又は前記所定の時間情報に基づき、前記保持部に保持されたコンテンツ情報の中から利用出来るコンテンツ情報を把握し、利用出来るコンテンツ情報を前記表示部に表示するよう、少なくとも前記表示部を制御することを特徴とするコンテンツ表示装置。 A holding unit that holds the content information and restriction information in which restriction of use of the content information is defined corresponding to time or a predetermined time;
A display unit for displaying the content information held by the holding unit;
An acquisition unit for acquiring at least one of time information or predetermined time information;
A control unit for controlling at least the display unit,
The controller can be used from the content information held in the holding unit based on the restriction information held in the holding unit and the time information or the predetermined time information acquired by the acquisition unit. A content display apparatus that controls at least the display unit so as to grasp content information and display usable content information on the display unit.
Priority Applications (1)
| Application Number | Priority Date | Filing Date | Title |
|---|---|---|---|
| JP2008233142A JP2010066555A (en) | 2008-09-11 | 2008-09-11 | Content display |
Applications Claiming Priority (1)
| Application Number | Priority Date | Filing Date | Title |
|---|---|---|---|
| JP2008233142A JP2010066555A (en) | 2008-09-11 | 2008-09-11 | Content display |
Publications (1)
| Publication Number | Publication Date |
|---|---|
| JP2010066555A true JP2010066555A (en) | 2010-03-25 |
Family
ID=42192190
Family Applications (1)
| Application Number | Title | Priority Date | Filing Date |
|---|---|---|---|
| JP2008233142A Pending JP2010066555A (en) | 2008-09-11 | 2008-09-11 | Content display |
Country Status (1)
| Country | Link |
|---|---|
| JP (1) | JP2010066555A (en) |
Cited By (3)
| Publication number | Priority date | Publication date | Assignee | Title |
|---|---|---|---|---|
| JP2012174013A (en) * | 2011-02-22 | 2012-09-10 | Fujitsu Ltd | Display system, information device, display device, image selection program and display method |
| JP2016012210A (en) * | 2014-06-27 | 2016-01-21 | カシオ計算機株式会社 | Document management device and program |
| JP2017156979A (en) * | 2016-03-02 | 2017-09-07 | 株式会社 ゆうちょ銀行 | Server, authentication level change method, and program |
Citations (7)
| Publication number | Priority date | Publication date | Assignee | Title |
|---|---|---|---|---|
| JPH10269144A (en) * | 1997-03-24 | 1998-10-09 | Sony Corp | Information recording / reproducing method and device, information providing method and device, and information recording medium |
| JP2002325224A (en) * | 2001-02-02 | 2002-11-08 | Sony Corp | Content recording / reproducing apparatus and method, storage medium, and computer program |
| JP2005070903A (en) * | 2003-08-20 | 2005-03-17 | Matsushita Electric Ind Co Ltd | Digital content processing apparatus and electronic book display apparatus |
| JP2006139622A (en) * | 2004-11-12 | 2006-06-01 | Sharp Corp | Content playback apparatus and playback method |
| JP2007017627A (en) * | 2005-07-06 | 2007-01-25 | Fujitsu Ltd | Conditional encryption and decryption programs |
| JP2007122377A (en) * | 2005-10-27 | 2007-05-17 | Canon Inc | Information processing system and method, program, and storage medium |
| JP2007148884A (en) * | 2005-11-29 | 2007-06-14 | Mitsubishi Electric Corp | Portable content data reproducing apparatus and restriction release method thereof |
-
2008
- 2008-09-11 JP JP2008233142A patent/JP2010066555A/en active Pending
Patent Citations (7)
| Publication number | Priority date | Publication date | Assignee | Title |
|---|---|---|---|---|
| JPH10269144A (en) * | 1997-03-24 | 1998-10-09 | Sony Corp | Information recording / reproducing method and device, information providing method and device, and information recording medium |
| JP2002325224A (en) * | 2001-02-02 | 2002-11-08 | Sony Corp | Content recording / reproducing apparatus and method, storage medium, and computer program |
| JP2005070903A (en) * | 2003-08-20 | 2005-03-17 | Matsushita Electric Ind Co Ltd | Digital content processing apparatus and electronic book display apparatus |
| JP2006139622A (en) * | 2004-11-12 | 2006-06-01 | Sharp Corp | Content playback apparatus and playback method |
| JP2007017627A (en) * | 2005-07-06 | 2007-01-25 | Fujitsu Ltd | Conditional encryption and decryption programs |
| JP2007122377A (en) * | 2005-10-27 | 2007-05-17 | Canon Inc | Information processing system and method, program, and storage medium |
| JP2007148884A (en) * | 2005-11-29 | 2007-06-14 | Mitsubishi Electric Corp | Portable content data reproducing apparatus and restriction release method thereof |
Cited By (3)
| Publication number | Priority date | Publication date | Assignee | Title |
|---|---|---|---|---|
| JP2012174013A (en) * | 2011-02-22 | 2012-09-10 | Fujitsu Ltd | Display system, information device, display device, image selection program and display method |
| JP2016012210A (en) * | 2014-06-27 | 2016-01-21 | カシオ計算機株式会社 | Document management device and program |
| JP2017156979A (en) * | 2016-03-02 | 2017-09-07 | 株式会社 ゆうちょ銀行 | Server, authentication level change method, and program |
Similar Documents
| Publication | Publication Date | Title |
|---|---|---|
| Gofine et al. | Integration of Slack, a cloud-based team collaboration application, into research coordination | |
| KR20230007539A (en) | Direct input from a remote device | |
| JP2003209644A (en) | Display printing device | |
| JP2009274242A (en) | Image forming apparatus and image forming system | |
| TW200720983A (en) | Multiple document viewing apparatus and user interface | |
| US20070008581A1 (en) | Method of notifying print job information and printer and printing system using the same | |
| JP2010066555A (en) | Content display | |
| US20070085758A1 (en) | Display apparatus and method used in a hand-held device | |
| JP2007199835A (en) | Document processing system | |
| JP2014186660A (en) | Portable information terminal, method for controlling the same and program | |
| JP2007208601A (en) | Portable terminal device and display method | |
| JP5082822B2 (en) | Image display system, image information control device for electronic paper, and image information control program for electronic paper | |
| WO2010064581A1 (en) | Portable terminal device | |
| WO2010029625A1 (en) | Content display device and content display system | |
| JP2008298808A (en) | Image forming apparatus | |
| JP2007140658A (en) | Image formation apparatus, network system, program, and recording medium | |
| JP2006178718A5 (en) | ||
| JP2006106228A (en) | Portable computer and wireless tag data display method | |
| JP2011048535A (en) | Document management system | |
| JP2009187256A (en) | Display processor and display processing program | |
| JP5277872B2 (en) | Print management system, print management apparatus, and print management program | |
| JP6038749B2 (en) | Document browsing system and document browsing program | |
| JP2008077224A (en) | Document management system, document management server, document management method, and program | |
| JP2010217497A (en) | Portable terminal | |
| TW201207722A (en) | Electronic system and controling method thereof |
Legal Events
| Date | Code | Title | Description |
|---|---|---|---|
| A621 | Written request for application examination |
Free format text: JAPANESE INTERMEDIATE CODE: A621 Effective date: 20110317 |
|
| RD02 | Notification of acceptance of power of attorney |
Free format text: JAPANESE INTERMEDIATE CODE: A7422 Effective date: 20110808 |
|
| A977 | Report on retrieval |
Free format text: JAPANESE INTERMEDIATE CODE: A971007 Effective date: 20121212 |
|
| A131 | Notification of reasons for refusal |
Free format text: JAPANESE INTERMEDIATE CODE: A131 Effective date: 20121225 |
|
| A02 | Decision of refusal |
Free format text: JAPANESE INTERMEDIATE CODE: A02 Effective date: 20130507 |
