[go: up one dir, main page]

JP2009272246A - Socket - Google Patents

Socket Download PDF

Info

Publication number
JP2009272246A
JP2009272246A JP2008123801A JP2008123801A JP2009272246A JP 2009272246 A JP2009272246 A JP 2009272246A JP 2008123801 A JP2008123801 A JP 2008123801A JP 2008123801 A JP2008123801 A JP 2008123801A JP 2009272246 A JP2009272246 A JP 2009272246A
Authority
JP
Japan
Prior art keywords
socket
elastomer
elastomer sheet
metal
hole
Prior art date
Legal status (The legal status is an assumption and is not a legal conclusion. Google has not performed a legal analysis and makes no representation as to the accuracy of the status listed.)
Pending
Application number
JP2008123801A
Other languages
Japanese (ja)
Inventor
Takashi Hayashida
貴士 林田
Katsuya Yamagami
勝哉 山上
Yasuhiro Ouchi
康弘 大内
Current Assignee (The listed assignees may be inaccurate. Google has not performed a legal analysis and makes no representation or warranty as to the accuracy of the list.)
Fujikura Ltd
Original Assignee
Fujikura Ltd
Priority date (The priority date is an assumption and is not a legal conclusion. Google has not performed a legal analysis and makes no representation as to the accuracy of the date listed.)
Filing date
Publication date
Application filed by Fujikura Ltd filed Critical Fujikura Ltd
Priority to JP2008123801A priority Critical patent/JP2009272246A/en
Publication of JP2009272246A publication Critical patent/JP2009272246A/en
Pending legal-status Critical Current

Links

Images

Landscapes

  • Connecting Device With Holders (AREA)
  • Coupling Device And Connection With Printed Circuit (AREA)

Abstract

【課題】板バネ方式とエラストマー方式の両者の長所を生かしつつ、低抵抗、大電流化、高速化に対応すると共に良好なコンタクトを可能とするソケットを提供する。
【解決手段】ソケット1は、貫通穴3Hを設けた絶縁性のエラストマーシート3と、このエラストマーシート3の表裏面の少なくとも一部に設けた金属回路5A,5Bと、前記エラストマーシート3又は前記金属回路5A,5Bの少なくとも一部に設けた凸部7と、前記貫通穴3Hの内壁に金属膜を形成したスルーホール9とを有する。さらに、前記凸部7の周りに溝部11を設け、この溝部11の側壁部は、エラストマーシート3の表裏面に対して鈍角をなすように傾斜するテーパ部13を形成していることを特徴とする。
【選択図】図1
Provided is a socket that can take advantage of both the leaf spring method and the elastomer method, and can cope with low resistance, large current, and high speed, and enables good contact.
A socket 1 includes an insulating elastomer sheet 3 provided with a through hole 3H, metal circuits 5A and 5B provided on at least a part of the front and back surfaces of the elastomer sheet 3, and the elastomer sheet 3 or the metal. Convex part 7 provided in at least a part of circuits 5A and 5B and through hole 9 in which a metal film is formed on the inner wall of through-hole 3H are provided. Further, a groove portion 11 is provided around the convex portion 7, and a side wall portion of the groove portion 11 forms a tapered portion 13 that is inclined so as to form an obtuse angle with respect to the front and back surfaces of the elastomer sheet 3. To do.
[Selection] Figure 1

Description

この発明は、CPUやLSI等のICパッケージをマザーボード側のプリント基板に実装する際に使用するソケットに関し、特に三次元回路技術を用いて立体回路を形成する構造のソケットに関する。   The present invention relates to a socket used when an IC package such as a CPU or LSI is mounted on a printed circuit board on a mother board side, and more particularly to a socket having a structure for forming a three-dimensional circuit using a three-dimensional circuit technique.

従来から、CPUやLSI等のICパッケージをソケットによりプリント基板に実装する技術が検討されている。パーソナルコンピユータやマザーボードの多くは、LGAパケージやBGAパッケージのCPUを装着するソケットが実装されている。   Conventionally, techniques for mounting an IC package such as a CPU or LSI on a printed circuit board using a socket have been studied. Many personal computers and motherboards are equipped with sockets for mounting CPUs of LGA packages or BGA packages.

CPUは、機能、性能の向上に伴う多ピン化、高速化に対応するため、パッケージのサイズアップやファインピッチ化が進められている。それに伴い、ソケット側もサイズアップ化、ファインピッチ化が進められている。   In order to cope with the increase in the number of pins and the increase in speed that accompany improvements in functions and performance, CPUs are being increased in size and fine pitch. Along with this, the socket side has been increased in size and fine pitch.

パッケージ側ではサイズアップに伴い、たわみ量の増大、接触ランドやボールばらつきが増大するものと予想される。一方、ソケット側としては、パッケージのサイズアップに対応するため、許容コンタクトストロークを増大させる必要がある。   On the package side, it is expected that the amount of deflection, contact land, and ball variation will increase as the size increases. On the other hand, on the socket side, it is necessary to increase the allowable contact stroke in order to cope with an increase in the package size.

また、ファインピッチ化への対応としては、コンタクト物の小型化が予想されるが、接触抵抗の安定化に必要なストロークを確保する構造でなければならない。   Further, as a countermeasure to fine pitch, it is expected that the contact object will be miniaturized, but the structure must ensure a stroke necessary for stabilizing the contact resistance.

現在のLGAパッケージ用ソケットの主流は、約1mmピッチの400〜1000ピンのものであり、金属板を複雑に折り曲げて所定形状のコンタクト端子を作り、ソケットハウジングにコンタクト端子を挿入して製造する構造が用いられている。これらの従来技術は、例えば特許文献1及び特許文献2に示されている。
特開2004−158430号公報 特開2005−19284号公報
The current mainstream of LGA package sockets is 400 to 1000 pins with a pitch of about 1 mm, and a structure in which a metal plate is bent in a complicated manner to form a contact terminal of a predetermined shape, and the contact terminal is inserted into the socket housing. Is used. These conventional techniques are disclosed in Patent Document 1 and Patent Document 2, for example.
JP 2004-158430 A JP 2005-19284 A

しかしながら、特許文献1及び特許文献2に示された従来技術は、コンタクト端子が板バネ方式であるため、コンタクトのストロークを大きくしようとバネを長くすると、隣接するピンに接触してしまうため、ファインピッチ化になるとストロークを大きくできないという問題点があった。   However, since the conventional technology disclosed in Patent Document 1 and Patent Document 2 uses a leaf spring method for contact terminals, if the spring is lengthened to increase the contact stroke, the contact terminal is brought into contact with an adjacent pin. There was a problem that the stroke could not be increased when the pitch was increased.

この問題を解決すべく導電性エラストマーを用いた方式が検討されている。この構造では反発力はエラストマーの特性で決まるため、要求にあった反発力を有するエラストマーを選択することで、要求の荷重で充分なストロークを確保することが可能である。   In order to solve this problem, a method using a conductive elastomer has been studied. In this structure, since the repulsive force is determined by the characteristics of the elastomer, it is possible to ensure a sufficient stroke with the required load by selecting an elastomer having a repulsive force that meets the requirements.

しかし、導電性エラストマーを用いる問題点としては、コンタクトが金属でなくエラストマーであるため、金属接触に比較して接触抵抗が高く、高電流化に対して発熱や電圧降下の増大の恐れがある。さらに、パッケージの挿入の際にコンタクトが金属ランドをワイピングしないため、ランドの酸化膜除去が期待できないという新たな問題が発生する。   However, the problem of using a conductive elastomer is that the contact is not a metal but an elastomer, so that the contact resistance is higher than that of a metal contact, and there is a risk of heat generation and an increase in voltage drop when the current is increased. Furthermore, since the contact does not wipe the metal land when the package is inserted, a new problem arises that the oxide film cannot be removed from the land.

この発明は、板バネ方式とエラストマー方式の両者の長所を生かしつつ、低抵抗、大電流化、高速化に対応すると共に良好なコンタクトを可能とするソケットを提供することを目的とする。   It is an object of the present invention to provide a socket that can make good contact while responding to low resistance, large current, and high speed while taking advantage of both the leaf spring method and the elastomer method.

上記の課題を解決するために、この発明のソケットは、貫通穴を設けた絶縁性のエラストマーシートと、このエラストマーシートの表裏面の少なくとも一部に設けた金属回路と、前記エラストマーシート又は前記金属回路の少なくとも一部に設けた凸部と、前記貫通穴の内壁に金属膜を形成したスルーホールとを有するソケットであって、前記凸部の周りに溝部を設け、この溝部の側壁部は、エラストマーシートの表裏面に対して鈍角をなすように傾斜するテーパ部を形成していることを特徴とするものである。   In order to solve the above problems, a socket of the present invention includes an insulating elastomer sheet provided with a through hole, a metal circuit provided on at least a part of the front and back surfaces of the elastomer sheet, and the elastomer sheet or the metal. A socket having a convex portion provided in at least a part of the circuit and a through hole in which a metal film is formed on the inner wall of the through hole, and a groove portion is provided around the convex portion, and the side wall portion of the groove portion is The taper part which inclines so that an obtuse angle may be made with respect to the front and back of an elastomer sheet may be formed.

また、この発明のソケットは、前記ソケットにおいて、前記エラストマーシートがフッ素系エラストマーからなることが好ましい。   In the socket of the present invention, it is preferable that in the socket, the elastomer sheet is made of a fluorine-based elastomer.

また、この発明のソケットは、前記ソケットにおいて、前記エラストマーシートは、エラストマーより熱膨張係数の小さい材料からなるシート状の芯材の表裏にそれぞれエラストマー層を積層してなることが好ましい。   In the socket of the present invention, it is preferable that in the socket, the elastomer sheet is formed by laminating elastomer layers on the front and back of a sheet-like core material made of a material having a smaller thermal expansion coefficient than that of the elastomer.

以上のごとき課題を解決するための手段から理解されるように、この発明によれば、プリント基板及びICパッケージとの接続用のコンタクト端子は導電性の良好な金属回路で行うことができ、反発力はエラストマーシートによって確保できるので、金属接触によるコンタクトでありながら、荷重−ストローク特性はエラストマーの特性で設計することができる。したがって、接触抵抗が低く、大電流化、高速化に対応することができ、部品点数を少なくできる。   As can be understood from the means for solving the problems as described above, according to the present invention, the contact terminal for connection to the printed circuit board and the IC package can be made of a metal circuit having good conductivity, and repulsion can be achieved. Since the force can be secured by the elastomer sheet, the load-stroke characteristic can be designed with the characteristic of the elastomer while being a contact by metal contact. Therefore, the contact resistance is low, the current can be increased and the speed can be increased, and the number of parts can be reduced.

しかも、凸部の端子の周りに溝部を設け、この溝部の側壁部が、エラストマーシートの表裏面に対して鈍角をなすように傾斜するテーパ部となっているので、以下の効果を奏する。   In addition, a groove is provided around the terminal of the convex portion, and the side wall portion of the groove is a tapered portion that is inclined so as to form an obtuse angle with respect to the front and back surfaces of the elastomer sheet.

(1)金属回路を形成する工程において平行光の死角部分がなくなるため、エラストマーシートを数回にわたって傾斜させる等の対策をとる必要がなく、一回の露光で済む。 (1) Since there is no blind spot portion of parallel light in the process of forming the metal circuit, it is not necessary to take measures such as inclining the elastomer sheet several times, and only one exposure is required.

(2)回路上面から側壁部につながる部分が鈍角となり、PEB工程でのレジストの流動によるレジスト切断を防ぐことができる。 (2) The part connected from the circuit upper surface to the side wall becomes an obtuse angle, and resist cutting due to resist flow in the PEB process can be prevented.

(3)現像、エッチング工程ではスプレー液の死角がなくなり、常時、新しいスプレー液を供給可能となるので、レジストおよびめっきの溶解や物理的作用による除去を促進することができ、生産効率の向上と品質向上に寄与する。 (3) In the development and etching processes, the blind spot of the spray solution disappears, and a new spray solution can be supplied at all times. Therefore, the dissolution of resist and plating and the removal by physical action can be promoted, and the production efficiency is improved. Contributes to quality improvement.

(4)凸部に対する横方向の力ベクトルに対して耐性が増し、回路を垂直に変位することが可能となり、設計通りの機能を果たすことができる。 (4) The resistance to the lateral force vector with respect to the convex portion is increased, the circuit can be displaced vertically, and the designed function can be achieved.

以下、この発明の実施の形態について図面を参照して説明する。   Embodiments of the present invention will be described below with reference to the drawings.

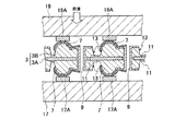
図1及び図2を参照するに、この実施の形態に係るソケット1は、貫通穴3Hを設けた絶縁性のエラストマーシート3と、このエラストマーシート3の表裏面の少なくとも一部に設けた金属回路5A,5Bと、前記エラストマーシート3又は前記金属回路5A,5Bの少なくとも一部に設けた凸部7と、前記貫通穴3Hの内壁に金属膜を形成したスルーホール9とを有している。また、前記凸部7の周りに溝部11を設け、この溝部11の側壁部は、エラストマーシート3の表裏面に対して鈍角をなすように傾斜するテーパ部13を形成していることを特徴とする。   1 and 2, a socket 1 according to this embodiment includes an insulating elastomer sheet 3 provided with a through hole 3H and a metal circuit provided on at least a part of the front and back surfaces of the elastomer sheet 3. 5A, 5B, a protrusion 7 provided on at least a part of the elastomer sheet 3 or the metal circuits 5A, 5B, and a through hole 9 in which a metal film is formed on the inner wall of the through hole 3H. Further, a groove portion 11 is provided around the convex portion 7, and a side wall portion of the groove portion 11 forms a tapered portion 13 that is inclined so as to form an obtuse angle with respect to the front and back surfaces of the elastomer sheet 3. To do.

なお、この実施の形態では、上記の凸部7はエラストマーシート3の少なくとも一部に設けられたものであり、凸部7の断面がほぼ半円形状のドーム状である。また、金属回路5A,5Bは前記凸部7の上に形成されている。この例の場合とは異なり、前述したように凸部7は前記金属回路5A,5Bの少なくとも一部に設けた場合であっても適用される。   In this embodiment, the convex portion 7 is provided on at least a part of the elastomer sheet 3, and the convex portion 7 has a substantially semicircular dome shape. The metal circuits 5A and 5B are formed on the convex portion 7. Unlike the case of this example, as described above, the convex portion 7 is applied even when it is provided on at least a part of the metal circuits 5A and 5B.

また、エラストマーシート3の表面側の金属回路5Aと裏面側の金属回路5Bとがスルーホール9によって電気的に接続されている。また、上記の金属回路5A,5Bには、金めっき15が設けられている。   Further, the metal circuit 5 </ b> A on the front surface side of the elastomer sheet 3 and the metal circuit 5 </ b> B on the back surface side are electrically connected by the through hole 9. The metal circuits 5A and 5B are provided with a gold plating 15.

さらに、このソケット1は、図3及び図4に示されているように、プリント基板17のパターン配線17A及びICパッケージ19のLGA19Aとの接続用のコンタクト端子としては、銅などの導電性の良好な金属からなる金属箔が使用されており、反発力はエラストマーシート3によって確保する構造である。この構造にすることにより、金属接触によるコンタクトでありながら、荷重−ストローク特性はエラストマーの特性で設計することが可能である。   Further, as shown in FIGS. 3 and 4, the socket 1 has good conductivity such as copper as a contact terminal for connection with the pattern wiring 17A of the printed circuit board 17 and the LGA 19A of the IC package 19. A metal foil made of a simple metal is used, and the repulsive force is secured by the elastomer sheet 3. By adopting this structure, it is possible to design the load-stroke characteristic with the characteristic of an elastomer while being a contact by metal contact.

したがって、プリント基板17のパターン配線17A及びICパッケージ19のLGAランド19Aと接触した上記の金属回路5A,5Bに電流が流れるため、接触抵抗が低く、大電流化、高速化に対応するソケット1となる。また、ソケット1の基材と反発力を確保するためのエラストマーとが一体型であるため、部品点数の少ないソケット1を実現できる。   Therefore, since current flows through the metal circuits 5A and 5B in contact with the pattern wiring 17A of the printed circuit board 17 and the LGA land 19A of the IC package 19, the contact resistance is low, and the socket 1 corresponding to high current and high speed is provided. Become. Moreover, since the base material of the socket 1 and the elastomer for ensuring the repulsive force are integrated, the socket 1 with a small number of parts can be realized.

このエラストマーシート3の材料としては、金属回路5A,5Bに荷重が印加された際に、適度な弾性反発力を発揮し得る絶縁性の各種エラストマー材料の中から適宜選択して用いることができるが、特に、フッ素系エラストマーを用いることが好ましい。その理由は、フッ素系エラストマーを用いると、耐熱性が高くなり、このソケット1をプリント基板17やICパッケージ19と接合する際に、半田のリフロー処理が可能になり、接合工程が容易となり、生産コストを低減できるからである。   The material of the elastomer sheet 3 can be appropriately selected from various insulating elastomer materials that can exhibit an appropriate elastic repulsion when a load is applied to the metal circuits 5A and 5B. In particular, it is preferable to use a fluorine-based elastomer. The reason for this is that when fluorine-based elastomers are used, the heat resistance becomes high, and when the socket 1 is joined to the printed circuit board 17 or the IC package 19, the solder can be reflowed, the joining process becomes easy, and the production is facilitated. This is because the cost can be reduced.

基材、または弾性体として使用するエラストマーシート3は、一般に熱膨張係数が大きい。CPUをソケット1を介してプリント基板17に実装した場合、ソケット1にもCPUからの熱が伝わるため、エラストマーシート3を基材として使用する場合は、エラストマーの膨張収縮を考慮して、各端子のクリアランスを設計する必要がある。   The elastomer sheet 3 used as a base material or an elastic body generally has a large thermal expansion coefficient. When the CPU is mounted on the printed circuit board 17 via the socket 1, heat from the CPU is also transmitted to the socket 1. Therefore, when the elastomer sheet 3 is used as a base material, each terminal is considered in consideration of expansion and contraction of the elastomer. It is necessary to design the clearance.

また、この実施の形態のエラストマーシート3は、エラストマー材料より熱膨張係数が小さい材料からなるシート状の芯材3Aの表裏両面にエラストマー層3Bを積層して構成したものである。上記の芯材3AによってCPUの発熱や製造プロセスにおける熱の影響を軽減する。芯材3Aを構成する熱膨張係数の小さい材料としては、ガラス繊維やガラスエボキシ樹脂、ポリイミドなどのようにエラストマーより熱膨張係数が小さく、ICパッケージ19やプリント基板17の熱膨張係数に近い材料が望ましい。なお、エラストマーシート3としては、上記の構造に限定されず、例えば芯材3Aを用いないで全体がエラストマー層3Bで構成しても良い。   Moreover, the elastomer sheet 3 of this embodiment is configured by laminating an elastomer layer 3B on both front and back surfaces of a sheet-like core material 3A made of a material having a smaller thermal expansion coefficient than the elastomer material. The core material 3A reduces the heat generation of the CPU and the influence of heat in the manufacturing process. As the material having a small thermal expansion coefficient constituting the core material 3A, a material having a smaller thermal expansion coefficient than that of an elastomer such as glass fiber, glass epoxy resin, and polyimide, and a material close to the thermal expansion coefficient of the IC package 19 or the printed circuit board 17 is used. desirable. The elastomer sheet 3 is not limited to the above structure, and for example, the whole may be constituted by the elastomer layer 3B without using the core material 3A.

さらに、エラストマーシート3の表面、裏面の少なくとも一方の端子形成領域の周縁に沿って平面視で楕円形状に溝部11が設けられている。換言すれば、前記溝部11は凸部7の周りに設けられていることになる。これにより、荷重を印加した状態で、隣接端子同士に生じるエラストマーの引っ張り、圧縮による力の伝達を軽減できる。なお、前記溝部11は、平面視で楕円形状に限定されず、凸部7の周りに例えば平面視でU字状であっても、あるいはその他の形状に設けられてもよい。   Furthermore, the groove part 11 is provided in the ellipse shape by planar view along the periphery of the terminal formation area | region of at least one of the surface of the elastomer sheet 3, and a back surface. In other words, the groove portion 11 is provided around the convex portion 7. Thereby, in the state which applied the load, the transmission of the force by the tension | pulling of the elastomer produced between adjacent terminals and compression can be reduced. In addition, the said groove part 11 is not limited to elliptical shape by planar view, For example, it may be U-shaped by planar view around the convex part 7, or may be provided in another shape.

また、図2に示されているように、金属回路5とスルーホール9とからなる多数の端子を配列した構造であるとしても、荷重印加時に全ての端子の接続を確保することができる。   Further, as shown in FIG. 2, even if a structure in which a large number of terminals including the metal circuit 5 and the through holes 9 are arranged, connection of all terminals can be ensured when a load is applied.

また、このソケット1は、上記の溝部11の寸法(溝の深さ、溝の幅、溝で囲まれる面積など)を調整することにより、各端子は所望の荷重−変位特性を得るように制御することができる。したがって、荷重−変位特性の異なる各種のソケットを容易に製造できるので、荷重−変位特性の異なる各種のソケットの要求にも対応できる。さらに、各端子に荷重をかけたときに、隣接する端子にその荷重がおよぼす影響を限りなく小さくすることができる。また、回路形成部に電流が流れるため、電気的な導通経路を短距離にすることで、低インダクタンス化を実現することができ、低抵抗、大電流化、高速化に対応するソケット1を提供できる。   Further, the socket 1 is controlled so that each terminal obtains a desired load-displacement characteristic by adjusting the dimensions of the groove portion 11 (groove depth, groove width, area surrounded by the groove, etc.). can do. Therefore, since various sockets having different load-displacement characteristics can be easily manufactured, it is possible to meet demands for various sockets having different load-displacement characteristics. Furthermore, when a load is applied to each terminal, the influence of the load on the adjacent terminals can be minimized. In addition, since current flows through the circuit forming portion, it is possible to realize low inductance by shortening the electrical conduction path, and to provide a socket 1 corresponding to low resistance, high current, and high speed. it can.

上記の溝部11は、回路形成が終わった後に、YAGレーザ、COレーザ、エキシマレーザ、フェムト秒レーザなどのレーザで加工しても、あるいは細いドリルで設けても良い。また、予め、隣接端子間同士に生じるエラストマーの引っ張り、圧縮による力の伝達を軽減するための溝部11を設けたエラストマーシート3を成形しても良い。 The groove 11 may be processed with a laser such as a YAG laser, a CO 2 laser, an excimer laser, or a femtosecond laser after circuit formation is completed, or may be provided with a thin drill. Moreover, you may shape | mold the elastomer sheet 3 which provided the groove part 11 for reducing the transmission of the force by the tension | pulling of the elastomer which arises between adjacent terminals, and compression previously.

このソケット1は、ICパッケージ19側の端子が、ランドである場合やサーバ用ソケットのようにコンタクト部分をメンテナンス時に交換するため、プリント基板17側も半田付けせずランドのまま接続したい場合などに使用されるICパッケージ19としての例えばLGAパッケージとプリント基板17とを接続するためのソケット構造である。金属回路5A,5Bの形成部の一部に凸部7を設けたことにより、この凸部7の高さによってストロークを発生する構造となっている。   This socket 1 is used when the terminal on the IC package 19 side is a land, or when the contact portion is exchanged during maintenance, like the server socket, so that the printed circuit board 17 side is not soldered and needs to be connected as a land. This is a socket structure for connecting, for example, an LGA package as the IC package 19 to be used and the printed board 17. By providing the convex part 7 in a part of the formation part of the metal circuits 5A and 5B, the structure is such that a stroke is generated depending on the height of the convex part 7.

また、金属回路形成部の一部に凸部7を設ける方法としては、予めエラストマーシート3に凸部7を設けておき、前記凸部7および金属回路形成部、スルーホール9となる貫通穴3Hにめっきなどの処理を施すことも可能である。エラストマーシート3に形成する凸部7は、エラストマーシート3の成形の際に、所望の位置に凸部7を設ける凹部が形成してある型を準備すれば、容易に形成することができる。   In addition, as a method of providing the convex portion 7 in a part of the metal circuit forming portion, the convex portion 7 is provided in advance on the elastomer sheet 3, and the through hole 3 </ b> H that becomes the convex portion 7, the metal circuit forming portion, and the through hole 9 It is also possible to perform a treatment such as plating. The convex part 7 formed on the elastomer sheet 3 can be easily formed by preparing a mold having a concave part provided with the convex part 7 at a desired position when the elastomer sheet 3 is formed.

このとき、凸部7を含めたエラストマーシート3の表面に回路形成を行う必要がある。この場合、凸部7を含めた表面にエッチングレジストを塗布できるかどうかが課題となる。   At this time, it is necessary to form a circuit on the surface of the elastomer sheet 3 including the convex portion 7. In this case, it becomes a problem whether an etching resist can be apply | coated to the surface including the convex part 7. FIG.

一般的に、厚いレジスト膜を形成するためには、遠心力と表面張力を利用したスピンコート法などが用いられるが、平面でない所にレジストを塗布するにはスピンコート法を適用しにくい。すなわち、エラストマーシート3は、製造工程の一つのフォトリソグラフィー工程で問題が生じる立体構造であるため、一般的なラミネータを用いてラミネートを行うフィルム型フォトレジスト、スピンコート、またはカーテンコータや印刷で行う液状フォトレジストを適用することは困難である。   In general, a spin coating method using centrifugal force and surface tension is used to form a thick resist film, but it is difficult to apply the spin coating method to apply a resist on a non-planar surface. That is, since the elastomer sheet 3 has a three-dimensional structure that causes a problem in one photolithography process of the manufacturing process, it is performed by film-type photoresist, spin coating, curtain coating, or printing that performs lamination using a general laminator. It is difficult to apply a liquid photoresist.

そのため、電着型ポジフォトレジスト(関西ペイント ゾンネEDUV−P800B)を使用しているが、このレジストは露光後、PEB(露光前ベーク)による加熱が必要であり、加熱による軟化、流動が起こり、例えば、図9に示されているような比較例としてのソケット21では、垂直壁面23の角部でレジストが切断され易い。   Therefore, an electrodeposited positive photoresist (Kansai Paint Sonne EDUV-P800B) is used, but this resist needs to be heated by PEB (pre-exposure bake) after exposure, and softening and flow occur due to heating. For example, in the socket 21 as a comparative example as shown in FIG. 9, the resist is easily cut at the corners of the vertical wall surface 23.

より詳しく説明すると、比較例のソケット21は、この実施の形態のソケット1の特徴を分かりやすく説明するために記載したものであり、凸部25の周りに溝部11を設け、この溝部11の側壁部が垂直壁面23となっていることが、この実施の形態のソケット1と異なる点である。その他はソケット1と同様である。   More specifically, the socket 21 of the comparative example is described for easy understanding of the characteristics of the socket 1 of this embodiment. The groove portion 11 is provided around the convex portion 25 and the side wall of the groove portion 11 is provided. The difference from the socket 1 of this embodiment is that the portion is a vertical wall surface 23. Others are the same as the socket 1.

また、ソケット21の場合は、露光時においては、垂直壁面23に対してフォトマスク27を通過する紫外光UVを照射するために、図10及び図11に示されているように傾斜用治具29を用いてエラストマーシート3を傾ける必要が生じる。このように露光を行うと、紫外光UVを当てたい部分と当てたくない部分の境界のコントロールは、エラストマーシート3の傾け方の誤差やエラストマーシート3の反りなどの影響により、非常に難しくなる。   Further, in the case of the socket 21, in order to irradiate the UV light UV passing through the photomask 27 onto the vertical wall surface 23 during exposure, an inclination jig as shown in FIGS. It is necessary to tilt the elastomer sheet 3 using 29. When exposure is performed in this way, it becomes very difficult to control the boundary between the portion to which the UV light UV is to be applied and the portion that is not desired to be applied due to the influence of the tilting error of the elastomer sheet 3 and the warp of the elastomer sheet 3.

さらに、現像、エッチング工程では垂直壁面23がスプレー液の死角となり、直接にスプレー液が当たらないため、垂直壁面23のレジストおよびめっき除去には長時間を要する。   Further, in the development and etching processes, the vertical wall surface 23 becomes a blind spot of the spray liquid, and the spray liquid does not directly hit. Therefore, it takes a long time to remove the resist and plating on the vertical wall surface 23.

ソケット21のマザーボード装着時においては、凸部25の端子に対して垂直に荷重が加われば期待通りの動きを示すことができるが、常に理想通りの垂直荷重が加わるとは限らず、図12のように凸部25に対して斜め方向の荷重が加わった場合、凸部25の端子が図13のように傾いてしまうので、設計通りの機能を発揮することができない。   When the socket 21 is mounted on the mother board, if a load is applied perpendicularly to the terminals of the convex portion 25, the expected movement can be exhibited. However, the ideal vertical load is not always applied. Thus, when a load in an oblique direction is applied to the convex portion 25, the terminal of the convex portion 25 is inclined as shown in FIG. 13, and thus the function as designed cannot be exhibited.

しかしながら、この実施の形態のソケット1では、凸部7の周りに溝部11を設け、この溝部11の側壁部が、エラストマーシート3の表裏面に対して鈍角をなすように傾斜するテーパ部13となっているので、PEB時における電着フォトレジストの軟化、流動によるレジスト切断を防ぐことができる。その上、露光時については垂直に紫外光UVを照射したとしても側壁部の死角がなくなる。そのため、エラストマーシート3を傾けて露光する必要がなくなり、工程管理が容易となる。垂直壁面23を有するソケット21では、各々の垂直壁面23に応じて傾斜させる必要があるために数回〜数十回の露光が必要となるが、この実施の形態のソケット1は1回の露光で済むので生産性が向上する。   However, in the socket 1 of this embodiment, the groove portion 11 is provided around the convex portion 7, and the side wall portion of the groove portion 11 is inclined so as to form an obtuse angle with respect to the front and back surfaces of the elastomer sheet 3. Therefore, softening of the electrodeposited photoresist during PEB and resist cutting due to flow can be prevented. In addition, even when the ultraviolet light UV is irradiated vertically during exposure, the dead angle of the side wall portion is eliminated. Therefore, it is not necessary to incline the elastomer sheet 3 for exposure, and process management becomes easy. The socket 21 having the vertical wall surface 23 needs to be tilted according to each vertical wall surface 23 and therefore needs to be exposed several times to several tens of times. However, the socket 1 according to this embodiment performs one exposure. Productivity is improved.

また、現像、エッチング工程では、テーパ部13に対しても直接液が当たるため、常時新しい液を供給でき、レジスト、めっきの溶解や物理的作用による除去を促すことができるので、これらの工程に要する時間の短縮化を図ることができる。   Further, in the development and etching processes, since the liquid directly hits the taper portion 13, a new liquid can be always supplied, and the removal of the resist and the plating by the physical action can be promoted. The time required can be shortened.

また、ソケット1を実装する時は、凸部7の上部より下部の面積が広くなるため、横方向の力ベクトルに対する耐性が増加することになる。そのため、図5に示されているように、たとえ凸部7に対して斜め方向に荷重が加わったとしても、図6に示されているように、凸部7の端子が垂直に変位することが可能となり、設計通りの機能を果たすことができる。   Further, when the socket 1 is mounted, since the area of the lower part is larger than the upper part of the convex part 7, the resistance against the lateral force vector is increased. Therefore, as shown in FIG. 5, even if a load is applied to the convex portion 7 in an oblique direction, the terminal of the convex portion 7 is displaced vertically as shown in FIG. It is possible to fulfill the functions as designed.

次に、この実施の形態のソケット1の製造方法の概略を説明する。   Next, the outline of the manufacturing method of the socket 1 of this embodiment will be described.

エラストマーの成型金型においては、凸部7の端子側壁のテーパ部13に該当する部分にテーパが設けられる。前記成型金型にポリイミド基材の芯材3Aをセットし、フッ素系エラストマーなどのエラストマーを射出注型し、エラストマーの母材が作製される。次に、このシートにドリルやレーザなどで、所定の位置にスルーホール9となる貫通穴3Hが穿設される。   In the elastomer molding die, a taper is provided at a portion corresponding to the taper portion 13 of the terminal side wall of the convex portion 7. A core material 3A made of a polyimide base material is set in the molding die, and an elastomer such as a fluorine-based elastomer is injected and cast to produce an elastomer base material. Next, a through hole 3H to be a through hole 9 is formed at a predetermined position on the sheet by a drill or a laser.

次に、このエラストマーに特殊な前処理を行うことにより、活性化し、無電解銅めっきと電解銅めっきを併用してエラストマーの表面、裏面、スルーホール9となる貫通穴3Hに金属膜としての例えば銅めっきが施される。なお、予め無電解めっきで薄い金属膜をつけた後に、電解めっきを施せば、エラストマーシート3に厚い金属膜を付けることができる。   Next, the elastomer is activated by performing a special pretreatment, and the electroless copper plating and the electrolytic copper plating are used together to form a metal film, for example, on the surface of the elastomer, the back surface, and the through hole 3H that becomes the through hole 9. Copper plating is applied. Note that a thick metal film can be applied to the elastomer sheet 3 by applying electroplating after applying a thin metal film by electroless plating in advance.

次に、酸系の前処理液により、前記銅めっきの銅表面の酸化物を除去し、電着レジストが塗布される。電着レジストを塗布する方法としては、スプレーコートで霧状にして噴射する方法がある。   Next, the oxide on the copper surface of the copper plating is removed with an acid-based pretreatment liquid, and an electrodeposition resist is applied. As a method of applying the electrodeposition resist, there is a method of spraying in the form of a mist by spray coating.

フォトマスクが電着レジストの上にジグを用いてセットされる。次いで電着レジストに対して上下面の露光が行われ、140°Cで15分程度のPEB(Post Exposure Bake)が行われる。次いで、現像が行われ、回路部分のみのレジストを残した状態でエッチングが行われ、回路部分のみの銅箔が残される。この状態で、回路を形成するために塩化鉄、1塩化銅、水酸化アンモニウムなどの水溶液を用いて、回路形成が行われる。さらにその後、金めっき15により表面仕上げが行われる。   A photomask is set on the electrodeposition resist using a jig. Next, the upper and lower surfaces of the electrodeposition resist are exposed, and PEB (Post Exposure Bake) is performed at 140 ° C. for about 15 minutes. Next, development is performed and etching is performed in a state where the resist of only the circuit portion is left, and the copper foil of only the circuit portion is left. In this state, the circuit is formed using an aqueous solution of iron chloride, copper chloride, ammonium hydroxide or the like to form a circuit. After that, surface finishing is performed by the gold plating 15.

上記の製造工程にて作製したソケット1は、ピッチが0.5〜1mmの非常に微細なものであるが、接触抵抗が安定化するのに充分な荷重を示すことができた。   The socket 1 manufactured in the above manufacturing process is very fine with a pitch of 0.5 to 1 mm, but was able to show a load sufficient to stabilize the contact resistance.

また、上部より下部に向けて広がるテーパ部13により面積を増したことで、凸部7の端子にかかる横方向の力ベクトルに対する耐性が増し、設計通りの端子動作をすることができ、ICパッケージ19のランド及び基板ランドに対するワイピングが行われるのを確認することができた。   Further, since the area is increased by the tapered portion 13 extending from the upper portion toward the lower portion, the resistance against the lateral force vector applied to the terminal of the convex portion 7 is increased, and the terminal operation as designed can be performed. It was confirmed that wiping was performed on 19 lands and substrate lands.

次に、この実施の形態のソケット1を用いた半導体装置におけるコンタクトの動作を説明する。なお、一例として、このソケット1をICパッケージ19としての例えばLGAパッケージのICのためのソケットとして用いた場合のコンタクト動作について説明する。   Next, the contact operation in the semiconductor device using the socket 1 of this embodiment will be described. As an example, a contact operation when the socket 1 is used as a socket for an IC of an IC package 19 such as an LGA package will be described.

図3を参照するに、半導体装置のプリント基板17にソケット1を載せ、さらにソケット1の上にICパッケージ19(LGAパッケージ)を載せる。上記のプリント基板17にはパターン配線17Aが形成されており、ICパッケージ19にはLGAランド19Aが形成されている。なお、このソケット1は、金属回路5の部分に設けた凸部7の高さによってストロークを発生する構造となっている。   Referring to FIG. 3, socket 1 is placed on printed circuit board 17 of the semiconductor device, and IC package 19 (LGA package) is placed on socket 1. A pattern wiring 17A is formed on the printed circuit board 17, and an LGA land 19A is formed on the IC package 19. The socket 1 has a structure in which a stroke is generated depending on the height of the convex portion 7 provided in the metal circuit 5 portion.

ICパッケージ19に荷重を加えると、図6に示されているように、エラストマーシート3が圧縮され、それに応じて反発力を発生しながら沈み込み、この時の荷重と発生する沈みが、荷重−変位特性となる。また、金属回路5A,5Bはスルーホール9の付近を支点にして沈み込むので、荷重を加えると、接触点がスルーホール9側に移動する。これによりワイピング効果をもたらし、それぞれの金属接触面にある酸化膜を除去してフレッシュな金属面同士を接触させることができるため、低低抗で接触を実現できる。   When a load is applied to the IC package 19, as shown in FIG. 6, the elastomer sheet 3 is compressed and sinks while generating a repulsive force, and the load at this time and the generated sink are the load − Displacement characteristics. Moreover, since the metal circuits 5A and 5B sink with the vicinity of the through hole 9 as a fulcrum, the contact point moves to the through hole 9 side when a load is applied. As a result, a wiping effect is brought about, and the oxide films on the respective metal contact surfaces can be removed to bring the fresh metal surfaces into contact with each other. Therefore, the contact can be realized with low resistance.

なお、前述した実施の形態のソケット1では、凸部7の断面がほぼ半円の湾曲形状であるが、凸部形状の他の実施の形態としては、図7及び図8に示されているように、先端を鋭角の突起形状とすることができる。これにより、金属表面の酸化物を除去するワイピング効果をさらに向上させることができる。   In the socket 1 of the above-described embodiment, the convex portion 7 has a substantially semicircular cross section. However, other embodiments of the convex shape are shown in FIGS. As described above, the tip can be formed into an acute protrusion shape. Thereby, the wiping effect for removing the oxide on the metal surface can be further improved.

この発明の実施の形態のソケットを示す側面断面図で、図2の矢視I−I線の断面図である。It is side surface sectional drawing which shows the socket of embodiment of this invention, and is sectional drawing of the arrow II line of FIG. この発明の実施の形態のソケットを示す平面図である。It is a top view which shows the socket of embodiment of this invention. 図1のソケットを装着した半導体装置で押圧力付与する前の状態を示す側面断面図である。It is side surface sectional drawing which shows the state before giving pressing force with the semiconductor device with which the socket of FIG. 1 was mounted | worn. 図3の半導体装置で押圧力付与した時の状態を示す側面断面図である。FIG. 4 is a side cross-sectional view showing a state when a pressing force is applied in the semiconductor device of FIG. 3. 図1のソケットの凸部の端子に斜めの荷重がかかる前の状態の説明図である。It is explanatory drawing of the state before an oblique load is applied to the terminal of the convex part of the socket of FIG. 図1のソケットの凸部の端子に斜めの荷重がかかった時の状態の説明図である。It is explanatory drawing of a state when a diagonal load is applied to the terminal of the convex part of the socket of FIG. この発明の他の実施の形態のソケットを示す側面断面図である。It is side surface sectional drawing which shows the socket of other embodiment of this invention. この発明の他の実施の形態のソケットを示す側面断面図である。It is side surface sectional drawing which shows the socket of other embodiment of this invention. 垂直壁面を有するソケットを示す側面断面図である。It is side surface sectional drawing which shows the socket which has a vertical wall surface. 傾斜用治具を用いてエラストマーシートを傾けた状態説明図である。It is state explanatory drawing which inclined the elastomer sheet using the jig | tool for inclination. 傾斜用治具を用いてエラストマーシートを図10と反対側に傾けた状態説明図である。It is state explanatory drawing which inclined the elastomer sheet to the opposite side to FIG. 10 using the jig | tool for inclination. 図9のソケットの凸部の端子に斜めの荷重がかかる前の状態の説明図である。It is explanatory drawing of the state before an oblique load is applied to the terminal of the convex part of the socket of FIG. 図9のソケットの凸部の端子に斜めの荷重がかかった時の状態の説明図である。It is explanatory drawing of a state when an oblique load is applied to the terminal of the convex part of the socket of FIG.

符号の説明Explanation of symbols

1 ソケット
3 エラストマーシート
3A 芯材
3B エラストマー層
5A,5B 金属回路
7 凸部
9 スルーホール
11 溝部
13 テーパ部
15 金めっき
17 プリント基板
17A パターン配線
19 ICパッケージ
19A LGAランド
21 ソケット
23 垂直壁面
25 凸部
27 フォトマスク
29 傾斜用治具
DESCRIPTION OF SYMBOLS 1 Socket 3 Elastomer sheet 3A Core material 3B Elastomer layer 5A, 5B Metal circuit 7 Convex part 9 Through hole 11 Groove part 13 Tapered part 15 Gold plating 17 Printed circuit board 17A Pattern wiring 19 IC package 19A LGA land 21 Socket 23 Vertical wall surface 25 Convex part 27 Photomask 29 Tilt jig

Claims (3)

貫通穴を設けた絶縁性のエラストマーシートと、このエラストマーシートの表裏面の少なくとも一部に設けた金属回路と、前記エラストマーシート又は前記金属回路の少なくとも一部に設けた凸部と、前記貫通穴の内壁に金属膜を形成したスルーホールとを有するソケットであって、前記凸部の周りに溝部を設け、この溝部の側壁部は、エラストマーシートの表裏面に対して鈍角をなすように傾斜するテーパ部を形成していることを特徴とするソケット。   An insulating elastomer sheet provided with a through hole, a metal circuit provided on at least a part of the front and back surfaces of the elastomer sheet, a convex part provided on at least a part of the elastomer sheet or the metal circuit, and the through hole A socket having a through-hole formed with a metal film on the inner wall of the first and second grooves, and a groove portion is provided around the convex portion, and the side wall portion of the groove portion is inclined to form an obtuse angle with respect to the front and rear surfaces of the elastomer sheet. A socket having a tapered portion. 前記エラストマーシートがフッ素系エラストマーからなることを特徴とする請求項1記載のソケット。   The socket according to claim 1, wherein the elastomer sheet is made of a fluorine-based elastomer. 前記エラストマーシートは、エラストマーより熱膨張係数の小さい材料からなるシート状の芯材の表裏にそれぞれエラストマー層を積層してなることを特徴とする請求項1又は2記載のソケット。   3. The socket according to claim 1, wherein the elastomer sheet is formed by laminating elastomer layers on the front and back of a sheet-like core material made of a material having a smaller thermal expansion coefficient than that of the elastomer.
JP2008123801A 2008-05-09 2008-05-09 Socket Pending JP2009272246A (en)

Priority Applications (1)

Application Number Priority Date Filing Date Title
JP2008123801A JP2009272246A (en) 2008-05-09 2008-05-09 Socket

Applications Claiming Priority (1)

Application Number Priority Date Filing Date Title
JP2008123801A JP2009272246A (en) 2008-05-09 2008-05-09 Socket

Publications (1)

Publication Number Publication Date
JP2009272246A true JP2009272246A (en) 2009-11-19

Family

ID=41438610

Family Applications (1)

Application Number Title Priority Date Filing Date
JP2008123801A Pending JP2009272246A (en) 2008-05-09 2008-05-09 Socket

Country Status (1)

Country Link
JP (1) JP2009272246A (en)

Citations (5)

* Cited by examiner, † Cited by third party
Publication number Priority date Publication date Assignee Title
JPS60230377A (en) * 1984-04-27 1985-11-15 インタ−ナショナル ビジネス マシ−ンズ コ−ポレ−ション Pinless connector interposer
JP2002298950A (en) * 2001-04-02 2002-10-11 Citizen Electronics Co Ltd Electric connector
JP2004265728A (en) * 2003-02-28 2004-09-24 Jst Mfg Co Ltd Dielectric sheet
JP2007095632A (en) * 2005-09-30 2007-04-12 Japan Aviation Electronics Industry Ltd Connected device
JP2007324030A (en) * 2006-06-02 2007-12-13 Fujikura Ltd Socket, manufacturing method thereof, and semiconductor device

Patent Citations (5)

* Cited by examiner, † Cited by third party
Publication number Priority date Publication date Assignee Title
JPS60230377A (en) * 1984-04-27 1985-11-15 インタ−ナショナル ビジネス マシ−ンズ コ−ポレ−ション Pinless connector interposer
JP2002298950A (en) * 2001-04-02 2002-10-11 Citizen Electronics Co Ltd Electric connector
JP2004265728A (en) * 2003-02-28 2004-09-24 Jst Mfg Co Ltd Dielectric sheet
JP2007095632A (en) * 2005-09-30 2007-04-12 Japan Aviation Electronics Industry Ltd Connected device
JP2007324030A (en) * 2006-06-02 2007-12-13 Fujikura Ltd Socket, manufacturing method thereof, and semiconductor device

Similar Documents

Publication Publication Date Title
US8137113B2 (en) Socket, method for manufacturing socket, and semiconductor device
KR100921919B1 (en) Copper pillar-tin bumps formed on a semiconductor chip and a method of forming the same
KR101382811B1 (en) The printed circuit board and the method for manufacturing the same
US20100252304A1 (en) Wiring board and method of manufacturing the same
KR20140044034A (en) The printed circuit board and the method for manufacturing the same
US8671564B2 (en) Substrate for flip chip bonding and method of fabricating the same
US9510450B2 (en) Printed wiring board and method for manufacturing the same
KR101089959B1 (en) Printed circuit board and manufacturing method thereof
US20150313015A1 (en) Wiring board
JP6434328B2 (en) WIRING BOARD, ELECTRONIC COMPONENT DEVICE, AND ITS MANUFACTURING METHOD
CN108738231A (en) Circuit board structure and method of forming the same
CN103794515A (en) Chip packaging substrate, chip packaging structure, and method for manufacturing same
JP2013051397A (en) Method for manufacturing wiring board
KR102416156B1 (en) Method for manufacturing a printed circuit board including a thermal through connection, and a printed circuit board
JP6715618B2 (en) Printed wiring board
JP2002118204A (en) Semiconductor device, semiconductor mounting substrate and method of manufacturing the same
JP2009272246A (en) Socket
JP2008118129A (en) Flip chip connecting substrate and manufacturing method thereof
CN112750796A (en) Semiconductor device and method for manufacturing semiconductor device
JP7463191B2 (en) Semiconductor device and method for manufacturing the same
CN104425431B (en) Substrate structure, packaging structure and manufacturing method thereof
JP4396839B2 (en) Cavity structure printed wiring board, manufacturing method thereof, and mounting structure
JP5263830B2 (en) Printed circuit board and manufacturing method thereof
JP5442192B2 (en) Device mounting substrate, semiconductor module, and device mounting substrate manufacturing method
JP4333395B2 (en) Printed wiring board and manufacturing method thereof

Legal Events

Date Code Title Description
A621 Written request for application examination

Free format text: JAPANESE INTERMEDIATE CODE: A621

Effective date: 20101125

A977 Report on retrieval

Free format text: JAPANESE INTERMEDIATE CODE: A971007

Effective date: 20120309

A131 Notification of reasons for refusal

Free format text: JAPANESE INTERMEDIATE CODE: A131

Effective date: 20120321

A02 Decision of refusal

Free format text: JAPANESE INTERMEDIATE CODE: A02

Effective date: 20120904