[go: up one dir, main page]

JP2009166863A - Container for sealing beverage, food or the like - Google Patents

Container for sealing beverage, food or the like Download PDF

Info

Publication number
JP2009166863A
JP2009166863A JP2008006090A JP2008006090A JP2009166863A JP 2009166863 A JP2009166863 A JP 2009166863A JP 2008006090 A JP2008006090 A JP 2008006090A JP 2008006090 A JP2008006090 A JP 2008006090A JP 2009166863 A JP2009166863 A JP 2009166863A
Authority
JP
Japan
Prior art keywords
flange
container
composite material
sealing
thickness
Prior art date
Legal status (The legal status is an assumption and is not a legal conclusion. Google has not performed a legal analysis and makes no representation as to the accuracy of the status listed.)
Pending
Application number
JP2008006090A
Other languages
Japanese (ja)
Other versions
JP2009166863A5 (en
Inventor
Masaki Takeuchi
雅規 竹内
Current Assignee (The listed assignees may be inaccurate. Google has not performed a legal analysis and makes no representation or warranty as to the accuracy of the list.)
Resonac Packaging Corp
Original Assignee
Showa Denko Packaging Co Ltd
Priority date (The priority date is an assumption and is not a legal conclusion. Google has not performed a legal analysis and makes no representation as to the accuracy of the date listed.)
Filing date
Publication date
Application filed by Showa Denko Packaging Co Ltd filed Critical Showa Denko Packaging Co Ltd
Priority to JP2008006090A priority Critical patent/JP2009166863A/en
Publication of JP2009166863A publication Critical patent/JP2009166863A/en
Publication of JP2009166863A5 publication Critical patent/JP2009166863A5/ja
Pending legal-status Critical Current

Links

Images

Landscapes

  • Containers Having Bodies Formed In One Piece (AREA)

Abstract

<P>PROBLEM TO BE SOLVED: To provide a container for sealing, using a composite material of an aluminum foil and a synthetic resin coating layer, equipped with a flange structure which has a strength necessary for unsealing or mounting an over-cap, has no possibility of cutting a user's hand and a mouth by a flange edge, and is compatible with a filling and sealing machine for a synthetic resin container. <P>SOLUTION: The container for sealing a beverage, a food or the like, is a tapered cup-like container (A) which is obtained by cold multi-stage deep drawing of a composite material (4) consisting of an aluminum foil core layer (1) with a thickness of 120 μm, an undrawn polypropylene coating layer (2) with a thickness of 200 μm formed on its inner face, and an undrawn polypropylene coating layer (3) with a thickness of 30 μm formed on its outer face, and is equipped with a flange (6) with a width of 5 mm which is a double structure prepared by folding back the peripheral edge part (5a) of the flange (5) downward and with a flange base part (5b). <P>COPYRIGHT: (C)2009,JPO&INPIT

Description

本発明は、コーヒ、紅茶、スープ、デザートのような飲料・食品等の密封容器に関する。    The present invention relates to a sealed container for beverages and foods such as coffee, tea, soup and dessert.

なお、この明細書において、フランジ基部とは、折り返し前のフランジ全体のうち容器外周側の略半分をいい、フランジ周縁部とは、その残りの略半分をいうものとする。   In this specification, the flange base portion refers to approximately half of the outer periphery of the container before folding, and the flange peripheral portion refers to the remaining approximately half.

上記密封容器として合成樹脂容器があるが、内容物の風味保持のためには、下記特許文献1に示されているようなアルミニウム箔層とこれの両面合成樹脂被覆層とよりなる複合材製容器の方が優れている。   Although there is a synthetic resin container as the above-mentioned sealed container, in order to maintain the flavor of the contents, a composite material container comprising an aluminum foil layer and a double-sided synthetic resin coating layer as shown in Patent Document 1 below Is better.

しかしながら、上記複合材製容器の場合は、合成樹脂容器に比べ材料厚さが薄くてフランジの強度が弱いため、ヒートシールした蓋を開封する際に、フランジも一緒に持ち上がろうとして開封できなかったり、飲料容器の場合には、アルミニウム箔製の蓋をストローで突き刺して飲むので、蓋の天面に埃等が附着しないように、メーカーが蓋に合成樹脂製のオーバーキャップを装着する際、フランジが曲がって容器の口に嵌め被せることができないという問題があった。  However, in the case of the above composite material container, since the material thickness is thinner and the flange strength is weaker than that of the synthetic resin container, when the heat-sealed lid is opened, the flange can also be opened to be lifted together. In the case of a beverage container, the lid made of aluminum foil is stabbed with a straw so that the manufacturer can attach a synthetic resin overcap to the lid so that dust does not adhere to the top of the lid. There was a problem that the flange was bent and could not be fitted over the mouth of the container.

そこで、複合材のアルミニウム箔または合成樹脂被覆層を厚くすると、製造コストが増加するし、厚さが増加すると、強度が増したフランジの縁で手や口を切るというおそれもある。   Therefore, when the aluminum foil or the synthetic resin coating layer of the composite material is thickened, the manufacturing cost increases, and when the thickness is increased, there is a possibility that the hand or mouth is cut at the edge of the flange having increased strength.

この問題を解決するためには、下記特許文献2に示されているように、容器のフランジにカール縁を形成すればよい。
特開2005−153894号公報 特開2007−112501号公報
In order to solve this problem, a curl edge may be formed on the flange of the container as shown in Patent Document 2 below.
JP 2005-153894 A JP 2007-111501 A

フランジにカール縁を形成すれば、フランジの端で手や口を切るというおそれはなくなるが、下面に熱封緘材層を有するアルミニウム箔製の蓋との熱封緘に必要なフランジ幅を考えると、合成樹脂容器のフランジよりカール縁分余分に大きくなるため、合成樹脂容器用充填シール機との兼用が困難となる。なぜなら、合成樹脂容器用充填シール機は上下成形金型面がフラットであるため、フランジにカール縁があるとフランジのフラット部分の上下各面とこれに対向する上下各成形金型のフラット面間に隙間が生じてシール不良が発生するからである。   If the curled edge is formed on the flange, there is no risk of cutting the hand or mouth at the end of the flange, but considering the flange width necessary for heat sealing with the lid made of aluminum foil having a heat sealing material layer on the lower surface, Since the curl edge is larger than the flange of the synthetic resin container, it becomes difficult to use it as a filling sealer for the synthetic resin container. Because the filling and sealing machine for synthetic resin containers has a flat upper and lower mold surface, if there is a curled edge on the flange, the upper and lower surfaces of the flat portion of the flange and the flat surfaces of the upper and lower molds facing this surface This is because a gap is generated in the gap and a sealing failure occurs.

本発明は、アルミニウム箔とこれの両面合成樹脂被覆層との複合材を用いた密封用容器で、開封またはオーバーキャップの装着に必要な強度を有し、フランジ縁で手や口を切るおそれがなく、しかも合成樹脂容器用充填シール機との兼用が可能なフランジ構造を備えた密封用容器を提供することにある。   The present invention is a sealing container using a composite material of an aluminum foil and a double-sided synthetic resin coating layer thereof, which has a strength necessary for opening or mounting an overcap, and there is a risk of cutting a hand or mouth at the flange edge. Furthermore, another object is to provide a sealing container having a flange structure that can also be used as a filling sealing machine for synthetic resin containers.

請求項1の発明による飲料・食品等の密封用容器は、テーパー付きコップ状容器が、アルミニウム箔芯層とその両面に形成せられた合成樹脂被覆層とよりなる複合材で形成せられたものであり、フランジ周縁部が下側に折り返されてフランジ基部とで二重構造となされているものである。   The container for sealing beverages, foods and the like according to the invention of claim 1 is formed by forming a tapered cup-shaped container with a composite material comprising an aluminum foil core layer and a synthetic resin coating layer formed on both sides thereof. The flange peripheral edge portion is folded downward to form a double structure with the flange base portion.

請求項2の発明は、請求項1記載の飲料・食品等の密封用容器において、複合材の厚さが0.1〜0.8mmであるものである。   According to a second aspect of the present invention, in the container for sealing beverages and foods according to the first aspect, the thickness of the composite material is 0.1 to 0.8 mm.

請求項3の発明は、請求項1記載の飲料・食品等の密封用容器において、下側に折り返されたフランジ周縁部が折り返す前のフランジ下面幅の1/3以上でかつ容器の外周面に丁度達する長さ以下であるものである。   According to a third aspect of the present invention, in the container for sealing beverages, foods, etc. according to the first aspect, the flange peripheral portion folded downward is not less than 1/3 of the width of the flange lower surface before being folded back, and is provided on the outer peripheral surface of the container. It is just below the length reached.

請求項4の発明は、請求項1記載の飲料・食品等の密封用容器において、フランジ基部上面から折り返されたフランジ周縁部先端下縁までの垂直距離が複合材の厚さの2〜5倍であるものである。   According to a fourth aspect of the present invention, in the container for sealing beverages, foods and the like according to the first aspect, the vertical distance from the upper surface of the flange base to the lower end of the flange peripheral edge is 2 to 5 times the thickness of the composite material. It is what is.

請求項2の発明において、複合材の厚さを0.1〜0.8mmに限定したのは、0.1mmより薄いと容器全体の強度が不足し、0.8mmを超えても効果上変わらず、コストアップになるだけであるからであり、この範囲のうち、より好ましい厚さは0.2〜0.6mmである。   In the invention of claim 2, the thickness of the composite material is limited to 0.1 to 0.8 mm. If it is thinner than 0.1 mm, the strength of the entire container is insufficient, and even if it exceeds 0.8 mm, the effect is changed. In this range, the more preferable thickness is 0.2 to 0.6 mm.

請求項3の発明において、下側に折り返されたフランジ周縁部を折り返す前のフランジ下面幅の1/3以上でかつ容器の外周面に丁度達する長さ以下に限定したのは、1/3未満の長さであると、二重構造のフランジの上面に蓋をヒートシールする際に、二重部分の長さが短か過ぎ、二重部分と一重部分との間の圧力の加わり方が異なるためにシール不良が発生し、逆に下側に折り返されたフランジ周縁部の長さが容器の外周面に丁度達する長さを超えると、先端が下方に折れ曲がって充填シール機のフランジ受けへの納まりが悪くなるからである。  In the invention of claim 3, it is less than 1/3 that it is limited to not less than 1/3 of the flange lower surface width before turning back the flange peripheral part folded back downward and just reaching the outer peripheral surface of the container. When the lid is heat-sealed on the upper surface of the double-structured flange, the length of the double part is too short, and the way the pressure is applied between the double part and the single part is different. For this reason, when a seal failure occurs and the length of the flange peripheral portion folded back downward exceeds the length that just reaches the outer peripheral surface of the container, the tip bends downward and the flange seal of the filling sealer This is because the payment becomes worse.

請求項4の発明において、二重構造のフランジ上面から折り返されたフランジ周縁部先端下縁までの垂直距離を複合材の2〜5倍に限定したのは、2倍未満であると、二重構造のフランジの上下層間に隙間がなく、複合材そのものの厚さ未満の薄さになるため、フランジの平坦部または折り返し端部に材料亀裂の生じるおそれがあり、5倍を超えると、折り返されたフランジ周縁部が不必要に立った状態になるため、蓋をフランジにヒートシールするさい、圧力の加わり方が不均一になってシール不良の原因となるし、オーバーキャップをフランジに引掛けて装着する場合、下側に折り返されたフランジ周縁部の横断面傾斜角度が大き過ぎ、装着不良の原因となるからである。   In the invention of claim 4, the vertical distance from the upper surface of the double-structured flange to the lower edge of the flange peripheral edge that is folded back is limited to 2 to 5 times that of the composite material. Since there is no gap between the upper and lower layers of the flange of the structure and the thickness is less than the thickness of the composite material itself, there is a risk of material cracking at the flat part or the folded end of the flange. When the lid is heat-sealed to the flange, the pressure applied to the flange will become uneven and cause a seal failure. This is because when mounting, the inclination angle of the transverse section of the flange peripheral portion folded back is too large, which causes mounting failure.

平坦なフランジを備えたテーパ付きコップ状容器は、特許文献1に開示され
ている方法で製造される。すなわち、アルミニウム箔芯層とその両面に形成せられた合成樹脂被覆層とよりなる積層シートを深絞り成形してフランジを備えたテーパ付きコップ状容器を形成するに当たり、その深絞り成形工程が、ブランクを有底ストレート円筒状に成形する有底ストレート円筒体成形工程と、この工程の後に続く有底ストレート円筒体を有底テーパ付き円筒状に成形する有底テーパ付き円筒体成形工程よりなる多段工程となされている。そして、有底ストレート円筒体成形工程は、ブランクを有底ストレート円筒状に成形する第1段の工程と、第1段の工程で得られた有底ストレート円筒体にさらに深絞りを施す1段または複数段の工程よりなる。有底テーパ付き円筒体成形工程において、円筒体に付けるテーパ角度は1〜5゜であり、絞り率は80%以上である。
A tapered cup-shaped container having a flat flange is manufactured by the method disclosed in Patent Document 1. That is, when forming a tapered cup-shaped container equipped with a flange by deep drawing a laminated sheet composed of an aluminum foil core layer and a synthetic resin coating layer formed on both surfaces thereof, the deep drawing process is A multi-stage process comprising a bottomed straight cylinder forming process for forming a blank into a bottomed straight cylinder and a bottomed tapered cylinder forming process for forming the bottomed straight cylinder following this process into a bottomed cylindrical cylinder. It is a process. The bottomed straight cylindrical body forming step includes a first step of forming a blank into a bottomed straight cylindrical shape, and a first step of further deep drawing the bottomed straight cylindrical body obtained in the first step. Alternatively, it consists of a plurality of steps. In the bottomed tapered cylinder forming step, the taper angle applied to the cylinder is 1 to 5 °, and the drawing ratio is 80% or more.

テーパ付きコップ状容器のフランジ周縁部を下側に折り返して二重構造とするには、まず、水平フランジの周縁部が下側にほぼ直角に折れ曲がった垂直折り曲げフランジ周縁部を有するテーパ付きコップ状容器を用意する必要があるが、これには、つぎの2つの方法がある。1つは、二重構造のフランジを得るための所定幅よりやや大きめの水平フランジを有するテーパ付きコップ状容器を成形した後、水平フランジの周縁を縁切りして所定幅の水平フランジとなす第1工程と、この所定幅の水平フランジの周縁部を下側にほぼ直角に折り曲げて垂直折り曲げフランジ周縁部となす第2工程との2工程よりなる第1の方法であり、他の1つは、最初から垂直折り曲げフランジ周縁部を有するテーパ付きコップ状容器を成形する第2の方法である。第2の方法は、成形時の材料伸びの不均一さがあるため、垂直折り曲げフランジ周縁部の垂直長さに不均一さが生じるという問題があるので、第1の方法の方が好ましい。   To make a double structure by folding the flange periphery of a tapered cup-shaped container downward, first, a tapered cup shape having a vertically bent flange periphery where the periphery of the horizontal flange is bent substantially perpendicularly downward It is necessary to prepare a container. There are the following two methods. First, after forming a tapered cup-shaped container having a horizontal flange slightly larger than a predetermined width for obtaining a double-structured flange, the peripheral edge of the horizontal flange is trimmed to form a horizontal flange having a predetermined width. This is a first method consisting of two steps: a step and a second step of bending the peripheral edge of the horizontal flange having a predetermined width downward at a substantially right angle to form a vertical bent flange peripheral part. It is the 2nd method of shape | molding the tapered cup-shaped container which has a perpendicular bending flange peripheral part from the beginning. Since the second method has a non-uniform material elongation at the time of molding, there is a problem that non-uniformity occurs in the vertical length of the peripheral edge of the vertical bending flange. Therefore, the first method is preferable.

上記のようにして得られたテーパ付きコップ状容器の垂直折り曲げフランジ周縁部を内方傾斜状折り曲げ用成形金型で内方傾斜状に折り曲げ、最後に内方傾斜状フランジ周縁部を加圧用成形金型で水平フランジ基部側に加圧して二重構造のフランジを得る。   The peripheral edge of the vertically bent flange of the tapered cup-shaped container obtained as described above is bent inwardly with a mold for inwardly inclined bending, and finally the peripheral edge of the inwardly inclined flange is molded for pressure. Press the horizontal flange base side with a mold to obtain a double-structured flange.

本発明の飲料・食品等の密封用容器よれば、テーパー付きコップ状容器が、アルミニウム箔芯層とその両面に形成せられた合成樹脂被覆層とよりなる複合材で形成せられたものであり、フランジ周縁部が下側に折り返されてフランジが二重構造となされているから、開封またはオーバーキャップの装着に必要な強度を有し、フランジ縁で手や口を切るおそれがなく、しかも合成樹脂容器用充填シール機を兼用できる利点がある。   According to the container for sealing beverages and foods of the present invention, a tapered cup-shaped container is formed of a composite material comprising an aluminum foil core layer and a synthetic resin coating layer formed on both surfaces thereof. Since the flange has a double structure with the flange periphery folded back, it has the strength necessary for opening or attaching an overcap, there is no risk of cutting the hand or mouth at the flange edge, and synthesis There is an advantage that it can also be used as a filling sealer for resin containers.

本発明をどのように実施するかを具体的に説明するために、以下に実施例を示す。   In order to specifically explain how the present invention is carried out, examples are given below.

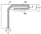
図1〜図3に示す本発明による飲料・食品等の密封用容器は、テーパー付きコップ状容器(A)が、厚さ120μmのアルミニウム箔芯層(1)とその内面に形成せられた厚さ200μmのフィルムよりなる未延伸ポリプロピレン被覆層(2)とその外面に形成せられた厚さ30μmのフィルムよりなる未延伸ポリプロピレン被覆層(3)よりなる複合材(4)(図3参照)を冷間多段深絞り成形することにより得られたものであり、フランジ(5)の周縁部(5a)が下側に折り返されてフランジ基部(5b)とで二重構造となされた巾5mmのフランジ(6)を備えている。   The container for sealing beverages and foods according to the present invention shown in FIGS. 1 to 3 has a tapered cup-shaped container (A) formed of an aluminum foil core layer (1) having a thickness of 120 μm and an inner surface thereof. A composite (4) (see FIG. 3) comprising an unstretched polypropylene coating layer (2) made of a 200 μm-thick film and an unstretched polypropylene coating layer (3) made of a 30 μm-thick film formed on the outer surface thereof A flange having a width of 5 mm, which is obtained by cold multi-stage deep drawing and has a double structure with the flange base (5b) by folding the peripheral edge (5a) of the flange (5) downward. (6) is provided.

上記において、下側に折り返されたフランジ周縁部(5a)は、折り返す前のフランジ(5)の幅の1/2より小さい長さである。また、フランジ基部(5b)の上面から折り返された実線で示すフランジ周縁部(5a)の先端下縁までの垂直距離(L1)が複合材(4)の厚さの約2.4倍の0.85mmである。実線で示すフランジ周縁部(5a)は水平状態になるように折り返されているが、鎖線で示すフランジ周縁部(5a)は元の状態に戻ろうとするため、若干内方傾斜状態になり、その結果、フランジ基部(5b)の上面から折り返されたフランジ周縁部(5a)の先端下縁までの垂直距離(L2)が複合材(4)の厚さの約4.3倍の1.5mmである。なお、図4はオーバーキャップ(B)を二重構造のフランジ(6)に引掛けて装着した状態を示す。図3および図4中、(31)は下面に熱封緘材層を有するアルミニウム製の蓋である。 In the above, the flange peripheral part (5a) folded down is a length smaller than ½ of the width of the flange (5) before folding back. In addition, the vertical distance (L 1 ) from the upper surface of the flange base portion (5b) to the lower edge of the front end of the flange peripheral portion (5a) shown by the solid line is about 2.4 times the thickness of the composite material (4). 0.85 mm. The flange peripheral part (5a) indicated by the solid line is folded back so as to be horizontal, but the flange peripheral part (5a) indicated by the chain line is slightly inwardly inclined to return to the original state. As a result, the vertical distance (L 2 ) from the upper surface of the flange base portion (5b) to the lower edge of the front end of the flange peripheral portion (5a) is 1.5 mm, which is about 4.3 times the thickness of the composite material (4). It is. FIG. 4 shows a state in which the overcap (B) is attached to the double-structured flange (6). 3 and 4, (31) is an aluminum lid having a heat sealing material layer on the lower surface.

テーパ付きコップ状容器(A)のフランジ周縁部(5a)を下側に折り返して二重構造フランジ(6)とするために、垂直折り曲げフランジ周縁部(5a)を有するテーパ付きコップ状容器(A)を用意するには、上記第1の方法を採用する。   Tapered cup-shaped container (A) having a vertically bent flange peripheral part (5a) in order to fold the flange peripheral part (5a) of the tapered cup-shaped container (A) downward into a double structure flange (6) ) Is employed in the first method.

まず、二重構造のフランジを得るための所定幅よりやや大きめの水平フランジ(7)を有するテーパ付きコップ状容器(A)を成形した後、図5および図6に示す縁切り用成形金型(C)を用いて水平フランジ(7)の所定幅よりやや大きい部分(7a)を縁切りする。縁切り用成形金型(C)は、折り返す前の所定幅の水平フランジの周縁と等しい上端周縁を有するパンチ(8)、ダイス(9)、ダイス(9)に密に嵌め入れられた上下動自在な頂壁付き円筒状フランジ押さえ(10)およびフランジ押さえ(10)の頂壁を貫通し、上下動調節自在な垂直棒状容器押さえ(11)とよりなり、フランジ押さえ(10)の上端周囲には、上型ダイセット(12)の円形孔(13)に密に嵌められてスプリング(14)で受けられている環状張り出し部(15)が設けられている。   First, after forming a tapered cup-shaped container (A) having a horizontal flange (7) slightly larger than a predetermined width for obtaining a double-structured flange, a mold for edge cutting shown in FIGS. 5 and 6 ( Using C), the edge (7a) slightly larger than the predetermined width of the horizontal flange (7) is trimmed. The edge cutting mold (C) is movable up and down tightly fitted in a punch (8), a die (9), and a die (9) having an upper end peripheral edge equal to the peripheral edge of a horizontal flange having a predetermined width before turning back. A cylindrical flange holder (10) with a top wall and a vertical bar-shaped container holder (11) that passes through the top wall of the flange holder (10) and can be moved up and down. An annular projecting portion (15) is provided that is closely fitted in the circular hole (13) of the upper die set (12) and is received by the spring (14).

この縁切り用成形金型(C)はつぎのようにして用いられる。まず、パンチ(8)上にこれと中心を合わせてコップ状容器(A)を逆様に置き、容器押さえ(11)を降下せしめ、コップ状容器(A)の底を上からパンチ(8)に動かないように押さえつける。このさいコップ状容器(A)の水平フランジ(7)の所定幅よりやや大きい部分(7a)がパンチ(8)の円形縁よりはみ出す。つぎに、ダイス(9)およびフランジ押さえ(10)をともに降下させ、前記水平フランジ(7)をパンチ(8)に押さえつけ、フランジ押さえ(10)の周囲にあるダイス(9)をさらに降下させ、これによりパンチ(8)の円形縁よりはみ出している水平フランジ(7)の所定幅よりやや大きい部分(7a)を縁切りし、所定幅の水平フランジ(5)となす。このさい、フランジ押さえ(10)はスプリング(14)を圧縮し、ばね力により所定幅の水平フランジ(5)をパンチ(8)上に保持する。   This edge cutting mold (C) is used as follows. First, place the cup-shaped container (A) on the punch (8) in the opposite direction and place the cup-shaped container (A) in the opposite direction, lower the container holder (11), and punch the bottom of the cup-shaped container (A) from above (8). Hold it so that it does not move. A portion (7a) slightly larger than the predetermined width of the horizontal flange (7) of the cup-shaped container (A) protrudes from the circular edge of the punch (8). Next, both the die (9) and the flange presser (10) are lowered, the horizontal flange (7) is pressed against the punch (8), and the die (9) around the flange presser (10) is further lowered, As a result, a portion (7a) slightly larger than the predetermined width of the horizontal flange (7) protruding from the circular edge of the punch (8) is trimmed to form a horizontal flange (5) having a predetermined width. At this time, the flange presser (10) compresses the spring (14), and the horizontal flange (5) having a predetermined width is held on the punch (8) by the spring force.

つぎに、図7および図8に示す垂直折り曲げ用成形金型(D)を用い、所定幅の水平フランジ(5)を垂直に折り曲げる。垂直折り曲げ用成形金型(D)は、ダイス(16)、ダイス(16)に上下動自在に密に嵌め入れられ、下端がガススプリング(17)で受けられかつ二重構造フランジ(6)の周縁と等しい上端周縁を有するフランジ押さえ(18)、頂壁付き円筒状パンチ(19)およびパンチ(19)の頂壁を貫通し、上下動調節自在な垂直棒状容器押さえ(20)とよりなり、パンチ(19)の先端部外径は水平フランジ(5)の厚さ分ダイス(16)の先端部内径より小さく、同先端部内径はコップ状容器(A)の口部外径にほぼ等しい。   Next, the horizontal flange (5) having a predetermined width is bent vertically using the vertical bending mold (D) shown in FIGS. The vertical bending mold (D) is closely fitted into the die (16) and the die (16) so as to be movable up and down, the lower end is received by the gas spring (17), and the double structure flange (6) A flange presser (18) having an upper peripheral edge equal to the peripheral edge, a cylindrical punch (19) with a top wall, and a vertical bar-shaped container presser (20) that passes through the top wall of the punch (19) and can be vertically adjusted; The outer diameter of the tip of the punch (19) is smaller than the inner diameter of the tip of the die (16) by the thickness of the horizontal flange (5), and the inner diameter of the tip is substantially equal to the outer diameter of the mouth of the cup-shaped container (A).

この垂直折り曲げ用成形金型(D)は、つぎのようにして用いられる。まず、フランジ押さえ(18)上にこれと中心を合わせてコップ状容器(A)を逆様に置き、容器押さえ(20)を降下せしめ、コップ状容器(A)の底を上からフランジ押さえ(18)に動かないように押さえつける。このさいコップ状容器(A)の二重構造フランジ(6)の幅より大きい部分がフランジ押さえ(18)の円形縁よりはみ出してダイス(16)の上端面にのる。つぎに、パンチ(19)を降下させその先端部をガススプリング(17)のばね力に抗してフランジ押さえ(18)を押し下げることにより、ダイス(16)内に入れ、パンチ(19)の先端円形縁よりはみ出している所定幅の水平フランジ(5)の周縁部(5a)をまず垂直に折り曲げるのである。   This vertical bending mold (D) is used as follows. First, place the cup-shaped container (A) on the flange retainer (18) so that it is centered on the flange retainer (18) in the opposite direction, lower the container retainer (20), and press the bottom of the cup-shaped container (A) from the top with the flange retainer ( Press down so that it does not move to 18). A portion larger than the width of the double-structured flange (6) of the cup-shaped container (A) protrudes from the circular edge of the flange retainer (18) and rests on the upper end surface of the die (16). Next, the punch (19) is lowered, and its tip is pushed into the die (16) by pushing down the flange holder (18) against the spring force of the gas spring (17). The peripheral edge (5a) of the horizontal flange (5) having a predetermined width protruding from the circular edge is first bent vertically.

以上のようにして得られた垂直折り曲げフランジ周縁部(5a)を図9および図10に示す内方傾斜状折り曲げ用成形金型(E)を用いて内方傾斜状に折り曲げる。内方傾斜状折り曲げ用成形金型(E)は、二重構造フランジ(6)の周縁とほぼ等しい径の上端周縁を有するパンチ(20)、頂壁付き円筒状ダイス(21)およびダイス(21)の頂壁を貫通し、上下動調節自在な垂直棒状容器押さえ(22)とよりなり、円筒状ダイス(21)の先端部内周面には、下端から上に向かって相対的に緩い傾斜面(23)、パンチ(19)の先端部の径にほぼ等しい内径を有する垂直面(24)および相対的に急な傾斜面(25)が形成せられている。具体的な傾斜角度としては、垂直面(24)を基準として、緩い傾斜面(23)の角度(θ)が3〜15゜の範囲から選ばれるが、ここでは10゜である。3゜未満では、垂直折り曲げフランジ周縁部(5a)が垂直面(24)に円滑に案内されず、15゜を超えると、傾斜面(23)に突き当たってこれが同様に円滑に案内されない。好ましくは、7〜10゜である。急な傾斜面(25)の角度(θ)は20〜60゜の範囲から選ばれるが、ここでは45゜である。20゜未満では、折り曲げ成形が過酷となり、垂直折り曲げフランジ周縁部(5a)が破損するおそれがあり、60゜を超えると、折り曲げ成形が弱く、次工程の加圧成形に無理が生じるおそれがある。好ましくは、30〜50゜である。急な傾斜面(25)の上はこれに続く水平面(26)を介してコップ状容器(A)の口部外周面と等しいダイス(21)の内周面となっている。 The peripheral edge (5a) of the vertical bending flange obtained as described above is bent in an inwardly inclined shape using an inwardly inclined bending mold (E) shown in FIGS. The inwardly inclined bending mold (E) includes a punch (20) having an upper end periphery having a diameter substantially equal to the periphery of the double structure flange (6), a cylindrical die (21) with a top wall, and a die (21 ) And a vertical bar-shaped container holder (22) that can be adjusted up and down. The inner peripheral surface of the tip of the cylindrical die (21) has a relatively slanted surface from the bottom to the top. (23) A vertical surface (24) having an inner diameter substantially equal to the diameter of the tip of the punch (19) and a relatively steep inclined surface (25) are formed. As a specific inclination angle, the angle (θ 1 ) of the gentle inclined surface (23) is selected from a range of 3 to 15 ° with respect to the vertical surface (24), but here it is 10 °. If it is less than 3 °, the peripheral edge (5a) of the vertical bending flange is not smoothly guided to the vertical surface (24), and if it exceeds 15 °, it strikes the inclined surface (23) and this is not smoothly guided. Preferably, it is 7 to 10 °. The angle (θ 2 ) of the steeply inclined surface (25) is selected from the range of 20 to 60 °, and here it is 45 °. If the angle is less than 20 °, the bending process becomes severe, and the peripheral edge of the vertical bending flange (5a) may be damaged. . Preferably, it is 30-50 degrees. Above the steeply inclined surface (25) is the inner peripheral surface of the die (21) that is equal to the outer peripheral surface of the mouth of the cup-shaped container (A) via the horizontal surface (26) that follows.

この内方傾斜状折り曲げ用成形金型(E)は、つぎのようにして用いられる。まず、パンチ(20)上にこれと中心を合わせてコップ状容器(A)を逆様に置き、容器押さえ(22)を降下せしめ、コップ状容器(A)の底を上からパンチ(20)に動かないように押さえつける。このさいコップ状容器(A)の垂直折り曲げフランジ周縁部(5a)の外周面がパンチ(20)の先端外周面とほぼ同じ垂直面上にある。   This inwardly inclined bending mold (E) is used as follows. First, place the cup-shaped container (A) on the punch (20) in the opposite direction, place the cup-shaped container (A) in the opposite direction, lower the container holder (22), and punch the bottom of the cup-shaped container (A) from above (20). Hold it so that it does not move. In this case, the outer peripheral surface of the peripheral edge (5a) of the vertical folding flange of the cup-shaped container (A) is substantially on the same vertical surface as the outer peripheral surface of the tip of the punch (20).

つぎに、パンチ(22)を降下しその先端部が降下したダイス(21)の垂直面(24)内に入ると、垂直折り曲げフランジ周縁部(5a)が前記垂直面(24)の上に続く急な傾斜面(25)に圧迫されてこれに沿い、内方傾斜状に折れ曲がる。   Next, when the punch (22) is lowered and its tip end enters the lowered vertical surface (24) of the die (21), the vertical bent flange peripheral edge (5a) continues on the vertical surface (24). It is squeezed by the steeply inclined surface (25) and bends inwardly along this.

内方傾斜状折曲フランジ周縁部(5a)を図11および図12に示す加圧用成形金型(F)を用いて加圧し、フランジ基部(5b)とで二重構造フランジ(6)となす。加圧用成形金型(F)は、二重構造フランジ(6)の周縁より大きい径の上端周縁を有するパンチ(27)、頂壁付き円筒状ダイス(28)およびダイス(28)の頂壁を貫通し、上下動調節自在な垂直棒状容器押さえ(29)とよりなり、円筒状ダイス(28)の先端部内周面には、二重構造フランジ(6)の上下高さより低い高さ(H)である0.65mmでかつ二重構造フランジ(6)の周縁より若干大きい幅を有する下向き段部(30)が形成せられ、しかも、加圧時のダイス(28)の下面と、パンチ(27)の上面との間に0.2mmの隙間(S)が生じるようになされている。   The inner inclined bent flange peripheral edge (5a) is pressed using a pressing mold (F) shown in FIGS. 11 and 12, and the flange base (5b) forms a double structure flange (6). . The pressing mold (F) includes a punch (27) having an upper peripheral edge larger in diameter than the peripheral edge of the double structure flange (6), a cylindrical die (28) with a top wall, and a top wall of the die (28). It consists of a vertical rod holder (29) that penetrates and can be moved up and down, and the inner peripheral surface of the tip of the cylindrical die (28) has a height (H) that is lower than the vertical height of the double structure flange (6) And a downward stepped portion (30) having a width slightly larger than the peripheral edge of the double-structure flange (6) is formed, and the lower surface of the die (28) during pressurization and the punch (27 ) So that a clearance (S) of 0.2 mm is generated.

下向き段部(30)を二重構造フランジ(6)の上下高さより低い高さでかつ二重構造フランジ(6)の周縁より若干大きい幅となしたのは、二重構造フランジ(6)の外径寸法にばらつきがなく真円度を確保することにより、オーバキャップを確実に装着し得るようにするとともに、加圧時のダイス(28)の下面とパンチ(27)の上面との間に隙間があっても内方傾斜状フランジ周縁部(5a)を充分に加圧可能としたためである。加圧時のダイスの下面とパンチ(27)の上面との間の隙間(S)が生じるようになされているのは、ダイス(28)とパンチ(27)が接触して破損しないようにしたためである。この隙間(S)と段部(30)の高さ(H)の合計は、複合材(4)の厚さの2〜5倍の範囲から選ばれたものである。なぜなら、この隙間(S)と段部(30)の高さ(H)の合計が、複合材(4)の厚さの2倍未満であると、二重構造のフランジ(6)の上下層間に隙間がなく、複合材(4)そのものの厚さ未満の薄さになるため、フランジ基部(5a)の平坦部または折り返し周縁部(5b)に材料亀裂の生じるおそれがあり、5倍を超えると、折り返されたフランジ周縁部(5b)が不必要に立った状態になるため、蓋(31)をフランジ基部(5a)にヒートシールするさい、圧力の加わり方が不均一になってシール不良の原因となるし、オーバーキャップ(8)を、二重構造のフランジ(6)に引掛けて装着する場合、下側に折り返されたフランジ周縁部(5b)の横断面傾斜角度が大き過ぎ、装着不良の原因となるからである。   The downward step (30) has a height lower than the vertical height of the double structure flange (6) and slightly larger than the peripheral edge of the double structure flange (6). By ensuring the roundness with no variation in the outer diameter, the overcap can be securely attached and between the lower surface of the die (28) and the upper surface of the punch (27) during pressurization. This is because the inwardly inclined flange peripheral edge (5a) can be sufficiently pressurized even if there is a gap. The reason why the gap (S) is generated between the lower surface of the die and the upper surface of the punch (27) at the time of pressurization is that the die (28) and the punch (27) are prevented from contacting and being damaged. It is. The total of the gap (S) and the height (H) of the stepped portion (30) is selected from a range of 2 to 5 times the thickness of the composite material (4). Because the sum of the gap (S) and the height (H) of the step (30) is less than twice the thickness of the composite material (4), the upper and lower layers of the double-structured flange (6) Since there is no gap and the thickness of the composite material (4) is less than the thickness of the composite material (4) itself, there is a risk of material cracking in the flat part or the folded peripheral edge part (5b) of the flange base part (5a). Since the folded flange periphery (5b) is in an unnecessary standing state, when the lid (31) is heat-sealed to the flange base (5a), the pressure is not uniform and the seal is poor. When the overcap (8) is hooked on the flange (6) having a double structure, the inclination angle of the transverse section of the flange peripheral part (5b) folded back is too large. This is because it causes a mounting failure.

この加圧用成形金型(F)は、つぎのようにして用いられる。まず、パンチ(27)上にこれと中心を合わせてコップ状容器(A)を逆様に置き、容器押さえ(29)を降下せしめ、コップ状容器(A)の底を上からパンチ(27)に動かないように押さえつける。つぎに、ダイス(28)を降下し、コップ状容器(A)の内方傾斜状折曲フランジ周縁部(5a)を降下したダイス(28)の下向き段部(30)内に入れ、これを下向き段部(30)の水平面でフランジ基部(5b)に向けて加圧すると、フランジ基部(5b)とで二重構造のフランジ(6)が得られる。このコップ状容器(A)を加圧用成形金型(F)から取り出すと、本発明による飲料・食品等の密封用容器となる。   This press-molding mold (F) is used as follows. First, place the cup-shaped container (A) on the punch (27) in the opposite direction and place the cup-shaped container (A) in the opposite direction, lower the container presser (29), and punch the bottom of the cup-shaped container (A) from above (27). Hold it so that it does not move. Next, the die (28) is lowered, and the inwardly inclined bent flange peripheral portion (5a) of the cup-shaped container (A) is put into the downward step (30) of the die (28), and this is inserted. When pressure is applied toward the flange base (5b) with the horizontal surface of the downward step (30), a double-structured flange (6) is obtained with the flange base (5b). When this cup-shaped container (A) is taken out from the pressing mold (F), it becomes a container for sealing beverages, foods and the like according to the present invention.

本発明による飲料・食品等の密封用容器の一部を切り欠いた平面図である。It is the top view which notched a part of sealing containers, such as a drink and foodstuff, by this invention. 図1の容器の一部を切り欠いた正面図である。It is the front view which notched a part of container of FIG. 図1の容器の要部拡大詳細縦断面図である。It is a principal part expansion detailed longitudinal cross-sectional view of the container of FIG. オーバーキャップをフランジに引掛けて装着した状態を示す図1の容器の部分拡大縦断面図である。FIG. 2 is a partially enlarged longitudinal sectional view of the container of FIG. 1 showing a state in which an overcap is hooked and attached to a flange. 縁切り用成形金型の縦断面図である。It is a longitudinal cross-sectional view of the edge cutting molding die. フランジの縁切りをした状態を示す図5の縁切り用成形金型の要部拡大縦断面図である。FIG. 6 is an enlarged vertical cross-sectional view of a main part of the edge cutting mold shown in FIG. 5, showing a state in which the flange has been edge cut. 垂直折り曲げ用成形金型の縦断面図である。It is a longitudinal cross-sectional view of the vertical bending molding die. フランジを垂直に折り曲げた状態を示す図7の垂直折り曲げ用成形金型の要部拡大縦断面図である。FIG. 8 is an enlarged vertical cross-sectional view of a main part of the vertical bending mold shown in FIG. 7 showing a state where the flange is bent vertically. 内方傾斜状折り曲げ用成形金型の縦断面図である。It is a longitudinal cross-sectional view of the inward inclined bending mold. フランジを内方傾斜状に折り曲げた状態を示す図9の内方傾斜状折り曲げ用成形金型の要部拡大縦断面図である。FIG. 10 is an enlarged vertical sectional view of a main part of the inwardly inclined bending mold shown in FIG. 9 showing a state where the flange is bent inwardly. 加圧用成形金型の縦断面図である。It is a longitudinal cross-sectional view of the press-molding mold. 内方傾斜状折曲フランジ周縁部をフランジ基部に向けて加圧し、二重構造のフランジフランジとなした状態を示す図11の加圧用成形金型の要部拡大縦断面図である。FIG. 12 is an enlarged vertical cross-sectional view of a main part of the press-molding mold of FIG. 11, showing a state where a peripheral edge portion of the inwardly inclined bent flange is pressed toward the flange base portion to form a double-structure flange flange.

符号の説明Explanation of symbols

(1)アルミニウム箔芯層
(2)(3)合成樹脂被覆層(未延伸ポリプロピレン被覆層)
(4)複合材
(5)フランジ
(5a)フランジの周縁部
(5b)フランジ基部
(6)二重構造のフランジ
(A)テーパー付きコップ状容器
(L1)(L2)フランジ基部上面から折り返されたフランジ周縁部先端下縁までの垂直距離
(1) Aluminum foil core layer
(2) (3) Synthetic resin coating layer (unstretched polypropylene coating layer)
(4) Composite material (5) Flange (5a) Peripheral edge of flange (5b) Flange base (6) Double structure flange (A) Tapered cup-shaped container (L 1 ) (L 2 ) Folded from top of flange base Vertical distance to the bottom edge of the flange edge

Claims (4)

テーパー付きコップ状容器が、アルミニウム箔芯層とその両面に形成せられた合成樹脂被覆層とよりなる複合材で形成せられたものであり、フランジ周縁部が下側に折り返されてフランジ基部とで二重構造となされている飲料・食品等の密封用容器。   A tapered cup-shaped container is formed of a composite material composed of an aluminum foil core layer and a synthetic resin coating layer formed on both sides thereof, and a flange peripheral portion is folded downward to form a flange base portion. A container for sealing beverages and foods, etc., which has a double structure. 複合材の厚さが0.1〜0.8mmである請求項1記載の飲料・食品等の密封用容器。   The container for sealing beverages and foods according to claim 1, wherein the composite material has a thickness of 0.1 to 0.8 mm. 下側に折り返されたフランジ周縁部が折り返す前のフランジ下面幅の1/3以上でかつ容器の外周面に丁度達する長さ以下である請求項1記載の飲料・食品等の密封用容器。   The container for sealing beverages, foods, etc. according to claim 1, wherein the flange peripheral portion folded back is not less than 1/3 of the width of the flange lower surface before it is folded back and the length just reaching the outer peripheral surface of the container. フランジ基部上面から折り返されたフランジ周縁部先端下縁までの垂直距離が複合材の厚さの2〜5倍である請求項1記載の飲料・食品等の密封用容器。   The container for sealing beverages, foods and the like according to claim 1, wherein the vertical distance from the upper surface of the flange base portion to the lower edge of the flange peripheral edge that is folded back is 2 to 5 times the thickness of the composite material.
JP2008006090A 2008-01-15 2008-01-15 Container for sealing beverage, food or the like Pending JP2009166863A (en)

Priority Applications (1)

Application Number Priority Date Filing Date Title
JP2008006090A JP2009166863A (en) 2008-01-15 2008-01-15 Container for sealing beverage, food or the like

Applications Claiming Priority (1)

Application Number Priority Date Filing Date Title
JP2008006090A JP2009166863A (en) 2008-01-15 2008-01-15 Container for sealing beverage, food or the like

Publications (2)

Publication Number Publication Date
JP2009166863A true JP2009166863A (en) 2009-07-30
JP2009166863A5 JP2009166863A5 (en) 2011-02-24

Family

ID=40968531

Family Applications (1)

Application Number Title Priority Date Filing Date
JP2008006090A Pending JP2009166863A (en) 2008-01-15 2008-01-15 Container for sealing beverage, food or the like

Country Status (1)

Country Link
JP (1) JP2009166863A (en)

Cited By (1)

* Cited by examiner, † Cited by third party
Publication number Priority date Publication date Assignee Title
JP2014530122A (en) * 2011-09-09 2014-11-17 グラフィックパッケージング インターナショナル インコーポレイテッド Tool for forming a three-dimensional article or container

Citations (6)

* Cited by examiner, † Cited by third party
Publication number Priority date Publication date Assignee Title
JPS62135151A (en) * 1985-08-13 1987-06-18 東洋製罐株式会社 Vessel with sealing cover and manufacture thereof
JPH02167740A (en) * 1988-08-31 1990-06-28 Showa Alum Corp Laminated sheet for food packing container
JP2002120821A (en) * 2000-10-13 2002-04-23 Snow Brand Milk Prod Co Ltd Simple container
JP2002347736A (en) * 2001-05-28 2002-12-04 Mitsubishi Alum Co Ltd Paper container, base paper for paper container, pressing machine for paper container, and manufacturing method
JP2005029180A (en) * 2003-07-09 2005-02-03 Kyodo Printing Co Ltd Packaging container
JP2005153894A (en) * 2003-11-20 2005-06-16 Showa Denko Packaging Co Ltd Container for sealing beverage, food or the like

Patent Citations (6)

* Cited by examiner, † Cited by third party
Publication number Priority date Publication date Assignee Title
JPS62135151A (en) * 1985-08-13 1987-06-18 東洋製罐株式会社 Vessel with sealing cover and manufacture thereof
JPH02167740A (en) * 1988-08-31 1990-06-28 Showa Alum Corp Laminated sheet for food packing container
JP2002120821A (en) * 2000-10-13 2002-04-23 Snow Brand Milk Prod Co Ltd Simple container
JP2002347736A (en) * 2001-05-28 2002-12-04 Mitsubishi Alum Co Ltd Paper container, base paper for paper container, pressing machine for paper container, and manufacturing method
JP2005029180A (en) * 2003-07-09 2005-02-03 Kyodo Printing Co Ltd Packaging container
JP2005153894A (en) * 2003-11-20 2005-06-16 Showa Denko Packaging Co Ltd Container for sealing beverage, food or the like

Cited By (1)

* Cited by examiner, † Cited by third party
Publication number Priority date Publication date Assignee Title
JP2014530122A (en) * 2011-09-09 2014-11-17 グラフィックパッケージング インターナショナル インコーポレイテッド Tool for forming a three-dimensional article or container

Similar Documents

Publication Publication Date Title
JP6900560B2 (en) Beverage preparation systems, capsules, and methods for producing beverages
JP6584421B2 (en) Cup for coffee capsule
US8758665B2 (en) Combination packaging container and method of producing it
RU2270794C2 (en) Can end
JP6596835B2 (en) Paper cup molding method
CN101492107A (en) Cup made of a paper material
JP2017508492A (en) Partial capsule for preparing brewed products
JP2017508492A5 (en)
JP2013082484A (en) Tube container
CN101287581B (en) Method of forming head part of closed type tube, process for producing closed type tube, and closed type tube container
CN102421682A (en) Method for producing food filled and sealed container
JP2009166078A (en) Method of providing double structure flange on cup-shaped container, and forming die
JP6194661B2 (en) Paper cup flange mold
JP6315728B2 (en) Container and container manufacturing method
AU2019406396B2 (en) Manufacturing process for producing hermetic single-use food containers using a sealing head having a specific profile with a rib
JP2009166863A (en) Container for sealing beverage, food or the like
JP4301668B2 (en) Metal container and method for manufacturing metal container
JP4206499B2 (en) Tapered container mold
CN213009581U (en) Cover body, package adopting same and container for containing granular materials
EP2505508A1 (en) A container body, a container and a method of making a container body
JP2005153894A (en) Container for sealing beverage, food or the like
AU2002325453B2 (en) Container and method for manufacturing thereof
JP7735532B2 (en) Container and container manufacturing method
CN101454213A (en) Flexible packaging made from plastic
KR20260003058A (en) Containers and methods for manufacturing containers

Legal Events

Date Code Title Description
A521 Written amendment

Free format text: JAPANESE INTERMEDIATE CODE: A523

Effective date: 20110112

A621 Written request for application examination

Free format text: JAPANESE INTERMEDIATE CODE: A621

Effective date: 20110112

A977 Report on retrieval

Free format text: JAPANESE INTERMEDIATE CODE: A971007

Effective date: 20120810

A131 Notification of reasons for refusal

Free format text: JAPANESE INTERMEDIATE CODE: A131

Effective date: 20120814

A521 Written amendment

Free format text: JAPANESE INTERMEDIATE CODE: A523

Effective date: 20120925

A131 Notification of reasons for refusal

Free format text: JAPANESE INTERMEDIATE CODE: A131

Effective date: 20121204

A02 Decision of refusal

Free format text: JAPANESE INTERMEDIATE CODE: A02

Effective date: 20130507