JP2009013218A - Rubber composition for tread and pneumatic tire using the same - Google Patents
Rubber composition for tread and pneumatic tire using the same Download PDFInfo
- Publication number
- JP2009013218A JP2009013218A JP2007173938A JP2007173938A JP2009013218A JP 2009013218 A JP2009013218 A JP 2009013218A JP 2007173938 A JP2007173938 A JP 2007173938A JP 2007173938 A JP2007173938 A JP 2007173938A JP 2009013218 A JP2009013218 A JP 2009013218A
- Authority
- JP
- Japan
- Prior art keywords
- mass
- rubber
- tread
- rubber composition
- natural rubber
- Prior art date
- Legal status (The legal status is an assumption and is not a legal conclusion. Google has not performed a legal analysis and makes no representation as to the accuracy of the status listed.)
- Withdrawn
Links
- 229920001971 elastomer Polymers 0.000 title abstract description 71
- 239000005060 rubber Substances 0.000 title abstract description 71
- 239000000203 mixture Substances 0.000 title abstract description 43
- 244000043261 Hevea brasiliensis Species 0.000 abstract description 69
- 229920003052 natural elastomer Polymers 0.000 abstract description 69
- 229920001194 natural rubber Polymers 0.000 abstract description 69
- 239000000945 filler Substances 0.000 abstract description 26
- 239000003208 petroleum Substances 0.000 abstract description 18
- 238000005096 rolling process Methods 0.000 abstract description 18
- 239000002994 raw material Substances 0.000 abstract description 12
- 238000006735 epoxidation reaction Methods 0.000 description 23
- VYPSYNLAJGMNEJ-UHFFFAOYSA-N Silicium dioxide Chemical compound O=[Si]=O VYPSYNLAJGMNEJ-UHFFFAOYSA-N 0.000 description 21
- CSCPPACGZOOCGX-UHFFFAOYSA-N Acetone Chemical compound CC(C)=O CSCPPACGZOOCGX-UHFFFAOYSA-N 0.000 description 16
- -1 alkyl hydroperoxide Chemical compound 0.000 description 13
- 238000000034 method Methods 0.000 description 13
- 238000004073 vulcanization Methods 0.000 description 13
- 239000003795 chemical substances by application Substances 0.000 description 11
- 239000011324 bead Substances 0.000 description 10
- 239000000377 silicon dioxide Substances 0.000 description 10
- 239000006087 Silane Coupling Agent Substances 0.000 description 9
- 238000002156 mixing Methods 0.000 description 9
- NINIDFKCEFEMDL-UHFFFAOYSA-N Sulfur Chemical compound [S] NINIDFKCEFEMDL-UHFFFAOYSA-N 0.000 description 8
- 230000000694 effects Effects 0.000 description 8
- 239000011593 sulfur Substances 0.000 description 8
- 229910052717 sulfur Inorganic materials 0.000 description 8
- 239000006229 carbon black Substances 0.000 description 7
- 150000001875 compounds Chemical class 0.000 description 7
- 239000003921 oil Substances 0.000 description 7
- 235000019198 oils Nutrition 0.000 description 7
- ZRALSGWEFCBTJO-UHFFFAOYSA-N Guanidine Chemical compound NC(N)=N ZRALSGWEFCBTJO-UHFFFAOYSA-N 0.000 description 6
- 238000012360 testing method Methods 0.000 description 6
- 239000004636 vulcanized rubber Substances 0.000 description 6
- YXIWHUQXZSMYRE-UHFFFAOYSA-N 1,3-benzothiazole-2-thiol Chemical compound C1=CC=C2SC(S)=NC2=C1 YXIWHUQXZSMYRE-UHFFFAOYSA-N 0.000 description 5
- 230000000052 comparative effect Effects 0.000 description 5
- 239000010734 process oil Substances 0.000 description 5
- 230000001603 reducing effect Effects 0.000 description 5
- VTYYLEPIZMXCLO-UHFFFAOYSA-L Calcium carbonate Chemical compound [Ca+2].[O-]C([O-])=O VTYYLEPIZMXCLO-UHFFFAOYSA-L 0.000 description 4
- OKTJSMMVPCPJKN-UHFFFAOYSA-N Carbon Chemical compound [C] OKTJSMMVPCPJKN-UHFFFAOYSA-N 0.000 description 4
- 230000003712 anti-aging effect Effects 0.000 description 4
- 238000000465 moulding Methods 0.000 description 4
- 230000003014 reinforcing effect Effects 0.000 description 4
- 229920003048 styrene butadiene rubber Polymers 0.000 description 4
- UJPKMTDFFUTLGM-UHFFFAOYSA-N 1-aminoethanol Chemical compound CC(N)O UJPKMTDFFUTLGM-UHFFFAOYSA-N 0.000 description 3
- CHJJGSNFBQVOTG-UHFFFAOYSA-N N-methyl-guanidine Natural products CNC(N)=N CHJJGSNFBQVOTG-UHFFFAOYSA-N 0.000 description 3
- 229920000459 Nitrile rubber Polymers 0.000 description 3
- 235000021355 Stearic acid Nutrition 0.000 description 3
- 229920005549 butyl rubber Polymers 0.000 description 3
- SWSQBOPZIKWTGO-UHFFFAOYSA-N dimethylaminoamidine Natural products CN(C)C(N)=N SWSQBOPZIKWTGO-UHFFFAOYSA-N 0.000 description 3
- ZOOODBUHSVUZEM-UHFFFAOYSA-N ethoxymethanedithioic acid Chemical compound CCOC(S)=S ZOOODBUHSVUZEM-UHFFFAOYSA-N 0.000 description 3
- RAXXELZNTBOGNW-UHFFFAOYSA-N imidazole Natural products C1=CNC=N1 RAXXELZNTBOGNW-UHFFFAOYSA-N 0.000 description 3
- MTNDZQHUAFNZQY-UHFFFAOYSA-N imidazoline Chemical compound C1CN=CN1 MTNDZQHUAFNZQY-UHFFFAOYSA-N 0.000 description 3
- VLKZOEOYAKHREP-UHFFFAOYSA-N n-Hexane Chemical compound CCCCCC VLKZOEOYAKHREP-UHFFFAOYSA-N 0.000 description 3
- QIQXTHQIDYTFRH-UHFFFAOYSA-N octadecanoic acid Chemical compound CCCCCCCCCCCCCCCCCC(O)=O QIQXTHQIDYTFRH-UHFFFAOYSA-N 0.000 description 3
- OQCDKBAXFALNLD-UHFFFAOYSA-N octadecanoic acid Natural products CCCCCCCC(C)CCCCCCCCC(O)=O OQCDKBAXFALNLD-UHFFFAOYSA-N 0.000 description 3
- 239000008117 stearic acid Substances 0.000 description 3
- 239000011701 zinc Substances 0.000 description 3
- 229910052725 zinc Inorganic materials 0.000 description 3
- XMNIXWIUMCBBBL-UHFFFAOYSA-N 2-(2-phenylpropan-2-ylperoxy)propan-2-ylbenzene Chemical compound C=1C=CC=CC=1C(C)(C)OOC(C)(C)C1=CC=CC=C1 XMNIXWIUMCBBBL-UHFFFAOYSA-N 0.000 description 2
- CURLTUGMZLYLDI-UHFFFAOYSA-N Carbon dioxide Chemical compound O=C=O CURLTUGMZLYLDI-UHFFFAOYSA-N 0.000 description 2
- MHAJPDPJQMAIIY-UHFFFAOYSA-N Hydrogen peroxide Chemical compound OO MHAJPDPJQMAIIY-UHFFFAOYSA-N 0.000 description 2
- 238000005481 NMR spectroscopy Methods 0.000 description 2
- KFSLWBXXFJQRDL-UHFFFAOYSA-N Peracetic acid Chemical compound CC(=O)OO KFSLWBXXFJQRDL-UHFFFAOYSA-N 0.000 description 2
- NQRYJNQNLNOLGT-UHFFFAOYSA-N Piperidine Chemical compound C1CCNCC1 NQRYJNQNLNOLGT-UHFFFAOYSA-N 0.000 description 2
- 239000005062 Polybutadiene Substances 0.000 description 2
- FZWLAAWBMGSTSO-UHFFFAOYSA-N Thiazole Chemical compound C1=CSC=N1 FZWLAAWBMGSTSO-UHFFFAOYSA-N 0.000 description 2
- HCHKCACWOHOZIP-UHFFFAOYSA-N Zinc Chemical compound [Zn] HCHKCACWOHOZIP-UHFFFAOYSA-N 0.000 description 2
- XLOMVQKBTHCTTD-UHFFFAOYSA-N Zinc monoxide Chemical compound [Zn]=O XLOMVQKBTHCTTD-UHFFFAOYSA-N 0.000 description 2
- WNROFYMDJYEPJX-UHFFFAOYSA-K aluminium hydroxide Chemical compound [OH-].[OH-].[OH-].[Al+3] WNROFYMDJYEPJX-UHFFFAOYSA-K 0.000 description 2
- 238000004458 analytical method Methods 0.000 description 2
- 239000010426 asphalt Substances 0.000 description 2
- 229910000019 calcium carbonate Inorganic materials 0.000 description 2
- DKVNPHBNOWQYFE-UHFFFAOYSA-N carbamodithioic acid Chemical compound NC(S)=S DKVNPHBNOWQYFE-UHFFFAOYSA-N 0.000 description 2
- 239000007795 chemical reaction product Substances 0.000 description 2
- 238000013329 compounding Methods 0.000 description 2
- 229920001577 copolymer Polymers 0.000 description 2
- AFZSMODLJJCVPP-UHFFFAOYSA-N dibenzothiazol-2-yl disulfide Chemical compound C1=CC=C2SC(SSC=3SC4=CC=CC=C4N=3)=NC2=C1 AFZSMODLJJCVPP-UHFFFAOYSA-N 0.000 description 2
- LMBWSYZSUOEYSN-UHFFFAOYSA-N diethyldithiocarbamic acid Chemical compound CCN(CC)C(S)=S LMBWSYZSUOEYSN-UHFFFAOYSA-N 0.000 description 2
- AUZONCFQVSMFAP-UHFFFAOYSA-N disulfiram Chemical compound CCN(CC)C(=S)SSC(=S)N(CC)CC AUZONCFQVSMFAP-UHFFFAOYSA-N 0.000 description 2
- 239000000839 emulsion Substances 0.000 description 2
- 125000003700 epoxy group Chemical group 0.000 description 2
- 238000011156 evaluation Methods 0.000 description 2
- 238000000605 extraction Methods 0.000 description 2
- 238000009472 formulation Methods 0.000 description 2
- 230000009477 glass transition Effects 0.000 description 2
- VKYKSIONXSXAKP-UHFFFAOYSA-N hexamethylenetetramine Chemical compound C1N(C2)CN3CN1CN2C3 VKYKSIONXSXAKP-UHFFFAOYSA-N 0.000 description 2
- 229920003049 isoprene rubber Polymers 0.000 description 2
- 238000004898 kneading Methods 0.000 description 2
- IUJLOAKJZQBENM-UHFFFAOYSA-N n-(1,3-benzothiazol-2-ylsulfanyl)-2-methylpropan-2-amine Chemical compound C1=CC=C2SC(SNC(C)(C)C)=NC2=C1 IUJLOAKJZQBENM-UHFFFAOYSA-N 0.000 description 2
- DEQZTKGFXNUBJL-UHFFFAOYSA-N n-(1,3-benzothiazol-2-ylsulfanyl)cyclohexanamine Chemical compound C1CCCCC1NSC1=NC2=CC=CC=C2S1 DEQZTKGFXNUBJL-UHFFFAOYSA-N 0.000 description 2
- 229910052757 nitrogen Inorganic materials 0.000 description 2
- 150000001451 organic peroxides Chemical class 0.000 description 2
- 150000004965 peroxy acids Chemical class 0.000 description 2
- 229920001084 poly(chloroprene) Polymers 0.000 description 2
- 229920002857 polybutadiene Polymers 0.000 description 2
- 239000000047 product Substances 0.000 description 2
- 150000003839 salts Chemical class 0.000 description 2
- 235000011803 sesame oil Nutrition 0.000 description 2
- 239000008159 sesame oil Substances 0.000 description 2
- QAZLUNIWYYOJPC-UHFFFAOYSA-M sulfenamide Chemical compound [Cl-].COC1=C(C)C=[N+]2C3=NC4=CC=C(OC)C=C4N3SCC2=C1C QAZLUNIWYYOJPC-UHFFFAOYSA-M 0.000 description 2
- PNWOTXLVRDKNJA-UHFFFAOYSA-N tert-butylperoxybenzene Chemical compound CC(C)(C)OOC1=CC=CC=C1 PNWOTXLVRDKNJA-UHFFFAOYSA-N 0.000 description 2
- UMGDCJDMYOKAJW-UHFFFAOYSA-N thiourea Chemical compound NC(N)=S UMGDCJDMYOKAJW-UHFFFAOYSA-N 0.000 description 2
- 150000003585 thioureas Chemical class 0.000 description 2
- KUAZQDVKQLNFPE-UHFFFAOYSA-N thiram Chemical compound CN(C)C(=S)SSC(=S)N(C)C KUAZQDVKQLNFPE-UHFFFAOYSA-N 0.000 description 2
- FBBATURSCRIBHN-UHFFFAOYSA-N triethoxy-[3-(3-triethoxysilylpropyldisulfanyl)propyl]silane Chemical compound CCO[Si](OCC)(OCC)CCCSSCCC[Si](OCC)(OCC)OCC FBBATURSCRIBHN-UHFFFAOYSA-N 0.000 description 2
- VTHOKNTVYKTUPI-UHFFFAOYSA-N triethoxy-[3-(3-triethoxysilylpropyltetrasulfanyl)propyl]silane Chemical compound CCO[Si](OCC)(OCC)CCCSSSSCCC[Si](OCC)(OCC)OCC VTHOKNTVYKTUPI-UHFFFAOYSA-N 0.000 description 2
- 235000015112 vegetable and seed oil Nutrition 0.000 description 2
- 239000008158 vegetable oil Substances 0.000 description 2
- 239000012991 xanthate Substances 0.000 description 2
- WRXCBRHBHGNNQA-UHFFFAOYSA-N (2,4-dichlorobenzoyl) 2,4-dichlorobenzenecarboperoxoate Chemical compound ClC1=CC(Cl)=CC=C1C(=O)OOC(=O)C1=CC=C(Cl)C=C1Cl WRXCBRHBHGNNQA-UHFFFAOYSA-N 0.000 description 1
- JAEZSIYNWDWMMN-UHFFFAOYSA-N 1,1,3-trimethylthiourea Chemical compound CNC(=S)N(C)C JAEZSIYNWDWMMN-UHFFFAOYSA-N 0.000 description 1
- FUPAJKKAHDLPAZ-UHFFFAOYSA-N 1,2,3-triphenylguanidine Chemical compound C=1C=CC=CC=1NC(=NC=1C=CC=CC=1)NC1=CC=CC=C1 FUPAJKKAHDLPAZ-UHFFFAOYSA-N 0.000 description 1
- JSCFNQDWXBNVBP-UHFFFAOYSA-N 1,2-diphenylguanidine;phthalic acid Chemical compound OC(=O)C1=CC=CC=C1C(O)=O.C=1C=CC=CC=1N=C(N)NC1=CC=CC=C1 JSCFNQDWXBNVBP-UHFFFAOYSA-N 0.000 description 1
- XVYUHVUUDRFUNE-UHFFFAOYSA-N 1,3-bis(3-tert-butylperoxypropyl)benzene Chemical compound CC(C)(C)OOCCCC1=CC=CC(CCCOOC(C)(C)C)=C1 XVYUHVUUDRFUNE-UHFFFAOYSA-N 0.000 description 1
- OWRCNXZUPFZXOS-UHFFFAOYSA-N 1,3-diphenylguanidine Chemical compound C=1C=CC=CC=1NC(=N)NC1=CC=CC=C1 OWRCNXZUPFZXOS-UHFFFAOYSA-N 0.000 description 1
- GPRYVSOUOYKCHJ-UHFFFAOYSA-N 1-[chloro(fluoro)methoxy]-1,1,2,3,3,3-hexafluoropropane Chemical compound FC(Cl)OC(F)(F)C(F)C(F)(F)F GPRYVSOUOYKCHJ-UHFFFAOYSA-N 0.000 description 1
- ODBCKCWTWALFKM-UHFFFAOYSA-N 2,5-bis(tert-butylperoxy)-2,5-dimethylhex-3-yne Chemical compound CC(C)(C)OOC(C)(C)C#CC(C)(C)OOC(C)(C)C ODBCKCWTWALFKM-UHFFFAOYSA-N 0.000 description 1
- DMWVYCCGCQPJEA-UHFFFAOYSA-N 2,5-bis(tert-butylperoxy)-2,5-dimethylhexane Chemical compound CC(C)(C)OOC(C)(C)CCC(C)(C)OOC(C)(C)C DMWVYCCGCQPJEA-UHFFFAOYSA-N 0.000 description 1
- GSFSVEDCYBDIGW-UHFFFAOYSA-N 2-(1,3-benzothiazol-2-yl)-6-chlorophenol Chemical compound OC1=C(Cl)C=CC=C1C1=NC2=CC=CC=C2S1 GSFSVEDCYBDIGW-UHFFFAOYSA-N 0.000 description 1
- 125000000022 2-aminoethyl group Chemical group [H]C([*])([H])C([H])([H])N([H])[H] 0.000 description 1
- CASYTJWXPQRCFF-UHFFFAOYSA-N 2-chloroethyl(trimethoxy)silane Chemical compound CO[Si](OC)(OC)CCCl CASYTJWXPQRCFF-UHFFFAOYSA-N 0.000 description 1
- WFUGQJXVXHBTEM-UHFFFAOYSA-N 2-hydroperoxy-2-(2-hydroperoxybutan-2-ylperoxy)butane Chemical compound CCC(C)(OO)OOC(C)(CC)OO WFUGQJXVXHBTEM-UHFFFAOYSA-N 0.000 description 1
- BIISIZOQPWZPPS-UHFFFAOYSA-N 2-tert-butylperoxypropan-2-ylbenzene Chemical compound CC(C)(C)OOC(C)(C)C1=CC=CC=C1 BIISIZOQPWZPPS-UHFFFAOYSA-N 0.000 description 1
- DVNPFNZTPMWRAX-UHFFFAOYSA-N 2-triethoxysilylethanethiol Chemical compound CCO[Si](CCS)(OCC)OCC DVNPFNZTPMWRAX-UHFFFAOYSA-N 0.000 description 1
- LOSLJXKHQKRRFN-UHFFFAOYSA-N 2-trimethoxysilylethanethiol Chemical compound CO[Si](OC)(OC)CCS LOSLJXKHQKRRFN-UHFFFAOYSA-N 0.000 description 1
- KQVVPOMBWBKNRS-UHFFFAOYSA-N 3-(1,3-benzothiazol-2-yl)propyl-triethoxysilane Chemical compound C1=CC=C2SC(CCC[Si](OCC)(OCC)OCC)=NC2=C1 KQVVPOMBWBKNRS-UHFFFAOYSA-N 0.000 description 1
- HFGLXKZGFFRQAR-UHFFFAOYSA-N 3-(1,3-benzothiazol-2-yltetrasulfanyl)propyl-trimethoxysilane Chemical compound C1=CC=C2SC(SSSSCCC[Si](OC)(OC)OC)=NC2=C1 HFGLXKZGFFRQAR-UHFFFAOYSA-N 0.000 description 1
- FRIBMENBGGCKPD-UHFFFAOYSA-N 3-(2,3-dimethoxyphenyl)prop-2-enal Chemical compound COC1=CC=CC(C=CC=O)=C1OC FRIBMENBGGCKPD-UHFFFAOYSA-N 0.000 description 1
- LJGHYPLBDBRCRZ-UHFFFAOYSA-N 3-(3-aminophenyl)sulfonylaniline Chemical compound NC1=CC=CC(S(=O)(=O)C=2C=C(N)C=CC=2)=C1 LJGHYPLBDBRCRZ-UHFFFAOYSA-N 0.000 description 1
- DFWCPLGXFMSUCW-UHFFFAOYSA-N 3-(dimethylamino)propyl carbamimidothioate;hydron;dichloride Chemical compound Cl.Cl.CN(C)CCCSC(N)=N DFWCPLGXFMSUCW-UHFFFAOYSA-N 0.000 description 1
- CPGFMWPQXUXQRX-UHFFFAOYSA-N 3-amino-3-(4-fluorophenyl)propanoic acid Chemical compound OC(=O)CC(N)C1=CC=C(F)C=C1 CPGFMWPQXUXQRX-UHFFFAOYSA-N 0.000 description 1
- BUZICZZQJDLXJN-UHFFFAOYSA-N 3-azaniumyl-4-hydroxybutanoate Chemical compound OCC(N)CC(O)=O BUZICZZQJDLXJN-UHFFFAOYSA-N 0.000 description 1
- KSCAZPYHLGGNPZ-UHFFFAOYSA-N 3-chloropropyl(triethoxy)silane Chemical compound CCO[Si](OCC)(OCC)CCCCl KSCAZPYHLGGNPZ-UHFFFAOYSA-N 0.000 description 1
- OXYZDRAJMHGSMW-UHFFFAOYSA-N 3-chloropropyl(trimethoxy)silane Chemical compound CO[Si](OC)(OC)CCCCl OXYZDRAJMHGSMW-UHFFFAOYSA-N 0.000 description 1
- NPJQAOLQNZOWHI-UHFFFAOYSA-N 3-triethoxysilylpropan-1-amine;3-trimethoxysilylpropan-1-amine Chemical compound CO[Si](OC)(OC)CCCN.CCO[Si](OCC)(OCC)CCCN NPJQAOLQNZOWHI-UHFFFAOYSA-N 0.000 description 1
- DCQBZYNUSLHVJC-UHFFFAOYSA-N 3-triethoxysilylpropane-1-thiol Chemical compound CCO[Si](OCC)(OCC)CCCS DCQBZYNUSLHVJC-UHFFFAOYSA-N 0.000 description 1
- AKQWHIMDQYDQSR-UHFFFAOYSA-N 3-trimethoxysilylpropyl 2-methylthiirane-2-carboxylate Chemical compound CO[Si](OC)(OC)CCCOC(=O)C1(C)CS1 AKQWHIMDQYDQSR-UHFFFAOYSA-N 0.000 description 1
- MHKLKWCYGIBEQF-UHFFFAOYSA-N 4-(1,3-benzothiazol-2-ylsulfanyl)morpholine Chemical compound C1COCCN1SC1=NC2=CC=CC=C2S1 MHKLKWCYGIBEQF-UHFFFAOYSA-N 0.000 description 1
- HLBZWYXLQJQBKU-UHFFFAOYSA-N 4-(morpholin-4-yldisulfanyl)morpholine Chemical compound C1COCCN1SSN1CCOCC1 HLBZWYXLQJQBKU-UHFFFAOYSA-N 0.000 description 1
- JLBJTVDPSNHSKJ-UHFFFAOYSA-N 4-Methylstyrene Chemical compound CC1=CC=C(C=C)C=C1 JLBJTVDPSNHSKJ-UHFFFAOYSA-N 0.000 description 1
- ZZMVLMVFYMGSMY-UHFFFAOYSA-N 4-n-(4-methylpentan-2-yl)-1-n-phenylbenzene-1,4-diamine Chemical compound C1=CC(NC(C)CC(C)C)=CC=C1NC1=CC=CC=C1 ZZMVLMVFYMGSMY-UHFFFAOYSA-N 0.000 description 1
- CBNXGQUIJRGZRX-UHFFFAOYSA-N 5-[4-fluoro-3-(trifluoromethyl)phenyl]furan-2-carbaldehyde Chemical compound C1=C(C(F)(F)F)C(F)=CC=C1C1=CC=C(C=O)O1 CBNXGQUIJRGZRX-UHFFFAOYSA-N 0.000 description 1
- ZOTKGMAKADCEDH-UHFFFAOYSA-N 5-triethoxysilylpentane-1,3-diamine Chemical compound CCO[Si](OCC)(OCC)CCC(N)CCN ZOTKGMAKADCEDH-UHFFFAOYSA-N 0.000 description 1
- RSWGJHLUYNHPMX-UHFFFAOYSA-N Abietic-Saeure Natural products C12CCC(C(C)C)=CC2=CCC2C1(C)CCCC2(C)C(O)=O RSWGJHLUYNHPMX-UHFFFAOYSA-N 0.000 description 1
- 239000004342 Benzoyl peroxide Substances 0.000 description 1
- OMPJBNCRMGITSC-UHFFFAOYSA-N Benzoylperoxide Chemical compound C=1C=CC=CC=1C(=O)OOC(=O)C1=CC=CC=C1 OMPJBNCRMGITSC-UHFFFAOYSA-N 0.000 description 1
- 235000016068 Berberis vulgaris Nutrition 0.000 description 1
- 241000335053 Beta vulgaris Species 0.000 description 1
- FSPIGXNLDXWYKZ-UHFFFAOYSA-N CCO[Si](CCC[S+]=C(N(C)C)SSSSC(N(C)C)=[S+]CCC[Si](OCC)(OCC)OCC)(OCC)OCC Chemical compound CCO[Si](CCC[S+]=C(N(C)C)SSSSC(N(C)C)=[S+]CCC[Si](OCC)(OCC)OCC)(OCC)OCC FSPIGXNLDXWYKZ-UHFFFAOYSA-N 0.000 description 1
- SXLPVOKGQWNWFD-UHFFFAOYSA-N CCO[Si](CC[S+]=C(N(C)C)SSSSC(N(C)C)=[S+]CC[Si](OCC)(OCC)OCC)(OCC)OCC Chemical compound CCO[Si](CC[S+]=C(N(C)C)SSSSC(N(C)C)=[S+]CC[Si](OCC)(OCC)OCC)(OCC)OCC SXLPVOKGQWNWFD-UHFFFAOYSA-N 0.000 description 1
- SKFGZHGVWONCTD-UHFFFAOYSA-N CN(C)C(SSSSC(N(C)C)=[S+]CCC[Si](OC)(OC)OC)=[S+]CCC[Si](OC)(OC)OC Chemical compound CN(C)C(SSSSC(N(C)C)=[S+]CCC[Si](OC)(OC)OC)=[S+]CCC[Si](OC)(OC)OC SKFGZHGVWONCTD-UHFFFAOYSA-N 0.000 description 1
- 241000196324 Embryophyta Species 0.000 description 1
- PDQAZBWRQCGBEV-UHFFFAOYSA-N Ethylenethiourea Chemical compound S=C1NCCN1 PDQAZBWRQCGBEV-UHFFFAOYSA-N 0.000 description 1
- VQTUBCCKSQIDNK-UHFFFAOYSA-N Isobutene Chemical group CC(C)=C VQTUBCCKSQIDNK-UHFFFAOYSA-N 0.000 description 1
- 235000018330 Macadamia integrifolia Nutrition 0.000 description 1
- 240000000912 Macadamia tetraphylla Species 0.000 description 1
- 235000003800 Macadamia tetraphylla Nutrition 0.000 description 1
- 240000002636 Manilkara bidentata Species 0.000 description 1
- HXKCUQDTMDYZJD-UHFFFAOYSA-N Methyl selenac Chemical compound CN(C)C(=S)S[Se](SC(=S)N(C)C)(SC(=S)N(C)C)SC(=S)N(C)C HXKCUQDTMDYZJD-UHFFFAOYSA-N 0.000 description 1
- KFFQABQEJATQAT-UHFFFAOYSA-N N,N'-dibutylthiourea Chemical compound CCCCNC(=S)NCCCC KFFQABQEJATQAT-UHFFFAOYSA-N 0.000 description 1
- FLVIGYVXZHLUHP-UHFFFAOYSA-N N,N'-diethylthiourea Chemical compound CCNC(=S)NCC FLVIGYVXZHLUHP-UHFFFAOYSA-N 0.000 description 1
- 235000019482 Palm oil Nutrition 0.000 description 1
- 235000019483 Peanut oil Nutrition 0.000 description 1
- ISWSIDIOOBJBQZ-UHFFFAOYSA-N Phenol Chemical compound OC1=CC=CC=C1 ISWSIDIOOBJBQZ-UHFFFAOYSA-N 0.000 description 1
- 235000019484 Rapeseed oil Nutrition 0.000 description 1
- 235000019774 Rice Bran oil Nutrition 0.000 description 1
- KHPCPRHQVVSZAH-HUOMCSJISA-N Rosin Natural products O(C/C=C/c1ccccc1)[C@H]1[C@H](O)[C@@H](O)[C@@H](O)[C@@H](CO)O1 KHPCPRHQVVSZAH-HUOMCSJISA-N 0.000 description 1
- 241000872198 Serjania polyphylla Species 0.000 description 1
- BLRPTPMANUNPDV-UHFFFAOYSA-N Silane Chemical compound [SiH4] BLRPTPMANUNPDV-UHFFFAOYSA-N 0.000 description 1
- 239000002174 Styrene-butadiene Substances 0.000 description 1
- UCKMPCXJQFINFW-UHFFFAOYSA-N Sulphide Chemical compound [S-2] UCKMPCXJQFINFW-UHFFFAOYSA-N 0.000 description 1
- 235000019486 Sunflower oil Nutrition 0.000 description 1
- XSQUKJJJFZCRTK-UHFFFAOYSA-N Urea Natural products NC(N)=O XSQUKJJJFZCRTK-UHFFFAOYSA-N 0.000 description 1
- 230000001133 acceleration Effects 0.000 description 1
- PVMNBWXRCLEDCL-UHFFFAOYSA-N acetaldehyde;aniline Chemical compound CC=O.NC1=CC=CC=C1 PVMNBWXRCLEDCL-UHFFFAOYSA-N 0.000 description 1
- 238000003811 acetone extraction Methods 0.000 description 1
- 239000002253 acid Substances 0.000 description 1
- 150000001412 amines Chemical class 0.000 description 1
- 239000010692 aromatic oil Substances 0.000 description 1
- 125000003118 aryl group Chemical group 0.000 description 1
- 235000016302 balata Nutrition 0.000 description 1
- 235000019400 benzoyl peroxide Nutrition 0.000 description 1
- 230000033228 biological regulation Effects 0.000 description 1
- ZOGWUHADSPTOEI-UHFFFAOYSA-L cadmium(2+);dicarbamodithioate Chemical compound [Cd+2].NC([S-])=S.NC([S-])=S ZOGWUHADSPTOEI-UHFFFAOYSA-L 0.000 description 1
- 238000004364 calculation method Methods 0.000 description 1
- 239000001569 carbon dioxide Substances 0.000 description 1
- 229910002092 carbon dioxide Inorganic materials 0.000 description 1
- 239000011203 carbon fibre reinforced carbon Substances 0.000 description 1
- KXDHJXZQYSOELW-UHFFFAOYSA-N carbonic acid monoamide Natural products NC(O)=O KXDHJXZQYSOELW-UHFFFAOYSA-N 0.000 description 1
- 239000004359 castor oil Substances 0.000 description 1
- 235000019438 castor oil Nutrition 0.000 description 1
- 238000006243 chemical reaction Methods 0.000 description 1
- 125000001309 chloro group Chemical group Cl* 0.000 description 1
- XENVCRGQTABGKY-ZHACJKMWSA-N chlorohydrin Chemical compound CC#CC#CC#CC#C\C=C\C(Cl)CO XENVCRGQTABGKY-ZHACJKMWSA-N 0.000 description 1
- 229920003211 cis-1,4-polyisoprene Polymers 0.000 description 1
- 238000004581 coalescence Methods 0.000 description 1
- 235000019864 coconut oil Nutrition 0.000 description 1
- 239000003240 coconut oil Substances 0.000 description 1
- 150000001879 copper Chemical class 0.000 description 1
- 235000005687 corn oil Nutrition 0.000 description 1
- 239000002285 corn oil Substances 0.000 description 1
- 235000012343 cottonseed oil Nutrition 0.000 description 1
- 239000002385 cottonseed oil Substances 0.000 description 1
- 230000001808 coupling effect Effects 0.000 description 1
- 150000003946 cyclohexylamines Chemical class 0.000 description 1
- 238000011161 development Methods 0.000 description 1
- LSXWFXONGKSEMY-UHFFFAOYSA-N di-tert-butyl peroxide Chemical compound CC(C)(C)OOC(C)(C)C LSXWFXONGKSEMY-UHFFFAOYSA-N 0.000 description 1
- PGAXJQVAHDTGBB-UHFFFAOYSA-N dibutylcarbamothioylsulfanyl n,n-dibutylcarbamodithioate Chemical compound CCCCN(CCCC)C(=S)SSC(=S)N(CCCC)CCCC PGAXJQVAHDTGBB-UHFFFAOYSA-N 0.000 description 1
- OTARVPUIYXHRRB-UHFFFAOYSA-N diethoxy-methyl-[3-(oxiran-2-ylmethoxy)propyl]silane Chemical compound CCO[Si](C)(OCC)CCCOCC1CO1 OTARVPUIYXHRRB-UHFFFAOYSA-N 0.000 description 1
- 229940116901 diethyldithiocarbamate Drugs 0.000 description 1
- 229940096818 dipentamethylenethiuram disulfide Drugs 0.000 description 1
- KPUWHANPEXNPJT-UHFFFAOYSA-N disiloxane Chemical class [SiH3]O[SiH3] KPUWHANPEXNPJT-UHFFFAOYSA-N 0.000 description 1
- 239000012990 dithiocarbamate Substances 0.000 description 1
- 229950004394 ditiocarb Drugs 0.000 description 1
- 230000007613 environmental effect Effects 0.000 description 1
- FWDBOZPQNFPOLF-UHFFFAOYSA-N ethenyl(triethoxy)silane Chemical compound CCO[Si](OCC)(OCC)C=C FWDBOZPQNFPOLF-UHFFFAOYSA-N 0.000 description 1
- NKSJNEHGWDZZQF-UHFFFAOYSA-N ethenyl(trimethoxy)silane Chemical compound CO[Si](OC)(OC)C=C NKSJNEHGWDZZQF-UHFFFAOYSA-N 0.000 description 1
- CWAFVXWRGIEBPL-UHFFFAOYSA-N ethoxysilane Chemical compound CCO[SiH3] CWAFVXWRGIEBPL-UHFFFAOYSA-N 0.000 description 1
- 239000012632 extractable Substances 0.000 description 1
- 239000003925 fat Substances 0.000 description 1
- ZEMPKEQAKRGZGQ-XOQCFJPHSA-N glycerol triricinoleate Natural products CCCCCC[C@@H](O)CC=CCCCCCCCC(=O)OC[C@@H](COC(=O)CCCCCCCC=CC[C@@H](O)CCCCCC)OC(=O)CCCCCCCC=CC[C@H](O)CCCCCC ZEMPKEQAKRGZGQ-XOQCFJPHSA-N 0.000 description 1
- 150000004820 halides Chemical class 0.000 description 1
- 229920005555 halobutyl Polymers 0.000 description 1
- 230000020169 heat generation Effects 0.000 description 1
- 238000010438 heat treatment Methods 0.000 description 1
- 239000004312 hexamethylene tetramine Substances 0.000 description 1
- 235000010299 hexamethylene tetramine Nutrition 0.000 description 1
- 230000001771 impaired effect Effects 0.000 description 1
- 230000006872 improvement Effects 0.000 description 1
- 239000004615 ingredient Substances 0.000 description 1
- 239000011256 inorganic filler Substances 0.000 description 1
- 229910003475 inorganic filler Inorganic materials 0.000 description 1
- 229940119170 jojoba wax Drugs 0.000 description 1
- 238000004519 manufacturing process Methods 0.000 description 1
- 229910052751 metal Inorganic materials 0.000 description 1
- 239000002184 metal Substances 0.000 description 1
- OFHMODDLBXETIK-UHFFFAOYSA-N methyl 2,3-dichloropropanoate Chemical compound COC(=O)C(Cl)CCl OFHMODDLBXETIK-UHFFFAOYSA-N 0.000 description 1
- 238000005065 mining Methods 0.000 description 1
- 238000012986 modification Methods 0.000 description 1
- 230000004048 modification Effects 0.000 description 1
- ILSQBBRAYMWZLQ-UHFFFAOYSA-N n-(1,3-benzothiazol-2-ylsulfanyl)-n-propan-2-ylpropan-2-amine Chemical compound C1=CC=C2SC(SN(C(C)C)C(C)C)=NC2=C1 ILSQBBRAYMWZLQ-UHFFFAOYSA-N 0.000 description 1
- LPXPSTWBTULMJE-UHFFFAOYSA-N n-phenylbutan-1-imine Chemical compound CCCC=NC1=CC=CC=C1 LPXPSTWBTULMJE-UHFFFAOYSA-N 0.000 description 1
- 239000010466 nut oil Substances 0.000 description 1
- 239000004006 olive oil Substances 0.000 description 1
- 235000008390 olive oil Nutrition 0.000 description 1
- 150000004967 organic peroxy acids Chemical class 0.000 description 1
- 230000003647 oxidation Effects 0.000 description 1
- 238000007254 oxidation reaction Methods 0.000 description 1
- 239000003346 palm kernel oil Substances 0.000 description 1
- 235000019865 palm kernel oil Nutrition 0.000 description 1
- 239000002540 palm oil Substances 0.000 description 1
- 239000000312 peanut oil Substances 0.000 description 1
- 125000001997 phenyl group Chemical group [H]C1=C([H])C([H])=C(*)C([H])=C1[H] 0.000 description 1
- 230000000704 physical effect Effects 0.000 description 1
- 239000010665 pine oil Substances 0.000 description 1
- 239000011297 pine tar Substances 0.000 description 1
- 229940068124 pine tar Drugs 0.000 description 1
- PFOWLPUJPOQMAL-UHFFFAOYSA-N piperidine-1-carbothioyl piperidine-1-carbodithioate Chemical compound C1CCCCN1C(=S)SC(=S)N1CCCCC1 PFOWLPUJPOQMAL-UHFFFAOYSA-N 0.000 description 1
- KNBRWWCHBRQLNY-UHFFFAOYSA-N piperidine-1-carbothioylsulfanyl piperidine-1-carbodithioate Chemical compound C1CCCCN1C(=S)SSC(=S)N1CCCCC1 KNBRWWCHBRQLNY-UHFFFAOYSA-N 0.000 description 1
- 229920001195 polyisoprene Polymers 0.000 description 1
- 239000000843 powder Substances 0.000 description 1
- 238000002360 preparation method Methods 0.000 description 1
- 125000002924 primary amino group Chemical group [H]N([H])* 0.000 description 1
- 230000008569 process Effects 0.000 description 1
- UCPWEJNQKVUTLV-UHFFFAOYSA-N propan-2-ylcarbamodithioic acid Chemical compound CC(C)NC(S)=S UCPWEJNQKVUTLV-UHFFFAOYSA-N 0.000 description 1
- 230000002787 reinforcement Effects 0.000 description 1
- 239000011347 resin Substances 0.000 description 1
- 229920005989 resin Polymers 0.000 description 1
- 239000008165 rice bran oil Substances 0.000 description 1
- 235000005713 safflower oil Nutrition 0.000 description 1
- 239000003813 safflower oil Substances 0.000 description 1
- 230000001953 sensory effect Effects 0.000 description 1
- 229910000077 silane Inorganic materials 0.000 description 1
- 125000005372 silanol group Chemical group 0.000 description 1
- 159000000000 sodium salts Chemical class 0.000 description 1
- 235000012424 soybean oil Nutrition 0.000 description 1
- 239000003549 soybean oil Substances 0.000 description 1
- 125000004079 stearyl group Chemical group [H]C([*])([H])C([H])([H])C([H])([H])C([H])([H])C([H])([H])C([H])([H])C([H])([H])C([H])([H])C([H])([H])C([H])([H])C([H])([H])C([H])([H])C([H])([H])C([H])([H])C([H])([H])C([H])([H])C([H])([H])C([H])([H])[H] 0.000 description 1
- 239000000126 substance Substances 0.000 description 1
- 239000002600 sunflower oil Substances 0.000 description 1
- 229920003051 synthetic elastomer Polymers 0.000 description 1
- 239000005061 synthetic rubber Substances 0.000 description 1
- 239000003784 tall oil Substances 0.000 description 1
- 229910052714 tellurium Inorganic materials 0.000 description 1
- PORWMNRCUJJQNO-UHFFFAOYSA-N tellurium atom Chemical compound [Te] PORWMNRCUJJQNO-UHFFFAOYSA-N 0.000 description 1
- 150000003557 thiazoles Chemical class 0.000 description 1
- 229960002447 thiram Drugs 0.000 description 1
- KJAMZCVTJDTESW-UHFFFAOYSA-N tiracizine Chemical compound C1CC2=CC=CC=C2N(C(=O)CN(C)C)C2=CC(NC(=O)OCC)=CC=C21 KJAMZCVTJDTESW-UHFFFAOYSA-N 0.000 description 1
- 238000004448 titration Methods 0.000 description 1
- 229920003212 trans-1,4-polyisoprene Polymers 0.000 description 1
- KHPCPRHQVVSZAH-UHFFFAOYSA-N trans-cinnamyl beta-D-glucopyranoside Natural products OC1C(O)C(O)C(CO)OC1OCC=CC1=CC=CC=C1 KHPCPRHQVVSZAH-UHFFFAOYSA-N 0.000 description 1
- FPBXRRDHCADTAL-UHFFFAOYSA-N triethoxy(3-nitropropyl)silane Chemical compound CCO[Si](OCC)(OCC)CCC[N+]([O-])=O FPBXRRDHCADTAL-UHFFFAOYSA-N 0.000 description 1
- FJXRKYLOOJTENP-UHFFFAOYSA-N triethoxy-[2-(2-triethoxysilylethyldisulfanyl)ethyl]silane Chemical compound CCO[Si](OCC)(OCC)CCSSCC[Si](OCC)(OCC)OCC FJXRKYLOOJTENP-UHFFFAOYSA-N 0.000 description 1
- ASAOXGWSIOQTDI-UHFFFAOYSA-N triethoxy-[2-(2-triethoxysilylethyltetrasulfanyl)ethyl]silane Chemical compound CCO[Si](OCC)(OCC)CCSSSSCC[Si](OCC)(OCC)OCC ASAOXGWSIOQTDI-UHFFFAOYSA-N 0.000 description 1
- URIYERBJSDIUTC-UHFFFAOYSA-N triethoxy-[2-(2-triethoxysilylethyltrisulfanyl)ethyl]silane Chemical compound CCO[Si](OCC)(OCC)CCSSSCC[Si](OCC)(OCC)OCC URIYERBJSDIUTC-UHFFFAOYSA-N 0.000 description 1
- JXUKBNICSRJFAP-UHFFFAOYSA-N triethoxy-[3-(oxiran-2-ylmethoxy)propyl]silane Chemical compound CCO[Si](OCC)(OCC)CCCOCC1CO1 JXUKBNICSRJFAP-UHFFFAOYSA-N 0.000 description 1
- PTRSAJDNBVXVMV-UHFFFAOYSA-N triethoxy-[4-(4-triethoxysilylbutyldisulfanyl)butyl]silane Chemical compound CCO[Si](OCC)(OCC)CCCCSSCCCC[Si](OCC)(OCC)OCC PTRSAJDNBVXVMV-UHFFFAOYSA-N 0.000 description 1
- NOPBHRUFGGDSAD-UHFFFAOYSA-N triethoxy-[4-(4-triethoxysilylbutyltetrasulfanyl)butyl]silane Chemical compound CCO[Si](OCC)(OCC)CCCCSSSSCCCC[Si](OCC)(OCC)OCC NOPBHRUFGGDSAD-UHFFFAOYSA-N 0.000 description 1
- KZAORBYGVQCRQZ-UHFFFAOYSA-N triethoxy-[4-(4-triethoxysilylbutyltrisulfanyl)butyl]silane Chemical compound CCO[Si](OCC)(OCC)CCCCSSSCCCC[Si](OCC)(OCC)OCC KZAORBYGVQCRQZ-UHFFFAOYSA-N 0.000 description 1
- QPPXVBLDIDEHBA-UHFFFAOYSA-N trimethoxy(3-nitropropyl)silane Chemical compound CO[Si](OC)(OC)CCC[N+]([O-])=O QPPXVBLDIDEHBA-UHFFFAOYSA-N 0.000 description 1
- JQBSHJQOBJRYIX-UHFFFAOYSA-N trimethoxy-[2-(2-trimethoxysilylethyldisulfanyl)ethyl]silane Chemical compound CO[Si](OC)(OC)CCSSCC[Si](OC)(OC)OC JQBSHJQOBJRYIX-UHFFFAOYSA-N 0.000 description 1
- JSXKIRYGYMKWSK-UHFFFAOYSA-N trimethoxy-[2-(2-trimethoxysilylethyltetrasulfanyl)ethyl]silane Chemical compound CO[Si](OC)(OC)CCSSSSCC[Si](OC)(OC)OC JSXKIRYGYMKWSK-UHFFFAOYSA-N 0.000 description 1
- NQRACKNXKKOCJY-UHFFFAOYSA-N trimethoxy-[3-(3-trimethoxysilylpropyldisulfanyl)propyl]silane Chemical compound CO[Si](OC)(OC)CCCSSCCC[Si](OC)(OC)OC NQRACKNXKKOCJY-UHFFFAOYSA-N 0.000 description 1
- JTTSZDBCLAKKAY-UHFFFAOYSA-N trimethoxy-[3-(3-trimethoxysilylpropyltetrasulfanyl)propyl]silane Chemical compound CO[Si](OC)(OC)CCCSSSSCCC[Si](OC)(OC)OC JTTSZDBCLAKKAY-UHFFFAOYSA-N 0.000 description 1
- KOFGNZOFJYBHIN-UHFFFAOYSA-N trimethoxy-[3-(3-trimethoxysilylpropyltrisulfanyl)propyl]silane Chemical compound CO[Si](OC)(OC)CCCSSSCCC[Si](OC)(OC)OC KOFGNZOFJYBHIN-UHFFFAOYSA-N 0.000 description 1
- BPSIOYPQMFLKFR-UHFFFAOYSA-N trimethoxy-[3-(oxiran-2-ylmethoxy)propyl]silane Chemical compound CO[Si](OC)(OC)CCCOCC1CO1 BPSIOYPQMFLKFR-UHFFFAOYSA-N 0.000 description 1
- BNBXBRPOAJZBNB-UHFFFAOYSA-N trimethoxy-[4-(4-trimethoxysilylbutyldisulfanyl)butyl]silane Chemical compound CO[Si](OC)(OC)CCCCSSCCCC[Si](OC)(OC)OC BNBXBRPOAJZBNB-UHFFFAOYSA-N 0.000 description 1
- WUMASLCNJBRHDA-UHFFFAOYSA-N trimethoxy-[4-(4-trimethoxysilylbutyltetrasulfanyl)butyl]silane Chemical compound CO[Si](OC)(OC)CCCCSSSSCCCC[Si](OC)(OC)OC WUMASLCNJBRHDA-UHFFFAOYSA-N 0.000 description 1
- GSZUEPNJCPXEGU-UHFFFAOYSA-N trimethoxy-[4-(4-trimethoxysilylbutyltrisulfanyl)butyl]silane Chemical compound CO[Si](OC)(OC)CCCCSSSCCCC[Si](OC)(OC)OC GSZUEPNJCPXEGU-UHFFFAOYSA-N 0.000 description 1
- 239000002383 tung oil Substances 0.000 description 1
- 229940070710 valerate Drugs 0.000 description 1
- 235000019871 vegetable fat Nutrition 0.000 description 1
- 239000003981 vehicle Substances 0.000 description 1
- 125000000391 vinyl group Chemical group [H]C([*])=C([H])[H] 0.000 description 1
- BOXSVZNGTQTENJ-UHFFFAOYSA-L zinc dibutyldithiocarbamate Chemical compound [Zn+2].CCCCN(C([S-])=S)CCCC.CCCCN(C([S-])=S)CCCC BOXSVZNGTQTENJ-UHFFFAOYSA-L 0.000 description 1
- RKQOSDAEEGPRER-UHFFFAOYSA-L zinc diethyldithiocarbamate Chemical compound [Zn+2].CCN(CC)C([S-])=S.CCN(CC)C([S-])=S RKQOSDAEEGPRER-UHFFFAOYSA-L 0.000 description 1
- 239000011787 zinc oxide Substances 0.000 description 1
- JLKZUNOWPPEBPX-UHFFFAOYSA-N zinc;3h-1,3-benzothiazole-2-thione Chemical compound [Zn+2].C1=CC=C2SC(=S)NC2=C1 JLKZUNOWPPEBPX-UHFFFAOYSA-N 0.000 description 1
- NEYNBSGIXOOZGZ-UHFFFAOYSA-L zinc;butoxymethanedithioate Chemical compound [Zn+2].CCCCOC([S-])=S.CCCCOC([S-])=S NEYNBSGIXOOZGZ-UHFFFAOYSA-L 0.000 description 1
- AUMBZPPBWALQRO-UHFFFAOYSA-L zinc;n,n-dibenzylcarbamodithioate Chemical compound [Zn+2].C=1C=CC=CC=1CN(C(=S)[S-])CC1=CC=CC=C1.C=1C=CC=CC=1CN(C(=S)[S-])CC1=CC=CC=C1 AUMBZPPBWALQRO-UHFFFAOYSA-L 0.000 description 1
- JGSUMMPGKPITGK-UHFFFAOYSA-L zinc;n,n-dipentylcarbamodithioate Chemical compound [Zn+2].CCCCCN(C([S-])=S)CCCCC.CCCCCN(C([S-])=S)CCCCC JGSUMMPGKPITGK-UHFFFAOYSA-L 0.000 description 1
- QUPAJUAGQJQKQE-UHFFFAOYSA-L zinc;n,n-dipropylcarbamodithioate Chemical compound [Zn+2].CCCN(C([S-])=S)CCC.CCCN(C([S-])=S)CCC QUPAJUAGQJQKQE-UHFFFAOYSA-L 0.000 description 1
- LAGTXXPOZSLGSF-UHFFFAOYSA-L zinc;n-butyl-n-phenylcarbamodithioate Chemical compound [Zn+2].CCCCN(C([S-])=S)C1=CC=CC=C1.CCCCN(C([S-])=S)C1=CC=CC=C1 LAGTXXPOZSLGSF-UHFFFAOYSA-L 0.000 description 1
- KMNUDJAXRXUZQS-UHFFFAOYSA-L zinc;n-ethyl-n-phenylcarbamodithioate Chemical compound [Zn+2].CCN(C([S-])=S)C1=CC=CC=C1.CCN(C([S-])=S)C1=CC=CC=C1 KMNUDJAXRXUZQS-UHFFFAOYSA-L 0.000 description 1
- YBKBEKGVHFHCRI-UHFFFAOYSA-L zinc;piperidine-1-carbodithioate Chemical compound [Zn+2].[S-]C(=S)N1CCCCC1.[S-]C(=S)N1CCCCC1 YBKBEKGVHFHCRI-UHFFFAOYSA-L 0.000 description 1
- DUBNHZYBDBBJHD-UHFFFAOYSA-L ziram Chemical compound [Zn+2].CN(C)C([S-])=S.CN(C)C([S-])=S DUBNHZYBDBBJHD-UHFFFAOYSA-L 0.000 description 1
Images
Classifications
-
- Y—GENERAL TAGGING OF NEW TECHNOLOGICAL DEVELOPMENTS; GENERAL TAGGING OF CROSS-SECTIONAL TECHNOLOGIES SPANNING OVER SEVERAL SECTIONS OF THE IPC; TECHNICAL SUBJECTS COVERED BY FORMER USPC CROSS-REFERENCE ART COLLECTIONS [XRACs] AND DIGESTS
- Y02—TECHNOLOGIES OR APPLICATIONS FOR MITIGATION OR ADAPTATION AGAINST CLIMATE CHANGE
- Y02T—CLIMATE CHANGE MITIGATION TECHNOLOGIES RELATED TO TRANSPORTATION
- Y02T10/00—Road transport of goods or passengers
- Y02T10/80—Technologies aiming to reduce greenhouse gasses emissions common to all road transportation technologies
- Y02T10/86—Optimisation of rolling resistance, e.g. weight reduction
Landscapes
- Tires In General (AREA)
- Compositions Of Macromolecular Compounds (AREA)
Abstract
Description
本発明は、トレッド用ゴム組成物、および該トレッド用ゴム組成物をトレッド部の少なくとも一部に用いた空気入りタイヤに関する。 The present invention relates to a rubber composition for a tread and a pneumatic tire using the rubber composition for a tread in at least a part of a tread portion.
従来、タイヤのトレッド用ゴム組成物には、グリップ性能の向上を図るために、スチレン−ブタジエンゴム(SBR)等の合成ゴムが使用されてきた。しかし、近年、環境問題が重視されるようになり、二酸化炭素の排出量の規制が強化されている。また、石油現存量は有限であることから、石油資源由来の原材料の使用には限界がある。このような環境重視指向は、タイヤの分野においても例外ではなく、現在使用されている石油資源由来の原材料の一部または全てを石油外資源由来の原材料で代替したトレッド用ゴム組成物の開発が求められている。 Conventionally, synthetic rubbers such as styrene-butadiene rubber (SBR) have been used in tire tread rubber compositions in order to improve grip performance. However, in recent years, environmental issues have become more important and regulations on carbon dioxide emissions have been strengthened. In addition, since the existing amount of petroleum is limited, the use of raw materials derived from petroleum resources is limited. This environment-oriented orientation is no exception in the field of tires, and the development of a rubber composition for tread that replaces some or all of the raw materials derived from petroleum resources with raw materials derived from non-oil resources. It has been demanded.
特許文献1には、石油外資源由来の原材料として、天然ゴムなどを使用し、石油資源への依存性を低減させたエコタイヤが開示されている。しかし、ゴム成分として天然ゴムのみを使用する配合では、転がり抵抗性は比較的良好であるものの、WET路面、DRY路面における走行性能は、SBRを用いた場合と比較して劣る傾向にある。充填剤の使用により、WET性能は改善され得るが、DRY性能の改善に関しては不十分である。
このように、石油資源由来の原材料を石油外資源由来の原材料で代替したゴム組成物においては、トレッドゴム用として十分使用可能な、転がり抵抗、WET性能およびDRY性能のバランスに優れるゴム組成物は得られていないのが現状である。
本発明は上記の課題を解決し、石油資源由来の原料の使用量を低減し、転がり抵抗、WETグリップ性能およびDRYグリップ性能に優れる空気入りタイヤを与えるトレッド用ゴム組成物、およびこれを用いた空気入りタイヤを提供することを目的とする。 The present invention solves the above-described problems, reduces the amount of raw materials derived from petroleum resources, and provides a rubber composition for a tread that provides a pneumatic tire excellent in rolling resistance, WET grip performance and DRY grip performance, and the same. An object is to provide a pneumatic tire.
本発明は、天然系ゴム成分を10質量%以上含有するゴム成分と、充填剤とを少なくとも含有し、該充填剤の80質量%以上は白色充填剤であり、アセトン抽出成分を8質量%以上含み、石油外資源比率が75質量%以上である、トレッド用ゴム組成物を提供する。 The present invention contains at least a rubber component containing 10% by mass or more of a natural rubber component and a filler, 80% by mass or more of the filler is a white filler, and 8% by mass or more of an acetone extraction component. A rubber composition for a tread is provided that includes a non-petroleum resource ratio of 75% by mass or more.
ここで、上記天然系ゴム成分は、エポキシ化天然ゴムを含み、天然系ゴム成分の総エポキシ化率は、0.025以上であることが好ましい。 Here, the natural rubber component includes an epoxidized natural rubber, and the total epoxidation rate of the natural rubber component is preferably 0.025 or more.
上記白色充填剤は、シリカ、炭酸カルシウム、水酸化アルミニウムから選択される1種以上からなることが好ましい。 The white filler is preferably composed of one or more selected from silica, calcium carbonate, and aluminum hydroxide.
本発明のトレッド用ゴム組成物を160℃で20分間加硫して得られる加硫ゴムシートの、温度50℃、周波数10Hz、初期歪み10%、動歪み0.5%の条件下での損失正接は、0.06以上0.25以下であることが好ましい。 Loss of a vulcanized rubber sheet obtained by vulcanizing the rubber composition for treads of the present invention at 160 ° C. for 20 minutes under conditions of a temperature of 50 ° C., a frequency of 10 Hz, an initial strain of 10%, and a dynamic strain of 0.5%. The tangent is preferably 0.06 or more and 0.25 or less.
また本発明は、上記いずれかのトレッド用ゴム組成物がトレッド部の少なくとも一部を形成してなる空気入りタイヤを提供する。 The present invention also provides a pneumatic tire in which any of the above tread rubber compositions forms at least a part of a tread portion.
本発明によれば、石油資源由来の原料の使用量を低減し、転がり抵抗、WETグリップ性能およびDRYグリップ性能に優れる空気入りタイヤを与えるトレッド用ゴム組成物、およびこれを用いた空気入りタイヤを提供することが可能となる。 According to the present invention, a rubber composition for a tread that reduces the amount of a raw material derived from petroleum resources and gives a pneumatic tire excellent in rolling resistance, WET grip performance and DRY grip performance, and a pneumatic tire using the same It becomes possible to provide.
<ゴム成分>
本発明において用いられるゴム成分は、天然系ゴム成分を10質量%以上含有する。天然系ゴム成分が10質量%未満であると、ゴム組成物中の石油外資源の比率が高くなりすぎる。ゴム成分中の天然系ゴム成分の含有率は、好ましくは50質量%以上であり、より好ましくは100質量%である。ただし、所望のタイヤ特性に応じて、本発明の効果を損なわない範囲で天然系ゴム成分以外のゴム成分を配合しても良い。
<Rubber component>
The rubber component used in the present invention contains 10% by mass or more of a natural rubber component. If the natural rubber component is less than 10% by mass, the ratio of non-petroleum resources in the rubber composition becomes too high. The content of the natural rubber component in the rubber component is preferably 50% by mass or more, and more preferably 100% by mass. However, rubber components other than the natural rubber component may be blended depending on the desired tire characteristics within a range that does not impair the effects of the present invention.
天然系ゴム成分としては、天然ゴム(NR)やエポキシ化天然ゴム(ENR)、水素化天然ゴム等の変性天然ゴムを挙げることができる。天然ゴム(NR)としては、ゴム工業において従来用いられているものを使用することができ、たとえば、RSS#3、TSRなどのグレードの天然ゴムを挙げることができる。なお、天然ゴムとは、狭義にはシス−1,4−ポリイソプレンを主成分とするものを意味するが、本発明においては、上記の他に、たとえばトランス−1,4−ポリイソプレンを主成分とするバラタ等も包含し、植物から採取される乳液に由来しかつポリイソプレンを含む弾性体を意味する。 Examples of the natural rubber component include natural rubber (NR), epoxidized natural rubber (ENR), and modified natural rubber such as hydrogenated natural rubber. As the natural rubber (NR), those conventionally used in the rubber industry can be used, and examples thereof include natural rubber of grades such as RSS # 3 and TSR. Natural rubber in the narrow sense means cis-1,4-polyisoprene as a main component. However, in the present invention, in addition to the above, for example, trans-1,4-polyisoprene is mainly used. Including balata as a component, it means an elastic body derived from an emulsion collected from a plant and containing polyisoprene.
本発明において、天然系ゴム成分はエポキシ化天然ゴム(ENR)を含むことが好ましい。エポキシ化天然ゴム(ENR)は、天然ゴムの不飽和二重結合がエポキシ化された変性天然ゴムの一種であり、極性基であるエポキシ基により分子凝集力が増大する。そのため、天然ゴムよりもガラス転移温度(Tg)が高く、かつ機械強度や耐磨耗性に優れる。特に、トレッド用ゴム組成物中にシリカを配合する場合には、シリカ表面のシラノール基とエポキシ化天然ゴムのエポキシ基との反応に起因して、カーボンブラックをゴム組成物中に配合する場合と同程度の機械的強度や耐磨耗性を得ることができる。 In the present invention, the natural rubber component preferably contains epoxidized natural rubber (ENR). Epoxidized natural rubber (ENR) is a kind of modified natural rubber in which unsaturated double bonds of natural rubber are epoxidized, and molecular cohesion is increased by epoxy groups that are polar groups. Therefore, the glass transition temperature (Tg) is higher than that of natural rubber, and the mechanical strength and wear resistance are excellent. In particular, when silica is blended in the tread rubber composition, carbon black is blended in the rubber composition due to the reaction between the silanol group on the silica surface and the epoxy group of the epoxidized natural rubber. The same mechanical strength and wear resistance can be obtained.
天然系ゴム成分の総エポキシ化率は、0.025以上であることが好ましい。該総エポキシ化率が0.15未満の場合、天然系ゴム成分のガラス転移温度が低く、トレッド用ゴム組成物をトレッドゴムに用いた空気入りタイヤのグリップ性能が十分得られない傾向にある。天然系ゴム成分の総エポキシ化率は、さらに0.05以上、さらに0.1以上であることがより好ましい。 The total epoxidation rate of the natural rubber component is preferably 0.025 or more. When the total epoxidation rate is less than 0.15, the glass transition temperature of the natural rubber component is low, and the grip performance of a pneumatic tire using the tread rubber composition as the tread rubber tends to be insufficient. The total epoxidation rate of the natural rubber component is more preferably 0.05 or more, and further preferably 0.1 or more.
一方、天然系ゴム成分の総エポキシ化率は理論的に1.00以下であるが、0.8以下であることが好ましい。該エポキシ化率が0.8を超える場合、トレッド用ゴム組成物が硬くなることによって機械強度が低下する傾向があるからである。天然系ゴム成分の総エポキシ化率は、さらに0.65以下、さらに0.6以下であることがより好ましい。 On the other hand, the total epoxidation rate of the natural rubber component is theoretically 1.00 or less, but preferably 0.8 or less. This is because when the epoxidation rate exceeds 0.8, the rubber composition for tread becomes hard and mechanical strength tends to decrease. The total epoxidation rate of the natural rubber component is more preferably 0.65 or less, and further preferably 0.6 or less.
ここで、天然系ゴム成分の総エポキシ化率は、以下の式、
総エポキシ化率=A×B
(上記式中、Aは、天然ゴム成分中のエポキシ化天然ゴムの質量分率を示し、Bは、該質量分率を占めるエポキシ化天然ゴムのエポキシ化率を示す)
により算出される。
Here, the total epoxidation rate of the natural rubber component is expressed by the following formula:
Total epoxidation rate = A x B
(In the above formula, A represents the mass fraction of the epoxidized natural rubber in the natural rubber component, and B represents the epoxidation rate of the epoxidized natural rubber occupying the mass fraction)
Is calculated by
また、エポキシ化率とは、エポキシ化前の天然ゴム成分中の炭素間二重結合の全数のうちエポキシ化された数の割合を意味し、たとえば滴定分析や核磁気共鳴(NMR)分析等により求められる。 The epoxidation rate means the ratio of the number of epoxidized out of the total number of carbon-carbon double bonds in the natural rubber component before epoxidation. For example, by titration analysis or nuclear magnetic resonance (NMR) analysis Desired.
エポキシ化天然ゴム(ENR)としては、市販のものを用いてもよいし、天然ゴム(NR)をエポキシ化したものを用いてもよい。天然ゴム(NR)をエポキシ化する方法としては、特に限定されるものではなく、たとえばクロルヒドリン法、直接酸化法、過酸化水素法、アルキルヒドロペルオキシド法、過酸法などを挙げることができる。過酸法としては、たとえば天然ゴムのエマルジョンに過酢酸や過蟻酸などの有機過酸をエポキシ化剤として反応させる方法を挙げることができる。 As the epoxidized natural rubber (ENR), a commercially available product may be used, or an epoxidized natural rubber (NR) may be used. The method for epoxidizing natural rubber (NR) is not particularly limited, and examples thereof include a chlorohydrin method, a direct oxidation method, a hydrogen peroxide method, an alkyl hydroperoxide method, and a peracid method. Examples of the peracid method include a method of reacting an organic peracid such as peracetic acid or performic acid as an epoxidizing agent with an emulsion of natural rubber.
本発明においては、上記のように天然系ゴム成分の総エポキシ化率は0.025以上とされることが好ましいため、エポキシ化天然ゴム(ENR)自体のエポキシ化率もまた0.025以上であることが好ましい。ただし、たとえば2種以上のエポキシ化天然ゴムが組合せされる場合には、エポキシ化天然ゴム全体でエポキシ化率が0.025以上とされれば良く、この場合、エポキシ化率が0.025未満のエポキシ化天然ゴムが含まれても良い。エポキシ化天然ゴムのエポキシ化率は、さらに0.05以上、さらに0.1以上であることがより好ましい。 In the present invention, since the total epoxidation rate of the natural rubber component is preferably 0.025 or more as described above, the epoxidation rate of the epoxidized natural rubber (ENR) itself is also 0.025 or more. Preferably there is. However, for example, when two or more kinds of epoxidized natural rubber are combined, the epoxidation rate may be 0.025 or more in the entire epoxidized natural rubber. In this case, the epoxidation rate is less than 0.025. An epoxidized natural rubber may be included. The epoxidation rate of the epoxidized natural rubber is more preferably 0.05 or more, and further preferably 0.1 or more.
一方、エポキシ化天然ゴムのエポキシ化率は、0.8以下であることが好ましい。該エポキシ化率が0.8を超える場合、トレッド用ゴム組成物が硬くなって機械強度が低下したり、トレッド用ゴム組成物の調製時の分散性が低下したりする傾向があるからである。該エポキシ化率は、さらに0.65以下、さらに0.6以下であることがより好ましい。 On the other hand, the epoxidation rate of the epoxidized natural rubber is preferably 0.8 or less. When the epoxidation ratio exceeds 0.8, the tread rubber composition becomes hard and the mechanical strength tends to decrease, or the dispersibility during preparation of the tread rubber composition tends to decrease. . The epoxidation rate is more preferably 0.65 or less, and further preferably 0.6 or less.
エポキシ化天然ゴムとして、より典型的には、エポキシ化率0.25のエポキシ化天然ゴムや、エポキシ化率0.50のエポキシ化天然ゴムなどを例示できる。 More typically, examples of the epoxidized natural rubber include epoxidized natural rubber having an epoxidation rate of 0.25, and epoxidized natural rubber having an epoxidation rate of 0.50.
本発明の効果を損なわない範囲でゴム成分が天然系ゴム成分以外のゴム成分を含む場合、天然系ゴム成分以外のゴム成分としては、たとえば、スチレンブタジエンゴム(SBR)、ブタジエンゴム(BR)、スチレンイソプレン共重合体ゴム、イソプレンゴム(IR)、ブチルゴム(IIR)、クロロプレンゴム(CR)、アクリロニトリルブタジエンゴム(NBR)、ハロゲン化ブチルゴム(X−IIR)、イソブチレンとp−メチルスチレンとの共重合体のハロゲン化物などを例示できる。 When the rubber component includes a rubber component other than the natural rubber component as long as the effects of the present invention are not impaired, examples of the rubber component other than the natural rubber component include styrene butadiene rubber (SBR), butadiene rubber (BR), Styrene isoprene copolymer rubber, isoprene rubber (IR), butyl rubber (IIR), chloroprene rubber (CR), acrylonitrile butadiene rubber (NBR), halogenated butyl rubber (X-IIR), copolymer of isobutylene and p-methylstyrene Examples thereof include halides of coalescence.
ゴム成分中の天然ゴム(NR)の含有率は、10質量%以上であることが好ましい。天然ゴム(NR)の該含有率が10質量%未満の場合、石油外資源比率が高くなりすぎる場合がある。天然ゴム(NR)の該含有率は、さらに40質量%以上、さらに50質量%以上であることがより好ましい。また、ゴム成分中の天然ゴム(NR)の含有率を、たとえば90質量%以下、さらに80質量%以下とする場合、空気入りタイヤに特に良好なグリップ性能が付与される。 The content of natural rubber (NR) in the rubber component is preferably 10% by mass or more. When the content of natural rubber (NR) is less than 10% by mass, the non-petroleum resource ratio may be too high. The content of natural rubber (NR) is more preferably 40% by mass or more, and further preferably 50% by mass or more. Further, when the content of the natural rubber (NR) in the rubber component is, for example, 90% by mass or less, and further 80% by mass or less, particularly good grip performance is imparted to the pneumatic tire.
ゴム成分中のエポキシ化天然ゴム(ENR)の含有率は、10質量%以上であることが好ましい。エポキシ化天然ゴム(ENR)の該含有率が10質量%未満の場合、トレッド用ゴム組成物のグリップ性能が低くなる傾向がある。エポキシ化天然ゴム(ENR)の該含有率は、さらに20質量%以上、さらに30質量%以上であることがより好ましい。 The content of epoxidized natural rubber (ENR) in the rubber component is preferably 10% by mass or more. When the content of the epoxidized natural rubber (ENR) is less than 10% by mass, the grip performance of the tread rubber composition tends to be low. The content of the epoxidized natural rubber (ENR) is more preferably 20% by mass or more, and more preferably 30% by mass or more.
<充填剤>
本発明のゴム組成物は充填剤を含有する。充填剤の配合量は、ゴム成分100質量部に対して30〜130質量部の範囲内が好ましい。充填剤のゴム成分100質量部に対する配合量が30質量部未満であると補強効果が十分でない。充填剤の該配合量は、さらに40質量部以上、さらに50質量部以上であることが好ましい。一方、充填剤の該配合量が130質量部を超えると転がり抵抗の低減効果が十分得られない。充填剤の該配合量は、さらに120質量部以下、さらに110質量部以下であることがより好ましい。
<Filler>
The rubber composition of the present invention contains a filler. The blending amount of the filler is preferably within a range of 30 to 130 parts by mass with respect to 100 parts by mass of the rubber component. If the blending amount of the filler with respect to 100 parts by mass of the rubber component is less than 30 parts by mass, the reinforcing effect is not sufficient. The blending amount of the filler is preferably 40 parts by mass or more, and more preferably 50 parts by mass or more. On the other hand, if the blending amount of the filler exceeds 130 parts by mass, the effect of reducing rolling resistance cannot be obtained sufficiently. The blending amount of the filler is further preferably 120 parts by mass or less, and more preferably 110 parts by mass or less.
本発明のゴム組成物は充填剤として、白色充填剤を含む。白色充填剤とは、白色で無機物からなる充填剤を意味し、より具体的には、シリカ、炭酸カルシウム、水酸化アルミニウム等が例示される。 The rubber composition of the present invention contains a white filler as a filler. The white filler means a white and inorganic filler, and more specifically, silica, calcium carbonate, aluminum hydroxide and the like are exemplified.
白色充填剤の含有率は、全充填剤中、80質量%以上であり、好ましくは90質量%、さらに好ましくは100質量%である。 The content rate of a white filler is 80 mass% or more in all the fillers, Preferably it is 90 mass%, More preferably, it is 100 mass%.
本発明においては、補強性、ウェット性能、低転がり抵抗性能および石油外資源比率の点で、白色充填剤はシリカであることが好ましい。シリカが配合されることにより、補強効果、転がり抵抗の低減効果、グリップ性能の向上効果が特に良好になる。 In the present invention, the white filler is preferably silica in terms of reinforcing properties, wet performance, low rolling resistance performance, and the ratio of resources outside of petroleum. By adding silica, the reinforcing effect, the rolling resistance reducing effect, and the grip performance improving effect are particularly good.
シリカは、湿式法により調製されたものであってもよく、乾式法により調製されたものであってもよい。また、好ましい市販品としては、たとえば、デグッサ製の「ウルトラジルVN2」(BET比表面積125m2/g)および「ウルトラジルVN3」(BET比表面積210m2/g)等を例示できる。 Silica may be prepared by a wet method or may be prepared by a dry method. Moreover, as a preferable commercial item, "Ultrasil VN2" (BET specific surface area 125m < 2 > / g), "Ultra Gil VN3" (BET specific surface area 210m < 2 > / g), etc. made from Degussa can be illustrated, for example.
<白色充填剤以外の充填剤>
本発明のゴム組成物は、たとえばカーボンブラック等の白色充填剤以外の充填剤を含んでも良い。この場合、ゴム成分100質量部に対するカーボンブラックの配合量は15質量部以下とされることが好ましい。カーボンブラックの該配合量が15質量部を超える場合、石油資源由来の原料の使用量低減効果が小さくなる傾向があるとともに、転がり抵抗の低減効果を良好に得難くなる傾向がある。石油資源由来の原料の使用量を低減する点で、カーボンブラックの該配合量は、さらに10質量部以下、さらに5質量部以下であることがより好ましい。
<Fillers other than white filler>
The rubber composition of the present invention may contain a filler other than a white filler such as carbon black. In this case, it is preferable that the compounding quantity of carbon black with respect to 100 mass parts of rubber components shall be 15 mass parts or less. When the blending amount of the carbon black exceeds 15 parts by mass, the effect of reducing the amount of raw material derived from petroleum resources tends to be small, and the effect of reducing rolling resistance tends to be difficult to obtain. From the viewpoint of reducing the amount of raw material derived from petroleum resources, the blending amount of carbon black is more preferably 10 parts by mass or less, and further preferably 5 parts by mass or less.
<シランカップリング剤>
本発明においては、白色充填剤としてシリカを用いた場合、シランカップリング剤を併用してもよい。これによりトレッド用ゴム組成物に対してより優れた補強効果が付与される。シランカップリング剤の配合量は、シリカ100質量部に対して、4〜15質量部の範囲内とすることが好ましい。シランカップリング剤の該配合量が4質量部未満である場合、練り工程において粘度が上昇し、加工性が低下する傾向があり、15質量部を超える場合、量を増やしても補強効果の顕著な改善は期待できない一方コストが上昇するため経済的でなくなる傾向がある。分散性およびカップリング効果の点から、シランカップリング剤の該配合量は、5質量部以上であることがより好ましく、また、14質量部以下であることがより好ましい。
<Silane coupling agent>
In the present invention, when silica is used as the white filler, a silane coupling agent may be used in combination. Thereby, the more excellent reinforcement effect is provided with respect to the rubber composition for treads. The blending amount of the silane coupling agent is preferably in the range of 4 to 15 parts by mass with respect to 100 parts by mass of silica. When the blending amount of the silane coupling agent is less than 4 parts by mass, the viscosity tends to increase in the kneading process and the workability tends to decrease. When it exceeds 15 parts by mass, the reinforcing effect is remarkable even if the amount is increased. Such improvement cannot be expected, but the cost increases and tends to be less economical. From the viewpoint of dispersibility and coupling effect, the amount of the silane coupling agent is more preferably 5 parts by mass or more, and more preferably 14 parts by mass or less.
シランカップリング剤としては、従来公知のシランカップリング剤を用いることができ、たとえば、ビス(3−トリエトキシシリルプロピル)テトラスルフィド、ビス(2−トリエトキシシリルエチル)テトラスルフィド、ビス(4−トリエトキシシリルブチル)テトラスルフィド、ビス(3−トリメトキシシリルプロピル)テトラスルフィド、ビス(2−トリメトキシシリルエチル)テトラスルフィド、ビス(4−トリメトキシシリルブチル)テトラスルフィド、ビス(3−トリエトキシシリルプロピル)トリスルフィド、ビス(2−トリエトキシシリルエチル)トリスルフィド、ビス(4−トリエトキシシリルブチル)トリスルフィド、ビス(3−トリメトキシシリルプロピル)トリスルフィド、ビス(2−トリメトキシシリルエチル)トリスルフィド、ビス(4−トリメトキシシリルブチル)トリスルフィド、ビス(3−トリエトキシシリルプロピル)ジスルフィド、ビス(2−トリエトキシシリルエチル)ジスルフィド、ビス(4−トリエトキシシリルブチル)ジスルフィド、ビス(3−トリメトキシシリルプロピル)ジスルフィド、ビス(2−トリメトキシシリルエチル)ジスルフィド、ビス(4−トリメトキシシリルブチル)ジスルフィド、3−トリメトキシシリルプロピル−N,N−ジメチルチオカルバモイルテトラスルフィド、3−トリエトキシシリルプロピル−N,N−ジメチルチオカルバモイルテトラスルフィド、2−トリエトキシシリルエチル−N,N−ジメチルチオカルバモイルテトラスルフィド、2−トリメトキシシリルエチル−N,N−ジメチルチオカルバモイルテトラスルフィド、3−トリメトキシシリルプロピルベンゾチアゾリルテトラスルフィド、3−トリエトキシシリルプロピルベンゾチアゾールテトラスルフィド、3−トリメトキシシリルプロピルメタクリレートモノスルフィドなどのスルフィド系;3−メルカプトプロピルトリメトキシシラン、3−メルカプトプロピルトリエトキシシラン、2−メルカプトエチルトリメトキシシラン、2−メルカプトエチルトリエトキシシランなどのメルカプト系;ビニルトリエトキシシラン、ビニルトリメトキシシランなどのビニル系;3−アミノプロピルトリエトキシシラン、3−アミノプロピルトリメトキシシラン、3−(2−アミノエチル)アミノプロピルトリエトキシシラン、3−(2−アミノエチル)アミノプロピルトリメトキシシランなどのアミノ系;γ−グリシドキシプロピルトリエトキシシラン、γ−グリシドキシプロピルトリメトキシシラン、γ−グリシドキシプロピルメチルジエトキシシラン、γ−グリシドキシプロピルメチルジメトキシシランなどのグリシドキシ系;3−ニトロプロピルトリメトキシシラン、3−ニトロプロピルトリエトキシシランなどのニトロ系;3−クロロプロピルトリメトキシシラン、3−クロロプロピルトリエトキシシラン、2−クロロエチルトリメトキシシラン、2−クロロエチルトリエトキシシランなどのクロロ系;などを挙げることができる。これらのシランカップリング剤は、単独で用いてもよく、2種以上を組み合わせて用いてもよい。 As the silane coupling agent, a conventionally known silane coupling agent can be used. For example, bis (3-triethoxysilylpropyl) tetrasulfide, bis (2-triethoxysilylethyl) tetrasulfide, bis (4- Triethoxysilylbutyl) tetrasulfide, bis (3-trimethoxysilylpropyl) tetrasulfide, bis (2-trimethoxysilylethyl) tetrasulfide, bis (4-trimethoxysilylbutyl) tetrasulfide, bis (3-triethoxy Silylpropyl) trisulfide, bis (2-triethoxysilylethyl) trisulfide, bis (4-triethoxysilylbutyl) trisulfide, bis (3-trimethoxysilylpropyl) trisulfide, bis (2-trimethoxysilylethyl) ) Resulfide, bis (4-trimethoxysilylbutyl) trisulfide, bis (3-triethoxysilylpropyl) disulfide, bis (2-triethoxysilylethyl) disulfide, bis (4-triethoxysilylbutyl) disulfide, bis (3 -Trimethoxysilylpropyl) disulfide, bis (2-trimethoxysilylethyl) disulfide, bis (4-trimethoxysilylbutyl) disulfide, 3-trimethoxysilylpropyl-N, N-dimethylthiocarbamoyltetrasulfide, 3-tri Ethoxysilylpropyl-N, N-dimethylthiocarbamoyl tetrasulfide, 2-triethoxysilylethyl-N, N-dimethylthiocarbamoyl tetrasulfide, 2-trimethoxysilylethyl-N, N-dimethylthio Sulfide systems such as rubamoyl tetrasulfide, 3-trimethoxysilylpropylbenzothiazolyl tetrasulfide, 3-triethoxysilylpropylbenzothiazole tetrasulfide, 3-trimethoxysilylpropyl methacrylate monosulfide; 3-mercaptopropyltrimethoxysilane Mercapto series such as 3-mercaptopropyltriethoxysilane, 2-mercaptoethyltrimethoxysilane, 2-mercaptoethyltriethoxysilane; Vinyl series such as vinyltriethoxysilane and vinyltrimethoxysilane; 3-aminopropyltriethoxysilane 3-aminopropyltrimethoxysilane, 3- (2-aminoethyl) aminopropyltriethoxysilane, 3- (2-aminoethyl) aminopropyltrimethoxy Amino systems such as silane; glycidoxy systems such as γ-glycidoxypropyltriethoxysilane, γ-glycidoxypropyltrimethoxysilane, γ-glycidoxypropylmethyldiethoxysilane, γ-glycidoxypropylmethyldimethoxysilane Nitro compounds such as 3-nitropropyltrimethoxysilane and 3-nitropropyltriethoxysilane; 3-chloropropyltrimethoxysilane, 3-chloropropyltriethoxysilane, 2-chloroethyltrimethoxysilane, 2-chloroethyltri Chloro-based compounds such as ethoxysilane; These silane coupling agents may be used alone or in combination of two or more.
上記のなかでも、加工性が良好であるという理由から、デグッサ社製Si69(ビス(3−トリエトキシシリルプロピル)テトラスルフィド)、Si266(ビス(3−トリエトキシシリルプロピル)ジスルフィド)などが好ましく用いられる。 Of these, Si69 (bis (3-triethoxysilylpropyl) tetrasulfide), Si266 (bis (3-triethoxysilylpropyl) disulfide) manufactured by Degussa are preferably used because of their good processability. It is done.
<その他の配合剤>
本発明のトレッド用ゴム組成物には、上記した成分以外にも、従来ゴム工業で使用される他の配合剤、たとえば加硫剤、ステアリン酸、加硫促進剤、加硫促進助剤、オイル、硬化性レジン、ワックス、老化防止剤などを配合しても良い。
<Other ingredients>
In addition to the components described above, the rubber composition for treads of the present invention includes other compounding agents conventionally used in the rubber industry, such as vulcanizing agents, stearic acid, vulcanization accelerators, vulcanization accelerators, oils. Further, a curable resin, a wax, an anti-aging agent and the like may be blended.
加硫剤としては、有機過酸化物もしくは硫黄系加硫剤を使用することが可能であり、有機過酸化物としては、たとえば、ベンゾイルパーオキサイド、ジクミルパーオキサイド、ジ−t−ブチルパーオキサイド、t−ブチルクミルパーオキサイド、メチルエチルケトンパーオキサイド、クメンハイドロパーオキサイド、2,5−ジメチル−2,5−ジ(t−ブチルパーオキシ)ヘキサン、2,5−ジメチル−2,5−ジ(ベンゾイルパーオキシ)ヘキサン、2,5−ジメチル−2,5−ジ(t−ブチルパーオキシ)ヘキシン−3あるいは1,3−ビス(t−ブチルパーオキシプロピル)ベンゼン、ジ−t−ブチルパーオキシ−ジイソプロピルベンゼン、t−ブチルパーオキシベンゼン、2,4−ジクロロベンゾイルパーオキサイド、1,1−ジ−t−ブチルパーオキシ−3,3,5−トリメチルシロキサン、n−ブチル−4,4−ジ−t−ブチルパーオキシバレレートなどを使用することができる。これらの中で、ジクミルパーオキサイド、t−ブチルパーオキシベンゼンおよびジ−t−ブチルパーオキシ−ジイソプロピルベンゼンが好ましい。また、硫黄系加硫剤としては、たとえば、硫黄、モルホリンジスルフィドなどを使用することができる。これらの中では硫黄が好ましい。これらの加硫剤は、単独で用いてもよく、2種以上を組み合わせて用いてもよい。 As the vulcanizing agent, an organic peroxide or a sulfur-based vulcanizing agent can be used. Examples of the organic peroxide include benzoyl peroxide, dicumyl peroxide, and di-t-butyl peroxide. , T-butyl cumyl peroxide, methyl ethyl ketone peroxide, cumene hydroperoxide, 2,5-dimethyl-2,5-di (t-butylperoxy) hexane, 2,5-dimethyl-2,5-di (benzoyl) Peroxy) hexane, 2,5-dimethyl-2,5-di (t-butylperoxy) hexyne-3 or 1,3-bis (t-butylperoxypropyl) benzene, di-t-butylperoxy- Diisopropylbenzene, t-butylperoxybenzene, 2,4-dichlorobenzoyl peroxide, 1,1-di t- butyl peroxy-3,3,5-trimethyl siloxane, and the like can be used n- butyl-4,4-di -t- butyl peroxy valerate. Of these, dicumyl peroxide, t-butylperoxybenzene and di-t-butylperoxy-diisopropylbenzene are preferred. Moreover, as a sulfur type vulcanizing agent, sulfur, morpholine disulfide, etc. can be used, for example. Of these, sulfur is preferred. These vulcanizing agents may be used alone or in combination of two or more.
加硫促進剤としては、スルフェンアミド系、チアゾール系、チウラム系、チオウレア系、グアニジン系、ジチオカルバミン酸系、アルデヒド−アミン系またはアルデヒド−アンモニア系、イミダゾリン系、もしくは、キサンテート系加硫促進剤のうち少なくとも一つを含有するものを使用することが可能である。スルフェンアミド系としては、たとえばCBS(N−シクロヘキシル−2−ベンゾチアジルスルフェンアミド)、TBBS(N−tert−ブチル−2−ベンゾチアジルスルフェンアミド)、N,N−ジシクロヘキシル−2−ベンゾチアジルスルフェンアミド、N−オキシジエチレン−2−ベンゾチアジルスルフェンアミド、N,N−ジイソプロピル−2−ベンゾチアゾールスルフェンアミドなどのスルフェンアミド系化合物などを使用することができる。チアゾール系としては、たとえばMBT(2−メルカプトベンゾチアゾール)、MBTS(ジベンゾチアジルジスルフィド)、2−メルカプトベンゾチアゾールのナトリウム塩、亜鉛塩、銅塩、シクロヘキシルアミン塩、2−(2,4−ジニトロフェニル)メルカプトベンゾチアゾール、2−(2,6−ジエチル−4−モルホリノチオ)ベンゾチアゾールなどのチアゾール系化合物などを使用することができる。チウラム系としては、たとえばTMTD(テトラメチルチウラムジスルフィド)、テトラエチルチウラムジスルフィド、テトラメチルチウラムモノスルフィド、ジペンタメチレンチウラムジスルフィド、ジペンタメチレンチウラムモノスルフィド、ジペンタメチレンチウラムテトラスルフィド、ジペンタメチレンチウラムヘキサスルフィド、テトラブチルチウラムジスルフィド、ペンタメチレンチウラムテトラスルフィドなどのチウラム系化合物を使用することができる。チオウレア系としては、たとえばチアカルバミド、ジエチルチオ尿素、ジブチルチオ尿素、トリメチルチオ尿素、ジオルトトリルチオ尿素などのチオ尿素化合物などを使用することができる。グアニジン系としては、たとえばジフェニルグアニジン、ジオルトトリルグアニジン、トリフェニルグアニジン、オルトトリルビグアニド、ジフェニルグアニジンフタレートなどのグアニジン系化合物を使用することができる。ジチオカルバミン酸系としては、たとえばエチルフェニルジチオカルバミン酸亜鉛、ブチルフェニルジチオカルバミン酸亜鉛、ジメチルジチオカルバミン酸ナトリウム、ジメチルジチオカルバミン酸亜鉛、ジエチルジチオカルバミン酸亜鉛、ジブチルジチオカルバミン酸亜鉛、ジアミルジチオカルバミン酸亜鉛、ジプロピルジチオカルバミン酸亜鉛、ペンタメチレンジチオカルバミン酸亜鉛とピペリジンの錯塩、ヘキサデシル(またはオクタデシル)イソプロピルジチオカルバミン酸亜鉛、ジベンジルジチオカルバミン酸亜鉛、ジエチルジチオカルバミン酸ナトリウム、ペンタメチレンジチオカルバミン酸ピペリジン、ジメチルジチオカルバミン酸セレン、ジエチルジチオカルバミン酸テルル、ジアミルジチオカルバミン酸カドミウムなどのジチオカルバミン酸系化合物などを使用することができる。アルデヒド−アミン系またはアルデヒド−アンモニア系としては、たとえばアセトアルデヒド−アニリン反応物、ブチルアルデヒド−アニリン縮合物、ヘキサメチレンテトラミン、アセトアルデヒド−アンモニア反応物などのアルデヒド−アミン系またはアルデヒド−アンモニア系化合物などを使用することができる。イミダゾリン系としては、たとえば2−メルカプトイミダゾリンなどのイミダゾリン系化合物などを使用することができる。キサンテート系としては、たとえばジブチルキサントゲン酸亜鉛などのキサンテート系化合物などを使用することができる。これらの加硫促進剤は、単独で用いてもよく、2種以上を組み合わせて用いてもよい。加硫促進助剤としては、たとえば酸化亜鉛等を例示できる。 Vulcanization accelerators include sulfenamide, thiazole, thiuram, thiourea, guanidine, dithiocarbamic acid, aldehyde-amine, aldehyde-ammonia, imidazoline, or xanthate vulcanization accelerators. Those containing at least one of them can be used. Examples of the sulfenamide system include CBS (N-cyclohexyl-2-benzothiazylsulfenamide), TBBS (N-tert-butyl-2-benzothiazylsulfenamide), N, N-dicyclohexyl-2- Sulfenamide compounds such as benzothiazylsulfenamide, N-oxydiethylene-2-benzothiazylsulfenamide, and N, N-diisopropyl-2-benzothiazolesulfenamide can be used. Examples of the thiazole group include MBT (2-mercaptobenzothiazole), MBTS (dibenzothiazyl disulfide), sodium salt of 2-mercaptobenzothiazole, zinc salt, copper salt, cyclohexylamine salt, 2- (2,4-dinitro). Thiazole compounds such as phenyl) mercaptobenzothiazole and 2- (2,6-diethyl-4-morpholinothio) benzothiazole can be used. Examples of thiurams include TMTD (tetramethylthiuram disulfide), tetraethylthiuram disulfide, tetramethylthiuram monosulfide, dipentamethylenethiuram disulfide, dipentamethylenethiuram monosulfide, dipentamethylenethiuram tetrasulfide, dipentamethylenethiuram hexasulfide. Further, thiuram compounds such as tetrabutylthiuram disulfide and pentamethylenethiuram tetrasulfide can be used. As the thiourea series, for example, thiourea compounds such as thiacarbamide, diethylthiourea, dibutylthiourea, trimethylthiourea, diortolylthiourea and the like can be used. Examples of guanidine-based compounds include guanidine-based compounds such as diphenylguanidine, diortolylguanidine, triphenylguanidine, orthotolylbiguanide, and diphenylguanidine phthalate. Examples of dithiocarbamate include zinc ethylphenyldithiocarbamate, zinc butylphenyldithiocarbamate, sodium dimethyldithiocarbamate, zinc dimethyldithiocarbamate, zinc diethyldithiocarbamate, zinc dibutyldithiocarbamate, zinc diamyldithiocarbamate, zinc dipropyldithiocarbamate , Complex salt of zinc pentamethylenedithiocarbamate and piperidine, zinc hexadecyl (or octadecyl) isopropyldithiocarbamate, zinc dibenzyldithiocarbamate, sodium diethyldithiocarbamate, piperidine pentamethylenedithiocarbamate, selenium dimethyldithiocarbamate, tellurium diethyldithiocarbamate, diamyl Di, such as cadmium dithiocarbamate And the like can be used Okarubamin acid compound. As the aldehyde-amine system or aldehyde-ammonia system, for example, an aldehyde-amine system or aldehyde-ammonia system compound such as acetaldehyde-aniline reaction product, butyraldehyde-aniline condensate, hexamethylenetetramine, acetaldehyde-ammonia reaction product, etc. is used. can do. As the imidazoline-based compound, for example, an imidazoline-based compound such as 2-mercaptoimidazoline can be used. As the xanthate type, for example, a xanthate type compound such as zinc dibutylxanthate can be used. These vulcanization accelerators may be used alone or in combination of two or more. Examples of the vulcanization acceleration aid include zinc oxide.
老化防止剤としては、アミン系、フェノール系、イミダゾール系の老化防止剤や、カルバミン酸金属塩などを適宜選択して使用することができる。 As the anti-aging agent, an amine-based, phenol-based or imidazole-based anti-aging agent, a carbamic acid metal salt, or the like can be appropriately selected and used.
オイルとしては、プロセスオイル、植物油脂、またはこれらの混合物、などを例示できる。プロセスオイルとしては、パラフィン系プロセスオイル、ナフテン系プロセスオイル、芳香族系プロセスオイルなどを例示できる。植物油脂としては、ひまし油、綿実油、あまに油、なたね油、大豆油、パーム油、やし油、落花生油、ロジン、パインオイル、パインタール、トール油、コーン油、こめ油、べに花油、ごま油、オリーブ油、ひまわり油、パーム核油、椿油、ホホバ油、マカデミアナッツ油、サフラワー油、桐油、などを例示できる。 Examples of the oil include process oil, vegetable oil and fat, or a mixture thereof. Examples of the process oil include paraffinic process oil, naphthenic process oil, and aromatic process oil. Vegetable oils include castor oil, cottonseed oil, sesame oil, rapeseed oil, soybean oil, palm oil, coconut oil, peanut oil, rosin, pine oil, pine tar, tall oil, corn oil, rice bran oil, beet flower oil, sesame oil, Examples include olive oil, sunflower oil, palm kernel oil, cocoon oil, jojoba oil, macadamia nut oil, safflower oil, tung oil, and the like.
ここで、本発明のトレッド用ゴム組成物(加硫前)は、アセトン抽出分を8質量%以上含むものである。アセトン抽出分を8質量%以上含むことにより、グリップ性能を確保することができる。アセトン抽出分は好ましくは、9質量%以上であり、さらに好ましくは10質量%以上である。一方、アセトン抽出分は、35質量%以下とすることが好ましく、30質量%以下とすることがより好ましい。アセトン抽出分が35質量%を超えると、体磨耗性能が悪化する傾向にある。 Here, the rubber composition for a tread of the present invention (before vulcanization) contains 8% by mass or more of an acetone extract. By including 8% by mass or more of acetone extract, grip performance can be ensured. The amount of acetone extracted is preferably 9% by mass or more, and more preferably 10% by mass or more. On the other hand, the acetone extract is preferably 35% by mass or less, and more preferably 30% by mass or less. When the amount of acetone extracted exceeds 35% by mass, body wear performance tends to deteriorate.
本発明において、アセトン抽出分の含有量は、ゴムのサンプルを一昼夜アセトンに浸漬し、次式により算出されるものである。 In the present invention, the content of acetone extracted is calculated by the following equation after a rubber sample is immersed in acetone all day and night.
(抽出前サンプル重量−抽出後サンプル重量)/抽出前サンプル重量×100
また、本発明のトレッド用ゴム組成物は、160℃で20分間加硫して得られる加硫ゴムシートの、温度50℃、周波数10Hz、初期歪み10%、動歪み0.5%の条件下での損失正接が、0.06以上0.25以下であることが好ましい。損失正接が0.06未満である場合、グリップ性能が不足する傾向がある。また損失正接が0.25を超える場合、発熱による物性低下や磨耗性能の低下が生じる傾向がある。
(Sample weight before extraction−Sample weight after extraction) / Sample weight before extraction × 100
The rubber composition for a tread of the present invention is a vulcanized rubber sheet obtained by vulcanization at 160 ° C. for 20 minutes under the conditions of a temperature of 50 ° C., a frequency of 10 Hz, an initial strain of 10%, and a dynamic strain of 0.5%. The loss tangent at is preferably 0.06 or more and 0.25 or less. When the loss tangent is less than 0.06, the grip performance tends to be insufficient. On the other hand, when the loss tangent exceeds 0.25, there is a tendency that physical properties are reduced due to heat generation and wear performance is reduced.
<空気入りタイヤ>
本発明はまた、前述したようなトレッド用ゴム組成物がトレッド部の少なくとも一部を形成してなる、空気入りタイヤを提供する。特に、トレッド部はキャップトレッド部とベーストレッド部とを有し、ベーストレッド部および/またはキャップトレッド部が本発明のトレッド用ゴム組成物からなることが好ましい。
<Pneumatic tire>
The present invention also provides a pneumatic tire in which the rubber composition for a tread as described above forms at least a part of the tread portion. In particular, the tread portion preferably has a cap tread portion and a base tread portion, and the base tread portion and / or the cap tread portion is preferably made of the rubber composition for a tread of the present invention.
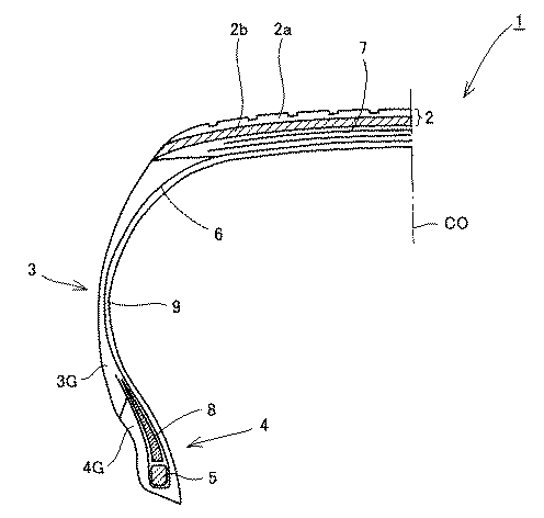
図1は、本発明に係る空気入りタイヤの左半分を例示した断面図である。空気入りタイヤ1は、トレッド部2と、該トレッド部2の両端からタイヤ半径方向内方に延びる一対のサイドウォール部3と、各サイドウォール部3の内方端に位置するビード部4とを備える構造を有するのが一般的である。そして、それらのビード部4間にはカーカス6が架け渡されるとともに、このカーカス6の外側かつトレッド部2の内側にはタガ効果を有してトレッド部2を補強するベルト層7が配される。
FIG. 1 is a cross-sectional view illustrating the left half of a pneumatic tire according to the present invention. The
上記カーカス6は、カーカスコードをタイヤ赤道COに対して、たとえば70〜90°の角度で配列する1枚以上のカーカスプライから形成され、このカーカスプライは、上記トレッド部2からサイドウォール部3を経てビード部4のビードコア5の廻りをタイヤ軸方向の内側から外側に折返されて係止される。
The carcass 6 is formed of one or more carcass plies in which the carcass cord is arranged at an angle of, for example, 70 to 90 ° with respect to the tire equator CO. The carcass ply extends from the tread portion 2 to the
上記ベルト層7は、ベルトコードをタイヤ赤道COに対して、たとえば40°以下の角度で配列した2枚以上のベルトプライからなり、各ベルトコードがプライ間で交差するよう向きを違えて重置している。 The belt layer 7 is composed of two or more belt plies in which the belt cords are arranged at an angle of, for example, 40 ° or less with respect to the tire equator CO. The belt layers 7 are stacked in different directions so that the belt cords cross each other. is doing.
またビード部4には、上記ビードコア5から半径方向外方に延びるビードエイペックスゴム8が配されるとともに、カーカス6の内側には、タイヤ内腔面をなすインナーライナゴム9が隣設され、カーカス6の外側は、クリンチゴム4Gおよびサイドウォールゴム3Gで保護される。
Further, a bead apex rubber 8 extending radially outward from the
本発明の空気入りタイヤは、図1に示すように、キャップトレッド部2aとベーストレッド部2bとを備えることができ、キャップトレッド部2aおよび/またはベーストレッド部2bは本発明のトレッド用ゴム組成物からなる。
As shown in FIG. 1, the pneumatic tire of the present invention can include a
本発明の空気入りタイヤは、上記本発明のトレッド用ゴム組成物を用いて、従来公知の方法により製造される。すなわち、本発明のトレッド用ゴム組成物を混練りし、未加硫の段階でタイヤのトレッド部の形状に合わせて押出し加工し、タイヤの他の部材とともに、タイヤ成形機上にて通常の方法で成形することにより、未加硫タイヤを形成する。この未加硫タイヤを加硫機中で加熱加圧することにより、本発明の空気入りタイヤを得ることができる。 The pneumatic tire of the present invention is produced by a conventionally known method using the tread rubber composition of the present invention. That is, the rubber composition for a tread of the present invention is kneaded, extruded in accordance with the shape of the tread portion of the tire at an unvulcanized stage, and a normal method on a tire molding machine together with other members of the tire. An unvulcanized tire is formed by molding with. The pneumatic tire of the present invention can be obtained by heating and pressurizing the unvulcanized tire in a vulcanizer.
本発明の空気入りタイヤは、本発明所定のトレッド用ゴム組成物を用いて得られるトレッド部を備えるため、転がり抵抗、WET性能およびDRY性能のバランスに優れるとともに、石油資源由来の原料の使用量が低減され、将来の石油の供給量の減少に備えることができ優れた安全性も有する。本発明が提供する空気入りタイヤは、地球環境に優しい「エコタイヤ」として、たとえば、二輪車、乗用車用、トラック用、バス用、重車両用など、種々の用途に対して好適に適用され得る。 Since the pneumatic tire of the present invention includes a tread portion obtained by using the rubber composition for a tread according to the present invention, the pneumatic tire has an excellent balance of rolling resistance, WET performance, and DRY performance, and the amount of raw material derived from petroleum resources. And can be prepared for a future decrease in the supply of oil, and has excellent safety. The pneumatic tire provided by the present invention can be suitably applied to various applications such as a motorcycle, a passenger car, a truck, a bus, and a heavy vehicle as an “eco tire” that is friendly to the global environment.
以下、実施例および比較例を挙げて本発明をより詳細に説明するが、本発明はこれらに限定されるものではない。 EXAMPLES Hereinafter, although an Example and a comparative example are given and this invention is demonstrated in detail, this invention is not limited to these.
<実施例1および比較例1〜3>
表1に示す配合処方に従い、バンバリーミキサーを用いて、硫黄および加硫促進剤を除く配合成分を160℃あるいは4分間混練後に排出して混練り物を得た。これに硫黄および加硫促進剤を表1に示す配合処方で加えて、2軸オープンロールを用い、100℃で2分間さらに練り込んで未加硫ゴム組成物を調製した。次に、未加硫ゴム組成物を押出して未加硫ゴムシートを作製し、さらにこれを160℃で20分間加硫して、加硫ゴムシートを得た。各加硫前のゴム組成物のアセトン抽出分を表1に示す。
<Example 1 and Comparative Examples 1-3>
According to the formulation shown in Table 1, using a Banbury mixer, the components except for sulfur and the vulcanization accelerator were discharged after kneading at 160 ° C. for 4 minutes to obtain a kneaded product. To this was added sulfur and a vulcanization accelerator in the formulation shown in Table 1, and a biaxial open roll was used and further kneaded at 100 ° C. for 2 minutes to prepare an unvulcanized rubber composition. Next, an unvulcanized rubber composition was extruded to prepare an unvulcanized rubber sheet, which was further vulcanized at 160 ° C. for 20 minutes to obtain a vulcanized rubber sheet. Table 1 shows the acetone extractables of each rubber composition before vulcanization.
(試験用タイヤの作製)
上記で得た未加硫ゴム組成物をキャップトレッド形状に押出し、ベーストレッドを含むタイヤの他の部材とともに、タイヤ成形機上にて通常の方法で成形することにより、未加硫タイヤを形成した。この未加硫タイヤを加硫機中で、160℃で20分間加熱加圧することにより、図1に示す構造を有するフロントタイヤ(サイズ:120/80−14 D305)およびリヤタイヤ(サイズ:150/70−13 D305)を作製した。なお、ベーストレッドの配合は、キャップトレッドと同じとした。
(Production of test tires)
An unvulcanized tire was formed by extruding the unvulcanized rubber composition obtained above into a cap tread shape and molding it on a tire molding machine together with other members of the tire including the base tread. . This unvulcanized tire is heated and pressurized at 160 ° C. for 20 minutes in a vulcanizer, whereby a front tire (size: 120 / 80-14 D305) and a rear tire (size: 150/70) having the structure shown in FIG. -13 D305). The base tread was mixed in the same manner as the cap tread.
(加硫ゴムシートおよび試験用タイヤの特性評価)
[硬度]
加硫ゴムシートについて、JIS−K6301に準じて25℃においてJIS−A硬度を測定した。結果を表1に示す。
(Characteristic evaluation of vulcanized rubber sheet and test tire)
[hardness]
The vulcanized rubber sheet was measured for JIS-A hardness at 25 ° C. according to JIS-K6301. The results are shown in Table 1.
[粘弾性特性]
加硫ゴムシートをナイフでカットし、50mm×4mm×2.5mmの試験片に成形した。作製した試験片を岩本製作所(株)製の粘弾性スペクトロメーター「VES−F−3」を用いて、温度50℃、周波数10Hz、初期歪み10%、動歪み0.5%の条件下における損失正接(tanδ)を測定した。結果を表1に示す。
[Viscoelastic properties]
The vulcanized rubber sheet was cut with a knife and formed into a 50 mm × 4 mm × 2.5 mm test piece. Using the viscoelastic spectrometer “VES-F-3” manufactured by Iwamoto Seisakusho Co., Ltd., the produced test piece was subjected to loss under conditions of a temperature of 50 ° C., a frequency of 10 Hz, an initial strain of 10%, and a dynamic strain of 0.5%. Tangent (tan δ) was measured. The results are shown in Table 1.
[グリップ性能]
上記で得た試験用タイヤをヤマハ製マジェスティ(250cc)に装着し、ドライアスファルト路面およびウエットアスファルト路面のそれぞれにおける、グリップ性能の官能評価を実施した。表1の数値は、比較例1の制動性を中心値3.5点としたときの数値である。この数値が大きいほど、グリップ性能が良好であることを示す。
[Grip performance]
The test tires obtained above were mounted on Yamaha Majesty (250 cc), and sensory evaluation of grip performance on dry asphalt road surfaces and wet asphalt road surfaces was performed. The numerical values in Table 1 are numerical values when the braking performance of Comparative Example 1 is set to a central value of 3.5 points. The larger this value, the better the grip performance.
[転がり抵抗性]
上記で得た試験用タイヤにつき、時速80km、空気圧250kPa、付加荷重4.0kNの条件で転がり抵抗を測定した。得られた測定値につき、比較例1を100として、下記の計算式、
転がり抵抗指数=(比較例1の転がり抵抗)÷(各実施例の転がり抵抗)×100
により転がり抵抗指数を算出した。転がり抵抗指数が大きい程、転がり抵抗が小さく発熱性が小さいため、タイヤ性能が良好であることを示す。
[Rolling resistance]
The rolling resistance of the test tire obtained above was measured under the conditions of 80 km / h, air pressure 250 kPa, and additional load 4.0 kN. About the obtained measured value, the
Rolling resistance index = (Rolling resistance of Comparative Example 1) ÷ (Rolling resistance of each example) × 100
Was used to calculate the rolling resistance index. As the rolling resistance index is larger, the rolling resistance is smaller and the heat build-up is smaller, indicating that the tire performance is better.
注1:天然ゴムは、RSS#3である。
注2:エポキシ化天然ゴムは、クンプーランガスリー社製の「ENR25」(エポキシ化率25モル%)である。
注3:スチレン−ブタジエンゴム(SBR)は、日本ゼオン(株)製の「Nipol 1502」である。
注4:シリカは、デグサ製の「ウルトラジルVN3」(BET比表面積:175m2/g)である。
注5:カーボンブラックN330は、昭和キャボネット(株)製の「ショウブラックN330」(BET比表面積:75m2/g)である。
注6:カーボンブラックN220は、昭和キャボネット(株)製の「ショウブラックN220」(BET比表面積:110m2/g)である。
注7:オイルは、出光興産製のアロマチックオイルである。
注8:硫黄は、鶴見化学(株)製の「粉末硫黄」である。
注9:加硫促進剤NSは、大内新興化学工業(株)製の「ノクセラーNS」である。
注10:加硫促進剤DPGは、大内新興化学工業(株)製の「ノクセラーD」である。
注11:老化防止剤は、住友化学(株)製の「6C」(N−1,3−ジメチルブチル−N’−フェニル−p−フェニレンジアミン)である。
注12:ワックスは、大内新興化学工業(株)製の「サンノックS」である。
注13:ステアリン酸は、日本油脂(株)製のステアリン酸である。
注14:亜鉛華は、三井金属鉱業(株)製の「亜鉛華1号」である。
注15:シランカップリング剤は、デグサ製の「Si266」である。
Note 1: Natural rubber is
Note 2: The epoxidized natural rubber is “ENR25” (epoxidation rate: 25 mol%) manufactured by Kumpulang Guthrie.
Note 3: Styrene-butadiene rubber (SBR) is “Nipol 1502” manufactured by Nippon Zeon Co., Ltd.
Note 4: Silica is “Ultrazil VN3” (BET specific surface area: 175 m 2 / g) manufactured by Degussa.
Note 5: carbon black N330 is, Showa Kyabonetto Co., Ltd. of "small black N330": a (BET specific surface area of 75m 2 / g).
Note 6: Carbon black N220 is “Show Black N220” (BET specific surface area: 110 m 2 / g) manufactured by Showa Cabonet Co., Ltd.
Note 7: The oil is an aromatic oil made by Idemitsu Kosan.
Note 8: Sulfur is “powder sulfur” manufactured by Tsurumi Chemical Co., Ltd.
Note 9: The vulcanization accelerator NS is “Noxeller NS” manufactured by Ouchi Shinsei Chemical Co., Ltd.
Note 10: The vulcanization accelerator DPG is “Noxeller D” manufactured by Ouchi Shinsei Chemical Co., Ltd.
Note 11: The anti-aging agent is “6C” (N-1,3-dimethylbutyl-N′-phenyl-p-phenylenediamine) manufactured by Sumitomo Chemical Co., Ltd.
Note 12: Wax is “Sannok S” manufactured by Ouchi Shinsei Chemical Industry Co., Ltd.
Note 13: Stearic acid is stearic acid manufactured by NOF Corporation.
Note 14: Zinc Hana is “
Note 15: Silane coupling agent is “Si266” manufactured by Degussa.
今回開示された実施の形態および実施例はすべての点で例示であって制限的なものではないと考えられるべきである。本発明の範囲は上記した説明ではなくて特許請求の範囲によって示され、特許請求の範囲と均等の意味および範囲内でのすべての変更が含まれることが意図される。 It should be understood that the embodiments and examples disclosed herein are illustrative and non-restrictive in every respect. The scope of the present invention is defined by the terms of the claims, rather than the description above, and is intended to include any modifications within the scope and meaning equivalent to the terms of the claims.
1 タイヤ、2 トレッド部、2a キャップトレッド部、2b ベーストレッド部、3 サイドウォール部、4 ビード部、5 ビードコア、6 カーカス、7 ベルト層、8 ビードエイペックスゴム、9 インナーライナゴム、3G サイドウォールゴム、4G クリンチゴム。 1 tire, 2 tread part, 2a cap tread part, 2b base tread part, 3 side wall part, 4 bead part, 5 bead core, 6 carcass, 7 belt layer, 8 bead apex rubber, 9 inner liner rubber, 3G side wall Rubber, 4G clinch rubber.
Claims (5)
前記充填剤の80質量%以上は白色充填剤であり、
アセトン抽出成分を8質量%以上含み、
石油外資源比率が75質量%以上である、トレッド用ゴム組成物。 Containing at least a rubber component containing 10% by mass or more of a natural rubber component, and a filler;
80% by mass or more of the filler is a white filler,
Containing 8% by mass or more of acetone-extracted components,
A rubber composition for tread having a non-petroleum resource ratio of 75% by mass or more.
前記天然系ゴム成分の総エポキシ化率は、0.025以上である、請求項1に記載のトレッド用ゴム組成物。 The natural rubber component includes epoxidized natural rubber,
The rubber composition for a tread according to claim 1, wherein a total epoxidation rate of the natural rubber component is 0.025 or more.
Priority Applications (1)
| Application Number | Priority Date | Filing Date | Title |
|---|---|---|---|
| JP2007173938A JP2009013218A (en) | 2007-07-02 | 2007-07-02 | Rubber composition for tread and pneumatic tire using the same |
Applications Claiming Priority (1)
| Application Number | Priority Date | Filing Date | Title |
|---|---|---|---|
| JP2007173938A JP2009013218A (en) | 2007-07-02 | 2007-07-02 | Rubber composition for tread and pneumatic tire using the same |
Publications (1)
| Publication Number | Publication Date |
|---|---|
| JP2009013218A true JP2009013218A (en) | 2009-01-22 |
Family
ID=40354530
Family Applications (1)
| Application Number | Title | Priority Date | Filing Date |
|---|---|---|---|
| JP2007173938A Withdrawn JP2009013218A (en) | 2007-07-02 | 2007-07-02 | Rubber composition for tread and pneumatic tire using the same |
Country Status (1)
| Country | Link |
|---|---|
| JP (1) | JP2009013218A (en) |
Cited By (5)
| Publication number | Priority date | Publication date | Assignee | Title |
|---|---|---|---|---|
| JP2011173510A (en) * | 2010-02-24 | 2011-09-08 | Sumitomo Rubber Ind Ltd | Tire for motorcycle |
| JP2012219124A (en) * | 2011-04-05 | 2012-11-12 | Sumitomo Rubber Ind Ltd | Rubber composition for cap tread and studless tire |
| WO2013046804A1 (en) * | 2011-09-29 | 2013-04-04 | 住友ゴム工業株式会社 | Sidewall rubber composition and tire using same |
| JP2021088305A (en) * | 2019-12-05 | 2021-06-10 | 住友ゴム工業株式会社 | Tire for two-wheel vehicle |
| US20210189102A1 (en) * | 2019-12-23 | 2021-06-24 | Asics Corporation | Shoe-sole rubber composition and shoe |
-
2007
- 2007-07-02 JP JP2007173938A patent/JP2009013218A/en not_active Withdrawn
Cited By (9)
| Publication number | Priority date | Publication date | Assignee | Title |
|---|---|---|---|---|
| JP2011173510A (en) * | 2010-02-24 | 2011-09-08 | Sumitomo Rubber Ind Ltd | Tire for motorcycle |
| JP2012219124A (en) * | 2011-04-05 | 2012-11-12 | Sumitomo Rubber Ind Ltd | Rubber composition for cap tread and studless tire |
| WO2013046804A1 (en) * | 2011-09-29 | 2013-04-04 | 住友ゴム工業株式会社 | Sidewall rubber composition and tire using same |
| JP2013082874A (en) * | 2011-09-29 | 2013-05-09 | Sumitomo Rubber Ind Ltd | Sidewall rubber composition and tire manufactured using the same |
| US9446627B2 (en) | 2011-09-29 | 2016-09-20 | Sumitomo Rubber Industries, Ltd. | Rubber composition for sidewall and tire using the same |
| JP2021088305A (en) * | 2019-12-05 | 2021-06-10 | 住友ゴム工業株式会社 | Tire for two-wheel vehicle |
| JP7439483B2 (en) | 2019-12-05 | 2024-02-28 | 住友ゴム工業株式会社 | motorcycle tires |
| US20210189102A1 (en) * | 2019-12-23 | 2021-06-24 | Asics Corporation | Shoe-sole rubber composition and shoe |
| US12152142B2 (en) * | 2019-12-23 | 2024-11-26 | Asics Corporation | Shoe-sole rubber composition and shoe |
Similar Documents
| Publication | Publication Date | Title |
|---|---|---|
| JP4901591B2 (en) | Rubber composition for sidewall and pneumatic tire using the same | |
| JP4467604B2 (en) | Rubber composition for carcass ply or band and pneumatic tire using the same | |
| KR101495660B1 (en) | Rubber composition and pneumatic tire using the same | |
| JP5218933B2 (en) | Rubber composition for sidewall, method for producing the same, and pneumatic tire | |
| JP4406018B2 (en) | Rubber composition for sidewall and pneumatic tire | |
| KR20100031101A (en) | Rubber composition for tire and pneumatic tire made with the same | |
| JP5557125B2 (en) | Pneumatic tire | |
| JP2008291091A (en) | Rubber composition for inner liner and pneumatic tire obtained by using the same | |
| JP2009007408A (en) | Rubber composition for adhesion of steel cord and pneumatic tire using the same | |
| JP5178054B2 (en) | Rubber composition for clinch apex and pneumatic tire using the same | |
| JP2009013218A (en) | Rubber composition for tread and pneumatic tire using the same | |
| JP4968732B2 (en) | Rubber composition for bead apex and pneumatic tire using the same | |
| JP5137057B2 (en) | Rubber composition for bead apex and pneumatic tire | |
| JP4509144B2 (en) | Rubber composition, clinch and tire | |
| JP2008308575A (en) | Rubber composition for tread and pneumatic tire using the same | |
| JP2008291092A (en) | Rubber composition for tire tread and pneumatic tire obtained using the same | |
| JP5299733B2 (en) | Rubber composition and method for producing pneumatic tire | |
| JP4587230B2 (en) | Clinch rubber composition and pneumatic tire | |
| JP2009001718A (en) | Tire rubber composition and pneumatic tire | |
| JP4896826B2 (en) | Rubber composition for tread and pneumatic tire using the same | |
| JP2009019092A (en) | Rubber composition for bead apex and pneumatic tire using the same | |
| JP4591895B2 (en) | Rubber composition for clinch and pneumatic tire using the same | |
| JP4845045B2 (en) | Rubber composition for ply and pneumatic tire using the same | |
| JP2008291093A (en) | Rubber composition for clinch rubber and pneumatic tire obtained using the same | |
| JP2008291084A (en) | Rubber composition for sidewall and pneumatic tire obtained using the same |
Legal Events
| Date | Code | Title | Description |
|---|---|---|---|
| A300 | Withdrawal of application because of no request for examination |
Free format text: JAPANESE INTERMEDIATE CODE: A300 Effective date: 20100907 |
