JP2009009826A - Lighting device - Google Patents
Lighting device Download PDFInfo
- Publication number
- JP2009009826A JP2009009826A JP2007170211A JP2007170211A JP2009009826A JP 2009009826 A JP2009009826 A JP 2009009826A JP 2007170211 A JP2007170211 A JP 2007170211A JP 2007170211 A JP2007170211 A JP 2007170211A JP 2009009826 A JP2009009826 A JP 2009009826A
- Authority
- JP
- Japan
- Prior art keywords
- reflector
- light
- light emitting
- lens body
- light distribution
- Prior art date
- Legal status (The legal status is an assumption and is not a legal conclusion. Google has not performed a legal analysis and makes no representation as to the accuracy of the status listed.)
- Pending
Links
Images
Landscapes
- Led Device Packages (AREA)
- Non-Portable Lighting Devices Or Systems Thereof (AREA)
Abstract
Description
本発明は、発光ダイオード等の半導体発光素子を光源とした照明装置に関する。 The present invention relates to an illumination device using a semiconductor light emitting element such as a light emitting diode as a light source.
近年、半導体発光素子、例えば発光ダイオードは、その発光効率の向上により、一般照明用の光源として採用した照明器具が商品化されてきている。この種、発光ダイオードを光源とした照明器具は、発光ダイオードの光を効率よく放射させるために、反射板やレンズにより光を制御する照明装置が構成されている(例えば、特許文献1〜3参照)。 In recent years, lighting fixtures employed as light sources for general lighting have been commercialized for semiconductor light emitting devices, for example, light emitting diodes, due to improvements in light emission efficiency. In this type of lighting fixture using a light emitting diode as a light source, a lighting device that controls light with a reflector or a lens is configured to efficiently emit light from the light emitting diode (see, for example, Patent Documents 1 to 3). ).
特許文献1に示されるものは、複数の凹み形状の反射板の底部に発光ダイオードを配置して光を制御している。特許文献2に示されるものは、レンズ体の底部に発光ダイオードを設けて制御している。さらに、特許文献3に示されるものは、反射板とレンズを組み合わせて光の利用効率高めることが行われている。
しかしながら、これらの反射板やレンズ等の光制御手段を設けた照明装置により、例えば、ダウンライト等の照明器具を構成する場合、器具の配光は器具の設計時に目的とする性能、用途に合わせて行われている。そのため、各種の配光性能を有する器具をラインナップする場合には、器具毎に欲しい配光性能の種類と同数の反射板やレンズを構成するための金型が必要となり器具のコストアップ要因となる。さらに照明器具の配光性能は設計時に決定され、器具設置後等に照明環境を変更した場合に、必要とする配光性能を容易に得られない問題も生じている。 However, for example, when a lighting device such as a downlight is configured by a lighting device provided with light control means such as a reflector and a lens, the light distribution of the device is matched to the target performance and application at the time of designing the device. Has been done. Therefore, when a lineup of instruments having various light distribution performances is required, molds for configuring the same number of reflectors and lenses as the type of light distribution performance desired for each instrument are required, which increases the cost of the instruments. . Furthermore, the light distribution performance of the lighting fixture is determined at the time of design, and there is a problem that the required light distribution performance cannot be easily obtained when the lighting environment is changed after installation of the fixture.
このため、照明器具の光源を発光ダイオード等の半導体発光素子で構成する場合には、任意の配光性能を容易に得ることができ、また、都度、配光を変更することができる照明装置を如何に実現するかが重要な課題となっている。 For this reason, when the light source of the lighting fixture is configured by a semiconductor light emitting element such as a light emitting diode, an illumination device that can easily obtain an arbitrary light distribution performance and can change the light distribution each time. How to achieve this is an important issue.
本発明は、上記課題に鑑みてなされたもので、目的とする配光特性を容易に作り出すことが可能な半導体発光素子を用いた照明装置を提供しようとするものである。 The present invention has been made in view of the above-described problems, and an object of the present invention is to provide an illuminating device using a semiconductor light emitting element capable of easily creating a desired light distribution characteristic.
請求項1に記載の照明装置の発明は、複数の半導体発光素子と;半導体発光素子を配置した基体と;基体に形成され各半導体発光素子に対向して設けられた複数の凹部からなる反射体と;複数の反射体の凹部に選択して装着されるレンズ体と;を具備することを特徴とする。 The invention of the lighting device according to claim 1 is a reflector comprising a plurality of semiconductor light emitting elements; a base on which the semiconductor light emitting elements are disposed; and a plurality of recesses formed on the base and provided facing the semiconductor light emitting elements. And a lens body that is selectively mounted in the concave portions of the plurality of reflectors.
本発明により、基体に形成され各半導体発光素子に対向して設けられた複数の凹部からなる反射体と、複数の反射体の凹部に選択して装着されるレンズ体により、目的とする配光特性を容易に作り出すことが可能となる。 According to the present invention, a desired light distribution is achieved by a reflector formed of a plurality of recesses formed on a base and facing each semiconductor light emitting element, and a lens body that is selectively attached to the recesses of the plurality of reflectors. Characteristics can be easily created.
本発明において、照明装置は、ダウンライトやスポットライト等、住宅用に限らず、店舗、オフィス等、施設・業務用の各種の照明器具を構成しても、さらには、一般照明用の白熱電球に置き換え可能な発光ダイオードを用いたLED電球等を構成するものであってもよい。 In the present invention, the lighting device is not limited to a house such as a downlight or a spotlight, but may be a variety of lighting fixtures for facilities / businesses such as stores, offices, etc. An LED bulb or the like using a light-emitting diode that can be replaced with may be configured.
半導体発光素子は、発光ダイオード、EL(エレクトロルミネッセンス)素子や半導体レーザーなど、半導体を発光源とした発光素子が許容される。 As the semiconductor light emitting element, a light emitting element using a semiconductor as a light emitting source, such as a light emitting diode, an EL (electroluminescence) element, or a semiconductor laser, is allowed.
基体は、光源としての半導体発光素子を配置するための部材で、半導体発光素子を実装した回路基板と回路基板を覆い収納するケース部材で構成することが好ましいが、発光ダイオードをケース部材に設置して回路基板を省略しても、逆にケース部材を省略して回路基板のみで構成してもよい。 The substrate is a member for arranging a semiconductor light emitting element as a light source, and is preferably composed of a circuit board on which the semiconductor light emitting element is mounted and a case member that covers and stores the circuit board, but the light emitting diode is installed on the case member. Even if the circuit board is omitted, the case member may be omitted and the circuit board alone may be used.
基体を構成するケース部材の材質は、光の反射性能を考慮して、耐光性、耐熱性および電気絶縁性を有する白色の合成樹脂、例えば、PBT(ポリブチレンテレフタレート)等で構成してもよい。さらに、半導体発光素子の放熱性能を考慮して、アルミニウム等、熱伝導性の良好な金属で構成してもよい。形状は、線モジュールを構成する長尺なライン状をなしていても、点モジュールを構成するために円盤状の形状であってもよく、目的とする配光特性を得るための全ての形状が許容される。 The material of the case member constituting the base may be composed of a white synthetic resin having light resistance, heat resistance, and electrical insulation, for example, PBT (polybutylene terephthalate) in consideration of light reflection performance. . Furthermore, in consideration of the heat dissipation performance of the semiconductor light emitting device, the semiconductor light emitting device may be made of a metal having good thermal conductivity such as aluminum. The shape may be a long line forming the line module, or a disk shape for forming the point module, and all the shapes for obtaining the desired light distribution characteristics may be used. Permissible.
基体を構成する回路基板は、半導体発光素子を実装し支持した配線基板からなることが好ましいが、回路基板の構成および実装するための手段は特定のものに限定されない。 The circuit board constituting the base is preferably a wiring board on which a semiconductor light emitting element is mounted and supported. However, the configuration of the circuit board and the means for mounting are not limited to specific ones.
反射体は、基体を構成するケース部材に凹部を形成して構成することが好ましいが、ケース部材と一体に形成しても、別体に構成した反射体をケース部材に装着するようにしてもよい。基体を回路基板で構成する場合には、回路基板とは別体に構成した反射体を回路基板に装着して構成してもよい。また、複数の半導体発光素子で構成する場合、発光素子個々に反射体を設けても、複数の発光素子全体、若しくは所定の個数の発光素子を囲む、1個または複数個の共通の反射体で構成してもよい。反射体は、配光角を大きくして後述するレンズ体を装着できるように構成することが好ましい。逆に反射体の配光角を小さくし、レンズ体の配光角を大きくしてもよい。また形状は、回転対象となる配光を得るために、横断面が円形をなす「すり鉢状」に形成することが好ましいが、例えば、横断面が矩形状をなす「すり鉢状」などの形状でもよく、特定された形状に限定されない。また、その表面を白色に塗装したものでも、また鏡面または半鏡面に加工したものであってもよい。 The reflector is preferably formed by forming a recess in the case member that constitutes the base. However, the reflector may be formed integrally with the case member or may be mounted on the case member as a separate reflector. Good. When the base is configured by a circuit board, a reflector that is formed separately from the circuit board may be mounted on the circuit board. In the case of a plurality of semiconductor light-emitting elements, even if a reflector is provided for each light-emitting element, one or a plurality of common reflectors surrounding the entire light-emitting elements or a predetermined number of light-emitting elements. It may be configured. It is preferable that the reflector is configured so that the lens body described later can be mounted by increasing the light distribution angle. Conversely, the light distribution angle of the reflector may be reduced and the light distribution angle of the lens body may be increased. In order to obtain a light distribution to be rotated, the shape is preferably formed in a “mortar shape” having a circular cross section. For example, a shape such as a “mortar shape” having a rectangular cross section may be used. Well, not limited to the specified shape. Further, the surface may be painted white, or may be processed into a mirror surface or a semi-mirror surface.
反射体は、複数個設けて各種の配光特性を得られるように構成することが好ましい。また、反射体は、光出射部に半導体発光素子を保護し充電部を覆うための透明または半透明の透光性を有するカバー部材を設けることが好ましいが、照明装置が器具等に組み込まれた際に、別個のカバー部材で覆うことが可能であれば、格別に設置しなくてもよい。 It is preferable that a plurality of reflectors are provided so as to obtain various light distribution characteristics. In addition, the reflector is preferably provided with a transparent or translucent light-transmitting cover member for protecting the semiconductor light emitting element and covering the charging portion at the light emitting portion, but the lighting device is incorporated in a fixture or the like. In this case, if it can be covered with a separate cover member, it may not be installed.
レンズ体は、例えば、上述した「すり鉢状」をなす配光角を大きくした反射体に装着できるように配光角を小さくした全反射形のレンズで構成し、反射体の凹部に嵌合して装着できるように構成することが好ましいが、外側または内側に凸形状をなす凸レンズを、凹部に嵌合させずに反射体の光出射部に対向して配置することにより装着してもよい。また、レンズ体は、上述したカバー部材と一体に形成してもよい。 The lens body is composed of, for example, a total reflection type lens with a small light distribution angle so that it can be attached to the reflector having the above-mentioned “mortar shape” with a large light distribution angle, and is fitted into the concave portion of the reflector. However, a convex lens having a convex shape on the outer side or the inner side may be mounted so as to face the light emitting portion of the reflector without being fitted into the concave portion. Further, the lens body may be formed integrally with the cover member described above.
レンズ体は、目的とする配光特性を得るために、反射体に対して装着するか否かを選択して配置されるが、装着した後でも取り外すことができるよう着脱可能に配置されることが好ましいが、装着後に接着剤等で固着するものであってもよい。 In order to obtain the desired light distribution characteristics, the lens body is arranged by selecting whether or not it is attached to the reflector, but it should be detachably arranged so that it can be removed even after being attached. However, it may be fixed with an adhesive after mounting.
請求項2に記載の発明は、請求項1記載の照明装置において、前記反射体は、その光出射部に透光性のカバー部材を有し、前記レンズ体は、前記カバー部材に一体に形成されていることを特徴とする。 According to a second aspect of the present invention, in the illumination device according to the first aspect, the reflector has a light-transmitting cover member at a light emitting portion thereof, and the lens body is formed integrally with the cover member. It is characterized by being.
透光性のカバー部材は、透明、または乳白色等をなす半透明であっても、着色したものであってもよく、また、材質は合成樹脂またはガラス等で構成されたものが許容される。 The translucent cover member may be transparent or translucent, such as milky white, or may be colored, and materials made of synthetic resin or glass are acceptable.
請求項3に記載の発明は、請求項1または2記載の照明装置において、前記透光性のカバー部材は、光出射部を透明に形成し、他の部分に輝度上昇手段を形成したことを特徴とする。 According to a third aspect of the present invention, in the illuminating device according to the first or second aspect, the translucent cover member has a light emitting part formed transparently and a brightness increasing means formed in another part. Features.
輝度上昇手段は、例えば、フロスト処理等の光拡散処理を施すことにより表面の輝度を上げるようにしても、または、光の一部を導入して輝度を上げるようにしてもよく、透明な光出射部周辺の輝度を上昇させることによりグレアの発生を抑制するための全ての手段が許容される。 For example, the brightness increasing means may increase the brightness of the surface by performing a light diffusion process such as a frost process, or may increase the brightness by introducing a part of light. All means for suppressing the occurrence of glare by increasing the luminance around the emitting portion are allowed.
請求項1記載の発明によれば、レンズ体を複数の反射体の凹部に選択して装着することにより、目的とする配光特性を容易に作り出すことが可能な照明装置を提供することができる。 According to the first aspect of the present invention, it is possible to provide an illuminating device capable of easily creating a desired light distribution characteristic by selecting and attaching the lens body to the concave portions of the plurality of reflectors. .
請求項2記載の発明によれば、反射体は、その光出射部に透光性のカバー部材を有しているので、半導体発光素子を保護し充電部を覆うことができ、信頼性の高い照明装置を提供することができる。また、カバー部材とレンズ体とが一体に設けられているため、レンズ体が反射体から外れてしまうことがなく、不所望に充電部が露出してしまうことがない。 According to the second aspect of the present invention, since the reflector has the translucent cover member at the light emitting portion thereof, the semiconductor light emitting element can be protected and the charging portion can be covered, and the reliability is high. A lighting device can be provided. Moreover, since the cover member and the lens body are integrally provided, the lens body is not detached from the reflector, and the charging unit is not undesirably exposed.
請求項3記載の発明によれば、透光性のカバー部材は、光出射部を透明に形成し、他の部分に輝度上昇手段を形成したので、透明な光出射部周辺の輝度を上昇させることができ、グレアの発生を抑制することが可能な照明装置を提供することができる。 According to the invention described in claim 3, since the light-transmitting cover member has the light emitting part formed transparently and the brightness increasing means is formed in the other part, the brightness around the transparent light emitting part is increased. Therefore, it is possible to provide a lighting device that can suppress the occurrence of glare.
以下、本発明に係る照明装置の実施形態について説明する。 Hereinafter, an embodiment of a lighting device according to the present invention will be described.
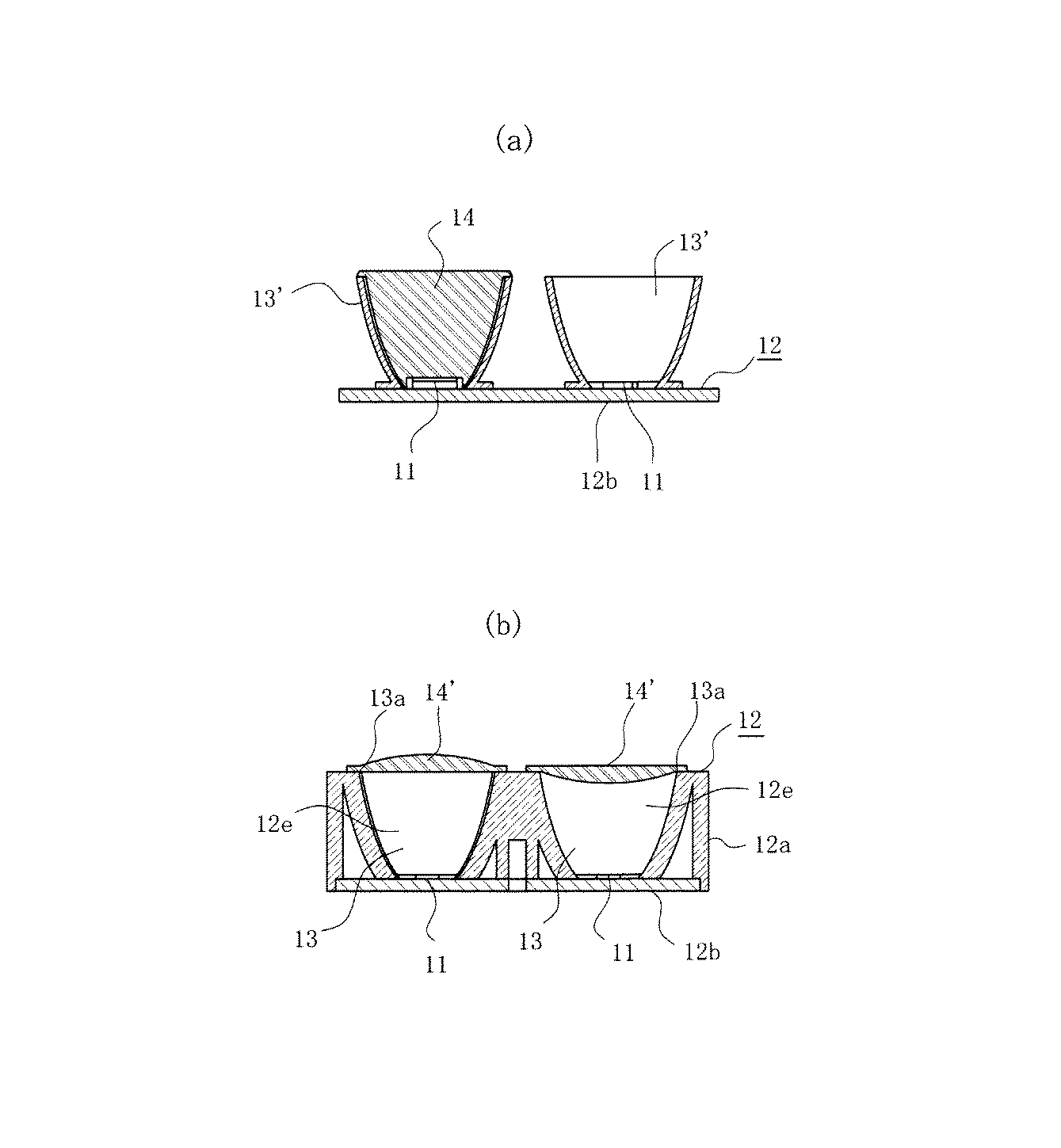
図1〜図4に示すように、本実施例の照明装置10は、光源となる複数の半導体発光素子11、半導体発光素子を配置した基体12、基体に配置された複数の反射体13および反射体に配置されるレンズ体14で構成する。
As shown in FIGS. 1 to 4, the
半導体発光素子11は、発光ダイオード(以下「LED」と称す)で構成し、LED11は、同一色、本実施形態では高輝度、高出力の白色のLEDが6個用意され、この各LEDは、一方向、すなわちLEDの光軸方向に光線が主として放射される同種性能のもので構成する。
The semiconductor
基体12は、ケース部材12aと回路基板12bからなり、ケース部材12aは、耐光性、耐熱性および電気絶縁性を有する白色の合成樹脂、本実施例では、PBT(ポリブチレンテレフタレート)により、一端に開口部12cを有し内部に空間部12dを形成した円盤状の部材で構成する。ケース部材12aの表面側には、表面側に拡開し、白色の内面が回転放物面状をなす、同一の形状・寸法を有する「すり鉢状」の凹部12eを複数個、本実施例では6個を、同心円状に等間隔になるように一体に形成する。
The
これにより、凹部12eの開口を光出射部13aとし、回転放物面状をなす内面を反射面13bとした反射体13が基体12と一体に構成される。反射体13は、配光角を大きく形成して、後述するレンズ体14が嵌合して装着できるように構成し、その底面に貫通孔13cを形成する。
As a result, the
回路基板12bは円板状の配線基板からなり、6個のLED11を、上記同心円状に形成された6個の反射体13に対向するように同心円状に等間隔に配置して実装する。
The
LEDを実装した回路基板12bを、ケース体12aの開口部12cに嵌め込みシリコーン樹脂等の接着剤で固着して支持することにより、各LED11が各反射体13の底面に形成された貫通孔13cを貫通して配置される。これにより、反射体13の光軸とLED11の光軸が略一致した状態で、反射体13が基板12に配置された各LED11に対向して設けられる。
The
レンズ体14は、6個の配光角を大きくした反射体13に嵌合して装着できるように小さな配光角を有して形成された全反射形のレンズで構成する。すなわち、光の入射部を構成する底面にLED11を収納するための凹部14aを形成し、円形をなす光出射部14bと凹部14aを結ぶ側面周壁14cを反射体13の回転放物面をなす反射面13bに略合致する形状に形成する。なお、光出射部14bには一体に鍔部14dを形成し、レンズ体14を反射体13に嵌め込んだ際に、鍔部を反射体の光出射部13aとなる開口に係止して支持する。これにより、反射体の反射面13bとレンズ体の側面周壁14cとの間に隙間sを形成し、密着することにより生じるレンズの全反射機能の低下を防止するように構成する。同時にレンズ体14によって反射体13底部に位置するLED11を保護し充電部が覆われる。
The
この状態で、レンズ体14は反射体13に対して着脱が可能となっているが、透明な接着剤で固定してもよい。本実施例では接着せずに着脱が可能な状態にしてある。
In this state, the
上記に構成したレンズ体14は、複数個、本実施例では4個用意され、各種の配光特性を得るために6個の凹部12eからなる反射体13に対して装着するか否かを適宜選択して、必要な個数のレンズ体14を、どの位置にある反射体13に対しても任意に自由に着脱が可能な状態にして嵌め込み装着することができる。
A plurality of the
しかして、本発明者等は、上記に構成した照明装置10における配光特性を確認するため次の実験を行った。
Therefore, the present inventors conducted the following experiment in order to confirm the light distribution characteristics in the
すなわち、反射体13は図4(a)のグラフXに示す特性を有する1/2ビーム角における中心光度の出射角度が約60°になる反射体を構成した。またレンズ体14は、図4(a)のグラフYに示す特性を有する1/2ビーム角における中心光度の出射角度が約30°になる全反射形のレンズで構成した。なお、図4は、出射角度θ1:0〜60°((図2(b))参照)と光度(cd)との関係から配光パターンを示したグラフである。
In other words, the
このレンズ体14を反射体13に対して装着するか否かを選択して組み合わせ、各種の照明装置を構成した。すなわち、図3に示すように、6個の反射体の内、対向する2個の反射体にレンズ体を嵌め込んだもの図3(a)、1個おきに等間隔に3個のレンズ体を嵌め込んだもの図3(b)、4個のレンズ体を対向して嵌め込んだもの図3(c)、さらに6個の反射体全てにレンズ体を嵌め込んだもの、およびレンズ体を嵌め込まずに反射体のみで構成したものを構成し、それぞれの出射角度0〜60°における光度を測定し配光パターンを確認した。
Whether or not the
その結果が図4(b)で、グラフa〜eは、反射体13およびレンズ体14をそれぞれ、下記の表1に示すように組み合わせた照明装置における配光パターンである。
The result is FIG. 4B, and graphs a to e are light distribution patterns in the illumination device in which the
上記構成の照明装置10は、各種の配光パターンに応じて、ダウンライトやスポットライト等の光源部として用いられる。次に、上記照明装置を用いたダウンライトにつきその構成を説明する。
The
図5に示すように、ダウンライト20は、器具本体21、光源部22、光源を点灯するための電源部23、電源部に電源を供給する電源端子台24および化粧枠25で構成する。
As shown in FIG. 5, the
器具本体21は、一端部に光源部22および他端部に電源端子台24を配設し、内部に電源部23を収容するための両端が開放した円筒体をなす熱伝導性の良好なアルミニウムで構成する。また、器具本体21は、円筒体内部の一端部の開口21a側に位置して、仕切り板21bを一体に形成し、開口と仕切り板との間に光源部22を収納するための凹部からなる収納部21cを一体に形成する。
The instrument
光源部22は、上述した照明装置10を収納することにより構成する。すなわち、本実施例では、ダウンライト用の光源として部屋の中心部を主として照明するために、中心光度が比較的高く、周囲にわたり光度の変化が比較的少ない照明装置である「表1」N0.2における3個のレンズ体を嵌め込んだ図3(b)の構成の照明装置を採用する。
The
上記構成の照明装置は、基体12の回路基板12bの外面を、器具本体21の仕切り板21bに熱伝導性を有し電気絶縁性を有するシリコーン樹脂等からなる絶縁シート等を介して密着させ、ネジ等の固定手段により支持して光源部22内に収納する。
In the illumination device having the above configuration, the outer surface of the
これにより、照明装置10の光軸が、円筒体からなる器具本体21の中心軸に合致し、さらに反射体13の光出射部13aが化粧枠25の内側に位置して配設され、全体として平面視で略円形の発光面を有する光源部22が構成される。同時に反射体13に嵌め込まれ装着されたレンズ体14が、その鍔部14dを反射体の光出射部13aに係止すると共に、レンズ体14の表面が化粧枠15に設けられた透明なアクリル樹脂からなるカバー部材25aの内面側に接し、レンズ体14が反射体13の凹部12eから離脱することなく嵌め込まれた状態で固定され、このレンズ体14によりLED11が保護され充電部が覆われると共に、カバー部材25aによりレンズ体14が嵌め込まれていない反射体13の各LED11が保護され充電部が覆われる。また、回路基板12bと仕切り板21bが熱的に連結されて固定される。
Thereby, the optical axis of the illuminating
電源部23は、上述のように器具本体21の光源部22に収納された照明装置10を点灯させるための点灯回路を有し、リード線w1により照明装置10に配線接続され、電源端子台24を介して100Vの商用電源が供給される。
The
なお、図中26は、ダウンライトを天井等へ設置するための支持具で、ステンレスの板材をプレス加工して形成した略L字形の2枚の板バネからなり、L字の垂直部分を器具本体21外側面に、径方向に対向して位置させて固定する。
In the figure,
上記により、一端部の光源部22に本実施例における照明装置10が組み込まれ、他端部に電源端子台24を配設し、内部に電源部23を収容した、高さ寸法Hが約84mm、化粧枠の直径寸法D1が約88mm、器具本体の直径寸法D2が約65mm、消費電力5WのAC100Vで駆動するダウンライト20が構成される。
As described above, the
上記構成のダウンライトは、被設置面である天井等に単体若しくは複数個を送り用ケーブルにより接続させて設置される。点灯すると、各LED11が発光し、LEDから放射された光は反射体13の反射面13bで反射しながら光出射部13aから放射される。同時にレンズ体14を嵌め込んだ反射体13では、LED11から放射された光が全反射形レンズの入射部の凹部14aから取り込まれ、レンズの側面周壁14cで全反射を繰り返し、光出射部14bから放射され、上記反射体13から放射される光と混合されて、図4(b)のグラフbに示すような配光パターン、すなわち、中心光度が比較的高く、周囲にわたり光度の変化が比較的少ない配光特性をもって、部屋の中心部が比較的明るく、周囲にわたって徐々に暗くなるダウンライトとしての配光特性をもった照明を行う。
The downlight having the above-described configuration is installed by connecting a single or a plurality of downlights to a ceiling or the like, which is an installation surface, using a feeding cable. When lit, each
また、店舗等において、展示物のみをスポット的に照明する場合には、中心光度がさらに高い、「表1」におけるN0.3:4個のレンズ体を嵌め込んだ図3(c)の構成で配光パターンがグラフcの照明装置、さらには中心光度がさらに高くなる「表1」のNo.4:反射体全てにレンズ体を嵌め込んで構成した配光パターンがグラフdの照明装置を採用する。 Further, in the case where only an exhibit is illuminated in a spot or the like in a store or the like, the configuration shown in FIG. 3C in which the center luminous intensity is higher and N0.3: 4 lens bodies in “Table 1” are fitted. No. 1 of “Table 1” in which the light distribution pattern is the illumination device of the graph c and the central luminous intensity is further increased. 4: A light distribution pattern configured by fitting a lens body into all the reflectors employs an illuminating device having a graph d.
さらに、部屋全体を均一な明るさで照明する場合には、中心光度が低い、「表1」におけるN0.1:2個のレンズ体を嵌め込んだ図3(a)の構成で配光パターンがグラフaの照明装置、さらには中心光度がさらに低くなる「表1」のNo.5:反射体のみで構成した配光パターンがグラフeの照明装置を採用する。 Furthermore, in the case where the entire room is illuminated with uniform brightness, the light distribution pattern has the configuration shown in FIG. 3A in which N0.1: 2 lens bodies in “Table 1” are fitted, and the central luminous intensity is low. No. of “Table 1” in which the illumination device of graph a and the central luminous intensity are further reduced. 5: Employs an illuminating device having a light distribution pattern composed only of reflectors and having a graph e.
上記のように、設置する照明環境に合わせて「表1」に示す配光性能を有する照明装置を予め構成し、現場の状況に合わせた照明器具を選択して設置する。また、設置後に照明環境を変更した際には、複数のレンズ体14を用意し、設置された現場でレンズ体を外し、使用する個数、配置場所を適宜選択し、照明の状況をみながら必要な個数のレンズ体を複数の反射体13に対して装着が必要か否かを選択しながら嵌め込むことにより、変更された照明環境に合わせた照明器具を都度現場で構成する。
As described above, the lighting device having the light distribution performance shown in “Table 1” is configured in advance according to the lighting environment to be installed, and the lighting fixtures are selected and installed according to the on-site situation. In addition, when the lighting environment is changed after installation, a plurality of
以上、本実施例によれば、複数のレンズ体14を用意し、複数の反射体13に対して装着するか否かを選択することにより、各種の照明環境に合わせた配光特性を得ることができる。しかも単にレンズ体14を反射体13に嵌め込む簡単な操作で目的とする任意の配光特性を容易に作り出すことができる。さらに、設置後に照明環境を変えた際にも、現場でレンズ体14を着脱して使用個数、配置場所を適宜選択し、照明の状況をみながら変更された照明環境に合わせることができる。また、雰囲気に合わせて都度、配光を変更することもできる。さらに、各種・多様な配光特性を有するバリエーションに富んだ照明器具を提供することができる。
As described above, according to the present embodiment, by providing a plurality of
また、反射体13を凹部12eで構成し、凹部にレンズ体14を嵌め込み装着するように構成したので、レンズ体を確実に支持することができ、安定した光学性能を発揮できると共に、全反射形のレンズを使用することが可能となり、光のロスがなく効率的な照明を行うことができる。
Further, since the
各種の配光性能を有する器具をラインナップする場合に、反射体13と1種類のレンズ体14の金型を構成すればよく、器具毎に欲しい配光性能の種類と同数の反射体やレンズ体の金型を構成する必要が無く、コスト的に有利な照明装置を提供することができる。
When a lineup of instruments having various light distribution performances is provided, the
以上、本実施例において、基体12は、ケース部材12aと回路基板12bで構成したが、図6(a)に示すように、ケース部材を省略して回路基板12bのみで構成してもよい。この場合、回路基板とは別体にPBT等の合成樹脂で構成した「すり鉢状」をなす単独の反射体13´を別個に構成し、回路基板に実装された各LED11にそれぞれ対向させ、シリコーン樹脂等の接着材で固定して支持する。
As described above, in the present embodiment, the
レンズ体14は、全反射形のレンズで構成したが、図6(b)に示すように、外側または内側に凸形状をなす凸レンズ14´で構成し、反射体13の凹部12eに嵌合させずに反射体の光出射部13aに対向して配置し装着するようにしてもよい。また、外側または内側に凸形状のレンズ14´を選択してそれぞれの反射体13に、外側凸と内側凸のレンズを組み合わせ対向させて配置してもよい。
Although the
反射体13の配光角大きくし、レンズ体14の配光角を小さくして構成したが、逆に反射体の配光角を小さくし、レンズ体の配光角を大きくしてもよい。
Although the light distribution angle of the
また、図7に示すように、一般照明用の白熱電球に置き換え可能な発光ダイオードを用いたLED電球30を構成してもよい。
Moreover, as shown in FIG. 7, you may comprise the
すなわち、LED電球30は、本実施例の照明装置10を組み込んだ光源部31と、点灯装置32を収納したカバー部材33と、口金34で構成する。口金34は一般照明用の白熱電球用のソケットに装着可能な、例えばE26形口金で構成する。このLED電球によれば、各種の配光特性を有するLED電球を構成することができ、種々の照明環境に合わせた配光パターンを、電球の交換のみの簡易な操作で実現することが可能となる。
That is, the
本実施例の照明装置10は、反射体の光出射部に半導体発光素子の充電部を覆うための透光性を有するカバー部材を設け、レンズ体をカバー部材に一体に形成したもので、以下図8に従い、その構成を説明する。なお、図8には、実施例1と同一部分には同一の符号を付し、詳細な説明は省略する。
The
図中15は、透明なアクリル樹脂かなるカバー部材で、円盤状をなす基体12におけるケース部材12aの表面側に、6個の反射体13を全て覆う円板形状をなすように構成する。カバー部材15は、中心部に位置する1個の反射体13の光出射部13aに対向する部分に全反射形のレンズ体14を一体に形成する。さらに、カバー部材15は、6個の反射体13の光出射部13aに対向する部分以外は、フロスト加工を施すことにより、5個の反射体および中心のレンズ体の光出射部14bに対向する部分が透明で、その他の部分がフロスト加工により光拡散手段、すなわち、輝度上昇手段15aが施され、その部分の輝度が高くなるように構成する。
In the figure,
レンズ体14は、その反射面における光出射端付近、換言すれば、カバー部材15とレンズ体14の境界部分では傾斜を大きくして傾斜部14eを一体に形成し、レンズ体に入射する光の一部をカバー部材15内に導入し、輝度上昇手段15aが施されている部分の輝度がより高くなるように構成する。
The
上記に構成したカバー部材15は、基体12のケース部材12aの表面側に着脱可能に取り付けられ、必要な配光特性を得るために装着したり、または取り外したりすることができる。なお、実施例1と同様に装着後に接着剤で固着してもよい。
The
上記構成の照明装置10を実施例1と同様に光源部22に組み込んでダウンライトを構成する(図示せず)。すなわち、中心光度が比較的高く、周囲にわたり光度の変化が比較的少ない配光特性を得る場合には、カバー部材15を基体12の表面側に取り付けて中心部の反射体13にレンズ体14を嵌め込み、中心部にレンズ体、その周囲に5個の反射体を等間隔に配置した照明装置を構成する(図8(a))。これにより、実施例1の図4(b)のグラフbに近い配光特性を得ることができる。
The illuminating
また、中心光度が低く、部屋全体を均一な明るさで照明する場合には、カバー部材15を取り外して6個の反射体のみの構成とした照明装置を構成する。これにより、図4(b)のグラフeと略同様の配光特性を得ることができる。
Further, in the case where the central luminous intensity is low and the entire room is illuminated with uniform brightness, the illumination device is configured with only the six reflectors by removing the
この際、カバー部材15には全反射形のレンズ14が一体に形成され、その反射面における光出射端付近に傾斜部14eを一体に形成してあるので、レンズ体に入射する光の一部がカバー部材15内に導入されて、光拡散手段が施されている部分、すなわち、光の出射部以外の部分が輝き輝度が高くなる。これにより光出射部以外の部分の輝度が上がり、全体としてコントラストが低くなり不快なグレアの発生が抑制される。
At this time, the total
因みに、反射体方式の場合、一つの金型で反射面の処理(鏡面、半鏡面、白色など)を変えることにより異なる配光を得ることができる一方、装置の反射面部分のみが光るため不快グレアを生じやすい問題がある。またレンズ体方式の場合、複数のレンズ体を一体成形し、各レンズの光出射部以外の部分をフロスト処理することでレンズ部分以外の輝度を上げて不快グレアを生じにくくすることができるが、基本的に一つの金型で一種類の配光性能しか得ることができないため、複数の配光性能をラインナップする場合、欲しい配光性能の種類と同じ数の金型が必要になる。 Incidentally, in the case of the reflector method, different light distribution can be obtained by changing the processing of the reflecting surface (mirror surface, semi-mirror surface, white color, etc.) with one mold, but it is uncomfortable because only the reflecting surface portion of the device shines. There is a problem that easily causes glare. In the case of the lens body method, a plurality of lens bodies can be integrally molded, and the portions other than the light emitting portion of each lens can be frosted to increase the brightness other than the lens portion, thereby making it difficult to cause discomfort glare. Basically, since only one type of light distribution performance can be obtained with one mold, when the lineup includes a plurality of light distribution performances, the same number of molds as the type of light distribution performance desired are required.
以上、本実施例によれば、レンズ体14を一体に形成したカバー部材15を用意し、カバー部材を着脱することにより、各種の照明環境に合わせた配光特性を得ることができる。しかも単にカバー部材15を着脱する簡単な操作で目的とする任意の配光特性を容易に作り出すことができる。さらに、設置後に照明環境を変えた際にも、現場で照明の状況をみながら変更された照明環境に合わせることができる。また、雰囲気に合わせて都度、配光を変更することもできる。
As described above, according to the present embodiment, by providing the
カバー部材15は、光出射部を透明に形成し、他の部分に輝度上昇手段15aを形成したので、光出射部の周辺部の輝度を上昇させることができ、グレアの発生を抑制することができる。
Since the
各種の配光性能を有する器具をラインナップする場合に、金型の数を抑制しつつ、不快グレアが生じにくい照明装置を提供することができる。 When lineup of appliances having various light distribution performances, it is possible to provide an illuminating device in which the number of molds is suppressed and unpleasant glare is unlikely to occur.
また、光出射部にカバー部材15を有しているので、各LED11を保護し充電部を覆うことができ、安全な照明装置を提供することができる。さらに、カバー部材とレンズ体とが一体に設けられているため、レンズ体が反射体から外れてしまうことがなく、不所望に充電部が露出してしまうことがない。
Moreover, since it has the
以上、本実施例において、レンズ体14を中心部の反射体13に対応する部分に1個形成したが、実施例1の図3に示すように、2個のレンズ体を一体に形成したカバー部材、3個のレンズ体を一体に形成したカバー部材、4個のレンズ体を一体に形成したカバー部材、さらに6個の反射体全てに対応して6個のレンズ体を一体に形成したカバー部材、レンズ体を形成しないカバー部材を、さらにそれぞれ用意し、各カバー部材を取り替えることにより、実施例1の「表1」に示す各種の配光パターンを得るように構成してもよい。
As described above, in the present embodiment, one
カバー部材15は、光出射部を透明に形成し、他の部分に光拡散手段による輝度上昇手段15aを形成したが、特にフロスト処理のような光拡散手段を形成することなく、また光導入のための傾斜部14eを形成せずに構成してもよい。この場合、カバー部材15の光透過率は約90%程度であり、残り10%の光が周囲に漏れることにより、カバー部材15の光出射部以外の部分も光り、輝度を上げることができ、同様にグレアの発生を抑制することができる。
The
その他、本実施例における他の構成、作動、作用効果、変形例等は、実施例1と同様である。 Other configurations, operations, operational effects, modifications, and the like in this embodiment are the same as those in the first embodiment.
本実施例の照明装置10は、反射体およびレンズ体からなる光制御手段を、LEDを実装した回路基板に対して回転可能に構成し、LEDの光軸と反射体およびレンズ体からなる光制御手段の光軸の位置を調整するようにしたもので、以下、本実施例の照明装置を組み込んだダウンライトを示す図9に従い、その構成を説明する。なお、図9には、実施例1および実施例2と同一部分には同一の符号を付し、詳細な説明は省略する。
In the
図中40は、基体12のケース部材12aの内面中心部に一体に軸支された回転軸で、照明装置10を光源部22に組み込んだ際に、仕切り板21bを貫通し、仕切り板に設置されたモーターおよびギヤー等の減速機構からなる駆動部41に連結される。駆動部41のモーターはステッピングモーターで構成して、減速機構により角度1°の間隔で正逆回転するように構成する。
In the figure,
また、ケース部材12aの開口部12cは、回路基板12bに固定せずに緩く嵌合させて支持し、回転軸40に連結された駆動部41により所定角度にわたって、回路基板12bの各LED11を実装した面に対して平行な面内で正逆回転ができるように構成する。
The
図中42は器具本体21の側面に設けられた正転用のプッシュスイッチ、43は逆転用のプッシュスイッチで、それぞれ一回押すことにより角度1°の間隔でモーターが正逆回転する。
In the figure,
上記に構成した照明装置によれば、正転用のプッシュスイッチ42および逆転用のプッシュスイッチ43を押すことにより、LEDの光軸と反射体およびレンズ体からなる光制御手段の光軸の位置を調整することができる。
According to the illumination device configured as described above, the positions of the optical axis of the LED and the optical axis of the light control means including the reflector and the lens body are adjusted by pressing the
すなわち、図10(a)に示すように、LED11の光軸と反射体13およびレンズ体14からなる光制御手段の光軸が略一致した状態で設置された状態から、同図(b)に示すように、角度10°正回転させると、それぞれの光軸がずれて移動し配光を変えることができる。
That is, as shown in FIG. 10 (a), from the state where the optical axis of the
逆に、製造バラツキ等により、同図(b)にようにずれて設置された場合には、角度10°逆転させて同図(a)の状態に戻し調整することができる。 On the contrary, when it is installed with a deviation as shown in FIG. 5B due to manufacturing variations or the like, the angle can be reversed by 10 ° and returned to the state shown in FIG.
以上、本実施例によれば、反射体13およびレンズ体14からなる光制御手段を回転させることにより、ユーザーが要求する仕様用途に応じた配光特性を容易に得ることが可能となる。また、製造バラツキに対しても容易に調整を行うことができる。さらに、回転させることにより連続的に異なる配光を得ることができる。
As described above, according to the present embodiment, it is possible to easily obtain the light distribution characteristic according to the specification application requested by the user by rotating the light control means including the
本実施例において、反射体13およびレンズ体14からなる光制御手段をモーターで回転させるように構成したが、手動で回転させる構成にしてもよい。
In the present embodiment, the light control means including the
反射体およびレンズ体からなる光制御手段を回転させたが、反射体13のみの光制御手段またはレンズ体14のみの光制御手段を回転させるようにしてもよい。また、ケース部材12aを回転させたが、逆に回路基板12b、すなわち、光源部であるLED側を回転させてもよい。さらに、実施例1に示す照明装置10を回転させるようにしたが、実施例2に示すカバー部材15を有する照明装置10を、上記同様にして回転させるようにしてよい。
Although the light control means composed of the reflector and the lens body is rotated, the light control means only for the
その他、本実施例における他の構成、作動、作用効果、変形例等は、実施例1および実施例2と同様である。 Other configurations, operations, operational effects, modifications, and the like in the present embodiment are the same as those in the first and second embodiments.
以上、本発明の好適な実施形態を説明したが、本発明は上述の各実施例に限定されることなく、本発明の要旨を逸脱しない範囲内において、種々の設計変更を行うことができる。 The preferred embodiments of the present invention have been described above, but the present invention is not limited to the above-described embodiments, and various design changes can be made without departing from the scope of the present invention.
10 照明装置
11 半導体発光素子
12 基体
12e 凹部
13 反射体
14 レンズ体
15 カバー部材
15a 輝度上昇手段
DESCRIPTION OF
Claims (3)
半導体発光素子を配置した基体と;
基体に形成され各半導体発光素子に対向して設けられた複数の凹部からなる反射体と;
複数の反射体の凹部に選択して装着されるレンズ体と;
を具備することを特徴とする照明装置。 A plurality of semiconductor light emitting devices;
A substrate on which a semiconductor light emitting element is disposed;
A reflector formed of a plurality of recesses formed on the substrate and facing each semiconductor light emitting element;
A lens body that is selectively mounted in the recesses of the reflectors;
An illumination device comprising:
The lighting device according to claim 1, wherein the translucent cover member has a light emitting portion formed transparently and a brightness increasing means formed in another portion.
Priority Applications (1)
| Application Number | Priority Date | Filing Date | Title |
|---|---|---|---|
| JP2007170211A JP2009009826A (en) | 2007-06-28 | 2007-06-28 | Lighting device |
Applications Claiming Priority (1)
| Application Number | Priority Date | Filing Date | Title |
|---|---|---|---|
| JP2007170211A JP2009009826A (en) | 2007-06-28 | 2007-06-28 | Lighting device |
Publications (1)
| Publication Number | Publication Date |
|---|---|
| JP2009009826A true JP2009009826A (en) | 2009-01-15 |
Family
ID=40324713
Family Applications (1)
| Application Number | Title | Priority Date | Filing Date |
|---|---|---|---|
| JP2007170211A Pending JP2009009826A (en) | 2007-06-28 | 2007-06-28 | Lighting device |
Country Status (1)
| Country | Link |
|---|---|
| JP (1) | JP2009009826A (en) |
Cited By (19)
| Publication number | Priority date | Publication date | Assignee | Title |
|---|---|---|---|---|
| CN101825238A (en) * | 2009-03-05 | 2010-09-08 | 东芝照明技术株式会社 | Lighting equipment |
| WO2010143577A1 (en) * | 2009-06-10 | 2010-12-16 | シャープ株式会社 | Illumination device |
| JP2011003333A (en) * | 2009-06-17 | 2011-01-06 | Panasonic Electric Works Co Ltd | Lighting fixture |
| JP2011040238A (en) * | 2009-08-09 | 2011-02-24 | Jimbo Electric Co Ltd | Led downlight lighting system |
| US7993033B2 (en) | 2008-05-22 | 2011-08-09 | Toshiba Lighting & Technology Corporation | Reflector and lighting apparatus comprising reflector |
| US8042973B2 (en) | 2007-09-05 | 2011-10-25 | Toshiba Lighting & Technology Corporation | Lighting apparatus |
| WO2011155275A1 (en) * | 2010-06-11 | 2011-12-15 | シャープ株式会社 | Illumination device |
| JP2012004128A (en) * | 2011-07-25 | 2012-01-05 | Sharp Corp | Lighting system |
| JP2012014980A (en) * | 2010-07-01 | 2012-01-19 | Mitsubishi Electric Corp | Lighting fixture |
| JP2012022807A (en) * | 2010-07-12 | 2012-02-02 | Mitsubishi Electric Corp | Light-emitting unit, and light-emitting device |
| JP2012094297A (en) * | 2010-10-25 | 2012-05-17 | Panasonic Corp | Lighting fixture |
| JP2013506251A (en) * | 2009-09-25 | 2013-02-21 | オスラム オプト セミコンダクターズ ゲゼルシャフト ミット ベシュレンクテル ハフツング | Semiconductor lighting device |
| JP2013109925A (en) * | 2011-11-18 | 2013-06-06 | Idec Corp | Lens locking structure of lighting device |
| JP2013525953A (en) * | 2010-04-16 | 2013-06-20 | ヴェントゥリニ,ルチラ | Improved lens for LED |
| US8482014B2 (en) | 2008-10-22 | 2013-07-09 | Toshiba Lighting & Technology Corporation | Lighting apparatus |
| JP2013533581A (en) * | 2010-06-08 | 2013-08-22 | クリー インコーポレイテッド | LED bulb |
| US8556458B2 (en) | 2009-06-19 | 2013-10-15 | Toshiba Lighting & Technology Corporation | Power source unit and illumination device |
| EP3010313A1 (en) | 2014-10-16 | 2016-04-20 | Ricoh Company, Limited | Illuminating lamp and illuminating device |
| JP2017152380A (en) * | 2016-02-19 | 2017-08-31 | オスラム ゲーエムベーハーOSRAM GmbH | Retrofit lamp and vehicle headlamp with retrofit lamp |
-
2007
- 2007-06-28 JP JP2007170211A patent/JP2009009826A/en active Pending
Cited By (27)
| Publication number | Priority date | Publication date | Assignee | Title |
|---|---|---|---|---|
| US8079736B2 (en) | 2007-09-05 | 2011-12-20 | Toshiba Lighting & Technology Corporation | Lighting apparatus |
| US8047687B2 (en) | 2007-09-05 | 2011-11-01 | Toshiba Lighting & Technology Corporation | Lighting apparatus |
| US8042973B2 (en) | 2007-09-05 | 2011-10-25 | Toshiba Lighting & Technology Corporation | Lighting apparatus |
| US7993033B2 (en) | 2008-05-22 | 2011-08-09 | Toshiba Lighting & Technology Corporation | Reflector and lighting apparatus comprising reflector |
| US8482014B2 (en) | 2008-10-22 | 2013-07-09 | Toshiba Lighting & Technology Corporation | Lighting apparatus |
| CN101825238B (en) * | 2009-03-05 | 2014-01-01 | 东芝照明技术株式会社 | Lighting equipment |
| CN101825238A (en) * | 2009-03-05 | 2010-09-08 | 东芝照明技术株式会社 | Lighting equipment |
| WO2010143577A1 (en) * | 2009-06-10 | 2010-12-16 | シャープ株式会社 | Illumination device |
| JP2011003333A (en) * | 2009-06-17 | 2011-01-06 | Panasonic Electric Works Co Ltd | Lighting fixture |
| US8556458B2 (en) | 2009-06-19 | 2013-10-15 | Toshiba Lighting & Technology Corporation | Power source unit and illumination device |
| JP2011040238A (en) * | 2009-08-09 | 2011-02-24 | Jimbo Electric Co Ltd | Led downlight lighting system |
| JP2013506251A (en) * | 2009-09-25 | 2013-02-21 | オスラム オプト セミコンダクターズ ゲゼルシャフト ミット ベシュレンクテル ハフツング | Semiconductor lighting device |
| JP2013525953A (en) * | 2010-04-16 | 2013-06-20 | ヴェントゥリニ,ルチラ | Improved lens for LED |
| US10107487B2 (en) | 2010-06-08 | 2018-10-23 | Cree, Inc. | LED light bulbs |
| US9933148B2 (en) | 2010-06-08 | 2018-04-03 | Cree, Inc. | LED light bulbs |
| JP2013533581A (en) * | 2010-06-08 | 2013-08-22 | クリー インコーポレイテッド | LED bulb |
| JP2011258525A (en) * | 2010-06-11 | 2011-12-22 | Sharp Corp | Lighting device |
| CN102933898A (en) * | 2010-06-11 | 2013-02-13 | 夏普株式会社 | Illumination device |
| CN102933898B (en) * | 2010-06-11 | 2015-05-13 | 夏普株式会社 | Illumination device |
| WO2011155275A1 (en) * | 2010-06-11 | 2011-12-15 | シャープ株式会社 | Illumination device |
| JP2012014980A (en) * | 2010-07-01 | 2012-01-19 | Mitsubishi Electric Corp | Lighting fixture |
| JP2012022807A (en) * | 2010-07-12 | 2012-02-02 | Mitsubishi Electric Corp | Light-emitting unit, and light-emitting device |
| JP2012094297A (en) * | 2010-10-25 | 2012-05-17 | Panasonic Corp | Lighting fixture |
| JP2012004128A (en) * | 2011-07-25 | 2012-01-05 | Sharp Corp | Lighting system |
| JP2013109925A (en) * | 2011-11-18 | 2013-06-06 | Idec Corp | Lens locking structure of lighting device |
| EP3010313A1 (en) | 2014-10-16 | 2016-04-20 | Ricoh Company, Limited | Illuminating lamp and illuminating device |
| JP2017152380A (en) * | 2016-02-19 | 2017-08-31 | オスラム ゲーエムベーハーOSRAM GmbH | Retrofit lamp and vehicle headlamp with retrofit lamp |
Similar Documents
| Publication | Publication Date | Title |
|---|---|---|
| JP2009009826A (en) | Lighting device | |
| JP4842387B1 (en) | Lighting device | |
| JP4786750B2 (en) | Lighting device | |
| KR101079269B1 (en) | Round down light using LED | |
| JP4657248B2 (en) | lighting equipment | |
| JP2010262781A (en) | Lamp apparatus and lighting apparatus | |
| EP3097348A1 (en) | Lighting device and luminaire | |
| JP5607471B2 (en) | Light source device and bulb-type lighting device | |
| CN204437993U (en) | Lens and possess the ligthing paraphernalia of lens | |
| JP2013251112A (en) | Lamp device, and lighting fixture | |
| JP2012123907A (en) | Lamp | |
| JP5253552B2 (en) | Lighting device | |
| JP4902006B2 (en) | Lighting device | |
| JP5505623B2 (en) | lighting equipment | |
| JP2011216313A (en) | Luminaire | |
| JP2010073627A (en) | Illumination device and luminaire | |
| JP5800164B2 (en) | lighting equipment | |
| JP6268645B2 (en) | Illumination light source and illumination device | |
| JP5116865B2 (en) | Lighting device | |
| JP5853128B2 (en) | lighting equipment | |
| JP2011210513A (en) | Mini krypton lamp type led bulb | |
| JP5322292B2 (en) | LED unit and lighting apparatus | |
| JP2007179906A (en) | lighting equipment | |
| JP7365639B2 (en) | lighting equipment | |
| JP2008300207A (en) | Lighting device |
