JP2009005767A - Absorbent articles - Google Patents
Absorbent articles Download PDFInfo
- Publication number
- JP2009005767A JP2009005767A JP2007167988A JP2007167988A JP2009005767A JP 2009005767 A JP2009005767 A JP 2009005767A JP 2007167988 A JP2007167988 A JP 2007167988A JP 2007167988 A JP2007167988 A JP 2007167988A JP 2009005767 A JP2009005767 A JP 2009005767A
- Authority
- JP
- Japan
- Prior art keywords
- superabsorbent polymer
- surfactant
- sheet
- weight
- present
- Prior art date
- Legal status (The legal status is an assumption and is not a legal conclusion. Google has not performed a legal analysis and makes no representation as to the accuracy of the status listed.)
- Pending
Links
Images
Landscapes
- Absorbent Articles And Supports Therefor (AREA)
Abstract
【課題】液の吸収速度が速く、スポット吸収性に優れ、液戻り量も少ない吸収性物品を提供すること。
【解決手段】本発明の吸収性物品は、高吸水性ポリマー43を含み、該高吸水性ポリマー100重量部に対して、糖アルキルエーテル及び糖脂肪酸エステルからなる群から選択される一又は二種以上の界面活性剤を1.5〜15重量部含有する。前記界面活性剤は、例えば、高吸水性ポリマー43の表面及び/又は内部に存在する。前記界面活性剤は、高吸水性ポリマーに隣接して存在していても良い。
【選択図】図1To provide an absorbent article having a high liquid absorption rate, excellent spot absorption, and low liquid return.
The absorbent article of the present invention includes a superabsorbent polymer 43, and one or two selected from the group consisting of sugar alkyl ethers and sugar fatty acid esters with respect to 100 parts by weight of the superabsorbent polymer. The above surfactant is contained in an amount of 1.5 to 15 parts by weight. The surfactant is present on the surface and / or inside of the superabsorbent polymer 43, for example. The surfactant may be present adjacent to the superabsorbent polymer.
[Selection] Figure 1
Description
本発明は、吸収性物品に関する。 The present invention relates to an absorbent article.
生理用ナプキン等の吸収性物品においては、肌当接面から吸収体に吸収させた経血等が、加圧等により肌当接面に逆戻りして、べたつくことがある。
べたつきを低減する方法としては、肌当接面を形成する表面シートに凹凸を設けて、肌との接触面積を低減したり、表面シートに嵩高な不織布を用いたりすることが行われている。
また、吸収性物品においては、吸収体の吸収性能を向上させるべく、吸収体に用いる高吸水性ポリマーの改良や、高吸水性ポリマーの吸収体内での保持態様や吸収体の立体構造等の改変等に関する研究も行われている。
しかし、吸収性物品に要求される性能は、年々高まっており、従来の方法では、将来における要求に充分に応えられない恐れがある。
In an absorbent article such as a sanitary napkin, menstrual blood or the like absorbed by the absorbent body from the skin contact surface may return to the skin contact surface due to pressurization or the like and become sticky.
As a method for reducing stickiness, an unevenness is provided on the surface sheet that forms the skin contact surface to reduce the contact area with the skin, or a bulky nonwoven fabric is used for the surface sheet.
Moreover, in absorbent articles, in order to improve the absorption performance of the absorber, improvement of the superabsorbent polymer used in the absorber, modification of the retention mode of the superabsorbent polymer in the absorber, the three-dimensional structure of the absorber, etc. Studies on these are also being conducted.
However, the performance required for the absorbent article is increasing year by year, and there is a possibility that the conventional method cannot sufficiently meet future demands.
特許文献1には、水解性を有する基シートの少なくとも肌と接する面に、2点以上の融点ピーク温度を有する混合物質が塗られている水解性シートが記載されており、該混合物質に含まれる成分の一例としてショ糖エステルが記載されている。しかし、特許文献1に記載の発明においては、肌に接触したときのしっとり感を向上させるために、基シートに前記2点以上の融点ピークを有する混合物質を塗っており、特許文献1には、水解性シートを、吸収性物品における肌当接面以外の部位に用いることに関して何ら記載されていない。 Patent Document 1 describes a water-decomposable sheet in which a mixed material having a melting point peak temperature of two or more points is applied to at least a surface of the base sheet having water-decomposability that is in contact with the skin. A sucrose ester is described as an example of the component. However, in the invention described in Patent Document 1, in order to improve the moist feeling when touching the skin, a mixed material having two or more melting point peaks is applied to the base sheet. No mention is made regarding the use of the water-decomposable sheet at a site other than the skin contact surface in the absorbent article.
本発明の目的は、液の吸収速度が速く、スポット吸収性に優れ、液戻り量も少ない吸収性物品を提供することにある。 An object of the present invention is to provide an absorbent article that has a high liquid absorption rate, is excellent in spot absorbability, and has a low liquid return amount.
本発明は、高吸水性ポリマーを含み、該高吸水性ポリマー100重量部に対して、糖アルキルエーテル及び糖脂肪酸エステルからなる群から選択される一又は二種以上の界面活性剤を1.5〜15重量部含有する吸収性物品を提供することにより前記目的を達成したものである。 The present invention includes a superabsorbent polymer and 1.5 or more surfactants selected from the group consisting of sugar alkyl ethers and sugar fatty acid esters with respect to 100 parts by weight of the superabsorbent polymer. The object is achieved by providing an absorbent article containing -15 parts by weight.
本発明の吸収性物品は、液の吸収速度が速く、スポット吸収性に優れ、液戻り量も少ない。 The absorbent article of the present invention has a high liquid absorption rate, excellent spot absorptivity, and a low liquid return amount.
以下本発明を、その好ましい実施形態に基づき図面を参照しながら説明する。
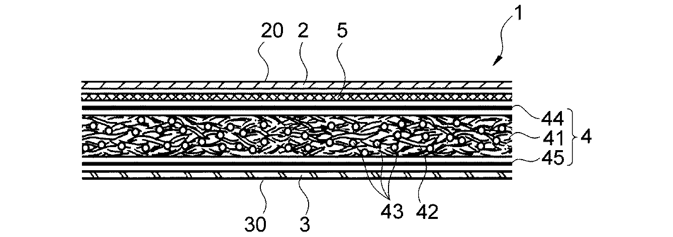
本発明の一実施形態としての生理用ナプキン1(以下、ナプキン1ともいう)は、図1に示すように、肌当接面20を形成する液透過性の表面シート2、液不透過性又は撥水性の防漏シート3、及びこれら両シート2,3間に位置する吸収体4を具備し、該表面シート2と吸収体4との間にセカンドシート(中間層)5を具備する。
吸収体4は、パルプ繊維からなる繊維集合体42及び高吸水性ポリマー43からなる吸収性コア41と、吸収性コア41の肌当接面側を被覆する被覆シート44と、吸収性コア41の非肌当接面側を被覆する被覆シート45とからなる。被覆シート44と被覆シート45とは一枚の連続するシートであっても良いし、別体の2枚のシートであっても良い。
The present invention will be described below based on preferred embodiments with reference to the drawings.
As shown in FIG. 1, a sanitary napkin 1 (hereinafter also referred to as napkin 1) as an embodiment of the present invention includes a liquid-
The
ナプキン1は、肌当接面20以外の部位に、糖アルキルエーテル及び糖脂肪酸エステルからなる群から選択される一又は二種以上の界面活性剤を含有するセルロース系親水性繊維を含んでいる。
具体的には、繊維集合体42及び高吸水性ポリマー43からなる吸収性コア41中に、前記界面活性剤を含んでいる。
The napkin 1 includes cellulosic hydrophilic fibers containing one or more surfactants selected from the group consisting of sugar alkyl ethers and sugar fatty acid esters at sites other than the
Specifically, the surfactant is contained in the
尚、肌当接面20とは、着用時に着用者の肌に当接される面であり、非肌当接面30とは、着用時に着用者の肌とは反対側に向けられる面である。
肌当接面以外の部位とは、肌当接面20を形成しているシート(本実施形態においては表面シート2)の該肌当接面20側の表面を除く趣旨であり、表面シート2が多層構造からなる場合には、表面シート2を構成する層のうち、肌当接面20を形成する最外層以外の層は、肌当接面以外の部位に含まれる。更に、肌当接面20を形成しているシートが単層のシートの場合、該シートの裏面(肌当接面とは反対側の面)は、肌当接面以外の部位に含まれる。
肌当接面20が上記界面活性剤で処理されていると、排泄液が表面シート2の表面上を容易に流れ(横拡散し)、吸収体4の内部に排泄液が入りにくく、モレが発生しやすくなるため好ましくない。
In addition, the
The site other than the skin contact surface is a purpose of excluding the surface on the
When the
本発明で用いる界面活性剤は、糖アルキルエーテル及び/又は糖脂肪酸エステルである。
糖アルキルエーテルは、糖残基及びアルキル基が酸素に単結合した構造を有するものであり、Gを糖残基、R1をアルキル基とすると、一般式G−O−R1で表すことができる。
糖アルキルエーテルとしては、単糖または単糖が2以上縮合した多糖のアルキルエーテルが挙げられる。スポット吸収性の点から、単糖または単糖が2〜30縮合した多糖の炭素数1〜60のアルキルエーテルが好ましく、糖成分が単糖であるアルキルグルコシドがより好ましい。
The surfactant used in the present invention is a sugar alkyl ether and / or a sugar fatty acid ester.
The sugar alkyl ether has a structure in which a sugar residue and an alkyl group are single-bonded to oxygen. When G is a sugar residue and R 1 is an alkyl group, the sugar alkyl ether can be represented by the general formula G—O—R 1. it can.
Examples of sugar alkyl ethers include monosaccharides or polysaccharide alkyl ethers obtained by condensing two or more monosaccharides. From the viewpoint of spot absorbability, monosaccharides or C1-C60 alkyl ethers of polysaccharides condensed with 2 to 30 monosaccharides are preferred, and alkyl glucosides in which the sugar component is a monosaccharide are more preferred.
アルキルグルコシドとしては、アルキル基の炭素数が1〜22のものがスポット吸収性および液吸収速度の点で好ましく、より好ましくはアルキル基の炭素数が4〜18、更に好ましくは8〜14のものである。なお、アルキル基は直鎖でも良いし分岐であっても良い。またアルキル鎖長に分布があっても良いが、上記範囲のアルキル鎖長のものが全アルキル基に対して60wt%以上存在しているのが良い。 As the alkyl glucoside, those having 1 to 22 carbon atoms in the alkyl group are preferable in terms of spot absorbability and liquid absorption rate, more preferably those having 4 to 18 carbon atoms, and more preferably 8 to 14 carbon atoms in the alkyl group. It is. The alkyl group may be linear or branched. The alkyl chain length may be distributed, but those having an alkyl chain length in the above range are preferably present in an amount of 60 wt% or more based on the total alkyl groups.
またアルキルグルコシドのエーテル化度は、グルコース1分子中に存在する5つの水酸基が全てアルキルエーテル化された場合をエーテル化度100%とするならば、
エーテル化度が2〜60%の範囲にある単一化合物又は混合物であることが好ましく、液の吸収速度、スポット吸収性の観点から、より好ましくは5〜45%、更に好ましくは15〜35%である。
Moreover, the etherification degree of alkyl glucoside is, when the etherification degree is 100% when all five hydroxyl groups present in one glucose molecule are alkyl etherified,
It is preferably a single compound or a mixture having a degree of etherification in the range of 2 to 60%, more preferably from 5 to 45%, and still more preferably from 15 to 35%, from the viewpoint of liquid absorption rate and spot absorbability. It is.
糖脂肪酸エステルとしては、糖と飽和脂肪酸又は不飽和脂肪酸とがエステル結合した非イオン系の界面活性剤であり、単糖または単糖が2以上縮合した多糖の脂肪酸エステルが挙げられる。スポット吸収性の観点から、単糖または単糖が2〜30縮合した多糖の炭素数1〜60の脂肪酸エステルが好ましく、2糖類であるショ糖の脂肪酸エステルがより好ましい。 The sugar fatty acid ester is a nonionic surfactant in which a sugar and a saturated fatty acid or an unsaturated fatty acid are ester-bonded, and examples thereof include a fatty acid ester of a polysaccharide in which two or more monosaccharides or monosaccharides are condensed. From the viewpoint of spot absorptivity, a monosaccharide or a fatty acid ester having 1 to 60 carbon atoms of a polysaccharide condensed with 2 to 30 monosaccharides is preferable, and a fatty acid ester of sucrose which is a disaccharide is more preferable.
ショ糖脂肪酸エステルの構成脂肪酸は、一般式RCOOHで表したときのRが、炭素数が1〜30の、アルキル基、アルケニル基、フェニル基又はフェニレン基を有するアルキル基又はアルケニル基であることが、スポット吸収性及び液の吸収速度の点から好ましく、より好ましくは炭素数が4〜22のアルキル基、アルケニル基であり、更に好ましくは炭素数8〜18のアルキル基、アルケニル基である。なおこれらの脂肪酸は直鎖でも分岐であっても良い。またアルキル鎖長とアルケニル鎖長には分布があっても良いが、上記範囲のアルキル鎖長、アルケニル鎖長のものが全アルキル基、アルケニル基に対して60wt%以上存在しているのが良い。
ショ糖脂肪酸エステルのエステル化度(エステル置換度)は、ショ糖1分子中に存在する8個の水酸基が全てエステル化された場合をエステル化度100%とするならば、エステル化度が2〜60%の範囲にある単一化合物または混合物であることが好ましく、より好ましくは液の吸収速度、スポット吸収性の観点から5〜45%、更に好ましくは15〜35%である。
The constituent fatty acid of the sucrose fatty acid ester may be an alkyl group or an alkenyl group having an alkyl group, an alkenyl group, a phenyl group or a phenylene group, wherein R when represented by the general formula RCOOH has 1 to 30 carbon atoms. From the viewpoint of spot absorptivity and liquid absorption rate, more preferred are alkyl groups and alkenyl groups having 4 to 22 carbon atoms, and still more preferred are alkyl groups and alkenyl groups having 8 to 18 carbon atoms. These fatty acids may be linear or branched. The alkyl chain length and the alkenyl chain length may be distributed, but those having an alkyl chain length and alkenyl chain length within the above range should be present in an amount of 60 wt% or more based on all alkyl groups and alkenyl groups. .
The esterification degree (ester substitution degree) of sucrose fatty acid ester is such that the esterification degree is 2 if the esterification degree is 100% when all eight hydroxyl groups present in one molecule of sucrose are esterified. It is preferably a single compound or a mixture in the range of ˜60%, more preferably 5 to 45%, further preferably 15 to 35% from the viewpoint of the liquid absorption rate and spot absorbability.
界面活性剤として用いるアルキルグルコシド及びショ糖脂肪酸エステルは、HLBが4〜20であることが好ましく、液の吸収速度、スポット吸収性を一層向上させる点から、より好ましくは9〜20、更に好ましくは12〜18である。なお本発明で用いるHLBはW.C.Griffinの式(J.soc.cosm.chemists 5,S.249,1954)を用いて算出した値である。
The alkyl glucoside and sucrose fatty acid ester used as the surfactant preferably have an HLB of 4 to 20, more preferably 9 to 20 and even more preferably from the viewpoint of further improving the liquid absorption rate and spot absorbability. 12-18. The HLB used in the present invention is a W.W. C. This is a value calculated using the Griffin equation (J. soc. Cosm.
本実施形態におけるナプキン1は、上述した通り、吸収体4を構成する吸収性コア41中に、上述した特定の界面活性剤を含有している。
本実施形態において、前記界面活性剤は、高吸水性ポリマーの表面及び/又は内部に存在するか、又は前記高吸水性ポリマーに隣接して存在していることが好ましい。
The napkin 1 in this embodiment contains the specific surfactant mentioned above in the
In the present embodiment, the surfactant is preferably present on the surface and / or inside of the superabsorbent polymer or adjacent to the superabsorbent polymer.
界面活性剤が高吸水性ポリマーの表面及び/又は内部に存在する場合について説明する。この場合、前記界面活性剤は、高吸水性ポリマーの粒子の表面の一部又は全体を覆うように存在していることがより好ましい。
界面活性剤の存在位置は、飛行時間型二次イオン質量分析法(TOF−SIMS)にて、高吸水性ポリマーの断面を分析することにより確認できる。
The case where the surfactant is present on the surface and / or inside of the superabsorbent polymer will be described. In this case, the surfactant is more preferably present so as to cover part or all of the surface of the superabsorbent polymer particles.
The presence position of the surfactant can be confirmed by analyzing the cross section of the superabsorbent polymer by time-of-flight secondary ion mass spectrometry (TOF-SIMS).
界面活性剤を高吸水性ポリマーの表面及び内部に存在させる好ましい方法としては、例えば、高吸水性ポリマーの粒子に、前記界面活性剤を含む溶液(例えば水希釈液)を散布し、次いで、乾燥する方法が挙げられる。
界面活性剤を高吸水性ポリマーの内部に存在させる好ましい方法としては、上記方法よって得られた表面及び内部に界面活性剤を含有する高級水性ポリマーの表面を洗浄する方法が挙げられる。
界面活性剤を高吸水性ポリマーの表面に存在させる好ましい方法としては、高吸水性ポリマーの粒子に、水を散布し、次いで固体状の界面活性剤と混合して、乾燥する方法が挙げられる。
界面活性剤を高吸水ポリマーの表面及び/又は内部に存在させる方法は、特に制限されない。
As a preferable method for causing the surfactant to be present on and inside the superabsorbent polymer, for example, a solution containing the surfactant (for example, a water-diluted solution) is sprayed on the superabsorbent polymer particles, followed by drying. The method of doing is mentioned.
As a preferable method for causing the surfactant to be present in the superabsorbent polymer, a method for washing the surface obtained by the above method and the surface of the higher aqueous polymer containing the surfactant in the interior can be mentioned.
As a preferred method for causing the surfactant to be present on the surface of the superabsorbent polymer, there is a method in which water is sprayed on the superabsorbent polymer particles, and then mixed with a solid surfactant and dried.
The method for causing the surfactant to exist on the surface and / or inside the superabsorbent polymer is not particularly limited.
表面及び/又は内部に界面活性剤を有する高吸水性ポリマーは、繊維集合体中に配されて、繊維集合体と共に吸収性コア41を構成していることが好ましい。
高吸水性ポリマーが、繊維集合体に配されている態様としては、繊維集合体の繊維間に3次元に分布している態様、繊維集合体からなる2枚の層間にサンドイッチされている態様等が挙げられる。
吸収性コア41を構成する繊維集合体は、不織布化されていないウエブからなるものであっても、不織布からなるものであっても良い。また、不織布化されていないウエブと不織布との積層体等であっても良い。
It is preferable that the superabsorbent polymer having a surfactant on the surface and / or inside is disposed in the fiber assembly and constitutes the
As a mode in which the superabsorbent polymer is arranged in the fiber assembly, a mode in which the superabsorbent polymer is distributed three-dimensionally between the fibers of the fiber assembly, a mode in which it is sandwiched between two layers of the fiber assembly, etc. Is mentioned.
The fiber assembly constituting the
界面活性剤が高吸水性ポリマーに隣接して存在する場合について説明する。界面活性剤が高吸水ポリマーに隣接する状態とは、界面活性剤単体あるいは界面活性剤を含有した材が高級水性ポリマー近傍に存在する状態をいい、血液が吸収された際に、界面活性剤が高吸水性ポリマーと略同時か若干早く血液と接触するように存在した状態を言う。界面活性剤が高吸水性ポリマーより若干早く血液と接触するようにするため、界面活性剤単体あるいは界面活性剤を含有した材が吸収体コア41内において、高吸水性ポリマーより肌当接面側に存在すると好ましい。界面活性剤単体あるいは界面活性剤を含有した材が高吸水性ポリマーに接触して存在すると更に好ましい。
The case where the surfactant is present adjacent to the superabsorbent polymer will be described. The state where the surfactant is adjacent to the superabsorbent polymer means a state where the surfactant alone or a material containing the surfactant is present in the vicinity of the higher aqueous polymer, and when the blood is absorbed, the surfactant is It means a state that exists in contact with blood almost simultaneously or slightly earlier than the superabsorbent polymer. In order for the surfactant to come into contact with blood slightly earlier than the superabsorbent polymer, the surfactant alone or the material containing the surfactant is in the
界面活性剤を高吸水性ポリマーに隣接して存在させる好ましい方法としては、例えば、固体状の界面活性剤と高吸水性ポリマーの粒子を混合し、ついで繊維集合体からなる2枚の層間に散布する方法や界面活性剤を塗工した繊維集合体に高吸水ポリマーを散布する方法が挙げられるが、特に処理方法は制限されない。 As a preferable method for making the surfactant exist adjacent to the superabsorbent polymer, for example, a solid surfactant and superabsorbent polymer particles are mixed, and then dispersed between two layers of fiber aggregates. And a method of spraying a superabsorbent polymer on a fiber assembly coated with a surfactant, but the treatment method is not particularly limited.
本実施形態において、高吸水性ポリマーと共に吸収性コア41を構成している繊維集合体の構成繊維としては、従来、吸収体に用いられている各種の繊維を特に制限なく用いることができ、例えば、パルプ等のセルロース系親水性繊維、あるいは合成繊維等を用いることができる。また、繊維集合体は、パルプ等のセルロース系親水性繊維と合成繊維の混合物や、セルロース系親水性繊維からなる繊維層と合成繊維からなる繊維層との積層体等からなるものであっても良い。
セルロース系親水性繊維としては、パルプ繊維、コットン、レーヨン、キュプラ、リオセル、麻等が挙げられる。また、合成繊維としては、例えばポリエチレンやポリプロピレン等のポリオレフィン系樹脂、ポリエチレンテレフタレート等のポリエステル系樹脂、ポリアクリル酸やポリメタクリル酸等のアクリル系樹脂、ポリ塩化ビニル等のビニル系樹脂、ナイロンなどのポリアミド系樹脂などを原料とする繊維等が挙げられる。これら各種原料のうち、2種の樹脂の組み合わせからなる複合繊維(芯鞘型複合繊維やサイド・バイ・サイド型複合繊維)を用いることもできる。
In the present embodiment, as the constituent fiber of the fiber assembly that constitutes the
Examples of the cellulosic hydrophilic fiber include pulp fiber, cotton, rayon, cupra, lyocell, hemp and the like. Examples of synthetic fibers include polyolefin resins such as polyethylene and polypropylene, polyester resins such as polyethylene terephthalate, acrylic resins such as polyacrylic acid and polymethacrylic acid, vinyl resins such as polyvinyl chloride, and nylon. Examples thereof include fibers made from polyamide-based resins and the like. Among these various raw materials, a composite fiber (core-sheath type composite fiber or side-by-side type composite fiber) made of a combination of two kinds of resins can be used.
本発明において、界面活性剤の使用量は、吸収性物品(本実施形態においては吸収性コア)に含まれる高吸水性ポリマー100重量部に対して、1.5〜15重量部であり、より好ましくは2.0〜13重量部、更に好ましくは3.0〜10重量部である。
これらの範囲は、本発明の効果がより確実に奏されるようにする観点及び対効果との関係で界面活性剤の無駄を減らす観点等から好ましい。ここでいう、界面活性剤の使用量とは、希釈した溶液等の量ではなく、完成した吸収性物品に残る界面活性剤の量である。尚、高吸水性ポリマーの粒子の表面及び/又は内部に界面活性剤が存在する場合、高吸水性ポリマー100重量部というときの高吸水性ポリマーの重量には、界面活性剤の重量が含まれない。
本実施形態のナプキン1のように、高吸水性ポリマーが吸収性コア41に含まれている場合、該吸収性コア41中の高吸水性ポリマー43の含有量(表面及び/又は内部に界面活性剤が存在する高吸水性ポリマーの場合、高吸水性ポリマーの重量に該界面活性剤の量も含める。)は、繊維集合体100重量部に対して5〜300重量%であることが好ましく、より好ましくは15〜200重量%、更に好ましくは20〜120重量%である。
In the present invention, the amount of the surfactant used is 1.5 to 15 parts by weight with respect to 100 parts by weight of the superabsorbent polymer contained in the absorbent article (the absorbent core in the present embodiment). Preferably it is 2.0-13 weight part, More preferably, it is 3.0-10 weight part.
These ranges are preferable from the viewpoint of ensuring the effect of the present invention more reliably and reducing the waste of the surfactant in relation to the counter effect. The amount of surfactant used here is not the amount of diluted solution or the like, but the amount of surfactant remaining in the completed absorbent article. When a surfactant is present on the surface and / or inside of the superabsorbent polymer particles, the weight of the superabsorbent polymer in the case of 100 parts by weight of the superabsorbent polymer includes the weight of the surfactant. Absent.
When the
本実施形態のナプキン1は、高吸水性ポリマー100重量部に対して、特定の前記界面活性剤を1.5〜15重量部含有するため、吸収速度が速く、スポット吸収性に優れ、液戻り量も少ない。このような効果が得られる理由はまだ完全には解明されていないが、表面シート2上に供給された血液が、高吸水性ポリマーの表面又はその近傍において、界面活性剤と接触し、該血液の粘度及び表面張力が変化することによって、血液が吸収性コアの繊維間により引き込まれやすくなったり、血液が高吸水性ポリマーに吸収されやすい性状に改変されたりしたためと考えられる。
The napkin 1 of the present embodiment contains 1.5 to 15 parts by weight of the specific surfactant with respect to 100 parts by weight of the superabsorbent polymer, so that the absorption rate is fast, the spot absorbability is excellent, and the liquid returns. The amount is also small. The reason why such an effect is obtained has not yet been fully clarified, but the blood supplied on the
本実施形態のナプキン1の各部の形成材料について説明すると、表面シート2及び防漏シート3としては、それぞれ、この種の物品に従来用いられているものを特に制限なく用いることができる。例えば、表面シートとしては、各種製法による不織布、樹脂フィルムに開孔を形成したもの、これらの積層体等を用いることができる。防漏シート3としては、透湿性を有するか又は有さない熱可塑性樹脂のフィルム、撥水性の不織布、又はこれらの積層体等を用いることができる。
被覆シート44、45及びセカンドシート5としては、それぞれ、繊維材料からなるシート、例えば、上述したセルロース系親水性繊維、親水化した合成繊維等の親水性繊維からなる不織布や不織布化されていないウエブ、不織布やウエブの積層体、紙等を用いることができる。被覆シート44は、液透過性であると共に、湿潤強度が高いことが好ましい。
The material for forming each part of the napkin 1 of the present embodiment will be described. As the
Each of the covering
高吸水性ポリマー43としては、この種の物品に従来用いられているものを特に制限なく用いることができるが、自重の20倍以上の液体を吸収でき且つゲル化し得るものが好ましく、例えば、デンプンや架橋カルボキシルメチル化セルロース、アクリル酸又はアクリル酸アルカリ金属塩とその他モノマーとの共重合体等、ポリアクリル酸及びそのアルカリ金属塩(部分又は完全中和物)並びにポリアクリル酸塩グラフト重合体を挙げることができる。特に好ましいのは、ポリアクリル酸アルカリ金属塩(部分又は完全中和物)である。これらの高吸水性ポリマーは、一種を単独で又は二種以上を組み合わせて用いることもできる
As the
以上、本発明の好ましい実施形態について説明したが、本発明の吸収性物品は、上記実施形態に限定されず適宜変更可能である。
例えば、上述したナプキン1は、セカンドシート5及び被覆シート44、45を有するものであったが、これらの一つ又は二以上は省略可能である。
As mentioned above, although preferable embodiment of this invention was described, the absorbent article of this invention is not limited to the said embodiment, It can change suitably.
For example, the napkin 1 described above has the
また、吸収性コア41中の高吸水性ポリマー43は、繊維集合体42の厚み方向における表面シート側、防漏シート側又は中央部付近等に偏倚して存在していても良い。
本発明における吸収性物品は、生理用ナプキンの他、パンティライナー(おりものシート)、失禁パッド、使い捨ておむつ等であっても良い。
Further, the highly water-absorbing
In addition to sanitary napkins, the absorbent article in the present invention may be a panty liner (cage sheet), an incontinence pad, a disposable diaper, or the like.
〔実施例1〕
高吸水性ポリマー(日本触媒(株)製アクアリック CA−4)を水平な台上に薄く拡げ、その状態の高吸水性ポリマーに対して、花王(株)製の界面活性剤(デシルグルコシド、商品名「マイドール10」)の1%水希釈液を噴霧した。
その後、温度80℃、相対湿度3%の送風定温乾燥機内に一晩放置して乾燥して、表面及び内部に界面活性剤が存在する高吸水性ポリマーを得た。界面活性剤の存在位置は、飛行時間型二次イオン質量分析法(TOF−SIMS)にて、高吸水性ポリマーの断面を分析することにより確認した。
そして、この高吸水性ポリマーを、所定寸法(幅75mm、長さ200mm、厚さ1mm)に調整した坪量100g/m2 の解繊パルプ繊維シート(ウエハウザー製NB416)2枚の層間に、合計解繊パルプ繊維100重量部に対して、60重量部散布し、吸収体コアを得た。この吸収体コアの肌当接面及び非肌当接面を、坪量20g/m2の湿式パルプシート(ウエハウザー製NB416)で被覆することで吸収体を得た。
このようにして得た吸収体と、市販の生理用ナプキン(商品名「ロリエ Superスリムガード しっかり昼用」、花王(株)製)に使用されている、表面シートとセカンドシート、バックシート(防漏シート)を用いて生理用ナプキンを作成した。
得られた生理用ナプキンは、高吸水性ポリマー100重量部に対して、前記界面活性剤を2.0重量部含有するものであった。
尚、高吸水性ポリマー100重量部に対する界面活性剤の含有量は、界面活性剤処理前後の重量変化を測定することにより算出した。
[Example 1]
A superabsorbent polymer (Aquaric CA-4 manufactured by Nippon Shokubai Co., Ltd.) is spread thinly on a horizontal base, and the surfactant (decylglucoside, manufactured by Kao Co., Ltd.) is used against the superabsorbent polymer in that state. A 1% water dilution of the trade name “Mydoll 10”) was sprayed.
Then, it was left to stand overnight in a blast constant temperature dryer having a temperature of 80 ° C. and a relative humidity of 3% to obtain a superabsorbent polymer having a surface and an internal surfactant. The presence position of the surfactant was confirmed by analyzing the cross section of the superabsorbent polymer by time-of-flight secondary ion mass spectrometry (TOF-SIMS).
And this superabsorbent polymer is totaled between two layers of defibrated pulp fiber sheet (NB416 manufactured by Wafer User) having a basis weight of 100 g / m 2 adjusted to predetermined dimensions (width 75 mm, length 200 mm, thickness 1 mm). With respect to 100 parts by weight of defibrated pulp fiber, 60 parts by weight was dispersed to obtain an absorbent core. The absorbent core was obtained by covering the skin contact surface and the non-skin contact surface of the absorbent core with a wet pulp sheet (NB416 manufactured by Wafer User) having a basis weight of 20 g / m 2 .
The surface sheet, the second sheet, and the back sheet (prevention prevention) used in the absorbent body thus obtained and a commercially available sanitary napkin (trade name “Laurier Super Slim Guard for Daytime”, manufactured by Kao Corporation). A sanitary napkin was prepared using a leakage sheet.
The obtained sanitary napkin contained 2.0 parts by weight of the surfactant with respect to 100 parts by weight of the superabsorbent polymer.
The surfactant content relative to 100 parts by weight of the superabsorbent polymer was calculated by measuring the weight change before and after the surfactant treatment.
〔実施例2〜17〕
実施例1と同様の手法で、表1に示す種類の界面活性剤を表1に示す付着量となるように付着させた。それ以外は、実施例1と同様にして生理用ナプキンを作成した。
[Examples 2 to 17]
In the same manner as in Example 1, the surfactants of the type shown in Table 1 were adhered so as to have the adhesion amount shown in Table 1. Otherwise, a sanitary napkin was prepared in the same manner as in Example 1.
〔実施例18〕
花王(株)製の界面活性剤(デシルグルコシド、商品名「マイドール10」)をフリーズドライすることで、固体状の界面活性剤を得た。
高吸水性ポリマー(日本触媒(株)製アクアリック CA−4)と上記固形状の界面活性剤を高吸水ポリマー100重量部に対して、2.0重量部混合した。所定寸法(幅75mm、長さ200mm、厚さ1mm)に調整した坪量100g/m2 の解繊パルプ繊維シート(ウエハウザー製NB416)2枚の層間に上記高吸水ポリマーと固形状界面活性剤混合物を、高吸水ポリマー量が合計解繊パルプ繊維100重量部に対して、60重量部になるように散布し、吸収体コアを得た。この吸収体コアを坪量20g/m2の湿式パルプシート(ウエハウザー製NB416)で肌当接面及び非肌当接面を被覆することで吸収体を得た。
このようにして得た吸収体と、市販の生理用ナプキン(商品名「ロリエ Superスリムガード しっかり昼用」、花王(株)製)に使用されている、表面シートとセカンドシート、バックシート(防漏シート)を用いて生理用ナプキンを作成した。
Example 18
A surfactant (decyl glucoside, trade name “Mydol 10”) manufactured by Kao Corporation was freeze-dried to obtain a solid surfactant.
A superabsorbent polymer (Aqualic CA-4 manufactured by Nippon Shokubai Co., Ltd.) and the solid surfactant were mixed in an amount of 2.0 parts by weight with respect to 100 parts by weight of the superabsorbent polymer. A mixture of the superabsorbent polymer and the solid surfactant between two layers of a defibrated pulp fiber sheet (NB416 manufactured by Wafer User) having a basis weight of 100 g / m 2 adjusted to a predetermined dimension (width 75 mm, length 200 mm, thickness 1 mm). Was dispersed so that the amount of the superabsorbent polymer was 60 parts by weight with respect to 100 parts by weight of the total defibrated pulp fiber to obtain an absorbent core. The absorbent core was obtained by covering the skin contact surface and the non-skin contact surface with a wet pulp sheet having a basis weight of 20 g / m 2 (NB416 manufactured by Wafer User).
The surface sheet, the second sheet, and the back sheet (prevention prevention) used in the absorbent body thus obtained and a commercially available sanitary napkin (trade name “Laurier Super Slim Guard for Daytime”, manufactured by Kao Corporation). A sanitary napkin was prepared using a leakage sheet.
〔実施例19〜20〕
実施例18と同様の手法で、表1に示す種類の界面活性剤を表1に示す量となるように混合させた。それ以外は、実施例18と同様にして生理用ナプキンを作成した。
[Examples 19 to 20]
In the same manner as in Example 18, surfactants of the type shown in Table 1 were mixed so as to have the amounts shown in Table 1. Otherwise, a sanitary napkin was prepared in the same manner as in Example 18.
〔比較例1〕
実施例1において、マイドール10を噴霧しない以外は同一の操作を行い、生理用ナプキンを得た。
〔比較例2〕
実施例1と同様の手法で、表1に示す種類の界面活性剤を表1に示す付着量となるように付着させた。それ以外は、実施例1と同様にして生理用ナプキンを作成した。
[Comparative Example 1]
In Example 1, the same operation was performed except not spraying Mydoll 10, and the sanitary napkin was obtained.
[Comparative Example 2]
In the same manner as in Example 1, the surfactants of the type shown in Table 1 were adhered so as to have the adhesion amount shown in Table 1. Otherwise, a sanitary napkin was prepared in the same manner as in Example 1.
〔評価〕
〔吸収速度、スポット吸収性、液戻り量の評価〕
実施例及び比較例の各生理用ナプキンについて、以下に示す方法により、吸収速度、スポット吸収性、及び液戻り量の評価を行った。評価は、吸収速度、液広がり面積及び液戻り量を測定し、各測定値を、後述する評価基準により幾つかの区分に分類して示した。評価結果を表1に示した。
生理用ナプキンを水平に置き、直径1cmの注入口のついたアクリル板と重りを載せて、ナプキンに5.0g/cm2(490Pa)圧力がかかるようにした。次いで、注入口から脱繊維馬血(日本バイオテスト(株)製)6gを約1秒で注入し、脱繊維馬血が全て吸収される時間を測定し、吸収速度を求めた。注入後、3分間その状態を保持した。
次いで、アクリル板と重りを外し、液広がり面積を測定し、スポット吸収性を判断した。液広がり面積の測定は、後述する。
次いで、生理用ナプキンの肌当接面上に、7cm×10cmで坪量30g/m2の吸収紙(市販のティッシュペーパー)を10枚重ねたもの(2枚重ねのティッシュペーパー5組)を載せた。更にその上に圧力が6.6×103Paになるように重りを載せて2分間加圧した。吸収紙を載せて加圧するのは、液注入後、4分以内に行うようにする。加圧後、吸収紙10枚を取り出し、加圧前後の吸収紙の重さを測定して、吸収紙に吸収された血液量を求めた。この値を、生理用ナプキンから戻った血液の液戻り量とした。
[Evaluation]
[Evaluation of absorption rate, spot absorbency, and liquid return amount]
About each sanitary napkin of an Example and a comparative example, the rate of absorption, spot absorptivity, and liquid return amount were evaluated by the method shown below. In the evaluation, the absorption rate, the liquid spreading area and the liquid return amount were measured, and each measured value was classified into several categories according to the evaluation criteria described later. The evaluation results are shown in Table 1.
A sanitary napkin was placed horizontally, and an acrylic plate with a 1 cm diameter injection port and a weight were placed thereon so that 5.0 g / cm 2 (490 Pa) pressure was applied to the napkin. Next, 6 g of defibrinated horse blood (manufactured by Nippon Biotest Co., Ltd.) was injected from the injection port in about 1 second, and the time for which all of the defibrinated horse blood was absorbed was measured to determine the absorption rate. The state was maintained for 3 minutes after injection.
Next, the acrylic plate and the weight were removed, the liquid spreading area was measured, and spot absorptivity was judged. The measurement of the liquid spreading area will be described later.
Then, 10 sheets of absorbent paper (commercially available tissue paper) with a basis weight of 30 g / m 2 and a stack of 10 sheets (5 pairs of 2 sheets of tissue paper) are placed on the skin contact surface of the sanitary napkin. It was. Further, a weight was placed thereon so that the pressure was 6.6 × 10 3 Pa, and pressure was applied for 2 minutes. The pressure is applied on the absorbent paper within 4 minutes after the liquid injection. After pressurization, 10 sheets of absorbent paper were taken out and the weight of the absorbent paper before and after pressurization was measured to determine the amount of blood absorbed by the absorbent paper. This value was defined as the amount of blood returned from the sanitary napkin.
〔液広がり面積の測定方法〕
光源〔サンライト SL−230K2;LPL(株)社製〕、スタンド〔コピースタンドCS−5;LPL(株)社製〕、レンズ〔24mm/F2.8Dニッコールレンズ〕、CCDカメラ〔(HV−37;日立電子(株)社製)Fマウントによるレンズとの接続〕及びビデオボード〔スペクトラ3200;カノープス(株)社製〕を用いて計測する。計測にあたっては、キャリブレーション操作により表示される大きさと画素との相関を取り、面積を測定可能とする必要がある。
次いで、測定対象の吸収体コアの液広がりの画像を取り込む。取り込まれた画像をNEXUS社製の画像解析ソフトNEW QUBE(ver.4.21)によって液広がり部分を二値化処理する。二値化処理された画像から面積を求めこれを液広がり面積とする。
[Measurement method of liquid spreading area]
Light source [Sunlight SL-230K2; manufactured by LPL Co., Ltd.], stand [Copy stand CS-5; manufactured by LPL Co., Ltd.], lens [24 mm / F2.8D Nikkor lens], CCD camera [(HV-37 Connection with lens by F-mount) and a video board [Spectra 3200; manufactured by Canopus Co., Ltd.]. In the measurement, it is necessary to obtain a correlation between the size displayed by the calibration operation and the pixel so that the area can be measured.
Next, an image of the liquid spread of the absorber core to be measured is captured. The captured image is binarized by the image analysis software NEW QUEBE (ver. 4.21) manufactured by NEXUS. An area is obtained from the binarized image and is defined as a liquid spreading area.
〔液広がり面積の測定方法〕
光源〔サンライト SL−230K2;LPL(株)社製〕、スタンド〔コピースタンドCS−5;LPL(株)社製〕、レンズ〔24mm/F2.8Dニッコールレンズ〕、CCDカメラ〔(HV−37;日立電子(株)社製)Fマウントによるレンズとの接続〕及びビデオボード〔スペクトラ3200;カノープス(株)社製〕を用いて計測する。計測にあたっては、キャリブレーション操作により表示される大きさと画素との相関を取り、面積を測定可能とする必要がある。
次いで、測定対象の吸収体コアの液広がりの画像を取り込む。取り込まれた画像をNEXUS社製の画像解析ソフトNEW QUBE(ver.4.21)によって液広がり部分を二値化処理する。二値化処理された画像から面積を求めこれを拡散面積とする。
[Measurement method of liquid spreading area]
Light source [Sunlight SL-230K2; manufactured by LPL Co., Ltd.], stand [Copy stand CS-5; manufactured by LPL Co., Ltd.], lens [24 mm / F2.8D Nikkor lens], CCD camera [(HV-37 Connection with lens by F-mount) and a video board [Spectra 3200; manufactured by Canopus Co., Ltd.]. In the measurement, it is necessary to obtain a correlation between the size displayed by the calibration operation and the pixel so that the area can be measured.
Next, an image of the liquid spread of the absorber core to be measured is captured. The captured image is binarized by the image analysis software NEW QUEBE (ver. 4.21) manufactured by NEXUS. An area is obtained from the binarized image and is defined as a diffusion area.
〔評価基準〕
1.吸収速度
◎:0.2g/秒以上
○:0.17g/秒以上0.2g/秒未満
○△:0.14g/秒以上0.17g/秒未満
△:0.1g/秒以上0.14g/秒未満
×:0.1g/秒未満1.吸収速度
〔Evaluation criteria〕
1. Absorption rate A: 0.2 g / second or more ○: 0.17 g / second or more and less than 0.2 g / second ○ Δ: 0.14 g / second or more and less than 0.17 g / second Δ: 0.1 g / second or more and 0.14 g Less than / sec. X: Less than 0.1 g / sec. Absorption rate
2.スポット吸収性
◎:液広がり面積が27cm2 未満
○:液広がり面積が27cm2 以上30cm2 未満
○△:液広がり面積が30cm2 以上32cm2 未満
△:液広がり面積が32cm2 以上35cm2 未満
×:液広がり面積が35cm2 以上
2. Spot absorptivity ◎: Liquid spreading area is less than 27 cm 2 ○: Liquid spreading area is 27 cm 2 or more and less than 30 cm 2 ○ △: Liquid spreading area is 30 cm 2 or more and less than 32 cm 2 Δ: Liquid spreading area is 32 cm 2 or more and less than 35 cm 2 × : Liquid spreading area is 35cm 2 or more
3.液戻り量
◎:0.9g未満
○:0.9g以上1.0g未満
○△:1.0g以上1.1g未満
△:1.1g以上1.2g未満
×:1.2g以上
3. Liquid return amount ◎: Less than 0.9 g ○: 0.9 g or more and less than 1.0 g ○ △: 1.0 g or more and less than 1.1 g △: 1.1 g or more and less than 1.2 g ×: 1.2 g or more
表1から判るように、実施例の生理用ナプキンは、吸収速度、液戻り量及びスポット吸収性が何れも良好である。 As can be seen from Table 1, the sanitary napkins of the examples all have good absorption speed, liquid return amount, and spot absorbability.
1 生理用ナプキン(吸収性物品)
2 表面シート
3 防漏シート
4 吸収体
41 吸収性コア
42 繊維集合体
43 高吸水性ポリマー
44,45 吸収紙(被覆シート)
5 セカンドシート(中間層)
20 肌当接面
30 非肌当接面
1 Sanitary napkin (absorbent article)
2
5 Second sheet (intermediate layer)
20
Claims (4)
Priority Applications (1)
| Application Number | Priority Date | Filing Date | Title |
|---|---|---|---|
| JP2007167988A JP2009005767A (en) | 2007-06-26 | 2007-06-26 | Absorbent articles |
Applications Claiming Priority (1)
| Application Number | Priority Date | Filing Date | Title |
|---|---|---|---|
| JP2007167988A JP2009005767A (en) | 2007-06-26 | 2007-06-26 | Absorbent articles |
Publications (1)
| Publication Number | Publication Date |
|---|---|
| JP2009005767A true JP2009005767A (en) | 2009-01-15 |
Family
ID=40321503
Family Applications (1)
| Application Number | Title | Priority Date | Filing Date |
|---|---|---|---|
| JP2007167988A Pending JP2009005767A (en) | 2007-06-26 | 2007-06-26 | Absorbent articles |
Country Status (1)
| Country | Link |
|---|---|
| JP (1) | JP2009005767A (en) |
Cited By (10)
| Publication number | Priority date | Publication date | Assignee | Title |
|---|---|---|---|---|
| JP2011246855A (en) * | 2010-05-28 | 2011-12-08 | Jex Inc | Laminated sheet material as water-absorbing layer, used for sweat-absorbing pad |
| WO2013129236A1 (en) * | 2012-02-29 | 2013-09-06 | ユニ・チャーム株式会社 | Absorbent article |
| US9301885B2 (en) | 2011-04-28 | 2016-04-05 | Unicharm Corporation | Absorbent article |
| US9375365B2 (en) | 2012-02-29 | 2016-06-28 | Unicharm Corporation | Absorbent article |
| US9387135B2 (en) | 2012-02-29 | 2016-07-12 | Unicharm Corporation | Absorbent article |
| US9498387B2 (en) | 2012-02-29 | 2016-11-22 | Unicharm Corporation | Absorbent article having bent sections |
| US9770526B2 (en) | 2011-09-30 | 2017-09-26 | Unicharm Corporation | Absorbent article |
| US10278873B2 (en) | 2011-12-28 | 2019-05-07 | Unicharm Corporation | Absorbent article having a domed section and method of manufacturing same |
| US10322037B2 (en) | 2012-02-29 | 2019-06-18 | Unicharm Corporation | Absorbent article |
| US10543132B2 (en) | 2011-03-31 | 2020-01-28 | Unicharm Corporation | Absorbent article with blood modifying agent |
Citations (3)
| Publication number | Priority date | Publication date | Assignee | Title |
|---|---|---|---|---|
| JP2006193645A (en) * | 2005-01-14 | 2006-07-27 | Dainippon Ink & Chem Inc | Method for producing water absorbent resin |
| JP2007125375A (en) * | 2005-10-07 | 2007-05-24 | Kao Corp | Absorbent articles |
| JP2007514833A (en) * | 2003-12-19 | 2007-06-07 | ストックハウゼン インク | Superabsorbent polymer with high water absorption |
-
2007
- 2007-06-26 JP JP2007167988A patent/JP2009005767A/en active Pending
Patent Citations (3)
| Publication number | Priority date | Publication date | Assignee | Title |
|---|---|---|---|---|
| JP2007514833A (en) * | 2003-12-19 | 2007-06-07 | ストックハウゼン インク | Superabsorbent polymer with high water absorption |
| JP2006193645A (en) * | 2005-01-14 | 2006-07-27 | Dainippon Ink & Chem Inc | Method for producing water absorbent resin |
| JP2007125375A (en) * | 2005-10-07 | 2007-05-24 | Kao Corp | Absorbent articles |
Cited By (17)
| Publication number | Priority date | Publication date | Assignee | Title |
|---|---|---|---|---|
| JP2011246855A (en) * | 2010-05-28 | 2011-12-08 | Jex Inc | Laminated sheet material as water-absorbing layer, used for sweat-absorbing pad |
| US10543132B2 (en) | 2011-03-31 | 2020-01-28 | Unicharm Corporation | Absorbent article with blood modifying agent |
| US9301885B2 (en) | 2011-04-28 | 2016-04-05 | Unicharm Corporation | Absorbent article |
| US9770526B2 (en) | 2011-09-30 | 2017-09-26 | Unicharm Corporation | Absorbent article |
| US10278873B2 (en) | 2011-12-28 | 2019-05-07 | Unicharm Corporation | Absorbent article having a domed section and method of manufacturing same |
| CN104144664B (en) * | 2012-02-29 | 2015-12-09 | 尤妮佳股份有限公司 | Absorbent article |
| US9375365B2 (en) | 2012-02-29 | 2016-06-28 | Unicharm Corporation | Absorbent article |
| US9387135B2 (en) | 2012-02-29 | 2016-07-12 | Unicharm Corporation | Absorbent article |
| US9498387B2 (en) | 2012-02-29 | 2016-11-22 | Unicharm Corporation | Absorbent article having bent sections |
| TWI573577B (en) * | 2012-02-29 | 2017-03-11 | 優你 嬌美股份有限公司 | Absorbent items |
| CN104144664A (en) * | 2012-02-29 | 2014-11-12 | 尤妮佳股份有限公司 | Absorbent article |
| US9775751B2 (en) | 2012-02-29 | 2017-10-03 | Unicharm Corporation | Absorbent article |
| JP2013179982A (en) * | 2012-02-29 | 2013-09-12 | Unicharm Corp | Absorbent article |
| US10322037B2 (en) | 2012-02-29 | 2019-06-18 | Unicharm Corporation | Absorbent article |
| WO2013129236A1 (en) * | 2012-02-29 | 2013-09-06 | ユニ・チャーム株式会社 | Absorbent article |
| EA034433B1 (en) * | 2012-02-29 | 2020-02-07 | Юничарм Корпорейшн | Absorbent article |
| US10772770B2 (en) | 2012-02-29 | 2020-09-15 | Unicharm Corporation | Absorbent article |
Similar Documents
| Publication | Publication Date | Title |
|---|---|---|
| JP4986673B2 (en) | Absorbent articles | |
| JP5021380B2 (en) | Absorbent articles | |
| TWI425958B (en) | Absorbent items | |
| JP2009005767A (en) | Absorbent articles | |
| CN104661629B (en) | Absorbent commodity | |
| JP5868110B2 (en) | Absorbent articles | |
| KR101693953B1 (en) | Absorbent articles with decolorizing structures | |
| CN105208991B (en) | Spun lacing method fibre structure | |
| CN104519844B (en) | absorbent article | |
| CN104822349B (en) | absorbent article | |
| CN105307611B (en) | absorbent articles | |
| CN104470481B (en) | Absorbent commodity | |
| CN104394816B9 (en) | Absorbent article | |
| WO2014112590A1 (en) | Absorbent article | |
| CN104334135A (en) | Absorbent and absorbent article provided therewith | |
| JP2010142367A (en) | Absorbent article | |
| CN105228569B (en) | Absorbent commodity | |
| JP2005211135A (en) | Absorbent articles | |
| JP2015027342A (en) | Absorbent articles | |
| CN1852692B (en) | absorbent article | |
| JP4601601B2 (en) | Absorbent articles | |
| JP4829846B2 (en) | Absorbent sheet | |
| JP2020103608A (en) | Absorbent article | |
| JP2000333991A (en) | Absorbent articles | |
| JP2014091779A (en) | Surfactant for treating absorber |
Legal Events
| Date | Code | Title | Description |
|---|---|---|---|
| A621 | Written request for application examination |
Free format text: JAPANESE INTERMEDIATE CODE: A621 Effective date: 20100323 |
|
| A977 | Report on retrieval |
Free format text: JAPANESE INTERMEDIATE CODE: A971007 Effective date: 20110922 |
|
| A131 | Notification of reasons for refusal |
Free format text: JAPANESE INTERMEDIATE CODE: A131 Effective date: 20110927 |
|
| A521 | Written amendment |
Free format text: JAPANESE INTERMEDIATE CODE: A523 Effective date: 20111122 |
|
| A02 | Decision of refusal |
Free format text: JAPANESE INTERMEDIATE CODE: A02 Effective date: 20120327 |
