[go: up one dir, main page]

JP2007222642A - Capsule type medical device - Google Patents

Capsule type medical device Download PDF

Info

Publication number
JP2007222642A
JP2007222642A JP2007062652A JP2007062652A JP2007222642A JP 2007222642 A JP2007222642 A JP 2007222642A JP 2007062652 A JP2007062652 A JP 2007062652A JP 2007062652 A JP2007062652 A JP 2007062652A JP 2007222642 A JP2007222642 A JP 2007222642A
Authority
JP
Japan
Prior art keywords
capsule
magnet
medical device
capsule endoscope
unit
Prior art date
Legal status (The legal status is an assumption and is not a legal conclusion. Google has not performed a legal analysis and makes no representation as to the accuracy of the status listed.)
Granted
Application number
JP2007062652A
Other languages
Japanese (ja)
Other versions
JP4282726B2 (en
JP2007222642A5 (en
Inventor
Hironobu Takizawa
寛伸 瀧澤
Akio Uchiyama
昭夫 内山
Takeshi Yokoi
武司 横井
Hideyuki Adachi
英之 安達
Masatoshi Homitsu
政敏 穂満
Hidetake Segawa
英建 瀬川
Current Assignee (The listed assignees may be inaccurate. Google has not performed a legal analysis and makes no representation or warranty as to the accuracy of the list.)
Olympus Corp
Original Assignee
Olympus Corp
Priority date (The priority date is an assumption and is not a legal conclusion. Google has not performed a legal analysis and makes no representation as to the accuracy of the date listed.)
Filing date
Publication date
Application filed by Olympus Corp filed Critical Olympus Corp
Priority to JP2007062652A priority Critical patent/JP4282726B2/en
Publication of JP2007222642A publication Critical patent/JP2007222642A/en
Publication of JP2007222642A5 publication Critical patent/JP2007222642A5/ja
Application granted granted Critical
Publication of JP4282726B2 publication Critical patent/JP4282726B2/en
Anticipated expiration legal-status Critical
Expired - Fee Related legal-status Critical Current

Links

Images

Classifications

    • AHUMAN NECESSITIES
    • A61MEDICAL OR VETERINARY SCIENCE; HYGIENE
    • A61BDIAGNOSIS; SURGERY; IDENTIFICATION
    • A61B1/00Instruments for performing medical examinations of the interior of cavities or tubes of the body by visual or photographical inspection, e.g. endoscopes; Illuminating arrangements therefor
    • A61B1/04Instruments for performing medical examinations of the interior of cavities or tubes of the body by visual or photographical inspection, e.g. endoscopes; Illuminating arrangements therefor combined with photographic or television appliances
    • A61B1/041Capsule endoscopes for imaging
    • AHUMAN NECESSITIES
    • A61MEDICAL OR VETERINARY SCIENCE; HYGIENE
    • A61BDIAGNOSIS; SURGERY; IDENTIFICATION
    • A61B1/00Instruments for performing medical examinations of the interior of cavities or tubes of the body by visual or photographical inspection, e.g. endoscopes; Illuminating arrangements therefor
    • A61B1/00147Holding or positioning arrangements
    • A61B1/00158Holding or positioning arrangements using magnetic field
    • AHUMAN NECESSITIES
    • A61MEDICAL OR VETERINARY SCIENCE; HYGIENE
    • A61BDIAGNOSIS; SURGERY; IDENTIFICATION
    • A61B34/00Computer-aided surgery; Manipulators or robots specially adapted for use in surgery
    • A61B34/70Manipulators specially adapted for use in surgery
    • A61B34/73Manipulators for magnetic surgery

Landscapes

  • Health & Medical Sciences (AREA)
  • Life Sciences & Earth Sciences (AREA)
  • Surgery (AREA)
  • Biomedical Technology (AREA)
  • Medical Informatics (AREA)
  • Optics & Photonics (AREA)
  • Pathology (AREA)
  • Radiology & Medical Imaging (AREA)
  • Biophysics (AREA)
  • Engineering & Computer Science (AREA)
  • Physics & Mathematics (AREA)
  • Heart & Thoracic Surgery (AREA)
  • Nuclear Medicine, Radiotherapy & Molecular Imaging (AREA)
  • Molecular Biology (AREA)
  • Animal Behavior & Ethology (AREA)
  • General Health & Medical Sciences (AREA)
  • Public Health (AREA)
  • Veterinary Medicine (AREA)
  • Measurement Of The Respiration, Hearing Ability, Form, And Blood Characteristics Of Living Organisms (AREA)
  • Medical Preparation Storing Or Oral Administration Devices (AREA)
  • Endoscopes (AREA)

Abstract

<P>PROBLEM TO BE SOLVED: To provide a capsule type medical device capable of increasing the moving speed. <P>SOLUTION: The capsule type medical device is for the examination, therapy or treatment in the body cavity of a human or animal. The capsule type medical device is characterized by a capsule body with the specific gravity almost equivalent to that of a specific liquid (e.g. an irrigating liquid for the large intestine examination). <P>COPYRIGHT: (C)2007,JPO&INPIT

Description

本発明は生体内、例えば生体の管路内を通過させて、光学的検査等の医療行為を行うカプセル型医療装置に関する。   The present invention relates to a capsule medical device that passes through a living body, for example, a conduit of a living body, and performs a medical action such as optical examination.

近年、内視鏡は医療用分野及び工業用分野で広く採用されるようになった。また、最近、内視鏡における挿入部を必要としないで、カプセル形状にしたカプセル型内視鏡を患者が飲み込むことにより、挿入部による挿入の苦痛を軽減できるようにしたものが医療用分野で使用される状況になった。   In recent years, endoscopes have been widely adopted in the medical field and the industrial field. In recent years, the medical field has been able to reduce the pain of insertion due to insertion by a patient swallowing a capsule-type capsule endoscope without the need for an insertion part in an endoscope. The situation is now in use.

例えば、特開2001−95756号に開示された従来例では、カプセル型内視鏡の外側から操作できるようにした電源スイッチを設けている。   For example, in the conventional example disclosed in Japanese Patent Application Laid-Open No. 2001-95756, a power switch that can be operated from the outside of the capsule endoscope is provided.

従来例では腸の蠕動運動によってカプセル型内視鏡を移動させるものがあったが、移動に時間がかかり、そのために検査時間が長くなる問題があった。   In the conventional example, the capsule endoscope is moved by peristaltic movement of the intestine. However, it takes time to move, and there is a problem that the inspection time becomes long.

本発明は、上述した点に鑑みてなされたもので、移動速度を速くすることができるカプセル型医療装置を提供することを目的とする。   The present invention has been made in view of the above-described points, and an object thereof is to provide a capsule medical device that can increase the moving speed.

本発明の第1のカプセル型医療装置は、人または動物の体腔内において検査、治療または処置を行うカプセル型医療装置において、比重が特定の液体と略同比重であるカプセル本体を具備したことを特徴とする。   The first capsule medical device of the present invention is a capsule medical device that performs inspection, treatment, or treatment in the body cavity of a human or animal, and includes a capsule body having a specific gravity approximately equal to that of a specific liquid. Features.

本発明の第2のカプセル型医療装置は、人または動物の体腔内において検査、治療または処置を行うカプセル型医療装置において、カプセル本体と、前記カプセル本体の内周部または外周部に配設された比重調整手段と、を具備し、前記カプセル本体は、前記比重調整手段が配設された状態において当該カプセル本体の比重が特定の液体と略同比重になることを特徴とする。   A second capsule medical device according to the present invention is a capsule medical device that performs inspection, treatment, or treatment in a body cavity of a human or animal, and is disposed on a capsule body and an inner peripheral portion or an outer peripheral portion of the capsule main body. Specific gravity adjusting means, and the capsule body is characterized in that the specific gravity of the capsule body is substantially the same as that of the specific liquid in a state where the specific gravity adjusting means is disposed.

本発明によれば、移動速度を速くすることができるカプセル型医療装置を提供することができる。   ADVANTAGE OF THE INVENTION According to this invention, the capsule type medical device which can make a moving speed fast can be provided.

以下、図面を参照して本発明の実施の形態を説明する。
(第1の実施の形態)
図1ないし図8は本発明の第1の実施の形態に係り、図1は第1の実施の形態を備えたカプセル型内視鏡装置等の構成を示し、図2は第1の実施の形態のカプセル型内視鏡の内部構成を示し、図3はリードスイッチの構成を示し、図4は磁石ユニットを装着した状態のカプセル型内視鏡を示し、図5はカプセル型内視鏡の電気系の構成を示し、図6は大きな磁石を有する磁石ユニットを装着して使用できるカプセル型内視鏡を示し、図7は磁力を利用して回収具にて回収する様子を示し、図8はカプセル型内視鏡を洗腸液の比重と同じ比重にして内視鏡検査している様子を示す。
Embodiments of the present invention will be described below with reference to the drawings.
(First embodiment)
1 to 8 relate to a first embodiment of the present invention, FIG. 1 shows a configuration of a capsule endoscope apparatus or the like provided with the first embodiment, and FIG. 2 shows a first embodiment. 3 shows the internal configuration of the capsule type endoscope, FIG. 3 shows the configuration of the reed switch, FIG. 4 shows the capsule type endoscope with the magnet unit mounted thereon, and FIG. 5 shows the capsule type endoscope. 6 shows a configuration of an electric system, FIG. 6 shows a capsule endoscope that can be used by mounting a magnet unit having a large magnet, FIG. 7 shows a state in which the collecting tool uses a magnetic force, and FIG. Shows a state in which the capsule endoscope is endoscopically examined with the same specific gravity as that of the intestinal fluid.

図1(A)に示すように本発明の第1の実施の形態を備えた内視鏡検査を行うカプセル型内視鏡装置1は、患者2の口部から飲み込まれることにより体腔内管路を通過する際に体腔内管路内壁面を光学的に撮像した画像信号を無線で送信する(本発明のカプセル型医療装置の第1の実施の形態を構成する)カプセル型内視鏡3と、このカプセル型内視鏡3で送信された信号を患者2の体外に設けたアンテナユニット(アンテナアレイ)4により受け、画像を保存する機能を有する、(患者2の体外に配置される)体外ユニット5とから構成される。   As shown in FIG. 1 (A), a capsule endoscope apparatus 1 for performing an endoscopic examination provided with the first embodiment of the present invention is infused from the mouth of a patient 2 so as to pass through a body cavity. A capsule endoscope 3 that wirelessly transmits an image signal obtained by optically imaging the inner wall surface of a body cavity duct when it passes through (constitutes the first embodiment of the capsule medical device of the present invention); The signal transmitted by the capsule endoscope 3 is received by an antenna unit (antenna array) 4 provided outside the body of the patient 2 and has a function of storing an image, which is outside the body (located outside the body of the patient 2). The unit 5 is configured.

この体外ユニット5には、画像データを保存するために、容量が例えば1GBのコンパクトフラッシュ(R)サイズのハードディスクが内蔵されている。
そして、体外ユニット5に蓄積された画像データは検査中或いは検査終了後に図1(B)の表示システム6に接続して、画像を表示することができる。
つまり、図1(B)に示すようにこの体外ユニット5は、表示システム6を構成するパーソナルコンピュータ(以下、パソコンと略記)7とUSBケーブル8等の通信を行う通信ケーブルで着脱自在に接続される。
The extracorporeal unit 5 has a built-in compact flash (R) hard disk having a capacity of, for example, 1 GB in order to store image data.
The image data stored in the extracorporeal unit 5 can be connected to the display system 6 in FIG. 1B during or after the examination to display an image.
That is, as shown in FIG. 1B, the extracorporeal unit 5 is detachably connected to a personal computer (hereinafter abbreviated as a personal computer) 7 constituting the display system 6 by a communication cable such as a USB cable 8. The

そして、パソコン7により体外ユニット5に保存した画像を取り込み、内部のハードディスクに保存したり、表示するため等の処理を行い表示部9により保存した画像を表示できるようにしている。このパソコン7にはデータ入力操作等を行う操作盤としての例えばキーボード10が接続されている。   Then, the image stored in the external unit 5 is captured by the personal computer 7 and stored in the internal hard disk or displayed, and the stored image can be displayed on the display unit 9. For example, a keyboard 10 is connected to the personal computer 7 as an operation panel for performing a data input operation.

USBケーブル8としては、USB1.0、USB1.1、USB2のいずれの通信規格でも良い。また、この他にRS−232C、IEEE1394の規格のシリラルのデータ通信を行うものでも良いし、シリアルのデータ通信を行うものに限定されるものでなく、パラレルのデータ通信を行うものでも良い。   The USB cable 8 may be any communication standard of USB1.0, USB1.1, and USB2. In addition to this, serial data communication of RS-232C and IEEE 1394 standards may be performed, and the present invention is not limited to serial data communication, and may be parallel data communication.

図1(A)に示すようにカプセル型内視鏡3を飲み込んで内視鏡検査を行う場合には、患者2が着るシールド機能を持つシールドシャツ11の内側には複数のアンテナ12が取り付けられたアンテナユニット4が装着され、カプセル型内視鏡3により撮像され、それに内蔵されたアンテナから送信される信号を受け、このアンテナユニット4に接続された体外ユニット5に撮像した画像を保存するようにしている。この体外ユニット5は、例えば患者2のベルトに着脱自在のフックにより取り付けられる。   As shown in FIG. 1A, when performing an endoscopic examination by swallowing the capsule endoscope 3, a plurality of antennas 12 are attached to the inside of a shield shirt 11 having a shield function worn by the patient 2. The antenna unit 4 is mounted, picked up by the capsule endoscope 3, receives a signal transmitted from the antenna incorporated therein, and stores the picked-up image in the extracorporeal unit 5 connected to the antenna unit 4. I have to. The extracorporeal unit 5 is attached to the belt of the patient 2 by a detachable hook, for example.

また、この体外ユニット5は例えば箱形状であり、前面には画像表示を行う表示装置としての例えば液晶モニタ13と、制御操作を行う操作ボタン14とが設けてある。また、体外ユニット5の内部には、送受信回路、制御回路、画像データ表示回路、電源を備えている。
この場合の電源としては、後述するようにマイクロガスタービン発電機39を採用している。
The extracorporeal unit 5 has, for example, a box shape, and is provided with, for example, a liquid crystal monitor 13 as a display device for displaying an image and an operation button 14 for performing a control operation on the front surface. The extracorporeal unit 5 includes a transmission / reception circuit, a control circuit, an image data display circuit, and a power source.
As a power source in this case, a micro gas turbine generator 39 is adopted as will be described later.

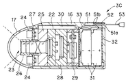
図2に示すようにカプセル型内視鏡3は、カプセル形状のカプセル型内視鏡本体(以下ではカプセル本体と略記)15と、このカプセル本体15に着脱可能に組み付けられる磁石ユニット21とからなる。   As shown in FIG. 2, the capsule endoscope 3 includes a capsule-shaped capsule endoscope main body (hereinafter abbreviated as a capsule main body) 15 and a magnet unit 21 that is detachably attached to the capsule main body 15. .

カプセル本体15は、略円筒形状のケース16における先端側となる開口端部には略半球面形状の透明カバー17を水密的に接続固定し、このケース16の他端は肉厚にして閉塞して、カプセル状の密閉空間を形成している。   The capsule body 15 has a substantially hemispherical transparent cover 17 connected and fixed in a watertight manner to an opening end portion on the tip side of a substantially cylindrical case 16, and the other end of the case 16 is thickened and closed. Thus, a capsule-like sealed space is formed.

このケース16の後端の肉厚部には外表面側に雌ネジ部18を設け、この雌ネジ部18には磁石19を(埋め込むようにした形態等で)内蔵し、雌ネジ部18に螺合する雄ネジ部20を設けた磁石ユニット21を着脱可能に組み付けることができるようにしている。   The thick portion at the rear end of the case 16 is provided with a female screw portion 18 on the outer surface side, and a magnet 19 is built in the female screw portion 18 (in an embedded form or the like). The magnet unit 21 provided with the male screw portion 20 to be screwed can be detachably assembled.

透明カバー17及びケース16で気密及び水密的に覆われた内部には、固体撮像素子としての例えばCMOSイメージャ22、対物レンズ系23、照明用の白色LED24等が取り付けられたベース25が収納されている。   Inside the airtight and watertight cover with the transparent cover 17 and the case 16 is housed a base 25 to which, for example, a CMOS imager 22, an objective lens system 23, a white LED 24 for illumination, and the like as a solid-state image sensor are attached. Yes.

つまり、ベース25の中央に設けた孔には対物レンズ系23の後レンズが、この孔と同心となるようにベース25の前面から突出した筒部に嵌合するレンズ枠26を介して対物レンズ系23の前レンズ群が取り付けられ、この対物レンズ系23の光軸上の位置がその撮像面の中心位置となるようにしてベース25の後面にはCMOSイメージャ22が取り付けられている。   In other words, in the hole provided in the center of the base 25, the rear lens of the objective lens system 23 is inserted into the objective lens via the lens frame 26 that fits into the cylindrical portion protruding from the front surface of the base 25 so as to be concentric with the hole. A front lens group of the system 23 is attached, and a CMOS imager 22 is attached to the rear surface of the base 25 so that the position of the objective lens system 23 on the optical axis is the center position of the imaging surface.

そして、対物レンズ系23は筒部に嵌合してレンズ枠26を移動し、CMOSイメージャ22の撮像面が結像位置となるように調整された状態で、レンズ枠26は筒部に固定されている。なお、図2において、対物レンズ系23の前の点線は対物レンズ系23による結像可能(観察可能)な範囲を示している。   Then, the objective lens system 23 is fitted to the cylindrical portion and moves the lens frame 26, and the lens frame 26 is fixed to the cylindrical portion in a state where the imaging surface of the CMOS imager 22 is adjusted to be an image forming position. ing. In FIG. 2, a dotted line in front of the objective lens system 23 indicates a range in which an image can be formed (observable) by the objective lens system 23.

レンズ枠26の周囲には、その周囲の複数箇所に照明用の白色LED24がその白色LED24を発光駆動するLED駆動回路27を構成する基板に取り付けられ、またこの基板27はベース25の筒部に固定されている。   Around the lens frame 26, illumination white LEDs 24 are attached to a substrate constituting an LED drive circuit 27 that drives the white LEDs 24 to emit light at a plurality of locations around the lens frame 26. It is fixed.

また、CMOSイメージャ22の背面には、CMOSイメージャ22等に対する処理等を行う処理回路28を構成する基板、CMOSイメージャ22で撮像した画像データを送信したり、体外ユニット5からの制御信号を受信したりする送受信回路29を構成する基板が、(ケース16の軸方向に)積層したように収納固定されている。   Also, on the back of the CMOS imager 22, a substrate constituting a processing circuit 28 that performs processing on the CMOS imager 22 and the like, image data captured by the CMOS imager 22, and control signals from the extracorporeal unit 5 are received. The board constituting the transmitting / receiving circuit 29 is housed and fixed so as to be laminated (in the axial direction of the case 16).

また、ベース25、処理回路28等を積層した部分に隣接する側面部分には、送受信回路29に接続され、電波(無線)で体外ユニット5側に画像データを送信したり、体外ユニット5からの電波を受信するアンテナ30が収納固定されている。   Further, a side portion adjacent to the portion where the base 25, the processing circuit 28, etc. are laminated is connected to a transmission / reception circuit 29 to transmit image data to the external unit 5 side by radio waves (wirelessly) or from the external unit 5 An antenna 30 for receiving radio waves is housed and fixed.

また、このケース16内における送受信回路29の後側には、例えばボタン状の2つの電池31と、この電池31の背面側に配置され、電池31の例えば正極側にその一方のリード32が接続され、磁界の印加により非導通(OFF)から導通(ON)するリードスイッチ33とが収納固定されている。   In addition, on the back side of the transmission / reception circuit 29 in the case 16, for example, two button-shaped batteries 31 and a back side of the battery 31 are arranged, and one lead 32 of the battery 31 is connected to, for example, the positive electrode side. A reed switch 33 that is conductive (ON) from non-conductive (OFF) by applying a magnetic field is housed and fixed.

そして、このリードスイッチ33における対向する2つの接点部34を接触させて電気的にONすることにより、LED駆動回路27、処理回路28、送受信回路29に動作用の電源を供給することができるようにして、カプセル型内視鏡3による内視鏡検査を行えるようにしている。   Then, the two contact parts 34 facing each other in the reed switch 33 are brought into contact with each other to be electrically turned on, so that power for operation can be supplied to the LED drive circuit 27, the processing circuit 28, and the transmission / reception circuit 29. Thus, endoscopy with the capsule endoscope 3 can be performed.

図3(A)に示すようにこのリードスイッチ33は2本の強磁性体リード32の末端(先端)が(リード32の軸方向と直交する方向に)少し離間するようにして、またその末端に接点部34を形成した状態でガラス管35内に封入されている。なお、ガラス管35内ではリード32は細く、その先端の接点部34は、摩耗等を防止するためにレテニウム、ロジウム等でコーティングするなどして長寿命化がはかられている。
また、ガラス管35の内部には接点部34の活性化を防止するために窒素ガス等が封入され、信頼性の向上と長寿命化がはかられている。
As shown in FIG. 3A, the reed switch 33 is configured so that the ends (tips) of the two ferromagnetic leads 32 are slightly separated (in a direction perpendicular to the axial direction of the leads 32) and the ends thereof. The glass tube 35 is sealed with the contact portion 34 formed thereon. In the glass tube 35, the lead 32 is thin, and the contact part 34 at the tip thereof is coated with rhenium, rhodium or the like in order to prevent wear or the like, thereby extending the life.
Further, nitrogen gas or the like is sealed inside the glass tube 35 in order to prevent activation of the contact portion 34, thereby improving reliability and extending the life.

このリードスイッチ33に対して図3(B)に示すようにリード32の軸方向に(例えば磁石36により)磁界を印加すると、図3(B)に示すようにリード32は磁化され、対向する接点部34は互いに異極性で磁化され、従って吸引して2点鎖線で示す状態から実線で示すように吸引接触して回路を閉じる(ONする)ことができるようにしている。また、磁界の印加を止めると、リード32の磁化も無くなり、リード32の弾性によりOFFとなる。   When a magnetic field is applied to the reed switch 33 in the axial direction of the lead 32 as shown in FIG. 3B (for example, by a magnet 36), the lead 32 is magnetized and faces the lead switch 33 as shown in FIG. The contact portions 34 are magnetized with different polarities, so that they can be attracted and contacted as shown by the solid line from the state indicated by the two-dot chain line to close (turn on) the circuit. Further, when the application of the magnetic field is stopped, the magnetization of the lead 32 disappears and is turned OFF by the elasticity of the lead 32.

図2に示すようにこのリードスイッチ33は雌ネジ部18に隣接した(雌ネジ部18から)近距離の位置に収納固定されている。
従って、図4に示すように、雌ネジ部18に磁石ユニット21の雄ネジ部20を螺合で組み付けることにより、磁石ユニット21の磁石19の磁界でリードスイッチ34の離間する2つの接点部34をONできるようにしている。
As shown in FIG. 2, the reed switch 33 is housed and fixed at a short distance adjacent to the female screw portion 18 (from the female screw portion 18).
Therefore, as shown in FIG. 4, two contact portions 34 that are separated from the reed switch 34 by the magnetic field of the magnet 19 of the magnet unit 21 are assembled by screwing the male screw portion 20 of the magnet unit 21 into the female screw portion 18. Can be turned on.

なお、磁石19は図4の例えば上下方向に着磁されている。この場合、磁石ユニット21を螺合により取り付ける場合、回転して螺合で最終的に決まった向きが、リードスイッチ33(のガラス管35)の長手方向と一致しない場合もできるが、図4に示すように弾性板、例えば薄いゴム板38等を介挿するなどして磁石19による磁界の向きをリードスイッチ33の長手方向に一致させる状態で固定できるようにしている。   The magnet 19 is magnetized in the vertical direction of FIG. In this case, when the magnet unit 21 is attached by screwing, the direction finally determined by rotating and screwing may not coincide with the longitudinal direction of the reed switch 33 (the glass tube 35). As shown, an elastic plate such as a thin rubber plate 38 is inserted so that the direction of the magnetic field by the magnet 19 can be fixed in a state where it matches the longitudinal direction of the reed switch 33.

また、磁石19は、例えばネオジウム系の磁石、フェライト系の磁石その他の永久磁石を採用することができる。   The magnet 19 may be a neodymium magnet, a ferrite magnet, or other permanent magnet, for example.

図2に示すようにリードスイッチ33の一方のリード32は電池31の例えば正極に接続され、他方のリード32は前後に直列接続するように配置された2つの電池31の側面を通り、送受信回路29の基板側に延出して接続するようにしている。   As shown in FIG. 2, one lead 32 of the reed switch 33 is connected to, for example, the positive electrode of the battery 31, and the other lead 32 passes through the side surfaces of the two batteries 31 arranged in series in the front-rear direction. 29 is extended and connected to the substrate side.

そして、実際には図5に示すように、リード32は送受信回路29の電源端子(図5のV+)や図示しないリード線等で、LED駆動回路27、処理回路28の電源端子に接続されている。また、電池31の負極はLED駆動回路27、処理回路28、送受信回路29のグランド(図5ではG)に接続されている。   In practice, as shown in FIG. 5, the lead 32 is connected to the power supply terminal of the LED drive circuit 27 and the processing circuit 28 by the power supply terminal (V + in FIG. 5) of the transmission / reception circuit 29 or a lead wire (not shown). Yes. The negative electrode of the battery 31 is connected to the ground (G in FIG. 5) of the LED drive circuit 27, the processing circuit 28, and the transmission / reception circuit 29.

図5の状態において、磁石ユニット21を(その磁石19の磁化方向をリードスイッチ33の軸方向にして)リードスイッチ33に近づけると、上述したようにリードスイッチ33をON状態に設定でき、この状態ではLED駆動回路27、処理回路28、送受信回路29にその動作に必要な電源が供給されるようになる。   In the state of FIG. 5, when the magnet unit 21 is brought close to the reed switch 33 (with the magnetization direction of the magnet 19 being the axial direction of the reed switch 33), the reed switch 33 can be set to the ON state as described above. Then, the power necessary for the operation is supplied to the LED drive circuit 27, the processing circuit 28, and the transmission / reception circuit 29.

このように本実施の形態では、非接触でON/OFFできるリードスイッチ33を電源スイッチに採用することにより、電源スイッチの部分を簡単に水密の機能を保つ構造にすることができるようにすると共に、その電源スイッチを磁界を利用して非接触で(つまり水密構造を保ったまま、その外部から)簡単にOFFからONにできるようにしていることが特徴となっている。   As described above, in the present embodiment, by adopting the reed switch 33 that can be turned on / off in a non-contact manner as a power switch, the power switch portion can be easily structured to maintain a watertight function. The power switch is characterized in that it can be easily switched from OFF to ON by using a magnetic field in a non-contact manner (that is, from the outside while maintaining a watertight structure).

電源がONになると、(図5に示す)白色LED24はLED駆動回路27により駆動され、またCMOSイメージャ22は処理回路28内部の(イメージャ)駆動回路からの(イメージャ)駆動信号で光電変換された画像信号が読み出され、処理回路28の内部で画像信号成分の抽出等の処理がされ、送受信回路29を経て送信用に高周波変調され、アンテナ30から無線で画像データが体外ユニット5側に送信される。   When the power is turned on, the white LED 24 (shown in FIG. 5) is driven by the LED drive circuit 27, and the CMOS imager 22 is photoelectrically converted by the (imager) drive signal from the (imager) drive circuit inside the processing circuit 28. The image signal is read out, and processing such as extraction of the image signal component is performed inside the processing circuit 28, high-frequency modulation is performed for transmission via the transmission / reception circuit 29, and image data is transmitted wirelessly from the antenna 30 to the external unit 5 side. Is done.

また、アンテナ30で受信した制御信号は送受信回路29を経て処理回路28に送られ、処理回路28は制御信号に応じて、例えばLED駆動回路27による発光間隔(照明間隔)を変更させたり、LED駆動信号の振幅を変更して照明光量を変更させたりすることができる。また、処理回路28内部の(イメージャ)駆動回路も発光間隔の変化に応じて、駆動信号を出力するタイミングを変更する。   The control signal received by the antenna 30 is sent to the processing circuit 28 via the transmission / reception circuit 29. The processing circuit 28 changes the light emission interval (illumination interval) by the LED drive circuit 27 or the LED according to the control signal, for example. It is possible to change the illumination light quantity by changing the amplitude of the drive signal. The (imager) drive circuit in the processing circuit 28 also changes the timing for outputting the drive signal in accordance with the change in the light emission interval.

また、本実施の形態では、図6に示すように(図2に示したものより)大きな磁力を発生する(例えばサイズがより大きい)磁石19bを内蔵した磁石ユニット21bを取り付けることもできるようにしている。
つまり、内視鏡検査の際の用途等に応じて磁力の大きいもの、磁石の大きいもの或いは小さいもの、着磁(磁極)方向の異なるもの等を選択使用することができるようにしている。
Further, in the present embodiment, as shown in FIG. 6 (as shown in FIG. 2), a magnet unit 21b including a magnet 19b that generates a large magnetic force (for example, larger in size) can be attached. ing.
That is, it is possible to select and use one having a large magnetic force, one having a large or small magnet, one having a different magnetization (magnetic pole) direction, or the like according to the use at the time of endoscopy.

このように選択使用できるようにすることにより、例えば体外からの外部磁界の印加によりカプセル型内視鏡3を磁気的に誘導を行う場合には、磁力が大きい磁石ユニット21b等を組み付けたカプセル型内視鏡3にして、誘導をより行い易くすることができるようにしている。   By enabling the selective use in this way, for example, when the capsule endoscope 3 is magnetically guided by the application of an external magnetic field from the outside of the body, a capsule type in which a magnet unit 21b or the like having a large magnetic force is assembled. The endoscope 3 can be guided more easily.

また、本実施の形態では、図7に示すように磁石ユニット21を取り付けたカプセル型内視鏡3で体腔管路、例えば腸管40内を内視鏡検査している場合に、例えば狭窄部41のために通過できないような場合に、回収具42で容易に回収することができるようにしている。   Further, in the present embodiment, as shown in FIG. 7, when a capsule cavity 3 to which the magnet unit 21 is attached is used for endoscopic examination of a body cavity line, for example, the intestinal tract 40, for example, the narrowed portion 41. Therefore, the recovery tool 42 can easily recover the vehicle when it cannot pass through.

つまり、先端に磁石43を設けた回収具42を上部の口部から挿入し、その先端の磁石43をカプセル型内視鏡3に近づけることにより、磁石43と磁石19との間の磁気引力によってカプセル型内視鏡3を引きつけ、その引きつけた状態で回収具42を引き抜くことによりカプセル型内視鏡3も容易に回収することができるようにしている。   That is, the collection tool 42 provided with the magnet 43 at the tip is inserted from the upper mouth part, and the magnet 43 at the tip is brought close to the capsule endoscope 3, so that the magnetic attraction between the magnet 43 and the magnet 19 By pulling the capsule endoscope 3 and pulling out the collecting tool 42 in the pulled state, the capsule endoscope 3 can also be easily collected.

つまり、本実施の形態では、磁石ユニット21をカプセル型内視鏡3の電源を投入するスイッチをON、OFFさせる機能の他に、回収する場合にも利用できるようにしている。   That is, in the present embodiment, the magnet unit 21 can be used not only for the function of turning on and off the switch for turning on the power of the capsule endoscope 3 but also when collecting it.

また、本実施の形態では、磁石ユニット21を取り付けたカプセル型内視鏡3全体の比重が所望の比重になるように調整されている。ここでは、大腸検査時の洗腸液(クエン酸マグネシウムなど)と同比重にした。
カプセル型内視鏡3の大腸内の進行を早めるために、洗腸液45を経口的に飲むことで、洗腸液45と同比重であるカプセル型内視鏡3が洗腸液45と共に流されやすくできる。
Moreover, in this Embodiment, it adjusts so that the specific gravity of the whole capsule endoscope 3 which attached the magnet unit 21 may become desired specific gravity. Here, the specific gravity was the same as that of the lavage fluid (magnesium citrate, etc.) during the colon examination.
In order to accelerate the progression of the capsule endoscope 3 in the large intestine, the capsule-type endoscope 3 having the same specific gravity as the intestinal-wash liquid 45 can be easily flowed together with the intestinal-wash liquid 45 by orally drinking the intestinal-wash liquid 45. .

例えば図8のようにカプセル型内視鏡3は洗腸液45から常時浮かんだ状態や常時沈んだ状態にはならないで、洗腸液45中に存在できる状態となり、洗腸液45と共に移動し易くなり、カプセル型内視鏡3による内視鏡検査時間を短縮することができる。   For example, as shown in FIG. 8, the capsule endoscope 3 does not always float or sink from the intestinal fluid 45, and can exist in the intestinal fluid 45, and easily moves with the intestinal fluid 45. The endoscopy time by the capsule endoscope 3 can be shortened.

また、カプセル型内視鏡3の全体の比重を洗腸液45より重くすれば、液中でもその場に留まり易くでき、詳細な観察がし易い。逆に比重を軽くすれば、洗腸液45に浮き、液の上面の観察が可能になる等、観察目的に応じてその目的に適した状態で内視鏡検査を行うことができ、使い勝手或いは操作性が向上する。   Further, if the specific gravity of the entire capsule endoscope 3 is made heavier than that of the intestine washing liquid 45, the capsule endoscope 3 can easily stay in place in the liquid, and detailed observation is easy. On the other hand, if the specific gravity is lightened, the endoscopic examination can be performed in a state suitable for the purpose according to the observation purpose, such as floating in the intestinal irrigation liquid 45 and observing the upper surface of the liquid. Improves.

一方、カプセル型内視鏡3から無線で送信される画像データをアンテナユニット4により受信し、画像データの蓄積を主に行う体外ユニット5は、画像データを蓄積するハードディスク等を備えている。そのほかに、送受信回路、制御回路、画像データ表示回路、電源を備えている。   On the other hand, the extracorporeal unit 5 that mainly receives image data transmitted from the capsule endoscope 3 by the antenna unit 4 and mainly stores the image data includes a hard disk or the like that stores the image data. In addition, a transmission / reception circuit, a control circuit, an image data display circuit, and a power source are provided.

この場合の電源は、マイクロガスタービン発電機39で形成され、化石燃料で駆動する。このマイクロガスタービン発電機39は例えば硬貨程度のサイズである。このマイクロガスタービン発電機39は1立方センチ大のユニットで、内部に発電用のタービンがあり、熱量の燃焼によってタービンが回転する。この発電機と燃料タンクがセットで電源として機能する。   The power source in this case is formed by the micro gas turbine generator 39 and is driven by fossil fuel. The micro gas turbine generator 39 is about the size of a coin, for example. The micro gas turbine generator 39 is a unit having a size of 1 cubic centimeter, and has a turbine for power generation inside, and the turbine rotates by combustion of heat. This generator and fuel tank function as a set as a power source.

さらに説明すると、このマイクロガスタービン発電機39は火力発電所等で使用されている通常のガスタービン発電機39と同じ仕組みで発電するが、例えばエンジン部は拡散接合されたシリコン製の薄板8枚からでき、燃焼室内で水素に点火し、高温ガスをタービンに噴射することにより、タービンからコンプレッサにエネルギが伝えられ、発電装置を駆動する。   More specifically, the micro gas turbine generator 39 generates power by the same mechanism as that of a normal gas turbine generator 39 used in a thermal power plant or the like. For example, the engine part is a diffusion-bonded silicon thin plate of 8 sheets. By igniting hydrogen in the combustion chamber and injecting hot gas into the turbine, energy is transmitted from the turbine to the compressor, and the power generator is driven.

ベアリング、燃焼室、タービン等の発電機の小型部品は、精密なエッチングによりシリコンの表面に形成される。つまり、マイクロチップ産業が使用しているのと同じ小型化技術を採用してマイクロガスタービン発電機39が形成されている。そして、燃料が無くなったら、燃料タンクに燃料を補充することで再発電を行える。   Small parts of generators such as bearings, combustion chambers, and turbines are formed on the surface of silicon by precise etching. That is, the micro gas turbine generator 39 is formed by adopting the same miniaturization technology used by the microchip industry. When the fuel runs out, re-power generation can be performed by replenishing the fuel tank.

本実施の形態のカプセル型内視鏡3のカプセル本体15では、上述したように磁界の印加により非接触でOFFからONすることができるリードスイッチ33を電源スイッチとして採用しているので、内視鏡検査を行う場合に、カプセル本体15の後端における(リードスイッチ33の付近に設けた)雌ネジ部18に磁石ユニット21を取り付けることで、リードスイッチ33で形成した電源スイッチをONにしてカプセル型内視鏡3を簡単に動作状態に設定できる。   In the capsule main body 15 of the capsule endoscope 3 according to the present embodiment, as described above, the reed switch 33 that can be turned on from OFF without contact by applying a magnetic field is used as a power switch. When performing mirror inspection, the magnet unit 21 is attached to the female screw portion 18 (provided in the vicinity of the reed switch 33) at the rear end of the capsule body 15, thereby turning on the power switch formed by the reed switch 33. The mold endoscope 3 can be easily set to the operating state.

そして、この磁石ユニット21を取り付けたカプセル型内視鏡3を患者が飲み込むことで内視鏡検査を実施できる。
上記のように非接触でON/OFFできるリードスイッチ33を採用することにより、電源スイッチの部分を簡単に水密の機能を保つ構造にできる。
And an endoscopy can be implemented when a patient swallows the capsule endoscope 3 to which the magnet unit 21 is attached.
By adopting the reed switch 33 that can be turned on and off in a non-contact manner as described above, the power switch portion can be easily structured to maintain a watertight function.

本実施の形態は以下の効果を有する。
磁石ユニット21の装着で電源スイッチのスイッチONができるので、非接触のスイッチングが可能となる。また、水密確保が容易にできる。また、電源のスイッチングが磁界を利用して簡単に行える。
The present embodiment has the following effects.
Since the power switch can be turned on by mounting the magnet unit 21, non-contact switching is possible. In addition, it is easy to ensure watertightness. In addition, the power supply can be easily switched using a magnetic field.

また、比重を調整しているので、液体による推進コントロールが可能となり、操作性を向上できる。
また、安価な燃料で長時間の発電可能なマイクロ発電機39を体外ユニット5に電源に使っているので、体外ユニット5の電源寿命を長くできる。また、長時間、カプセル型内視鏡3から画像が取得できる。或いは一度の燃料補給で何症例も使える。
In addition, since the specific gravity is adjusted, propulsion control by liquid becomes possible, and operability can be improved.
Moreover, since the micro-generator 39 that can generate power for a long time with inexpensive fuel is used as the power source for the extracorporeal unit 5, the power source life of the extracorporeal unit 5 can be extended. Further, an image can be acquired from the capsule endoscope 3 for a long time. Or many cases can be used with one refueling.

図9は第1変形例のカプセル型内視鏡3Bを示す。
このカプセル型内視鏡3Bは第1の実施の形態のカプセル型内視鏡3とは、磁石ユニット及びその着脱する構造が異なっている。
FIG. 9 shows a capsule endoscope 3B of a first modification.
The capsule endoscope 3B is different from the capsule endoscope 3 of the first embodiment in the magnet unit and the structure for attaching and detaching the magnet unit.

つまり、図9に示すようにカプセル本体15を形成するケース16の後端の肉厚の部分には、磁石19の表面を覆う水密コート47が施された磁石ユニット48を収納可能とする磁石収納部49が形成され、この磁石収納部49の後端周縁には突起49aが設けてある。
そして、磁石ユニット48における磁石収納部49に嵌合する側面の中央部分に設けた凹部に、前記突起49aがはまり込み、カプセル本体15の後端部に磁石ユニット48が係止されている。
That is, as shown in FIG. 9, a magnet housing that can house a magnet unit 48 provided with a watertight coat 47 covering the surface of the magnet 19 in the thick portion of the rear end of the case 16 forming the capsule body 15. A portion 49 is formed, and a protrusion 49 a is provided on the periphery of the rear end of the magnet housing portion 49.
The protrusion 49 a is fitted into a recess provided in the central portion of the side surface of the magnet unit 48 that fits into the magnet storage portion 49, and the magnet unit 48 is locked to the rear end portion of the capsule body 15.

この状態で、磁石ユニット48をカプセル本体15の磁石収納部49内に押し込む操作を行うことによって磁石ユニット48を磁石収納部49内に嵌合するように収めることができ、その場合突起49aによって磁石ユニット48は磁石収納部49(から外部に外れることが防止されて磁石収納部49)内に保持できるようにしている。磁石ユニット48が磁石収納部49にはまり込むと、その磁気によって内部のリードスイッチ33がONになる。
その他の構成は第1の実施の形態と同様である。
In this state, by pressing the magnet unit 48 into the magnet housing part 49 of the capsule body 15, the magnet unit 48 can be housed so as to be fitted into the magnet housing part 49. The unit 48 can be held in the magnet housing part 49 (the magnet housing part 49 is prevented from being detached from the outside). When the magnet unit 48 fits into the magnet housing 49, the internal reed switch 33 is turned on by the magnetism.
Other configurations are the same as those of the first embodiment.

本変形例は以下の効果を有する。
磁石ユニット48が最初からカプセル型内視鏡3Bに(磁石収納部49内に収納し易い状態で)係止されているため、より簡便に電源ONに設定できる。その他は第1の実施の形態と同様の効果を有する。
This modification has the following effects.
Since the magnet unit 48 is locked to the capsule endoscope 3B from the beginning (in a state where the magnet unit 48 is easily housed in the magnet housing portion 49), the power supply can be more easily set to ON. The other effects are the same as those of the first embodiment.

次に第2変形例を説明する(図示なし、図9の変形例)。この第2変形例は第1変形例における磁石ユニット48の代わりに、磁石19を採用し、さらにカプセル型内視鏡3に合成樹脂の膜等によって水密的に一体化されて突起49aで係止されている。   Next, a second modification will be described (not shown, modification of FIG. 9). This second modification employs a magnet 19 instead of the magnet unit 48 in the first modification, and is further watertightly integrated into the capsule endoscope 3 by a synthetic resin film or the like and locked by a projection 49a. Has been.

そして、磁石19をその膜越しに磁石収納部49内に押し込むことにより、リードスイッチ33をONすることがができる。   Then, the reed switch 33 can be turned on by pushing the magnet 19 through the membrane into the magnet housing portion 49.

この第2変形例によれば、磁石19が合成樹脂の膜等によって最初からカプセル型内視鏡と水密的に一体になっているため、より簡便に内部のリードスイッチ33をONすることができる効果がある。また、磁石19を落としたり、紛失する心配が無い。   According to the second modification, since the magnet 19 is integrated watertight with the capsule endoscope from the beginning by a synthetic resin film or the like, the internal reed switch 33 can be turned on more easily. effective. Moreover, there is no fear that the magnet 19 is dropped or lost.

次に第3変形例を図10を参照して説明する。第3変形例は、第2変形例と同様に電源をONする磁石がカプセル型内視鏡3Cと一体的、より具体的にはカプセル型内視鏡3C内に常時設けたものである。   Next, a third modification will be described with reference to FIG. In the third modified example, similarly to the second modified example, a magnet for turning on the power is provided integrally with the capsule endoscope 3C, more specifically, in the capsule endoscope 3C.

図10に示すカプセル型内視鏡3Cでは、ケース16内の例えば電池31を積層した部分に隣接する側面(図10では上部側側面)にリードスイッチ33を収納固定し、かつこのリードスイッチ33に隣接する側面部分のケース16内部に磁石収納部51を設け、この磁石収納部51に水密コートされた棒状磁石52が前後方向に移動可能に収納されている。棒状磁石52はその長手方向に着磁されている。   In the capsule endoscope 3C shown in FIG. 10, the reed switch 33 is housed and fixed on the side surface (upper side surface in FIG. 10) adjacent to, for example, the portion where the batteries 31 are stacked in the case 16. A magnet storage portion 51 is provided inside the case 16 on the adjacent side surface portion, and a rod-shaped magnet 52 that is water-tightly coated on the magnet storage portion 51 is stored so as to be movable in the front-rear direction. The rod-shaped magnet 52 is magnetized in the longitudinal direction.

磁石収納部51の後端には差し込み穴51aが空いており、磁石押し込み棒53を差し込めるようになっている。磁石52は最初、磁石収納部51の後側、(差し込み穴側)にある。カプセル型内視鏡3Cを使用時は磁石押し込み棒53によって磁石52を奥に押し込むこと、中のリードスイッチ33がその磁気によってONになる。一度押し込むと、磁石収納部51の内部に設けた突起51bによって後に戻らないようになっている。   An insertion hole 51 a is formed at the rear end of the magnet storage portion 51 so that the magnet push-in rod 53 can be inserted. The magnet 52 is initially on the rear side (insertion hole side) of the magnet storage portion 51. When the capsule endoscope 3C is used, the magnet 52 is pushed inward by the magnet push-in bar 53, and the reed switch 33 inside is turned on by the magnetism. Once pushed in, the projection 51b provided inside the magnet storage portion 51 is prevented from returning later.

磁石押し込み棒53は差し込み穴51aに最初から一部差し込まれた状態でパッケージ内に一緒に収納されている。カプセル型内視鏡3Cの使用時、そのパッケージを開け、カプセル型内視鏡3Cを取り出し、磁石押し込み棒53を押し込み、カプセル型内視鏡3CをONにしてから抜き、パッケージとともに廃棄する。   The magnet push-in bar 53 is housed together in the package in a state where it is partially inserted into the insertion hole 51a from the beginning. When the capsule endoscope 3C is used, the package is opened, the capsule endoscope 3C is taken out, the magnet push-in bar 53 is pushed in, the capsule endoscope 3C is turned on and then removed, and discarded together with the package.

本変形例は以下の効果を有する。
磁石52が最初からカプセル型内視鏡3Cと一体になっているため、より簡便に動作状態に設定できる。また、側面にスイッチ手段を設けられるため、カプセル型内視鏡3Cの全長を短くできる。
This modification has the following effects.
Since the magnet 52 is integrated with the capsule endoscope 3C from the beginning, the operation state can be set more easily. In addition, since the switch means is provided on the side surface, the overall length of the capsule endoscope 3C can be shortened.

次に第4変形例を説明する。
カプセル型内視鏡の全体の比重は、後付のねじ部材(例えば図2の磁石ユニット21における雄ネジ部20の長さの異なるものを複数用意したような部材)によって調整可能にした。
この第4変形例によれば、比重を使用時に調整可能なため、いろいろな場面に適用できる。例えば、図8の洗腸液45の濃度を変えた場合、その比重の変化に対応してカプセル型内視鏡の比重を変更したいような場合などに簡単に適用できる効果がある。
Next, a fourth modification will be described.
The specific gravity of the capsule endoscope as a whole can be adjusted by a screw member attached later (for example, a member in which a plurality of male screw portions 20 in the magnet unit 21 of FIG. 2 having different lengths are prepared).
According to the fourth modification, the specific gravity can be adjusted at the time of use, so that it can be applied to various scenes. For example, when the concentration of the intestinal fluid 45 shown in FIG. 8 is changed, there is an effect that can be easily applied to the case where it is desired to change the specific gravity of the capsule endoscope corresponding to the change in specific gravity.

次に第5変形例を説明する。
本変形例では体外ユニット5の電源として、リチウムイオン電池を採用する。 その効果として、流通量が多いため、安価にできる。また、二次電池なので、再充電可能で経済的に使用できる。
Next, a fifth modification will be described.
In this modification, a lithium ion battery is employed as a power source for the extracorporeal unit 5. As an effect, since the circulation amount is large, it can be made inexpensive. Moreover, since it is a secondary battery, it can be recharged and can be used economically.

次に第6変形例を説明する。
本変形例では体外ユニット5の電源として、ニッケル乾電池を採用する。このニッケル乾電池は正極にオキシ水酸化ニッケルを使用している。
その効果としては高容量なため、一次電池であるが、長時間可動が可能となる。また、低温条件下でも出力特性が悪くならないので、冬期や寒冷地などでも使える。
Next, a sixth modification will be described.
In this modification, a nickel dry battery is used as a power source for the extracorporeal unit 5. This nickel battery uses nickel oxyhydroxide for the positive electrode.
As its effect, it is a primary battery because of its high capacity, but it can be moved for a long time. In addition, the output characteristics do not deteriorate even under low temperature conditions, so it can be used in winter and cold regions.

次に第7変形例を説明する。
本変形例では体外ユニット5の電源として、燃料電池を採用している。
その効果としては発電によって水しか生成されないので、環境に優しい。少量(重量)の水素で長時間稼動が可能という効果もある。
Next, a seventh modification will be described.
In this modification, a fuel cell is used as a power source for the extracorporeal unit 5.
The effect is environmentally friendly because only water is generated by power generation. There is also an effect that it can be operated for a long time with a small amount (weight) of hydrogen.

次に第8変形例を説明する。
本変形例では体外ユニット5の電源は、第7変形例と同様に燃料電池である。この場合、燃料電池に供給する水素は、可視光によって水を水素と酸素に分解可能な金属酸化物によって生成するようにしていることが特徴となっている。
Next, an eighth modification will be described.
In the present modification, the power source of the extracorporeal unit 5 is a fuel cell as in the seventh modification. In this case, the hydrogen supplied to the fuel cell is characterized by being generated by a metal oxide capable of decomposing water into hydrogen and oxygen by visible light.

この金属製酸化物はインジウム、タンタル、ニッケルなどを加えて合成したものである。日光を当てることによってこの金属酸化物が電気を帯び、水を電気分解する。なお、紫外光で水を分解する物質は知られているが、可視光では知られていない。
本変形例の効果として太陽光によって燃料電池のエネルギ源を簡単に生成できるので、より環境に優しい。
This metal oxide is synthesized by adding indium, tantalum, nickel or the like. When exposed to sunlight, the metal oxide becomes charged and electrolyzes the water. In addition, although the substance which decomposes | disassembles water with ultraviolet light is known, it is not known by visible light.
As an effect of this modification, the energy source of the fuel cell can be easily generated by sunlight, which is more environmentally friendly.

次に第9変形例を図11を参照して説明する。
図11に示すカプセル型内視鏡3Dでは、例えば図4の第1の実施の形態において、光源としての白色LED24の代わりにナノサイズLEDを高密度実装したLEDユニット56を採用したものである。LEDユニット56の発光面全面に高密度に白色LEDを実装し、発光効率を上げるようにしている。
Next, a ninth modification will be described with reference to FIG.
In the capsule endoscope 3D shown in FIG. 11, for example, in the first embodiment of FIG. 4, an LED unit 56 in which nano-sized LEDs are mounted in high density instead of the white LED 24 as a light source is adopted. White LEDs are mounted with high density on the entire light emitting surface of the LED unit 56 to increase luminous efficiency.

また、このLEDユニット56の発光面を曲面状にして、LEDユニット56の中央に配置した対物レンズ系23による結像範囲(観察範囲)を有効に照明できるようにしている。   Further, the light emitting surface of the LED unit 56 is curved so that the imaging range (observation range) by the objective lens system 23 disposed in the center of the LED unit 56 can be effectively illuminated.

また、LEDユニット56の基板裏面側には回路部品が実装され、LED駆動回路の機能を持つようにしている。
このLEDユニット56は、導電性ポリマ(具体例では、ポリクロロベンゾトリアゾロ・エチル・チオフェン(PCBET)を液晶などの透明電極に用いる酸化インジウムすず(ITO)で表面処理した基板に薄く塗布し、走査型近接場光顕微鏡(SNOM)のアルミニウム電極を近づけることで、100ナノメートルサイズのLEDを面状に形成する。また、基板には、ガラス基板以外の例えば高分子を使うことでフレキシブルなLEDナノアレイを生成できる。
A circuit component is mounted on the back side of the substrate of the LED unit 56 so as to have a function of an LED drive circuit.
This LED unit 56 is thinly applied to a substrate surface-treated with a conductive polymer (in this example, polychlorobenzotriazolo-ethyl-thiophene (PCBET) with indium tin oxide (ITO) used for a transparent electrode such as liquid crystal, A 100-nm-sized LED is formed into a planar shape by bringing the aluminum electrode of a scanning near-field optical microscope (SNOM) closer, and a flexible LED can be formed by using, for example, a polymer other than a glass substrate. Nanoarrays can be generated.

本変形例の効果として発光効率を向上できる。また、曲面へ実装可能なため、配向をコントロールすることもできる。また、LED駆動回路の機能も組み込むことによりカプセル型内視鏡3Dの小型化も可能となる。   The luminous efficiency can be improved as an effect of this modification. Further, since it can be mounted on a curved surface, the orientation can be controlled. In addition, the capsule endoscope 3D can be miniaturized by incorporating the function of the LED drive circuit.

(第2の実施の形態)
次に本発明の第2の実施の形態を図12ないし図17を参照して説明する。図12は第2の実施の形態のカプセル型内視鏡61の内部構成を示す。
この第2の実施の形態のカプセル型内視鏡61の基本機能は以下に説明するように第1の実施の形態と略同様である。
(Second Embodiment)
Next, a second embodiment of the present invention will be described with reference to FIGS. FIG. 12 shows an internal configuration of the capsule endoscope 61 according to the second embodiment.
The basic function of the capsule endoscope 61 of the second embodiment is substantially the same as that of the first embodiment as will be described below.

図12に示すカプセル型内視鏡61は、略円筒形状で後面側を丸みを付けて閉塞したケース62の前側は開口し、略半球面状にした透明カバー63の後端がケース62の前端の嵌合部62aに嵌合し、接着剤64或いは溶着で固定され、その内部を水密及び気密構造にしている。   The capsule endoscope 61 shown in FIG. 12 has a substantially cylindrical shape and the front side of the case 62 which is closed by rounding the rear surface side is opened, and the rear end of the transparent cover 63 having a substantially hemispherical shape is the front end of the case 62. And is fixed by an adhesive 64 or by welding, and the inside thereof is made into a watertight and airtight structure.

この内部には透明カバー63に対向するようにして、その中央に対物レンズ系65が取り付けられたレンズ枠66が撮像素子としてのCMOSイメージャ67と共に、撮像・照明回路基板68に取り付けられている。   A lens frame 66 having an objective lens system 65 attached to the center thereof is attached to an imaging / illumination circuit board 68 together with a CMOS imager 67 as an imaging element so as to face the transparent cover 63.

また、レンズ枠66の周囲の複数箇所に照明手段としての白色LED69が略円板状の撮像・照明回路基板68に取り付けられている。なお、撮像・照明回路基板68は第1の実施の形態におけるLED駆動回路27と、処理回路28との機能を持つ。   Also, white LEDs 69 as illumination means are attached to a substantially disk-shaped imaging / illumination circuit board 68 at a plurality of locations around the lens frame 66. The imaging / illumination circuit board 68 has the functions of the LED drive circuit 27 and the processing circuit 28 in the first embodiment.

本実施の形態では、撮像・照明回路基板68の背面側には円筒形状にした円筒形回路基板70が配置され、その内側の円柱状空間に電源収納部71を形成し、この電源収納部71内に、例えば酸化銀のボタン電池72を内蔵している。   In the present embodiment, a cylindrical circuit board 70 having a cylindrical shape is disposed on the back side of the imaging / illumination circuit board 68, and a power storage unit 71 is formed in a cylindrical space inside the cylindrical circuit board 70. Inside, for example, a silver oxide button cell 72 is incorporated.

また、ボタン電池72が内蔵された電源収納部71の後面側で、ケース62の後端付近の空間には円板状で回転可能な回転磁石スイッチ73が配置され、この回転磁石スイッチ73の一端はボタン電池72の正極に接続され、他端は円筒形回路基板70に接続されている。なお、ボタン電池72の負極は撮像・照明回路基板68の背面の全面に形成したグランドに接続されている。   In addition, a rotating magnet switch 73 that is rotatable in a disc shape is disposed in the space near the rear end of the case 62 on the rear surface side of the power storage unit 71 in which the button battery 72 is incorporated, and one end of the rotary magnet switch 73 is arranged. Is connected to the positive electrode of the button battery 72, and the other end is connected to the cylindrical circuit board 70. The negative electrode of the button battery 72 is connected to the ground formed on the entire back surface of the imaging / illumination circuit board 68.

上記円筒形回路基板70は、例えば第1の実施の形態における送受信回路29とアンテナ30の機能を持つ。
本実施の形態では、カプセル型内視鏡61における電気系の少なくとも一部を円筒形回路収納部70に収納するように形成し、さらにその内側の電源収納部71に電源(具体的にはボタン電池72)を収納する構造にすることにより、回路基板をカプセル型内視鏡61の長手方向に積層した場合よりも、内部空間を有効利用して、その全長を短縮している。
The cylindrical circuit board 70 has functions of the transmission / reception circuit 29 and the antenna 30 in the first embodiment, for example.
In the present embodiment, at least a part of the electrical system in the capsule endoscope 61 is formed so as to be stored in the cylindrical circuit storage unit 70, and a power source (specifically, a button is provided in the power supply storage unit 71 inside thereof. By adopting a structure in which the battery 72) is accommodated, the internal space is used more effectively and the overall length is shortened than when the circuit board is laminated in the longitudinal direction of the capsule endoscope 61.

この円筒形回路収納部70は、チップ部品や基板を含めた回路を円筒形に形成できるように、高密度マルチチップSOF(システムオンフィルム)技術によって形成されている。狭いピッチで高密度実装を可能な薄いフレキシブル基板にLSIやチップ部品を精密実装技術で高密度に実装し、フレキシブルで厚さの薄い所定の機能を有するフレキシブル回路基板を形成している。   The cylindrical circuit storage unit 70 is formed by a high-density multi-chip SOF (system on film) technique so that a circuit including a chip component and a substrate can be formed in a cylindrical shape. LSIs and chip components are mounted on a thin flexible substrate capable of high-density mounting at a narrow pitch with high-precision mounting technology to form a flexible and thin flexible circuit substrate having a predetermined function.

この場合のフレキシブル回路基板の厚さは0.4mm〜0.9mmで、通常の硬質基板を用いた場合に比べてはるかに薄くできる。
このフレキシブル回路基板を円筒状に屈曲して円筒形の外筒と内筒との間に収納して円筒形回路収納部70を形成している。
In this case, the thickness of the flexible circuit board is 0.4 mm to 0.9 mm, which can be made much thinner than when a normal hard board is used.
The flexible circuit board is bent into a cylindrical shape and stored between a cylindrical outer cylinder and an inner cylinder to form a cylindrical circuit storage portion 70.

次に図13及び図14を参照して円板磁石スイッチ73の構成及び作用を説明する。図13は円板磁石スイッチ73の概略の構成を斜視図で示し、図14(A)及び図14(B)は外部磁石80により、円板磁石スイッチ73をスイッチONにする作用の説明図を示す。図14は図13と一部構成が異なる変形例であるが、図14の方がその作用を説明する場合に分かり易いので、この変形例の場合も含めてその構成及び作用を説明する。   Next, the configuration and operation of the disc magnet switch 73 will be described with reference to FIGS. FIG. 13 is a perspective view showing a schematic configuration of the disk magnet switch 73, and FIGS. 14A and 14B are explanatory diagrams of the operation of turning on the disk magnet switch 73 by the external magnet 80. FIG. Show. FIG. 14 is a modified example in which a part of the configuration is different from that in FIG. 13, but FIG. 14 is easier to understand when the operation is described. Therefore, the configuration and the operation will be described including the case of this modified example.

図13に示すようにカプセル型内視鏡61のケース62の後端内部に内蔵された円板磁石スイッチ73は、円板状の磁石74と、この磁石74の周囲の例えば1箇所に固着した導電部75と、この磁石74の周囲に近接して配置した2つの接点76と、磁石74に摩擦力を与えてその自由な回転を規制する摩擦付与部材77とからなる。   As shown in FIG. 13, the disc magnet switch 73 built in the rear end of the case 62 of the capsule endoscope 61 is fixed to a disc-shaped magnet 74 and, for example, one place around the magnet 74. The conductive portion 75, two contact points 76 arranged in the vicinity of the periphery of the magnet 74, and a friction applying member 77 that applies a frictional force to the magnet 74 to restrict its free rotation.

なお、図14では摩擦付与部材77の機能を持つと共に、磁石74の回転位置を導電部75により2つの接点76を導通させる位置にロックするように変形した変形例のストッパ78及び(磁石74の周方向に設けた)凹部79で示している。   In FIG. 14, the stopper 78 has a function of the friction applying member 77 and is modified so that the rotation position of the magnet 74 is locked at a position where the two contact points 76 are made conductive by the conductive portion 75 and the magnet 74. It is indicated by a recess 79 (provided in the circumferential direction).

磁石74は図14に示すように直径を通るある方向(例えば水平方向)の向きに着磁されており、図14(A)に示すように外部磁石80により、バネの弾性力でストッパ78の先端が押しつけられる際に働く摩擦力以上の磁力を印加して外部磁石80を磁石74の周囲で例えば半回転させると、その磁力により磁石74も半回転する。そして、図14(B)に示すように導電部75により2つの接点76をONさせ(電源ONす)ることができる。また、ストッパ78は凹部79にはまり込み、磁石74の回転が規制されてその状態を保持する。   As shown in FIG. 14, the magnet 74 is magnetized in a direction (for example, horizontal direction) passing through the diameter. As shown in FIG. When a magnetic force equal to or greater than the frictional force acting when the tip is pressed is applied and the external magnet 80 is rotated around the magnet 74, for example, by half rotation, the magnet 74 is also rotated halfway by the magnetic force. Then, as shown in FIG. 14B, the two contact points 76 can be turned on (powered on) by the conductive portion 75. Further, the stopper 78 fits into the recess 79, and the rotation of the magnet 74 is restricted and the state is maintained.

図13の摩擦付与部材77の場合には、この摩擦付与部材77による摩擦力以上の磁力で、図14の場合とほぼ同様にスイッチONにできる。また、スイッチOFFにすることもできる。   In the case of the friction applying member 77 shown in FIG. 13, the switch can be turned on in the same manner as in the case of FIG. Also, the switch can be turned off.

また、本実施の形態では、カプセル型内視鏡を組立後、水密のチェックを行うために、カプセル型内視鏡61の例えば後端部に開口部81(図15(A)参照)を設けている。   In the present embodiment, after the capsule endoscope is assembled, an opening 81 (see FIG. 15A) is provided at, for example, the rear end portion of the capsule endoscope 61 in order to check water tightness. ing.

そして、組立後、図15(A)に示すように加圧用治具82をカプセル型内視鏡61の開口部81に当てた状態で図15(B)のように水中83に水没させ、治具82からカプセル型内視鏡61内に空気圧をかける。カプセル型内視鏡61から気泡が出てこなければ水密は確保されていると言うことになり、水中83から取り出して図15(C)に示すように開口部81をゴムパッキン84等の封止部材で封止する。   Then, after assembly, as shown in FIG. 15A, the pressurizing jig 82 is applied to the opening 81 of the capsule endoscope 61 and submerged in the water 83 as shown in FIG. Air pressure is applied from the tool 82 into the capsule endoscope 61. If air bubbles do not come out from the capsule endoscope 61, it is said that water tightness is secured. As shown in FIG. 15C, the opening 81 is sealed with a rubber packing 84, etc. Seal with a member.

この時、カプセル型内視鏡61内部を正圧(大気圧より高く)にして組立完了させれば、万一カプセル型内視鏡61にヒビが入った場合でも、内部の方が圧力が高いので、外側の液体などがカプセル型内視鏡61の内部に浸入する可能性を低くできる。   At this time, if assembly is completed by setting the inside of the capsule endoscope 61 to a positive pressure (higher than atmospheric pressure), even if the capsule endoscope 61 is cracked, the pressure inside is higher. Therefore, it is possible to reduce the possibility that an outside liquid or the like enters the inside of the capsule endoscope 61.

なお、カプセル型内視鏡61の組立後の水密チェックは、開口部が無く完全に密閉組立した完成品を、水槽に水没させ、水槽を減圧し、カプセル型内視鏡61から気泡が出るか否かで最終的な水密チェックを行うことでもよい。余計な最終組立工程が無い分、より効率的である。   In addition, the watertight check after the assembly of the capsule endoscope 61 is carried out by submerging the finished product that is completely sealed without an opening in a water tank, depressurizing the water tank, and bubbles are generated from the capsule endoscope 61. A final watertight check may be performed depending on the result. Since there is no extra final assembly process, it is more efficient.

なお、本実施の形態のカプセル型内視鏡61は体外ユニットと画像情報、制御情報の送受信を双方向無線デジタル通信で行われる。
また、体外ユニットにはコンパクトフラッシュ(R)タイプの容量1GBの半導体メモリが用いられ、カプセル型内視鏡61から送られてくる画像情報を蓄える。その他は第1の実施の形態と同様の構成である。
Note that the capsule endoscope 61 of the present embodiment transmits and receives image information and control information to and from the extracorporeal unit by bidirectional wireless digital communication.
Further, a compact flash (R) type 1 GB semiconductor memory is used for the extracorporeal unit, and the image information sent from the capsule endoscope 61 is stored. The other configuration is the same as that of the first embodiment.

本実施の形態では、図13、図14を参照して説明したように外部磁石79等により、電源スイッチを形成する円板磁石スイッチ73のスイッチングをカプセル型内視鏡61の外部から遠隔的に容易に行うことができる。   In the present embodiment, as described with reference to FIGS. 13 and 14, the switching of the disk magnet switch 73 forming the power switch is remotely performed from the outside of the capsule endoscope 61 by the external magnet 79 or the like. It can be done easily.

従って本実施の形態は以下の効果を有する。
円板磁石スイッチ73がカプセル型内視鏡61に内蔵されているので完全に遠隔的にスイッチングができ、操作性が良い。
Therefore, this embodiment has the following effects.
Since the disc magnet switch 73 is built in the capsule endoscope 61, it can be switched completely remotely and the operability is good.

また、組立後の水密チェックが簡便にできる。
また、高密度に円筒形状に回路基板を形成して、円筒形状の部分に収納した円筒形回路収納部70を採用し、その内側には電源を収納することによって、スペースの有効利用が可能となり、全長を短くできる等小型化が可能となる。
In addition, a watertight check after assembly can be easily performed.
In addition, the circuit board is formed in a cylindrical shape at a high density and the cylindrical circuit storage portion 70 is stored in the cylindrical portion, and the power supply is stored inside the circuit storage portion 70 so that the space can be effectively used. It is possible to reduce the size, for example, by shortening the overall length.

また、図14の構成の場合には、外部磁界によって磁石74が回転し、スイッチをONさせる位置まで来ると、ストッパ78が磁石74の凹部79に入り込み、そこで磁石は固定されるので、確実にON状態を保てる。   In the case of the configuration of FIG. 14, when the magnet 74 is rotated by the external magnetic field and reaches the position where the switch is turned on, the stopper 78 enters the concave portion 79 of the magnet 74, and the magnet is fixed there. Can keep ON state.

なお、円筒形回路収納部70としては、上述した回路部分以外にも、例えば撮像・照明回路基板68等の機能も収納したものにしても良い。このようにすると、さらに小型化することも可能となる。   In addition to the circuit portion described above, the cylindrical circuit storage unit 70 may also store, for example, functions of the imaging / illumination circuit board 68 and the like. In this way, it is possible to further reduce the size.

なお、例えば図14では水平方向に着磁した(永久)磁石74を採用しているが、その変形例として円板における例えば水平方向部分(直径を通る水平方向に細長となる部分)を磁力と作用する磁性体(より具体的には鉄等の強磁性体)で形成し、その他の部分を非磁性体にして、図14の場合とほぼ同様に外部磁石80を回転させることにより磁性体部分を磁力で回転させて導電部75により2つの接点76をONさせるようにすることもできる。   For example, in FIG. 14, a (permanent) magnet 74 magnetized in the horizontal direction is used, but as a modification, for example, a horizontal part (a part elongated in the horizontal direction passing through the diameter) of the disk is a magnetic force. A magnetic body portion is formed by rotating the external magnet 80 in substantially the same manner as in the case of FIG. 14 and is made of an acting magnetic body (more specifically, a ferromagnetic body such as iron) and the other portions are non-magnetic bodies. It is also possible to turn on the two contact points 76 by the conductive portion 75 by rotating them with a magnetic force.

図16は第1変形例のカプセル型内視鏡61Bにおける磁石スイッチ86を示す。
このカプセル型内視鏡61Bに水密的に内蔵した磁石スイッチ86は、回転するのではなく、前後にスライド可能とするスライド収納部87の一方の端部(図16では前側端部)側に(その長手方向に着磁された)棒状磁石88が収納され、またその下面には導電部89が設けてある。
FIG. 16 shows the magnet switch 86 in the capsule endoscope 61B of the first modification.
The magnet switch 86 that is watertightly incorporated in the capsule endoscope 61B does not rotate but moves to one end portion (front end portion in FIG. 16) of the slide storage portion 87 that can slide back and forth. A rod-shaped magnet 88 (magnetized in the longitudinal direction) is accommodated, and a conductive portion 89 is provided on the lower surface thereof.

また、スライド収納部87の一方と他方の端部にそれぞれ接点90が隣接するように設けてあり、その一方はリード線で電源(電池)に他方は回路系の電源端に接続されている。   Further, a contact 90 is provided adjacent to one end and the other end of the slide storage portion 87, one of which is a lead wire connected to a power source (battery) and the other connected to a power source end of the circuit system.

外部磁石91の磁力でこの棒状磁石88を後方側にスライド移動させることにより、導電部89で2つの接点90をONにし、2つの接点90がONとなることにより回路系に電源を供給できるようにする。なお、図16ではカプセル型内視鏡61Bの側面に沿って、磁石スイッチ86を内蔵した場合で示しているが、背面に配置しても良い。   By sliding the rod-shaped magnet 88 backward by the magnetic force of the external magnet 91, the two contact points 90 are turned on by the conductive portion 89, and the two contact points 90 are turned on so that power can be supplied to the circuit system. To. Although FIG. 16 shows the case where the magnet switch 86 is built in along the side surface of the capsule endoscope 61B, it may be arranged on the back surface.

本変形例の効果としては回転動作が不要なので、電源のスイッチングがより簡単にできる。本変形例の場合にも、棒状磁石88の代わりに磁性体を採用することもできる。   As an effect of this modification, since the rotation operation is unnecessary, the switching of the power source can be made easier. Also in the case of this modification, a magnetic body can be adopted instead of the rod-shaped magnet 88.

図17は第2変形例における水密チェックの構成及び作用を示す。
例えばカプセル型内視鏡61の組立後の水密チェックにおいて、図17(A)に示すようにカプセル型内視鏡61を台92により保持し、保持されたカプセル型内視鏡61の上端(後端)側に設けた開口部(ピンホール)81から加圧治具82によってカプセル型内視鏡61の内部を加圧し、図17(B)に示すように水没時での気泡を確認する。
FIG. 17 shows the configuration and operation of the watertight check in the second modification.
For example, in the water-tightness check after the assembly of the capsule endoscope 61, as shown in FIG. 17A, the capsule endoscope 61 is held by the base 92, and the upper end (rear side) of the held capsule endoscope 61 is retained. The inside of the capsule endoscope 61 is pressurized by a pressurizing jig 82 from an opening (pinhole) 81 provided on the (end) side, and bubbles at the time of submersion are confirmed as shown in FIG.

気泡が出なければ水密が保たれていることがわかる。水密チェック後、同じ加圧治具82から、図17(C)に示すように開口部封止用の樹脂(接着剤)93を流し込み、乾燥させ、カプセル型内視鏡61を封止する。樹脂が紫外線硬化樹脂であるなら、図17(D)に示すように紫外線ランプ94で紫外線を照射し、硬化させる。
本変形例の効果として、水密チェックと最終組立が効率的に行える。
If bubbles do not come out, it is understood that watertightness is maintained. After the water tightness check, an opening sealing resin (adhesive) 93 is poured from the same pressure jig 82 as shown in FIG. 17C, dried, and the capsule endoscope 61 is sealed. If the resin is an ultraviolet curable resin, it is cured by irradiating with ultraviolet rays with an ultraviolet lamp 94 as shown in FIG.
As an effect of this modification, watertight check and final assembly can be performed efficiently.

次に第3変形例を説明する。
本変形例のカプセル型内視鏡と体外ユニットのデータ送受信は無線の双方向デジタル通信ではなく、一方向デジタル通信、あるいは双方向アナログ通信、一方向アナログ通信でも良い。
本変形例の効果としては一方向、あるいはアナログになることで、カプセル型内視鏡側の情報処理負荷が減る。
Next, a third modification will be described.
Data transmission / reception between the capsule endoscope and the extracorporeal unit according to this modification may be performed by one-way digital communication, two-way analog communication, or one-way analog communication instead of wireless two-way digital communication.
As an effect of this modification, the information processing load on the capsule endoscope side is reduced by being unidirectional or analog.

次に第4変形例を説明する。
本変形例では、体外ユニットと表示システム間のデータ通信は、USB等の優先手段ではなく、カプセル型内視鏡と体外ユニットのデータ送受信方法と同じ無線の通信方法を採用したものである。
Next, a fourth modification will be described.
In this modification, data communication between the extracorporeal unit and the display system employs the same wireless communication method as the data transmission / reception method between the capsule endoscope and the extracorporeal unit, instead of priority means such as USB.

本変形例の効果として、無線で送受信できるので、線をつなぐ煩わしさがない。体外ユニットの送受信ユニットを対カプセル型内視鏡用と、対表示システム用で共有化することもできる。   As an effect of this modified example, since it can be transmitted and received wirelessly, there is no trouble of connecting the lines. The transmission / reception unit of the extracorporeal unit can be shared for the capsule-type endoscope and the display system.

次に第5変形例を図18を参照して説明する。図18(A)は第5変形例のカプセル型内視鏡61Dの縦断面を示し、図18(B)は図18(A)のA−A′断面を示す。   Next, a fifth modification will be described with reference to FIG. FIG. 18A shows a longitudinal section of a capsule endoscope 61D of the fifth modification, and FIG. 18B shows an AA ′ section of FIG.

本変形例は第2の実施の形態における円筒形回路収納部70内に円筒形状にした回路基板を収納する代わりに、回路基板自体を円筒形にしたもの、つまり円筒形回路部96を採用したものである。   In this modification, instead of storing the cylindrical circuit board in the cylindrical circuit storage unit 70 in the second embodiment, a circuit board itself, that is, a cylindrical circuit unit 96 is used. Is.

図18(A)に示すように本変形例のカプセル型内視鏡61Dは、例えば図2に示す第1の実施の形態のカプセル型内視鏡3のようにケース16の先端に透明カバー17を水密的に接続して形成したカプセル状の密閉空間の先端側にベース25にレンズ枠26を介して対物レンズ23を取り付け、その結像位置にCMOSイメージャ22を取り付けている。また、レンズ枠26の周囲に基板27を介して白色LED24を配置している。   As shown in FIG. 18 (A), the capsule endoscope 61D of the present modified example has a transparent cover 17 at the tip of the case 16 like the capsule endoscope 3 of the first embodiment shown in FIG. The objective lens 23 is attached to the base 25 via the lens frame 26 at the front end side of the capsule-like sealed space formed by watertightly connecting the CMOS imager 22 at the image formation position. A white LED 24 is disposed around the lens frame 26 via a substrate 27.

また、このケース16の後端に設けた雌ネジ部18には磁石19を内蔵し、雄ネジ部20を設けた磁石ユニット21が螺合により取り付けられるようになっている。   In addition, a magnet 19 is built in a female screw portion 18 provided at the rear end of the case 16, and a magnet unit 21 provided with a male screw portion 20 is attached by screwing.

また、本変形例では、ベース25の背面側には、回路基板自体を円筒形にした円筒形回路部96を構成するフレキシブル基板97が収納され、その内側にCMOSイメージャ22の一部と、ボタン型電池31,リードスイッチ33が収納配置されている。   In the present modification, a flexible substrate 97 constituting a cylindrical circuit portion 96 in which the circuit substrate itself is cylindrical is accommodated on the back side of the base 25, and a part of the CMOS imager 22 and buttons A type battery 31 and a reed switch 33 are accommodated.

この円筒形回路部96は図18(B)に示すように略円筒形状に屈曲した薄膜のフレキシブル基板97と、このフレキシブル基板97の例えば円筒内周面に実装されたICチップ98及びベアチップ99等から構成されている。また、この円筒形回路部96にはアンテナ100が接続されている。フレキシブル基板97及びこれに実装されるICチップ98及びベアチップ99等は図12で説明したように高密度マルチチップSOF技術で形成している。   As shown in FIG. 18B, the cylindrical circuit portion 96 includes a thin film flexible substrate 97 bent into a substantially cylindrical shape, and an IC chip 98 and a bare chip 99 mounted on the inner peripheral surface of the flexible substrate 97, for example. It is composed of An antenna 100 is connected to the cylindrical circuit portion 96. The flexible substrate 97 and the IC chip 98 and bare chip 99 mounted on the flexible substrate 97 are formed by the high-density multi-chip SOF technology as described with reference to FIG.

ICチップ98は実装スペースに応じてフリップチップ実装やワイヤボンディング実装が採用されている。ICチップ98はチップ自体が薄膜化されているため、フレキシブル基板97と一緒に曲げることが可能だり、カプセル型内視鏡61への収納の自由度を高くできる。   The IC chip 98 employs flip chip mounting or wire bonding mounting depending on the mounting space. Since the IC chip 98 is thinned, the IC chip 98 can be bent together with the flexible substrate 97 and can be stored in the capsule endoscope 61 with a high degree of freedom.

また、円筒状にした円筒形回路部96の内側に電池31やリードスイッチ33を収納できるので、スペースの有効利用ができ、カプセル型内視鏡61の全長を短くできるようにしている。   Further, since the battery 31 and the reed switch 33 can be housed inside the cylindrical circuit portion 96 that is formed into a cylindrical shape, space can be used effectively, and the total length of the capsule endoscope 61 can be shortened.

この円筒形回路部96の実装方法は、本発明のカプセル型医療装置のみならず、円筒形状の収納部を持つ通常の内視鏡などにも適用可能であり、同様にスペースの有効利用が可能であり、小型化等ができる。   This mounting method of the cylindrical circuit part 96 can be applied not only to the capsule medical device of the present invention but also to an ordinary endoscope having a cylindrical storage part, and the space can be effectively used similarly. Therefore, the size can be reduced.

次に本発明の第2の実施の形態の第6変形例を図19を参照して説明する。 上記第5変形例において、本変形例はウェハの状態から研磨やエッチングにより薄膜化されている図19に示すICチップ98′が採用されている。薄膜化していくと、ウェハは段々と反り返っていく。その反りを回路基板の反りに合わせることで、円筒状のICチップ98′による回路基板が実現できる。   Next, a sixth modification of the second embodiment of the present invention will be described with reference to FIG. In the fifth modified example, this modified example employs an IC chip 98 ′ shown in FIG. 19 which has been thinned by polishing or etching from the state of the wafer. As the film becomes thinner, the wafer warps gradually. By matching the warpage with the warpage of the circuit board, a circuit board using a cylindrical IC chip 98 'can be realized.

本変形例は、前記第5変形例の構成よりもICチップ98′が薄くなくて済むため、ICチップ98′の強度が保てる。ICチップ98′のフレキシブル基板97への実装は、図19に示すように円筒の外側に実装する場合にはフリップチップ実装にすることで、ワイヤボンディング実装するよりも円筒形状の外径を小さく保つことができる。   In this modification, the IC chip 98 'does not have to be thinner than the configuration of the fifth modification, so that the strength of the IC chip 98' can be maintained. As shown in FIG. 19, the IC chip 98 ′ is mounted on the flexible substrate 97 by flip-chip mounting when mounted outside the cylinder, so that the outer diameter of the cylindrical shape is kept smaller than wire bonding mounting. be able to.

円筒の内側に実装する場合は、フリップチップ実装或いは図18(B)でも示したようにワイヤボンディング実装でも良い。
この回路基板の実装方法は、本発明のカプセル型医療装置のみならず、円筒形状の収納部を持つ通常の内視鏡などにも適用可能であり、同様にスペースの有効利用が可能であり、小型化等ができるメリットがある。
When mounting inside the cylinder, flip chip mounting or wire bonding mounting as shown in FIG.
This circuit board mounting method can be applied not only to the capsule-type medical device of the present invention but also to a normal endoscope having a cylindrical storage portion, and the space can be effectively used in the same manner. There is an advantage that it can be downsized.

(第3の実施の形態)
次に本発明の第3の実施の形態を説明する。第1及び第2の実施の形態では、光学的な観察(及び照明)手段を設けたカプセル型内視鏡の場合で説明したが、以下では光学的な観察手段の代わりに、他の機能を有する手段を設けたカプセル型医療装置である。従って、光学的に観察する機能(その駆動回路等の機能も含む)の他の構成は第1或いは第2の実施の形態と同じ構成である。
第3の実施の形態ではセンサ手段を設けたものである。
(Third embodiment)
Next, a third embodiment of the present invention will be described. In the first and second embodiments, the capsule endoscope provided with the optical observation (and illumination) means has been described. However, in the following, other functions are provided instead of the optical observation means. It is a capsule medical device provided with a means to have. Therefore, other configurations of the optical observation function (including the functions of the drive circuit and the like) are the same as those in the first or second embodiment.
In the third embodiment, sensor means is provided.

カプセル本体の外面に光センサ、pHセンサ、温度センサ、圧力センサ、または血液センサ(ヘモグロビンセンサ)等の各種センサ手段は、センシング部分が外部に露出し、カプセル内部に対して水密を保つようにカプセル本体に固定してある。   Various sensor means such as a light sensor, a pH sensor, a temperature sensor, a pressure sensor, or a blood sensor (hemoglobin sensor) are provided on the outer surface of the capsule body so that the sensing portion is exposed to the outside and the capsule interior is kept watertight. It is fixed to the main body.

センシング部分により、生体(具体的には、人、動物の体腔管路)内の明るさ、内液の化学量(PH値)、各臓器の温度、カプセル通過時のカプセル外面に管腔内面からの圧力、各臓器のヘモグロビン量(出血の有無)などの情報を入手し、得られたデータは、図示しないカプセル内部のメモリに一旦蓄積され、その後、図示しない通信手段により、体外に置かれた受信手段(例えば図1の体外ユニット5)に送信される。   The sensing part allows the brightness in the living body (specifically, the body lumen of humans and animals), the chemical amount (PH value) of the internal fluid, the temperature of each organ, and the outer surface of the capsule to pass through the capsule from the inner surface of the lumen. Information such as the pressure of the blood, the amount of hemoglobin in each organ (presence / absence of bleeding), and the obtained data were temporarily stored in a memory inside the capsule (not shown), and then placed outside the body by communication means (not shown) It is transmitted to receiving means (for example, the extracorporeal unit 5 in FIG. 1).

そして、受信手段によって得られたデータを基準値と比較することで、病気や出血などの異常の有無の判断、カプセル通過位置や通過状態の判断を体外において、医者やコメディカルなどの医療従事者が行うことができる。特に、カプセル型医療装置により被検者の苦痛が無く、生体の消化管内のPH値やヘモグロビン量を測定することで、消化器疾患の診断や生理学的解析が行えることの効果は大きい。各種センサは、目的に応じて複数種類備えていることで、効率よい検査が行える。   Then, by comparing the data obtained by the receiving means with a reference value, it is possible to determine whether there is an abnormality such as illness or bleeding, and to determine the capsule passage position and passage state outside the body, such as a medical worker such as a doctor or a comedy. Can be done. In particular, there is no pain in the subject by the capsule medical device, and the effect of performing diagnosis and physiological analysis of digestive system diseases by measuring the PH value and the amount of hemoglobin in the digestive tract of a living body is great. Various sensors can be efficiently inspected by having a plurality of types according to the purpose.

また、センサ手段の代わりに超音波探触子を設けたものでも良い。
この場合には、カプセル本体の外面に超音波探触子の音響レンズ部が来るようにカプセル本体に超音波探触子を水密に配置してある。
図示しないカプセル内部の超音波送受信回路により体腔内の超音波断層像を得る。得られたデータは上記同様の方法で、体外の受診手段に送信される。
Further, an ultrasonic probe may be provided instead of the sensor means.
In this case, the ultrasonic probe is arranged in a watertight manner in the capsule body so that the acoustic lens portion of the ultrasonic probe comes to the outer surface of the capsule body.
An ultrasonic tomographic image in the body cavity is obtained by an ultrasonic transmission / reception circuit inside the capsule (not shown). The obtained data is transmitted to the outside medical examination means by the same method as described above.

これにより、小腸などを体腔内深部の深さ方向の異常の有無の診断が行える。 また、光学的な観察手段と、この音響的な観察手段との両方の手段とを備える構成にすれば、光学的な観察手段による体腔内表面と、音響的な観察手段による表面の内部(深部)の両方の診断を一度に行える。
このことにより体腔内表面の位置が、周辺臓器の超音波画像から把握できるという効果も有する。
This makes it possible to diagnose whether there is an abnormality in the depth direction of the deep part of the body cavity such as the small intestine. In addition, if the structure includes both the optical observation means and the acoustic observation means, the body cavity surface by the optical observation means and the inside of the surface by the acoustic observation means (the deep part) ) Both diagnoses at once.
This also has an effect that the position of the surface of the body cavity can be grasped from the ultrasonic images of the surrounding organs.

また、センサ手段の代わりに治療・処置手段を設けるようにしたものでも良い。
この場合には、カプセル本体側に開口部を有し、カプセル本体内部に薬剤収納部や体液吸入部があり、開口部には胃液で消化されるゼラチンや腸液で消化される脂肪酸膜などからなる溶解膜がついている。
Further, a treatment / treatment means may be provided instead of the sensor means.
In this case, the capsule body has an opening, and the capsule body has a medicine storage section and a body fluid inhalation section. The opening is made of gelatin digested with gastric juice or fatty acid film digested with intestinal fluid. There is a dissolved film.

そして、目的部位にこのカプセル型医療装置が到達したら、治療薬の直接投与または、体液の吸入を行うことができる。
血液センサや光学的な観察手段で出血部を確認後、体外からの通信により、カプセル型医療装置内部に収納した止血剤注入用注射針などの処置具の動作を指示し、止血剤であるエタノールや粉末薬品を出血部位に散布して止血する。
When the capsule medical device reaches the target site, the therapeutic drug can be directly administered or body fluid can be inhaled.
After confirming the bleeding part with a blood sensor or optical observation means, the operation of a treatment tool such as a needle for injecting a hemostatic agent contained in the capsule medical device is instructed by communication from outside the body, and ethanol as a hemostatic agent Or apply powdered medicine to the bleeding site to stop bleeding.

この場合には、患者等に殆ど苦痛を与えることなく、治療や治療のための処置を行える効果がある。   In this case, there is an effect that a treatment or a treatment for the treatment can be performed with almost no pain to the patient or the like.

なお、上述の各実施の形態等ではリードスイッチ33等は電源(電力供給源)としての電池31等の電力を所定の機能を行うLED駆動回路27,処理回路28等に供給する電源スイッチの機能を持たせているが、他の機能のON/OFFに利用するようにしても良い。   In each of the above-described embodiments, the reed switch 33 or the like functions as a power switch that supplies power from the battery 31 or the like as a power source (power supply source) to the LED drive circuit 27 and the processing circuit 28 that perform a predetermined function. However, it may be used to turn on / off other functions.

なお、上述した各実施の形態等を部分的或いは複合的に組み合わせて構成される実施の形態等も本発明に属する。   Embodiments configured by combining the above-described embodiments partially or in combination also belong to the present invention.

[付記]
0.上記カプセル本体は水密構造のケースで覆われており、前記ケース内部に所定の機能を有する電気回路と、前記電源回路に動作のための電力を供給する電源と、前記電源からの電力のOFFからONに作動する前記磁気スイッチが内蔵されている請求項1又は2のカプセル型医療装置。
[Appendix]
0. The capsule body is covered with a watertight case, an electric circuit having a predetermined function inside the case, a power supply for supplying power for operation to the power supply circuit, and turning off the power from the power supply The capsule medical device according to claim 1, wherein the magnetic switch that is turned on is incorporated.

1.上記磁気スイッチはカプセル本体の後端部に配置されていることを特徴とする請求項1または2のカプセル型医療装置。 1. 3. The capsule medical device according to claim 1, wherein the magnetic switch is disposed at a rear end portion of the capsule body.

2.上記磁気スイッチはカプセル本体の側面に配置されていることを特徴とする請求項1または2のカプセル型医療装置。 2. 3. The capsule medical device according to claim 1, wherein the magnetic switch is disposed on a side surface of the capsule body.

3.上記別体の磁石パッケージがカプセル本体に一部係止されていることを特徴とする請求項1または2のカプセル型医療装置。 3. 3. The capsule medical device according to claim 1, wherein the separate magnet package is partially locked to the capsule body.

4.上記別体の磁石パッケージがカプセル本体に一体に形成されていることを特徴とする付記3のカプセル型医療装置。 4). The capsule-type medical device according to appendix 3, wherein the separate magnet package is formed integrally with the capsule body.

5.上記組み付け手段がねじ機構である請求項1または3のカプセル型医療装置。
6.上記組み付け手段が磁石ユニットを一体に収納できるカプセル本体に設けた孔である請求項1または3のカプセル型医療装置。
5). The capsule medical device according to claim 1 or 3, wherein the assembly means is a screw mechanism.
6). 4. The capsule medical device according to claim 1, wherein the assembling means is a hole provided in a capsule main body capable of housing the magnet unit integrally.

7.上記組み付け手段がカプセル本体の後端部に配置されていることを特徴とする請求項1または2のカプセル型医療装置。 7). The capsule medical device according to claim 1 or 2, wherein the assembly means is disposed at a rear end of the capsule body.

8.上記組み付け手段がカプセル本体の側面に配置されていることを特徴とする請求項1または2のカプセル型医療装置。 8). 3. The capsule medical device according to claim 1, wherein the assembling means is disposed on a side surface of the capsule body.

9.上記磁石あるいは磁性体が円板形である請求項3のカプセル型医療装置。 9. 4. The capsule medical device according to claim 3, wherein the magnet or the magnetic body has a disk shape.

10.上記外部磁界発生手段が永久磁石である請求項3のカプセル型医療装置。 10. 4. The capsule medical device according to claim 3, wherein the external magnetic field generating means is a permanent magnet.

11.上記外部磁界発生手段が電磁石である請求項3のカプセル型医療装置。 11. 4. The capsule medical device according to claim 3, wherein the external magnetic field generating means is an electromagnet.

12.人または動物の体腔管路内を通過させて検査、治療または処置を行なうカプセル型医療装置において、
カプセル本体と、上記カプセル本体の比重が特定の液体と略同比重であることを特徴とするカプセル型医療装置。
12 In a capsule medical device that passes through a body cavity line of a human or animal and performs an examination, treatment, or treatment,
A capsule medical device characterized in that the specific gravity of the capsule body and the capsule body is substantially the same as that of the specific liquid.

13.人または動物の体腔管路内を通過させて検査、治療または処置を行うカプセル型医療装置において、
カプセル本体と、上記カプセル本体の内部あるいは外部に取り付ける比重調整物質とからなり、上記比重調整物質を取り付けたカプセル本体の比重が特定の液体と略同比重になることを特徴とするカプセル型医療装置。
13. In a capsule medical device that conducts examination, treatment, or treatment by passing through a body cavity duct of a human or animal,
A capsule-type medical device comprising a capsule body and a specific gravity adjusting substance attached inside or outside the capsule body, wherein the specific gravity of the capsule main body to which the specific gravity adjusting substance is attached is substantially the same as that of a specific liquid. .

14.上記特定の液体が大腸検査用洗腸液であることを特徴とする付記13のカプセル型医療装置。 14 The capsule-type medical device according to appendix 13, wherein the specific liquid is a large intestine lavage fluid.

15.上記特定の液体がクエン酸マグネシウムであることを特徴とする付記13のカプセル型医療装置。 15. The capsule medical device according to appendix 13, wherein the specific liquid is magnesium citrate.

(付記12〜15の背景)
従来例では腸の蠕動運動によってカプセル型内視鏡を移動させるものがあったが、移動に時間がかかり、そのために検査時間が長くなる欠点があった。このため、移動速度を速くすることができるカプセル型内視鏡等のカプセル型医療装置を提供することを目的として、付記12〜15の構成にした。
(Background of Addendum 12-15)
In the conventional example, the capsule endoscope is moved by the peristaltic movement of the intestine. However, it takes time to move, and there is a disadvantage that the inspection time becomes long. For this reason, it was set as the structure of Additional remarks 12-15 for the purpose of providing capsule type medical devices, such as a capsule type endoscope which can make a moving speed fast.

16.人または動物の体腔内において検査、治療または処置を行うカプセル型医療装置において、
カプセルの外装部材に水密確認用の開口部を設け、カプセル内の内蔵物と外装部材の間に気体が流通できるスペースを設けるとともに、カプセル完成状態直前に開口部から加圧による水密チェックを行い、その後、開口部に弾性部材からなる栓を嵌入することを特徴とするカプセル型医療装置。
16. In a capsule medical device that performs inspection, treatment, or treatment in the body cavity of a human or animal,
The capsule exterior member is provided with an opening for water-tightness confirmation, and a space through which gas can flow between the built-in item in the capsule and the exterior member is provided, and a water-tightness check is performed from the opening immediately before the capsule is completed, Thereafter, a capsule medical device, wherein a stopper made of an elastic member is inserted into the opening.

17.人または動物の体腔内において検査、治療または処置を行うカプセル型医療装置において、
カプセルの外装部材に水密確認用の開口部を設け、カプセル内の内蔵物と外装部材の間に気体が流通できるスペースを設けるとともに、カプセル完成状態直前に開口部から加圧による水密チェックを行い、その後、開口部から合成樹脂を注入して開口部の水密を確保することを特徴とするカプセル型医療装置。
17. In a capsule medical device that performs inspection, treatment, or treatment in the body cavity of a human or animal,
The capsule exterior member is provided with an opening for water-tightness confirmation, and a space through which gas can flow between the built-in item in the capsule and the exterior member is provided, and a water-tightness check is performed from the opening immediately before the capsule is completed, Thereafter, a synthetic resin is injected from the opening to ensure water tightness of the opening.

18.上記合成樹脂が紫外線硬化樹脂であることを特徴とする付記17のカプセル型医療装置。
19.上記弾性部材が合成ゴムである付記16のカプセル型医療装置。
20.上記弾性部材がシリコンゴムである付記19のカプセル型医療装置。
21.前記合成樹脂が接着剤である付記17のカプセル型医療装置。
18. The capsule-type medical device according to appendix 17, wherein the synthetic resin is an ultraviolet curable resin.
19. Item 16. The capsule medical device according to appendix 16, wherein the elastic member is a synthetic rubber.
20. The capsule medical device according to appendix 19, wherein the elastic member is silicon rubber.
21. Item 18. The capsule medical device according to appendix 17, wherein the synthetic resin is an adhesive.

(付記16〜21の背景)
従来例ではカプセル内に内蔵物を収納した場合、その状態が水密状態に設定されているかの確認をできる構造でなかった。このため、合成樹脂製の外装部材にピンポール等の目視での確認が難しい孔が空いていても分かりにくい欠点があった。その場合、そのまま飲み込んで検査に使用すると、検査中に体液等により、カプセル内部の機能が損なわれる等の欠点が生じる。
このため、カプセル完成状態直前等にカプセル内部の水密状態を確認できるカプセル型医療装置を提供することを目的とし、付記16〜21の構成にした。
(Background of Supplementary Notes 16-21)
In the conventional example, when a built-in object is stored in a capsule, the structure is not capable of confirming whether the state is set to a watertight state. For this reason, there existed a fault which is hard to understand even if the hole which is difficult to visually confirm, such as a pin pole, is formed in the synthetic resin exterior member. In that case, if it is swallowed as it is and used for the inspection, there is a drawback that the function inside the capsule is impaired by the body fluid during the inspection.
For this reason, it was set as the structure of additional remarks 16-21 for the purpose of providing the capsule type medical device which can confirm the watertight state inside a capsule immediately before a capsule completion state.

22.前記磁石がネオジウム系磁石である請求項1あるいは請求項3のカプセル型医療装置。
23.前記磁石がフェライト系磁石である請求項1あるいは請求項3のカプセル型医療装置。
24.人または動物の体腔内において検査、治療または処置を行うカプセル型医療装置において、
円筒状のカプセル本体と、
上記カプセル本体の内部の中央部にボタン電池を収納する電源部と、
上記電源部の周囲に配置した少なくとも一つの円筒状に形成した回路収納部とからなることを特徴とするカプセル型医療装置。
22. The capsule medical device according to claim 1 or 3, wherein the magnet is a neodymium magnet.
23. The capsule medical device according to claim 1 or 3, wherein the magnet is a ferrite magnet.
24. In a capsule medical device that performs inspection, treatment, or treatment in the body cavity of a human or animal,
A cylindrical capsule body;
A power supply unit that houses a button battery in the center of the capsule body;
A capsule-type medical device comprising: at least one circuit housing portion formed in a cylindrical shape disposed around the power source portion.

25.前記回路収納部には円筒状に形成した回路が収納されていることを特徴とする付記24のカプセル型医療装置。
26.前記回路収納部には、薄膜状の基板上に複数の電気部品を高密度実装したフィルム基板が収納されていることを特徴とする付記24のカプセル型医療装置。
25. The capsule medical device according to appendix 24, wherein a circuit formed in a cylindrical shape is stored in the circuit storage portion.
26. 24. The capsule medical device according to appendix 24, wherein the circuit storage unit stores a film substrate in which a plurality of electrical components are mounted on a thin film substrate at high density.

(付記24〜26の背景)
従来例では回路基板や電池がカプセルの長手方向に配置されており、その全長が長くなってしまう欠点があった。そのため、全長を短くして飲み易さをより改善できるカプセル型医療装置を提供することを目的として付記24〜26の構成にした。
(Background of appendices 24-26)
In the conventional example, the circuit board and the battery are arranged in the longitudinal direction of the capsule, and there is a drawback that the entire length becomes long. Therefore, it was set as the structure of additional remarks 24-26 for the purpose of providing the capsule type medical device which can shorten a full length and can improve the ease of drinking more.

27.人または動物の体腔内において検査、治療または処置を行うカプセル型医療装置において、
カプセル本体と、
カプセル本体と別体で、カプセル本体と信号の送受信を行う体外ユニットと、 体外ユニット内に設けた電源手段とからなり、
上記電源手段が小型タービン発電機からなることを特徴とするカプセル型医療装置。
27. In a capsule medical device that performs inspection, treatment, or treatment in the body cavity of a human or animal,
A capsule body;
It consists of an external unit that transmits and receives signals to and from the capsule body separately from the capsule body, and power supply means provided in the external unit.
A capsule-type medical device, wherein the power supply means comprises a small turbine generator.

28.人または動物の体腔内において検査、治療または処置を行うカプセル型医療装置において、
カプセル本体と、
カプセル本体と別体で、カプセル本体と信号の送受信を行う体外ユニットと、 体外ユニット内に設けた電源手段とからなり、
上記電源手段がニッケル乾電池からなることを特徴とするカプセル型医療装置。
28. In a capsule medical device that performs inspection, treatment, or treatment in the body cavity of a human or animal,
A capsule body;
It consists of an external unit that transmits and receives signals to and from the capsule body separately from the capsule body, and power supply means provided in the external unit.
A capsule-type medical device, wherein the power supply means comprises a nickel dry battery.

29.人または動物の体腔内において検査、治療または処置を行うカプセル型医療装置において、
カプセル本体と、
カプセル本体と別体で、カプセル本体と信号の送受信を行う体外ユニットと、 体外ユニット内に設けた電源手段とからなり、
上記電源手段がリチウムイオン電池からなることを特徴とするカプセル型医療装置。
29. In a capsule medical device that performs inspection, treatment, or treatment in the body cavity of a human or animal,
A capsule body;
It consists of an external unit that transmits and receives signals to and from the capsule body separately from the capsule body, and power supply means provided in the external unit.
A capsule medical device, wherein the power source means is a lithium ion battery.

30.人または動物の体腔内において検査、治療または処置を行うカプセル型医療装置において、
カプセル本体と、
カプセル本体と別体で、カプセル本体と信号の送受信を行う体外ユニットと、 体外ユニット内に設けた電源手段とからなり、
上記電源手段が燃料電池からなることを特徴とするカプセル型医療装置。
30. In a capsule medical device that performs inspection, treatment, or treatment in the body cavity of a human or animal,
A capsule body;
It consists of an external unit that transmits and receives signals to and from the capsule body separately from the capsule body, and power supply means provided in the external unit.
A capsule medical device, wherein the power supply means is a fuel cell.

31.燃料電池のエネルギ源である水素を水の電気分解によって生成する付記30のカプセル型医療装置において、電気分解が金属酸化物に可視光を当てることによって行われることを特徴とするカプセル型医療装置。 31. The capsule medical device according to appendix 30, wherein hydrogen, which is an energy source of the fuel cell, is generated by electrolysis of water, wherein the electrolysis is performed by applying visible light to a metal oxide.

32.前記金属酸化物がインジウム、タンタル、ニッケルからなることを特徴とする付記31のカプセル型医療装置。
33.人または動物の体腔内において検査、治療または処置を行うカプセル型医療装置において、
照明手段と、撮像手段と、送受信手段と、送受信用アンテナからなり、
上記照明手段が曲面状に生成したLEDからなることを特徴とするカプセル型医療装置。
34.前記LEDはガラス基板上に導電性ポリマを塗布することを特徴とする生成したことを特徴とする付記33のカプセル型医療装置。
32. The capsule medical device according to appendix 31, wherein the metal oxide is made of indium, tantalum, or nickel.
33. In a capsule medical device that performs inspection, treatment, or treatment in the body cavity of a human or animal,
It consists of illumination means, imaging means, transmission / reception means, and transmission / reception antennas.
A capsule-type medical device, wherein the illuminating means comprises an LED generated in a curved shape.
34. 34. The capsule medical device according to appendix 33, wherein the LED is generated by applying a conductive polymer on a glass substrate.

本発明の第1の実施の形態を備えたカプセル型内視鏡装置等の構成を示す図。1 is a diagram showing a configuration of a capsule endoscope apparatus or the like provided with a first embodiment of the present invention. 第1の実施の形態のカプセル型内視鏡の内部構成を示す断面図。FIG. 3 is a cross-sectional view illustrating an internal configuration of the capsule endoscope according to the first embodiment. リードスイッチの構成及び作用を示す図。The figure which shows the structure and effect | action of a reed switch. 磁石ユニットを装着した状態のカプセル型内視鏡を示す断面図。Sectional drawing which shows the capsule type endoscope of the state which mounted | wore with the magnet unit. カプセル型内視鏡の電気系の構成を示すブロック図。The block diagram which shows the structure of the electric system of a capsule type | mold endoscope. 大きな磁石の磁石ユニットを装着して使用できるようにしたカプセル型内視鏡を示す図。The figure which shows the capsule type endoscope which attached | installed and used the magnet unit of the big magnet. 磁力を利用して回収具にて回収する様子を示す図。The figure which shows a mode that it collects with a collection tool using magnetic force. カプセル型内視鏡を洗腸液の比重と同じ比重にして内視鏡検査している様子を示す図。The figure which shows a mode that the capsule type | mold endoscope is made into the same specific gravity as the specific gravity of an intestinal-wash liquid, and endoscopy is carried out. 第1変形例のカプセル型内視鏡の内部構成を示す断面図。Sectional drawing which shows the internal structure of the capsule endoscope of a 1st modification. 第3変形例のカプセル型内視鏡の内部構成を示す断面図。Sectional drawing which shows the internal structure of the capsule type endoscope of a 3rd modification. 第9変形例のカプセル型内視鏡の内部構成を示す断面図。Sectional drawing which shows the internal structure of the capsule endoscope of a 9th modification. 本発明の第2の実施の形態のカプセル型内視鏡の内部構成を示す断面図。Sectional drawing which shows the internal structure of the capsule endoscope of the 2nd Embodiment of this invention. 円板状磁石スイッチの構成を示す斜視図。The perspective view which shows the structure of a disk shaped magnet switch. 図13の円板状磁石スイッチに類似したその変形例の円板状磁石スイッチの構成及び作用の説明図。Explanatory drawing of a structure and effect | action of the disk-shaped magnet switch of the modification similar to the disk-shaped magnet switch of FIG. 組立後のカプセル型内視鏡の水密チェックを行う場合の手順の説明図。Explanatory drawing of the procedure in the case of performing the water-tightness check of the capsule endoscope after an assembly. 第1変形例のカプセル型内視鏡における磁石スイッチ付近の構成を示す図。The figure which shows the structure of the magnet switch vicinity in the capsule endoscope of a 1st modification. 第2変形例における水密チェックを行う場合の手順の説明図。Explanatory drawing of the procedure in the case of performing the water-tightness check in a 2nd modification. 第5変形例のカプセル型内視鏡の内部構成及びA−A′断面を示す図。The figure which shows the internal structure and AA 'cross section of the capsule endoscope of a 5th modification. 第6変形例における円筒形回路部の構成を示す断面図。Sectional drawing which shows the structure of the cylindrical circuit part in a 6th modification.

符号の説明Explanation of symbols

1…カプセル型内視鏡装置
2…患者
3…カプセル型内視鏡
4…アンテナユニット
5…体外ユニット
6…表示システム
7…パソコン
8…USBケーブル
13…液晶モニタ
16…ケース
17…透明カバー
18…雌ネジ部
19…磁石
20…雄ネジ部
21…磁石ユニット
22…CMOSイメージャ
23…対物レンズ系
24…白色LED
25…ベース
27…LED駆動回路
28…処理回路
29…送受信回路
30…アンテナ
31…電池
32…リード
33…リードスイッチ
34…接点部
35…ガラス管
DESCRIPTION OF SYMBOLS 1 ... Capsule type | mold endoscope apparatus 2 ... Patient 3 ... Capsule type | mold endoscope 4 ... Antenna unit 5 ... Extracorporeal unit 6 ... Display system 7 ... Personal computer 8 ... USB cable 13 ... Liquid crystal monitor 16 ... Case 17 ... Transparent cover 18 ... Female screw part 19 ... Magnet 20 ... Male screw part 21 ... Magnet unit 22 ... CMOS imager 23 ... Objective lens system 24 ... White LED
DESCRIPTION OF SYMBOLS 25 ... Base 27 ... LED drive circuit 28 ... Processing circuit 29 ... Transmission / reception circuit 30 ... Antenna 31 ... Battery 32 ... Lead 33 ... Reed switch 34 ... Contact part 35 ... Glass tube

Claims (4)

人または動物の体腔内において検査、治療または処置を行うカプセル型医療装置において、
比重が特定の液体と略同比重であるカプセル本体を具備したことを特徴とするカプセル型医療装置。
In a capsule medical device that performs inspection, treatment, or treatment in the body cavity of a human or animal,
A capsule medical device comprising a capsule body having a specific gravity substantially the same as that of a specific liquid.
人または動物の体腔内において検査、治療または処置を行うカプセル型医療装置において、
カプセル本体と、
前記カプセル本体の内周部または外周部に配設された比重調整手段と、
を具備し、
前記カプセル本体は、前記比重調整手段が配設された状態において当該カプセル本体の比重が特定の液体と略同比重になることを特徴とするカプセル型医療装置。
In a capsule medical device that performs inspection, treatment, or treatment in the body cavity of a human or animal,
A capsule body;
Specific gravity adjusting means disposed on the inner periphery or outer periphery of the capsule body;
Comprising
The capsule medical device according to claim 1, wherein the specific gravity of the capsule body is substantially the same as that of the specific liquid in a state where the specific gravity adjusting means is disposed.
前記特定の液体は大腸検査用洗腸液であることを特徴とする請求項1または2に記載のカプセル型医療装置。   3. The capsule medical device according to claim 1, wherein the specific liquid is an intestinal lavage fluid for large intestine. 前記特定の液体はクエン酸マグネシウムであることを特徴とする請求項1または2に記載のカプセル型医療装置。   The capsule medical device according to claim 1, wherein the specific liquid is magnesium citrate.
JP2007062652A 2007-03-12 2007-03-12 Capsule medical device Expired - Fee Related JP4282726B2 (en)

Priority Applications (1)

Application Number Priority Date Filing Date Title
JP2007062652A JP4282726B2 (en) 2007-03-12 2007-03-12 Capsule medical device

Applications Claiming Priority (1)

Application Number Priority Date Filing Date Title
JP2007062652A JP4282726B2 (en) 2007-03-12 2007-03-12 Capsule medical device

Related Parent Applications (1)

Application Number Title Priority Date Filing Date
JP2002013549A Division JP3957272B2 (en) 2002-01-22 2002-01-22 Capsule medical device

Publications (3)

Publication Number Publication Date
JP2007222642A true JP2007222642A (en) 2007-09-06
JP2007222642A5 JP2007222642A5 (en) 2007-10-18
JP4282726B2 JP4282726B2 (en) 2009-06-24

Family

ID=38544958

Family Applications (1)

Application Number Title Priority Date Filing Date
JP2007062652A Expired - Fee Related JP4282726B2 (en) 2007-03-12 2007-03-12 Capsule medical device

Country Status (1)

Country Link
JP (1) JP4282726B2 (en)

Cited By (4)

* Cited by examiner, † Cited by third party
Publication number Priority date Publication date Assignee Title
JP2010012222A (en) * 2008-06-06 2010-01-21 Olympus Medical Systems Corp Medical apparatus
WO2017129950A1 (en) * 2016-01-26 2017-08-03 E.V. Offshore Limited Optical cap
JP2018005077A (en) * 2016-07-06 2018-01-11 学校法人 中央大学 Intratubular moving body and method for controlling intratubular moving body
KR102388737B1 (en) * 2021-03-29 2022-04-21 주식회사 우영메디칼 Capsule Endoscope

Cited By (5)

* Cited by examiner, † Cited by third party
Publication number Priority date Publication date Assignee Title
JP2010012222A (en) * 2008-06-06 2010-01-21 Olympus Medical Systems Corp Medical apparatus
WO2017129950A1 (en) * 2016-01-26 2017-08-03 E.V. Offshore Limited Optical cap
US10725281B2 (en) 2016-01-26 2020-07-28 E.V. Offshore Limited Optical cap for a wellbore inspection assembly
JP2018005077A (en) * 2016-07-06 2018-01-11 学校法人 中央大学 Intratubular moving body and method for controlling intratubular moving body
KR102388737B1 (en) * 2021-03-29 2022-04-21 주식회사 우영메디칼 Capsule Endoscope

Also Published As

Publication number Publication date
JP4282726B2 (en) 2009-06-24

Similar Documents

Publication Publication Date Title
JP3957272B2 (en) Capsule medical device
CN102176855B (en) Capsular endoscopic system
US7678043B2 (en) Device, system and method for in-vivo sensing of a body lumen
Pan et al. Swallowable wireless capsule endoscopy: Progress and technical challenges
Ciuti et al. Frontiers of robotic endoscopic capsules: a review
JP4578740B2 (en) Capsule medical device
Basar et al. Ingestible wireless capsule technology: A review of development and future indication
JP3957271B2 (en) Capsule medical device
Swain The future of wireless capsule endoscopy
JP5873230B2 (en) In-vivo imaging device and method of operating in-vivo imaging device
JP2003325438A (en) Capsule type medical treatment device
JP2003275170A (en) Encapsulated medical device
WO2007069698A1 (en) Encapsulated medical device and its power supply control method
JP4695678B2 (en) Capsule medical device
CN106618455A (en) Capsule endoscope system with fixed-point medicine applying function
JP5020096B2 (en) Kit for in vivo testing
JP4282726B2 (en) Capsule medical device
CN103815858A (en) Capsular endoscope with multiple built-in sensors
JP2003135387A (en) Capsule type medical apparatus
JP4236685B2 (en) Capsule medical device
JP4226045B2 (en) Capsule medical device
JP4869312B2 (en) Capsule medical device
JP2004000640A (en) Medical capsule apparatus
KR102432354B1 (en) Digestive system diagnostic wire/wireless endoscope
JP2007185521A (en) Capsule type medical device

Legal Events

Date Code Title Description
A521 Written amendment

Free format text: JAPANESE INTERMEDIATE CODE: A523

Effective date: 20070823

A131 Notification of reasons for refusal

Free format text: JAPANESE INTERMEDIATE CODE: A131

Effective date: 20080819

A521 Written amendment

Free format text: JAPANESE INTERMEDIATE CODE: A523

Effective date: 20081020

A131 Notification of reasons for refusal

Free format text: JAPANESE INTERMEDIATE CODE: A131

Effective date: 20081125

A521 Written amendment

Free format text: JAPANESE INTERMEDIATE CODE: A523

Effective date: 20090126

TRDD Decision of grant or rejection written
A01 Written decision to grant a patent or to grant a registration (utility model)

Free format text: JAPANESE INTERMEDIATE CODE: A01

Effective date: 20090224

A01 Written decision to grant a patent or to grant a registration (utility model)

Free format text: JAPANESE INTERMEDIATE CODE: A01

A61 First payment of annual fees (during grant procedure)

Free format text: JAPANESE INTERMEDIATE CODE: A61

Effective date: 20090317

FPAY Renewal fee payment (event date is renewal date of database)

Free format text: PAYMENT UNTIL: 20120327

Year of fee payment: 3

FPAY Renewal fee payment (event date is renewal date of database)

Free format text: PAYMENT UNTIL: 20120327

Year of fee payment: 3

FPAY Renewal fee payment (event date is renewal date of database)

Free format text: PAYMENT UNTIL: 20130327

Year of fee payment: 4

FPAY Renewal fee payment (event date is renewal date of database)

Free format text: PAYMENT UNTIL: 20140327

Year of fee payment: 5

S531 Written request for registration of change of domicile

Free format text: JAPANESE INTERMEDIATE CODE: R313531

R350 Written notification of registration of transfer

Free format text: JAPANESE INTERMEDIATE CODE: R350

LAPS Cancellation because of no payment of annual fees