JP2007205858A - Capacitive pressure sensor - Google Patents
Capacitive pressure sensor Download PDFInfo
- Publication number
- JP2007205858A JP2007205858A JP2006024702A JP2006024702A JP2007205858A JP 2007205858 A JP2007205858 A JP 2007205858A JP 2006024702 A JP2006024702 A JP 2006024702A JP 2006024702 A JP2006024702 A JP 2006024702A JP 2007205858 A JP2007205858 A JP 2007205858A
- Authority
- JP
- Japan
- Prior art keywords
- silicon
- glass substrate
- bonding
- pressure sensor
- gold
- Prior art date
- Legal status (The legal status is an assumption and is not a legal conclusion. Google has not performed a legal analysis and makes no representation as to the accuracy of the status listed.)
- Withdrawn
Links
- 239000000758 substrate Substances 0.000 claims abstract description 103
- 229910052710 silicon Inorganic materials 0.000 claims abstract description 70
- 239000010703 silicon Substances 0.000 claims abstract description 68
- XUIMIQQOPSSXEZ-UHFFFAOYSA-N Silicon Chemical compound [Si] XUIMIQQOPSSXEZ-UHFFFAOYSA-N 0.000 claims abstract description 67
- 239000011521 glass Substances 0.000 claims abstract description 66
- 125000006850 spacer group Chemical group 0.000 claims abstract description 36
- 230000005496 eutectics Effects 0.000 claims description 35
- 239000010931 gold Substances 0.000 claims description 31
- OFLYIWITHZJFLS-UHFFFAOYSA-N [Si].[Au] Chemical compound [Si].[Au] OFLYIWITHZJFLS-UHFFFAOYSA-N 0.000 claims description 26
- 229910052737 gold Inorganic materials 0.000 claims description 24
- PCHJSUWPFVWCPO-UHFFFAOYSA-N gold Chemical compound [Au] PCHJSUWPFVWCPO-UHFFFAOYSA-N 0.000 claims description 22
- 229910018557 Si O Inorganic materials 0.000 claims description 5
- 229910008045 Si-Si Inorganic materials 0.000 claims description 5
- 229910006411 Si—Si Inorganic materials 0.000 claims description 5
- LIVNPJMFVYWSIS-UHFFFAOYSA-N silicon monoxide Inorganic materials [Si-]#[O+] LIVNPJMFVYWSIS-UHFFFAOYSA-N 0.000 claims description 5
- 238000004519 manufacturing process Methods 0.000 abstract description 9
- 230000035945 sensitivity Effects 0.000 abstract description 8
- 238000001514 detection method Methods 0.000 abstract description 7
- 238000005304 joining Methods 0.000 description 27
- 239000000463 material Substances 0.000 description 12
- 238000000034 method Methods 0.000 description 12
- 238000007789 sealing Methods 0.000 description 7
- 239000007789 gas Substances 0.000 description 6
- 239000007772 electrode material Substances 0.000 description 4
- 238000010438 heat treatment Methods 0.000 description 4
- 239000012535 impurity Substances 0.000 description 4
- 230000015572 biosynthetic process Effects 0.000 description 3
- 238000000605 extraction Methods 0.000 description 3
- 239000000155 melt Substances 0.000 description 3
- 238000000206 photolithography Methods 0.000 description 3
- 238000000638 solvent extraction Methods 0.000 description 3
- QVGXLLKOCUKJST-UHFFFAOYSA-N atomic oxygen Chemical compound [O] QVGXLLKOCUKJST-UHFFFAOYSA-N 0.000 description 2
- 239000004020 conductor Substances 0.000 description 2
- 238000005530 etching Methods 0.000 description 2
- 238000012986 modification Methods 0.000 description 2
- 230000004048 modification Effects 0.000 description 2
- 230000003287 optical effect Effects 0.000 description 2
- 239000001301 oxygen Substances 0.000 description 2
- 229910052760 oxygen Inorganic materials 0.000 description 2
- 238000005192 partition Methods 0.000 description 2
- 239000000126 substance Substances 0.000 description 2
- 230000003746 surface roughness Effects 0.000 description 2
- RZVAJINKPMORJF-UHFFFAOYSA-N Acetaminophen Chemical compound CC(=O)NC1=CC=C(O)C=C1 RZVAJINKPMORJF-UHFFFAOYSA-N 0.000 description 1
- DGAQECJNVWCQMB-PUAWFVPOSA-M Ilexoside XXIX Chemical compound C[C@@H]1CC[C@@]2(CC[C@@]3(C(=CC[C@H]4[C@]3(CC[C@@H]5[C@@]4(CC[C@@H](C5(C)C)OS(=O)(=O)[O-])C)C)[C@@H]2[C@]1(C)O)C)C(=O)O[C@H]6[C@@H]([C@H]([C@@H]([C@H](O6)CO)O)O)O.[Na+] DGAQECJNVWCQMB-PUAWFVPOSA-M 0.000 description 1
- VYPSYNLAJGMNEJ-UHFFFAOYSA-N Silicium dioxide Chemical compound O=[Si]=O VYPSYNLAJGMNEJ-UHFFFAOYSA-N 0.000 description 1
- 229910052783 alkali metal Inorganic materials 0.000 description 1
- 150000001340 alkali metals Chemical class 0.000 description 1
- PNEYBMLMFCGWSK-UHFFFAOYSA-N aluminium oxide Inorganic materials [O-2].[O-2].[O-2].[Al+3].[Al+3] PNEYBMLMFCGWSK-UHFFFAOYSA-N 0.000 description 1
- 238000010586 diagram Methods 0.000 description 1
- 238000001312 dry etching Methods 0.000 description 1
- 230000000694 effects Effects 0.000 description 1
- 230000001747 exhibiting effect Effects 0.000 description 1
- 239000011810 insulating material Substances 0.000 description 1
- 238000002844 melting Methods 0.000 description 1
- 230000008018 melting Effects 0.000 description 1
- 229910052751 metal Inorganic materials 0.000 description 1
- 239000002184 metal Substances 0.000 description 1
- 238000003801 milling Methods 0.000 description 1
- 239000012768 molten material Substances 0.000 description 1
- 238000000059 patterning Methods 0.000 description 1
- 238000007747 plating Methods 0.000 description 1
- 238000005498 polishing Methods 0.000 description 1
- 238000003825 pressing Methods 0.000 description 1
- 239000005297 pyrex Substances 0.000 description 1
- 229910052814 silicon oxide Inorganic materials 0.000 description 1
- 229910052708 sodium Inorganic materials 0.000 description 1
- 239000011734 sodium Substances 0.000 description 1
- -1 sodium (for example Chemical class 0.000 description 1
- 238000004544 sputter deposition Methods 0.000 description 1
- 230000009466 transformation Effects 0.000 description 1
- 238000001039 wet etching Methods 0.000 description 1
Images
Landscapes
- Measuring Fluid Pressure (AREA)
- Pressure Sensors (AREA)
Abstract
Description
本発明は、静電容量を用いて圧力を検知する静電容量型圧力センサに関する。 The present invention relates to a capacitance-type pressure sensor that detects pressure using capacitance.
静電容量型圧力センサは、可動電極である感圧ダイヤフラムを有する基板と、固定電極を有する基板とを、感圧ダイヤフラムと固定電極との間に所定の間隔(キャビティ)を有するように接合することにより構成されている。この静電容量型圧力センサにおいては、感圧ダイヤフラムに圧力が加わると感圧ダイヤフラムが変形し、これにより感圧ダイヤフラムと固定電極との間隔が変わる。この間隔の変化により感圧ダイヤフラムと固定電極との間の静電容量が変化し、この静電容量の変化を利用して圧力の変化を検出する。 The capacitive pressure sensor joins a substrate having a pressure-sensitive diaphragm, which is a movable electrode, and a substrate having a fixed electrode so as to have a predetermined interval (cavity) between the pressure-sensitive diaphragm and the fixed electrode. It is constituted by. In this capacitance-type pressure sensor, when pressure is applied to the pressure-sensitive diaphragm, the pressure-sensitive diaphragm is deformed, thereby changing the distance between the pressure-sensitive diaphragm and the fixed electrode. The capacitance between the pressure-sensitive diaphragm and the fixed electrode changes due to the change in the interval, and the change in pressure is detected using the change in capacitance.
このような静電容量型圧力センサにおいては、密閉性の高い状態でキャビティを設ける必要がある。このように、密閉性の高い状態でキャビティを設ける技術として、シリコン基板とガラス基板とを陽極接合する技術がある(特許文献1)。
上記特許文献1に開示されたような陽極接合を、狭いキャビティを有する静電容量型圧力センサに用いると、シリコン基板とガラス基板の陽極接合の際にガスが発生し、このガスがキャビティ内に入り込むと、キャビティ内の圧力に影響を与えて、高感度で圧力検出を行うことができないという問題がある。また、陽極接合の際の印加電圧によりキャビティ内に放電が生じてセンサにダメージを与える恐れもある。 When anodic bonding as disclosed in Patent Document 1 is used for a capacitance type pressure sensor having a narrow cavity, gas is generated during anodic bonding of a silicon substrate and a glass substrate, and this gas enters the cavity. If it enters, there is a problem that the pressure in the cavity is affected and pressure detection cannot be performed with high sensitivity. In addition, the applied voltage at the time of anodic bonding may cause discharge in the cavity and damage the sensor.
本発明はかかる点に鑑みてなされたものであり、製造工程においてキャビティ内の圧力に影響を与えず、ダメージを受けず、しかも高感度で圧力検出を行うことができる静電容量型圧力センサを提供することを目的とする。 The present invention has been made in view of the above points, and a capacitive pressure sensor that does not affect the pressure in the cavity in the manufacturing process, is not damaged, and can perform pressure detection with high sensitivity. The purpose is to provide.
本発明の静電容量型圧力センサは、一対の主面を有し、前記一対の主面の一方の主面側に設けられた固定電極及び前記一対の主面の両方の主面で露出するように埋め込まれたシリコン製導電部材を有するガラス基板と、前記ガラス基板の一方の主面上に金−シリコン共晶接合されており、前記固定電極と所定の間隔をおいて対向して配置された可動電極を有するシリコン基板と、前記金−シリコン共晶接合の接合領域を区画すると共に、前記ガラス基板と前記シリコン基板との間の間隔を制御するスペーサと、を具備し、前記スペーサは、平面視において前記接合領域に延在する梁部を有することを特徴とする。 The capacitance type pressure sensor of the present invention has a pair of main surfaces, and is exposed on both main surfaces of the fixed electrode provided on one main surface side of the pair of main surfaces and the pair of main surfaces. And a glass substrate having a conductive member made of silicon embedded therein, and a gold-silicon eutectic bond on one main surface of the glass substrate, and disposed opposite to the fixed electrode at a predetermined interval. A silicon substrate having a movable electrode, and a spacer for partitioning a bonding region of the gold-silicon eutectic bonding and controlling a distance between the glass substrate and the silicon substrate. It has the beam part extended to the said joining area | region in planar view, It is characterized by the above-mentioned.
この構成によれば、シリコン基板とガラス基板との間の接合を陽極接合ではなく金−シリコン共晶接合により行っている。金−シリコン共晶結合は、陽極接合と異なり、接合反応においてガスを発生することがない。このため、製造工程においてキャビティ内の圧力に影響を与えない。このため、キャビティ内を目的の圧力にすることができ、これにより高感度で圧力検出を行うことができる。また、スペーサは、平面視において接合領域に延在する梁部を有するので、接合領域において確実な接合を実現すると共に、理想的なダイヤフラムの変形を実現することができる。 According to this configuration, the bonding between the silicon substrate and the glass substrate is performed not by anodic bonding but by gold-silicon eutectic bonding. Unlike the anodic bonding, the gold-silicon eutectic bonding does not generate gas in the bonding reaction. For this reason, the pressure in the cavity is not affected in the manufacturing process. For this reason, the inside of a cavity can be made into the target pressure, and, thereby, pressure detection can be performed with high sensitivity. In addition, since the spacer has a beam portion extending to the joining region in a plan view, it is possible to realize reliable joining in the joining region and realize ideal deformation of the diaphragm.
本発明の静電容量型圧力センサにおいては、前記シリコン基板と前記シリコン製導電部材とが金−シリコン共晶物を介して電気的に接続された領域が前記接合領域に設けられていることが好ましい。 In the capacitive pressure sensor of the present invention, a region in which the silicon substrate and the silicon conductive member are electrically connected via a gold-silicon eutectic is provided in the bonding region. preferable.
本発明の静電容量型圧力センサにおいては、前記ガラス基板の他方の主面において、前記シリコン製導電部材上に引き出し電極が形成されていることが好ましい。この構成によれば、外部への取り出し電極を一つの面上に形成できるので、表面実装に適したデバイスとすることができる。 In the capacitive pressure sensor of the present invention, it is preferable that a lead electrode is formed on the silicon conductive member on the other main surface of the glass substrate. According to this configuration, since the external extraction electrode can be formed on one surface, a device suitable for surface mounting can be obtained.
本発明の静電容量型圧力センサにおいては、前記ガラス基板と前記シリコン製導電部材との界面においてSi−Si結合又はSi−O結合を有することが好ましい。この構成によれば、ガラス基板とシリコンとの界面においてSi−Si結合又はSi−O結合を有するので、ガラスとシリコンとが強固に接合されて、両者間の密着性が向上し、キャビティの気密性が向上する。 In the capacitance-type pressure sensor of this invention, it is preferable to have a Si-Si bond or a Si-O bond at the interface between the glass substrate and the silicon conductive member. According to this configuration, since the Si-Si bond or the Si-O bond is present at the interface between the glass substrate and silicon, the glass and silicon are firmly bonded, the adhesion between them is improved, and the cavity is hermetically sealed. Improves.
本発明の静電容量型圧力センサによれば、一対の主面を有し、前記一対の主面の一方の主面側に設けられた固定電極及び前記一対の主面の両方の主面で露出するように埋め込まれたシリコン製導電部材を有するガラス基板と、前記ガラス基板の一方の主面上に金−シリコン共晶接合されており、前記固定電極と所定の間隔をおいて対向して配置された可動電極を有するシリコン基板と、前記金−シリコン共晶接合の接合領域を区画すると共に、前記ガラス基板と前記シリコン基板との間の間隔を制御するスペーサと、を具備し、前記スペーサは、平面視において前記接合領域に延在する梁部を有するので、製造工程においてキャビティ内の圧力に影響を与えず、ダメージを受けず、しかも高感度で圧力検出を行うことができる。 According to the capacitance type pressure sensor of the present invention, it has a pair of main surfaces, the fixed electrode provided on one main surface side of the pair of main surfaces, and both main surfaces of the pair of main surfaces. A glass substrate having a silicon conductive member embedded so as to be exposed, and a gold-silicon eutectic bond on one main surface of the glass substrate, facing the fixed electrode at a predetermined interval A silicon substrate having a movable electrode disposed; and a spacer for partitioning a bonding region of the gold-silicon eutectic bonding and controlling a distance between the glass substrate and the silicon substrate. Has a beam portion extending to the joining region in a plan view, so that it does not affect the pressure in the cavity in the manufacturing process, is not damaged, and can perform pressure detection with high sensitivity.
以下、本発明の実施の形態について添付図面を参照して詳細に説明する。
図1は、本発明の実施の形態に係る静電容量型圧力センサの図であり、(a)は平面図であり、(b)は(a)の1b−1b線に沿う断面図であり、(c)は(a)の1c−1c線に沿う断面図である。図中11はガラス基板を示す。ガラス基板11は、相互に対向する一対の主面11a,11bを有する。このガラス基板11の後述するキャビティ19内には、固定電極用の接続電極である第1導電部材12が埋設されている。また、ガラス基板11のキャビティ19以外の領域に、後述する可動電極用の接続電極である第2導電部材13が埋設されている。第1及び第2導電部材12,13は、それぞれ主面11a,11bでそれぞれ露出している。
Hereinafter, embodiments of the present invention will be described in detail with reference to the accompanying drawings.
1A and 1B are diagrams of a capacitive pressure sensor according to an embodiment of the present invention, in which FIG. 1A is a plan view and FIG. 1B is a cross-sectional view taken along
ガラス基板11の主面11b上には、第1導電部材12の露出部分と電気的に接続するように引き出し電極14aが形成されており、第2導電部材13の露出部分と電気的に接続するように引き出し電極14bが形成されている。このように引き出し電極14a,14bがそれぞれ主面11b上に設けられていることにより、外部への取り出し電極を一つの面上に形成できるので、表面実装に適したデバイスとすることができる。
On the
第1及び第2導電部材12,13を構成する材料としては、シリコン、金属などの導電性材料を用いることができるが、第2導電部材13については、後述するように金−シリコンの共晶接合を行うことを考慮して、シリコンで構成することが好ましい。
As a material constituting the first and second
ガラス基板11の主面11a側で露出する第1導電部材12上には、固定電極15が形成されている。この固定電極15は、キャビティ19内であって後述するスペーサ16の内側に位置する。固定電極15を構成する材料としては、導電性材料を挙げることができるが、第1導電部材12がシリコンで構成されている場合には、固定電極15を構成する材料としてAu単体以外の材料を選択することが好ましい。これにより、ガラス基板とシリコン基板とを共晶接合する際に、固定電極が第1導電部材と共晶反応してしまうことを防止できる。例えば、Au単体以外の材料としては、Ti/Ta/Au/Ta、Ti/Ta/Au、Ta/Au/Ta、Ta/Au、Cr/Au/Ta、Cr/Au、Cr/Ta/Au/Ta、Cr/Ta/Auなどを挙げることができる。
A fixed
ガラス基板11の主面11a上には、圧力センサの可動電極である感圧ダイヤフラム18aを有するシリコン基板18が接合部材17を介して共晶接合されている。これにより、ガラス基板11とシリコン基板18との間でキャビティ19が形成される。感圧ダイヤフラム18aは固定電極15の上方に位置するように位置合わせされている。これにより、感圧ダイヤフラム18a(可動電極)と固定電極15との間に静電容量が発生する。
On the
接合部材17は、図1(b),(c)から分かるように、キャビティ19の外側に位置する。また、接合部材17は、金とシリコンの共晶反応で得られた金−シリコン共晶物で構成されている。接合部材17による接合領域においては、接合部材17とシリコン基板18との間で金−シリコン共晶結合を有する。また、接合領域には、図1(c)に示すように、第2導電部材13とシリコン基板18とが接合部材17を介して電気的に接続された領域が形成されている。第2導電部材13がシリコンで構成されている場合には、この領域においては、接合部材17とシリコン基板18との間で金−シリコン共晶結合を有すると共に、接合部材17と第2導電部材13との間で金−シリコン共晶結合を有する。なお、この共晶接合は、真空下において加熱、加圧条件下で行う。この第2導電部材13は、接合部材17の形成領域であれば任意の場所に形成可能であり、これにより、実装基板の導電パターンに応じて、第2導電部材13の形成場所を適宜変更することが可能となる。
As can be seen from FIGS. 1B and 1C, the joining
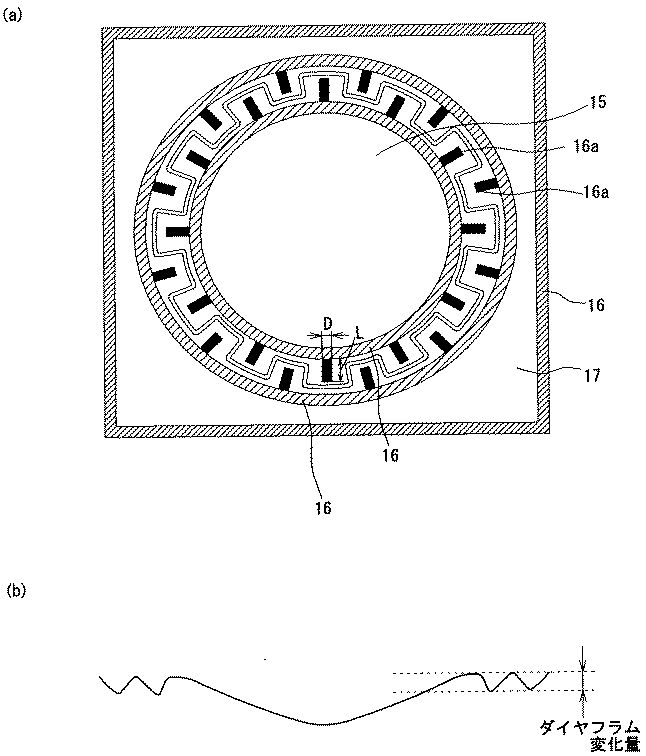
固定電極15の外側には、金−シリコン共晶接合の接合領域を区画すると共に、ガラス基板11とシリコン基板18との間の間隔を制御するスペーサ16が形成されている。このスペーサ16は、図1(a)に示すように、平面視において接合領域に延在する梁部16aを有する。この梁部16aは、接合部材17で構成された接合領域を小さい領域に区画するように接合領域に延在している。
Outside the fixed
接合領域において金−シリコン共晶反応が起こると、接合部材17側にシリコン基板18が引っ張られる。すなわち、接合領域においては、図1(c)に示すように、矢印A方向の力が加わる。このとき、その反作用により接合領域の周囲のスペーサ16領域では矢印A方向と反対の方向である矢印B方向の力が加わる。本実施の形態に係る静電容量型圧力センサのようにスペーサ16に梁部16aを設けないと、このように接合領域における矢印A方向の力と、スペーサ領域において矢印B方向の力とが偏って加わって、スペーサ16が持ち上がってシリコン基板18全体が変形してしまい、ダイヤフラムとしての理想的な変形が得られない。言い換えると、スペーサ16に梁部16aを設けておくことにより、金−シリコン共晶反応が起こって、接合領域において矢印A方向の力が加わり、スペーサ領域において矢印B方向の力が加わっても、矢印A方向の力と矢印B方向の力がセンサ全体として均一化される。すなわち、図1(b)及び図1(c)から分かるように、特定の断面において接合領域とスペーサ領域との占有割合が異なっている。具体的には、図1(b)に示す断面では、スペーサ領域が接合領域よりも広く、図1(c)に示す断面では、接合領域がスペーサ領域よりも広い。スペーサ16に梁部16aを設けて接合領域を小さい領域に区画することにより、前記占有割合が変わる部分が多くなり、結果として矢印A方向の力と矢印B方向の力がセンサ全体として均一化されることとなる。これにより、ダイヤフラム18aに対して矢印A方向の力及び矢印B方向の力の影響が小さくなる。その結果、接合領域において確実な接合を実現すると共に、理想的なダイヤフラムの変形を実現することができる。なお、スペーサ16の梁部16aはできるだけ接合領域を分断しないように設けることが好ましい。
When the gold-silicon eutectic reaction occurs in the bonding region, the
また、スペーサ16は、金−シリコン共晶反応の際に融解した材料の流れ止めの役割を果たす。このように、スペーサ16を略環状に設けることにより、融解した材料を固定電極側に浸入することを防止できる。スペーサ16の材料としては、シリコン酸化物やアルミナなどの絶縁性材料を挙げることができる。
Further, the
第1及び/又は第2導電部材12,13がシリコンで構成されている場合には、ガラス基板11と第1及び/又は第2導電部材12,13との間の界面について陽極接合されていることが好ましい。後述するように、これらの界面は、加熱下において第1及び/又は第2導電部材12,13をガラス基板11に押し込むことにより形成される。このような方法により得られた界面でも高い密着性を発揮できるが、第1及び/又は第2導電部材12,13をガラス基板11に押し込んだ後に、陽極接合処理を施すことにより、密着性をより高くすることができる。このようにガラス基板11とシリコン製導電部材12,13との界面で高い密着性を発揮することにより、感圧ダイヤフラム18aとガラス基板11との間で構成するキャビティ19内の気密性を高く保つことができる。
When the first and / or second
ここで、陽極接合処理とは、所定の温度(例えば400℃以下)で所定の電圧(例えば300V〜1kV)を印加することにより、シリコンとガラスとの間に大きな静電引力が発生して、接触したガラス−シリコン界面で酸素を介した化学結合を形成させる、もしくは、酸素の放出による共有結合を形成させる処理をいう。この界面での共有結合は、シリコンのSi原子とガラスに含まれるSi原子との間のSi−Si結合又はSi−O結合である。したがって、このSi−Si結合又はSi−O結合により、シリコンとガラスとが強固に接合して、両者間の界面で非常に高い密着性を発揮する。このような陽極接合を効率良く行うために、ガラス基板11のガラス材料としては、ナトリウムなどのアルカリ金属を含むガラス材料(例えばパイレックス(登録商標)ガラス)であることが好ましい。
Here, the anodic bonding treatment is performed by applying a predetermined voltage (for example, 300 V to 1 kV) at a predetermined temperature (for example, 400 ° C. or lower), thereby generating a large electrostatic attraction between silicon and glass, This refers to a process of forming a chemical bond via oxygen at the glass-silicon interface in contact or forming a covalent bond by releasing oxygen. The covalent bond at this interface is a Si—Si bond or a Si—O bond between the Si atom of silicon and the Si atom contained in the glass. Therefore, silicon and glass are firmly bonded by this Si—Si bond or Si—O bond, and very high adhesion is exhibited at the interface between the two. In order to perform such anodic bonding efficiently, the glass material of the
このような構成を有する静電容量型圧力センサにおいては、感圧ダイヤフラム18aとガラス基板11内の固定電極15との間に所定の静電容量を有する。この圧力センサに圧力が加わると、感圧ダイヤフラム18aが圧力に応じて可動する。これにより、感圧ダイヤフラム18aが変位する。このとき、感圧ダイヤフラム18aと固定電極15との間の静電容量が変化する。したがって、この静電容量をパラメータとして、その変化を圧力変化とすることができる。
In the capacitance type pressure sensor having such a configuration, a predetermined capacitance is provided between the pressure
この静電容量型圧力センサにおいては、シリコン基板とガラス基板との間の接合を陽極接合ではなく金−シリコン共晶接合により行っている。金−シリコン共晶結合は、陽極接合と異なり、接合反応においてガスを発生することがない。このため、製造工程においてキャビティ内の圧力に影響を与えない。このため、キャビティ内を目的の圧力にすることができ、これにより高感度で圧力検出を行うことができる。また、スペーサは、平面視において接合領域に延在する梁部を有するので、接合領域において確実な接合を実現すると共に、理想的なダイヤフラムの変形を実現することができる。 In this capacitance type pressure sensor, bonding between a silicon substrate and a glass substrate is performed by gold-silicon eutectic bonding instead of anodic bonding. Unlike the anodic bonding, the gold-silicon eutectic bonding does not generate gas in the bonding reaction. For this reason, the pressure in the cavity is not affected in the manufacturing process. For this reason, the inside of a cavity can be made into the target pressure, and, thereby, pressure detection can be performed with high sensitivity. In addition, since the spacer has a beam portion extending to the joining region in a plan view, it is possible to realize reliable joining in the joining region and realize ideal deformation of the diaphragm.
次に、本実施の形態の静電容量型圧力センサの製造方法について説明する。図2(a)〜(g)は、本発明の実施の形態に係る静電容量型圧力センサの製造方法を説明するための断面図である。 Next, a method for manufacturing the capacitive pressure sensor of the present embodiment will be described. 2 (a) to 2 (g) are cross-sectional views for explaining a method for manufacturing a capacitive pressure sensor according to an embodiment of the present invention.
まず、不純物をドーピングして低抵抗化したシリコン基板20を準備する。不純物としては、n型不純物でも良く、p型不純物でも良い。抵抗率としては、例えば0.01Ω・cm程度とする。そして、図2(a)に示すように、このシリコン基板20の一方の主面をエッチングして、第1及び第2導電部材12,13に相当する突出部20a,20bを形成する。すなわち、突出部20aが第1導電部材12に相当し、突出部20bが第2導電部材13に相当する。
First, a
次いで、突出部20a,20bを形成したシリコン基板20上にガラス基板11を置く。さらに、真空下で、このシリコン基板20及びガラス基板11を加熱し、シリコン基板20をガラス基板11に押圧して突出部20a,20bをガラス基板11の主面11bに押し込んで、図2(b)に示すように、シリコン基板20とガラス基板11とを接合する。このときの温度は、シリコンの融点以下であって、ガラスが変形可能である温度(例えば、ガラスの軟化点温度以下)が好ましい。例えば加熱温度は約800℃である。
Next, the
さらに、シリコン基板20の突出部20a,20bとガラス基板11との界面11eでの密着性をより高めるために、陽極接合処理をすることが好ましい。この場合、シリコン基板20及びガラス基板11にそれぞれ電極をつけて、約400℃以下の加熱下で約300V〜1kVの電圧を印加することにより行う。これにより両者の界面での密着性がより高くなり、静電容量型圧力センサのキャビティ19の気密性を向上させることができる。
Furthermore, in order to further improve the adhesion at the interface 11e between the protruding
次いで、ガラス基板11の主面11a側を研磨処理して、シリコン基板20の突出部20a,20bを主面11aで露出させる。次いで、シリコン基板20の裏面(突出部20a,20bを設けない面)側をエッチングしてガラス基板11の主面11bを露出させる。エッチングとしては、ドライエッチングでも良く、ウェットエッチングでも良い。また、裏面のシリコンは研磨による加工で除去しても良い。このようにして、図2(c)に示すような、ガラス基板11に第1導電部材12及び第2導電部材13が埋め込まれた基板を作製する。
Next, the
次いで、図2(d)に示すように、ガラス基板11の主面11b側において、第1及び第2導電部材12,13の露出部分と電気的に接続するように引き出し電極14a,14bを形成する。この場合、まず、ガラス基板11の主面11bの第1及び第2導電部材12,13上に電極材料を被着し、その上にレジスト膜を形成し、引き出し電極形成領域にレジスト膜が残るように、そのレジスト膜をパターニング(フォトリソグラフィー)し、そのレジスト膜をマスクとして電極材料をエッチングし、その後残存したレジスト膜を除去する。
Next, as shown in FIG. 2D,
また、図2(d)に示すように、ガラス基板11の主面11a側において、第1導電部材12の露出部分と電気的に接続するように固定電極15を形成する。この場合、まず、ガラス基板11の主面11aの第1導電部材12上に電極材料を被着し、その上にレジスト膜を形成し、電極形成領域にレジスト膜が残るように、そのレジスト膜をパターニング(フォトリソグラフィー)し、そのレジスト膜をマスクとして電極材料をエッチングし、その後残存したレジスト膜を除去する。
Further, as shown in FIG. 2D, the fixed
次いで、図2(e)に示すように、固定電極15の外側に環状のスペーサ16を形成する。このとき、スペーサ16を、図1(a)に示すように、平面視において接合領域に延在する梁部16aを有するように形成する。この場合、ガラス基板11の主面11a上にスペーサ材料を被着し、その上にレジスト膜を形成し、スペーサ形成領域にレジスト膜が残るように、そのレジスト膜をパターニング(フォトリソグラフィー)し、そのレジスト膜をマスクとしてスペーサ材料をエッチングし、その後残存したレジスト膜を除去する。
Next, as shown in FIG. 2E, an
次いで、図2(f)に示すように、スペーサ16の外側に、接合部材17用の金製柱21を形成する。この金製柱21は、まず、全面にスパッタリングにより薄い金層を形成し、その後に、レジスト膜を形成し、接合部材17に対応する領域に開口部を有するようにレジスト膜をパターニングし、このパターンを用いて金メッキを施し、最後に、ミリングにより不要な金層を除去する。
Next, as shown in FIG. 2 (f), a
金製柱21の高さや幅は、シリコン基板18との間に隙間が生じず、金−シリコン共晶結合により十分な接合強度が得られるように設定する。したがって、シリコン基板18と金製柱21とが確実に当接した状態で金−シリコンの共晶反応を起こさせるように、金製柱21の高さは、スペーサ16の厚さよりも高く設定することが好ましい。また、金製柱21は共晶反応の際に融解するので、融解物が所望しない領域に浸入しないように、金製柱21の周りに所定の流れ込みスペースを確保することが好ましい。例えば、金製柱21は、接合部材17の厚さの約2倍の高さで、接合部材17の領域の約半分の面積で設けることが好ましい。
The height and width of the
次いで、図2(g)に示すように、あらかじめエッチングなどにより数十μm程度の所定の厚さに形成したシリコン基板18を、感圧ダイヤフラム18aが固定電極15と所定の間隔をおいて位置するようにして、ガラス基板11の主面11a側に載置して金製柱21とシリコン基板18との間で共晶接合する。すなわち、金製柱21の上面とシリコン基板18とを当接させ、真空下において、所定の圧力をシリコン基板18に加えながら、約370℃で加熱する。これにより、金とシリコンとの間で共晶反応が起こり、金製柱21が金−シリコン共晶物に変わって接合部材17となる。このようにして、接合部材17とシリコン基板18との間で強固な接合がなされる。このとき、金製柱21は融解して流れ出すが、スペーサ16が設けられているので、キャビティ19内の固定電極15側への浸入が防止される。また、第2導電部材13がシリコンで構成されている場合には、第2導電部材13上に設けられた金製柱21と第2導電部材13との間でも同様に金−シリコン共晶反応が起こり、第2導電部材13と接合部材17との間で強固な接合がなされる。これにより、シリコン基板18が接合部材17を介して接続電極である第2導電部材13と電気的に接続する。
Next, as shown in FIG. 2G, a pressure
このような方法においては、シリコン基板とガラス基板との間の接合を陽極接合ではなく金−シリコン共晶接合により行っている。金−シリコン共晶結合は、陽極接合と異なり、接合反応においてガスを発生することがない。このため、製造工程においてキャビティ内の圧力に影響を与えない。このため、キャビティ内を目的の圧力にすることができ、これにより高感度で圧力検出を行うことができる静電容量型圧力センサを得ることができる。また、この方法によれば、接合工程において電圧を印加しないので、キャビティ内で放電が起こりセンサにダメージを与えることもない。また、スペーサが接合領域に延在する梁部を有するので、接合領域において確実な接合を実現すると共に、理想的なダイヤフラムの変形を実現することができる。 In such a method, the bonding between the silicon substrate and the glass substrate is performed by gold-silicon eutectic bonding instead of anodic bonding. Unlike the anodic bonding, the gold-silicon eutectic bonding does not generate gas in the bonding reaction. For this reason, the pressure in the cavity is not affected in the manufacturing process. For this reason, the inside of a cavity can be made into the target pressure, and the electrostatic capacitance type pressure sensor which can perform pressure detection with high sensitivity by this can be obtained. Further, according to this method, since no voltage is applied in the joining process, discharge occurs in the cavity and the sensor is not damaged. Further, since the spacer has a beam portion extending to the joining region, it is possible to realize reliable joining in the joining region and realize ideal deformation of the diaphragm.
次に、本発明の効果を明確にするために行った実施例について説明する。図3(a)に示すように、スペーサ16の幅を約50μmとし、金製柱21の幅を約40μm(接合領域の幅が約80μm)とし、梁部16aの長さLを100μmとし、梁部16aの幅Dをそれぞれ20μm、50μm、80μm、100μmとして、上記の方法により4つの静電容量型圧力センサを作製した。また、梁部16aが無いものも合わせて作製した。これらの静電容量型圧力センサについて、封止性及びダイヤフラム変形量を調べた。その結果を下記表1に示す。なお、封止性及びダイヤフラム変形量は、非接触式3次元光干渉式表面粗さ計HD-8000(VEECO社製)により求めた。ここで、封止性については、封止が破れてキャビティ19内が大気圧と同じ圧力になると、ダイヤフラムがキャビティ19において変形しなくなるため、上記非接触式3次元光干渉式表面粗さ計にて干渉縞が現れないときに、封止ができていないと判断する。また、ダイヤフラム変形量は、図3(b)に示す範囲とした。
Next, examples performed for clarifying the effects of the present invention will be described. As shown in FIG. 3A, the width of the
表1から分かるように、梁部16aの幅がそれぞれ20μm、50μm、80μmのものは、梁部16aが無い場合と比較して、接合領域のダイヤフラムの変形量が少なくなっており、接合領域のダイヤフラムの変形が、キャビティ19におけるダイヤフラムの変形に対する影響を小さくすることができる。これにより、キャビティ19におけるダイヤフラムの変形をより理想的なものに近づけることが可能となる。したがって、圧力センサの感度を向上させることができる。しかも封止性も良好であった。一方、梁部16aの幅が100μmのものは封止できなかった。したがって、図3(a)におけるパターンにおいては、接合領域の面積に対する梁の面積の割合が約42%〜約167%であることが望ましく、ダイヤフラム変形量を40nm未満とし、封止性を保持するためには、約104%〜約167%であることが好ましい。
As can be seen from Table 1, when the
本発明は上記実施の形態に限定されず、種々変更して実施することが可能である。例えば、上記実施の形態で説明した数値や材質については特に制限はない。また、上記実施の形態で説明したプロセスについてはこれに限定されず、工程間の適宜順序を変えて実施しても良い。その他、本発明の目的の範囲を逸脱しない限りにおいて適宜変更することが可能である。 The present invention is not limited to the embodiment described above, and can be implemented with various modifications. For example, the numerical values and materials described in the above embodiments are not particularly limited. Further, the process described in the above embodiment is not limited to this, and the process may be performed by changing the order as appropriate. Other modifications may be made as appropriate without departing from the scope of the object of the present invention.
本発明は、例えば大気圧をモニタリングする気圧計やガス圧をモニタリングする静電容量型圧力センサに適用することができる。 The present invention can be applied to, for example, a barometer that monitors atmospheric pressure or a capacitance-type pressure sensor that monitors gas pressure.
11 ガラス基板
11a,11b 主面
12,12a 第1導電部材
13 第2導電部材
14a,14b 引き出し電極
15 固定電極
16 スペーサ
16a 梁部
17 接合部材
18,20 シリコン基板
18a 感圧ダイヤフラム
19 キャビティ
21 金製柱
DESCRIPTION OF
Claims (4)
Priority Applications (1)
| Application Number | Priority Date | Filing Date | Title |
|---|---|---|---|
| JP2006024702A JP2007205858A (en) | 2006-02-01 | 2006-02-01 | Capacitive pressure sensor |
Applications Claiming Priority (1)
| Application Number | Priority Date | Filing Date | Title |
|---|---|---|---|
| JP2006024702A JP2007205858A (en) | 2006-02-01 | 2006-02-01 | Capacitive pressure sensor |
Publications (1)
| Publication Number | Publication Date |
|---|---|
| JP2007205858A true JP2007205858A (en) | 2007-08-16 |
Family
ID=38485455
Family Applications (1)
| Application Number | Title | Priority Date | Filing Date |
|---|---|---|---|
| JP2006024702A Withdrawn JP2007205858A (en) | 2006-02-01 | 2006-02-01 | Capacitive pressure sensor |
Country Status (1)
| Country | Link |
|---|---|
| JP (1) | JP2007205858A (en) |
Cited By (1)
| Publication number | Priority date | Publication date | Assignee | Title |
|---|---|---|---|---|
| US8201455B2 (en) | 2008-04-24 | 2012-06-19 | Panasonic Corporation | Pressure sensor having thin film sections |
-
2006
- 2006-02-01 JP JP2006024702A patent/JP2007205858A/en not_active Withdrawn
Cited By (1)
| Publication number | Priority date | Publication date | Assignee | Title |
|---|---|---|---|---|
| US8201455B2 (en) | 2008-04-24 | 2012-06-19 | Panasonic Corporation | Pressure sensor having thin film sections |
Similar Documents
| Publication | Publication Date | Title |
|---|---|---|
| JP4585426B2 (en) | Capacitive pressure sensor | |
| US7748277B2 (en) | Hermetic chamber with electrical feedthroughs | |
| CN100579892C (en) | Micro-electromechanical system component and method of manufacturing the same | |
| US20070267708A1 (en) | Methods and apparatus having an integrated circuit attached to fused silica | |
| JP2005201818A (en) | Pressure sensor | |
| JP2004532742A (en) | Micro structural element | |
| WO2007086489A1 (en) | Capacitive pressure sensor | |
| TW201323845A (en) | MEMS pressure sensor device and manufacturing method thereof | |
| JP2008101917A (en) | Package for pressure sensor | |
| JP5130151B2 (en) | Capacitive semiconductor physical quantity sensor manufacturing method and capacitive semiconductor physical quantity sensor | |
| JP2007205858A (en) | Capacitive pressure sensor | |
| JP2008039593A (en) | Capacitance type acceleration sensor | |
| JP2007139559A (en) | Capacitive pressure sensor | |
| JP2008039595A (en) | Capacitance acceleration sensor | |
| JP2007304019A (en) | Capacitance dynamic quantity sensor | |
| JP2007127440A (en) | Capacitive pressure sensor | |
| JP2006170893A (en) | Electrostatic capacitive pressure sensor | |
| JP4773821B2 (en) | Capacitance type pressure sensor and manufacturing method thereof | |
| JP2007139571A (en) | Capacitive pressure sensor | |
| JP2007163456A (en) | Capacitive pressure sensor | |
| JP2008076106A (en) | Servo-type pressure sensor | |
| JP2007064920A (en) | Electrostatic capacity type mechanical quantity sensor | |
| JP2007248150A (en) | Capacitive pressure sensor | |
| JP2007198820A (en) | Capacitance-type physical quantity sensor and its manufacturing method | |
| JP2007101282A (en) | Capacitance type pressure sensor |
Legal Events
| Date | Code | Title | Description |
|---|---|---|---|
| A621 | Written request for application examination |
Free format text: JAPANESE INTERMEDIATE CODE: A621 Effective date: 20080911 |
|
| RD03 | Notification of appointment of power of attorney |
Effective date: 20090415 Free format text: JAPANESE INTERMEDIATE CODE: A7423 |
|
| A761 | Written withdrawal of application |
Free format text: JAPANESE INTERMEDIATE CODE: A761 Effective date: 20090709 |
