JP2007196364A - Surface-coated cutting tool and manufacturing method thereof - Google Patents
Surface-coated cutting tool and manufacturing method thereof Download PDFInfo
- Publication number
- JP2007196364A JP2007196364A JP2006235897A JP2006235897A JP2007196364A JP 2007196364 A JP2007196364 A JP 2007196364A JP 2006235897 A JP2006235897 A JP 2006235897A JP 2006235897 A JP2006235897 A JP 2006235897A JP 2007196364 A JP2007196364 A JP 2007196364A
- Authority
- JP
- Japan
- Prior art keywords
- aluminum oxide
- cutting tool
- film
- coated cutting
- group
- Prior art date
- Legal status (The legal status is an assumption and is not a legal conclusion. Google has not performed a legal analysis and makes no representation as to the accuracy of the status listed.)
- Pending
Links
- 238000005520 cutting process Methods 0.000 title claims abstract description 72
- 238000004519 manufacturing process Methods 0.000 title claims description 13
- TWNQGVIAIRXVLR-UHFFFAOYSA-N oxo(oxoalumanyloxy)alumane Chemical compound O=[Al]O[Al]=O TWNQGVIAIRXVLR-UHFFFAOYSA-N 0.000 claims abstract description 115
- 239000000463 material Substances 0.000 claims abstract description 68
- 238000000576 coating method Methods 0.000 claims abstract description 62
- 239000011248 coating agent Substances 0.000 claims abstract description 46
- 239000000758 substrate Substances 0.000 claims abstract description 44
- 239000013078 crystal Substances 0.000 claims abstract description 29
- 229910052782 aluminium Inorganic materials 0.000 claims abstract description 18
- 229910052751 metal Inorganic materials 0.000 claims description 36
- 239000002184 metal Substances 0.000 claims description 36
- IJGRMHOSHXDMSA-UHFFFAOYSA-N Atomic nitrogen Chemical compound N#N IJGRMHOSHXDMSA-UHFFFAOYSA-N 0.000 claims description 32
- 238000005240 physical vapour deposition Methods 0.000 claims description 29
- QVGXLLKOCUKJST-UHFFFAOYSA-N atomic oxygen Chemical compound [O] QVGXLLKOCUKJST-UHFFFAOYSA-N 0.000 claims description 18
- 229910052760 oxygen Inorganic materials 0.000 claims description 18
- 239000001301 oxygen Substances 0.000 claims description 18
- 229910052710 silicon Inorganic materials 0.000 claims description 18
- OKTJSMMVPCPJKN-UHFFFAOYSA-N Carbon Chemical compound [C] OKTJSMMVPCPJKN-UHFFFAOYSA-N 0.000 claims description 17
- 229910052799 carbon Inorganic materials 0.000 claims description 17
- 150000001875 compounds Chemical class 0.000 claims description 17
- 229910052796 boron Inorganic materials 0.000 claims description 16
- 229910052804 chromium Inorganic materials 0.000 claims description 16
- 150000002739 metals Chemical class 0.000 claims description 16
- 229910052757 nitrogen Inorganic materials 0.000 claims description 16
- 229910052719 titanium Inorganic materials 0.000 claims description 16
- ZOXJGFHDIHLPTG-UHFFFAOYSA-N Boron Chemical compound [B] ZOXJGFHDIHLPTG-UHFFFAOYSA-N 0.000 claims description 15
- 238000010030 laminating Methods 0.000 claims description 7
- 229910052582 BN Inorganic materials 0.000 claims description 5
- PZNSFCLAULLKQX-UHFFFAOYSA-N Boron nitride Chemical compound N#B PZNSFCLAULLKQX-UHFFFAOYSA-N 0.000 claims description 5
- 239000011195 cermet Substances 0.000 claims description 5
- 229910010413 TiO 2 Inorganic materials 0.000 claims description 4
- 230000000737 periodic effect Effects 0.000 claims description 4
- 229910000997 High-speed steel Inorganic materials 0.000 claims description 3
- 239000000919 ceramic Substances 0.000 claims description 3
- 239000010432 diamond Substances 0.000 claims description 3
- 229910003460 diamond Inorganic materials 0.000 claims description 3
- 229910045601 alloy Inorganic materials 0.000 claims 1
- 239000000956 alloy Substances 0.000 claims 1
- 230000003647 oxidation Effects 0.000 abstract description 14
- 238000007254 oxidation reaction Methods 0.000 abstract description 14
- 230000003746 surface roughness Effects 0.000 abstract description 13
- 230000002542 deteriorative effect Effects 0.000 abstract description 6
- 230000000593 degrading effect Effects 0.000 abstract description 2
- XAGFODPZIPBFFR-UHFFFAOYSA-N aluminium Chemical compound [Al] XAGFODPZIPBFFR-UHFFFAOYSA-N 0.000 abstract 1
- 239000010410 layer Substances 0.000 description 40
- 238000000034 method Methods 0.000 description 36
- 230000000052 comparative effect Effects 0.000 description 18
- 239000010936 titanium Substances 0.000 description 16
- 238000012360 testing method Methods 0.000 description 15
- 230000000694 effects Effects 0.000 description 11
- 238000005229 chemical vapour deposition Methods 0.000 description 9
- 238000005299 abrasion Methods 0.000 description 8
- 239000007789 gas Substances 0.000 description 7
- XKRFYHLGVUSROY-UHFFFAOYSA-N Argon Chemical compound [Ar] XKRFYHLGVUSROY-UHFFFAOYSA-N 0.000 description 6
- 230000008020 evaporation Effects 0.000 description 6
- 238000001704 evaporation Methods 0.000 description 6
- 238000004544 sputter deposition Methods 0.000 description 6
- 230000007423 decrease Effects 0.000 description 5
- 238000001755 magnetron sputter deposition Methods 0.000 description 5
- 229910018072 Al 2 O 3 Inorganic materials 0.000 description 4
- 229910010037 TiAlN Inorganic materials 0.000 description 4
- 229910052735 hafnium Inorganic materials 0.000 description 4
- 239000000203 mixture Substances 0.000 description 4
- 229910052726 zirconium Inorganic materials 0.000 description 4
- -1 AlCr Inorganic materials 0.000 description 3
- 229910008482 TiSiN Inorganic materials 0.000 description 3
- 238000002441 X-ray diffraction Methods 0.000 description 3
- 229910052786 argon Inorganic materials 0.000 description 3
- 230000006866 deterioration Effects 0.000 description 3
- 238000007733 ion plating Methods 0.000 description 3
- QRXWMOHMRWLFEY-UHFFFAOYSA-N isoniazide Chemical compound NNC(=O)C1=CC=NC=C1 QRXWMOHMRWLFEY-UHFFFAOYSA-N 0.000 description 3
- 229910052758 niobium Inorganic materials 0.000 description 3
- 239000000126 substance Substances 0.000 description 3
- 229910052715 tantalum Inorganic materials 0.000 description 3
- 229910052720 vanadium Inorganic materials 0.000 description 3
- 229910010038 TiAl Inorganic materials 0.000 description 2
- 229910010060 TiBN Inorganic materials 0.000 description 2
- ATJFFYVFTNAWJD-UHFFFAOYSA-N Tin Chemical compound [Sn] ATJFFYVFTNAWJD-UHFFFAOYSA-N 0.000 description 2
- 238000004833 X-ray photoelectron spectroscopy Methods 0.000 description 2
- 230000015572 biosynthetic process Effects 0.000 description 2
- 238000010586 diagram Methods 0.000 description 2
- 238000009413 insulation Methods 0.000 description 2
- 150000002500 ions Chemical class 0.000 description 2
- VNWKTOKETHGBQD-UHFFFAOYSA-N methane Chemical compound C VNWKTOKETHGBQD-UHFFFAOYSA-N 0.000 description 2
- 238000003801 milling Methods 0.000 description 2
- 229910052750 molybdenum Inorganic materials 0.000 description 2
- 239000012495 reaction gas Substances 0.000 description 2
- 229910052721 tungsten Inorganic materials 0.000 description 2
- 229910017109 AlON Inorganic materials 0.000 description 1
- MYMOFIZGZYHOMD-UHFFFAOYSA-N Dioxygen Chemical compound O=O MYMOFIZGZYHOMD-UHFFFAOYSA-N 0.000 description 1
- 229910052581 Si3N4 Inorganic materials 0.000 description 1
- 229910010169 TiCr Inorganic materials 0.000 description 1
- 229910010282 TiON Inorganic materials 0.000 description 1
- 229910008484 TiSi Inorganic materials 0.000 description 1
- 229910052769 Ytterbium Inorganic materials 0.000 description 1
- 230000002159 abnormal effect Effects 0.000 description 1
- 238000009825 accumulation Methods 0.000 description 1
- 238000013329 compounding Methods 0.000 description 1
- 229910052802 copper Inorganic materials 0.000 description 1
- PMHQVHHXPFUNSP-UHFFFAOYSA-M copper(1+);methylsulfanylmethane;bromide Chemical compound Br[Cu].CSC PMHQVHHXPFUNSP-UHFFFAOYSA-M 0.000 description 1
- 239000010431 corundum Substances 0.000 description 1
- 229910052593 corundum Inorganic materials 0.000 description 1
- 229910001882 dioxygen Inorganic materials 0.000 description 1
- 238000009499 grossing Methods 0.000 description 1
- 239000012535 impurity Substances 0.000 description 1
- 229910000765 intermetallic Inorganic materials 0.000 description 1
- 238000011835 investigation Methods 0.000 description 1
- 229910052742 iron Inorganic materials 0.000 description 1
- 238000003475 lamination Methods 0.000 description 1
- 229910052748 manganese Inorganic materials 0.000 description 1
- 238000000691 measurement method Methods 0.000 description 1
- 150000002736 metal compounds Chemical class 0.000 description 1
- 238000001883 metal evaporation Methods 0.000 description 1
- 238000012986 modification Methods 0.000 description 1
- 230000004048 modification Effects 0.000 description 1
- 229910052759 nickel Inorganic materials 0.000 description 1
- 239000012811 non-conductive material Substances 0.000 description 1
- 230000001590 oxidative effect Effects 0.000 description 1
- 239000002245 particle Substances 0.000 description 1
- 238000012545 processing Methods 0.000 description 1
- 230000001681 protective effect Effects 0.000 description 1
- 239000002994 raw material Substances 0.000 description 1
- 238000005546 reactive sputtering Methods 0.000 description 1
- HBMJWWWQQXIZIP-UHFFFAOYSA-N silicon carbide Chemical compound [Si+]#[C-] HBMJWWWQQXIZIP-UHFFFAOYSA-N 0.000 description 1
- 229910010271 silicon carbide Inorganic materials 0.000 description 1
- HQVNEWCFYHHQES-UHFFFAOYSA-N silicon nitride Chemical compound N12[Si]34N5[Si]62N3[Si]51N64 HQVNEWCFYHHQES-UHFFFAOYSA-N 0.000 description 1
- 239000002356 single layer Substances 0.000 description 1
- 238000001228 spectrum Methods 0.000 description 1
- 239000011029 spinel Substances 0.000 description 1
- 229910052596 spinel Inorganic materials 0.000 description 1
- 238000006467 substitution reaction Methods 0.000 description 1
- 238000010301 surface-oxidation reaction Methods 0.000 description 1
- MTPVUVINMAGMJL-UHFFFAOYSA-N trimethyl(1,1,2,2,2-pentafluoroethyl)silane Chemical compound C[Si](C)(C)C(F)(F)C(F)(F)F MTPVUVINMAGMJL-UHFFFAOYSA-N 0.000 description 1
- 238000003466 welding Methods 0.000 description 1
- 229910052727 yttrium Inorganic materials 0.000 description 1
- 229910052725 zinc Inorganic materials 0.000 description 1
Images
Landscapes
- Cutting Tools, Boring Holders, And Turrets (AREA)
- Physical Vapour Deposition (AREA)
Abstract
【課題】本発明の目的は、基材を劣化したり表面粗度を悪化することなく基材表面に酸化アルミニウム被膜を直接形成した表面被覆切削工具を提供することにある。
【解決手段】本発明の表面被覆切削工具は、基材と、該基材上に形成された1以上の被膜とを備えるものであって、この被膜は、少なくとも酸化アルミニウム被膜を含み、該酸化アルミニウム被膜は、酸化アルミニウムを含む被膜であって上記基材上に直接形成されるものであり、かつその酸化アルミニウムの結晶構造がγ型であるか、またはγ型とα型の混在構造となっていることを特徴としている。
【選択図】なしAn object of the present invention is to provide a surface-coated cutting tool in which an aluminum oxide film is directly formed on the surface of a substrate without degrading the substrate or deteriorating the surface roughness.
The surface-coated cutting tool of the present invention comprises a base material and one or more coating films formed on the base material, and the coating film includes at least an aluminum oxide coating film, and the oxidation coating tool. The aluminum film is a film containing aluminum oxide and is formed directly on the base material, and the crystal structure of the aluminum oxide is γ type or a mixed structure of γ type and α type. It is characterized by having.
[Selection figure] None
Description
本発明は、基材上に被膜を形成してなる表面被覆切削工具およびその製造方法に関する。 The present invention relates to a surface-coated cutting tool formed by forming a film on a substrate and a method for producing the same.
切削工具を構成する基材は、その表面保護を目的とするとともに耐摩耗性や靭性等の諸特性の更なる向上を目的として、各種の被膜でその表面を被覆することが行なわれてきた。中でも酸化アルミニウムは、耐摩耗性に特に優れる効果が発揮されるとともに、基材の表面酸化を防止する効果が期待されることから、上記基材の表面を直接被覆する被膜として用いる試みが古くから行なわれてきた。 A base material constituting a cutting tool has been coated with various coatings for the purpose of protecting the surface and further improving various properties such as wear resistance and toughness. Among them, aluminum oxide is particularly effective in wear resistance and is expected to have an effect of preventing surface oxidation of the base material. Therefore, attempts to use it as a coating directly covering the surface of the base material have been used for a long time. Has been done.
そのような試みの一つとして、酸化アルミニウムを化学蒸着法(CVD法)により基材上に直接形成することが提案されている(特許文献1)。しかしながら、この提案によれば酸化アルミニウムを化学蒸着法により形成する際に基材が高温に曝されることから、基材の劣化を招く可能性がある。しかも、このような化学蒸着法で形成される酸化アルミニウムはα型の結晶構造を有するものとなるが、その結晶組織は0.5μm以上という大きなものとなり、工具の表面粗度が悪化することから耐摩耗性が低下する等の問題をも有していた。 As one of such attempts, it has been proposed to form aluminum oxide directly on a substrate by chemical vapor deposition (CVD) (Patent Document 1). However, according to this proposal, the base material is exposed to a high temperature when aluminum oxide is formed by a chemical vapor deposition method, which may cause deterioration of the base material. Moreover, the aluminum oxide formed by such a chemical vapor deposition method has an α-type crystal structure, but its crystal structure is as large as 0.5 μm or more, and the surface roughness of the tool is deteriorated. There were also problems such as a decrease in wear resistance.
一方、このような問題を解決する手段として、化学蒸着法に代えて物理蒸着法(PVD法)により酸化アルミニウムを基材上に直接形成することが提案されている(特許文献2〜4)。しかしながらこの提案によれば、上記のような化学蒸着法に起因する問題は解決されるものの、この物理蒸着法による形成に先立って基材表面を酸化処理しなければならないという前処理を必須の要件としている。この酸化処理は、酸化アルミニウム被膜の結晶成長を促進するために行なわれるとされているが、この酸化処理により基材が劣化される可能性があるという問題を有していた。
本発明は、上述の問題を解決するためになされたものであり、その目的とするところは、基材を劣化したり表面粗度を悪化することなく基材表面に酸化アルミニウム被膜を直接形成した表面被覆切削工具を提供することにある。 The present invention has been made to solve the above-mentioned problems, and the object is to directly form an aluminum oxide film on the surface of the substrate without degrading the substrate or deteriorating the surface roughness. It is to provide a surface-coated cutting tool.
本発明者は、上記課題を解決するために鋭意検討した結果、基材上に直接酸化アルミニウム被膜を物理蒸着法により形成するに際し、形成される酸化アルミニウムの結晶構造を調整すれば、基材を酸化処理するという前処理を行なうことなく基材上に直接酸化アルミニウム被膜を形成することができるのではないかという知見を得、この知見に基づきさらに検討を重ねることにより、ついに本発明を完成させるに至ったものである。 As a result of diligent investigations to solve the above problems, the present inventor found that when the aluminum oxide film was directly formed on the substrate by physical vapor deposition, the crystal structure of the formed aluminum oxide was adjusted. Obtaining the knowledge that an aluminum oxide film can be directly formed on a substrate without performing a pretreatment of oxidation treatment, the present invention is finally completed by conducting further studies based on this knowledge. Has been reached.
すなわち、本発明の表面被覆切削工具は、基材と、該基材上に形成された1以上の被膜とを備えるものであって、この被膜は、少なくとも酸化アルミニウム被膜を含み、該酸化アルミニウム被膜は、酸化アルミニウムを含む被膜であって上記基材上に直接形成されるものであり、かつその酸化アルミニウムの結晶構造がγ型であるか、またはγ型とα型の混在構造となっていることを特徴としている。 That is, the surface-coated cutting tool of the present invention comprises a substrate and one or more coatings formed on the substrate, and the coating includes at least an aluminum oxide coating, and the aluminum oxide coating Is a film containing aluminum oxide, which is directly formed on the substrate, and the crystal structure of the aluminum oxide is γ-type or a mixed structure of γ-type and α-type It is characterized by that.
また、上記酸化アルミニウム被膜は、物理蒸着法により形成されていることが好ましく、酸化アルミニウムの結晶組織の大きさが1nm以上500nm以下であることが好ましい。 The aluminum oxide film is preferably formed by physical vapor deposition, and the crystal structure of aluminum oxide is preferably 1 nm or more and 500 nm or less.
また、上記酸化アルミニウム被膜は、−4GPa以上1GPa以下の残留応力を有することが好ましく、ZrO2、HfO2、B2O3またはTiO2の少なくとも1種を含有していることが好ましく、0.1μm以上10μm以下の膜厚を有していることが好ましい。 The aluminum oxide film preferably has a residual stress of −4 GPa or more and 1 GPa or less, and preferably contains at least one of ZrO 2 , HfO 2 , B 2 O 3 or TiO 2 . The film thickness is preferably 1 μm or more and 10 μm or less.
また、上記被膜は、上記酸化アルミニウム被膜上に、周期律表のIVa族元素(Ti、Zr、Hf等)、Va族元素(V、Nb、Ta等)、VIa族元素(Cr、Mo、W等)、Al、およびSiからなる群から選ばれる少なくとも1種の金属、または該金属の少なくとも1種と、炭素、窒素、酸素、および硼素からなる群から選ばれる少なくとも1種の元素とからなる化合物によって構成される1以上の被膜が形成されていることが好ましい。 The film is formed on the aluminum oxide film by group IVa elements (Ti, Zr, Hf, etc.), group Va elements (V, Nb, Ta, etc.), group VIa elements (Cr, Mo, W, etc.) of the periodic table. Etc.), at least one metal selected from the group consisting of Al and Si, or at least one of the metals and at least one element selected from the group consisting of carbon, nitrogen, oxygen and boron It is preferable that at least one film composed of the compound is formed.
そして特にこの酸化アルミニウム被膜上に形成される被膜は、Ti、Cr、Al、およびSiからなる群から選ばれる少なくとも1種の金属、または該金属の少なくとも1種と、炭素、窒素、酸素、および硼素からなる群から選ばれる少なくとも1種の元素とからなる化合物によって構成される1以上の被膜であることが好ましく、Ti、Cr、Al、およびSiからなる群から選ばれる少なくとも1種の金属、または該金属の少なくとも1種と、炭素、窒素、酸素、および硼素からなる群から選ばれる少なくとも1種の元素とからなる化合物によって構成される2種以上の層が、各層の厚みを1nm以上100nm以下の厚みとして周期的に積層されてなる被膜を1以上含むことが好ましい。 In particular, the film formed on the aluminum oxide film includes at least one metal selected from the group consisting of Ti, Cr, Al, and Si, or at least one of the metals, and carbon, nitrogen, oxygen, and It is preferably one or more coatings composed of a compound composed of at least one element selected from the group consisting of boron, and at least one metal selected from the group consisting of Ti, Cr, Al, and Si, Or two or more layers composed of a compound composed of at least one of the metals and at least one element selected from the group consisting of carbon, nitrogen, oxygen, and boron, each having a thickness of 1 nm or more and 100 nm It is preferable to include one or more films periodically laminated as the following thickness.
また、上記基材は、超硬合金、サーメット、高速度鋼、セラミックス、立方晶型窒化硼素焼結体、またはダイヤモンド焼結体のいずれかにより構成されることが好ましい。 The base material is preferably composed of any one of cemented carbide, cermet, high speed steel, ceramics, cubic boron nitride sintered body, and diamond sintered body.
また、本発明の表面被覆切削工具の製造方法は、上記のいずれかに記載の表面被覆切削工具の製造方法であって、表面に酸化処理を施していない基材を準備するステップと、この基材上に直接酸化アルミニウム被膜を物理蒸着法により形成するステップと、を含むことを特徴としている。 In addition, the method for manufacturing a surface-coated cutting tool according to the present invention is a method for manufacturing a surface-coated cutting tool according to any one of the above, and a step of preparing a substrate whose surface is not oxidized, Forming an aluminum oxide film directly on the material by physical vapor deposition.
本発明の表面被覆切削工具は、上述の通りの構成を有することにより、基材を劣化したり表面粗度を悪化することなく基材表面に酸化アルミニウム被膜を直接形成したものである。 The surface-coated cutting tool of the present invention has a configuration as described above, and is obtained by directly forming an aluminum oxide film on the surface of the substrate without deteriorating the substrate or deteriorating the surface roughness.
以下、本発明についてさらに詳細に説明する。
<表面被覆切削工具>
本発明の表面被覆切削工具は、基材と、該基材上に形成された1以上の被膜とを備えるものである。このような基本的構成を有する本発明の表面被覆切削工具は、ドリル、エンドミル、フライス加工用または旋削加工用刃先交換型切削チップ、メタルソー、歯切工具、リーマ、タップ、またはクランクシャフトのピンミーリング加工用チップとして極めて有用である。
Hereinafter, the present invention will be described in more detail.
<Surface coated cutting tool>
The surface-coated cutting tool of the present invention comprises a base material and one or more coating films formed on the base material. The surface-coated cutting tool of the present invention having such a basic configuration is a drill, end mill, milling or turning cutting edge replacement cutting tip, metal saw, gear cutting tool, reamer, tap, or crankshaft pin milling It is extremely useful as a processing chip.
<基材>
本発明の表面被覆切削工具の基材としては、このような切削工具の基材として知られる従来公知のものを特に限定なく使用することができる。たとえば、超硬合金(たとえばWC基超硬合金、WCの他、Coを含み、あるいはさらにTi、Ta、Nb等の炭窒化物等を添加したものも含む)、サーメット(TiC、TiN、TiCN等を主成分とするもの)、高速度鋼、セラミックス(炭化チタン、炭化硅素、窒化硅素、窒化アルミニウム、酸化アルミニウム、およびこれらの混合体など)、立方晶型窒化硼素焼結体、ダイヤモンド焼結体等をこのような基材の例として挙げることができる。このような基材として超硬合金を使用する場合、そのような超硬合金は、組織中に遊離炭素やη相と呼ばれる異常相を含んでいても本発明の効果は示される。
<Base material>
As the base material of the surface-coated cutting tool of the present invention, a conventionally known material known as such a cutting tool base material can be used without particular limitation. For example, cemented carbide (for example, WC base cemented carbide, including WC, including Co, or further including carbonitride such as Ti, Ta, Nb, etc.), cermet (TiC, TiN, TiCN, etc.) High-speed steel, ceramics (titanium carbide, silicon carbide, silicon nitride, aluminum nitride, aluminum oxide, and mixtures thereof), cubic boron nitride sintered body, diamond sintered body Etc. can be mentioned as examples of such a substrate. When a cemented carbide is used as such a base material, the effect of the present invention is exhibited even if such a cemented carbide contains an abnormal phase called free carbon or η phase in the structure.
なお、これらの基材は、その表面が改質されたものであっても差し支えない。たとえば、超硬合金の場合はその表面に脱β層が形成されていたり、サーメットの場合には表面硬化層が形成されていても良く、このように表面が改質されていても本発明の効果は示される。 In addition, these base materials may have a modified surface. For example, in the case of cemented carbide, a de-β layer may be formed on the surface, or in the case of cermet, a surface hardened layer may be formed, and even if the surface is modified in this way, The effect is shown.
そして、本発明の基材は、後述の酸化アルミニウム被膜が形成される前にその表面が酸化処理されていないことを特徴とするものである。本発明は、このように酸化処理を施していない基材を用いるものであるため、従来技術のように基材が劣化するという問題を根本的に解決したものである。 And the base material of this invention is characterized by the surface not being oxidized before the below-mentioned aluminum oxide film is formed. Since the present invention uses a base material that has not been oxidized in this way, it fundamentally solves the problem that the base material deteriorates as in the prior art.
<被膜>
本発明の表面被覆切削工具の上記基材上に形成される被膜は、1以上の被膜が積層されて形成されるものであり、少なくともその一の被膜として酸化アルミニウム被膜を含むものである。なお、この被膜は、基材上の全面を被覆するもののみに限られるものではなく、部分的に被膜が形成されていない態様をも含む。
<Coating>
The film formed on the substrate of the surface-coated cutting tool of the present invention is formed by laminating one or more films, and includes an aluminum oxide film as at least one of the films. In addition, this film is not restricted only to what coat | covers the whole surface on a base material, The aspect in which the film is not partially formed is also included.
また、このような被膜は、酸化アルミニウム被膜上に、周期律表のIVa族元素、Va族元素、VIa族元素、Al、およびSiからなる群から選ばれる少なくとも1種の金属、または該金属の少なくとも1種と、炭素、窒素、酸素、および硼素からなる群から選ばれる少なくとも1種の元素とからなる化合物によって構成される1以上の被膜をさらに含むことができる。 In addition, such a film is formed on the aluminum oxide film by at least one metal selected from the group consisting of group IVa element, group Va element, group VIa element, Al, and Si in the periodic table, or of the metal It may further include one or more coatings constituted by a compound consisting of at least one element and at least one element selected from the group consisting of carbon, nitrogen, oxygen, and boron.
なお、このような被膜の合計厚み(総膜厚)は、0.5μm以上15μm以下とすることが好ましく、より好ましくはその上限が10μm以下、さらに好ましくは7μm以下、その下限が1μm以上、さらに好ましくは2μm以上である。その厚みが0.5μm未満の場合、耐摩耗性や耐酸化性等の諸特性の向上作用が十分に示されない場合があり、15μmを超えると耐欠損性が低下するため好ましくない。なお、本発明の被膜には、Mn、Fe、Co、Ni、Cu、Znなどが耐摩耗性を低下させない程度に10原子%以下含有する場合を含む。以下、これらの被膜についてさらに詳細に説明する。 The total thickness (total film thickness) of such a coating is preferably 0.5 μm or more and 15 μm or less, more preferably the upper limit is 10 μm or less, more preferably 7 μm or less, and the lower limit is 1 μm or more. Preferably it is 2 micrometers or more. When the thickness is less than 0.5 μm, the effect of improving various properties such as wear resistance and oxidation resistance may not be sufficiently exhibited. When the thickness exceeds 15 μm, the chipping resistance decreases, which is not preferable. The coating of the present invention includes a case where Mn, Fe, Co, Ni, Cu, Zn or the like is contained in an amount of 10 atomic% or less so as not to reduce the wear resistance. Hereinafter, these coating films will be described in more detail.
<酸化アルミニウム被膜>
本発明の酸化アルミニウム被膜は、酸化アルミニウム(Al2O3)を含む被膜であって上記基材上に直接形成されるものであり、かつその酸化アルミニウムの結晶構造がγ型であるか、またはγ型とα型の混在構造となっていることを特徴としている。そして、このような酸化アルミニウム被膜は、物理蒸着法により特に好適に形成される。
<Aluminum oxide coating>
The aluminum oxide film of the present invention is a film containing aluminum oxide (Al 2 O 3 ) and is directly formed on the substrate, and the crystal structure of the aluminum oxide is γ-type, or It is characterized by a mixed structure of γ type and α type. Such an aluminum oxide film is particularly preferably formed by physical vapor deposition.
なお、本願では酸化アルミニウムの結晶構造がγ型であるものを単にγ−Al2O3、α型であるものを単にα−Al2O3、γ型とα型の混在構造であるものを単にγ,α−Al2O3、とそれぞれ記す場合がある。また、結晶構造がγ型とは、結晶学的にスピネル型の結晶構造を有するものであり、X線回折法(XRD)により同定することができる。同じく、結晶構造がα型とは、結晶学的にコランダム型の結晶構造を有するものであり、X線回折法により同定することができる。また、γ型とα型の混在構造とはX線回折法で上記γ型とα型の双方に起因する回折スペクトルを有するものをいう。 In the present application, the crystal structure of aluminum oxide is simply γ-Al 2 O 3 , the α-type crystal is simply α-Al 2 O 3 , and the γ-type and α-type mixed structure is used. In some cases, γ, α-Al 2 O 3 may be described. In addition, the γ-type crystal structure has a spinel crystal structure crystallographically and can be identified by X-ray diffraction (XRD). Similarly, the α type crystal structure has a crystallographic corundum type crystal structure and can be identified by an X-ray diffraction method. The mixed structure of γ-type and α-type refers to a structure having a diffraction spectrum caused by both the γ-type and the α-type by X-ray diffraction.
このように酸化アルミニウム被膜を構成する酸化アルミニウムの結晶構造をγ型、またはγ型とα型の混在構造としたことにより、基材に対して酸化処理という前処理を何等行なうことなく基材上に物理蒸着法により酸化アルミニウム被膜を直接形成することが可能となったものである。これは、詳細なメカニズムは未だ不明ながら、酸化アルミニウム自体と基材(それを構成する金属や金属化合物)とはそもそも諸特性が全く異なるものであるため、恐らく相対的に結晶組織の微細なγ型、またはγ型とα型の混在構造の酸化アルミニウムが選択的に有利に基材上で結晶成長するためではないかと推測される。これにより、基材を劣化したり表面粗度を悪化することなく基材表面に酸化アルミニウム被膜を直接形成することが可能となった。なお、本願において酸化アルミニウム被膜を基材上に直接形成するとは、基材と酸化アルミニウム被膜とが他の被膜を介することなく直接接して形成されることをいう。 As described above, the crystal structure of aluminum oxide constituting the aluminum oxide film is γ-type or a mixed structure of γ-type and α-type so that the base material is not subjected to any pretreatment such as oxidation treatment. In addition, an aluminum oxide film can be directly formed by physical vapor deposition. Although the detailed mechanism is still unclear, aluminum oxide itself and the base material (metals and metal compounds constituting it) are completely different from each other in nature. It is presumed that aluminum oxide having a mixed structure of γ-type and α-type selectively and advantageously grows crystals on the substrate. This makes it possible to directly form an aluminum oxide film on the surface of the substrate without deteriorating the substrate or deteriorating the surface roughness. In addition, in this application, forming an aluminum oxide film directly on a base material means that a base material and an aluminum oxide film are formed in direct contact without interposing another film.
ここで、上記において酸化アルミニウムを含む被膜とは、酸化アルミニウムを主成分として含む被膜を意味し、不可避不純物が包含されていても差し支えない。また、このような酸化アルミニウム被膜は、酸化アルミニウム以外の成分としてさらにZrO2、HfO2、B2O3またはTiO2の少なくとも1種を含んでいても差し支えない。これらの成分は、酸化アルミニウムに対して0.1質量%以上40質量%以下の配合比で包含されることができる。またさらに、該酸化アルミニウム被膜は、Si、Cr、Y、Yb等の金属を20原子%以下含有することができる。このように酸化アルミニウム以外の上記各成分を含むことにより、酸化アルミニウムの微細化が促進され高硬度化や断熱性の向上という特性を付与することができる。なお、酸化アルミニウム被膜が上記のような他の成分を含む場合、これらの他の成分は酸化アルミニウムの結晶格子の正規の位置に置換型として入る場合、該結晶格子間に侵入型として入る場合、金属間化合物を形成する場合、非晶質として存在する場合等、いずれの場合も含まれる。 Here, the film containing aluminum oxide in the above means a film containing aluminum oxide as a main component, and unavoidable impurities may be included. Moreover, such an aluminum oxide film may contain at least one of ZrO 2 , HfO 2 , B 2 O 3 or TiO 2 as a component other than aluminum oxide. These components can be included at a compounding ratio of 0.1% by mass or more and 40% by mass or less with respect to aluminum oxide. Still further, the aluminum oxide coating can contain 20 atomic% or less of a metal such as Si, Cr, Y, Yb. Thus, by including each said component other than aluminum oxide, refinement | miniaturization of aluminum oxide is accelerated | stimulated and the characteristic of high hardness and an improvement of heat insulation can be provided. In addition, when the aluminum oxide film contains other components as described above, when these other components enter the normal position of the crystal lattice of aluminum oxide as a substitution type, when entering as an interstitial type between the crystal lattices, In the case of forming an intermetallic compound, it includes any case where it exists as an amorphous material.
このように本発明の酸化アルミニウム被膜は、酸化アルミニウムの結晶組織の大きさが1nm以上500nm以下であることが好ましい。これにより、被膜の表面粗度が平滑化され、被削材の溶着を極めて有効に防止することができるため、被削材の加工面を極めて良好な状態に仕上げることができるとともに、工具自体の耐摩耗性も飛躍的に向上させることができる。 Thus, the aluminum oxide film of the present invention preferably has a crystal structure of aluminum oxide of 1 nm to 500 nm. As a result, the surface roughness of the coating is smoothed and the welding of the work material can be extremely effectively prevented, so that the work surface of the work material can be finished in a very good state and the tool itself Abrasion resistance can also be dramatically improved.
なお、ここで結晶組織の大きさとは平均値を表すものであり、該結晶が柱状組織の場合には結晶の成長方向と垂直な方向の幅の平均値を示し、該結晶が粒状組織の場合には長径(個々の結晶中最大となる粒子径)の平均値を示すものとする。この大きさが500nmを超えると、上記のような表面粗度の平滑化が得られなくなる場合があり、その大きさが1nm未満になると、十分な基材の保護効果や耐摩耗性等の諸特性の向上作用が示されなくなる場合がある。より好ましくは、その上限が200nm以下、さらに好ましくは100nm以下であり、一方その下限が1nm以上であるものが好ましい。 Here, the size of the crystal structure represents an average value. When the crystal has a columnar structure, the average value of the width in the direction perpendicular to the crystal growth direction is shown. When the crystal has a granular structure, Indicates the average value of the long diameter (maximum particle diameter in each crystal). If this size exceeds 500 nm, smoothing of the surface roughness as described above may not be obtained. If the size is less than 1 nm, various effects such as a sufficient protective effect on the base material and wear resistance can be obtained. In some cases, the effect of improving the characteristics is not shown. More preferably, the upper limit is 200 nm or less, more preferably 100 nm or less, while the lower limit is 1 nm or more.
さらに、上記酸化アルミニウム被膜は、−4GPa以上1GPa以下の残留応力を有することが好ましい。これにより、極めて優れた靭性を付与することができる。 Furthermore, the aluminum oxide film preferably has a residual stress of −4 GPa to 1 GPa. Thereby, extremely excellent toughness can be imparted.
ここで、上記残留応力とは、被膜に残留する内部応力(固有ひずみ)であって、圧縮残留応力と引張残留応力の両者を含む概念である。本発明において単に残留応力という場合は、圧縮残留応力と引張残留応力の両者を含むものとする(なお、引張残留応力が解放されて応力が0GPaになった状態も便宜的に含むものとする)。 Here, the residual stress is an internal stress (intrinsic strain) remaining in the coating, and is a concept including both compressive residual stress and tensile residual stress. In the present invention, the term “residual stress” includes both compressive residual stress and tensile residual stress (note that the state in which the tensile residual stress is released and the stress becomes 0 GPa is also included for convenience).
また、上記圧縮残留応力とは「−」(マイナス)の数値(単位:本発明では「GPa」を使う)で表される応力をいう。なお、数値を使わずに圧縮残留応力の大小を表現する場合は、上記数値の絶対値が大きくなる程、圧縮残留応力が大きいと表現し、また上記数値の絶対値が小さくなる程、圧縮残留応力が小さいと表現するものとする。一般に、圧縮残留応力が大きくなる程高い靭性を示す。また、引張残留応力とは、「+」(プラス)の数値(単位:本発明では「GPa」を使う)で表される応力をいう。 The compressive residual stress is a stress represented by a numerical value “−” (minus) (unit: “GPa” is used in the present invention). In addition, when expressing the magnitude of compressive residual stress without using numerical values, it expresses that the compressive residual stress increases as the absolute value of the numerical value increases, and the compressive residual stress decreases as the absolute value of the numerical value decreases. It shall be expressed that the stress is small. Generally, the higher the compressive residual stress, the higher the toughness. Further, the tensile residual stress refers to a stress represented by a numerical value “+” (plus) (unit: “GPa” is used in the present invention).
なお、このような残留応力は、X線応力測定装置を用いたsin2ψ法により測定することができ、工具のすくい面または逃げ面の平坦部に位置する任意の点3点(これらの各点は当該部位の応力を代表できるように互いに0.5mm以上の距離を離して選択することが好ましい)以上の応力を該sin2ψ法により測定し、その平均値を求めることにより測定することができる。 Such residual stress can be measured by the sin 2 ψ method using an X-ray stress measuring device, and can be measured at any three points (each of these points located on the rake face or flank flat portion of the tool). (The point is preferably selected at a distance of 0.5 mm or more from each other so that the stress of the part can be represented.) The above stress is measured by the sin 2 ψ method, and the average value is obtained. Can do.
このようなX線を用いたsin2ψ法は、多結晶材料の残留応力の測定方法として広く用いられているものであり、たとえば「X線応力測定法」(日本材料学会、1981年株式会社養賢堂発行)の54〜66頁に詳細に説明されている方法を用いれば良い。 The sin 2 ψ method using X-rays is widely used as a method for measuring the residual stress of a polycrystalline material. For example, “X-ray stress measurement method” (Japan Society of Materials Science, 1981 Corporation) The method described in detail on pages 54 to 66 of Yokendo) may be used.
このような酸化アルミニウム被膜の残留応力は、より好ましくはその上限が0.2GPa以下、さらに好ましくは0.1GPa以下、その下限が−3.5GPa以上、さらに好ましくは−3GPa以上の範囲とすることが好適である。なお、1GPaを超える残留応力(引張残留応力)を有する場合には、靭性が劣る(耐欠損性が劣る)場合がある一方、残留応力が−4GPa未満になると大きな圧縮応力を有することから被膜の自己破壊を生じる場合がある。 The upper limit of the residual stress of such an aluminum oxide film is more preferably 0.2 GPa or less, further preferably 0.1 GPa or less, and the lower limit is −3.5 GPa or more, more preferably −3 GPa or more. Is preferred. In the case where the residual stress (tensile residual stress) exceeds 1 GPa, the toughness may be inferior (breakage resistance is inferior). On the other hand, if the residual stress is less than −4 GPa, the film has a large compressive stress. May cause self-destruction.
また、このような酸化アルミニウム被膜は、0.1μm以上10μm以下の厚みを有することが好ましく、より好ましくはその上限が6μm以下、さらに好ましくは3μm以下、その下限が0.2μm以上、さらに好ましくは0.3μm以上である。その厚みが0.1μm未満の場合、高温時に十分な耐酸化性が示されなくなるとともに十分な耐摩耗性を示さなくなる場合があり、10μmを超えると耐欠損性が低下するため好ましくない場合がある。 Further, such an aluminum oxide film preferably has a thickness of 0.1 μm or more and 10 μm or less, more preferably the upper limit is 6 μm or less, more preferably 3 μm or less, and the lower limit is 0.2 μm or more, more preferably 0.3 μm or more. If the thickness is less than 0.1 μm, sufficient oxidation resistance may not be exhibited at high temperatures and sufficient wear resistance may not be exhibited. If the thickness exceeds 10 μm, chipping resistance may be reduced, which may be undesirable. .
上記のような優れた特性を有する本発明の酸化アルミニウム被膜は、物理蒸着法により形成することが最適である。このような物理蒸着法としては、従来公知の物理蒸着法を採用することができるが、非導電性材料である酸化アルミニウムを被覆するためにはスパッタリング法が好ましい。中でも、カソードにパルス電源を用いたマグネトロンスパッタリング法を採用することが好ましい。また、スパッタリング法とアークイオンプレーティング法との組み合せや酸化アルミニウム中に導電性物質を分散させて導電性を付与し、アークイオンプレーティング法で成膜する方法も採用できる。 The aluminum oxide film of the present invention having excellent characteristics as described above is optimally formed by physical vapor deposition. As such a physical vapor deposition method, a conventionally known physical vapor deposition method can be adopted, but a sputtering method is preferable for coating aluminum oxide which is a non-conductive material. Among these, it is preferable to employ a magnetron sputtering method using a pulse power source for the cathode. Further, a combination of a sputtering method and an arc ion plating method, or a method of forming a film by an arc ion plating method by imparting conductivity by dispersing a conductive substance in aluminum oxide can be employed.
そして、その酸化アルミニウムの結晶構造をγ型、またはγ型とα型の混在構造に調整するためには、上記の各方法において、基材表面が酸化されていない状態、すなわち基材上に酸化化合物が存在しない状態で直接酸化アルミニウム被膜を形成することが望まれる。これは、恐らく基材表面が酸化された状態ではα型の酸化アルミニウムが優先的に形成されるためであると推測される。 In order to adjust the crystal structure of the aluminum oxide to a γ-type or a mixed structure of γ-type and α-type, in each of the above methods, the substrate surface is not oxidized, that is, oxidized on the substrate. It is desirable to form an aluminum oxide film directly in the absence of a compound. This is presumably because α-type aluminum oxide is preferentially formed when the substrate surface is oxidized.
<酸化アルミニウム被膜以外の被膜>
本発明の被膜は、上記酸化アルミニウム被膜上に、周期律表のIVa族元素(Ti、Zr、Hf等)、Va族元素(V、Nb、Ta等)、VIa族元素(Cr、Mo、W等)、Al、およびSiからなる群から選ばれる少なくとも1種の金属、または該金属の少なくとも1種と、炭素、窒素、酸素、および硼素からなる群から選ばれる少なくとも1種の元素とからなる化合物によって構成される1以上の被膜が形成されていることが好ましい。
<Films other than aluminum oxide film>
The film of the present invention is formed on the above-described aluminum oxide film by a group IVa element (Ti, Zr, Hf, etc.), a group Va element (V, Nb, Ta, etc.), a group VIa element (Cr, Mo, W, etc.) Etc.), at least one metal selected from the group consisting of Al and Si, or at least one of the metals and at least one element selected from the group consisting of carbon, nitrogen, oxygen and boron It is preferable that at least one film composed of the compound is formed.
そして特にこの酸化アルミニウム被膜上に形成される被膜は、Ti、Cr、Al、およびSiからなる群から選ばれる少なくとも1種の金属、または該金属の少なくとも1種と、炭素、窒素、酸素、および硼素からなる群から選ばれる少なくとも1種の元素とからなる化合物によって構成される1以上の被膜であることが好ましく、Ti、Cr、Al、およびSiからなる群から選ばれる少なくとも1種の金属、または該金属の少なくとも1種と、炭素、窒素、酸素、および硼素からなる群から選ばれる少なくとも1種の元素とからなる化合物によって構成される2種以上の層が、各層の厚みを1nm以上100nm以下の厚みとして周期的に積層されてなる被膜を1以上含むことが好ましい。 In particular, the film formed on the aluminum oxide film includes at least one metal selected from the group consisting of Ti, Cr, Al, and Si, or at least one of the metals, and carbon, nitrogen, oxygen, and It is preferably one or more coatings composed of a compound composed of at least one element selected from the group consisting of boron, and at least one metal selected from the group consisting of Ti, Cr, Al, and Si, Or two or more layers composed of a compound composed of at least one of the metals and at least one element selected from the group consisting of carbon, nitrogen, oxygen, and boron, each having a thickness of 1 nm or more and 100 nm It is preferable to include one or more films periodically laminated as the following thickness.
以下、このような酸化アルミニウム被膜上に形成される酸化アルミニウム被膜以外の被膜を、便宜上、外層被膜と記すことにする。 Hereinafter, for convenience, a film other than the aluminum oxide film formed on the aluminum oxide film will be referred to as an outer layer film.
このような外層被膜は、高硬度で耐摩耗性に優れるとともに、極めて優れた靭性を示すものである。特に、Ti、Cr、Al、およびSiからなる群から選ばれる少なくとも1種の金属、または該金属の少なくとも1種と、炭素、窒素、酸素、および硼素からなる群から選ばれる少なくとも1種の元素とからなる化合物によって構成される1以上の被膜は、耐酸化性および耐熱性に優れていることから特に優れた耐摩耗性が示されるとともに、酸化アルミニウム被膜との密着性に優れるため極めて優れた耐剥離性が示される。これらの好適な諸特性は、酸化アルミニウム被膜が高い断熱性を示すことに起因して酸化アルミニウム被膜上に形成される他の被膜に切削熱が蓄積することによりもたらされる種々の問題を解消するのに極めて有効である。 Such an outer layer coating has high hardness and excellent wear resistance, and exhibits extremely excellent toughness. In particular, at least one metal selected from the group consisting of Ti, Cr, Al, and Si, or at least one element selected from the group consisting of at least one of the metals and carbon, nitrogen, oxygen, and boron One or more coatings composed of the compound consisting of the above are excellent in oxidation resistance and heat resistance, and thus exhibit particularly excellent wear resistance, and are extremely excellent because of excellent adhesion to the aluminum oxide coating. Peel resistance is indicated. These preferred characteristics eliminate various problems caused by the accumulation of cutting heat in other coatings formed on the aluminum oxide coating due to the high thermal insulation properties of the aluminum oxide coating. Is extremely effective.
なお、該外層被膜は、物理蒸着法により形成されることが好ましく、圧縮残留応力を有していることが好ましい。 The outer layer film is preferably formed by physical vapor deposition, and preferably has compressive residual stress.
このような外層被膜を物理蒸着法により形成することが好適である理由は、第一に外層被膜に圧縮残留応力を付与するためであり、第二に酸化アルミニウム被膜が物理蒸着法により形成される場合においてこの酸化アルミニウム被膜と同じ成膜方法を採用することにより製造効率を向上させるためである。このような物理蒸着法は、上記の酸化アルミニウム被膜について述べたのと同様の方法を採用することができ、特に酸化アルミニウム被膜と同一の方法を採用することが好適である。 The reason why it is preferable to form such an outer layer film by physical vapor deposition is to firstly apply compressive residual stress to the outer layer film, and secondly, an aluminum oxide film is formed by physical vapor deposition. In this case, the same film formation method as that of the aluminum oxide film is employed to improve the production efficiency. Such a physical vapor deposition method can employ the same method as described for the aluminum oxide film, and it is particularly preferable to employ the same method as that for the aluminum oxide film.
そして、このような外層被膜を構成する金属または化合物としては、たとえば、Cr、Ti、Al、Si、V、Zr、Hf、TiAl、TiSi、AlCr、TiN、TiON、TiCN、TiCNO、TiBN、TiCBN、TiAlCN、AlN、AlCN、AlCrCN、AlON、CrN、CrCN、TiSiN、TiSiCN、Cr2O3、Ti2O3、TiO2、TiAlON、ZrN、ZrCN、AlZrN、TiAlN、TiAlSiN、TiAlCrSiN、AlCrN、AlCrSiN、TiZrN、TiAlMoN、TiAlNbN、TiSiN、TiSiCN、AlCrTaN、AlTiVN、TiB2、TiCrHfN、CrSiWN、TiAlCN、TiSiCN、AlZrON、AlCrCN、AlHfN、CrSiBON、TiAlWN、AlCrMoCN、TiAlBN、TiAlCrSiBCNO等を挙げることができる。 And as a metal or compound which constitutes such an outer layer coat, for example, Cr, Ti, Al, Si, V, Zr, Hf, TiAl, TiSi, AlCr, TiN, TiON, TiCN, TiCNO, TiBN, TiCBN, TiAlCN, AlN, AlCN, AlCrCN, AlON, CrN, CrCN, TiSiN, TiSiCN, Cr 2 O 3, Ti 2 O 3, TiO 2, TiAlON, ZrN, ZrCN, AlZrN, TiAlN, TiAlSiN, TiAlCrSiN, AlCrN, AlCrSiN, TiZrN , TiAlMoN, TiAlNbN, TiSiN, TiSiCN , AlCrTaN, AlTiVN, TiB 2, TiCrHfN, CrSiWN, TiAlCN, TiSiCN, AlZrON, AlCrCN, AlHfN, rSiBON, mention may be made of TiAlWN, AlCrMoCN, TiAlBN, the TiAlCrSiBCNO like.
とりわけ、Ti、Cr、Al、およびSiからなる群から選ばれる少なくとも1種の金属、または該金属の少なくとも1種と、炭素、窒素、酸素、および硼素からなる群から選ばれる少なくとも1種の元素とからなる化合物としては、Ti、Cr、Al、Si、TiAlN、TiAlNO、TiAlCNO、TiBN、TiCBN、TiSiN、TiSiNO、TiSiCNO、CrTiN、CrTiNO、CrTiCNO、SiAlN、SiAlNO、SiAlCNO、CrSiN、CrSiNO、CrSiCNO、SiAlN、SiAlNO、SiAlCNO、CrSiN、CrSiNO、CrSiCNO、TiAlSiN、TiAlSiNO、TiAlSiCNO、TiAlCrN、TiAlCrNO、TiAlCrCNO、TiCrSiN、TiCrSiNO、TiCrSiCNO、AlCrN、AlCrNO、AlCrSiNO、AlCrCNO等を挙げることができ、特にAlCrN、AlCrNO、AlCrSiNO、AlCrCNO等が好適である。 In particular, at least one metal selected from the group consisting of Ti, Cr, Al, and Si, or at least one element selected from the group consisting of at least one of the metals and carbon, nitrogen, oxygen, and boron The compounds consisting of Ti, Cr, Al, Si, TiAlN, TiAlNO, TiAlCNO, TiBN, TiCBN, TiSiN, TiSiNO, TiSiCNO, CrTiN, CrTiNO, CrTiCNO, SiAlN, SiAlNO, SiAlCNO, CrSiN, CrSiNO, CrSiCNO, SiAlN SiAlNO, SiAlCNO, CrSiN, CrSiNO, CrSiCNO, TiAlSiN, TiAlSiNO, TiAlSiCNO, TiAlCrN, TiAlCrNO, TiAlCrCNO, TiCr iN, TiCrSiNO, TiCrSiCNO, AlCrN, AlCrNO, AlCrSiNO, there may be mentioned AlCrCNO like, in particular AlCrN, preferred AlCrNO, AlCrSiNO, AlCrCNO the like.
なお、この外層被膜は、これらの金属または化合物を単層または多層として形成することができ、多層の場合はこれらの金属または化合物からなる層を5nm〜5μmの厚みで積層する場合も含む。そして、特にTi、Cr、Al、およびSiからなる群から選ばれる少なくとも1種の金属、または該金属の少なくとも1種と、炭素、窒素、酸素、および硼素からなる群から選ばれる少なくとも1種の元素とからなる化合物によって構成される2種以上の層が、各層の厚みを1nm以上100nm以下の厚みとして周期的に積層されてなる被膜を1以上含むことが好ましい。このように上記各層を周期的に積層させることにより、耐酸化性および耐熱性がさらに向上し極めて優れた耐摩耗性が示される。ここで、周期的に積層させるとは、たとえば2種の層を上下交互に積層させるなど、一定の周期性をもって積層させることをいう。なお、各層の厚みが1nm未満となる場合や100nmを超える場合には積層による耐摩耗性の向上効果が示されない場合があるが、その場合であってもこれらの金属や化合物によってもたらされる固有の耐摩耗性の向上効果は示される。各層の厚みはより好ましくは5nm以上60nm以下である。 In addition, this outer layer film can form these metals or compounds as a single layer or multiple layers. In the case of multiple layers, it includes the case where layers of these metals or compounds are laminated with a thickness of 5 nm to 5 μm. In particular, at least one metal selected from the group consisting of Ti, Cr, Al, and Si, or at least one selected from the group consisting of at least one of the metals and carbon, nitrogen, oxygen, and boron It is preferable that two or more types of layers composed of a compound composed of an element include one or more coatings formed by periodically laminating each layer with a thickness of 1 nm to 100 nm. Thus, by periodically laminating the above layers, the oxidation resistance and heat resistance are further improved, and extremely excellent wear resistance is exhibited. Here, periodically laminating means, for example, laminating with a certain periodicity such as alternately laminating two kinds of layers. In addition, when the thickness of each layer is less than 1 nm or exceeds 100 nm, the effect of improving the abrasion resistance due to lamination may not be shown, but even in that case, it is inherent to these metals and compounds. The effect of improving wear resistance is shown. The thickness of each layer is more preferably 5 nm or more and 60 nm or less.
さらに本発明の外層被膜は、圧縮残留応力を有することが好ましく、これにより高い靭性を示すものとなる。ここで、圧縮残留応力とは、上記の酸化アルミニウム被膜について既に説明した通りの内部応力であって、好ましくは−10GPa以上−1GPa以下、さらに好ましくはその上限が−1.5GPa以下、さらに好ましくは−2GPa以下、その下限が−8GPa以上、さらに好ましくは−7GPa以上の範囲の応力とすることが好適である。−1GPaを超える残留応力を有する場合には、靭性が劣る(耐欠損性が劣る)ことになり、一方、残留応力が−10GPa未満になると圧縮応力が大きくなり過ぎて被膜の自己破壊による剥離を生じる場合がある。なお、このような圧縮残留応力は、酸化アルミニウム被膜で説明したsin2ψ法を用いた同様の方法により測定することができる。また、外層被膜が多層で形成される場合には、最大の圧縮応力(その絶対値が最大となる圧縮応力)を有する層の応力を外層被膜の圧縮残留応力とするものとする。 Furthermore, the outer layer coating of the present invention preferably has a compressive residual stress, and thereby exhibits high toughness. Here, the compressive residual stress is an internal stress as already described for the aluminum oxide film, and is preferably −10 GPa to −1 GPa, more preferably the upper limit is −1.5 GPa, more preferably It is preferable that the stress is −2 GPa or less and the lower limit is −8 GPa or more, more preferably −7 GPa or more. When the residual stress exceeds -1 GPa, the toughness is inferior (breakage resistance is poor). On the other hand, when the residual stress is less than -10 GPa, the compressive stress becomes too large and the coating is peeled off due to self-destruction. May occur. Such compressive residual stress can be measured by the same method using the sin 2 ψ method described for the aluminum oxide film. When the outer layer coating is formed of multiple layers, the stress of the layer having the maximum compressive stress (the compressive stress having the maximum absolute value) is taken as the compressive residual stress of the outer layer coating.
このような外層被膜は、0.3μm以上10μm以下の厚み(多層で形成される場合はその全体の厚み)を有することが好ましく、より好ましくはその上限が7μm以下、さらに好ましくは5μm以下、その下限が0.5μm以上、さらに好ましくは1μm以上である。その厚みが0.3μm未満の場合には、十分な耐摩耗性が示されなくなるとともに十分な靭性を示さなくなる場合があり、10μmを超えると耐欠損性が低下することがあるため好ましくない。 Such an outer layer coating preferably has a thickness of 0.3 μm or more and 10 μm or less (when it is formed of multiple layers, its total thickness), more preferably its upper limit is 7 μm or less, more preferably 5 μm or less, The lower limit is 0.5 μm or more, more preferably 1 μm or more. If the thickness is less than 0.3 μm, sufficient wear resistance may not be exhibited and sufficient toughness may not be exhibited. If the thickness exceeds 10 μm, the fracture resistance may decrease, which is not preferable.
<表面被覆切削工具の製造方法>
本発明の表面被覆切削工具の製造方法は、表面に酸化処理を施していない基材を準備するステップと、この基材上に直接酸化アルミニウム被膜を物理蒸着法により形成するステップと、を含むことができる。そして酸化アルミニウム被膜上にさらに外層被膜を形成する場合は、この酸化アルミニウム被膜上に外層被膜を物理蒸着法により形成するステップをさらに含むものとなる。なお、物理蒸着法としては、上記で説明した方法が採用される。
<Method for manufacturing surface-coated cutting tool>
The method for producing a surface-coated cutting tool of the present invention includes the steps of preparing a base material that has not been subjected to oxidation treatment on the surface, and forming an aluminum oxide film directly on the base material by physical vapor deposition. Can do. When an outer layer film is further formed on the aluminum oxide film, the method further includes a step of forming the outer layer film on the aluminum oxide film by physical vapor deposition. In addition, as a physical vapor deposition method, the method demonstrated above is employ | adopted.
ここで、表面に酸化処理を施していない基材を準備するステップとは、基材表面に対して酸化処理するという前処理を施さないということを意味するものである。このように酸化処理を施していない基材を用いるものであるため、従来技術のように基材が劣化するという問題を根本的に解決したものである。 Here, the step of preparing a base material that has not been subjected to oxidation treatment on the surface means that a pretreatment of oxidizing the surface of the base material is not performed. Thus, since the base material which has not been oxidized is used, the problem that the base material deteriorates as in the prior art is fundamentally solved.
このように本発明の表面被覆切削工具の被膜は、全て物理蒸着法により形成することが好ましい。これにより、極めて高い製造効率を得ることができるからである。 Thus, it is preferable to form all the films of the surface-coated cutting tool of the present invention by physical vapor deposition. This is because extremely high production efficiency can be obtained.
以下、実施例を挙げて本発明をより詳細に説明するが、本発明はこれらに限定されるものではない。なお、以下の各被膜の化学組成はXPS(X線光電子分光分析装置)によって確認し、残留応力は上記に説明したsin2ψ法により3点の平均値を求めることによって算出した。また、以下では被膜を物理蒸着法であるアンバランスドマグネトロンスパッタリング法とカソードアークイオンプレーティング法の組み合わせにより形成しているが、公知の他の物理蒸着法によって成膜した場合も含む。 EXAMPLES Hereinafter, although an Example is given and this invention is demonstrated in detail, this invention is not limited to these. In addition, the chemical composition of each following film was confirmed by XPS (X-ray photoelectron spectroscopy analyzer), and the residual stress was calculated by obtaining an average value of three points by the sin 2 ψ method described above. In the following, the coating is formed by a combination of the unbalanced magnetron sputtering method and the cathode arc ion plating method, which are physical vapor deposition methods, but includes cases where the film is formed by other known physical vapor deposition methods.
<実施例1>
<表面被覆切削工具の作製>
まず、基材として、グレードがJIS規格M20のWC基超硬合金であって、切削チップとしての形状がJIS規格CNMG120408であるものを使用し、これをカソードにパルスDC電源を用いたアンバランスドマグネトロンスパッタリング装置(成膜装置)に装着した。
<Example 1>
<Production of surface-coated cutting tool>
First, the base material is a WC-base cemented carbide of JIS standard M20 and the shape as a cutting tip is JIS standard CNMG120408, which is unbalanced using a pulsed DC power source as a cathode. The magnetron sputtering apparatus (film forming apparatus) was mounted.
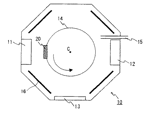
図1は、その成膜装置10の概略構成を示す模式図である。図1に示す成膜装置10内に複数のアーク蒸発源11、12およびアンバランスドマグネトロンスパッタ蒸発源(以下、UBMスパッタ源と呼ぶ)13を配置し、中心点Cを中心とし蒸発源11〜13に各対向するようにして回転する保持具14に基材20である上記切削チップを装着した。なお、必要なガスは、ガス導入口15から成膜装置10内へ導入される。また、成膜装置10内にはヒーター16が備えられている。
FIG. 1 is a schematic diagram showing a schematic configuration of the
本実施例では、アーク蒸発源11、12に所定の金属原料(例えば、TiAlやTiなど)をセットし、UBMスパッタ源にAl(Hf、Zr、B等を含む場合もある)をセットした。すなわち、UBMスパッタ源により酸化アルミニウム被膜を形成し、アーク蒸発源により外層被膜を形成するものである。
In this embodiment, a predetermined metal raw material (for example, TiAl or Ti) is set in the
続いて、真空ポンプにより該装置のチャンバー内を1×10-3Pa以下に減圧するとともに、該装置内に設置されたヒーター16により上記基材20の温度を650℃に加熱し、1時間保持した。
Subsequently, the inside of the chamber of the apparatus is depressurized to 1 × 10 −3 Pa or less by a vacuum pump, and the temperature of the
次に、アルゴンガスを導入してチャンバー内の圧力を3.0Paに保持し、基板バイアス電源の電圧を徐々に上げながら−1000Vとし、基材の表面のクリーニングを15分間行なった。その後、アルゴンガスを排気した。なお、このアルゴンガスによる処理は酸素を伴わず、酸化処理ではない。 Next, argon gas was introduced to maintain the pressure in the chamber at 3.0 Pa, the substrate bias power supply voltage was gradually increased to −1000 V, and the surface of the substrate was cleaned for 15 minutes. Thereafter, argon gas was exhausted. This treatment with argon gas does not involve oxygen and is not an oxidation treatment.
次いで、上記基材表面に形成される被膜として、化学組成および積層構成(膜厚、残留応力)が以下の表1に示したものとなるように上記金属蒸発源に上記ターゲットを各々セットした。No.1〜11の工具の酸化アルミニウム被膜については、基材(基板)温度500〜800℃に設定し、酸素ガスを流しながらUBMスパッタ源にパルスDC電力を加えながら反応性スパッタ法で形成した。また外層被膜については、基材(基板)温度400〜600℃に設定し、真空もしくは反応ガスとして窒素、メタン(炭素源として)、酸素のいずれか1以上のガスを導入させながら、アークイオンプレーティング法で上記基材表面に各構成の被膜を形成した。なお、表1中、2以上の外層被膜が形成されるものについては、左側のものから順に酸化アルミニウム被膜上に形成したことを示している。 Next, the target was set in the metal evaporation source so that the chemical composition and the laminated structure (film thickness, residual stress) were as shown in Table 1 below as the film formed on the substrate surface. No. The aluminum oxide coatings of the tools 1 to 11 were formed by a reactive sputtering method while setting the base material (substrate) temperature to 500 to 800 ° C. and applying pulsed DC power to the UBM sputtering source while flowing oxygen gas. For the outer layer coating, the base ion (substrate) temperature is set to 400 to 600 ° C., and one or more gases of nitrogen, methane (as a carbon source), and oxygen are introduced as a vacuum or a reaction gas while arc ion plate is used. A coating film of each constitution was formed on the surface of the base material by a ting method. In Table 1, those having two or more outer layer coatings formed on the aluminum oxide coating in order from the left one.
このようにして、表1に示したNo.1〜16の表面被覆切削工具を作製した。No.1〜11が本発明の実施例であって基材上に酸化アルミニウム被膜が直接形成されており、No.12〜16は比較例であって基材の直上に酸化アルミニウム被膜以外の被膜等が形成されたものである。なお、比較例の各被膜のうち下記被膜については以下の成膜方法を採用した。 Thus, No. 1 shown in Table 1 was obtained. 1 to 16 surface-coated cutting tools were produced. No. 1 to 11 are examples of the present invention, in which an aluminum oxide film is directly formed on a substrate. Nos. 12 to 16 are comparative examples in which a film other than the aluminum oxide film is formed directly on the substrate. In addition, the following film-forming methods were employ | adopted about the following film among each film of a comparative example.
すなわち、No.14、15の比較例は、被膜として酸化アルミニウム被膜を含んでいるが、この酸化アルミニウム被膜はCVD法(被覆温度1000℃)により形成されており、酸化アルミニウムの結晶構造がα型を示し、0.4GPaの引張残留応力を有するものであった。また、No.16の比較例は、被膜を形成する前に基材を、酸素を含有する雰囲気下1000℃で1時間熱処理することにより、基材表面を酸化した状態で各被膜を物理蒸着法により形成したものである(このため酸化アルミニウム被膜の結晶型はα型を示した)。なお、これ以外の各比較例の被膜は、実施例のものと同様に物理蒸着法により成膜した。 That is, no. The comparative examples 14 and 15 include an aluminum oxide film as a film, and this aluminum oxide film is formed by the CVD method (coating temperature 1000 ° C.), and the crystal structure of the aluminum oxide shows α-type. It had a tensile residual stress of 4 GPa. No. In Comparative Example 16, the base material was heat-treated at 1000 ° C. for 1 hour in an oxygen-containing atmosphere before forming the coating, and each coating was formed by physical vapor deposition with the base surface oxidized. (For this reason, the crystal form of the aluminum oxide film was α-type). In addition, the film of each comparative example other than this was formed into a film by the physical vapor deposition method similarly to the thing of an Example.
上記表1において、被膜の積層構成は、左のものから順に基材上に積層させたことを示している(表1中において空欄となっているところは、該当する被膜が形成されないことを示している)。また、上記表1において、「*」の記号を付したものが比較例である。 In Table 1 above, the laminated structure of the film indicates that the film is laminated on the base material in order from the left (the blank in Table 1 indicates that the corresponding film is not formed). ing). Further, in Table 1 above, those with the symbol “*” are comparative examples.
なお、No.9〜11の外層被膜は、2種の層が周期的に積層されてなる被膜であることを示している。たとえば、No.9は、厚み15nmのTiAlNからなる層と厚み15nmのAlCrNOからなる層とが周期的に積層(上下交互に積層)して厚み2.0μmの外層被膜(各層のうち最大の圧縮残留応力が−2.5GPaとなる)が形成されていることを示す(酸化アルミニウム被膜上にはまずTiAlNからなる層が形成されることを示す)。No.10および11についてもNo.9と同様の内容を示す。このような周期的な積層は、上記成膜装置10において保持具14の回転速度を調節したり、または半回転毎に反応ガスの種類や流量を調節することにより形成することができる。
In addition, No. The outer layer coatings 9 to 11 indicate that the two layers are periodically laminated. For example, no. No. 9 is a layer of TiAlN having a thickness of 15 nm and a layer of AlCrNO having a thickness of 15 nm, which are periodically laminated (alternatingly stacked up and down) to form an outer coating film having a thickness of 2.0 μm (the maximum compressive residual stress is − (Indicating that a layer made of TiAlN is first formed on the aluminum oxide film). No. No. 10 and 11 are also No. The same content as 9 is shown. Such a periodic stack can be formed by adjusting the rotation speed of the
そして、これらの表面被覆切削工具について、下記の条件により、耐摩耗性試験と断続切削試験を行なった。その結果を以下の表2に示す。耐摩耗性試験では、逃げ面摩耗量が0.15mmとなる時間を測定し、その時間が長いもの程耐摩耗性に優れていることを示している。また、断続切削試験では、工具が欠損するまでの時間を測定し、その時間が長いもの程靭性に優れていることを示している。 These surface-coated cutting tools were subjected to an abrasion resistance test and an intermittent cutting test under the following conditions. The results are shown in Table 2 below. In the wear resistance test, the time for the flank wear amount to be 0.15 mm was measured, and the longer the time, the better the wear resistance. In the intermittent cutting test, the time until the tool is broken is measured, and the longer the time is, the better the toughness is.
<耐摩耗性試験>
被削材:SCM435丸棒
切削速度:180m/min
切込み:2.0mm
送り:0.3mm/rev.
乾式/湿式:乾式
<断続切削試験>
被削材:SCM435
切削速度:350m/min
切込み:2.0mm
送り:0.2mm/rev.
乾式/湿式:乾式
<Abrasion resistance test>
Work material: SCM435 round bar Cutting speed: 180m / min
Cutting depth: 2.0mm
Feed: 0.3 mm / rev.
Dry / Wet: Dry <Intermittent cutting test>
Work material: SCM435
Cutting speed: 350 m / min
Cutting depth: 2.0mm
Feed: 0.2 mm / rev.
Dry / Wet: Dry
上記表2において、「*」の記号を付したものが比較例である。表2から明らかなように、No.1〜No.11の本発明の実施例の表面被覆切削工具は、いずれも優れた耐摩耗性と靭性とを有するものであった。すなわち、酸化アルミニウム被膜の表面粗度が平滑なためにこれが工具の表面粗度の平滑性に寄与し、以って優れた耐摩耗性を示したものと考えられるとともに、基材の劣化が防止されたために優れた靭性を示したものと考えられる。なお、外層被膜としてTi、Cr、Al、およびSiからなる群から選ばれる少なくとも1種の金属と、炭素、窒素、酸素、および硼素からなる群から選ばれる少なくとも1種の元素とからなる化合物によって構成される2種以上の層を周期的に積層させた被膜を形成したNo.9〜11において、特に優れた耐摩耗性が示されたことにより、これらの被膜が優れた耐酸化性および耐熱性を有していることが確認できた。 In Table 2 above, those with the symbol “*” are comparative examples. As can be seen from Table 2, no. 1-No. Each of the 11 surface-coated cutting tools of the present invention had excellent wear resistance and toughness. In other words, since the surface roughness of the aluminum oxide film is smooth, this contributes to the smoothness of the surface roughness of the tool, which is considered to have exhibited excellent wear resistance, and prevents deterioration of the base material. Therefore, it is considered that the toughness was excellent. The outer layer coating is composed of at least one metal selected from the group consisting of Ti, Cr, Al, and Si and at least one element selected from the group consisting of carbon, nitrogen, oxygen, and boron. No. 2 in which a film in which two or more layers constituted are periodically laminated is formed. In 9 to 11, it was confirmed that these coatings had excellent oxidation resistance and heat resistance by showing particularly excellent wear resistance.
これに対して、No.12〜No.16の比較例の表面被覆切削工具は、上記実施例のものに比し耐摩耗性も靭性(耐欠損性)も劣っていた。 In contrast, no. 12-No. The surface-coated cutting tools of 16 comparative examples were inferior in wear resistance and toughness (breakage resistance) as compared with the above examples.
なお、本実施例では、基材としてチップブレーカを有するものを用いたが、チップブレーカを有していないものや、切削工具の上下面全面が研磨されたような工具(チップ)でも本実施例と同様の効果を得ることができる。 In the present embodiment, a material having a chip breaker is used as a base material. However, the present embodiment is also applicable to a tool (chip) having no chip breaker or a tool (chip) whose upper and lower surfaces are entirely polished. The same effect can be obtained.
<実施例2>
<表面被覆切削工具の作製>
基材として、実施例1で用いた基材に代えて、組成がJIS規格P30のサーメットであって、切削チップとしての形状がJIS規格CNMG120408であるものを基材として使用することを除き、他は全て実施例1と同様にして被膜を形成し、表3に示したNo.101〜120の表面被覆切削工具を作製した。No.101〜115が本発明の実施例であって基材上に酸化アルミニウム被膜が直接形成されており、No.116〜120は比較例であって基材の直上に酸化アルミニウム被膜以外の被膜等が形成されたものである。なお、上記実施例および比較例の各被膜は、いずれも実施例1と同様の条件により物理蒸着法(ただしNo.119のみCVD法)により成膜し、またNo.120は実施例1のNo.16と同様に基材を酸化処理した後、酸化アルミニウム被膜を物理蒸着法により形成したものである。
<Example 2>
<Production of surface-coated cutting tool>
As a base material, instead of the base material used in Example 1, the composition is a cermet of JIS standard P30 and the shape as a cutting tip is a JIS standard CNMG120408, except that the base material is used. Were all formed in the same manner as in Example 1, and No. 1 shown in Table 3 were formed. 101-120 surface-coated cutting tools were produced. No. 101-115 is an Example of this invention, and the aluminum oxide film is directly formed on the base material. Reference numerals 116 to 120 are comparative examples in which a film other than the aluminum oxide film is formed directly on the substrate. In addition, each film of the above Examples and Comparative Examples is formed by physical vapor deposition (however, only No. 119 is CVD) under the same conditions as in Example 1. 120 is No. 120 in Example 1. In the same manner as in No. 16, the substrate was oxidized, and an aluminum oxide film was formed by physical vapor deposition.
上記表3において、「*」の記号を付したものが比較例であり、被膜の積層構成は実施例1と同様、左のものから順に基材上に積層させたことを示している(表3中において空欄となっているところは、該当する被膜が形成されないことを示し、No.113〜115は、実施例1のNo.9〜11と同様に外層被膜が周期的に積層された多層被膜として形成されていることを示している)。 In Table 3 above, the sample with the symbol “*” is a comparative example, and the laminated structure of the coating is the same as in Example 1, indicating that the left layer is laminated on the base material in order (Table). No. 3 indicates that the corresponding coating is not formed, and Nos. 113 to 115 are multilayers in which outer layer coatings are periodically laminated as in Nos. 9 to 11 of Example 1. It is formed as a film).
そして、これらの表面被覆切削工具について、下記の条件により、耐摩耗性試験と断続切削試験を行なった。その結果を以下の表4に示す。耐摩耗性試験では、逃げ面摩耗量が0.15mmとなる時間を測定し、その時間が長いもの程耐摩耗性に優れていることを示している。また、断続切削試験では、工具が欠損するまでの時間を測定し、その時間が長いもの程靭性に優れていることを示している。 These surface-coated cutting tools were subjected to an abrasion resistance test and an intermittent cutting test under the following conditions. The results are shown in Table 4 below. In the wear resistance test, the time for the flank wear amount to be 0.15 mm was measured, and the longer the time, the better the wear resistance. In the intermittent cutting test, the time until the tool is broken is measured, and the longer the time is, the better the toughness is.
<耐摩耗性試験>
被削材:SCM435丸棒
切削速度:180m/min
切込み:2.0mm
送り:0.3mm/rev.
乾式/湿式:乾式
<断続切削試験>
被削材:SCM435
切削速度:250m/min
切込み:2.0mm
送り:0.2mm/rev.
乾式/湿式:乾式
<Abrasion resistance test>
Work material: SCM435 round bar Cutting speed: 180m / min
Cutting depth: 2.0mm
Feed: 0.3 mm / rev.
Dry / Wet: Dry <Intermittent cutting test>
Work material: SCM435
Cutting speed: 250 m / min
Cutting depth: 2.0mm
Feed: 0.2 mm / rev.
Dry / Wet: Dry
上記表4において、「*」の記号を付したものが比較例である。表4から明らかなように、No.101〜No.115の本発明の実施例の表面被覆切削工具は、いずれも優れた耐摩耗性および靭性を有するものであった。すなわち、酸化アルミニウム被膜の表面粗度が平滑なためにこれが工具の表面粗度の平滑性に寄与し、以って優れた耐摩耗性を示したものと考えられるとともに、基材の劣化が防止されたために優れた靭性を示したものと考えられる。なお、外層被膜としてTi、Cr、Al、およびSiからなる群から選ばれる少なくとも1種の金属と、炭素、窒素、酸素、および硼素からなる群から選ばれる少なくとも1種の元素とからなる化合物によって構成される2種以上の層を周期的に積層させた被膜を形成したNo.113〜115において、特に優れた耐摩耗性が示されたことにより、これらの被膜が優れた耐酸化性および耐熱性を有していることが確認できた。 In Table 4 above, those with the symbol “*” are comparative examples. As is apparent from Table 4, 101-No. Each of the 115 surface-coated cutting tools according to the examples of the present invention had excellent wear resistance and toughness. In other words, since the surface roughness of the aluminum oxide film is smooth, this contributes to the smoothness of the surface roughness of the tool, which is considered to have exhibited excellent wear resistance, and prevents deterioration of the base material. Therefore, it is considered that the toughness was excellent. The outer layer coating is composed of at least one metal selected from the group consisting of Ti, Cr, Al, and Si and at least one element selected from the group consisting of carbon, nitrogen, oxygen, and boron. No. 2 in which a film in which two or more layers constituted are periodically laminated is formed. In 113-115, it was confirmed that these coatings had excellent oxidation resistance and heat resistance by showing particularly excellent wear resistance.
これに対して、No.116〜No.120の比較例の表面被覆切削工具は、上記実施例のものに比し耐摩耗性も靭性(耐欠損性)も劣っていた。 In contrast, no. 116-No. The surface-coated cutting tools of 120 comparative examples were inferior in wear resistance and toughness (fracture resistance) as compared with the above examples.
なお、本実施例では、基材としてチップブレーカを有するものを用いたが、チップブレーカを有していないものや、切削工具の上下面全面が研磨されたような工具(チップ)でも本実施例と同様の効果を得ることができる。 In the present embodiment, a material having a chip breaker is used as a base material. However, the present embodiment is also applicable to a tool (chip) having no chip breaker or a tool (chip) whose upper and lower surfaces are entirely polished. The same effect can be obtained.
<実施例3>
<表面被覆切削工具の作製>
基材として、実施例1で用いた基材に代えて、立方晶型窒化硼素の含有率が30〜95%である市販の立方晶型窒化硼素焼結体であって、切削チップとしての形状がJIS規格SNGN120408であるものを基材として使用することを除き、他は全て実施例1と同様にして被膜を形成し、表5に示したNo.201〜210の表面被覆切削工具を作製した。No.201〜205が本発明の実施例であって基材上に酸化アルミニウム被膜が直接形成されており、No.206〜210は比較例であって基材の直上に酸化アルミニウム被膜以外の被膜等が形成されたものである。なお、上記実施例および比較例の各被膜は、いずれも実施例1と同様の条件により物理蒸着法(ただしNo.208およびNo.209の酸化アルミニウム被膜のみCVD法)により成膜し、またNo.210は実施例1のNo.16と同様に基材を酸化処理した後、酸化アルミニウム被膜を物理蒸着法により形成したものである。
<Example 3>
<Production of surface-coated cutting tool>
As a base material, instead of the base material used in Example 1, a cubic boron nitride sintered body having a cubic boron nitride content of 30 to 95%, the shape as a cutting tip Except for using JIS standard SNGN120408 as the base material, except that No. 1 shown in Table 5 201-210 surface-coated cutting tools were produced. No. Nos. 201 to 205 are examples of the present invention, in which an aluminum oxide film is directly formed on a substrate. Reference numerals 206 to 210 are comparative examples in which a film other than the aluminum oxide film is formed directly on the substrate. In addition, each film of the above Examples and Comparative Examples was formed by physical vapor deposition under the same conditions as Example 1 (however, only No. 208 and No. 209 aluminum oxide films were formed by CVD). . No. 210 in Example 1 In the same manner as in No. 16, the substrate was oxidized, and an aluminum oxide film was formed by physical vapor deposition.
上記表5において、「*」の記号を付したものが比較例であり、被膜の積層構成は実施例1と同様、左のものから順に基材上に積層させたことを示している(表5中において空欄となっているところは、該当する被膜が形成されないことを示している)。 In Table 5 above, the sample with the symbol “*” is a comparative example, and the laminated structure of the coating is the same as in Example 1, indicating that the left layer is laminated on the base material in order (Table). A blank in 5 indicates that the corresponding film is not formed).
そして、これらの表面被覆切削工具について、下記の条件により、耐摩耗性試験を行なった。その結果を以下の表6に示す。耐摩耗性試験では、逃げ面摩耗量が0.15mmとなる時間を測定し、その時間が長いもの程耐摩耗性に優れていることを示している。 These surface-coated cutting tools were subjected to an abrasion resistance test under the following conditions. The results are shown in Table 6 below. In the wear resistance test, the time for the flank wear amount to be 0.15 mm was measured, and the longer the time, the better the wear resistance.
<耐摩耗性試験>
被削材:SCM415
切削速度:400m/min
切込み:0.4mm
送り:0.2mm/rev.
乾式/湿式:乾式
<Abrasion resistance test>
Work material: SCM415
Cutting speed: 400 m / min
Cutting depth: 0.4mm
Feed: 0.2 mm / rev.
Dry / Wet: Dry
上記表6において、「*」の記号を付したものが比較例である。表6から明らかなように、No.201〜No.205の本発明の実施例の表面被覆切削工具は、いずれも優れた耐摩耗性を有するものであった。すなわち、酸化アルミニウム被膜の表面粗度が平滑なためにこれが工具の表面粗度の平滑性に寄与し、以って優れた耐摩耗性を示したものと考えられる。 In Table 6 above, those with the symbol “*” are comparative examples. As can be seen from Table 6, no. 201-No. All of the 205 surface-coated cutting tools according to the present invention had excellent wear resistance. That is, since the surface roughness of the aluminum oxide film is smooth, this contributes to the smoothness of the surface roughness of the tool, and thus it is considered that excellent wear resistance was exhibited.
これに対して、No.206〜No.210の比較例の表面被覆切削工具は、上記実施例のものに比し耐摩耗性が劣っていた。 In contrast, no. 206-No. The surface-coated cutting tool of 210 of the comparative example was inferior in wear resistance as compared with the above-mentioned example.
なお、本実施例では、基材としてチップブレーカを有するものを用いたが、チップブレーカを有していないものや、切削工具の上下面全面が研磨されたような工具(チップ)でも本実施例と同様の効果を得ることができる。 In the present embodiment, a material having a chip breaker is used as a base material. However, the present embodiment is also applicable to a tool (chip) having no chip breaker or a tool (chip) whose upper and lower surfaces are entirely polished. The same effect can be obtained.
以上のように本発明の実施の形態および実施例について説明を行なったが、上述の各実施の形態および実施例の構成を適宜組み合わせることも当初から予定している。 Although the embodiments and examples of the present invention have been described as described above, it is also planned from the beginning to appropriately combine the configurations of the above-described embodiments and examples.
今回開示された実施の形態および実施例はすべての点で例示であって制限的なものではないと考えられるべきである。本発明の範囲は上記した説明ではなくて特許請求の範囲によって示され、特許請求の範囲と均等の意味および範囲内でのすべての変更が含まれることが意図される。 It should be understood that the embodiments and examples disclosed herein are illustrative and non-restrictive in every respect. The scope of the present invention is defined by the terms of the claims, rather than the description above, and is intended to include any modifications within the scope and meaning equivalent to the terms of the claims.
10 成膜装置、11,12 アーク蒸発源、13 アンバランスドマグネトロンスパッタ蒸発源、14 保持具、15 ガス導入口、16 ヒーター、20 基材。
DESCRIPTION OF
Claims (11)
前記被膜は、少なくとも酸化アルミニウム被膜を含み、
前記酸化アルミニウム被膜は、酸化アルミニウムを含む被膜であって前記基材上に直接形成されるものであり、かつその酸化アルミニウムの結晶構造がγ型であるか、またはγ型とα型の混在構造となっていることを特徴とする表面被覆切削工具。 A surface-coated cutting tool comprising a substrate and one or more coatings formed on the substrate,
The coating includes at least an aluminum oxide coating,
The aluminum oxide film is a film containing aluminum oxide and is directly formed on the substrate, and the crystal structure of the aluminum oxide is γ-type or a mixed structure of γ-type and α-type A surface-coated cutting tool characterized in that
表面に酸化処理を施していない基材を準備するステップと、
前記基材上に直接酸化アルミニウム被膜を物理蒸着法により形成するステップと、
を含むことを特徴とする表面被覆切削工具の製造方法。 It is a manufacturing method of the surface covering cutting tool in any one of Claims 1-10,
Preparing a substrate that has not been oxidized on the surface;
Forming an aluminum oxide coating directly on the substrate by physical vapor deposition;
The manufacturing method of the surface coating cutting tool characterized by including.
Priority Applications (1)
| Application Number | Priority Date | Filing Date | Title |
|---|---|---|---|
| JP2006235897A JP2007196364A (en) | 2005-12-28 | 2006-08-31 | Surface-coated cutting tool and manufacturing method thereof |
Applications Claiming Priority (2)
| Application Number | Priority Date | Filing Date | Title |
|---|---|---|---|
| JP2005379653 | 2005-12-28 | ||
| JP2006235897A JP2007196364A (en) | 2005-12-28 | 2006-08-31 | Surface-coated cutting tool and manufacturing method thereof |
Publications (1)
| Publication Number | Publication Date |
|---|---|
| JP2007196364A true JP2007196364A (en) | 2007-08-09 |
Family
ID=38451465
Family Applications (1)
| Application Number | Title | Priority Date | Filing Date |
|---|---|---|---|
| JP2006235897A Pending JP2007196364A (en) | 2005-12-28 | 2006-08-31 | Surface-coated cutting tool and manufacturing method thereof |
Country Status (1)
| Country | Link |
|---|---|
| JP (1) | JP2007196364A (en) |
Cited By (8)
| Publication number | Priority date | Publication date | Assignee | Title |
|---|---|---|---|---|
| JP2007283479A (en) * | 2006-03-24 | 2007-11-01 | Sumitomo Electric Ind Ltd | Surface coated cutting tool |
| JP2010242135A (en) * | 2009-04-02 | 2010-10-28 | Dowa Thermotech Kk | Hard coating member and method for producing the same |
| JP2011127165A (en) * | 2009-12-16 | 2011-06-30 | Sumitomo Electric Ind Ltd | Coating, cutting tool and method for manufacturing coating |
| JP2016120575A (en) * | 2014-12-25 | 2016-07-07 | 三菱マテリアル株式会社 | Surface coated cutting tool with excellent chipping resistance in wet high speed intermittent cutting |
| KR20160083887A (en) * | 2013-11-03 | 2016-07-12 | 오를리콘 서피스 솔루션스 아크티엔게젤샤프트, 페피콘 | Oxidation barrier layer |
| US12246025B2 (en) | 2018-03-21 | 2025-03-11 | Genmab A/S | Methods of treating cancer with a combination of a platinum-based agent and an anti-tissue factor antibody-drug conjugate |
| US12324841B2 (en) | 2018-05-07 | 2025-06-10 | Genmab A/S | Methods of treating cancer with a combination of an anti-PD-1 antibody and an anti-tissue factor antibody-drug conjugate |
| US12453781B2 (en) | 2018-10-30 | 2025-10-28 | Genmab A/S | Methods of treating cancer with a combination of an anti-VEGF antibody and an anti-tissue factor antibody-drug conjugate |
Citations (5)
| Publication number | Priority date | Publication date | Assignee | Title |
|---|---|---|---|---|
| JPH09125229A (en) * | 1995-10-30 | 1997-05-13 | Sumitomo Electric Ind Ltd | Hard coating, hard coating member and method of manufacturing the same |
| JP2002543993A (en) * | 1999-05-06 | 2002-12-24 | サンドビック アクティエボラーグ | Cutting tools coated with PVD- |
| JP2004332004A (en) * | 2003-04-30 | 2004-11-25 | Kobe Steel Ltd | Alumina protective film, and its production method |
| JP2005138208A (en) * | 2003-11-05 | 2005-06-02 | Sumitomo Electric Hardmetal Corp | Surface coated cutting tool and its manufacturing method |
| JP2005262356A (en) * | 2004-03-17 | 2005-09-29 | Sumitomo Electric Hardmetal Corp | Surface-coated cutting tool |
-
2006
- 2006-08-31 JP JP2006235897A patent/JP2007196364A/en active Pending
Patent Citations (5)
| Publication number | Priority date | Publication date | Assignee | Title |
|---|---|---|---|---|
| JPH09125229A (en) * | 1995-10-30 | 1997-05-13 | Sumitomo Electric Ind Ltd | Hard coating, hard coating member and method of manufacturing the same |
| JP2002543993A (en) * | 1999-05-06 | 2002-12-24 | サンドビック アクティエボラーグ | Cutting tools coated with PVD- |
| JP2004332004A (en) * | 2003-04-30 | 2004-11-25 | Kobe Steel Ltd | Alumina protective film, and its production method |
| JP2005138208A (en) * | 2003-11-05 | 2005-06-02 | Sumitomo Electric Hardmetal Corp | Surface coated cutting tool and its manufacturing method |
| JP2005262356A (en) * | 2004-03-17 | 2005-09-29 | Sumitomo Electric Hardmetal Corp | Surface-coated cutting tool |
Cited By (11)
| Publication number | Priority date | Publication date | Assignee | Title |
|---|---|---|---|---|
| JP2007283479A (en) * | 2006-03-24 | 2007-11-01 | Sumitomo Electric Ind Ltd | Surface coated cutting tool |
| JP2010242135A (en) * | 2009-04-02 | 2010-10-28 | Dowa Thermotech Kk | Hard coating member and method for producing the same |
| JP2011127165A (en) * | 2009-12-16 | 2011-06-30 | Sumitomo Electric Ind Ltd | Coating, cutting tool and method for manufacturing coating |
| KR20160083887A (en) * | 2013-11-03 | 2016-07-12 | 오를리콘 서피스 솔루션스 아크티엔게젤샤프트, 페피콘 | Oxidation barrier layer |
| JP2016537515A (en) * | 2013-11-03 | 2016-12-01 | エリコン サーフェス ソリューションズ アーゲー、 プフェフィコン | Oxidation barrier layer |
| US10487391B2 (en) | 2013-11-03 | 2019-11-26 | Oerlikon Surface Solutions Ag, Pfäffikon | Oxidation barrier layer |
| KR102252440B1 (en) | 2013-11-03 | 2021-05-17 | 오를리콘 서피스 솔루션스 아크티엔게젤샤프트, 페피콘 | Oxidation barrier layer |
| JP2016120575A (en) * | 2014-12-25 | 2016-07-07 | 三菱マテリアル株式会社 | Surface coated cutting tool with excellent chipping resistance in wet high speed intermittent cutting |
| US12246025B2 (en) | 2018-03-21 | 2025-03-11 | Genmab A/S | Methods of treating cancer with a combination of a platinum-based agent and an anti-tissue factor antibody-drug conjugate |
| US12324841B2 (en) | 2018-05-07 | 2025-06-10 | Genmab A/S | Methods of treating cancer with a combination of an anti-PD-1 antibody and an anti-tissue factor antibody-drug conjugate |
| US12453781B2 (en) | 2018-10-30 | 2025-10-28 | Genmab A/S | Methods of treating cancer with a combination of an anti-VEGF antibody and an anti-tissue factor antibody-drug conjugate |
Similar Documents
| Publication | Publication Date | Title |
|---|---|---|
| JP5172687B2 (en) | Surface coated cutting tool | |
| JP5297388B2 (en) | Surface coated cutting tool | |
| JP5662680B2 (en) | Surface coated cutting tool | |
| JP5074772B2 (en) | Surface coated cutting tool | |
| JP2009034781A (en) | Surface-coated cutting tool | |
| JP2017221992A (en) | Surface-coated cutting tool | |
| US8685531B2 (en) | Surface-coated cutting tool | |
| JP5417649B2 (en) | Surface coated cutting tool | |
| JP2001293601A (en) | Cutting tool, manufacturing method and manufacturing apparatus | |
| JP7005865B1 (en) | Cutting tools | |
| JP4970886B2 (en) | Surface coated cutting tool | |
| JP4921984B2 (en) | Surface coated cutting tool | |
| JP2006192545A (en) | Surface-coated cutting tool and manufacturing method thereof | |
| JP2007196364A (en) | Surface-coated cutting tool and manufacturing method thereof | |
| JP4917447B2 (en) | Surface coated cutting tool | |
| JP7009718B1 (en) | Cutting tools | |
| JP5417650B2 (en) | Surface coated cutting tool | |
| JP5027491B2 (en) | Surface coated cutting tool | |
| JP2006192543A (en) | Surface-coated cutting tool and manufacturing method thereof | |
| CN114502774A (en) | Coated cutting tool | |
| JP4676780B2 (en) | Hard coating, laminated hard coating and method for producing the same | |
| JP2006192531A (en) | Surface-coated cutting tool and manufacturing method thereof | |
| JP5070621B2 (en) | Surface coated cutting tool | |
| JP2007283478A (en) | Surface coated cutting tool | |
| JP2011020194A (en) | Surface-coated cutting tool |
Legal Events
| Date | Code | Title | Description |
|---|---|---|---|
| A621 | Written request for application examination |
Effective date: 20090424 Free format text: JAPANESE INTERMEDIATE CODE: A621 |
|
| A977 | Report on retrieval |
Effective date: 20111214 Free format text: JAPANESE INTERMEDIATE CODE: A971007 |
|
| A131 | Notification of reasons for refusal |
Free format text: JAPANESE INTERMEDIATE CODE: A131 Effective date: 20111220 |
|
| A521 | Written amendment |
Effective date: 20120119 Free format text: JAPANESE INTERMEDIATE CODE: A523 |
|
| A131 | Notification of reasons for refusal |
Effective date: 20120306 Free format text: JAPANESE INTERMEDIATE CODE: A131 |
|
| A521 | Written amendment |
Effective date: 20120329 Free format text: JAPANESE INTERMEDIATE CODE: A523 |
|
| A02 | Decision of refusal |
Effective date: 20120522 Free format text: JAPANESE INTERMEDIATE CODE: A02 |
