JP2007130274A - Absorbent articles - Google Patents
Absorbent articles Download PDFInfo
- Publication number
- JP2007130274A JP2007130274A JP2005326867A JP2005326867A JP2007130274A JP 2007130274 A JP2007130274 A JP 2007130274A JP 2005326867 A JP2005326867 A JP 2005326867A JP 2005326867 A JP2005326867 A JP 2005326867A JP 2007130274 A JP2007130274 A JP 2007130274A
- Authority
- JP
- Japan
- Prior art keywords
- fixing means
- absorbent article
- back sheet
- less
- area
- Prior art date
- Legal status (The legal status is an assumption and is not a legal conclusion. Google has not performed a legal analysis and makes no representation as to the accuracy of the status listed.)
- Granted
Links
Images
Landscapes
- Absorbent Articles And Supports Therefor (AREA)
Abstract
【課題】着衣の動きに対して追従でき、可撓性に優れ、且つ、ヨレの発生及び維持を抑制できる吸収性物品を提供すること。
【解決手段】パンティーライナー1は、液透過性のトップシートと、液不透過性のバックシート20と、トップシートとバックシート20との間に介在する液吸収保持性の吸収体とを備え、長手方向及び短手方向を有する。バックシート20は、長手方向に沿って延びるように設けられ間隔をあけて配置された複数の固定手段21を有し、この間隔は、固定手段21の各々の幅よりも大きい。固定手段21は、バックシート20の周縁から内側に3.0mm以上5.0mm未満の範囲には少なくとも設けられている。固定手段21が設けられている部位の面積は、バックシート20の面積に対して、20%以上40%以下である。
【選択図】図1An absorbent article that can follow the movement of clothes, has excellent flexibility, and can suppress the occurrence and maintenance of twisting.
A panty liner (1) includes a liquid-permeable top sheet, a liquid-impermeable back sheet (20), and a liquid-absorbing / absorbing absorbent body interposed between the top sheet and the back sheet (20). It has a longitudinal direction and a transverse direction. The back sheet 20 has a plurality of fixing means 21 provided so as to extend along the longitudinal direction and spaced apart from each other, and this interval is larger than the width of each of the fixing means 21. The fixing means 21 is provided at least in the range of 3.0 mm or more and less than 5.0 mm inward from the periphery of the backsheet 20. The area of the portion where the fixing means 21 is provided is 20% or more and 40% or less with respect to the area of the backsheet 20.
[Selection] Figure 1
Description
本発明は、パンティーライナー、生理用ナプキン、おむつ等の吸収性物品に関する。 The present invention relates to absorbent articles such as panty liners, sanitary napkins and diapers.
従来から、パンティーライナー、生理用ナプキン、おむつ等の吸収性物品は、着用者の肌側に配置される液透過性のトップシートと、着用者の着衣側に配置される液不透過性のバックシートと、これらトップシートとバックシートとの間に介在する液吸収保持性の吸収体とを備える。そして、このバックシートには、着衣の動きに対する追従能を向上するために、吸収性物品を着用者の着衣に固定可能な固定手段が設けられている。また、この固定手段は、通常、バックシートの全面に亘って設けられていることが多かった。
しかし、この吸収性物品によれば、バックシートの全面に亘って固定手段を設けたので、バックシートの全面において剛性が上昇するから、可撓性が大きく損なわれる。
Conventionally, absorbent articles such as panty liners, sanitary napkins, diapers, etc. have a liquid-permeable top sheet disposed on the skin side of the wearer and a liquid-impermeable back disposed on the clothes side of the wearer. A sheet and a liquid-absorptive absorbent body interposed between the top sheet and the back sheet. The back sheet is provided with a fixing means capable of fixing the absorbent article to the wearer's clothes in order to improve the ability to follow the movement of the clothes. In addition, this fixing means is usually provided over the entire surface of the back sheet.
However, according to this absorbent article, since the fixing means is provided over the entire surface of the back sheet, the rigidity is increased over the entire surface of the back sheet, so that the flexibility is greatly impaired.
そこで、このような問題を解決するために、以下のような構成が知られている。 In order to solve such a problem, the following configuration is known.
第1番目の吸収性物品は、バックシートの短手方向の両側縁部に、固定手段としての感圧性接着剤層が設けられ、且つ、これら両側縁部に挟まれる短手方向の中央部に、感圧性接着剤層が設けられていない(特許文献1参照)。
この吸収性物品によれば、バックシートに感圧性接着剤層を設けたので、吸収性物品が着衣に固定されるから、着衣の動きに対して追従できる。しかも、感圧性接着剤層を短手方向の中央部には設けなかったので、中央部の剛性が上昇しないから、着用者の股間から負荷される圧力に対して柔軟に変形できる(換言すれば、可撓性に優れる)。
The first absorbent article is provided with pressure-sensitive adhesive layers as fixing means on both side edges in the short direction of the backsheet, and in the center part in the short direction sandwiched between these side edges. The pressure sensitive adhesive layer is not provided (see Patent Document 1).
According to this absorbent article, since the pressure-sensitive adhesive layer is provided on the back sheet, the absorbent article is fixed to the clothing, and therefore can follow the movement of the clothing. In addition, since the pressure-sensitive adhesive layer is not provided in the central portion in the short direction, the rigidity of the central portion does not increase, so that it can be flexibly deformed with respect to the pressure applied from the wearer's crotch (in other words, , Excellent flexibility).
図6は、従来例に係る吸収性物品をバックシート側から見た平面図である。
第2番目の吸収性物品100は、バックシート120に固定手段としての複数のズレ止め帯121を有する。これらズレ止め帯121の各々は、矩形状であり、この長辺が吸収性物品100の短手方向に平行し、且つ、長辺の中心が吸収性物品100の長手方向に延びる中心線上となるように配置されている。また、ズレ止め帯121の各々は、長辺の長さが、吸収性物品100の短手方向の両側縁部102、103から中央部に向けて、順次減少するように設計されている(特許文献2参照)。
この吸収性物品100によれば、吸収性物品100の短手方向の両側縁部から中央部に向けて、長辺の長さが順次減少するようにズレ止め帯121を設計した。このため、吸収性物品100の短手方向の両側縁部には充分な長さのズレ止め帯121が形成され、吸収性物品100が着衣に固定されるから、着衣の動きに対して追従できる。しかも、吸収性物品100の短手方向中央部では、ズレ止め帯121の長さが短く、ズレ止め帯121とバックシート側縁部102、103との間に剛性の小さい非ズレ止め帯部が形成されるから、着用者の股間から負荷される圧力に対して柔軟に変形できる(換言すれば、可撓性に優れる)。
The second
According to this
しかしながら、前述した特許文献1に示される吸収性物品によれば、感圧性接着剤層を短手方向の中央部には設けなかったので、短手方向中央部にヨレが発生するという問題があった。
However, according to the absorbent article disclosed in
図7A〜図7Cは、図6の吸収性物品100の変形時における図6のIII−III線矢視断面図である。
前述した特許文献2に示される吸収性物品100によれば、吸収性物品100の短手方向中央部では、ズレ止め帯121とバックシート側縁部102、103との間に非ズレ止め帯部が形成されるから、非ズレ止め帯部にヨレが発生するという問題があった。
しかも、この吸収性物品100では、各ズレ止め帯121同士の間隔が全く考慮されていない。このため、ズレ止め帯121aが着衣から一旦離脱すると(図7B参照)、離脱したズレ止め帯121aが隣接するズレ止め帯121bに接着され、ヨレが生じた状態で吸収性物品100を固定して、ヨレを維持してしまう場合があった(図7C参照)。
7A to 7C are cross-sectional views taken along line III-III in FIG. 6 when the
According to the
In addition, in the
そこで、本発明は、着衣の動きに対して追従でき、可撓性に優れ、且つ、ヨレの発生及び維持を抑制できる吸収性物品を提供することを目的とする。 Then, an object of this invention is to provide the absorbent article which can follow the movement of clothes, is excellent in flexibility, and can suppress generation | occurrence | production and maintenance of a twist.
本発明は、具体的には、以下のようなものを提供する。 Specifically, the present invention provides the following.
(1) 着用者の肌側に配置される液透過性のトップシートと、着用者の着衣側に配置される液不透過性のバックシートと、これらトップシートとバックシートとの間に介在する液吸収保持性の吸収体とを備える吸収性物品であって、
前記バックシートは、所定距離の間隔をあけて配置された、前記吸収性物品を前記着衣に固定する複数の固定手段を有し、
前記間隔は、前記所定距離を挟む二点を結ぶ直線方向における前記固定手段の寸法よりも大きく、
前記固定手段は、前記バックシートの周縁から内側に3.0mm以上5.0mm未満の範囲には少なくとも設けられており、
前記固定手段が設けられている部位の面積は、前記バックシートの面積に対して、20%以上40%以下であることを特徴とする吸収性物品。
(1) A liquid-permeable top sheet disposed on the skin side of the wearer, a liquid-impermeable back sheet disposed on the wearer's clothing side, and interposed between the top sheet and the back sheet. An absorbent article comprising a liquid absorption retaining absorbent,
The back sheet has a plurality of fixing means that are arranged at predetermined intervals and fix the absorbent article to the clothing,
The interval is larger than the dimension of the fixing means in a linear direction connecting two points sandwiching the predetermined distance,
The fixing means is provided at least in the range of 3.0 mm or more and less than 5.0 mm inward from the periphery of the backsheet,
The area of the site | part in which the said fixing means is provided is 20% or more and 40% or less with respect to the area of the said back seat | sheet, The absorbent article characterized by the above-mentioned.
(1)の発明によれば、バックシートに固定手段を設けたので、吸収性物品が着用者の着衣に固定されるから、着衣の動きに追従できる。
また、固定手段を所定距離の間隔をあけて配置し、この間隔を、所定距離を挟む二点を結ぶ直線方向における固定手段の寸法よりも大きくした。これにより、ヨレが発生しても、折れ曲がったバックシートによって固定手段が包摂されて、固定手段同士の接着が妨げられるから、ヨレの維持を抑制できる。
According to the invention of (1), since the fixing means is provided on the back sheet, the absorbent article is fixed to the wearer's clothes, and therefore the movement of the clothes can be followed.
Further, the fixing means is arranged with a predetermined distance, and this interval is made larger than the dimension of the fixing means in the linear direction connecting two points sandwiching the predetermined distance. Thereby, even if the twist occurs, the fixing means is included by the folded back sheet, and the adhesion between the fixing means is prevented, so that the maintenance of the twist can be suppressed.
バックシートの周縁に固定手段の非設置部位を広く設けると、この非設置部位にヨレが発生しやすくなり、バックシートが着用者の肌側に折れ曲がり、肌に当接される結果、着用者に強い不快感を与える場合がある。(1)の発明によれば、固定手段をバックシートの周縁から内側に3.0mm以上5.0mm未満の範囲には少なくとも設けたので、ヨレの発生を抑制できる。また、結果的に、着用者に与える不快感を予防できる。 If the non-installation part of the fixing means is widely provided at the periphery of the back sheet, the twist is likely to occur in the non-installation part, and the back sheet is bent to the wearer's skin side and comes into contact with the skin. May cause strong discomfort. According to the invention of (1), since the fixing means is provided at least in the range of 3.0 mm or more and less than 5.0 mm inward from the periphery of the backsheet, occurrence of twist can be suppressed. Moreover, the discomfort given to a wearer can be prevented as a result.
固定手段が設けられている部位の面積が、バックシートの面積に対して大きすぎると、吸収性物品の剛性が上昇するから、可撓性が損なわれる。(1)の発明によれば、固定手段が設けられている部位の面積を、バックシートの面積に対して40%以下としたので、吸収性物品の剛性の過度の上昇が抑えられるので、可撓性に優れる。
一方、固定手段が設けられている部位の面積が、バックシートの面積に対して小さすぎると、着衣への固定が充分にはなされないから、着衣の動きに充分には追従できない。(1)の発明によれば、固定手段が設けられている部位の面積を、バックシートの面積に対して20%以上としたので、着衣への固定が充分になされ、着衣の動きに充分に追従できる。
If the area of the portion where the fixing means is provided is too large with respect to the area of the back sheet, the rigidity of the absorbent article is increased, so that flexibility is impaired. According to the invention of (1), since the area of the part where the fixing means is provided is 40% or less with respect to the area of the back sheet, an excessive increase in the rigidity of the absorbent article can be suppressed. Excellent flexibility.
On the other hand, if the area of the portion where the fixing means is provided is too small with respect to the area of the back sheet, the clothes cannot be sufficiently fixed to the clothes, and therefore cannot sufficiently follow the movement of the clothes. According to the invention of (1), since the area of the portion where the fixing means is provided is 20% or more with respect to the area of the back sheet, it is sufficiently fixed to the clothes and is sufficient for movement of the clothes. Can follow.
従って、(1)の発明によれば、着衣の動きに対して追従でき、可撓性に優れ、且つ、ヨレの発生及び維持を抑制できる。 Therefore, according to the invention of (1), it is possible to follow the movement of clothes, it is excellent in flexibility, and generation and maintenance of twisting can be suppressed.
(2) 着用者の肌側に配置される液透過性のトップシートと、着用者の着衣側に配置される液不透過性のバックシートと、これらトップシートとバックシートとの間に介在する液吸収保持性の吸収体とを備え、長手方向及び短手方向を有する吸収性物品であって、
前記バックシートは、前記長手方向又は前記短手方向に沿って延びるように設けられ間隔をあけて配置された、前記吸収性物品を前記着衣に固定する複数の固定手段を有し、
前記間隔は、前記固定手段の各々の幅よりも大きく、
前記固定手段は、前記バックシートの周縁から内側に3.0mm以上5.0mm未満の範囲には少なくとも設けられており、
前記固定手段が設けられている部位の面積は、前記バックシートの面積に対して、20%以上40%以下であることを特徴とする吸収性物品。
(2) A liquid-permeable top sheet disposed on the skin side of the wearer, a liquid-impermeable back sheet disposed on the wearer's clothing side, and interposed between the top sheet and the back sheet. An absorbent article having a liquid absorption retention property, and having a longitudinal direction and a short direction,
The backsheet has a plurality of fixing means for fixing the absorbent article to the clothing, which is provided so as to extend along the longitudinal direction or the short-side direction and is arranged at intervals.
The spacing is greater than the width of each of the fixing means;
The fixing means is provided at least in the range of 3.0 mm or more and less than 5.0 mm inward from the periphery of the backsheet,
The area of the site | part in which the said fixing means is provided is 20% or more and 40% or less with respect to the area of the said back seat | sheet, The absorbent article characterized by the above-mentioned.
(2)の発明によれば、バックシートに固定手段を設けたので、吸収性物品が着用者の着衣に固定されるから、着衣の動きに追従できる。
また、固定手段を、吸収性物品の長手方向又は短手方向に沿って延びるように設け、間隔をあけて配置し、この間隔を、固定手段の各々の幅よりも大きくした。これにより、ヨレが発生しても、折れ曲がったバックシートによって固定手段が包摂されて、固定手段同士の接着が妨げられるから、ヨレの維持を抑制できる。
According to the invention of (2), since the fixing means is provided on the back sheet, the absorbent article is fixed to the wearer's clothes, so that the movement of the clothes can be followed.
Moreover, the fixing means was provided so as to extend along the longitudinal direction or the short side direction of the absorbent article, and the fixing means was arranged at intervals, and this interval was made larger than the width of each of the fixing means. Thereby, even if the twist occurs, the fixing means is included by the folded back sheet, and the adhesion between the fixing means is prevented, so that the maintenance of the twist can be suppressed.
なお、固定手段を長手方向に延びるように設ければ、特に、吸収性物品の短手方向に動きによるヨレの維持を抑制できる。一方、短手方向に延びるように設ければ、特に、吸収性物品の長手方向に動きによるヨレの維持を抑制できる。
また、固定手段同士の間隔を略一定とすれば、後述する剛性の高低の偏りを抑えられる点で好ましい。
In addition, if a fixing means is provided so that it may extend in a longitudinal direction, especially maintenance of the twist by movement to the transversal direction of an absorbent article can be suppressed. On the other hand, if it is provided so as to extend in the short direction, it is possible to suppress the maintenance of the twist due to the movement in the longitudinal direction of the absorbent article.
Further, if the interval between the fixing means is made substantially constant, it is preferable in that a bias of rigidity described later can be suppressed.
バックシートの周縁に固定手段の非設置部位を広く設けると、この非設置部位にヨレが発生しやすくなり、バックシートが着用者の肌側に折れ曲がり、肌に当接される結果、着用者に強い不快感を与える場合がある。(2)の発明によれば、固定手段をバックシートの周縁から内側に3.0mm以上5.0mm未満の範囲には少なくとも設けたので、ヨレの発生を抑制できる。また、結果的に、着用者に与える不快感を予防できる。 If the non-installation part of the fixing means is widely provided at the periphery of the back sheet, the twist is likely to occur in the non-installation part, and the back sheet is bent to the wearer's skin side and comes into contact with the skin. May cause strong discomfort. According to the invention of (2), since the fixing means is provided at least in the range of 3.0 mm or more and less than 5.0 mm inward from the periphery of the back sheet, occurrence of twist can be suppressed. As a result, discomfort given to the wearer can be prevented.
固定手段が設けられている部位の面積が、バックシートの面積に対して大きすぎると、吸収性物品の剛性が上昇するから、可撓性が損なわれる。(2)の発明によれば、固定手段が設けられている部位の面積を、バックシートの面積に対して40%以下としたので、吸収性物品の剛性の過度の上昇が抑えられるので、可撓性に優れる。
一方、固定手段が設けられている部位の面積が、バックシートの面積に対して小さすぎると、着衣への固定が充分にはなされないから、着衣の動きに充分には追従できない。(1)の発明によれば、固定手段が設けられている部位の面積を、バックシートの面積に対して20%以上としたので、着衣への固定が充分になされ、着衣の動きに充分に追従できる。
If the area of the portion where the fixing means is provided is too large with respect to the area of the back sheet, the rigidity of the absorbent article is increased, so that flexibility is impaired. According to the invention of (2), since the area of the part where the fixing means is provided is 40% or less with respect to the area of the back sheet, an excessive increase in the rigidity of the absorbent article can be suppressed. Excellent flexibility.
On the other hand, if the area of the portion where the fixing means is provided is too small with respect to the area of the back sheet, the clothes cannot be sufficiently fixed to the clothes, and therefore cannot sufficiently follow the movement of the clothes. According to the invention of (1), since the area of the portion where the fixing means is provided is 20% or more with respect to the area of the back sheet, it is sufficiently fixed to the clothes and is sufficient for movement of the clothes. Can follow.
従って、(2)の発明によれば、着衣の動きに対して追従でき、可撓性に優れ、且つ、ヨレの発生及び維持を抑制できる。 Therefore, according to the invention of (2), it is possible to follow the movement of clothes, it is excellent in flexibility, and generation and maintenance of twisting can be suppressed.
(3) 前記固定手段は、前記バックシートの周縁から内側に3.0mm未満の範囲を除いて設けられている(1)又は(2)記載の吸収性物品。 (3) The absorptive article according to (1) or (2), wherein the fixing means is provided outside a range of less than 3.0 mm from the periphery of the backsheet.
バックシートの周縁端にまで固定手段を設けようとすると、製造過程において固定手段がバックシートからはみ出して形成される場合がある。(3)の発明によれば、バックシートの周縁から内側に3.0mm未満の範囲には固定手段を設けなかったので、製造過程における固定手段のはみ出しを防止できる。 If the fixing means is provided up to the peripheral edge of the backsheet, the fixing means may be formed so as to protrude from the backsheet during the manufacturing process. According to the invention of (3), since the fixing means is not provided in the range of less than 3.0 mm inward from the periphery of the back sheet, it is possible to prevent the fixing means from protruding in the manufacturing process.
(4) 前記固定手段の各々の幅は、1.0mm以上3.0mm以下である(1)から(3)いずれか記載の吸収性物品。 (4) The width | variety of each of the said fixing means is an absorbent article in any one of (1) to (3) which is 1.0 mm or more and 3.0 mm or less.
固定手段の各々の幅が大きすぎると、固定手段が着衣から離脱したとき、離脱した1つの固定手段内で接着が起こり、ヨレが生じた状態で吸収性物品を固定して、ヨレを維持してしまう場合がある。(4)の発明によれば、固定手段の各々の幅を3.0mm以下としたので、固定手段が着衣から離脱しても、離脱した固定手段内での接着が起こりにくいから、ヨレの維持を抑制できる。
一方、固定手段の各々の幅が小さすぎると、固定手段の設置が技術的に困難となる場合がある。(4)の発明によれば、固定手段の各々の幅を1.0mm以上としたので、容易に固定手段を設置できる。
If the width of each of the fixing means is too large, when the fixing means is detached from the clothes, adhesion occurs in one detached fixing means, and the absorbent article is fixed in a state in which the twist occurs, and the twist is maintained. May end up. According to the invention of (4), since the width of each of the fixing means is 3.0 mm or less, even if the fixing means is detached from the clothes, adhesion within the detached fixing means is unlikely to occur, so that the twist is maintained. Can be suppressed.
On the other hand, if the width of each fixing means is too small, installation of the fixing means may be technically difficult. According to the invention of (4), since the width of each fixing means is 1.0 mm or more, the fixing means can be easily installed.
(5) 前記短手方向又は前記長手方向におけるガーレー試験機による剛軟度が、3N/25mm以下である(1)から(4)いずれか記載の吸収性物品。 (5) The absorbent article according to any one of (1) to (4), wherein the bending resistance by the Gurley tester in the short side direction or the long side direction is 3 N / 25 mm or less.
バックシートに固定手段を備える従来の吸収性物品では、剛軟度が大きく、優れた可撓性を有していなかった。(5)の発明によれば、剛軟度が3N/25mm以下であるので、剛性が大きすぎるということはなく、可撓性に優れる。
なお、剛軟度の下限は特に限定されないが、通常、0.01mN/25mm程度であると考えられる。
A conventional absorbent article having a fixing means on the back sheet has a high bending resistance and does not have excellent flexibility. According to the invention of (5), since the bending resistance is 3 N / 25 mm or less, the rigidity is not too high and the flexibility is excellent.
The lower limit of the bending resistance is not particularly limited, but is usually considered to be about 0.01 mN / 25 mm.
(6) 前記固定手段は、粘着材層、粘着テープ、面ファスナーからなる群より選ばれる少なくとも一種である(1)から(5)いずれか記載の吸収性物品。 (6) The absorbent article according to any one of (1) to (5), wherein the fixing means is at least one selected from the group consisting of an adhesive layer, an adhesive tape, and a hook-and-loop fastener.
(6)の発明によれば、固定手段は、粘着材層、粘着テープ、面ファスナーからなる群より選ばれる少なくとも一種である。これら粘着材層、粘着テープ、面ファスナーといった簡易な手段を適宜組み合わせて使用することで、多様な用途や目的に適した吸収性物品を簡易に作製できる。 According to the invention of (6), the fixing means is at least one selected from the group consisting of an adhesive layer, an adhesive tape, and a hook-and-loop fastener. Absorbent articles suitable for various uses and purposes can be easily produced by using a combination of simple means such as an adhesive material layer, an adhesive tape, and a hook-and-loop fastener as appropriate.
本発明によれば、以下のような効果が得られる。
バックシートに固定手段を設けたので、吸収性物品が着用者の着衣に固定されるから、着衣の動きに追従できる。また、間隔をあけて固定手段を配置し、この間隔を固定手段の所定の寸法又は幅よりも大きくした。これにより、ヨレが発生しても、折れ曲がったバックシートによって固定手段が包摂されて、固定手段同士の接着が妨げられるから、ヨレの維持を抑制できる。
固定手段をバックシートの周縁から内側に3.0mm以上5.0mm未満の範囲には少なくとも設けたので、ヨレの発生を抑制できる。また、結果的に、着用者に与える不快感を予防できる。
固定手段が設けられている部位の面積を、バックシートの面積に対して40%以下としたので、吸収性物品の剛性の過度の上昇が抑えられるので、可撓性に優れる。一方、固定手段が設けられている部位の面積を、バックシートの面積に対して20%以上としたので、着衣への固定が充分になされ、着衣の動きに充分に追従できる。
従って、本発明によれば、着衣の動きに対して追従でき、可撓性に優れ、且つ、ヨレの発生及び維持を抑制できる。
According to the present invention, the following effects can be obtained.
Since the fixing means is provided on the back sheet, the absorbent article is fixed to the wearer's clothes, so that the movement of the clothes can be followed. In addition, fixing means are arranged at intervals, and this interval is made larger than a predetermined dimension or width of the fixing means. Thereby, even if the twist occurs, the fixing means is included by the folded back sheet, and the adhesion between the fixing means is prevented, so that the maintenance of the twist can be suppressed.
Since the fixing means is provided at least in the range of 3.0 mm or more and less than 5.0 mm on the inner side from the periphery of the back sheet, occurrence of twist can be suppressed. As a result, discomfort given to the wearer can be prevented.
Since the area of the part where the fixing means is provided is 40% or less with respect to the area of the back sheet, an excessive increase in the rigidity of the absorbent article can be suppressed, so that the flexibility is excellent. On the other hand, since the area of the portion where the fixing means is provided is 20% or more with respect to the area of the back sheet, the fixing to the clothes is sufficiently performed and the movement of the clothes can be sufficiently followed.
Therefore, according to the present invention, it is possible to follow the movement of the clothes, the flexibility is excellent, and the occurrence and maintenance of twisting can be suppressed.
以下、本発明の実施形態について、図面を参照しながら説明する。なお、第1実施形態以外の各実施形態の説明において、第1実施形態と共通するものについては、同一符号を付し、その説明を省略若しくは簡略化する。 Hereinafter, embodiments of the present invention will be described with reference to the drawings. In the description of each embodiment other than the first embodiment, the same reference numerals are given to those common to the first embodiment, and the description thereof is omitted or simplified.
<第1実施形態>
[製造装置の全体構成]
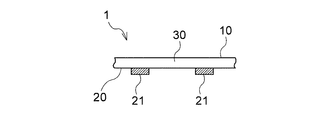
図1は、本発明の第1実施形態のパンティーライナー1をバックシート20側から見た平面図である。図2は、図1における固定手段21の配置を示す一部拡大図である。図3A〜図3Dは、パンティーライナー1の変形時における図1のII−II線矢視断面図である。
<First Embodiment>
[Overall configuration of manufacturing equipment]
FIG. 1 is a plan view of the
以下においては、パンティーライナー1を構成する各要素の2つの表面のうち、着用者の身体に向く表面を「肌側表面」と呼び、反対側の表面を「着衣側表面」と呼ぶ。
Hereinafter, of the two surfaces of each element constituting the
吸収性物品としてのパンティーライナー1は、液透過性のトップシート10と、液不透過性のバックシート20と、これらトップシート10とバックシート20との間に介在する液吸収保持性の吸収体30とを備える。
The
使用中におけるパンティーライナー1の分解を防ぐため、パンティーライナー1の周縁から延出する部分において、トップシート10及び吸収体30は、パンティーライナー1の周縁に設けられた図示しない接合部を介して、接合されている。この接合部は、熱シール、超音波シール等の公知の手段により形成されている。
In order to prevent the
また、バックシート20は、接着剤(例えば、熱融着接着剤)、粘着テープ、熱エンボス、超音波エンボス等の手段によって、吸収体30と全体的あるいは部分的に接合されている。
Further, the
そして、バックシート20の着衣側表面には、パンティーライナー1を下着に固定する複数の固定手段21が設けられている。これら固定手段21は、パンティーライナー1の長手方向に沿って延びるように設けられ間隔をあけて配置されている。また、この間隔は略一定(図2中、dで示す)である。
A plurality of fixing means 21 for fixing the
〔形状、寸法等〕
パンティーライナー1を構成するトップシート10及びバックシート20は、曲線形状の前縁部2と、同様に曲線形状の後縁部3と、を有す略矩形状である。例えば、長さ寸法は中央部の最長部位で140mm、長手方向両側縁部の最短部位で120mmであり、幅寸法は中央部の最短部位で44.0mm、短手方向両側縁部付近の最長部位で54.5mmである。
[Shape, dimensions, etc.]
The
吸収体30は、上述したトップシート10及びバックシート20と略同じ寸法で、パンティーライナー1の略中央部に設けられている。
The
固定手段21は、長辺(長手方向)寸法が115mm以上120mm以下(例えば、120mm)、短辺(短手方向)寸法(図2中、eで示す)が1.0mm以上3.0mm以下(例えば、2.0mm)であり、この固定手段21の9本が、長手方向中心線を対称軸として、バックシート20の短手方向に2.0mm以上7.0mm以下(例えば、2.5mm)の略一定の間隔dをもって設けられている。この結果、間隔dは、固定手段21の短手方向の幅eよりも大きい。
なお、本実施形態においては、9本の固定手段21が設けられているが、特に限定されず、通常、3本以上であればよい。
The fixing means 21 has a long side (longitudinal direction) dimension of 115 mm or more and 120 mm or less (for example, 120 mm), and a short side (short direction) dimension (indicated by e in FIG. 2) of 1.0 mm or more and 3.0 mm or less ( Nine of the fixing means 21 are 2.0 mm or more and 7.0 mm or less (for example, 2.5 mm) in the lateral direction of the
In the present embodiment, nine fixing means 21 are provided, but are not particularly limited, and usually three or more.
固定手段21は、この短辺と、バックシート20の前縁部2、後縁部3との間隔が、各々3.0mm以上5.0mm以下となるように配置されている。一方、バックシート20の長手方向両側縁側に配置された固定手段21は、この長辺と、バックシート20の右縁部4、左縁部5との間隔が、各々3.0mm以上5.0mm以下となるように配置されている。
即ち、固定手段21は、バックシート20の周縁からの距離が少なくとも3.0mmの範囲には設けられておらず、且つ、バックシート20の周縁から内側に3.0mm以上5.0mm未満の範囲には少なくとも設けられている。
The fixing means 21 is disposed such that the distance between the short side and the
That is, the fixing means 21 is not provided in a range in which the distance from the periphery of the
そして、固定手段21が設けられている部位の総面積は、バックシート20の面積に対して、20%以上40%以下(例えば、34%)である。
And the total area of the site | part in which the fixing means 21 is provided is 20% or more and 40% or less (for example, 34%) with respect to the area of the back seat |
〔トップシート〕
トップシート10は、液透過性であり、一般的に液親水性である。また、着用者の肌に当接するので、柔軟性に富み、風合いのよい素材が好ましく用いられる。具体的には、化学繊維、合成繊維、天然繊維等の素材がスルーエア法、スパンレース法、スパンボンド法、サーマルボンド法、メルトブロン法、ニードルパンチ法の適宜の方法によって加工された不織布、ポリプロピレン等の合成樹脂からなる液透過性のフィルムを、トップシート10として使用できる。また、感触及び嵩高性を向上させる点から、トップシート10は、これらの不織布等が複数枚重ねられて構成されていることが好ましい。トップシート10の嵩高化は、熱処理を施す又は坪量を増加させることにより行うことができる。
[Top sheet]
The
トップシート10は、例えば、芯部がポリエチレンテレフタレート(PET)樹脂で鞘部がポリエチレン(PE)樹脂の芯鞘型複合合成繊維(繊維径2.2dtex、繊維長45mm)からなる第1層と、芯部がポリエチレンテレフタレート(PET)樹脂で鞘部がポリエチレン(PE)樹脂の芯鞘型複合合成繊維(繊維径2.2dtex、繊維長45mm)及びポリエチレン(PE)樹脂で鞘部がポリプロピレン(PP)樹脂の芯鞘型複合合成繊維(繊維径2.2dtex、繊維長45mm)からなる第2層と、が積層されてなる。この積層された構造は、第1層及び第2層をカードにて解繊し、ウェブした状態で重ね、熱風処理を施すことにより形成できる。
そして、トップシート10の坪量は、第1層が7g/m2以上93g/m2以下(例えば、20g/m2)であり、第2層が7g/m2以上93g/m2以下(例えば、15g/m2)であり、全体として14g/m2以上100g/m2以下(例えば、35g/m2)である。
The
The basis weight of the
なお、トップシート10は、上述したような2層構造に限らず、単層構造、3層以上の構造であってもよいが、いずれの場合も、1枚の不織布で使用される。
The
〔バックシート〕
バックシート20は、一般的に、非通気性又は通気液不透過性である。具体的には、ポリプロピレン、ポリエチレン、セロファン等を単独で若しくは複合して得られるプラスチックフィルム、樹脂フィルムが貼り合わされた不織布、プラスチックフィルムに不織布が積層されたラミネート材、ポリプロピレンを主原料としたSMS(スパンボンド、メルトブロン、スパンボンド)不織布、SMS/MB(メルトブロン)/SMS不織布等の高耐水性の不織布等で構成できる。このうち、ポリプロピレンを主原料としたSMS/MB/SMS不織布は、非常に高い透湿性を有して体液の滲みを抑制できる点、使用時における熱や湿気の滞留によるムレ感を抑制できる点で好ましい。
[Back sheet]
The
バックシート20は、例えば、ポリエチレンからなる非通気性プラスチックフィルムであり、その坪量が15g/m2以上60g/m2以下(例えば、23g/m2)である。
The
(固定手段)
固定手段21としては、下着に対して固定できるものであれば特に限定されず、例えば、粘着材層、粘着テープ、面ファスナーが挙げられる。このうち、ホットメルト粘着材により形成される粘着材層は、塗工が容易であり配置を任意に行うことができる点で、好ましい。ホットメルト粘着剤は、ABA型又はABブロック共重合体(Aは熱可塑性ブロック、Bはラバーブロック)を主体とするゴム系感圧性接着剤であればよく、具体的には、スチレン−イソプレン−スチレン共重合体、スチレン−ブタジエン−スチレン共重合体、スチレン−エチレン−ブタジエン−スチレン共重合体、スチレン−ブタジエン共重合体が挙げられる。
(Fixing means)
The fixing means 21 is not particularly limited as long as it can be fixed to the underwear, and examples thereof include an adhesive material layer, an adhesive tape, and a hook-and-loop fastener. Among these, the adhesive layer formed of the hot melt adhesive is preferable in that it can be easily applied and can be arranged arbitrarily. The hot-melt pressure-sensitive adhesive may be a rubber-based pressure-sensitive adhesive mainly composed of ABA type or AB block copolymer (A is a thermoplastic block, B is a rubber block). Specifically, styrene-isoprene- Examples include styrene copolymers, styrene-butadiene-styrene copolymers, styrene-ethylene-butadiene-styrene copolymers, and styrene-butadiene copolymers.
例えば、固定手段21は、スチレン−イソプレン−スチレン共重合体、スチレン−ブタジエン−スチレン共重合体、スチレン−エチレン−ブタジエン−スチレン共重合体、スチレン−ブタジエン共重合体からなる群より選ばれる1種類以上を、塗工領域に応じて組み合せて使用してよく、塗布量は、10〜100g/m2でよい。 For example, the fixing means 21 is one kind selected from the group consisting of a styrene-isoprene-styrene copolymer, a styrene-butadiene-styrene copolymer, a styrene-ethylene-butadiene-styrene copolymer, and a styrene-butadiene copolymer. The above may be used in combination according to the coating region, and the coating amount may be 10 to 100 g / m 2 .
[吸収体]
吸収体30は、一般的に、液吸収性、液保持性に優れていることが好ましい。吸収体30は、粉砕パルプを液透過性の紙やセルロースシートで包んだもの、高吸収性ポリマーを混合したもの等で構成できる。具体的には、化学繊維、合成繊維、天然繊維等がスパンレース法、スパンボンド法、ニードルパンチ法等の適宜の方法によって加工された不織布、ポリエチレン等の合成樹脂からなるフィルムが挙げられる。また、吸収体30は、これらの不織布等が複数枚重ねられた構成でもよい。
[Absorber]
In general, the
また、吸収体30は、体液の吸収性及び保持性を向上させる点で、セルロース系繊維を50%以上含むことが好ましい。このセルロース系繊維としては、コットン繊維、レーヨン繊維、パルプ繊維等が挙げられる。
Moreover, it is preferable that the
吸収体30は、例えば、レーヨン繊維及びポリエチレンテレフタレート繊維を、レーヨン:ポリエチレンテレフタレート=9:1の比率で混合し、スパンレース法により作製した不織布であり、その坪量が18g/m2以上50g/m2以下(例えば、25g/m2)である。
The
[剛軟度]
パンティーライナー1の剛軟度は、「JIS−L1096」に基づくガーレー剛軟度試験に準拠して測定される。剛軟度測定に使用する機器は、特に限定されないが、例えば、ガーレー式柔軟度試験機(安田精機製作所社製)が挙げられる。
このように測定されるパンティーライナー1の短手方向における剛軟度は、3N/25mm以下(例えば、0.35mN/25mm)である。
[Bending softness]
The bending resistance of the
The bending resistance in the short direction of the
本実施形態によれば、以下のような作用効果が得られる。
(A)バックシート20に固定手段21を設けたので、パンティーライナー1が着用者の着衣に固定されるから、着衣の動きに追従できる。
また、固定手段21を、パンティーライナー1の長手方向に沿って延びるように設け、間隔をあけて配置し、この間隔を、固定手段21の各々の幅よりも大きくした。これにより、ヨレが発生しても(図3B参照)、折れ曲がったバックシート20によって固定手段21が包摂されて(図3C参照)、固定手段21同士の接着が妨げられるから、ヨレの維持を抑制できる(図3D参照)。また、特に、パンティーライナー1の短手方向の動きによるヨレの維持を抑制できる。固定手段21同士の間隔を略一定としたので、剛性の高低の偏りを抑えられる。
固定手段21をバックシート20の周縁から内側に3.0mm以上5.0mm未満の範囲には少なくとも設けたので、ヨレの発生を抑制できる。また、結果的に、着用者に与える不快感を予防できる。
固定手段21が設けられている部位の面積を、バックシート20の面積に対して40%以下としたので、パンティーライナー1の剛性の過度の上昇が抑えられるので、可撓性に優れる。一方、固定手段21が設けられている部位の面積を、バックシート20の面積に対して20%以上としたので、着衣への固定が充分になされ、着衣の動きに充分に追従できる。
従って、パンティーライナー1は、着衣の動きに対して追従でき、可撓性に優れ、且つ、ヨレの発生及び維持を抑制できる。
According to this embodiment, the following effects can be obtained.
(A) Since the fixing means 21 is provided on the
Further, the fixing means 21 is provided so as to extend along the longitudinal direction of the
Since the fixing means 21 is provided at least in the range of 3.0 mm or more and less than 5.0 mm inward from the periphery of the
Since the area of the portion where the fixing means 21 is provided is 40% or less with respect to the area of the
Therefore, the
(B)バックシート20の周縁から内側に3.0mm未満の範囲には固定手段21を設けなかったので、製造過程における固定手段21のはみ出しを防止できる。
(B) Since the fixing means 21 is not provided in the range of less than 3.0 mm inward from the periphery of the
(C)固定手段21の各々の幅を3.0mm以下としたので、固定手段21が着衣から離脱しても、離脱した固定手段21内での接着が起こりにくいから、ヨレの維持を抑制できる。一方、固定手段21の各々の幅を1.0mm以上としたので、容易に固定手段を設置できる。 (C) Since the width of each of the fixing means 21 is set to 3.0 mm or less, even if the fixing means 21 is detached from the clothes, adhesion in the detached fixing means 21 hardly occurs, so that the maintenance of the twist can be suppressed. . On the other hand, since the width of each fixing means 21 is 1.0 mm or more, the fixing means can be easily installed.
(D)剛軟度が3N/25mm以下であるので、剛性が大きすぎるということはなく、可撓性に優れる。 (D) Since the bending resistance is 3 N / 25 mm or less, the rigidity is not too high and the flexibility is excellent.
<第2実施形態>
図4は、本発明の第2実施形態に係るパンティーライナー1Aをバックシート20A側から見た平面図である。図5は、図4における固定手段21Aの配置を示す一部拡大図である。
Second Embodiment
FIG. 4 is a plan view of the
本実施形態では、バックシート20Aの構造が第1実施形態と異なる。
即ち、バックシート20Aは、パンティーライナー1Aの短手方向に沿って延びるように設けられ間隔をあけて配置された、複数の固定手段21Aを有する。
In the present embodiment, the structure of the
That is, the
固定手段21Aは、長辺(長手方向)寸法が36mm以上40mm以下(例えば、40mm)、短辺(短手方向)寸法(図5中、gで示す)が1.0mm以上5.0mm以下(例えば、2.0mm)である固定手段21Aの24本が、バックシート20Aの長手方向に1.0mm以上16.0mm以下(例えば、2.5mm)の略一定の間隔fをもって設けられている。この結果、間隔fは、固定手段21Aの短手方向の幅gよりも大きい。
なお、本実施形態における、固定手段21Aの数は特に限定されないが、通常、3本以上である。
The fixing means 21A has a long side (longitudinal direction) dimension of 36 mm or more and 40 mm or less (for example, 40 mm), and a short side (short direction) dimension (indicated by g in FIG. 5) of 1.0 mm or more and 5.0 mm or less ( For example, 24 fixing means 21A (2.0 mm) are provided in the longitudinal direction of the
The number of fixing means 21A in the present embodiment is not particularly limited, but is usually 3 or more.
固定手段21Aは、この短辺と、バックシート20Aの右縁部4A、左縁部5Aとの間隔が、各々3.0mm以上5.0mm以下となるように配置されている。一方、バックシート20の長手方向両側縁側に配置された固定手段21Aは、この長辺と、バックシート20Aの前縁部2A、後縁部3Aとの間隔が、各々3.0mm以上5.0mm以下となるように配置されている。
即ち、固定手段21Aは、バックシート20Aの周縁から内側に3.0mm未満の範囲には設けられておらず、且つ、バックシート20Aの周縁から内側に3.0mm以上5.0mm未満の範囲には少なくとも設けられている。
The fixing means 21A is arranged such that the distance between the short side and the
That is, the fixing means 21A is not provided in the range of less than 3.0 mm inward from the periphery of the backsheet 20A, and is in the range of not less than 3.0 mm and less than 5.0 mm inward from the periphery of the
そして、固定手段21Aが設けられている部位の総面積は、バックシート20Aの面積に対して、20%以上40%以下(例えば、30%)である。 And the total area of the site | part in which the fixing means 21A is provided is 20% or more and 40% or less (for example, 30%) with respect to the area of 20 A of back seat | sheets.
また、パンティーライナー1Aの長手方向における剛軟度は、3N/25mm以下(例えば、0.35mN/25mm)である。
Further, the bending resistance in the longitudinal direction of the
本実施形態によれば、前述した(B)〜(D)に加えて、次の作用効果が得られる。
(A’)バックシート20Aに固定手段21Aを設けたので、パンティーライナー1Aが着用者の着衣に固定されるから、着衣の動きに追従できる。
また、固定手段21Aを、パンティーライナー1Aの短手方向に沿って延びるように設け、間隔をあけて配置し、この間隔を、固定手段21Aの各々の幅よりも大きくした。これにより、ヨレが発生しても、折れ曲がったバックシート20Aによって固定手段21Aが包摂されて、固定手段21A同士の接着が妨げられるから、ヨレの維持を抑制できる。また、特に、パンティーライナー1Aの長手方向の動きによるヨレの維持を抑制できる。固定手段21A同士の間隔を略一定としたので、剛性の高低の偏りを抑えられる。
固定手段21Aをバックシート20Aの周縁から内側に3.0mm以上5.0mm未満の範囲には少なくとも設けたので、ヨレの発生を抑制できる。また、結果的に、着用者に与える不快感を予防できる。
固定手段21Aが設けられている部位の面積を、バックシート20Aの面積に対して40%以下としたので、パンティーライナー1Aの剛性の過度の上昇が抑えられるので、可撓性に優れる。一方、固定手段21Aが設けられている部位の面積を、バックシート20Aの面積に対して20%以上としたので、着衣への固定が充分になされ、着衣の動きに充分に追従できる。
従って、パンティーライナー1Aは、着衣の動きに対して追従でき、可撓性に優れ、且つ、ヨレの発生及び維持を抑制できる。
According to this embodiment, in addition to the above-described (B) to (D), the following operational effects are obtained.
(A ′) Since the fixing means 21A is provided on the
Further, the fixing means 21A is provided so as to extend along the short direction of the
Since the fixing means 21A is provided at least in the range of 3.0 mm or more and less than 5.0 mm inward from the periphery of the
Since the area of the portion where the fixing means 21A is provided is 40% or less with respect to the area of the
Accordingly, the
<実施例>
[トップシート]
芯部がポリエチレンテレフタレート(PET)樹脂で鞘部がポリエチレン(PE)樹脂の芯鞘型複合合成繊維(繊維径2.2dtex、繊維長45mm)からなる第1層と、芯部がポリエチレンテレフタレート(PET)樹脂で鞘部がポリエチレン(PE)樹脂の芯鞘型複合合成繊維(繊維径2.2dtex、繊維長45mm)及びポリエチレン(PE)樹脂で鞘部がポリプロピレン(PP)樹脂の芯鞘型複合合成繊維(繊維径2.2dtex、繊維長45mm)からなる第2層と、をカードにて解繊し、ウェブした状態で重ね、熱風処理を施すことで、複層構造を形成した。
そして、トップシートの坪量は、第1層が20g/m2であり、第2層が15g/m2であり、全体として35g/m2であった。
<Example>
[Top sheet]
A first layer made of a core-sheath type composite synthetic fiber (fiber diameter 2.2 dtex, fiber length 45 mm) having a core part of polyethylene terephthalate (PET) resin and a sheath part of polyethylene (PE) resin, and a core part of polyethylene terephthalate (PET) ) Core-sheath type composite synthetic fiber (fiber diameter 2.2 dtex, fiber length 45 mm) and sheath (polyethylene (PE) resin), and sheath (polypropylene (PP) resin). A second layer made of fibers (fiber diameter 2.2 dtex, fiber length 45 mm) was defibrated with a card, overlapped in a web state, and subjected to hot air treatment to form a multilayer structure.
The basis weight of the top sheet was 20 g / m 2 for the first layer, 15 g / m 2 for the second layer, and 35 g / m 2 as a whole.
[バックシート]
ポリエチレンからなる非通気性プラスチックフィルムであり、その坪量が23g/m2であるフィルムを、バックシートとして適用した。
[Back sheet]
A non-breathable plastic film made of polyethylene and having a basis weight of 23 g / m 2 was applied as a back sheet.
〔固定手段〕
スチレン−エチレン−ブタジエン−スチレン共重合体を主成分とするゴム系感圧性接着剤を、塗布量が35g/m2となるようにバックシートに塗布し、複数の固定手段を形成した。
[Fixing means]
A rubber-based pressure-sensitive adhesive mainly composed of styrene-ethylene-butadiene-styrene copolymer was applied to the back sheet so that the coating amount was 35 g / m 2 , thereby forming a plurality of fixing means.
固定手段の各々を、パンティーライナーの長手方向に延びるように配置した。また、この固定手段の各々を矩形状に形成し、この長辺寸法を120mm、短辺寸法を2.0mmとした。そして、9本の固定手段を、互いに、パンティーライナーの短手方向に2.5mmの間隔をもって設けた。 Each of the fixing means was disposed so as to extend in the longitudinal direction of the panty liner. Further, each of the fixing means was formed in a rectangular shape, the long side dimension was 120 mm, and the short side dimension was 2.0 mm. Nine fixing means were provided with a spacing of 2.5 mm in the short direction of the panty liner.
固定手段は、この短辺と、バックシートの前縁部、後縁部との間隔が、最短の部位(長手方向側縁側に配置された固定手段)で3.0mm、最長の部位(長手方向中心線近傍に配置された固定手段)で5.0mm以下となるように配置した。一方、バックシートの長手方向両側縁側に配置された固定手段は、この長辺と、バックシートの右縁部、左縁部との間隔が、最短の部位(短手方向中心線近傍に配置された固定手段)で3.0mm、最長の部位で5.0mm(短手方向側縁側に配置された固定手段)となるように配置した。 As for the fixing means, the distance between this short side and the front edge portion and the rear edge portion of the back sheet is 3.0 mm at the shortest part (fixing means arranged on the side edge in the longitudinal direction) and the longest part (longitudinal direction). The fixing means arranged in the vicinity of the center line) was arranged to be 5.0 mm or less. On the other hand, the fixing means arranged on the both side edges in the longitudinal direction of the backsheet is arranged in the vicinity of the shortest part (the vicinity of the center line in the short direction) between the long side and the right edge and the left edge of the backsheet. The fixing means) is 3.0 mm, and the longest part is 5.0 mm (fixing means arranged on the side edge in the short direction).
そして、固定手段が設けられている部位の総面積は、バックシートの面積に対して、34%であった。 And the total area of the site | part in which the fixing means was provided was 34% with respect to the area of a back seat | sheet.
[吸収体]
レーヨン繊維及びポリエチレンテレフタレート繊維を、レーヨン:ポリエチレンテレフタレート=9:1の比率で混合し、スパンレース法により作製した、坪量が25g/m2である不織布を吸収体として適用した。
[Absorber]
Rayon fiber and polyethylene terephthalate fiber were mixed at a ratio of rayon: polyethylene terephthalate = 9: 1, and a nonwoven fabric having a basis weight of 25 g / m 2 prepared by a spunlace method was applied as an absorbent.
[パンティーライナーの作製]
上述した各部材を、肌側から、トップシート、吸収体の順に配置し、熱融着粘着剤によって部分的に接合した。次に、高さ3mmの矩形状のピンが千鳥状に設けられたエンボス板で押圧することにより、深さ1.00mmのエンボス圧縮部を複数設けた。
そして、吸収体のトップシートが接合されていない側の面に、バックシートを配置し、熱融着粘着剤によって部分的に接合した。この積層体を瓢箪形に切断することで、パンティーライナーを作製した。このパンティーライナーは、長さ寸法が中央部の最長部位で140mm、長手方向両側縁部の最短部位で120mmであり、幅寸法が中央部の最短部位で44.0mm、短手方向両側縁部付近の最長部位で54.5mmであった。
[Preparation of panty liner]
Each member mentioned above was arrange | positioned in order of the top sheet and the absorber from the skin side, and it joined partially with the heat-fusion adhesive. Next, a plurality of embossed compression portions having a depth of 1.00 mm were provided by pressing a rectangular pin having a height of 3 mm with an embossed plate provided in a staggered manner.
And the back sheet | seat was arrange | positioned in the surface of the side by which the top sheet of the absorber is not joined, and it joined partially with the heat-fusion adhesive. The laminated body was cut into a bowl shape to produce a panty liner. This panty liner has a length dimension of 140 mm at the longest part in the central part, 120 mm at the shortest part on both side edges in the longitudinal direction, and a width dimension of 44.0 mm at the shortest part in the central part. The longest part was 54.5 mm.
<比較例>
バックシートに設ける固定手段の配置が異なる他は、上述した実施例と同様の条件で、パンティーライナーを作製した。
即ち、固定手段の各々を矩形状に形成し、この長辺寸法を120mm、短辺寸法を3.0mmとした。そして、8本の固定手段を、互いに、吸収性物品の短手方向に2.0mmの間隔をもって設けた。
固定手段が設けられている部位の総面積は、バックシートの面積に対して、42%であった。
<Comparative example>
A panty liner was produced under the same conditions as in the above-described example except that the arrangement of fixing means provided on the backsheet was different.
That is, each of the fixing means was formed in a rectangular shape, and the long side dimension was 120 mm and the short side dimension was 3.0 mm. And eight fixing means were provided mutually with the space | interval of 2.0 mm in the transversal direction of the absorbent article.
The total area of the parts provided with the fixing means was 42% with respect to the area of the back sheet.
[剛軟度の測定]
実施例及び比較例で得られたパンティーライナーの中心部を長さ38mm、幅25mmでカットして、試験片を短手方向(CD方向)で作製した。これらの試験片を、「JIS−L1096」に基づくガーレー剛軟度試験に準拠して、ガーレー式柔軟度試験機(安田精機製作所社製)を用いて測定を行うことで、短手方向における剛軟度を測定した。この結果を表1に示す。
表1に示されるように、実施例で得られたパンティーライナーの方が、比較例で得られたパンティーライナーよりも、剛軟度が低かった。よって、実施例で得られたパンティーライナーは、可撓性に優れることが分かった。
[Measurement of bending resistance]
The center part of the panty liner obtained in Examples and Comparative Examples was cut with a length of 38 mm and a width of 25 mm, and a test piece was produced in the short direction (CD direction). These test pieces are measured using a Gurley-type flexibility tester (manufactured by Yasuda Seiki Seisakusho Co., Ltd.) in accordance with the Gurley stiffness test based on “JIS-L1096”. The softness was measured. The results are shown in Table 1.
As shown in Table 1, the panty liners obtained in the examples had lower bending resistance than the panty liners obtained in the comparative examples. Therefore, it turned out that the panty liner obtained in the Example is excellent in flexibility.
[モニター試験]
実施例及び比較例で得られたパンティーライナーの各々を、120名の女性に使用してもらい、よりヨレにくいと感じたパンティーライナーについて、回答を求めた。各々のパンティーライナーについて、よりヨレにくいと感じたと回答したモニターの割合を表1に示す。
表1に示されるように、実施例で得られたパンティーライナーの方が、比較例で得られたパンティーライナーよりも多くのモニターに、ヨレにくいと評価された。よって、実施例で得られたパンティーライナーは、ヨレの発生及び維持を抑制できることが分かった。
[Monitor test]
Each of the panty liners obtained in the Examples and Comparative Examples was used by 120 women, and an answer was requested for the panty liner that felt more difficult to twist. Table 1 shows the percentage of monitors that answered that they felt that the panty liners were more difficult to twist.
As shown in Table 1, it was evaluated that the panty liner obtained in the example was more difficult to twist on more monitors than the panty liner obtained in the comparative example. Therefore, it turned out that the panty liner obtained by the Example can suppress generation | occurrence | production and maintenance of twist.
なお、本発明は前記実施形態に限定されるものではなく、本発明の目的を達成できる範囲での変形、改良等は本発明に含まれるものである。
例えば、固定手段は、前述した実施形態においては、略矩形状とし、パンティーライナーの長手方向又は短手方向のほぼ全長に亘る寸法としたが、これに限られない。即ち、固定手段の形状は、正方形、円形、楕円形、ひし形等の任意の形状でよく、寸法も短くしてよい。そして、このような固定手段は、バックシートの全面に散在するように配置してよい。ただし、固定手段同士を所定距離の間隔をあけて配置し、この間隔が、所定距離を挟む二点を結ぶ直線方向における固定手段の寸法よりも大きくなるように配置する必要がある。
It should be noted that the present invention is not limited to the above-described embodiment, and modifications, improvements, etc. within a scope that can achieve the object of the present invention are included in the present invention.
For example, in the above-described embodiment, the fixing means has a substantially rectangular shape and has a dimension extending over almost the entire length in the longitudinal direction or the short direction of the panty liner, but is not limited thereto. That is, the shape of the fixing means may be any shape such as a square, a circle, an ellipse, and a rhombus, and the dimensions may be shortened. And such a fixing means may be arrange | positioned so that it may be scattered over the whole surface of a back seat | sheet. However, it is necessary to arrange the fixing means so as to be spaced apart from each other by a predetermined distance, and to place the spacing larger than the dimension of the fixing means in the linear direction connecting two points sandwiching the predetermined distance.
また、パンティーライナーの外形は、前述した実施形態においては、略矩形状としたが、円形、長方形、ボーン型、オーバル型等としてもよい。 Further, the outer shape of the panty liner is substantially rectangular in the above-described embodiment, but may be circular, rectangular, bone type, oval type, or the like.
1 パンティーライナー(吸収性物品)
10 トップシート
20 バックシート
21 固定手段
30 吸収体
1 Panty liner (absorbent article)
10
Claims (6)
前記バックシートは、所定距離の間隔をあけて配置された、前記吸収性物品を前記着衣に固定する複数の固定手段を有し、
前記間隔は、前記所定距離を挟む二点を結ぶ直線方向における前記固定手段の寸法よりも大きく、
前記固定手段は、前記バックシートの周縁から内側に3.0mm以上5.0mm未満の範囲には少なくとも設けられており、
前記固定手段が設けられている部位の面積は、前記バックシートの面積に対して、20%以上40%以下であることを特徴とする吸収性物品。 A liquid-permeable top sheet disposed on the skin side of the wearer, a liquid-impermeable back sheet disposed on the wearer's clothing side, and a liquid absorption holding interposed between the top sheet and the back sheet An absorbent article comprising a sex absorbent,
The back sheet has a plurality of fixing means that are arranged at predetermined intervals and fix the absorbent article to the clothing,
The interval is larger than the dimension of the fixing means in a linear direction connecting two points sandwiching the predetermined distance,
The fixing means is provided at least in the range of 3.0 mm or more and less than 5.0 mm inward from the periphery of the backsheet,
The area of the site | part in which the said fixing means is provided is 20% or more and 40% or less with respect to the area of the said back seat | sheet, The absorbent article characterized by the above-mentioned.
前記バックシートは、前記長手方向又は前記短手方向に沿って延びるように設けられ間隔をあけて配置された、前記吸収性物品を前記着衣に固定する複数の固定手段を有し、
前記間隔は、前記固定手段の各々の幅よりも大きく、
前記固定手段は、前記バックシートの周縁から内側に3.0mm以上5.0mm未満の範囲には少なくとも設けられており、
前記固定手段が設けられている部位の面積は、前記バックシートの面積に対して、20%以上40%以下であることを特徴とする吸収性物品。 A liquid-permeable top sheet disposed on the skin side of the wearer, a liquid-impermeable back sheet disposed on the wearer's clothing side, and a liquid absorption holding interposed between the top sheet and the back sheet An absorbent article having a longitudinal direction and a transverse direction,
The backsheet has a plurality of fixing means for fixing the absorbent article to the clothing, which is provided so as to extend along the longitudinal direction or the short-side direction and is arranged at intervals.
The spacing is greater than the width of each of the fixing means;
The fixing means is provided at least in the range of 3.0 mm or more and less than 5.0 mm inward from the periphery of the backsheet,
The area of the site | part in which the said fixing means is provided is 20% or more and 40% or less with respect to the area of the said back seat | sheet, The absorbent article characterized by the above-mentioned.
Priority Applications (1)
| Application Number | Priority Date | Filing Date | Title |
|---|---|---|---|
| JP2005326867A JP4712533B2 (en) | 2005-11-11 | 2005-11-11 | Absorbent articles |
Applications Claiming Priority (1)
| Application Number | Priority Date | Filing Date | Title |
|---|---|---|---|
| JP2005326867A JP4712533B2 (en) | 2005-11-11 | 2005-11-11 | Absorbent articles |
Publications (2)
| Publication Number | Publication Date |
|---|---|
| JP2007130274A true JP2007130274A (en) | 2007-05-31 |
| JP4712533B2 JP4712533B2 (en) | 2011-06-29 |
Family
ID=38152421
Family Applications (1)
| Application Number | Title | Priority Date | Filing Date |
|---|---|---|---|
| JP2005326867A Expired - Fee Related JP4712533B2 (en) | 2005-11-11 | 2005-11-11 | Absorbent articles |
Country Status (1)
| Country | Link |
|---|---|
| JP (1) | JP4712533B2 (en) |
Cited By (9)
| Publication number | Priority date | Publication date | Assignee | Title |
|---|---|---|---|---|
| JP2012050716A (en) * | 2010-09-01 | 2012-03-15 | Kao Corp | Absorptive article |
| JP2013000374A (en) * | 2011-06-17 | 2013-01-07 | Kao Corp | Absorbent article |
| JP2014039754A (en) * | 2012-08-23 | 2014-03-06 | Livedo Corporation | Absorbent articles |
| WO2014050360A1 (en) * | 2012-09-28 | 2014-04-03 | ユニ・チャーム株式会社 | Absorbent article |
| JP2018503426A (en) * | 2014-12-18 | 2018-02-08 | スリーエム イノベイティブ プロパティズ カンパニー | Diaper accessories and related methods |
| EP3034055B1 (en) | 2014-12-15 | 2019-08-07 | The Procter and Gamble Company | Absorbent articles with thinner backsheet |
| WO2020181029A1 (en) * | 2019-03-05 | 2020-09-10 | The Procter & Gamble Company | Absorbent articles with adhesive pattern |
| JP2023094919A (en) * | 2021-12-24 | 2023-07-06 | 大王製紙株式会社 | absorbent article |
| US12544279B2 (en) | 2023-09-21 | 2026-02-10 | The Procter & Gamble Company | Absorbent article with adhesive pattern |
Citations (8)
| Publication number | Priority date | Publication date | Assignee | Title |
|---|---|---|---|---|
| JPS5752451A (en) * | 1980-08-05 | 1982-03-27 | Kimberly Clark Co | Sanitary napkin with pressure sensing adhesive piece |
| JPH01147815U (en) * | 1988-03-31 | 1989-10-12 | ||
| JPH0541527U (en) * | 1991-11-07 | 1993-06-08 | 花王株式会社 | Sanitary napkin |
| JPH0556120U (en) * | 1992-01-16 | 1993-07-27 | 花王株式会社 | Absorbent article |
| JPH07328068A (en) * | 1994-06-14 | 1995-12-19 | Uni Charm Corp | Sanitary napkin |
| JP2003339764A (en) * | 2002-05-24 | 2003-12-02 | Kao Corp | Absorbent article packaging structure |
| JP2005160702A (en) * | 2003-12-02 | 2005-06-23 | Daio Paper Corp | Absorbent article |
| JP2006500176A (en) * | 2002-09-24 | 2006-01-05 | ザ プロクター アンド ギャンブル カンパニー | Flexible disposable absorbent article |
-
2005
- 2005-11-11 JP JP2005326867A patent/JP4712533B2/en not_active Expired - Fee Related
Patent Citations (8)
| Publication number | Priority date | Publication date | Assignee | Title |
|---|---|---|---|---|
| JPS5752451A (en) * | 1980-08-05 | 1982-03-27 | Kimberly Clark Co | Sanitary napkin with pressure sensing adhesive piece |
| JPH01147815U (en) * | 1988-03-31 | 1989-10-12 | ||
| JPH0541527U (en) * | 1991-11-07 | 1993-06-08 | 花王株式会社 | Sanitary napkin |
| JPH0556120U (en) * | 1992-01-16 | 1993-07-27 | 花王株式会社 | Absorbent article |
| JPH07328068A (en) * | 1994-06-14 | 1995-12-19 | Uni Charm Corp | Sanitary napkin |
| JP2003339764A (en) * | 2002-05-24 | 2003-12-02 | Kao Corp | Absorbent article packaging structure |
| JP2006500176A (en) * | 2002-09-24 | 2006-01-05 | ザ プロクター アンド ギャンブル カンパニー | Flexible disposable absorbent article |
| JP2005160702A (en) * | 2003-12-02 | 2005-06-23 | Daio Paper Corp | Absorbent article |
Cited By (21)
| Publication number | Priority date | Publication date | Assignee | Title |
|---|---|---|---|---|
| JP2012050716A (en) * | 2010-09-01 | 2012-03-15 | Kao Corp | Absorptive article |
| JP2013000374A (en) * | 2011-06-17 | 2013-01-07 | Kao Corp | Absorbent article |
| JP2014039754A (en) * | 2012-08-23 | 2014-03-06 | Livedo Corporation | Absorbent articles |
| WO2014050360A1 (en) * | 2012-09-28 | 2014-04-03 | ユニ・チャーム株式会社 | Absorbent article |
| JP2014079561A (en) * | 2012-09-28 | 2014-05-08 | Uni Charm Corp | Absorbent article |
| CN104661629A (en) * | 2012-09-28 | 2015-05-27 | 尤妮佳股份有限公司 | Absorbent article |
| CN104661629B (en) * | 2012-09-28 | 2016-08-24 | 尤妮佳股份有限公司 | Absorbent commodity |
| US9492333B2 (en) | 2012-09-28 | 2016-11-15 | Unicharm Corporation | Absorbent article |
| US11684523B2 (en) | 2014-12-15 | 2023-06-27 | The Procter & Gamble Company | Absorbent articles with thinner backsheet |
| EP3034055B1 (en) | 2014-12-15 | 2019-08-07 | The Procter and Gamble Company | Absorbent articles with thinner backsheet |
| JP2018503426A (en) * | 2014-12-18 | 2018-02-08 | スリーエム イノベイティブ プロパティズ カンパニー | Diaper accessories and related methods |
| WO2020181029A1 (en) * | 2019-03-05 | 2020-09-10 | The Procter & Gamble Company | Absorbent articles with adhesive pattern |
| JP2022521780A (en) * | 2019-03-05 | 2022-04-12 | ザ プロクター アンド ギャンブル カンパニー | Absorbent article with adhesive pattern |
| CN113490474A (en) * | 2019-03-05 | 2021-10-08 | 宝洁公司 | Absorbent article with adhesive pattern |
| JP7332704B2 (en) | 2019-03-05 | 2023-08-23 | ザ プロクター アンド ギャンブル カンパニー | Absorbent article with adhesive pattern |
| US11819397B2 (en) | 2019-03-05 | 2023-11-21 | The Procter And Gamble Company | Absorbent article with adhesive pattern |
| EP4285885A3 (en) * | 2019-03-05 | 2024-03-06 | The Procter & Gamble Company | Absorbent articles with adhesive pattern |
| CN113490474B (en) * | 2019-03-05 | 2024-04-12 | 宝洁公司 | Absorbent article having an adhesive pattern |
| JP2023094919A (en) * | 2021-12-24 | 2023-07-06 | 大王製紙株式会社 | absorbent article |
| JP7702217B2 (en) | 2021-12-24 | 2025-07-03 | 大王製紙株式会社 | Absorbent articles |
| US12544279B2 (en) | 2023-09-21 | 2026-02-10 | The Procter & Gamble Company | Absorbent article with adhesive pattern |
Also Published As
| Publication number | Publication date |
|---|---|
| JP4712533B2 (en) | 2011-06-29 |
Similar Documents
| Publication | Publication Date | Title |
|---|---|---|
| KR100971193B1 (en) | Absorbents and Absorbent Articles Using the Absorbers | |
| EP2409673B1 (en) | Absorbent article | |
| TWI231754B (en) | Absorbent article | |
| AU2010302087B2 (en) | Absorbent article and manufacturing apparatus for absorbent article | |
| RU2685022C1 (en) | Disposable pant-type absorbent article, specially adapted for male user | |
| JP2015065980A (en) | Absorbent article | |
| WO2013154087A1 (en) | Absorbent article | |
| JP5693267B2 (en) | Absorbent articles | |
| JP4712533B2 (en) | Absorbent articles | |
| JP5766253B2 (en) | Absorbent articles | |
| JP6275364B1 (en) | Absorbent articles | |
| JP2006167141A (en) | Absorbent articles | |
| JP6221020B1 (en) | Absorbent articles | |
| JP5529631B2 (en) | Absorbent articles | |
| JP5123478B2 (en) | Absorbent articles | |
| JPH10295724A (en) | Absorptive article for body fluid treatment | |
| JP5717379B2 (en) | Absorbent articles | |
| TWI391129B (en) | Absorbent items | |
| JP3210014U (en) | Absorbent articles | |
| JP6746852B2 (en) | Absorbent article | |
| KR102664198B1 (en) | Absorbent body of absorbent article | |
| JP6321897B1 (en) | Absorbent articles | |
| CN110139633A (en) | Absorbent commodity | |
| JP6737438B2 (en) | Absorbent article | |
| JP2018000384A (en) | Absorbent article |
Legal Events
| Date | Code | Title | Description |
|---|---|---|---|
| A621 | Written request for application examination |
Free format text: JAPANESE INTERMEDIATE CODE: A621 Effective date: 20080930 |
|
| A977 | Report on retrieval |
Free format text: JAPANESE INTERMEDIATE CODE: A971007 Effective date: 20100405 |
|
| A131 | Notification of reasons for refusal |
Free format text: JAPANESE INTERMEDIATE CODE: A131 Effective date: 20100629 |
|
| A521 | Request for written amendment filed |
Free format text: JAPANESE INTERMEDIATE CODE: A523 Effective date: 20100826 |
|
| TRDD | Decision of grant or rejection written | ||
| A01 | Written decision to grant a patent or to grant a registration (utility model) |
Free format text: JAPANESE INTERMEDIATE CODE: A01 Effective date: 20110301 |
|
| A61 | First payment of annual fees (during grant procedure) |
Free format text: JAPANESE INTERMEDIATE CODE: A61 Effective date: 20110323 |
|
| R150 | Certificate of patent or registration of utility model |
Ref document number: 4712533 Country of ref document: JP Free format text: JAPANESE INTERMEDIATE CODE: R150 |
|
| R250 | Receipt of annual fees |
Free format text: JAPANESE INTERMEDIATE CODE: R250 |
|
| R250 | Receipt of annual fees |
Free format text: JAPANESE INTERMEDIATE CODE: R250 |
|
| R250 | Receipt of annual fees |
Free format text: JAPANESE INTERMEDIATE CODE: R250 |
|
| R250 | Receipt of annual fees |
Free format text: JAPANESE INTERMEDIATE CODE: R250 |
|
| R250 | Receipt of annual fees |
Free format text: JAPANESE INTERMEDIATE CODE: R250 |
|
| R250 | Receipt of annual fees |
Free format text: JAPANESE INTERMEDIATE CODE: R250 |
|
| R250 | Receipt of annual fees |
Free format text: JAPANESE INTERMEDIATE CODE: R250 |
|
| R250 | Receipt of annual fees |
Free format text: JAPANESE INTERMEDIATE CODE: R250 |
|
| R250 | Receipt of annual fees |
Free format text: JAPANESE INTERMEDIATE CODE: R250 |
|
| R250 | Receipt of annual fees |
Free format text: JAPANESE INTERMEDIATE CODE: R250 |
|
| R250 | Receipt of annual fees |
Free format text: JAPANESE INTERMEDIATE CODE: R250 |
|
| LAPS | Cancellation because of no payment of annual fees |
