JP2007094213A - Optical transmitting system - Google Patents
Optical transmitting system Download PDFInfo
- Publication number
- JP2007094213A JP2007094213A JP2005285698A JP2005285698A JP2007094213A JP 2007094213 A JP2007094213 A JP 2007094213A JP 2005285698 A JP2005285698 A JP 2005285698A JP 2005285698 A JP2005285698 A JP 2005285698A JP 2007094213 A JP2007094213 A JP 2007094213A
- Authority
- JP
- Japan
- Prior art keywords
- light
- optical
- waveguide
- emitting element
- cross
- Prior art date
- Legal status (The legal status is an assumption and is not a legal conclusion. Google has not performed a legal analysis and makes no representation as to the accuracy of the status listed.)
- Pending
Links
- 230000003287 optical effect Effects 0.000 title claims abstract description 307
- 239000013307 optical fiber Substances 0.000 claims abstract description 174
- 230000005540 biological transmission Effects 0.000 claims description 108
- 230000007423 decrease Effects 0.000 claims description 11
- 230000003247 decreasing effect Effects 0.000 claims description 3
- 230000001902 propagating effect Effects 0.000 abstract 1
- 238000010586 diagram Methods 0.000 description 29
- 238000004088 simulation Methods 0.000 description 22
- 238000005452 bending Methods 0.000 description 19
- 230000000694 effects Effects 0.000 description 10
- 230000008878 coupling Effects 0.000 description 9
- 238000010168 coupling process Methods 0.000 description 9
- 238000005859 coupling reaction Methods 0.000 description 9
- 238000004891 communication Methods 0.000 description 3
- 230000002093 peripheral effect Effects 0.000 description 2
- 238000013459 approach Methods 0.000 description 1
- 238000005253 cladding Methods 0.000 description 1
- 239000000835 fiber Substances 0.000 description 1
- 239000011521 glass Substances 0.000 description 1
- 239000003365 glass fiber Substances 0.000 description 1
- 238000010330 laser marking Methods 0.000 description 1
- 230000007774 longterm Effects 0.000 description 1
- 238000000034 method Methods 0.000 description 1
- 239000000758 substrate Substances 0.000 description 1
Images
Landscapes
- Optical Couplings Of Light Guides (AREA)
Abstract
Description
本発明は、モジュール間で光データ伝送を行う光送信装置に関する。 The present invention relates to an optical transmission apparatus that performs optical data transmission between modules.
近年、普及してきた携帯電話は、使用時及び携帯時の利便性その他の理由から、折り畳み型、スライド型又は回転型の携帯電話が多く用いられるようになった。折り畳み型、スライド型又は回転型の携帯電話においては、その形態上、複数の筐体に通信機能部、増幅回路部、表示回路部等のモジュールが分散して配置されており、各筐体に配置されたモジュール間を接続する配線には、柔軟性と駆動に耐えられる強度が求められている。 In recent years, as mobile phones that have become widespread, folding type, slide type, and rotary type mobile phones have come to be frequently used for convenience and other reasons during use and carrying. In the case of a foldable, slide-type, or rotary-type mobile phone, modules such as a communication function unit, an amplifier circuit unit, and a display circuit unit are distributed and arranged in a plurality of cases. Wiring connecting the arranged modules is required to be flexible and strong enough to withstand driving.
さらに、各モジュール間の配線には、音楽再生機能、動画再生機能、写真撮影機能などの携帯電話の多機能化に伴う高速なデータ伝送性、外部機器との電磁障害対策及び長時間使用の要求に伴う低消費電力化が求められている。 In addition, wiring between each module requires high-speed data transmission due to the multi-functionality of mobile phones such as music playback function, video playback function, and photography function, countermeasures against electromagnetic interference with external devices, and demands for long-term use. Therefore, low power consumption is required.
これらの要求を満たす配線として光ファイバを使用することが試みられている(例えば、特許文献1参照。)。以下の説明において各モジュール間を光ファイバで接続して光データ伝送を行うモジュールを光通信モジュールと記載する。
各モジュール間の配線に光ファイバを使用する場合、モジュールには光ファイバに光を入射する発光素子及び光ファイバから出射する光を受光する受光素子が搭載され、受光素子が光ファイバを伝搬する発光素子からの光を受光することでデータ伝送が行われる。また、円滑なデータ伝送を行うために発光素子と光ファイバとの間及び光ファイバと受光素子との間の光軸を合わせて配置する必要がある。なお、以下の説明において、「光軸を合わせて配置する」を「アライメント」と略記する。 When an optical fiber is used for wiring between modules, the module is equipped with a light emitting element that enters light into the optical fiber and a light receiving element that receives light emitted from the optical fiber, and the light receiving element emits light that propagates through the optical fiber. Data transmission is performed by receiving light from the element. Further, in order to perform smooth data transmission, it is necessary to align the optical axes between the light emitting element and the optical fiber and between the optical fiber and the light receiving element. In the following description, “arrange the optical axes” is abbreviated as “alignment”.
アライメントを容易にするため光ファイバのコアの径を大きくすることが望ましいが、光ファイバのコアの径が大きい場合、発光素子と光ファイバとをアライメントしても組み立て誤差により光ファイバの中心軸と異なる位置から光が入射することもある。
光ファイバの光路長が長い場合、光ファイバの中心軸と異なる位置から光が入射しても前記光は光ファイバを伝搬中にかく乱されるため、光ファイバの他端におけるニアフィールドパターン(以下、「ニアフィールドパターン」を「NFP」と略記する。)は均一になる。
In order to facilitate alignment, it is desirable to increase the diameter of the optical fiber core. However, if the optical fiber core diameter is large, the center axis of the optical fiber is Light may enter from different positions.
When the optical path length of the optical fiber is long, even if light is incident from a position different from the central axis of the optical fiber, the light is disturbed during propagation through the optical fiber. “Near field pattern” is abbreviated as “NFP”).
しかし、携帯電話のモジュール間のように数cmと短く、また、曲率半径が5mm程度の急峻な屈曲が発生する光ファイバの場合、光ファイバの中心軸と異なる位置から光が入射すれば、前記光は伝搬中に十分にかく乱されないため、光ファイバの他端におけるNFPは不均一となる。 However, in the case of an optical fiber that is as short as several centimeters as between mobile phone modules and has a sharp bend with a curvature radius of about 5 mm, if light enters from a position different from the central axis of the optical fiber, Since the light is not sufficiently disturbed during propagation, the NFP at the other end of the optical fiber is non-uniform.
一方、受光素子の受光面の径は高速のデータ通信を行うために小さくすることが求められている。受光素子の受光面の径が小さい場合、受光素子は光ファイバの他端から出射する光の全てを受光することはできず、光ファイバの他端の面の一部からの光しか受光できないことになる。 On the other hand, the diameter of the light receiving surface of the light receiving element is required to be small in order to perform high-speed data communication. When the diameter of the light receiving surface of the light receiving element is small, the light receiving element cannot receive all of the light emitted from the other end of the optical fiber, and can only receive light from a part of the other end of the optical fiber. become.
従って、光ファイバのコアの径が大きく、受光素子の受光面の径が小さい場合、光ファイバと受光素子との相対位置によっては、不均一な前記NFPのため受光素子は十分な光量を受光できないこともある。 Therefore, when the core diameter of the optical fiber is large and the diameter of the light receiving surface of the light receiving element is small, the light receiving element cannot receive a sufficient amount of light due to the non-uniform NFP depending on the relative position between the optical fiber and the light receiving element. Sometimes.
さらに、光ファイバの屈曲状態は携帯電話の折り畳み、回転等の動作により変動するため、前記NFPも前記屈曲状態に応じて変動する。
従って、光ファイバと受光素子との組み立て精度を向上させ、前記NFPに合わせてアライメントをしても、受光素子は十分な光量を受光できず、安定してデータ伝送できないこともある。
Further, since the bending state of the optical fiber varies depending on the operation such as folding and rotation of the mobile phone, the NFP also varies depending on the bending state.
Therefore, even if the assembly accuracy of the optical fiber and the light receiving element is improved and alignment is performed according to the NFP, the light receiving element may not receive a sufficient amount of light and may not be able to transmit data stably.
本発明は上記課題を解決するためになされたもので、光路長が短く屈曲状態が変動する光ファイバであっても、光ファイバと受光素子との相対位置に関わらず安定してデータ伝送ができる光送信装置を提供することを目的とする。 The present invention has been made to solve the above-described problems, and even with an optical fiber having a short optical path length and a variable bending state, stable data transmission can be performed regardless of the relative position between the optical fiber and the light receiving element. An object is to provide an optical transmitter.
前記目的を達成するために、本発明に係る光送信装置は、予め発光素子からの光のファーフィールドパターン(以下、「ファーフィールドパターン」を「FFP」と略記する。)を均一化して光ファイバに結合することとした。 In order to achieve the above object, an optical transmission apparatus according to the present invention makes a far field pattern of light from a light emitting element (hereinafter, “far field pattern” abbreviated as “FFP”) uniform in advance. It was decided to combine with.
具体的には、本発明は、発光素子と、入射端に入射した前記発光素子からの光を鏡面反射又は全反射で出射端に伝搬する光導波領域の光の伝搬方向に垂直な断面の形状が多角形である管型導波路と、を備える光送信装置である。 Specifically, the present invention relates to a light emitting element and a shape of a cross section perpendicular to the light propagation direction of an optical waveguide region that propagates light from the light emitting element incident on the incident end to the exit end by specular reflection or total reflection. Is a polygonal tube-shaped waveguide.
前記管型導波路は、前記光導波領域を囲う反射面で前記入射端に結合された前記発光素子からの光を鏡面反射又は全反射をして前記出射端に導く。管型導波路の光導波領域において光の伝搬方向に垂直な断面の形状(以下、「光の伝搬方向に垂直な断面の形状」を「断面形状」と略記する。)が円形の場合、前記発光素子からの光は鏡面反射又は全反射して円の中心を通る定在波(モード)を生じやすく、中心付近の光強度が強いFFPになりやすい。 The tubular waveguide guides light from the light emitting element coupled to the incident end with a reflecting surface surrounding the optical waveguide region to the exit end by specular reflection or total reflection. When the shape of the cross section perpendicular to the light propagation direction in the optical waveguide region of the tubular waveguide (hereinafter, “the shape of the cross section perpendicular to the light propagation direction” is abbreviated as “cross section shape”) is described above. Light from the light-emitting element is likely to be specularly reflected or totally reflected to generate a standing wave (mode) that passes through the center of the circle, and tends to be FFP with strong light intensity near the center.
一方、本発明に係る光送信装置における前記管型導波路の前記光導波領域の断面形状は多角形であり、光の経路は複雑になるため、鏡面反射毎又は全反射毎に導波光はかく乱されるため、前記管型導波路は光路長が短くても前記発光素子からの光のFFPを均一化することができる(以下、「光導波領域の断面形状が多角形である管型導波路」を「多角形管型導波路」と略記する。)。従って、前記光送信装置は前記多角形管型導波路の前記出射端において均一な光強度分布の光を出射できる。 On the other hand, the cross-sectional shape of the optical waveguide region of the tubular waveguide in the optical transmission device according to the present invention is a polygon, and the light path is complicated, so that the guided light is disturbed for each specular reflection or total reflection. Therefore, the tubular waveguide can make the FFP of the light from the light emitting element uniform even if the optical path length is short (hereinafter, “the tubular waveguide in which the cross-sectional shape of the optical waveguide region is a polygon). "Is abbreviated as" polygonal tube waveguide "). Therefore, the optical transmitter can emit light having a uniform light intensity distribution at the exit end of the polygonal tube waveguide.
前記出射端と光ファイバの一端とを接続すれば、前記光送信装置は光ファイバの一端の面内における前記出射端の前記光導波領域の大きさである光結合範囲に予め光強度分布を均一化した光を結合することができる。 If the emitting end and one end of the optical fiber are connected, the optical transmitter uniformly distributes the light intensity distribution in advance in the optical coupling range that is the size of the optical waveguide region at the emitting end in the plane of one end of the optical fiber. The combined light can be combined.
従って、前記光ファイバの光路長が短くとも、前記光送信装置は前記光ファイバの他端におけるNFPを均一化することができる。また、前記光ファイバに屈曲が生じても、前記光送信装置は前記光ファイバの他端におけるNFPの偏りを緩和することができる。ゆえに、前記光ファイバの他端に接続された受光素子は受光面の小さくとも十分な光量の光を受光することができる。 Therefore, even if the optical path length of the optical fiber is short, the optical transmission device can make the NFP uniform at the other end of the optical fiber. Further, even if the optical fiber is bent, the optical transmission device can alleviate the NFP bias at the other end of the optical fiber. Therefore, the light receiving element connected to the other end of the optical fiber can receive a sufficient amount of light even if the light receiving surface is small.
従って、本発明は、光路長が短く屈曲状態が変動する光ファイバであっても、光ファイバと受光素子との相対位置に関わらず安定してデータ伝送ができる光送信装置を提供することができる。 Therefore, the present invention can provide an optical transmitter capable of stably transmitting data regardless of the relative position between the optical fiber and the light receiving element, even if the optical path length is short and the bending state is changed. .
本発明は、発光素子と、入射端に入射した前記発光素子からの光を鏡面反射又は全反射で出射端に伝搬する光導波領域の光の伝搬方向に垂直な断面の形状が角丸多角形である管型導波路と、を備える光送信装置である。 In the present invention, the shape of a cross section perpendicular to the light propagation direction of a light-emitting element and an optical waveguide region that propagates light from the light-emitting element incident on the incident end to the output end by specular reflection or total reflection is a rounded polygon. And a tube-type waveguide.
角丸多角形とは、多角形の頂点のうち少なくとも一つを丸めた形状である。前記光送信装置は前記管型導波路の前記光導波領域の断面形状が角丸多角形のため、前記多角形管型導波路を備えた光送信装置と同様の効果を得ることができる。 A rounded polygon is a shape obtained by rounding at least one of vertices of a polygon. In the optical transmission device, since the cross-sectional shape of the optical waveguide region of the tubular waveguide is a rounded polygon, the same effect as that of the optical transmission device including the polygonal tubular waveguide can be obtained.
従って、本発明は、光路長が短く屈曲状態が変動する光ファイバであっても、光ファイバと受光素子との相対位置に関わらず安定してデータ伝送ができる光送信装置を提供することができる。 Therefore, the present invention can provide an optical transmitter capable of stably transmitting data regardless of the relative position between the optical fiber and the light receiving element, even if the optical path length is short and the bending state is changed. .
本発明は、発光素子と、入射端に入射した前記発光素子からの光を鏡面反射又は全反射で出射端に伝搬する光導波領域の光の伝搬方向に垂直な断面の形状が複数の曲率を有する一の単一閉曲線で囲まれた形状である管型導波路と、を備える光送信装置である。 According to the present invention, the shape of the cross section perpendicular to the light propagation direction of the light emitting element and the light guiding region in which light from the light emitting element incident on the incident end propagates to the emission end by specular reflection or total reflection has a plurality of curvatures. And a tubular waveguide having a shape surrounded by a single closed curve.
前記光送信装置の前記管型導波路の断面形状は、複数の曲率を有する一の単一閉曲線で囲まれた形状(以下、「複数の曲率を有する一の単一閉曲線で囲まれた形状」を「単一閉曲線形状」と略記する。)のため、前記多角形管型導波路を備えた光送信装置と同様の効果を得ることができる。 The cross-sectional shape of the tube-type waveguide of the optical transmitter is a shape surrounded by a single closed curve having a plurality of curvatures (hereinafter referred to as “a shape surrounded by a single closed curve having a plurality of curvatures”). Is abbreviated as “single closed curve shape”), the same effects as those of the optical transmission device including the polygonal tube waveguide can be obtained.
従って、本発明は、光路長が短く屈曲状態が変動する光ファイバであっても、光ファイバと受光素子との相対位置に関わらず安定してデータ伝送ができる光送信装置を提供することができる。 Therefore, the present invention can provide an optical transmitter capable of stably transmitting data regardless of the relative position between the optical fiber and the light receiving element, even if the optical path length is short and the bending state is changed. .
本発明は、発光素子と、入射端に入射した前記発光素子からの光を鏡面反射又は全反射で出射端に伝搬する光導波領域の光の伝搬方向に垂直な断面の形状が複数の曲線の端同士を接続して囲まれた形状且つ前記複数の曲線の接続点を特異点とする形状である管型導波路と、を備える光送信装置である。 In the present invention, the shape of a cross section perpendicular to the light propagation direction of a light emitting element and an optical waveguide region that propagates light from the light emitting element incident on the incident end to the exit end by specular reflection or total reflection has a plurality of curves. An optical transmission device comprising: a tubular waveguide having a shape surrounded by connecting ends and a shape having a singular point at a connection point of the plurality of curves.
前記光送信装置の前記管型導波路の断面形状は、複数の曲線の端同士を接続して囲まれた形状且つ前記複数の曲線の接続点を特異点とする形状(以下、「複数の曲線の端同士を接続して囲まれた形状且つ前記複数の曲線の接続点を特異点とする形状」を「複数曲線形状」と略記する。)のため、前記多角形管型導波路を備えた光送信装置と同様の効果を得ることができる。 The cross-sectional shape of the tube-type waveguide of the optical transmission device is a shape surrounded by connecting ends of a plurality of curves and a shape having a singular point at a connection point of the plurality of curves (hereinafter, “a plurality of curves”). For example, a shape surrounded by connecting ends of each other and a shape having a singular point at a connection point of the plurality of curves is abbreviated as “a plurality of curve shapes”). The same effect as that of the optical transmitter can be obtained.
従って、本発明は、光路長が短く屈曲状態が変動する光ファイバであっても、光ファイバと受光素子との相対位置に関わらず安定してデータ伝送ができる光送信装置を提供することができる。 Therefore, the present invention can provide an optical transmitter capable of stably transmitting data regardless of the relative position between the optical fiber and the light receiving element, even if the optical path length is short and the bending state is changed. .
本発明は、発光素子と、入射端に入射した前記発光素子からの光を鏡面反射又は全反射で出射端に伝搬する光導波領域の光の伝搬方向に垂直な断面の形状が少なくとも一の線分の端と少なくとも一の曲線の端とを接続して囲まれた形状である管型導波路と、を備える光送信装置である。 The present invention relates to a light emitting element and a line having at least one line in a shape perpendicular to the light propagation direction of an optical waveguide region in which light from the light emitting element incident on the incident end propagates to the exit end by specular reflection or total reflection. An optical transmission device comprising: a tubular waveguide having a shape surrounded by connecting an end of a minute and an end of at least one curve.
前記光送信装置の前記管型導波路の断面形状は、少なくとも一の線分の端と少なくとも一の曲線の端とを接続して囲まれた形状(以下、「少なくとも一の線分の端と少なくとも一の曲線の端とを接続して囲まれた形状」を「線分曲線形状」と略記する。)のため、前記多角形管型導波路を備えた光送信装置と同様の効果を得ることができる。 The cross-sectional shape of the tubular waveguide of the optical transmission device is a shape surrounded by connecting at least one line segment end and at least one curve end (hereinafter referred to as “at least one line segment end”). The shape surrounded by connecting at least one end of the curve is abbreviated as “line segment curve shape”). Therefore, the same effect as that of the optical transmission device including the polygonal tube waveguide is obtained. be able to.
従って、本発明は、光路長が短く屈曲状態が変動する光ファイバであっても、光ファイバと受光素子との相対位置に関わらず安定してデータ伝送ができる光送信装置を提供することができる。 Therefore, the present invention can provide an optical transmitter capable of stably transmitting data regardless of the relative position between the optical fiber and the light receiving element, even if the optical path length is short and the bending state is changed. .
本発明に係る光送信装置は、一端が前記管型導波路の前記出射端に接続し、前記管型導波路からの光がコアに入射するマルチモード型の光ファイバをさらに備え、前記管型導波路の前記出射端の面における前記光導波領域は前記光ファイバの前記一端の面におけるコアの断面に内包される大きさを有する。 The optical transmission device according to the present invention further includes a multimode optical fiber having one end connected to the emission end of the tube-type waveguide, and light from the tube-type waveguide entering the core, and the tube-type The optical waveguide region on the exit end face of the waveguide has a size contained in the cross section of the core on the one end face of the optical fiber.
前記光送信装置はマルチモード型の光ファイバを前記管型導波路の前記出射端に接続する。前記光ファイバのコアの光の伝搬方向に垂直な断面の大きさは前記出射端における前記光導波領域の光の伝搬方向に垂直な断面の大きさより大きいことを特徴とする。 The optical transmission device connects a multimode type optical fiber to the emission end of the tubular waveguide. The cross-sectional size perpendicular to the light propagation direction of the core of the optical fiber is larger than the cross-sectional size perpendicular to the light propagation direction of the optical waveguide region at the emission end.
前記光ファイバを備えた結果、前記管型導波路は光ファイバの一端の光結合範囲に予め光強度分布を均一化した光を結合することができる。従って、前記光ファイバの光路長が短くとも、前記光送信装置は前記光ファイバの他端のNFPを均一化でき、均一な光強度分布の光を出射することができる。また、前記光ファイバに屈曲が生じても、前記光送信装置は前記光ファイバの他端におけるNFPの偏りを緩和した光を出射することができる。ゆえに、前記光送信装置の前記光ファイバの他端に接続された受光素子は受光面の小さくとも十分な光量の光を受光することができる。 As a result of providing the optical fiber, the tube-type waveguide can couple light having a uniform light intensity distribution in advance to the optical coupling range at one end of the optical fiber. Therefore, even if the optical path length of the optical fiber is short, the optical transmitter can make the NFP at the other end of the optical fiber uniform and emit light with a uniform light intensity distribution. Further, even if the optical fiber is bent, the optical transmission device can emit light in which the NFP bias at the other end of the optical fiber is reduced. Therefore, the light receiving element connected to the other end of the optical fiber of the optical transmitter can receive a sufficient amount of light even if the light receiving surface is small.
従って、本発明は、光路長が短く屈曲状態が変動する光ファイバであっても、光ファイバと受光素子との相対位置に関わらず安定してデータ伝送ができる光送信装置を提供することができる。 Therefore, the present invention can provide an optical transmitter capable of stably transmitting data regardless of the relative position between the optical fiber and the light receiving element, even if the optical path length is short and the bending state is changed. .
本発明に係る光送信装置において、前記管型導波路の前記光導波領域の光の伝搬方向に垂直な断面の面積は前記入射端から前記出射端へ単調減少していることが好ましい。
前記光送信装置の前記管型導波路は前記多角形管型導波路の効果と同様の効果を有する。
In the optical transmission device according to the present invention, it is preferable that an area of a cross section perpendicular to the light propagation direction of the optical waveguide region of the tubular waveguide monotonously decreases from the incident end to the emission end.
The tube-type waveguide of the optical transmitter has the same effect as that of the polygonal tube-type waveguide.
さらに、前記管型導波路の形状は前記入射端から前記出射端へ前記光導波領域の光の伝搬方向に垂直な断面の面積が小さくなる形状のため、前記管型導波路は前記出射端にかけて光を集中させることができる。ゆえに、前記出射端における光強度が強くなり、前記光送信装置は屈曲による光ファイバの他端におけるNFPの偏りをさらに緩和することができる。 Furthermore, since the shape of the tubular waveguide is such that the area of the cross section perpendicular to the light propagation direction of the optical waveguide region decreases from the incident end to the exit end, the tube waveguide extends from the exit end to the exit end. The light can be concentrated. Therefore, the light intensity at the emission end becomes strong, and the optical transmitter can further alleviate the bias of NFP at the other end of the optical fiber due to bending.
以下の説明において「光導波領域の光の伝搬方向に垂直な断面の面積が入射端から出射端へ単調減少している管型導波路」を「テーパー型導波路」と略記する。 In the following description, “a tubular waveguide in which the area of the cross section perpendicular to the light propagation direction in the optical waveguide region monotonously decreases from the incident end to the exit end” is abbreviated as “tapered waveguide”.
従って、本発明は、光路長が短く屈曲状態が変動する光ファイバであっても、光ファイバと受光素子との相対位置に関わらず安定してデータ伝送ができる光送信装置を提供することができる。 Therefore, the present invention can provide an optical transmitter capable of stably transmitting data regardless of the relative position between the optical fiber and the light receiving element, even if the optical path length is short and the bending state is changed. .
本発明に係る光送信装置において、光の伝搬方向に垂直な断面における前記管型導波路の前記光導波領域の面積の光の伝搬方向の距離に対する減少率は前記入射端から前記出力端に向かって小さくなることが好ましい。 In the optical transmission device according to the present invention, the rate of decrease of the area of the optical waveguide region of the tubular waveguide in the cross section perpendicular to the optical propagation direction with respect to the distance in the optical propagation direction is from the incident end toward the output end. It is preferable to be smaller.
前記テーパー型導波路では前記発光素子からの光は鏡面反射毎又は全反射毎に反射面に対する入射角が小さくなるため、前記光のうち一定回数以上鏡面反射又は全反射をした光は前記入射端側に戻ることになる。前記光導波領域のテーパー形状を前記減少率を前記入射端から前記出力端に向かって小さくすることで、前記光導波領域の前記反射面は前記出射端側で光の伝搬方向と平行に近づく。前記テーパー型管型導波路は前記反射面に入射する光の入射角を一定値以上に保つことができるため、反射面で一定回数以上鏡面反射又は全反射をした光が前記発光素子側へ戻ることを防止することができ、前記発光素子からの光の伝送損失を小さくすることができる。また、前記テーパー型導波路が光を全反射して伝搬する場合は、光の入射角を一定値以上全反射可能な角度以下に保つことで同様の効果が得られる。 In the tapered waveguide, since the incident angle with respect to the reflecting surface of the light from the light emitting element is reduced every time the mirror is reflected or totally reflected, the light that has been specularly reflected or totally reflected more than a certain number of times is included in the incident end. Will return to the side. By reducing the taper shape of the optical waveguide region from the incidence end toward the output end, the reflection surface of the optical waveguide region approaches the light propagation direction on the emission end side. Since the tapered tubular waveguide can maintain the incident angle of light incident on the reflecting surface at a certain value or more, the light that has undergone specular reflection or total reflection more than a certain number of times on the reflecting surface returns to the light emitting element side. This can be prevented, and transmission loss of light from the light emitting element can be reduced. Further, when the tapered waveguide propagates by totally reflecting light, the same effect can be obtained by keeping the incident angle of light at a certain value or more and below the angle at which total reflection is possible.
さらに、前記テーパー型導波路は、前記光ファイバのコアとクラッドとの境界面において、前記光ファイバに結合した光の入射角を所定値以上に保つことができ、クラッドへ透過する光の光量を減少させることができる。ゆえに、前記テーパー型導波路は前記光ファイバにおいて伝送損失を減少させることができる。 Further, the tapered waveguide can maintain the incident angle of light coupled to the optical fiber at a predetermined value or more at the boundary surface between the core and the clad of the optical fiber, and can reduce the amount of light transmitted to the clad. Can be reduced. Therefore, the tapered waveguide can reduce transmission loss in the optical fiber.
従って、本発明は、光路長が短く屈曲状態が変動する光ファイバであっても、光ファイバと受光素子との相対位置に関わらず安定してデータ伝送ができ、伝送損失が小さい光送信装置を提供することができる。 Therefore, the present invention provides an optical transmission device that can stably transmit data regardless of the relative position between the optical fiber and the light receiving element, and has a small transmission loss, even with an optical fiber having a short optical path length and a bent state. Can be provided.
本発明に係る光送信装置において、前記管型導波路の前記光導波領域の光の伝搬方向に垂直な断面の面積は前記入射端から前記出射端に向けて単調増加してもよい。 In the optical transmission device according to the present invention, the area of the cross section perpendicular to the light propagation direction of the optical waveguide region of the tubular waveguide may monotonously increase from the incident end toward the emission end.
前記管型導波路の前記光導波領域の形状を前記入射端から前記出力端に向かって前記光導波領域の光の伝搬方向に垂直な断面の面積が拡張する形状とすることで、前記出射端から出射する光のFFPを拡張することができる。ゆえに径の大きな光ファイバの一端の広い光結合範囲に予め光強度分布を均一化した光を結合することができる。ゆえに、前記光送信装置は前記多角形管型導波路を備えた光送信装置の効果と同様の効果を得ることができる。 The shape of the optical waveguide region of the tube-shaped waveguide is a shape in which the area of a cross section perpendicular to the light propagation direction of the optical waveguide region extends from the incident end toward the output end, so that the emission end The FFP of the light emitted from can be expanded. Therefore, light having a uniform light intensity distribution in advance can be coupled to a wide optical coupling range at one end of an optical fiber having a large diameter. Therefore, the optical transmission device can obtain the same effect as that of the optical transmission device including the polygonal tube waveguide.
以下の説明において「光導波領域の光の伝搬方向に垂直な断面の面積が入射端から出射端へ単調増加している管型導波路」を「逆テーパー型導波路」と略記する。 In the following description, “a tube waveguide whose cross-sectional area perpendicular to the light propagation direction in the optical waveguide region monotonously increases from the incident end to the exit end” is abbreviated as “reverse tapered waveguide”.
従って、本発明は、光路長が短く屈曲状態が変動する光ファイバであっても、光ファイバと受光素子との相対位置に関わらず安定してデータ伝送ができ、光送信装置を提供することができる。 Therefore, the present invention provides an optical transmission device that can stably transmit data regardless of the relative position between the optical fiber and the light receiving element, even with an optical fiber having a short optical path length and a bent state. it can.
本発明に係る光送信装置において、前記管型導波路の一の区間における光導波領域の光の伝搬方向に垂直な断面の形状と前記管型導波路の他の区間における光導波領域の光の伝搬方向に垂直な断面の形状とが異なる形状であってもよい。 In the optical transmission device according to the present invention, the shape of the cross section perpendicular to the light propagation direction of the optical waveguide region in one section of the tube-type waveguide and the light of the optical waveguide region in the other section of the tube-type waveguide. The cross-sectional shape perpendicular to the propagation direction may be different.
前記管型導波路は、一の区間から他の区間へ光が伝搬することで定在波が変換されるため、伝搬モードがかく乱され、前記発光素子からの光のFFPを均一化する。 Since the standing wave is converted by propagation of light from one section to another section, the tube-type waveguide is disturbed in the propagation mode, and uniforms the FFP of the light from the light emitting element.
前記管型導波路からの光を光ファイバの一端の光結合範囲に結合すれば、前記光送信装置は前記光ファイバの他端において、前記多角形管型導波路の説明と同様の効果を得ることができる。 If the light from the tube-type waveguide is coupled to the optical coupling range at one end of the optical fiber, the optical transmission device obtains the same effect as described for the polygonal tube-type waveguide at the other end of the optical fiber. be able to.
従って、本発明は、光路長が短く屈曲状態が変動する光ファイバであっても、光ファイバと受光素子との相対位置に関わらず安定してデータ伝送ができる光送信装置を提供することができる。 Therefore, the present invention can provide an optical transmitter capable of stably transmitting data regardless of the relative position between the optical fiber and the light receiving element, even if the optical path length is short and the bending state is changed. .
本発明は、光路長が短く屈曲状態が変動する光ファイバであっても、光ファイバと受光素子との相対位置に関わらず安定してデータ伝送ができる光送信装置を提供することができる。 The present invention can provide an optical transmitter capable of stably transmitting data regardless of the relative position between the optical fiber and the light receiving element, even if the optical path length is short and the bending state is changed.
以下、本発明の実施形態について、図面を参照しながら詳細に説明する。なお、本発明は、以下に示す実施形態に限定されるものではない。 Hereinafter, embodiments of the present invention will be described in detail with reference to the drawings. In addition, this invention is not limited to embodiment shown below.
(実施の形態1)
本発明に係る一の実施形態は発光素子と、入射端に入射した前記発光素子からの光を鏡面反射又は全反射で出射端に伝搬する光導波領域の光の伝搬方向に垂直な断面の形状が多角形である管型導波路と、を備える光送信装置である。
(Embodiment 1)
One embodiment according to the present invention is a light emitting element and a shape of a cross section perpendicular to the light propagation direction of an optical waveguide region in which light from the light emitting element incident on the incident end propagates to the exit end by specular reflection or total reflection. Is a polygonal tube-shaped waveguide.
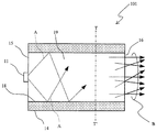
本発明に係る一の実施形態である光送信装置101の概念図を図1に示す。光送信装置101は発光素子11、管型導波路14から構成される。図1は管型導波路14の中心軸を含む面での切断面の図である。なお、発光素子11に必要な電源、周辺回路及び基板等の通常の技術で実現できるものは、図1及び図22以降の図で図示をしていない。
FIG. 1 shows a conceptual diagram of an optical transmission apparatus 101 according to an embodiment of the present invention. The optical transmission device 101 includes a
発光素子11は電気信号を信号光Aに変換して、表面から外部に向けて信号光Aを放射する。発光素子11としてLED又は面発光LDを使用することができる。面発光LDとしてVCSELが例示できる。
The
管型導波路14は一つの端が光を入射する入射端15、他の端が光を出射する出射端16である中空状の管である。前記管の内壁は反射鏡の反射面18で囲まれており、光は反射面18で鏡面反射を繰り返す。反射面18で囲まれた部分が光導波領域19であり、光は光導波領域19に閉じ込められ、入射端15から出射端16へ伝搬される。光導波領域19の断面形状は多角形である。光導波領域19のT−T’における断面形状の例を図2から図7及び図21に示す。単位はmmである。図2は三角形、図3は正三角形、図4は正方形、図5は正五角形、図6は正六角形、図7は正二十角形、図21は八角形である。
The tube-
なお、管型導波路14は屈折率の高い媒質を屈折率の低い媒質で被覆した構造としてもよい。光は両媒質の界面で全反射をするため、前記界面を反射面18とすることができる。
The
従って、光導波領域19の断面形状は多角形のため、前記光は反射面18で鏡面反射又は全反射を繰り返すことでかく乱され、管型導波路14は短い光路長で出射端16における入射端15からの光のFFPを均一化する。
Accordingly, since the cross-sectional shape of the
光送信装置101は管型導波路14の入射端15に発光素子11をアライメントして接続する。
The optical transmission device 101 aligns and connects the
光送信装置101は以下に説明するように動作する。伝送するデータは図示しない周辺回路で伝送可能な形式の電気信号に変換され、発光素子11に伝送される。発光素子11は前記電気信号を変換して信号光Aを放射する。発光素子11から放射された信号光Aは管型導波路14に結合される。管型導波路14は前記多角形管型導波路のため、光送信装置101は発光素子11の信号光AのFFPを均一化し、出射端16から均一な光強度分布の出射光Bを出射できる。
The optical transmission apparatus 101 operates as described below. Data to be transmitted is converted into an electric signal in a format that can be transmitted by a peripheral circuit (not shown) and transmitted to the
従って、光送信装置101は、接続される光ファイバが光路長が短く屈曲状態が変動しても、光ファイバと受光素子との相対位置に関わらず安定してデータ伝送をすることができる。 Therefore, the optical transmission apparatus 101 can stably transmit data regardless of the relative position between the optical fiber and the light receiving element even if the optical fiber to be connected has a short optical path length and the bent state fluctuates.
なお、入射端15の面における光導波領域19の大きさは、発光素子11と管型導波路14とを接続する際の組み立て誤差を考慮した大きさとする。図22に組み立て誤差がある場合の管型導波路14の入射端15と発光素子11の発光面11aとの相対位置の関係を示す。図22において図1で用いた符号と同じ符号は同じ機能及び同じ配置である。図22において14aは管型導波路14の中心点、22は組み立て精度を示す。図22に組み立て精度22でアライメントされた発光素子11の発光面11aの中心が配置される可能性のある領域を領域26で示している。
Note that the size of the
例えば、発光素子11の発光面11aが直径0.02mmの円形かつ入射端15の面における光導波領域19の形状が一辺0.127mmの正方形の場合、発光素子11と管型導波路14との組み立てに±0.05mmの誤差があっても、発光素子11は信号光Aを管型導波路14に結合することができる。
For example, when the light emitting surface 11a of the
従って、光送信装置101は、発光素子11と管型導波路14とのアライメント精度の緩和を図ることができる。
Therefore, the optical transmission device 101 can reduce the alignment accuracy between the light emitting
光導波領域19の断面形状は、角丸多角形、単一閉曲線形状、複数曲線形状又は線分曲線形状であってもよい。光導波領域19のT−T’における断面形状の例を、角丸多角形の場合を図12に、複数曲線形状の場合を図13から図16に、線分曲線形状の場合を図8から図11及び図17から図20に示す。単位はmmである。
The cross-sectional shape of the
光導波領域19の断面形状が角丸多角形、単一閉曲線形状、複数曲線形状又は線分曲線形状の場合でも、前記多角形管型導波路の場合と同様の効果があり、光送信装置101は、短い光路長で発光素子11の信号光AのFFPを均一化して、出射端16から均一な光強度分布の出射光Bを出射することができる。
Even when the cross-sectional shape of the
なお、図12の角丸八角形は正方形の各頂点を正方形の対角線の交点を中心とする直径0.24mmの円弧になるように丸めた形状である。光ファイバのコアの断面形状は円形のため、断面形状が角丸多角形の管型導波路は光ファイバと導光部との間に要求されるアライメント精度を緩和することができる。また、多角形の頂点を丸めることで頂点部の変形を防ぎ、断面形状を保護することができる。 The rounded octagon in FIG. 12 is a shape in which each vertex of a square is rounded so as to be an arc having a diameter of 0.24 mm centering on the intersection of the square diagonal lines. Since the cross-sectional shape of the core of the optical fiber is circular, the tubular waveguide whose cross-sectional shape is a rounded polygon can relax the alignment accuracy required between the optical fiber and the light guide. Further, by rounding the vertices of the polygon, deformation of the apex portion can be prevented and the cross-sectional shape can be protected.
(実施の形態2)
本発明に係る光送信装置において、前記管型導波路の一の区間における光導波領域の光の伝搬方向に垂直な断面の形状と前記管型導波路の他の区間における光導波領域の光の伝搬方向に垂直な断面の形状とが異なる形状であってもよい。
(Embodiment 2)
In the optical transmission device according to the present invention, the shape of the cross section perpendicular to the light propagation direction of the optical waveguide region in one section of the tube-type waveguide and the light of the optical waveguide region in the other section of the tube-type waveguide. The cross-sectional shape perpendicular to the propagation direction may be different.
本発明に係る他の実施形態である光送信装置103の概念図を図23に示す。光送信装置103は発光素子11、管型導波路34から構成される。図23は管型導波路34の中心軸を含む面での切断面の図である。図23において図1で用いた符号と同じ符号は同じ機能及び同じ配置である。図1の光送信装置101と光送信装置103との違いは管型導波路14を備えず、管型導波路34を備えていることである。
FIG. 23 shows a conceptual diagram of an
管型導波路24は光導波領域19の断面形状が互いに異なる管型導波路34aと管型導波路34bとから構成される。例えば、管型導波路34aのS−S’における光導波領域19の断面形状が図2の形状の場合、管型導波路34bのU−U’における光導波領域19の断面形状は図3から図21の形状とすることができる。
The tube-type waveguide 24 is composed of a tube-
管型導波路34a及び管型導波路34bは、図1の管型導波路14と同様に入射端15から入射した光を出射端16に導く。
The tube-
管型導波路34aから管型導波路34bへ光が伝搬することで、定在波が変換されるため、伝搬モードをかく乱でき、管型導波路34は図1の管型導波路14より短い光路長で発光素子11の信号光AのFFPを均一化することができる。
Since propagation of light from the
従って、光送信装置103は図1の光送信装置101の効果と同様の効果を得ることができる。
Therefore, the
さらに、光送信装置103は管型導波路34bの光伝送領域19の断面形状が円であることが好ましい。具体的には光伝送領域19の断面形状が四角形である管型導波路34aと光伝送領域19の断面形状が円である管型導波路34bとを接続して管型導波路34を構成することができる。出射端16と光ファイバとを接続する場合に、光ファイバのコアの断面形状は円形のため、管型導波路34と光ファイバとの間に要求されるアライメント精度を緩和することができる。
Further, in the
(実施の形態3)
本発明に係る光送信装置は、一端が前記管型導波路の前記出射端に接続し、前記管型導波路からの光がコアに入射するマルチモード型の光ファイバをさらに備え、前記管型導波路の前記出射端の面における前記光導波領域は前記光ファイバの前記一端の面におけるコアの断面に内包される大きさを有する。
(Embodiment 3)
The optical transmission device according to the present invention further includes a multimode optical fiber having one end connected to the emission end of the tube-type waveguide, and light from the tube-type waveguide entering the core, and the tube-type The optical waveguide region on the exit end face of the waveguide has a size contained in the cross section of the core on the one end face of the optical fiber.
本発明に係る他の実施形態である光送信装置104の概念図を図24に示す。光送信装置104は発光素子11、管型導波路14及び光ファイバ45から構成される。図24において、図1で用いた符号と同じ符号は同じ機能及び同じ配置である。なお、図24において、管型導波路24の光伝送領域19の断面形状は正方形として説明する。
FIG. 24 shows a conceptual diagram of an
光ファイバ45はコア45aとクラッド45bとから構成されるマルチモード型の光ファイバである。光ファイバ45は、ガラスファイバ、プラスチックファイバ(POF)又はガラスのコアとプラスチックのクラッドをもつ光ファイバであってもよい。光ファイバの長さは5mm以上300mm以下であることが例示できる。光ファイバ45は一つの端が光を入射する入射端46であり、他の端が光を出射する出射端47である。なお、図24、図26、図27及び図28において出射端47は記載を省略している。
The
光送信装置104は管型導波路14の出射端16と光ファイバ45の入射端46とを接続する。管型導波路14は図1で説明したように出射端16から出射光Bを出射するため、光ファイバ45の入射端46の光結合範囲に予め光強度分布が均一になった出射光Bが結合できる。
The
従って、光送信装置104は、光路長が短く屈曲状態が変動する光ファイバであっても、光ファイバと受光素子との相対位置に関わらず安定してデータ伝送ができる。
出射端16の面における光導波領域19の大きさは、光ファイバ45と管型導波路14とを接続する際の組み立て精度を考慮した大きさとする。図25に光ファイバ45の入射端46と管型導波路14の出射端16との相対位置の関係を示す。図25において、図1、図22及び図24で用いた符号と同じ符号は同じ機能及び同じ配置である。45cは光ファイバ45の中心軸である。52は組み立て精度をしめし、組み立て精度52でアライメントされた管型導波路14の中心軸12が配置される可能性のある領域を領域56で示している。
Therefore, the
The size of the
例えば、光ファイバ45のコア45aの断面形状が直径0.24mmの円形かつ出射端16の面における光導波領域19の形状が対角線0.14mmの正方形の場合、光ファイバ45と管型導波路14との組み立てに±0.05mmの誤差があっても、管型導波路14は出射光Bを光ファイバ45に結合できる。
For example, when the cross-sectional shape of the core 45a of the
従って、光送信装置104は、光ファイバ45と管型導波路14とのアライメント精度の緩和を図ることができる。
Therefore, the
(実施の形態4)
本発明に係る光送信装置において、前記管型導波路の前記光導波領域の光の伝搬方向に垂直な断面の面積は前記入射端から前記出射端に向けて単調減少していることが好ましい。
(Embodiment 4)
In the optical transmission device according to the present invention, it is preferable that an area of a cross section perpendicular to the light propagation direction of the optical waveguide region of the tubular waveguide monotonously decreases from the incident end toward the emission end.
本発明に係る他の実施形態である光送信装置106の概念図を図26に示す。光送信装置106は発光素子11、前記管型導波路としてのテーパー型導波路64及び光ファイバ45から構成される。図26はテーパー型導波路64の中心軸62と光ファイバ45の中心軸45cとを含む面での切断面の図である。図26において、図1及び図24で用いた符号と同じ符号は同じ機能及び同じ配置である。なお、図26において、テーパー型導波路64の光伝送領域19の断面形状は正方形として説明する。
FIG. 26 shows a conceptual diagram of an
テーパー型導波路64は管型導波路14と同じ構成であり、同じ機能を有する。テーパー型導波路64と管型導波路14との違いは、光伝送領域19の断面形状の面積が入射端15から出射端16へ単調減少していることである。
The tapered
光送信装置106はテーパー型導波路64と光ファイバ45とを中心軸62と中心軸45cとが平行になるように接続する。
The
なお、光伝送領域19の断面形状の面積の中心軸62の距離に対する減少率はテーパー角βで表すことができる。テーパー角βは、前記切断面及び反射面18の交線とテーパー型導波路64のある断面との交点における反射面18の前記切断面上の2本の接線が成す角度である。テーパー型導波路64のテーパー角βは入射端15から出射端16まで同じ値である。
The reduction rate of the area of the cross-sectional shape of the
テーパー型導波路64のテーパー角βは、光ファイバ45のコア45aとクラッド45bとの境界面において光Eがクラッド45bへ透過する透過光量が入射光量の30%以下となるように設計することが好ましい。
The taper angle β of the tapered
また、テーパー型導波路64のテーパー角βは、光ファイバ45の前記境界面において光Eが全反射するように設計することがより好ましい。前記境界面で全反射するテーパー角βの範囲を以下に説明する。
Further, the taper angle β of the tapered
光伝送領域19の屈折率をn1、光ファイバ45のコア45aの屈折率をn2、光ファイバ45のクラッド45bの屈折率をn3、光送信装置106の外部の屈折率をn0とする。図26において平行線61は中心線62及び中心線45cの双方に平行の仮想の線である。
The refractive index of the
図26において、発光素子11から放射される信号光Aのうち中心軸62に対して最大の角度で放射される光Eとする。光Eが中心軸62と成す角度を光放射角度α、光Eが反射面18で鏡面反射又は全反射を繰り返し、出射端16から出射する直前に中心線62と成す角度を出射の角度θ1、光Eが出射端16から出射して光ファイバ45の入射端46に入射するまでに平行線61となす角度を入射の角度θ0、光Eがコア45aに入射してコア45aとクラッド45bとの境界面に入射する入射の角度を入射の角度θ2とする。
In FIG. 26, it is assumed that the signal light A emitted from the
反射面18がテーパー角βを有するため、光Eは反射面18で繰り返し鏡面反射又は全反射することで光Eの進行方向と中心軸62とがなす角度は鏡面反射毎又は全反射毎に大きくなる。従って、光放射角度αと出射の角度θ1との間に数1の関係がある。
Since the reflecting
また、入射の角度θ2と入射の角度θ0とは数3の関係がある。
Further, the incident angle θ 2 and the incident angle θ 0 have a relationship of
従って、光Eが光ファイバ45の前記境界面で全反射するためにはテーパー角βは数6より小さい値に設計することが望ましい。
Therefore, in order for the light E to be totally reflected at the boundary surface of the
テーパー型導波路64は発光素子11からの信号光Aを出射端16にかけてFFPを均一化及び集中させて光ファイバ45の入射端46の光結合範囲に結合することができる。
The tapered
従って、光送信装置106は、光路長が短く屈曲状態が変動する光ファイバであっても、光ファイバと受光素子との相対位置に関わらず安定してデータ伝送することができる。
Therefore, the
(実施の形態5)
本発明に係る光送信装置において、光の伝搬方向に垂直な断面における前記管型導波路の前記光導波領域の面積の光の伝搬方向の距離に対する減少率は前記入射端から前記出力端に向かって小さくなることが好ましい。
(Embodiment 5)
In the optical transmission device according to the present invention, the rate of decrease of the area of the optical waveguide region of the tubular waveguide in the cross section perpendicular to the optical propagation direction with respect to the distance in the optical propagation direction is from the incident end toward the output end. It is preferable to be smaller.
本発明に係る他の実施形態である光送信装置107の概念図を図27に示す。光送信装置107は発光素子11、管型導波路としてテーパー型導波路74及び光ファイバ45から構成される。図27はテーパー型導波路74の中心軸72と光ファイバ45の中心軸45cとを含む面での切断面の図である。図27において、図1、図24及び図26で用いた符号と同じ符号は同じ機能及び同じ配置である。なお、図27において、管型導波路74の光伝送領域19の断面形状は正方形として説明する。
FIG. 27 shows a conceptual diagram of an
管型導波路74はテーパー型導波路64と同じ構成であり、同じ機能を有する。管型導波路74とテーパー型導波路64との違いは、光伝送領域19の断面形状が入射端15から出射端16に向けて単調減少する減少率が入射端15から出射端16に向けて小さくなっていることである。
The
光Eの出射の角度θ1には数5の関係があるため、テーパー角βが大きいほど或いは鏡面反射又は全反射の回数kが多いほど出射の角度θ1が大きくなる。ゆえに、一定以上のテーパー角β又は一定以上の鏡面反射又は全反射の回数kを越えると、出射の角度θ1は90度を越えるため、光Eは入射端15へ戻ることになる。
Since the angle theta 1 of the light E emitted is related to the number 5, the angle theta 1 to the extent taper angle β is greater or specular reflection or emission as the number of times k in the total reflection increases. Therefore, if the taper angle β exceeds a certain value or the number of specular reflections or total reflections k exceeds a certain value, the emission angle θ 1 exceeds 90 degrees, so that the light E returns to the
管型導波路74は入射端15から出射端16へかけてテーパー角βが小さくなるため、入射端15近傍でテーパー角βが大きくかつ鏡面反射又は全反射の回数kが多くても、出射の角度θ1は90度を越えないため、光Eは入射端15へは戻らない。
The
従って、光送信装置107は、光路長が短く屈曲状態が変動する光ファイバであっても、光ファイバと受光素子との相対位置に関わらず安定してデータ伝送することができる。
Therefore, the
(実施の形態6)
本発明に係る光送信装置において、前記管型導波路の前記光導波領域の光の伝搬方向に垂直な断面の面積は前記入射端から前記出射端に向けて単調増加していることが好ましい。
(Embodiment 6)
In the optical transmission device according to the present invention, it is preferable that an area of a cross section perpendicular to the light propagation direction of the optical waveguide region of the tubular waveguide monotonously increases from the incident end toward the emission end.
本発明に係る他の実施形態である光送信装置108の概念図を図28に示す。光送信装置108は発光素子11、前記管型導波路としての逆テーパー型導波路84及び光ファイバ45から構成される。図28は逆テーパー型導波路84の中心軸82と光ファイバ45の中心軸45cとを含む面での切断面の図である。図28において、図1及び図24で用いた符号と同じ符号は同じ機能及び同じ配置である。なお、図28において、逆テーパー型導波路84の光伝送領域19の断面形状は正方形として説明する。
FIG. 28 shows a conceptual diagram of an
逆テーパー型導波路84は管型導波路14と同じ構成であり、同じ機能を有する。逆テーパー型導波路84と管型導波路14との違いは、光伝送領域19の断面形状の面積が入射端15から出射端16へ単調減少していることである。
The inverted
光送信装置108は逆テーパー型導波路84と光ファイバ45とを中心軸62と中心軸45cとが平行になるように接続する。逆テーパー型導波路84は発光素子11からの信号光AのFFPを均一化かつ拡張して光ファイバ45の入射端46の光結合範囲に結合することができる。
The
従って、光送信装置108は、光路長が短く屈曲状態が変動する光ファイバであっても、光ファイバと受光素子との相対位置に関わらず安定してデータ伝送することができる。
Therefore, even if the
(実施の形態7)
図26の光送信装置106について、テーパー型導波路64の出射端16における発光素子11からの光のFFPと信号光Aの光軸位置との依存性についてシミュレーションを行った。
(Embodiment 7)
For the
シミュレーション条件は以下の通りである。発光素子11の発光面は直径0.02mmの円である。テーパー型導波路64の入射端15における光伝送領域19の面は一辺0.127mmの正方形である。テーパー型導波路64の出射端16における光伝送領域19の面は対角線が0.14mmの正方形である。テーパー型導波路64の光路長は3mmである。
The simulation conditions are as follows. The light emitting surface of the
入射端15における発光素子11からの信号光Aの光軸位置F−0からF−4を図29に示す。図29はテーパー型導波路64の入射端15の面における図である。図29において、図1、図22、図24及び図26で用いた符号と同じ符号は同じ機能及び同じ配置である。テーパー型導波路64の中心軸62と入射端15の面との交点を原点(0,0)、中心軸62の入射端15から出射端16の方向をZの正方向、図29の下から上方向をYの正方向、右から左方向をXの正方向とする。光軸位置F−0は座標(0,0)、光軸位置F−1は座標(0.1,0)、光軸位置F−2は座標(0,0.1)、光軸位置F−3は座標(−0.1,0)、光軸位置F−4は座標(0,−0.1)である。なお、座標の単位はmmである。
The optical axis positions F-0 to F-4 of the signal light A from the
入射端15の光軸位置F−0、F−1、F−3及びF−4に入射した信号光Aの管型導波路14の出射端16におけるFFPをシミュレーションした結果をそれぞれ図30、図31、図32及び図33に示す。シミュレーション結果においてFFPの光強度を色相で表示している。なお、図30から図33において、光強度は茶色から白色へ強くなることを示している。
The simulation results of the FFP at the exit end 16 of the
図30から図33の結果、いずれの光軸位置から信号光Aが入射してもFFPは均一化されており、信号光Aの光軸位置の影響は少ない。 As a result of FIGS. 30 to 33, the FFP is uniformed regardless of the position of the signal light A from any position of the optical axis, and the influence of the position of the optical axis of the signal light A is small.
従って、光送信装置106は、発光素子11とテーパー型導波路64との相対位置に関わらず信号光AのFFPを均一化して、出射端16から均一な光強度分布の出射光Bを出射することができる。
Therefore, the
(実施の形態8)
光ファイバの一端に発光素子からの光を直接結合する従来の場合と前記管型導波路を発光素子と光ファイバの間に挿入して光を結合する本発明の場合とについて、光の入射位置と光ファイバの他端におけるNFPとの依存性についてシミュレーションを行った。
(Embodiment 8)
The incident position of light in the conventional case in which light from a light emitting element is directly coupled to one end of an optical fiber and in the case of the present invention in which light is coupled by inserting the tubular waveguide between the light emitting element and the optical fiber A simulation was performed on the dependence of NFP on the other end of the optical fiber.
シミュレーションを行う従来の光送信装置114の概念図を図34に示す。光送信装置114は発光素子11及び光ファイバ45から構成される。図34において、図1及び図26で用いた符号と同じ符号は同じ機能及び同じ配置である。
FIG. 34 shows a conceptual diagram of a conventional
光送信装置114は発光素子11と光ファイバ45の入射端46を接続する。発光素子11からの信号光Aは光ファイバ45の入射端46に結合され、光ファイバ45を伝搬して出射端47から出射する。
The
一方、シミュレーションを行う本発明に係る他の実施形態である光送信装置115の概念図を図35に示す。光送信装置115は発光素子11、テーパー型導波路64及び光ファイバ45から構成される。図35において、図1、図22及び図26で用いた符号と同じ符号は同じ機能及び同じ配置である。
On the other hand, FIG. 35 shows a conceptual diagram of an
光送信装置115は図26の光送信装置106で説明したように発光素子11、テーパー型導波路64及び光ファイバ45を接続する。テーパー型導波路64は図26で説明したように出射端16から出射光Bを出射する。出射光Bは光ファイバ45の入射端46に結合され、光ファイバ45を伝搬して出射端47から出射する。
The
シミュレーション条件は以下の通りである。光ファイバ45はコアの直径が0.24mm、コアを覆うクラッドの表面までの直径が0.25mmであり、入射端46から出射端47までの光路長は1cmである。光ファイバ45に屈曲状態を与えるために、光ファイバ45は入射端46から出射端47まで半径5mmの円に沿うように一様に屈曲させる。
The simulation conditions are as follows. The
なお、光ファイバ45の中心軸方向をZ方向とし、入射端46から出射端47へ光が伝搬する方向をZの正方向とする。さらに、光ファイバ45のZ方向に垂直な断面において、前記半径5mmの円の半径方向をX方向とし、前記円の中心方向をXの正方向とする。さらに、前記断面においてX方向及びZ方向と垂直な方向をY方向とし、図34及び図35の奥側から手前方向をYの正方向と定義する。
The central axis direction of the
図34の光送信装置114について入射端46における発光素子11からの信号光Aの光軸位置F−0からF−4を図36に示す。図36において、図1、図25、図26及び図34で用いた符号と同じ符号は同じ機能及び同じ配置である。図36においてZ方向は図面手前から奥側の方向が正である。光ファイバ45の中心軸45cと入射端46の面との交点を原点(0,0)とすれば、光軸位置F−0は座標(0,0)、光軸位置F−1は座標(0.1,0)、光軸位置F−2は座標(0,0.1)、光軸位置F−3は座標(−0.1,0)、光軸位置F−4は座標(0,−0.1)である。なお、座標の単位はmmである。
FIG. 36 shows optical axis positions F-0 to F-4 of the signal light A from the
図35の光送信装置115についてテーパー型導波路64の入射端15における発光素子11からの信号光Aの光軸の位置は図29と同じである。また、テーパー型導波路64の中心軸62と光ファイバ45の中心軸45cとは入射端46で一致している。
In the
図34の光送信装置114において、光軸位置F−0、F−1、F−3及びF−4に入射した信号光Aの光ファイバ45の出射端47におけるNFPをシミュレーションした結果をそれぞれ図37、図38、図39及び図40に示す。また、図35の光送信装置115において、光軸位置F−0、F−1、F−3及びF−4に入射した信号光Aの光ファイバ45の出射端47におけるNFPをシミュレーションした結果をそれぞれ図41、図42、図43及び図44に示す。シミュレーション結果においてNFPの光強度を色相で表示している。なお、図37から図44において、光強度は茶色から白色へ強くなることを示している。
In the
光ファイバ45の屈曲のため信号光AはXの負方向へ偏り、出射端47におけるNFPは図37から図44に示すようにXの負方向の光強度が強くなっている。
特に、信号光Aを直接光軸位置F−0、F−3及びF−4に入射する光送信装置114の場合、図37、図39及び図40に示すように光ファイバ45の出射端47において、Xの正方向の位置からの光量が少なく、受光素子は十分な光量を受光できない可能性がある。
Since the
In particular, in the case of the
なお、光送信装置114の場合であっても、光軸位置F−1に入射した信号光Aは光ファイバ45の屈曲で伝搬する信号光AはXの負方向へ拡散するため、図38のように出射端47におけるNFPは均一になる。
Even in the case of the
従って、光送信装置114の出射端47におけるNFPは光ファイバの屈曲及び信号光Aの光軸位置からの影響が大きい。
Therefore, the NFP at the
一方、信号光Aをテーパー型導波路64を介して光ファイバ45に結合した場合、テーパー型導波路64は出射光Bを光ファイバ45の入射端46の光結合範囲に結合するため、出射端47におけるNFPは、光結合範囲内の各位置から入射した光が出射端47に呈するNFPが重畳したものになる。
On the other hand, when the signal light A is coupled to the
従って、図38で説明したように入射端46のXの正方向の位置からの光は均一なNFPを呈するため、光送信装置115の出射端47におけるNFPは、図35から図38に示すように光ファイバの屈曲及び信号光Aの光軸位置からの影響を緩和することができる。
Therefore, as described with reference to FIG. 38, the light from the positive X position of the incident end 46 exhibits a uniform NFP. Therefore, the NFP at the
次に、光ファイバ45の入射端46における出射光Bの入射位置と出射端47における受光素子の位置との依存性をシミュレーション結果を示して本発明を更に詳細に説明する。
Next, the present invention will be described in more detail with simulation results showing the dependence between the incident position of the outgoing light B at the
光送信装置114及び光送信装置115の光ファイバ45の出射端47には伝送される光データを受光する受光素子が接続される。受光素子は直径0.1cmの円の受光面161を有するフォトダイオード(PD)が例示できる。発光素子と光ファイバとの関係と同様に、受光素子と光ファイバとはアライメントされても光ファイバの中心軸と受光素子の受光面の中心位置とは異なる場合がある。光ファイバ45の出力端47と受光素子の受光面161との相対位置を表した図を図45と図46に示す。
A light receiving element that receives optical data to be transmitted is connected to the
図45は光ファイバ45の中心軸と受光素子の受光面161の中心が一致、すなわち受光素子の受光面161の中心が出射端47の面の原点にある場合の図である。
FIG. 45 is a diagram in the case where the center axis of the
図46は光ファイバ45の中心軸と受光素子の受光面161の中心が異なっている、すなわち受光素子の受光面161の中心が出射端47の面の座標(0.05,0)にある場合の図である。
In FIG. 46, the center axis of the
光ファイバ45の入射端46における出射光Bの光軸位置毎に受光素子が受光できる光量をシミュレーションした結果を、図45に示す位置関係の場合を表1に、図46に示す位置関係の場合を表2に示す。表1及び表2の上段は光ファイバ45の入射端46における出射光Bの光軸位置、中段の数値は光送信装置114の場合における光ファイバ45に入射する出射光Bの光量と受光素子が受光できる光量との比率、下段の数値は光送信装置115の場合における光ファイバ45に入射する出射光Bの光量と受光素子が受光できる光量との比率を示している。出射光Bの光量と受光素子が受光できる光量との比率は減衰量で示しており、単位はdBである。
45 shows the results of simulating the amount of light that can be received by the light receiving element for each optical axis position of the outgoing light B at the
光ファイバ45と受光素子の受光面161との相対位置が図45の場合、光送信装置114の前記減衰量は信号光Aの光軸位置で大きく異なる。最も前記減衰量が大きい光軸位置3と最も前記減衰量が小さい光軸位置4との差は3.54dBとなる。一方、光送信装置115の前記減衰量は信号光Aの光軸位置での差は小さい。最も前記減衰量が大きい光軸位置4と最も前記減衰量が小さい光軸位置1との差は0.16dBである。
When the relative position between the
光ファイバ45と受光素子の受光面161との相対位置が図46の場合、光送信装置114の前記減衰量は信号光Aの光軸位置の影響が顕著となる。最も前記減衰量が大きい光軸位置3と最も前記減衰量が小さい光軸位置4との差は44.96dBとなる。一方、光送信装置115の前記減衰量は信号光Aの光軸位置での差は小さく、最も前記減衰量が大きい光軸位置3と最も前記減衰量が小さい光軸位置1との差は2.22dBである。
When the relative position between the
表1及び表2の結果は、発光素子11の信号光Aを光ファイバ45へ直接入射する場合、信号光Aの光軸位置、光ファイバ45の屈曲状態及び受光素子の受光面161の位置による影響が大きく、受光素子の受光できる光量が減少することがあることを示している。すなわち、モジュール間において安定してデータを伝送することができなくなる。
The results in Tables 1 and 2 show that when the signal light A of the
一方、テーパー型導波路64を配置することで、前記減衰量は光ファイバ45の屈曲からの影響、信号光Aの光軸位置及び受光素子の受光面161の位置の影響が小さくなり、モジュール間において安定してデータを伝送することができる。
On the other hand, by arranging the tapered
従って、本発明に係る光送信装置は管型導波路を配置することで、光路長が短く屈曲状態が変動する光ファイバであっても、光ファイバと受光素子との相対位置に関わらず安定してデータ伝送ができる。 Therefore, the optical transmission device according to the present invention is stable regardless of the relative position between the optical fiber and the light receiving element, even if the optical fiber has a short optical path length and the bending state varies by arranging the tube-type waveguide. Data transmission.
本発明に係る光送信装置は照明機器やレーザーマーキング装置として利用することができる。 The optical transmitter according to the present invention can be used as a lighting device or a laser marking device.
101、103、104、106、107、108、114、115 光送信装置
11 発光素子
11a 発光素子11の発光面
12 中心軸
14、34、34a、34b 管型導波路
15 入射端
16 出射端
18 反射面
19 光導波領域
22、52 組み立て精度
26、56 領域
45 光ファイバ
45a コア
45b クラッド
45c 中心軸
46 入射端
47 出射端
61 平行線
62、72、82 中心軸
64、74 テーパー型導波路
84 逆テーパー型導波路
A 信号光
B 出射光
E 光
F−0〜4 信号光Aの光軸位置
k 鏡面反射又は全反射の回数
α 光放射角度
β テーパー角
θ0 入射の角度
θ1 出射の角度
θ2 入射の角度
θc 臨界角
101, 103, 104, 106, 107, 108, 114, 115
Claims (10)
入射端に入射した前記発光素子からの光を鏡面反射又は全反射で出射端に伝搬する光導波領域の光の伝搬方向に垂直な断面の形状が多角形である管型導波路と、
を備える光送信装置。 A light emitting element;
A tube-shaped waveguide having a polygonal cross-sectional shape perpendicular to the light propagation direction of an optical waveguide region in which light from the light emitting element incident on the incident end propagates to the exit end by specular reflection or total reflection;
An optical transmission device comprising:
入射端に入射した前記発光素子からの光を鏡面反射又は全反射で出射端に伝搬する光導波領域の光の伝搬方向に垂直な断面の形状が角丸多角形である管型導波路と、
を備える光送信装置。 A light emitting element;
A tube-shaped waveguide whose cross-sectional shape perpendicular to the light propagation direction of the optical waveguide region that propagates light from the light-emitting element incident on the incident end to the output end by specular reflection or total reflection is a rounded polygon;
An optical transmission device comprising:
入射端に入射した前記発光素子からの光を鏡面反射又は全反射で出射端に伝搬する光導波領域の光の伝搬方向に垂直な断面の形状が複数の曲率を有する一の単一閉曲線で囲まれた形状である管型導波路と、
を備える光送信装置。 A light emitting element;
The cross-sectional shape perpendicular to the light propagation direction of the optical waveguide region that propagates the light from the light emitting element incident on the incident end to the output end by specular reflection or total reflection is surrounded by a single closed curve having a plurality of curvatures. A tube-shaped waveguide that is shaped,
An optical transmission device comprising:
入射端に入射した前記発光素子からの光を鏡面反射又は全反射で出射端に伝搬する光導波領域の光の伝搬方向に垂直な断面の形状が複数の曲線の端同士を接続して囲まれた形状且つ前記複数の曲線の接続点を特異点とする形状である管型導波路と、
を備える光送信装置。 A light emitting element;
The cross-sectional shape perpendicular to the light propagation direction of the optical waveguide region that propagates the light from the light-emitting element incident on the incident end to the output end by specular reflection or total reflection is surrounded by connecting the ends of a plurality of curves. A tubular waveguide having a shape with a singular point at a connection point of the plurality of curves,
An optical transmission device comprising:
入射端に入射した前記発光素子からの光を鏡面反射又は全反射で出射端に伝搬する光導波領域の光の伝搬方向に垂直な断面の形状が少なくとも一の線分の端と少なくとも一の曲線の端とを接続して囲まれた形状である管型導波路と、
を備える光送信装置。 A light emitting element;
The shape of the cross section perpendicular to the light propagation direction of the optical waveguide region that propagates the light from the light emitting element incident on the incident end to the output end by specular reflection or total reflection is at least one end of a line segment and at least one curve A tubular waveguide having a shape surrounded by connecting the ends of
An optical transmission device comprising:
前記管型導波路の前記出射端の面における前記光導波領域は前記光ファイバの前記一端の面におけるコアの断面に内包される大きさを有することを特徴とする請求項1から5に記載のいずれかの光送信装置。 One end is connected to the exit end of the tube-type waveguide, and further comprises a multimode type optical fiber in which light from the tube-type waveguide enters the core,
6. The optical waveguide region at the exit end face of the tubular waveguide has a size contained in a cross section of a core at the one end face of the optical fiber. Any optical transmitter.
The shape of the cross section perpendicular to the light propagation direction of the optical waveguide region in one section of the tubular waveguide and the shape of the cross section perpendicular to the light propagation direction of the optical waveguide region in the other section of the tubular waveguide The optical transmission device according to claim 1, wherein the optical transmission devices have different shapes.
Priority Applications (1)
| Application Number | Priority Date | Filing Date | Title |
|---|---|---|---|
| JP2005285698A JP2007094213A (en) | 2005-09-29 | 2005-09-29 | Optical transmitting system |
Applications Claiming Priority (1)
| Application Number | Priority Date | Filing Date | Title |
|---|---|---|---|
| JP2005285698A JP2007094213A (en) | 2005-09-29 | 2005-09-29 | Optical transmitting system |
Publications (1)
| Publication Number | Publication Date |
|---|---|
| JP2007094213A true JP2007094213A (en) | 2007-04-12 |
Family
ID=37979976
Family Applications (1)
| Application Number | Title | Priority Date | Filing Date |
|---|---|---|---|
| JP2005285698A Pending JP2007094213A (en) | 2005-09-29 | 2005-09-29 | Optical transmitting system |
Country Status (1)
| Country | Link |
|---|---|
| JP (1) | JP2007094213A (en) |
Cited By (5)
| Publication number | Priority date | Publication date | Assignee | Title |
|---|---|---|---|---|
| WO2009104350A1 (en) * | 2008-02-20 | 2009-08-27 | 三菱電線工業株式会社 | Optical fiber and mode scrambler provided therewith |
| WO2013179962A1 (en) * | 2012-05-28 | 2013-12-05 | 富士フイルム株式会社 | Light-source device |
| WO2013179961A1 (en) * | 2012-05-28 | 2013-12-05 | 富士フイルム株式会社 | Light-source device and endoscope system |
| JP2013244291A (en) * | 2012-05-28 | 2013-12-09 | Fujifilm Corp | Light source device |
| JP2017187543A (en) * | 2016-04-01 | 2017-10-12 | ウシオ電機株式会社 | Light source device |
Citations (2)
| Publication number | Priority date | Publication date | Assignee | Title |
|---|---|---|---|---|
| JP2004271880A (en) * | 2003-03-07 | 2004-09-30 | Seiko Epson Corp | Coupling lens, optical connector and optical communication device |
| JP2005049693A (en) * | 2003-07-30 | 2005-02-24 | Sumitomo Electric Ind Ltd | Optical transmission body and optical transmission module |
-
2005
- 2005-09-29 JP JP2005285698A patent/JP2007094213A/en active Pending
Patent Citations (2)
| Publication number | Priority date | Publication date | Assignee | Title |
|---|---|---|---|---|
| JP2004271880A (en) * | 2003-03-07 | 2004-09-30 | Seiko Epson Corp | Coupling lens, optical connector and optical communication device |
| JP2005049693A (en) * | 2003-07-30 | 2005-02-24 | Sumitomo Electric Ind Ltd | Optical transmission body and optical transmission module |
Cited By (8)
| Publication number | Priority date | Publication date | Assignee | Title |
|---|---|---|---|---|
| WO2009104350A1 (en) * | 2008-02-20 | 2009-08-27 | 三菱電線工業株式会社 | Optical fiber and mode scrambler provided therewith |
| JP2009198680A (en) * | 2008-02-20 | 2009-09-03 | Mitsubishi Cable Ind Ltd | Optical fiber and mode scrambler equipped with the same |
| WO2013179962A1 (en) * | 2012-05-28 | 2013-12-05 | 富士フイルム株式会社 | Light-source device |
| WO2013179961A1 (en) * | 2012-05-28 | 2013-12-05 | 富士フイルム株式会社 | Light-source device and endoscope system |
| JP2013244291A (en) * | 2012-05-28 | 2013-12-09 | Fujifilm Corp | Light source device |
| JPWO2013179961A1 (en) * | 2012-05-28 | 2016-01-18 | 富士フイルム株式会社 | Endoscope system |
| JPWO2013179962A1 (en) * | 2012-05-28 | 2016-01-18 | 富士フイルム株式会社 | Light source device |
| JP2017187543A (en) * | 2016-04-01 | 2017-10-12 | ウシオ電機株式会社 | Light source device |
Similar Documents
| Publication | Publication Date | Title |
|---|---|---|
| EP1561133B1 (en) | Optical coupler with a lens having conic, spiral and cone shape components | |
| US8983259B2 (en) | Multi-function beam delivery fibers and related system and method | |
| JP2017504828A (en) | Multimode optical connector | |
| CN101395510A (en) | Optical fiber, optical fiber tape and optical interconnection system | |
| JP2021517665A (en) | Optical connector with tilted mirror | |
| US20130089289A1 (en) | Coupling of a laser source to an optical data distributing device | |
| CN101371178A (en) | Optical cable module and equipment using the same | |
| JP2007094213A (en) | Optical transmitting system | |
| JP2007033859A (en) | Optical transmission line | |
| JP4805657B2 (en) | Optical receiver | |
| CN102388328A (en) | Light guiding bend with curved slits | |
| JP2009103927A (en) | Optical waveguide, optical transmission module, and electronic device | |
| JP2007094209A (en) | Light receiving system | |
| JP3879521B2 (en) | Optical element and optical transceiver and other optical apparatus using the optical element | |
| CN110307491B (en) | Lighting components and electronic devices | |
| US8975567B2 (en) | Coordinate detector | |
| JP2007094212A (en) | Optical transmitting system | |
| JP4965135B2 (en) | Optical transmission line, optical transmission module, and electronic device | |
| CN113260890A (en) | Optical connector, optical cable and electronic device | |
| JP2007094193A (en) | Optical communication module | |
| JP2005250221A (en) | Optical coupler | |
| JP7690723B2 (en) | Method for manufacturing a waveguide and head mounted display having the waveguide | |
| JP2007094211A (en) | Optical transmitting system | |
| JP2019138927A (en) | Optical fiber and optical transmission system | |
| JP2005331879A (en) | OPTICAL MODULE, OPTICAL COMMUNICATION DEVICE, AND ELECTRONIC DEVICE |
Legal Events
| Date | Code | Title | Description |
|---|---|---|---|
| A621 | Written request for application examination |
Free format text: JAPANESE INTERMEDIATE CODE: A621 Effective date: 20080717 |
|
| A977 | Report on retrieval |
Free format text: JAPANESE INTERMEDIATE CODE: A971007 Effective date: 20100520 |
|
| A131 | Notification of reasons for refusal |
Free format text: JAPANESE INTERMEDIATE CODE: A131 Effective date: 20100803 |
|
| A02 | Decision of refusal |
Free format text: JAPANESE INTERMEDIATE CODE: A02 Effective date: 20101130 |
