JP2006326229A - Lifesaving support robot system - Google Patents
Lifesaving support robot system Download PDFInfo
- Publication number
- JP2006326229A JP2006326229A JP2005158222A JP2005158222A JP2006326229A JP 2006326229 A JP2006326229 A JP 2006326229A JP 2005158222 A JP2005158222 A JP 2005158222A JP 2005158222 A JP2005158222 A JP 2005158222A JP 2006326229 A JP2006326229 A JP 2006326229A
- Authority
- JP
- Japan
- Prior art keywords
- robot
- data
- remote control
- biological information
- control device
- Prior art date
- Legal status (The legal status is an assumption and is not a legal conclusion. Google has not performed a legal analysis and makes no representation as to the accuracy of the status listed.)
- Pending
Links
- 238000010295 mobile communication Methods 0.000 claims abstract description 33
- 230000036772 blood pressure Effects 0.000 claims description 54
- 230000010365 information processing Effects 0.000 claims description 36
- 238000012545 processing Methods 0.000 claims description 29
- QVGXLLKOCUKJST-UHFFFAOYSA-N atomic oxygen Chemical compound [O] QVGXLLKOCUKJST-UHFFFAOYSA-N 0.000 claims description 27
- 239000008280 blood Substances 0.000 claims description 27
- 210000004369 blood Anatomy 0.000 claims description 27
- 229910052760 oxygen Inorganic materials 0.000 claims description 27
- 239000001301 oxygen Substances 0.000 claims description 27
- 238000009530 blood pressure measurement Methods 0.000 claims description 21
- 238000000034 method Methods 0.000 claims description 20
- 238000003780 insertion Methods 0.000 claims description 12
- 230000037431 insertion Effects 0.000 claims description 12
- 230000003287 optical effect Effects 0.000 claims description 5
- 238000005259 measurement Methods 0.000 claims description 4
- 238000010586 diagram Methods 0.000 description 27
- 230000005540 biological transmission Effects 0.000 description 18
- 230000000694 effects Effects 0.000 description 15
- 238000004891 communication Methods 0.000 description 14
- 230000002159 abnormal effect Effects 0.000 description 4
- 230000005856 abnormality Effects 0.000 description 1
- 230000000386 athletic effect Effects 0.000 description 1
- 230000005236 sound signal Effects 0.000 description 1
- 210000000707 wrist Anatomy 0.000 description 1
Images
Landscapes
- Manipulator (AREA)
- Measuring And Recording Apparatus For Diagnosis (AREA)
Abstract
Description
本発明は、医療行為が可能な救命医療センタ等の場所から遠隔の地域において、応急的処置を可能にし、また患者の迅速な医療側への引渡しを可能にすることを目的として、ロボット遠隔制御装置から送信された制御データに基づいてロボット装置の遠隔制御を行う救命支援ロボットシステムに関する。 The present invention is intended to enable emergency treatment in an area remote from a life-saving medical center or the like where medical treatment can be performed, and to enable remote delivery of a patient to a medical side. The present invention relates to a life support robot system that performs remote control of a robot apparatus based on control data transmitted from the apparatus.
医療行為が可能な救命医療センタ等の場所(以下、「医療可能センタ」ともいう)が近くであれば、患者を直ちに受診することができるので、患者は十分な医療行為を受けることができる。 If a place such as a lifesaving medical center where medical care can be performed (hereinafter also referred to as “medical care center”) is close, the patient can be immediately consulted, so that the patient can receive sufficient medical care.
しかしながら、医療行為可能センタから遠方の地(以下、「医療遠方地域」ともいう)では、気分が悪くなったり、不慮の事故に遭遇する場合などに患者は十分な医療行為を受けることができない。この場合、比較的人々が集合するキャンプ地や運動ジムなどに、遠隔からも医療行為が可能な装置を配置すれば応急的な処置が可能になり、またその装置において患者を運ぶことができれば、患者を医療側に迅速に引き渡すこともできる。上記キャンプ地や運動ジムなどでは、このような装置の出現が要望されていた。 However, in a place far from the medical practice center (hereinafter also referred to as “medical far area”), the patient cannot receive sufficient medical practice when he / she feels sick or encounters an unexpected accident. In this case, if a device capable of performing medical treatment from a remote location is placed in a campsite or exercise gym where people gather relatively, emergency treatment is possible, and if the patient can be carried on that device, The patient can also be quickly handed over to the medical side. There has been a demand for the appearance of such devices in the above campsites and athletic gyms.
本発明は、医療遠方地域においても医療可能センタからの医療行為が可能であると共に患者を医療側に迅速に運ぶことができる救命支援ロボットシステムを提供することを目的とする。 An object of the present invention is to provide a life-saving support robot system that can perform a medical action from a medical center even in a distant medical area and can quickly carry a patient to a medical side.
この課題を解決するために本発明の救命支援ロボットシステムは、ロボット遠隔制御装置と、ロボット遠隔制御装置と基地局を介して通信を行うロボット装置とを有し、ロボット遠隔制御装置は制御データに基いてロボット装置を制御する救命支援ロボットシステムであって、ロボット装置は、生体情報を得る生体情報センサを有し、ロボット遠隔制御装置は、生体情報を移動体通信により取得して解析する構成を備えている。
これにより、医療遠方地域においても医療可能センタからの医療行為が可能である救命支援ロボットシステムが得られる。
In order to solve this problem, a lifesaving support robot system according to the present invention includes a robot remote control device and a robot device that communicates with the robot remote control device via a base station. A life support robot system that controls a robot apparatus based on the robot apparatus, the robot apparatus having a biological information sensor that obtains biological information, and the robot remote control apparatus configured to acquire and analyze biological information through mobile communication. I have.
As a result, a life-saving support robot system that can perform medical actions from a medical center even in a distant medical area can be obtained.
本発明の請求項1に記載の発明によれば、ロボット遠隔制御装置としての例えば救命医療センタが遠方にあっても、ロボット遠隔制御装置側においてはロボット装置と通信を行うことができ、またロボット装置から通信回線を介して生体情報を取得することができるので、ロボット遠隔制御装置側に医療行為が可能な人を配置すれば、取得した生体情報を解析してロボット装置側の患者(病人やけが人など)に対して適正な医療を行うことができるという有利な効果が得られる。 According to the first aspect of the present invention, the robot remote control device can communicate with the robot device even when a lifesaving medical center as a robot remote control device is far away, and the robot remote control device can communicate with the robot device. Since biological information can be acquired from the device via a communication line, if a person capable of medical practice is placed on the robot remote control device side, the acquired biological information is analyzed and a patient (sick or An advantageous effect is obtained that appropriate medical care can be performed on injured persons.
請求項2に記載の発明によれば、ロボット装置から通信回線を介して心電図波形データ、心拍数データ、血圧値データ、血液酸素飽和度値データおよび脈拍数データを生体情報として取得することができ、またロボット遠隔制御装置側では、これらの生体情報に基いて解析を行うことができるので、患者に対して極めて適正な医療を行うことができるという有利な効果が得られる。 According to the second aspect of the present invention, electrocardiogram waveform data, heart rate data, blood pressure value data, blood oxygen saturation value data, and pulse rate data can be acquired as biological information from the robot apparatus via a communication line. In addition, since the robot remote control device side can perform analysis based on such biological information, an advantageous effect that extremely appropriate medical care can be performed on the patient is obtained.
請求項3に記載の発明によれば、患者の血圧を自動的に計測することができるので、血圧計測を迅速に行うことができ、患者の容体に迅速に対応することができるという有利な効果が得られる。
According to the invention described in
請求項4に記載の発明によれば、ロボット装置は、生体情報を正確かつ迅速にロボット遠隔制御装置側に送信することができ、またロボット遠隔制御装置側では、これらの生体情報に基いて正確かつ迅速に解析を行うことができるので、患者に対して適正な医療を正確かつ迅速に行うことができ、また、後輪をモータ駆動することにより、患者を所定の場所たとえば医療行為が可能な場所に迅速に運ぶことができるので、患者を迅速に医療側に引き渡すことができるという有利な効果が得られる。
According to the invention described in
請求項5に記載の発明によれば、ロボット遠隔制御装置側(例えば救命医療センタ側)では、ロボット装置のシートへの着座の有無を正確かつ迅速に知ることができるという有利な効果が得られる。 According to the fifth aspect of the invention, the robot remote control device side (for example, the lifesaving medical center side) can obtain an advantageous effect that the presence or absence of the robot device seated on the seat can be accurately and quickly known. .
請求項6に記載の発明によれば、ロボット遠隔制御装置側から音声データと画像データ(医療行為者の音声、画像データ)をロボット装置側へ送信することができ、またロボット装置側からも音声データと画像データ(周囲環境や患者を示す音声、画像データ)を送信することができるので、あたかも患者は診察室に居るような状態になるので、遠隔の地にあっても円滑な医療行為を受けることができるという有利な効果が得られる。 According to the sixth aspect of the invention, voice data and image data (medical practitioner's voice, image data) can be transmitted from the robot remote control device side to the robot device side, and voice can also be transmitted from the robot device side. Since data and image data (sound and image data indicating the surrounding environment and patient) can be transmitted, the patient will be in the examination room, so smooth medical care can be performed even in remote locations. The advantageous effect that it can be received is obtained.
請求項7に記載の発明によれば、ロボット装置の近くに居る人がロボット装置(機構部)の走行、操舵を行うことができるので、遠隔から操作する場合と比べて迅速かつ安全に患者を所定の場所に移動させることができるとい有利な効果が得られる。 According to the seventh aspect of the present invention, since a person in the vicinity of the robot apparatus can run and steer the robot apparatus (mechanism), the patient can be quickly and safely compared with the case where it is operated remotely. An advantageous effect can be obtained if it can be moved to a predetermined location.
請求項1に記載の救命支援ロボットシステムは、ロボット遠隔制御装置と、ロボット遠隔制御装置と基地局を介して通信を行うロボット装置とを有し、ロボット遠隔制御装置は制御データに基いてロボット装置を制御する救命支援ロボットシステムであって、ロボット装置は、前記ロボット装置に着座した生体の特性を示す情報である生体情報を得る生体情報センサを有し、ロボット遠隔制御装置は、生体情報を移動体通信により取得して解析することとしたものである。
この構成により、ロボット遠隔制御装置としての例えば救命医療センタが遠方にあっても、ロボット遠隔制御装置側においてロボット装置と通信を行うことができ、またロボット装置から通信回線を介して生体情報を取得することができるので、ロボット遠隔制御装置側に医療行為が可能な人を配置すれば、取得した生体情報を解析してロボット装置側の患者(病人やけが人など)に対してあたかも医者等の医療行為者が近くに居るような医療を行うことができ、必要な活動を医療遠方地域においても安心して行うことができるという作用・効果を有する。
The life support robot system according to
With this configuration, for example, even if a lifesaving medical center as a robot remote control device is far away, communication with the robot device can be performed on the robot remote control device side, and biological information is acquired from the robot device via a communication line. If a person capable of medical practice is placed on the robot remote control device side, the obtained biological information is analyzed and it is as if a medical treatment such as a doctor for a patient (sick or injured person) on the robot device side. It is possible to perform medical treatment such that the actor is in the vicinity, and it is possible to perform necessary activities with peace of mind even in medical remote areas.
請求項2に記載の救命支援ロボットシステムは、請求項1に記載の救命支援ロボットシステムにおいて、ロボット装置は、生体情報センサとして心電図データを生成する心電図センサと血圧データを生成する血圧センサと血液酸素飽和度データを生成する血液酸素飽和度センサと生体情報センサからの生体情報を処理する生体情報処理部とを有し、生体情報処理部は、心電図データに基いて心電図波形データと心拍数データとを、血圧データに基いて血圧値データを、血液酸素飽和度データに基いて血液酸素飽和度値データと脈拍数データとを、生体情報として生成し、ロボット遠隔制御装置は、生体情報を受信して解析する生体情報遠隔制御部を有することとしたものである。
この構成により、ロボット装置から通信回線を介して心電図波形データ、心拍数データ、血圧値データ、血液酸素飽和度値データおよび脈拍数データを生体情報として取得することができ、またロボット遠隔制御装置側では、これらの生体情報に基いて解析を行うことができるので、患者に対して適正な医療を行うことができるという作用・効果を有する。
The life support robot system according to
With this configuration, ECG waveform data, heart rate data, blood pressure value data, blood oxygen saturation value data, and pulse rate data can be acquired as biological information from the robot device via a communication line, and the robot remote control device side Then, since analysis can be performed on the basis of such biological information, there is an effect that appropriate medical care can be performed on a patient.
請求項3に記載の救命支援ロボットシステムは、請求項2に記載の救命支援ロボットシステムにおいて、ロボット遠隔制御装置は、生体情報処理部に対して血圧測定を指令する血圧測定指令部を有し、血圧センサは伸縮自在の円筒状の指挿入部を有し、生体情報処理部は、血圧指令測定に基いて、指挿入部を伸縮して血圧を測定することとしたものである。
この構成により、患者の血圧を自動的に計測することができるので、血圧計測を迅速に行うことができ、患者の容体に迅速に対応することができるという作用・効果を有する。
The life support robot system according to
With this configuration, the patient's blood pressure can be automatically measured, so that blood pressure can be measured quickly and the patient's condition can be handled quickly.
請求項4に記載の救命支援ロボットシステム、請求項1乃至3のいずれか1に記載の救命支援ロボットシステムにおいて、ロボット遠隔制御装置は、ロボット装置の制御データを発生する遠隔用指令装置と、制御データを入力して処理する第1のコンピュータ装置と、制御データを基地局へ送信する第1の移動体通信装置とを有し、ロボット装置は、基地局から送信されてくる制御データを受信する第2の移動体通信装置と、制御データを処理する第2のコンピュータ装置と、第2のコンピュータ装置から制御される移動可能な機構部とを有し、機構部は、制御データに基いて第2のコンピュータ装置により、着座の傾斜角度が制御されるシートと、頭部に被る深さを制御されるフードと、モータ駆動により走行が制御される後輪と、モータ駆動により操舵が制御される前輪とを有することとしたものである。
この構成により、ロボット装置は、生体情報を正確かつ迅速にロボット遠隔制御装置側に送信することができ、またロボット遠隔制御装置側では、これらの生体情報に基いて正確かつ迅速に解析を行うことができるので、患者に対して適正な医療を正確かつ迅速に行うことができ、また、後輪をモータ駆動することにより、患者を所定の場所たとえば医療行為が可能な場所に迅速に運ぶことができるので、患者を迅速に医療側に引き渡すことができるという作用・効果を有する。
The life support robot system according to
With this configuration, the robot apparatus can transmit biological information to the robot remote control device side accurately and quickly, and the robot remote control device side can perform accurate and rapid analysis based on the biological information. Therefore, appropriate medical care can be performed accurately and promptly on the patient, and the patient can be quickly transported to a predetermined place such as a place where medical treatment is possible by driving the motor of the rear wheel. Since it can, it has the effect | action and effect that a patient can be quickly handed over to the medical side.
請求項5に記載の救命支援ロボットシステムは、請求項4に記載の救命支援ロボットシステムにおいて、シートは、着座の有無を検知する光センサを有することとしたものである。
この構成により、ロボット遠隔制御装置側(例えば救命医療センタ側)では、ロボット装置のシートへの着座の有無を正確かつ迅速に知ることができ、着座者に十分に配慮した医療を行うことができるという作用・効果を有する。
The life-saving support robot system according to
With this configuration, the robot remote control device side (for example, the lifesaving medical center side) can accurately and quickly know whether or not the robot device is seated on the seat, and can perform medical care with sufficient consideration for the seated person. It has the action and effect.
請求項6に記載の救命支援ロボットシステムは、請求項1乃至5のいずれか1に記載の救命支援ロボットシステムにおいて、ロボット遠隔制御装置は、画像データと音声データを送信する画像・音声遠隔制御部を有し、ロボット装置は画像データと音声データを送信する画像・音声処理部を有し、画像・音声遠隔制御部と画像・音声処理部とは互いに画像データと音声データを送受信することとしたものである。
この構成により、ロボット遠隔制御装置側から音声データと画像データ(医療行為者の音声、画像データ)をロボット装置側へ送信することができ、またロボット装置側からも音声データと画像データ(周囲環境や患者を示す音声、画像データ)を送信することができるので、あたかも患者は診察室に居るような状態になるので、遠隔の地にあっても円滑な医療行為を安心して受けることができるという作用・効果を有する。
The life support robot system according to
With this configuration, voice data and image data (medical practitioner's voice, image data) can be transmitted from the robot remote control device side to the robot device side, and voice data and image data (ambient environment) can also be transmitted from the robot device side. And voice and image data indicating the patient), so that the patient will be in the examination room, so that even in remote locations, smooth medical care can be received with peace of mind. Has action and effect.
請求項7に記載の救命支援ロボットシステムは、請求項1乃至6のいずれか1に記載の救命支援ロボットシステムにおいて、ロボット装置は、遠隔と手動の切替えが可能な遠隔・手動切替スイッチと、遠隔・手動切替スイッチが手動の状態であるときに走行制御、操舵制御等の制御が手動で可能なリモコン装置とを有することとしたものである。
この構成により、ロボット装置の近くに居る人がロボット装置(機構部)の走行、操舵を行うことができるので、遠隔から操作する場合と比べて迅速かつ安全に患者を所定の場所に移動させることができ、患者にも安心感を与えることができるという作用・効果を有する。
以下、本発明の実施の形態について、図1〜図23を用いて説明する。
The life support robot system according to
With this configuration, since a person near the robot apparatus can run and steer the robot apparatus (mechanism), the patient can be moved to a predetermined place more quickly and safely than when operated remotely. And has the action and effect of giving the patient a sense of security.
Hereinafter, embodiments of the present invention will be described with reference to FIGS.
(実施の形態1)
本発明の実施の形態1による救命支援ロボットシステムの機構について、図18〜図23を用いて説明する。
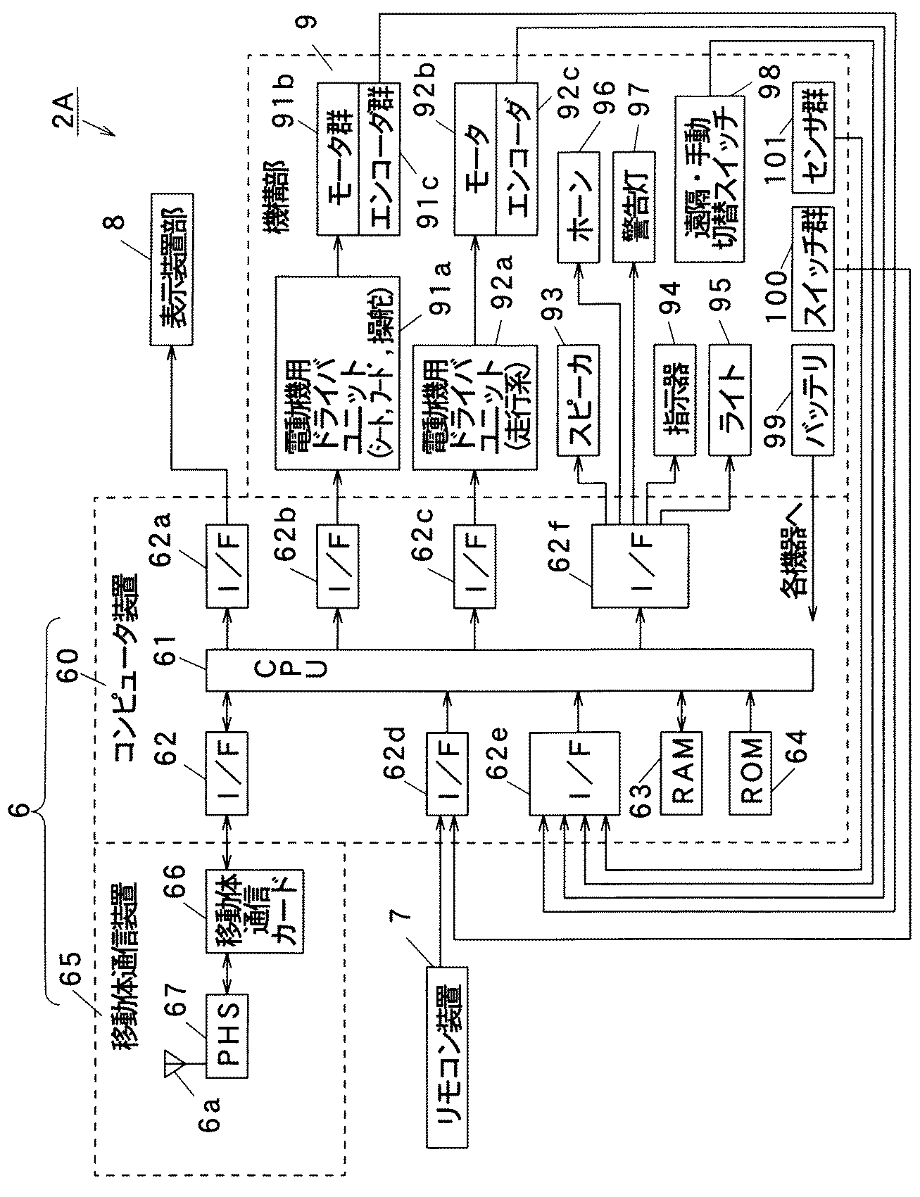
図18は、救命支援ロボットシステムを構成するロボット遠隔制御装置1を示す構成図である。救命支援ロボットシステムは、詳細は後述する図1に示すように、医療可能センタとしてのロボット遠隔制御装置1と移動可能なロボット装置2と基地局28a、28bと公衆回線網29とから成る。また、ロボット遠隔制御装置1は、図1に示すように、制御データを生成し送信するロボット遠隔制御装置本体1Aと画像データや音声データの送受信を行う画像・音声遠隔制御装置1Bと生体情報を受信する生体情報遠隔制御装置1Cとから成る。
(Embodiment 1)
The mechanism of the life support robot system according to the first embodiment of the present invention will be described with reference to FIGS.
FIG. 18 is a configuration diagram showing the robot
図18において、3はロボット遠隔制御装置本体1Aを構成するロボット遠隔制御部、3bはロボット遠隔制御部3に接続されたキーボード、5はロボット遠隔制御装置本体1Aを構成する表示装置部、10は画像・音声遠隔制御装置1Bを構成する画像・音声遠隔制御部、10bは画像・音声遠隔制御部10に接続されたキーボード、11は画像・音声遠隔制御装置1Bを構成するモニタ、12は画像・音声遠隔制御装置1Bを構成するカメラ、13は画像・音声遠隔制御装置1Bを構成するマイクロフォン(マイク)、14a、14bは画像・音声遠隔制御装置1Bを構成するスピーカ(図1ではスピーカ14として示す)、20は生体情報遠隔制御装置1Cを構成する生体情報遠隔制御部、20bは生体情報遠隔制御部20に接続されたキーボード、21は生体情報遠隔制御装置1Cを構成するモニタ、41はロボット遠隔制御装置本体1Aを構成する遠隔用指令装置4(図1参照)の入力装置である。
In FIG. 18, 3 is a robot remote control unit constituting the robot remote control device
図19は、制御データを入力する入力装置41を示す構成図である。
図19において、42は頭部の覆いとなる後述のフード208(図20参照)の深さ(つまりフード208に包囲される頭部の容積)を制御するフード上下スイッチ、43は後述のシート207(図20参照)の傾斜角度(つまりシートのリクライニングの角度)を制御するシート上下スイッチ、44はロボット装置2の走行速度と操舵角を制御するジョイスティックである。
FIG. 19 is a configuration diagram showing an
In FIG. 19,
図20はロボット装置2の外観を示す平面図であり、図21はロボット装置2の外観を示す左側面図である。ロボット装置2は、詳細は後述する図1に示すように、ロボット遠隔制御装置本体1Aと通信を行うロボット制御装置2Aと画像・音声遠隔制御装置1Bと通信を行う画像・音声処理装置2Bと生体情報遠隔制御装置1Cと通信を行う生体情報処理装置2Cとから成る。
FIG. 20 is a plan view showing the external appearance of the
図20、図21において、7はロボット制御装置2Aを構成するロボット制御部6に接続され後述の機構部9の制御が可能なリモコン装置、16は画像・音声処理装置2Bを構成するモニタ、17a、17bは物体の撮像を行うカメラ(図1ではカメラ群17)、18は画像・音声処理装置2Bを構成するマイク、98は遠隔制御と手動制御(リモコン装置7による制御)の切替えを行う遠隔・手動切替スイッチ、201はロボット装置2の前方ARに障害物が有るか否か赤外線の反射により検知する赤外線センサ、202はロボット装置2の前方ARの障害物までの距離をレーザ光の反射により検出するレンジセンサ、203、204は走行車両としてのロボット装置2の方向を示す方向指示器、205、206はロボット装置2の前方を照らす前照灯、207は遠隔用指令装置4の入力装置41により着座の傾斜角度が制御されるシート、207aはシート207への着座の有無(つまり人が座っているか否か)を検知する光センサ(後述する図3のセンサ群101を構成する)、208は人の頭部に被る深さを制御されるフード、209は右の肘掛け部、210は左の肘掛け部、211は救命信号を出力してロボット装置2を非常停止させる救命スイッチ、212、213はロボット装置2の右方向、左方向に障害物が有るか否かを検知する赤外線センサ、214、215はロボット装置2の存在を周囲に知らせるパトライト(警告灯)、216はロボット装置2の後方に障害物が有るか否か赤外線の反射により検知する赤外線センサ、217はロボット装置2の後方の障害物までの距離をレーザ光の反射により検出するレンジセンサ、218、219は走行車両としてのロボット装置2の方向を示す方向指示器、220は走行車両としてのロボット装置2の前輪、221は走行車両としてのロボット装置2の後輪、911はシート207の傾斜角度を変更するためのモータ、912はフード208の位置を変更するためのモータ、913は前輪220の方向を変化させて操舵するためのモータ、92bは後輪221を駆動して走行させるためのモータ、914はシート207の傾斜角度を検出するエンコーダ、915はフード208の位置を検出するエンコーダ、916は前輪220の操舵角を検出するエンコーダ、92cは後輪221の回転速度(つまりロボット装置2の走行速度)を検出するエンコーダである。モータ911、912、913は機構部9のモータ群91b(図3参照)であり、エンコーダ914、915、916は機構部9のエンコーダ群91c(図3参照)である。
20 and 21, 7 is a remote control device that is connected to the
図22(a)は左の肘掛け部210を示す説明図、図22(b)は右の肘掛け部209を示す説明図である。図22において、25a、25b、25cは生体情報処理装置2Cを構成する心電図センサ25(図1参照)の各電極、26は生体情報処理装置2Cを構成する血圧センサ、26aは人指し指が挿入される円筒状の指挿入部、27は生体情報処理装置2Cを構成する血液酸素飽和度センサ、27aは中指が置かれる間隙部、100aはフード208の位置を制御するフード上下スイッチ、100bはシート207の傾斜角度を制御するシート上下スイッチ、100cはロボット装置2を非常停止させる非常停止スイッチであり、スイッチ100a、100b、100cはスイッチ群100(図3参照)を構成する。また、222は人の右手、223は人の左手である。上記心電図センサ25は、電極25aに手首を置き、電極25bに肘を置くことにより、生体情報センサとして心電図データを生成し、血圧センサ26は、人指し指を円筒状の指挿入部26aに挿入することにより、同じく生体情報センサとして血圧データを生成する。この場合、生体情報遠隔制御装置1Cの血圧測定指令部23からの血圧測定指令を受信した生体情報処理装置2Cは、血圧センサ26の指挿入部26aの円筒状部分(カフ部)に空気を導入し半径を収縮させ、次に空気を抜き、空気を抜くことによる空気圧の振動に基づく脈波等を検出することより、血圧センサ26から血圧センサデータを取得する。血液酸素飽和度センサ27は、中指を間隙部27aに置くことにより、同じく生体情報センサとして血液酸素飽和度データを生成する。
FIG. 22A is an explanatory view showing the
図23はリモコン装置7を示す構成図である。
図23において、71はロボット装置2の走行速度と操舵角を制御するジョイスティック、72はロボット装置2を非常停止させる非常停止スイッチ、73はロボット装置2のホーン96(図3参照)を鳴らすためのホーンスイッチ、74はリモコン装置7の動作を停止したり起動するリモコンオンオフスイッチ、75はロボット装置2の前照灯205、206をオンオフするライトオンオフスイッチ、76はロボット装置2に接続するためのケーブルである。
FIG. 23 is a configuration diagram showing the
In FIG. 23, 71 is a joystick for controlling the traveling speed and steering angle of the
ここで、各指令を(表1)、(表2)、(表3)、(表4)に示す。(表1)は生体情報遠隔制御部20における指令を示し、(表2)はロボット遠隔制御部3における指令、(表3)はリモコン装置7における指令、(表4)は機構部9における指令を示す。
このように各構成要素で生成した各指令がアンテナを介して送信される。(表1)の生体情報遠隔制御部20の指令はアンテナ20a(図1参照)を介して生体情報処理装置2Cに送信され、通知音声で示す音声がスピーカ24bから送出される。また、(表2)のロボット遠隔制御部3の指令はアンテナ3a(図1参照)を介してロボット制御装置2Aに送信され、通知音声で示す音声がスピーカ93(図3参照)から送出される。さらに、(表3)のリモコン装置7の指令はケーブル76を介して送信され、通知音声で示す音声がスピーカ93から送出される。さらに、(表4)の機構部9の指令は直接にロボット制御部6に入力され、通知音声で示す音声がスピーカ93から送出される。なお、(表2)及び(表4)の最下段の通知音声「近づかないで下さい。放電します」は、例えばロボット装置が積載した除細動器を使用する場合に周囲の人に通知するための音声である。
なお、救命支援ロボットシステムの詳細動作については、後述の図1〜図17を用いて説明する。
Thus, each command generated by each component is transmitted via the antenna. The command of the biological information
The detailed operation of the life support robot system will be described with reference to FIGS.
救命支援ロボットシステムの制御系統、制御動作について、図1〜図17を用いて説明する。
図1は本発明の実施の形態1による救命支援ロボットシステムを示すブロック図である。
図1において、1は後述のロボット装置2を遠隔地から遠隔制御するロボット遠隔制御装置、2はロボット遠隔制御装置1により制御されると共に画像データや生体情報などをロボット遠隔制御装置1に送信するロボット装置、3はロボット遠隔制御の中心をなすロボット遠隔制御部、3aは送受信用のアンテナ、4は(表2)に示す遠隔用指令信号(制御データ)を生成する遠隔用指令装置、5はロボット装置2の各種状態(たとえばシート207の傾斜角度やフード208の位置、あるいは人がシート207に着座しているか否か)を表示する表示装置部、6はロボット装置全体を制御するロボット制御部、6aは送受信用のアンテナ、7はロボット装置2を手動で制御するためのリモコン装置、8はロボット装置2の各種状態(たとえばシート207の傾斜角度やフード208の位置、あるいは人がシート207に着座しているか否か)を表示する表示装置部、9はモータやエンコーダ、スイッチ群、センサ群、バッテリなどから成る機構部、10はロボット装置2側のカメラ群17で撮像した画像をモニタ11に表示し、マイク18で取り込んだ音声をスピーカ14から送出すると共にカメラ12で撮像した画像やマイク13で取り込んだ音声を送受信用のアンテナ10aを介して送信する画像・音声遠隔制御部、15はロボット装置2に搭載され、ロボット遠隔制御装置1側のカメラ12で撮像した画像をモニタ16に表示し、マイク13で取り込んだ音声をスピーカ19から送出すると共にカメラ群17で撮像した画像やマイク18で取り込んだ音声を送受信用のアンテナ15aを介して送信する画像・音声処理部、20は後述の生体情報処理装置2Cからの生体情報をアンテナ20aで受信して解析する生体情報遠隔制御部、21は各種データ(血圧値や心電図波形など)を表示するモニタ、22は各種データを記録する記録装置、23は血圧測定を生体情報処理装置2Cに指令する血圧測定指令部、24は生体情報遠隔制御装置1Cからの血圧測定指令に基いて後述の血圧センサ26を制御すると共に各センサ(生体情報センサとして心電図データを生成する心電図センサ25、血圧データを生成する血圧センサ26、血液酸素飽和度データを生成する血液酸素飽和度センサ27)からの生体情報を処理する生体情報処理部である。生体情報処理部24は、心電図データに基いて心電図波形データと心拍数データとを、血圧データに基いて血圧値データを、血液酸素飽和度データに基いて血液酸素飽和度値データと脈拍数データとを、生体情報として生成する。また、28a、28bは通信装置としてのロボット遠隔制御装置1とロボット装置2との間で通信を行うための基地局、29は基地局28aと28bとの間に介在する公衆回線網である。
The control system and control operation of the life support robot system will be described with reference to FIGS.
FIG. 1 is a block diagram showing a life-saving support robot system according to
In FIG. 1, 1 is a robot remote control device that remotely controls a
図1において、ロボット遠隔制御部3、アンテナ3a、遠隔用指令装置4、表示装置部5はロボット遠隔制御装置本体1Aを構成し、画像・音声遠隔制御部10、アンテナ10a、モニタ11、カメラ12、マイク13、スピーカ14は画像・音声遠隔制御装置1Bを構成し、生体情報遠隔制御部20、アンテナ20a、モニタ21、記録装置22、血圧測定指令部23は生体情報遠隔制御装置1Cを構成する。また、ロボット制御部6、アンテナ6a、リモコン装置7、表示装置部8、機構部9はロボット制御装置2Aを構成し、画像・音声処理部15、アンテナ15a、モニタ16、カメラ群17、マイク18、スピーカ19は画像・音声処理装置2Bを構成し、生体情報処理部24、アンテナ24a、心電図センサ25、血圧センサ26、血液酸素飽和度センサ27は生体情報処理装置2Cを構成する。
In FIG. 1, a robot
このように構成された救命支援ロボットシステムについて、その動作を説明する。
遠隔用指令装置4から出力されるロボット装置2の制御のための遠隔用指令信号はロボット遠隔制御部3に入力され、ロボット遠隔制御部3からはフォーマット化された制御データとして出力される。ロボット遠隔制御部3から出力された制御データを含む電波信号はアンテナ3a、基地局28a、公衆回線網29、基地局28b、アンテナ6aを介して電波信号としてロボット制御部6に入力され、ロボット制御部6で電波信号は制御データに変換される。ロボット制御部6は、制御データに応じてロボット装置2の機構部9を制御する。
The operation of the life support robot system configured as described above will be described.
A remote command signal for controlling the
図2は、図1の救命支援ロボットシステムを構成するロボット遠隔制御装置本体1Aを示すブロック図である。
図2において、ロボット遠隔制御装置1、ロボット遠隔制御部3、アンテナ3a、遠隔用指令装置4、表示装置部5は図1と同様のものなので、同一符号を付して説明は省略する。30はロボット遠隔制御部3を構成するコンピュータ装置、31は中央処理装置(CPU)、32a,32b,32c,32dはインタフェース部、33はRAM、34はROM、35はロボット遠隔制御部3を構成する移動体通信装置、36は移動体通信カード、37はPHS電話機、41は遠隔用指令装置4を構成する入力装置である。入力装置41は、(表2)に示すように、後輪221に対する前後進の走行指令、前輪220に対する左右回転の操舵指令、シート207に対するシート上下指令(シート傾斜角度指令)、フード208に対するフード上下指令(フード位置指令)、前照灯205、206に対するライト点灯指令、ホーン96(図3参照)に対するホーン鳴動指令、ロボット装置2に対する非常停止指令、ロボット装置2に対する非常停止解除指令を入力するものである。これらの指令は、ロボット遠隔制御装置本体1Aからロボット制御装置2Aに送信され、ロボット装置2を制御する。
FIG. 2 is a block diagram showing a robot remote control apparatus
2, the robot
図3は、図1の救命支援ロボットシステムを構成するロボット制御装置2Aを示すブロック図である。
図3において、ロボット装置2、ロボット制御部6、アンテナ6a、表示装置部8は図1と同様のものなので、同一符号を付して説明は省略する。9は機構部、60はロボット制御部6を構成するコンピュータ装置、61は中央処理装置(CPU)、62、62a〜62fはインタフェース部、63はRAM、64はROM、65はロボット制御部6を構成する移動体通信装置、66は移動体通信カード、67はPHS電話機、7は(表3)に示す指令を行うリモコン装置である。(表2)と(表3)との比較から分かるように、リモコン装置7の指令は、シート207とフード208に対する指令が無い点において、遠隔用指令装置4の入力装置41からの指令とは異なる。
FIG. 3 is a block diagram showing a
In FIG. 3, the
また、機構部9において、91aはCPU61の指令に基いてモータ群91bを駆動する電動機用ドライバユニット、91cはモータ群91bの回転数(すなわちシート207の傾斜角度、フード208の位置、操舵角)を検出するエンコーダ群、92aはCPU61の指令に基いてモータ92bを駆動する電動機用ドライバユニット、92cはモータ92bの回転速度(すなわちロボット装置2の走行速度)を検出するエンコーダ、93は(表2)〜(表4)に示す通知音声を送出するスピーカ、94は方向指示器203、204、218、219(図20参照)を示す指示器、95は前照灯205、206(図20参照)を示すライト、96は警告音を送出するホーン、97はパトライト214、215(図20参照)を示す警告灯、98はロボット遠隔制御装置本体1Aからの遠隔制御とリモコン装置7からの手動制御とを切り替える遠隔・手動切替スイッチ、99はロボット装置2に電力や電源電圧を供給するバッテリ、100はフード上下スイッチ100aやシートスイッチ100b、非常停止スイッチ100c、救命スイッチ211などを示すスイッチ群、101は赤外線センサ201、レンジセンサ202、光センサ207aなどを示すセンサ群である。
In the
図4は、画像・音声遠隔制御装置1Bと画像・音声処理装置2Bと基地局28a、28bと公衆回線網29とから成る画像・音声通信システムを示すブロック図である。
図4において、アンテナ10a、15a、モニタ11、カメラ12、マイク13、スピーカ14、モニタ16、カメラ群17、マイク18、スピーカ19、基地局28a、28b、公衆回線網29は図1と同様のものなので、同一符号を付して説明は省略する。111、151は中央処理装置(CPU)、112、112a〜112d、152、152a〜152dはインタフェース部、113、153は移動体通信カード、114、154は移動体通信装置である。
FIG. 4 is a block diagram showing an image / audio communication system including the image / audio
In FIG. 4,
図5は、生体情報遠隔制御装置1Cと生体情報処理装置2Cと基地局28a、28bと公衆回線網29とから成る生体情報通信システムを示すブロック図である。
図5において、アンテナ20a、24a、モニタ21、記録装置22、血圧測定指令部23、心電図センサ25、血圧センサ26、血液酸素飽和度センサ27、基地局28a、28b、公衆回線網29は図1と同様のものなので、同一符号を付して説明は省略する。121、131は中央処理装置(CPU)、122、122a〜122c、132、132a〜132cはインタフェース部、123、133は移動体通信カード、124、134は移動体通信装置である。
FIG. 5 is a block diagram showing a biological information communication system including the biological information
5,
図6はロボット装置2のシート・フード・操舵の制御装置を示すブロック図であり、図7はロボット装置2の走行の制御装置を示すブロック図である。
図6において、91aは電動機ドライバユニット、921、922、923は電動機ドライバユニット91aにより駆動されるシート用モータ、フード用モータ、操舵用モータであり、モータ921〜923はモータ群91bを構成する。また、図7において、92aは電動機ドライバユニット、92bは電動機ドライバユニット92aにより駆動される走行用モータである。
FIG. 6 is a block diagram showing a seat / hood / steering control device of the
In FIG. 6, 91a is an electric motor driver unit, 921, 922 and 923 are seat motors, hood motors and steering motors driven by the electric
次に、このように構成されたロボット遠隔制御装置1とロボット装置2の動作について、図8〜図17を用いて説明する。図8はロボット遠隔制御装置本体1AのCPU31、生体情報遠隔制御装置1CのCPU121における機能実現手段を示す機能ブロック図であり、図9はロボット遠隔制御装置本体1AのCPU31、生体情報遠隔制御装置1CのCPU121における送信動作を示すフローチャート、図10はロボット制御装置2AのCPU61における機能実現手段を示す機能ブロック図、図11はロボット制御装置2AのCPU61における受信動作を示すフローチャート、図12はロボット制御装置2AのCPU61、画像・音声処理装置2BのCPU151、生体情報処理装置2CのCPU131における送信動作を示すフローチャートであり、CPU151やCPU131における動作は図示しない送信手段により行われる。図13はロボット制御装置2AのCPU61におけるシート、フード制御動作を示すフローチャート、図14はロボット制御装置2AのCPU61における操舵制御動作を示すフローチャート、図15はロボット制御装置2AのCPU61における走行制御動作を示すフローチャートであり、図13の動作は後述のシート制御手段612、フード制御手段613により行われ、図14の動作は後述の操舵制御手段614により、図15の動作は後述の走行制御手段615により行われる。図16は生体情報処理装置2CのCPU131における機能実現手段を示すブロック図であり、図17は生体情報処理装置2CのCPU131における血圧センサ制御動作を示すフローチャートである。
Next, operations of the robot
図8において、311、1211は移動体通信装置35、124から移動体通信(ここではPHS)ダイヤル接続完了信号が入力されたか否かを判定する接続完了判定手段、312、1212は遠隔用指令装置4、血圧測定指令部23から制御データを入力する制御データ入力手段、313、1213は制御データを移動体通信装置35、124に出力する(したがってロボット装置2へ制御データを送信する)制御データ出力手段、314、1214は制御データの出力を終了したか否かを判定する終了判定手段である。
8, reference numerals 311 and 1211 denote connection completion judging means for judging whether or not a mobile communication (PHS) dial connection completion signal is inputted from the
また、図10において、61はコンピュータ装置60のCPU、611はロボット遠隔制御装置本体1Aからの受信データを読み取る受信データ読取り手段、612は読み取った受信データに基いてシート207を制御するシート制御手段、613は読み取った受信データに基いてフード208を制御するフード制御手段、614は読み取った受信データに基いて操舵を制御する操舵制御手段、615は読み取った受信データに基いて走行を制御する走行制御手段、616はロボット制御装置2Aからロボット遠隔制御装置本体1Aへの送信動作を行う送信手段である。
In FIG. 10, 61 is a CPU of the
まずCPU31について、その動作を図9を用いて説明する。
図9において、まず、接続完了判定手段311は、図2に示す移動体通信装置35からのダイヤル接続が完了したことを示すPHSダイヤル接続完了信号が移動体通信カード36、インタフェース部32aを介してCPU31へ通知されたか否かを判定し、通知された場合には制御可能と判定し、制御可能であることを表示装置部5に表示し、通知なしの場合には待機状態になる(S1)。次に、制御データ入力手段312は、遠隔用指令装置4からの制御データを入力する(S2)。次に、制御データ出力手段313は、制御データを移動体通信装置35に出力する、すなわちロボット制御装置2Aへ制御データを送信する(S3)。終了判定手段314は、制御データの出力を終了したか否かを判定する(S4)。
First, the operation of the
9, first, the connection completion determination means 311 receives a PHS dial connection completion signal indicating that the dial connection from the
次に、CPU121について、その動作を図9を用いて説明する。
図9において、まず、接続完了判定手段1211は、図2に示す移動体通信装置124からのダイヤル接続が完了したことを示すPHSダイヤル接続完了信号が移動体通信カード123、インタフェース部122を介してCPU121へ通知されたか否かを判定し、通知された場合には制御可能と判定し、制御可能であることをモニタ21に表示し、通知なしの場合には待機状態になる(S1)。次に、制御データ入力手段1212は、血圧測定指令部23からの制御データを入力する(S2)。次に、制御データ出力手段1213は、制御データを移動体通信装置124に出力する、すなわち生体情報処理装置2Cへ制御データを送信する(S3)。終了判定手段1214は、制御データの出力を終了したか否かを判定する(S4)。
Next, the operation of the
In FIG. 9, first, the connection completion determination means 1211 receives a PHS dial connection completion signal indicating that the dial connection from the
次にCPU61について、その動作を図11〜図15を用いて説明する。
まず図11を用いて、CPU61の主要動作を説明する。図11において、受信データ読取り手段611は移動体通信装置65からの受信データを各種制御データとして読み取り(S11)、シート制御手段612、フード制御手段613、操舵制御手段614、走行制御手段615はシート制御(S12)、フード制御(S13)、操舵制御(S14)、走行制御(S15)を行う。最後に送信手段616はセンサーデータの送信動作を行う(S16)。
Next, the operation of the
First, the main operation of the
図12を用いて、図11のステップS16の送信動作(送信手段616の動作)を説明する。
図12において、ロボット装置2の機構部9のセンサ群101からのセンサ信号を入力し(S21)、そのセンサ信号をフォーマット化したセンサデータとして移動体通信装置65へ出力する(S22)。ステップS21、S22の動作は全てのセンサ信号の処理が完了するまで行われる(S23)。
The transmission operation in step S16 in FIG. 11 (the operation of the transmission unit 616) will be described with reference to FIG.
In FIG. 12, the sensor signal from the
図13を用いて、ステップS12、S13のシート制御動作(シート制御手段612の動作)、フード制御動作(フード制御手段613の動作)について説明する。
図13において、ロボット制御装置2Aへの指令を遠隔用指令装置4から行う遠隔制御かロボット装置2側の手動制御(リモコン装置7による制御)かを判定し(S31)、手動制御と判定した場合にはこの処理を終了し、遠隔制御と判定した場合、PHSにより制御データを受信する(S32)。次に、モータ群91bのモータ911、912(図21参照)について、シート、フードの各々、動作禁止の有無について判定し(S33)、動作禁止が有る場合にはこの処理を終了する。動作禁止が無いと判定した場合には次に位置指示の有無を判定する(S34)。位置指示がない場合にはこの処理を終了する。位置指示がある場合は、次に、現在の位置に対する位置指示の偏差量が正か負かを判定する(S35)。偏差量が正の場合には、電動機用ドライバユニット91aに対して、正(モータ正転、シートを起こす方向、フードを上げる方向)を指示し(S36)、負の場合には逆(モータ逆転、シートを倒す方向、フードを下げる方向)を指示する(S37)。次に、速度指示の有無を判定し(S38)、速度指示が有る場合には偏差量に応じた速度を指示し、速度指示が無い場合にはこの処理を終了する(S39)。最後に、(表2)に示すような通知音声を出力する(S40)。
The seat control operation (the operation of the seat control unit 612) and the hood control operation (the operation of the hood control unit 613) in steps S12 and S13 will be described with reference to FIG.
In FIG. 13, it is determined whether the remote control is that the
図14を用いて、ステップS14の操舵制御動作(操舵制御手段614の動作)について説明する。
図14において、ロボット制御装置2Aへの指令を遠隔用指令装置4から行う遠隔制御かロボット装置2側の手動制御かを判定し(S31)、遠隔制御と判定した場合、PHSにより制御データを受信する(S32)。次に、モータ群91bのモータ913(図21参照)について、操舵の動作禁止の有無について判定し(S33)、動作禁止が有る場合にはこの処理を終了する。動作禁止が無いと判定した場合には次に位置指示の有無を判定する(S34)。位置指示がない場合にはこの処理を終了する。位置指示がある場合は、次に、現在の位置に対する位置指示の偏差量が正か負かを判定する(S35)。偏差量が正の場合には、電動機用ドライバユニット91aに対して、正(モータ正転、右操舵)を指示し(S36)、負の場合には逆(モータ逆転、左操舵)を指示する(S37)。次に、速度指示の有無を判定し(S38)、速度指示が有る場合には偏差量に応じた速度を指示し、速度指示が無い場合にはこの処理を終了する(S39)。最後に、(表2)に示すような通知音声を出力する(S40)。
The steering control operation in step S14 (operation of the steering control unit 614) will be described with reference to FIG.
In FIG. 14, it is determined whether the remote control is performed from the
ステップS31で手動制御(リモコン装置7による制御)であると判定した場合は、リモコン装置7を起動し(S41)、操舵の動作禁止の有無について判定し、動作禁止が有る場合はこの処理を終了する(S42)。動作禁止が無い場合には次に位置指示の有無について判定する(S43)。位置指示がない場合にはこの処理を終了する。位置指示がある場合は、次に、偏差量が正か負かを判定する(S44)。偏差量が正の場合には、電動機用ドライバユニット91aに対して正を指示し(S45)、負の場合には逆を指示する(S46)。次に、速度指示の有無を判定し(S47)、速度指示が有る場合には偏差量に応じた速度を指示する(S48)。最後に、(表3)に示すような通知音声を出力する(S40)。
If it is determined in step S31 that manual control (control by the remote control device 7) is determined, the
図15を用いて、ステップS15の走行制御動作(走行制御手段615の動作)について説明する。
図15において、まず、ロボット制御装置2Aへの指令を遠隔用指令装置4から行う遠隔制御かリモコン装置7による手動制御かを判定し(S51)、遠隔制御と判定した場合、PHSにより制御データを受信する(S52)。次に、走行禁止の有無について判定し(S53)、走行指示の有無(モータ92bの動作禁止)について判定する(S54)。走行禁止が有る場合にはその旨を報知して処理を終了し(S60a)、走行指示がない場合には直ちに処理を終了する。走行禁止が無く、走行指示がある場合は、次に、前進か否かを判定する(S55)。前進の場合には、電動機用ドライバユニット92aに対して前進を指示し(S56)、前進でない場合には後退を指示する(S57)。次に、走行速度についての速度指示の有無を判定し(S58)、速度指示が有る場合には指示速度を出力する(S59)。最後に、(表2)に示すような通知音声を出力する(S60)。
The travel control operation in step S15 (the operation of the travel control unit 615) will be described with reference to FIG.
In FIG. 15, first, it is determined whether the remote control device 4A is instructed by the
ステップS51で手動制御であると判定した場合は、図1、図3に示すリモコン装置7を起動し(S61)、走行禁止の有無について判定し(S62)、走行指示の有無について判定する(S63)。走行禁止が有る場合にはその旨を報知して処理を終了し(S69)、走行指示がない場合には直ちに処理を終了する。走行禁止が無く、走行指示がある場合は、次に、前進か否かを判定する(S64)。前進の場合には、電動機用ドライバユニット92aに対して前進を指示し(S65)、前進でない場合には後退を指示する(S66)。次に、速度指示の有無を判定し(S67)、速度指示が有る場合には指示速度を出力する(S68)。最後に、(表2)に示すような通知音声を出力する(S69)。
If it is determined in step S51 that the control is manual, the
図12を用いて、画像・音声処理装置2BのCPU151および生体情報処理装置2CのCPU131における送信動作(図示しない送信手段による動作)を説明する。まず画像・音声処理装置2BのCPU151における送信動作を説明する。
図12において、カメラ群17、マイク18(図12ではセンサ群として示す)からの画像信号、音声信号(図12ではセンサ信号として示す)を入力し(S21)、そのセンサ信号をフォーマット化したセンサデータとして移動体通信装置154へ出力する(S22)。ステップS21、S22の動作は全てのセンサ信号の処理が完了するまで行われる(S23)。これらのセンサ信号は画像・音声遠隔制御装置1Bで受信される。
With reference to FIG. 12, a transmission operation (operation by a transmission unit not shown) in the
In FIG. 12, image signals and audio signals (shown as sensor signals in FIG. 12) from the
次に、生体情報処理装置2CのCPU131における送信動作を説明する。
図12において、センサ25,26,27からのセンサ信号を入力し(S21)、そのセンサ信号をフォーマット化したセンサデータとして移動体通信装置134へ出力する(S22)。ステップS21、S22の動作は全てのセンサ信号の処理が完了するまで行われる(S23)。これらのセンサ信号は生体情報遠隔制御装置1Cで受信される。
なお、CPU131は、センサ25,26,27からのから入力されたセンサ信号に基づく生体情報の値(血圧や心拍数、血液酸素飽和度等)が予め設定された生体情報正常範囲内の値であるか否かを判定し、生体情報の値が生体情報正常範囲外の値である場合には、異常信号をセンサデータと共に移動体通信装置134に出力するようにしてもよい。例えば、血圧の正常範囲を60mmHg〜120mmHgに設定した場合にセンサ26による血圧の測定値が60mmHg以下又は120mmHg以上であった場合は、その測定値を示すセンサデータと共に異常信号を出力する。生体情報遠隔制御装置1Cにおいて、異常信号が受信されると対応するセンサデータについて異常である旨がモニタ21等に表示される等して報知される。これにより、ロボット装置2側の患者の血圧や心拍数、血液酸素飽和度等に異常がある場合に、それをロボット遠隔制御装置1側の医療行為が可能な人に迅速に察知させることができ、迅速な救命処置等を行うことができる。
Next, a transmission operation in the
In FIG. 12, sensor signals from the
Note that the
図16は、生体情報処理装置2CのCPU131における血圧センサ制御を示すブロック図である。図16において、1311は生体情報遠隔制御装置1Cからの制御データ(血圧測定指令データ)を受信して読み取る受信データ読取り手段、1312は(表1)に示すような通知音声データを出力する音声出力手段、1313は読み取った受信データ(制御データ)に基いて血圧センサ26の指挿入部26a(図22(a)参照)を制御する血圧センサ制御手段である。
このように構成されたCPU131について、その動作を図17を用いて説明する。
図17において、まず受信データ読取り手段1311は生体情報遠隔制御装置1Cからの血圧測定指令データを受信して読み取り(S71)、次に音声出力手段1312は(表1)に示すような通知音声データをスピーカ24bへ出力し、スピーカ24bはその通知音声を送出し(S72)、血圧センサ制御手段1312はステップS71で読み取った血圧測定指令データに基いて指挿入部26aを制御して血圧センサデータを取得する(S73)。
FIG. 16 is a block diagram showing blood pressure sensor control in the
The operation of the
In FIG. 17, the received data reading means 1311 first receives and reads the blood pressure measurement command data from the biological information
以上のように本実施の形態によれば、ロボット遠隔制御装置1と、ロボット遠隔制御装置1と基地局28a、28bを介して通信を行うロボット装置2とを有し、ロボット遠隔制御装置1は制御データに基いてロボット装置2を制御する救命支援ロボットシステムであって、ロボット装置2は、ロボット装置2に着座した生体の特性を示す情報である生体情報を得る生体情報センサ25、26、27を有し、ロボット遠隔制御装置1は、生体情報を移動体通信により取得して解析することにより、ロボット遠隔制御装置1としての例えば救命医療センタが遠方にあっても、ロボット遠隔制御装置1側においてロボット装置2と通信を行うことができ、またロボット装置2から通信回線を介して生体情報を取得することができるので、ロボット遠隔制御装置1側に医療行為が可能な人を配置すれば、取得した生体情報を解析してロボット装置2側の患者(病人やけが人など)に対してあたかも医者等の医療行為者が近くに居るような医療を行うことができ、必要な活動を医療遠方地域においても安心して行うことができる。
As described above, according to the present embodiment, the robot
また、ロボット装置2は、生体情報センサとして心電図データを生成する心電図センサ25と血圧データを生成する血圧センサ26と血液酸素飽和度データを生成する血液酸素飽和度センサ27と生体情報センサからの生体情報を処理する生体情報処理部24とを有し、生体情報処理部24は、心電図データに基いて心電図波形データと心拍数データとを、血圧データに基いて血圧値データを、血液酸素飽和度データに基いて血液酸素飽和度値データと脈拍数データとを、生体情報として生成し、ロボット遠隔制御装置1は、生体情報を受信して解析する生体情報遠隔制御部20を有することにより、ロボット装置2から通信回線を介して心電図波形データ、心拍数データ、血圧値データ、血液酸素飽和度値データおよび脈拍数データを生体情報として取得することができ、またロボット遠隔制御装置1側では、これらの生体情報に基いて解析を行うことができるので、患者に対して適正な医療を行うことができる。
The
さらに、ロボット遠隔制御装置1は、生体情報処理部24に対して血圧測定を指令する血圧測定指令部23を有し、血圧センサ26は伸縮自在の円筒状の指挿入部26aを有し、生体情報処理部24は、血圧指令測定に基いて、指挿入部26aを伸縮して血圧を測定することにより、患者の血圧を自動的に計測することができるので、血圧計測を迅速に行うことができ、患者の容体に迅速に対応することができる。
Furthermore, the robot
さらに、ロボット遠隔制御装置1は、ロボット装置2の制御データを発生する遠隔用指令装置4と、制御データを入力して処理する第1のコンピュータ装置30と、制御データを基地局へ送信する第1の移動体通信装置35とを有し、ロボット装置2は、基地局から送信されてくる制御データを受信する第2の移動体通信装置65と、制御データを処理する第2のコンピュータ装置60と、第2のコンピュータ装置60から制御される移動可能な機構部9とを有し、機構部9は、制御データに基いて第2のコンピュータ装置60により、着座の傾斜角度が制御されるシート207と、頭部に被る深さを制御されるフード208と、モータ駆動により走行が制御される後輪221と、モータ駆動により操舵が制御される前輪220とを有することにより、ロボット装置2は、生体情報を正確かつ迅速にロボット遠隔制御装置1側に送信することができ、またロボット遠隔制御装置1側では、これらの生体情報に基いて正確かつ迅速に解析を行うことができるので、患者に対して適正な医療を正確かつ迅速に行うことができ、また、後輪221をモータ駆動することにより、患者を所定の場所たとえば医療行為が可能な場所に迅速に運ぶことができるので、患者を迅速に医療側に引き渡すことができる。
The robot
さらに、シート207は、着座の有無を検知する光センサ207aを有することにより、ロボット遠隔制御装置1側(例えば救命医療センタ側)では、ロボット装置2のシート207への着座の有無を正確かつ迅速に知ることができ、着座者に十分に配慮した医療を行うことができる。
さらに、ロボット遠隔制御装置1は、画像データと音声データを送信する画像・音声遠隔制御部1Bを有し、ロボット装置2は画像データと音声データを送信する画像・音声処理部2Bを有し、画像・音声遠隔制御部1Bと画像・音声処理部2Bとは互いに画像データと音声データを送受信することにより、ロボット遠隔制御装置1側から音声データと画像データ(医療行為者の音声、画像データ)をロボット装置2側へ送信することができ、またロボット装置2側からも音声データと画像データ(周囲環境や患者を示す音声、画像データ)を送信することができるので、あたかも患者は診察室に居るような状態になるので、遠隔の地にあっても円滑な医療行為を安心して受けることができる。
Further, the
Further, the robot
さらに、ロボット装置2は、遠隔と手動の切替えが可能な遠隔・手動切替スイッチ98と、遠隔・手動切替スイッチ98が手動の状態であるときに走行制御、操舵制御等の制御が手動で可能なリモコン装置7とを有することにより、ロボット装置2の近くに居る人がロボット装置(機構部)の走行、操舵を行うことができるので、遠隔から操作する場合と比べて迅速かつ安全に患者を所定の場所に移動させることができ、患者にも安心感を与えることができる。
Further, the
本発明は、ロボット遠隔制御装置から送信された制御データに基いてロボット装置の遠隔制御を行う救命支援ロボットシステムに関し、特に本発明によれば、医療遠方地域において医療可能センタからの医療行為が可能であると共に、患者を迅速に運ぶことができる救命支援ロボットシステムが得られる。 The present invention relates to a life-saving support robot system that performs remote control of a robot apparatus based on control data transmitted from a robot remote control apparatus. In particular, according to the present invention, a medical action can be performed from a medical center in a medical remote area. In addition, a life-saving support robot system capable of quickly carrying a patient is obtained.
1 ロボット遠隔制御装置
1A ロボット遠隔制御装置本体
1B 画像・音声遠隔制御装置
1C 生体情報遠隔制御装置
2 ロボット装置
2A ロボット制御装置
2B 画像・音声処理装置
2C 生体情報処理装置
3 ロボット遠隔制御部
3a、6a、10a、15a、20a、24a アンテナ
3b、10b、20b キーボード
4 遠隔用指令装置
5、8 表示装置部
6 ロボット制御部
7 リモコン装置
9 機構部
10 画像音声遠隔制御部
11、16、21 モニタ
12、17a、17b カメラ
13、18 マイク
14、14a、14b、19、24b、93 スピーカ
15 画像音声処理部
17 カメラ群
20 生体情報遠隔制御部
22 記録装置
23 血圧測定指令部
24 生体情報処理部
25 心電図センサ
25a、25b、25c 電極
26 血圧センサ
26a 指挿入部
27 血液酸素飽和度センサ
27a 間隙部
28a、28b 基地局
29 公衆回線網
30、60 コンピュータ装置
31、61、111、121、131、151 中央処理装置(CPU)
32a,32b,32c,62、62a,62b,62c,62d,62e,62f,112,112a,112b,112c,112d,152,152a,152b,152c,152d、122,122a,122b,122c,132,132a,132b,132c,132d インタフェース部
33、63 RAM
34、64 ROM
35、65、114、124、134、154 移動体通信装置
36、66、113、123、133、153 移動体通信カード
37、67 PHS電話機
41 入力装置
42 フード上下スイッチ
43 シート上下スイッチ
44、71 ジョイスティック
72 非常停止スイッチ
73 ホーンスイッチ
74 リモコンオンオフスイッチ
75 ライトオンオフスイッチ
76 ケーブル
91a、92a 電動機用ドライバユニット
91b モータ群
91c エンコーダ群
92b モータ
92c エンコーダ
94 指示器
95 ライト
96 ホーン
97 警告灯
98 遠隔・手動切替スイッチ
99 バッテリ
100 スイッチ群
100a フード上下スイッチ
100b シート上下スイッチ
100c 非常停止スイッチ
101 センサ群
201、212、213、216 赤外線センサ
202、217 レンジセンサ
203、204、218、219 方向指示器
205、206 前照灯
207 シート
207a 光センサ
208 フード
209、210 肘掛け部
211 救命スイッチ
214、215 パトライト(警告灯)
311、1211 接続完了判定手段
312、1212 制御データ入力手段
313、1213 制御データ出力手段
314、1214 終了判定手段
611、1311 受信データ読取り手段
612 シート制御手段
613 フード制御手段
614 操舵制御手段
615 走行制御手段
616 送信手段
911、912、913 モータ
914、915、916 エンコーダ
1312 音声出力手段
1313 血圧センサ制御手段
DESCRIPTION OF
32a, 32b, 32c, 62, 62a, 62b, 62c, 62d, 62e, 62f, 112, 112a, 112b, 112c, 112d, 152, 152a, 152b, 152c, 152d, 122, 122a, 122b, 122c, 132, 132a, 132b, 132c,
34, 64 ROM
35, 65, 114, 124, 134, 154
311, 1211 Connection completion determination means 312, 1212 Control data input means 313, 1213 Control data output means 314, 1214 End determination means 611, 1311 Received data reading means 612 Seat control means 613 Hood control means 614 Steering control means 615 Travel control means 616 Transmission means 911, 912, 913
Claims (7)
前記ロボット装置は、前記ロボット装置に着座した生体の特性を示す情報である生体情報を得る生体情報センサを有し、
前記ロボット遠隔制御装置は、前記生体情報を移動体通信により取得して解析することを特徴とする救命支援ロボットシステム。 A robot remote control device; and a robot device that communicates with the robot remote control device via a base station. The robot remote control device is a life-saving support robot system that controls the robot device based on control data. And
The robot apparatus includes a biological information sensor that obtains biological information that is information indicating characteristics of a living body seated on the robot apparatus.
The life support robot system, wherein the robot remote control device acquires and analyzes the biological information through mobile communication.
前記ロボット遠隔制御装置は、前記生体情報を受信して解析する生体情報遠隔制御部を有することを特徴とする請求項1に記載の救命支援ロボットシステム。 The robot apparatus processes, as the biological information sensor, an electrocardiogram sensor that generates electrocardiogram data, a blood pressure sensor that generates blood pressure data, a blood oxygen saturation sensor that generates blood oxygen saturation data, and biological information from the biological information sensor A biometric information processing unit configured to perform electrocardiogram waveform data and heart rate data based on the electrocardiogram data, blood pressure value data based on the blood pressure data, and blood oxygen saturation data. Blood oxygen saturation value data and pulse rate data as the biological information,
The life support robot system according to claim 1, wherein the robot remote control device includes a biological information remote control unit that receives and analyzes the biological information.
前記血圧センサは伸縮自在の円筒状の指挿入部を有し、
前記生体情報処理部は、前記血圧指令測定に基いて、前記指挿入部を伸縮して血圧を測定することを特徴とする請求項2に記載の救命支援ロボットシステム。 The robot remote control device has a blood pressure measurement command unit that commands blood pressure measurement to the biological information processing unit,
The blood pressure sensor has a telescopic cylindrical finger insertion part,
The life support robot system according to claim 2, wherein the biological information processing unit measures blood pressure by expanding and contracting the finger insertion unit based on the blood pressure command measurement.
前記ロボット装置は、基地局から送信されてくる前記制御データを受信する第2の移動体通信装置と、前記制御データを処理する第2のコンピュータ装置と、前記第2のコンピュータ装置から制御される移動可能な機構部とを有し、
前記機構部は、前記制御データに基いて前記第2のコンピュータ装置により、着座の傾斜角度が制御されるシートと、頭部に被る深さを制御されるフードと、モータ駆動により走行が制御される後輪と、モータ駆動により操舵が制御される前輪とを有することを特徴とする請求項1乃至3のいずれか1に記載の救命支援ロボットシステム。 The robot remote control device includes a remote command device that generates control data of the robot device, a first computer device that inputs and processes the control data, and a first computer that transmits the control data to a base station. A mobile communication device,
The robot apparatus is controlled by a second mobile communication apparatus that receives the control data transmitted from a base station, a second computer apparatus that processes the control data, and the second computer apparatus. And a movable mechanism part,
The mechanism section is controlled by the second computer device based on the control data, a seat whose seating inclination angle is controlled, a hood whose depth is covered by the head, and a motor driven. The life support robot system according to any one of claims 1 to 3, further comprising: a rear wheel having a front wheel and a front wheel whose steering is controlled by a motor drive.
Priority Applications (1)
| Application Number | Priority Date | Filing Date | Title |
|---|---|---|---|
| JP2005158222A JP2006326229A (en) | 2005-05-30 | 2005-05-30 | Lifesaving support robot system |
Applications Claiming Priority (1)
| Application Number | Priority Date | Filing Date | Title |
|---|---|---|---|
| JP2005158222A JP2006326229A (en) | 2005-05-30 | 2005-05-30 | Lifesaving support robot system |
Publications (2)
| Publication Number | Publication Date |
|---|---|
| JP2006326229A true JP2006326229A (en) | 2006-12-07 |
| JP2006326229A5 JP2006326229A5 (en) | 2008-07-31 |
Family
ID=37548549
Family Applications (1)
| Application Number | Title | Priority Date | Filing Date |
|---|---|---|---|
| JP2005158222A Pending JP2006326229A (en) | 2005-05-30 | 2005-05-30 | Lifesaving support robot system |
Country Status (1)
| Country | Link |
|---|---|
| JP (1) | JP2006326229A (en) |
Cited By (4)
| Publication number | Priority date | Publication date | Assignee | Title |
|---|---|---|---|---|
| JP2012506320A (en) * | 2008-10-21 | 2012-03-15 | インタッチ・テクノロジーズ・インコーポレーテッド | Telepresence robot with camera boom |
| CN105310686A (en) * | 2015-08-24 | 2016-02-10 | 华南理工大学 | Health-service robot capable of achieving electrocardiograph detection |
| JP2021192938A (en) * | 2020-06-09 | 2021-12-23 | 株式会社日立ビルシステム | Operation stop release device, and method |
| JP7565858B2 (en) | 2021-04-15 | 2024-10-11 | 本田技研工業株式会社 | Emergency medical system, emergency medical system control method, and program |
Citations (9)
| Publication number | Priority date | Publication date | Assignee | Title |
|---|---|---|---|---|
| JPH0549603A (en) * | 1991-08-22 | 1993-03-02 | Fujitsu General Ltd | Health management system |
| JPH08191779A (en) * | 1995-01-13 | 1996-07-30 | Toto Ltd | Toilet paper holder with sphygmomanometer |
| JPH11197185A (en) * | 1998-01-08 | 1999-07-27 | Hitachi Ltd | Sitting position support device |
| JP2000279450A (en) * | 1999-03-31 | 2000-10-10 | Matsushita Electric Works Ltd | Wheelchair provided with sitting sensor |
| JP2001070356A (en) * | 1999-09-06 | 2001-03-21 | Keiogijuku | Walking assistance electric wheelchair |
| JP2003085679A (en) * | 2001-07-03 | 2003-03-20 | Amenitex Inc | Device for detecting abnormality of person seated in wheelchair |
| JP2003270384A (en) * | 2002-03-13 | 2003-09-25 | Hitachi Ltd | Rescue robot system |
| JP2003299674A (en) * | 2002-04-12 | 2003-10-21 | Masasuke Shiraishi | Operation table device |
| JP2004337556A (en) * | 2003-05-13 | 2004-12-02 | Yasuo Fujii | Robot with means to obtain biological information and function to manage health care |
-
2005
- 2005-05-30 JP JP2005158222A patent/JP2006326229A/en active Pending
Patent Citations (9)
| Publication number | Priority date | Publication date | Assignee | Title |
|---|---|---|---|---|
| JPH0549603A (en) * | 1991-08-22 | 1993-03-02 | Fujitsu General Ltd | Health management system |
| JPH08191779A (en) * | 1995-01-13 | 1996-07-30 | Toto Ltd | Toilet paper holder with sphygmomanometer |
| JPH11197185A (en) * | 1998-01-08 | 1999-07-27 | Hitachi Ltd | Sitting position support device |
| JP2000279450A (en) * | 1999-03-31 | 2000-10-10 | Matsushita Electric Works Ltd | Wheelchair provided with sitting sensor |
| JP2001070356A (en) * | 1999-09-06 | 2001-03-21 | Keiogijuku | Walking assistance electric wheelchair |
| JP2003085679A (en) * | 2001-07-03 | 2003-03-20 | Amenitex Inc | Device for detecting abnormality of person seated in wheelchair |
| JP2003270384A (en) * | 2002-03-13 | 2003-09-25 | Hitachi Ltd | Rescue robot system |
| JP2003299674A (en) * | 2002-04-12 | 2003-10-21 | Masasuke Shiraishi | Operation table device |
| JP2004337556A (en) * | 2003-05-13 | 2004-12-02 | Yasuo Fujii | Robot with means to obtain biological information and function to manage health care |
Cited By (5)
| Publication number | Priority date | Publication date | Assignee | Title |
|---|---|---|---|---|
| JP2012506320A (en) * | 2008-10-21 | 2012-03-15 | インタッチ・テクノロジーズ・インコーポレーテッド | Telepresence robot with camera boom |
| CN105310686A (en) * | 2015-08-24 | 2016-02-10 | 华南理工大学 | Health-service robot capable of achieving electrocardiograph detection |
| JP2021192938A (en) * | 2020-06-09 | 2021-12-23 | 株式会社日立ビルシステム | Operation stop release device, and method |
| JP7493388B2 (en) | 2020-06-09 | 2024-05-31 | 株式会社日立ビルシステム | Operation suspension release device and method |
| JP7565858B2 (en) | 2021-04-15 | 2024-10-11 | 本田技研工業株式会社 | Emergency medical system, emergency medical system control method, and program |
Similar Documents
| Publication | Publication Date | Title |
|---|---|---|
| CN104783736B (en) | Robot cleaner and people's treatment method using the robot cleaner | |
| US6485418B2 (en) | Health monitoring system | |
| US20110118898A1 (en) | Rehabilitation Device | |
| US8532841B2 (en) | Rehabilitation device | |
| JP4512830B2 (en) | Communication robot | |
| CN221862913U (en) | Video conferencing systems for vehicles | |
| JP2019159193A (en) | Behavior support device for visually impaired person | |
| CN107322592B (en) | Intelligent control method for endowment robot | |
| KR20170127592A (en) | Health care robot | |
| KR20170127591A (en) | Health care robot | |
| JP4247149B2 (en) | robot | |
| JP2006326229A (en) | Lifesaving support robot system | |
| JP2006279796A (en) | Cellphone, holder therefor, program therefor, and semiconductor device | |
| CN110406347A (en) | A kind of control method and system of on-board air conditioner | |
| JP2007152470A (en) | Robot with self-diagnostic function | |
| JPH11128174A (en) | Emergency report device and system | |
| JP7133733B1 (en) | ROBOT SYSTEM, ROBOT OPERATING METHOD, AND ROBOT OPERATING PROGRAM | |
| JP7630342B2 (en) | Emergency medical system, emergency medical robot, emergency medical system control method, and program | |
| KR20030015651A (en) | Remote health care system | |
| JP7687850B2 (en) | TRANSPORTATION MEANS DECISION SYSTEM, TRANSPORTATION MEANS DECISION METHOD, AND PROGRAM | |
| KR20010095514A (en) | Toy system which have medical function by remote control | |
| KR20180060463A (en) | Patient assistant apparatus for hospital | |
| JP7565858B2 (en) | Emergency medical system, emergency medical system control method, and program | |
| JP2022100816A (en) | Watch support system | |
| KR102312358B1 (en) | system for self-determination of mild cognitive impairment and prevention training using user-performed respiratory mission results |
Legal Events
| Date | Code | Title | Description |
|---|---|---|---|
| A621 | Written request for application examination |
Free format text: JAPANESE INTERMEDIATE CODE: A621 Effective date: 20080528 |
|
| A521 | Written amendment |
Free format text: JAPANESE INTERMEDIATE CODE: A523 Effective date: 20080612 |
|
| A131 | Notification of reasons for refusal |
Free format text: JAPANESE INTERMEDIATE CODE: A131 Effective date: 20110203 |
|
| A02 | Decision of refusal |
Free format text: JAPANESE INTERMEDIATE CODE: A02 Effective date: 20110929 |
