[go: up one dir, main page]

JP2006287659A - Antenna device - Google Patents

Antenna device Download PDF

Info

Publication number
JP2006287659A
JP2006287659A JP2005105446A JP2005105446A JP2006287659A JP 2006287659 A JP2006287659 A JP 2006287659A JP 2005105446 A JP2005105446 A JP 2005105446A JP 2005105446 A JP2005105446 A JP 2005105446A JP 2006287659 A JP2006287659 A JP 2006287659A
Authority
JP
Japan
Prior art keywords
antenna
antenna unit
spiral
resonance frequency
child
Prior art date
Legal status (The legal status is an assumption and is not a legal conclusion. Google has not performed a legal analysis and makes no representation as to the accuracy of the status listed.)
Pending
Application number
JP2005105446A
Other languages
Japanese (ja)
Inventor
Shinichiro Mochizuki
慎一郎 望月
Hiroyuki Takashina
博之 高科
Current Assignee (The listed assignees may be inaccurate. Google has not performed a legal analysis and makes no representation or warranty as to the accuracy of the list.)
TDK Corp
Original Assignee
TDK Corp
Priority date (The priority date is an assumption and is not a legal conclusion. Google has not performed a legal analysis and makes no representation as to the accuracy of the date listed.)
Filing date
Publication date
Application filed by TDK Corp filed Critical TDK Corp
Priority to JP2005105446A priority Critical patent/JP2006287659A/en
Publication of JP2006287659A publication Critical patent/JP2006287659A/en
Pending legal-status Critical Current

Links

Images

Landscapes

  • Details Of Aerials (AREA)

Abstract

<P>PROBLEM TO BE SOLVED: To provide an antenna device which can obtain electric power which enables communication, and can minutely adjust a resonance frequency. <P>SOLUTION: In an antenna device where a master antenna 10A-1 and a slave antenna 10A-2 are mutually connected in series, the antenna portions 10A-1 and 10A-2 have different sizes, and center magnetic flux generated at each antenna 10A-1 and 10A-2 is wound so as to face the same direction. Thus, since many the magnetic flux pass through the master antenna 10A-1, large electric power can be obtained by electromagnetic induction. Also, if the number of windings of the slave antenna 10A-2 is changed, the inductance of a spiral antenna 10A is relatively displaced small compared with the case of changing the number of windings of the master antenna 10A-1. As a result, the resonance frequency is relatively displaced in a small step. <P>COPYRIGHT: (C)2007,JPO&INPIT

Description

本発明は、RFID(Radio Frequency Identification)タグ、非接触IC(Integrated Circuit)カードなどを用いた無線通信システムに利用されるアンテナ装置に関する。   The present invention relates to an antenna device used in a wireless communication system using an RFID (Radio Frequency Identification) tag, a non-contact IC (Integrated Circuit) card, or the like.

近年、RFID技術を用いた無線通信システムが注目されている。この通信システムは一般に、各種データを記憶可能なデータキャリアと、このデータキャリアに対して非接触で情報の読み書き(リード/ライト)を行うリーダライタとで構成される。データキャリアは、その形状や大きさなどに応じてRFIDタグ(無線ICタグ)、非接触ICカードなどと呼ばれる(以下では、総称して非接触ICカードと呼ぶ)。この非接触ICカードに利用される無線周波数帯としては、135kHz以下の帯域、13.56MHz帯、900MHz帯(915MHz帯、950MHz帯)および2.45GHz帯などがある。この非接触ICカードは、使用者にとって取り扱いが容易であることなどから、最近では交通機関の自動改札機等、各種入退出管理に利用されている。またその他にも、電子マネーや物品管理などへの応用も検討されている。   In recent years, wireless communication systems using RFID technology have attracted attention. This communication system is generally composed of a data carrier capable of storing various data and a reader / writer that reads and writes (reads / writes) information without contact with the data carrier. The data carrier is called an RFID tag (wireless IC tag), a non-contact IC card, or the like according to its shape or size (hereinafter, collectively referred to as a non-contact IC card). Radio frequency bands used for this non-contact IC card include a band of 135 kHz or less, a 13.56 MHz band, a 900 MHz band (915 MHz band, 950 MHz band), a 2.45 GHz band, and the like. Since this non-contact IC card is easy to handle for the user, it has recently been used for various entry / exit management such as an automatic ticket gate for transportation. In addition, applications to electronic money and article management are also being studied.

非接触ICカードとそのリーダライタとには、例えば13.56MHz帯用のものではスパイラルアンテナ(ループ状の平面コイル)が使用されている。一般に非接触ICカードとしては無電池型が多く使用されており、リーダライタのアンテナが発する搬送波(交流磁界)を介して、電磁誘導により非接触ICカードに電力が供給され、搬送波に変調データ信号を重畳することによりデータのリード/ライトが行われる。従って、リーダライタ側から発せられる磁界の強度や分布状態が、通信距離や安定した通信動作に影響してくる。非接触ICカードとそのリーダライタとの間でのデータの送受信が可能なエリアを通信エリアとすると、所望とする通信エリア内で磁界強度が所定値以上になっている必要がある。一般に通信エリア内においては、磁界強度は大きい方が好ましい。   For the non-contact IC card and its reader / writer, for example, a spiral antenna (loop-shaped planar coil) is used for the 13.56 MHz band. In general, a non-battery type IC card is often used as a non-contact type IC card. Electric power is supplied to the non-contact type IC card by electromagnetic induction via a carrier wave (AC magnetic field) generated by a reader / writer antenna, and a modulated data signal is transmitted to the carrier wave The data is read / written by superimposing. Therefore, the strength and distribution state of the magnetic field generated from the reader / writer side affects the communication distance and stable communication operation. When an area in which data can be transmitted and received between a non-contact IC card and its reader / writer is a communication area, the magnetic field strength needs to be a predetermined value or more in a desired communication area. In general, in the communication area, it is preferable that the magnetic field strength is large.

しかしながら、あまりにも磁界強度が大きくなると、非接触ICカードのスパイラルアンテナに過大な電力が供給され、その結果、安定した通信が行えなくなる虞があった。そこで、磁界強度を低下させ、安定した通信を行えるようにする技術が特許文献1で提案されている。なお、特許文献1では、磁界強度の大きさについてのみ考慮されており、非接触ICカードおよびそのリーダライタの共振周波数と、磁界強度との関係については何ら考慮されていない。
特開2001−313515号公報
However, if the magnetic field strength becomes too large, excessive power is supplied to the spiral antenna of the non-contact IC card, and as a result, there is a possibility that stable communication cannot be performed. Therefore, Patent Document 1 proposes a technique for reducing the magnetic field strength and enabling stable communication. In Patent Document 1, only the magnitude of the magnetic field strength is considered, and the relationship between the resonance frequency of the non-contact IC card and its reader / writer and the magnetic field strength is not considered at all.
JP 2001-313515 A

ところで、所望とする通信エリア内での磁界強度は、非接触ICカードとそのリーダライタとが通信を行う通信周波数帯において大きいことが必要であり、そのためには、通信周波数帯に非接触ICカードおよびそのリーダライタの共振周波数の少なくとも一方が含まれることが好ましい。これらの共振周波数を通信周波数帯に合わせるには、これらの構成要素の一つである、回路基板とスパイラルアンテナとから構成されるLC共振回路のインダクタンスを調整することが考えられる。インダクタンスの調整は、スパイラルアンテナの長さや巻き数の調整により可能であるが、このインダクタンスの調整によって共振周波数を微調整するには、一巻きあたりのインダクタンスの変化量を小さくするために、スパイラルアンテナの大きさを小さくすることが必要となる。   By the way, the magnetic field strength in the desired communication area needs to be large in the communication frequency band in which the non-contact IC card and its reader / writer communicate, and for that purpose, the non-contact IC card is in the communication frequency band. It is preferable that at least one of the resonance frequency of the reader / writer is included. In order to match these resonance frequencies to the communication frequency band, it is conceivable to adjust the inductance of an LC resonance circuit composed of a circuit board and a spiral antenna, which is one of these components. Inductance can be adjusted by adjusting the length and number of turns of the spiral antenna. To fine-tune the resonance frequency by adjusting the inductance, the spiral antenna must be used to reduce the amount of change in inductance per turn. It is necessary to reduce the size of.

しかしながら、スパイラルアンテナの大きさが小さくなると、スパイラルアンテナを通過する磁束の数が少なくなるので、非接触ICカードのスパイラルアンテナが電磁誘導により得ることができる電力が小さくなる。その結果、非接触ICカードとリーダライタとの間で通信不能となる虞がある。そこで、大きな電力が得られるようにするために、スパイラルアンテナの大きさを大きくすることが考えられる。ところが、スパイラルアンテナの大きさをあまり大きくすると、一巻あたりのインダクタンスの変化量が大きくなるため、共振周波数の微調整が困難になる。このように、電磁誘導により得られる電力の低下を回避することと、共振周波数の微調整を実現することとは、互いにトレードオフの関係にあるため、両者を同時に実現することは非常に困難であるという問題がある。   However, when the size of the spiral antenna is reduced, the number of magnetic fluxes passing through the spiral antenna is reduced, so that the power that the spiral antenna of the non-contact IC card can obtain by electromagnetic induction is reduced. As a result, communication between the non-contact IC card and the reader / writer may be disabled. Therefore, it is conceivable to increase the size of the spiral antenna in order to obtain large electric power. However, if the size of the spiral antenna is made too large, the amount of change in inductance per turn increases, and fine adjustment of the resonance frequency becomes difficult. In this way, avoiding a reduction in power obtained by electromagnetic induction and achieving fine adjustment of the resonance frequency are in a trade-off relationship with each other, so it is very difficult to achieve both at the same time. There is a problem that there is.

本発明はかかる問題点に鑑みてなされたもので、その目的は、通信可能な程度の電力を得ると共に、共振周波数を微調整することの可能なアンテナ装置を提供することにある。   The present invention has been made in view of such problems, and an object of the present invention is to provide an antenna device capable of obtaining power that can be communicated and finely adjusting a resonance frequency.

本発明のアンテナ装置は、複数のスパイラルアンテナを互いに直列に接続してなるアンテナ装置であって、複数のスパイラルアンテナは、各々が互いに異なる大きさを有すると共に、各スパイラルアンテナで生じる中心磁束が同一方向を向くこととなるように巻回されたものである。   The antenna device of the present invention is an antenna device in which a plurality of spiral antennas are connected in series to each other, and each of the plurality of spiral antennas has a different size from each other, and the central magnetic flux generated in each spiral antenna is the same. It is wound so as to turn in the direction.

ここで、スパイラルアンテナとは、例えば、ループ状の平面コイルのことである。中心磁束とは、スパイラルアンテナの中心領域を通過する磁束のことである。また、同一方向とは、各スパイラルアンテナで生じる中心磁束のベクトルの交わる角度が90°未満であることを意味する。   Here, the spiral antenna is, for example, a loop-shaped planar coil. The central magnetic flux is a magnetic flux that passes through the central region of the spiral antenna. The same direction means that the angle at which the vectors of the central magnetic flux generated in each spiral antenna intersect is less than 90 °.

本発明のアンテナ装置では、互いに異なる大きさを有する複数のスパイラルアンテナが、互いに直列に接続されている。これにより、多くの磁束が相対的に大きなスパイラルアンテナを通過するので、電磁誘導により大きな電力が得られる。   In the antenna device of the present invention, a plurality of spiral antennas having different sizes are connected to each other in series. Thereby, since a large amount of magnetic flux passes through a relatively large spiral antenna, a large electric power can be obtained by electromagnetic induction.

また、相対的に小さなスパイラルアンテナの巻き数を変化させると、スパイラルアンテナのインダクタンスが相対的に小さく変移し、その結果、共振周波数が、相対的に大きなスパイラルアンテナの巻き数を変化させた場合と比べて、相対的に小さなステップで変移する。   In addition, when the number of turns of the relatively small spiral antenna is changed, the inductance of the spiral antenna changes relatively small, and as a result, the resonance frequency is changed when the number of turns of the relatively large spiral antenna is changed. Compared with relatively small steps, it changes.

また、本発明のアンテナ装置では、個々のスパイラルアンテナは、各スパイラルアンテナで生じる中心磁束が同一方向を向くこととなるように巻回されている。これにより、相対的に小さなスパイラルアンテナが一の回路基板上で相対的に大きなスパイラルアンテナの巻き配線の内側に配置されている場合には、個々のスパイラルアンテナから生じる誘導磁場の多くが互いに強め合うようになるので、スパイラルアンテナのインダクタンスが大きくなり、その結果、共振周波数が低くなる。一方、個々のスパイラルアンテナの巻き配線が一の回路基板上で一部重なるように配置されている場合や、相対的に小さなスパイラルアンテナが一の回路基板上で相対的に大きなスパイラルアンテナの巻き配線の外側に配置されている場合には、個々のスパイラルアンテナから生じる誘導磁場が複雑に作用し合うようになるので、個々のスパイラルアンテナの位置関係によって、共振周波数が高くなったり低くなったりする。このように、相対的に小さなスパイラルアンテナの、相対的に大きなスパイラルアンテナに対する位置を変移させることにより、共振周波数は連続的に変移する。   In the antenna device of the present invention, each spiral antenna is wound so that the central magnetic flux generated in each spiral antenna is directed in the same direction. As a result, when a relatively small spiral antenna is arranged inside a relatively large spiral antenna winding on one circuit board, many of the induced magnetic fields generated from the individual spiral antennas strengthen each other. As a result, the inductance of the spiral antenna increases, and as a result, the resonance frequency decreases. On the other hand, when the winding wiring of individual spiral antennas is arranged so as to partially overlap on one circuit board, or the winding wiring of a relatively large spiral antenna is placed on one circuit board. Since the induction magnetic field generated from each spiral antenna acts in a complicated manner, the resonance frequency becomes higher or lower depending on the positional relationship between the individual spiral antennas. In this way, the resonance frequency is continuously changed by changing the position of the relatively small spiral antenna with respect to the relatively large spiral antenna.

ここで、回路基板は、例えば、ポリエステル,セロファン,PET,ポリイミド等の可とう性フィルム、ガラスエポキシ等からなる電子基板、または紙などの絶縁性材料により構成される。また、「一の回路基板上」とは、例えば、個々のスパイラルアンテナが共通の平面上に配置されていたり、SiO2、その他絶縁薄膜、エポキシ、ポリエステル等の絶縁樹脂などにより構成された絶縁層を介して階層状に配置されていることを意味する。したがって、個々のスパイラルアンテナの巻き配線が一の回路基板上で一部重なるように配置されている場合には、個々の巻き配線が互いに短絡することの無いようにすることが必要となるので、例えば、個々のスパイラルアンテナを上記絶縁層を介して互いに異なる階層に配置することが好ましい。また、個々のスパイラルアンテナの巻き配線が一の回路基板上で互いに重ならないように配置されている場合、すなわち、相対的に小さなスパイラルアンテナが一の回路基板上で相対的に大きなスパイラルアンテナの巻き配線の内側および外側に配置されている場合には、個々のスパイラルアンテナの巻き配線が互いに接触する虞はない。したがって、そのような場合には、個々のスパイラルアンテナを、上記と同様に互いに異なる階層に配置してもよいし、共通の平面上に配置してもよい。   Here, the circuit board is made of, for example, a flexible film such as polyester, cellophane, PET, or polyimide, an electronic board made of glass epoxy, or an insulating material such as paper. In addition, “on one circuit board” means, for example, an insulating layer in which individual spiral antennas are arranged on a common plane, or composed of insulating resin such as SiO2, other insulating thin films, epoxy, polyester, or the like. It is arranged in a hierarchy. Therefore, when the winding wires of the individual spiral antennas are arranged so as to partially overlap on one circuit board, it is necessary to prevent the individual winding wires from short-circuiting each other. For example, it is preferable that the individual spiral antennas are arranged at different levels through the insulating layer. Also, when the windings of the individual spiral antennas are arranged so as not to overlap each other on one circuit board, that is, a relatively small spiral antenna is wound on a relatively large spiral antenna. When arranged inside and outside the wiring, there is no possibility that the winding wires of the individual spiral antennas contact each other. Therefore, in such a case, the individual spiral antennas may be arranged on different levels as described above, or may be arranged on a common plane.

本発明のアンテナ装置によれば、互いに異なる大きさを有する複数のスパイラルアンテナが、互いに直列に接続されると共に、各スパイラルアンテナで生じる中心磁束が同一方向を向くこととなるように巻回されるようにしたので、通信可能な程度の電力を得ると共に、共振周波数を微調整することが可能である。   According to the antenna device of the present invention, a plurality of spiral antennas having different sizes are connected in series with each other, and the central magnetic flux generated in each spiral antenna is wound in the same direction. As a result, it is possible to obtain power that can be communicated and finely adjust the resonance frequency.

以下、本発明の一実施の形態について、図面を参照して詳細に説明する。   Hereinafter, an embodiment of the present invention will be described in detail with reference to the drawings.

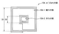
図1は、本実施の形態に係るアンテナ装置の概略構成を表したものである。このアンテナ装置は、例えば、ポリエステル,セロファン,PET,ポリイミド等の可とう性フィルム、ガラスエポキシ等からなる電子基板、または紙などの絶縁性材料により構成された回路基板(図示せず)上に、スパイラルアンテナ部10Aが形成され構成されている。   FIG. 1 shows a schematic configuration of the antenna device according to the present embodiment. This antenna device is, for example, a flexible film such as polyester, cellophane, PET, polyimide, an electronic substrate made of glass epoxy, or a circuit board (not shown) made of an insulating material such as paper. A spiral antenna portion 10A is formed and configured.

このスパイラルアンテナ部10Aは、互いに異なる大きさを有する親アンテナ部10A−1と、子アンテナ部10A−2とを備え、これらのアンテナ部10A−1,10A−2は、互いに直列に接続されると共に、これらのアンテナ部10A−1,10A−2で生じる中心磁束が同一方向を向くこととなるように巻回されている。親アンテナ部10A−1から引き出された端子Xと、子アンテナ部10A−2から引き出された端子Yとは、回路基板に接続されている。   The spiral antenna unit 10A includes a parent antenna unit 10A-1 and a child antenna unit 10A-2 having different sizes, and these antenna units 10A-1 and 10A-2 are connected in series with each other. At the same time, the central magnetic flux generated in the antenna units 10A-1 and 10A-2 is wound in the same direction. The terminal X drawn out from the parent antenna unit 10A-1 and the terminal Y drawn out from the child antenna unit 10A-2 are connected to the circuit board.

ここで、「中心磁束」とは、親アンテナ部10A−1または子アンテナ部10A−2の中心領域を通過する磁束のことである。なお、本実施の形態では、図1に示したように、親アンテナ部10A−1の中心領域と、子アンテナ部10A−2の中心領域とが一致するように、これらのアンテナ部10A−1,10A−2がそれぞれ配置されている。すなわち、子アンテナ部10A−2は、親アンテナ部10A−1の巻き配線の内側に配置されている。また、「同一方向」とは、これらのアンテナ部10A−1,10A−2で生じる中心磁束のベクトルの交わる角度が90°未満であることを意味する。   Here, the “center magnetic flux” is a magnetic flux that passes through the central region of the parent antenna unit 10A-1 or the child antenna unit 10A-2. In the present embodiment, as shown in FIG. 1, these antenna units 10A-1 are arranged so that the center region of the parent antenna unit 10A-1 matches the center region of the child antenna unit 10A-2. , 10A-2 are respectively arranged. That is, the child antenna unit 10A-2 is disposed inside the winding wire of the parent antenna unit 10A-1. Further, “the same direction” means that the angle at which the vectors of the central magnetic flux generated in these antenna units 10A-1 and 10A-2 intersect is less than 90 °.

また、子アンテナ部10A−2は、親アンテナ部10A−1の巻き配線の内側に配置されており、互いに短絡する虞はないので、例えば、回路基板の表面上、すなわち、共通の平面上にパターニングされていてもよいし、SiO2、その他絶縁薄膜、エポキシ、ポリエステル等の絶縁樹脂などにより構成された絶縁層を介して階層状に配置されていてもよい。この親アンテナ部10A−1と子アンテナ部10A−2とは、回路基板の表面上、すなわち、共通の平面上にパターニングされている。   Further, since the child antenna unit 10A-2 is arranged inside the winding wiring of the parent antenna unit 10A-1, and there is no possibility of short-circuiting each other, for example, on the surface of the circuit board, that is, on a common plane It may be patterned, or may be arranged in a layered manner via an insulating layer made of SiO2, other insulating thin film, insulating resin such as epoxy and polyester. The parent antenna unit 10A-1 and the child antenna unit 10A-2 are patterned on the surface of the circuit board, that is, on a common plane.

親アンテナ部10A−1および子アンテナ部10A−2は、スパイラルアンテナ、具体的には、ループ状の平面コイルにより構成される。親アンテナ部10A−1および子アンテナ部10A−2の一辺の長さD1,D2は、平面上にパターニングされたスパイラルアンテナの複数の巻き配線を一本の配線として巨視的に見た場合に、対向する2本の巨視的な配線の、その配線の幅の中心を通る線同士の距離とする。   The parent antenna unit 10A-1 and the child antenna unit 10A-2 are configured by spiral antennas, specifically, loop-shaped planar coils. When the lengths D1 and D2 of one side of the parent antenna unit 10A-1 and the child antenna unit 10A-2 are viewed macroscopically as a single wiring, a plurality of spiral wirings patterned on a plane are The distance between two lines passing through the center of the width of the two opposing macroscopic wirings.

なお、仮に子アンテナ部10A−2の巻き数を増加させることにより、子アンテナ部10A−2の巻き配線が親アンテナ部10A−1の磁束を遮るようになったとしても、親アンテナ部10A−1と、子アンテナ部10A−2との間には、図1に示したように、大きな間隙が設けられているので、その大きな間隙を通過する磁束によって親アンテナ部10A−1から大きな電力を得ることができるようになっている。このように、親アンテナ部10A−1は、電磁誘導により発生する大きな電力を大きく減衰させることなく得る役割を有している。   Even if the number of turns of the child antenna unit 10A-2 is increased so that the winding wiring of the child antenna unit 10A-2 blocks the magnetic flux of the parent antenna unit 10A-1, the parent antenna unit 10A- 1 and the child antenna unit 10A-2 are provided with a large gap as shown in FIG. 1, so that a large amount of electric power is generated from the parent antenna unit 10A-1 by the magnetic flux passing through the large gap. Can get. Thus, the parent antenna unit 10A-1 has a role of obtaining a large amount of electric power generated by electromagnetic induction without being greatly attenuated.

一方、子アンテナ部10A−2は、一辺の長さD2が親アンテナ部10A−1のそれと比べて相対的に小さいので、一巻きあたりのインダクタンスも親アンテナ部10A−1のそれと比べて相対的に小さい。したがって、子アンテナ部10A−2は、アンテナ装置の共振周波数を微調整する役割を有している。   On the other hand, since the length D2 of one side of the child antenna unit 10A-2 is relatively smaller than that of the parent antenna unit 10A-1, the inductance per turn is also relatively smaller than that of the parent antenna unit 10A-1. Small. Therefore, the sub antenna unit 10A-2 has a role of finely adjusting the resonance frequency of the antenna device.

以下に、以上のような構成のアンテナ装置の作用および効果について説明する。図2は、上記アンテナ装置において、親アンテナ部10A−1の巻き数を一定(固定)とした上で、子アンテナ部10A−2の巻き数を変化させた場合の共振周波数の変移の様子を表したものである。なお、図2では、子アンテナ部10A−2の一辺の長さD2がD1/4,D1/2,3D1/4の3つの場合と、比較例として、子アンテナ部10A−2を備えていない場合の合計4つの場合における共振周波数の変移の様子が示されている。   The operation and effect of the antenna device having the above configuration will be described below. FIG. 2 shows how the resonance frequency changes when the number of turns of the child antenna unit 10A-2 is changed after the number of turns of the parent antenna unit 10A-1 is fixed (fixed) in the antenna device. It is a representation. In FIG. 2, there are three cases where the length D2 of one side of the child antenna unit 10A-2 is D1 / 4, D1 / 2, and 3D1 / 4, and the child antenna unit 10A-2 is not provided as a comparative example. The change of the resonance frequency in a total of four cases is shown.

図2に示したように、比較例に係るアンテナ装置では、巻き数を増加させるにつれて、子アンテナ部10A−2の巻き数を増加させる場合と比べて大きなステップで、共振周波数が低周波側に変移していくのが確認できる。一方、本実施の形態のアンテナ装置では、子アンテナ部10A−2の巻き数を増加させるにつれて、親アンテナ部10A−1の巻き数を増加させる場合と比べて小さなステップで、共振周波数が低周波側に変移していくのが確認できる。また、一辺の長さD2が小さくなればなる程、共振周波数がより小さなステップで低周波側に変移していくのも確認できる。   As shown in FIG. 2, in the antenna device according to the comparative example, as the number of turns is increased, the resonance frequency is reduced to a lower frequency side in a larger step than when the number of turns of the child antenna unit 10 </ b> A- 2 is increased. You can see it changing. On the other hand, in the antenna device according to the present embodiment, as the number of turns of the sub antenna unit 10A-2 is increased, the resonance frequency is reduced by a small step compared to the case of increasing the number of turns of the parent antenna unit 10A-1. You can see that it has shifted to the side. It can also be confirmed that the smaller the side length D2 is, the smaller the resonance frequency shifts to the low frequency side.

図3は、上記アンテナ装置において、親アンテナ部10A−1および子アンテナ部10A−2の巻き数を一定(固定)とした上で、孫アンテナ部の巻き数を変化させた場合の共振周波数の変移の様子を表したものである。図3では、孫アンテナ部の一辺の長さD3がD1/4,D1/2の2つの場合と、比較例として、孫アンテナ部を備えていない場合の合計3つの場合における共振周波数の変移の様子が示されている。   FIG. 3 shows the resonance frequency when the number of turns of the grandchild antenna unit is changed while the number of turns of the parent antenna unit 10A-1 and the child antenna unit 10A-2 is fixed (fixed) in the antenna device. It shows the state of the transition. In FIG. 3, the change of the resonance frequency in two cases where the length D3 of one side of the grandchild antenna part is D1 / 4 and D1 / 2 and as a comparative example a total of three cases where the grandchild antenna part is not provided. The situation is shown.

上記のように、子アンテナ部10A−2の巻き数を変化させた場合であっても、子アンテナ部10A−2のステップが大きいと、所望の通信周波数帯に共振周波数を変移させることができないときもある。そこで、そのような場合には、子アンテナ部10A−2よりもさらに小さな孫アンテナ部(図示せず)を、他のアンテナ部10A−1,10A−2と直列に接続すると共に、中心磁束が他のアンテナ部10A−1,10A−2と同一方向を向くこととなるように巻回した上で、孫アンテナ部の巻き数を変化させればよい。これにより、図3に示したように、子アンテナ部10A−2の巻き数を増加させる場合と比べて小さなステップで、共振周波数を低周波側に変移させることができるのが確認できる。さらに、孫アンテナ部の一辺の長さD3を小さくすればする程、共振周波数をより小さなステップで低周波側に変移させることができるのが確認できる。   As described above, even when the number of turns of the child antenna unit 10A-2 is changed, if the step of the child antenna unit 10A-2 is large, the resonance frequency cannot be shifted to a desired communication frequency band. Sometimes. In such a case, a grandchild antenna unit (not shown) smaller than the child antenna unit 10A-2 is connected in series with the other antenna units 10A-1 and 10A-2, and the center magnetic flux is What is necessary is just to change the winding number of a grandchild antenna part, after winding so that it may face the same direction as other antenna part 10A-1, 10A-2. As a result, as shown in FIG. 3, it can be confirmed that the resonance frequency can be shifted to the low frequency side in a smaller step compared to the case where the number of turns of the child antenna unit 10A-2 is increased. Further, it can be confirmed that the smaller the length D3 of one side of the grandchild antenna portion is, the more the resonance frequency can be shifted to the low frequency side in smaller steps.

これらのことから、共振周波数を大きく変移させたい場合には、親アンテナ部10A−1の巻き数を変化させて、所望の通信周波数帯近傍に共振周波数を大雑把に変移させると共に、子アンテナ部10A−2の巻き数を増減させ、場合によってはさらに孫アンテナ部の巻き数も増減させて、所望の通信周波数帯に共振周波数を正確に変移させることができる。このように必要に応じて小さなアンテナ部を適宜追加することにより、共振周波数を微調整することもできる。もちろん、共振周波数を大きく変移させる必要がない場合には、単に子アンテナ部10A−2や孫アンテナ部などの、親アンテナ部10A−1より小さなアンテナ部の巻き数を変化させて、所望の通信周波数帯に共振周波数を変移させてやればよい。   For these reasons, when it is desired to greatly change the resonance frequency, the number of turns of the parent antenna unit 10A-1 is changed to roughly change the resonance frequency in the vicinity of the desired communication frequency band, and the child antenna unit 10A. The number of turns of -2 is increased / decreased, and in some cases, the number of turns of the grandchild antenna unit is also increased / decreased, so that the resonance frequency can be accurately shifted to a desired communication frequency band. As described above, the resonance frequency can be finely adjusted by appropriately adding a small antenna portion as necessary. Of course, when there is no need to greatly change the resonance frequency, the number of turns of the antenna unit smaller than the parent antenna unit 10A-1, such as the child antenna unit 10A-2 or the grandchild antenna unit, is simply changed to perform desired communication. The resonance frequency may be shifted to the frequency band.

このように、本実施の形態のアンテナ装置によれば、親アンテナ部10A−1より小さいアンテナ部を備えるようにしたので、親アンテナ部10A−1より小さいアンテナ部の巻き数を変化させることにより、共振周波数を微調整することができる。   Thus, according to the antenna device of the present embodiment, since the antenna unit smaller than the parent antenna unit 10A-1 is provided, by changing the number of turns of the antenna unit smaller than the parent antenna unit 10A-1. The resonance frequency can be finely adjusted.

また、本実施の形態のアンテナ装置によれば、子アンテナ部10A−2の中心磁束が、親アンテナ部10A−1の中心磁束と同一方向を向くこととなるように巻回されると共に、子アンテナ部10A−2が親アンテナ部10A−1にすっぽり包含されるように配置されるようにしたので、個々のアンテナ部10A−1,10A−2から生じる誘導磁場の一部が互いに強め合うようになる。その結果、親アンテナ部10A−1の磁界が子アンテナ部10A−2の磁界によって減じられることはほとんどないので、電磁誘導によりスパイラルアンテナ部10Aで生じる電力が子アンテナ部10A−2を設けたことにより大きく低下する虞はない。   Further, according to the antenna device of the present embodiment, the center magnetic flux of the child antenna unit 10A-2 is wound so as to face the same direction as the center magnetic flux of the parent antenna unit 10A-1, and Since the antenna unit 10A-2 is arranged so as to be completely included in the parent antenna unit 10A-1, a part of the induction magnetic field generated from each of the antenna units 10A-1 and 10A-2 strengthens each other. become. As a result, since the magnetic field of the parent antenna unit 10A-1 is hardly reduced by the magnetic field of the child antenna unit 10A-2, the electric power generated in the spiral antenna unit 10A by electromagnetic induction provided the child antenna unit 10A-2. There is no risk of a significant decrease.

[変形例]
次に、上記実施の形態の変形例について説明する。本変形例に係るアンテナ装置は、上記第1の実施の形態に係るアンテナ装置と比べると、図4ないし図7に示したように、親アンテナ部10B−1,10C−1,10D−1,10E−1(親アンテナ部10B−1等)の中心領域と、子アンテナ部10B−2,10C−2,10D−2,10E−2(子アンテナ部10B−2等)の中心領域とが一致しないように、これらのアンテナ部がそれぞれ配置されている点で相違している。そこで、以下、上記第1の実施の形態と同一の構成、作用、効果について適宜省略した上で、上記第1の実施の形態と対比しつつ詳細に説明する。
[Modification]
Next, a modification of the above embodiment will be described. Compared with the antenna device according to the first embodiment, the antenna device according to this modification example has parent antenna units 10B-1, 10C-1, 10D-1, The center region of 10E-1 (parent antenna unit 10B-1 etc.) and the center region of the slave antenna units 10B-2, 10C-2, 10D-2, 10E-2 (child antenna unit 10B-2 etc.) match. As a matter of course, these antenna portions are different in that they are arranged. Therefore, hereinafter, the same configuration, operation, and effect as those of the first embodiment will be omitted as appropriate, and will be described in detail in comparison with the first embodiment.

上記実施の形態では、子アンテナ部10A−2は、親アンテナ部10A−1の巻き配線の内側に配置されると共に、親アンテナ部10A−1と子アンテナ部10A−2との中心領域が互いに一致している。また、親アンテナ部10A−1と子アンテナ部10A−2とは互いに短絡する虞はないので、親アンテナ部10A−1と子アンテナ部10A−2を比較的自由に配置することができ、例えば、共通の平面上に配置したり、絶縁層を介して階層状に配置することができる。   In the above embodiment, the child antenna unit 10A-2 is arranged inside the winding wiring of the parent antenna unit 10A-1, and the central regions of the parent antenna unit 10A-1 and the child antenna unit 10A-2 are mutually connected. Match. Moreover, since there is no possibility that the parent antenna unit 10A-1 and the child antenna unit 10A-2 are short-circuited with each other, the parent antenna unit 10A-1 and the child antenna unit 10A-2 can be arranged relatively freely. They can be arranged on a common plane or arranged in a layered manner via an insulating layer.

これにより、上記実施の形態では、個々のアンテナ部10A−1,10A−2から生じる誘導磁場が互いに減殺し合うようなことはほとんどないので、スパイラルアンテナ部10Aのインダクタンスが大きくなり、その結果、共振周波数が低くなる。   Thereby, in the said embodiment, since the induction magnetic field which arises from each antenna part 10A-1 and 10A-2 hardly diminishes mutually, the inductance of 10 A of spiral antenna parts becomes large, As a result, The resonance frequency is lowered.

一方、本変形例では、親アンテナ部10B−1等と子アンテナ部10B−2等との中心領域は一致していない。具体的には、親アンテナ部10B−1,10C−1,10D−1および子アンテナ部10B−2,10C−2,10D−2の巻き配線が回路基板上で一部重なるように配置されていたり(図4、図5および図6参照)、子アンテナ部10E−2が回路基板上で親アンテナ部10E−1の巻き配線の外側に配置されている(図7参照)。また、親アンテナ部10B−1等および子アンテナ部10B−2等の巻き配線が回路基板上で一部重なるように配置されている場合には、互いに短絡する虞があるので、親アンテナ部10B−1等と子アンテナ部10B−2等を上記実施の形態のように自由に配置することはできず、例えば、絶縁層を介して階層状に配置することが必要となる。   On the other hand, in the present modification, the central regions of the parent antenna unit 10B-1 and the like and the child antenna unit 10B-2 and the like do not match. Specifically, the winding lines of the parent antenna units 10B-1, 10C-1, 10D-1 and the child antenna units 10B-2, 10C-2, 10D-2 are arranged so as to partially overlap on the circuit board. (See FIG. 4, FIG. 5 and FIG. 6), the child antenna unit 10E-2 is arranged on the circuit board outside the winding wiring of the parent antenna unit 10E-1 (see FIG. 7). In addition, when the winding wirings of the parent antenna unit 10B-1 and the like and the child antenna unit 10B-2 are arranged so as to partially overlap on the circuit board, there is a possibility of short-circuiting with each other. -1 etc. and the sub antenna part 10B-2 etc. cannot be freely arranged as in the above embodiment, and for example, it is necessary to arrange them in a layered manner via an insulating layer.

このように、本変形例では、親アンテナ部10B−1等と子アンテナ部10B−2等との中心領域が一致していないため、個々のアンテナ部から生じる誘導磁場が複雑に作用し合うようになる。これにより、親アンテナ部10B−1等と、子アンテナ部10B−2等との位置関係によって、共振周波数が高くなったり低くなったりする。   Thus, in this modification, since the center area | regions of main antenna part 10B-1 etc. and child antenna part 10B-2 etc. do not correspond, the induction magnetic field which arises from each antenna part seems to act intricately. become. Accordingly, the resonance frequency is increased or decreased depending on the positional relationship between the parent antenna unit 10B-1 and the like and the child antenna unit 10B-2 and the like.

例えば、図4に示したように、子アンテナ部10B−2の巻き配線が、親アンテナ部10B−1の巻き配線の内側から一部重なるように配置された場合、すなわち、上記実施の形態の子アンテナ部10A−2をS1だけ変移させた場合に、親アンテナ部10B−1と子アンテナ部10B−2とから生じる誘導磁場が互いに減殺し合うようなことはほとんどないので、スパイラルアンテナ部10Bのインダクタンスが最も大きくなり、その結果、共振周波数は最も小さくなる。   For example, as shown in FIG. 4, when the winding wiring of the child antenna unit 10B-2 is arranged so as to partially overlap from the inside of the winding wiring of the parent antenna unit 10B-1, that is, in the above embodiment When the sub-antenna unit 10A-2 is shifted by S1, the induced magnetic fields generated from the main antenna unit 10B-1 and the sub-antenna unit 10B-2 rarely attenuate each other, so the spiral antenna unit 10B As a result, the resonance frequency becomes the smallest.

一方、図6に示したように、子アンテナ部10B−2の巻き配線が、親アンテナ部10B−1の巻き配線の外側から一部重なるように配置された場合、すなわち、上記実施の形態の子アンテナ部10A−2をS3だけ変移させた場合に、親アンテナ部10B−1と子アンテナ部10B−2とから生じる誘導磁場が一部の領域で互いに減殺し合うようになるので、スパイラルアンテナ部10Bのインダクタンスが最も小さくなり、共振周波数は最も大きくなる。その結果、共振周波数が高くなる。   On the other hand, as shown in FIG. 6, when the winding wiring of the child antenna unit 10B-2 is arranged so as to partially overlap from the outside of the winding wiring of the parent antenna unit 10B-1, that is, in the above embodiment. When the sub-antenna unit 10A-2 is shifted by S3, the induced magnetic fields generated from the main antenna unit 10B-1 and the sub-antenna unit 10B-2 are mutually attenuated in a part of the region, so that the spiral antenna The inductance of the portion 10B is the smallest and the resonance frequency is the largest. As a result, the resonance frequency is increased.

なお、図5に示したように、図4と図6の中間、すなわち、子アンテナ部10B−2が、親アンテナ部10B−1の巻き配線をまたぐように配置された場合、すなわち、上記実施の形態の子アンテナ部10A−2をS2だけ変移させた場合は、親アンテナ部10B−1と子アンテナ部10B−2とから生じる誘導磁場が一部の領域で互いに減殺し合うになるので、スパイラルアンテナ部10Cのインダクタンスが、スパイラルアンテナ部10Dのインダクタンスより大きく、スパイラルアンテナ部10Bのインダクタンスより小さい値となり、その結果、共振周波数はスパイラルアンテナ部10Bの共振周波数より大きく、スパイラルアンテナ部10Dの共振周波数より小さい値となる。   As shown in FIG. 5, when the middle of FIG. 4 and FIG. 6, that is, the child antenna unit 10 </ b> B- 2 is arranged so as to straddle the winding wiring of the parent antenna unit 10 </ b> B- 1, When the sub-antenna unit 10A-2 of the form is shifted by S2, the induced magnetic fields generated from the main antenna unit 10B-1 and the sub-antenna unit 10B-2 are mutually attenuated in some areas. The inductance of the spiral antenna unit 10C is larger than the inductance of the spiral antenna unit 10D and smaller than the inductance of the spiral antenna unit 10B. As a result, the resonance frequency is larger than the resonance frequency of the spiral antenna unit 10B. The value is smaller than the frequency.

また、図7に示したように、子アンテナ部10E−2が親アンテナ部10E−1の巻き配線の外側に配置された場合、すなわち、上記実施の形態の子アンテナ部10A−2をS4だけ変移させた場合は、図6の場合と比べて、個々のアンテナ部10E−1,10E−2から生じる誘導磁場が互いに減殺し合うようなことはほとんどないので、スパイラルアンテナ部10Eのインダクタンスが大きくなり、その結果、共振周波数が低くなる。   Further, as shown in FIG. 7, when the child antenna unit 10E-2 is arranged outside the winding wiring of the parent antenna unit 10E-1, that is, the child antenna unit 10A-2 of the above embodiment is only S4. In the case of the change, the inductance of the spiral antenna unit 10E is large because the induced magnetic fields generated from the individual antenna units 10E-1 and 10E-2 rarely attenuate each other compared to the case of FIG. As a result, the resonance frequency is lowered.

これらのことから、子アンテナ部10B−2等の、親アンテナ部10B−1等に対する配置を内側から外側に次第に変移させた場合(図4→図5→図6)には、スパイラルアンテナ部10B,10C,10Dのインダクタンスは連続的に小さくなり、その結果、共振周波数が、図8に示したように、連続的、かつ、直線的に増加することが確認できる。したがって、本変形例に係るアンテナ装置では、変移量がS1以上S3以下の範囲内において、共振周波数の変移量のリニアリティが良好である。   For these reasons, when the arrangement of the child antenna unit 10B-2 or the like with respect to the parent antenna unit 10B-1 or the like is gradually changed from the inside to the outside (FIG. 4 → FIG. 5 → FIG. 6), the spiral antenna unit 10B. , 10C, and 10D are continuously reduced, and as a result, it can be confirmed that the resonance frequency increases continuously and linearly as shown in FIG. Therefore, in the antenna device according to this modification, the linearity of the resonance frequency shift amount is good when the shift amount is in the range of S1 to S3.

このように、本変形例に係るアンテナ装置によれば、親アンテナ部10B−1等の大きさより小さな大きさの子アンテナ部10B−2等を備えるようにしたので、子アンテナ部10B−2等の、親アンテナ部10B−1等に対する配置を内側から外側に次第に変移させることにより、共振周波数を微調整することができる。   As described above, according to the antenna device according to this modification, the child antenna unit 10B-2 and the like having a size smaller than the size of the parent antenna unit 10B-1 and the like are provided. The resonance frequency can be finely adjusted by gradually changing the arrangement of the main antenna unit 10B-1 and the like from the inside to the outside.

なお、本変形例に係るアンテナ装置では、親アンテナ部10B−1等および子アンテナ部10B−2等の巻き配線が一部重なるように配置されたり、子アンテナ部10E−2が親アンテナ部10E−1の巻き配線の外側に配置されている。そのため、個々のアンテナ部10A−1,10A−2から生じる誘導磁場が互いに減殺し合う場合もあるが、スパイラルアンテナ部10B,10C,10D,10Eで生じる電力が子アンテナ部10B−2等を設けたことにより大きく低下する虞はない。   In the antenna device according to this modification, the winding wires of the parent antenna unit 10B-1 and the child antenna unit 10B-2 are arranged so as to partially overlap, or the child antenna unit 10E-2 is arranged to be the parent antenna unit 10E. -1 is disposed outside the winding wire -1. For this reason, the induction magnetic fields generated from the individual antenna units 10A-1 and 10A-2 may be mutually reduced, but the power generated by the spiral antenna units 10B, 10C, 10D, and 10E is provided in the child antenna unit 10B-2 and the like. There is no risk of a significant decrease.

以上、1つの実施の形態および複数の変形例を挙げて本発明を説明したが、本発明は、これらに限定されず、種々の変形が可能である。   Although the present invention has been described with reference to one embodiment and a plurality of modifications, the present invention is not limited to these, and various modifications can be made.

本発明の第1の実施の形態に係るアンテナ装置の概略構成図である。1 is a schematic configuration diagram of an antenna device according to a first embodiment of the present invention. 図1のアンテナ装置の共振周波数特性を説明するための図である。It is a figure for demonstrating the resonant frequency characteristic of the antenna apparatus of FIG. 図1のアンテナ装置の他の共振周波数特性を説明するための図である。It is a figure for demonstrating the other resonant frequency characteristic of the antenna apparatus of FIG. 変形例に係るアンテナ装置の概略構成図である。It is a schematic block diagram of the antenna device which concerns on a modification. 変形例に係るアンテナ装置の概略構成図である。It is a schematic block diagram of the antenna device which concerns on a modification. 変形例に係るアンテナ装置の概略構成図である。It is a schematic block diagram of the antenna device which concerns on a modification. 変形例に係るアンテナ装置の概略構成図である。It is a schematic block diagram of the antenna device which concerns on a modification. 変形例に係るアンテナ装置の共振周波数特性を説明するための図である。It is a figure for demonstrating the resonant frequency characteristic of the antenna device which concerns on a modification.

符号の説明Explanation of symbols

10A,10B,10C,10D,10E…スパイラルアンテナ部、10A−1,10B−1,10C−1,10D−1,10E−1…親アンテナ部、10A−2,10B−2,10C−2,10D−2,10E−2…子アンテナ部、D1…親アンテナ部の一辺の長さ、D2…子アンテナ部の一辺の長さ   10A, 10B, 10C, 10D, 10E ... spiral antenna part, 10A-1, 10B-1, 10C-1, 10D-1, 10E-1 ... parent antenna part, 10A-2, 10B-2, 10C-2, 10D-2, 10E-2 ... child antenna part, D1 ... length of one side of the parent antenna part, D2 ... length of one side of the child antenna part

Claims (5)

複数のスパイラルアンテナを互いに直列に接続してなるアンテナ装置であって、
前記複数のスパイラルアンテナは、各々が互いに異なる大きさを有すると共に、各スパイラルアンテナで生じる中心磁束が同一方向を向くこととなるように巻回されている
ことを特徴とするアンテナ装置。
An antenna device comprising a plurality of spiral antennas connected in series with each other,
Each of the plurality of spiral antennas has a size different from each other, and is wound so that a central magnetic flux generated in each spiral antenna is directed in the same direction.
前記複数のスパイラルアンテナは、一の回路基板上に形成されている
ことを特徴とする請求項1に記載のアンテナ装置。
The antenna device according to claim 1, wherein the plurality of spiral antennas are formed on one circuit board.
前記複数のスパイラルアンテナのうち相対的に小さなスパイラルアンテナは、前記一の回路基板上で、前記複数のスパイラルアンテナのうち相対的に大きなスパイラルアンテナの巻き配線の内側に配置されている
ことを特徴とする請求項2に記載のアンテナ装置。
A relatively small spiral antenna among the plurality of spiral antennas is disposed on the inside of a winding wire of a relatively large spiral antenna among the plurality of spiral antennas on the one circuit board. The antenna device according to claim 2.
前記複数のスパイラルアンテナのうち相対的に小さなスパイラルアンテナは、前記一の回路基板上で、前記複数のスパイラルアンテナのうち相対的に大きなスパイラルアンテナの巻き配線の外側に配置されている
ことを特徴とする請求項2に記載のアンテナ装置。
A relatively small spiral antenna among the plurality of spiral antennas is disposed outside the winding wire of a relatively large spiral antenna among the plurality of spiral antennas on the one circuit board. The antenna device according to claim 2.
前記複数のスパイラルアンテナの個々の巻き配線は、前記一の回路基板上で、一部重なるように配置されている
ことを特徴とする請求項2に記載のアンテナ装置。
3. The antenna device according to claim 2, wherein individual winding wirings of the plurality of spiral antennas are arranged so as to partially overlap on the one circuit board.
JP2005105446A 2005-03-31 2005-03-31 Antenna device Pending JP2006287659A (en)

Priority Applications (1)

Application Number Priority Date Filing Date Title
JP2005105446A JP2006287659A (en) 2005-03-31 2005-03-31 Antenna device

Applications Claiming Priority (1)

Application Number Priority Date Filing Date Title
JP2005105446A JP2006287659A (en) 2005-03-31 2005-03-31 Antenna device

Publications (1)

Publication Number Publication Date
JP2006287659A true JP2006287659A (en) 2006-10-19

Family

ID=37409076

Family Applications (1)

Application Number Title Priority Date Filing Date
JP2005105446A Pending JP2006287659A (en) 2005-03-31 2005-03-31 Antenna device

Country Status (1)

Country Link
JP (1) JP2006287659A (en)

Cited By (59)

* Cited by examiner, † Cited by third party
Publication number Priority date Publication date Assignee Title
JP2008035469A (en) * 2006-07-28 2008-02-14 Samsung Electronics Co Ltd Dual band antenna device for portable terminal
JP2010501935A (en) * 2006-08-22 2010-01-21 センサーマティック・エレクトロニクス・コーポレーション Article surveillance system antenna and method
WO2011001709A1 (en) * 2009-07-03 2011-01-06 株式会社村田製作所 Antenna and antenna module
US7990326B2 (en) 2008-01-08 2011-08-02 Panasonic Corporation Antenna apparatus and adjusting method thereof
US8336786B2 (en) 2010-03-12 2012-12-25 Murata Manufacturing Co., Ltd. Wireless communication device and metal article
US8400365B2 (en) 2009-11-20 2013-03-19 Murata Manufacturing Co., Ltd. Antenna device and mobile communication terminal
US8413907B2 (en) 2007-07-17 2013-04-09 Murata Manufacturing Co., Ltd. Wireless IC device and electronic apparatus
US8424769B2 (en) 2010-07-08 2013-04-23 Murata Manufacturing Co., Ltd. Antenna and RFID device
US8424762B2 (en) 2007-04-14 2013-04-23 Murata Manufacturing Co., Ltd. Wireless IC device and component for wireless IC device
US8531346B2 (en) 2007-04-26 2013-09-10 Murata Manufacturing Co., Ltd. Wireless IC device
US8544759B2 (en) 2009-01-09 2013-10-01 Murata Manufacturing., Ltd. Wireless IC device, wireless IC module and method of manufacturing wireless IC module
US8552870B2 (en) 2007-07-09 2013-10-08 Murata Manufacturing Co., Ltd. Wireless IC device
US8590797B2 (en) 2008-05-21 2013-11-26 Murata Manufacturing Co., Ltd. Wireless IC device
US8602310B2 (en) 2010-03-03 2013-12-10 Murata Manufacturing Co., Ltd. Radio communication device and radio communication terminal
US8613395B2 (en) 2011-02-28 2013-12-24 Murata Manufacturing Co., Ltd. Wireless communication device
WO2014004779A1 (en) * 2012-06-29 2014-01-03 Intel Corporation Spiral near field communication (nfc) coil for consistent coupling with different tags and devices
US8676117B2 (en) 2006-01-19 2014-03-18 Murata Manufacturing Co., Ltd. Wireless IC device and component for wireless IC device
US8680971B2 (en) 2009-09-28 2014-03-25 Murata Manufacturing Co., Ltd. Wireless IC device and method of detecting environmental state using the device
US8690070B2 (en) 2009-04-14 2014-04-08 Murata Manufacturing Co., Ltd. Wireless IC device component and wireless IC device
US8718727B2 (en) 2009-12-24 2014-05-06 Murata Manufacturing Co., Ltd. Antenna having structure for multi-angled reception and mobile terminal including the antenna
US8720789B2 (en) 2012-01-30 2014-05-13 Murata Manufacturing Co., Ltd. Wireless IC device
US8740093B2 (en) 2011-04-13 2014-06-03 Murata Manufacturing Co., Ltd. Radio IC device and radio communication terminal
US8757500B2 (en) 2007-05-11 2014-06-24 Murata Manufacturing Co., Ltd. Wireless IC device
US8770489B2 (en) 2011-07-15 2014-07-08 Murata Manufacturing Co., Ltd. Radio communication device
US8797148B2 (en) 2008-03-03 2014-08-05 Murata Manufacturing Co., Ltd. Radio frequency IC device and radio communication system
US8797225B2 (en) 2011-03-08 2014-08-05 Murata Manufacturing Co., Ltd. Antenna device and communication terminal apparatus
US8814056B2 (en) 2011-07-19 2014-08-26 Murata Manufacturing Co., Ltd. Antenna device, RFID tag, and communication terminal apparatus
EP2779305A1 (en) * 2013-03-15 2014-09-17 VeriFone, Inc. Multi-Loop Antenna System for Contactless Applications
US8853549B2 (en) 2009-09-30 2014-10-07 Murata Manufacturing Co., Ltd. Circuit substrate and method of manufacturing same
US8870077B2 (en) 2008-08-19 2014-10-28 Murata Manufacturing Co., Ltd. Wireless IC device and method for manufacturing same
US8878739B2 (en) 2011-07-14 2014-11-04 Murata Manufacturing Co., Ltd. Wireless communication device
US8905296B2 (en) 2011-12-01 2014-12-09 Murata Manufacturing Co., Ltd. Wireless integrated circuit device and method of manufacturing the same
US8917211B2 (en) 2008-11-17 2014-12-23 Murata Manufacturing Co., Ltd. Antenna and wireless IC device
US8937576B2 (en) 2011-04-05 2015-01-20 Murata Manufacturing Co., Ltd. Wireless communication device
US8944335B2 (en) 2010-09-30 2015-02-03 Murata Manufacturing Co., Ltd. Wireless IC device
US8976075B2 (en) 2009-04-21 2015-03-10 Murata Manufacturing Co., Ltd. Antenna device and method of setting resonant frequency of antenna device
US8981906B2 (en) 2010-08-10 2015-03-17 Murata Manufacturing Co., Ltd. Printed wiring board and wireless communication system
US8991713B2 (en) 2011-01-14 2015-03-31 Murata Manufacturing Co., Ltd. RFID chip package and RFID tag
US9024837B2 (en) 2010-03-31 2015-05-05 Murata Manufacturing Co., Ltd. Antenna and wireless communication device
US9024725B2 (en) 2009-11-04 2015-05-05 Murata Manufacturing Co., Ltd. Communication terminal and information processing system
US9104950B2 (en) 2009-01-30 2015-08-11 Murata Manufacturing Co., Ltd. Antenna and wireless IC device
US9117157B2 (en) 2009-10-02 2015-08-25 Murata Manufacturing Co., Ltd. Wireless IC device and electromagnetic coupling module
US9165239B2 (en) 2006-04-26 2015-10-20 Murata Manufacturing Co., Ltd. Electromagnetic-coupling-module-attached article
US9166291B2 (en) 2010-10-12 2015-10-20 Murata Manufacturing Co., Ltd. Antenna device and communication terminal apparatus
JP2015222854A (en) * 2014-05-22 2015-12-10 株式会社東海理化電機製作所 Antenna device
US9236651B2 (en) 2010-10-21 2016-01-12 Murata Manufacturing Co., Ltd. Communication terminal device
US9281873B2 (en) 2008-05-26 2016-03-08 Murata Manufacturing Co., Ltd. Wireless IC device system and method of determining authenticity of wireless IC device
US9378452B2 (en) 2011-05-16 2016-06-28 Murata Manufacturing Co., Ltd. Radio IC device
US9444143B2 (en) 2009-10-16 2016-09-13 Murata Manufacturing Co., Ltd. Antenna and wireless IC device
US9461363B2 (en) 2009-11-04 2016-10-04 Murata Manufacturing Co., Ltd. Communication terminal and information processing system
US9460320B2 (en) 2009-10-27 2016-10-04 Murata Manufacturing Co., Ltd. Transceiver and radio frequency identification tag reader
US9460376B2 (en) 2007-07-18 2016-10-04 Murata Manufacturing Co., Ltd. Radio IC device
US9543642B2 (en) 2011-09-09 2017-01-10 Murata Manufacturing Co., Ltd. Antenna device and wireless device
US9558384B2 (en) 2010-07-28 2017-01-31 Murata Manufacturing Co., Ltd. Antenna apparatus and communication terminal instrument
US9692128B2 (en) 2012-02-24 2017-06-27 Murata Manufacturing Co., Ltd. Antenna device and wireless communication device
US9727765B2 (en) 2010-03-24 2017-08-08 Murata Manufacturing Co., Ltd. RFID system including a reader/writer and RFID tag
US9761923B2 (en) 2011-01-05 2017-09-12 Murata Manufacturing Co., Ltd. Wireless communication device
US10013650B2 (en) 2010-03-03 2018-07-03 Murata Manufacturing Co., Ltd. Wireless communication module and wireless communication device
US10235544B2 (en) 2012-04-13 2019-03-19 Murata Manufacturing Co., Ltd. Inspection method and inspection device for RFID tag

Citations (3)

* Cited by examiner, † Cited by third party
Publication number Priority date Publication date Assignee Title
JP2001156524A (en) * 1999-11-22 2001-06-08 Smart Card Technologies:Kk Multilayer antenna, communication IC unit using the same, and method of manufacturing the same
JP2003085519A (en) * 2001-09-11 2003-03-20 Toshiba Corp Wireless card
JP2005352858A (en) * 2004-06-11 2005-12-22 Hitachi Maxell Ltd Communication record carrier

Patent Citations (3)

* Cited by examiner, † Cited by third party
Publication number Priority date Publication date Assignee Title
JP2001156524A (en) * 1999-11-22 2001-06-08 Smart Card Technologies:Kk Multilayer antenna, communication IC unit using the same, and method of manufacturing the same
JP2003085519A (en) * 2001-09-11 2003-03-20 Toshiba Corp Wireless card
JP2005352858A (en) * 2004-06-11 2005-12-22 Hitachi Maxell Ltd Communication record carrier

Cited By (78)

* Cited by examiner, † Cited by third party
Publication number Priority date Publication date Assignee Title
US8725071B2 (en) 2006-01-19 2014-05-13 Murata Manufacturing Co., Ltd. Wireless IC device and component for wireless IC device
US8676117B2 (en) 2006-01-19 2014-03-18 Murata Manufacturing Co., Ltd. Wireless IC device and component for wireless IC device
US9165239B2 (en) 2006-04-26 2015-10-20 Murata Manufacturing Co., Ltd. Electromagnetic-coupling-module-attached article
JP2008035469A (en) * 2006-07-28 2008-02-14 Samsung Electronics Co Ltd Dual band antenna device for portable terminal
JP2010501935A (en) * 2006-08-22 2010-01-21 センサーマティック・エレクトロニクス・コーポレーション Article surveillance system antenna and method
US8424762B2 (en) 2007-04-14 2013-04-23 Murata Manufacturing Co., Ltd. Wireless IC device and component for wireless IC device
US8531346B2 (en) 2007-04-26 2013-09-10 Murata Manufacturing Co., Ltd. Wireless IC device
US8757500B2 (en) 2007-05-11 2014-06-24 Murata Manufacturing Co., Ltd. Wireless IC device
US8662403B2 (en) 2007-07-04 2014-03-04 Murata Manufacturing Co., Ltd. Wireless IC device and component for wireless IC device
US8552870B2 (en) 2007-07-09 2013-10-08 Murata Manufacturing Co., Ltd. Wireless IC device
US8413907B2 (en) 2007-07-17 2013-04-09 Murata Manufacturing Co., Ltd. Wireless IC device and electronic apparatus
US9460376B2 (en) 2007-07-18 2016-10-04 Murata Manufacturing Co., Ltd. Radio IC device
US9830552B2 (en) 2007-07-18 2017-11-28 Murata Manufacturing Co., Ltd. Radio IC device
US7990326B2 (en) 2008-01-08 2011-08-02 Panasonic Corporation Antenna apparatus and adjusting method thereof
US8797148B2 (en) 2008-03-03 2014-08-05 Murata Manufacturing Co., Ltd. Radio frequency IC device and radio communication system
US8590797B2 (en) 2008-05-21 2013-11-26 Murata Manufacturing Co., Ltd. Wireless IC device
US8973841B2 (en) 2008-05-21 2015-03-10 Murata Manufacturing Co., Ltd. Wireless IC device
US9022295B2 (en) 2008-05-21 2015-05-05 Murata Manufacturing Co., Ltd. Wireless IC device
US9281873B2 (en) 2008-05-26 2016-03-08 Murata Manufacturing Co., Ltd. Wireless IC device system and method of determining authenticity of wireless IC device
US8870077B2 (en) 2008-08-19 2014-10-28 Murata Manufacturing Co., Ltd. Wireless IC device and method for manufacturing same
US8917211B2 (en) 2008-11-17 2014-12-23 Murata Manufacturing Co., Ltd. Antenna and wireless IC device
US8544759B2 (en) 2009-01-09 2013-10-01 Murata Manufacturing., Ltd. Wireless IC device, wireless IC module and method of manufacturing wireless IC module
US9104950B2 (en) 2009-01-30 2015-08-11 Murata Manufacturing Co., Ltd. Antenna and wireless IC device
US8876010B2 (en) 2009-04-14 2014-11-04 Murata Manufacturing Co., Ltd Wireless IC device component and wireless IC device
US8690070B2 (en) 2009-04-14 2014-04-08 Murata Manufacturing Co., Ltd. Wireless IC device component and wireless IC device
US8976075B2 (en) 2009-04-21 2015-03-10 Murata Manufacturing Co., Ltd. Antenna device and method of setting resonant frequency of antenna device
US9203157B2 (en) 2009-04-21 2015-12-01 Murata Manufacturing Co., Ltd. Antenna device and method of setting resonant frequency of antenna device
US9564678B2 (en) 2009-04-21 2017-02-07 Murata Manufacturing Co., Ltd. Antenna device and method of setting resonant frequency of antenna device
CN102474009B (en) * 2009-07-03 2015-01-07 株式会社村田制作所 Antenna and antenna module
WO2011001709A1 (en) * 2009-07-03 2011-01-06 株式会社村田製作所 Antenna and antenna module
JP4788850B2 (en) * 2009-07-03 2011-10-05 株式会社村田製作所 Antenna module
CN102474009A (en) * 2009-07-03 2012-05-23 株式会社村田制作所 Antenna and antenna module
US8847831B2 (en) 2009-07-03 2014-09-30 Murata Manufacturing Co., Ltd. Antenna and antenna module
US8680971B2 (en) 2009-09-28 2014-03-25 Murata Manufacturing Co., Ltd. Wireless IC device and method of detecting environmental state using the device
US8853549B2 (en) 2009-09-30 2014-10-07 Murata Manufacturing Co., Ltd. Circuit substrate and method of manufacturing same
US9117157B2 (en) 2009-10-02 2015-08-25 Murata Manufacturing Co., Ltd. Wireless IC device and electromagnetic coupling module
US9444143B2 (en) 2009-10-16 2016-09-13 Murata Manufacturing Co., Ltd. Antenna and wireless IC device
US9460320B2 (en) 2009-10-27 2016-10-04 Murata Manufacturing Co., Ltd. Transceiver and radio frequency identification tag reader
US9461363B2 (en) 2009-11-04 2016-10-04 Murata Manufacturing Co., Ltd. Communication terminal and information processing system
US9024725B2 (en) 2009-11-04 2015-05-05 Murata Manufacturing Co., Ltd. Communication terminal and information processing system
US8704716B2 (en) 2009-11-20 2014-04-22 Murata Manufacturing Co., Ltd. Antenna device and mobile communication terminal
US8400365B2 (en) 2009-11-20 2013-03-19 Murata Manufacturing Co., Ltd. Antenna device and mobile communication terminal
US8718727B2 (en) 2009-12-24 2014-05-06 Murata Manufacturing Co., Ltd. Antenna having structure for multi-angled reception and mobile terminal including the antenna
US8602310B2 (en) 2010-03-03 2013-12-10 Murata Manufacturing Co., Ltd. Radio communication device and radio communication terminal
US10013650B2 (en) 2010-03-03 2018-07-03 Murata Manufacturing Co., Ltd. Wireless communication module and wireless communication device
US8336786B2 (en) 2010-03-12 2012-12-25 Murata Manufacturing Co., Ltd. Wireless communication device and metal article
US8528829B2 (en) 2010-03-12 2013-09-10 Murata Manufacturing Co., Ltd. Wireless communication device and metal article
US9727765B2 (en) 2010-03-24 2017-08-08 Murata Manufacturing Co., Ltd. RFID system including a reader/writer and RFID tag
US9024837B2 (en) 2010-03-31 2015-05-05 Murata Manufacturing Co., Ltd. Antenna and wireless communication device
US8424769B2 (en) 2010-07-08 2013-04-23 Murata Manufacturing Co., Ltd. Antenna and RFID device
US9558384B2 (en) 2010-07-28 2017-01-31 Murata Manufacturing Co., Ltd. Antenna apparatus and communication terminal instrument
US8981906B2 (en) 2010-08-10 2015-03-17 Murata Manufacturing Co., Ltd. Printed wiring board and wireless communication system
US8944335B2 (en) 2010-09-30 2015-02-03 Murata Manufacturing Co., Ltd. Wireless IC device
US9166291B2 (en) 2010-10-12 2015-10-20 Murata Manufacturing Co., Ltd. Antenna device and communication terminal apparatus
US9236651B2 (en) 2010-10-21 2016-01-12 Murata Manufacturing Co., Ltd. Communication terminal device
US9761923B2 (en) 2011-01-05 2017-09-12 Murata Manufacturing Co., Ltd. Wireless communication device
US8991713B2 (en) 2011-01-14 2015-03-31 Murata Manufacturing Co., Ltd. RFID chip package and RFID tag
US8757502B2 (en) 2011-02-28 2014-06-24 Murata Manufacturing Co., Ltd. Wireless communication device
US8613395B2 (en) 2011-02-28 2013-12-24 Murata Manufacturing Co., Ltd. Wireless communication device
US8960561B2 (en) 2011-02-28 2015-02-24 Murata Manufacturing Co., Ltd. Wireless communication device
US8797225B2 (en) 2011-03-08 2014-08-05 Murata Manufacturing Co., Ltd. Antenna device and communication terminal apparatus
US8937576B2 (en) 2011-04-05 2015-01-20 Murata Manufacturing Co., Ltd. Wireless communication device
US8740093B2 (en) 2011-04-13 2014-06-03 Murata Manufacturing Co., Ltd. Radio IC device and radio communication terminal
US9378452B2 (en) 2011-05-16 2016-06-28 Murata Manufacturing Co., Ltd. Radio IC device
US8878739B2 (en) 2011-07-14 2014-11-04 Murata Manufacturing Co., Ltd. Wireless communication device
US8770489B2 (en) 2011-07-15 2014-07-08 Murata Manufacturing Co., Ltd. Radio communication device
US8814056B2 (en) 2011-07-19 2014-08-26 Murata Manufacturing Co., Ltd. Antenna device, RFID tag, and communication terminal apparatus
US9543642B2 (en) 2011-09-09 2017-01-10 Murata Manufacturing Co., Ltd. Antenna device and wireless device
US8905296B2 (en) 2011-12-01 2014-12-09 Murata Manufacturing Co., Ltd. Wireless integrated circuit device and method of manufacturing the same
US8720789B2 (en) 2012-01-30 2014-05-13 Murata Manufacturing Co., Ltd. Wireless IC device
US9692128B2 (en) 2012-02-24 2017-06-27 Murata Manufacturing Co., Ltd. Antenna device and wireless communication device
US10235544B2 (en) 2012-04-13 2019-03-19 Murata Manufacturing Co., Ltd. Inspection method and inspection device for RFID tag
WO2014004779A1 (en) * 2012-06-29 2014-01-03 Intel Corporation Spiral near field communication (nfc) coil for consistent coupling with different tags and devices
US9934895B2 (en) 2012-06-29 2018-04-03 Intel Corporation Spiral near field communication (NFC) coil for consistent coupling with different tags and devices
US10325708B2 (en) 2012-06-29 2019-06-18 Intel Corporation Spiral near field communication (NFC) antenna coil
EP2779305A1 (en) * 2013-03-15 2014-09-17 VeriFone, Inc. Multi-Loop Antenna System for Contactless Applications
US9293825B2 (en) 2013-03-15 2016-03-22 Verifone, Inc. Multi-loop antenna system for contactless applications
JP2015222854A (en) * 2014-05-22 2015-12-10 株式会社東海理化電機製作所 Antenna device

Similar Documents

Publication Publication Date Title
JP2006287659A (en) Antenna device
JP5660217B2 (en) Antenna device, RFID tag, and communication terminal device
US9048526B2 (en) Resonant circuit and antenna device
JP5592895B2 (en) RFID antenna circuit
US8424769B2 (en) Antenna and RFID device
JP4885093B2 (en) Booster antenna coil
US8668151B2 (en) Wireless IC device
US9104950B2 (en) Antenna and wireless IC device
US9269038B2 (en) Antenna device, card-type communication device, and communication terminal apparatus
JP2003332820A (en) Booster antenna for ic card
CN103782446A (en) Antenna device and wireless communication device
US20110127336A1 (en) Wireless ic device and method for manufacturing same
US8730120B2 (en) Transmission/reception antenna and transmission/reception device using same
US20050001026A1 (en) Reader/writer device and automatic ticket checker for checking ticket by reader/writer
JP6213688B2 (en) ANTENNA DEVICE AND ELECTRONIC DEVICE
US11171420B2 (en) Antenna module
JP5655602B2 (en) Antenna and RFID device
EP3014531B2 (en) Card body and smart card comprising it
JP2006202174A (en) Contactless data carrier and manufacturing method of same
WO2020003568A1 (en) Rfid tag and rfid attached material
JP2006287660A (en) Antenna device
JP2015061097A (en) Resonance frequency adjustment method of antenna device
HK1222734A1 (en) Information processing device and communication device

Legal Events

Date Code Title Description
A621 Written request for application examination

Free format text: JAPANESE INTERMEDIATE CODE: A621

Effective date: 20071207

A977 Report on retrieval

Effective date: 20091124

Free format text: JAPANESE INTERMEDIATE CODE: A971007

A131 Notification of reasons for refusal

Free format text: JAPANESE INTERMEDIATE CODE: A131

Effective date: 20091201

A02 Decision of refusal

Free format text: JAPANESE INTERMEDIATE CODE: A02

Effective date: 20100406