[go: up one dir, main page]

JP2006023757A - Electrophoretic display device driving method, driving circuit, electrophoretic display device, and electronic apparatus - Google Patents

Electrophoretic display device driving method, driving circuit, electrophoretic display device, and electronic apparatus Download PDF

Info

Publication number
JP2006023757A
JP2006023757A JP2005209302A JP2005209302A JP2006023757A JP 2006023757 A JP2006023757 A JP 2006023757A JP 2005209302 A JP2005209302 A JP 2005209302A JP 2005209302 A JP2005209302 A JP 2005209302A JP 2006023757 A JP2006023757 A JP 2006023757A
Authority
JP
Japan
Prior art keywords
voltage
common electrode
data
pixel
period
Prior art date
Legal status (The legal status is an assumption and is not a legal conclusion. Google has not performed a legal analysis and makes no representation as to the accuracy of the status listed.)
Granted
Application number
JP2005209302A
Other languages
Japanese (ja)
Other versions
JP2006023757A5 (en
JP4613727B2 (en
Inventor
Makoto Katase
誠 片瀬
Current Assignee (The listed assignees may be inaccurate. Google has not performed a legal analysis and makes no representation or warranty as to the accuracy of the list.)
Seiko Epson Corp
Original Assignee
Seiko Epson Corp
Priority date (The priority date is an assumption and is not a legal conclusion. Google has not performed a legal analysis and makes no representation as to the accuracy of the date listed.)
Filing date
Publication date
Application filed by Seiko Epson Corp filed Critical Seiko Epson Corp
Priority to JP2005209302A priority Critical patent/JP4613727B2/en
Publication of JP2006023757A publication Critical patent/JP2006023757A/en
Publication of JP2006023757A5 publication Critical patent/JP2006023757A5/ja
Application granted granted Critical
Publication of JP4613727B2 publication Critical patent/JP4613727B2/en
Anticipated expiration legal-status Critical
Expired - Lifetime legal-status Critical Current

Links

Images

Landscapes

  • Electrochromic Elements, Electrophoresis, Or Variable Reflection Or Absorption Elements (AREA)
  • Control Of Indicators Other Than Cathode Ray Tubes (AREA)

Abstract

【課題】 アクティブマトリックス形式の電気泳動表示装置の駆動方法、駆動回路及び電子機器を提供する。
【解決手段】 リセット期間Trにあっては、各画素電極にリセット電圧を書き込む。次に、書込期間にあっては、画像データの指示する階調値に応じた電圧値だけ、各画素電極に印加電圧を印加する。この後、各画素電極に共通電極電圧を書き込む。これにより、画素容量に蓄積された電荷を放電し、分散系に電界を作用させるようにする。この後、表示画像を保持する。
【選択図】 図8
PROBLEM TO BE SOLVED: To provide an active matrix type electrophoretic display device driving method, driving circuit and electronic apparatus.
In a reset period Tr, a reset voltage is written to each pixel electrode. Next, during the writing period, an applied voltage is applied to each pixel electrode by a voltage value corresponding to the gradation value indicated by the image data. Thereafter, a common electrode voltage is written to each pixel electrode. As a result, the electric charge accumulated in the pixel capacitor is discharged, and an electric field is applied to the dispersion system. Thereafter, the display image is held.
[Selection] Figure 8

Description

本発明は、電気泳動粒子を含有する分散系を有する電気泳動表示装置並びにその駆動方法、駆動回路および電子機器に関する。   The present invention relates to an electrophoretic display device having a dispersion system containing electrophoretic particles, a driving method thereof, a driving circuit, and an electronic apparatus.

非発光型の表示デバイスとして、電気泳動現象を利用した電気泳動表示装置が知られている。電気泳動現象は、液体中(分散媒)に微粒子(電気泳動粒子)を分散させた分散系に電界を印加したときに、微粒子が移動する現象である。基本的に、電気泳動表示装置は、一定間隔を隔てて対向した1対の電極と、これらの電極間に封入された分散系とを有している。そして、両電極間に電位差を与えると、帯電した電気泳動粒子が、電界の方向応じてどちらか一方の電極に引き付けられることになる。ここで、分散媒を染料で染色するとともに電気泳動粒子を顔料粒子で構成すれば、観測者には、電気泳動粒子の色または染料の色が見えることになる。   As a non-luminous display device, an electrophoretic display device using an electrophoretic phenomenon is known. The electrophoresis phenomenon is a phenomenon in which fine particles move when an electric field is applied to a dispersion system in which fine particles (electrophoretic particles) are dispersed in a liquid (dispersion medium). Basically, an electrophoretic display device has a pair of electrodes opposed to each other at a predetermined interval, and a dispersion system sealed between these electrodes. When a potential difference is applied between the two electrodes, the charged electrophoretic particles are attracted to one of the electrodes depending on the direction of the electric field. Here, if the dispersion medium is dyed with a dye and the electrophoretic particles are composed of pigment particles, the observer can see the color of the electrophoretic particles or the color of the dye.

しかしながら、アクティブマトリックス形式の電気泳動表示装置については、従来例がなく、その駆動方法や駆動回路については知られていない。   However, there is no conventional example of an active matrix type electrophoretic display device, and its driving method and driving circuit are not known.

本発明は上述した事情に鑑みてなされたものであり、その目的は、所望の階調表示を実現する電気泳動表示装置、特に、アクティブマトリックス形式の電気泳動表示装置の駆動方法、駆動回路および電子機器を提供することにある。   The present invention has been made in view of the above-described circumstances, and an object thereof is an electrophoretic display device that realizes a desired gradation display, in particular, a driving method, a drive circuit, and an electronic device for an active matrix type electrophoretic display device. To provide equipment.

上記目的を達成するため、本発明は、共通電極と、複数の画素と、各画素に接続された複数のスイッチング素子とを有し、前記複数の画素の各々が、前記スイッチング素子の1つと接続され、前記共通電極とを距離とあけて対向した画素電極と、前記共通電極と前記画素電極との間に挟まれ、電気泳動粒子を含有する分散系とを有する電気泳動装置の駆動方法であって、前記共通電極に第1電圧を印加し、所定時間で、前記画素電極および前記共通電極の間における当該画素の表示階調に対応した位置まで前記電気泳動粒子を移動させるための第2電圧の値を決定し、前記所定時間、前記第2電圧を前記スイッチング素子を介して前記画素電極に印加する書込動作を行った後、前記スイッチング素子を介して前記画素電極に前記第1電圧を印加する無バイアス動作を行うことを特徴とする電気泳動表示装置の駆動方法を提供する。   To achieve the above object, the present invention includes a common electrode, a plurality of pixels, and a plurality of switching elements connected to each pixel, and each of the plurality of pixels is connected to one of the switching elements. The electrophoretic device driving method includes: a pixel electrode facing the common electrode at a distance; and a dispersion system sandwiched between the common electrode and the pixel electrode and containing electrophoretic particles. A second voltage for applying the first voltage to the common electrode and moving the electrophoretic particles to a position corresponding to the display gradation of the pixel between the pixel electrode and the common electrode in a predetermined time. And performing a writing operation of applying the second voltage to the pixel electrode through the switching element for the predetermined time, and then applying the first voltage to the pixel electrode through the switching element. mark To provide a driving method of the electrophoretic display device and performs no bias operation of.

この発明によれば、画素電極に第2電圧を供給すると、分散系に電界が印加され、電気泳動粒子にクローン力が作用して、その空間的な状態が変化する。次に、画素電極に第1電圧を供給することによって、電極間の電位差はゼロになる。そして、スイッチング素子をオフにすると、電気泳動粒子の空間的な状態が固定され、この電気泳動粒子の空間状態によって表される表示画像が固定される。第2電圧の値を変えれば、実現する粒子の空間分布も異なる。従って、表示すべき階調に応じて第2電圧の値を設定することにより、各画素において所望の階調を表示させることができる。   According to the present invention, when the second voltage is supplied to the pixel electrode, an electric field is applied to the dispersion system, and the clonal force acts on the electrophoretic particles to change the spatial state. Next, by supplying the first voltage to the pixel electrode, the potential difference between the electrodes becomes zero. When the switching element is turned off, the spatial state of the electrophoretic particles is fixed, and the display image represented by the spatial state of the electrophoretic particles is fixed. If the value of the second voltage is changed, the spatial distribution of the particles to be realized is also different. Therefore, a desired gradation can be displayed in each pixel by setting the value of the second voltage according to the gradation to be displayed.

好ましい態様において、前記電圧書込動作では、前記第2電圧として、前記表示階調に応じた電圧を前記画素電極に印加するとともに、前記書込動作に先立ち、前記電気泳動粒子を初期位置に移動させるリセット電圧を前記画素電極に印加するリセット動作を行う。   In a preferred aspect, in the voltage writing operation, a voltage corresponding to the display gradation is applied to the pixel electrode as the second voltage, and the electrophoretic particles are moved to an initial position prior to the writing operation. A reset operation for applying a reset voltage to the pixel electrode is performed.

好ましい態様において、本発明に係る駆動方法は、複数のデータ線と、前記複数のデータ線と立体交差する複数の走査線と、共通電極と、前記複数のデータ線と前記複数の走査線との各交差部に対応して各々設けられ、各々一定の間隙を挟んで前記共通電極と対向する複数の画素電極と、前記複数の画素電極と前記共通電極との間に挟持され、電気泳動粒子を各々含有する複数の分散系と、前記複数のデータ線と前記複数の走査線との各交差部に対応して各々設けられ、当該交差部を通過する走査線に各々のオン/オフ切換制御端子が接続され、オン状態であるときに当該交差部を通過するデータ線を当該交差部に対応して設けられた画素電極に接続する複数のスイッチング素子とを有する電気泳動表示装置の駆動方法であって、ある時間長を持ったフィールドを利用して前記複数の走査線および前記複数のデータ線を用いた表示制御のための動作を行い、1つのフィールド内の表示制御のための動作では、前記共通電極に共通電極電圧を印加しながら、前記走査線を順次選択し、選択した走査線に対し、当該走査線に接続された全てのスイッチング素子を一括してオン状態にする電圧を印加し、前記複数の画素の各々に関し、当該画素電極および前記共通電極の間における当該画素の表示階調に対応した位置まで前記電気泳動粒子を移動させるための階調電圧の値を各々決定し、当該各階調電圧を対応する前記データ線に各々一定時間印加し、前記複数のデータ線に前記共通電極電圧を印加し、前記選択した走査線に対し、当該走査線に接続された全てのスイッチング素子を一括してオフ状態にする電圧を印加することを特徴とする。   In a preferred aspect, the driving method according to the present invention includes a plurality of data lines, a plurality of scanning lines that intersect the plurality of data lines, a common electrode, the plurality of data lines, and the plurality of scanning lines. A plurality of pixel electrodes, which are respectively provided corresponding to the respective intersecting portions and are opposed to the common electrode with a certain gap therebetween, are sandwiched between the plurality of pixel electrodes and the common electrode, A plurality of dispersion systems each containing, and an ON / OFF switching control terminal provided for each of the intersections of the plurality of data lines and the plurality of scanning lines, and each scanning line passing through the intersection. And a plurality of switching elements that connect a data line passing through the intersection when connected to a pixel electrode provided corresponding to the intersection. A certain length of time An operation for display control using the plurality of scanning lines and the plurality of data lines is performed using a field, and in the operation for display control in one field, a common electrode voltage is applied to the common electrode. And sequentially applying the voltage to turn on all the switching elements connected to the scanning line to each of the plurality of pixels. The gradation voltage value for moving the electrophoretic particles to a position corresponding to the display gradation of the pixel between the pixel electrode and the common electrode is determined, and the gradation voltage corresponding to each gradation voltage is determined. Applying each of the data lines to the data line for a certain period of time, applying the common electrode voltage to the plurality of data lines, and collectively switching all the switching elements connected to the scan line to the selected scan line And applying a voltage to turn off Te.

かかる駆動方法によれば、画像をマトリックス表示することが可能となる。しかも、画素電極に共通電極電圧を印加することによって、電極間の電位差はゼロとなるので、電極間の電界が発生しない。したがって、電気泳動粒子の空間的な状態を固定し、表示画像を保持することが可能となる。また、この駆動方法では、1水平走査線分の画素に対応した書込動作を1水平走査期間内に終わらせることができる。   According to this driving method, an image can be displayed in a matrix. In addition, by applying a common electrode voltage to the pixel electrodes, the potential difference between the electrodes becomes zero, so that an electric field between the electrodes is not generated. Accordingly, the spatial state of the electrophoretic particles can be fixed and a display image can be held. Further, in this driving method, the writing operation corresponding to the pixels for one horizontal scanning line can be completed within one horizontal scanning period.

好ましい態様においては、各々1つのフィールドを利用して、リセット動作と、書込動作とを交互に繰り返し、前記リセット動作を行うためのフィールドでは、前記電気泳動粒子の空間状態を初期化する電界を発生するための電圧を前記画素電圧として前記複数のデータ線に印加し、前記書込動作を行うためのフィールドでは、前記画素電圧として、目的とする表示階調に対応した階調電圧を前記複数のデータ線に印加する。この態様においては、初期化のための電圧印加および画素電圧の更新のための電圧印加の回数を減らすことができる。   In a preferred embodiment, a reset operation and a write operation are alternately repeated using one field each, and in the field for performing the reset operation, an electric field for initializing the spatial state of the electrophoretic particles is applied. In the field for applying the voltage for generating to the plurality of data lines as the pixel voltage and performing the writing operation, the plurality of gradation voltages corresponding to the target display gradation are used as the pixel voltage. Applied to the data line. In this aspect, the number of times of voltage application for initialization and voltage application for updating the pixel voltage can be reduced.

また、別の好ましい態様では、1つのフィールドを利用してリセット動作を行った後、後続のフィールドを利用して書込動作を繰り返し、前記リセット動作を行うためのフィールドでは、前記電気泳動粒子の空間状態を初期化する電界を発生するための電圧として前記画素電圧として前記複数のデータ線に印加し、前記書込動作を行うためのフィールドでは、前記画素電圧として、前回の書込動作により得られた表示階調に対応した階調電圧と目的とする表示階調に対応した階調電圧との差電圧を前記複数のデータ線に印加する。   In another preferred embodiment, after performing the reset operation using one field, the write operation is repeated using the subsequent field, and in the field for performing the reset operation, The pixel voltage is applied to the plurality of data lines as the voltage for generating an electric field for initializing the spatial state, and the pixel voltage is obtained by the previous writing operation in the field for performing the writing operation. A difference voltage between the gradation voltage corresponding to the displayed display gradation and the gradation voltage corresponding to the target display gradation is applied to the plurality of data lines.

本発明は、他の観点において、複数のデータ線と、前記複数のデータ線と立体交差する複数の走査線と、共通電極と、前記複数のデータ線と前記複数の走査線との各交差部に対応して各々設けられ、各々一定の間隙を挟んで前記共通電極と対向する複数の画素電極と、前記複数の画素電極と前記共通電極との間に挟持され、電気泳動粒子を各々含有する複数の分散系と、前記複数のデータ線と前記複数の走査線との各交差部に対応して各々設けられ、当該交差部を通過する走査線に各々のオン/オフ切換制御端子が接続され、オン状態であるときに当該交差部を通過するデータ線を当該交差部に対応して設けられた画素電極に接続する複数のスイッチング素子とを有する電気泳動表示装置の駆動回路であって、前記共通電極に共通電極電圧を印加する印加部と、前記走査線を順次選択し、選択した走査線に対し、当該走査線に接続された全てのスイッチング素子を一括してオン状態にする電圧を一定期間印加した後、前記選択した走査線に対し、当該走査線に接続された全てのスイッチング素子を一括してオフ状態にする電圧を印加する走査線駆動部と、前記複数の画素の各々に関し、当該画素電極および前記共通電極の間における当該画素の表示階調に対応した位置まで前記電気泳動粒子を移動させるための電圧の値を各々決定し、1本の走査線が選択され、当該走査線に対し、前記スイッチング素子を一括してオン状態にする電圧が印加される期間内に当該各階調電圧を対応する前記データ線に各々一定時間印加した後、前記複数のデータ線に前記共通電極電圧を印加するデータ線駆動部と、を具備することを特徴とする電気泳動表示装置の駆動回路を提供する。   In another aspect, the present invention relates to a plurality of data lines, a plurality of scanning lines that three-dimensionally intersect with the plurality of data lines, a common electrode, and each intersection of the plurality of data lines and the plurality of scanning lines. Each of the plurality of pixel electrodes facing each of the common electrodes with a certain gap therebetween, and sandwiched between the plurality of pixel electrodes and the common electrode, each containing an electrophoretic particle. A plurality of distributed systems are provided corresponding to each intersection of the plurality of data lines and the plurality of scanning lines, and each on / off switching control terminal is connected to the scanning line passing through the intersection. A driving circuit for an electrophoretic display device having a plurality of switching elements that connect data lines that pass through the intersection when being in an on state to pixel electrodes provided corresponding to the intersection, Common electrode voltage to common electrode The application unit to be applied and the scanning line are sequentially selected, and a voltage for turning on all the switching elements connected to the scanning line is applied to the selected scanning line for a certain period, and then the selection is performed. A scanning line driving unit that applies a voltage for turning off all the switching elements connected to the scanning line to the scanning line, and the pixel electrode and the common electrode with respect to each of the plurality of pixels. A voltage value for moving the electrophoretic particles to a position corresponding to the display gradation of the pixel between each is determined, one scanning line is selected, and the switching element is connected to the scanning line. The grayscale voltage is applied to the corresponding data line for a certain period of time within a period in which the voltages to be turned on collectively are applied, and then the common electrode voltage is applied to the plurality of data lines. To provide a driving circuit of the electrophoretic display device characterized by comprising a linear drive unit.

好ましい態様において、前記駆動回路は、1つのフィールドを利用してリセット動作を行った後、後続のフィールドを利用して書込動作を繰り返すものであり、前記リセット動作を行うためのフィールドでは、前記データ線駆動回路は、前記電気泳動粒子の空間状態を初期化する電界を発生するための複数の画素電圧を前記複数のデータ線に印加し、前記書込動作を行うためのフィールドでは、前記データ線駆動回路は、前記画素電圧として、前回の書込動作により得られた表示階調に対応した階調電圧と目的とする表示階調に対応した階調電圧との差電圧を前記複数のデータ線に印加する。   In a preferred aspect, the drive circuit performs a reset operation using one field and then repeats a write operation using a subsequent field. In the field for performing the reset operation, The data line driving circuit applies a plurality of pixel voltages for generating an electric field for initializing a spatial state of the electrophoretic particles to the plurality of data lines, and performs the writing operation in the data field. The line driver circuit uses, as the plurality of data, a difference voltage between a gradation voltage corresponding to a display gradation obtained by a previous writing operation and a gradation voltage corresponding to a target display gradation as the pixel voltage. Apply to the wire.

また、この発明は、上述した駆動回路と、複数のデータ線と、複数の走査線と、複数のデータ線と、前記走査線と前記データ線との交差に対応して設ける各スイッチング素子と、前記スイッチング素子に接続される各画素電極を備える第1基板と、共通電極を備える第2基板との間に、電気泳動粒子を含有する分散系を挟持してなる電気泳動パネルとを備えたことを特徴とする電気泳動表示装置およびこの電気泳動表示装置を用いた電子機器を提供する。この場合、駆動回路とスイッチング素子とを薄膜トランジスタで構成し、これらを同一の製造プロセスで形成することが好ましい。   According to another aspect of the present invention, the driving circuit, the plurality of data lines, the plurality of scanning lines, the plurality of data lines, and the switching elements provided corresponding to the intersections of the scanning lines and the data lines, An electrophoretic panel comprising a dispersion system containing electrophoretic particles sandwiched between a first substrate having each pixel electrode connected to the switching element and a second substrate having a common electrode. And an electronic apparatus using the electrophoretic display device. In this case, it is preferable that the driving circuit and the switching element are constituted by thin film transistors and these are formed by the same manufacturing process.

なお、本発明に係る電子機器は、電気泳動装置を表示部として用いることを特徴とするものであって、例えば、電子書籍、パーソナルコンピュータ、携帯電話、電子広告掲示板、電子道路標識等がこれに該当する。   The electronic apparatus according to the present invention is characterized by using an electrophoretic device as a display unit, such as an electronic book, a personal computer, a mobile phone, an electronic bulletin board, and an electronic road sign. Applicable.

以上説明したように、本発明によれば、電気泳動現象を用いて所望の階調表示を実現させることができる。   As described above, according to the present invention, a desired gradation display can be realized using the electrophoresis phenomenon.

以下、本発明の実施の形態について、図面を参照して説明する。
A:第1実施形態
第1実施形態に係る電気泳動表示装置は、入力画像信号VIDに応じた画像を表示するものであり、静止画・動画のいずれにおいても表示が可能であるが、特に、静止画の表示に適している。
Embodiments of the present invention will be described below with reference to the drawings.
A: First Embodiment The electrophoretic display device according to the first embodiment displays an image according to the input image signal VID, and can display both a still image and a moving image. Suitable for displaying still images.

A−1:電気泳動表示装置の全体構成
本実施形態の電気泳動表示装置は、電気泳動表示パネルと周辺回路とを備えている。まず、電気泳動表示パネルの機械的な構成について説明する。図1は本発明の一実施形態に係る電気泳動表示パネルAの機械的な構成を示す分解斜視図であり、図2は、その部分断面図である。
A-1: Overall Configuration of Electrophoretic Display Device The electrophoretic display device of this embodiment includes an electrophoretic display panel and a peripheral circuit. First, the mechanical configuration of the electrophoretic display panel will be described. FIG. 1 is an exploded perspective view showing a mechanical configuration of an electrophoretic display panel A according to an embodiment of the present invention, and FIG. 2 is a partial sectional view thereof.

図1および図2に示すように電気泳動表示パネルAは、画素電極104等が形成されたガラスや半導体等の素子基板100と、平面状の共通電極201等が形成された対向基板200とを有している。素子基板100と、対向基板200は、一定の間隙を保って、各々の電極形成面が対向するように貼り合わされている。素子基板100と対向基板200とに挟まれた空間は、一定の高さを持った隔壁110によって仕切られている。この例では、隔壁110は、画像の表示単位である画素を区分けするように設けられている。隔壁110によって仕切られた空間は分割セル11Cと呼ばれ、そこには分散系1が充填されている。   As shown in FIGS. 1 and 2, an electrophoretic display panel A includes an element substrate 100 such as glass or semiconductor on which a pixel electrode 104 or the like is formed, and a counter substrate 200 on which a planar common electrode 201 or the like is formed. Have. The element substrate 100 and the counter substrate 200 are bonded to each other so that the respective electrode formation surfaces face each other with a certain gap therebetween. A space between the element substrate 100 and the counter substrate 200 is partitioned by a partition 110 having a certain height. In this example, the partition 110 is provided so as to divide pixels that are display units of an image. A space partitioned by the partition 110 is called a divided cell 11C, and the dispersion system 1 is filled therein.

この分散系1は、分散媒2に電気泳動粒子3を分散させたものである。分散媒2は、界面活性剤等の添加剤が必要に応じて添加されている。分散系1では、電気泳動粒子3の重力による沈降を避けるため、分散媒2の比重と電気泳動粒子3の比重は略等しくなるように選ばれている。   This dispersion system 1 is obtained by dispersing electrophoretic particles 3 in a dispersion medium 2. In the dispersion medium 2, additives such as a surfactant are added as necessary. In the dispersion system 1, the specific gravity of the dispersion medium 2 and the specific gravity of the electrophoretic particles 3 are selected to be approximately equal to avoid sedimentation of the electrophoretic particles 3 due to gravity.

このように隔壁110によって、多数の分割セル11Cを設けたので、電気泳動粒子3が泳動可能な領域が分割セル11Cの内部に制限されることになる。分散系1には、粒子の分散が偏ったり、あるいは、複数の粒子が結合して大きな塊になる凝結が起きることがある。上述したように隔壁110を用いて複数の分割セル11Cを形成すると、そのような現象を防ぐことができ、表示画像の品質を向上させることが可能となる。   As described above, the partition 110 is provided with a large number of divided cells 11C, so that the region in which the electrophoretic particles 3 can migrate is limited to the inside of the divided cells 11C. In the dispersion system 1, the dispersion of particles may be biased, or agglomeration in which a plurality of particles are combined to form a large mass may occur. As described above, when the plurality of divided cells 11C are formed using the partition 110, such a phenomenon can be prevented and the quality of the display image can be improved.

電気泳動表示パネルAは、フルカラー表示が可能である。この場合には、各画素において原色(RGB)のうち1色を表示できるようにするため、分散系1としては、赤色、緑色、青色に対応する3種類が用いられる。   The electrophoretic display panel A is capable of full color display. In this case, three types corresponding to red, green, and blue are used as the dispersion system 1 so that each pixel can display one of the primary colors (RGB).

まず、赤色に対応する分散系1rは、電気泳動粒子3rとして赤色の粒子を用いるとともに、分散媒2rとしてシアン色のものを用いることができる。この電気泳動粒子3rとしては、例えば、酸化鉄を用いることができる。次に、緑色に対応する分散系1gは、電気泳動粒子3gとして緑色の粒子を用いるとともに、分散媒2gとしてマゼンダ色のものを用いることができる。この電気泳動粒子3gとしては、例えば、コバルトグリーンの顔料粒子を用いることができる。次に、青色に対応する分散系1bは、電気泳動粒子3bとして青色の粒子を用いるとともに、分散媒2bとしてイエロー色のものを用いることができる。この電気泳動粒子2bとしては、例えば、コバルトブルーの顔料粒子を用いることができる。   First, in the dispersion system 1r corresponding to red, red particles can be used as the electrophoretic particles 3r, and cyan particles can be used as the dispersion medium 2r. For example, iron oxide can be used as the electrophoretic particles 3r. Next, in the dispersion system 1g corresponding to green, green particles can be used as the electrophoretic particles 3g and magenta can be used as the dispersion medium 2g. For example, cobalt green pigment particles can be used as the electrophoretic particles 3g. Next, in the dispersion system 1b corresponding to blue, blue particles can be used as the electrophoretic particles 3b, and yellow particles can be used as the dispersion medium 2b. As the electrophoretic particles 2b, for example, cobalt blue pigment particles can be used.

すなわち、電気泳動粒子3として表示色を反射するものを用いる一方、分散媒2として表示色を吸収する色(上述した例では補色)に対応したものを用いる。また、対向基板200、共通電極201および封止材202の部材を用いる。よって、電気泳動粒子3が表示面側の電極に浮上しているのであれば、電気泳動粒子3によって表示色に対応する波長の光が反射され、この反射光によって観測者は色を認識する。一方、電気泳動粒子3が表示面と反対側の電極に沈降しているのであれば、表示色に対応する波長の光は分散媒2によって吸収されるため、その波長の光が観測者に届かないので観測者は色を認識できない。ところで、分散系1に印加する電界の方向と強度によって、電気泳動粒子3を分散系1の厚さ方向にどのように分布させるかを制御できる。したがって、電気泳動粒子3とその反射光を吸収する分散媒2と組み合わせて用いるとともに電界強度を制御することによって、電気泳動粒子3によって反射される光の反射強度を調整でき、この結果、観測者に到達する光の強度を変化させることができる。   That is, the electrophoretic particles 3 that reflect the display color are used, while the dispersion medium 2 that corresponds to the color that absorbs the display color (complementary color in the above example) is used. Further, members of the counter substrate 200, the common electrode 201, and the sealing material 202 are used. Therefore, if the electrophoretic particles 3 are floating on the electrode on the display surface side, the electrophoretic particles 3 reflect light having a wavelength corresponding to the display color, and the observer recognizes the color by the reflected light. On the other hand, if the electrophoretic particles 3 are settled on the electrode opposite to the display surface, the light having the wavelength corresponding to the display color is absorbed by the dispersion medium 2, so that the light having the wavelength reaches the observer. Because there is no observer, the color cannot be recognized. By the way, it is possible to control how the electrophoretic particles 3 are distributed in the thickness direction of the dispersion system 1 by the direction and intensity of the electric field applied to the dispersion system 1. Therefore, the reflection intensity of the light reflected by the electrophoretic particles 3 can be adjusted by using the electrophoretic particles 3 in combination with the dispersion medium 2 that absorbs the reflected light and controlling the electric field intensity. It is possible to change the intensity of light reaching the beam.

次に、素子基板100の表面には、表示領域A1と、周辺領域A2とが設けられている。表示領域A1は、隔壁110によって、仕切られており、そこには、画素電極104の他に、後述する走査線、データ線、およびスイチッング素子として機能する薄膜トランジスタ(Thin Film Transistor:以下、TFTと称する)が形成されるようになっている。一方、素子基板100の周辺領域A2には、後述する走査線駆動回路、データ線駆動回路、および外部接続電極が形成されるようになっている。   Next, a display area A1 and a peripheral area A2 are provided on the surface of the element substrate 100. The display area A1 is partitioned by a partition 110, and in addition to the pixel electrode 104, a thin film transistor (hereinafter referred to as TFT) that functions as a scanning line, a data line, and a switching element, which will be described later. ) Is formed. On the other hand, a scanning line driving circuit, a data line driving circuit, and external connection electrodes, which will be described later, are formed in the peripheral region A2 of the element substrate 100.

図3は電気泳動表示装置の電気的な構成を示すブロック図である。この図に示すように電気泳動表示装置は、電気泳動表示パネルAとその周辺回路である画像信号処理回路300Aおよびタイミングジェネレータ400を備えている。ここで、画像信号処理回路300Aは、入力画像信号VIDに、電気泳動表示パネルAの電気的な特性に応じた補正処理を施して画像データDを生成出力するとともに、この画像データDを出力する前に、リセットデータDrestを所定期間出力する。リセットデータDrestは分散系1中を泳動している電気泳動粒子3を画素電極104側に引き寄せ、その空間的な状態を初期化するために用いられる。以下では、説明を簡略化するため分散系1の分散媒2は黒色に着色されており、電気泳動粒子3は酸化チタン等の白色の粒子で且つ、正に帯電しているものとする。   FIG. 3 is a block diagram showing an electrical configuration of the electrophoretic display device. As shown in this figure, the electrophoretic display device includes an electrophoretic display panel A, an image signal processing circuit 300A and a timing generator 400 which are peripheral circuits thereof. Here, the image signal processing circuit 300A performs a correction process on the input image signal VID according to the electrical characteristics of the electrophoretic display panel A to generate and output image data D, and outputs the image data D. Before, the reset data Drest is output for a predetermined period. The reset data Drest is used to attract the electrophoretic particles 3 migrating in the dispersion system 1 to the pixel electrode 104 side and initialize the spatial state thereof. Hereinafter, in order to simplify the explanation, it is assumed that the dispersion medium 2 of the dispersion system 1 is colored black, and the electrophoretic particles 3 are white particles such as titanium oxide and are positively charged.

また、タイミングジェネレータ400は、画像データDが画像信号処理回路300Aから出力されるときのみ、走査線駆動回路130やデータ線駆動回路140Aを制御するための各種タイミング信号を生成する。   The timing generator 400 generates various timing signals for controlling the scanning line driving circuit 130 and the data line driving circuit 140A only when the image data D is output from the image signal processing circuit 300A.

素子基板100の表示領域A1には、X方向に沿って平行に複数本の走査線101が形成され、また、これと直交するY方向に沿って平行に複数本のデータ線102が形成されている。そして、これらの走査線101とデータ線102との各交点においては、TFT103のゲート電極が走査線101に接続される一方、そのソース電極がデータ線102に接続され、さらに、そのドレイン電極が画素電極104に接続されている。各画素は、画素電極104と、対向基板200に形成された共通電極201と、これら両電極間に挟持された分散系1とによって構成される(図2参照)。すなわち、各画素は、走査線101とデータ線102との交差に対応して、マトリクス状に配列されている。なお、走査線駆動回路130およびデータ線駆動回路140Aは、TFTを用いて構成されており、画素のTFT103と共通の製造プロセスで形成される。これにより、集積化や製造コストの面などにおいて有利となる。   In the display area A1 of the element substrate 100, a plurality of scanning lines 101 are formed in parallel along the X direction, and a plurality of data lines 102 are formed in parallel along the Y direction orthogonal thereto. Yes. At each intersection of the scanning line 101 and the data line 102, the gate electrode of the TFT 103 is connected to the scanning line 101, the source electrode is connected to the data line 102, and the drain electrode is connected to the pixel. It is connected to the electrode 104. Each pixel includes a pixel electrode 104, a common electrode 201 formed on the counter substrate 200, and a dispersion system 1 sandwiched between these electrodes (see FIG. 2). That is, each pixel is arranged in a matrix corresponding to the intersection of the scanning line 101 and the data line 102. Note that the scanning line driving circuit 130 and the data line driving circuit 140A are configured by using TFTs, and are formed by a manufacturing process common to the TFT 103 of the pixel. This is advantageous in terms of integration and manufacturing costs.

このような電気泳動表示パネルAにおいて、ある走査線信号Yjがアクティブになると、当該走査線信号Yjが供給されるj番目の走査線101のTFT103がオン状態となり、データ線信号X1、X2、…、Xnが画素電極104に供給される。一方、対向基板200の共通電極201には図示せぬ電源回路(印加部)から共通電極電圧Vcomが印加されるようになっている。これにより、画素電極104と共通電極201との間に電位差が生じ、分散系1の電気泳動粒子3が泳動して画像データDに応じた階調の表示が各画素毎に行われることになる。   In such an electrophoretic display panel A, when a certain scanning line signal Yj becomes active, the TFT 103 of the jth scanning line 101 to which the scanning line signal Yj is supplied is turned on, and the data line signals X1, X2,. , Xn are supplied to the pixel electrode 104. On the other hand, the common electrode voltage Vcom is applied to the common electrode 201 of the counter substrate 200 from a power supply circuit (application unit) (not shown). As a result, a potential difference is generated between the pixel electrode 104 and the common electrode 201, and the electrophoretic particles 3 of the dispersion system 1 migrate to display a gradation corresponding to the image data D for each pixel. .

A―2:表示原理
次に、階調表示の原理について説明する。図4は分割セルの構造を簡略化して示した断面図である。この例の電気泳動表示装置にあっては、まず、リセット動作が行われる。このリセット動作では、電気泳動粒子3が画素電極104側に引き寄せられる。正に帯電した電気泳動粒子3を用いる場合、共通電極201の電圧を基準として負極性の電圧が画素電極104に印加される。この結果、図4(A)に示すように電極104に電気泳動粒子3を引き寄せられる。
A-2: Display Principle Next, the principle of gradation display will be described. FIG. 4 is a cross-sectional view showing a simplified structure of the divided cell. In the electrophoretic display device of this example, first, a reset operation is performed. In this reset operation, the electrophoretic particles 3 are attracted to the pixel electrode 104 side. When using positively charged electrophoretic particles 3, a negative voltage is applied to the pixel electrode 104 with reference to the voltage of the common electrode 201. As a result, the electrophoretic particles 3 are attracted to the electrode 104 as shown in FIG.

次に、図4(B)に示すように表示すべき階調に応じた正極性の電圧を電極間に印加する。すると、電界によって電気泳動粒子3は共通電極201側に移動する。電位差をゼロにすると、電界が作用しなくなるので、電気泳動粒子3は分散媒2の粘性抵抗によって停止する。この場合、電気泳動粒子3の移動速度は、電界強度、すなわち印加電圧に応じて定まるから、その移動距離は、印加電圧と印加時間に応じて定まることになる。したがって、印加時間を一定にすれば、印加電圧を調整することによって、電気泳動粒子3の厚さ方向の位置を制御できる。   Next, as shown in FIG. 4B, a positive voltage corresponding to the gradation to be displayed is applied between the electrodes. Then, the electrophoretic particles 3 move to the common electrode 201 side by the electric field. When the potential difference is zero, the electric field stops working, and thus the electrophoretic particles 3 are stopped by the viscous resistance of the dispersion medium 2. In this case, since the moving speed of the electrophoretic particles 3 is determined according to the electric field strength, that is, the applied voltage, the moving distance is determined according to the applied voltage and the applied time. Therefore, if the application time is made constant, the position of the electrophoretic particles 3 in the thickness direction can be controlled by adjusting the applied voltage.

共通電極201側から入射した光は電気泳動粒子3によって反射され、この反射光が共通電極201を通過して観測者の目に至る。入射光と反射光は分散媒2によって吸収され、その吸収の程度は光路長に比例する。したがって、観測者が認識する階調は、電気泳動粒子3の位置によって定まることになる。上述したように、印加時間を一定にしたとき電気泳動粒子3の厚さ方向の位置は、印加電圧に応じて定まるから、表示すべき階調応じた電圧を印加すれば、所望の階調表示を得ることができる。   Light incident from the common electrode 201 side is reflected by the electrophoretic particles 3, and this reflected light passes through the common electrode 201 and reaches the eyes of the observer. Incident light and reflected light are absorbed by the dispersion medium 2, and the degree of absorption is proportional to the optical path length. Therefore, the gradation recognized by the observer is determined by the position of the electrophoretic particle 3. As described above, when the application time is constant, the position in the thickness direction of the electrophoretic particles 3 is determined according to the applied voltage. Therefore, if a voltage corresponding to the gradation to be displayed is applied, a desired gradation display is performed. Can be obtained.

ところで、分散系1は多数の電気泳動粒子3を含んでいる。ここで、電気的特性(例えば、電荷量)や機械的特性(例えば、粒子径、重量)等の粒子特性が揃っているとすれば、総ての粒子の移動速度が一定となり、総ての電気泳動粒子3は同じようにふるまうことになる。   By the way, the dispersion system 1 includes a large number of electrophoretic particles 3. Here, if the particle characteristics such as electrical characteristics (for example, charge amount) and mechanical characteristics (for example, particle diameter, weight) are uniform, the moving speed of all particles is constant, The electrophoretic particles 3 behave in the same way.

しかしながら、分割セルの厚さは数μm〜数10μmであり最大移動距離が極めて短いので、階調数を多くしようとすると、微小な移動距離を制御する必要がある。このため、1階調分の印加電圧が極めて小さくなり、階調制御が困難になる。   However, since the thickness of the divided cell is several μm to several tens of μm and the maximum moving distance is extremely short, it is necessary to control a minute moving distance in order to increase the number of gradations. For this reason, the applied voltage for one gradation becomes extremely small, and gradation control becomes difficult.

そこで、本実施形態では、分散系1内に含める多数の電気泳動粒子3の粒子特性にバラツキを持たせてある。粒子特性にバラツキを持たせると、ある電圧を一定時間印加したときの電気泳動粒子3の位置は広がりを持つ。図5は、電極間の電圧と階調濃度との関係の一例を示すグラフである。この例は、50msecの印加時間で、電気泳動粒子3が共通電極201に到達する印加電圧の平均値が5Vであり、到達するのに要する印加電圧の標準偏差が0.2Vである場合をシュミレーションしたものである。   Therefore, in the present embodiment, the particle characteristics of the numerous electrophoretic particles 3 included in the dispersion system 1 are varied. If the particle characteristics are varied, the position of the electrophoretic particles 3 is broadened when a certain voltage is applied for a certain time. FIG. 5 is a graph showing an example of the relationship between the voltage between the electrodes and the gradation density. This example simulates the case where the average value of the applied voltage at which the electrophoretic particles 3 reach the common electrode 201 is 5 V and the standard deviation of the applied voltage required to reach the voltage is 0.2 V with an application time of 50 msec. It is a thing.

同図において、実線は印加電圧に対する階調特性を示しており、点線は印加電圧に対する確率密度を示している。ここで、確率密度とは、共通電極201に到達する電気泳動粒子3の個数を、平均値5Vで正規化したものである。   In the figure, the solid line indicates the gradation characteristics with respect to the applied voltage, and the dotted line indicates the probability density with respect to the applied voltage. Here, the probability density is obtained by normalizing the number of electrophoretic particles 3 reaching the common electrode 201 with an average value of 5V.

この図に示すように、印加電圧が4.5V以下の場合には、電気泳動粒子3が殆ど共通電極201に到達しないが、印加電圧が5Vの場合には、半分の電気泳動粒子3が共通電極201に到達しており、さらに印加電圧が5.5V以上の場合には殆どの電気泳動粒子3が共通電極201に到達している。したがって、表示すべき階調に応じて印加電圧値を4.5Vから5.5Vの間で制御すれば、所望の階調表示を行うことが可能となる。   As shown in this figure, when the applied voltage is 4.5V or less, the electrophoretic particles 3 hardly reach the common electrode 201, but when the applied voltage is 5V, half of the electrophoretic particles 3 are common. When the voltage reaches the electrode 201 and the applied voltage is 5.5 V or more, most of the electrophoretic particles 3 reach the common electrode 201. Therefore, if the applied voltage value is controlled between 4.5V and 5.5V according to the gradation to be displayed, a desired gradation display can be performed.

A−3:駆動回路
次に、走査線101およびデータ線102を駆動する駆動回路について説明する。まず、図3に示す走査線駆動回路130は、シフトレジスタ(図示略)を有しており、タイミングジェネレータ400からのYクロック信号YCKや、その反転YクロックYCKBに基づいて、垂直走査期間の開始でアクティブとなるY転送開始パルスDYを順次シフトして、走査線信号Y1、Y2、…、Ymを生成する。これにより、図7に示すようにアクティブ期間(Hレベル期間)が順次シフトしていく走査線信号Y1、Y2、…、Ymが生成され、各走査線101に出力される。
A-3: Drive Circuit Next, a drive circuit that drives the scanning lines 101 and the data lines 102 will be described. First, the scanning line driving circuit 130 shown in FIG. 3 has a shift register (not shown), and starts the vertical scanning period based on the Y clock signal YCK from the timing generator 400 and its inverted Y clock YCKB. The Y transfer start pulse DY that becomes active at is sequentially shifted to generate the scanning line signals Y1, Y2,. As a result, as shown in FIG. 7, scanning line signals Y1, Y2,..., Ym in which the active period (H level period) is sequentially shifted are generated and output to each scanning line 101.

次に、データ線駆動回路140Aについて説明する。図6はデータ線駆動回路140Aのブロック図である。同図に示すようにデータ線駆動回路140Aは、Xシフトレジスタ141、6ビットの画像データDが供給されるバスBUS、スイッチSW1〜SWn、第1ラッチ142、第2ラッチ143、選択回路144、およびD/Aコンバータ145を備えている。   Next, the data line driving circuit 140A will be described. FIG. 6 is a block diagram of the data line driving circuit 140A. As shown in the figure, the data line driving circuit 140A includes an X shift register 141, a bus BUS to which 6-bit image data D is supplied, switches SW1 to SWn, a first latch 142, a second latch 143, a selection circuit 144, And a D / A converter 145.

まず、Xシフトレジスタ141は、XクロックXCKおよび反転XクロックXCKBにしたがって、X転送開始パルスDXを順次シフトしてサンプリングパルスSR1、SR2、…、SRn(図7参照)を順次生成するようになっている。   First, the X shift register 141 sequentially generates the sampling pulses SR1, SR2,..., SRn (see FIG. 7) by sequentially shifting the X transfer start pulse DX in accordance with the X clock XCK and the inverted X clock XCKB. ing.

次に、バスBUSは、スイッチSW1〜SWnを介して第1ラッチ群142の各ラッチに接続されており、スイッチSW1〜SWnの各制御入力端子には、サンプリングパルスSR1、SR2、…、SRnが供給されるようになっている。また、あるスイッチSWjは、6ビットの画像データDに対応して6個で1組の構成となっている。したがって、サンプリングパルスSR1、SR2、…、SRnに各々同期して、画像データDが第1ラッチ142に同時に取りこまれることになる。   Next, the bus BUS is connected to each latch of the first latch group 142 via the switches SW1 to SWn, and sampling pulses SR1, SR2,..., SRn are connected to the control input terminals of the switches SW1 to SWn. It comes to be supplied. One switch SWj has a set of six corresponding to the 6-bit image data D. Therefore, the image data D is simultaneously captured by the first latch 142 in synchronization with the sampling pulses SR1, SR2,.

次に、第1ラッチ142は、スイッチSW1〜SWnから供給される画像データDをラッチし、点順次画像データDa1〜Danとして出力する。また、第2ラッチ143は、第1ラッチ142の各点順次画像データDa1〜DanをラッチパルスLATによってラッチする。ここで、ラッチパルスLATは1水平走査期間毎にアクティブとなる信号である。したがって、この第2ラッチ143は、点順次画像データDa1〜Danから線順次画像データDb1〜Dbnを生成する。   Next, the first latch 142 latches the image data D supplied from the switches SW1 to SWn and outputs them as dot sequential image data Da1 to Dan. The second latch 143 latches each point sequential image data Da1 to Dan of the first latch 142 by a latch pulse LAT. Here, the latch pulse LAT is a signal that becomes active every horizontal scanning period. Therefore, the second latch 143 generates line sequential image data Db1 to Dbn from the dot sequential image data Da1 to Dan.

次に、選択回路144には、画像信号処理回路300Aで生成される共通電圧データDcomとタイミングジェネレータ400で生成される無バイアスタイミング信号Cbとが供給されている。ここで、共通電圧データDcomは共通電極201に給電される電圧値(例えば、接地レベル)を指示するデータである。また、無バイアスタイミング信号Cbは、図7に示すように1水平走査期間中の途中からその終了までの期間においてアクティブ(Hレベル)となる信号である。選択回路144は、無バイアスタイミング信号Cbがアクティブの期間に共通電圧データDcomを選択する一方、これが非アクティブの期間に線順次画像データDb1〜Dbnを選択して図7に示すデータDc1〜Dcnを出力する。   Next, the selection circuit 144 is supplied with the common voltage data Dcom generated by the image signal processing circuit 300A and the non-biased timing signal Cb generated by the timing generator 400. Here, the common voltage data Dcom is data indicating a voltage value (for example, ground level) supplied to the common electrode 201. Further, as shown in FIG. 7, the no-bias timing signal Cb is a signal that becomes active (H level) in the period from the middle to the end of one horizontal scanning period. The selection circuit 144 selects the common voltage data Dcom while the no-bias timing signal Cb is active, and selects the line-sequential image data Db1 to Dbn and outputs the data Dc1 to Dcn shown in FIG. Output.

D/Aコンバータ145は、6ビットのデータDc1〜Dcnをデジタル信号からアナログ信号に変換して、データ線信号X1〜Xnとして各々生成し、これを各データ線102に供給している。   The D / A converter 145 converts the 6-bit data Dc1 to Dcn from digital signals to analog signals, generates the data line signals X1 to Xn, and supplies them to the data lines 102.

A−4:電気泳動表示装置の動作
次に、電気泳動表示装置の動作について説明する。図8は画像信号処理回路300Aの出力データを示すタイミングチャートである。この図を参照しつつ、動作の概要を説明する。
A-4: Operation of Electrophoretic Display Device Next, the operation of the electrophoretic display device will be described. FIG. 8 is a timing chart showing output data of the image signal processing circuit 300A. The outline of the operation will be described with reference to this figure.

まず、時刻t0において、電気泳動表示装置の電源がオフ状態からオン状態に切り替わると、画像信号処理回路300A、タイミングジェネレータ400および電気泳動表示パネルAに電源が給電される。そして、所定期間が経過し回路動作が安定した時刻t1において、画像信号処理回路300Aは、リセットデータDrestを1フィールド期間出力する。このリセット期間Trにあっては、表示原理で説明したように、電気泳動粒子3が画素電極104側に引き寄せられ、その空間的な状態が初期化される。詳細は後述するが、データ線駆動回路140Aが、リセットデータDrestのデータ値に応じたリセット電圧Vrestを各データ線102に出力する一方、走査線駆動回路130が各走査線101を順次選択することにより、画素電極104に電圧が供給され、すべての画素電極104と共通電極201の間にリセット電圧Vrestが印加されることになる。   First, when the power source of the electrophoretic display device is switched from the off state to the on state at time t0, power is supplied to the image signal processing circuit 300A, the timing generator 400, and the electrophoretic display panel A. The image signal processing circuit 300A outputs the reset data Drest for one field period at time t1 when the predetermined period has elapsed and the circuit operation is stable. In the reset period Tr, as described in the display principle, the electrophoretic particles 3 are attracted to the pixel electrode 104 side, and the spatial state thereof is initialized. Although details will be described later, the data line driving circuit 140A outputs a reset voltage Vrest corresponding to the data value of the reset data Drest to each data line 102, while the scanning line driving circuit 130 sequentially selects each scanning line 101. Thus, a voltage is supplied to the pixel electrode 104, and the reset voltage Vrest is applied between all the pixel electrodes 104 and the common electrode 201.

次に、時刻t2に至ると、書込期間Twが開始する。この書込期間Twにあっては、画像信号処理回路300Aは1フィールド期間にわたって画像データDを出力する。各画素電極104には表示すべき階調に対応した階調電圧Vが書き込まれ、1枚の表示画面が完成することになる。   Next, when the time t2 is reached, the writing period Tw starts. In the writing period Tw, the image signal processing circuit 300A outputs the image data D over one field period. A gradation voltage V corresponding to the gradation to be displayed is written in each pixel electrode 104, and one display screen is completed.

次に、時刻t3から時刻t4までの保持期間Thは、直前の書込期間Twで書き込まれた画像を保持する期間であり、その長さは任意に設定できる。当該期間において、画像信号処理回路300Aは動作を停止しデータを出力せず、また、画素電極104と共通電極201との間には、電界が発生しないようになっている。電気泳動粒子3は、電界がなければ空間的な状態に変化がない。したがって当該期間にあっては、静止画像が表示されることになる。   Next, the holding period Th from time t3 to time t4 is a period for holding the image written in the immediately preceding writing period Tw, and the length thereof can be arbitrarily set. In this period, the image signal processing circuit 300A stops operating and does not output data, and an electric field is not generated between the pixel electrode 104 and the common electrode 201. If there is no electric field, the electrophoretic particles 3 have no change in the spatial state. Therefore, a still image is displayed during the period.

次に、時刻t4から時刻t6は画像を書き換えるための期間であり、時刻t1から時刻t3までの期間と同様に、リセット動作と書き込み動作が行われる。これにより、表示画面の更新を行うことができる。   Next, the period from time t4 to time t6 is a period for rewriting an image, and a reset operation and a writing operation are performed as in the period from time t1 to time t3. Thereby, the display screen can be updated.

(1)リセット動作
次に、リセット動作について詳細に説明する。図9はリセット動作における電気泳動表示装置のタイミングチャートである。上述したようにリセット期間Trにあっては、リセットデータDrestがデータ線駆動回路140Aに供給される。また、無バイアスタイミング信号Cbは図9に示すように非アクティブ(Lレベル)となるので、データ線信号X1〜Xnの電圧はリセット電圧Vrestとなる。
(1) Reset Operation Next, the reset operation will be described in detail. FIG. 9 is a timing chart of the electrophoretic display device in the reset operation. As described above, during the reset period Tr, the reset data Drest is supplied to the data line driving circuit 140A. Further, since the no-bias timing signal Cb becomes inactive (L level) as shown in FIG. 9, the voltage of the data line signals X1 to Xn becomes the reset voltage Vrest.

この例では、電気泳動粒子3に正電荷が帯電しているので、リセット電圧Vrestは共通電極電圧Vcomを中心として負極性の値を取る。ここで、走査線信号Y1がアクティブ(Hレベル)になると、第1行目のTFT103がオン状態となり、リセット電圧Vrestが各画素電極104に書き込まれる。以後、第2行目、第3行目、…、第m行目の各画素電極104にリセット電圧Vrestが印加される。例えば、時刻txにおいて走査線信号Y1がアクティブから非アクティブに変化すると、第1行目の各TFT103がオフ状態になり、画素電極104とデータ線102とが切断される。しかしながら、画素電極104、分散系1、および共通電極201によって画素容量が形成されているから、TFT103がオフ状態になっても第1行目の画素電極104と共通電極201間ではリセット電圧Vrestが維持される。こうして電極間にリセット電圧Vrestが印加されると、分散系1中の電気泳動粒子3が画素電極104に引き寄せられ、その空間的な状態が初期化される。   In this example, since the electrophoretic particles 3 are charged with a positive charge, the reset voltage Vrest takes a negative value around the common electrode voltage Vcom. Here, when the scanning line signal Y 1 becomes active (H level), the TFT 103 in the first row is turned on, and the reset voltage Vrest is written to each pixel electrode 104. Thereafter, the reset voltage Vrest is applied to each pixel electrode 104 in the second row, the third row,..., The m-th row. For example, when the scanning line signal Y1 changes from active to inactive at time tx, each TFT 103 in the first row is turned off, and the pixel electrode 104 and the data line 102 are disconnected. However, since the pixel capacitance is formed by the pixel electrode 104, the dispersion system 1, and the common electrode 201, the reset voltage Vrest is not generated between the pixel electrode 104 and the common electrode 201 in the first row even when the TFT 103 is turned off. Maintained. When the reset voltage Vrest is thus applied between the electrodes, the electrophoretic particles 3 in the dispersion system 1 are attracted to the pixel electrode 104, and the spatial state thereof is initialized.

(2)書込動作
次に、書込動作について詳細に説明する。図10は書込動作における電気泳動表示装置のタイミングチャートである。ここでは、i行(i番目の走査線)・j列(j番目のデータ線)の画素における書込動作を説明するが、他の画素においても同様の書き込みがなされることは勿論である。なお、以下の説明では、i行j列の画素をPijと、画素Pijに表示すべき階調を示す階調電圧をVijと、また、画素Pijの輝度をIijと表すことにする。
(2) Write Operation Next, the write operation will be described in detail. FIG. 10 is a timing chart of the electrophoretic display device in the writing operation. Here, the writing operation in the pixels of i row (i th scanning line) and j column (j th data line) will be described, but it goes without saying that the same writing is performed in other pixels. In the following description, the pixel in i row and j column is represented as Pij, the gradation voltage indicating the gradation to be displayed on the pixel Pij is represented as Vij, and the luminance of the pixel Pij is represented as Iij.

各データ線信号X1〜Xnは、図7に示すデータDc1〜DcnをD/A変換して生成されるので、j番目のデータ線102に供給されるデータ線信号Xjの電圧は、図10に示すように、時刻T1から時刻T2まで階調電圧印加期間Tvにおいて階調電圧Vijとなる一方、時刻2から時刻T3までの無バイアス期間Tbにおいて共通電極電圧Vcomとなる。   Since the data line signals X1 to Xn are generated by D / A converting the data Dc1 to Dcn shown in FIG. 7, the voltage of the data line signal Xj supplied to the jth data line 102 is as shown in FIG. As shown, the grayscale voltage Vij is obtained in the grayscale voltage application period Tv from time T1 to time T2, while the common electrode voltage Vcom is obtained in the non-biased period Tb from time 2 to time T3.

また、i番目の走査線101に供給される走査線信号Yiは、i番目の水平走査期間においてアクティブとなり、この間、画素Pijを構成するTFT103はオン状態となる。そして、i番目の水平走査期間のうち時刻T1から時刻T2までの期間は、画素Pijの画素電極104にデータ線信号Xj(すなわち、階調電圧Vij)が印加され、時刻T2から時刻T3までの期間は共通電極電圧Vcomが印加される。   Further, the scanning line signal Yi supplied to the i-th scanning line 101 becomes active during the i-th horizontal scanning period, and during this time, the TFT 103 constituting the pixel Pij is turned on. During the period from the time T1 to the time T2 in the i-th horizontal scanning period, the data line signal Xj (that is, the gradation voltage Vij) is applied to the pixel electrode 104 of the pixel Pij, and from the time T2 to the time T3. During the period, the common electrode voltage Vcom is applied.

次に、画素Pijにおける電気泳動粒子3の挙動について考察する。この書込動作の前には上述したリセット動作が行われているから、時刻T1において、画素Pijの電気泳動粒子3は画素電極104側に総て位置している。このとき、画素電極104に階調電圧Vijが印加されると、画素電極104から共通電極201へ向けて電界が付与される。したがって、時刻T1から電気泳動粒子3は移動を開始する。   Next, the behavior of the electrophoretic particles 3 in the pixel Pij will be considered. Since the above-described reset operation is performed before this writing operation, the electrophoretic particles 3 of the pixels Pij are all located on the pixel electrode 104 side at time T1. At this time, when the gradation voltage Vij is applied to the pixel electrode 104, an electric field is applied from the pixel electrode 104 toward the common electrode 201. Therefore, the electrophoretic particles 3 start to move from time T1.

ここで、i行j列の画素Pijにおける輝度Iijはその画素Pijにおける電気泳動粒子の平均的な移動量により決定される。この例の電気泳動粒子3は白色であり分散媒2は黒色であるから、電気泳動粒子3が共通電極201に近づくほど、画素Pijの輝度Iijは高くなる。したがって、図に示すように輝度Iijは、時刻T1から次第に高くなる。   Here, the luminance Iij in the pixel Pij in the i row and j column is determined by the average amount of movement of the electrophoretic particles in the pixel Pij. Since the electrophoretic particles 3 in this example are white and the dispersion medium 2 is black, the luminance Iij of the pixel Pij increases as the electrophoretic particles 3 approach the common electrode 201. Therefore, as shown in the figure, the luminance Iij gradually increases from time T1.

ところで、画素Pijは、画素電極104と共通電極201との間に分散系1を挟持して構成されているので、電極面積、電極間の距離、および分散系1の誘電率に応じた画素容量を有する。   Incidentally, since the pixel Pij is configured by sandwiching the dispersion system 1 between the pixel electrode 104 and the common electrode 201, the pixel capacitance according to the electrode area, the distance between the electrodes, and the dielectric constant of the dispersion system 1. Have

したがって、TFT103をオフ状態にして画素電極104への電荷の供給を停止したとしても、画素容量には電荷が蓄積されているので、両電極間には一定の電界が継続して発生することになる。電界が付与される限り電気泳動粒子3は共通電極201に向けて泳動を続けるので、電界の発生を停止する期間、換言すれば、画素容量に蓄積されている電荷を取り去る工程が必要となる。無バイアス期間Tbはこのために設けられたものである。   Therefore, even if the supply of charge to the pixel electrode 104 is stopped by turning off the TFT 103, the charge is accumulated in the pixel capacitor, so that a constant electric field is continuously generated between the electrodes. Become. Since the electrophoretic particles 3 continue to migrate toward the common electrode 201 as long as an electric field is applied, a period in which the generation of the electric field is stopped, in other words, a step of removing charges accumulated in the pixel capacitor is necessary. The no-bias period Tb is provided for this purpose.

無バイアス期間Tbにあっては、共通電極電圧Vcomが画素電極104に印加されるので、時刻T2において画素電極104と共通電極201が等電位になる。このため、時刻T2から電気泳動粒子3には電界が作用しなくなる。ここで、分散媒2の粘性抵抗がある程度大きいとすれば、電気泳動粒子3は外力が作用しなくなくなる時刻T2において泳動を停止する。この結果、輝度Iijは図に示すように時刻T2から一定の値を取ることになる。なお、分散媒2の粘性抵抗が小さい場合には電界が作用しなくなっても電気泳動粒子3が惰性で泳動した後に停止するが、そのような場合には、画像信号処理回路300Aにおいて、惰性による泳動を見込んで補正した画像データDを生成するようになっている。   In the no-bias period Tb, the common electrode voltage Vcom is applied to the pixel electrode 104, so that the pixel electrode 104 and the common electrode 201 are equipotential at time T2. For this reason, the electric field no longer acts on the electrophoretic particles 3 from time T2. Here, if the viscosity resistance of the dispersion medium 2 is large to some extent, the electrophoretic particles 3 stop the migration at time T2 when the external force stops working. As a result, the luminance Iij takes a constant value from the time T2 as shown in the figure. Note that when the viscous resistance of the dispersion medium 2 is small, the electrophoretic particles 3 stop after moving due to inertia even when the electric field stops working. In such a case, the image signal processing circuit 300A causes the inertia Image data D corrected in anticipation of electrophoresis is generated.

この書込動作にあっては、まず、画素Pijの画素電極104に電荷を供給し、電極間に階調電圧Vijを印加し、電気泳動粒子3を表示すべき階調に応じた距離だけ移動させた後、画素電極104に電荷を供給し、共通電極電圧Vcomを印加し、電気泳動粒子3の泳動を停止させるので、画素Pijの輝度Iijを表示すべき階調に応じたものとすることができる。なお、この例では、電気泳動粒子3の泳動を停止させるために共通電極電圧Vcomを印加したが、完全に共通電極電圧Vcomと一致する電圧を印加する必要はなく、電気泳動粒子3の泳動を停止させることができる電圧であればよい。電気泳動粒子3は粘性抵抗に打ち勝たなければ泳動できないので、分散媒2の粘性抵抗などが大きい場合には、印加電圧が共通電極電圧Vcomと多少相違してもよい。   In this writing operation, first, a charge is supplied to the pixel electrode 104 of the pixel Pij, a gradation voltage Vij is applied between the electrodes, and the electrophoretic particles 3 are moved by a distance corresponding to the gradation to be displayed. Then, the charge is supplied to the pixel electrode 104, the common electrode voltage Vcom is applied, and the migration of the electrophoretic particles 3 is stopped. Therefore, the luminance Iij of the pixel Pij is made to correspond to the gradation to be displayed. Can do. In this example, the common electrode voltage Vcom is applied in order to stop the electrophoresis of the electrophoretic particles 3. However, it is not necessary to apply a voltage that completely matches the common electrode voltage Vcom. Any voltage that can be stopped is acceptable. Since the electrophoretic particles 3 cannot migrate unless the viscous resistance is overcome, the applied voltage may be slightly different from the common electrode voltage Vcom when the viscosity resistance of the dispersion medium 2 is large.

(3)保持動作
次に、保持動作について説明する。図7において、時刻T3に至ると、全ての走査線信号Yiが非アクティブになるので、全ての画素PijのTFT103はオフ状態となる。上述したように無バイアス期間Tbにおいて画素電極104には共通電極電圧Vcomが印加されるから電極間に電界が発生しないことになる。
(3) Holding Operation Next, the holding operation will be described. In FIG. 7, when the time T3 is reached, all the scanning line signals Yi become inactive, so that the TFTs 103 of all the pixels Pij are turned off. As described above, since the common electrode voltage Vcom is applied to the pixel electrode 104 in the non-bias period Tb, no electric field is generated between the electrodes.

したがって、新たに画素電極104に電圧を印加しない限り、分散系1には電界が付与されない。この結果、分散系1中の電気泳動粒子3の空間的な状態は保持されることになり、これにより、表示画像の内容を保持することができる。このような保持期間Thにあっては、画素電極104に電圧を印加する必要がないので、走査線信号Y1〜Ymを生成する必要もなければ、データ線信号X1〜Xnを生成する必要もない。このため、当該期間にあっては、以下に述べる各種の方法で消費電力を削減できる。   Therefore, unless a voltage is newly applied to the pixel electrode 104, no electric field is applied to the dispersion system 1. As a result, the spatial state of the electrophoretic particles 3 in the dispersion system 1 is maintained, whereby the content of the display image can be maintained. In such a holding period Th, since it is not necessary to apply a voltage to the pixel electrode 104, it is not necessary to generate the scanning line signals Y1 to Ym and it is not necessary to generate the data line signals X1 to Xn. . For this reason, in the said period, power consumption can be reduced with the various methods described below.

第1の方法は、電気泳動表示装置自体の主電源をオフ状態にすることである。これにより、電気泳動表示パネルAや周辺回路たる画像信号処理回路300Aおよびタイミングジェネレータ400は動作を停止することになり、一切電力を消費しないことになる。   The first method is to turn off the main power supply of the electrophoretic display device itself. As a result, the operation of the electrophoretic display panel A, the image signal processing circuit 300A as a peripheral circuit, and the timing generator 400 is stopped, and no power is consumed.

第2の方法は、電気泳動表示パネルAへの給電を停止することである。これにより、電気泳動表示パネルAで消費される電力を削減することができる。   The second method is to stop the power supply to the electrophoretic display panel A. Thereby, the power consumed by the electrophoretic display panel A can be reduced.

第3の方法は、YクロックYCKおよび反転YクロックYCKBと、XクロックXCKおよび反転XクロックXCKBとを、走査線駆動回路130およびデータ線駆動回路140Aへ供給するのを停止することである。上述したように走査線駆動回路130およびデータ線駆動回路140Aは相補型のTFTで構成されているため、電流が流れるときだけ、換言すれば、論理レベルの反転があるときに限り電力を消費する。したがって、クロックの供給を停止することによって消費電力を削減することが可能となる。   A third method is to stop supplying the Y clock YCK and the inverted Y clock YCKB, and the X clock XCK and the inverted X clock XCKB to the scanning line driving circuit 130 and the data line driving circuit 140A. As described above, since the scanning line driving circuit 130 and the data line driving circuit 140A are composed of complementary TFTs, power is consumed only when a current flows, in other words, only when there is a logic level inversion. . Therefore, power consumption can be reduced by stopping the supply of the clock.

(4)書換動作
次に、表示画面の内容を書き換える書換動作について説明する。書換動作にあっては、以下に述べる各種の態様がある。
(4) Rewriting Operation Next, a rewriting operation for rewriting the contents of the display screen will be described. In the rewriting operation, there are various modes described below.

まず、第1の態様では、上述したリセット動作を行って各行毎に順次初期化を行い、次に、上述した書込動作を行って各行毎に順次、画素電極104に電荷を供給し、階調電圧と共通電極電圧Vcomとを印加する。これにより、画面全体を書き換えることが可能となる。   First, in the first mode, the above-described reset operation is performed to sequentially initialize each row, and then the above-described write operation is performed to sequentially supply charges to the pixel electrodes 104 for each row, thereby A regulated voltage and a common electrode voltage Vcom are applied. As a result, the entire screen can be rewritten.

次に、第2の態様では、書き換えが必要となるラインに限って、リセット動作と書込動作を行う。ここでは、一例として第j番目と第j+1番目のラインを書き換える場合について説明する。図11は第2の態様に係るリセット動作を説明するためのタイミングチャートである。まず、リセット期間Trにあっては、画像信号処理回路300AがリセットデータDrestを出力する。また、当該期間において走査線駆動回路130は、図に示すように走査線信号Y1、…、Yj、Yj+1、…、Ymを順次出力する。   Next, in the second mode, the reset operation and the write operation are performed only on the lines that need to be rewritten. Here, a case where the jth and j + 1th lines are rewritten will be described as an example. FIG. 11 is a timing chart for explaining the reset operation according to the second embodiment. First, in the reset period Tr, the image signal processing circuit 300A outputs reset data Drest. Further, during the period, the scanning line driving circuit 130 sequentially outputs scanning line signals Y1,..., Yj, Yj + 1,.

一方、無バイアスタイミング信号Cbは、書き換えるべき走査線101を選択する期間にのみLレベルとなる。この例では、j番目とj+1番目のラインを書き換えるので、走査線信号Yj、Yj+1がアクティブとなる期間中に無バイアスタイミング信号CbはLレベル(非アクティブ)となる。上述したように選択回路144(図6参照)は無バイアスタイミング信号CbがHレベル(アクティブ)のときに共通電圧データDcomを出力する一方、その論理レベルがLレベルのときに第2ラッチ143の出力データDb1〜Dbnを出力する。換言すれば、j番目とj+1番目の走査線101を選択する期間にあっては、総てのデータ線102にリセット電圧Vrestが供給される一方、他の走査線101の選択期間にあっては、総てのデータ線102に共通電極電圧Vcomが供給される。   On the other hand, the non-bias timing signal Cb becomes L level only during a period in which the scanning line 101 to be rewritten is selected. In this example, since the jth and j + 1th lines are rewritten, the non-bias timing signal Cb becomes L level (inactive) during the period when the scanning line signals Yj, Yj + 1 are active. As described above, the selection circuit 144 (see FIG. 6) outputs the common voltage data Dcom when the non-bias timing signal Cb is at the H level (active), while the second latch 143 has the logic level at the L level. Output data Db1 to Dbn are output. In other words, in the period for selecting the jth and j + 1st scanning lines 101, the reset voltage Vrest is supplied to all the data lines 102, while the other scanning lines 101 are in the selection period. Thus, the common electrode voltage Vcom is supplied to all the data lines 102.

したがって、図11に示すように第1行〜第j-1行目と第j+2〜第m行の画素電極104には共通電極電圧Vcomが供給される一方、第j行および第j+1行の画素電極104には、リセット電圧Vrestが供給される。したがって、第j行および第j+1行の画素にあっては、電気泳動粒子3の空間的な状態が初期化されることになる。一方、共通電極電圧Vcomが画素電極104に書き込まれても電界は発生しないので、第1行〜第j-1行目と第j+2〜第m行の画素では電気泳動粒子3の空間的な状態は変化しない。次に、書込動作にあっては、画像信号処理回路300Aが書き換えるべきラインについてのみ画像データDを出力し、他のラインについては共通電圧データDcomを出力し、図7に示す通常の書込動作と同様に書き込みを行う。これにより、第j行と第j+1行に限って書き換えを行うことができる。   Therefore, as shown in FIG. 11, the common electrode voltage Vcom is supplied to the pixel electrodes 104 in the first to j-1th rows and the j + 2 to mth rows, while the jth and j + 1th rows. The pixel electrode 104 is supplied with a reset voltage Vrest. Therefore, the spatial state of the electrophoretic particle 3 is initialized in the pixels in the j-th row and the j + 1-th row. On the other hand, since the electric field is not generated even when the common electrode voltage Vcom is written to the pixel electrode 104, the space of the electrophoretic particles 3 in the pixels of the first to j-1th rows and the j + 2 to mth rows. The state does not change. Next, in the writing operation, the image data D is output only for the lines to be rewritten by the image signal processing circuit 300A, the common voltage data Dcom is output for the other lines, and the normal writing shown in FIG. Writing is performed in the same manner as the operation. Thereby, rewriting can be performed only in the j-th row and the j + 1-th row.

次に、第3の態様では、書き換えるべき複数のラインを同時にリセットして、この後,通常の書込動作によって書き換えを行う。第2の態様では、第j行の次に第j+1行をリセットするといったように、行毎に順次リセット動作を行ったが、書き換えるべき複数の走査線101を同時に選択できる走査線駆動回路を用いれば、同時にリセットを行うことが可能である。例えば、図12に示すように、走査線信号Yj、Yj+1のみを同時にアクティブにして、データ線102にリセット電圧Vrestを供給すれば、図13に示すように書き換えるべきj番目とj+1番目のラインを同時にリセットすることができることは勿論である。また、書込動作にあっては、画像信号処理回路300Aが書き換えるべきラインについてのみ画像データDを出力し、他のラインについては共通電圧データDcomを出力し、図7に示す通常の書込動作と同様に書き込みを行う。これにより、第j行と第j+1行に限って書き換えを行うことができる。   Next, in the third aspect, a plurality of lines to be rewritten are reset at the same time, and then rewritten by a normal writing operation. In the second mode, the reset operation is sequentially performed for each row such that the j + 1th row is reset next to the jth row, but a scanning line driving circuit capable of simultaneously selecting a plurality of scanning lines 101 to be rewritten. If is used, it is possible to reset at the same time. For example, as shown in FIG. 12, if only the scanning line signals Yj and Yj + 1 are simultaneously activated and the reset voltage Vrest is supplied to the data line 102, the jth and j + 1 to be rewritten as shown in FIG. Of course, the second line can be reset simultaneously. In the writing operation, the image data D is output only for the lines to be rewritten by the image signal processing circuit 300A, the common voltage data Dcom is output for the other lines, and the normal writing operation shown in FIG. Write in the same way. Thereby, rewriting can be performed only in the j-th row and the j + 1-th row.

次に、第4の態様では、書き換えるべき領域を同時にリセットして、その後、当該領域の画素電極104に新たな階調電圧を印加する。ここでは、図14に示すように書き換えるべき領域Rが、a番目の行からb番目の行まで、かつ、c番目の列からd番目の列までにある場合を想定する。   Next, in the fourth aspect, the region to be rewritten is reset at the same time, and then a new gradation voltage is applied to the pixel electrode 104 in the region. Here, it is assumed that the region R to be rewritten is from the a-th row to the b-th row and from the c-th column to the d-th column as shown in FIG.

まず、走査線駆動回路としては、第3の態様と同様に書き換えるべき複数の走査線101を同時に選択できるものを用いる。次に、画像信号処理回路300Aは、1ライン分のデータとして、第1番目から第c-1番目までは共通電圧データDcomを、第c番目から第d番目まではリセットデータDrestを、第d+1番目から第n番目までは共通電圧データDcomを出力する。また、無バイアスタイミング信号Cbは非アクティブとしておく。これにより、所定の水平走査期間において、データ線信号X1〜Xc-1、およびXd+1〜Xnを共通電極電圧Vcomにする一方、データ線信号Xc〜Xdをリセット電圧Vrestにすることができる。そして、当該水平走査期間において、走査線信号Ya〜Ybのみをアクティブとすることにより、領域Rをリセットすることができる。   First, as the scanning line driving circuit, one that can simultaneously select a plurality of scanning lines 101 to be rewritten is used as in the third mode. Next, the image signal processing circuit 300A, as data for one line, outputs common voltage data Dcom from the first to the (c-1) th, reset data Drest from the cth to the dth, and dth. The common voltage data Dcom is output from the (+1) th to the nth. The no-bias timing signal Cb is kept inactive. Thereby, in the predetermined horizontal scanning period, the data line signals X1 to Xc-1 and Xd + 1 to Xn can be set to the common electrode voltage Vcom, while the data line signals Xc to Xd can be set to the reset voltage Vrest. In the horizontal scanning period, the region R can be reset by making only the scanning line signals Ya to Yb active.

次に、書込動作において、画像信号処理回路300Aは、領域Rに対応する画素電極に画像データDを出力する一方、他の画素電極には共通電圧データDcomを出力する。これにより、領域Rについてのみ書き換えを行うことができる。
次に、第5の態様では総ての画素を同時にリセットして、この後、通常の書込動作を行って書き換えを実行する。図15は、第5の態様に係る電気泳動パネルBのブロック図である。この電気泳動パネルBは、各列毎にTFT105が設けられている点、および走査線駆動回路130Bが総ての走査線信号Y1〜Ymを同時にアクティブとできるようになっている点を除いて、図3に示す電気泳動パネルAと同様に構成されている。
Next, in the writing operation, the image signal processing circuit 300A outputs the image data D to the pixel electrodes corresponding to the region R, and outputs the common voltage data Dcom to the other pixel electrodes. As a result, only the region R can be rewritten.
Next, in the fifth mode, all the pixels are reset at the same time, and thereafter, a normal writing operation is performed to perform rewriting. FIG. 15 is a block diagram of the electrophoresis panel B according to the fifth aspect. The electrophoretic panel B has a TFT 105 provided for each column, and the scanning line driving circuit 130B can simultaneously activate all the scanning line signals Y1 to Ym. The configuration is the same as the electrophoresis panel A shown in FIG.

図15において、各TFT105のソース電極にはリセット電圧Vrestが給電され、そのゲート電極にはリセットタイミング信号Crが供給され、さらにそのドレイン電極は各データ線102に接続されている。ここで、リセットタイミング信号Crは、所定のリセット期間Trにおいてのみアクティブとなる信号であり、タイミングジェネレータ400で生成されるようになっている。そして、このリセットタイミング信号Crがアクティブになると、総てのTFT105が同時にオン状態となって、リセット電圧Vrestが各データ線102に供給される。一方、走査線駆動回路130Bは、リセットタイミング信号Crがアクティブになると、総ての走査線信号Y1〜Ymを同時にアクティブにする。したがって、リセットタイミング信号Crのアクティブ期間に、総ての画素電極104にリセット電圧Vrestが印加される。これにより、総ての画素が同時にリセットされる。   In FIG. 15, a reset voltage Vrest is supplied to the source electrode of each TFT 105, a reset timing signal Cr is supplied to its gate electrode, and its drain electrode is connected to each data line 102. Here, the reset timing signal Cr is a signal that is active only during a predetermined reset period Tr, and is generated by the timing generator 400. When the reset timing signal Cr becomes active, all the TFTs 105 are simultaneously turned on, and the reset voltage Vrest is supplied to each data line 102. On the other hand, when the reset timing signal Cr becomes active, the scanning line driving circuit 130B activates all the scanning line signals Y1 to Ym simultaneously. Accordingly, the reset voltage Vrest is applied to all the pixel electrodes 104 during the active period of the reset timing signal Cr. Thereby, all the pixels are simultaneously reset.

なお、この場合にTFT105の各ソース電極を接地しておき、共通電極電圧Vcomとして接地電位を基準として初期化するのに十分な正極性の電圧を印加するようにしてもよい。すなわち、画素電極104と共通電極201とのうちいずれか一方の電位を基準として、他方の電極に初期化するのに十分な電圧を印加すればよい。なお、共通電極201を分割して複数の分割電極(例えば、上半分と下半分)を設けておき、書き換えるべき画像領域が属する分割電極に初期化するための電圧を印加するようにしてもよい。   In this case, each source electrode of the TFT 105 may be grounded, and a positive voltage sufficient to initialize the common electrode voltage Vcom with reference to the ground potential may be applied. That is, a voltage sufficient to initialize the other electrode may be applied with respect to the potential of either one of the pixel electrode 104 and the common electrode 201. The common electrode 201 may be divided to provide a plurality of divided electrodes (for example, an upper half and a lower half), and a voltage for initialization may be applied to the divided electrode to which the image region to be rewritten belongs. .

B:第2実施形態
上記の実施形態では、画面を書き換える際には、図16(A)に示されるリセット動作を行った後、同図の(B)で示されるような書き込み動作を行い、表示画面を更新していた。この場合、電気泳動粒子3の空間的な状態は一旦初期化される。例えば、分散媒2が黒色に着色されており、電気泳動粒子3が白色であるとすれば、表示を更新する際に、画面全体が暗転(黒)することになる。人の視覚は短時間の変化を検知することができないので、リセット動作に要する期間が短ければ、次々と画面を更新することによって、動画を表示することも可能である。
B: Second Embodiment In the above embodiment, when rewriting the screen, after performing the reset operation shown in FIG. 16A, the write operation shown in FIG. The display screen was updated. In this case, the spatial state of the electrophoretic particles 3 is initialized once. For example, if the dispersion medium 2 is colored black and the electrophoretic particles 3 are white, the entire screen is darkened (black) when the display is updated. Since human vision cannot detect short-term changes, if the period required for the reset operation is short, it is possible to display a moving image by updating the screen one after another.

しかしながら、分散系1の物理的な性質によっては、リセット動作に長い時間を必要とし、電気泳動粒子3の初期化に伴う輝度変化が検知されることもある。そこで、このような不都合を解消するために、次に表示するべき階調に対応する電気泳動粒子の平均位置と、現在表示中の階調に対応する電気泳動粒子の平均位置との差分に相当する電圧を、両電極間に一定時間、印加しても良い。例えば、現在の階調が50%であり、これを75%の階調に変化させる場合を想定する。図16(B)に示すように電気泳動粒子3の平均的な位置が分散系1の厚さ方向の約1/2にあると、表示階調は50%になる。この階調を75%に変化させるためには、図16(C)に示すように電気泳動粒子3の平均的な位置を厚さ方向に約3/4まで移動させる必要がある。そこで、次に表示すべき階調と現在の階調との差分に応じた電圧を画素電極104に給電して電気泳動粒子3を所定位置まで移動させる。これにより、リセット動作を行うことなく、表示画面の更新が可能となり、動画を容易に表示することができる。   However, depending on the physical properties of the dispersion system 1, a long time may be required for the reset operation, and a luminance change accompanying the initialization of the electrophoretic particles 3 may be detected. Therefore, in order to eliminate such inconvenience, it corresponds to the difference between the average position of the electrophoretic particles corresponding to the gradation to be displayed next and the average position of the electrophoretic particles corresponding to the gradation currently being displayed. The voltage to be applied may be applied between the electrodes for a certain time. For example, it is assumed that the current gradation is 50% and is changed to 75% gradation. As shown in FIG. 16B, when the average position of the electrophoretic particles 3 is about 1/2 of the thickness direction of the dispersion system 1, the display gradation is 50%. In order to change this gradation to 75%, it is necessary to move the average position of the electrophoretic particles 3 to about 3/4 in the thickness direction as shown in FIG. Therefore, a voltage corresponding to the difference between the gradation to be displayed next and the current gradation is supplied to the pixel electrode 104 to move the electrophoretic particles 3 to a predetermined position. Accordingly, the display screen can be updated without performing a reset operation, and a moving image can be easily displayed.

B−1:画像信号処理回路
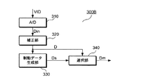
次に、画像信号処理回路301Aについて説明する。図17は画像信号処理回路301Aの構成を示すブロック図である。この図に示すように、画像信号処理回路301Aは、A/D変換器310、補正部320、演算部330、選択部340を備えている。外部から供給される画像信号VIDはA/D変換器310を介して入力画像データDinとして補正部320に供給される。補正部320は、ROM等を有しており、入力画像データDinにガンマ補正等の補正処理を施して画像データDvを生成し演算部330に出力する。
B-1: Image Signal Processing Circuit Next, the image signal processing circuit 301A will be described. FIG. 17 is a block diagram showing the configuration of the image signal processing circuit 301A. As shown in this figure, the image signal processing circuit 301A includes an A / D converter 310, a correction unit 320, a calculation unit 330, and a selection unit 340. The image signal VID supplied from the outside is supplied to the correction unit 320 as input image data Din via the A / D converter 310. The correction unit 320 includes a ROM and the like, performs correction processing such as gamma correction on the input image data Din, generates image data Dv, and outputs the image data Dv to the calculation unit 330.

次に、演算部330は、メモリ331と減算器332と備えている。画像データDvは減算器332の一方の入力端子とメモリ331に供給される。メモリ331は、奇数フィールドで書込動作を行う一方、偶数フィールドで読出動作を行う第1フィールドメモリ331Aと、奇数フィールドで読出動作を行う一方、偶数フィールドで書込動作を行う第2フィールドメモリ331Bとを備えている。このメモリ331によって画像データDvは1フィールド遅延され、遅延画像データDv’として減算器332の他方の入力端子に供給される。   Next, the arithmetic unit 330 includes a memory 331 and a subtracter 332. The image data Dv is supplied to one input terminal of the subtracter 332 and the memory 331. The memory 331 performs a write operation in an odd field, while performing a read operation in an even field, and a second field memory 331B that performs a read operation in an odd field while performing a write operation in an even field. And. The image data Dv is delayed by one field by the memory 331 and supplied to the other input terminal of the subtractor 332 as delayed image data Dv ′.

次に、減算器332は、画像データDvから遅延画像データDv’を減算して差分画像データDdを生成し、これを選択部340に出力する。選択部340は、リセット期間TrにおいてリセットデータDrestを選択する一方、書込期間Twにあっては、差分画像データDdを出力する。なお、最初のフィールドにあっては、遅延画像データDv’が存在しないので、減算器332の他方の入力端子には、データ値が‘0’となるダミーデータが供給されるようになっている。したがって、最初のフィールドでは画像データDvが差分画像データDdとして出力される。   Next, the subtractor 332 subtracts the delayed image data Dv ′ from the image data Dv to generate difference image data Dd, and outputs this to the selection unit 340. The selection unit 340 selects the reset data Drest in the reset period Tr, while outputting the difference image data Dd in the writing period Tw. In the first field, since there is no delayed image data Dv ′, the other input terminal of the subtracter 332 is supplied with dummy data having a data value of “0”. . Therefore, the image data Dv is output as the difference image data Dd in the first field.

ここで、遅延画像データDv’を現在の表示階調とすれば、画像データDvは次に表示すべき階調に相当する。したがって、差分画像データDdは現在の階調と次に表示すべき階調の差分に相当するデータとなる。   Here, if the delayed image data Dv ′ is the current display gradation, the image data Dv corresponds to the gradation to be displayed next. Therefore, the difference image data Dd is data corresponding to the difference between the current gradation and the gradation to be displayed next.

本実施形態の駆動回路およびデータ線回路の構成は第1実施形態と同様のため、説明を省略する。   Since the configuration of the drive circuit and the data line circuit of this embodiment is the same as that of the first embodiment, description thereof is omitted.

B−2:第2実施形態における全体動作
次に、第2実施形態における、電気泳動表示装置の動作について説明する。図18は画像信号処理回路301Aの出力データを示すタイミングチャートである。この図を参照しつつ、動作の概要を説明する。
B-2: Overall Operation in Second Embodiment Next, the operation of the electrophoretic display device in the second embodiment will be described. FIG. 18 is a timing chart showing output data of the image signal processing circuit 301A. The outline of the operation will be described with reference to this figure.

まず、時刻t0において、電気泳動表示装置の電源がオフ状態からオン状態に切り替わると、画像信号処理回路301A、タイミングジェネレータ400および電気泳動表示パネルAに電源が給電される。そして、所定期間が経過し回路動作が安定した時刻t1において、画像信号処理回路301Aは、リセットデータDrestを1フィールド期間出力する。このリセット期間Trにあっては、表示原理で説明したように、電気泳動粒子3が画素電極104側に引き寄せられ、その空間的な状態が初期化される。詳細は後述するが、データ線駆動回路140Aが、リセットデータDrestのデータ値に応じたリセット電圧Vrestを各データ線102に出力する一方、走査線駆動回路130が各走査線101を順次選択することにより、総ての画素電極104にリセット電圧Vrestが印加される。   First, when the power supply of the electrophoretic display device is switched from the off state to the on state at time t0, the power is supplied to the image signal processing circuit 301A, the timing generator 400, and the electrophoretic display panel A. The image signal processing circuit 301A outputs the reset data Drest for one field period at time t1 when the predetermined period has elapsed and the circuit operation is stable. In the reset period Tr, as described in the display principle, the electrophoretic particles 3 are attracted to the pixel electrode 104 side, and the spatial state thereof is initialized. Although details will be described later, the data line driving circuit 140A outputs a reset voltage Vrest corresponding to the data value of the reset data Drest to each data line 102, while the scanning line driving circuit 130 sequentially selects each scanning line 101. As a result, the reset voltage Vrest is applied to all the pixel electrodes 104.

次に、時刻t2に至ると、書込期間Twが開始する。この書込期間Twにあっては、画像信号処理回路301Aは差分画像データDdを出力する。これにより、各画素電極104には表示中の階調と次に表示すべき階調との差に応じた差分階調電圧Vdが書き込まれる。ただし、最初のフィールド(時刻t2から時刻t3まで)にあっては、画像データDvが差分画像データDdとしてデータ線駆動回路140Aに供給されるから、表示すべき階調に応じた電圧が各画素電極104に書き込まれることになる。もっとも、リセット動作によって、表示階調は0%(あるいは100%)になっているから、基本的な機能に着目すれば、最初のフィールドにあっても、表示中の階調と次に表示すべき階調との差分に応じた差分階調電圧Vdを印加しているといえる。   Next, when the time t2 is reached, the writing period Tw starts. In the writing period Tw, the image signal processing circuit 301A outputs the difference image data Dd. Thereby, the differential gradation voltage Vd corresponding to the difference between the gradation being displayed and the gradation to be displayed next is written in each pixel electrode 104. However, in the first field (from time t2 to time t3), the image data Dv is supplied as the differential image data Dd to the data line driving circuit 140A, so that a voltage corresponding to the gradation to be displayed is applied to each pixel. It will be written in the electrode 104. However, since the display gradation is 0% (or 100%) by the reset operation, if attention is paid to the basic function, the gradation being displayed and the next display are displayed even in the first field. It can be said that the differential gradation voltage Vd corresponding to the difference from the power gradation is applied.

このようにして、最初のフィールドで画像が表示されると、次のフィールドでは、差分の階調に対応する電圧が印加され、さらに以後のフィールドでも差分の階調に対応する電圧が印加される。例えば、ある画素に対応する階調電圧Vが、第1フィールドF1から第7フィールドF7までの期間において図19(A)に示すようにv1、v2、…、v7といったように変化するとすれば、差分階調電圧Vdは、同図(B)に示すVd1、Vd2、…、Vd7となる。   In this way, when an image is displayed in the first field, a voltage corresponding to the difference gradation is applied in the next field, and a voltage corresponding to the difference gradation is applied in the subsequent fields. . For example, if the gradation voltage V corresponding to a certain pixel changes in the period from the first field F1 to the seventh field F7 as shown in FIG. 19A, such as v1, v2,. The differential gradation voltage Vd becomes Vd1, Vd2,..., Vd7 shown in FIG.

次に、時刻t5以降の保持期間Thは、直前の書込期間Twで書き込まれた画像を保持する期間であり、その長さは任意に設定できる。当該期間において、画像信号処理回路301Aは動作を停止しデータを出力せず、また、画素電極104と共通電極201との間には、電界が発生しないようになっている。電気泳動粒子3は、電界がなければ空間的な状態に変化がない。したがって当該期間にあっては、静止画像が表示されることになる。   Next, the holding period Th after time t5 is a period for holding the image written in the immediately preceding writing period Tw, and the length thereof can be arbitrarily set. In this period, the image signal processing circuit 301A stops operating and does not output data, and an electric field is not generated between the pixel electrode 104 and the common electrode 201. If there is no electric field, the electrophoretic particles 3 have no change in the spatial state. Therefore, a still image is displayed during the period.

B−2:書き込み動作
次に、書込動作について詳細に説明する。図20は書込動作における電気泳動表示装置のタイミングチャートである。ここでは、i行(i番目の走査線)・j列(j番目のデータ線)の画素における書込動作を説明するが、他の画素においても同様の書き込みがなされることは勿論である。なお、以下の説明では、i行j列の画素をPijと、画素Pijに表示すべき階調を示す差分階調電圧をVdijと、また、画素Pijの輝度をIijと表すことにする。また、この例では、直前のフィールドにおいて画素Pijは100%の階調レベルを表示したものとする。くわえて、表示階調を0%(総ての電気泳動粒子3が画素電極104側にある)から、100%(総ての電気泳動粒子3が共通電極201側にある)へ変化させる場合に、共通電極電圧Vcomを基準としたときに必要な電圧を+V100、また、表示階調を100%から0%へ変化させる場合に必要な電圧を-V100と表すことにする。
B-2: Write Operation Next, the write operation will be described in detail. FIG. 20 is a timing chart of the electrophoretic display device in the writing operation. Here, the writing operation in the pixels of i row (i th scanning line) and j column (j th data line) will be described, but it goes without saying that the same writing is performed in other pixels. In the following description, a pixel in i row and j column is represented as Pij, a differential gradation voltage indicating a gradation to be displayed on the pixel Pij is represented as Vdij, and a luminance of the pixel Pij is represented as Iij. In this example, it is assumed that the pixel Pij displays a gradation level of 100% in the immediately preceding field. In addition, when the display gradation is changed from 0% (all the electrophoretic particles 3 are on the pixel electrode 104 side) to 100% (all the electrophoretic particles 3 are on the common electrode 201 side). The voltage required when the common electrode voltage Vcom is used as a reference is represented as + V100, and the voltage necessary for changing the display gradation from 100% to 0% is represented as -V100.

各データ線信号X1〜Xnは、図7(P)〜(R)に示すデータDc1〜DcnをD/A変換して生成されるので、j番目のデータ線102に供給されるデータ線信号Xjの電圧は、図20に示すように、時刻T1から時刻T2までの差分電圧印加期間Tdvにおいて差分階調電圧Vdijとなる。一方、時刻2から時刻T3までの無バイアス期間Tbにおいて共通電極電圧Vcomとなる。ここで、現在のフィールドで表示すべき階調が50%であるとすれば、直前のフィールドの階調と較べて50%減っているので、差分階調電圧Vdijの値は、同図に実線で示すように-V50となる。また、例えば、現在のフィールドで表示すべき階調が0%であるとすれば、同図に一点鎖線で示すように-V100となる。   Since the data line signals X1 to Xn are generated by D / A converting the data Dc1 to Dcn shown in FIGS. 7 (P) to (R), the data line signal Xj supplied to the jth data line 102 is generated. As shown in FIG. 20, this voltage becomes the differential gradation voltage Vdij in the differential voltage application period Tdv from time T1 to time T2. On the other hand, it becomes the common electrode voltage Vcom in the non-bias period Tb from time 2 to time T3. Here, if the gradation to be displayed in the current field is 50%, it is reduced by 50% compared with the gradation of the previous field, and therefore the value of the differential gradation voltage Vdij is shown by a solid line in FIG. As shown by -V50. Further, for example, if the gradation to be displayed in the current field is 0%, −V100 as shown by the alternate long and short dash line in FIG.

C:第3実施形態
次に、第3実施形態に係る電気泳動表示装置について説明する。第1実施形態の電気泳動表示装置にあっては、画素電極104に階調電圧を印加して、表示すべき階調に応じた距離だけ電気泳動粒子3を移動させた後、画素電極104に共通電極電圧Vcomを印加して電気泳動粒子3にクローン力を作用させないようにした。また、分散媒2の粘性抵抗が小さい場合には、共通電極電圧Vcomを印加した後も電気泳動粒子3が惰性で泳動するため、画像信号処理回路300Aにおいて、惰性による泳動を見込んで画像データDを生成していた。
C: Third Embodiment Next, an electrophoretic display device according to a third embodiment will be described. In the electrophoretic display device of the first embodiment, a gradation voltage is applied to the pixel electrode 104, the electrophoretic particles 3 are moved by a distance corresponding to the gradation to be displayed, and then the pixel electrode 104 is moved. The common electrode voltage Vcom was applied to prevent the clonal force from acting on the electrophoretic particles 3. When the dispersion medium 2 has a small viscous resistance, the electrophoretic particles 3 migrate by inertia even after the common electrode voltage Vcom is applied. Therefore, the image data D is expected in the image signal processing circuit 300A in anticipation of inertia. Was generated.

しかしながら、分散媒2の粘性抵抗の値によっては、電気泳動粒子3の運動をとめさせるのに長時間を要する場合もある。上述した例では電気泳動粒子3が画素電極104から共通電極201に向けて泳動するから、粘性抵抗が極端に小さいと表示画面が次第に明るくなり、やがてある明るさに落ち着くことになる。   However, depending on the value of the viscous resistance of the dispersion medium 2, it may take a long time to stop the movement of the electrophoretic particles 3. In the above-described example, since the electrophoretic particles 3 migrate from the pixel electrode 104 toward the common electrode 201, if the viscous resistance is extremely small, the display screen gradually becomes brighter and settles to a certain brightness.

第3実施形態は、このような表示画面の明るさの変動を防止できる電気泳動表示装置を提供するものであり、画像信号処理回路300Aの替わりに画像信号処理回路300Bを用いる点、データ線駆動回路140Aの替わりにデータ線駆動回路140Bを用いる点を除いて、図3に示す第1実施形態の電気泳動表示装置と同様に構成されている。   The third embodiment provides an electrophoretic display device that can prevent such fluctuations in the brightness of the display screen, and uses an image signal processing circuit 300B in place of the image signal processing circuit 300A. Data line driving The configuration is the same as that of the electrophoretic display device of the first embodiment shown in FIG. 3 except that the data line driving circuit 140B is used instead of the circuit 140A.

C−1:画像信号処理回路
まず、画像信号処理回路300Bについて説明する。図21は画像信号処理回路300Bのブロック図であり、図22はその出力データのタイミングチャートである。
C-1: Image Signal Processing Circuit First, the image signal processing circuit 300B will be described. FIG. 21 is a block diagram of the image signal processing circuit 300B, and FIG. 22 is a timing chart of the output data.

図21に示すように画像信号処理回路300Bは、A/D変換器310、補正部320、制動電圧データ生成部330、および選択部340を備えている。外部から供給される画像信号VIDはA/D変換器310を介して入力画像データDinとして補正部320に供給される。補正部320は、ROM等を有しており、入力画像データDinにガンマ補正等の補正処理を施して画像データDを生成する。   As illustrated in FIG. 21, the image signal processing circuit 300B includes an A / D converter 310, a correction unit 320, a braking voltage data generation unit 330, and a selection unit 340. The image signal VID supplied from the outside is supplied to the correction unit 320 as input image data Din via the A / D converter 310. The correction unit 320 includes a ROM or the like, and generates image data D by performing correction processing such as gamma correction on the input image data Din.

制動電圧データ生成部330は、その内部に制動電圧データDsのデータ値を画像データDの取り得るデータ値と対応付けて記憶するテーブルを有しており、画像データDをアドレスとして当該テーブルにアクセスして制動電圧データDsを得るようになっている。なお、テーブルは、RAMやROM等の記憶回路によって構成されている。   The braking voltage data generation unit 330 has a table that stores therein the data value of the braking voltage data Ds in association with the data value that the image data D can take, and accesses the table using the image data D as an address. Thus, the braking voltage data Ds is obtained. The table is composed of a storage circuit such as a RAM or a ROM.

ここで、制動電圧データDsは、後述する制動電圧Vsに対応するものであり、電気泳動粒子3の運動を減衰させるために用いられる。上述したように、分散系1に電界を付与することを停止しても、電気泳動粒子3は惰性による運動を続けるが、この運動の方向と逆向きの力を付与すれば電気泳動粒子3の運動を減衰させその泳動を停止させることができる。電気泳動粒子3は、当初、階調電圧に応じた電界によって泳動しているから、その運動を減衰させるには、第1に逆向きの電界を印加する必要があり、第2にその電界強度は、電気泳動粒子3の運動エネルギー、換言すれば階調電圧Vに応じて定まることになる。そこで、本実施形態にあっては、分散媒2の粘性抵抗等を考慮して、画像データDの値に応じた制動電圧データDsをテーブルに予め記憶しておき読み出すようにしている。   Here, the braking voltage data Ds corresponds to a braking voltage Vs described later, and is used to attenuate the movement of the electrophoretic particles 3. As described above, even if the application of the electric field to the dispersion system 1 is stopped, the electrophoretic particles 3 continue to move due to inertia, but if a force opposite to the direction of the movement is applied, the electrophoretic particles 3 The movement can be attenuated and the migration stopped. Since the electrophoretic particles 3 are initially migrated by an electric field corresponding to the gradation voltage, in order to attenuate the movement, it is necessary to first apply an electric field in the opposite direction, and secondly, the electric field strength. Is determined in accordance with the kinetic energy of the electrophoretic particles 3, in other words, the gradation voltage V. Therefore, in the present embodiment, the braking voltage data Ds corresponding to the value of the image data D is stored in advance in a table and read in consideration of the viscous resistance of the dispersion medium 2 and the like.

次に、選択部340は、図22に示すようにリセット期間TrにおいてはリセットデータDrestを出力する一方、書込期間においては、画像データDと制動電圧データDsを多重した多重データDmを出力する。画像データDが6ビット、制動電圧データDsが6ビットであるとすれば、多重データDmは12ビットのデータであり、MSBから6ビットが画像データD、LSBから6ビットが制動電圧データDsとなる。   Next, as shown in FIG. 22, the selection unit 340 outputs the reset data Drest during the reset period Tr, and outputs the multiplexed data Dm obtained by multiplexing the image data D and the braking voltage data Ds during the writing period. . If the image data D is 6 bits and the braking voltage data Ds is 6 bits, the multiplexed data Dm is 12-bit data, 6 bits from the MSB are image data D, and 6 bits from the LSB are braking voltage data Ds. Become.

C−2:データ線駆動回路
次に、データ線駆動回路140Bについて説明する。図23はデータ線駆動回路140Bのブロック図である。第2実施形態のデータ線駆動回路140Bは、第1ラッチ142Bおよび第2ラッチ143Bが12ビットのデータをラッチする点、選択回路144の替わりに選択回路144Bを用いる点を除いて、第1実施形態のデータ線駆動回路140Aと同様に構成されている。
C-2: Data Line Drive Circuit Next, the data line drive circuit 140B will be described. FIG. 23 is a block diagram of the data line driving circuit 140B. The data line driving circuit 140B according to the second embodiment is different from the first embodiment except that the first latch 142B and the second latch 143B latch 12-bit data and that the selection circuit 144B is used instead of the selection circuit 144. The configuration is similar to that of the data line driving circuit 140A.

第1ラッチ142Bは、12ビットの多重データDmをラッチして点順次画像データDa1〜Danを生成し、第2ラッチ143Bは点順次画像データDa1〜Danを線順次画像データDb1〜Dbnに変換している。もっとも、リセット期間Trに供給されるリセットデータDrestについては、6ビットのままで線順次画像データDb1〜Dbnにしている。   The first latch 142B latches the 12-bit multiplexed data Dm to generate dot sequential image data Da1 to Dan, and the second latch 143B converts the dot sequential image data Da1 to Dan into line sequential image data Db1 to Dbn. ing. However, the reset data Drest supplied during the reset period Tr is line-sequential image data Db1 to Dbn with 6 bits remaining.

次に、図24は、選択回路144Bの詳細な構成を示すブロック図であり、図25はそのタイミングチャートである。図24に示すように選択回路144Bは、n個の選択ユニットU1〜Unを備えており、各選択ユニットU1〜Unは、無バイアスタイミング信号Cbおよび制動タイミング信号Csに基づいて、共通電圧データDcomと多重データDmを構成する画像データDおよび制動電圧データDsとの中から、必要なデータを選択して出力するようになっている。ここで、無バイアスタイミング信号Cbは、上述した第1実施形態と同様に、共通電圧データDcomを選択する期間においてのみアクティブ(Hレベル)となる一方、制動タイミング信号Csは制動電圧データDsを選択する期間にのみアクティブ(Hレベル)となる。   Next, FIG. 24 is a block diagram showing a detailed configuration of the selection circuit 144B, and FIG. 25 is a timing chart thereof. As shown in FIG. 24, the selection circuit 144B includes n selection units U1 to Un, and each selection unit U1 to Un has the common voltage data Dcom based on the no-bias timing signal Cb and the braking timing signal Cs. Necessary data is selected and output from the image data D and the braking voltage data Ds constituting the multiple data Dm. Here, the non-bias timing signal Cb is active (H level) only during the period for selecting the common voltage data Dcom, as in the first embodiment, while the braking timing signal Cs selects the braking voltage data Ds. It becomes active (H level) only during the period.

選択回路144Bは、両信号がともに非アクティブ(Lレベル)のとき、画像データDを選択出力し、さらに制動タイミング信号Csがアクティブのとき制動電圧データDsを選択出力し、くわえて無バイアスタイミング信号Cbがアクティブのとき共通電圧データDcomを選択出力する。   The selection circuit 144B selects and outputs the image data D when both signals are inactive (L level), and further selects and outputs the braking voltage data Ds when the braking timing signal Cs is active. When Cb is active, the common voltage data Dcom is selectively output.

例えば、図25に示すように、ある水平走査期間において、i番目の選択ユニットUiにi番目の線順次画像データDbiとして多重データDmiが供給されたとする。この場合、選択回路144Bには、多重データDmiの上位ビットから構成される画像データDiと下位ビットから構成される制動電圧データDsiが供給されることになる。階調電圧印加期間Tvにあっては、制動タイミング信号Csと無バイアスタイミング信号Cbがともに非アクティブであるから、画像データDiが選択され、制動電圧印加期間Tsにあっては制動タイミング信号Csがアクティブとなるから制動電圧データDsiが選択され、さらに、無バイアス期間Tbにあっては、無バイアスタイミング信号Cbがアクティブとなるから共通電圧データDcomが選択されることになる。   For example, as shown in FIG. 25, it is assumed that multiplexed data Dmi is supplied as the i-th line sequential image data Dbi to the i-th selection unit Ui in a certain horizontal scanning period. In this case, the selection circuit 144B is supplied with the image data Di composed of the upper bits of the multiplexed data Dmi and the braking voltage data Dsi composed of the lower bits. In the gradation voltage application period Tv, the braking timing signal Cs and the no-bias timing signal Cb are both inactive, so the image data Di is selected, and in the braking voltage application period Ts, the braking timing signal Cs is Since it becomes active, the braking voltage data Dsi is selected. Further, in the no-bias period Tb, the no-bias timing signal Cb becomes active, so the common voltage data Dcom is selected.

このようにして選択されたデータは、図23に示すD/Aコンバータ145に供給され、データ線信号X1〜Xnとして各データ線101に出力されることになる。   The data selected in this way is supplied to the D / A converter 145 shown in FIG. 23, and is output to each data line 101 as data line signals X1 to Xn.

C−3:電気泳動表示装置の動作
次に、第3実施形態に係る電気泳動表示装置の動作について説明する。この電気泳動表示装置は、リセット動作→書込動作→保持動作→書換動作(リセット動作および書込動作)といった順に動作する点では、図8を参照して説明した第1実施形態の電気泳動表示装置と同様である。ただし、書込動作(書換動作中のものを含む)中に、画素電極104に電荷を供給し制動電圧を電極間に印加する工程が加えられている点で相違する。以下、相違点である書込動作の詳細について説明する。
C-3: Operation of Electrophoretic Display Device Next, the operation of the electrophoretic display device according to the third embodiment will be described. This electrophoretic display device operates in the order of reset operation → write operation → hold operation → rewrite operation (reset operation and write operation) in the electrophoretic display of the first embodiment described with reference to FIG. It is the same as the device. However, the difference is that a step of supplying a charge to the pixel electrode 104 and applying a braking voltage between the electrodes during a writing operation (including a rewriting operation) is added. Hereinafter, the details of the writing operation as a difference will be described.

図26は書込動作における電気泳動表示装置のタイミングチャートである。ここでは、i行j列の画素Pijにおける書込動作を説明するが、他の画素においても同様の書き込みがなされることは勿論である。   FIG. 26 is a timing chart of the electrophoretic display device in the writing operation. Here, the writing operation in the pixel Pij in the i row and the j column will be described, but it goes without saying that the same writing is performed in the other pixels.

j番目のデータ線102に供給されるデータ線信号Xjの電圧は、図26に示すように、時刻T1から時刻T2まで階調電圧印加期間Tvにおいて階調電圧Vijとなり、時刻T2から時刻T3までの制動電圧印加期間Tsにおいて制動電圧Vsとなり、さらに時刻T3から時刻T4までの無バイアス期間Tbにおいて共通電極電圧Vcomとなる。   As shown in FIG. 26, the voltage of the data line signal Xj supplied to the jth data line 102 becomes the gradation voltage Vij in the gradation voltage application period Tv from time T1 to time T2, and from time T2 to time T3. During the braking voltage application period Ts, the braking voltage Vs is obtained, and during the no-bias period Tb from time T3 to time T4, the common electrode voltage Vcom is obtained.

また、i番目の走査線101に供給される走査線信号Yiはi番目の水平走査期間においてアクティブとなる。このため、画素Pijを構成するTFT103は当該水平走査期間においてオン状態となり、画素Pijの画素電極104には、時刻T1から時刻T4までのデータ線信号Xjが取り込まれることになる。すなわち、この例ではある走査線のある選択期間において、画素電極104に電荷を供給して、電極間に階調電圧Vijを印加してから、共通電極電圧Vcomを印加するまでの動作が終了する。   Further, the scanning line signal Yi supplied to the i-th scanning line 101 becomes active during the i-th horizontal scanning period. For this reason, the TFT 103 constituting the pixel Pij is turned on during the horizontal scanning period, and the data line signal Xj from time T1 to time T4 is taken into the pixel electrode 104 of the pixel Pij. That is, in this example, in a certain selection period of a certain scanning line, the operation from supplying the charge to the pixel electrode 104 and applying the gradation voltage Vij between the electrodes until applying the common electrode voltage Vcom is completed. .

次に、画素Pijにおける電気泳動粒子3の挙動について考察する。この書込動作の前にはリセット動作が行われているから、時刻T1において、画素Pijの電気泳動粒子3は画素電極104側に総て位置している。このとき、画素電極104に階調電圧Vijが印加されると、画素電極104から共通電極201へ向けて電界が付与される。したがって、時刻T1から電気泳動粒子3は移動を開始し、輝度Iijは次第に高くなる。   Next, the behavior of the electrophoretic particles 3 in the pixel Pij will be considered. Since the reset operation is performed before this writing operation, the electrophoretic particles 3 of the pixels Pij are all located on the pixel electrode 104 side at time T1. At this time, when the gradation voltage Vij is applied to the pixel electrode 104, an electric field is applied from the pixel electrode 104 toward the common electrode 201. Therefore, the electrophoretic particles 3 start to move from time T1, and the luminance Iij gradually increases.

そして、時刻T2に至ると、画素電極104に制動電圧Vsが印加される。制動電圧Vsの値は、直前に印加される階調電圧Vijの値に応じて設定されており、また、共通電極電圧Vcomを基準として負極性のものである。これは、階調電圧印加期間Tvにおいて、電気泳動粒子3には画素電極104から共通電極201へ向けてのクローン力が作用していたので、これを打ち消す方向に電界を付与する必要があるからである。   Then, at time T2, the braking voltage Vs is applied to the pixel electrode 104. The value of the braking voltage Vs is set according to the value of the gradation voltage Vij applied immediately before, and has a negative polarity with respect to the common electrode voltage Vcom. This is because, in the gradation voltage application period Tv, the electrophoretic particles 3 are subjected to a clonal force from the pixel electrode 104 toward the common electrode 201, and thus it is necessary to apply an electric field in a direction to cancel this. It is.

この制動電圧Vsは、いわばブレーキとして電気泳動粒子3に作用するものであり、運動方向とは逆方向のクローン力を電気泳動粒子3に付与する。これにより、停電圧印加期間Tsの終了時刻T3までに電気泳動粒子3は泳動を停止することとなる。   This braking voltage Vs acts on the electrophoretic particles 3 as a brake, so that a clonal force in the direction opposite to the movement direction is applied to the electrophoretic particles 3. As a result, the electrophoretic particles 3 stop electrophoresis before the end time T3 of the stop voltage application period Ts.

そして、時刻T3に至ると、画素電極104には共通電極電圧Vcomが印加される。すると、画素電極104と共通電極201との電圧が一致して、画素容量に蓄積されていた電荷を放電させることができる。これにより、TFT103をオフ状態にしても画素Pijには電界が全く発生しないことになるので、電気泳動粒子3の空間的な状態を保持することができる。   At time T3, the common electrode voltage Vcom is applied to the pixel electrode 104. Then, the voltages of the pixel electrode 104 and the common electrode 201 coincide with each other, and the charge accumulated in the pixel capacitor can be discharged. Thereby, even if the TFT 103 is turned off, no electric field is generated in the pixel Pij, so that the spatial state of the electrophoretic particles 3 can be maintained.

このように本実施形態の書込動作にあっては、まず、画素Pijの画素電極104に階調電圧Vijを印加することにより電気泳動粒子3を移動させ、さらに、制動電圧Vsを印加することによって、電気泳動粒子3の運動を減衰させて停止させるので、分散媒2の粘性抵抗が小さい場合であっても、電気泳動粒子3の惰性による泳動距離を短くすることができる。この結果、輝度の変化がない安定した画像を短時間で表示させることが可能となる。   As described above, in the writing operation of this embodiment, first, the electrophoretic particles 3 are moved by applying the gradation voltage Vij to the pixel electrode 104 of the pixel Pij, and further, the braking voltage Vs is applied. Thus, the movement of the electrophoretic particles 3 is attenuated and stopped, so that the electrophoretic distance due to the inertia of the electrophoretic particles 3 can be shortened even when the viscosity resistance of the dispersion medium 2 is small. As a result, it is possible to display a stable image with no change in luminance in a short time.

D:第4実施形態
上記の実施形態においては、階調電圧を印加していたが、その代わりに差分階調電圧を印加しても良い。以下に詳しく説明する。
D: Fourth Embodiment In the above embodiment, the gradation voltage is applied, but a differential gradation voltage may be applied instead. This will be described in detail below.

D−1:画像信号処理回路
まず、画像信号処理回路301Bについて説明する。図27は画像信号処理回路301Bのブロック図であり。
D-1: Image Signal Processing Circuit First, the image signal processing circuit 301B will be described. FIG. 27 is a block diagram of the image signal processing circuit 301B.

制動電圧データ生成部350は、その内部に制動電圧データDsのデータ値を差分画像データDdの取り得るデータ値と対応付けて記憶するテーブルを有しており、差分画像データDdをアドレスとして当該テーブルにアクセスして制動電圧データDdsを得るようになっている。なお、テーブルは、RAMやROM等の記憶回路によって構成されている。   The braking voltage data generation unit 350 has a table that stores therein the data value of the braking voltage data Ds in association with the data value that can be taken by the difference image data Dd, and uses the difference image data Dd as an address. To obtain braking voltage data Dds. The table is composed of a storage circuit such as a RAM or a ROM.

ここで、制動電圧データDdsは、後述する制動電圧Vdsに対応するものであり、電気泳動粒子3の運動を減衰させるために用いられる。上述したように、分散系1に電界を付与することを停止しても、電気泳動粒子3は惰性による運動を続けるが、この運動の方向と逆向きの力を付与すれば電気泳動粒子3の運動を減衰させその泳動を停止させることができる。電気泳動粒子3は、当初、差分階調電圧Vdに応じた電界によって与えられるクローン力によって泳動しているから、その運動を減衰させるには、第1に逆向きの電界を印加する必要があり、第2にその電界強度は、電気泳動粒子3の運動エネルギー、換言すれば差分階調電圧Vdに応じて定まることになる。そこで、本実施形態にあっては、分散媒2の粘性抵抗等を考慮して、差分画像データDdの値に応じた制動電圧データDdsをテーブルに予め記憶しておき読み出すようにしている。   Here, the braking voltage data Dds corresponds to a braking voltage Vds described later, and is used to attenuate the movement of the electrophoretic particles 3. As described above, even if the application of the electric field to the dispersion system 1 is stopped, the electrophoretic particles 3 continue to move due to inertia, but if a force opposite to the direction of the movement is applied, the electrophoretic particles 3 The movement can be attenuated and the migration stopped. Since the electrophoretic particles 3 are initially migrated by the clonal force given by the electric field corresponding to the differential gradation voltage Vd, it is necessary to first apply an opposite electric field in order to attenuate the movement. Second, the electric field strength is determined in accordance with the kinetic energy of the electrophoretic particles 3, in other words, the differential gradation voltage Vd. Therefore, in the present embodiment, the braking voltage data Dds corresponding to the value of the difference image data Dd is stored in advance in a table and read in consideration of the viscous resistance of the dispersion medium 2 and the like.

データ線駆動回路、選択回路は第2実施形態を同様のため、説明を省略する。   Since the data line driving circuit and the selection circuit are the same as those in the second embodiment, description thereof is omitted.

D−2:電気泳動装置の動作
次に、第4実施形態に係る電気泳動表示装置の動作について説明する。
図28は書込動作における電気泳動表示装置のタイミングチャートである。ここでは、i行j列の画素Pijにおける書込動作を説明するが、他の画素においても同様の書き込みがなされることは勿論である。また、この例では、直前のフィールドにおいて画素Pijは100%の階調レベルを表示したものとする。
j番目のデータ線102に供給されるデータ線信号Xjの電圧は、図28に示すように、時刻T1から時刻T2までの差分階調電圧印加期間Tdvにおいて差分階調電圧Vdijとなる。例えば、現在のフィールドで表示すべき階調が50%であるとすれば、直全のフィールドの階調と較べて50%減っているので、差分階調電圧Vdijの値は、同図に実線で示すように-V50となる。また、例えば、現在のフィールドで表示すべき階調が0%であるとすれば、同図に一点鎖線で示すように-V100となる。次に、時刻T2から時刻T3までの制動電圧印加期間Tsにおいてデータ線信号Xjの電圧は制動電圧Vdsijとなる。ここで、制動電圧Vdsijの値は、差分階調電圧Vdijの値に応じて定まる。さらに時刻T3から時刻T4までの無バイアス期間Tdbにおいてデータ線信号Xjの電圧は共通電極電圧Vcomとなる
D-2: Operation of Electrophoretic Device Next, the operation of the electrophoretic display device according to the fourth embodiment will be described.
FIG. 28 is a timing chart of the electrophoretic display device in the writing operation. Here, the writing operation in the pixel Pij in the i row and the j column will be described, but it goes without saying that the same writing is performed in the other pixels. In this example, it is assumed that the pixel Pij displays a gradation level of 100% in the immediately preceding field.
As shown in FIG. 28, the voltage of the data line signal Xj supplied to the jth data line 102 becomes the differential gradation voltage Vdij in the differential gradation voltage application period Tdv from time T1 to time T2. For example, if the gradation to be displayed in the current field is 50%, it is reduced by 50% compared to the gradation of the entire field, so the value of the differential gradation voltage Vdij is shown by a solid line in FIG. As shown by -V50. Further, for example, if the gradation to be displayed in the current field is 0%, −V100 as shown by the alternate long and short dash line in FIG. Next, in the braking voltage application period Ts from time T2 to time T3, the voltage of the data line signal Xj becomes the braking voltage Vdsij. Here, the value of the braking voltage Vdsij is determined according to the value of the differential gradation voltage Vdij. Further, in the no-bias period Tdb from time T3 to time T4, the voltage of the data line signal Xj becomes the common electrode voltage Vcom.

E:第5実施形態
E−1:表示装置
第1実施形態の電気泳動表示装置にあっては、1水平走査期間内に階調電圧印加期間Tvと無バイアス期間Tbを設けて、電気泳動粒子3の移動と停止とを完結させていた。
E: Fifth Embodiment E-1: Display Device In the electrophoretic display device according to the first embodiment, an electrophoretic particle is provided with a gradation voltage application period Tv and a non-bias period Tb within one horizontal scanning period. 3 movement and stop were completed.

これに対して第5実施形態に係る電気泳動表示装置では、フィールド期間単位の階調電圧印加期間Tvfと無バイアス期間Tbfとを設けている。この電気泳動表示装置の構成は、図3に示す第1実施形態と同様であり、無バイアスタイミング信号Cbのアクティブ期間が異なる。   On the other hand, in the electrophoretic display device according to the fifth embodiment, a gradation voltage application period Tvf and a non-bias period Tbf are provided for each field period. The configuration of the electrophoretic display device is the same as that of the first embodiment shown in FIG. 3, and the active period of the biasless timing signal Cb is different.

E−2:全体動作
図29は、電気泳動表示装置の全体動作を示すタイミングチャートである。この図に示すように画像信号処理回路300Aは、リセット期間TrにリセットデータDrestを出力する。当該期間にあっては、電気泳動粒子3が画素電極104側に引き寄せられ、その空間的な状態が初期化される。
E-2: Overall Operation FIG. 29 is a timing chart showing the overall operation of the electrophoretic display device. As shown in this figure, the image signal processing circuit 300A outputs reset data Drest during the reset period Tr. In this period, the electrophoretic particles 3 are attracted toward the pixel electrode 104, and the spatial state is initialized.

次に、書込期間は1フィールド単位の階調電圧印加期間Tvfと無バイアス期間Tbfとで構成される。階調電圧印加期間Tvfにあっては、画像信号処理回路300Aから出力された画像データDに基づいて、各画素電極104に階調電圧が印加される。ただし、当該期間において無バイアスタイミング信号Cbは非アクティブのままである。したがって、当該期間において共通電極電圧Vcomが各画素電極104に印加されることはない。   Next, the writing period includes a gradation voltage application period Tvf and a non-bias period Tbf in one field unit. In the gradation voltage application period Tvf, a gradation voltage is applied to each pixel electrode 104 based on the image data D output from the image signal processing circuit 300A. However, the no-bias timing signal Cb remains inactive during the period. Therefore, the common electrode voltage Vcom is not applied to each pixel electrode 104 during the period.

一方、無バイアス期間Tbfにあっては、画像信号処理回路300Aからデータが供給されないが、無バイアスタイミング信号Cbがアクティブとなるので、当該期間にあっては、総てのデータ線102に共通電極電圧Vcomが供給されることになる。したがって、各画素電極104に共通電極電圧Vcomが印加される。すなわち、この例にあっては、ある走査線のある選択期間において、画素電極104に階調電圧Vを印加し、当該走査線が次に選択されるまでの期間、階調電圧Vを保持し、当該走査線の次の選択期間において共通電極電圧Vcomを画素電極104に印加する。   On the other hand, in the no-bias period Tbf, no data is supplied from the image signal processing circuit 300A, but since the no-bias timing signal Cb is active, the common electrode is connected to all the data lines 102 in this period. The voltage Vcom is supplied. Accordingly, the common electrode voltage Vcom is applied to each pixel electrode 104. That is, in this example, the gradation voltage V is applied to the pixel electrode 104 in a certain selection period of a certain scanning line, and the gradation voltage V is held for a period until the scanning line is next selected. The common electrode voltage Vcom is applied to the pixel electrode 104 in the next selection period of the scanning line.

次に、保持期間Thにあっては、画素電極104と共通電極201との間に、電界を発生させないようになっており、直前の書込期間で書き込まれた画像が保持される。   Next, in the holding period Th, an electric field is not generated between the pixel electrode 104 and the common electrode 201, and an image written in the immediately preceding writing period is held.

そして、書換期間にあっては、最初の画像表示と同様に、リセット→階調電圧の印加→無バイアス(共通電極電圧の印加)といった一連の処理が行われることになる。   In the rewriting period, a series of processes such as reset → application of gradation voltage → no bias (application of common electrode voltage) is performed as in the first image display.

E−3:書き込み動作
図30は書込動作における電気泳動表示装置のタイミングチャートである。ここでは、i行j列の画素Pijにおける書込動作を説明するが、他の画素においても同様の書き込みがなされることは勿論である。
E-3: Write Operation FIG. 30 is a timing chart of the electrophoretic display device in the write operation. Here, the writing operation in the pixel Pij in the i row and the j column will be described, but it goes without saying that the same writing is performed in the other pixels.

j番目のデータ線102に供給されるデータ線信号Xjの電圧は、図30に示すように、階調電圧印加期間Tvfにあっては、1水平走査期間毎に変化する。そして、i番目の水平走査期間においてデータ線信号Xjは階調電圧Vijとなる。このとき、走査線信号Yiがアクティブ(Hレベル)となるから、階調電圧Vijが画素Pijの画素電極104に書き込まれる。これにより、画素電極104の電圧は、時刻T1においてリセット電圧Vrestから階調電圧Vijに遷移して、分散系1に階調に応じた電界が印加されることになる。   As shown in FIG. 30, the voltage of the data line signal Xj supplied to the jth data line 102 changes every horizontal scanning period in the gradation voltage application period Tvf. In the i-th horizontal scanning period, the data line signal Xj becomes the gradation voltage Vij. At this time, since the scanning line signal Yi becomes active (H level), the gradation voltage Vij is written to the pixel electrode 104 of the pixel Pij. As a result, the voltage of the pixel electrode 104 changes from the reset voltage Vrest to the gradation voltage Vij at time T1, and an electric field corresponding to the gradation is applied to the dispersion system 1.

また、時刻T2において、走査線信号Yiが非アクティブ(Lレベル)になると、画素PijのTFT103はオフ状態になるが、画素容量には電荷が蓄積されているため、画素電極104の電圧は階調電圧Vijを維持する。   At time T2, when the scanning line signal Yi becomes inactive (L level), the TFT 103 of the pixel Pij is turned off. However, since charge is accumulated in the pixel capacitor, the voltage of the pixel electrode 104 is reduced. The regulated voltage Vij is maintained.

そして、無バイアス期間Tbfのi番目の水平走査期間において、走査線信号Yiがアクティブになると、共通電極電圧Vcomが画素電極104に印加される。これにより、画素電極104の電圧は、時刻T4に至ると、共通電極電圧Vcomと一致することになる。   In the i-th horizontal scanning period of the non-bias period Tbf, when the scanning line signal Yi becomes active, the common electrode voltage Vcom is applied to the pixel electrode 104. Thereby, the voltage of the pixel electrode 104 coincides with the common electrode voltage Vcom when time T4 is reached.

E−4:電気泳動粒子の挙動
次に、画素Pijにおける電気泳動粒子3の挙動について考察する。この書込動作の前にはリセット動作が行われているから、時刻T0において、画素Pijの電気泳動粒子3は画素電極104側に総て位置している。時刻T1において、画素電極104に階調電圧Vijが印加されると、画素電極104から共通電極201へ向けて電界が付与される。したがって、時刻T1から電気泳動粒子3は移動を開始し、輝度Iijは次第に高くなる。
E-4: Behavior of Electrophoretic Particle Next, the behavior of the electrophoretic particle 3 in the pixel Pij will be considered. Since the reset operation is performed before this writing operation, the electrophoretic particles 3 of the pixels Pij are all located on the pixel electrode 104 side at time T0. When the gradation voltage Vij is applied to the pixel electrode 104 at time T <b> 1, an electric field is applied from the pixel electrode 104 toward the common electrode 201. Therefore, the electrophoretic particles 3 start to move from time T1, and the luminance Iij gradually increases.

この階調電圧Vijに応じた電界は、時刻T1から時刻T4までの1フィールド期間中印加される。したがって、当該期間において電気泳動粒子3が画素電極104へ向けて移動することになる。すなわち、第1実施形態にあっては、1水平期間中の所定期間に階調電圧Vijを印加したが、第3実施形態では1フィールド期間にわたって階調電圧Vijを印加している。電気泳動粒子3の移動量は、表示原理でも説明したように、分散系1に付与する電界の強さと印加時間に応じて定まる。この例では、1フィールドという長時間に亘って電界を印加するから、弱い電界を印加しても所望の輝度Iijを得ることができる。したがって、本実施形態によればデータ線信号X1〜Xnを低電圧で駆動することが可能となる。   The electric field corresponding to the gradation voltage Vij is applied during one field period from time T1 to time T4. Therefore, the electrophoretic particles 3 move toward the pixel electrode 104 during the period. That is, in the first embodiment, the gradation voltage Vij is applied during a predetermined period in one horizontal period, but in the third embodiment, the gradation voltage Vij is applied over one field period. The movement amount of the electrophoretic particles 3 is determined according to the strength of the electric field applied to the dispersion system 1 and the application time, as described in the display principle. In this example, since the electric field is applied for a long time of one field, a desired luminance Iij can be obtained even if a weak electric field is applied. Therefore, according to the present embodiment, the data line signals X1 to Xn can be driven with a low voltage.

F:第6実施形態
さらに、上記実施形態においては、階調電圧を印加していたが、それに代わって差分階調電圧を印加しても良い。
F: Sixth Embodiment Further, in the above embodiment, the gradation voltage is applied, but a differential gradation voltage may be applied instead.

F−1:表示装置
図31は、電気泳動表示装置の全体動作を示すタイミングチャートである。この図に示すように画像信号処理回路301Aは、リセット期間TrにリセットデータDrestを出力する。当該期間にあっては、電気泳動粒子3が画素電極104側に引き寄せられ、その空間的な状態が初期化される。
F-1: Display Device FIG. 31 is a timing chart showing the overall operation of the electrophoretic display device. As shown in this figure, the image signal processing circuit 301A outputs reset data Drest during the reset period Tr. In this period, the electrophoretic particles 3 are attracted toward the pixel electrode 104, and the spatial state is initialized.

次に、書込期間Twは複数の単位期間を備えており、1つの単位期間は1フィールド単位の差分階調電圧印加期間Tdvfと無バイアス期間Tdbfとの組で構成される。差分階調電圧印加期間Tdvfにあっては、画像信号処理回路301Aから出力された差分画像データDdに基づいて、各画素電極104に差分階調電圧Vdが印加される。ただし、当該期間において無バイアスタイミング信号Cbは非アクティブのままである。したがって、当該期間において共通電極電圧Vcomが各画素電極104に印加されることはない。   Next, the writing period Tw includes a plurality of unit periods, and one unit period is composed of a set of a differential gradation voltage application period Tdvf and a non-bias period Tdbf in one field unit. In the difference gradation voltage application period Tdvf, the difference gradation voltage Vd is applied to each pixel electrode 104 based on the difference image data Dd output from the image signal processing circuit 301A. However, the no-bias timing signal Cb remains inactive during the period. Therefore, the common electrode voltage Vcom is not applied to each pixel electrode 104 during the period.

一方、無バイアス期間Tbfにあっては、画像信号処理回路301Aからデータが供給されないが、無バイアスタイミング信号Cbがアクティブとなるので、当該期間にあっては、総てのデータ線102に共通電極電圧Vcomが供給されることになる。したがって、各画素電極104に共通電極電圧Vcomが書き込まれる。すなわち、この例にあっては、ある走査線のある選択期間において、画素電極104に差分階調電圧Vdを印加し、当該走査線が次に選択されるまでの期間、差分階調電圧Vdを保持し、当該走査線の次の選択期間において共通電極電圧Vcomを画素電極104に印加する。   On the other hand, in the no-bias period Tbf, no data is supplied from the image signal processing circuit 301A. However, since the no-bias timing signal Cb is active, the common electrode is connected to all the data lines 102 in this period. The voltage Vcom is supplied. Therefore, the common electrode voltage Vcom is written to each pixel electrode 104. That is, in this example, the differential gradation voltage Vd is applied to the pixel electrode 104 in a certain selection period of a certain scanning line, and the differential gradation voltage Vd is applied during the period until the scanning line is selected next. The common electrode voltage Vcom is applied to the pixel electrode 104 in the next selection period of the scanning line.

次に、保持期間Thにあっては、画素電極104と共通電極201との間に、電界を発生させないようになっており、直前の書込期間で書き込まれた画像が保持される。 Next, in the holding period Th, an electric field is not generated between the pixel electrode 104 and the common electrode 201, and an image written in the immediately preceding writing period is held.

F−2:書き込み動作
図32は書込動作における電気泳動表示装置のタイミングチャートである。ここでは、i行j列の画素Pijにおける書込動作を説明するが、他の画素においても同様の書き込みがなされることは勿論である。また、この例では、画素Pijにおける直前の単位期間の階調が10%であり、現在の単位期間で50%の階調を表示させるものとする。
F-2: Write Operation FIG. 32 is a timing chart of the electrophoretic display device in the write operation. Here, the writing operation in the pixel Pij in the i row and the j column will be described, but it goes without saying that the same writing is performed in the other pixels. In this example, the gradation of the unit period immediately before in the pixel Pij is 10%, and 50% gradation is displayed in the current unit period.

j番目のデータ線102に供給されるデータ線信号Xjの電圧は、図32に示すように、差分階調電圧印加期間Tdvfにおいて、1水平走査期間毎に変化する。そして、i番目の水平走査期間においてデータ線信号Xjは差分階調電圧Vdijとなる。このとき、走査線信号Yiがアクティブ(Hレベル)となるから、差分階調電圧Vdijが画素Pijの画素電極104に印加される。これにより、両極間の電圧は、時刻T1において、差分階調電圧Vdijとなり、分散系1に差分階調に応じた電界が印加されることになる。   As shown in FIG. 32, the voltage of the data line signal Xj supplied to the jth data line 102 changes every horizontal scanning period in the differential gradation voltage application period Tdvf. In the i-th horizontal scanning period, the data line signal Xj becomes the differential gradation voltage Vdij. At this time, since the scanning line signal Yi becomes active (H level), the differential gradation voltage Vdij is applied to the pixel electrode 104 of the pixel Pij. As a result, the voltage between the two electrodes becomes the differential gradation voltage Vdij at time T1, and an electric field corresponding to the differential gradation is applied to the dispersion system 1.

また、時刻T2において、走査線信号Yiが非アクティブ(Lレベル)になると、画素PijのTFT103はオフ状態になるが、画素容量には電荷が蓄積されているため、電極間の電圧は差分階調電圧Vdijを維持する。   At time T2, when the scanning line signal Yi becomes inactive (L level), the TFT 103 of the pixel Pij is turned off. However, since charges are accumulated in the pixel capacitor, the voltage between the electrodes is the difference level. The regulated voltage Vdij is maintained.

そして、無バイアス期間Tdbfのi番目の水平走査期間において、走査線信号Yiがアクティブになると、共通電極電圧Vcomが画素電極104に印加される。これにより、画素電極104の電位は、時刻T4に至ると、共通電極電圧Vcomと一致することになる。   In the i-th horizontal scanning period of the non-bias period Tdbf, when the scanning line signal Yi becomes active, the common electrode voltage Vcom is applied to the pixel electrode 104. Thereby, the potential of the pixel electrode 104 coincides with the common electrode voltage Vcom when time T4 is reached.

G:第7実施形態
G−1:表示装置
第3実施形態の電気泳動表示装置にあっては、1水平走査期間内に階調電圧印加期間Tv、制動電圧印加期間Ts、および無バイアス期間Tbを設けて、電気泳動粒子3の移動と停止とを完結させていた。
G: Seventh Embodiment G-1: Display Device In the electrophoretic display device of the third embodiment, within one horizontal scanning period, the gradation voltage application period Tv, the braking voltage application period Ts, and the no-bias period Tb To complete the movement and stop of the electrophoretic particles 3.

これに対して第7実施形態に係る電気泳動表示装置では、フィールド単位の階調電圧印加期間Tvf、制動電圧印加期間Tsf、および無バイアス期間Tbfとを設けている。この電気泳動表示装置の構成は、第1実施形態と同様であるが、無バイアスタイミング信号Cbのアクティブ期間が異なる。   On the other hand, in the electrophoretic display device according to the seventh embodiment, a gradation voltage application period Tvf, a braking voltage application period Tsf, and a non-bias period Tbf are provided for each field. The configuration of the electrophoretic display device is the same as that of the first embodiment, but the active period of the biasless timing signal Cb is different.

G−2:全体動作
図33は、電気泳動表示装置の全体動作を示すタイミングチャートである。この図に示すように画像信号処理回路300Aは、リセット期間TrにリセットデータDrestを出力する。当該期間にあっては、電気泳動粒子3が画素電極104側に引き寄せられ、その空間的な状態が初期化される。
G-2: Overall Operation FIG. 33 is a timing chart showing the overall operation of the electrophoretic display device. As shown in this figure, the image signal processing circuit 300A outputs reset data Drest during the reset period Tr. In this period, the electrophoretic particles 3 are attracted toward the pixel electrode 104, and the spatial state is initialized.

次に、書込期間は1フィールド単位の階調電圧印加期間Tvf、制動電圧印加期間Tsf、および無バイアス期間Tbfとで構成される。階調電圧印加期間Tvfと制動電圧印加期間Tsfとにあっては、画像信号処理回路300Aから出力された画像データDと制動電圧データDsとに基づいて、各画素電極104に階調電圧Vと制動電圧Vsとが各々書き込まれる。ただし、これらの期間において無バイアスタイミング信号Cbは非アクティブのままである。したがって、これらの期間において共通電極電圧Vcomが各画素電極104に印加されることはない。   Next, the writing period includes a gradation voltage application period Tvf, a braking voltage application period Tsf, and a no-bias period Tbf in one field unit. In the gradation voltage application period Tvf and the braking voltage application period Tsf, the gradation voltage V is applied to each pixel electrode 104 based on the image data D and the braking voltage data Ds output from the image signal processing circuit 300A. The braking voltage Vs is written respectively. However, the non-bias timing signal Cb remains inactive during these periods. Therefore, the common electrode voltage Vcom is not applied to each pixel electrode 104 during these periods.

一方、無バイアス期間Tbfにあっては、画像信号処理回路300Aからデータが供給されないが、無バイアスタイミング信号Cbがアクティブとなるので、当該期間にあっては、総てのデータ線102に共通電極電圧Vcomが供給されることになる。したがって、各画素電極104に共通電極電圧Vcomが印加される。すなわち、この例にあっては、ある走査線のある選択期間において、画素電極104に階調電圧Vを書き込み、当該走査線が次に選択されるまでの期間、階調電圧Vを保持し、当該走査線の次の選択期間において画素電極104に制動電圧Vsを印加し、当該走査線がその次に選択されるまでの期間、制動電圧Vsを保持し、当該走査線がその次に選択される期間において共通電極電圧Vcomを画素電極Vcomを印加する。   On the other hand, in the no-bias period Tbf, no data is supplied from the image signal processing circuit 300A, but since the no-bias timing signal Cb is active, the common electrode is connected to all the data lines 102 in this period. The voltage Vcom is supplied. Accordingly, the common electrode voltage Vcom is applied to each pixel electrode 104. That is, in this example, the gradation voltage V is written to the pixel electrode 104 in a certain selection period of a certain scanning line, and the gradation voltage V is held for a period until the scanning line is selected next. The braking voltage Vs is applied to the pixel electrode 104 in the next selection period of the scanning line, the braking voltage Vs is held until the scanning line is selected next, and the scanning line is selected next. The common electrode voltage Vcom is applied to the pixel electrode Vcom during the period.

次に、保持期間Thにあっては、画素電極104と共通電極201との間に、電界を発生させないようになっており、直前の書込期間で書き込まれた画像が保持される。   Next, in the holding period Th, an electric field is not generated between the pixel electrode 104 and the common electrode 201, and an image written in the immediately preceding writing period is held.

そして、書換期間にあっては、最初の画像表示と同様に、リセット→階調電圧の印加→制動電圧の印加→無バイアス(共通電極電圧の印加)といった一連の処理が行われることになる。   In the rewriting period, as in the first image display, a series of processing such as reset → application of gradation voltage → application of braking voltage → no bias (application of a common electrode voltage) is performed.

G−3:書き込み動作
次に、第4実施形態に係る電気泳動表示装置の書込動作(書換動作中のものを含む)について詳細に説明する。図34は書込動作における電気泳動表示装置のタイミングチャートである。ここでは、i行j列の画素Pijにおける書込動作を説明するが、他の画素においても同様の書き込みがなされることは勿論である。
G-3: Write Operation Next, the write operation (including the rewrite operation) of the electrophoretic display device according to the fourth embodiment will be described in detail. FIG. 34 is a timing chart of the electrophoretic display device in the writing operation. Here, the writing operation in the pixel Pij in the i row and the j column will be described, but it goes without saying that the same writing is performed in the other pixels.

図34に示すように、階調電圧印加期間Tvfのi番目の水平走査期間においてデータ線信号Xjは階調電圧Vijとなる。このとき、走査線信号Yiがアクティブ(Hレベル)となるから、階調電圧Vijが画素Pijの画素電極104に書き込まれる。これにより、画素電極104の電圧は、時刻T1においてリセット電圧Vrestから階調電圧Vijに遷移して、分散系1に階調に応じた電界が印加されることになる。   As shown in FIG. 34, the data line signal Xj becomes the gradation voltage Vij in the i-th horizontal scanning period of the gradation voltage application period Tvf. At this time, since the scanning line signal Yi becomes active (H level), the gradation voltage Vij is written to the pixel electrode 104 of the pixel Pij. As a result, the voltage of the pixel electrode 104 changes from the reset voltage Vrest to the gradation voltage Vij at time T1, and an electric field corresponding to the gradation is applied to the dispersion system 1.

また、時刻T2において、走査線信号Yiが非アクティブ(Lレベル)になると、画素PijのTFT103はオフ状態になるが、画素容量には電荷が蓄積されているため、画素電極104の電圧は階調電圧Vijを維持する。 At time T2, when the scanning line signal Yi becomes inactive (L level), the TFT 103 of the pixel Pij is turned off. However, since charge is accumulated in the pixel capacitor, the voltage of the pixel electrode 104 is reduced. The regulated voltage Vij is maintained.

次に、制動電圧印加期間Tsfのi番目の水平走査期間において、走査線信号Yiがアクティブになると、階調電圧Vijに応じた制動電圧Vsijが画素電極104に印加される。これにより、画素電極104の電圧は、時刻T4に至ると、制動電圧Vsijと一致することになる。   Next, in the i-th horizontal scanning period of the braking voltage application period Tsf, when the scanning line signal Yi becomes active, the braking voltage Vsij corresponding to the gradation voltage Vij is applied to the pixel electrode 104. Thereby, the voltage of the pixel electrode 104 coincides with the braking voltage Vsij when the time T4 is reached.

さらに、1フィールド期間が経過すると、無バイアス期間Tbfのi番目の水平走査期間において、走査線信号Yiがアクティブになると、共通電極電圧Vcomが画素電極104に印加される。これにより、画素電極104の電位は、時刻T4に至ると、共通電極電位Vcomと一致することになる。   Further, when one field period elapses, the common electrode voltage Vcom is applied to the pixel electrode 104 when the scanning line signal Yi becomes active in the i-th horizontal scanning period of the non-bias period Tbf. As a result, the potential of the pixel electrode 104 coincides with the common electrode potential Vcom when time T4 is reached.

G−4:電気泳動粒子の挙動
次に、画素Pijにおける電気泳動粒子3の挙動について考察する。書込動作前にリセット動作が行われているから、時刻T0において、画素Pijの電気泳動粒子3は画素電極104側に総て位置している。時刻T1において、画素電極104に階調電圧Vijが印加されると、画素電極104から共通電極201へ向けて電界が付与される。したがって、時刻T1から電気泳動粒子3は移動を開始し、輝度Iijは次第に高くなる。
G-4: Behavior of Electrophoretic Particle Next, the behavior of the electrophoretic particle 3 in the pixel Pij will be considered. Since the reset operation is performed before the writing operation, the electrophoretic particles 3 of the pixels Pij are all located on the pixel electrode 104 side at time T0. When the gradation voltage Vij is applied to the pixel electrode 104 at time T <b> 1, an electric field is applied from the pixel electrode 104 toward the common electrode 201. Therefore, the electrophoretic particles 3 start to move from time T1, and the luminance Iij gradually increases.

次に、時刻T4から時刻T6までの1フィールド期間にあっては、制動電圧Vsijが画素電極に印加される。制動電圧Vsijは共通電極電位Vcomを基準として負極性の電位であるから、共通電極201から画素電極104の向きにクーロン力が作用する。これにより、電気泳動粒子3の運動方向とは逆方向の力を作用させ、電気泳動粒子3の速度を低下させ、時刻T6に至るまでに、その運動を完全に停止させることができる。くわえて、時刻T6から時刻T7の期間には、共通電極電位Vcomが画素電極104に印加されるから、画素容量に蓄積された電荷が放電される。これにより、時刻T7以降、画素PijのTFT103がオフ状態になっても電極間に電界が発生しなくなり、電気泳動粒子3の空間的な状態が保持されることになる。   Next, in one field period from time T4 to time T6, the braking voltage Vsij is applied to the pixel electrode. Since the braking voltage Vsij is a negative potential with respect to the common electrode potential Vcom, a Coulomb force acts in the direction from the common electrode 201 to the pixel electrode 104. As a result, a force in the direction opposite to the direction of movement of the electrophoretic particles 3 is applied, the speed of the electrophoretic particles 3 is decreased, and the movement can be completely stopped by time T6. In addition, since the common electrode potential Vcom is applied to the pixel electrode 104 in the period from time T6 to time T7, the charge accumulated in the pixel capacitor is discharged. Thereby, even after the time T7, even if the TFT 103 of the pixel Pij is turned off, an electric field is not generated between the electrodes, and the spatial state of the electrophoretic particles 3 is maintained.

ところで、上述した第2実施形態にあっては、1水平期間中の所定期間に階調電圧Vij、制動電圧Vs、共通電極電圧Vcomを印加するようにしたが、第4実施形態では1フィールド期間にわたって階調電圧Vijおよび制動電圧Vsijを印加している。すなわち、この例では、1フィールドという長時間に亘って階調電圧Vijおよび制動電圧Vsijを印加するから、低い電圧値でも所望の輝度Iijを得ることができる。したがって、本実施形態によればデータ線信号X1〜Xnを低電圧で駆動することが可能となる。   In the second embodiment described above, the gradation voltage Vij, the braking voltage Vs, and the common electrode voltage Vcom are applied in a predetermined period of one horizontal period. In the fourth embodiment, however, one field period is applied. The gradation voltage Vij and the braking voltage Vsij are applied over the entire area. That is, in this example, since the gradation voltage Vij and the braking voltage Vsij are applied for a long time of one field, a desired luminance Iij can be obtained even with a low voltage value. Therefore, according to the present embodiment, the data line signals X1 to Xn can be driven with a low voltage.

H:第8実施形態
さらに、上記第7実施形態においては、階調電圧を印加していたが、これに換えて差分階調電圧を印加することも可能である。
H: Eighth Embodiment Further, in the seventh embodiment, the gradation voltage is applied, but a differential gradation voltage can be applied instead.

H−1:表示装置
図35は、第8実施形態に係る電気泳動表示装置の全体動作を示すタイミングチャートである。この図に示すように画像信号処理回路301Bは、リセット期間TrにリセットデータDrestを出力する。当該期間にあっては、電気泳動粒子3が画素電極104側に引き寄せられ、その空間的な状態が初期化される。
H-1: Display Device FIG. 35 is a timing chart showing the overall operation of the electrophoretic display device according to the eighth embodiment. As shown in this figure, the image signal processing circuit 301B outputs reset data Drest during the reset period Tr. In this period, the electrophoretic particles 3 are attracted toward the pixel electrode 104, and the spatial state is initialized.

次に、書込期間Twは、複数の単位期間から構成されており、1つの単位期間は、1フィールド単位の差分階調電圧印加期間Tdvf、制動電圧印加期間Tdsf、および無バイアス期間Tdbfで構成される。差分階調電圧印加期間Tdvfと制動電圧印加期間Tdsfとにあっては、画像信号処理回路301Bから出力された差分画像データDdと制動電圧データDdsとに基づいて、各画素電極104に差分階調電圧Vdと制動電圧Vsとが各々印加される。ただし、これらの期間において無バイアスタイミング信号Cbは非アクティブのままである。したがって、これらの期間において共通電極電圧Vcomが各画素電極104に書き込まれることはない。   Next, the writing period Tw is composed of a plurality of unit periods, and one unit period is composed of a differential gradation voltage application period Tdvf, a braking voltage application period Tdsf, and a non-bias period Tdbf in one field unit. Is done. In the difference gradation voltage application period Tdvf and the braking voltage application period Tdsf, a difference gradation is applied to each pixel electrode 104 based on the difference image data Dd and the braking voltage data Dds output from the image signal processing circuit 301B. A voltage Vd and a braking voltage Vs are applied. However, the non-bias timing signal Cb remains inactive during these periods. Therefore, the common electrode voltage Vcom is not written to each pixel electrode 104 during these periods.

一方、無バイアス期間Tbfにあっては、画像信号処理回路301Bからデータが供給されないが、無バイアスタイミング信号Cbがアクティブとなるので、当該期間にあっては、総てのデータ線102に共通電極電圧Vcomが供給されることになる。したがって、各画素電極104に共通電極電圧Vcomが書き込まれる。すなわち、この例にあっては、ある走査線のある選択期間において、画素電極104に差分階調電圧Vdを印加し、当該走査線が次に選択されるまでの期間、差分階調電圧Vdを保持し、当該走査線の次の選択期間において画素電極104に制動電圧Vdsを印加し、当該走査線がその次に選択されるまでの期間、制動電圧Vdsを保持し、当該走査線がその次に選択される期間において共通電極電圧Vcomを画素電極104に印加する。   On the other hand, in the no-bias period Tbf, no data is supplied from the image signal processing circuit 301B, but since the no-bias timing signal Cb is active, the common electrode is connected to all the data lines 102 in this period. The voltage Vcom is supplied. Therefore, the common electrode voltage Vcom is written to each pixel electrode 104. That is, in this example, the differential gradation voltage Vd is applied to the pixel electrode 104 in a certain selection period of a certain scanning line, and the differential gradation voltage Vd is applied during the period until the scanning line is selected next. The braking voltage Vds is applied to the pixel electrode 104 in the next selection period of the scanning line, and the braking voltage Vds is maintained until the scanning line is selected next. The common electrode voltage Vcom is applied to the pixel electrode 104 during a period selected by the pixel electrode 104.

次に、保持期間Thにあっては、画素電極104と共通電極201との間に、電界を発生させないようになっており、直前の書込期間Twで書き込まれた画像が保持される。   Next, in the holding period Th, an electric field is not generated between the pixel electrode 104 and the common electrode 201, and an image written in the immediately preceding writing period Tw is held.

H−2:書き込み動作
図36は書込動作における電気泳動表示装置のタイミングチャートである。ここでは、i行j列の画素Pijにおける書込動作を説明するが、他の画素においても同様の書き込みがなされることは勿論である。また、この例では、画素Pijにおける直前の単位期間の階調が10%であり、現在の単位期間で50%の階調を表示させるものとする。 図36に示すように、差分階調電圧印加期間Tdvfのi番目の水平走査期間においてデータ線信号Xjは差分階調電圧Vdijとなる。このとき、走査線信号Yiがアクティブ(Hレベル)となるから、差分階調電圧Vdijが画素Pijの画素電極104に書き込まれる。これにより、画素電極104の電位は、時刻T1において差分階調電圧Vdijに遷移して、分散系1に差分階調に応じた電界が印加されることになる。
H-2: Write Operation FIG. 36 is a timing chart of the electrophoretic display device in the write operation. Here, the writing operation in the pixel Pij in the i row and the j column will be described, but it goes without saying that the same writing is performed in the other pixels. In this example, the gradation of the unit period immediately before in the pixel Pij is 10%, and 50% gradation is displayed in the current unit period. As shown in FIG. 36, the data line signal Xj becomes the differential gradation voltage Vdij in the i-th horizontal scanning period of the differential gradation voltage application period Tdvf. At this time, since the scanning line signal Yi becomes active (H level), the differential gradation voltage Vdij is written to the pixel electrode 104 of the pixel Pij. As a result, the potential of the pixel electrode 104 changes to the differential gradation voltage Vdij at time T1, and an electric field corresponding to the differential gradation is applied to the dispersion system 1.

また、時刻T2において、走査線信号Yiが非アクティブ(Lレベル)になると、画素PijのTFT103はオフ状態になるが、画素容量には電荷が蓄積されているため、画素電極104の電圧は差分階調電圧Vdijを維持する。
次に、制動電圧印加期間Tsfのi番目の水平走査期間において、走査線信号Yiがアクティブになると、差分階調電圧Vdijに応じた制動電圧Vdsijが画素電極104に印加される。これにより、画素電極104の電圧は、時刻T4に至ると、制動電圧Vdsijと一致することになる。さらに、1フィールド期間が経過すると、無バイアス期間Tdbfのi番目の水平走査期間において、走査線信号Yiがアクティブになる。すると、共通電極電圧Vcomが画素電極104に印加される。
At time T2, when the scanning line signal Yi becomes inactive (L level), the TFT 103 of the pixel Pij is turned off, but since the charge is accumulated in the pixel capacitor, the voltage of the pixel electrode 104 is a difference. The gradation voltage Vdij is maintained.
Next, in the i-th horizontal scanning period of the braking voltage application period Tsf, when the scanning line signal Yi becomes active, the braking voltage Vdsij corresponding to the differential gradation voltage Vdij is applied to the pixel electrode 104. As a result, the voltage of the pixel electrode 104 coincides with the braking voltage Vdsij at time T4. Further, when one field period elapses, the scanning line signal Yi becomes active in the i-th horizontal scanning period of the non-bias period Tdbf. Then, the common electrode voltage Vcom is applied to the pixel electrode 104.

I:応用例
以上、本発明の一実施形態について説明したが、本発明はこれに限定されるものではなく、その趣旨を逸脱しない範囲で応用・変形が可能であり、例えば、以下に述べる変形が可能である。
I: Application Examples Although one embodiment of the present invention has been described above, the present invention is not limited to this, and can be applied and modified without departing from the spirit thereof. For example, the modifications described below are possible. Is possible.

I−1:動画の表示
上述した各実施形態にあっては、1枚の画像をリセット動作、書込動作の順で形成してこれを保持し、必要に応じて書換動作を行うようにした。したがって、各実施形態の電気泳動表示装置は、静止画を表示するのに適している。しかし、リセット期間Trを短くするとともに、書換動作を周期で繰り返すことによって、動画を表示してもよいことは勿論である。動画を表示する場合には、第1に、電気泳動粒子3に移動速度が速いことが望ましい。このため、分散媒2の粘性抵抗は小さいことが好ましい。このような場合には、分散系1へ電界を付与することを停止しても電気泳動粒子3が惰性で泳動することが多い。したがって、第2実施形態やあるいは第4実施形態で説明したように制動電圧を印加して、電気泳動粒子3の運動を減衰させることが好ましい。
I-1: Display of moving images In each of the above-described embodiments, one image is formed in the order of the reset operation and the writing operation, and this is held, and the rewriting operation is performed as necessary. . Therefore, the electrophoretic display device of each embodiment is suitable for displaying a still image. However, it is a matter of course that a moving image may be displayed by shortening the reset period Tr and repeating the rewrite operation in a cycle. When displaying a moving image, first, it is desirable that the moving speed of the electrophoretic particles 3 is high. For this reason, it is preferable that the viscosity resistance of the dispersion medium 2 is small. In such a case, even if the application of an electric field to the dispersion system 1 is stopped, the electrophoretic particles 3 often migrate by inertia. Therefore, it is preferable to attenuate the movement of the electrophoretic particles 3 by applying a braking voltage as described in the second embodiment or the fourth embodiment.

I−2:リフレッシュ期間
分散系1を構成する分散媒2と電気泳動粒子3の比重は等しいことが好ましいが、素材の制約やバラツキによって両者の比重を完全に一致させることは難しい。このような場合、一旦、画像を書き込んでこれを長時間放置すると、電気泳動粒子3に重力が作用して、粒子が沈降・浮上することがある。そこで、タイミングジェネレータ400の内部に図37に示すタイマー装置を設けて、所定周期で同一画像を再書込みすることが好ましい。
I-2: Refresh Period It is preferable that the specific gravity of the dispersion medium 2 and the electrophoretic particles 3 constituting the dispersion system 1 is equal, but it is difficult to make the specific gravity of the two completely coincide with each other due to restrictions and variations in materials. In such a case, once an image is written and left for a long time, gravity may act on the electrophoretic particles 3 to cause the particles to settle and float. Therefore, it is preferable to provide the timer device shown in FIG. 37 inside the timing generator 400 and rewrite the same image at a predetermined cycle.

このタイマー装置410は、タイマー部411と比較部412とを備えている。タイマー部411は、時間か計測して継続時間データDtを生成するとともに、通常の書き込みを指示する書込開始信号Wsと再書込信号Ws’のうちいずれか一方がアクティブになると継続時間データDtの値を‘0’にリセットするようになっている。比較部412は継続時間データDtと予め定められたリフレッシュ期間を指示する基準時間データDrefとを比較して、継続時間データDtと基準時間データDrefを比較して、両者が一致すると、所定時間アクティブとなる再書込信号Ws’を生成するようになっている。   The timer device 410 includes a timer unit 411 and a comparison unit 412. The timer unit 411 measures the time to generate the duration data Dt, and when either one of the write start signal Ws and the rewrite signal Ws ′ instructing normal writing becomes active, the duration data Dt. The value of is reset to '0'. The comparison unit 412 compares the continuation time data Dt with the reference time data Dref indicating a predetermined refresh period, compares the continuation time data Dt with the reference time data Dref. A rewrite signal Ws ′ is generated.

図38は、タイマー装置410のタイミングチャートである。この図に示すように書込開始信号Wsがアクティブになると、タイマー部411の継続時間データDtがリセットされ、計測が開始される。そして、予め定められたリフレッシュ期間が経過すると、継続時間データDtと基準時間データDrefとが一致して再書込信号Ws’がアクティブとなる。以後、リフレッシュ期間が経過する毎に再書込信号Ws’がアクティブとなる一方、途中で書込開始信号Wsがアクティブとなれば、その時点からリフレッシュ期間の計測が開始されることなる。このようにして得られた再書込信号Ws’をトリガとして上述した実施形態で説明した書き換え動作(ただし同一画像)を実行することによって、表示画像のリフレッシュを図ることができる   FIG. 38 is a timing chart of the timer device 410. As shown in this figure, when the write start signal Ws becomes active, the duration data Dt of the timer unit 411 is reset and measurement is started. When a predetermined refresh period elapses, the continuation time data Dt and the reference time data Dref coincide with each other, and the rewrite signal Ws ′ becomes active. Thereafter, every time the refresh period elapses, the rewrite signal Ws' becomes active. On the other hand, if the write start signal Ws becomes active halfway, the measurement of the refresh period starts from that point. The display image can be refreshed by executing the rewrite operation (however, the same image) described in the above-described embodiment using the rewrite signal Ws ′ obtained in this way as a trigger.

I−3:電子機器
次に、上述した電気泳動表示装置を用いた電子機器について説明する。
(1)電子書籍
まず、電気泳動表示装置を電子書籍に適用した例について説明する。図39は、この電子書籍を示す斜視図である。図において、電子書籍1000は、電気泳動表示パネル1001、電源スイッチ1002、第1ボタン1003、第2ボタン1004、およびCD−ROMスロット1005を備えている。
I-3: Electronic Device Next, an electronic device using the electrophoretic display device described above will be described.
(1) Electronic book First, an example in which an electrophoretic display device is applied to an electronic book will be described. FIG. 39 is a perspective view showing the electronic book. In the figure, an electronic book 1000 includes an electrophoretic display panel 1001, a power switch 1002, a first button 1003, a second button 1004, and a CD-ROM slot 1005.

利用者が電源スイッチ1002を押して、CD−ROMスロット1005にCD−ROMを装着すると、CD−ROMの内容が読み出され、電気泳動表示パネル1001にメニューが表示される。利用者が第1ボタン1003と第2ボタン1004を操作して、所望の書籍を選択すると電気泳動表示パネル1001に第1頁が表示される。頁を進める場合には第2ボタン1004を押し、頁を戻す場合には第1ボタン1003を押す。   When the user presses the power switch 1002 to insert a CD-ROM into the CD-ROM slot 1005, the contents of the CD-ROM are read and a menu is displayed on the electrophoretic display panel 1001. When the user operates the first button 1003 and the second button 1004 to select a desired book, the first page is displayed on the electrophoretic display panel 1001. The second button 1004 is pressed to advance the page, and the first button 1003 is pressed to return the page.

この電子書籍1000にあっては、書籍の内容を表示した後は、第1ボタン1003および第2ボタン1004を操作したときだけ表示画面を更新する。上述したように電気泳動粒子3は電界が印加されなければ泳動しない。換言すれば、表示画像を維持するためには給電が不要である。このため、表示画面を更新するときだけ、駆動回路に電圧を印加して電気泳動表示パネル1001を駆動している。この結果、液晶表示装置と比較して消費電力を大幅に削減することができる。   In the electronic book 1000, after displaying the contents of the book, the display screen is updated only when the first button 1003 and the second button 1004 are operated. As described above, the electrophoretic particles 3 do not migrate unless an electric field is applied. In other words, no power supply is required to maintain the display image. Therefore, only when the display screen is updated, the electrophoretic display panel 1001 is driven by applying a voltage to the drive circuit. As a result, power consumption can be significantly reduced as compared with the liquid crystal display device.

また、電気泳動表示パネル1001の表示画像は、顔料粒子である電気泳動粒子3によって表示されるので、表示画面が光ることがない。したがって、電子書籍1000は印刷物と同様の表示が可能であり、これを長時間読んでも目の疲労が少ないといった利点がある。   Further, since the display image of the electrophoretic display panel 1001 is displayed by the electrophoretic particles 3 that are pigment particles, the display screen does not shine. Therefore, the electronic book 1000 can display the same as a printed matter, and has an advantage of less eye fatigue even when read for a long time.

(2)パーソナルコンピュータ
次に、電気泳動表示装置を、モバイル型のパーソナルコンピュータに適用した例について説明する。図40は、このパーソナルコンピュータの構成を示す斜視図である。図において、コンピュータ1200は、キーボード1202を備えた本体部1204と、電気泳動表示パネル1206とから構成されている。この電気泳動表示パネル1206の表示画像は、顔料粒子である電気泳動粒子3によって表示されるので、透過型・半透過型の液晶表示装置で必要とされるバックライトが不要である。このため、コンピュータ1200を小型軽量化することができ、しかも、その消費電力を大幅に削減することが可能である。
(2) Personal Computer Next, an example in which the electrophoretic display device is applied to a mobile personal computer will be described. FIG. 40 is a perspective view showing the configuration of this personal computer. In the figure, a computer 1200 includes a main body 1204 having a keyboard 1202 and an electrophoretic display panel 1206. Since the display image of the electrophoretic display panel 1206 is displayed by the electrophoretic particles 3 which are pigment particles, a backlight required for a transmissive / semi-transmissive liquid crystal display device is unnecessary. Therefore, the computer 1200 can be reduced in size and weight, and the power consumption can be greatly reduced.

(3)携帯電話
さらに、電気泳動表示装置を、携帯電話に適用した例について説明する。図41は、この携帯電話の構成を示す斜視図である。図において、携帯電話1300は、複数の操作ボタン1302のほか、受話口1304、送話口1306とともに、電気泳動表示パネル1308を備えるものである。液晶表示装置にあっては偏光板が必要であり、これにより表示画面が暗くなっていたが、電気泳動表示パネル1308は偏光板が不要である。このため、携帯電話1300は明るくて見やすい画面を表示することができる。
(3) Mobile phone Further, an example in which the electrophoretic display device is applied to a mobile phone will be described. FIG. 41 is a perspective view showing the configuration of this mobile phone. In the figure, a mobile phone 1300 includes an electrophoretic display panel 1308 in addition to a plurality of operation buttons 1302, as well as an earpiece 1304 and a mouthpiece 1306. In the liquid crystal display device, a polarizing plate is necessary, and thus the display screen is dark. However, the electrophoretic display panel 1308 does not require a polarizing plate. Therefore, the mobile phone 1300 can display a bright and easy-to-see screen.

なお、電子機器としては、図39〜図41を参照して説明した他にも、テレビジョンモニタや、屋外の広告板、道路標識、ビューファインダ型、モニタ直視型のビデオテープレコーダ、カーナビゲーション装置、ページャ、電子手帳、電卓、ワードプロセッサ、ワークステーション、テレビ電話、POS端末、タッチパネルを備えた機器等などが挙げられる。そして、これらの各種電子機器に対して、各実施形態の電気泳動表示パネル、さらにはこれを備えた電気光学装置が適用可能なのは言うまでもない。   In addition to the electronic devices described with reference to FIGS. 39 to 41, the electronic device includes a television monitor, an outdoor advertising board, a road sign, a viewfinder type, a monitor direct view type video tape recorder, and a car navigation device. , Pagers, electronic notebooks, calculators, word processors, workstations, videophones, POS terminals, devices equipped with touch panels, and the like. In addition, it goes without saying that the electrophoretic display panel of each embodiment and the electro-optical device including the same can be applied to these various electronic devices.

本発明の第1実施形態に係る電気泳動表示パネルの機械的な構成を示す分解斜視図である。It is a disassembled perspective view which shows the mechanical structure of the electrophoretic display panel which concerns on 1st Embodiment of this invention. 同パネルの部分断面図である。It is a fragmentary sectional view of the panel. 同パネルを用いた電気泳動表示装置の電気的な構成を示すブロック図である。FIG. 2 is a block diagram showing an electrical configuration of an electrophoretic display device using the panel. 同パネルの分割セルの構造を簡略化して示した断面図である。It is sectional drawing which simplified and showed the structure of the division | segmentation cell of the panel. 電極間の電圧と階調濃度との関係の一例を示すグラフである。It is a graph which shows an example of the relationship between the voltage between electrodes, and a gradation density. 同装置のデータ線駆動回路140Aのブロック図である。It is a block diagram of a data line driving circuit 140A of the same device. 走査線駆動回路130およびデータ線駆動回路140Aのタイミングチャートである。4 is a timing chart of a scanning line driving circuit 130 and a data line driving circuit 140A. 画像信号処理回路300Aの出力データを示すタイミングチャートである。3 is a timing chart showing output data of an image signal processing circuit 300A. リセット動作における電気泳動表示装置のタイミングチャートである。5 is a timing chart of the electrophoretic display device in a reset operation. 書込動作における電気泳動表示装置のタイミングチャートである。It is a timing chart of the electrophoretic display device in the writing operation. 第2の態様に係るリセット動作を説明するためのタイミングチャートである。It is a timing chart for demonstrating the reset operation | movement which concerns on a 2nd aspect. 複数の水平ラインを同時にリセットする場合の動作を示すタイミングチャートである。It is a timing chart which shows operation in the case of resetting a plurality of horizontal lines simultaneously. 書き換えるべき水平ラインを説明するための図である。It is a figure for demonstrating the horizontal line which should be rewritten. 領域単位のリセット動作を説明するための図である。It is a figure for demonstrating the reset operation | movement of an area unit. 第5の態様に係る電気泳動パネルBの電気的な構成を示すブロック図である。It is a block diagram which shows the electrical constitution of the electrophoresis panel B which concerns on a 5th aspect. 電気泳動表示装置の分割セルの構造を簡略化して示した断面図である。It is sectional drawing which simplified and showed the structure of the division | segmentation cell of an electrophoretic display apparatus. 本発明の第2実施形態に係る、画像信号処理301Aの構成を示すブロック図である。It is a block diagram which shows the structure of the image signal process 301A based on 2nd Embodiment of this invention. 上記画像信号処理回路301Aの出力データを示すタイミングチャートである。3 is a timing chart showing output data of the image signal processing circuit 301A. 階調電圧と差分階調電圧との関係を示した図である。It is the figure which showed the relationship between a gradation voltage and a difference gradation voltage. 書き込み動作における電気泳動表示装置のタイミングチャートである。It is a timing chart of the electrophoretic display device in the writing operation. 本発明の第3実施形態に係る電気泳動表示装置に用いる画像信号処理回路300Bのブロック図である。It is a block diagram of image signal processing circuit 300B used for an electrophoretic display device concerning a 3rd embodiment of the present invention. 画像信号処理回路300Bの出力データのタイミングチャートである。It is a timing chart of the output data of the image signal processing circuit 300B. 同装置に用いるデータ線駆動回路140Bのブロック図である。It is a block diagram of a data line driving circuit 140B used in the same device. データ線駆動回路140Bに用いる選択回路144Bの詳細な構成を示すブロック図である。It is a block diagram which shows the detailed structure of the selection circuit 144B used for the data line drive circuit 140B. 選択回路144Bの動作を示すタイミングチャートである。It is a timing chart which shows operation | movement of the selection circuit 144B. 書込動作における電気泳動表示装置のタイミングチャートである。It is a timing chart of the electrophoretic display device in the writing operation. 本発明の第4実施形態に係る画像信号処理回路301Bのブロック図である。It is a block diagram of the image signal processing circuit 301B which concerns on 4th Embodiment of this invention. 同例における、書き込み動作における電気泳動表示装置のタイミングチャートである。6 is a timing chart of the electrophoretic display device in a writing operation in the example. 本発明の第5実施形態に係る電気泳動表示装置の全体動作を示すタイミングチャートである。It is a timing chart which shows the whole operation | movement of the electrophoretic display apparatus which concerns on 5th Embodiment of this invention. 書込動作における電気泳動表示装置のタイミングチャートである。It is a timing chart of the electrophoretic display device in the writing operation. 本発明の第6実施形態に係る電気泳動装置の全体動作を示すタイミングチャートである。It is a timing chart which shows the whole operation | movement of the electrophoresis apparatus which concerns on 6th Embodiment of this invention. 同例における、書き込み動作における電気泳動装置のタイミングチャートである。6 is a timing chart of the electrophoresis apparatus in a writing operation in the example. 本発明の第7実施形態に係る電気泳動表示装置の全体動作を示すタイミングチャートである。It is a timing chart which shows the whole operation | movement of the electrophoretic display apparatus which concerns on 7th Embodiment of this invention. 書込動作における電気泳動表示装置のタイミングチャートである。It is a timing chart of the electrophoretic display device in the writing operation. 本発明の第8実施形態に係る電気泳動装置の全体動作を示すタイミングチャートである。It is a timing chart which shows the whole operation | movement of the electrophoresis apparatus which concerns on 8th Embodiment of this invention. 同例の、書き込み動作における電気泳動装置のタイミングチャートである。6 is a timing chart of the electrophoretic device in the writing operation of the same example. タイマー装置のブロック図である。It is a block diagram of a timer device. 同タイマー装置の動作を示すタイミングチャートである。It is a timing chart which shows operation | movement of the timer apparatus. 電子機器の一例たる電子書籍の概観斜視図である。It is a general | schematic perspective view of the electronic book which is an example of an electronic device. 電子機器の一例たるパーソナルコンピュータの概観斜視図である。It is a general | schematic perspective view of the personal computer which is an example of an electronic device. 電子機器の一例たる携帯電話の概観斜視図である。It is a general | schematic perspective view of the mobile telephone which is an example of an electronic device.

符号の説明Explanation of symbols

1……分散系
2……分散媒
3……電気泳動粒子
A……電気泳動表示パネル
101……走査線
102……データ線
103……TFT(スイッチング素子)
104……画素電極
201……共通電極
Vij……階調電圧
Vdij……差分階調電圧
Vs……制動電圧
Y1〜Ym……走査線信号
X1〜Xn……データ線信号
130……走査線駆動回路(走査線駆動部)
140A,140B……データ線駆動回路(データ線駆動部)
DESCRIPTION OF SYMBOLS 1 ... Dispersion system 2 ... Dispersion medium 3 ... Electrophoretic particle A ... Electrophoretic display panel 101 ... Scanning line 102 ... Data line 103 ... TFT (switching element)
104 ... Pixel electrode 201 ... Common electrode Vij ... Gradation voltage Vdij ... Differential gradation voltage Vs ... Braking voltage Y1 to Ym ... Scan line signal X1 to Xn ... Data line signal 130 ... Scan line drive Circuit (scan line drive unit)
140A, 140B: Data line driving circuit (data line driving unit)

Claims (8)

共通電極と、複数の画素と、各画素に接続された複数のスイッチング素子とを有し、前記複数の画素の各々が、前記スイッチング素子の1つと接続され、前記共通電極とを距離をあけて対向した画素電極と、前記共通電極と前記画素電極との間に挟まれ、電気泳動粒子を含有する分散系とを有する電気泳動装置の駆動方法であって、
前記共通電極に第1電圧を印加し、
所定時間で、前記画素電極および前記共通電極の間における当該画素の表示階調に対応した位置まで前記電気泳動粒子を移動させるための第2電圧の値を決定し、
前記所定時間、前記第2電圧を前記スイッチング素子を介して前記画素電極に印加する書込動作を行った後、
前記スイッチング素子を介して前記画素電極に前記第1電圧を印加する無バイアス動作を行う
ことを特徴とする電気泳動表示装置の駆動方法。
A common electrode; a plurality of pixels; and a plurality of switching elements connected to each pixel, each of the plurality of pixels being connected to one of the switching elements and spaced apart from the common electrode. A method for driving an electrophoretic device having an opposed pixel electrode, and a dispersion system sandwiched between the common electrode and the pixel electrode and containing electrophoretic particles,
Applying a first voltage to the common electrode;
Determining a value of a second voltage for moving the electrophoretic particles to a position corresponding to a display gradation of the pixel between the pixel electrode and the common electrode at a predetermined time;
After performing a writing operation of applying the second voltage to the pixel electrode through the switching element for the predetermined time,
A method for driving an electrophoretic display device, comprising performing a biasless operation of applying the first voltage to the pixel electrode via the switching element.
前記書込動作では、前記第2電圧として、前記表示階調に応じた電圧を前記各画素電極に印加するとともに、前記書込動作に先立ち、前記電気泳動粒子を初期位置に移動させるリセット電圧を前記各画素電極に印加するリセット動作を行うことを特徴とする請求項1に記載の電気泳動表示装置の駆動方法。   In the writing operation, a voltage corresponding to the display gradation is applied to the pixel electrodes as the second voltage, and a reset voltage for moving the electrophoretic particles to an initial position prior to the writing operation. The method of driving an electrophoretic display device according to claim 1, wherein a reset operation applied to each pixel electrode is performed. 複数のデータ線と、前記複数のデータ線と立体交差する複数の走査線と、共通電極と、前記複数のデータ線と前記複数の走査線との各交差部に対応して各々設けられ、各々一定の間隙を挟んで前記共通電極と対向する複数の画素電極と、前記複数の画素電極と前記共通電極との間に挟持され、電気泳動粒子を各々含有する複数の分散系と、前記複数のデータ線と前記複数の走査線との各交差部に対応して各々設けられ、当該交差部を通過する走査線に各々のオン/オフ切換制御端子が接続され、オン状態であるときに当該交差部を通過するデータ線を当該交差部に対応して設けられた画素電極に接続する複数のスイッチング素子とを有する電気泳動表示装置の駆動方法であって、
ある時間長を持ったフィールドを利用して前記複数の走査線および前記複数のデータ線を用いた表示制御のための動作を行い、1つのフィールド内の表示制御のための動作では、
前記共通電極に共通電極電圧を印加しながら、前記走査線を順次選択し、
選択した走査線に対し、当該走査線に接続された全てのスイッチング素子を一括してオン状態にする電圧を印加し、
前記複数の画素の各々に関し、当該画素電極および前記共通電極の間における当該画素の表示階調に対応した位置まで前記電気泳動粒子を移動させるための階調電圧の値を各々決定し、当該各階調電圧を対応する前記データ線に各々一定時間印加し、
前記複数のデータ線に前記共通電極電圧を印加し、
前記選択した走査線に対し、当該走査線に接続された全てのスイッチング素子を一括してオフ状態にする電圧を印加する
ことを特徴とする電気泳動表示装置の駆動方法。
A plurality of data lines, a plurality of scanning lines that three-dimensionally intersect with the plurality of data lines, a common electrode, and a plurality of data lines and the plurality of scanning lines are provided respectively corresponding to the intersections, A plurality of pixel electrodes opposed to the common electrode across a certain gap; a plurality of dispersion systems sandwiched between the plurality of pixel electrodes and the common electrode; each containing electrophoretic particles; Each on / off switching control terminal is provided corresponding to each intersection of the data line and the plurality of scanning lines, and each of the on / off switching control terminals is connected to the scanning line passing through the intersection. A driving method of an electrophoretic display device having a plurality of switching elements that connect data lines passing through the unit to pixel electrodes provided corresponding to the intersections,
An operation for display control using the plurality of scanning lines and the plurality of data lines is performed using a field having a certain length of time, and in an operation for display control in one field,
While applying a common electrode voltage to the common electrode, sequentially select the scanning lines,
Applying a voltage to turn on all the switching elements connected to the selected scanning line at once for the selected scanning line,
For each of the plurality of pixels, a gradation voltage value for moving the electrophoretic particles to a position corresponding to the display gradation of the pixel between the pixel electrode and the common electrode is determined, and Apply a regulated voltage to the corresponding data line for a certain period of time,
Applying the common electrode voltage to the plurality of data lines;
A method for driving an electrophoretic display device, comprising: applying a voltage that collectively turns off all switching elements connected to the selected scanning line to the selected scanning line.
各々1つのフィールドを利用して、リセット動作と、書込動作とを交互に繰り返し、
前記リセット動作を行うためのフィールドでは、前記電気泳動粒子の空間状態を初期化する電界を発生するためのリセット電圧を前記複数のデータ線に印加し、
前記書込動作を行うためのフィールドでは、前記階調電圧を前記複数のデータ線に印加することを特徴とする請求項3に記載の電気泳動表示装置の駆動方法。
Using each one field, the reset operation and the write operation are alternately repeated,
In the field for performing the reset operation, a reset voltage for generating an electric field that initializes a spatial state of the electrophoretic particles is applied to the plurality of data lines,
4. The method of driving an electrophoretic display device according to claim 3, wherein the gray scale voltage is applied to the plurality of data lines in the field for performing the writing operation.
複数のデータ線と、前記複数のデータ線と立体交差する複数の走査線と、共通電極と、前記複数のデータ線と前記複数の走査線との各交差部に対応して各々設けられ、各々一定の間隙を挟んで前記共通電極と対向する複数の画素電極と、前記複数の画素電極と前記共通電極との間に挟持され、電気泳動粒子を各々含有する複数の分散系と、前記複数のデータ線と前記複数の走査線との各交差部に対応して各々設けられ、当該交差部を通過する走査線に各々のオン/オフ切換制御端子が接続され、オン状態であるときに当該交差部を通過するデータ線を当該交差部に対応して設けられた画素電極に接続する複数のスイッチング素子とを有する電気泳動表示装置の駆動回路であって、
前記共通電極に共通電極電圧を印加する印加部と、
前記走査線を順次選択し、選択した走査線に対し、当該走査線に接続された全てのスイッチング素子を一括してオン状態にする電圧を一定期間印加した後、前記選択した走査線に対し、当該走査線に接続された全てのスイッチング素子を一括してオフ状態にする電圧を印加する走査線駆動部と、
前記複数の画素の各々に関し、当該画素電極および前記共通電極の間における当該画素の表示階調に対応した位置まで前記電気泳動粒子を移動させるための電圧の値を各々決定し、1本の走査線が選択され、当該走査線に対し、前記スイッチング素子を一括してオン状態にする電圧が印加される期間内に当該各階調電圧を対応する前記データ線に各々一定時間印加した後、前記複数のデータ線に前記共通電極電圧を印加するデータ線駆動部と、
を具備することを特徴とする電気泳動表示装置の駆動回路。
A plurality of data lines, a plurality of scanning lines that three-dimensionally intersect with the plurality of data lines, a common electrode, and a plurality of data lines and the plurality of scanning lines are provided respectively corresponding to the intersections, A plurality of pixel electrodes opposed to the common electrode across a certain gap; a plurality of dispersion systems sandwiched between the plurality of pixel electrodes and the common electrode; each containing electrophoretic particles; Each on / off switching control terminal is provided corresponding to each intersection of the data line and the plurality of scanning lines, and each of the on / off switching control terminals is connected to the scanning line passing through the intersection. A drive circuit for an electrophoretic display device having a plurality of switching elements that connect data lines passing through the unit to pixel electrodes provided corresponding to the intersections,
An application unit for applying a common electrode voltage to the common electrode;
The scanning lines are sequentially selected, and after applying a voltage for turning on all switching elements connected to the scanning lines at once for the selected scanning lines for a certain period, A scanning line driving unit that applies a voltage that collectively turns off all the switching elements connected to the scanning line;
For each of the plurality of pixels, a voltage value for moving the electrophoretic particles to a position corresponding to the display gradation of the pixel between the pixel electrode and the common electrode is determined, and one scan is performed. A plurality of gradation voltages are applied to the corresponding data lines for a certain period of time within a period in which a voltage is applied to the scanning lines and the switching elements are collectively turned on. A data line driving unit for applying the common electrode voltage to the data line of
A drive circuit for an electrophoretic display device, comprising:
前記駆動回路は、各々1つのフィールドを利用して、リセット動作と、書込動作とを交互に繰り返すものであり、
前記リセット動作を行うためのフィールドでは、前記データ線駆動部は、前記電気泳動粒子の空間状態を初期化する電界を発生するための複数の電圧を前記複数のデータ線に印加し、
前記書込動作を行うためのフィールドでは、前記データ線駆動部は、目的とする表示階調に対応した階調電圧を前記複数のデータ線に印加することを特徴とする請求項5に記載の電気泳動表示装置の駆動回路。
Each of the drive circuits repeats a reset operation and a write operation alternately by using one field,
In the field for performing the reset operation, the data line driver applies a plurality of voltages for generating an electric field for initializing a spatial state of the electrophoretic particles to the plurality of data lines,
6. The field according to claim 5, wherein, in the field for performing the writing operation, the data line driving unit applies a gradation voltage corresponding to a target display gradation to the plurality of data lines. Drive circuit for electrophoretic display device.
複数のデータ線と、前記複数のデータ線と立体交差する複数の走査線と、共通電極と、前記複数のデータ線と前記複数の走査線との各交差部に対応して各々設けられ、各々一定の間隙を挟んで前記共通電極と対向する複数の画素電極と、前記複数の画素電極と前記共通電極との間に挟持され、電気泳動粒子を各々含有する複数の分散系と、前記複数のデータ線と前記複数の走査線との各交差部に対応して各々設けられ、当該交差部を通過する走査線に各々のオン/オフ切換制御端子が接続され、オン状態であるときに当該交差部を通過するデータ線を当該交差部に対応して設けられた画素電極に接続する複数のスイッチング素子とを有する電気泳動表示パネルと、
前記共通電極に共通電極電圧を印加する印加部と、
前記走査線を順次選択し、選択した走査線に対し、当該走査線に接続された全てのスイッチング素子を一括してオン状態にする電圧を一定期間印加した後、前記選択した走査線に対し、当該走査線に接続された全てのスイッチング素子を一括してオフ状態にする電圧を印加する走査線駆動部と、
前記複数の画素の各々に関し、当該画素電極および前記共通電極の間における当該画素の表示階調に対応した位置まで前記電気泳動粒子を移動させるための階調電圧の値を各々決定し、1本の走査線が選択され、当該走査線に対し、前記スイッチング素子を一括してオン状態にする電圧が印加される期間内に、当該各階調電圧を対応する前記データ線に各々一定時間印加した後、前記複数のデータ線に前記共通電極電圧を印加するデータ線駆動部と、
を具備することを特徴とする電気泳動表示装置。
A plurality of data lines, a plurality of scanning lines that three-dimensionally intersect with the plurality of data lines, a common electrode, and a plurality of data lines and the plurality of scanning lines are provided respectively corresponding to the intersections, A plurality of pixel electrodes opposed to the common electrode across a certain gap; a plurality of dispersion systems sandwiched between the plurality of pixel electrodes and the common electrode; each containing electrophoretic particles; Each on / off switching control terminal is provided corresponding to each intersection of the data line and the plurality of scanning lines, and each of the on / off switching control terminals is connected to the scanning line passing through the intersection. An electrophoretic display panel having a plurality of switching elements that connect data lines passing through the unit to pixel electrodes provided corresponding to the intersections;
An application unit for applying a common electrode voltage to the common electrode;
The scanning lines are sequentially selected, and after applying a voltage for turning on all switching elements connected to the scanning lines at once for the selected scanning lines for a certain period, A scanning line driving unit that applies a voltage that collectively turns off all the switching elements connected to the scanning line;
For each of the plurality of pixels, a gradation voltage value for moving the electrophoretic particles to a position corresponding to the display gradation of the pixel between the pixel electrode and the common electrode is determined. Are applied to the corresponding data lines for a certain period of time within a period in which a voltage for turning on the switching elements at once is applied to the scanning lines. A data line driver for applying the common electrode voltage to the plurality of data lines;
An electrophoretic display device comprising:
複数のデータ線と、前記複数のデータ線と立体交差する複数の走査線と、共通電極と、前記複数のデータ線と前記複数の走査線との各交差部に対応して各々設けられ、各々一定の間隙を挟んで前記共通電極と対向する複数の画素電極と、前記複数の画素電極と前記共通電極との間に挟持され、電気泳動粒子を各々含有する複数の分散系と、前記複数のデータ線と前記複数の走査線との各交差部に対応して各々設けられ、当該交差部を通過する走査線に各々のオン/オフ切換制御端子が接続され、オン状態であるときに当該交差部を通過するデータ線を当該交差部に対応して設けられた画素電極に接続する複数のスイッチング素子とを有する電気泳動表示パネルと、
前記共通電極に共通電極電圧を印加する印加部と、
前記走査線を順次選択し、選択した走査線に対し、当該走査線に接続された全てのスイッチング素子を一括してオン状態にする電圧を一定期間印加した後、前記選択した走査線に対し、当該走査線に接続された全てのスイッチング素子を一括してオフ状態にする電圧を印加する走査線駆動部と、
前記複数の画素の各々に関し、当該画素電極および前記共通電極の間における当該画素の表示階調に対応した位置まで前記電気泳動粒子を移動させるための階調電圧の値を各々決定し、1本の走査線が選択され、当該走査線に対し前記スイッチング素子を一括してオン状態にする電圧が印加される期間内に、当該各階調電圧を対応する前記データ線に各々一定時間印加した後、前記複数のデータ線に前記共通電極電圧を印加するデータ線駆動部と、
を具備する電気泳動表示装置を表示部として備えたことを特徴とする電子機器。
A plurality of data lines, a plurality of scanning lines that three-dimensionally intersect with the plurality of data lines, a common electrode, and a plurality of data lines and the plurality of scanning lines are provided respectively corresponding to the intersections, A plurality of pixel electrodes opposed to the common electrode across a certain gap; a plurality of dispersion systems sandwiched between the plurality of pixel electrodes and the common electrode; each containing electrophoretic particles; Each on / off switching control terminal is provided corresponding to each intersection of the data line and the plurality of scanning lines, and each of the on / off switching control terminals is connected to the scanning line passing through the intersection. An electrophoretic display panel having a plurality of switching elements that connect data lines passing through the unit to pixel electrodes provided corresponding to the intersections;
An application unit for applying a common electrode voltage to the common electrode;
The scanning lines are sequentially selected, and after applying a voltage for turning on all switching elements connected to the scanning lines at once for the selected scanning lines for a certain period, A scanning line driving unit that applies a voltage that collectively turns off all the switching elements connected to the scanning line;
For each of the plurality of pixels, a gradation voltage value for moving the electrophoretic particles to a position corresponding to the display gradation of the pixel between the pixel electrode and the common electrode is determined. Are applied to the corresponding data lines for a certain period of time within a period in which the scanning lines are selected and a voltage for collectively turning on the switching elements is applied to the scanning lines. A data line driver for applying the common electrode voltage to the plurality of data lines;
An electronic apparatus comprising an electrophoretic display device having a display portion.
JP2005209302A 2000-06-22 2005-07-19 Electrophoretic display device driving method, driving circuit, electrophoretic display device, and electronic apparatus Expired - Lifetime JP4613727B2 (en)

Priority Applications (1)

Application Number Priority Date Filing Date Title
JP2005209302A JP4613727B2 (en) 2000-06-22 2005-07-19 Electrophoretic display device driving method, driving circuit, electrophoretic display device, and electronic apparatus

Applications Claiming Priority (3)

Application Number Priority Date Filing Date Title
JP2000187922 2000-06-22
JP2000236197 2000-08-03
JP2005209302A JP4613727B2 (en) 2000-06-22 2005-07-19 Electrophoretic display device driving method, driving circuit, electrophoretic display device, and electronic apparatus

Related Parent Applications (1)

Application Number Title Priority Date Filing Date
JP2001187279A Division JP3750566B2 (en) 2000-06-22 2001-06-20 Electrophoretic display device driving method, driving circuit, electrophoretic display device, and electronic apparatus

Related Child Applications (3)

Application Number Title Priority Date Filing Date
JP2008216246A Division JP4557068B2 (en) 2000-06-22 2008-08-26 Electrophoretic display device driving method, driving circuit, electrophoretic display device, and electronic apparatus
JP2008290705A Division JP4557076B2 (en) 2000-06-22 2008-11-13 Electrophoretic display device driving method, electrophoretic display device, and electronic apparatus
JP2009036205A Division JP4557083B2 (en) 2000-06-22 2009-02-19 Electrophoretic display device driving method, driving circuit, electrophoretic display device, and electronic apparatus

Publications (3)

Publication Number Publication Date
JP2006023757A true JP2006023757A (en) 2006-01-26
JP2006023757A5 JP2006023757A5 (en) 2009-05-28
JP4613727B2 JP4613727B2 (en) 2011-01-19

Family

ID=35797015

Family Applications (1)

Application Number Title Priority Date Filing Date
JP2005209302A Expired - Lifetime JP4613727B2 (en) 2000-06-22 2005-07-19 Electrophoretic display device driving method, driving circuit, electrophoretic display device, and electronic apparatus

Country Status (1)

Country Link
JP (1) JP4613727B2 (en)

Cited By (8)

* Cited by examiner, † Cited by third party
Publication number Priority date Publication date Assignee Title
JP2009204812A (en) * 2008-02-27 2009-09-10 Seiko Epson Corp Image redrawing control device and information display device
JP2011102900A (en) * 2009-11-11 2011-05-26 Konica Minolta Holdings Inc Electronic information display device
US8310439B2 (en) 2007-08-17 2012-11-13 Samsung Display Co., Ltd. Apparatus and method for driving an electrophoretic display
JP2013526727A (en) * 2010-05-21 2013-06-24 イー インク コーポレイション Multicolor electro-optic display
US8508466B2 (en) 2006-12-12 2013-08-13 Samsung Display Co., Ltd. Driving method for electrophoretic display
KR101344272B1 (en) 2007-04-18 2013-12-23 삼성디스플레이 주식회사 Method for driving electro-phoretic display panel
KR101366924B1 (en) 2006-04-25 2014-02-24 세이코 엡슨 가부시키가이샤 Electrophoresis display device, method of driving electrophoresis display device, and electronic apparatus
US8698733B2 (en) 2007-09-06 2014-04-15 Samsung Display Co., Ltd. Electrophoretic display and method for driving the same

Families Citing this family (1)

* Cited by examiner, † Cited by third party
Publication number Priority date Publication date Assignee Title
JP4479841B2 (en) * 2000-06-22 2010-06-09 セイコーエプソン株式会社 Electrophoretic display device driving method, driving circuit, electrophoretic display device, and electronic apparatus

Citations (7)

* Cited by examiner, † Cited by third party
Publication number Priority date Publication date Assignee Title
JPS5141994A (en) * 1974-10-05 1976-04-08 Matsushita Electric Industrial Co Ltd
JPS51112360A (en) * 1974-03-25 1976-10-04 Fuji Denko Kk Display equipment of electrophoresis
JPS6283722A (en) * 1985-09-30 1987-04-17 フィリップス エレクトロニクス ネムローゼ フェンノートシャップ Display unit
JPH09504618A (en) * 1993-08-26 1997-05-06 コピイテル,インコーポレイテッド Electrophoretic display device with short writing time
JPH11265167A (en) * 1998-01-23 1999-09-28 Eastman Kodak Co Non-radiative color display
JP2000035775A (en) * 1998-07-17 2000-02-02 Nok Corp Electrophoretic display
WO2001091096A1 (en) * 2000-05-26 2001-11-29 Seiko Epson Corporation Display and recorded medium

Patent Citations (7)

* Cited by examiner, † Cited by third party
Publication number Priority date Publication date Assignee Title
JPS51112360A (en) * 1974-03-25 1976-10-04 Fuji Denko Kk Display equipment of electrophoresis
JPS5141994A (en) * 1974-10-05 1976-04-08 Matsushita Electric Industrial Co Ltd
JPS6283722A (en) * 1985-09-30 1987-04-17 フィリップス エレクトロニクス ネムローゼ フェンノートシャップ Display unit
JPH09504618A (en) * 1993-08-26 1997-05-06 コピイテル,インコーポレイテッド Electrophoretic display device with short writing time
JPH11265167A (en) * 1998-01-23 1999-09-28 Eastman Kodak Co Non-radiative color display
JP2000035775A (en) * 1998-07-17 2000-02-02 Nok Corp Electrophoretic display
WO2001091096A1 (en) * 2000-05-26 2001-11-29 Seiko Epson Corporation Display and recorded medium

Cited By (8)

* Cited by examiner, † Cited by third party
Publication number Priority date Publication date Assignee Title
KR101366924B1 (en) 2006-04-25 2014-02-24 세이코 엡슨 가부시키가이샤 Electrophoresis display device, method of driving electrophoresis display device, and electronic apparatus
US8508466B2 (en) 2006-12-12 2013-08-13 Samsung Display Co., Ltd. Driving method for electrophoretic display
KR101344272B1 (en) 2007-04-18 2013-12-23 삼성디스플레이 주식회사 Method for driving electro-phoretic display panel
US8310439B2 (en) 2007-08-17 2012-11-13 Samsung Display Co., Ltd. Apparatus and method for driving an electrophoretic display
US8698733B2 (en) 2007-09-06 2014-04-15 Samsung Display Co., Ltd. Electrophoretic display and method for driving the same
JP2009204812A (en) * 2008-02-27 2009-09-10 Seiko Epson Corp Image redrawing control device and information display device
JP2011102900A (en) * 2009-11-11 2011-05-26 Konica Minolta Holdings Inc Electronic information display device
JP2013526727A (en) * 2010-05-21 2013-06-24 イー インク コーポレイション Multicolor electro-optic display

Also Published As

Publication number Publication date
JP4613727B2 (en) 2011-01-19

Similar Documents

Publication Publication Date Title
JP3750566B2 (en) Electrophoretic display device driving method, driving circuit, electrophoretic display device, and electronic apparatus
JP3750565B2 (en) Electrophoretic display device driving method, driving circuit, and electronic apparatus
KR101366924B1 (en) Electrophoresis display device, method of driving electrophoresis display device, and electronic apparatus
CN102385846B (en) Electro-optical device and electronic equipment
JP4557083B2 (en) Electrophoretic display device driving method, driving circuit, electrophoretic display device, and electronic apparatus
JP4013550B2 (en) Electro-optical device driving method, driving circuit, electro-optical device, and electronic apparatus
JPWO2001057837A1 (en) DRIVING METHOD FOR ELECTRO-OPTICAL DEVICE, DRIVING CIRCUIT, ELECTRO-OPTICAL DEVICE, AND ELECTRONIC APPARATUS
JPWO2000070594A1 (en) DRIVING METHOD FOR ELECTRO-OPTICAL DEVICE, DRIVING CIRCUIT, ELECTRO-OPTICAL DEVICE, AND ELECTRONIC APPARATUS
JP2004094168A (en) Electro-optical device, method of driving electro-optical device, and electronic apparatus
JP5045976B2 (en) Electrophoretic display device and driving method thereof
JP2003022058A (en) Electro-optical device, electro-optical device driving circuit, electro-optical device driving method, and electronic apparatus
JP4269605B2 (en) Dispersion system drive circuit drive method and electrophoretic display device drive method
JP5668771B2 (en) Control method for electrophoretic display device, control device for electrophoretic display device, electrophoretic display device, and electronic apparatus
JP4613727B2 (en) Electrophoretic display device driving method, driving circuit, electrophoretic display device, and electronic apparatus
JP4618031B2 (en) Electrophoretic display device driving method, driving circuit, electrophoretic display device, and electronic apparatus
JP2011013420A (en) Electro-optical device, method for driving the same, and electronic apparatus
JP4386608B2 (en) Electro-optical device, driving method thereof, and electronic apparatus
JP3931909B2 (en) Electro-optical device driving method, driving circuit, electro-optical device, and electronic apparatus
JP2011027892A (en) Electrooptical device, electronic device, and method and circuit for driving electrooptical device
JP2006184653A (en) Electro-optical device, drive circuit and method therefor, and electronic equipment

Legal Events

Date Code Title Description
A621 Written request for application examination

Free format text: JAPANESE INTERMEDIATE CODE: A621

Effective date: 20080610

A521 Written amendment

Free format text: JAPANESE INTERMEDIATE CODE: A523

Effective date: 20090415

A131 Notification of reasons for refusal

Free format text: JAPANESE INTERMEDIATE CODE: A131

Effective date: 20100413

A131 Notification of reasons for refusal

Free format text: JAPANESE INTERMEDIATE CODE: A131

Effective date: 20100706

A521 Written amendment

Free format text: JAPANESE INTERMEDIATE CODE: A523

Effective date: 20100901

TRDD Decision of grant or rejection written
A01 Written decision to grant a patent or to grant a registration (utility model)

Free format text: JAPANESE INTERMEDIATE CODE: A01

Effective date: 20100921

A01 Written decision to grant a patent or to grant a registration (utility model)

Free format text: JAPANESE INTERMEDIATE CODE: A01

A61 First payment of annual fees (during grant procedure)

Free format text: JAPANESE INTERMEDIATE CODE: A61

Effective date: 20101004

R150 Certificate of patent or registration of utility model

Ref document number: 4613727

Country of ref document: JP

Free format text: JAPANESE INTERMEDIATE CODE: R150

Free format text: JAPANESE INTERMEDIATE CODE: R150

FPAY Renewal fee payment (event date is renewal date of database)

Free format text: PAYMENT UNTIL: 20131029

Year of fee payment: 3

S531 Written request for registration of change of domicile

Free format text: JAPANESE INTERMEDIATE CODE: R313532

R350 Written notification of registration of transfer

Free format text: JAPANESE INTERMEDIATE CODE: R350

S111 Request for change of ownership or part of ownership

Free format text: JAPANESE INTERMEDIATE CODE: R313113

R350 Written notification of registration of transfer

Free format text: JAPANESE INTERMEDIATE CODE: R350

R250 Receipt of annual fees

Free format text: JAPANESE INTERMEDIATE CODE: R250

R250 Receipt of annual fees

Free format text: JAPANESE INTERMEDIATE CODE: R250

EXPY Cancellation because of completion of term