[go: up one dir, main page]

JP2005342189A - Game machine - Google Patents

Game machine Download PDF

Info

Publication number
JP2005342189A
JP2005342189A JP2004165097A JP2004165097A JP2005342189A JP 2005342189 A JP2005342189 A JP 2005342189A JP 2004165097 A JP2004165097 A JP 2004165097A JP 2004165097 A JP2004165097 A JP 2004165097A JP 2005342189 A JP2005342189 A JP 2005342189A
Authority
JP
Japan
Prior art keywords
game ball
main body
game
door frame
glass door
Prior art date
Legal status (The legal status is an assumption and is not a legal conclusion. Google has not performed a legal analysis and makes no representation as to the accuracy of the status listed.)
Granted
Application number
JP2004165097A
Other languages
Japanese (ja)
Other versions
JP4534605B2 (en
JP2005342189A5 (en
Inventor
Hiroyuki Asano
弘幸 浅野
Current Assignee (The listed assignees may be inaccurate. Google has not performed a legal analysis and makes no representation or warranty as to the accuracy of the list.)
Sanyo Bussan Co Ltd
Original Assignee
Sanyo Bussan Co Ltd
Priority date (The priority date is an assumption and is not a legal conclusion. Google has not performed a legal analysis and makes no representation as to the accuracy of the date listed.)
Filing date
Publication date
Application filed by Sanyo Bussan Co Ltd filed Critical Sanyo Bussan Co Ltd
Priority to JP2004165097A priority Critical patent/JP4534605B2/en
Publication of JP2005342189A publication Critical patent/JP2005342189A/en
Publication of JP2005342189A5 publication Critical patent/JP2005342189A5/ja
Application granted granted Critical
Publication of JP4534605B2 publication Critical patent/JP4534605B2/en
Anticipated expiration legal-status Critical
Expired - Fee Related legal-status Critical Current

Links

Images

Landscapes

  • Pinball Game Machines (AREA)

Abstract

<P>PROBLEM TO BE SOLVED: To provide a game machine where a large space for part installation on the front surface of the game machine is secured while preventing the erroneous operation of an operation switch. <P>SOLUTION: In the pachinko game machine 1, a part of the storage part 54a of an upper tray 54 is formed separated from a glass door frame 4 to form a space part 54h between the storage part 54a and the glass door frame 4 and to provide a rental ball operation part 46 provided with a renting button 46b and a return button 46c as operation switches between the storage part 54a and the glass door frame 4. Thus, the large space for part installation on the front surface of the game machine is secured while preventing the erroneous operation of the renting button 46b and the return button 46c. <P>COPYRIGHT: (C)2006,JPO&NCIPI

Description

本発明は、遊技機に関し、特に、遊技球を媒体として所定の遊技が実行されると共に遊技球を賞球として上皿へ払い出すように構成されると共に遊技者によって操作される操作スイッチを備えたパチンコ遊技機やパチロット遊技機に関するものである。   The present invention relates to a gaming machine, and in particular, includes an operation switch configured to execute a predetermined game using a game ball as a medium and to pay out the game ball as a prize ball to an upper plate and to be operated by a player. It relates to pachinko machines and pachinko machines.

従来より、プリペイドカードの読み出し及び書き込み機能を備えたカードユニットが隣接配置され且つ電気的に接続され、内部の遊技球払い出し機構を利用して遊技球の貸し出しを行うCR機と称されるタイプのパチンコ機が遊技ホール等で用いられている。CR機では、遊技球の貸し出しに関する操作を行うための貸球操作部が、賞球として払い出された遊技球や遊技者により投入された遊技球を貯留する上皿の前壁部の前面又は上面に設けられている(例えば、特許文献1、特許文献2参照。)。   Conventionally, a card unit having a prepaid card reading and writing function is adjacently arranged and electrically connected, and a type called a CR machine that lends a game ball using an internal game ball payout mechanism. Pachinko machines are used in game halls. In the CR machine, the lending operation unit for performing the operation related to the lending of the game ball is a front surface of the front wall portion of the upper plate for storing the game ball paid out as a prize ball or the game ball thrown by the player or It is provided on the upper surface (see, for example, Patent Document 1 and Patent Document 2).

一方、図15に示す従来のパチンコ機201では、予め金額情報が記録されたプリペイドカード22を投入可能なカード投入口21を有しプリペイドカード22から金額情報の読み出し及び書き込みが可能なカードユニット20が隣接して配置されると共に、遊技球の貸し出しに関する操作を行うための貸球操作部246が、遊技領域を臨む略円形の窓部241が設けられたガラス扉枠204の窓部241下方に設けられている。貸球操作部246は、遊技球の貸し出し可能状態を示す貸出ボタンランプ246a、遊技球の貸し出しを行うための貸出ボタン246b、プリペイドカード22の返却を行うための返却ボタン246c、プリペイドカード22の残り度数を表示する度数表示LED246dを備えている。そして、図16に示すように、払出し口245より上皿254の貯留部254aに払い出された遊技球Bはガラス扉枠204寄りに案内され、流路が徐々に狭まり且つガラス扉枠204に沿って左右に延設された直線部254fを有する整流部254eで一列に整列され、供給口穴249より図示しない発射装置へ流下する。   On the other hand, the conventional pachinko machine 201 shown in FIG. 15 has a card insertion slot 21 into which a prepaid card 22 on which money amount information is recorded can be inserted, and a card unit 20 that can read and write money information from the prepaid card 22. Are disposed adjacent to each other, and a ball lending operation unit 246 for performing an operation related to lending of game balls is provided below the window portion 241 of the glass door frame 204 provided with a substantially circular window portion 241 facing the game area. Is provided. The lending operation unit 246 includes a lending button lamp 246a indicating a rentable state of the game ball, a lending button 246b for lending the game ball, a return button 246c for returning the prepaid card 22, and the remaining prepaid card 22 A frequency display LED 246d for displaying the frequency is provided. Then, as shown in FIG. 16, the game ball B paid out from the payout port 245 to the storage portion 254 a of the upper plate 254 is guided toward the glass door frame 204, the flow path gradually narrows and the glass door frame 204 is A straightening portion 254e having a straight line portion 254f extending to the right and left along the line is aligned in a line, and flows down from a supply port hole 249 to a launching device (not shown).

ところで、パチンコ機において、遊技球を発射させるためのハンドルは、図15の従来例に示すように、パチンコ機の前面右下に配置されるのが一般的である。従って、パチンコ機201において、遊技者は、遊技中、椅子に座り、右手でハンドル252を握り続けることになる。一方、左手は、比較的に自由であり、貸球操作部246の操作は左手で行われる。そして、遊技盤の特定の箇所を狙い撃ちするには、発射球の打球力を同一とする必要があり、右手でハンドル252を安定して把持することが望まれる。そのために、遊技者は姿勢を安定させる必要がある。そこで、左手が上皿254に添えられ、上半身の体重が、椅子とパチンコ機とに分散されて負担されることが多く行われている。これにより、遊技者は、姿勢を安定できるのに加え、左手で上皿254内へ賞球として払い出された遊技球や貸し球の落下状態を体感したり、いわゆる球がみが起きないように随時、指で上皿254内の球の流れを整流したりする。
特開2003−144716号公報 特開平6−315563号公報
By the way, in a pachinko machine, a handle for launching a game ball is generally arranged at the lower right front surface of the pachinko machine as shown in the conventional example of FIG. Therefore, in the pachinko machine 201, the player sits on a chair and continues to hold the handle 252 with the right hand during the game. On the other hand, the left hand is relatively free, and the operation of the lending operation unit 246 is performed with the left hand. And in order to aim and shoot a specific part of the game board, it is necessary to make the hitting force of the shot ball the same, and it is desirable to stably hold the handle 252 with the right hand. Therefore, the player needs to stabilize the posture. Therefore, the left hand is often attached to the upper plate 254, and the weight of the upper body is often distributed and burdened between the chair and the pachinko machine. Thereby, in addition to stabilizing the posture, the player can experience the falling state of the game ball and the lending ball paid out as a prize ball into the upper plate 254 with the left hand, so that the so-called ball does not occur. At any time, the flow of the sphere in the upper plate 254 is rectified with a finger.
JP 2003-144716 A JP-A-6-315563

しかしながら、特許文献1に記載のパチンコ機では、上皿前壁部の前面に貸球操作部が設けられているため、操作ミスが生じやすいという問題がある。すなわち、上皿は、遊技者の胸部位置から腹部位置付近に対向位置されているため、上皿前壁部の前面に配置された貸球操作部は遊技者から見難く、貸出ボタンと返却ボタン等の操作スイッチの位置が分らず、また、貸出ボタンと返却ボタンとの押し間違い等も起きる。   However, the pachinko machine described in Patent Document 1 has a problem that an operation error is likely to occur because the ball lending operation unit is provided on the front surface of the upper dish front wall. That is, since the upper plate is opposed to the player's chest position near the abdomen position, the rental operation portion arranged on the front surface of the upper plate front wall is difficult for the player to see, and the lending button and the return button The position of the operation switch such as the button is not known, and the wrong button is pressed between the lending button and the return button.

これに対し、特許文献2に記載のパチンコ機では、上皿前壁部の上面に貸球操作部が設けられており、遊技者がハンドルを握って遊技を行っている姿勢で貸球操作部を容易に視認できるため、特許文献1のパチンコ機で見られるような操作ミスは少ないと考えられる。しかし、遊技者が姿勢を安定させる等のために上皿に添えた左手を、上皿内の遊技球の流れを整流する等のために移動する際に、誤って貸出ボタンや返却ボタン等の操作スイッチに触れてしまい、遊技者が意図しないタイミングで遊技球の貸し出しやプリペイドカードの返却が行われてしまう場合があるという問題があった。   On the other hand, in the pachinko machine described in Patent Document 2, a ball rental operation unit is provided on the upper surface of the upper plate front wall, and the ball rental operation unit is in a posture in which a player holds a handle and plays a game. Therefore, it is considered that there are few operation mistakes as seen in the pachinko machine of Patent Document 1. However, when the player moves the left hand attached to the upper plate to stabilize the posture, etc., to rectify the flow of game balls in the upper plate, etc., the loan button, return button, etc. There has been a problem that the operation ball may be rented out or the prepaid card may be returned at a timing unintended by the player due to touching the operation switch.

一方、図15に示す従来のパチンコ機201では、貸球操作部246がガラス扉枠204前面の窓部241下方に設けられているため、遊技者がハンドル252を握って遊技を行っている姿勢で貸球操作部246の視認が容易であり、上皿254内の遊技球の流れを整流する等のために左手を移動する際に誤って貸出ボタン246bや返却ボタン246c等の操作スイッチに触れることも比較的少ないと考えられる。しかしながら、パチンコ機201では、貸球操作部246によってガラス扉枠204前面の窓部241下方の領域が占有されることによって、遊技領域を臨む窓部241の大きさや配置が制限されるという問題や、電飾部材262やより多彩な演出や各種の情報を表示するための液晶表示装置等を窓部241下方の領域に設けることができないという問題がある。   On the other hand, in the conventional pachinko machine 201 shown in FIG. 15, the ball rental operation unit 246 is provided below the window 241 on the front surface of the glass door frame 204, so that the player holds the handle 252 and plays the game. The ball lending operation unit 246 is easily visible, and when the left hand is moved to rectify the flow of game balls in the upper plate 254, the operation buttons such as the lending button 246b and the return button 246c are touched by mistake. It is thought that there are relatively few things. However, in the pachinko machine 201, the ball rental operation unit 246 occupies the area below the window 241 on the front surface of the glass door frame 204, which limits the size and arrangement of the window 241 facing the game area. In addition, there is a problem that the electrical decoration member 262, a liquid crystal display device for displaying various kinds of effects and various information, and the like cannot be provided in the region below the window portion 241.

解決しようとする課題は、操作スイッチの誤操作を防止しつつ遊技機前面における部品設置スペースをより大きく確保可能な遊技機を提供することである。   The problem to be solved is to provide a gaming machine that can secure a larger part installation space on the front side of the gaming machine while preventing erroneous operation of the operation switch.

以下、上記課題を解決するのに適した各手段につき、必要に応じて作用効果等を付記しつつ説明する。
1.遊技球を媒体として所定の遊技が実行されると共に遊技球を賞球として払出すように構成された本体と、その本体より払い出された遊技球及び遊技者により投入された遊技球を貯留する貯留部、前記本体より払い出された遊技球を前記貯留部へ流入させる流入口、及び前記貯留部に貯留された遊技球を前記本体側へ供給する供給口を有する上皿と、遊技者によって操作される少なくとも一つの操作スイッチと、を備えた遊技機において、
前記上皿の貯留部の一部を前記本体より離間して形成することによって前記貯留部と前記本体との間に空間部を形成すると共に、前記貯留部と前記本体との間に前記操作スイッチを設けたことを特徴とする遊技機。
手段1によれば、上皿の貯留部の一部を本体より離間して形成することによって貯留部と本体との間に空間部を形成すると共に貯留部と本体との間に操作スイッチを設けたので、操作スイッチの誤操作を防止可能としつつ、本体前面における部品設置スペースをより大きく確保することができる。すなわち、操作スイッチが遊技者から視認容易な上皿の貯留部と本体との間に設けられているので、操作スイッチの押し間違えが確実に防止される。また、操作スイッチが、遊技者から見て上皿の貯留部よりも奥に位置しているので、遊技者が姿勢を安定させたり貯留部内の遊技球を整流したりするために上皿に置いた左手を移動する際等に、誤って手が操作スイッチに触れることが防止される。さらに、本体前面における部品設置スペースをより大きくすることができるので、各種部材の大きさや配置の自由度が大幅に向上される。
Hereinafter, each means suitable for solving the above-described problems will be described with additional effects and the like as necessary.
1. A main body configured to execute a predetermined game using a game ball as a medium and pay out the game ball as a prize ball, a game ball paid out from the main body, and a game ball thrown by the player are stored. By the player, an upper plate having a storage unit, an inlet for allowing the game balls paid out from the main body to flow into the storage unit, and a supply port for supplying the game balls stored in the storage unit to the main body side, and In a gaming machine comprising at least one operation switch to be operated,
By forming a part of the storage part of the upper plate away from the main body, a space is formed between the storage part and the main body, and the operation switch is provided between the storage part and the main body. A gaming machine characterized by having
According to the means 1, by forming a part of the storage part of the upper plate away from the main body, the space part is formed between the storage part and the main body, and the operation switch is provided between the storage part and the main body. Therefore, it is possible to prevent a misoperation of the operation switch, and to secure a larger part installation space on the front surface of the main body. That is, since the operation switch is provided between the main dish storage portion and the main body, which can be easily viewed by the player, a mistake in pressing the operation switch is reliably prevented. In addition, since the operation switch is located behind the storage part of the upper plate when viewed from the player, the operation switch is placed on the upper plate to stabilize the posture or rectify the game ball in the storage unit. When the left hand is moved, the hand is prevented from accidentally touching the operation switch. Furthermore, since the component installation space on the front surface of the main body can be further increased, the size of various members and the degree of freedom of arrangement are greatly improved.

2.前記貯留部は、前記流入口及び前記供給口に連続する底面部と、その底面部の周囲を取り囲むように立設された前壁部と、前記底面部を挟んで前記前壁部と対向して立設され且つ前記前壁部側へ凸状に形成された後壁部とを備え、
前記操作スイッチは、前記後壁部と前記本体との間に設けられたことを特徴とする手段1に記載の遊技機。
手段2によれば、底面部を挟んで前壁部と対向して立設された後壁部が前壁部側へ凸状に形成されて、後壁部と本体との間に確実に空間を形成し、後壁部と本体との間に操作スイッチを確実に設けることができる。
2. The storage part is opposed to the front wall part across the bottom surface part, a bottom wall part that is continuous with the inflow port and the supply port, a front wall part that is erected so as to surround the periphery of the bottom part. A rear wall portion that is erected and formed in a convex shape toward the front wall portion side,
The gaming machine according to means 1, wherein the operation switch is provided between the rear wall portion and the main body.
According to the means 2, the rear wall portion erected so as to face the front wall portion with the bottom surface portion interposed therebetween is formed in a convex shape toward the front wall portion side, so that a space is surely provided between the rear wall portion and the main body. The operation switch can be reliably provided between the rear wall portion and the main body.

3.前記操作スイッチは、前記本体における前記後壁部に対向する面に設けられたことを特徴とする手段2に記載の遊技機。
手段3によれば、操作スイッチは、本体における後壁部に対向する面に設けられているので、操作スイッチの誤操作を防止可能としつつ、本体前面における部品設置スペースをより大きく確保することができる。
3. The gaming machine according to claim 2, wherein the operation switch is provided on a surface of the main body facing the rear wall.
According to the means 3, since the operation switch is provided on the surface of the main body facing the rear wall portion, it is possible to prevent erroneous operation of the operation switch and to secure a larger component installation space on the front surface of the main body. .

4.前記操作スイッチは、上向きに傾斜させて配置されたことを特徴とする手段3に記載の遊技機。
手段4によれば、操作スイッチが、本体における後壁部に対向する面において上向きに傾斜させて配置され、操作スイッチが遊技者の目線方向となるので、遊技者がより一層容易に操作スイッチを視認することが可能となり、操作スイッチの操作性向上を図ることができる。
4). 4. The gaming machine according to means 3, wherein the operation switch is disposed to be inclined upward.
According to the means 4, the operation switch is arranged to be inclined upward on the surface of the main body facing the rear wall portion, and the operation switch is in the player's line of sight, so that the player can more easily operate the operation switch. It is possible to visually recognize and improve the operability of the operation switch.

5.前記後壁部と前記本体との間に形成された前記空間部の上部を塞ぐカバー部材を備え、そのカバー部材に前記操作スイッチを設けたことを特徴とする手段2に記載の遊技機。
手段5によれば、後壁部と本体との間に形成された空間部の上部を塞ぐカバー部材に操作スイッチが設けられているので、操作スイッチの誤操作を防止可能としつつ、本体前面における部品設置スペースをより大きく確保することができる。
5). The gaming machine according to claim 2, further comprising a cover member that covers an upper portion of the space portion formed between the rear wall portion and the main body, and the operation switch is provided on the cover member.
According to the means 5, since the operation switch is provided on the cover member that closes the upper portion of the space formed between the rear wall portion and the main body, it is possible to prevent erroneous operation of the operation switch and to prevent the parts on the front surface of the main body. A larger installation space can be secured.

6.前記操作スイッチは、前向きに傾斜させて配置されたことを特徴とする手段5に記載の遊技機。
手段6によれば、操作スイッチが、後壁部と本体との間に形成された空間部の上部を塞ぐカバー部材上で前向きに傾斜させて配置され、操作スイッチが遊技者の目線方向となるので、遊技者がより一層容易に操作スイッチを視認することが可能となり、操作スイッチの操作性向上を図ることができる。
6). 6. A gaming machine according to claim 5, wherein the operation switch is disposed to be inclined forward.
According to the means 6, the operation switch is disposed to be inclined forward on the cover member that closes the upper portion of the space formed between the rear wall portion and the main body, and the operation switch is in the direction of the player's line of sight. Therefore, it becomes possible for the player to visually recognize the operation switch more easily, and the operability of the operation switch can be improved.

7.前記操作スイッチは、前記後壁部の上端よりも下方に位置することを特徴とする手段5又は6に記載の遊技機。
手段7によれば、操作スイッチは、後壁部と本体との間に形成された空間部の上部を塞ぐカバー部材上で後壁部の上端よりも下方に位置するので、遊技者が姿勢を安定させたり貯留部内の遊技球を整流したりするために上皿に置いた左手を移動する際等に、誤って手が操作スイッチに触れることがより確実に防止される。
7). The gaming machine according to claim 5 or 6, wherein the operation switch is located below an upper end of the rear wall portion.
According to the means 7, since the operation switch is positioned below the upper end of the rear wall portion on the cover member that closes the upper portion of the space portion formed between the rear wall portion and the main body, the player takes a posture. When the left hand placed on the upper plate is moved in order to stabilize or rectify the game ball in the storage unit, it is more reliably prevented that the hand touches the operation switch by mistake.

8.前記後壁部の上縁が丸みを帯びた断面形状に形成されたことを特徴とする手段2乃至7のいずれかに記載の遊技機。
手段8に記載の遊技機によれば、後壁部の上縁が丸みを帯びた断面形状に形成されているので、極めて安全性が高い。例えば、後壁部と本体との間に設けられた操作スイッチへ遊技者が指を移動させる際に後壁部に触れた場合にも、遊技者の指を傷つけることが防止される。
8). The gaming machine according to any one of means 2 to 7, wherein an upper edge of the rear wall portion is formed in a rounded cross-sectional shape.
According to the gaming machine described in the means 8, since the upper edge of the rear wall portion is formed in a rounded cross-sectional shape, the safety is extremely high. For example, even when the player touches the rear wall when moving the finger to the operation switch provided between the rear wall and the main body, the player's finger is prevented from being damaged.

9.前記底面部上に、遊技球を一列に整列させて前記供給口より本体側へ流下させる整流部が設けられたことを特徴とする手段2乃至8のいずれかに記載の遊技機。
手段9によれば、貯留部の底面部上に整流部が設けられているので、遊技球を一列に整列させて供給口より本体側へ流下させることができる。
9. The gaming machine according to any one of means 2 to 8, wherein a rectifying unit is provided on the bottom surface part to align the game balls in a line and flow down from the supply port to the main body side.
According to the means 9, since the rectification part is provided on the bottom part of the storage part, it is possible to align the game balls in a line and flow down from the supply port to the main body side.

10.前記整流部には、前記前壁部側及び前記後壁部側の少なくとも一方に遊技球誘導用の傾斜壁が形成されたことを特徴とする手段9に記載の遊技機。
手段10によれば、整流部には、前壁部側及び後壁部側の少なくとも一方に遊技球誘導用の傾斜壁が形成されているので、遊技球が確実に一列に整列され且つ供給口に向かって確実に誘導される。
10. The gaming machine according to claim 9, wherein the rectifying portion is formed with an inclined wall for guiding a game ball on at least one of the front wall portion side and the rear wall portion side.
According to the means 10, since the inclined wall for guiding the game ball is formed in at least one of the front wall portion side and the rear wall portion side in the rectifying portion, the game balls are surely aligned in a line and the supply port Is reliably guided towards.

11.前記整流部には、前記前壁部側及び前記後壁部側の両方に遊技球誘導用の傾斜壁が形成されたことを特徴とする手段9に記載の遊技機。
手段11によれば、整流部において遊技球誘導用の傾斜壁が前壁部側だけでなく、後壁部側にも形成されているので、遊技球が後壁部側で滞ることなく供給口に向かって確実に誘導される。
11. 10. The gaming machine according to claim 9, wherein the rectifying portion is formed with inclined walls for guiding a game ball on both the front wall portion side and the rear wall portion side.
According to the means 11, since the inclined wall for guiding the game ball is formed not only on the front wall portion side but also on the rear wall portion side in the rectifying portion, the game ball does not stagnate on the rear wall portion side. Is reliably guided towards.

12.前記流入口及び前記供給口は、前記貯留部の後端で左右に離間して設けられ、前記後壁部は、前記流入口と前記供給口との間に形成されたことを特徴とする手段9乃至11のいずれかに記載の遊技機。
手段12によれば、貯留部の後端で左右に離間して設けられ流入口と供給口との間に底面部を挟んで前壁部と対向して後壁部が立設され且つその後壁部が前壁部側へ凸状に形成されているので、後壁部と本体との間に確実に空間が形成される。
12 The inflow port and the supply port are spaced apart from each other at the rear end of the storage portion, and the rear wall portion is formed between the inflow port and the supply port. A gaming machine according to any one of 9 to 11.
According to the means 12, the rear wall is erected on the rear end of the storage part so as to be separated from the left and right, with the bottom face part sandwiched between the inlet and the supply port and facing the front wall part, and the rear wall. Since the portion is formed in a convex shape toward the front wall portion, a space is reliably formed between the rear wall portion and the main body.

13.前記整流部は、前記底面部上で前後方向に延設され且つ前方側から前記供給口が設けられる後方側に向かって下り傾斜する直線部を備えたことを特徴とする手段12に記載の遊技機。
手段13によれば、流入口から底面部上に流入した遊技球は、前壁部側へ凸状に形成された後壁部を迂回して供給口へ向かう経路に沿って転動し、底面部上で前後方向に延設され且つ前方側から供給口が設けられる後方側に向かって下り傾斜する整流部の直線部において一列に円滑に整列されて供給口より本体側へ確実に流下する。
13. The game according to means 12, wherein the rectifying unit includes a linear part that extends in the front-rear direction on the bottom surface part and slopes downward from the front side toward the rear side where the supply port is provided. Machine.
According to the means 13, the game ball that has flowed into the bottom surface portion from the inflow port rolls along the path toward the supply port, bypassing the rear wall portion formed in a convex shape toward the front wall portion side. In the straight portion of the rectifying unit that extends in the front-rear direction on the portion and descends downward from the front side toward the rear side where the supply port is provided, the straight portion smoothly flows in a line from the supply port to the main body side.

14.前記整流部は、前記底面部上で前記供給口に対して前記払出口とは反対側にて左右方向に延設され且つ前記供給口が設けられる方向に向かって下り傾斜する直線部を備えたことを特徴とする手段12に記載の遊技機。
手段14によれば、流入口から底面部上に流入した遊技球は、前壁部側へ凸状に形成された後壁部を迂回して供給口へ向かう経路に沿って転動し、底面部上で供給口に対して払出口とは反対側にて左右方向に延設され且つ供給口が設けられる方向に向かって下り傾斜する整流部の直線部において一列に円滑に整列されて供給口より本体側へ確実に流下する。
14 The rectifying unit includes a linear portion that extends in the left-right direction on the bottom surface of the supply port on the opposite side of the supply port and inclines downward in the direction in which the supply port is provided. The gaming machine according to means 12, characterized by:
According to the means 14, the game ball that has flowed into the bottom surface portion from the inflow port rolls along a path that bypasses the rear wall portion that is formed in a convex shape toward the front wall portion and heads toward the supply port. The supply port is smoothly aligned in a line at the straight portion of the rectifying unit that extends in the left-right direction on the opposite side of the supply port with respect to the supply port and inclines downward toward the direction in which the supply port is provided. It will surely flow down to the main body.

15.前記整流部は、前記底面部上で前記本体に対して斜め方向に延設され且つ前方側から前記供給口が設けられる後方側に向かって下り傾斜する直線部を備えたことを特徴とする手段12に記載の遊技機。
手段15によれば、流入口から底面部上に流入した遊技球は、前壁部側へ凸状に形成された後壁部を迂回して供給口へ向かう経路に沿って転動し、底面部上で本体に対して斜め方向に延設され且つ前方側から供給口が設けられる後方側に向かって下り傾斜する整流部の直線部において一列に円滑に整列されて供給口より本体側へ確実に流下する。
15. The rectifying unit includes a linear part that extends obliquely with respect to the main body on the bottom surface part, and that slopes downward from the front side toward the rear side where the supply port is provided. 12. The gaming machine according to 12.
According to the means 15, the game ball that has flowed into the bottom surface portion from the inflow port rolls along the path toward the supply port, bypassing the rear wall portion formed in a convex shape toward the front wall portion side. In the straight portion of the rectifying unit that extends obliquely with respect to the main body and tilts downward from the front side toward the rear side where the supply port is provided, it is smoothly aligned in a line and reliably from the supply port to the main body side. To flow down.

16.前記整流部は、前記底面部上で前記払出口から前記供給口に至る曲線状の経路に沿って延設され且つ前方側から前記供給口が設けられる後方側に向かって下り傾斜する曲線部を備えたことを特徴とする手段12に記載の遊技機。
手段16によれば、流入口から底面部上に流入した遊技球は、前壁部側へ凸状に形成された後壁部を迂回して供給口へ向かう経路に沿って転動し、底面部上で払出口から供給口に至る曲線状の経路に沿って延設され且つ前方側から供給口が設けられる後方側に向かって下り傾斜する整流部の曲線部において一列に円滑に整列されて供給口より本体側へ確実に流下する。
16. The rectifying unit includes a curved portion that extends along a curved path from the payout port to the supply port on the bottom surface portion and is inclined downward from the front side toward the rear side where the supply port is provided. The gaming machine according to the means 12 characterized by comprising.
According to the means 16, the game ball that has flowed into the bottom surface portion from the inflow port rolls along the path toward the supply port, bypassing the rear wall portion formed in a convex shape toward the front wall portion side. Smoothly aligned in a line at the curvilinear portion of the rectifying portion that extends along a curved path from the discharge outlet to the supply port on the portion and descends downward from the front side toward the rear side where the supply port is provided. It flows down reliably from the supply port to the main unit.

17.前記流入口及び前記供給口は、前記貯留部の後端で左右に離間して設けられ、前記空間部は、前記流入口と前記供給口との間に形成されたことを特徴とする手段1乃至16のいずれかに記載の遊技機。
手段17によれば、貯留部の後端で左右に離間して設けられた流入口と供給口との間に空間部を形成したので、空間部のサイズを大きくして各種部材の設置領域等をより大きく確保することができる。
17. The inflow port and the supply port are spaced apart from each other at the rear end of the storage portion, and the space portion is formed between the inflow port and the supply port. The gaming machine according to any one of 1 to 16.
According to the means 17, since the space portion is formed between the inlet and the supply port provided at the rear end of the storage portion so as to be separated from each other in the left and right directions, the size of the space portion is increased so that the installation area of various members, etc. Can be secured larger.

18.前記空間部は、前記貯留部の左右方向中央に形成されたことを特徴とする手段17に記載の遊技機。
手段18によれば、空間部が貯留部の左右方向中央に形成されているので、貯留部において左右均等な強度を確保することができる。
18. The gaming machine according to claim 17, wherein the space portion is formed at the center in the left-right direction of the storage portion.
According to the means 18, since the space part is formed in the center in the left-right direction of the storage part, it is possible to ensure equal strength in the left-right direction in the storage part.

19.前記貯留部の全体形状が、前記流入口側と前記供給口側とを両端とし且つ前方側へ湾曲するアーチ状に形成されたことを特徴とする手段17又は18に記載の遊技機。
手段19によれば、貯留部の全体形状が流入口側と供給口側とを両端とし且つ前方側へ湾曲するアーチ状に形成されているので、アーチ形状の内周側部分となる貯留部と本体との間に確実に空間部を形成することができる。
19. 19. The gaming machine according to claim 17 or 18, wherein the overall shape of the storage portion is formed in an arch shape that has both the inlet side and the supply port side as both ends and curves forward.
According to the means 19, since the entire shape of the storage part is formed in an arch shape having both the inlet side and the supply port side as both ends and curved forward, the storage part serving as the inner peripheral side part of the arch shape; A space can be reliably formed between the main body.

20.前記操作スイッチは、前記本体において実行される遊技内容に関連する遊技用操作スイッチであることを特徴とする手段1乃至19のいずれかに記載の遊技機。
手段20によれば、本体において実行される遊技内容に関連する遊技用操作スイッチを貯留部と本体との間に設けたので、遊技用操作スイッチの誤操作を防止可能としつつ、本体前面における部品設置スペースをより大きく確保することができる。
20. The game machine according to any one of means 1 to 19, wherein the operation switch is a game operation switch related to a game content executed in the main body.
According to the means 20, since the game operation switch related to the game content executed in the main body is provided between the storage portion and the main body, it is possible to prevent erroneous operation of the game operation switch and to install components on the front surface of the main body. A larger space can be secured.

21.前記操作スイッチは、遊技球の貸し出し機能に関連する貸球用操作スイッチであることを特徴とする手段1乃至19のいずれかに記載の遊技機。
手段21によれば、遊技球の貸し出し機能に関連する貸球用操作スイッチを貯留部と本体との間に設けたので、貸球用操作スイッチの誤操作を防止可能としつつ、本体前面における部品設置スペースをより大きく確保することができる。
21. The gaming machine according to any one of means 1 to 19, wherein the operation switch is a ball rental operation switch related to a game ball rental function.
According to the means 21, since the operation switch for lending related to the lending function of the game ball is provided between the storage portion and the main body, it is possible to prevent erroneous operation of the operation switch for lending, and to install components on the front surface of the main body A larger space can be secured.

22.前記操作スイッチには、遊技球の貸し出しを実行するための貸し出しスイッチが含まれることを特徴とする手段21に記載の遊技機。
手段22によれば、遊技球の貸し出しを実行するための貸し出しスイッチを貯留部と本体との間に設けたので、貸球用操作スイッチの誤操作を防止可能としつつ、本体前面における部品設置スペースをより大きく確保することができる。
22. The gaming machine according to claim 21, wherein the operation switch includes a lending switch for lending a gaming ball.
According to the means 22, since the lending switch for lending the game ball is provided between the storage unit and the main body, it is possible to prevent erroneous operation of the lending operation switch, and to reduce the component installation space on the front surface of the main body. Larger can be secured.

23.前記操作スイッチには、遊技球の貸し出しに用いる価値媒体の返却を実行するための返却スイッチが含まれることを特徴とする手段21又は22に記載の遊技機。
手段23によれば、遊技球の貸し出しに用いる価値媒体の返却を実行するための返却スイッチを貯留部と本体との間に設けたので、貸球用操作スイッチの誤操作を防止可能としつつ、本体前面における部品設置スペースをより大きく確保することができる。
23. The gaming machine according to means 21 or 22, wherein the operation switch includes a return switch for executing return of a value medium used for lending game balls.
According to the means 23, since the return switch for executing the return of the value medium used for the rental of the game ball is provided between the storage unit and the main body, the main body can be prevented from being erroneously operated. A larger part installation space on the front surface can be secured.

24.前記貯留部と前記本体との間に、遊技球の貸し出し可能状態を表示する貸出可能状態表示部が設けられたことを特徴とする手段21乃至23のいずれかに記載の遊技機。
手段24によれば、貸球用操作スイッチが設けられる貯留部と本体との間に、遊技球の貸し出し可能状態を表示する貸出可能状態表示部を設けたので、遊技球の貸し出し可能状態を容易に確認できると共に、本体前面における部品設置スペースをより大きく確保することができる。
24. The gaming machine according to any one of means 21 to 23, wherein a rentable state display unit for displaying a rentable state of a game ball is provided between the storage unit and the main body.
According to the means 24, since the lending possible state display part for displaying the lending possible state of the game ball is provided between the storage part provided with the lending operation switch and the main body, it is easy to lend the gaming ball. In addition, it is possible to secure a larger part installation space on the front surface of the main body.

25.前記貯留部と前記本体との間に、遊技球の貸し出しに用いる価値媒体における価値の残高を表示する残高表示部が設けられたことを特徴とする手段21乃至24のいずれかに記載の遊技機。
手段25によれば、貸球用操作スイッチが設けられる貯留部と本体との間に、遊技球の貸し出しに用いる価値媒体における価値の残高を表示する残高表示部を設けたので、価値媒体における価値の残高を容易に確認できると共に、本体前面における部品設置スペースをより大きく確保することができる。
25. 25. A gaming machine according to any one of means 21 to 24, wherein a balance display unit for displaying a balance of value in a value medium used for lending game balls is provided between the storage unit and the main body. .
According to the means 25, since the balance display unit for displaying the balance of the value in the value medium used for renting the game ball is provided between the storage unit in which the operation switch for renting is provided and the main body, the value in the value medium is provided. Can be easily confirmed, and a larger component installation space can be secured on the front surface of the main body.

26.前記遊技機は、パチンコ遊技機であることを特徴とする手段1乃至25のいずれかに記載の遊技機。
手段26によれば、パチンコ遊技機において操作スイッチの誤操作を防止可能としつつ、本体前面における部品設置スペースをより大きく確保することができる。
26. The gaming machine according to any one of means 1 to 25, wherein the gaming machine is a pachinko gaming machine.
According to the means 26, it is possible to prevent an erroneous operation of the operation switch in the pachinko gaming machine and to secure a larger part installation space on the front surface of the main body.

27.前記本体は、前面側へ開閉可能に設けられ且つ前記上皿が取り付けられる開閉枠を備え、
前記上皿の貯留部の一部を前記開閉枠より離間して形成することによって前記貯留部と前記開閉枠との間に空間部を形成したことを特徴とする手段26に記載の遊技機。
手段27によれば、上皿の貯留部の一部を開閉枠より離間して形成することによって貯留部と開閉枠との間に空間部を形成したので、貯留部と開閉枠との間を操作スイッチの設置領域等として活用することにより、開閉枠に設けられる各種部材の大きさや配置の自由度が大幅に向上される。
27. The main body includes an open / close frame that is provided to be openable and closable to the front side and to which the upper plate is attached,
The gaming machine according to claim 26, wherein a space portion is formed between the storage portion and the opening / closing frame by forming a part of the storage portion of the upper plate away from the opening / closing frame.
According to the means 27, since the space part is formed between the storage part and the opening / closing frame by forming a part of the storage part of the upper plate away from the opening / closing frame, the space between the storage part and the opening / closing frame is formed. By utilizing it as an installation area for the operation switch, the size of various members provided in the open / close frame and the degree of freedom of arrangement are greatly improved.

28.前記開閉枠は、遊技盤を臨む窓部にガラスが取り付けられたガラス扉枠であることを特徴とする手段27に記載の遊技機。
手段28によれば、上皿の貯留部とガラス扉枠との間に空間部が形成されているので、貯留部とガラス扉枠との間を操作スイッチの設置領域等として活用することにより、ガラス扉枠に設けられる各種部材の大きさや配置の自由度が大幅に向上される。
28. The gaming machine according to claim 27, wherein the opening and closing frame is a glass door frame in which glass is attached to a window portion facing the game board.
According to the means 28, since the space is formed between the storage part of the upper plate and the glass door frame, by utilizing the space between the storage part and the glass door frame as an installation area of the operation switch, The size of various members provided on the glass door frame and the degree of freedom of arrangement are greatly improved.

29.前記開閉枠は、遊技盤を臨む窓部にガラスが取り付けられたガラス扉枠の下方にて、そのガラス扉枠とは別体で設けられた上皿板であることを特徴とする手段27に記載の遊技機。
手段29によれば、上皿の貯留部と上皿板との間に空間部が形成されているので、貯留部とガラス扉枠との間を操作スイッチの設置領域等として活用することにより、上皿板に設けられる各種部材の大きさや配置の自由度が大幅に向上される。
29. The means 27 is characterized in that the opening / closing frame is an upper plate provided separately from the glass door frame below the glass door frame in which glass is attached to the window facing the game board. The gaming machine described.
According to the means 29, since the space part is formed between the storage part of the upper plate and the upper plate, by utilizing the space between the storage part and the glass door frame as the installation area of the operation switch, The size of various members provided on the upper plate and the degree of freedom of arrangement are greatly improved.

30.前記遊技機は、複数種類の図柄が表示された複数の回転リールを有し、前記各回転リールの回転停止時の図柄の組合わせに基づく入賞態様に応じて遊技球が払い出されるパチロット遊技機であることを特徴とする手段1乃至25のいずれかに記載の遊技機。
手段30によれば、パチロット遊技機において操作スイッチの誤操作を防止可能としつつ、本体前面における部品設置スペースをより大きく確保することができる。
30. The gaming machine is a pacilot gaming machine having a plurality of rotating reels on which a plurality of types of symbols are displayed, and game balls are paid out according to a winning mode based on a combination of symbols when the rotation of the rotating reels is stopped. A gaming machine according to any one of means 1 to 25, characterized in that there is.
According to the means 30, it is possible to prevent an erroneous operation of the operation switch in the pachilot game machine and to secure a larger part installation space on the front surface of the main body.

本発明によれば、上皿の貯留部の一部を本体より離間して形成することによって貯留部と本体との間に空間部を形成すると共に貯留部と本体との間に操作スイッチを設けたので、操作スイッチの誤操作を防止可能としつつ、本体前面における部品設置スペースをより大きく確保することができる。すなわち、操作スイッチが遊技者から視認容易な上皿の貯留部と本体との間に設けられているので、操作スイッチの押し間違えが確実に防止される。また、操作スイッチが、遊技者から見て上皿の貯留部よりも奥に位置しているので、遊技者が姿勢を安定させたり貯留部内の遊技球を整流したりするために上皿に置いた左手を移動する際等に、誤って手が操作スイッチに触れることが防止される。さらに、本体前面における部品設置スペースをより大きくすることができるので、各種部材の大きさや配置の自由度が大幅に向上される。   According to the present invention, by forming a part of the storage part of the upper plate away from the main body, the space part is formed between the storage part and the main body, and the operation switch is provided between the storage part and the main body. Therefore, it is possible to prevent a misoperation of the operation switch, and to secure a larger part installation space on the front surface of the main body. That is, since the operation switch is provided between the main dish storage portion and the main body, which can be easily viewed by the player, a mistake in pressing the operation switch is reliably prevented. In addition, since the operation switch is located behind the storage part of the upper plate when viewed from the player, the operation switch is placed on the upper plate to stabilize the posture or rectify the game ball in the storage unit. When the left hand is moved, the hand is prevented from accidentally touching the operation switch. Furthermore, since the component installation space on the front surface of the main body can be further increased, the size of various members and the degree of freedom of arrangement are greatly improved.

以下、本発明の遊技機を具体化した各実施形態について説明する。最初に、第一の実施形態であるパチンコ遊技機(以下、単に「パチンコ機」と称する)1について説明する。パチンコ機1は、内部の遊技球払い出し機構を利用して遊技球の貸し出しを行うCR機と称されるタイプのパチンコ機であり、図1に示すように、カードユニット20が隣接配置され且つ電気的に接続されている。カードユニット20は、予め金額情報が記録された価値媒体としてのプリペイドカード22を投入可能なカード投入口21を有し、プリペイドカード22から金額情報の読み出し及び書き込みが可能となっている。   Hereinafter, each embodiment which actualized the gaming machine of the present invention will be described. First, a pachinko gaming machine (hereinafter simply referred to as “pachinko machine”) 1 according to the first embodiment will be described. The pachinko machine 1 is a type of pachinko machine called a CR machine that lends out game balls using an internal game ball payout mechanism, and as shown in FIG. Connected. The card unit 20 has a card insertion slot 21 into which a prepaid card 22 as a value medium in which monetary information is recorded in advance, and monetary information can be read and written from the prepaid card 22.

パチンコ機1は、図1乃至図5に示すように、外枠2と、その外枠2の前部に設けられ外枠2の一側部にて開閉可能に支持された前面枠3とを備えている。外枠2は、パチンコ機1のベースとなる枠であり、板材により全体として矩形状に構成されている。尚、本実施の形態では、外枠2は木製であって、上下方向の長さは808mm、左右方向の長さは520mmとなっている。また、前面枠3は合成樹脂、具体的にはABS(アクリロニトリル−ブタジエン−スチレン)樹脂により構成されている。前面枠3の開閉軸線はパチンコ機1の正面から見て左側に上下に延びるように設定されている。尚、外枠2は樹脂により構成されていてもよく、あたかも外枠2及び前面枠3が一体物に見えるように構成されていてもよい。   As shown in FIGS. 1 to 5, the pachinko machine 1 includes an outer frame 2 and a front frame 3 provided at a front portion of the outer frame 2 and supported to be opened and closed at one side of the outer frame 2. I have. The outer frame 2 is a frame that serves as a base of the pachinko machine 1, and is configured to be rectangular as a whole by a plate material. In the present embodiment, the outer frame 2 is made of wood and has a vertical length of 808 mm and a horizontal length of 520 mm. The front frame 3 is made of a synthetic resin, specifically, ABS (acrylonitrile-butadiene-styrene) resin. The opening / closing axis of the front frame 3 is set so as to extend vertically on the left side when viewed from the front of the pachinko machine 1. In addition, the outer frame 2 may be comprised with resin, and may be comprised as if the outer frame 2 and the front frame 3 seem to be an integrated object.

前面枠3には、後述する下皿ユニット51を除く前面枠3の前面側を覆うように、ガラス扉枠4が開閉自在に設けられている。尚、ガラス扉枠4が本発明の開閉枠を構成するものであり、後述する上皿54を除いて外枠2,前面枠3及びガラス扉枠4を含むパチンコ機1のすべての構成部材が本発明の本体を構成するものである。また、ガラス扉枠4の開閉軸線(軸支部)もパチンコ機1の正面から見て左側に上下に延びるように設定されている。詳しくは、ガラス扉枠4の背面図である図5に示すように、ガラス扉枠4の裏側から見て右側の上端部付近に回動軸91が設けられ、図5に示すように前面枠3の正面から見て左側の上端部付近には回動軸91が嵌め込まれる軸受部92が設けられている。また、軸受部92の下方には、上方に突出する突回動軸93が設けられ、ガラス扉枠4の下側面には、前記回動軸91の下方位置において、前記突回動軸93を嵌め込むための図示しない軸受凹部が設けられている。そして、突回動軸93を前記軸受凹部に嵌め込み、回動軸91を軸受部92に嵌め込むことによって、ガラス扉枠4が軸支され開閉可能となる。このように本実施の形態では、回動軸91と突回動軸93を結ぶ線がガラス扉枠4の開閉軸線として設定されている。   A glass door frame 4 is provided on the front frame 3 so as to be openable and closable so as to cover the front side of the front frame 3 excluding the lower plate unit 51 described later. The glass door frame 4 constitutes the open / close frame of the present invention, and all the components of the pachinko machine 1 including the outer frame 2, the front frame 3 and the glass door frame 4 except for the upper plate 54 described later are included. This constitutes the main body of the present invention. The opening / closing axis (shaft support) of the glass door frame 4 is also set so as to extend vertically to the left when viewed from the front of the pachinko machine 1. Specifically, as shown in FIG. 5 which is a rear view of the glass door frame 4, a rotation shaft 91 is provided near the upper end portion on the right side when viewed from the back side of the glass door frame 4, and the front frame as shown in FIG. 3 is provided with a bearing portion 92 into which the rotation shaft 91 is fitted in the vicinity of the upper end portion on the left side when viewed from the front. Further, a projecting and rotating shaft 93 projecting upward is provided below the bearing portion 92, and the projecting and rotating shaft 93 is disposed on the lower side surface of the glass door frame 4 at a position below the rotating shaft 91. A bearing recess (not shown) for fitting is provided. And the glass door frame 4 is pivotally supported and can be opened and closed by fitting the projecting and turning shaft 93 into the bearing recess and fitting the turning shaft 91 into the bearing portion 92. Thus, in the present embodiment, a line connecting the rotation shaft 91 and the projecting rotation shaft 93 is set as the opening / closing axis of the glass door frame 4.

また、ガラス扉枠4には、裏側から一対のガラス42が並行して取り付けられている。ガラス扉枠4の左右方向の長さは、前面枠3とほぼ同等であり、そのガラス扉枠4によって前面枠3下部に設けられた下皿ユニット51を除く殆どの部分が覆われるようになっている。   A pair of glasses 42 are attached to the glass door frame 4 in parallel from the back side. The length of the glass door frame 4 in the left-right direction is substantially the same as that of the front frame 3, and most of the glass door frame 4 except the lower plate unit 51 provided at the lower part of the front frame 3 is covered by the glass door frame 4. ing.

前記前面枠3の後側(ガラス扉枠4の奥、外枠2の内側)には、遊技盤5が着脱可能に装着されている。なお、遊技盤5は、その周縁部が前面枠3の裏側に当接した状態で取り付けられており、図4では、遊技盤5の前面部の略中央部分だけが前面枠3の前面側に露出した状態となっている。この遊技盤5の上下方向の長さは476mm、左右方向の長さは451mmとなっている。また、遊技盤5には、ルータ加工が施されることによって複数の開口部が形成されており、各開口部には、普通入賞チャッカー6、可変入賞装置7、作動チャッカー8、可変表示装置9、スルーチャッカー10等が配設されている。本実施の形態における可変表示装置9は、液晶表示部と、当該液晶表示部の周囲に配設されたセンターフレームと、液晶表示部における表示制御を実行するための表示制御基板とを備えている。   A game board 5 is detachably mounted on the rear side of the front frame 3 (the back of the glass door frame 4 and the inside of the outer frame 2). Note that the game board 5 is attached in a state in which the peripheral edge thereof is in contact with the back side of the front frame 3. In FIG. 4, only the substantially central portion of the front part of the game board 5 is on the front side of the front frame 3. It is in an exposed state. The game board 5 has a vertical length of 476 mm and a horizontal length of 451 mm. Also, the game board 5 is formed with a plurality of openings by being subjected to router processing, and each of the openings has a normal winning chucker 6, a variable winning device 7, an operation chucker 8, and a variable display device 9. A through chucker 10 and the like are disposed. The variable display device 9 according to the present embodiment includes a liquid crystal display unit, a center frame disposed around the liquid crystal display unit, and a display control board for executing display control in the liquid crystal display unit. .

尚、表示制御基板を含む各種の制御基板は、図3に示すように、遊技盤5の背面側に設けた透明樹脂製の裏パック5aによって覆われている。また、パチンコ機1の主制御を行うメイン基板はメイン基板ボックス5bに、入賞による遊技球の払い出しやカードユニット20からの貸し出し要求に基づいて遊技球の払い出しを行う払出ユニット5d及び遊技球の発射を行う発射装置31の制御を行う払出発射制御基板は払出発射制御基板ボックス5cにそれぞれ収納されている。   Various control boards including the display control board are covered with a transparent resin back pack 5a provided on the back side of the game board 5, as shown in FIG. Also, the main board that performs the main control of the pachinko machine 1 is discharged to the main board box 5b, the payout unit 5d for paying out the game balls by winning and the payout of the game balls based on the lending request from the card unit 20, and the launch of the game balls The payout launch control board for controlling the launching device 31 is stored in the payout launch control board box 5c.

可変表示装置9の液晶表示部には、例えば左図柄列、中図柄列及び右図柄列の3つの表示列が表示される。各図柄列は複数の図柄によって構成されており、これら図柄が各図柄列毎にスクロールされるように表示画面に可変表示されるようになっている。   For example, three display columns of a left symbol row, a middle symbol row, and a right symbol row are displayed on the liquid crystal display unit of the variable display device 9. Each symbol row is composed of a plurality of symbols, and these symbols are variably displayed on the display screen so as to be scrolled for each symbol row.

また、可変入賞装置7は、通常、遊技球Bが入賞できない状態又は入賞し難い状態になっている。より詳しくは、作動チャッカー8に対し遊技球Bが入賞することに基づいて、可変表示装置9の液晶表示部の図柄が可変表示される。そして、確定された図柄の組合わせが予め設定した特定の図柄の組合わせとなったこと、ここでは停止した図柄が特定の組み合わせであることを必要条件に特別遊技状態が発生し、可変入賞装置7の大入賞口が所定の開放状態となり(具体的には所定時間、所定回数だけ開く)、遊技球Bが入賞しやすい状態(大当り状態)になるよう構成されている。なお、周知のとおり、前記一般入賞口6、可変入賞装置7、作動チャッカー8に遊技球Bが入賞することに基づいて、後述する上皿54(場合によっては下皿53)に対し所定数の景品球が払い出されるようになっている。また、遊技盤5には、遊技球Bの落下方向を適宜分散、調整等するために多数の釘が植設されているとともに、風車等の各種部材(役物)が配設されている。   Further, the variable winning device 7 is normally in a state where the game ball B cannot win or is difficult to win. More specifically, the design of the liquid crystal display unit of the variable display device 9 is variably displayed based on the game ball B winning the operation chucker 8. Then, a special game state is generated on the condition that the determined symbol combination is a specific symbol combination set in advance, and the stopped symbol is a specific combination. 7 is configured to be in a predetermined open state (specifically, opened for a predetermined time and a predetermined number of times), and the game ball B is in a state where it is easy to win (a big hit state). As is well known, based on the fact that the game ball B wins the general winning slot 6, the variable winning device 7, and the operation chucker 8, a predetermined number of the upper plates 54 (in some cases, the lower plate 53) will be described. A prize ball is paid out. The game board 5 is provided with a large number of nails for distributing and adjusting the falling direction of the game ball B as appropriate, and various members (instruments) such as a windmill.

さて、前記前面枠3は、外形が前記外枠2とほぼ同一形状をなす樹脂ベース11と、この樹脂ベース11の最内周側に位置し略円弧状をなすよう一体形成された内レール12と、主として図の左側の内レール12に対し所定間隔を隔てて前記樹脂ベース11に一体形成された外レール13とを備えている。これら内レール12及び外レール13は遊技球発射ハンドル52の回動操作に基づき発射装置31から発射された遊技球Bを遊技盤5上部へ案内する発射路としての役割を主として果たすものである。従って、内レール12と外レール13とが並行する部分(向かって左側の部分)によって、誘導レールが構成されることとなる。   The front frame 3 has a resin base 11 whose outer shape is substantially the same as that of the outer frame 2 and an inner rail 12 that is positioned on the innermost peripheral side of the resin base 11 and is integrally formed so as to form a substantially arc shape. And an outer rail 13 formed integrally with the resin base 11 with a predetermined distance from the inner rail 12 on the left side of the figure. The inner rail 12 and the outer rail 13 mainly serve as a launch path for guiding the game ball B launched from the launch device 31 to the upper part of the game board 5 based on the turning operation of the game ball launch handle 52. Therefore, the guide rail is constituted by a portion where the inner rail 12 and the outer rail 13 are parallel (the portion on the left side).

前記内レール12の下端部付近において、遊技盤5には遊技球Bを導出するアウト口25が形成されている。そして、遊技盤5の下部に落下した遊技球の多くは、このアウト口25を通って図示しない球排出路の方へと案内されるようになっている。このような構成の下、前面枠3の内周側の窓孔によって主として遊技領域の外延が確定されており、前面枠3に対し遊技盤5が装着された状態にあっては、内レール12及び外レール13が遊技盤5に当接又は近接した状態となる。そして、発射装置31により発射された遊技球Bは、主として外レール13によって遊技盤5の上部へと案内される。また、遊技盤5には、遊技球の払い出しを行う払出口32が設けられ、この払出口32に連通するようにガラス扉枠4側に払出口45が設けられている(図4及び図5参照)。   In the vicinity of the lower end of the inner rail 12, the game board 5 is formed with an out port 25 through which the game ball B is led out. Most of the game balls that have dropped to the lower part of the game board 5 are guided through the out port 25 toward a ball discharge path (not shown). Under such a configuration, the extension of the game area is mainly determined by the window hole on the inner peripheral side of the front frame 3. When the game board 5 is mounted on the front frame 3, the inner rail 12 And the outer rail 13 will be in the state which contact | abutted or adjoined to the game board 5. FIG. The game ball B launched by the launch device 31 is guided mainly to the upper part of the game board 5 by the outer rail 13. Further, the game board 5 is provided with a payout opening 32 for paying out game balls, and a payout opening 45 is provided on the glass door frame 4 side so as to communicate with the payout opening 32 (FIGS. 4 and 5). reference).

次に、遊技領域について説明する。本実施の形態では、遊技領域を、パチンコ機1の正面から見て、内レール12及び外レール13によって囲まれる領域のうち、内外レール12,13の並行部分である誘導レールの領域を除いた領域としている。また、パチンコ機1において、外レール13の最上部地点から遊技盤5下部までの間の距離は462mm、外レール13の極左位置から内レール12の極右位置までの間の距離は449mmとなっている。また、内レール12の極左位置から内レール12の極右位置までの間の距離は432mmとなっている。   Next, the game area will be described. In the present embodiment, the game area is a region surrounded by the inner rail 12 and the outer rail 13 as viewed from the front of the pachinko machine 1, except for a guide rail region that is a parallel part of the inner and outer rails 12 and 13. As an area. In the pachinko machine 1, the distance from the uppermost point of the outer rail 13 to the lower part of the game board 5 is 462 mm, and the distance from the extreme left position of the outer rail 13 to the extreme right position of the inner rail 12 is 449 mm. Yes. The distance from the extreme left position of the inner rail 12 to the extreme right position of the inner rail 12 is 432 mm.

ここで、ガラス扉枠4について説明する。ガラス扉枠4には、前記遊技領域の殆どを外部から視認することができるように略楕円形状の窓部41が形成されている。具体的には、前記窓部41は、その左右側の略中央部が、上下側に比べて比較的緩やかに湾曲した形状となっている。なお、前記略中央部が直線状になるようにしてもよい。本実施の形態において、前記窓部41の上端(外レール13の最上部、遊技領域の上端)と、ガラス扉枠4の上端との間の距離(いわゆる上部フレーム部分の上下幅)は50mmとなっており、85mm〜95mm程度上部フレーム幅がある従来技術に比べ、著しく短くなっている。なお、上記距離は、80mm以下であることが望ましく、より望ましくは70mm以下であり、さらに望ましくは60mm以下である。勿論、所定の強度が確保できるのであれば、50mm以下であっても差し支えない。   Here, the glass door frame 4 will be described. The glass door frame 4 is formed with a substantially elliptical window 41 so that most of the game area can be visually recognized from the outside. Specifically, the window portion 41 has a shape in which a substantially central portion on the left and right sides thereof is curved relatively gently as compared with the upper and lower sides. The substantially central portion may be linear. In the present embodiment, the distance between the upper end of the window portion 41 (the uppermost portion of the outer rail 13 and the upper end of the game area) and the upper end of the glass door frame 4 (so-called upper and lower width of the upper frame portion) is 50 mm. Compared with the prior art having an upper frame width of about 85 mm to 95 mm, it is significantly shorter. The distance is desirably 80 mm or less, more desirably 70 mm or less, and further desirably 60 mm or less. Of course, as long as a predetermined strength can be secured, it may be 50 mm or less.

また、窓部41の左端と、ガラス扉枠4の左端との間の最短距離(いわゆる左側部フレーム部分の左右幅)は、ガラス扉枠4自体の強度及び支持強度を高めるために比較的大きく設定されている。より詳しくは、図1及び図4を相互に比較すると明らかなように、ガラス扉枠4が閉じられた状態において、外レール13の左側部は勿論、内レール12の左側部も前記左側部フレーム部分によって覆い隠される。すなわち、誘導レールの一部が覆い隠される。このように遊技球Bが一時的に視認困難となったとしても、それは、遊技球Bが遊技領域に案内される通過点に過ぎず、遊技者が主として遊技を楽しむ遊技領域において遊技球Bが視認困難となるわけではない。そのため、実際の遊技に際しては何ら支障が生じない。また、このような支障が生じない一方で、ガラス扉枠4の十分な強度及び支持強度が確保可能となっている。ちなみに、外レール13の左端位置と外枠2の左端位置との左右方向の距離は21mm、遊技領域の右端位置(内レール12の右端位置)と外枠2右端位置との左右方向の距離は44mmとなっている。また、ガラス扉枠4には、図5に示すように、その左右フレーム部分の裏側において、そのガラス扉枠4を補強するための例えば金属製の補強部材43,44が取り付けられている。   The shortest distance between the left end of the window 41 and the left end of the glass door frame 4 (so-called left and right width of the left frame portion) is relatively large in order to increase the strength and support strength of the glass door frame 4 itself. Is set. More specifically, as is apparent from a comparison between FIGS. 1 and 4, when the glass door frame 4 is closed, not only the left side of the outer rail 13 but also the left side of the inner rail 12 is the left side frame. Covered by part. That is, a part of the guide rail is obscured. Even if it becomes difficult to visually recognize the game ball B in this way, it is only a passing point where the game ball B is guided to the game area, and the game ball B is played in the game area where the player mainly enjoys the game. It is not difficult to see. Therefore, there is no trouble in actual game. Moreover, while such a trouble does not arise, sufficient intensity | strength and support strength of the glass door frame 4 are securable. Incidentally, the distance in the left-right direction between the left end position of the outer rail 13 and the left end position of the outer frame 2 is 21 mm, and the distance in the left-right direction between the right end position of the game area (the right end position of the inner rail 12) and the right end position of the outer frame 2 is 44 mm. Further, as shown in FIG. 5, for example, metal reinforcing members 43 and 44 for reinforcing the glass door frame 4 are attached to the glass door frame 4 on the back side of the left and right frame portions.

併せて、図1及び図4に示すように、ガラス扉枠4の存在していない前面枠3下部は、例えばABS(アクリロニトリル−ブタジエン−スチレン)樹脂よりなる下皿ユニット51となっている。下皿ユニット51の右下部からは、遊技球発射用ハンドル52が手前側に延設されている。また、下皿ユニット51のほぼ中央部には球受け皿としての景品球払出用の下皿53が設けられている。さらに、下皿ユニット51には下皿53の左側に隣接して灰皿56が設けられている。   In addition, as shown in FIGS. 1 and 4, the lower portion of the front frame 3 where the glass door frame 4 does not exist is a lower plate unit 51 made of, for example, ABS (acrylonitrile-butadiene-styrene) resin. A game ball launching handle 52 extends from the lower right side of the lower plate unit 51 to the front side. Also, a lower tray 53 for paying out a prize ball as a ball receiving tray is provided at a substantially central portion of the lower tray unit 51. Further, an ashtray 56 is provided in the lower tray unit 51 adjacent to the left side of the lower tray 53.

これに対し、ガラス扉枠4における窓部41下方の下部フレームには、上皿54が一体的に設けられている。上皿54は、合成樹脂を成形することによって製造され、ガラス扉枠4の払出し口45より払い出された遊技球及び遊技者により投入された遊技球を貯留する貯留部54a、払出し口45より払い出された遊技球を貯留部54aへ流入させる流入口54l、及び貯留部54aに貯留された遊技球をガラス扉枠4の供給穴49を通して発射装置31側へ供給する供給口54rを有し、流入口54l及び供給口54rの後端面においてガラス扉枠4にビス等を用いて取り付け固定されている。   On the other hand, the upper plate 54 is integrally provided in the lower frame below the window 41 in the glass door frame 4. The upper plate 54 is manufactured by molding a synthetic resin, and stores the game balls paid out from the payout opening 45 of the glass door frame 4 and the game balls thrown in by the player. An inlet 54l for allowing the paid game balls to flow into the storage portion 54a, and a supply port 54r for supplying the game balls stored in the storage portion 54a to the launching device 31 side through the supply holes 49 of the glass door frame 4 are provided. The rear end surfaces of the inlet 54l and the supply port 54r are attached and fixed to the glass door frame 4 using screws or the like.

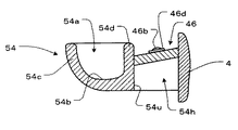
上皿54の貯留部54aは、流入口54l及び供給口54rに連続する底面部54bと、底面部54bの周囲を取り囲むように立設された前壁部54cと、底面部54bを挟んで前壁部54cと対向するように流入口54lと供給口54rとの間に立設され且つ前壁部54c側へ凸状となるようにに湾曲形成された後壁部54dとを有している。底面部54bは、左右方向に細長く且つガラス扉枠4から前方へ張り出すように形成されている。また、底面部54b後部の流入口54lと供給口54rとの間には前方側へ凹状をなす凹状輪郭部54uが形成され、上述した後壁部54dは凹状輪郭部54uに沿って立設されている。後壁部54dは、左右方向中央部でガラス扉枠4より数十mm程度(例えば、30〜50mm)前方側へ離間しており、後壁部54d背面とガラス扉枠4前面との間に空間部54hが形成される構造となっている。尚、図2(a)では、上皿54が取り付けられるガラス扉枠4を点線で示している。   The storage portion 54a of the upper plate 54 has a bottom surface portion 54b continuous to the inlet 54l and the supply port 54r, a front wall portion 54c erected so as to surround the periphery of the bottom surface portion 54b, and a front portion sandwiching the bottom surface portion 54b. A rear wall 54d is provided between the inlet 54l and the supply port 54r so as to face the wall 54c and is curved so as to be convex toward the front wall 54c. . The bottom surface portion 54b is elongated in the left-right direction and is formed to project forward from the glass door frame 4. Further, a concave contour portion 54u having a concave shape forward is formed between the inlet 54l at the rear of the bottom surface portion 54b and the supply port 54r, and the above-described rear wall portion 54d is erected along the concave contour portion 54u. ing. The rear wall portion 54d is spaced forward from the glass door frame 4 by about several tens of mm (for example, 30 to 50 mm) at the center in the left-right direction, and between the rear surface of the rear wall portion 54d and the front surface of the glass door frame 4. The space 54h is formed. In FIG. 2A, the glass door frame 4 to which the upper plate 54 is attached is indicated by a dotted line.

貯留部54aの底面部54b上には、後壁部54dの右側に、遊技球を一列に整列させて供給口54rより供給穴49を通して発射装置31側へ流下させる整流部54eが設けられている。整流部54eには、遊技球を後述する直線部54fへ誘導するための傾斜壁54kが、直線部54fを挟んで前壁部54c側及び後壁部54d側に形成されており、遊技球の流路が徐々に狭まる構造となっている。また、整流部54eには、底面部54b上で前後方向に延設され且つ前方側から供給穴49の位置する後方側に向かって下り傾斜する直線部54fが設けられ、この直線部54fの底面に細長い長方形状の金属板54mが装着されている。金属板54mは、遊技球の流れをスムーズにする機能、底面を補強して摩擦による削れを防止する機能、ノイズを防止する機能等を有している。また、金属板54mの下流端側には球抜き穴54jが形成されている。この球抜き穴54jは、通常の状態において直線部54fの底面裏側をスライド自在に設けられる開閉弁54iによって閉塞されており、開閉弁54iが前壁部54cに設けられる球抜きレバー54gの操作により移動されたときに、球抜き穴54jが開放されて貯留部54a内に貯留されていた遊技球を図示しない球抜き通路を介して下皿53に移動せしめるものである。   On the bottom surface portion 54b of the storage portion 54a, a rectifying portion 54e is provided on the right side of the rear wall portion 54d to align the game balls in a line and flow down from the supply port 54r to the launching device 31 side through the supply hole 49. . In the rectifying portion 54e, inclined walls 54k for guiding the game ball to the straight portion 54f to be described later are formed on the front wall portion 54c side and the rear wall portion 54d side with the straight portion 54f interposed therebetween. The flow path is gradually narrowed. Further, the straightening portion 54e is provided with a straight portion 54f that extends in the front-rear direction on the bottom surface portion 54b and inclines downward from the front side toward the rear side where the supply hole 49 is located, and the bottom surface of the straight portion 54f A thin and long rectangular metal plate 54m is attached. The metal plate 54m has a function of smoothing the flow of the game ball, a function of reinforcing the bottom surface to prevent scraping due to friction, a function of preventing noise, and the like. A ball hole 54j is formed on the downstream end side of the metal plate 54m. The ball removal hole 54j is closed by an open / close valve 54i slidably provided on the back side of the bottom surface of the linear portion 54f in a normal state, and the open / close valve 54i is operated by operating a ball release lever 54g provided on the front wall portion 54c. When moved, the ball removal hole 54j is opened and the game ball stored in the storage portion 54a is moved to the lower plate 53 via a ball removal passage (not shown).

ここで、上皿54の貯留部54aにおける遊技球Bの流れについて、図6を参照しつつ説明する。遊技球Bは、払出口45より払い出されると流入口54lより貯留部54a内に流入し、緩やかに右下がりに傾斜する底面部54bと、前壁部54c及び後壁部54dとに案内されて貯留部54a右側の供給口54rへ向かって転動して整流部54eに到達する。また、遊技者によって遊技球Bが貯留部54a内へ投入された場合も、同様に、底面部54b等に案内されて転動して整流部54eへ到達する。そして、遊技球Bは整流部54eの直線部54fを挟んで両側に設けられた傾斜壁54kによって誘導されて一列に整列されると共に、直線部54f上を下り傾斜する後方側(ガラス扉枠4側)へ転動して金属板54mの下流端より供給穴49へ流下する。供給穴49から球送り装置48へ供給された遊技球は、1個ずつ発射レール33に導かれ、発射装置31によって発射される。   Here, the flow of the game ball B in the storage part 54a of the upper plate 54 will be described with reference to FIG. When the game ball B is paid out from the payout opening 45, it flows into the storage part 54a from the inlet 54l, and is guided to the bottom face part 54b, the front wall part 54c, and the rear wall part 54d which are gently inclined downward to the right. Rolls toward the supply port 54r on the right side of the reservoir 54a and reaches the rectifier 54e. Similarly, when the game ball B is thrown into the storage part 54a by the player, the game ball B is guided by the bottom face part 54b or the like and rolls to reach the rectifying part 54e. The game balls B are guided by the inclined walls 54k provided on both sides of the straight portion 54f of the rectifying portion 54e and aligned in a line, and the rear side (the glass door frame 4 is inclined downward on the straight portion 54f). To the supply hole 49 from the downstream end of the metal plate 54m. The game balls supplied from the supply hole 49 to the ball feeder 48 are guided one by one to the launch rail 33 and are launched by the launcher 31.

ガラス扉枠4の窓部41下方において空間部54hを挟んで上皿54の後壁部54dに対向する領域には、遊技球の貸し出し関する操作を行うための貸球操作部46が設けられている。貸球操作部46は、図2(c)に示すように、遊技球の貸し出し可能状態をランプによって示す貸出ボタンランプ46a、遊技球の貸し出しを行うための貸出ボタン46b、プリペイドカード22の返却を行うための返却ボタン46c、プリペイドカード22の残り度数を表示する度数表示LED46dとを備えている。尚、図2(c)は、図2(b)におけるC線矢視方向における図である。また、貸出ボタン46b,返却ボタン46cがそれぞれ本発明の操作スイッチ及び遊技球の貸し出し機能に関連する貸球用操作スイッチを構成するものである。貸出ボタン46bが、遊技球の貸し出しを実行するための貸し出しスイッチを、返却ボタン46cが遊技球の貸し出しに用いる価値媒体の返却を実行するための返却スイッチをそれぞれ構成するものである。   In a region facing the rear wall portion 54d of the upper plate 54 across the space portion 54h below the window portion 41 of the glass door frame 4, a ball lending operation portion 46 for performing operations related to lending of game balls is provided. Yes. As shown in FIG. 2 (c), the lending operation unit 46 returns a lending button lamp 46a indicating a lending state of the game ball by a lamp, a lending button 46b for lending the game ball, and the prepaid card 22. A return button 46c for performing and a frequency display LED 46d for displaying the remaining frequency of the prepaid card 22 are provided. In addition, FIG.2 (c) is a figure in the C arrow direction in FIG.2 (b). Further, the lending button 46b and the return button 46c constitute the operation switch for lending related to the operation switch and the lending function of the game ball of the present invention, respectively. The lending button 46b constitutes a lending switch for executing the lending of the game ball, and the return button 46c constitutes a return switch for executing the return of the value medium used for lending the game ball.

遊技者側を基準としたとき、貸出ボタン46b及び返却ボタン46cは後壁部54dよりも奥に位置するため、遊技者が上皿54上で手を移動する際等に誤って貸出ボタン46b又は返却ボタン46cに触れて遊技球の貸し出し又はプリペイドカード22の返却が行われることが防止される。また、遊技者は、斜め上方から貸球操作部46を見ることができるので、度数表示LED46dにおける残り度数を確認することができ、貸出ボタン46b、返却ボタン46cを操作する際には、空間部54h上部に手を差し込むようにしてこれらのボタン46b、46cを押下することができる。さらに、図2(b)に示すように、後壁部54dの上縁が丸みを帯びた断面形状に形成されているので、極めて安全性が高い。例えば、貸出ボタン46b又は返却ボタン46cへ遊技者が指を移動させる際に後壁部54dに触れた場合にも、遊技者の指を傷つけることが防止される。   When the player side is used as a reference, the lending button 46b and the return button 46c are located behind the rear wall portion 54d. Therefore, when the player moves his / her hand on the upper plate 54, the lending button 46b or It is prevented that the game button is rented out or the prepaid card 22 is returned by touching the return button 46c. Further, since the player can see the ball rental operation unit 46 from obliquely above, the player can check the remaining frequency in the frequency display LED 46d. When operating the lending button 46b and the return button 46c, These buttons 46b and 46c can be pressed by inserting a hand into the upper part of 54h. Furthermore, as shown in FIG. 2 (b), the upper edge of the rear wall portion 54d is formed in a rounded cross-sectional shape, which is extremely safe. For example, even when the player touches the rear wall portion 54d when moving the finger to the lending button 46b or the return button 46c, the player's finger is prevented from being damaged.

ガラス扉枠4の周囲(例えばコーナー部分や窓部41の周縁)には、各種ランプ、LED等の発光手段を備えた電飾部材62が設けられている。これら電飾部材62は、大当り時や所定のリーチ時等の遊技状態の変化に応じて点灯、点滅のように発光手段の発光態様が変更制御され遊技中の演出効果を高める役割を果たすようになっている。特に、本実施形態では、窓部41の真下部分を含む窓部41周縁全周に亘って電飾部材62が配置されているため、極めて効果的な演出を行うことが可能となっている。勿論、これら電飾部材62を、遊技盤5に設ける構成(コーナー飾りと称される電飾部材62を遊技盤5のコーナー部等に配設する)としてもよいし、場合によっては前面枠3に設ける構成としてもよい。更には、前後一対のガラス42間に配設する構成としてもよい。   Around the glass door frame 4 (for example, the corner portion and the peripheral edge of the window portion 41), an electric decoration member 62 provided with light emitting means such as various lamps and LEDs is provided. The lighting members 62 are controlled so as to change the light emission mode of the light emitting means such as lighting and blinking according to the change of the gaming state such as a big hit or a predetermined reach so that the effect effect during the game is enhanced. It has become. In particular, in the present embodiment, since the illumination member 62 is arranged over the entire circumference of the window 41 including the portion directly below the window 41, it is possible to perform a very effective performance. Of course, these electrical decoration members 62 may be configured to be provided on the game board 5 (the electrical decoration members 62 called corner decorations are disposed at the corners of the game board 5). It is good also as a structure provided in. Furthermore, it is good also as a structure arrange | positioned between a pair of front and back glass 42. FIG.

また、周知のとおり、前面枠3が外枠2に対し閉じられると自動的にロックがかかるようになっており、所定のキー操作が行われることによりロックが解除されるようになっている。同様に、ガラス扉枠4が前面枠3に対し閉じられると自動的にロックがかかり、別途のキー操作が行われることによりロックが解除されるようになっている。このようにロック及びロック解除を行うためのロック機構が前面枠3の右下部、つまり下皿ユニット51の右端部に設けられている。ロック機構には、鍵穴を有するキーシリンダ(解除キー)55、前面枠3及び外枠2間でのロック及び解除を行うための第2ロック機構が含まれる。本実施の形態では、最も幅狭で、遊技領域の拡張を阻害する前面枠の右中央部ではなく、比較的にスペースにゆとりのある前面枠3の右下部に、キーシリンダ55をはじめとする上記ロック機構(特にキーシリンダ55)が配設されている。換言すれば、キーシリンダ55は、遊技領域の最大幅となる位置を避けて配置されている。このような構成により、遊技領域の拡張をより容易且つ確実に図ることができる。   Further, as is well known, when the front frame 3 is closed with respect to the outer frame 2, the lock is automatically applied, and the lock is released by performing a predetermined key operation. Similarly, when the glass door frame 4 is closed with respect to the front frame 3, the lock is automatically applied, and the lock is released by performing a separate key operation. Thus, the lock mechanism for performing locking and unlocking is provided at the lower right portion of the front frame 3, that is, at the right end portion of the lower dish unit 51. The lock mechanism includes a key cylinder (release key) 55 having a keyhole, and a second lock mechanism for locking and releasing between the front frame 3 and the outer frame 2. In the present embodiment, the key cylinder 55 and the like are provided at the lower right portion of the front frame 3 which is the narrowest and has a relatively large space, not the right center portion of the front frame which hinders expansion of the game area. The lock mechanism (particularly the key cylinder 55) is disposed. In other words, the key cylinder 55 is disposed so as to avoid the position that becomes the maximum width of the game area. With such a configuration, the game area can be expanded more easily and reliably.

勿論、最も幅狭な部分以外であれば、上記以外の部位に設けてもよく、例えば、前面枠3の右上部に設けるような構成としてもよい。また、上記例では、第1ロック機構及び第2ロック機構をキーシリンダ55でともにロック状態を解除可能としたが、それぞれの解除のためのキーシリンダを別体で設けることとしてもよい。   Of course, as long as it is other than the narrowest part, it may be provided in a part other than the above, and for example, it may be provided in the upper right part of the front frame 3. In the above example, both the first lock mechanism and the second lock mechanism can be released by the key cylinder 55, but the key cylinders for releasing each may be provided separately.

以上詳述したことから明らかなように、本実施形態によれば、パチンコ遊技機1において、上皿54の貯留部54aの一部を本体(具体的には、ガラス扉枠4)より離間して形成することによって貯留部54とガラス扉枠4との間に空間部54hを形成すると共に貯留部54aとガラス扉枠4との間に操作スイッチとしての貸出ボタン46b及び返却ボタン46cを備えた貸球操作部46を設けたので、これら貸出ボタン46b及び返却ボタン46cの誤操作を防止可能としつつ、ガラス扉枠4前面における部品設置スペースをより大きく確保することができる。すなわち、貸出ボタン46b及び返却ボタン46cが遊技者から視認容易な上皿54の貯留部54aとガラス扉枠4との間に設けられているので、これらのボタン46b、46cの押し間違えが確実に防止される。また、操作スイッチとしてのこれらのボタン46b、46cが、遊技者から見て上皿54の貯留部54aよりも奥に位置しているので、遊技者が姿勢を安定させたり貯留部54a内の遊技球を整流したりするために上皿54に置いた左手を移動する際等に、誤って手がボタン46b,46cに触れることが防止される。さらに、ガラス扉枠4前面における部品設置スペースをより大きくすることができるので、各種部材の大きさや配置の自由度が大幅に向上される。   As is clear from the above detailed description, according to the present embodiment, in the pachinko gaming machine 1, a part of the storage portion 54a of the upper plate 54 is separated from the main body (specifically, the glass door frame 4). And forming a space portion 54h between the storage portion 54 and the glass door frame 4 and providing a lending button 46b and a return button 46c as operation switches between the storage portion 54a and the glass door frame 4. Since the ball lending operation unit 46 is provided, it is possible to prevent an erroneous operation of the lending button 46b and the return button 46c, and to secure a larger part installation space on the front surface of the glass door frame 4. That is, since the lending button 46b and the return button 46c are provided between the storage portion 54a of the upper plate 54 and the glass door frame 4 that can be easily seen by the player, it is ensured that the buttons 46b and 46c are pressed incorrectly. Is prevented. Further, these buttons 46b and 46c as operation switches are located behind the storage portion 54a of the upper plate 54 when viewed from the player, so that the player can stabilize the posture or play the game in the storage portion 54a. When the left hand placed on the upper plate 54 is moved in order to rectify the sphere, the hand is prevented from accidentally touching the buttons 46b and 46c. Furthermore, since the component installation space on the front surface of the glass door frame 4 can be increased, the size of various members and the degree of freedom of arrangement are greatly improved.

また、貯留部54aとガラス扉枠4との間に設けられた貸球操作部46は、遊技球の貸し出し可能状態を表示する貸出可能状態表示部としての貸出ボタンランプ46aを備えているので、遊技球の貸し出し可能状態を容易に確認できる。また、貸球操作部46は、遊技球の貸し出しに用いる価値媒体における価値の残高(プリペイドカード22の残り度数)を表示する残高表示部としての度数表示LED46dを設けたので、プリペイドカード22の残り度数を容易に確認できる。さらに、これらの貸出ボタンランプ46aや度数表示LED46dが貯留部54aとガラス扉枠4との間に設けられることによって、ガラス扉枠4前面における部品設置スペースをより大きく確保することができる。   In addition, the lending operation unit 46 provided between the storage unit 54a and the glass door frame 4 includes a lending button lamp 46a as a lending possible state display unit that displays a lending possible state of the game ball. The rentable state of game balls can be easily confirmed. In addition, the ball lending operation unit 46 is provided with the frequency display LED 46d as a balance display unit for displaying the balance of the value in the value medium used for lending the game ball (the remaining frequency of the prepaid card 22). The frequency can be easily confirmed. Furthermore, the lending button lamp 46a and the frequency display LED 46d are provided between the storage portion 54a and the glass door frame 4, so that a larger component installation space on the front surface of the glass door frame 4 can be secured.

また、貯留部54aの後端で左右に離間して設けられた流入口54lと供給口54rとの間に空間部54hを形成したので、空間部54hのサイズを大きくして各種部材の設置領域等をより大きく確保することができる。また、空間部54hが貯留部54aの左右方向中央に形成されているので、貯留部54aを構成する樹脂部材において左右均等な強度を確保することができる。また、貯留部54aの全体形状が流入口54l側と供給口54r側とを両端とし且つ前方側へ湾曲するアーチ状に形成されているので、アーチ形状の内周側部分となる貯留部54aとガラス扉枠4との間に確実に空間部54hを形成することができる。   In addition, since the space portion 54h is formed between the inlet 54l and the supply port 54r provided at the rear end of the storage portion 54a so as to be separated from each other in the left-right direction, the size of the space portion 54h is increased to install various members. Etc. can be secured larger. Moreover, since the space part 54h is formed in the center of the storage part 54a in the left-right direction, the left and right strength can be ensured in the resin member constituting the storage part 54a. Further, since the entire shape of the storage portion 54a is formed in an arch shape with both the inlet 54l side and the supply port 54r side as both ends and curved forward, the storage portion 54a serving as the inner peripheral side portion of the arch shape The space 54h can be reliably formed between the glass door frame 4.

また、底面部54b上には整流部54eが設けられ、整流部54eには遊技球誘導用の傾斜壁54kが形成されて遊技球の流路が徐々に狭まっているので、貯留された遊技球を一列に整列させて供給口54rより発射装置31側へ確実に流下させることができる。特に、遊技球誘導用の傾斜壁54kが前壁部54c側だけでなく、後壁部54d側にも形成されているので、遊技球が後壁部54d側で滞ることなく供給口54rに向かって誘導される。   In addition, a rectifying unit 54e is provided on the bottom surface part 54b, and an inclined wall 54k for guiding a game ball is formed on the rectifying unit 54e so that the flow path of the game ball is gradually narrowed. Can be surely flowed down from the supply port 54r to the launching device 31 side. In particular, since the inclined wall 54k for guiding the game ball is formed not only on the front wall portion 54c side but also on the rear wall portion 54d side, the game ball faces the supply port 54r without stagnation on the rear wall portion 54d side. Be guided.

また、整流部54eは、底面部54b上で前後方向に延設され且つ前方側から供給口54rが設けられる後方側に向かって下り傾斜する直線部54fを備えている。よって、流入口54lから底面部54b上に流入した遊技球は、前壁部54c側へ凸状に形成された後壁部54dを迂回して供給口54rへ向かう経路に沿って転動し、整流部54eの直線部54fにおいて一列に円滑に整列されて供給口54rより発射装置31側へ確実に流下する。   The rectifying unit 54e includes a linear part 54f that extends in the front-rear direction on the bottom surface part 54b and slopes downward from the front side toward the rear side where the supply port 54r is provided. Therefore, the game ball that has flowed into the bottom surface portion 54b from the inlet 54l rolls along the path toward the supply port 54r, bypassing the rear wall portion 54d formed in a convex shape toward the front wall portion 54c, The straight portions 54f of the rectifying portion 54e are smoothly aligned in a line and reliably flow down from the supply port 54r to the launching device 31 side.

次に、本発明の第二の実施形態について、図7を参照しつつ説明する。第二の実施形態は、複数種類の図柄が表示された複数の回転リールを有し、各回転リールの回転停止時の図柄の組合わせに基づく入賞態様に応じて遊技球が払い出されるパチロット遊技機(以下、単に「パチロット機」と称する)である。本実施形態のパチロット機101は、図7に示すように、正面側に開口すると共に、複数種類の図柄が表示された図示しない複数(3個)の回転リールが収容される本体枠120と、本体枠120の前面を覆うように開閉可能に取り付けられ、各回転リールの図柄を視認可能な表示窓163を設けた合成樹脂製のフロントパネル160とを備えている。また、パチロット機101には、上述した第一の実施形態と同様に、カードユニット20が隣接配置され且つ電気的に接続されている。   Next, a second embodiment of the present invention will be described with reference to FIG. The second embodiment has a plurality of rotating reels on which a plurality of types of symbols are displayed, and a pachilot gaming machine in which game balls are paid out according to a winning mode based on a combination of symbols when rotation of each rotating reel is stopped (Hereinafter simply referred to as “pachilot machine”). As shown in FIG. 7, the pachilot machine 101 of the present embodiment has a main body frame 120 that opens on the front side and accommodates a plurality (three) of rotating reels (not shown) on which a plurality of types of symbols are displayed, A synthetic resin front panel 160 provided with a display window 163 that is attached so as to be openable and closable so as to cover the front surface of the main body frame 120 and can visually recognize the design of each rotary reel. Further, the card unit 20 is disposed adjacent to and electrically connected to the pachilot machine 101, as in the first embodiment described above.

また、フロントパネル160には、装飾ランプ162、前方へ突出する台状に形成された上皿154、払い出された遊技球又は上皿154より誘導された遊技球を受けて貯留する下皿170等が設けられている。上皿154の上面には、各回転リールの回転停止時の図柄の組合わせに基づく入賞態様に応じてフロントパネル160の払出し口145より払い出された遊技球及び遊技者により投入された遊技球を貯留する貯留部154a、払出し口145より払い出された遊技球を貯留部154aへ流入させる流入口154l、及び貯留部154aに貯留された遊技球をフロントパネル160の供給穴149を通して本体側へ供給する供給口154rが設けられている。   The front panel 160 also has a decorative lamp 162, an upper plate 154 formed in a base shape protruding forward, a lower game plate 170 that receives and stores the game balls that are paid out or the game balls guided from the upper plate 154. Etc. are provided. On the upper surface of the upper plate 154, game balls paid out from the payout port 145 of the front panel 160 and game balls thrown in by the player according to the winning mode based on the combination of symbols when the rotation of each rotary reel is stopped. Are stored in the storage portion 154a, the inflow port 154l into which the game ball paid out from the payout port 145 flows into the storage portion 154a, and the game ball stored in the storage portion 154a through the supply hole 149 of the front panel 160 to the main body side. A supply port 154r for supply is provided.

上皿154の貯留部154aは、流入口154l及び供給口154rに連続する底面部154bと、底面部154bの周囲を取り囲むように立設された前壁部154cと、底面部154bを挟んで前壁部154cと対向するように流入口154lと供給口154rとの間に立設され且つ前壁部154c側へ凸状となるように湾曲形成された後壁部154dとを有している。底面部154bは、左右方向に細長く且つ本体側から前方へ張り出すように形成されている。また、底面部154b後部の流入口154lと供給口154rとの間には前方側へ凹状をなす凹状輪郭部が形成され、上述した後壁部154dは凹状輪郭部に沿って立設されている。後壁部154dは、左右方向中央部でフロントパネル160より数十mm程度(例えば、30〜50mm)前方側へ離間しており、後壁部154dとフロントパネル160との間に空間部154hが形成される構造となっている。   The storage part 154a of the upper plate 154 includes a bottom surface part 154b continuous with the inflow port 154l and the supply port 154r, a front wall part 154c erected so as to surround the periphery of the bottom surface part 154b, and a front surface across the bottom surface part 154b. A rear wall 154d is provided between the inlet 154l and the supply port 154r so as to face the wall 154c and is curved so as to be convex toward the front wall 154c. The bottom surface portion 154b is elongated in the left-right direction and is formed so as to protrude forward from the main body side. Further, a concave contour portion that is concave toward the front side is formed between the inlet 154l and the supply port 154r at the rear of the bottom surface portion 154b, and the rear wall portion 154d described above is erected along the concave contour portion. . The rear wall portion 154d is spaced forward from the front panel 160 by several tens of mm (for example, 30 to 50 mm) at the center in the left-right direction, and a space portion 154h is provided between the rear wall portion 154d and the front panel 160. The structure is formed.

フロントパネル160において空間部154hを挟んで上皿154の後壁部154dに対向する領域には、遊技球の貸し出し関する操作を行うための貸球操作部146が設けられている。貸球操作部146は、遊技球の貸し出し可能状態をランプによって示す貸出ボタンランプ146a、遊技球の貸し出しを行うための貸出ボタン146b、プリペイドカード22の返却を行うための返却ボタン146c、プリペイドカード22の残り度数を表示する度数表示LED146dとを備えている。遊技者側を基準としたとき、貸出ボタン146b及び返却ボタン146cは後壁部154dよりも奥に位置するため、遊技者が上皿154上で手を移動する際等に誤って貸出ボタン146b又は返却ボタン146cに触れて遊技球の貸し出し又はプリペイドカード22の返却が行われることが防止される。また、遊技者は、斜め上方から貸球操作部146を見ることができるので、度数表示LED146dにおける残り度数を確認することができ、貸出ボタン146b、返却ボタン146cを操作する際には、空間部154h上部に手を差し込むようにしてこれらのボタン146b、146cを押下することができる。   In a region of the front panel 160 facing the rear wall portion 154d of the upper plate 154 across the space portion 154h, a ball rental operation portion 146 for performing an operation related to rental of game balls is provided. The lending operation unit 146 includes a lending button lamp 146a that indicates a rentable state of the game ball by a lamp, a lending button 146b for lending the game ball, a return button 146c for returning the prepaid card 22, and a prepaid card 22 And a frequency display LED 146d for displaying the remaining frequency. When the player side is used as a reference, the lending button 146b and the return button 146c are located behind the rear wall portion 154d. Therefore, when the player moves his / her hand on the upper plate 154, the lending button 146b or It is prevented that the game ball is rented out or the prepaid card 22 is returned by touching the return button 146c. Further, since the player can see the ball lending operation unit 146 obliquely from above, the player can check the remaining frequency in the frequency display LED 146d, and when operating the lending button 146b and the return button 146c, the space portion These buttons 146b and 146c can be pressed by inserting a hand into the upper part of 154h.

また、前壁部154cの上面には、クレジットされている遊技球を投入するためのベットスイッチ165や、クレジットされている遊技球を払い出すためのキャンセルスイッチ166が設けられている。また、前壁部154cの前面は操作部164となっており、回転リールの回転起動操作を行うスタートレバー167、及び左・中・右の回転リールにそれぞれ対応して設けられたストップスイッチ168が設けられている。   In addition, a bet switch 165 for inserting a credited game ball and a cancel switch 166 for paying out the credited game ball are provided on the upper surface of the front wall portion 154c. Further, the front surface of the front wall portion 154c is an operation portion 164, which includes a start lever 167 for performing rotation start operation of the rotary reel, and a stop switch 168 provided corresponding to each of the left, middle, and right rotary reels. Is provided.

以上詳述したことから明らかなように、本実施形態によれば、パチロット遊技機101において、上皿154の貯留部154aの一部を本体(具体的には、フロントパネル160)より離間して形成することによって貯留部154とフロントパネル160との間に空間部154hを形成すると共に貯留部154aとフロントパネル160との間に操作スイッチとしての貸出ボタン146b及び返却ボタン146cを備えた貸球操作部146を設けたので、これら貸出ボタン146b及び返却ボタン146cの誤操作を防止可能としつつ、フロントパネル160前面における部品設置スペースをより大きく確保することができる。すなわち、貸出ボタン146b及び返却ボタン146cが遊技者から視認容易な上皿154の貯留部154aとフロントパネル160との間に設けられているので、これらのボタン146b、146cの押し間違えが確実に防止される。また、操作スイッチとしてのこれらのボタン146b、146cが、遊技者から見て上皿154の貯留部154aよりも奥に位置しているので、遊技者が姿勢を安定させたり貯留部154a内の遊技球を整流したりするために上皿154に置いた左手を移動する際等に、誤って手がボタン146b,146cに触れることが防止される。さらに、フロントパネル160前面における部品設置スペースをより大きくすることができるので、各種部材の大きさや配置の自由度が大幅に向上される。   As is clear from the above detailed description, according to this embodiment, in the pachilot gaming machine 101, a part of the storage portion 154a of the upper plate 154 is separated from the main body (specifically, the front panel 160). Forming a space portion 154h between the storage portion 154 and the front panel 160, and a lending operation including a lending button 146b and a return button 146c as operation switches between the storage portion 154a and the front panel 160. Since the portion 146 is provided, it is possible to prevent the erroneous operation of the lending button 146b and the return button 146c, and to secure a larger component installation space on the front surface of the front panel 160. That is, since the lending button 146b and the return button 146c are provided between the storage portion 154a of the upper plate 154 and the front panel 160 that are easily visible to the player, it is possible to reliably prevent the buttons 146b and 146c from being pressed incorrectly. Is done. Further, these buttons 146b and 146c as operation switches are located behind the storage part 154a of the upper plate 154 when viewed from the player, so that the player can stabilize the posture or play the game in the storage part 154a. When the left hand placed on the upper plate 154 is moved to rectify the sphere, the hand is prevented from accidentally touching the buttons 146b and 146c. Furthermore, since the component installation space on the front surface of the front panel 160 can be increased, the size of various members and the degree of freedom in arrangement are greatly improved.

また、貯留部154aの後端で左右に離間して設けられた流入口154lと供給口154rとの間に空間部154hを形成したので、空間部154hのサイズを大きくして各種部材の設置領域等をより大きく確保することができる。また、空間部154hが貯留部154aの左右方向中央に形成されているので、貯留部154aを構成する樹脂部材において左右均等な強度を確保することができる。また、貯留部154aの全体形状が流入口154l側と供給口154r側とを両端とし且つ前方側へ湾曲するアーチ状に形成されているので、アーチ形状の内周側部分となる貯留部154aとフロントパネル160との間に確実に空間部154hを形成することができる。   In addition, since the space portion 154h is formed between the inlet 154l and the supply port 154r that are spaced apart from each other at the rear end of the storage portion 154a, the size of the space portion 154h can be increased to install various members. Etc. can be secured larger. In addition, since the space portion 154h is formed at the center in the left-right direction of the storage portion 154a, the left and right strength can be ensured in the resin member constituting the storage portion 154a. In addition, since the entire shape of the storage portion 154a is formed in an arch shape with both the inlet 154l side and the supply port 154r side as both ends and curved forward, the storage portion 154a serving as an inner peripheral side portion of the arch shape The space 154h can be reliably formed between the front panel 160 and the front panel 160.

尚、本発明は上述した各実施の形態に限定されるものではなく、本発明の主旨を逸脱しない範囲で種々の変更を施すことが可能である。例えば、前記第一の実施形態では、上皿54の後壁部54dとガラス扉枠4との間に形成された空間には、貸球操作部46を設けた例を示したが、これには限られず、遊技領域の一部、電飾部材、貸球操作部、液晶表示装置等の各種部材の設置スペースとして活用することが考えられる。   The present invention is not limited to the above-described embodiments, and various modifications can be made without departing from the spirit of the present invention. For example, in the first embodiment, the example in which the ball rental operation portion 46 is provided in the space formed between the rear wall portion 54d of the upper plate 54 and the glass door frame 4 is shown. However, it may be used as an installation space for various members such as a part of a game area, an electric decoration member, a ball rental operation unit, and a liquid crystal display device.

また、前記第一の実施形態では、ガラス扉枠4に上皿54が設けられる例を示したが、ガラス扉枠の下方に別体で前面枠3に対して開閉可能な上皿板を設け、その上皿板に上皿54を設ける構成のパチンコ機に対して本発明を適用してもよい。尚、本変形例において、上皿板が本発明の開閉枠を構成するものである。或いは、第一の実施形態において、上皿54を開閉枠としてのガラス扉枠4や上皿板に設けることなく、前面枠3に設ける構成としてもよい。同様に、第二の実施形態では、上皿154を開閉枠としてのフロントパネル160に設けることなく、本体枠120に設ける構成としてもよい。   In the first embodiment, the upper plate 54 is provided on the glass door frame 4. However, an upper plate that can be opened and closed with respect to the front frame 3 is provided below the glass door frame. The present invention may be applied to a pachinko machine configured to provide the upper plate 54 on the upper plate. In this modified example, the upper plate constitutes the open / close frame of the present invention. Alternatively, in the first embodiment, the upper plate 54 may be provided on the front frame 3 without being provided on the glass door frame 4 or the upper plate as an opening / closing frame. Similarly, in 2nd embodiment, it is good also as a structure provided in the main body frame 120, without providing the upper plate 154 in the front panel 160 as an opening-and-closing frame.

また、前記第一の実施形態では、貯留部54aの整流部54eに直線部54fを前後方向に設ける構成としたが、図8(a)に示す第1の変形例のように、ガラス扉枠4に対して斜め方向に延設され且つ前方側から後方側に向かって下り傾斜する直線部54nを設け、この直線部54nを挟んで前壁部54c側及び後壁部54d側に傾斜壁54kを設ける構成としてもよい。本変形例によれば、図8(b)に示すように、遊技球Bは、払出口45より払い出されると流入口54lより貯留部54a内に流入し、緩やかに右下がりに傾斜する底面部54b,前壁部54c及び後壁部54dに案内され、前壁部54c側へ凸状に形成された後壁部54dを迂回して供給口54rへ向かう経路に沿って転動して貯留部54a右側の整流部54eに到達する。また、遊技者によって遊技球Bが貯留部54a内へ投入された場合も、同様に、底面部54b等に案内されて転動して整流部54eへ到達する。そして、遊技球Bは直線部54nの両側に設けられた傾斜壁54kによって誘導されて一列に整列されると共に、直線部54n上を下り傾斜する後方側(ガラス扉枠4側)へ転動して金属板54mの下流端より供給穴49へ流下する。   In the first embodiment, the straight portion 54f is provided in the front-rear direction on the rectifying portion 54e of the storage portion 54a. However, as in the first modification shown in FIG. A straight portion 54n extending obliquely with respect to 4 and inclined downward from the front side toward the rear side is provided, and the inclined wall 54k is provided on the front wall portion 54c side and the rear wall portion 54d side across the straight portion 54n. It is good also as a structure which provides. According to this modification, as shown in FIG. 8 (b), when the game ball B is paid out from the payout opening 45, it flows into the storage portion 54a from the inflow port 54l, and is a bottom surface portion that gently slopes downwardly to the right. 54b, the front wall portion 54c and the rear wall portion 54d are guided along the front wall portion 54c so as to bypass the rear wall portion 54d and roll along a path toward the supply port 54r. It reaches the rectifying unit 54e on the right side of 54a. Similarly, when the game ball B is thrown into the storage part 54a by the player, the game ball B is guided by the bottom face part 54b or the like and rolls to reach the rectifying part 54e. The game balls B are guided by the inclined walls 54k provided on both sides of the straight part 54n and aligned in a line, and roll to the rear side (the glass door frame 4 side) inclined downward on the straight part 54n. Then, it flows down to the supply hole 49 from the downstream end of the metal plate 54m.

また、図9(a)に示す第2の変形例のように、底面部54b上で流入口54lから供給口54rに至る曲線状の経路に沿って延設され且つ前方側から供給口54rが設けられる後方側に向かって下り傾斜する曲線部54oを設け、この曲線部54oを挟んで前壁部54c側及び後壁部54d側に傾斜壁54kを設ける構成としてもよい。本変形例によれば、図9(b)に示すように、遊技球Bは、払出口45より払い出されると流入口54lより貯留部54a内に流入し、緩やかに右下がりに傾斜する底面部54b,前壁部54c及び後壁部54dに案内され、前壁部54c側へ凸状に形成された後壁部54dを迂回して供給口54rへ向かう経路に沿って転動して貯留部54a右側の整流部54eに到達する。また、遊技者によって遊技球Bが貯留部54a内へ投入された場合も、同様に、底面部54b等に案内されて転動して整流部54eへ到達する。そして、遊技球Bは曲線部54oの両側に設けられた傾斜壁54kによって誘導されて一列に整列されると共に、曲線部54o上を下り傾斜する後方側(ガラス扉枠4側)へ転動して金属板54mの下流端より供給穴49へ流下する。   Further, as in the second modification shown in FIG. 9A, the supply port 54r extends from the front side and extends along a curved path from the inlet 54l to the supply port 54r on the bottom surface 54b. A curved portion 54o that slopes downward toward the rear side may be provided, and a sloped wall 54k may be provided on the front wall portion 54c side and the rear wall portion 54d side across the curved portion 54o. According to this modified example, as shown in FIG. 9B, when the game ball B is paid out from the payout opening 45, it flows into the storage portion 54a from the inflow port 54l, and the bottom surface portion gently inclines to the right. 54b, the front wall portion 54c and the rear wall portion 54d are guided along the front wall portion 54c so as to bypass the rear wall portion 54d and roll along a path toward the supply port 54r. It reaches the rectifying unit 54e on the right side of 54a. Similarly, when the game ball B is thrown into the storage part 54a by the player, the game ball B is guided by the bottom face part 54b or the like and rolls to reach the rectifying part 54e. The game balls B are guided by the inclined walls 54k provided on both sides of the curved portion 54o and aligned in a line, and roll to the rear side (the glass door frame 4 side) inclined downward on the curved portion 54o. Then, it flows down to the supply hole 49 from the downstream end of the metal plate 54m.

また、図10(a)に示す第3の変形例のように、底面部54b上で供給口54rに対して流入口54lとは反対側(右側)にて左右方向に延設され且つ供給口54rが設けられる左方向に向かって下り傾斜する直線部54pを設け、この直線部54pを挟んで前壁部54c側及び後壁部54d側に傾斜壁54kを設ける構成としてもよい。本変形例によれば、図10(b)に示すように、遊技球Bは、払出口45より払い出されると流入口54lより貯留部54a内に流入し、緩やかに右下がりに傾斜する底面部54b,前壁部54c及び後壁部54dに案内され、前壁部54c側へ凸状に形成された後壁部54dを迂回して供給口54rへ向かう経路に沿って転動して貯留部54a右側の整流部54eに到達する。また、遊技者によって遊技球Bが貯留部54a内へ投入された場合も、同様に、底面部54b等に案内されて転動して整流部54eへ到達する。そして、遊技球Bは直線部54pの両側に設けられた傾斜壁54kによって誘導されて一列に整列されると共に、直線部54p上を下り傾斜する左側へ転動して金属板54mの下流端より供給穴49へ流下する。   Further, as in the third modified example shown in FIG. 10A, the supply port is extended in the left-right direction on the side (right side) opposite to the inlet 54l with respect to the supply port 54r on the bottom surface portion 54b. A straight portion 54p inclined downward toward the left where 54r is provided may be provided, and inclined walls 54k may be provided on the front wall portion 54c side and the rear wall portion 54d side with the straight portion 54p interposed therebetween. According to this modification, as shown in FIG. 10 (b), when the game ball B is paid out from the payout opening 45, it flows into the storage portion 54a from the inflow port 54l, and is a bottom surface portion that gently slopes downwardly to the right. 54b, the front wall portion 54c and the rear wall portion 54d are guided along the front wall portion 54c so as to bypass the rear wall portion 54d and roll along a path toward the supply port 54r. It reaches the rectifying unit 54e on the right side of 54a. Similarly, when the game ball B is thrown into the storage part 54a by the player, the game ball B is guided by the bottom face part 54b or the like and rolls to reach the rectifying part 54e. The game balls B are guided by the inclined walls 54k provided on both sides of the straight portion 54p and aligned in a row, and roll to the left side inclined downward on the straight portion 54p from the downstream end of the metal plate 54m. It flows down to the supply hole 49.

また、前記第一の実施形態では、ガラス扉枠4において上皿54の後壁部54dと対向する領域に、正面に向けて貸球操作部46を配置する構成としたが、貸球操作部46を所定角度上向きに傾斜させて配置する構成としてもよい。例えば、第4の変形例では、図11(a)の貸球操作部46付近の斜視図及び本変形例の上皿の図2(b)相当の断面図に示すように、貸球操作部46が、ガラス扉枠4における後壁部54dに対向する面において上向きに傾斜させて配置され、貸球操作部46が遊技者の目線方向となるので、遊技者がより一層容易に貸出ボタン46b及び返却ボタン46cを視認することが可能となり、貸出ボタン46b及び返却ボタン46cの操作性向上を図ることができる。さらに、貸出ボタンランプ46aにおける貸し出し可能状態の確認や度数表示LED46dにおけるプリペイドカード22の残り度数の確認もより一層容易に行うことができる。   Moreover, in said 1st embodiment, although it was set as the structure which arrange | positions the ball rental operation part 46 toward the front in the area | region facing the rear wall part 54d of the top plate 54 in the glass door frame 4, a ball rental operation part 46 may be arranged so as to be inclined upward by a predetermined angle. For example, in the fourth modified example, as shown in a perspective view of the vicinity of the renting operation unit 46 in FIG. 11A and a cross-sectional view corresponding to FIG. 46 is arranged to be inclined upward on the surface of the glass door frame 4 facing the rear wall portion 54d, and the ball lending operation portion 46 is in the player's line of sight, so that the player can more easily lend the button 46b. And the return button 46c can be visually recognized, and the operability of the lending button 46b and the return button 46c can be improved. Furthermore, confirmation of the lending possible state in the lending button lamp 46a and confirmation of the remaining frequency of the prepaid card 22 in the frequency display LED 46d can be performed more easily.

また、前記第一実施の形態では、上皿54の後壁部54dと対向するガラス扉枠4上を部品設置領域として活用した例を示したが、後壁部54dとガラス扉枠4との間に形成された空間部54hの上面を塞ぐカバー部材を設け、そのカバー部材を各種部材の設置領域等として活用するように構成してもよい。例えば、第5の変形例では、図12(a)の上皿の平面図及び(b)のD−D線断面図に示すように、空間部54hの上面を樹脂製のカバー部材47で塞ぎ、このカバー部材47上に貸球操作部46を水平に設ける構成としたものである。本変形例においても、貸球操作部46の誤操作を防止可能としつつ、ガラス扉枠4の前面に設けられる各種部材の大きさや配置の自由度が大幅に向上される。   In the first embodiment, the example in which the upper part of the glass door frame 4 facing the rear wall part 54d of the upper plate 54 is used as a component installation area is shown. However, the rear wall part 54d and the glass door frame 4 A cover member that covers the upper surface of the space portion 54h formed therebetween may be provided, and the cover member may be used as an installation area for various members. For example, in the fifth modification, as shown in the plan view of the upper plate in FIG. 12A and the sectional view taken along the line DD in FIG. 12B, the upper surface of the space 54h is closed with a resin cover member 47. The lending operation section 46 is provided horizontally on the cover member 47. Also in this modification, the size of various members provided on the front surface of the glass door frame 4 and the degree of freedom of arrangement can be greatly improved while making it possible to prevent erroneous operation of the lending operation unit 46.

或いは、図13に図2(b)相当の断面図を示す第6の変形例のように、空間部54hの上面に樹脂製のカバー部材47を所定角度前向きに傾斜させた状態で塞ぐことにより、貸球操作部46を所定角度前向きに傾斜させて配置する構成としてもよい。本変形例では、貸球操作部46が遊技者の目線方向となるので、貸出ボタン46b及び返却ボタン46cを視認することが可能となり、貸出ボタン46b及び返却ボタン46cの操作性向上を図ることができる。さらに、貸出ボタンランプ46aにおける貸し出し可能状態の確認や度数表示LED46dにおけるプリペイドカード22の残り度数の確認もより一層容易に行うことができる。   Alternatively, as shown in FIG. 13 showing a cross-sectional view corresponding to FIG. 2B, the resin cover member 47 is closed on the upper surface of the space 54h in a state where the cover member 47 is inclined forward by a predetermined angle. The lending operation unit 46 may be arranged to be inclined forward by a predetermined angle. In this modification, since the lending operation unit 46 is in the direction of the player's line of sight, the lending button 46b and the return button 46c can be visually recognized, and the operability of the lending button 46b and the return button 46c can be improved. it can. Furthermore, confirmation of the lending possible state in the lending button lamp 46a and confirmation of the remaining frequency of the prepaid card 22 in the frequency display LED 46d can be performed more easily.

また、図14に図2(b)相当の断面図を示す第7の変形例のように、貸球操作部46が後壁部54dの上端よりも下方に位置する構成としてもよい。本変形例によれば、遊技者が姿勢を安定させたり貯留部54a内の遊技球を整流したりするために上皿54に置いた左手を移動する際等に、誤って手が貸出ボタン46bや返却ボタン46cに触れることがより確実に防止される。尚、前記第二の実施形態に対しても第5乃至第7の変形例と同様に空間部154hの上面を塞ぐカバー部材を設け、そのカバー部材を貸球操作部146の設置領域等として活用するように構成してもよい。   14 may be configured such that the lending operation portion 46 is positioned below the upper end of the rear wall portion 54d, as in a seventh modified example showing a cross-sectional view corresponding to FIG. According to this modification, when the player moves the left hand placed on the upper plate 54 in order to stabilize the posture or to rectify the game ball in the storage portion 54a, the hand is mistakenly lent out. Or touching the return button 46c is more reliably prevented. As in the fifth to seventh modifications, a cover member that covers the upper surface of the space 154h is provided for the second embodiment, and the cover member is used as an installation area for the lending operation unit 146. You may comprise.

さらに、前記第一の実施形態では、貸球操作部46を上皿54の貯留部54aと本体との間に設けた例を示したが、パチンコ機1本体において実行される遊技内容に関連する遊技用操作スイッチが設けられる場合、この遊技用操作スイッチを貯留部54aとパチンコ機1本体(ガラス扉枠4)との間に配置する構成としてもよい。このように構成することにより、遊技用操作スイッチの誤操作を防止可能としつつ、本体前面における部品設置スペースをより大きく確保することができる。尚、前記第二の実施形態についても同様に、遊技用操作スイッチを貯留部54aとパチロット機101本体(フロントパネル160)との間に配置する構成としてもよい。   Further, in the first embodiment, the example in which the lending operation unit 46 is provided between the storage unit 54a of the upper plate 54 and the main body has been described, but it relates to the game content executed in the main body of the pachinko machine 1. When a game operation switch is provided, the game operation switch may be arranged between the storage portion 54a and the pachinko machine 1 main body (glass door frame 4). By configuring in this way, it is possible to prevent an erroneous operation of the game operation switch and to secure a larger component installation space on the front surface of the main body. Similarly, in the second embodiment, a game operation switch may be arranged between the storage portion 54a and the main body of the pattylot machine 101 (front panel 160).

本発明は、遊技球を媒体として所定の遊技が実行されると共に遊技球を賞球として上皿へ払い出すように構成され且つ遊技者によって操作される操作スイッチを備えたパチンコ遊技機やパチロット遊技機等の各種遊技機に適用可能である。   The present invention relates to a pachinko gaming machine or a pacilot game that is configured to execute a predetermined game using a game ball as a medium and to pay out the game ball as a prize ball to an upper plate and to be operated by a player. It can be applied to various gaming machines such as machines.

第一の実施形態としてのパチンコ機の正面側における斜視図である。It is a perspective view in the front side of the pachinko machine as a first embodiment. (a)は上皿の平面図、(b)は(a)の上皿のA−A線断面図、(c)は(b)におけるC線矢視方向における貸球操作部の正面図である。(A) is a plan view of the upper plate, (b) is a cross-sectional view taken along the line AA of the upper plate of (a), and (c) is a front view of the lending operation unit in the direction of arrow C in (b). is there. パチンコ機の背面側における斜視図である。It is a perspective view in the back side of a pachinko machine. ガラス扉枠を開放した状態における前面枠、遊技盤等を示す正面図である。It is a front view which shows the front frame, game board, etc. in the state which open | released the glass door frame. ガラス扉枠を示す背面図である。It is a rear view which shows a glass door frame. 上皿における遊技球の流れを示す説明図である。It is explanatory drawing which shows the flow of the game ball in an upper plate. 第二の実施形態としてのパチロット機を示す正面図である。It is a front view which shows the pachilot machine as 2nd embodiment. (a)は第一の実施形態の第1の変形例における上皿の平面図、(b)は(a)の上皿における遊技球の流れを示す説明図である。(A) is a top view of the upper plate in the 1st modification of 1st embodiment, (b) is explanatory drawing which shows the flow of the game ball in the upper plate of (a). (a)は第一の実施形態の第2の変形例における上皿の平面図、(b)は(a)の上皿における遊技球の流れを示す説明図である。(A) is a top view of the upper plate in the 2nd modification of 1st embodiment, (b) is explanatory drawing which shows the flow of the game ball in the upper plate of (a). (a)は第一の実施形態の第3の変形例における上皿の平面図、(b)は(a)の上皿における遊技球の流れを示す説明図である。(A) is a top view of the top plate in the 3rd modification of 1st embodiment, (b) is explanatory drawing which shows the flow of the game ball in the top plate of (a). 第一の実施形態の第4の変形例における貸球操作部付近の斜視図及び上皿の断面図である。It is a perspective view near the ball rental operation part in the 4th modification of a first embodiment, and a sectional view of an upper plate. (a)は第一の実施形態の第5の変形例における上皿の平面図、(b)は(a)の上皿のD−D線断面図である。(A) is a top view of the top plate in the 5th modification of 1st embodiment, (b) is the DD sectional view taken on the line of the top plate of (a). 第一の実施形態の第6の変形例における上皿の断面図である。It is sectional drawing of the top plate in the 6th modification of 1st embodiment. 第一の実施形態の第7の変形例における上皿の断面図である。It is sectional drawing of the top plate in the 7th modification of 1st embodiment. 従来例のパチンコ機の正面側における斜視図である。It is a perspective view in the front side of the pachinko machine of a prior art example. (a)は従来例のパチンコ機の上皿の平面図、(b)は(a)の上皿における遊技球の流れを示す説明図である。(A) is a top view of the upper plate of the pachinko machine of a prior art example, (b) is explanatory drawing which shows the flow of the game ball in the upper plate of (a).

符号の説明Explanation of symbols

1 パチンコ遊技機(遊技機)
4 ガラス扉枠(開閉枠)
22 プリペイドカード(価値媒体)
46 貸球操作部
46a 貸出ボタンランプ(貸出可能状態表示部)
46b 貸出ボタン(貸し出しスイッチ,操作スイッチ)
46c 返却ボタン(返却スイッチ,操作スイッチ)
46d 度数表示LED(残高表示部)
47 カバー部材
54 上皿
54a 貯留部
54b 底面部
54c 前壁部
54d 後壁部
54e 整流部
54f,54n,54p 直線部
54o 曲線部
54k 傾斜壁
54h 空間部
54l 流入口
54r 供給口
54u 凹状輪郭部
101 パチロット遊技機(遊技機)
146 貸球操作部
146a 貸出ボタンランプ(貸出可能状態表示部)
146b 貸出ボタン(貸し出しスイッチ,操作スイッチ)
146c 返却ボタン(返却スイッチ,操作スイッチ)
146d 度数表示LED(残高表示部)
154 上皿
154a 貯留部
154b 底面部
154c 前壁部
154d 後壁部
154h 空間部
154l 流入口
154r 供給口
160 フロントパネル(開閉枠)
1 Pachinko machine (game machine)
4 Glass door frame (open / close frame)
22 Prepaid card (value medium)
46 Lending operation part 46a Lending button lamp (lending available state display part)
46b Lending button (lending switch, operation switch)
46c Return button (return switch, operation switch)
46d Frequency display LED (balance display)
47 Cover member 54 Upper plate 54a Storage part 54b Bottom face part 54c Front wall part 54d Rear wall part 54e Rectification part 54f, 54n, 54p Straight line part 54o Curved part 54k Inclined wall 54h Space part 54l Inlet 54r Supply port 54u Concave contour part 101 Pachilot machine (game machine)
146 Lending operation part 146a Lending button lamp (lending available state display part)
146b Lending button (lending switch, operation switch)
146c Return button (return switch, operation switch)
146d Frequency display LED (balance display)
154 Upper plate 154a Storage part 154b Bottom face part 154c Front wall part 154d Rear wall part 154h Space part 154l Inlet 154r Supply port 160 Front panel (opening / closing frame)

Claims (1)

遊技球を媒体として所定の遊技が実行されると共に遊技球を賞球として払出すように構成された本体と、その本体より払い出された遊技球及び遊技者により投入された遊技球を貯留する貯留部、前記本体より払い出された遊技球を前記貯留部へ流入させる流入口、及び前記貯留部に貯留された遊技球を前記本体側へ供給する供給口を有する上皿と、遊技者によって操作される少なくとも一つの操作スイッチと、を備えた遊技機において、
前記上皿の貯留部の一部を前記本体より離間して形成することによって前記貯留部と前記本体との間に空間部を形成すると共に、前記貯留部と前記本体との間に前記操作スイッチを設けたことを特徴とする遊技機。
A main body configured to execute a predetermined game using a game ball as a medium and pay out the game ball as a prize ball, a game ball paid out from the main body, and a game ball thrown by the player are stored. By a player, an upper plate having a storage part, an inlet for allowing the game ball paid out from the main body to flow into the storage part, and a supply port for supplying the game ball stored in the storage part to the main body side, and In a gaming machine comprising at least one operation switch to be operated,
By forming a part of the storage part of the upper plate away from the main body, a space is formed between the storage part and the main body, and the operation switch is provided between the storage part and the main body. A gaming machine characterized by having
JP2004165097A 2004-06-02 2004-06-02 Game machine Expired - Fee Related JP4534605B2 (en)

Priority Applications (1)

Application Number Priority Date Filing Date Title
JP2004165097A JP4534605B2 (en) 2004-06-02 2004-06-02 Game machine

Applications Claiming Priority (1)

Application Number Priority Date Filing Date Title
JP2004165097A JP4534605B2 (en) 2004-06-02 2004-06-02 Game machine

Related Child Applications (1)

Application Number Title Priority Date Filing Date
JP2010107207A Division JP2010162421A (en) 2010-05-07 2010-05-07 Game machine

Publications (3)

Publication Number Publication Date
JP2005342189A true JP2005342189A (en) 2005-12-15
JP2005342189A5 JP2005342189A5 (en) 2007-06-21
JP4534605B2 JP4534605B2 (en) 2010-09-01

Family

ID=35495092

Family Applications (1)

Application Number Title Priority Date Filing Date
JP2004165097A Expired - Fee Related JP4534605B2 (en) 2004-06-02 2004-06-02 Game machine

Country Status (1)

Country Link
JP (1) JP4534605B2 (en)

Cited By (5)

* Cited by examiner, † Cited by third party
Publication number Priority date Publication date Assignee Title
JP2007195671A (en) * 2006-01-25 2007-08-09 Sanyo Product Co Ltd Game machine
JP2008220763A (en) * 2007-03-14 2008-09-25 Sankyo Co Ltd Game machine
JP2011224303A (en) * 2010-03-31 2011-11-10 Okumura Yu-Ki Co Ltd Pachinko machine
JP2012143570A (en) * 2012-02-27 2012-08-02 Sanyo Product Co Ltd Game machine
JP2012161398A (en) * 2011-02-04 2012-08-30 Sanyo Product Co Ltd Game machine

Citations (1)

* Cited by examiner, † Cited by third party
Publication number Priority date Publication date Assignee Title
JPH11206996A (en) * 1998-01-21 1999-08-03 Daiichi Shokai Co Ltd Pachinko machine

Patent Citations (1)

* Cited by examiner, † Cited by third party
Publication number Priority date Publication date Assignee Title
JPH11206996A (en) * 1998-01-21 1999-08-03 Daiichi Shokai Co Ltd Pachinko machine

Cited By (5)

* Cited by examiner, † Cited by third party
Publication number Priority date Publication date Assignee Title
JP2007195671A (en) * 2006-01-25 2007-08-09 Sanyo Product Co Ltd Game machine
JP2008220763A (en) * 2007-03-14 2008-09-25 Sankyo Co Ltd Game machine
JP2011224303A (en) * 2010-03-31 2011-11-10 Okumura Yu-Ki Co Ltd Pachinko machine
JP2012161398A (en) * 2011-02-04 2012-08-30 Sanyo Product Co Ltd Game machine
JP2012143570A (en) * 2012-02-27 2012-08-02 Sanyo Product Co Ltd Game machine

Also Published As

Publication number Publication date
JP4534605B2 (en) 2010-09-01

Similar Documents

Publication Publication Date Title
JP4534605B2 (en) Game machine
JP4534617B2 (en) Game machine
JP2016064206A (en) Pachinko game machine
JP4600732B2 (en) Pachinko machine
JP6115598B2 (en) Game machine
JP5949800B2 (en) Game machine
JP4534601B2 (en) Game machine
JP2016214961A (en) Game machine
JP2010162421A (en) Game machine
JP5494706B2 (en) Game machine
JP5686265B2 (en) Game machine
JP4569183B2 (en) Game machine
JP2012110761A (en) Game machine
JP2010162420A (en) Game machine
JP2016128059A (en) Game machine
JP2010162422A (en) Game machine
JP2014223480A (en) Game machine
JP6402747B2 (en) Game machine
JP5516624B2 (en) Game machine
JP5780264B2 (en) Game machine
JP5862624B2 (en) Game machine
JP5949863B2 (en) Game machine
JP5382160B2 (en) Pachinko machine
JP5435019B2 (en) Game machine
JP5757306B2 (en) Pachinko machine

Legal Events

Date Code Title Description
A521 Request for written amendment filed

Free format text: JAPANESE INTERMEDIATE CODE: A523

Effective date: 20070508

A621 Written request for application examination

Free format text: JAPANESE INTERMEDIATE CODE: A621

Effective date: 20070508

A131 Notification of reasons for refusal

Free format text: JAPANESE INTERMEDIATE CODE: A131

Effective date: 20100311

A977 Report on retrieval

Free format text: JAPANESE INTERMEDIATE CODE: A971007

Effective date: 20100311

A521 Request for written amendment filed

Free format text: JAPANESE INTERMEDIATE CODE: A523

Effective date: 20100507

TRDD Decision of grant or rejection written
A01 Written decision to grant a patent or to grant a registration (utility model)

Free format text: JAPANESE INTERMEDIATE CODE: A01

Effective date: 20100525

A01 Written decision to grant a patent or to grant a registration (utility model)

Free format text: JAPANESE INTERMEDIATE CODE: A01

A61 First payment of annual fees (during grant procedure)

Free format text: JAPANESE INTERMEDIATE CODE: A61

Effective date: 20100607

FPAY Renewal fee payment (event date is renewal date of database)

Free format text: PAYMENT UNTIL: 20130625

Year of fee payment: 3

R150 Certificate of patent or registration of utility model

Ref document number: 4534605

Country of ref document: JP

Free format text: JAPANESE INTERMEDIATE CODE: R150

Free format text: JAPANESE INTERMEDIATE CODE: R150

R250 Receipt of annual fees

Free format text: JAPANESE INTERMEDIATE CODE: R250

R250 Receipt of annual fees

Free format text: JAPANESE INTERMEDIATE CODE: R250

R250 Receipt of annual fees

Free format text: JAPANESE INTERMEDIATE CODE: R250

R250 Receipt of annual fees

Free format text: JAPANESE INTERMEDIATE CODE: R250

R250 Receipt of annual fees

Free format text: JAPANESE INTERMEDIATE CODE: R250

R250 Receipt of annual fees

Free format text: JAPANESE INTERMEDIATE CODE: R250

R250 Receipt of annual fees

Free format text: JAPANESE INTERMEDIATE CODE: R250

LAPS Cancellation because of no payment of annual fees