[go: up one dir, main page]

JP2005096654A - Rear seat airbag and rear seat airbag device - Google Patents

Rear seat airbag and rear seat airbag device Download PDF

Info

Publication number
JP2005096654A
JP2005096654A JP2003334093A JP2003334093A JP2005096654A JP 2005096654 A JP2005096654 A JP 2005096654A JP 2003334093 A JP2003334093 A JP 2003334093A JP 2003334093 A JP2003334093 A JP 2003334093A JP 2005096654 A JP2005096654 A JP 2005096654A
Authority
JP
Japan
Prior art keywords
airbag
seat
internal pressure
rear seat
gas
Prior art date
Legal status (The legal status is an assumption and is not a legal conclusion. Google has not performed a legal analysis and makes no representation as to the accuracy of the status listed.)
Pending
Application number
JP2003334093A
Other languages
Japanese (ja)
Inventor
Toshio Gyoda
敏男 行田
Hiroyuki Kobayashi
裕之 小林
Current Assignee (The listed assignees may be inaccurate. Google has not performed a legal analysis and makes no representation or warranty as to the accuracy of the list.)
Tokai Rika Co Ltd
Toyota Motor Corp
Toyoda Gosei Co Ltd
Original Assignee
Tokai Rika Co Ltd
Toyota Motor Corp
Toyoda Gosei Co Ltd
Priority date (The priority date is an assumption and is not a legal conclusion. Google has not performed a legal analysis and makes no representation as to the accuracy of the date listed.)
Filing date
Publication date
Application filed by Tokai Rika Co Ltd, Toyota Motor Corp, Toyoda Gosei Co Ltd filed Critical Tokai Rika Co Ltd
Priority to JP2003334093A priority Critical patent/JP2005096654A/en
Publication of JP2005096654A publication Critical patent/JP2005096654A/en
Pending legal-status Critical Current

Links

Images

Landscapes

  • Air Bags (AREA)

Abstract

【課題】 後席乗員の膝を保護することができ、しかも、後席乗員の頭部に対する保護性能がより高い後席用エアバッグ及び後席用エアバッグ装置を提供する。
【解決手段】 前席11の座部12の下側から展開膨張するエアバッグ16は、背もたれ部18の背面に沿うように上方に展開膨張する前側膨張部19と、この前側膨張部19の先端側から後方に開膨張する後側膨張部20とから構成される。エアバッグ16の内部には、その内部を前側膨張部19及び後側膨張部20に区画するとともに前側膨張部19から後側膨張部20へのガスの移動量を調節する第2テザー28bが設けられている。第2テザー28bは、エアバッグ16の展開膨張に伴ってガスの流量を減少させ、後側膨張部20の内圧を前側膨張部19の内圧より低く調節する。
【選択図】 図2
PROBLEM TO BE SOLVED: To provide a rear seat airbag and a rear seat airbag device that can protect the knees of a rear seat occupant and have higher protection performance against the head of the rear seat occupant.
An airbag 16 that is deployed and inflated from a lower side of a seat portion 12 of a front seat 11 includes a front inflatable portion 19 that is deployed and inflated upward along the back surface of a backrest portion 18, and a front end of the front inflatable portion 19. It is comprised from the rear side expansion part 20 which expands back from the side. A second tether 28b that divides the interior of the airbag 16 into a front inflating portion 19 and a rear inflating portion 20 and adjusts the amount of gas transferred from the front inflating portion 19 to the rear inflating portion 20 is provided. It has been. The second tether 28 b decreases the gas flow rate as the airbag 16 is deployed and inflated, and adjusts the internal pressure of the rear inflatable portion 20 to be lower than the internal pressure of the front inflatable portion 19.
[Selection] Figure 2

Description

本発明は、衝突等による衝撃が車両に加わったときに、前席と後席との間において展開膨張する後席用エアバッグ、及び、同後席用エアバッグを備えた後席用エアバッグ装置に関するものである。なお、本明細書において、「前席」とは、後方に他の席がある席を意味し、運転席及び助手席に限らない。また、「後席」とは、「前席」の後方にある席を意味する。     The present invention relates to a rear seat airbag that deploys and inflates between a front seat and a rear seat when an impact due to a collision or the like is applied to the vehicle, and a rear seat airbag including the rear seat airbag. It relates to the device. In this specification, “front seat” means a seat with other seats behind, and is not limited to a driver seat and a passenger seat. The “rear seat” means a seat behind the “front seat”.

従来、この種の後席用エアバッグ装置としては、前席のシート部の後部に設けられたエアバッグモジュールから、後席乗員の胸部及び頭部の前方にエアバッグを展開膨張させようとするものがある。このエアバッグは、第1段階で、前席の背もたれ部の背面に沿うように上方に展開膨張し、第2段階で、後席乗員の胸部及び頭部の前方で展開膨張するとされている。
特表2002−542100号公報(第10頁、第1図)
Conventionally, as a rear seat airbag device of this type, an airbag module is deployed and inflated in front of a chest and a head of a rear seat occupant from an airbag module provided at a rear portion of a seat portion of a front seat. There is something. The airbag is deployed and inflated upward along the back of the backrest portion of the front seat in the first stage, and deployed and inflated in front of the chest and head of the rear seat occupant in the second stage.
Japanese translation of PCT publication No. 2002-542100 (page 10, FIG. 1)

ところで、後席用エアバッグは、例えば他車両との正面衝突によって前方へ移動する後席乗員に対し、耐性が高い膝を強く受け止めて後席乗員の体全体の前方への移動を防ぐ一方で、耐性が低い頭部を柔らかく受け止めることが望ましい。   By the way, for example, a rear-seat airbag is strongly resistant to a rear-seat occupant who moves forward due to a frontal collision with another vehicle, while preventing the rear-seat occupant from moving forward with the entire body. It is desirable to softly catch the low tolerance head.

ところが、上記特許文献1の技術では、エアバッグ全体が同じ内圧であるため、内圧の高さを、エアバッグが膝を強く受け止めることができるような値に設定すると、エアバッグが頭部を柔らかく受け止めることができなくなる。従って、後席乗員の膝と頭部に対する保護性能を十分に両立させることが困難であった。   However, in the technique of Patent Document 1, since the entire airbag has the same internal pressure, if the height of the internal pressure is set to such a value that the airbag can strongly receive the knee, the airbag softens the head. I can't take it. Therefore, it has been difficult to achieve sufficient protection performance for the knee and head of the rear seat occupant.

本発明の目的は、後席乗員の膝を保護することができ、しかも、後席乗員の頭部に対する保護性能がより高い後席用エアバッグ及び後席用エアバッグ装置を提供することにある。   An object of the present invention is to provide a rear-seat airbag and a rear-seat airbag device that can protect the knees of the rear-seat occupant and have higher protection performance against the head of the rear-seat occupant. .

上記課題を解決するため、請求項1に記載の発明は、前席の下部から、前席の背もたれ部の背面側に展開膨張する後席用エアバッグであって、前記背もたれ部の背面に沿うように上方に展開膨張する前側膨張部と、この前側膨張部の先端側から後方へ展開膨張する後側膨張部と、前記後側膨張部の内圧を前記前側膨張部の内圧よりも低くする内圧調節手段とを備えることを特徴とする。   In order to solve the above-mentioned problem, the invention according to claim 1 is a rear seat airbag that expands and inflates from the lower part of the front seat to the back side of the backrest part of the front seat, and extends along the back surface of the backrest part. Thus, the front side expansion part that expands and expands upward, the rear side expansion part that expands and expands backward from the front end side of the front side expansion part, and the internal pressure that makes the internal pressure of the rear side expansion part lower than the internal pressure of the front side expansion part And adjusting means.

従って、請求項1に記載の発明によれば、エアバッグの展開膨張時には、前側膨張部が、前席の下部から後席乗員の膝の上方まで展開膨張した後、前側膨張部の先端側から後側膨張部が後方に展開膨張する。このとき、内圧調節手段によって、後側膨張部の内圧が前側膨張部の内圧よりも低く調節される。このため、例えば他車両との衝突によって後席乗員が後席から前方に移動したときに、後席乗員の膝が、内圧の高い前側膨張部によって強く受け止められ、また、後席乗員の胸部さらに頭部が、内圧の低い後側膨張部によって弱く受け止められる。   Therefore, according to the first aspect of the present invention, when the airbag is deployed and inflated, the front inflatable portion is deployed and inflated from the lower part of the front seat to above the knee of the rear seat occupant, and then from the front end side of the front inflatable portion. The rear expansion portion expands and expands rearward. At this time, the internal pressure of the rear expansion part is adjusted to be lower than the internal pressure of the front expansion part by the internal pressure adjusting means. For this reason, for example, when the rear seat occupant moves forward from the rear seat due to a collision with another vehicle, the knee of the rear seat occupant is strongly received by the front side inflatable portion with high internal pressure, and the chest of the rear seat occupant The head is weakly received by the rear expansion portion having a low internal pressure.

請求項2に記載の発明は、請求項1に記載の発明において、前記前側膨張部及び後側膨張部は、1つのエアバッグの内部を区画するとともに前側膨張部から後側膨張部へのガスの移動を許容する区画手段によって形成され、前記区画手段は、前記エアバッグの展開膨張に伴って、前記前側膨張部から後側膨張部に移動させるガスの流量を減少させることを特徴とする。   According to a second aspect of the present invention, in the first aspect of the invention, the front side inflating portion and the rear side inflating portion define the interior of one airbag and gas from the front side inflating portion to the rear side inflating portion. The partition means is configured to reduce the flow rate of the gas that is moved from the front inflating portion to the rear inflating portion as the airbag is deployed and inflated.

従って、請求項2に記載の発明によれば、1つのエアバッグの展開膨張に伴い、区画手段によってエアバッグの内部に前側膨張部と後側膨張部とが区画形成される。
請求項3に記載の発明は、請求項2に記載の発明において、前記内圧調節手段は、前記後側膨張部に設けられたガス放出手段であって、該ガス放出手段は、前側膨張部から後側膨張部に移動したガスの一部をエアバッグの外部に放出することで、後側膨張部の内圧を前側膨張部の内圧よりも低くすることを特徴とする。
Therefore, according to the second aspect of the present invention, the front-side inflatable portion and the rear-side inflatable portion are partitioned and formed inside the airbag by the partition means as one airbag is deployed and inflated.
According to a third aspect of the present invention, in the second aspect of the present invention, the internal pressure adjusting means is a gas discharge means provided in the rear side expansion portion, and the gas discharge means is connected to the front expansion portion. By discharging a part of the gas that has moved to the rear inflating part to the outside of the airbag, the internal pressure of the rear inflating part is made lower than the internal pressure of the front inflating part.

従って、請求項3に記載の発明によれば、前側膨張部から後側膨張部に移動したガスの一部が、内圧調節手段によって外部に放出されることで、後側膨張部の内圧が前側膨張部の内圧よりも低く調節される。   Therefore, according to the third aspect of the present invention, a part of the gas moved from the front side expansion part to the rear side expansion part is released to the outside by the internal pressure adjusting means, so that the internal pressure of the rear side expansion part is increased to the front side. The pressure is adjusted to be lower than the internal pressure of the expansion portion.

請求項4に記載の発明は、請求項2に記載の発明において、前記内圧調節手段は、前記区画手段であって、該区画手段は、前記エアバッグの展開膨張に伴って、前記前側膨張部から後側膨張部に移動させるガスの流量を減少させることによって後側膨張部の内圧を前側膨張部の内圧よりも低くすることを特徴とする。   According to a fourth aspect of the present invention, in the second aspect of the invention, the internal pressure adjusting means is the partition means, and the partition means is configured to expand the front-side inflating portion as the airbag is deployed and inflated. The internal pressure of the rear side expansion part is made lower than the internal pressure of the front side expansion part by reducing the flow rate of the gas moved from the first to the rear side expansion part.

従って、請求項4に記載の発明によれば、エアバッグの内部を前側膨張部及び後側膨張部に区画する区画手段が、エアバッグの展開膨張に伴って、前側膨張部から後側膨張部に移動させるガスの流量を減少させることにより、後側膨張部の内圧が前側膨張部の内圧よりも低く調節される。   Therefore, according to the fourth aspect of the present invention, the partition means for partitioning the interior of the airbag into the front inflating portion and the rear inflating portion is changed from the front inflating portion to the rear inflating portion as the airbag is deployed and inflated. By reducing the flow rate of the gas to be moved, the internal pressure of the rear side expansion part is adjusted to be lower than the internal pressure of the front side expansion part.

請求項5に記載の発明は、請求項4に記載の発明において、前記区画手段は、エアバッグの上側部と下側部とを接続するとともに、左右側部との間にそれぞれガス流路を形成するテザーであることを特徴とする。   According to a fifth aspect of the present invention, in the invention according to the fourth aspect, the partitioning unit connects the upper side portion and the lower side portion of the airbag and provides gas flow paths between the left and right side portions, respectively. It is a tether to be formed.

従って、請求項5に記載の発明によれば、請求項4に記載の発明の作用に加えて、エアバッグの上側部と下側部とを接続し、エアバッグの展開膨張形状を調節するテザーによって、エアバッグの内部に前側膨張部及び後側膨張部が形成されるとともに、後側膨張部の内圧が前側膨張部の内圧よりも低く調節される。   Therefore, according to the invention described in claim 5, in addition to the action of the invention described in claim 4, the tether that connects the upper side portion and the lower side portion of the airbag and adjusts the deployed and expanded shape of the airbag. As a result, the front inflating portion and the rear inflating portion are formed inside the airbag, and the internal pressure of the rear inflating portion is adjusted to be lower than the internal pressure of the front inflating portion.

請求項6に記載の発明は、請求項1〜請求項5のいずれか一項に記載の発明において、前記後側膨張部を後席乗員側の下方位置に配置するように、該後側膨張部を前記前側膨張部に拘束する拘束手段を設けたことを特徴とする。   The invention according to claim 6 is the invention according to any one of claims 1 to 5, wherein the rear side inflating portion is disposed at a lower position on the rear seat occupant side. A restraining means for restraining the portion to the front expansion portion is provided.

従って、請求項6に記載の発明によれば、エアバッグの展開膨張時には、前側膨張部が、前席の下部から後席乗員の膝の上方まで展開膨張した後、前側膨張部の先端側から後側膨張部が後方に展開膨張する。このとき、拘束手段によって、後側膨張部の展開膨張位置が規制され、後席乗員の大腿部の上部を覆う位置に配置される。このため、後側膨張部を、後席乗員の胸部と背もたれ部との間において展開膨張させることができる。従って、他車両への追突等によって後席乗員に対し前向きの急激な加速度が加わったときに、後席から前方に移動した後席乗員の胸部が、背もたれ部の背面に当接する後側膨張部によって有効に受け止められる。また、上半身が前傾したときに、前下方に移動する頭部が、両脚乃至背もたれ部に当接する後側膨張部によって有効に受け止められる。   Therefore, according to the sixth aspect of the present invention, when the airbag is deployed and inflated, the front inflatable portion is deployed and inflated from the lower portion of the front seat to above the knee of the rear seat occupant, and then from the front end side of the front inflatable portion. The rear expansion portion expands and expands rearward. At this time, the restraint means restricts the deployed and expanded position of the rear inflatable part, and the constraining means is disposed at a position that covers the upper part of the thigh of the rear seat occupant. For this reason, a rear side expansion | swelling part can be expand | deployed and expanded between a chest part and a backrest part of a backseat passenger | crew. Therefore, when a sudden forward acceleration is applied to the rear seat occupant due to a rear-end collision with another vehicle, the rear inflating portion in which the chest of the rear seat occupant moving forward from the rear seat abuts the back of the backrest portion Is effectively received. Further, when the upper body tilts forward, the head that moves forward and downward is effectively received by the rear inflating portion that abuts both legs or the backrest.

請求項7に記載の発明は、エアバッグとインフレータとを収容したケースが、前席の座部又は座部の下側に配置され、車両に加わる衝撃に基づいて前記インフレータを作動させ、前記エアバッグを展開膨張させる後席用エアバッグ装置であって、前記エアバッグとして、請求項1〜請求項6のいずれか一項に記載の後席用エアバッグを用いたことを特徴とする。   According to a seventh aspect of the present invention, a case in which an airbag and an inflator are accommodated is disposed on the seat portion of the front seat or on the lower side of the seat portion, and the inflator is operated based on an impact applied to the vehicle. A rear seat airbag device for deploying and inflating a bag, wherein the rear seat airbag according to any one of claims 1 to 6 is used as the airbag.

後席乗員の膝を保護することができ、しかも、後席乗員の頭部に対する保護性能がより高い後席用エアバッグ及び後席用エアバッグ装置を提供することができる。   It is possible to provide a rear seat airbag and a rear seat airbag device that can protect the knees of the rear seat occupant and that have higher protection performance against the head of the rear seat occupant.

(第1実施形態)
以下、本発明を具体化した第1実施形態を図1〜図6に従って説明する。
図1に示すように、本実施形態の後席用エアバッグ装置としてのエアバッグモジュール10は、車両に設けられた前席11の座部12の下面に固定され、後席13に着座する後席乗員14を保護する。図2に示すように、エアバッグモジュール10は、座部12に固定されるケース15内に、折り畳まれたエアバッグ16と、このエアバッグ16にガスを供給するインフレータ17とを収容して構成されている。
(First embodiment)
Hereinafter, a first embodiment of the present invention will be described with reference to FIGS.
As shown in FIG. 1, an airbag module 10 as an airbag device for a rear seat of the present embodiment is fixed to the lower surface of a seat portion 12 of a front seat 11 provided in a vehicle and is seated on a rear seat 13. The seat occupant 14 is protected. As shown in FIG. 2, the airbag module 10 is configured by housing a folded airbag 16 and an inflator 17 that supplies gas to the airbag 16 in a case 15 fixed to the seat portion 12. Has been.

このエアバッグ16は、前席11と後席13との間において、前席11の背もたれ部18の背面に沿うように上方に展開膨張する前側膨張部19と、この前側膨張部19の先端側から後席13側に展開膨張する後側膨張部20とを備えている。前側膨張部19は、座部12の下方から前席11の背もたれ部18の背面に沿って上向きに展開膨張し、後席乗員14の膝21の下方からほぼ胸部22の高さまでの範囲に対応する位置に配置される。後側膨張部20は、前側膨張部19の先端部から後向きに展開膨張し、後席乗員14の膝21から大腿部32の上部においてほぼ胸部22に対応する範囲に配置される。エアバッグ16は、前側基布23と後側基布24とが縫い合わされて形成されている。エアバッグ16には、インフレータ17からガスが供給される。   The airbag 16 includes a front inflating portion 19 that expands and expands upward along the back surface of the backrest portion 18 of the front seat 11 between the front seat 11 and the rear seat 13, and a front end side of the front inflating portion 19. To the rear seat 13 side and a rear inflating portion 20 that expands and inflates. The front inflating portion 19 expands and inflates upward from below the seat portion 12 along the back surface of the backrest portion 18 of the front seat 11 and corresponds to a range from the lower portion of the knee 21 of the rear seat occupant 14 to the height of the chest portion 22. It is arranged at the position to do. The rear inflating portion 20 is deployed and inflated rearward from the front end portion of the front inflating portion 19, and is disposed in a range corresponding to the chest portion 22 from the knee 21 of the rear seat occupant 14 to the upper portion of the thigh 32. The airbag 16 is formed by stitching a front base fabric 23 and a rear base fabric 24 together. Gas is supplied to the airbag 16 from the inflator 17.

図2に示すように、前側基布23と後側基布24とは、第1テザー28a、第2テザー28b及び第3テザー28cによって、エアバッグ16の内部で縫着により接続されている。第1テザー28aは前側膨張部19の基端側に設けられ、第2テザー28bは前側膨張部19と後側膨張部20との境界部に設けられ、また、第3テザー28cは後側膨張部20のほぼ中央位置に設けられている。従って、これらの第1テザー28a〜第3テザー28cによってエアバッグ16の厚さが規定されている。本実施形態では、第2テザー28bが、内圧調節手段及び区画手段である。   As shown in FIG. 2, the front base fabric 23 and the rear base fabric 24 are connected to each other by sewing within the airbag 16 by a first tether 28a, a second tether 28b, and a third tether 28c. The first tether 28a is provided on the base end side of the front expansion portion 19, the second tether 28b is provided at the boundary between the front expansion portion 19 and the rear expansion portion 20, and the third tether 28c is rear expansion. The unit 20 is provided at a substantially central position. Accordingly, the thickness of the airbag 16 is defined by the first tether 28a to the third tether 28c. In the present embodiment, the second tether 28b is an internal pressure adjusting means and a partitioning means.

図3に示すように、第2テザー28bは、エアバッグ16の幅方向の中央部に設けられ、エアバッグ16の内部を区画して前側膨張部19と後側膨張部20とを形成している。また、第2テザー28bは、エアバッグ16の展開膨張過程において、その両側に形成するガス流路33を通じて前側膨張部19から後側膨張部20へのガスの移動量を調節する。すなわち、第2テザー28bは、エアバッグ16が展開膨張する前は、前側基布23と後側基布24との間に折り畳まれている。そして、図4(a),(b)に示すように、第2テザー28bは、エアバッグ16の展開膨張過程においては、その両側のガス流路33の流路断面積を徐々に小さくする。すなわち、エアバッグ16の展開膨張前及び展開膨張中においては、エアバッグ16が偏平幅広状態で、第2テザー28bとエアバッグ16の両側端との間のガス流路33の断面積が大きい。しかし、エアバッグ16の展開終了直前及び展開終了時にはエアバッグ16の幅が狭くなって、前記ガス流路33の断面積が減少する。これにより、第2テザー28bは、エアバッグ16の展開終期において前側膨張部19から後側膨張部20へのガスの移動を制限し、後側膨張部20の内圧が前側膨張部19の内圧よりも低くなるようにする。   As shown in FIG. 3, the second tether 28 b is provided at the center in the width direction of the airbag 16, and defines the front inflating portion 19 and the rear inflating portion 20 by partitioning the inside of the airbag 16. Yes. Further, the second tether 28b adjusts the amount of gas movement from the front inflating portion 19 to the rear inflating portion 20 through the gas flow paths 33 formed on both sides of the airbag 16 during the inflating and inflating process. That is, the second tether 28b is folded between the front base fabric 23 and the rear base fabric 24 before the airbag 16 is deployed and inflated. As shown in FIGS. 4A and 4B, the second tether 28b gradually reduces the cross-sectional area of the gas flow path 33 on both sides of the airbag 16 in the process of inflating and inflating the airbag 16. That is, before and during deployment of the airbag 16, the airbag 16 is in a flat and wide state, and the cross-sectional area of the gas flow path 33 between the second tether 28b and both side ends of the airbag 16 is large. However, the width of the airbag 16 is narrowed immediately before and after the deployment of the airbag 16 and the sectional area of the gas flow path 33 is reduced. Thus, the second tether 28b restricts the movement of gas from the front inflating portion 19 to the rear inflating portion 20 at the end of the deployment of the airbag 16, and the internal pressure of the rear inflating portion 20 is greater than the internal pressure of the front inflating portion 19. To be low.

一方、第1テザー28a及び第3テザー28cは、第2テザー28bよりも小さい幅に形成され、第2テザー28bと異なり、エアバッグ16が展開膨張した状態においてもその前後間でのガスの移動を制限しないようになっている。   On the other hand, the first tether 28a and the third tether 28c are formed to have a width smaller than that of the second tether 28b, and unlike the second tether 28b, the movement of gas between the front and rear thereof even when the airbag 16 is deployed and inflated. Not to restrict.

図1に示すように、後側膨張部20の一方の側壁には、ベントホール34が設けられている。このベントホール34は、展開膨張したエアバッグ16の後側膨張部20の内部からガスの一部を外部に放出させることにより、後側膨張部20の内圧を前側膨張部19の内圧よりも低くするようになっている。本実施形態では、ベントホール34が、内圧調節手段及びガス放出手段である。   As shown in FIG. 1, a vent hole 34 is provided on one side wall of the rear side expansion portion 20. The vent hole 34 discharges a part of the gas from the inside of the rear inflating portion 20 of the deployed airbag 16 to the outside, so that the internal pressure of the rear inflating portion 20 is lower than the internal pressure of the front inflating portion 19. It is supposed to be. In the present embodiment, the vent hole 34 is an internal pressure adjusting means and a gas releasing means.

図1〜図4に示すように、エアバッグ16には、前側膨張部19と後側膨張部20とを、その外部で接続する左右二対の補強布29R,29Lが設けられている。補強布29R,29Lはほぼ直角三角形であって、前側基布23と後側基布24との縫い目に共縫いされる。このとき、補強布29R,29Lは、それぞれその直角部が前側膨張部19と後側膨張部20との境界側となるように縫い付けられている。そして、両補強布29R,29Lは、エアバッグ16が展開膨張するときに、前側膨張部19が前席11の座部12の下方から上向きに展開膨張した後、前側膨張部19の先端側から展開膨張する後側膨張部20を後席乗員14の大腿部32の上部を覆うように、後側膨張部20を前側膨張部19に拘束する。   As shown in FIGS. 1 to 4, the airbag 16 is provided with two pairs of left and right reinforcing cloths 29 </ b> R and 29 </ b> L that connect the front inflating portion 19 and the rear inflating portion 20 outside. The reinforcing cloths 29R and 29L are substantially right-angled triangles, and are sewn together at the seams of the front base cloth 23 and the rear base cloth 24. At this time, the reinforcing cloths 29R and 29L are sewn so that the right-angle portions thereof are on the boundary side between the front expansion portion 19 and the rear expansion portion 20, respectively. Then, both the reinforcing cloths 29R and 29L are arranged so that when the airbag 16 is deployed and inflated, the front inflating portion 19 is deployed and inflated upward from below the seat portion 12 of the front seat 11, and then from the front end side of the front inflating portion 19. The rear inflatable part 20 is constrained to the front inflatable part 19 so as to cover the upper part of the thigh 32 of the rear seat occupant 14.

次に、前記のように構成された本実施形態の作用を説明する。
例えば衝突による衝撃によってインフレータ17が点火され、インフレータ17からエアバッグ16にガスが供給されると、エアバッグ16がケース15から飛び出して前席11の背もたれ部18の背面側に展開膨張する。このとき、エアバッグ16は、先ず、前側膨張部19が前席11の座部12の下方から上向きに展開膨張し、背もたれ部18と、後席乗員14の膝21との間に配置される。
Next, the operation of the present embodiment configured as described above will be described.
For example, when the inflator 17 is ignited by an impact caused by a collision and gas is supplied from the inflator 17 to the airbag 16, the airbag 16 jumps out of the case 15 and expands and expands to the back side of the backrest portion 18 of the front seat 11. At this time, in the airbag 16, first, the front inflating portion 19 is deployed and inflated upward from below the seat portion 12 of the front seat 11, and is disposed between the backrest portion 18 and the knee 21 of the rear seat occupant 14. .

前側膨張部19の展開膨張に引き続いて、後側膨張部20が前側膨張部19の先端側から展開膨張する。このとき、後側膨張部20は、その左右両側面が、左右一対の補強布29R,29Lによって前側膨張部19の左右両側面に拘束され、後席乗員14の大腿部32の上部に沿うように屈曲した状態で展開膨張する。   Following the expansion of the front expansion part 19, the rear expansion part 20 expands and expands from the front end side of the front expansion part 19. At this time, the left and right side surfaces of the rear inflatable portion 20 are restrained by the left and right side surfaces of the front inflatable portion 19 by a pair of left and right reinforcing cloths 29R and 29L, and extend along the upper portion of the thigh 32 of the rear seat occupant 14. It expands and expands in a bent state.

エアバッグ16が展開膨張するとき、そのエアバッグ16の展開膨張、及び、第2テザー28bの伸展に伴ってガス流路33の開口面積が減少し、前側膨張部19から後側膨張部20に移動するガスの流量が制限される。また、前側膨張部19から後側膨張部20へ移動したガスの一部がベントホール34を通じてエアバッグ16の外部に放出される。このため、エアバッグ16が展開膨張したときに、後側膨張部20の内圧が前側膨張部19の内圧よりも低くなる。   When the airbag 16 is deployed and inflated, the opening area of the gas flow path 33 decreases with the deployment and inflation of the airbag 16 and the extension of the second tether 28b, and the front inflatable portion 19 changes to the rear inflatable portion 20. The flow rate of the moving gas is limited. Further, part of the gas that has moved from the front inflating portion 19 to the rear inflating portion 20 is released to the outside of the airbag 16 through the vent hole 34. For this reason, when the airbag 16 is deployed and inflated, the internal pressure of the rear inflatable portion 20 becomes lower than the internal pressure of the front inflatable portion 19.

エアバッグ16が展開膨張した状態で後席乗員14が慣性によって後席13から前方に移動すると、先ず、図5に示すように、その膝21が、内圧が高い前側膨張部19に対しその後面から当たり、膝21に加わる衝撃が吸収されるとともに後席乗員14の前方への移動が制限される。続いて、後席乗員14の胸部22が、内圧が低い後側膨張部20に対しその後面から当たり、胸部22に加わる衝撃が柔らかく吸収される。さらに、図6に示すように、後席乗員14の上半身が前方に倒れると、その頭部31が後側膨張部20に対しその上面から当たり、頭部31に加わる衝撃が柔らかく吸収される。また、胸部22及び頭部31が後側膨張部20に押し付けられるにつれて、後側膨張部20の内部からベントホール34を通じてガスが外部に放出され、その内圧の上昇が抑制される。このため、胸部22及び頭部31に加わる衝撃が一層緩和される。   When the rear seat occupant 14 moves forward from the rear seat 13 due to inertia while the airbag 16 is inflated and inflated, first, as shown in FIG. 5, the knee 21 has a rear surface with respect to the front inflatable portion 19 having a high internal pressure. The impact applied to the knee 21 is absorbed and the forward movement of the rear seat occupant 14 is restricted. Subsequently, the chest 22 of the rear seat occupant 14 hits the rear inflatable portion 20 having a low internal pressure from the rear surface, and the impact applied to the chest 22 is softly absorbed. Furthermore, as shown in FIG. 6, when the upper body of the rear seat occupant 14 falls forward, the head 31 hits the rear inflatable portion 20 from the upper surface, and the impact applied to the head 31 is softly absorbed. Further, as the chest 22 and the head 31 are pressed against the rear inflating portion 20, gas is released from the inside of the rear inflating portion 20 to the outside through the vent hole 34, and an increase in the internal pressure is suppressed. For this reason, the impact applied to the chest 22 and the head 31 is further alleviated.

従って、この実施形態によれば以下の各効果を得ることができる。
(1) 前席11の下部から背もたれ部18の背面側に展開膨張するエアバッグ16を、第2テザー28bにより、背もたれ部18の背面に沿うように上方に展開膨張する前側膨張部19と、前側膨張部19の先端側から後方へ展開膨張する後側膨張部20とに区画した。第2テザー28bは、エアバッグ16の展開膨張に伴って、前側膨張部19から後側膨張部20へ移動するガスの流量を減少させ、後側膨張部20の内圧を前側膨張部19の内圧よりも低く調節する。このため、例えば他車両との衝突によって後席乗員14が後席13から前方に移動したときに、後席乗員14の膝21が、内圧の高い前側膨張部19によって強く受け止められ、また、後席乗員14の胸部22さらに頭部31が、内圧の低い後側膨張部20によって弱く受け止められる。従って、後席乗員14の膝21を保護することができ、しかも、後席乗員14の胸部22さらに頭部31に対する保護性能がより向上する。
Therefore, according to this embodiment, the following effects can be obtained.
(1) The airbag 16 that expands and inflates from the lower part of the front seat 11 to the back side of the backrest part 18 is expanded and inflated upward along the back surface of the backrest part 18 by the second tether 28b; The front side expansion part 19 was partitioned into a rear side expansion part 20 that expands and expands backward from the front end side. The second tether 28b reduces the flow rate of the gas moving from the front inflating portion 19 to the rear inflating portion 20 as the airbag 16 is deployed and inflated, and the internal pressure of the rear inflating portion 20 is reduced to the internal pressure of the front inflating portion 19. Adjust lower than. For this reason, for example, when the rear seat occupant 14 moves forward from the rear seat 13 due to a collision with another vehicle, the knee 21 of the rear seat occupant 14 is strongly received by the front inflating portion 19 with high internal pressure, and the rear The chest 22 and the head 31 of the seat occupant 14 are weakly received by the rear inflating portion 20 having a low internal pressure. Accordingly, the knee 21 of the rear seat occupant 14 can be protected, and the protection performance of the rear seat occupant 14 on the chest 22 and the head 31 is further improved.

(2) 後側膨張部20に設けたベントホール34が、後側膨張部20の内部からガスの一部を外部に放出し、エアバッグ16の展開終了時の内圧を前側膨張部19の内圧よりも低くする。また、衝突時の慣性により後席乗員14が後席13から前方に移動して後側膨張部20に受け止められたときに、ベントホール34からガスが外部に放出され、その内圧の上昇が抑制される。従って、後席乗員14の胸部22さらに頭部31に対する保護性能が一層向上する。   (2) The vent hole 34 provided in the rear inflating portion 20 releases part of the gas from the inside of the rear inflating portion 20 to the outside, and the internal pressure at the end of the deployment of the airbag 16 is set to the internal pressure of the front inflating portion 19. Lower than. Further, when the rear seat occupant 14 moves forward from the rear seat 13 and is received by the rear inflating portion 20 due to inertia at the time of the collision, gas is released to the outside from the vent hole 34 and the increase in the internal pressure is suppressed. Is done. Therefore, the protection performance for the chest 22 and the head 31 of the rear seat occupant 14 is further improved.

(3) エアバッグ16の外部には、後側膨張部20を後席乗員14の大腿部32の上部を覆うように、後側膨張部20を前側膨張部19に拘束する左右一対の補強布29R,29Lを設けた。このため、前向きの急激な加速度によって後席乗員14が後席13から前方に移動するときに、後席乗員14の胸部22と背もたれ部18との間において展開膨張した後側膨張部20により、後席乗員14が有効に受け止められる。   (3) A pair of left and right reinforcements that restrain the rear inflatable portion 20 to the front inflatable portion 19 outside the airbag 16 so as to cover the upper portion of the thigh 32 of the rear seat occupant 14. Cloth 29R and 29L were provided. For this reason, when the rear seat occupant 14 moves forward from the rear seat 13 due to a rapid forward acceleration, the rear inflatable portion 20 that expands and expands between the chest 22 and the backrest portion 18 of the rear seat occupant 14, The rear seat occupant 14 is effectively received.

(第2実施形態)
次に、本発明を具体化した第2実施形態を図7〜図9に従って説明する。尚、第1実施形態と同じ構成については、符号を同じにしてその説明を省略し、第1実施形態と異なるエアバッグ40のみについて詳述する。
(Second Embodiment)
Next, a second embodiment of the present invention will be described with reference to FIGS. In addition, about the same structure as 1st Embodiment, the code | symbol is made the same, the description is abbreviate | omitted, and only the airbag 40 different from 1st Embodiment is explained in full detail.

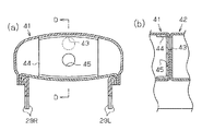
図7に示すように、本実施形態のエアバッグ40は、独立した2つの前側エアバッグ41及び後側エアバッグ42を接合して構成されている。前側膨張部としての前側エアバッグ41は、第1実施形態における前側膨張部19に相当し、前席11の座部12の下方から背もたれ部18の背面に沿うように上方に展開膨張し、後席乗員14の膝21の下方からほぼ胸部22の高さまでの範囲に対応する位置に配置される。また、後側膨張部としての後側エアバッグ42は、同じく後側膨張部20に相当し、前側膨張部19の先端部から後向きに展開膨張し、後席乗員14の膝21から大腿部32の上部においてほぼ胸部22に対応する範囲に配置される。前側エアバッグ41の後面と、後側エアバッグ42の前面とは、それらの周縁で縫着されることで一体化されている。   As shown in FIG. 7, the airbag 40 of the present embodiment is configured by joining two independent front airbags 41 and a rear airbag 42. The front airbag 41 as the front inflating portion corresponds to the front inflating portion 19 in the first embodiment, and is deployed and inflated upward from the lower portion of the seat portion 12 of the front seat 11 along the back surface of the backrest portion 18. The seat occupant 14 is disposed at a position corresponding to the range from the lower side of the knee 21 to the height of the chest 22. Further, the rear airbag 42 as the rear inflating portion corresponds to the rear inflating portion 20 and is deployed and inflated rearward from the front end portion of the front inflating portion 19, and from the knee 21 of the rear seat occupant 14 to the thigh. In the upper part of 32, it is arranged in a range substantially corresponding to the chest 22. The rear surface of the front airbag 41 and the front surface of the rear airbag 42 are integrated by being sewn at their peripheral edges.

両エアバッグ41,42は、その接合面に設けられた連通孔43によって互いに連通されている。後側エアバッグ42には、インフレータ17から前側エアバッグ41に供給されたガスが連通孔43を通じて供給される。後側エアバッグ42の後面内側には、エアバッグ40の展開膨張に伴って、連通孔43を開閉する内圧調節手段としてのスライドクロス44が設けられている。   Both the airbags 41 and 42 are communicated with each other through a communication hole 43 provided on the joint surface. The gas supplied from the inflator 17 to the front airbag 41 is supplied to the rear airbag 42 through the communication hole 43. Inside the rear surface of the rear airbag 42, a slide cloth 44 is provided as an internal pressure adjusting means for opening and closing the communication hole 43 as the airbag 40 is deployed and inflated.

スライドクロス44は、その上端辺が後側エアバッグ42の上側部に縫着され、その下端辺が同じく下側部に縫着されている。スライドクロス44には、連通孔43と同径の孔45が設けられている。スライドクロス44は、図7及び図9(a),(b)に示すように、エアバッグ40が展開膨張した状態において自身も展開した状態となり、この状態において孔45が連通孔43に重ならないようになっている。また、スライドクロス44は、図8(a),(b)に示すように、両エアバッグ41,42がケース15内に折り畳まれた状態からある程度まで展開膨張するまでの間では、連通孔43に孔45を重ね合わせるように上下に折り畳まれている。   The slide cloth 44 has an upper end side sewn on the upper side portion of the rear airbag 42 and a lower end side sewn on the lower side portion. The slide cloth 44 is provided with a hole 45 having the same diameter as the communication hole 43. As shown in FIGS. 7 and 9A and 9B, the slide cloth 44 is in a state where the airbag 40 is also deployed when the airbag 40 is deployed and inflated, and the hole 45 does not overlap the communication hole 43 in this state. It is like that. Further, as shown in FIGS. 8A and 8B, the slide cloth 44 has a communication hole 43 between the state in which both the airbags 41 and 42 are folded in the case 15 and until they are expanded and inflated to some extent. It is folded up and down so that the hole 45 is overlaid on.

両エアバッグ41,42は、前記第1実施形態と同様に、2枚の基布を縫い合わせて形成されている。前側エアバッグ41は、両基布の縫い目を通じてその内部からガスを外部に漏らさないように細かなピッチの縫い目で両基布が縫い合わされている。一方、後側エアバッグ42は、両基布の縫い目を通じてその内部からガスを外部に逃がすように粗いピッチの縫い目で両基布が縫い合わされている。これにより、エアバッグ40が展開膨張したときに、後側エアバッグ42の内圧が前側エアバッグ41の内圧よりも低くなるようになっている。   Both airbags 41 and 42 are formed by stitching two base fabrics in the same manner as in the first embodiment. In the front airbag 41, both base fabrics are stitched together with a fine pitch seam so as not to leak gas from the inside through the seams of both base fabrics. On the other hand, in the rear airbag 42, both base fabrics are stitched together with a coarse pitch seam so that gas is released from the inside through the seams of both base fabrics. Thereby, when the airbag 40 is deployed and inflated, the internal pressure of the rear airbag 42 becomes lower than the internal pressure of the front airbag 41.

また、エアバッグ40には、前記第1実施形態のエアバッグ16と同様、前側エアバッグ41と後側エアバッグ42とを、その外部で接続する左右一対の補強布29R,29L(図7では、29Lのみ図示する。)が設けられている。   Further, the airbag 40 has a pair of left and right reinforcing fabrics 29R and 29L that connect the front airbag 41 and the rear airbag 42 outside the same as in the airbag 16 of the first embodiment (in FIG. 7). , 29L is shown).

次に、以上の構成された本実施形態の作用を説明する。
インフレータ17から前側エアバッグ41にガスが供給されると、前側エアバッグ41が前席11の背もたれ部18の背面に沿うように上方に展開膨張していく。このとき、スライドクロス44が上下方向に折り畳まれた状態となっており、図8(a),(b)に示すように、孔45が連通孔43に重なっているので、前側エアバッグ41から連通孔43を通じて後側エアバッグ42にもガスが供給され、後側エアバッグ42も展開膨張していく。
Next, the operation of the present embodiment configured as described above will be described.
When gas is supplied from the inflator 17 to the front airbag 41, the front airbag 41 is deployed and inflated upward along the back surface of the backrest portion 18 of the front seat 11. At this time, the slide cloth 44 is folded in the vertical direction, and the hole 45 overlaps the communication hole 43 as shown in FIGS. Gas is also supplied to the rear airbag 42 through the communication hole 43, and the rear airbag 42 is also deployed and inflated.

両エアバッグ41,42の展開膨張に伴ってスライドクロス44が上下方向に伸展し、孔45が連通孔43からずれていく。このため、前側エアバッグ41から後側エアバッグ42に供給されるガスの流量が徐々に減少していく。両エアバッグ41,42がほぼ展開膨張すると、図9(a),(b)に示すように、スライドクロス44が伸展した状態となり、孔45が連通孔43に完全に重ならない状態となる。また、後側膨張部20の内部から、粗い縫い目を通じてガスの一部が外部に放出される。このため、エアバッグ40が展開膨張したときに、後側エアバッグ42の内圧が前側エアバッグ41の内圧よりも低くなる。従って、本実施形態のエアバッグ40も、前記第1実施形態のエアバッグ16と同様の作用を奏する。   As the airbags 41 and 42 are deployed and inflated, the slide cloth 44 extends in the vertical direction, and the hole 45 is displaced from the communication hole 43. For this reason, the flow rate of the gas supplied from the front airbag 41 to the rear airbag 42 gradually decreases. When both airbags 41 and 42 are substantially deployed and inflated, as shown in FIGS. 9A and 9B, the slide cloth 44 is extended, and the hole 45 is not completely overlapped with the communication hole 43. In addition, a part of the gas is released from the inside of the rear side inflating portion 20 to the outside through a rough seam. For this reason, when the airbag 40 is deployed and inflated, the internal pressure of the rear airbag 42 becomes lower than the internal pressure of the front airbag 41. Therefore, the airbag 40 of this embodiment also has the same effect as the airbag 16 of the first embodiment.

従って、本実施形態によっても、前記第1実施形態の(1)〜(3)に記載した各効果を得ることができる。
なお、この実施形態は、次のようにして具体化することも可能である。
Therefore, also by this embodiment, each effect described in (1)-(3) of the said 1st Embodiment can be acquired.
This embodiment can also be embodied as follows.

・ 前記実施形態において、各補強布29R,29Lに代えて、両端を後側膨張部20及び前側膨張部19に縫い付けて後側膨張部20を拘束する左右一対の紐あるいは帯を設けた構成とすること。   In the above embodiment, instead of the reinforcing cloths 29R and 29L, a pair of left and right strings or bands that sew both ends to the rear inflatable portion 20 and the front inflatable portion 19 to restrain the rear inflatable portion 20 are provided. To do.

以下、前記各実施形態から把握される技術的思想をその効果とともに列記する。
(1) 請求項1に記載の後席用エアバッグに記載の発明において、前記前側膨張部及び後側膨張部は、それぞれ独立したエアバッグ(前側エアバッグ40、後側エアバッグ41)によって形成されるとともに、両エアバッグ間を連通する連通孔(43)によって連通され、前記内圧調節手段(スライドクロス44)は、前記両エアバッグの展開膨張に伴って、前記連通孔を通じて前側膨張部から後側膨張部に移動するガスの流量を減少させることで、後側膨張部の内圧を前側膨張部の内圧よりも低くすることを特徴とする後席用エアバッグ。
Hereinafter, the technical ideas grasped from the respective embodiments will be listed together with their effects.
(1) In the invention according to the rear seat airbag according to claim 1, the front inflatable portion and the rear inflatable portion are formed by independent airbags (front airbag 40, rear airbag 41), respectively. In addition, the internal pressure adjusting means (slide cross 44) is communicated from the front inflating portion through the communication hole as the two airbags are deployed and inflated. A rear seat airbag characterized in that the internal pressure of the rear inflatable portion is made lower than the internal pressure of the front inflatable portion by reducing the flow rate of the gas moving to the rear inflatable portion.

本実施形態の後席用エアバッグ装置を示す側面図。The side view which shows the airbag apparatus for rear seats of this embodiment. 後席用エアバッグ装置を示す縦断面図。The longitudinal cross-sectional view which shows the airbag apparatus for rear seats. 図2におけるA−A線断面図。AA sectional view taken on the line in FIG. (a)は展開膨張過程での第2テザーを示す断面図、(b)は(a)のB−B線断面図。(A) is sectional drawing which shows the 2nd tether in the expansion | deployment expansion process, (b) is the BB sectional drawing of (a). 作動時の後席用エアバッグを示す側面図。The side view which shows the airbag for backseats at the time of an action | operation. 作動時の後席用エアバッグを示す側面図。The side view which shows the airbag for backseats at the time of an action | operation. 第2実施形態の後席用エアバッグを示す斜視図。The perspective view which shows the airbag for backseats of 2nd Embodiment. (a)は連通孔及びスライドクロスが設けられた前側膨張部の先端部を示す断面図、(b)は(a)のC−C線断面図。(A) is sectional drawing which shows the front-end | tip part of the front side expansion part in which the communicating hole and the slide cross were provided, (b) is CC sectional view taken on the line of (a). (a)は連通孔及びスライドクロスが設けられた前側膨張部の先端部を示す断面図、(b)は(a)のD−D線断面図。(A) is sectional drawing which shows the front-end | tip part of the front side expansion | swelling part provided with the communicating hole and the slide cross, (b) is DD sectional view taken on the line of (a).

符号の説明Explanation of symbols

10…後席用エアバッグとしてのエアバッグモジュール、11…前席、12…(前席の)座部、14…後席乗員、15…ケース、16…エアバッグ、17…インフレータ、18…(前席の)背もたれ部、19…前側膨張部、20…後側膨張部、28b…内圧調節手段及び区画手段としての第2テザー、29R,29L…拘束手段としての補強布、32…大腿部、33…ガス流路、34…内圧調節手段及びガス放出手段としてのベントホール、40…エアバッグ、41…前側膨張部としての前側エアバッグ、42…後側膨張部としての後側エアバッグ、43…連通孔、44…内圧調節手段としてのスライドクロス。   DESCRIPTION OF SYMBOLS 10 ... Airbag module as a backseat airbag, 11 ... Front seat, 12 ... (Front seat) seat part, 14 ... Rear seat passenger, 15 ... Case, 16 ... Air bag, 17 ... Inflator, 18 ... ( Back portion of the front seat, 19 ... front inflating portion, 20 ... rear inflating portion, 28b ... second tether as internal pressure adjusting means and partitioning means, 29R, 29L ... reinforcing cloth as restraining means, 32 ... thigh 33 ... Gas flow path, 34 ... Vent hole as internal pressure adjusting means and gas releasing means, 40 ... Air bag, 41 ... Front airbag as front inflation part, 42 ... Rear airbag as rear inflation part, 43 ... Communication hole, 44 ... Slide cross as internal pressure adjusting means.

Claims (7)

前席の下部から、前席の背もたれ部の背面側に展開膨張する後席用エアバッグであって、
前記背もたれ部の背面に沿うように上方に展開膨張する前側膨張部と、
この前側膨張部の先端側から後方へ展開膨張する後側膨張部と、
前記後側膨張部の内圧を前記前側膨張部の内圧よりも低くする内圧調節手段とを備えることを特徴とする後席用エアバッグ。
A rear seat airbag that expands and inflates from the lower portion of the front seat to the back side of the backrest portion of the front seat,
A front expansion portion that expands and expands upward along the back surface of the backrest portion;
A rear side inflating part that expands and inflates backward from the front end side of the front side inflating part;
An air bag for a rear seat, comprising: an internal pressure adjusting means for making an internal pressure of the rear side inflating portion lower than an internal pressure of the front side inflating portion.
前記前側膨張部及び後側膨張部は、1つのエアバッグの内部を区画するとともに前側膨張部から後側膨張部へのガスの移動を許容する区画手段によって形成され、
前記区画手段は、前記エアバッグの展開膨張に伴って、前記前側膨張部から後側膨張部に移動させるガスの流量を減少させることを特徴とする請求項1に記載の後席用エアバッグ。
The front side inflating part and the rear side inflating part are formed by a partition means that partitions the inside of one airbag and allows gas movement from the front side inflating part to the rear side inflating part,
2. The rear seat airbag according to claim 1, wherein the partition means reduces a flow rate of a gas that is moved from the front-side inflating portion to the rear-side inflating portion as the airbag is deployed and inflated.
前記内圧調節手段は、前記後側膨張部に設けられたガス放出手段であって、
該ガス放出手段は、前側膨張部から後側膨張部に移動したガスの一部をエアバッグの外部に放出することで、後側膨張部の内圧を前側膨張部の内圧よりも低くすることを特徴とする請求項2に記載の後席用エアバッグ。
The internal pressure adjusting means is a gas releasing means provided in the rear expansion part,
The gas releasing means releases a part of the gas moved from the front side inflating part to the rear side inflating part to the outside of the airbag, so that the internal pressure of the rear side inflating part is made lower than the internal pressure of the front side inflating part. The rear seat airbag according to claim 2, wherein the airbag is a rear seat airbag.
前記内圧調節手段は、前記区画手段であって、
該区画手段は、前記エアバッグの展開膨張に伴って、前記前側膨張部から後側膨張部に移動させるガスの流量を減少させることによって後側膨張部の内圧を前側膨張部の内圧よりも低くすることを特徴とする請求項2に記載の後席用エアバッグ。
The internal pressure adjusting means is the partitioning means,
The partition means reduces the internal pressure of the rear inflatable portion lower than the internal pressure of the front inflatable portion by reducing the flow rate of the gas moved from the front inflatable portion to the rear inflatable portion as the airbag is deployed and inflated. The rear seat airbag according to claim 2.
前記区画手段は、エアバッグの上側部と下側部とを接続するとともに、左右側部との間にそれぞれガス流路を形成するテザーであることを特徴とする請求項4に記載の後席用エアバッグ。   5. The rear seat according to claim 4, wherein the partitioning means is a tether that connects the upper side portion and the lower side portion of the airbag and forms gas flow paths between the left and right side portions, respectively. Airbags. 前記後側膨張部が後席乗員の大腿部の上部を覆うように、該後側膨張部を前記前側膨張部に対して拘束する拘束手段を設けたことを特徴とする請求項1〜請求項5のいずれか一項に記載の後席用エアバッグ。   The restraint means which restrains this rear expansion part to the front expansion part is provided so that the rear expansion part may cover the upper part of the thigh of a rear seat occupant. Item 6. The rear seat airbag according to any one of Items 5. エアバッグとインフレータとを収容したケースが、前席の座部又は座部の下側に配置され、車両に加わる衝撃に基づいて前記インフレータを作動させ、前記エアバッグを展開膨張させる後席用エアバッグ装置であって、
前記エアバッグとして、請求項1〜請求項6のいずれか一項に記載の後席用エアバッグを用いたことを特徴とする後席用エアバッグ装置。
A rear seat air in which a case containing an airbag and an inflator is disposed on the seat portion of the front seat or below the seat portion, operates the inflator based on an impact applied to the vehicle, and deploys and inflates the airbag. A bag device,
A backseat airbag device using the backseat airbag according to any one of claims 1 to 6 as the airbag.
JP2003334093A 2003-09-25 2003-09-25 Rear seat airbag and rear seat airbag device Pending JP2005096654A (en)

Priority Applications (1)

Application Number Priority Date Filing Date Title
JP2003334093A JP2005096654A (en) 2003-09-25 2003-09-25 Rear seat airbag and rear seat airbag device

Applications Claiming Priority (1)

Application Number Priority Date Filing Date Title
JP2003334093A JP2005096654A (en) 2003-09-25 2003-09-25 Rear seat airbag and rear seat airbag device

Publications (1)

Publication Number Publication Date
JP2005096654A true JP2005096654A (en) 2005-04-14

Family

ID=34461912

Family Applications (1)

Application Number Title Priority Date Filing Date
JP2003334093A Pending JP2005096654A (en) 2003-09-25 2003-09-25 Rear seat airbag and rear seat airbag device

Country Status (1)

Country Link
JP (1) JP2005096654A (en)

Cited By (15)

* Cited by examiner, † Cited by third party
Publication number Priority date Publication date Assignee Title
JP2006298123A (en) * 2005-04-20 2006-11-02 Nippon Plast Co Ltd Air bag and air bag device
JP2006298052A (en) * 2005-04-18 2006-11-02 Nissan Motor Co Ltd Occupant protection device and method
JP2007137252A (en) * 2005-11-18 2007-06-07 Honda Motor Co Ltd Collision protection device
JP2007261505A (en) * 2006-03-29 2007-10-11 Toyoda Gosei Co Ltd Airbag for front passenger seat
JP2007261504A (en) * 2006-03-29 2007-10-11 Toyoda Gosei Co Ltd Airbag device for front passenger seat
JP2008149965A (en) * 2006-12-19 2008-07-03 Toyoda Gosei Co Ltd Air bag device
JP2009143549A (en) * 2007-12-15 2009-07-02 Kia Motors Corp Airbag cushion structure with variable inner vent hole
KR100938530B1 (en) 2008-02-20 2010-01-25 델파이코리아 주식회사 Knee airbag
JP2011079450A (en) * 2009-10-08 2011-04-21 Toyota Motor Corp Airbag device
US20110241319A1 (en) * 2010-03-31 2011-10-06 Tk Holdings Inc. Knee airbag
WO2016149022A1 (en) * 2015-03-16 2016-09-22 Autoliv Asp, Inc. Low-volume seat-mounted airbag assemblies with knee restraint
JP2017100682A (en) * 2015-12-04 2017-06-08 トヨタ自動車株式会社 Rear seat occupant protection airbag device for vehicle
US9896056B2 (en) * 2014-02-12 2018-02-20 Daimler Ag Passenger protection device for a vehicle, and vehicle
JP2020055370A (en) * 2018-09-28 2020-04-09 株式会社Subaru Occupant protection device
JP2024100615A (en) * 2023-01-16 2024-07-26 トヨタ自動車株式会社 Vehicle occupant restraint structure

Cited By (18)

* Cited by examiner, † Cited by third party
Publication number Priority date Publication date Assignee Title
JP2006298052A (en) * 2005-04-18 2006-11-02 Nissan Motor Co Ltd Occupant protection device and method
JP2006298123A (en) * 2005-04-20 2006-11-02 Nippon Plast Co Ltd Air bag and air bag device
JP2007137252A (en) * 2005-11-18 2007-06-07 Honda Motor Co Ltd Collision protection device
JP2007261505A (en) * 2006-03-29 2007-10-11 Toyoda Gosei Co Ltd Airbag for front passenger seat
JP2007261504A (en) * 2006-03-29 2007-10-11 Toyoda Gosei Co Ltd Airbag device for front passenger seat
JP2008149965A (en) * 2006-12-19 2008-07-03 Toyoda Gosei Co Ltd Air bag device
JP2009143549A (en) * 2007-12-15 2009-07-02 Kia Motors Corp Airbag cushion structure with variable inner vent hole
KR100938530B1 (en) 2008-02-20 2010-01-25 델파이코리아 주식회사 Knee airbag
JP2011079450A (en) * 2009-10-08 2011-04-21 Toyota Motor Corp Airbag device
US20110241319A1 (en) * 2010-03-31 2011-10-06 Tk Holdings Inc. Knee airbag
US8500161B2 (en) * 2010-03-31 2013-08-06 Tk Holdings Inc. Knee airbag
US9896056B2 (en) * 2014-02-12 2018-02-20 Daimler Ag Passenger protection device for a vehicle, and vehicle
WO2016149022A1 (en) * 2015-03-16 2016-09-22 Autoliv Asp, Inc. Low-volume seat-mounted airbag assemblies with knee restraint
JP2017100682A (en) * 2015-12-04 2017-06-08 トヨタ自動車株式会社 Rear seat occupant protection airbag device for vehicle
JP2020055370A (en) * 2018-09-28 2020-04-09 株式会社Subaru Occupant protection device
JP7133423B2 (en) 2018-09-28 2022-09-08 株式会社Subaru passenger protection device
JP2024100615A (en) * 2023-01-16 2024-07-26 トヨタ自動車株式会社 Vehicle occupant restraint structure
JP7803289B2 (en) 2023-01-16 2026-01-21 トヨタ自動車株式会社 Vehicle occupant restraint structure

Similar Documents

Publication Publication Date Title
JP6673392B2 (en) Occupant protection device
JP6411965B2 (en) Crew protection device
JP5949737B2 (en) Far-side airbag device for vehicles
JP6237727B2 (en) Vehicle occupant protection device
JP5004587B2 (en) Side airbag device and side airbag system
JP5804214B2 (en) Side airbag device for vehicle and vehicle seat
CN104093606B (en) Vehicle side airbag device
WO2014013822A1 (en) Side airbag device for vehicle
JP4552840B2 (en) Side airbag device
JP2014162390A (en) Vehicular side airbag device
JP2009137536A (en) Side airbag device
CN110869248A (en) occupant protection device
JP4816387B2 (en) Side airbag device
JP6354044B2 (en) Side airbag device
JP2009018715A (en) Side airbag device
JP2005096654A (en) Rear seat airbag and rear seat airbag device
JP5783145B2 (en) Side airbag deployment method and vehicle side airbag device
JP2005096653A (en) Rear seat airbag and rear seat airbag device
JP2011143805A (en) Airbag device
JP4569310B2 (en) Knee airbag device for vehicle
JP6332527B2 (en) Side airbag device for vehicle
JP2006321327A (en) Side airbag device and method for folding the airbag
JP2018161925A (en) Side airbag device
JP7404151B2 (en) side airbag device
JP2010195351A (en) Knee airbag device

Legal Events

Date Code Title Description
A521 Written amendment

Free format text: JAPANESE INTERMEDIATE CODE: A523

Effective date: 20050912

A521 Written amendment

Free format text: JAPANESE INTERMEDIATE CODE: A821

Effective date: 20050912