[go: up one dir, main page]

JP2004274928A - Controlling equipment of actuators - Google Patents

Controlling equipment of actuators Download PDF

Info

Publication number
JP2004274928A
JP2004274928A JP2003064634A JP2003064634A JP2004274928A JP 2004274928 A JP2004274928 A JP 2004274928A JP 2003064634 A JP2003064634 A JP 2003064634A JP 2003064634 A JP2003064634 A JP 2003064634A JP 2004274928 A JP2004274928 A JP 2004274928A
Authority
JP
Japan
Prior art keywords
motor
current
value
time
limit value
Prior art date
Legal status (The legal status is an assumption and is not a legal conclusion. Google has not performed a legal analysis and makes no representation as to the accuracy of the status listed.)
Pending
Application number
JP2003064634A
Other languages
Japanese (ja)
Inventor
Satoshi Morizaki
聡 森崎
Current Assignee (The listed assignees may be inaccurate. Google has not performed a legal analysis and makes no representation or warranty as to the accuracy of the list.)
Asmo Co Ltd
Original Assignee
Asmo Co Ltd
Priority date (The priority date is an assumption and is not a legal conclusion. Google has not performed a legal analysis and makes no representation as to the accuracy of the date listed.)
Filing date
Publication date
Application filed by Asmo Co Ltd filed Critical Asmo Co Ltd
Priority to JP2003064634A priority Critical patent/JP2004274928A/en
Publication of JP2004274928A publication Critical patent/JP2004274928A/en
Pending legal-status Critical Current

Links

Images

Landscapes

  • Control Of Electric Motors In General (AREA)
  • Stopping Of Electric Motors (AREA)

Abstract

<P>PROBLEM TO BE SOLVED: To restrain burning of a circuit, and provide reduction in size and manufacturing cost. <P>SOLUTION: Each control circuit of an actuator select either of a first exciting mode or a second exciting mode, and controls driving of a motor with the selected exciting mode. With the first exciting mode, a first current limit value I<SB>1</SB>which is larger than a rated current value is taken as a maximum current, and a current exceeding a second current limit value I<SB>2</SB>which is lower than the rated current value excites the motor in a pulse condition, therefore the current at or more than the rated current value can be fed into the motor to obtain a larger torque. The current exceeding the second current limit value I<SB>2</SB>excites the motor in the pulse condition, the mean current can be lowered than the rated current value, thus preventing the burning of the driving circuit. On the other hand, with the second exciting mode, the second current limit value I<SB>2</SB>lower than the rated current value is taken as the maximum current to continuously excite the motor, thus obtaining the torque smaller than the first exciting mode. <P>COPYRIGHT: (C)2004,JPO&NCIPI

Description

【0001】
【発明の属する技術分野】
本発明は、被駆動体を駆動するアクチュエータの制御装置に関する。
【0002】
【従来の技術】
従来、電動機制御回路として、第1の過電流より低い第2の過電流を検出する手段を備え、第2の過電流が所定時間継続した際に、モータへの通電を制限するようにした技術が知られている(例えば、特許文献1参照)。
【0003】
また、直流電動機の制御回路として、電動機電流が所定の最大値を超過した場合に、電動機への通電と遮断を繰り返して電動機にパルス状に通電する技術が知られている(例えば、特許文献2参照)。
【0004】
また、モータ駆動装置として、モータコイルに供給された電流が所定のレベルを超えたとき、モータコイルに供給される電流を停止し、その後電流の供給を開始するようにした技術が知られている(例えば、特許文献3)。
【0005】
【特許文献1】
特開2001−103788号公報
【特許文献2】
特開平10−117494号公報
【特許文献3】
特開平8−256495号公報
【0006】
【発明が解決しようとする課題】
このため、上記3つの従来技術のいずれも、起動時とイニシャライズ時の両方に対応できるものではなく、これら両方に対応できるようにするには、少なくとも最大負荷に対するトルクを確保する必要がある。そのためには、モータ駆動回路の定格電流値が大きく設定されることになるので、回路の焼損を抑制しつつ、回路の小型化を図るのが難しくなるという問題があった。
【0007】
本発明は、このような従来の問題点に着目してなされたもので、その目的は、回路の焼損を抑制しつつ、小型化を可能にし、製造コストの低減を図ったアクチュエータの制御装置を提供することにある。
【0008】
【課題を解決するための手段】
上記課題を解決するために、請求項1に係る発明は、被駆動体を駆動するモータと、モータの駆動回路と、該駆動回路に制御信号を出力して前記モータを駆動制御する制御回路とを備えるアクチュエータの制御装置において、前記制御回路は、前記駆動回路の定格電流値より高い第1電流制限値を最大電流として、前記定格電流値より低い第2電流制限値を超えた電流を前記モータにパルス状に通電する第1の通電モードと、前記第2電流制限値を最大電流として前記モータに連続通電する第2の通電モードとを含む複数の通電モードのいずれか一つを選択し、選択した通電モードで前記モータを駆動制御することを要旨とする。
【0009】
この構成によれば、第1の通電モードでモータを駆動制御する場合、定格電流値より高い第1電流制限値を最大電流として、定格電流値より低い第2電流制限値を超えた電流をモータにパルス状に通電するので、定格電流値以上の電流をモータに流すことが可能になり、大きなトルクが得られる。また、第2電流制限値を超えた電流をモータにパルス状に通電するので、連続通電する場合と比べて平均電流を定格電流値より低くすることが可能になり、駆動回路の焼損が防止される。一方、第2の通電モードでモータを駆動制御する場合、定格電流値より低い第2電流制限値を最大電流としてモータに連続通電するので、第1の通電モードよりも小さいトルクが得られる。
【0010】
このような2つの通電モードをアクチュエータの使用状況により使い分けることができるので、アクチュエータの最大負荷に対するトルクを落とすことなく、定格電流値を下げることができる。したがって、回路の焼損を抑制しつつ、回路の小型化が可能になり、製造コストを低減することができる。
【0011】
請求項2に係る発明は、請求項1に記載のアクチュエータの制御装置において、前記制御回路は、起動時に前記第1の通電モードと前記第2の通電モードのいずれか一方で前記モータを駆動制御するとともに、前記モータの初期位置を設定するイニシャライズ時に前記第2の通電モードで前記モータを駆動制御することを要旨とする。
【0012】
一般に、アクチュエータのモータを駆動制御して被駆動体、例えば、車両用エアコンユニットのドアの位置を制御する場合、初期状態では被駆動体の端位置を検出し、その位置を位置制御の原点とする必要がある。そのため、初期状態でモータを起動させ、被駆動体を端位置でロックさせてそのロック位置を検出し、検出したロック位置をモータの初期位置として設定するイニシャライズを行う。
【0013】
この構成によれば、大きなトルクが必要な起動時には第1の通電モードと第2の通電モードのいずれか一方でモータを駆動制御し、起動時より小さなトルクで済むイニシャライズ時には第2の通電モードでモータを駆動制御するようにしている。このため、起動時には、過電流による駆動回路の焼損を抑制しつつ、アクチュエータの最大負荷に対するトルクを落とすことなく、モータを起動させることができる。これにより、駆動回路や制御回路を内蔵する専用のIC(カスタムIC)を作る場合、ICの小型化が可能になり、ICの製造コストを低減することができる。また、被駆動体を端位置でロックさせて被駆動体の初期位置設定を行うイニシャライズ時には、起動時より小さなトルクでモータを駆動させることができる。これにより、イニシャライズ中に被駆動体が端位置でロックしても、被駆動体を保持する部材、例えばエアコンユニットのダクトなどを変形させて被駆動体の端位置がずれるのを回避でき、モータの初期位置を正確に設定することができる。したがって、回路の小型化が可能になるとともに、イニシャライズの精度が向上する。
【0014】
請求項3に係る発明は、請求項1又は2に記載のアクチュエータの制御装置において、前記制御回路は、前記第1の通電モードで前記第2電流制限値を超えた電流を前記モータにパルス状に通電するために、前記モータが起動するのに必要な時間に設定されたオン設定時間の間、前記モータに通電するオン動作と、前記オン設定時間の経過後、オフ設定時間の間、前記モータへの通電を停止するオフ動作とを交互に繰り返すことを要旨とする。
【0015】
この構成によれば、第1の通電モードで第2電流制限値を超えた電流をモータにパルス状に通電するのに、モータが起動するのに必要な時間に設定されたオン設定時間の間、モータに通電するオン動作と、オン設定時間の経過後、オフ設定時間の間、モータへの通電を停止するオフ動作とを交互に繰り返す。これにより、モータを確実に起動させることができる。
【0016】
請求項4に係る発明は、請求項3に記載のアクチュエータの制御装置において、前記オン設定時間とオフ設定時間は、これら両設定時間を1周期とする時間での平均電流が前記定格電流値を超えないように設定されることを要旨とする。
【0017】
この構成によれば、回路の発熱を抑制できるので、回路の焼損をさらに抑制することができる。
請求項5に係る発明は、請求項3又は4に記載のアクチュエータの制御装置において、前記制御回路は、前記第1の通電モードで前記モータを駆動制御する際に、前記第2電流制限値を超えた電流が前記モータに流れる時間が予め設定された過電流検出時間以下の場合、前記オン設定時間の経過後にそのまま通電を続行することを要旨とする。
【0018】
この構成によれば、モータへの通電を停止するオフ動作の発生頻度を減らして、モータに通電するオン時間を長くすることができる。
請求項6に係る発明は、請求項1又は2に記載のアクチュエータの制御装置において、前記モータに流れる電流値を検出する電流値検出回路を含み、前記制御回路は、前記第1の通電モードで前記モータを駆動制御する際に、前記電流値検出回路により検出した電流値を、その検出した電流値が前記第2電流制限値を越えている時間で積分し、その積分値が一定値に達した時、前記モータへの通電を停止するとともに、前記積分値を0に設定する動作と、この設定後、予め設定されたオフ設定時間が経過するまでの間、前記モータへの通電を停止させる動作とを繰り返すことを要旨とする。
【0019】
この構成によれば、電流検出回路により検出する電流値が小さい場合、つまりその検出した電流値が第2電流制限値を越えた時点からの時間で積分した積分値が一定値に達するまでの時間が長くなる場合、モータに通電するオン時間を長くすることができる。
【0020】
請求項7に係る発明は、請求項1又は2に記載のアクチュエータの制御装置において、前記モータに流れる電流値を検出する電流値検出回路を含み、前記制御回路は、前記第1の通電モードで前記モータを駆動制御する際に、前記電流値検出回路により検出した電流値を、その検出した電流値が前記第2電流制限値を越えている時間で積分する動作と、前記検出した電流値が前記第2電流制限値より低い電流設定値以下の間は前記積分値を減らす動作と、前記その積分値が一定値に達した後、予め設定されたオフ設定時間の間、前記モータへの通電を停止する動作と、前記オフ設定時間の経過後に前記モータへの通電を開始する動作とを行なうことを要旨とする。
【0021】
この構成によれば、電流値検出回路で検出した電流値が第2電流制限値より低い電流設定値以下の間は積分値を減らすので、電流検出回路により検出する電流値が小さくて、検出した電流値が電流設定値以下になる時間が長くなる場合、モータに通電するオン時間を長くすることができる。
【0022】
【発明の実施の形態】
以下、本発明を具体化したアクチュエータの制御装置の各実施形態を図面に基づいて説明する。各実施形態のアクチュエータの制御装置は、車両用エアコンの内外気切換ドア、吹出し口切換ドア、温度調節用のエアミックスドアなど、被駆動体としての複数のドアを複数のアクチュエータの各モータで駆動制御するエアコン用ドアアクチュエータの制御装置である。
【0023】
[ 第1の実施形態 ]
第1実施形態に係るエアコン用ドアアクチュエータの制御装置を、図1〜図6に基づいて説明する。
【0024】
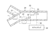
図3は第1実施形態に係るエアコン用ドアアクチュエータの制御装置20の電気的構成を示している。この制御装置20は、複数のアクチュエータ21〜23(図5および図6参照)と、これらのアクチュエータにそれぞれ制御指令を送るマスタECUであるエアコンアンプ30とを備えている。図5および図6では複数のアクチュエータの内3つのアクチュエータ21〜23が示されており、図3では複数のアクチュエータの内1つのアクチュエータ21のみが示されている。
【0025】
アクチュエータ21〜23はそれぞれ、図5および図6に示すように、車両用エアコンユニットのダクト24の外面の所定個所に取り付けられている。アクチュエータ21〜23は、ダクト24の各吹出し口に回動可能に設けられたドア31〜33を駆動するモータ25をそれぞれ備えている。アクチュエータ21〜23の各モータ25は、対応するドア31〜33と減速機構などを介して駆動連結しており、アクチュエータ21〜23の各モータ25により対応するドア31〜33が開閉されるようになっている。
【0026】
次に、エアコン用ドアアクチュエータの制御装置(以下、単に「制御装置」という。)20の電気的構成を、図3および図4に基づいて説明する。
エアコンアンプ30は、マイクロコンピュータで構成されており、車両の操作パネル(図示省略)に設けられた複数のエアコン操作スイッチの各操作に応じてアクチュエータ21〜23に制御指令を送るようになっている。
【0027】
複数のアクチュエータ21〜23はそれぞれ、図3に示すように、モータ25と、モータ25の回転位置を検出する位置検出センサ26と、IC27と、複数のID設定端子を有するスイッチ回路28とを備えている。位置検出センサ26は、エンコーダ或いはポテンショメータなどである。
【0028】
IC27は、図4に示すように、モータ25の駆動回路41と、モータ25に流れる電流値を検出する電流値検出回路42と、駆動回路41に制御信号を出力してモータ25を駆動制御する制御回路43とを備えている。さらに、IC27は、電源回路44と、通信回路45と、ID回路46とを備えている。
【0029】
制御回路43は、電源回路44とプラス側の電源線51を介してエアコンアンプ30に接続されているとともに、マイナス側の電源線52を介してエアコンアンプ30と接続されている。これにより、一定の電源電圧が電源回路44を介して制御回路43に供給されるようになっている。また、制御回路43には、エアコンアンプ30からの制御指令がバスライン53および通信回路45を介して供給されるようになっている。
【0030】
複数のアクチュエータ21はそれぞれ、図5および図6に示すように、共通の制御信号線50を介して1つのエアコンアンプ30と電気的に接続されている。この制御信号線50は、前記電源線51、電源線52およびバスライン53を含む線として便宜上示してある。そのため、エアコンアンプ30からバスライン53を介して送られる制御指令には、複数のアクチュエータ21〜23のいずれか一つを特定するアドレス情報として2進数からなるIDデータが含まれている。このIDデータは、例えば、アクチュエータ21の制御指令の場合には(0001)であり、アクチュエータ22の制御指令の場合には(0010)であり、アクチュエータ23の制御指令の場合には(0011)である。
【0031】
各アクチュエータ21〜23のID回路46は、通信回路45とスイッチ回路28を介して送られるIDデータと、スイッチ回路28のID設定端子の接続状態で決まる各アクチュエータ固有のIDデータとを比較する。そして、ID回路46は、その比較により両データが一致したときに、エアコンアンプ30から通信回路45に送られる制御指令を制御回路43に通過させるようになっている。
【0032】
アクチュエータ21〜23の各制御回路43は、第1の通電モードと第2の通電モードの2つの通電モードを有しており、これら2つの通電モードのいずれか一方を選択し、選択した通電モードでモータ25を駆動制御するようになっている。
【0033】
第1の通電モードは、図1に示すように、駆動回路41の定格電流値より高い第1電流制限値Iを最大電流として、定格電流値より低い第2電流制限値Iを超えた電流をモータ25にパルス状に通電する通電モードである。一方、第2の通電モードは、第2電流制限値Iを最大電流としてモータ25に連続通電する通電モードである。
【0034】
なお、ここにいう「第1電流制限値Iを最大電流として」とは、モータ25に流れる電流値をPWM制御により、モータ25に流れる電流を第1電流制限値Iを超えないように制限することを意味する。そのために、モータ25に流れるモータ電流値を駆動回路41のシャント抵抗で検出し、その検出値が第1電流制限値Iを超えると、駆動回路41のFETをオフにしてモータ25への通電を停止するようになっている。また、「第2電流制限値Iを最大電流として」とは、同様に、モータ25に流れる電流を第2電流制限値Iを超えないように制限することを意味する。
【0035】
各制御回路43は、第1の通電モードで第2電流制限値Iを超えた電流をモータ25にパルス状に通電するために、オン設定時間Tonの間、モータ25に通電するオン動作と、Tonの経過後、オフ設定時間Toffの間、モータ25への通電を停止するオフ動作とを交互に繰り返すようになっている。
【0036】
オン設定時間Tonは、電流値検出回路42により検出した電流値が第2電流制限値Iを越えた時(図2(a)のt2時点)から計時され、モータ25が起動するのに必要な時間(例えば、5ms〜20ms)に予め設定されている。また、オン設定時間Tonとオフ設定時間Toffは、これら両設定時間を1周期とする時間での平均電流が駆動回路41の定格電流値を超えないように設定される。
【0037】
また、各制御回路43は、エアコンアンプ30から制御指令として送られるモード選択信号に従って第1の通電モードと第2の通電モードのいずれか一方を選択し、選択した通電モードでモータ25を駆動制御するようになっている。例えば、以下で説明する3つの場合(1)〜(3)に、エアコンアンプ30からアクチュエータ21〜23の各制御回路43にモード選択信号が送られ、これにより各制御回路43はイニシャライズ動作を実行するようになっている。
【0038】
(1)エアコンアンプ30のCPU(図示省略)は、アクチュエータ21〜23のいずれの初期位置も設定されていない初期状態で、バッテリが接続されるなどのイニシャライズ条件が成立した場合に、各アクチュエータ21〜23にモード選択信号を順に送ってイニシャライズ動作を実行させる。
【0039】
例えば、エアコンアンプ30は、アクチュエータ21〜23の各モータ25への通電が開始される時点(図1のt1時点)から計時を開始し、第1の所定時間T1が経過するまでは、各アクチュエータ21〜23に第1の通電モードを選択するモード選択信号を送る。そして、第1の所定時間T1が経過した時点(図1のt5時点)から第2の所定時間T2が経過するまでは、各アクチュエータ21〜23に第2の通電モードを選択する制御指令を送るようになっている。これにより、本例では、アクチュエータ21〜23の各制御回路43は、起動時に第1の通電モードで各モータ25を駆動制御するとともに、各モータ25のイニシャライズ時に第2の通電モードでモータ25を駆動制御するようになっている。
【0040】
(2)エアコンアンプ30のCPUは、各アクチュエータ21〜23の初期位置設定後に、バッテリが交換されたと判断した場合に、上記初期状態の場合と同様に、各アクチュエータ21〜23にモード選択信号を順に送ってイニシャライズ動作を実行させるようになっている。
【0041】
(3)エアコンアンプ30のCPUは、アクチュエータ21〜23のいずれかにおいて設定された初期位置がずれたと判断した場合にイニシャライズ条件が成立し、初期位置がずれたアクチュエータにイニシャライズ動作を再び実行させるようになっている。
【0042】
次に、一例として上記(1)の場合に各アクチュエータ21〜23により実行されるイニシャライズ動作を、図1および図2に基づいて説明する。ここで説明する各アクチュエータ21〜23のイニシャライズ動作は、例えば、各アクチュエータ毎に一つずつ順に行う。なお、以下の説明では、簡略化のためにアクチュエータ21の動作についてのみ説明する。
【0043】
まず、アクチュエータ21の制御回路43は、モータ25への通電が開始される図1のt1時点から第1の所定時間T1が経過するt5時点までの起動時に、エアコンアンプ30から送られる前記モード選択信号により第1の通電モードを選択し、第1の通電モードでモータ25を駆動制御する。このとき、定格電流値より高い第1電流制限値Iを最大電流として、定格電流値より低い第2電流制限値Iを超えた電流がモータ25にパルス状に通電され、モータ25が起動される。
【0044】
第2電流制限値Iを超えた電流をモータ25にパルス状に通電するのに、制御回路43は、オン設定時間Tonの間、第2電流制限値Iを超えた電流をモータ25に通電するオン動作と、Tonの経過後、オフ設定時間Toffの間、モータ25への通電を停止するオフ動作とを交互に繰り返す。TonとToffはそれぞれ予め設定された一定時間である。そのため、電流値検出回路42で検出される電流値(以下、「モータ電流値I」という。)が第2電流制限値Iを超えている時間がTonより長い場合、図2(a)に示すように、t1時点からTon時間が経過すると(t3時点に)、モータ25への通電が停止される。そして、t3時点からToffが経過すると(t4時点に)、モータ25への通電が再開される。一方、モータ電流値Iが第2電流制限値Iを超えている時間がTonより短い場合、つまり図2(b)に示すようにt3時点より前のt5時点にモータ電流値Iが第2電流制限値I以下になる場合にも、図2(a)の場合と同様の動作になる。
【0045】
こうして、モータ25が第1の通電モードで起動され、t1時点から第1の所定時間T1が経過すると、制御回路43は、エアコンアンプ30から送られる前記モード選択信号により第2の通電モードを選択し、第2の通電モードでモータ25を駆動制御する。第2の通電モードでは、第2電流制限値Iを最大電流としてモータ25に連続通電する。
【0046】
図1のt5時点からt6時点までの区間は、モータ25が第2の通電モードで駆動制御されて定速で回転する定常時を示している。また、図1のt6時点からt7時点までの区間は、モータ25により駆動されるドア31が回動して端位置に当たるまでの間に、負荷が変動してモータ25に流れる電流が変動している負荷変動時を示している。
【0047】
そして、図1のt7時点に、ドア31が端位置に当たってロックすると、位置検出センサ26の検出信号が変化するので、その変化に基づきロック検出機能により制御回路43がドア31のロックを検出する。位置検出センサ26がエンコーダの場合には、図1のt7時点からt8時点までの間、モータ25を駆動しているが、出力パルスが所定時間変化しないことで、制御回路43はロックを検出をする。また、位置検出センサ26がポテンショメータの場合、出力信号の電圧が所定時間変化しないことで、制御回路43はロックを検出をする。
【0048】
こうして、ドア31のロックを検出した制御回路43は、ロックが検出された位置をモータ25の初期位置として設定する。なお、このような初期位置設定動作中(イニシャライズ中)に、図1のt7時点からt8時点までの間、ドア31が端位置に当たってロックしているが、この間では、第2電流制限値Iを最大電流としてモータ25に連続通電している。そのため、イニシャライズ動作中にドア31が端位置でロックしても、ドア31を保持するダクト24(図5参照)にかかる力が弱く、ダクト24を変形させるのが回避される。
【0049】
このようにして各アクチュエータ21〜23のイニシャライズ動作を終了した後は、通常のエアコンユニット用ドアアクチュエータの場合と同様に、動作する。例えば、複数のエアコン操作スイッチのいずれかを操作して温度調節する場合には、アクチュエータ21〜23の内、エアミックスドアに相当するドア31〜33の一つを駆動するアクチュエータのモータ25をエアコンアンプ30からの制御指令に基づき駆動制御する。
【0050】
以上のように構成された第1実施形態によれば、以下の作用効果を奏する。
(イ)アクチュエータ21〜23の各制御回路43は、第1の通電モードと第2の通電モードのいずれか一方を選択し、選択した通電モードでモータ25を駆動制御する。第1の通電モードでモータ25を駆動制御する場合、定格電流値より高い第1電流制限値Iを最大電流として、定格電流値より低い第2電流制限値Iを超えた電流をモータ25にパルス状に通電するので、定格電流値以上の電流をモータ25に流すことが可能になり、大きなトルクが得られる。また、第2電流制限値Iを超えた電流をモータ25にパルス状に通電するので、連続通電する場合と比べて平均電流を定格電流値より低くすることが可能になり、駆動回路41の焼損が防止される。一方、第2の通電モードでモータ25を駆動制御する場合、定格電流値より低い第2電流制限値Iを最大電流としてモータ25に連続通電するので、第1の通電モードよりも小さいトルクが得られる。
【0051】
このような2つの通電モードをアクチュエータ21〜23の使用状況により使い分けることができるので、アクチュエータ21〜23の最大負荷に対するトルクを落とすことなく、定格電流値を下げることができる。したがって、回路の焼損を抑制しつつ、回路の小型化が可能になり、製造コストを低減することができる。
【0052】
(ロ)大きなトルクが必要な起動時には第1の通電モードでモータ25を駆動制御し、起動時より小さなトルクで済むイニシャライズ時には第2の通電モードでモータ25を駆動制御するようにしている。このため、起動時には、過電流による駆動回路41の焼損を抑制しつつ、アクチュエータ21〜23の最大負荷に対するトルクを落とすことなく、モータ25を起動させることができる。これにより、駆動回路41や制御回路43を内蔵する専用のIC(カスタムIC)27を作る場合、IC27の小型化が可能になり、IC27の製造コストを低減することができる。
【0053】
(ハ)各ドア31〜33を端位置でロックさせて各アクチュエータ21〜23の初期位置設定を行うイニシャライズ時には、起動時より小さなトルクでモータを駆動させることができる。これにより、イニシャライズ動作中にドア31〜33が端位置でロックしても、ドア31〜33を保持する部材であるダクト24を変形させて各ドア31〜33の端位置がずれてしまうのを回避でき、各アクチュエータ21〜23のモータの初期位置を正確に設定することができる。したがって、イニシャライズの精度が向上する。
【0054】
(ニ)制御回路43は、第1の通電モードで第2電流制限値Iを超えた電流をモータ25にパルス状に通電するのに、オン設定時間Tonの間、モータ25に通電するオン動作と、オン設定時間の経過後、オフ設定時間Toffの間、モータ25への通電を停止するオフ動作とを交互に繰り返す。そして、そのオン設定時間Tonは、モータ25が起動するのに必要な時間に設定されているので、各アクチュエータ21〜23のモータ25を確実に起動させることができる。
【0055】
(ホ)オン設定時間Tonとオフ設定時間Toffは、これら両設定時間を1周期とする時間での平均電流が駆動回路41の定格電流値を超えないように設定されているので、駆動回路41の発熱を抑制でき、駆動回路41の焼損をさらに抑制することができる。
【0056】
(ヘ)各アクチュエータ21〜23の制御回路43は、アクチュエータ21〜23のいずれの初期位置も設定されていない初期状態で、バッテリが接続されるなどのイニシャライズ条件が成立した場合に、各アクチュエータ21〜23の初期位置を正確に自動設定することができる。
【0057】
(ト)各アクチュエータ21〜23の制御回路43は、各アクチュエータ21〜23の初期位置設定後に、エアコンアンプ30によりバッテリが交換されたと判断した場合に、各アクチュエータ21〜23の初期位置を正確に自動で再設定することができる。同様に、各アクチュエータ21〜23の制御回路43は、アクチュエータ21〜23のいずれかにおいて設定された初期位置がずれたと判断した場合にも、初期位置がずれたアクチュエータの初期位置を正確に自動で再設定することができる。
【0058】
[ 第2実施形態]
次に、第2実施形態に係るエアコン用ドアアクチュエータの制御装置20を、図7に基づいて説明する。
【0059】
上記第1実施形態の制御装置20では、第1の通電モードでモータ25を駆動制御する際に、モータ電流値Iが一定時間であるオン設定時間Tonの経過前に第2電流制限値I以下になるか否かに拘わらず、上記t2時点からTonが経過した時点でモータ25への通電をオフ設定時間Toffの間停止する。これに対して、第2実施形態の制御装置20では、第1の通電モードでモータ25を駆動制御する際に、モータ電流値Iが第2電流制限値Iを超えている時間がTonより短い過電流検出時間Ta以下の場合、Tonの経過後にモータ25への通電をそのまま続行するようにしている。以後、このような動作を繰り返すことで、第1の通電モードにより、第2電流制限値Iを越えた電流をモータ25にパルス状に通電する。その他の構成は、上記第1実施形態と同じである。
【0060】
つまり、各アクチュエータ21〜23の制御回路43は、モータ電流値Iが第2電流制限値Iを越えている時間(第2電流制限値Iを超えた電流がモータ25に流れる時間)が過電流検出時間Taを超える場合にはTonの経過後に前記通電を停止、Ta以下の場合には通電を続行するようになっている。
【0061】
図7(a)は、モータ電流値Iが第2電流制限値Iを超えている時間が過電流検出時間Ta(t2時点からt3時点までの時間)より長い場合を示している。この場合、各アクチュエータ21〜23の制御回路43は、t2時点からのオン設定時間Tonが経過した後(t4時点に)、モータ25への通電をオフ設定時間Toffの間停止するように構成されている。
【0062】
一方、図7(b)は、モータ電流値Iが第2電流制限値Iを超えている時間(t2時点からt6時点までの時間)が過電流検出時間Ta以下の場合を示している。この場合、各アクチュエータ21〜23の制御回路43は、t2時点からのオン設定時間Tonが経過した後(t4時点の後)、モータ25への通電を停止せずに、そのまま続行するように構成されている。
【0063】
以上のように構成された第2実施形態によれば、上記作用効果(イ)〜(ハ)、(ヘ)および(ト)に加えて、以下の作用効果を奏する。
(チ)図7(b)に示すようにモータ電流値Iが第2電流制限値Iを超えている時間が過電流検出時間Ta以下の場合、その時間が図7(b)に示すようにTaより長い場合と比べて、モータ25への通電を停止するオフ動作の発生頻度を減らして、モータに通電するオン時間を長くすることができる。
【0064】
[ 第3実施形態]
次に、第3実施形態に係るエアコン用ドアアクチュエータの制御装置20を、図8に基づいて説明する。
【0065】
本実施形態の制御装置20では、第1の通電モードでモータ25を駆動制御する際に、モータ電流値Iを、その電流値が第2電流制限値Iを越えている時間で積分し、その積分値が一定値に達した時、モータ25への通電を停止するとともに、その積分値を0に設定する動作を行う。その設定後、予め設定されたオフ設定時間Toffが経過するまでの間、モータ25への通電を停止させる動作を行う。そして、オフ設定時間Toffの経過後は、モータ25への通電を再開する。以後、このような動作を繰り返すことで、第2電流制限値Iを越えた電流をモータ25にパルス状に通電する。
【0066】
図8(a)は、モータ電流値Iが第2電流制限値Iを越えている時間が長い場合を示している。この場合、各アクチュエータ21〜23の制御回路43は、モータ電流値Iを、その電流値が第2電流制限値Iを越えている時間で積分し、その積分値が積分設定値(図8(b)参照)に達した時(t3時点に)、モータ25への通電を停止するとともに、その積分値を0に設定するように構成されている。その設定後、オフ設定時間Toffが経過するまでの間、モータ25への通電を停止させる。そして、オフ設定時間Toffの経過後は、モータ25への通電を再開する。以後、このような動作を繰り返すことで、第1の通電モードにより、第2電流制限値Iを越えた電流をモータ25にパルス状に通電する。
【0067】
図8(c)は、モータ電流値Iが第2電流制限値Iを越えている時間が短い場合を示している。この場合、各アクチュエータ21〜23の制御回路43は、モータ電流値Iを、その電流値が第2電流制限値Iを越えている時間(t2時点からt3時点までの時間)で積分する。その積分値は、図8(d)に示すように、積分設定値に達していないので、モータ25への通電を続ける。t3時点からt4時点までは、モータ電流値Iは第2電流制限値Iを越えていないので、t3時点での積分値は変化しない。t4時点に、モータ電流値Iが第2電流制限値Iを越えると、モータ電流値Iの積分が開始されるので、その積分値が増加する。その積分値がt5時点に積分設定値に達すると、モータ25への通電を停止するとともに、その積分値を0に設定する。
【0068】
その設定後、オフ設定時間Toffが経過するまでの間、モータ25への通電を停止させる。そして、オフ設定時間Toffの経過後(t6時点の後)は、モータ25への通電を再開する。この後、モータ電流値Iを、その電流値が第2電流制限値Iを越えている時間(t7時点からt8時点までの時間)で積分するが、その積分値は積分設定に達しないので、モータ25への通電が続行される。このようにして、以後、このような動作を繰り返すことで、第1の通電モードにより、第2電流制限値Iを越えた電流をモータ25にパルス状に通電する。
【0069】
以上のように構成された第3実施形態によれば、上記作用効果(イ)〜(ハ)、(ヘ)および(ト)に加えて、以下の作用効果を奏する。
(チ)図8(c)に示すようにモータ電流値Iが第2電流制限値Iを越えている時間が短い場合、その時間が図8(a)に示すように長い場合と比べて、モータ25に通電するオン時間を長くすることができる。
【0070】
[ 第4実施形態]
次に、第4実施形態に係るエアコン用ドアアクチュエータの制御装置20を、図9に基づいて説明する。
【0071】
第4実施形態の制御装置20では、上記第3実施形態において積分値を減らす動作を加えた点で第3実施形態と異なる。つまり、第4実施形態の制御装置20では、第1の通電モードでモータ25を駆動制御する際に、モータ電流値Iを、その電流値が第2電流制限値Iを越えている時間で積分する動作と、モータ電流値Iが第2電流制限値Iより低い電流設定値I以下の間は積分値を減らす動作とを行う。そして、その積分値が積分設定値(一定値)に達した後、オフ設定時間Toffの間、モータ25への通電を停止する動作と、Toffの経過後にモータ25への通電を開始する動作とを行なう。
【0072】
図9(a)は、モータ電流値Iが第2電流制限値Iを越えている時間が長い場合を示している。この場合、各アクチュエータ21〜23の制御回路43は、モータ電流値Iを、その電流値が第2電流制限値Iを越えている時間(t2時点からt3時点までの時間)で積分し、その積分値が積分設定値(図9(b)参照)に達した時(t3時点に)、モータ25への通電を停止する。オフ設定時間Toffの経過後(t4時点に)、モータ25への通電を再開する。以後、このような動作を繰り返すことで、第1の通電モードにより、第2電流制限値Iを越えた電流をモータ25にパルス状に通電する。
【0073】
なお、上記第3実施形態では、積分値が積分設定値に達した時に、モータ25への通電を停止するとともに、積分値を0にするようにしている。これに対して、本例では、積分値が積分設定値に達した時(t3時点に)、モータ25への通電を停止するだけであり、オフ設定時間Toffの間に積分値を積分設定値から所定の変化率で減らして0にする。
【0074】
図9(c)は、モータ電流値Iが第2電流制限値Iを越えている時間が短い場合を示している。この場合、各アクチュエータ21〜23の制御回路43は、モータ電流値Iを、その電流値が第2電流制限値Iを越えている時間(t2時点からt3時点までの時間)で積分する。その積分値は、図9(d)に示すように、積分設定値に達していないので、モータ25への通電を続ける。t3時点からt4時点(モータ電流値Iが電流設定値I以下になる時)までは、t3時点での積分値は変化しない。t4時点に、モータ電流値Iが電流設定値I以下になると、積分値を所定の変化率で減らしていく。なお、図9(d)に示す例では、積分値を減らしていくと積分値が0になるが、そのまま通電が続行される。t5時点になるとモータ電流値Iが第2電流制限値Iを越えるので、モータ電流値Iが第2電流制限値Iを越えている時間(t2時点からt3時点までの時間)で積分する。そして、その積分値が積分設定値に達しないうちにt7時点にモータ電流値Iが電流設定値I以下になり、積分値を所定の変化率で減らしている。こうして、図9(c)に示すような場合には、モータ25は連続通電される。
【0075】
このように、第4実施形態では、図9(c)に示すように、モータ電流値Iが第2電流制限値Iを越えている間は積分値を増加させ、モータ電流値Iが電流設定値I以下の間は積分値を減少させる。そして、その減少により、積分値が0になっても、モータ25への通電は続行されるようになっている。
【0076】
以上のように構成された第4実施形態によれば、上記作用効果(イ)〜(ハ)、(ヘ)および(ト)に加えて、以下の作用効果を奏する。
(リ)電流値検出回路で検出した電流値が第2電流制限値より低い電流設定値以下の間は積分値を減らすので、電流検出回路により検出する電流値が小さくて、検出した電流値が電流設定値以下になる時間が長くなる場合、モータに通電するオン時間を長くすることができる。
【0077】
[ 第5実施形態]
次に、第5実施形態に係るエアコン用ドアアクチュエータの制御装置20を、図10に基づいて説明する。
【0078】
上記第1実施形態では、起動時に第1の通電モードを選択するとともにイニシャライズ時に第2の通電モードを選択する。これに対して、本実施形態の制御装置20は、イニシャライズ時だけでなく起動時にも第2の通電モードを選
以上のように構成された第5実施形態によれば、以下の作用効果を奏する。
【0079】
(ヌ)起動時とイニシャライズ時にそれぞれ第2の通電モードを選択し、選択した通電モードでモータ25を駆動制御するので、起動時にそれ程大きなトルクが必要でない場合、つまり第2電流制限値Iを最大電流とする電流をモータ25に流すことで起動させることができる場合に有効となる。
【0080】
[ 第6実施形態]
次に、第6実施形態に係るエアコン用ドアアクチュエータの制御装置20を、図11に基づいて説明する。
【0081】
上記第1実施形態では、複数のアクチュエータ21〜23はそれぞれ、図5および図6に示すように、共通の制御信号線50を介して1つのエアコンアンプ30と電気的に接続されている。これに対して、第6実施形態の制御装置20では、複数のアクチュエータ21〜23と一つのエアコンアンプ30とを個別の制御信号線50Aで接続している。また、図11では、車両用エアコンユニットのダクト24Aに設けられた複数のドアとして、内外気切換えドア31Aと、エアミックスドア32Aと、ベントドア33Aと、フットドア33Bとを示してある。そして、内外気切換えドア31Aとエアミックスドア32Aは、それぞれアクチュエータ21とアクチュエータ22で駆動制御される。また、ベントドア33Aとフットドア33Bは、アクチュエータ23により同時に駆動制御されるようになっている。
【0082】
以上のように構成された第6実施形態によれば、上記作用効果(イ)〜(ト)に加えて、以下の作用効果を奏する。
(ル)複数のアクチュエータ21〜23と一つのエアコンアンプ30とを個別の制御信号線50Aで接続しているので、上記第1実施形態におけるスイッチ回路28とID回路46が不要になり、その分製造コストが低減される。
【0083】
[ 変形例]
なお、この発明は以下のように変更して具体化することもできる。
・上記各実施形態では、各アクチュエータ21〜23の制御回路43は、第1の通電モードと第2の通電モードのいずれか一方を選択するようにしているが、この構成に本発明は限定されない。各アクチュエータ21〜23の制御回路43は、それら2つの通電モードを含む複数の通電モードのいずれか一つを選択可能で、選択した通電モードでモータを駆動制御する構成にも本発明は適用可能である。
【0084】
・上記各実施形態では、本発明をエアコン用ドアアクチュエータの制御装置に適用した例を示してあるが、本発明は、エアコン用のドアのような開閉体或いは一定範囲で往復移動する移動体のような被駆動体をアクチュエータのモータで駆動制御する場合に広く適用可能である。
【0085】
・上記第1実施形態で説明した位置検出センサ26は、エンコーダやポテンショメータに限らず、他の構成、例えばモータの回転に同期したパルス信号を出力する可能なホールICを用いる構成にも本発明は適用可能である。
【0086】
・上記第4実施形態では、図9(b)に示すように、積分値が積分設定値に達した時(t3時点に)から積分値を所定の変化率で減らしていき、オフ設定時間Toffが経過した時(t4時点)に積分値が0になるように示してあるが、このような構成に本発明は限定されない。オフ設定時間Toffが経過してモータ25への通電を開始する時(t4時点)に、必ずしも積分値が0になっていない構成にも、本発明は適用可能である。
【0087】
【発明の効果】
以上詳述したように、本発明によれば、2つの通電モードをアクチュエータの使用状況により使い分けることができるので、アクチュエータの最大負荷に対するトルクを落とすことなく、定格電流値を下げることができる。したがって、回路の焼損を抑制しつつ、回路の小型化が可能になり、製造コストを低減することができる。
【図面の簡単な説明】
【図1】第1実施形態によるイニシャライズの動作説明図。
【図2】(a)起動時にモータに流れる電流が第2電流制限値を超えている時間が長い場合の動作説明図、(b)同時間が短い場合の動作説明図。
【図3】第1実施形態の電気的構成を示す回路図。
【図4】図3に示すIC内部の構成を示す回路図。
【図5】車両用エアコンユニットのドアとアクチュエータの関係を示す断面図。
【図6】図5に示す車両用エアコンユニットのダクトを示す斜視図。
【図7】(a)第2電流制限値を超える電流の通電時間が長い場合の第2実施形態によるイニシャライズの動作説明図、(b)その通電時間が短い場合の同様の動作説明図。
【図8】(a)第2電流制限値を超える電流の通電時間が長い場合の第3実施形態によるイニシャライズの動作説明図、(b)図(a)の場合に第2電流制限値を超える電流の積分値を示す説明図、(c)その通電時間が短い場合の同様の動作説明図、(d)図(c)の場合に第2電流制限値を超える電流の積分値を示す説明図。
【図9】(a)第2電流制限値を超える電流の通電時間が長い場合の第4実施形態によるイニシャライズの動作説明図、(b)図(a)の場合に第2電流制限値を超える電流の積分値を示す説明図、(c)その通電時間が短い場合の同様の動作説明図、(d)図(c)の場合に第2電流制限値を超える電流の積分値を示す説明図。
【図10】第5実施形態によるイニシャライズの動作説明図。
【図11】第6実施形態における車両用エアコンユニットのドアとアクチュエータの関係を示す断面図。
【符号の説明】
…第1電流制限値、I…第2電流制限値、I…電流設定値、Ton…オン設定時間、Toff…オフ設定時間、20…ドアアクチュエータの制御装置(アクチュエータの制御装置)、21〜23…アクチュエータ、25…モータ、27…IC、31〜33,31A〜33A,33B…被駆動体としてのドア、41…駆動回路、42…電流値検出回路、43…制御回路。
[0001]
TECHNICAL FIELD OF THE INVENTION
The present invention relates to a control device for an actuator that drives a driven body.
[0002]
[Prior art]
2. Description of the Related Art Conventionally, as a motor control circuit, a technique for detecting a second overcurrent lower than a first overcurrent has been provided, and when the second overcurrent has continued for a predetermined time, energization to a motor has been limited. Is known (for example, see Patent Document 1).
[0003]
Further, as a control circuit of a DC motor, a technique is known in which, when the motor current exceeds a predetermined maximum value, the motor is repeatedly energized and cut off to energize the motor in a pulsed manner (for example, Patent Document 2). reference).
[0004]
Further, as a motor driving device, a technique is known in which when the current supplied to a motor coil exceeds a predetermined level, the current supplied to the motor coil is stopped, and then the current supply is started. (For example, Patent Document 3).
[0005]
[Patent Document 1]
JP 2001-103788 A
[Patent Document 2]
JP-A-10-117494
[Patent Document 3]
JP-A-8-256495
[0006]
[Problems to be solved by the invention]
Therefore, none of the above three prior arts can cope with both the start-up and the initialization, and in order to be able to cope with both of them, it is necessary to secure at least the torque for the maximum load. For this purpose, the rated current value of the motor drive circuit is set to be large, and thus there is a problem that it is difficult to reduce the size of the circuit while suppressing the burning of the circuit.
[0007]
The present invention has been made in view of such conventional problems, and an object of the present invention is to provide an actuator control device that enables downsizing while suppressing circuit burnout and reduces manufacturing costs. To provide.
[0008]
[Means for Solving the Problems]
In order to solve the above problem, an invention according to claim 1 includes a motor for driving a driven body, a drive circuit for the motor, and a control circuit that outputs a control signal to the drive circuit to drive and control the motor. In the control device for an actuator, the control circuit sets a first current limit value higher than a rated current value of the drive circuit as a maximum current, and outputs a current exceeding a second current limit value lower than the rated current value to the motor. Selecting one of a plurality of energizing modes including a first energizing mode for energizing in a pulse shape and a second energizing mode for continuously energizing the motor with the second current limit value as the maximum current, The gist is to drive and control the motor in the selected energization mode.
[0009]
According to this configuration, when driving the motor in the first energization mode, the first current limit value higher than the rated current value is set as the maximum current, and the current exceeding the second current limit value lower than the rated current value is set as the motor current. As a result, a current higher than the rated current value can be supplied to the motor, and a large torque can be obtained. Also, since the current exceeding the second current limit value is supplied to the motor in a pulsed manner, the average current can be made lower than the rated current value as compared with the case where the current is continuously supplied, and burnout of the drive circuit is prevented. You. On the other hand, when the motor is driven and controlled in the second energization mode, the motor is continuously energized with the second current limit value lower than the rated current value as the maximum current, so that a torque smaller than that in the first energization mode is obtained.
[0010]
Since these two energization modes can be selectively used depending on the usage condition of the actuator, the rated current value can be reduced without lowering the torque for the maximum load of the actuator. Therefore, it is possible to reduce the size of the circuit while suppressing burnout of the circuit, and it is possible to reduce the manufacturing cost.
[0011]
According to a second aspect of the present invention, in the actuator control apparatus according to the first aspect, the control circuit controls the drive of the motor in one of the first energizing mode and the second energizing mode at the time of startup. In addition, the gist of the present invention is to drive and control the motor in the second energization mode at the time of initialization for setting an initial position of the motor.
[0012]
In general, when controlling the position of a driven body, for example, a door of a vehicle air conditioner unit by controlling the drive of a motor of an actuator, an end position of the driven body is detected in an initial state, and the position is determined as an origin of position control. There is a need to. Therefore, the motor is started in the initial state, the driven body is locked at the end position, the locked position is detected, and the detected locked position is set as the initial position of the motor.
[0013]
According to this configuration, the drive is controlled in one of the first energizing mode and the second energizing mode at the time of startup requiring a large torque, and the motor is controlled in the second energizing mode at the time of initialization requiring less torque than at the time of startup. The drive of the motor is controlled. For this reason, at the time of starting, the motor can be started without reducing the torque with respect to the maximum load of the actuator while suppressing burnout of the drive circuit due to overcurrent. Thus, when a dedicated IC (custom IC) incorporating a drive circuit and a control circuit is manufactured, the size of the IC can be reduced, and the manufacturing cost of the IC can be reduced. Further, at the time of initialization in which the driven body is locked at the end position and the initial position of the driven body is set, the motor can be driven with a smaller torque than at the time of starting. Thereby, even if the driven body is locked at the end position during initialization, it is possible to prevent the end position of the driven body from being shifted by deforming a member holding the driven body, for example, a duct of an air conditioner unit. Can be set accurately. Therefore, the size of the circuit can be reduced, and the accuracy of initialization can be improved.
[0014]
According to a third aspect of the present invention, in the actuator control apparatus according to the first or second aspect, the control circuit supplies a pulsed current to the motor that exceeds the second current limit value in the first energization mode. In order to energize the motor, during an on-set time set to a time required for the motor to start, an on operation for energizing the motor, and after the elapse of the on-set time, during an off-set time, the The gist of the present invention is to alternately repeat the off operation of stopping the power supply to the motor.
[0015]
According to this configuration, in order to apply a current exceeding the second current limit value to the motor in the pulse shape in the first energization mode, the ON setting time set to the time required for the motor to start is set. The on-operation for energizing the motor and the off-operation for stopping the energization of the motor after the elapse of the on-set time for the off-set time are alternately repeated. As a result, the motor can be reliably started.
[0016]
According to a fourth aspect of the present invention, in the actuator control device according to the third aspect, the on-set time and the off-set time are such that an average current in a time period in which both set times are one cycle is equal to the rated current value. The gist is that it is set so as not to exceed.
[0017]
According to this configuration, heat generation of the circuit can be suppressed, so that burnout of the circuit can be further suppressed.
The invention according to claim 5 is the actuator control device according to claim 3 or 4, wherein the control circuit sets the second current limit value when driving and controlling the motor in the first energization mode. In a case where the time during which the excess current flows to the motor is equal to or shorter than a preset overcurrent detection time, the gist is to continue the energization as it is after the elapse of the ON set time.
[0018]
According to this configuration, it is possible to reduce the frequency of the OFF operation for stopping the power supply to the motor, and to increase the ON time during which power is supplied to the motor.
The invention according to claim 6 is the control device for an actuator according to claim 1 or 2, further comprising a current value detection circuit that detects a value of a current flowing through the motor, wherein the control circuit operates in the first energization mode. When controlling the drive of the motor, a current value detected by the current value detection circuit is integrated during a time when the detected current value exceeds the second current limit value, and the integrated value reaches a constant value. Then, the power supply to the motor is stopped, the operation of setting the integral value to 0, and after this setting, the power supply to the motor is stopped until a preset OFF set time elapses. The point is to repeat the operation.
[0019]
According to this configuration, when the current value detected by the current detection circuit is small, that is, the time required for the integrated value integrated by the time from the time when the detected current value exceeds the second current limit value to reach the fixed value. Is longer, the ON time for energizing the motor can be longer.
[0020]
The invention according to claim 7 is the control device for an actuator according to claim 1 or 2, further comprising a current value detection circuit that detects a value of a current flowing through the motor, wherein the control circuit operates in the first energization mode. An operation of integrating a current value detected by the current value detection circuit during a time when the detected current value exceeds the second current limit value when driving control of the motor; An operation of decreasing the integral value during a current set value lower than the second current limit value, and energizing the motor for a preset OFF set time after the integral value reaches a constant value. And performing an operation of starting energization of the motor after the elapse of the OFF set time.
[0021]
According to this configuration, the integral value is reduced while the current value detected by the current value detection circuit is equal to or less than the current set value lower than the second current limit value. When the time during which the current value becomes equal to or less than the current set value becomes longer, the ON time for energizing the motor can be made longer.
[0022]
BEST MODE FOR CARRYING OUT THE INVENTION
Hereinafter, embodiments of an actuator control device embodying the present invention will be described with reference to the drawings. The actuator control device of each embodiment drives a plurality of doors as driven bodies by respective motors of a plurality of actuators, such as an inside / outside air switching door of a vehicle air conditioner, an outlet switching door, and an air mix door for temperature adjustment. It is a control device of a door actuator for an air conditioner to be controlled.
[0023]
[First Embodiment]
A control device for a door actuator for an air conditioner according to a first embodiment will be described with reference to FIGS.
[0024]
FIG. 3 shows an electric configuration of the control device 20 of the door actuator for the air conditioner according to the first embodiment. The control device 20 includes a plurality of actuators 21 to 23 (see FIGS. 5 and 6) and an air conditioner amplifier 30 which is a master ECU that sends a control command to each of the actuators. 5 and 6 show three actuators 21 to 23 of the plurality of actuators, and FIG. 3 shows only one actuator 21 of the plurality of actuators.
[0025]
As shown in FIGS. 5 and 6, the actuators 21 to 23 are attached to predetermined positions on the outer surface of the duct 24 of the vehicle air conditioner unit. The actuators 21 to 23 include motors 25 for driving doors 31 to 33 rotatably provided at respective outlets of the duct 24. The motors 25 of the actuators 21 to 23 are drivingly connected to the corresponding doors 31 to 33 via a speed reduction mechanism or the like, so that the corresponding doors 31 to 33 are opened and closed by the motors 25 of the actuators 21 to 23. Has become.
[0026]
Next, an electrical configuration of a control device (hereinafter, simply referred to as a “control device”) 20 of the door actuator for the air conditioner will be described with reference to FIGS. 3 and 4.
The air conditioner amplifier 30 is configured by a microcomputer, and sends a control command to the actuators 21 to 23 in accordance with each operation of a plurality of air conditioner operation switches provided on an operation panel (not shown) of the vehicle. .
[0027]
As shown in FIG. 3, each of the plurality of actuators 21 to 23 includes a motor 25, a position detection sensor 26 for detecting a rotational position of the motor 25, an IC 27, and a switch circuit 28 having a plurality of ID setting terminals. ing. The position detection sensor 26 is an encoder, a potentiometer, or the like.
[0028]
As shown in FIG. 4, the IC 27 drives the motor 25 by outputting a control signal to the drive circuit 41, a current value detection circuit 42 that detects a current value flowing through the motor 25, and the drive circuit 41. And a control circuit 43. Further, the IC 27 includes a power supply circuit 44, a communication circuit 45, and an ID circuit 46.
[0029]
The control circuit 43 is connected to the air conditioner amplifier 30 via a power supply circuit 44 and a plus side power supply line 51, and is connected to the air conditioner amplifier 30 via a minus side power supply line 52. Thus, a constant power supply voltage is supplied to the control circuit 43 via the power supply circuit 44. Further, a control command from the air conditioner amplifier 30 is supplied to the control circuit 43 via the bus line 53 and the communication circuit 45.
[0030]
Each of the plurality of actuators 21 is electrically connected to one air conditioner amplifier 30 via a common control signal line 50, as shown in FIGS. The control signal line 50 is shown for convenience as a line including the power supply line 51, the power supply line 52, and the bus line 53. Therefore, the control command sent from the air conditioner amplifier 30 via the bus line 53 includes binary ID data as address information for specifying any one of the actuators 21 to 23. The ID data is, for example, (0001) in the case of a control command of the actuator 21, (0010) in the case of a control command of the actuator 22, and (0011) in the case of a control command of the actuator 23. is there.
[0031]
The ID circuit 46 of each of the actuators 21 to 23 compares the ID data sent via the communication circuit 45 and the switch circuit 28 with the ID data unique to each actuator determined by the connection state of the ID setting terminal of the switch circuit 28. The ID circuit 46 allows the control circuit 43 to pass a control command sent from the air conditioner amplifier 30 to the communication circuit 45 when the two data match as a result of the comparison.
[0032]
Each control circuit 43 of the actuators 21 to 23 has two energization modes, a first energization mode and a second energization mode, and selects one of these two energization modes, and selects the selected energization mode. To control the drive of the motor 25.
[0033]
As shown in FIG. 1, the first energization mode is a first current limit value I higher than the rated current value of the drive circuit 41. 1 Is the maximum current, the second current limit value I lower than the rated current value 2 This is an energizing mode in which a current exceeding the current is supplied to the motor 25 in a pulsed manner. On the other hand, in the second energization mode, the second current limit value I 2 Is the current supply mode in which the motor 25 is continuously supplied with the maximum current.
[0034]
Note that the “first current limit value I” 1 Means that the current flowing through the motor 25 is the first current limit value I by the PWM control. 1 Means not to exceed. For this purpose, the value of the motor current flowing through the motor 25 is detected by the shunt resistance of the drive circuit 41, and the detected value is the first current limit value I. 1 Is exceeded, the FET of the drive circuit 41 is turned off, and the power supply to the motor 25 is stopped. In addition, the “second current limit value I 2 Is defined as the maximum current. ”Similarly, the current flowing through the motor 25 is defined as the second current limit value I 2 Means not to exceed.
[0035]
Each control circuit 43 controls the second current limit value I in the first energization mode. 2 In order to energize the motor 25 in a pulsed manner, the ON operation of energizing the motor 25 during the ON set time Ton, and the energization of the motor 25 during the OFF set time Toff after the lapse of Ton. The off operation to stop is alternately repeated.
[0036]
The ON setting time Ton is determined by the current value detected by the current value detection circuit 42 when the second current limit value I 2 2 (time t2 in FIG. 2A), and is set in advance to a time required for the motor 25 to start (for example, 5 ms to 20 ms). Further, the on-set time Ton and the off-set time Toff are set such that the average current during a period in which the two set times are one cycle does not exceed the rated current value of the drive circuit 41.
[0037]
Further, each control circuit 43 selects one of the first energizing mode and the second energizing mode according to a mode selection signal sent as a control command from the air conditioner amplifier 30, and controls the drive of the motor 25 in the selected energizing mode. It is supposed to. For example, in the following three cases (1) to (3), a mode selection signal is sent from the air conditioner amplifier 30 to each of the control circuits 43 of the actuators 21 to 23, whereby each of the control circuits 43 executes an initialization operation. It is supposed to.
[0038]
(1) The CPU (not shown) of the air conditioner amplifier 30 starts the operation of each of the actuators 21 when an initializing condition such as connection of a battery is satisfied in an initial state where none of the initial positions of the actuators 21 to 23 are set. To 23 in order to execute an initialization operation.
[0039]
For example, the air conditioner amplifier 30 starts counting time from the time when the energization of each of the motors 25 of the actuators 21 to 23 is started (time t1 in FIG. 1), and until the first predetermined time T1 elapses, A mode selection signal for selecting the first energization mode is sent to 21 to 23. Then, a control command for selecting the second energization mode is sent to each of the actuators 21 to 23 from the time when the first predetermined time T1 has elapsed (time t5 in FIG. 1) to the time when the second predetermined time T2 has elapsed. It has become. Thus, in this example, each control circuit 43 of the actuators 21 to 23 controls the driving of each motor 25 in the first energizing mode at the time of startup, and controls the motor 25 in the second energizing mode when each motor 25 is initialized. The drive is controlled.
[0040]
(2) If the CPU of the air conditioner amplifier 30 determines that the battery has been replaced after setting the initial position of each of the actuators 21 to 23, the CPU sends a mode selection signal to each of the actuators 21 to 23 in the same manner as in the initial state. They are sent in order to execute an initialization operation.
[0041]
(3) When the CPU of the air conditioner amplifier 30 determines that the initial position set in any one of the actuators 21 to 23 has shifted, the initialization condition is satisfied, and the actuator whose initial position has shifted shifts to execute the initialization operation again. It has become.
[0042]
Next, as one example, the initialization operation performed by each of the actuators 21 to 23 in the case of the above (1) will be described with reference to FIGS. The initialization operation of each of the actuators 21 to 23 described here is performed, for example, one by one for each actuator. In the following description, only the operation of the actuator 21 will be described for simplification.
[0043]
First, the control circuit 43 of the actuator 21 starts the mode selection sent from the air conditioner amplifier 30 at the time of starting from the time t1 in FIG. 1 when the energization of the motor 25 is started to the time t5 when the first predetermined time T1 elapses. The first energizing mode is selected by a signal, and the drive of the motor 25 is controlled in the first energizing mode. At this time, the first current limit value I higher than the rated current value 1 Is the maximum current, the second current limit value I lower than the rated current value 2 Is supplied to the motor 25 in a pulse shape, and the motor 25 is started.
[0044]
Second current limit value I 2 The control circuit 43 supplies the second current limiting value I 2 And an OFF operation for stopping the current supply to the motor 25 during the OFF set time Toff after the lapse of Ton. Ton and Toff are each a predetermined time set in advance. Therefore, the current value detected by the current value detection circuit 42 (hereinafter, “motor current value I M " ) Is the second current limit value I 2 If the time exceeding To is longer than Ton, as shown in FIG. 2A, when the Ton time elapses from time t1 (at time t3), the power supply to the motor 25 is stopped. Then, when Toff elapses from time t3 (at time t4), the power supply to the motor 25 is restarted. On the other hand, the motor current value I M Is the second current limit value I 2 Is shorter than Ton, that is, as shown in FIG. 2B, at time t5 before time t3, the motor current I M Is the second current limit value I 2 In the following cases, the same operation as in the case of FIG.
[0045]
Thus, when the motor 25 is started in the first energization mode and the first predetermined time T1 has elapsed from the time t1, the control circuit 43 selects the second energization mode by the mode selection signal sent from the air conditioner amplifier 30. Then, the drive of the motor 25 is controlled in the second energization mode. In the second energization mode, the second current limit value I 2 Is the maximum current and the motor 25 is continuously energized.
[0046]
The section from the time point t5 to the time point t6 in FIG. 1 indicates a steady state in which the motor 25 is driven and controlled in the second energization mode and rotates at a constant speed. In the section from time t6 to time t7 in FIG. 1, the load fluctuates and the current flowing through the motor 25 fluctuates until the door 31 driven by the motor 25 rotates and hits the end position. At the time of load change.
[0047]
When the door 31 hits the end position and locks at the time point t7 in FIG. 1, the detection signal of the position detection sensor 26 changes, and the control circuit 43 detects the lock of the door 31 by the lock detection function based on the change. When the position detection sensor 26 is an encoder, the motor 25 is driven from the time point t7 to the time point t8 in FIG. 1, but since the output pulse does not change for a predetermined time, the control circuit 43 detects the lock. I do. When the position detection sensor 26 is a potentiometer, the control circuit 43 detects lock when the voltage of the output signal does not change for a predetermined time.
[0048]
Thus, the control circuit 43 that has detected the lock of the door 31 sets the position where the lock is detected as the initial position of the motor 25. During this initial position setting operation (during initialization), the door 31 is in contact with the end position and is locked from the time point t7 to the time point t8 in FIG. 1, but during this time, the second current limit value I 2 Is the maximum current and the motor 25 is continuously energized. Therefore, even if the door 31 is locked at the end position during the initialization operation, the force applied to the duct 24 (see FIG. 5) holding the door 31 is weak, and the deformation of the duct 24 is avoided.
[0049]
After the initialization operation of each of the actuators 21 to 23 is completed in this way, the actuator operates in the same manner as a normal air conditioner unit door actuator. For example, when operating any one of a plurality of air conditioner operation switches to adjust the temperature, among the actuators 21 to 23, the motor 25 of the actuator that drives one of the doors 31 to 33 corresponding to the air mix door is connected to the air conditioner. Drive control is performed based on a control command from the amplifier 30.
[0050]
According to the first embodiment configured as described above, the following operation and effect can be obtained.
(A) Each control circuit 43 of the actuators 21 to 23 selects one of the first energizing mode and the second energizing mode, and controls the drive of the motor 25 in the selected energizing mode. When driving and controlling the motor 25 in the first energization mode, the first current limit value I higher than the rated current value 1 Is the maximum current, the second current limit value I lower than the rated current value 2 Is applied to the motor 25 in a pulsed manner, so that a current equal to or larger than the rated current value can be passed to the motor 25, and a large torque can be obtained. Also, the second current limit value I 2 Is applied to the motor 25 in a pulsed manner, so that the average current can be made lower than the rated current value as compared with the case of continuous energization, and burnout of the drive circuit 41 is prevented. On the other hand, when the drive of the motor 25 is controlled in the second energization mode, the second current limit value I lower than the rated current value is set. 2 Is set as the maximum current and the motor 25 is continuously energized, so that a torque smaller than that in the first energization mode can be obtained.
[0051]
Since these two energization modes can be selectively used depending on the usage conditions of the actuators 21 to 23, the rated current value can be reduced without lowering the torque for the maximum load of the actuators 21 to 23. Therefore, it is possible to reduce the size of the circuit while suppressing burnout of the circuit, and it is possible to reduce the manufacturing cost.
[0052]
(B) The drive of the motor 25 is controlled in the first energization mode at the time of startup requiring a large torque, and the drive of the motor 25 is controlled in the second energization mode at the time of initialization requiring less torque than at the time of startup. Therefore, at the time of starting, the motor 25 can be started without reducing the torque of the actuators 21 to 23 against the maximum load while suppressing the burnout of the drive circuit 41 due to the overcurrent. Accordingly, when a dedicated IC (custom IC) 27 including the drive circuit 41 and the control circuit 43 is manufactured, the size of the IC 27 can be reduced, and the manufacturing cost of the IC 27 can be reduced.
[0053]
(C) At the time of initialization in which the doors 31 to 33 are locked at the end positions to set the initial positions of the actuators 21 to 23, the motor can be driven with a smaller torque than at the time of startup. Thereby, even if the doors 31 to 33 are locked at the end positions during the initialization operation, the end position of each of the doors 31 to 33 is displaced by deforming the duct 24 which is a member holding the doors 31 to 33. The initial position of the motor of each of the actuators 21 to 23 can be set accurately. Therefore, the accuracy of the initialization is improved.
[0054]
(D) The control circuit 43 controls the second current limit value I in the first energization mode. 2 In order to apply a current exceeding the threshold value to the motor 25 in a pulsed manner, an ON operation in which the motor 25 is energized during the ON set time Ton, and an ON operation to the motor 25 during the OFF set time Toff after the ON set time elapses. The off operation of stopping the energization is alternately repeated. Since the ON setting time Ton is set to a time required for starting the motor 25, the motor 25 of each of the actuators 21 to 23 can be started reliably.
[0055]
(E) The on-set time Ton and the off-set time Toff are set such that the average current during a period in which the two set times are one cycle does not exceed the rated current value of the drive circuit 41. Can be suppressed, and burnout of the drive circuit 41 can be further suppressed.
[0056]
(F) The control circuit 43 of each of the actuators 21 to 23 determines whether each of the actuators 21 to 23 is in the initial state where none of the initial positions of the actuators 21 to 23 are set, and when the initialization condition such as connection of the battery is satisfied. To 23 can be automatically set accurately.
[0057]
(G) The control circuit 43 of each of the actuators 21 to 23 accurately determines the initial position of each of the actuators 21 to 23 when the air conditioner amplifier 30 determines that the battery has been replaced after setting the initial position of each of the actuators 21 to 23. It can be reset automatically. Similarly, when the control circuit 43 of each of the actuators 21 to 23 determines that the initial position set in any of the actuators 21 to 23 has shifted, the control circuit 43 automatically and accurately determines the initial position of the actuator whose initial position has shifted. Can be reset.
[0058]
[Second embodiment]
Next, a control device 20 for an air conditioner door actuator according to a second embodiment will be described with reference to FIG.
[0059]
In the control device 20 of the first embodiment, when controlling the drive of the motor 25 in the first energization mode, the motor current value I M Before the on-set time Ton, which is a fixed time, elapses before the second current limit value I 2 Irrespective of whether or not the current value becomes equal to or less than the value, the power supply to the motor 25 is stopped for the set off time Toff when Ton has elapsed from the time t2. On the other hand, in the control device 20 of the second embodiment, when controlling the drive of the motor 25 in the first energization mode, the motor current value I M Is the second current limit value I 2 In the case where the period of time exceeding the period Ton is equal to or shorter than the overcurrent detection time Ta shorter than Ton, the current supply to the motor 25 is continued after the elapse of Ton. Thereafter, by repeating such an operation, the second current limit value I 2 Is supplied to the motor 25 in a pulse shape. Other configurations are the same as those of the first embodiment.
[0060]
That is, the control circuit 43 of each of the actuators 21 to 23 outputs the motor current value I M Is the second current limit value I 2 (Second current limit value I 2 If the current that exceeds the current flows to the motor 25) exceeds the overcurrent detection time Ta, the energization is stopped after the lapse of Ton, and the energization is continued if it is Ta or less.
[0061]
FIG. 7A shows the motor current value I. M Is the second current limit value I 2 Is longer than the overcurrent detection time Ta (time from time t2 to time t3). In this case, the control circuit 43 of each of the actuators 21 to 23 is configured to stop energizing the motor 25 during the off-set time Toff after the on-set time Ton from the time t2 has elapsed (at t4). ing.
[0062]
On the other hand, FIG. 7B shows the motor current value I M Is the second current limit value I 2 (Time from time t2 to time t6) is equal to or shorter than the overcurrent detection time Ta. In this case, the control circuit 43 of each of the actuators 21 to 23 is configured such that after the ON set time Ton from the time point t2 has elapsed (after the time point t4), the power supply to the motor 25 is not stopped, and is continued. Have been.
[0063]
According to the second embodiment configured as described above, in addition to the above-described effects (a) to (c), (f), and (g), the following effects can be obtained.
(H) As shown in FIG. M Is the second current limit value I 2 7 is less than the overcurrent detection time Ta, the occurrence frequency of the OFF operation for stopping the power supply to the motor 25 is reduced as compared with the case where the time is longer than Ta as shown in FIG. As a result, the ON time for energizing the motor can be extended.
[0064]
[Third Embodiment]
Next, a control device 20 for an air conditioner door actuator according to a third embodiment will be described with reference to FIG.
[0065]
In the control device 20 of the present embodiment, when the drive of the motor 25 is controlled in the first energization mode, the motor current value I M And the current value is the second current limit value I 2 When the integrated value reaches a certain value, the operation of stopping the power supply to the motor 25 and setting the integrated value to 0 is performed. After the setting, an operation of stopping the energization of the motor 25 is performed until a preset OFF set time Toff elapses. Then, after the elapse of the off set time Toff, the power supply to the motor 25 is restarted. Thereafter, by repeating such an operation, the second current limit value I 2 Is supplied to the motor 25 in a pulse shape.
[0066]
FIG. 8A shows the motor current value I. M Is the second current limit value I 2 This shows a case where the time exceeding the time is longer. In this case, the control circuit 43 of each of the actuators 21 to 23 outputs the motor current value I M And the current value is the second current limit value I 2 When the integrated value reaches the integral set value (see FIG. 8B) (at time t3), the power supply to the motor 25 is stopped and the integrated value is set to 0. It is configured to be set. After the setting, the power supply to the motor 25 is stopped until the off set time Toff elapses. Then, after the elapse of the off set time Toff, the power supply to the motor 25 is restarted. Thereafter, by repeating such an operation, the second current limit value I 2 Is supplied to the motor 25 in a pulse shape.
[0067]
FIG. 8C shows the motor current value I. M Is the second current limit value I 2 In this case, the time of exceeding the time is short. In this case, the control circuit 43 of each of the actuators 21 to 23 outputs the motor current value I M And the current value is the second current limit value I 2 (Time from time t2 to time t3). Since the integral value has not reached the integral set value as shown in FIG. 8D, the power supply to the motor 25 is continued. From time t3 to time t4, the motor current I M Is the second current limit value I 2 , The integrated value at time t3 does not change. At time t4, the motor current I M Is the second current limit value I 2 Exceeds the motor current value I M Is started, the integral value increases. When the integral value reaches the integral set value at time t5, the power supply to the motor 25 is stopped, and the integral value is set to zero.
[0068]
After the setting, the power supply to the motor 25 is stopped until the off set time Toff elapses. Then, after the elapse of the off set time Toff (after the time t6), the power supply to the motor 25 is restarted. Thereafter, the motor current value I M And the current value is the second current limit value I 2 (Time from time t7 to time t8), but since the integrated value does not reach the integration setting, the power supply to the motor 25 is continued. In this manner, by repeating such an operation thereafter, the second current limit value I 2 Is supplied to the motor 25 in a pulse shape.
[0069]
According to the third embodiment configured as described above, in addition to the above-described effects (a) to (c), (f), and (g), the following effects can be obtained.
(H) As shown in FIG. M Is the second current limit value I 2 8A, the ON time for energizing the motor 25 can be made longer than when the time is longer as shown in FIG. 8A.
[0070]
[Fourth Embodiment]
Next, a control device 20 of an air conditioner door actuator according to a fourth embodiment will be described with reference to FIG.
[0071]
The control device 20 of the fourth embodiment differs from the third embodiment in that an operation of reducing the integral value is added in the third embodiment. That is, in the control device 20 of the fourth embodiment, when the drive of the motor 25 is controlled in the first energization mode, the motor current value I M And the current value is the second current limit value I 2 And the motor current I M Is the second current limit value I 2 Lower current setting I 3 During the following period, the operation of reducing the integral value is performed. Then, after the integral value reaches the integral set value (constant value), the operation of stopping the power supply to the motor 25 during the OFF set time Toff, and the operation of starting the power supply to the motor 25 after the lapse of Toff. Perform
[0072]
FIG. 9A shows the motor current value I. M Is the second current limit value I 2 This shows a case where the time exceeding the time is longer. In this case, the control circuit 43 of each of the actuators 21 to 23 outputs the motor current value I M And the current value is the second current limit value I 2 When the integrated value reaches the integral set value (see FIG. 9B) (at time t3), the motor 25 is energized. Stop. After the elapse of the OFF set time Toff (at time t4), the power supply to the motor 25 is restarted. Thereafter, by repeating such an operation, the second current limit value I 2 Is supplied to the motor 25 in a pulse shape.
[0073]
In the third embodiment, when the integral value reaches the integral set value, the power supply to the motor 25 is stopped, and the integral value is set to 0. On the other hand, in the present example, when the integral value reaches the integral set value (at time t3), only the energization of the motor 25 is stopped, and the integral value is changed to the integral set value during the OFF set time Toff. Is reduced at a predetermined change rate to zero.
[0074]
FIG. 9C shows the motor current value I. M Is the second current limit value I 2 In this case, the time of exceeding the time is short. In this case, the control circuit 43 of each of the actuators 21 to 23 outputs the motor current value I M And the current value is the second current limit value I 2 (Time from time t2 to time t3). Since the integral value has not reached the integral set value as shown in FIG. 9D, the power supply to the motor 25 is continued. From time t3 to time t4 (motor current value I M Is the current set value I 3 Until the time becomes below), the integrated value at the time t3 does not change. At time t4, the motor current I M Is the current set value I 3 When it becomes less than the above, the integral value is reduced at a predetermined rate of change. In the example shown in FIG. 9D, as the integral value is reduced, the integral value becomes 0, but the energization is continued as it is. At time t5, the motor current value I M Is the second current limit value I 2 , The motor current value I M Is the second current limit value I 2 (Time from time t2 to time t3). Then, before the integral value reaches the integral set value, the motor current I M Is the current set value I 3 In the following, the integral value is reduced at a predetermined change rate. Thus, in the case as shown in FIG. 9C, the motor 25 is continuously energized.
[0075]
As described above, in the fourth embodiment, as shown in FIG. M Is the second current limit value I 2 While the motor current I M Is the current set value I 3 Decrease the integral value during the following. As a result, even if the integral value becomes zero, the power supply to the motor 25 is continued.
[0076]
According to the fourth embodiment configured as described above, in addition to the above-described effects (a) to (c), (f), and (g), the following effects can be obtained.
(I) Since the integral value is reduced while the current value detected by the current value detection circuit is equal to or less than the current set value lower than the second current limit value, the current value detected by the current detection circuit is small, and the detected current value is When the time during which the current is equal to or less than the current set value is increased, the on-time during which the motor is energized can be increased.
[0077]
[Fifth Embodiment]
Next, a control device 20 for an air conditioner door actuator according to a fifth embodiment will be described with reference to FIG.
[0078]
In the first embodiment, the first energization mode is selected at the time of startup, and the second energization mode is selected at the time of initialization. In contrast, the control device 20 of the present embodiment selects the second energization mode not only at the time of initialization but also at the time of startup.
According to the fifth embodiment configured as described above, the following operation and effect can be obtained.
[0079]
(V) The second energizing mode is selected at the time of startup and initialization, and the drive of the motor 25 is controlled in the selected energizing mode. 2 This is effective when the motor 25 can be started by supplying a current having the maximum current to the motor 25.
[0080]
[Sixth Embodiment]
Next, a control device 20 of an air conditioner door actuator according to a sixth embodiment will be described with reference to FIG.
[0081]
In the first embodiment, each of the plurality of actuators 21 to 23 is electrically connected to one air conditioner amplifier 30 via a common control signal line 50, as shown in FIGS. On the other hand, in the control device 20 of the sixth embodiment, the plurality of actuators 21 to 23 and one air conditioner amplifier 30 are connected by individual control signal lines 50A. FIG. 11 shows the inside / outside air switching door 31A, the air mix door 32A, the vent door 33A, and the foot door 33B as a plurality of doors provided in the duct 24A of the vehicle air conditioner unit. The inside and outside air switching door 31A and the air mixing door 32A are driven and controlled by the actuators 21 and 22, respectively. The vent door 33A and the foot door 33B are simultaneously driven and controlled by the actuator 23.
[0082]
According to the sixth embodiment configured as described above, in addition to the above-described effects (a) to (g), the following effects can be obtained.
(L) Since the plurality of actuators 21 to 23 and one air conditioner amplifier 30 are connected by the individual control signal line 50A, the switch circuit 28 and the ID circuit 46 in the first embodiment are not required, and accordingly, Manufacturing costs are reduced.
[0083]
[Modifications]
The present invention can be embodied with the following modifications.
In the above embodiments, the control circuit 43 of each of the actuators 21 to 23 selects either the first energization mode or the second energization mode, but the present invention is not limited to this configuration. . The control circuit 43 of each of the actuators 21 to 23 can select any one of a plurality of energization modes including the two energization modes, and the present invention is also applicable to a configuration in which the motor is driven and controlled in the selected energization mode. It is.
[0084]
In each of the above embodiments, an example is shown in which the present invention is applied to a control device for a door actuator for an air conditioner. The present invention is widely applicable to the case where such a driven body is driven and controlled by a motor of an actuator.
[0085]
The position detection sensor 26 described in the first embodiment is not limited to the encoder and the potentiometer, but may be applied to other configurations, for example, a configuration using a Hall IC capable of outputting a pulse signal synchronized with the rotation of the motor. Applicable.
[0086]
In the fourth embodiment, as shown in FIG. 9B, the integration value is reduced at a predetermined rate of change from the time when the integration value reaches the integration setting value (at time t3), and the OFF setting time Toff It is shown that the integral value becomes 0 when the time has elapsed (time t4), but the present invention is not limited to such a configuration. The present invention is also applicable to a configuration in which the integral value is not always 0 when the energization of the motor 25 is started after the OFF set time Toff has elapsed (time t4).
[0087]
【The invention's effect】
As described above in detail, according to the present invention, since the two energization modes can be selectively used depending on the usage condition of the actuator, the rated current value can be reduced without lowering the torque with respect to the maximum load of the actuator. Therefore, it is possible to reduce the size of the circuit while suppressing burnout of the circuit, and it is possible to reduce the manufacturing cost.
[Brief description of the drawings]
FIG. 1 is an explanatory diagram of an operation of initialization according to a first embodiment.
FIG. 2A is an operation explanatory diagram when a time during which a current flowing through a motor exceeds a second current limit value at startup is long, and FIG. 2B is an operation explanatory diagram when the same time is short.
FIG. 3 is a circuit diagram showing an electrical configuration of the first embodiment.
FIG. 4 is a circuit diagram showing a configuration inside the IC shown in FIG. 3;
FIG. 5 is a sectional view showing a relationship between a door and an actuator of the vehicle air conditioner unit.
FIG. 6 is a perspective view showing a duct of the vehicle air conditioner unit shown in FIG. 5;
FIG. 7A is an explanatory diagram of an initialization operation according to the second embodiment in the case where the conduction time of a current exceeding the second current limit value is long, and FIG. 7B is a similar operation explanatory diagram in the case where the conduction time is short.
8A is an explanatory diagram of the operation of the initialization according to the third embodiment in the case where the conduction time of the current exceeding the second current limit value is long, and FIG. 8B is a diagram that exceeds the second current limit value in the case of FIG. Explanatory diagram showing the integrated value of the current, (c) Similar operation explanatory diagram when the current supply time is short, (d) Explanatory diagram showing the integral value of the current exceeding the second current limit value in the case of FIG. .
9A is an explanatory diagram of the operation of the initialization according to the fourth embodiment in the case where the conduction time of the current exceeding the second current limit value is long, and FIG. 9B is the case where the second current limit value is exceeded in the case of FIG. Explanatory diagram showing the integrated value of the current, (c) Similar operation explanatory diagram when the current supply time is short, (d) Explanatory diagram showing the integral value of the current exceeding the second current limit value in the case of FIG. .
FIG. 10 is an explanatory diagram of the operation of the initialization according to the fifth embodiment.
FIG. 11 is a sectional view showing a relationship between a door and an actuator of a vehicle air conditioner unit according to a sixth embodiment.
[Explanation of symbols]
I 1 ... First current limit value, I 2 ... Second current limit value, I 3 ... Current set value, Ton ... On set time, Toff ... Off set time, 20 ... Door actuator control device (actuator control device), 21-23 ... Actuator, 25 ... Motor, 27 ... IC, 31-33, 31A 33A, 33B: door as driven body; 41, drive circuit; 42, current value detection circuit; 43, control circuit.

Claims (7)

被駆動体を駆動するモータと、モータの駆動回路と、該駆動回路に制御信号を出力して前記モータを駆動制御する制御回路とを備えるアクチュエータの制御装置において、
前記制御回路は、前記駆動回路の定格電流値より高い第1電流制限値を最大電流として、前記定格電流値より低い第2電流制限値を超えた電流を前記モータにパルス状に通電する第1の通電モードと、前記第2電流制限値を最大電流として前記モータに連続通電する第2の通電モードとを含む複数の通電モードのいずれか一つを選択し、選択した通電モードで前記モータを駆動制御することを特徴とするアクチュエータの制御装置。
A motor for driving a driven body, a drive circuit for the motor, and a control circuit for an actuator including a control circuit that outputs a control signal to the drive circuit to control the drive of the motor,
A first current limit value higher than a rated current value of the drive circuit as a maximum current, and a first current that passes a current exceeding a second current limit value lower than the rated current value in a pulse shape to the motor. And a second energization mode including a second energization mode for continuously energizing the motor with the second current limit value as the maximum current, and controlling the motor in the selected energization mode. A control device for an actuator, which performs drive control.
前記制御回路は、起動時に前記第1の通電モードと前記第2の通電モードのいずれか一方で前記モータを駆動制御するとともに、前記モータの初期位置を設定するイニシャライズ時に前記第2の通電モードで前記モータを駆動制御することを特徴とする請求項1に記載のアクチュエータの制御装置。The control circuit controls the driving of the motor in one of the first energizing mode and the second energizing mode at the time of starting, and the control circuit controls the motor in the second energizing mode during initialization for setting an initial position of the motor. The control device for an actuator according to claim 1, wherein the motor is drive-controlled. 前記制御回路は、前記第1の通電モードで前記第2電流制限値を超えた電流を前記モータにパルス状に通電するために、前記モータが起動するのに必要な時間に設定されたオン設定時間の間、前記モータに通電するオン動作と、前記オン設定時間の経過後、オフ設定時間の間、前記モータへの通電を停止するオフ動作とを交互に繰り返すことを特徴とする請求項1又は2に記載のアクチュエータの制御装置。The control circuit is configured to set an ON setting that is set to a time necessary for the motor to start in order to supply a current that exceeds the second current limit value to the motor in a pulsed manner in the first power supply mode. 2. An on-operation for energizing the motor for a period of time and an off-operation for stopping energization of the motor for an off-set time after the elapse of the on-set time are alternately repeated. Or the control device for an actuator according to 2. 前記オン設定時間とオフ設定時間は、これら両設定時間を1周期とする時間での平均電流が前記定格電流値を超えないように設定されることを特徴とする請求項3に記載のアクチュエータの制御装置。4. The actuator according to claim 3, wherein the on-set time and the off-set time are set such that an average current during a period in which the two set times are one cycle does not exceed the rated current value. 5. Control device. 前記制御回路は、前記第1の通電モードで前記モータを駆動制御する際に、前記第2電流制限値を超えた電流が前記モータに流れる時間が予め設定された過電流検出時間以下の場合、前記オン設定時間の経過後にそのまま通電を続行することを特徴とする請求項3又は4に記載のアクチュエータの制御装置。The control circuit, when driving control of the motor in the first energization mode, when the time that the current exceeding the second current limit value flows to the motor is equal to or less than a preset overcurrent detection time, The actuator control device according to claim 3, wherein the energization is continued as it is after the ON set time has elapsed. 前記モータに流れる電流値を検出する電流値検出回路を含み、前記制御回路は、前記第1の通電モードで前記モータを駆動制御する際に、前記電流値検出回路により検出した電流値を、その検出した電流値が前記第2電流制限値を越えている時間で積分し、その積分値が一定値に達した時、前記モータへの通電を停止するとともに、前記積分値を0に設定する動作と、この設定後、予め設定されたオフ設定時間が経過するまでの間、前記モータへの通電を停止させる動作とを繰り返すことを特徴とする請求項1又は2に記載のアクチュエータの制御装置。A current value detection circuit for detecting a current value flowing through the motor, wherein the control circuit, when driving and controlling the motor in the first energization mode, the current value detected by the current value detection circuit, An operation of integrating the detected current value during a time when the detected current value exceeds the second current limit value, and stopping the current supply to the motor and setting the integrated value to 0 when the integrated value reaches a constant value. 3. The actuator control device according to claim 1, wherein, after the setting, an operation of stopping the power supply to the motor is repeated until a preset OFF set time elapses. 4. 前記モータに流れる電流値を検出する電流値検出回路を含み、前記制御回路は、前記第1の通電モードで前記モータを駆動制御する際に、前記電流値検出回路により検出した電流値を、その検出した電流値が前記第2電流制限値を越えている時間で積分する動作と、前記検出した電流値が前記第2電流制限値より低い電流設定値以下の間は前記積分値を減らす動作と、前記その積分値が一定値に達した後、予め設定されたオフ設定時間の間、前記モータへの通電を停止する動作と、前記オフ設定時間の経過後に前記モータへの通電を開始する動作とを行なうことを特徴とする請求項1又は2に記載のアクチュエータの制御装置。A current value detection circuit for detecting a current value flowing through the motor, wherein the control circuit, when driving and controlling the motor in the first energization mode, the current value detected by the current value detection circuit, An operation of integrating at a time when the detected current value exceeds the second current limit value, and an operation of reducing the integral value while the detected current value is equal to or less than a current set value lower than the second current limit value. An operation of stopping the energization of the motor for a preset off-set time after the integral value reaches a constant value, and an operation of starting the energization of the motor after the elapse of the off-set time 3. The actuator control device according to claim 1, wherein
JP2003064634A 2003-03-11 2003-03-11 Controlling equipment of actuators Pending JP2004274928A (en)

Priority Applications (1)

Application Number Priority Date Filing Date Title
JP2003064634A JP2004274928A (en) 2003-03-11 2003-03-11 Controlling equipment of actuators

Applications Claiming Priority (1)

Application Number Priority Date Filing Date Title
JP2003064634A JP2004274928A (en) 2003-03-11 2003-03-11 Controlling equipment of actuators

Publications (1)

Publication Number Publication Date
JP2004274928A true JP2004274928A (en) 2004-09-30

Family

ID=33125877

Family Applications (1)

Application Number Title Priority Date Filing Date
JP2003064634A Pending JP2004274928A (en) 2003-03-11 2003-03-11 Controlling equipment of actuators

Country Status (1)

Country Link
JP (1) JP2004274928A (en)

Cited By (13)

* Cited by examiner, † Cited by third party
Publication number Priority date Publication date Assignee Title
JP2009207319A (en) * 2008-02-28 2009-09-10 Toyota Motor Corp Motor control system and motor control method
JP2009539420A (en) * 2006-05-19 2009-11-19 エシコン エンド−サージェリー,インク. Electric surgical instrument
JP2010530203A (en) * 2007-05-09 2010-09-02 エスエスベー−アントリーブステヒニック・ゲーエムベーハ−・ウント・コムパニー・カーゲー Electrical drive
US7959050B2 (en) 2005-07-26 2011-06-14 Ethicon Endo-Surgery, Inc Electrically self-powered surgical instrument with manual release
US8028885B2 (en) 2006-05-19 2011-10-04 Ethicon Endo-Surgery, Inc. Electric surgical instrument with optimized power supply and drive
US8269121B2 (en) 2006-05-19 2012-09-18 Ethicon Endo-Surgery, Inc. Force switch
US8627995B2 (en) 2006-05-19 2014-01-14 Ethicon Endo-Sugery, Inc. Electrically self-powered surgical instrument with cryptographic identification of interchangeable part
US8627993B2 (en) 2007-02-12 2014-01-14 Ethicon Endo-Surgery, Inc. Active braking electrical surgical instrument and method for braking such an instrument
US9554803B2 (en) 2005-07-26 2017-01-31 Ethicon Endo-Surgery, Llc Electrically self-powered surgical instrument with manual release
US9662116B2 (en) 2006-05-19 2017-05-30 Ethicon, Llc Electrically self-powered surgical instrument with cryptographic identification of interchangeable part
US9848872B2 (en) 2005-07-26 2017-12-26 Ethicon Llc Surgical stapling and cutting device
US10314583B2 (en) 2005-07-26 2019-06-11 Ethicon Llc Electrically self-powered surgical instrument with manual release
JP2020102942A (en) * 2018-12-21 2020-07-02 株式会社ジェイテクト Motor controller

Cited By (49)

* Cited by examiner, † Cited by third party
Publication number Priority date Publication date Assignee Title
US8672951B2 (en) 2005-07-26 2014-03-18 Ethicon Endo-Surgery, Inc. Electrically self-powered surgical instrument with manual release
US12059150B2 (en) 2005-07-26 2024-08-13 Cilag Gmbh International Surgical stapling and cutting device
US11234695B2 (en) 2005-07-26 2022-02-01 Cilag Gmbh International Surgical stapling and cutting device
US7959050B2 (en) 2005-07-26 2011-06-14 Ethicon Endo-Surgery, Inc Electrically self-powered surgical instrument with manual release
US11172930B2 (en) 2005-07-26 2021-11-16 Cilag Gmbh International Electrically self-powered surgical instrument with manual release
US10314583B2 (en) 2005-07-26 2019-06-11 Ethicon Llc Electrically self-powered surgical instrument with manual release
US9855038B2 (en) 2005-07-26 2018-01-02 Ethicon Llc Surgical stapling and cutting device
US9848872B2 (en) 2005-07-26 2017-12-26 Ethicon Llc Surgical stapling and cutting device
US9554803B2 (en) 2005-07-26 2017-01-31 Ethicon Endo-Surgery, Llc Electrically self-powered surgical instrument with manual release
US9662116B2 (en) 2006-05-19 2017-05-30 Ethicon, Llc Electrically self-powered surgical instrument with cryptographic identification of interchangeable part
US9713473B2 (en) 2006-05-19 2017-07-25 Ethicon Endo-Surgery, Inc. Active braking electrical surgical instrument and method for braking such an instrument
US8573459B2 (en) 2006-05-19 2013-11-05 Ethicon Endo-Surgery, Inc Optimal tissue compression electrical surgical instrument
US8573462B2 (en) 2006-05-19 2013-11-05 Ethicon Endo-Surgery, Inc. Electrical surgical instrument with optimized power supply and drive
US8592700B2 (en) 2006-05-19 2013-11-26 Ethicon Endo-Surgery, Inc. Force switch
US8627995B2 (en) 2006-05-19 2014-01-14 Ethicon Endo-Sugery, Inc. Electrically self-powered surgical instrument with cryptographic identification of interchangeable part
US12096933B2 (en) 2006-05-19 2024-09-24 Cllag GmbH International Electrical surgical instrument with differential rate of closing motion speed
US8286846B2 (en) 2006-05-19 2012-10-16 Ethicon Endo-Surgery, Inc. Method for operating an electrical surgical instrument with optimal tissue compression
US8827138B2 (en) 2006-05-19 2014-09-09 Ethicon Endo-Sugery, Inc. Method for operating an electrical surgical instrument with optimal tissue compression
US8844791B2 (en) 2006-05-19 2014-09-30 Ethicon Endo-Surgery, Inc. Electrical surgical instrument with optimal tissue compression
US8872046B2 (en) 2006-05-19 2014-10-28 Ethicon Endo-Surgery, Inc. Force switch
US9439651B2 (en) 2006-05-19 2016-09-13 Ethicon Endo-Surgery, Llc Methods for cryptographic identification of interchangeable parts for surgical instruments
US8269121B2 (en) 2006-05-19 2012-09-18 Ethicon Endo-Surgery, Inc. Force switch
US9622744B2 (en) 2006-05-19 2017-04-18 Ethicon Endo-Surgery, Llc Electrical surgical instrument with one-handed operation
US9666389B2 (en) 2006-05-19 2017-05-30 Ethicon Endo-Surgery, Inc. Force switch
JP2009539420A (en) * 2006-05-19 2009-11-19 エシコン エンド−サージェリー,インク. Electric surgical instrument
US9675348B2 (en) 2006-05-19 2017-06-13 Ethicon Llc Electrical surgical instrument with knife return
US9681873B2 (en) 2006-05-19 2017-06-20 Ethicon Llc Electrical surgical stapling instrument with tissue compressive force control
US9687234B2 (en) 2006-05-19 2017-06-27 Ethicon L.L.C. Electrical surgical instrument with optimized power supply and drive
US8292157B2 (en) 2006-05-19 2012-10-23 Ethicon Endo-Surgery, Inc. Electrical surgical instrument with optimized power supply and drive
US9757127B2 (en) 2006-05-19 2017-09-12 Ethicon Llc Electrical surgical instrument with optimal tissue compression
US8038046B2 (en) 2006-05-19 2011-10-18 Ethicon Endo-Surgery, Inc. Electrical surgical instrument with optimized power supply and drive
US8028885B2 (en) 2006-05-19 2011-10-04 Ethicon Endo-Surgery, Inc. Electric surgical instrument with optimized power supply and drive
US9901340B2 (en) 2006-05-19 2018-02-27 Ethicon Endo-Surgery, Inc. Active braking electrical surgical instrument and method for braking such an instrument
US9934920B2 (en) 2006-05-19 2018-04-03 Ethicon Endo-Surgery, Inc. Force switch
US10217582B2 (en) 2006-05-19 2019-02-26 Ethicon Endo-Surgery, Inc. Force switch
JP2011120924A (en) * 2006-05-19 2011-06-23 Ethicon Endo-Surgery Inc Electrical surgical instrument
US10314592B2 (en) 2006-05-19 2019-06-11 Ethicon Llc Electrically self-powered surgical instrument with cryptographic identification of interchangeable part
US10586669B2 (en) 2006-05-19 2020-03-10 Ethicon-Endo Surgery, Inc. Force switch
US10675022B2 (en) 2006-05-19 2020-06-09 Ethicon Llc Electrical surgical instrument with optimal tissue compression
US12009166B2 (en) 2006-05-19 2024-06-11 Cilag Gmbh International Force switch
JP2011120923A (en) * 2006-05-19 2011-06-23 Ethicon Endo-Surgery Inc Electrical surgical instrument
US11172931B2 (en) 2006-05-19 2021-11-16 Cilag Gmbh International Electrically self-powered surgical instrument with cryptographic identification of interchangeable part
US11183349B2 (en) 2006-05-19 2021-11-23 Ethicon Endo-Surgery, Inc Force switch
US11759203B2 (en) 2006-05-19 2023-09-19 Cilag Gmbh International Electrical surgical instrument with minimum closure distance for staple firing control
US8627993B2 (en) 2007-02-12 2014-01-14 Ethicon Endo-Surgery, Inc. Active braking electrical surgical instrument and method for braking such an instrument
JP2010530203A (en) * 2007-05-09 2010-09-02 エスエスベー−アントリーブステヒニック・ゲーエムベーハ−・ウント・コムパニー・カーゲー Electrical drive
JP2009207319A (en) * 2008-02-28 2009-09-10 Toyota Motor Corp Motor control system and motor control method
JP7230488B2 (en) 2018-12-21 2023-03-01 株式会社ジェイテクト motor controller
JP2020102942A (en) * 2018-12-21 2020-07-02 株式会社ジェイテクト Motor controller

Similar Documents

Publication Publication Date Title
JP5242974B2 (en) Electric tool
JP2004274928A (en) Controlling equipment of actuators
JP3304129B2 (en) Motor drive device and method
US9073186B2 (en) Electric power tool
JP5144315B2 (en) Drive circuit for brushless DC motor
JP5281301B2 (en) Fuel pump control device
CN104159712B (en) Electric tool
CN104169050B (en) Electric tool
JP5660997B2 (en) Electric motor control device
CN100576717C (en) Vehicle rearview mirror device
JP2000102281A (en) Load controller
JP2008263665A (en) Driving device of brushless motor and fluid pump
JP4337531B2 (en) Electric tool
JP2006271179A (en) Motor control unit and motor control method
JP3994029B2 (en) Motor control device and motor for air conditioner
JP5307997B2 (en) Brushless DC motor drive device
JP4349777B2 (en) Cordless power tool
JP5193519B2 (en) DC motor and pump having the same
JP5724353B2 (en) Brushless motor control device for electric pump
JPH0851789A (en) Drive device for brushless motor
CN101141106A (en) Vehicle rearview mirror device
JP7722892B2 (en) power tools
JP7537857B2 (en) MOTOR DRIVE CONTROL DEVICE AND MOTOR DRIVE CONTROL METHOD
JPH1076966A (en) Motor-driven pump type power steering device
JP2019088062A (en) DC motor drive circuit, drive method and electronic device using the same

Legal Events

Date Code Title Description
A621 Written request for application examination

Free format text: JAPANESE INTERMEDIATE CODE: A621

Effective date: 20050419

A977 Report on retrieval

Free format text: JAPANESE INTERMEDIATE CODE: A971007

Effective date: 20080319

A131 Notification of reasons for refusal

Free format text: JAPANESE INTERMEDIATE CODE: A131

Effective date: 20080325

A02 Decision of refusal

Free format text: JAPANESE INTERMEDIATE CODE: A02

Effective date: 20080722