JP2004274838A - Wheel drive - Google Patents
Wheel drive Download PDFInfo
- Publication number
- JP2004274838A JP2004274838A JP2003059944A JP2003059944A JP2004274838A JP 2004274838 A JP2004274838 A JP 2004274838A JP 2003059944 A JP2003059944 A JP 2003059944A JP 2003059944 A JP2003059944 A JP 2003059944A JP 2004274838 A JP2004274838 A JP 2004274838A
- Authority
- JP
- Japan
- Prior art keywords
- wheel
- wheel drive
- drive device
- poles
- motor
- Prior art date
- Legal status (The legal status is an assumption and is not a legal conclusion. Google has not performed a legal analysis and makes no representation as to the accuracy of the status listed.)
- Pending
Links
Images
Classifications
-
- B—PERFORMING OPERATIONS; TRANSPORTING
- B60—VEHICLES IN GENERAL
- B60L—PROPULSION OF ELECTRICALLY-PROPELLED VEHICLES; SUPPLYING ELECTRIC POWER FOR AUXILIARY EQUIPMENT OF ELECTRICALLY-PROPELLED VEHICLES; ELECTRODYNAMIC BRAKE SYSTEMS FOR VEHICLES IN GENERAL; MAGNETIC SUSPENSION OR LEVITATION FOR VEHICLES; MONITORING OPERATING VARIABLES OF ELECTRICALLY-PROPELLED VEHICLES; ELECTRIC SAFETY DEVICES FOR ELECTRICALLY-PROPELLED VEHICLES
- B60L2200/00—Type of vehicles
- B60L2200/26—Rail vehicles
-
- B—PERFORMING OPERATIONS; TRANSPORTING
- B60—VEHICLES IN GENERAL
- B60L—PROPULSION OF ELECTRICALLY-PROPELLED VEHICLES; SUPPLYING ELECTRIC POWER FOR AUXILIARY EQUIPMENT OF ELECTRICALLY-PROPELLED VEHICLES; ELECTRODYNAMIC BRAKE SYSTEMS FOR VEHICLES IN GENERAL; MAGNETIC SUSPENSION OR LEVITATION FOR VEHICLES; MONITORING OPERATING VARIABLES OF ELECTRICALLY-PROPELLED VEHICLES; ELECTRIC SAFETY DEVICES FOR ELECTRICALLY-PROPELLED VEHICLES
- B60L2220/00—Electrical machine types; Structures or applications thereof
- B60L2220/40—Electrical machine applications
- B60L2220/44—Wheel Hub motors, i.e. integrated in the wheel hub
-
- B—PERFORMING OPERATIONS; TRANSPORTING
- B60—VEHICLES IN GENERAL
- B60L—PROPULSION OF ELECTRICALLY-PROPELLED VEHICLES; SUPPLYING ELECTRIC POWER FOR AUXILIARY EQUIPMENT OF ELECTRICALLY-PROPELLED VEHICLES; ELECTRODYNAMIC BRAKE SYSTEMS FOR VEHICLES IN GENERAL; MAGNETIC SUSPENSION OR LEVITATION FOR VEHICLES; MONITORING OPERATING VARIABLES OF ELECTRICALLY-PROPELLED VEHICLES; ELECTRIC SAFETY DEVICES FOR ELECTRICALLY-PROPELLED VEHICLES
- B60L2240/00—Control parameters of input or output; Target parameters
- B60L2240/40—Drive Train control parameters
- B60L2240/42—Drive Train control parameters related to electric machines
- B60L2240/421—Speed
-
- Y—GENERAL TAGGING OF NEW TECHNOLOGICAL DEVELOPMENTS; GENERAL TAGGING OF CROSS-SECTIONAL TECHNOLOGIES SPANNING OVER SEVERAL SECTIONS OF THE IPC; TECHNICAL SUBJECTS COVERED BY FORMER USPC CROSS-REFERENCE ART COLLECTIONS [XRACs] AND DIGESTS
- Y02—TECHNOLOGIES OR APPLICATIONS FOR MITIGATION OR ADAPTATION AGAINST CLIMATE CHANGE
- Y02T—CLIMATE CHANGE MITIGATION TECHNOLOGIES RELATED TO TRANSPORTATION
- Y02T10/00—Road transport of goods or passengers
- Y02T10/60—Other road transportation technologies with climate change mitigation effect
- Y02T10/64—Electric machine technologies in electromobility
Landscapes
- Electric Propulsion And Braking For Vehicles (AREA)
- Iron Core Of Rotating Electric Machines (AREA)
- Motor Or Generator Frames (AREA)
- Connection Of Motors, Electrical Generators, Mechanical Devices, And The Like (AREA)
- Motor Or Generator Cooling System (AREA)
- Permanent Magnet Type Synchronous Machine (AREA)
- Permanent Field Magnets Of Synchronous Machinery (AREA)
- Arrangement Or Mounting Of Propulsion Units For Vehicles (AREA)
Abstract
【課題】車輪駆動で常用される回転数において効率および出力特性に優れる特性のモータを提供し、車輪駆動装置の小型、軽量化を実現する。
【解決手段】車輪に直結された電気モータにより車輪を直接回転駆動するダイレクト駆動型の車輪駆動装置において、モータ部は、回転方向にN極、S極を交互に多極着磁したマグネット体1を有するロータと、マグネット体とラジアル方向に対向し磁気回路を構成しコイル4が巻回された複数の突極を設けたコア3とを有し、突極のマグネット体と対向する部分には、マグネット2極分と略同一ピッチの小歯6が複数個設ける。
【選択図】 図6An object of the present invention is to provide a motor having characteristics excellent in efficiency and output characteristics at a rotational speed commonly used in wheel driving, and to realize a small and lightweight wheel driving device.
Kind Code: A1 In a direct drive type wheel drive device for directly rotating a wheel by an electric motor directly connected to the wheel, a motor unit includes a magnet body having a multipolar magnetized N pole and S pole alternately in a rotation direction. And a core 3 which is provided with a plurality of salient poles which are radially opposed to the magnet body, constitute a magnetic circuit, and are wound with the coil 4. The portion of the salient pole facing the magnet body is A plurality of small teeth 6 having substantially the same pitch as two magnets are provided.
[Selection] Fig. 6
Description
【0001】
【発明の属する技術分野】
本発明は、電気自動車、燃料電池電気自動車、ハイブリッド電気自動車等の車輪駆動型輸送用機器に使用される、車輪を直接駆動するダイレクト駆動型の車輪駆動装置に関する。
【0002】
【従来の技術】
近年大気中の二酸化炭素量増加による地球温暖化、CO、NOx等の排気ガスによる環境汚染、石油資源の枯渇等が叫ばれるようになり、現在の内燃機関を用いた自動車に替わり、エネルギ効率が高く排気ガスも発生しない電気モータが注目され、二次電池と電気モータのみで駆動する電気自動車および燃料電池を用いた燃料電池電気自動車、内燃機関と電気モータを併用するハイブリッド型電気自動車などが一般に製品化される段階に至っている。
【0003】
今後、数十年後には現在の内燃機関を用いた自動車は全て上記電気モータを利用した自動車に置き換わるといわれており、各方面にて研究開発が行われている。
【0004】
現在開発中、又は製品化されている電気自動車は内燃機関を用いた自動車の内燃機関の部分をそのまま電気モータに置換し、ギアおよびドライブシャフトにより車輪に動力を伝達する機構のものが大半である。
【0005】
一方、一部においては5倍程度の低減速比のギアを一体化したモータを車輪に直結したインホイール型の車輪駆動装置(例えば、特許文献1参照)や、車輪のホイール部分にモータを一体化したダイレクト駆動型の車輪駆動装置(例えば、特許文献2参照)が提案されている。
【0006】
これら個々の車輪を独立して駆動する方式は、内燃機関に比較して100倍程度早いと言われる電気モータの制御応答性を利用して、車輪のスリップ抑制や、回頭時のアクティブな姿勢制御など現在の内燃機関を使用した自動車では不可能な高度な運動性能が得られる可能性があるとされており、一部で研究開発が行われている。
【0007】
以下、乗用自動車を例にとって説明する。図10は、一般的な排気量1500ccクラスの乗用自動車の車輪回転数と速度の関係を示した図である。図10に示すとおり日本国内の一般道路の最高速度である60km/h(時速)では車輪の回転数は500〜600r/minに過ぎず、高速道路での最高速度100km/h(時速)でも車輪の回転数は900r/minに満たない。
【0008】
図11は最大出力46kW(62馬力)の電気自動車用ブラシレスモータの効率マップ(駆動回路を含む)の一例を示した図である。
【0009】
図11に示す通り、モータの効率は3000〜5000r/min程度の回転数が比較的高い状態で効率が高く、逆に1000r/min以下の回転数では効率の更なる向上が望まれる。また、出力の高出力化も望まれる。
【0010】
このため、従来のモータを流用した電気自動車や図12に示す車輪駆動装置では、車輪とモータの間に5倍程度の減速比のギアを介しモータの効率がよい部分を使用してモータを駆動するように設計されている。
【0011】
しかしながら、上記低減速比のギアを一体化したモータを車輪に直結したインホイール型の車輪駆動装置は、モータだけでなくギアが付加されているため、装置全体としてどうしても重く大きくなりがちであり、自動車の運動性能を決定する上で非常に重要となる車輪懸架機構のバネ下重量の増加に新たな課題解決を要し、更には、ギアによる伝達ロスが発生するために、効率の更なる向上が望まれる。
【0012】
一方、図13に示すダイレクト駆動型の車輪駆動装置では、モータの磁極を多極化すると共に、モータの外径を大型化し低速でも大きく効率、出力が低下しないようにしている。
【0013】
しかしながら、上記ダイレクト駆動型の車輪駆動装置では、従来構造のモータを使用した場合、モータのコイル部で発生する銅損がどうしても大きくなり、銅損の増加分を補うためにモータの外径および軸方向の厚みを大型化する必要があるため、同一出力の車輪駆動装置を構築する場合、ギアを一体化した場合より更に重くなってしまうことが多く、永久磁石に代表される材料の使用量が多くなり、コストも高くなりがちである。
【0014】
【特許文献1】
特開平7−96752号公報
【特許文献2】
特開平5−116546号公報
【0015】
【発明が解決しようとする課題】
本発明は、減速機を用いないダイレクト駆動型の車輪駆動装置において、モータ構造を変更することにより、従来のダイレクト駆動型の車輪駆動装置の課題を解決する。
【0016】
具体的には、本発明と同一出願人による先願の特許願(特願2001−240841号)記載のモータ構造を適用し、コアの突極数を増やさないまま、磁極数のみを多極化し、低速大トルク駆動できるようにすることにより、車輪駆動で常用される回転数において効率および出力特性に優れる特性のモータを提供し、車輪駆動装置の小型、軽量化を実現することを目的としている。
【0017】
【課題を解決するための手段】
上記課題を解決するために、本件出願に係る第1の発明の車輪駆動装置は、車輪に直結された電気モータにより車輪を直接回転駆動するダイレクト駆動型の車輪駆動装置において、
前記車輪駆動装置のモータ部は、回転方向にN極、S極を交互に多極着磁したマグネット体を有するロータと、前記マグネット体とラジアル方向に対向し磁気回路を構成しコイルが巻回された複数の突極を設けたコアとを有し、前記突極の前記マグネット体と対向する部分には、マグネット2極分と略同一ピッチの小歯が複数個設けられており、前記ロータの位置に応じてコイルに通電することにより、前記ロータが回転駆動されることを特徴とする。
【0018】
また、本件出願に係る第2の発明の車輪駆動装置は、車輪に直結された電気モータにより車輪を直接回転駆動するダイレクト駆動型の車輪駆動装置において、前記車輪駆動装置のモータ部は、回転方向にN極、S極を交互に多極着磁したマグネット体を有するロータと、前記マグネット体とラジアル方向に対向し磁気回路を構成しコイルが巻回された複数の突極を設けたコアとを有し、前記突極の前記マグネット体と対向する部分には、マグネット2極分と略同一ピッチの小歯が複数個設けられており、前記ロータの位置に応じてコイルに通電することにより、前記ロータが回転駆動され、前記マグネット体の磁極は30〜200極の多極構造であることを特徴とする。
【0019】
また、本件出願に係る第3の発明の車輪駆動装置は、車輪に直結された電気モータにより車輪を直接回転駆動するダイレクト駆動型の車輪駆動装置において、前記車輪駆動装置のモータ部は、回転方向にN極、S極を交互に多極着磁したマグネット体を有するロータと、前記マグネット体とラジアル方向に対向し磁気回路を構成しコイルが巻回された複数の突極を設けたコアとを有し、前記突極の前記マグネット体と対向する部分には、マグネット2極分と略同一ピッチの小歯が複数個設けられており、前記ロータの位置に応じてコイルに通電することにより、前記ロータが回転駆動され、前記コアは、外径と軸方向高さの比率(外径/軸方向高さ)が4以上15以下であることを特徴とする。
【0020】
また、本件出願に係る第4の発明の車輪駆動装置は、上記の第1から第3の発明において、モータのコアは、車輪のハブ軸受を一体に固定したハウジングに絶縁性の樹脂にて一体に固着されていることを特徴とする。
【0021】
また、本件出願に係る第5の発明の車輪駆動装置は、上記第5の発明において、ハウジングには複数の突起部が形成されており、前記突起部を隣り合う突極およびコイルの隙間にはめ込む形にすることにより、コアの回り止めが行なわれることを特徴とする。
【0022】
また、本件出願に係る第6の発明の車輪駆動装置は、上記の第4から第5の発明において、ハウジングは熱伝導率80W/mK以上の材料で作成されており、コアおよびコイルの熱が前記ハウジングを介して放熱されることを特徴とする。
【0023】
また、本件出願に係る第7の発明の車輪駆動装置は、上記の第6の発明において、ハウジングがアルミニウム合金からなることを特徴とする
また、本件出願に係る第8の発明の車輪駆動装置は、上記の第6の発明において、ハウジングがマグネシウム合金からなることを特徴とする。
【0024】
また、本件出願に係る第9の発明の車輪駆動装置は、上記の第6の発明において、ハウジングが炭素繊維複合材料からなることを特徴とする。
【0025】
また、本件出願に係る第10の発明の車輪駆動装置は、上記の第6から第9の発明において、ハウジングの一部には熱を外気に放熱するための空冷部が形成されていることを特徴とする。
【0026】
また、本件出願に係る第11の発明の車輪駆動装置は、上記の第6から第10の発明において、ハウジングの一部には液冷部が形成されることにより放熱が行なわれること特徴とする。
【0027】
また、本件出願に係る第12の発明の車輪駆動装置は、上記の第4から第11の発明において、ハウジングは、車輪懸架機構の一部をなしていることを特徴とする。
【0028】
また、本件出願に係る第13の発明は、上記の第1から第12の発明の車輪駆動装置が具備される輸送用機器である。
【0029】
また、本件出願に係る第14の発明は、回転方向にN極、S極を交互に多極着磁したマグネット体を有するロータと、前記マグネット体とラジアル方向に対向し磁気回路を構成しコイルが巻回された複数の突極を設けたコアとを有し、前記突極の前記マグネット体と対向する部分には、マグネット2極分と略同一ピッチの小歯が複数個設けられており、前記ロータの位置に応じてコイルに通電することにより、ロータが回転駆動されるモータであって、
前記マグネット体は、磁極数より少ない複数の円弧状永久磁石からなることを特徴とするブラシレスモータである。
【0030】
また、本件出願に係る第15の発明は、上記の第14の発明のブラシレスモータにおいて、永久磁石の個数と、コア突極数とが互いに素の関係であることを特徴とするブラシレスモータである。
【0031】
このようにモータの構造を見直すことにより、従来のブラシレスモータより低速大トルクに適した構造とし、同一出力、同一効率でも小型軽量な車輪駆動装置を提供できる。
【0032】
【発明の実施の形態】
以下、本発明の実施の形態について、図面を参照して説明する。
【0033】
(実施の形態1)
図1は本発明の車輪駆動装置モータ部の磁気回路構成を説明するための説明図である。
【0034】
図1において円筒状の永久磁石1は、内周面にN、S極を交互に80極均等に着磁されており、外周にバックヨーク2が固定されている。コア3は珪素鋼板をプレス加工で形状を打ち抜くと共に軸方向に複数枚積層して構成されている。コア3にはコイル4が巻回された突極5が15極均等に設けられ、突極5の永久磁石と対向する部分には、1つの突極あたり3個全体で45個の小歯6が設けられている。ここで突極先端に設けられた小歯6のピッチは永久磁石2極分とほぼ同一(電気角350°)ピッチに構成されている。
【0035】
以上のように本実施の形態1の車輪駆動装置モータ部最大の特徴は、コア3の突極5先端部にほぼ永久磁石2極分のピッチで小歯6を設けコア3を擬似的に多極化することによって、突極数を増やすことなく磁極のみを多極化したところにある。このように、小歯6を設けることにより、突極には小歯と対向している磁極の部分だけの磁束が選択的に取り入れられる状態となる。
【0036】
本モータ部の特性は、本発明と同一出願人による先願の特許願(特願2001−240841号)に示したとおりであるが、モータのトルクが大幅に向上し、小型のモータでも十分な出力を確保でき、ホイールの内部に収める大きさでも十分な出力を得ることができる。
【0037】
図2は、比較のために従来構造のモータ部の磁気回路構成を示した説明図である。
【0038】
図2において、円筒状の永久磁石1は、内周面にN、S極を交互に40極均等に着磁されており、コア3にはコイル4が巻回された突極5が30極均等に設けられている。
【0039】
図2に示したとおり、従来構造のモータで同じ外径のモータを作成した場合、磁極を多極化するためには、コア3の突極数も増やす必要があり、隣り合う突極に巻回したコイルどうしが干渉するために、巻線スペースが減少すると共に、コア3の内周側までコイル4を巻き込むことは困難となり、コア内周にデッドスペースが発生するため、必然的にコア形状は内径に大きな穴があいたドーナツ状の形状となる。さらに突極数は巻線の制限により、ある程度以上増やすことが困難になり、磁極の多極化に限界がある。
【0040】
一方、本発明のモータでは、磁極を増やした場合でも、突極数を増やす必要はなく、回転数に適した磁極数を選定することにより使用する回転数にあわせたモータが設計できる。また、適切なスロット数を選定することにより、コア内周部分のデッドスペースを少なくして、コイルをより多く巻き込むことができるためにコイル抵抗が減少しモータ効率が向上する。
【0041】
表1は、本発明のモータと同一サイズの従来型モータの特性をコンピュータによるシミュレーションで計算した場合の比較結果である。
【0042】
【表1】
【0043】
モータのサイズは、一般的な乗用自動車のホイール内に収まる寸法としてロータ外径がφ300mm、コイルを含めた磁気回路部の厚みが40mm(コア積厚30mm)の場合で計算している。
【0044】
表1に示したとおり、同じ負荷条件(100Nm、500r/min)で比較すると、効率は従来型の86.6%から92.1%と実に5.5%も向上できる。
【0045】
また、同じ500r/minの回転条件において従来型モータでは、コアの磁気飽和により、およそ120Nm以上のトルク出力は不可能であったが、本発明のモータでは200Nm程度まで出力可能であり、200Nm出力時の効率も88.4%という高い効率を維持できる。
【0046】
モータの損失は発熱となり、モータの出力を制限する要因となるが、本発明のモータの損失は従来型モータの約60%に留まっており、発熱量に余裕がある分多くの電力を投入することにより、より高トルクでの連続使用が可能となる。
【0047】
この計算例の場合、従来構造のモータと損失を等しくした場合、約1.4倍のトルクが出力可能である。
【0048】
また、反対に従来構造のモータで本発明のモータと同じ効率のモータを設計する場合について計算すると、コア3の外径を等しくした場合、コア3の積厚をおよそ2倍にする必要があり、モータが重く大きくなると共に、材料費が高くなるためにモータのコストも高くなる。
【0049】
このように、本モータ構造を車輪駆動装置に適用することにより、小型のモータでも十分な出力、効率を確保することが可能となり、車輪にモータを収めることにより、自動車の室内スペースを確保することができるとともに、モータを車輪に収めたことによる運動性能や燃費への悪影響を最小限に抑えることができ、またモータの小型化により材料費も削減されることにより高性能で、かつ低コストな車輪駆動装置を提供することができる。
【0050】
なお、本実施の形態1では、円筒状の永久磁石の場合を示しているが、図3(a)に示すように、磁極ごとに永久磁石を分割する方法、あるいは、図3(b)に示すように、数個の円弧状の永久磁石に分割し、組み合わせた後に、一体着磁を行うなど様々な方法が可能である。
【0051】
図3(a)に示すように磁極ごとに分割する場合は、組み立てる際の手間が増えるものの、1個の磁石が小さくできるため小型の金型で大量生産することが可能となり、磁石コストを引き下げることができるとともに、磁石と磁石の間に若干の隙間を設けることにより、隣り合う磁極間の干渉を抑えモータの性能を向上できる。
【0052】
また、図3(b)示すように数個の円弧状の永久磁石に分割し、組み合わせた場合は、磁石コストと組立コストをバランスさせ、両方を合わせたトータルコストを最小にすることが可能である。
【0053】
一方、このように磁石を磁極数より少ない個数に分割した場合は、磁石個数とコア突極数の最小公倍数成分のコギングトルクが発生するが、本実施例のように磁石個数とコア突極数が互いに素となる数(この場合は磁石個数16に対しコア突極数数15)に選ぶことにより、磁石分割によるコギングトルクの発生を抑制し、コギングトルクを小さくすることができる。
【0054】
また、本実施の形態1ではコアが内周側で、ロータが外周側であるアウターロータ型構成の場合を示したが、ロータが内周側で、コアが外周側であるインナーロータ型構成も可能である。
【0055】
インナーロータ型の構成は、アウターロータ型と比較して磁石の表面積が小さくなり、磁石から取り出せる磁束が小さくなるため、トルク特性の面では不利であるが、ロータが外部に露出するアウターロータ型に比べ、インナーロータ型はロータがコアの内周側に収まった構成のため、埃や水がモータ内部に侵入しにくい構成が取り易く、使用環境によってはインナーロータ型の方が良い場合もある。
【0056】
(実施の形態2)
上記実施の形態1は、モータ構造の優位性について説明したが、以下の実施の形態は、本モータ構造を車輪駆動装置に適用する際のいくつかのポイントについて述べる。
【0057】
図4は、本モータ構造の磁極数とモータ効率の関係をコンピュータによるシミュレーションで求めた図である。このシミュレーションは、有限要素法を用いた磁界解析である。
【0058】
なお、この図4は比較のために上記実施の形態1に示すモータとコアの突極数や外径、積厚等を同一とし、突極先端の小歯数を増やし、それに合わせ磁極数も変化させてモータ効率(%)を求めている。
【0059】
図4のグラフの点で表されるシミュレーション値を以下に示す。磁極数20にて、効率は71.6(%)である。磁極数50にて、効率は89.5(%)である。磁極数80にて、効率は92.1(%)である。磁極数110にて、効率は92.3(%)である。磁極数140にて、効率は91.8(%)である。磁極数170にて、効率は91.0(%)である。磁極数200にて、効率は90.0(%)である。磁極数230にて、効率は89.0(%)である。磁極数260にて、効率は88.0(%)である。磁極数290にて、効率は86.4(%)である。これらの、条件の範囲からモータの仕様に応じて適宜選択する。
【0060】
図4に示したとおり、磁極数は極端に多い方場合を除き、多極にすればするほど効率が良くなる。これは、多極化によりコイルの銅損(コイルの電気抵抗により熱として放出されるエネルギ損失)が低減されることによるが、同時にコアで発生する鉄損が増加するため、両者を合わせたトータル損失が最小になるポイントが存在するからである。
【0061】
したがって、本モータを電気自動車用の車輪駆動装置に適用する場合、電気自動車で常用される500r/min程度の領域では、モータ単品として考えると磁極数を50極〜200極の範囲で設定することにより、効率が90%以上となり、効率が高くなる。
【0062】
しかしながら、車輪駆動装置全体として駆動回路を含めて考えると状況は少し変わってくる。
【0063】
現在一般的に使用されているモータ駆動用回路は、PWM(Pulse width modulation)方式を用いたインバータ回路である。PWM方式は、キャリア周波数と呼ばれる一定周波数の電圧パルスを出力し、このパルスの幅を変化させることにより、負荷の電流をコントロールする方式であるが、その方式上キャリア周波数以上の周波数の電流を出力することはできない。実際上電流波形をコントロールしながら電流を出力するには、最低電流波形の20倍程度のキャリア周波数が必要となる。
【0064】
モータ駆動回路として一般的に使用されているインバータ回路のキャリア周波数は5kHz〜50kHz程度であり、車輪の回転数が最高1000r/min程度であることを考慮すると、モータが最高回転数の時にインバータ回路電流波形をコントロールでき、かつモータ効率が高い磁極数、つまり30〜200極の多極構造にすることにより、効率の高い車輪駆動装置を提供できる。特に、およそ50極から200極の範囲にて、効率が90%以上で、効果が良好である。さらに、およそ60極から170極の範囲にて、効率が91%以上で、より良好な効果が得られる。さらに、およそ80極から130極の範囲にて、効率が92%以上で、効果が特に顕著である。これらの、条件の範囲からモータの仕様に応じて適宜選択する。
【0065】
(実施の形態3)
図5は、本モータ構造の磁気回路部の容積および磁極数、スロット数を一定としてコアの外径と軸方向高さの比率(外径/軸方向高さ)を変えた場合のモータ効率の関係を示した図である。
【0066】
図5のグラフの点で表されるシミュレーション値を以下に示す。コアの外径と軸方向高さの比率(外径/軸方向高さ)が0.93のときに、モータ効率(%)が70.0%である。コアの外径と軸方向高さの比率(外径/軸方向高さ)が1.66のときに、モータ効率(%)が84.8%である。コアの外径と軸方向高さの比率(外径/軸方向高さ)が2.74のときに、モータ効率(%)が89.1%である。コアの外径と軸方向高さの比率(外径/軸方向高さ)が4.27のときに、モータ効率(%)が90.9%である。コアの外径と軸方向高さの比率(外径/軸方向高さ)が6.40のときに、モータ効率(%)が91.7%である。コアの外径と軸方向高さの比率(外径/軸方向高さ)が9.33のときに、モータ効率(%)が92.1%である。コアの外径と軸方向高さの比率(外径/軸方向高さ)が13.4のときに、モータ効率(%)が92.2%である。コアの外径と軸方向高さの比率(外径/軸方向高さ)が18.9のときに、モータ効率(%)が92.1%である。コアの外径と軸方向高さの比率(外径/軸方向高さ)が26.6のときに、モータ効率(%)が91.1%である。これらの、条件の範囲から適宜選択する。
【0067】
コアの外径と軸方向高さの比率(外径/軸方向高さ)がおよそ4以上の範囲ときに、効率が90(%)以上で良好である。コアの外径と軸方向高さの比率(外径/軸方向高さ)がおよそ5から27の範囲ときに、効率が91(%)以上でより良好である。コアの外径と軸方向高さの比率(外径/軸方向高さ)がおよそ8から18の範囲ときに、効率が92(%)以上で、特に良好である。これらの、条件の範囲からモータの仕様に応じて適宜選択する。
【0068】
図5に示したとおり、同一の容積のモータを使用する場合、コアの外径と軸方向高さの比率(外径/軸方向高さ)が4付近で急激に効率が上昇し、10から15程度の場合に効率が最大となる。
【0069】
したがって、コアの外径/軸方向高さを10から15程度にすると同一容積で最も効率の良いモータを設計できる。
【0070】
しかしながら、外径/軸方向高さを大きくしすぎると、モータがホイール内に納まらなくなり、別途モータを設置するスペースやドライブシャフトなどの動力伝達機構が必要となるため、実用的には、軸方向高さの比率は4以上15以下程度で適当な比を設定すれば、ホイール内部にモータが完全に収容され、かつ効率の高い車輪駆動装置を提供できる。
【0071】
(実施の形態4)
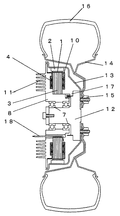
図6は本実施の形態4の車輪駆動装置の構造図である。図6においてコア3は、車輪のハブ軸受7を固定したハウジング8に固定されている。
【0072】
図7はハウジング8の斜視図である。図7において、ハウジング8はアルミニウム合金ダイカスト製で作成されており、コア3を固定する部分には複数の突起部9が形成されている。
【0073】
ハウジング8とコイル4を巻回したコア3とを組み合わせる際には、この突起部9を隣り合うコイルの間にはめ込んだ状態で位置決めをおこない、これらを充填材として熱伝導性が向上された絶縁性の樹脂10で一体モールド成型することにより、コイル4とハウジング8間の電気的絶縁とコア3の機械固定を同時に行う構成とする。
【0074】
このように車輪のハブ軸受7とモータ軸受を共用化することにより装置の小型化ができると共に、コア3をハウジング8に直接固定することにより、装置の剛性を確保し易くなる。
【0075】
具体的にはモータを駆動した際、コア3には車輪の反力として非常に大きなトルクがかかるが、このようにハウジング8全体でコア3の回り止めをする構成にし応力を分散させることにより、ハウジング8の肉厚を薄くしても十分な強度を確保できるため、軽量化に有利である。
【0076】
また、このハウジング8は、コア3およびコイル4で発生した熱を拡散する役割も果たしている。特にコイルの間にはめ込んだ突起部9は両側のコイルからの熱を吸収、拡散する働きを有しており、特に有効である。
【0077】
更に、図6に示すようにハウジング8のコア3と反対の側面に放熱フィン11(空冷部)を一体に成型すると、コイル4の熱を外気に放出することができ、コイル4により多くの電流を通電することができるため、より高出力な車輪駆動装置を提供できる。
【0078】
このとき、コイル4の熱を拡散させるためには、ハウジング8の材質の熱伝導率が重要となるが、アルミニウム合金や、マグネシウム合金、銅クラッド材などの金属材料や炭素繊維複合材料などの熱伝導率が80W/mK以上程度の熱伝導特性に優れる材質を利用することにより、コイル4の熱を効果的に拡散させ、コイル4により多くの電流を通電することができるため、より高出力な車輪駆動装置を提供できる。
【0079】
特にアルミニウム合金は、熱伝導率、強度/比重、コスト等バランスに優れた材料であり、性能とコストを両立した車輪駆動装置を提供できる。
【0080】
また、マグネシウム合金は、熱伝導率、コスト等の面ではアルミニウム合金に若干劣るものの、強度/比重が優れた材質であり、コスト面で許容できる場合は、アルミニウム合金を用いた場合と比較して同一性能でもより軽量な車輪駆動装置を提供できる。
【0081】
さらに、一部の炭素繊維複合材料は、上記金属材料を上回る熱伝導率や、強度/比重を示す素材も存在しており、これらの材料を用いることによりコスト面よりも性能向上を重視する用途(例えばレーシング用自動車、大気圏外機器など)に使用することにより、極めて軽量かつ高性能な車輪駆動装置を提供できる。
【0082】
(実施の形態5)
図8は本実施の形態5の車輪駆動装置を示す。図8において、車輪駆動装置の構成は上記実施の形態4とほぼ同一であるが、上記実施の形態4でハウジング8に放熱フィンが成型されていた部分に、ウォータジャケット19(液冷部)が装着されており、ハウジング8とウォータジャケット19(液冷部)の間に冷却液20を流す構成となっているところだけが異なる。
【0083】
このように冷却液を流すことにより強制的にモータを冷却することにより、自動車の速度や外気温に関わらずモータを安定して冷却することができる。
【0084】
またモータの大きさに関わらず、別の部位に設けた大容量のラジエータで放熱を行うことにより、十分な冷却性能得ることができ、コイル4により大きな電流を通電することが可能となり、ラジエータを含めた全体としての質量は増加するものの、車両の運動性能を決める上で重要なファクターとなるバネ下重量を増加することなく、車輪駆動装置の出力を向上できるため、トータルとして性能の高い電気自動車を提供できる。
【0085】
(実施の形態6)
上記実施の形態1から5は車輪駆動装置自体について説明したが、以下は上記車輪駆動装置を車輪懸架装置と共用することにより、全体として小型軽量化を図る方法について説明する。
【0086】
図9は本実施の形態6の車輪駆動装置の構成を示す。図9において、車輪駆動装置のハウジング8にはリンク部が設けられており、そこにリンク部品21を介してサスペンションアーム22が装着されている。
【0087】
サスペンションアーム22の反対側は、自動車にボディにリンク部品を介して装着されている。各リンク部は回転自在に保持されており、ボディとサスペンションアーム22間に取り付けられたダンパー23、コイルばね24により支持されている。
【0088】
この構成により、ハウジング8は車輪懸架機構の一部をなしており、ハウジング8が軸受7の保持、コア3の回り止め、放熱等モータの構造部品としての役割と車輪懸架機構の一部としての役割を兼ね備えることにより、それぞれ別の部品を設けるよりも軽量コンパクトに構成でき、結果的に運動性能の高い電気自動車を提供できる。
【0089】
なお、上記の実施の形態1から6は、電気自動車について示したが、電車、電動バイク、電動アシスト自転車など、車輪駆動型の輸送用機器について全て適用可能なことはいうまでもなく、これら輸送用機器の車輪に上記車輪駆動装置を採用することにより高性能、低価格な輸送用機器を提供できる。
【0090】
【発明の効果】
本件出願に係る発明によれば、車輪駆動で常用される回転数において効率および出力特性に優れる特性のモータを提供し、同一出力、効率でも小型軽量な車輪駆動装置を提供できるという有利な効果が得られる。
【0091】
また、これら輸送用機器の車輪に上記モータを使用した車輪駆動装置を採用することにより高性能、低価格な輸送用機器を提供できる。
【図面の簡単な説明】
【図1】本発明の実施の形態1による車輪駆動装置モータ部の磁気回路構成を示す説明図
【図2】従来例の一例のブラシレスモータの磁気回路構成を示す説明図
【図3】(a)本発明の実施の形態1によるマグネット体の構成を示す図
(b)本発明の実施の形態1によるもう一例のマグネット体の構成を示す図
【図4】本発明の実施の形態2による磁極数とモータ効率の関係を示す図
【図5】本発明の実施の形態3によるコア外径/軸方向高さとモータ効率の関係を示す図
【図6】本発明の実施の形態4による車輪駆動装置の構造図
【図7】本発明の実施の形態4によるハウジングの斜視図
【図8】本発明の実施の形態5による車輪駆動装置の構造図
【図9】本発明の実施の形態6による車輪駆動装置の構造図
【図10】一般的な乗用自動車の車輪回転数と速度の関係を示す図
【図11】定格出力46kWの電気自動車用ブラシレスモータの効率マップを示す図
【図12】従来例の一例の車輪駆動装置の構造図
【図13】従来例の一例のダイレクト駆動型車輪駆動装置の構造図
【符号の説明】
1 永久磁石(マグネット体)
2 バックヨーク
3 コア
4 コイル
5 突極
6 小歯
7 ハブ軸受
8 ハウジング
9 突起部
10 樹脂
11 放熱フィン(空冷部)
12 ハブフランジ
13 ロータフレーム
14 ホイールリム
15 ホイールナット
16 タイヤ
17 エンコーダ部
18 電気配線
19 ウォータジャケット(液冷部)
20 冷却液
21 リンク部品
22 サスペンションアーム
23 ダンパー
24 コイルばね[0001]
TECHNICAL FIELD OF THE INVENTION
The present invention relates to a direct drive type wheel drive device for directly driving wheels, which is used for a wheel drive type transport device such as an electric vehicle, a fuel cell electric vehicle, and a hybrid electric vehicle.
[0002]
[Prior art]
In recent years, global warming due to an increase in the amount of carbon dioxide in the atmosphere, environmental pollution by exhaust gas such as CO and NOx, and depletion of petroleum resources have come to be called out, and energy efficiency has been replaced by the current vehicles using internal combustion engines. Electric motors that are high and do not generate exhaust gas are attracting attention, and electric vehicles that are driven only by a secondary battery and an electric motor, fuel cell electric vehicles that use a fuel cell, hybrid electric vehicles that use an internal combustion engine and an electric motor, and the like are generally in use. It has reached the stage of commercialization.
[0003]
In the coming decades, it is said that all vehicles using an internal combustion engine will be replaced by vehicles using the above-mentioned electric motors, and research and development are being carried out in various fields.
[0004]
Currently, most electric vehicles under development or commercialization have a mechanism that replaces the internal combustion engine part of an automobile using an internal combustion engine with an electric motor as it is and transmits power to wheels by gears and a drive shaft. .
[0005]
On the other hand, in some cases, an in-wheel type wheel drive device (see, for example, Patent Document 1) in which a motor in which a gear having a reduction ratio of about 5 times is integrated is directly connected to a wheel, or a motor is integrated in a wheel portion of a wheel. A direct drive type wheel drive device (for example, see Patent Document 2) has been proposed.
[0006]
The method of independently driving each of these wheels utilizes the control response of an electric motor, which is said to be about 100 times faster than that of an internal combustion engine, to suppress wheel slip and to control active attitude during turning. For example, it is said that there is a possibility that a high dynamic performance that cannot be obtained with a vehicle using a current internal combustion engine may be obtained, and research and development are being carried out in part.
[0007]
Hereinafter, a passenger car will be described as an example. FIG. 10 is a diagram showing a relationship between the wheel rotation speed and the speed of a general 1500 cc class passenger car. As shown in FIG. 10, the rotation speed of the wheels is only 500 to 600 r / min at a maximum speed of 60 km / h (hours per hour) on a general road in Japan, and even at a maximum speed of 100 km / h (speeds) on a highway. Is less than 900 r / min.
[0008]
FIG. 11 is a diagram showing an example of an efficiency map (including a drive circuit) of a brushless motor for an electric vehicle having a maximum output of 46 kW (62 hp).
[0009]
As shown in FIG. 11, the efficiency of the motor is high when the number of revolutions of about 3000 to 5000 r / min is relatively high, and conversely, at the number of revolutions of 1000 r / min or less, further improvement in efficiency is desired. It is also desired to increase the output.
[0010]
For this reason, in a conventional electric vehicle using a motor or a wheel drive device shown in FIG. 12, the motor is driven by using a portion with high motor efficiency through a gear having a reduction ratio of about 5 times between the wheel and the motor. Designed to be.
[0011]
However, an in-wheel type wheel drive device in which a motor integrated with a gear having the reduced speed ratio is directly connected to a wheel is not only a motor but also a gear, so that the overall device tends to be heavier and larger. Increased unsprung weight of the wheel suspension mechanism, which is very important in determining the kinetic performance of a car, requires a new solution to the problem, and further increases efficiency because gear transmission loss occurs. Is desired.
[0012]
On the other hand, in the direct drive type wheel drive device shown in FIG. 13, the number of magnetic poles of the motor is increased, and the outer diameter of the motor is increased so that the efficiency and output are not greatly reduced even at low speed.
[0013]
However, in the above-described direct drive type wheel drive device, when a motor having a conventional structure is used, the copper loss generated in the coil portion of the motor is inevitably increased, and the outer diameter and the shaft of the motor are increased to compensate for the increased copper loss. Because it is necessary to increase the thickness in the direction, when constructing a wheel drive device with the same output, it is often much heavier than when the gears are integrated, and the amount of material used, such as permanent magnets, is reduced. They tend to be more expensive.
[0014]
[Patent Document 1]
JP-A-7-97552
[Patent Document 2]
JP-A-5-116546
[0015]
[Problems to be solved by the invention]
The present invention solves the problem of the conventional direct drive wheel drive device by changing the motor structure in a direct drive wheel drive device that does not use a speed reducer.
[0016]
Specifically, the motor structure described in the prior patent application (Japanese Patent Application No. 2001-240841) by the same applicant as the present invention is applied, and only the number of magnetic poles is increased without increasing the number of salient poles of the core. An object of the present invention is to provide a motor having excellent characteristics of efficiency and output characteristics at a rotational speed commonly used in wheel drive by enabling low-speed and large-torque drive, and to realize a small and lightweight wheel drive device.
[0017]
[Means for Solving the Problems]
In order to solve the above problems, a wheel drive device of a first invention according to the present application is a direct drive type wheel drive device that directly rotates a wheel by an electric motor directly connected to the wheel,
The motor unit of the wheel drive device includes a rotor having a magnet body in which multiple N-poles and S-poles are alternately magnetized in the rotation direction, and a magnetic circuit that is radially opposed to the magnet body and forms a magnetic circuit, and the coil is wound. A plurality of small teeth having substantially the same pitch as two magnets are provided in a portion of the salient pole facing the magnet body, The rotor is driven to rotate by energizing the coil according to the position of.
[0018]
Further, a wheel drive device of a second invention according to the present application is a direct drive type wheel drive device in which a wheel is directly rotated and driven by an electric motor directly connected to the wheel. A rotor having a magnet body in which N poles and S poles are alternately multipolarized, and a core provided with a plurality of salient poles around which a coil is wound while forming a magnetic circuit radially facing the magnet body. In the portion of the salient pole facing the magnet body, a plurality of small teeth having substantially the same pitch as two magnets are provided, and by energizing the coil according to the position of the rotor, The rotor is driven to rotate, and the magnetic poles of the magnet body have a multi-pole structure of 30 to 200 poles.
[0019]
Further, a wheel drive device of a third invention according to the present application is a direct drive type wheel drive device in which a wheel is directly rotated and driven by an electric motor directly connected to the wheel, wherein the motor unit of the wheel drive device is configured to rotate in a rotational direction. A rotor having a magnet body in which N poles and S poles are alternately multipolarized, and a core provided with a plurality of salient poles around which a coil is wound while forming a magnetic circuit radially facing the magnet body. In the portion of the salient pole facing the magnet body, a plurality of small teeth having substantially the same pitch as two magnets are provided, and by energizing the coil according to the position of the rotor, The rotor is driven to rotate, and the core has a ratio of outer diameter to axial height (outer diameter / axial height) of 4 or more and 15 or less.
[0020]
Further, according to the wheel drive device of the fourth invention according to the present application, in the above-described first to third inventions, the motor core is integrally formed of an insulating resin with a housing in which the hub bearing of the wheel is integrally fixed. Characterized by being fixed to
[0021]
In the wheel drive device according to a fifth aspect of the present invention, in the fifth aspect, a plurality of projections are formed on the housing, and the projections are fitted into gaps between adjacent salient poles and coils. The shape is characterized in that the core is prevented from rotating.
[0022]
Further, in the wheel drive device of the sixth invention according to the present application, in the above fourth to fifth inventions, the housing is made of a material having a thermal conductivity of 80 W / mK or more, and heat of the core and the coil is reduced. The heat is dissipated through the housing.
[0023]
In the wheel drive device according to a seventh aspect of the present invention, in the sixth aspect, the housing is made of an aluminum alloy.
The wheel drive device according to an eighth aspect of the present invention is characterized in that, in the sixth aspect, the housing is made of a magnesium alloy.
[0024]
A ninth aspect of the present invention is directed to a wheel drive device according to the sixth aspect, wherein the housing is made of a carbon fiber composite material.
[0025]
Further, in the wheel drive device of the tenth invention according to the present application, in the above-described sixth to ninth inventions, an air cooling portion for radiating heat to the outside air is formed in a part of the housing. Features.
[0026]
Further, in the wheel drive device of the eleventh invention according to the present application, in the above-mentioned sixth to tenth inventions, heat is dissipated by forming a liquid cooling part in a part of the housing. .
[0027]
A wheel drive device according to a twelfth aspect of the present invention is characterized in that, in the fourth to eleventh aspects, the housing forms a part of a wheel suspension mechanism.
[0028]
A thirteenth invention according to the present application is a transportation device provided with the wheel drive device according to the first to twelfth inventions.
[0029]
Further, a fourteenth invention according to the present application relates to a rotor having a magnet body in which N poles and S poles are alternately magnetized in a rotating direction, and a magnetic circuit which is radially opposed to the magnet body to constitute a magnetic circuit. And a core having a plurality of salient poles wound thereon, and a plurality of small teeth having substantially the same pitch as two magnets are provided in a portion of the salient pole facing the magnet body. A motor in which the rotor is driven to rotate by energizing a coil according to the position of the rotor,
The brushless motor is characterized in that the magnet body includes a plurality of arc-shaped permanent magnets having a smaller number of magnetic poles.
[0030]
A fifteenth invention according to the present application is the brushless motor according to the fourteenth invention, wherein the number of permanent magnets and the number of core salient poles are relatively prime. .
[0031]
By reviewing the structure of the motor in this way, it is possible to provide a small and light-weight wheel drive device having the same output and the same efficiency with a structure more suitable for low-speed and large-torque than a conventional brushless motor.
[0032]
BEST MODE FOR CARRYING OUT THE INVENTION
Hereinafter, embodiments of the present invention will be described with reference to the drawings.
[0033]
(Embodiment 1)
FIG. 1 is an explanatory diagram for explaining the magnetic circuit configuration of the motor unit of the wheel drive device of the present invention.
[0034]
In FIG. 1, a cylindrical
[0035]
As described above, the greatest feature of the wheel drive motor of the first embodiment is that the small teeth 6 are provided at the tip of the
[0036]
The characteristics of this motor section are as shown in the prior patent application (Japanese Patent Application No. 2001-240841) filed by the same applicant as the present invention, but the torque of the motor is greatly improved, and even a small motor is sufficient. Output can be secured, and sufficient output can be obtained even if it fits inside the wheel.
[0037]
FIG. 2 is an explanatory diagram showing a magnetic circuit configuration of a motor unit having a conventional structure for comparison.
[0038]
In FIG. 2, a cylindrical
[0039]
As shown in FIG. 2, when a motor having the same outer diameter is manufactured using a motor having a conventional structure, it is necessary to increase the number of salient poles of the
[0040]
On the other hand, in the motor of the present invention, even when the number of magnetic poles is increased, it is not necessary to increase the number of salient poles. By selecting a number of magnetic poles suitable for the number of rotations, a motor can be designed according to the number of rotations to be used. In addition, by selecting an appropriate number of slots, the dead space in the inner peripheral portion of the core can be reduced and more coils can be wound, so that the coil resistance is reduced and the motor efficiency is improved.
[0041]
Table 1 shows a comparison result when the characteristics of a conventional motor having the same size as the motor of the present invention are calculated by computer simulation.
[0042]
[Table 1]
[0043]
The size of the motor is calculated in the case where the outer diameter of the rotor is φ300 mm and the thickness of the magnetic circuit portion including the coil is 40 mm (the core thickness is 30 mm), which can be accommodated in the wheel of a general passenger car.
[0044]
As shown in Table 1, when compared under the same load condition (100 Nm, 500 r / min), the efficiency can be improved by 5.5% from 96.6% of the conventional type to 92.1%.
[0045]
Under the same rotation speed of 500 r / min, the conventional motor cannot output a torque of about 120 Nm or more due to magnetic saturation of the core. However, the motor of the present invention can output up to about 200 Nm. The efficiency at the time can be maintained as high as 88.4%.
[0046]
The loss of the motor generates heat, which is a factor limiting the output of the motor. However, the loss of the motor of the present invention is about 60% of that of the conventional motor, and more power is supplied as there is a margin for the amount of heat generated. This enables continuous use at a higher torque.
[0047]
In the case of this calculation example, when the loss is equal to that of the motor having the conventional structure, it is possible to output about 1.4 times the torque.
[0048]
Conversely, when a calculation is made for a motor having a conventional structure and a motor having the same efficiency as the motor of the present invention, it is necessary to double the thickness of the
[0049]
As described above, by applying the present motor structure to the wheel drive device, it is possible to secure sufficient output and efficiency even with a small motor, and to secure the interior space of the automobile by storing the motor in the wheels. And minimizes the adverse effects on motor performance and fuel efficiency by mounting the motor on the wheels.Higher performance and lower cost are achieved by reducing the material cost by downsizing the motor. A wheel drive can be provided.
[0050]
In the first embodiment, a case of a cylindrical permanent magnet is shown. However, as shown in FIG. 3A, a method of dividing the permanent magnet for each magnetic pole, or FIG. As shown, various methods are possible, such as dividing the magnet into several arc-shaped permanent magnets, combining the magnets, and then integrally magnetizing the magnets.
[0051]
As shown in FIG. 3A, in the case where the magnetic poles are divided for each magnetic pole, although the labor for assembling is increased, since one magnet can be made smaller, it can be mass-produced with a small mold and the magnet cost can be reduced. In addition, by providing a small gap between the magnets, interference between adjacent magnetic poles can be suppressed and the performance of the motor can be improved.
[0052]
In addition, as shown in FIG. 3B, when the magnet is divided into several arc-shaped permanent magnets and combined, the magnet cost and the assembly cost can be balanced, and the total cost of the two can be minimized. is there.
[0053]
On the other hand, when the magnet is divided into a number smaller than the number of magnetic poles, a cogging torque of the least common multiple component of the number of magnets and the number of core salient poles is generated. Is selected to be a prime number (in this case, the number of core salient poles is 15 for the number of magnets of 16), so that the generation of cogging torque due to the magnet division can be suppressed, and the cogging torque can be reduced.
[0054]
Further, in the first embodiment, the outer rotor type configuration in which the core is on the inner peripheral side and the rotor is on the outer peripheral side has been described. It is possible.
[0055]
The inner rotor type configuration is disadvantageous in terms of torque characteristics because the surface area of the magnet is smaller than the outer rotor type and the magnetic flux that can be extracted from the magnet is smaller, but the outer rotor type in which the rotor is exposed to the outside is In comparison, the inner rotor type has a configuration in which the rotor is housed on the inner peripheral side of the core, so that it is easy to adopt a configuration in which dust and water hardly enter the inside of the motor. Depending on the use environment, the inner rotor type may be better.
[0056]
(Embodiment 2)
The first embodiment has described the superiority of the motor structure, but the following embodiments will describe some points when the present motor structure is applied to a wheel drive device.
[0057]
FIG. 4 is a diagram showing the relationship between the number of magnetic poles and the motor efficiency of the present motor structure obtained by computer simulation. This simulation is a magnetic field analysis using the finite element method.
[0058]
In FIG. 4, for comparison, the number of salient poles, the outer diameter, the thickness, etc. of the core are the same as those of the motor described in the first embodiment, the number of small teeth at the tip of the salient pole is increased, and the number of magnetic poles is also adjusted accordingly. The motor efficiency (%) is determined by changing the value.
[0059]
The simulation values represented by the points in the graph of FIG. 4 are shown below. At 20 magnetic poles, the efficiency is 71.6 (%). At 50 magnetic poles, the efficiency is 89.5 (%). At 80 magnetic poles, the efficiency is 92.1 (%). At 110 magnetic poles, the efficiency is 92.3 (%). At 140 magnetic poles, the efficiency is 91.8 (%). At 170 magnetic poles, the efficiency is 91.0 (%). With 200 magnetic poles, the efficiency is 90.0 (%). At the number of magnetic poles of 230, the efficiency is 89.0 (%). At 260 magnetic poles, the efficiency is 88.0 (%). At a magnetic pole number of 290, the efficiency is 86.4 (%). These are appropriately selected from the range of conditions according to the specifications of the motor.
[0060]
As shown in FIG. 4, unless the number of magnetic poles is extremely large, the more poles, the higher the efficiency. This is because the copper loss of the coil (energy loss released as heat due to the electric resistance of the coil) is reduced by increasing the number of poles. At the same time, the iron loss generated in the core increases. This is because there is a minimum point.
[0061]
Therefore, when the present motor is applied to a wheel drive device for an electric vehicle, the number of magnetic poles should be set in the range of 50 to 200 poles in a region of about 500 r / min, which is commonly used in electric vehicles, when considered as a single motor. As a result, the efficiency becomes 90% or more, and the efficiency increases.
[0062]
However, the situation changes a little when considering the entire wheel drive device including the drive circuit.
[0063]
A motor driving circuit generally used at present is an inverter circuit using a PWM (Pulse Width Modulation) method. The PWM method is a method of controlling a load current by outputting a voltage pulse having a constant frequency called a carrier frequency and changing the width of the pulse. In this method, a current having a frequency higher than the carrier frequency is output. I can't. Actually, to output a current while controlling the current waveform, a carrier frequency about 20 times the minimum current waveform is required.
[0064]
Considering that the carrier frequency of an inverter circuit generally used as a motor drive circuit is approximately 5 kHz to 50 kHz, and the rotational speed of the wheel is approximately 1000 r / min at the maximum, the inverter circuit when the motor is at the maximum rotational speed is considered. A highly efficient wheel drive device can be provided by controlling the current waveform and using a multi-pole structure having 30 to 200 poles with high motor efficiency, that is, 30 to 200 poles. In particular, in the range of about 50 to 200 poles, the efficiency is 90% or more, and the effect is good. Further, in the range of approximately 60 to 170 poles, the efficiency is 91% or more, and a better effect is obtained. Further, in the range of about 80 poles to 130 poles, the efficiency is 92% or more, and the effect is particularly remarkable. These are appropriately selected from the range of conditions according to the specifications of the motor.
[0065]
(Embodiment 3)
FIG. 5 shows the motor efficiency when the ratio of the outer diameter of the core to the height in the axial direction (outer diameter / height in the axial direction) is changed while keeping the volume, the number of magnetic poles, and the number of slots of the magnetic circuit portion of the present motor structure constant. It is a figure showing a relation.
[0066]
The simulation values represented by the points in the graph of FIG. 5 are shown below. When the ratio of the outer diameter of the core to the height in the axial direction (outer diameter / height in the axial direction) is 0.93, the motor efficiency (%) is 70.0%. When the ratio between the outer diameter of the core and the height in the axial direction (outer diameter / height in the axial direction) is 1.66, the motor efficiency (%) is 84.8%. When the ratio between the outer diameter of the core and the height in the axial direction (outer diameter / height in the axial direction) is 2.74, the motor efficiency (%) is 89.1%. When the ratio of the outer diameter of the core to the axial height (outer diameter / axial height) is 4.27, the motor efficiency (%) is 90.9%. When the ratio of the outer diameter of the core to the axial height (outer diameter / axial height) is 6.40, the motor efficiency (%) is 91.7%. When the ratio between the outer diameter of the core and the height in the axial direction (outer diameter / height in the axial direction) is 9.33, the motor efficiency (%) is 92.1%. When the ratio of the outer diameter of the core to the height in the axial direction (outer diameter / height in the axial direction) is 13.4, the motor efficiency (%) is 92.2%. When the ratio of the outer diameter of the core and the height in the axial direction (outer diameter / height in the axial direction) is 18.9, the motor efficiency (%) is 92.1%. When the ratio of the outer diameter of the core to the axial height (outer diameter / axial height) is 26.6, the motor efficiency (%) is 91.1%. These are appropriately selected from the range of the conditions.
[0067]
When the ratio between the outer diameter of the core and the height in the axial direction (outer diameter / height in the axial direction) is in the range of about 4 or more, the efficiency is good at 90 (%) or more. When the ratio between the outer diameter of the core and the height in the axial direction (outer diameter / height in the axial direction) is in the range of about 5 to 27, the efficiency is more excellent at 91 (%) or more. When the ratio of the outer diameter of the core to the height in the axial direction (outer diameter / height in the axial direction) is in the range of about 8 to 18, the efficiency is particularly good at 92 (%) or more. These are appropriately selected from the range of conditions according to the specifications of the motor.
[0068]
As shown in FIG. 5, when a motor having the same volume is used, the efficiency sharply increases when the ratio of the core outer diameter to the axial height (outer diameter / axial height) is around 4, and the efficiency increases from 10 to 10%. In the case of about 15, the efficiency becomes maximum.
[0069]
Therefore, when the outer diameter of the core / height in the axial direction is about 10 to 15, the most efficient motor can be designed with the same volume.
[0070]
However, if the outer diameter / height in the axial direction is too large, the motor cannot be accommodated in the wheel, and a space for installing the motor or a power transmission mechanism such as a drive shaft is required. If the height ratio is set to an appropriate ratio in the range of about 4 to 15, the motor can be completely housed in the wheel and a highly efficient wheel drive device can be provided.
[0071]
(Embodiment 4)
FIG. 6 is a structural diagram of the wheel drive device according to the fourth embodiment. In FIG. 6, the
[0072]
FIG. 7 is a perspective view of the
[0073]
When assembling the
[0074]
By sharing the hub bearing 7 of the wheel and the motor bearing in this way, the size of the device can be reduced, and the rigidity of the device can be easily secured by directly fixing the
[0075]
Specifically, when the motor is driven, a very large torque is applied to the
[0076]
The
[0077]
Further, as shown in FIG. 6, when the heat dissipating fins 11 (air cooling portions) are integrally formed on the side of the
[0078]
At this time, in order to diffuse the heat of the
[0079]
In particular, an aluminum alloy is a material having a good balance of thermal conductivity, strength / specific gravity, cost, and the like, and can provide a wheel drive device having both performance and cost.
[0080]
Magnesium alloy is a material that is slightly inferior to aluminum alloy in terms of thermal conductivity, cost, etc., but is excellent in strength / specific gravity. Even with the same performance, a lighter wheel drive can be provided.
[0081]
In addition, some carbon fiber composite materials have materials exhibiting higher thermal conductivity and strength / specific gravity than the above-mentioned metal materials, and the use of these materials emphasizes performance improvement over cost. (For example, a racing car, a device outside the atmosphere, etc.), it is possible to provide an extremely lightweight and high-performance wheel drive device.
[0082]
(Embodiment 5)
FIG. 8 shows a wheel drive device according to the fifth embodiment. In FIG. 8, the configuration of the wheel drive device is substantially the same as that of the fourth embodiment. However, a water jacket 19 (liquid cooling part) is provided at the portion where the heat radiation fins are formed on the
[0083]
By forcibly cooling the motor by flowing the cooling liquid in this manner, the motor can be stably cooled regardless of the speed of the automobile and the outside air temperature.
[0084]
Also, regardless of the size of the motor, by dissipating heat using a large-capacity radiator provided in another part, sufficient cooling performance can be obtained, and a larger current can be supplied to the
[0085]
(Embodiment 6)
Although the first to fifth embodiments have described the wheel driving device itself, a method for reducing the size and weight as a whole by sharing the wheel driving device with the wheel suspension device will be described below.
[0086]
FIG. 9 shows a configuration of a wheel drive device according to the sixth embodiment. In FIG. 9, a link portion is provided in a
[0087]
The opposite side of the
[0088]
With this configuration, the
[0089]
Although the first to sixth embodiments have been described with respect to electric vehicles, it is needless to say that the present invention is applicable to all wheel-driven transport devices such as trains, electric motorcycles, and electric assist bicycles. By adopting the wheel drive device for the wheels of the equipment, a high-performance, low-cost transportation equipment can be provided.
[0090]
【The invention's effect】
ADVANTAGE OF THE INVENTION According to the invention which concerns on this application, it provides the motor of the characteristic which is excellent in the efficiency and the output characteristic at the rotational speed normally used for wheel drive, and has the advantageous effect that the same output, the small and lightweight wheel drive device can be provided even with the efficiency. can get.
[0091]
In addition, by adopting a wheel drive device using the above-described motor for the wheels of these transport equipment, a high-performance, low-cost transport equipment can be provided.
[Brief description of the drawings]
FIG. 1 is an explanatory diagram showing a magnetic circuit configuration of a motor unit of a wheel driving device according to a first embodiment of the present invention.
FIG. 2 is an explanatory diagram showing a magnetic circuit configuration of a brushless motor as an example of a conventional example.
FIG. 3A shows a configuration of a magnet body according to the first embodiment of the present invention.
(B) A diagram showing a configuration of another example of the magnet body according to the first embodiment of the present invention.
FIG. 4 is a diagram showing a relationship between the number of magnetic poles and motor efficiency according to a second embodiment of the present invention.
FIG. 5 is a diagram showing a relationship between core outer diameter / axial height and motor efficiency according to a third embodiment of the present invention.
FIG. 6 is a structural diagram of a wheel drive device according to a fourth embodiment of the present invention.
FIG. 7 is a perspective view of a housing according to a fourth embodiment of the present invention.
FIG. 8 is a structural diagram of a wheel drive device according to a fifth embodiment of the present invention.
FIG. 9 is a structural diagram of a wheel drive device according to a sixth embodiment of the present invention.
FIG. 10 is a diagram showing a relationship between a wheel rotation speed and a speed of a general passenger car.
FIG. 11 is a diagram showing an efficiency map of a brushless motor for an electric vehicle having a rated output of 46 kW.
FIG. 12 is a structural diagram of an example of a conventional wheel drive device.
FIG. 13 is a structural diagram of an example of a direct drive type wheel drive device of a conventional example.
[Explanation of symbols]
1 permanent magnet (magnet body)
2 Back yoke
3 core
4 coils
5 salient poles
6 small teeth
7 Hub bearing
8 Housing
9 Projection
10 Resin
11 Heat radiation fins (air cooling unit)
12 hub flange
13 Rotor frame
14 Wheel rim
15 Wheel nut
16 tires
17 Encoder section
18 Electrical wiring
19 Water jacket (liquid cooling part)
20 Coolant
21 Link parts
22 Suspension arm
23 Damper
24 coil spring
Claims (13)
前記車輪駆動装置のモータ部は、回転方向にN極、S極を交互に多極着磁したマグネット体を有するロータと、前記マグネット体とラジアル方向に対向し磁気回路を構成しコイルが巻回された複数の突極を設けたコアとを有し、前記突極の前記マグネット体と対向する部分には、マグネット2極分と略同一ピッチの小歯が複数個設けられており、前記ロータの位置に応じてコイルに通電することにより、前記ロータが回転駆動されることを特徴とする車輪駆動装置。In a direct drive type wheel drive device that directly rotates and drives a wheel by an electric motor directly connected to the wheel,
The motor unit of the wheel drive device includes a rotor having a magnet body in which multiple N-poles and S-poles are alternately magnetized in the rotation direction, and a magnetic circuit that is radially opposed to the magnet body and forms a magnetic circuit, and the coil is wound. A plurality of small teeth having substantially the same pitch as two magnets are provided in a portion of the salient pole facing the magnet body, A wheel drive device characterized in that the rotor is driven to rotate by energizing the coil according to the position of the wheel.
前記車輪駆動装置のモータ部は、回転方向にN極、S極を交互に多極着磁したマグネット体を有するロータと、前記マグネット体とラジアル方向に対向し磁気回路を構成しコイルが巻回された複数の突極を設けたコアとを有し、前記突極の前記マグネット体と対向する部分には、マグネット2極分と略同一ピッチの小歯が複数個設けられており、前記ロータの位置に応じてコイルに通電することにより、前記ロータが回転駆動され、前記マグネット体の磁極は30〜200極の多極構造であることを特徴とする車輪駆動装置。In a direct drive type wheel drive device that directly rotates and drives a wheel by an electric motor directly connected to the wheel,
The motor unit of the wheel drive device includes a rotor having a magnet body in which multiple N-poles and S-poles are alternately magnetized in the rotation direction, and a magnetic circuit that is radially opposed to the magnet body and forms a magnetic circuit, and the coil is wound. A plurality of small teeth having substantially the same pitch as two magnets are provided in a portion of the salient pole facing the magnet body, The wheel driving device is characterized in that the rotor is driven to rotate by energizing the coil according to the position of the wheel, and the magnetic body of the magnet body has a multi-pole structure of 30 to 200 poles.
前記車輪駆動装置のモータ部は、回転方向にN極、S極を交互に多極着磁したマグネット体を有するロータと、前記マグネット体とラジアル方向に対向し磁気回路を構成しコイルが巻回された複数の突極を設けたコアとを有し、前記突極の前記マグネット体と対向する部分には、マグネット2極分と略同一ピッチの小歯が複数個設けられており、前記ロータの位置に応じてコイルに通電することにより、前記ロータが回転駆動され、前記コアは、外径と軸方向高さの比率(外径/軸方向高さ)が4以上15以下であることを特徴とする車輪駆動装置。In a direct drive type wheel drive device that directly rotates and drives a wheel by an electric motor directly connected to the wheel,
The motor unit of the wheel drive device includes a rotor having a magnet body in which multiple N-poles and S-poles are alternately magnetized in the rotation direction, and a magnetic circuit that is radially opposed to the magnet body and forms a magnetic circuit, and the coil is wound. A plurality of small teeth having substantially the same pitch as two magnets are provided in a portion of the salient pole facing the magnet body, By energizing the coil according to the position of the rotor, the rotor is driven to rotate, and the core has a ratio of outer diameter to axial height (outer diameter / axial height) of 4 or more and 15 or less. Characterized wheel drive.
前記マグネット体は、磁極数より少ない複数の円弧状永久磁石からなることを特徴とするブラシレスモータ。A rotor having a magnet body in which multiple N-poles and S-poles are alternately magnetized in the rotation direction, and a plurality of salient poles around which a coil is wound while forming a magnetic circuit radially facing the magnet body are provided. A plurality of small teeth having substantially the same pitch as two magnets are provided at a portion of the salient pole facing the magnet body, and a coil is energized according to the position of the rotor. Thereby, the rotor is driven to rotate,
The brushless motor according to claim 1, wherein the magnet body includes a plurality of arc-shaped permanent magnets having a smaller number of magnetic poles.
Priority Applications (1)
| Application Number | Priority Date | Filing Date | Title |
|---|---|---|---|
| JP2003059944A JP2004274838A (en) | 2003-03-06 | 2003-03-06 | Wheel drive |
Applications Claiming Priority (1)
| Application Number | Priority Date | Filing Date | Title |
|---|---|---|---|
| JP2003059944A JP2004274838A (en) | 2003-03-06 | 2003-03-06 | Wheel drive |
Publications (1)
| Publication Number | Publication Date |
|---|---|
| JP2004274838A true JP2004274838A (en) | 2004-09-30 |
Family
ID=33122630
Family Applications (1)
| Application Number | Title | Priority Date | Filing Date |
|---|---|---|---|
| JP2003059944A Pending JP2004274838A (en) | 2003-03-06 | 2003-03-06 | Wheel drive |
Country Status (1)
| Country | Link |
|---|---|
| JP (1) | JP2004274838A (en) |
Cited By (20)
| Publication number | Priority date | Publication date | Assignee | Title |
|---|---|---|---|---|
| FR2881290A1 (en) * | 2004-12-27 | 2006-07-28 | Denso Corp | ELECTRIC WHEEL |
| JP2006246678A (en) * | 2005-03-07 | 2006-09-14 | Toyota Motor Corp | Outer rotor type wheel-in motor, electric vehicle and hybrid vehicle |
| JP2007153266A (en) * | 2005-12-08 | 2007-06-21 | Mitsubishi Motors Corp | In-wheel motor |
| WO2008093773A1 (en) * | 2007-01-31 | 2008-08-07 | A-Wing International Co., Ltd. | Generator and coil |
| JP2008184141A (en) * | 2007-01-31 | 2008-08-14 | Toyota Motor Corp | In-wheel motor |
| JP2008187872A (en) * | 2007-01-31 | 2008-08-14 | A−Wingインターナショナル株式会社 | Generator |
| GB2459061A (en) * | 2006-07-13 | 2009-10-14 | Qed Group Ltd | Electric wheel motor |
| JP2009278751A (en) * | 2008-05-14 | 2009-11-26 | Kokusan Denki Co Ltd | Starter generator |
| WO2010122341A3 (en) * | 2009-04-23 | 2011-01-20 | Stuart Jeremy Peter Wilkie | An electronically powered wheel for vehicles |
| KR101029690B1 (en) | 2009-09-21 | 2011-04-15 | 현대위아 주식회사 | In-wheel drive |
| EP2367270A2 (en) | 2010-03-15 | 2011-09-21 | JTEKT Corporation | Electric rotary actuator |
| JP2012523817A (en) * | 2009-04-14 | 2012-10-04 | アイシス イノベイシヨン リミテツド | Evaporative cooling electric machine |
| JP2013048551A (en) * | 2006-07-13 | 2013-03-07 | Protean Electric Ltd | Electric motor |
| JP2013119295A (en) * | 2011-12-07 | 2013-06-17 | Jfe Steel Corp | Method of analyzing performance of motor for hybrid vehicle |
| US9071117B2 (en) | 2009-02-13 | 2015-06-30 | Isis Innovation Ltd. | Electric machine—flux |
| US9318938B2 (en) | 2009-02-13 | 2016-04-19 | Isis Innovation Ltd. | Electric machine-modular |
| US9496776B2 (en) | 2009-02-13 | 2016-11-15 | Oxford University Innovation Limited | Cooled electric machine |
| JP2017106405A (en) * | 2015-12-11 | 2017-06-15 | 本田技研工業株式会社 | Structural member for moving body |
| WO2021176791A1 (en) * | 2020-03-05 | 2021-09-10 | 本田技研工業株式会社 | In-wheel motor structure |
| US11837935B2 (en) | 2021-02-02 | 2023-12-05 | Black & Decker, Inc. | Canned brushless motor |
Citations (8)
| Publication number | Priority date | Publication date | Assignee | Title |
|---|---|---|---|---|
| JPS4970404U (en) * | 1972-10-03 | 1974-06-19 | ||
| JPH07245925A (en) * | 1994-03-01 | 1995-09-19 | Matsushita Electric Ind Co Ltd | Brushless motor |
| JPH0865946A (en) * | 1994-08-18 | 1996-03-08 | Hitachi Ltd | Rotating electric machine |
| JP2001054209A (en) * | 1999-06-15 | 2001-02-23 | Mannesmann Sachs Ag | Drive system and method for operation of drive system |
| JP2002233122A (en) * | 2001-02-05 | 2002-08-16 | Matsushita Electric Ind Co Ltd | Outer rotor motor, method of manufacturing outer rotor motor, and electric vehicle incorporating outer rotor motor |
| WO2002083446A1 (en) * | 2001-04-16 | 2002-10-24 | Kabushiki Kaisha Bridgestone | Fixing method of in-wheel motor and in-wheel motor system |
| JP2002345199A (en) * | 2001-05-11 | 2002-11-29 | Royal Electric Co Ltd | Axial flow fan |
| JP2003061326A (en) * | 2001-08-08 | 2003-02-28 | Matsushita Electric Ind Co Ltd | Vernier-type brushless motor |
-
2003
- 2003-03-06 JP JP2003059944A patent/JP2004274838A/en active Pending
Patent Citations (8)
| Publication number | Priority date | Publication date | Assignee | Title |
|---|---|---|---|---|
| JPS4970404U (en) * | 1972-10-03 | 1974-06-19 | ||
| JPH07245925A (en) * | 1994-03-01 | 1995-09-19 | Matsushita Electric Ind Co Ltd | Brushless motor |
| JPH0865946A (en) * | 1994-08-18 | 1996-03-08 | Hitachi Ltd | Rotating electric machine |
| JP2001054209A (en) * | 1999-06-15 | 2001-02-23 | Mannesmann Sachs Ag | Drive system and method for operation of drive system |
| JP2002233122A (en) * | 2001-02-05 | 2002-08-16 | Matsushita Electric Ind Co Ltd | Outer rotor motor, method of manufacturing outer rotor motor, and electric vehicle incorporating outer rotor motor |
| WO2002083446A1 (en) * | 2001-04-16 | 2002-10-24 | Kabushiki Kaisha Bridgestone | Fixing method of in-wheel motor and in-wheel motor system |
| JP2002345199A (en) * | 2001-05-11 | 2002-11-29 | Royal Electric Co Ltd | Axial flow fan |
| JP2003061326A (en) * | 2001-08-08 | 2003-02-28 | Matsushita Electric Ind Co Ltd | Vernier-type brushless motor |
Cited By (34)
| Publication number | Priority date | Publication date | Assignee | Title |
|---|---|---|---|---|
| FR2881290A1 (en) * | 2004-12-27 | 2006-07-28 | Denso Corp | ELECTRIC WHEEL |
| JP2006246678A (en) * | 2005-03-07 | 2006-09-14 | Toyota Motor Corp | Outer rotor type wheel-in motor, electric vehicle and hybrid vehicle |
| JP2007153266A (en) * | 2005-12-08 | 2007-06-21 | Mitsubishi Motors Corp | In-wheel motor |
| EP2658096A3 (en) * | 2006-07-13 | 2018-02-14 | Protean Electric Limited | Electric motors |
| US8688346B2 (en) | 2006-07-13 | 2014-04-01 | Protean Electric Limited | Electric motors |
| JP2013048551A (en) * | 2006-07-13 | 2013-03-07 | Protean Electric Ltd | Electric motor |
| GB2459061A (en) * | 2006-07-13 | 2009-10-14 | Qed Group Ltd | Electric wheel motor |
| US8688345B2 (en) | 2006-07-13 | 2014-04-01 | Protean Electric Limited | Electric motors |
| GB2459061B (en) * | 2006-07-13 | 2010-07-28 | Qed Group Ltd | Electric motors |
| WO2008093773A1 (en) * | 2007-01-31 | 2008-08-07 | A-Wing International Co., Ltd. | Generator and coil |
| JP2008187872A (en) * | 2007-01-31 | 2008-08-14 | A−Wingインターナショナル株式会社 | Generator |
| JP2008184141A (en) * | 2007-01-31 | 2008-08-14 | Toyota Motor Corp | In-wheel motor |
| JP2009278751A (en) * | 2008-05-14 | 2009-11-26 | Kokusan Denki Co Ltd | Starter generator |
| US9496776B2 (en) | 2009-02-13 | 2016-11-15 | Oxford University Innovation Limited | Cooled electric machine |
| US9071117B2 (en) | 2009-02-13 | 2015-06-30 | Isis Innovation Ltd. | Electric machine—flux |
| US9318938B2 (en) | 2009-02-13 | 2016-04-19 | Isis Innovation Ltd. | Electric machine-modular |
| JP2012523817A (en) * | 2009-04-14 | 2012-10-04 | アイシス イノベイシヨン リミテツド | Evaporative cooling electric machine |
| US9054566B2 (en) | 2009-04-14 | 2015-06-09 | Isis Innovation Ltd | Electric machine—evaporative cooling |
| WO2010122341A3 (en) * | 2009-04-23 | 2011-01-20 | Stuart Jeremy Peter Wilkie | An electronically powered wheel for vehicles |
| KR101029690B1 (en) | 2009-09-21 | 2011-04-15 | 현대위아 주식회사 | In-wheel drive |
| EP2367270A2 (en) | 2010-03-15 | 2011-09-21 | JTEKT Corporation | Electric rotary actuator |
| US8598755B2 (en) | 2010-03-15 | 2013-12-03 | Jtekt Corporation | Electric rotary actuator |
| JP2011193618A (en) * | 2010-03-15 | 2011-09-29 | Jtekt Corp | Electric rotary actuator |
| JP2013119295A (en) * | 2011-12-07 | 2013-06-17 | Jfe Steel Corp | Method of analyzing performance of motor for hybrid vehicle |
| JP2017106405A (en) * | 2015-12-11 | 2017-06-15 | 本田技研工業株式会社 | Structural member for moving body |
| JP7383117B2 (en) | 2020-03-05 | 2023-11-17 | 本田技研工業株式会社 | In-wheel motor structure |
| JPWO2021176791A1 (en) * | 2020-03-05 | 2021-09-10 | ||
| WO2021176791A1 (en) * | 2020-03-05 | 2021-09-10 | 本田技研工業株式会社 | In-wheel motor structure |
| US11837935B2 (en) | 2021-02-02 | 2023-12-05 | Black & Decker, Inc. | Canned brushless motor |
| US11855521B2 (en) | 2021-02-02 | 2023-12-26 | Black & Decker, Inc. | Brushless DC motor for a body-grip power tool |
| US11870316B2 (en) | 2021-02-02 | 2024-01-09 | Black & Decker, Inc. | Brushless motor including a nested bearing bridge |
| US11876424B2 (en) | 2021-02-02 | 2024-01-16 | Black & Decker Inc. | Compact brushless motor including in-line terminals |
| US11955863B2 (en) | 2021-02-02 | 2024-04-09 | Black & Decker Inc. | Circuit board assembly for compact brushless motor |
| US12261497B2 (en) | 2021-02-02 | 2025-03-25 | Black & Decker Inc. | High-power motor for a body-grip power tool |
Similar Documents
| Publication | Publication Date | Title |
|---|---|---|
| JP2004274838A (en) | Wheel drive | |
| JP4728639B2 (en) | Electric wheel | |
| US7122923B2 (en) | Compact high power alternator | |
| CN108270301B (en) | A stator structure with a winding end cooling structure and its motor | |
| US20040212259A1 (en) | Wheel motor | |
| US11299031B2 (en) | Wheel hub motor for electric vehicle | |
| CN101789667A (en) | Outer-rotor composite permanent-magnetic brushless in-wheel motor of electric vehicle | |
| EP3173282B1 (en) | Method of operating an electrically propelled vehicle | |
| CN102089960A (en) | Device for generating power | |
| WO2008059852A1 (en) | Rotor cooling structure and rotor manufacturing method | |
| JP2008289244A (en) | Cooling structure of rotating electric machine | |
| JP3569148B2 (en) | Rotating electric machine and electric vehicle using the same | |
| CN110771012B (en) | Stator of rotating electrical machine and rotating electrical machine | |
| JP2019515616A (en) | Stator for rotary electric machine, and rotary electric machine | |
| JP2009118712A (en) | Rotating electric machine | |
| KR20230081804A (en) | In-Wheel Motor Assembly Having Rotor Bracket Having Cooling Aid Protrusion | |
| WO2019003559A1 (en) | Stator of dynamo-electrical machine, dynamo-electrical machine, and method for manufacturing stator of dynamo-electrical machine | |
| JP2017186006A (en) | Motor and electric vehicle | |
| WO2008096897A1 (en) | Rotor and method of producing the same | |
| JP2008312324A (en) | Stator cooling structure | |
| JPH0746620Y2 (en) | Electric motorcycle using a direct drive type wheel motor | |
| JP2000092800A (en) | Ac generator for vehicle | |
| CN107465322B (en) | Grid-shaped rotor motor of range extender of electric automobile | |
| JPH0116386Y2 (en) | ||
| JP4843579B2 (en) | Electric racing cart |
Legal Events
| Date | Code | Title | Description |
|---|---|---|---|
| A977 | Report on retrieval |
Free format text: JAPANESE INTERMEDIATE CODE: A971007 Effective date: 20050516 |
|
| A131 | Notification of reasons for refusal |
Free format text: JAPANESE INTERMEDIATE CODE: A131 Effective date: 20050524 |
|
| RD01 | Notification of change of attorney |
Free format text: JAPANESE INTERMEDIATE CODE: A7421 Effective date: 20050708 |
|
| A02 | Decision of refusal |
Free format text: JAPANESE INTERMEDIATE CODE: A02 Effective date: 20051101 |
