JP2004177927A - Adhesive sheet with peel detection display function - Google Patents
Adhesive sheet with peel detection display function Download PDFInfo
- Publication number
- JP2004177927A JP2004177927A JP2003154597A JP2003154597A JP2004177927A JP 2004177927 A JP2004177927 A JP 2004177927A JP 2003154597 A JP2003154597 A JP 2003154597A JP 2003154597 A JP2003154597 A JP 2003154597A JP 2004177927 A JP2004177927 A JP 2004177927A
- Authority
- JP
- Japan
- Prior art keywords
- layer
- pressure
- sensitive adhesive
- adhesive layer
- adhesive sheet
- Prior art date
- Legal status (The legal status is an assumption and is not a legal conclusion. Google has not performed a legal analysis and makes no representation as to the accuracy of the status listed.)
- Pending
Links
Images
Landscapes
- Adhesives Or Adhesive Processes (AREA)
- Adhesive Tapes (AREA)
Abstract
【課題】剥がされたことをより明確に表示できるとともに、より確実に被貼着物件側に物質痕跡が残留しない、剥がし検知表示機能付き粘着シートを提供する。
【解決手段】基材層と粘着層を有する粘着シートであって、前記基材層が支持体および該支持体の一部に剥離層を有し、かつ前記粘着層が前記支持体の剥離層形成側の基材層上に積層されており、該粘着層の90°剥離伸び変形が2.5%以上である剥がし検知表示機能付き粘着シートを用いることにより、剥がされたことをより明確に表示できるとともに、より確実に被貼着物件側に物質痕跡が残留しない機能が兼ね備えられる。
【選択図】 なしA pressure-sensitive adhesive sheet with a peel-off detection display function, which can more clearly indicate that a material has been peeled off and does not leave a trace of a substance on the side of an object to be adhered more reliably.
An adhesive sheet having a substrate layer and an adhesive layer, wherein the substrate layer has a support and a release layer on a part of the support, and the adhesive layer is a release layer of the support By using a pressure-sensitive adhesive sheet with a peel detection display function, which is laminated on the base layer on the formation side and the 90 ° peel elongation deformation of the pressure-sensitive adhesive layer is 2.5% or more, it is possible to more clearly display that the pressure-sensitive adhesive layer has been peeled. At the same time, a function of ensuring that no substance trace remains on the adhered article side is provided.
[Selection diagram] None
Description
【0001】
【発明の属する技術分野】
この発明は、不正行為等を検知する目的で、剥がされた証を視認できる剥がし検知表示機能を有する粘着シートに関する。
【0002】
【従来の技術】
被貼着物件上に粘着剤等の物質痕跡が残留しないタイプの剥がし防止用粘着シートが知られている(例えば、特許文献1参照)。
【0003】
被貼着物件上に粘着剤等の物質痕跡が残留しないタイプの剥がし防止用粘着シートは、透明又は半透明のフィルム状材料を基材(1)とし、
色彩および透明度が前記基材に一致し、かつ、前記基材との間に粘着性を具える材料の裏側に剥がれ表示を印刷したマーキング層(2)と、
色彩が前記基材及びマーキング層と異なるインクで前記マーキング層上と基材の前記マーキング層なき部分とを覆う固着色彩層(3)と、
前記固着色彩層上に塗布して、前記固着色彩層を粘着剤の塗布に適用しうるようにした非剥離層(4)と、
粘着剤を非剥離層上に塗布して形成し、前記剥がし防止用粘着シートを被シール物件上に貼着可能にした粘着層(5)とを含み、
{(1)に対する(3)の粘着力}>{(3)に対する(5)の粘着力}>{(2)に対する(3)の粘着力}の関係とすることで、物質痕跡が残留しない剥がし防止用粘着シートを作成している。
このとき、非剥離層(4)は、(3)に対する(5)の粘着力をより強い粘着力で一体化させるために使用されている。
【特許文献1】
実用新案登録第3068860号公報(第1請求項)
【0004】
【発明が解決しようとする課題】
しかしながら、前記剥がし防止用粘着シートの{(1)に対する(3)の粘着力}>{(3)に対する(5)の粘着力}>{(2)に対する(3)の粘着力}の関係は、剥がしたときに被貼着物件側に残る部分によって表示を形成するタイプの剥がし検知機能付き粘着シートにおいても成立することから、確実に被貼着物件側に物質痕跡が残留しない条件としては十分なものではなく、さらには、シール物件上に粘着剤が残留しない粘着剤を使用した場合には、剥がされたことが表示出来ないという恐れがあった。
【0005】
本発明は、上記の事情に基づきなされたもので、その目的とするところは、剥がされたことをより明確に表示できるとともに、より確実に被貼着物件側に物質痕跡が残留しない、剥がし検知表示機能付き粘着シートを提供することにある。
【0006】
【課題を解決するための手段】
発明者らは、剥がし検知表示機能付き粘着シートが被貼着物件から剥がされるときに、粘着層2が剥がし力により伸びることにより、粘着層2上の着色層6又は剥離層5を引っ張り、この力を受けて、着色層6と剥離層5との間、又は基材層支持体4と剥離層5との間で剥離が起こることにより剥離表示10が得られ、剥がしによる粘着層2の変形量が大きいほど、より明確に剥離表示10が得られることを見いだした。
【0007】
また、前記粘着層2が剥がし力により引き伸ばされる力は、該粘着層2を破断させようとする力としても働くことから、該粘着層2の剥がし力により破断に至らない強さを兼ね備えた場合に、より確実に被貼着物件側に物質痕跡が残留しないことを見いだした。
【0008】
発明者らは、鋭意検討の結果、下記のような粘着シートを用いることにより、剥がされたことをより明確に表示できるとともに、より確実に被貼着物件側に物質痕跡が残留しない機能が兼ね備えられることを見いだし、本発明に至った。
【0009】
すなわち本発明は、基材層1と粘着層2を有する粘着シートであって、前記基材層1が、基材層支持体4及び前記基材層支持体4の一部に剥離層5を有し、かつ前記粘着層2が、前記基材層1の前記基材層支持体4の前記剥離層5形成側に積層されており、更に、前記粘着層2の90°剥離伸び変形が2.5%以上であることを特徴とする剥がし検知表示機能付き粘着シートを提供する。
【0010】
(粘着層2)
本発明において、粘着層2とは、物品に貼着するための粘着剤層9を必須の構成とする。粘着層2の構成としては、(1)粘着剤層9のみ、(2)粘着剤層9と粘着剤支持体8、(3)粘着剤層9と接着層7、及び(3)粘着剤層9と粘着剤支持体8と接着層7の構成を挙げることができる。
【0011】
(90°剥離伸び変形の定義)
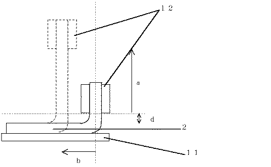
尚、本発明において、90°剥離伸び変形とは、図5に示したように23℃雰囲気下における20mm幅の粘着層2をJIS-Z0237(2000)の90度試験板に対する90度引きはがし粘着力の測定にしたがい、つかみ間隔がdmmの位置から試料を被着体11と90°方向に保ったまま300mm/分の速度でamm引き上げたときの剥離長さをbとし、次式で与えられる値と定義する。
90°剥離伸び変形(%)=(a-b)÷(b+d)×100
また、本発明では、d=0mm、a=20mm、剥離距離の測定は0.5mm単位とした。
【0012】
(90°剥離伸び変形の必要性の説明)
発明者らは、剥がし力による粘着層2の変形量、及び、剥がし力による粘着層2の破断現象の有無をより直接的に観測できる方法につき鋭意研究の結果、上記90°剥離伸び変形を考案した。さらに、該90°剥離伸び変形が特定の範囲を有する粘着シートにおいて、剥がされたことをより明確に表示できるとともに、より確実に被貼着物件側に物質痕跡が残留しない機能が兼ね備えられることを見いだし、本発明に至った。
【0013】
すなわち、本発明に用いる粘着層2の90°剥離伸び変形は2.5%以上である。90°剥離伸び変形が2.5%未満である粘着シートでは、剥がし検知の表示がされない等の不具合を生じる。また、粘着層2の破断により90°伸び変形が測定できない粘着シートでは、粘着層2の一部が被貼着物件に残留する等の不具合を生じる。
【0014】
【発明の実施の形態】
本発明の剥がし検知表示機能付き粘着シート(以下、本発明の粘着シートという)の基本的な構造を図1に示す。図1の粘着シートは、一旦、物品に貼り付けた後、剥がしたときに剥離表示10を形成する剥離層5が裏面側に形成された柔軟な透明又は半透明のフィルム状の基材層支持体4と、前記剥離層5上を含んで基材層支持体4の裏面側全体若しくは一部を覆うように積層された粘着層2を有する積層構造となっている。
【0015】
本発明の粘着シートの基本的な構造は図1であるが、より好ましい実施形態を図2に示す。図2の粘着シートは、剥離時に粘着剤等の残留の無い、剥離表示機能付き粘着シートの例である。図2の粘着シートにおける基材層1は、基材層支持体4と粘着層2の間に、基材層支持体4の片面の一部に形成された剥離層5を覆うように基材層支持体4の全面若しくは一部に着色層6が積層された構造をしている。更に、粘着層2は、粘着剤層9と粘着層支持体8と接着層7の3層構造となっており、接着層7が着色層6と積層されることにより基材層1と一体となっている。
【0016】
本発明の粘着シートには剥離シート3を設けることができる。剥離シート3は、本発明の粘着シートを枚葉の実施形態とする場合は必要であるが、ロール状(巻状)の実施形態で製造する場合は設けなくても良い。ロール状の実施形態とする場合は、基材層支持体4の表面、つまり、剥離層5及び着色層6が設けられていない面は、シリコーン系樹脂等により剥離処理を施されていることが好ましい。
【0017】
また、図3は、図2の粘着シートを物品から剥がした時に、着色層6と剥離層5との間で剥離が起こり、剥離表示10が現れていることを示す図である。図4は、図2の粘着シートを物品から剥がした時に、基材層支持体4と剥離層5との間で剥離が起こり、剥離表示10が現れていることを示した図である。
【0018】
剥離層5と基材層支持体4との接着力▲1▼が、剥離層5と着色層6との接着力▲2▼、着色層6と基材層支持体4との接着力▲3▼、及び着色層6と粘着層2との接着力▲4▼のいずれよりも小さく、且つ、粘着剤層9と被貼着物品との接着力▲5▼と前記接着力▲1▼〜▲4▼の関係が、▲2▼〜▲4▼>▲5▼>▲1▼となっている場合は図4で表される部位に剥離表示10が現れ、▲1▼▲3▼▲4▼>▲5▼>▲2▼となっている場合は図3で表される部位に剥離表示10が現れる。
(粘着層2の90°剥離伸び変形)
本発明に用いる粘着層2の90°剥離伸び変形は好ましくは5%以上、さらに好ましくは10%以上である。
また、本発明に用いる粘着層2の90°剥離伸び変形の上限は特に限定されないが、粘着層2の変形が大きい粘着シートでは、粘着シートを被貼着物件から剥がす際に粘着層2が引き伸ばされるが故に粘着層2と基材層1の接着性が低下するため、好ましくは900%以下であり、より好ましくは400%以下、さらに好ましくは300%以下である。
【0019】
好ましい剥離伸び変形の範囲は、2.5%〜900%であり、5%〜400%であることがより好ましい。10%〜300%であることが特に好ましい。
【0020】
特に、本発明に用いる粘着層2をポリエチレン板に貼着して90°剥離を行った時の剥離伸び変形が2.5%以上であることが好ましく、2.5%〜900%であることがより好ましく、5%〜400%であることが更に好ましい。10%〜300%であることが最も好ましい。
【0021】
(着色層6)
本発明の粘着シートに用いる基材層1は、少なくとも基材層支持体4および該基材層支持体4の一部に剥離層5を有することが必要であるが、剥離検知表示をより明瞭に見せるために、該剥離層5上及び該剥離層5がない部分上に着色層6を有することが好ましい。
着色層6を形成する方法としては、グラビアインキや平・凸版インキ等のインキ類を印刷やコーティングする方法や、金属をスパッタリングや蒸着等により被覆する方法等が例示できる。
【0022】
着色層6としては、特に限定されるものではなく、例えば、色材を含有するインキの層が単層で積層されていても良く、また、剥離層5を覆うように基材層支持体4の全面若しくは一部に接着層を形成し、該接着層に着色フィルムを積層した複数の層からなる構成であっても良い。特に、着色層6としては、基材層支持体4に対して接着力の大きなインキが好適に使用される。インキの樹脂成分としてはビニルアルコールを共重合した塩化ビニル・酢酸ビニル共重合体、ウレタン樹脂、アクリル樹脂、ニトロセルロースなどの混合物があげられ、水酸基価は1〜10程度が好ましい。さらに、フィルムとの接着力を向上させるために架橋させることもできる。この場合、その下の粘着層2との接着力も考慮するとイソシアネート系架橋剤の使用が好ましい。
【0023】
(色材)
着色層6にインキを使用する場合の色材は特に限定されるものではないが、公知慣用の顔料・染料を使用することができる。その中でも黒の場合はカーボンブラック、白の場合は酸化チタン、炭酸カルシウム、硫酸バリウム、黄色の場合は黄色酸化鉄、赤の場合はべんがら、青の場合は群青、紺青、銀の場合はアルミニウム粉、パールの場合は雲母チタン粉が、耐候性、耐熱性、インキ樹脂に対する分散性から好ましい。
【0024】
(着色層の厚み)
着色層6は隠蔽性を出すためにある程度以上の厚みが必要である。また、インキ層が厚過ぎると、粘着シートを剥離する際の剥離層5への剥離力の伝達が悪くなり、剥離表示の発現性を低下させる。従って、着色層6の厚みは好ましくは0.3〜20μm、更に好ましくは1〜3μmである。
【0025】
(基材層支持体4)
本発明の粘着シートに用いられる基材層支持体4は種類に限定はないが、例えば、ポリオレフィン、ポリエステル、ポリ塩化ビニル、フッ素樹脂などのプラスチックフィルムが例示できるが、高強度で安価な透明又は半透明の二軸延伸ポリプロピレンやポリエチレンテレフタレートが好適に選択される。
さらに、該基材層支持体4の表面に、印刷密着性を向上させたり、剥離表示をより明瞭に見せる為等の目的で、易接着処理やマット処理等を行っても良く、さらに、該剥がし検知表示機能付き粘着シートが被貼着物件に残留しないが故に、そのすり替えを防止する目的で、バーコードや管理コード等の印刷やサイン、捺印等を行うことも出来る。
【0026】
(剥離層5)
本発明の粘着シートに用いられる剥離層5は、該剥離層5と基材層支持体4との密着性、または、該剥離層5と着色層6の密着性が比較的弱い透明インキ等を用い、「VOID」や「開封済」等のパターンに印刷等の手段を用いて基材層支持体4に積層するなどの方法で作成できる。
【0027】
剥離層5は、例えば、凸版印刷、フレキソ印刷、グラビア印刷又はスクリーン印刷等、公知慣用の手段を用いて基材層支持体4上に形成する。剥離層5を形成する為のインキとしては、UV硬化型のインキや溶媒乾燥型のインキ等から適宜選定して使用すればよく、例えば、アクリル樹脂やポリビニルアルコール、ポリエステル、ポリスチレン、セルロース、酢酸ビニル、ウレタン樹脂等の樹脂を溶媒に溶解、または分散したものを使用することができる。また、インキを基材層支持体4上に形成する方法には、印刷後に溶剤を含有するインキを用いて印刷後に加熱乾燥する方法や、紫外線や電子線等の照射により硬化するタイプのインキを用いて印刷後に紫外線や電子線を照射させる方法を用いることができる。特に、種々の画像や情報を織り交ぜて、少量多品種の粘着シートを生産したい場合には、紫外線や電子線硬化タイプのインキを使用して、凸版又はフレキソ印刷機を用いて印刷することが好ましい。
【0028】
(粘着層2の引張強さ)
本発明の粘着シートに使用する粘着層2の引張強さは、該粘着層2の一部が被貼着物件に残留しないことの信頼性を高くする目的において、1N/10mm以上であることが好ましく、より好ましくは2N/10mm以上、さらに好ましくは4N/10mm以上である。また、引張り試験の際にフィルムが非晶構造から結晶構造と変化するなどにより、初期は前記90°剥離伸び変形が2.5%以上の柔軟性がありながら、引張強さはむしろ90°剥離伸び変形の低いものよりも高強度を示すものがあるために、該粘着層2の引張強さの上限値は特に限定しない。
【0029】
(粘着層2の破断強度の定義)
ここで、本発明において、粘着層2の引張強さは、JIS-Z0237(2000)の引張強さの試験方法において、標線間隔を5mmとしたときの引張り強さ(N/10mm)と定義する。
【0030】
(粘着層支持体8)
本発明の粘着シートに使用する粘着層2は、90°剥離伸び変形が2.5%以上であれば、特に構成は限定されず、粘着剤層9のみの単層構造であっても良いが、前記粘着層2が粘着剤層9のみの場合、該粘着層2と基材層1との接着力、および該粘着層2の90°剥離伸び変形、及び該粘着層2の引張強さ、及び該粘着層2と被貼着物件との接着力のバランスを調整する必要がある。このため、粘着層2が粘着剤層9と粘着層支持体8と接着層7からなり、該接着層7が前記基材層1上に積層された構成の方が、上記のバランスを調整しやすくなるため好ましい。
【0031】
(粘着層支持体8の種類)
本発明の粘着シートに粘着層支持体8を使用する場合は、その支持体の種類は特に限定されないが、柔軟でかつ破断しにくい材料が好適に選択される。具体的には、LLDPEやLDPE、CPP、EVA、ナイロン、ポリウレタン、ポリ塩化ビニル等を主成分とする単層、又は、多層のフィルムが例示できる。また、接着性向上のためにその表面にコロナ処理や易接着コート処理等が施されているものであっても良く、着色や意匠、偽造防止等の目的で印刷等が施されているものであっても良い。さらに、着色剤や帯電防止剤等の添加剤を添加することも出来る。
【0032】
(粘着層支持体8の厚み)
本発明の粘着シートに使用する粘着層2として支持体を使用する場合は、その支持体の厚みは特に限定されないが、一般に薄すぎると引張り強度が低下するため、破断しやすくなり、厚すぎると剛性が高くなって変形し難くなるため、好ましくは3〜200μm、より好ましくは5〜50μmである。
【0033】
(粘着層2を構成する粘着剤層9の粘着剤の種類)
本発明の粘着シートに使用する粘着層2を構成する粘着剤層9の粘着剤の種類は特に限定されず、アクリル系、ゴム系、シリコーン系等の粘着剤から適宜選択して使用できるが、貼着物品により残留しにくい、いわゆる再剥離タイプのアクリル系粘着剤がより好適に選択される。また、被貼着物品への接着力は、低すぎると剥離表示が発現せず、高すぎると貼着物品に残留しやすくなるため、好ましくは1〜20N/20mm、より好ましくは2〜10N/20mmのものが好適に選択されるが、特にこの範囲に限定されるものではない。
【0034】
(基材層1と粘着層2の積層方法)
本発明の粘着シートの基材層1と粘着層2を積層する方法は特に限定されないが、基材層1上に粘着層2を順次塗布乾燥させることで積層シートとする方法や、予めおのおの積層させた基材層1と粘着層2とを、いずれかの層に接着剤や粘着剤9を塗布乾燥しておき、必要に応じて加熱ラミネータ等の装置を用いて貼り合わせるなどの方法が例示できる。また、粘着シートの粘着層2が接着層7を有し、その接着層7を介して基材層1と粘着層2が積層される態様が挙げられる。更にその接着層7が粘着層2であって、その粘着層2を介して積層される方法は、基材層1と粘着層2を数種類ずつ組み合わせて積層したい場合などにおいて、大がかりな設備を必要とせず、少量ずつ積層出来るために好ましい実施態様である。このとき、貼着物品に残留しない信頼性を一層高めるためには、本発明の粘着シートの被貼着物件に対する接着力よりも、基材層1と粘着層2の接着強度を高く設計することが好ましい。
【0035】
【実施例】
以下に実施例により具体的に説明する。
(基材層1の作成)
厚さ25μmの透明なポリエステルフィルム(東レ社製「ルミラー」)の一方の面に、ポリメチルメタクリレート(PMMA)のトルエン溶液を主成分とする透明剥離インキを「開封済」のパターンにグラビア印刷機により印刷し、部分的に剥離層5を作成した。さらに該ポリエステルフィルムの印刷面上に青色グラビアインキ(大日本インキ化学工業社製「ユニビア」)を全面に塗布乾燥させ、基材層1を得た。
【0036】
(粘着層2の作成)
〔実施例1〕
予め両面にコロナ処理を施した厚さ20μmのLDPEフィルム(密度0.919)を粘着層支持体8とし、その一方の面に、あらかじめ乾燥後の厚さが30μmとなるようにアクリル系粘着剤(大日本インキ化学工業社製「クイックマスター SPS-1068」に大日本インキ化学工業社製イソシアネート系架橋剤「バーノックNC-40」を2重量部添加)を塗布、乾燥したセパレータを貼り合わせた。
さらに、該粘着層支持体8のもう一方の面に、基材との接着層7として、アクリル系粘着剤(綜研化学社製「SK-1502」に綜研化学社製架橋剤「L-45」を1.3部添加)を乾燥後の厚さが10μmとなるように塗布、乾燥したのち、前記基材層1の青インキ面と貼り合わせることにより、剥がし検知表示機能付き粘着シートを作成した。
【0037】
〔実施例2〕
予め両面にコロナ処理を施した厚さ25μmのLLDPEフィルム(密度0.916)を粘着層支持体8として使用した以外は、実施例1と同様にして剥がし検知表示機能付き粘着シートを作成した。
【0038】
〔実施例3〕
厚さ100μmのウレタンフィルム(日本マタイ社製「エスマーURS」)を粘着層支持体8として使用した以外は、実施例1と同様にして剥がし検知表示機能付き粘着シートを作成した。
【0039】
〔比較例1〕
予め両面にコロナ処理を施した厚さ25μmのPETフィルム(東レ社製「ルミラー」)を粘着層支持体8として使用した以外は、実施例1と同様にして剥がし検知表示機能付き粘着シートを作成した。
【0040】
〔比較例2〕
乾燥後の厚さが30μmとなるようにアクリル系粘着剤(大日本インキ化学工業社製「クイックマスター SPS-1068」に大日本インキ化学工業社製イソシアネート系架橋剤「バーノックNC-40」を2部添加)をセパレータ上に塗布、乾燥し、前記基材層1の青インキ面と貼り合わせることにより、剥がし検知表示機能付き粘着シートを作成した。
【0041】
実施例1〜3、比較例1〜2で作成した粘着シートについて、以下に示す方法により試験し、評価結果を表1に示した。
(発字性試験)
作成した粘着シートをJIS-Z0237(2000)の90度試験板に対する90度引きはがし粘着力の測定に従い、ステンレス板(SUS)、およびポリエチレン板(PE)を被着体11として、300mm/minで引き剥がした際に、「開封済」の剥離検知表示の発現状態を目視で確認した。
○:「開封済」の剥離検知表示が視認できた。
△:「開封済」の剥離検知表示が部分的に視認できた。
×:剥離検知表示が視認できなかった。
【0042】
(被着体残留試験)
上記発字性試験において、被着体に粘着層2等の残留の有無を目視にて確認した。
○:被着体に粘着層2等が全く残留しなかった。
×:被着体に粘着層2等が一部でも残留した。
【0043】
【表1】
【0044】
表1に記載した結果から明らかなように、実施例1〜2の粘着シートは、▲1▼発字性、▲2▼被着体残留ともに良好な評価が得られ、実施例3の粘着シートでは、ポリエチレンに貼着した場合は、その粘着層2の90°剥離伸び変形が0%であったために発字しなかった。また、比較例の粘着シートでは、SUS、PEいずれに貼付の場合も上記▲1▼、▲2▼をともに満足するものは得られなかった。
【0045】
【発明の効果】
本発明によれば、剥がされたことをより明確に表示できるとともに、より確実に被貼着物件側に物質痕跡が残留しない剥がし検知表示機能付き粘着シートを提供することができる。
本発明の剥がし検知表示機能付き粘着シートは、剥がされたことを明確に表示できるとともに、確実に被貼着物件側に物質痕跡が残留しないという特徴を有する。
【図面の簡単な説明】
【図1】本発明の一実施例の粘着シートの一部の断面図である。
【図2】本発明の一実施例の粘着シートの一部の断面図である。
【図3】本発明の一実施例の粘着シートを被着体に貼着後、剥離した状態を示す一部の断面図である。
【図4】本発明の一実施例の粘着シートを被着体に貼着後、剥離した状態を示す一部の断面図である。
【図5】粘着シートの粘着層2の90°剥離伸び変形の測定の概略図である。
【符号の説明】
1:基材層
2:粘着層
3:剥離紙
4:基材層支持体
5:剥離層
6:着色層
7:接着層
8:粘着層支持体
9:粘着剤層
10:剥離表示
11:被着体
12:引張試験機チャック
a:90°剥離伸び変形の測定における引き上げ距離
b:90°剥離伸び変形の測定における剥離距離
d:90°剥離伸び変形の測定における初期つかみ間隔[0001]
TECHNICAL FIELD OF THE INVENTION
The present invention relates to a pressure-sensitive adhesive sheet having a peeling detection display function that allows a user to visually recognize a peeled proof for the purpose of detecting fraudulent activity or the like.
[0002]
[Prior art]
2. Description of the Related Art A peeling-preventive pressure-sensitive adhesive sheet of a type in which a trace of a substance such as a pressure-sensitive adhesive does not remain on an object to be adhered is known (for example, see Patent Document 1).
[0003]
The peeling-preventing pressure-sensitive adhesive sheet of a type in which no trace of a substance such as a pressure-sensitive adhesive remains on the article to be adhered, uses a transparent or translucent film-like material as a base material (1),
A marking layer (2) in which the color and the transparency match the base material, and a peeling mark is printed on the back side of a material having adhesiveness with the base material,
A fixed color layer (3) that covers the marking layer and the portion of the substrate without the marking layer with a different color from the base material and the marking layer,
Non-peeling layer (4) applied on the fixed color layer, so that the fixed color layer can be applied to the application of the adhesive,
An adhesive layer formed by applying an adhesive on a non-peelable layer, and an adhesive layer (5) which enables the peeling-preventive pressure-sensitive adhesive sheet to be stuck on a sealed article,
No traces of material remain due to the relationship {adhesion of (3) to (1)}> {adhesion of (5) to (3)}> {adhesion of (3) to (2)} We are making peeling-preventive adhesive sheets.
At this time, the non-peeling layer (4) is used to integrate the adhesive force of (5) with (3) with a stronger adhesive force.
[Patent Document 1]
Utility Model Registration No. 3068860 (Claim 1)
[0004]
[Problems to be solved by the invention]
However, the relationship of {peeling force of (3) to (1)}> {sticking force of (5) to (3)}> {sticking force of (3) to (2)} of the peeling-preventive pressure-sensitive adhesive sheet is as follows. This is also true of a type of adhesive sheet with a peeling detection function that forms a display with the part remaining on the property to be adhered when peeled off. In addition, when an adhesive that does not leave the adhesive on the sealing material is used, there is a fear that it cannot be displayed that the adhesive has been removed.
[0005]
The present invention has been made on the basis of the above circumstances, and the object thereof is to be able to more clearly display that peeling has occurred, and to ensure that no material trace remains on the adhered article side, and that peeling detection has been made. An object of the present invention is to provide a pressure-sensitive adhesive sheet with a display function.
[0006]
[Means for Solving the Problems]
The inventors pull the
[0007]
In addition, since the force that the
[0008]
As a result of intensive studies, the inventors have shown that by using an adhesive sheet as described below, it is possible to more clearly indicate that the material has been peeled off, and to have a function of more reliably preventing a substance trace from remaining on the adhered article side. The present invention has been found.
[0009]
That is, the present invention relates to an adhesive sheet having a
[0010]
(Adhesive layer 2)
In the present invention, the pressure-sensitive
[0011]
(Definition of 90 ° peel elongation)
In the present invention, the 90 ° peeling elongation deformation refers to the 90 ° peeling of a 20 mm wide
90 ° peel elongation deformation (%) = (ab) ÷ (b + d) x 100
Further, in the present invention, d = 0 mm, a = 20 mm, and the measurement of the peel distance was in 0.5 mm units.
[0012]
(Explanation of the necessity of 90 ° peel elongation deformation)
The present inventors have made intensive studies on a method for more directly observing the amount of deformation of the
[0013]
That is, the 90 ° peel elongation deformation of the
[0014]
BEST MODE FOR CARRYING OUT THE INVENTION
FIG. 1 shows the basic structure of the pressure-sensitive adhesive sheet with a peel detection display function of the present invention (hereinafter, referred to as the pressure-sensitive adhesive sheet of the present invention). The pressure-sensitive adhesive sheet of FIG. 1 is a flexible transparent or translucent film-like substrate layer support on which a
[0015]
Although the basic structure of the pressure-sensitive adhesive sheet of the present invention is shown in FIG. 1, a more preferred embodiment is shown in FIG. The pressure-sensitive adhesive sheet of FIG. 2 is an example of a pressure-sensitive adhesive sheet with a peel-off display function, in which no pressure-sensitive adhesive or the like remains when peeled off. The
[0016]
The release sheet 3 can be provided on the pressure-sensitive adhesive sheet of the present invention. The release sheet 3 is necessary when the pressure-sensitive adhesive sheet of the present invention is a single-sheet embodiment, but may not be provided when the pressure-sensitive adhesive sheet is manufactured in a roll-shaped (roll-shaped) embodiment. In the case of a roll-shaped embodiment, the surface of the substrate layer support 4, that is, the surface on which the
[0017]
FIG. 3 is a diagram showing that when the pressure-sensitive adhesive sheet of FIG. 2 is peeled off from the article, peeling occurs between the
[0018]
The adhesive force (1) between the
(90 ° peeling elongation deformation of adhesive layer 2)
The 90 ° peel elongation deformation of the
The upper limit of the 90 ° peel elongation deformation of the pressure-
[0019]
The preferable range of the peeling elongation deformation is 2.5% to 900%, more preferably 5% to 400%. It is particularly preferred that it is between 10% and 300%.
[0020]
In particular, when the pressure-
[0021]
(Colored layer 6)
The
Examples of the method of forming the
[0022]
The
[0023]
(Color material)
The color material when the ink is used for the
[0024]
(Thickness of colored layer)
The
[0025]
(Substrate layer support 4)
The type of the substrate layer support 4 used in the pressure-sensitive adhesive sheet of the present invention is not limited, and examples thereof include plastic films such as polyolefin, polyester, polyvinyl chloride, and fluororesin. Translucent biaxially oriented polypropylene or polyethylene terephthalate is suitably selected.
Further, on the surface of the base material layer support 4, for the purpose of improving printing adhesion or showing a peeling display more clearly, an easy adhesion treatment or a mat treatment may be performed. Since the pressure-sensitive adhesive sheet with a peeling detection display function does not remain on the article to be adhered, barcodes, management codes, and the like can be printed, signed, and stamped for the purpose of preventing replacement.
[0026]
(Release layer 5)
The
[0027]
The
[0028]
(Tensile strength of adhesive layer 2)
The tensile strength of the pressure-
[0029]
(Definition of breaking strength of adhesive layer 2)
Here, in the present invention, the tensile strength of the pressure-
[0030]
(Adhesive layer support 8)
The configuration of the pressure-
[0031]
(Type of adhesive layer support 8)
When the pressure-sensitive
[0032]
(Thickness of adhesive layer support 8)
When a support is used as the pressure-
[0033]
(Kind of the adhesive of the adhesive layer 9 constituting the adhesive layer 2)
The kind of the pressure-sensitive adhesive of the pressure-sensitive adhesive layer 9 constituting the pressure-
[0034]
(Lamination method of
The method of laminating the
[0035]
【Example】
Hereinafter, a specific description will be given with reference to examples.
(Preparation of base material layer 1)
On one side of a transparent polyester film with a thickness of 25 μm (“Lumirror” manufactured by Toray Industries, Inc.), a transparent release ink containing a toluene solution of polymethyl methacrylate (PMMA) as the main component is a gravure printing machine in an “opened” pattern. And the
[0036]
(Preparation of adhesive layer 2)
[Example 1]
A 20 μm-thick LDPE film (density 0.919) preliminarily subjected to corona treatment on both sides is used as the
Further, on the other surface of the pressure-sensitive
[0037]
[Example 2]
An adhesive sheet with a peel detection display function was prepared in the same manner as in Example 1, except that an LLDPE film (density 0.916) having a thickness of 25 μm and corona-treated on both surfaces in advance was used as the
[0038]
[Example 3]
An adhesive sheet with a peel detection display function was prepared in the same manner as in Example 1, except that a urethane film ("Esmer URS", manufactured by Nippon Matai Co., Ltd.) having a thickness of 100 µm was used as the
[0039]
[Comparative Example 1]
A pressure-sensitive adhesive sheet with a peel detection display function was prepared in the same manner as in Example 1 except that a 25 μm-thick PET film (“Toray Co.,“ Lumirror ”), which had been subjected to corona treatment on both surfaces in advance, was used as the pressure-sensitive
[0040]
[Comparative Example 2]
Acrylic adhesive (Dai Nippon Ink & Chemicals, Inc., Quickmaster SPS-1068) and Dainippon Ink & Chemicals, Inc., an isocyanate-based cross-linking agent, `` Varnock NC-40, '' 2 so that the thickness after drying is 30 μm. Was added onto a separator, dried, and bonded to the blue ink surface of the
[0041]
The pressure-sensitive adhesive sheets prepared in Examples 1 to 3 and Comparative Examples 1 and 2 were tested by the following methods, and the evaluation results are shown in Table 1.
(Characteristic test)
The prepared pressure-sensitive adhesive sheet was subjected to 90-degree peeling with respect to a 90-degree test plate of JIS-Z0237 (2000) according to the measurement of the adhesion, and a stainless steel plate (SUS) and a polyethylene plate (PE) were used as the adherend 11 at 300 mm / min. At the time of peeling, the appearance of the peeling detection display of “opened” was visually confirmed.
:: The peeling detection display of “opened” was visually recognized.
Δ: Peeling detection display of “opened” was partially visible.
X: The peeling detection display was not visually recognized.
[0042]
(Adherend residue test)
In the above lettering test, the presence or absence of the
:: No
X: The
[0043]
[Table 1]
[0044]
As is clear from the results described in Table 1, the pressure-sensitive adhesive sheets of Examples 1 and 2 exhibited good evaluations for both (1) lettering properties and (2) residual adherends. In the case where the
[0045]
【The invention's effect】
ADVANTAGE OF THE INVENTION According to this invention, while being able to display more clearly that it peeled, the peeling detection display function with a peel detection display function in which a substance trace does not remain on the adhered article side more reliably can be provided.
ADVANTAGE OF THE INVENTION The adhesive sheet with a peeling detection display function of this invention has the characteristic that it can clearly display that it was peeled off, and that no substance trace remains on the adhered article side.
[Brief description of the drawings]
FIG. 1 is a cross-sectional view of a part of an adhesive sheet according to one embodiment of the present invention.
FIG. 2 is a cross-sectional view of a part of the pressure-sensitive adhesive sheet according to one embodiment of the present invention.
FIG. 3 is a partial cross-sectional view showing a state in which the pressure-sensitive adhesive sheet of one embodiment of the present invention has been peeled off after being adhered to an adherend.
FIG. 4 is a partial cross-sectional view showing a state in which the pressure-sensitive adhesive sheet of one embodiment of the present invention has been peeled off after being adhered to an adherend.
FIG. 5 is a schematic diagram of measurement of 90 ° peeling elongation deformation of the
[Explanation of symbols]
1: base material layer 2: adhesive layer 3: release paper 4: base material layer support 5: release layer 6: colored layer 7: adhesive layer 8: adhesive layer support 9: adhesive layer 10: release display 11: coated Body 12: Tensile tester chuck a: Pull-up distance in measurement of 90 ° peel extension deformation b: Peel distance in measurement of 90 ° peel extension deformation d: Initial grip distance in measurement of 90 ° peel extension deformation
Claims (5)
(基礎出願の請求項4の粘着剤と請求項5の粘着剤は意味が異なりますよね。上記の通り区別しました。)The pressure-sensitive adhesive sheet according to claim 4, wherein the adhesive layer 7 is formed of a pressure-sensitive adhesive.
(The adhesive of claim 4 of the basic application and the adhesive of claim 5 have different meanings. They are distinguished as described above.)
Priority Applications (1)
| Application Number | Priority Date | Filing Date | Title |
|---|---|---|---|
| JP2003154597A JP2004177927A (en) | 2002-09-30 | 2003-05-30 | Adhesive sheet with peel detection display function |
Applications Claiming Priority (2)
| Application Number | Priority Date | Filing Date | Title |
|---|---|---|---|
| JP2002285618 | 2002-09-30 | ||
| JP2003154597A JP2004177927A (en) | 2002-09-30 | 2003-05-30 | Adhesive sheet with peel detection display function |
Publications (1)
| Publication Number | Publication Date |
|---|---|
| JP2004177927A true JP2004177927A (en) | 2004-06-24 |
Family
ID=32715561
Family Applications (1)
| Application Number | Title | Priority Date | Filing Date |
|---|---|---|---|
| JP2003154597A Pending JP2004177927A (en) | 2002-09-30 | 2003-05-30 | Adhesive sheet with peel detection display function |
Country Status (1)
| Country | Link |
|---|---|
| JP (1) | JP2004177927A (en) |
Cited By (13)
| Publication number | Priority date | Publication date | Assignee | Title |
|---|---|---|---|---|
| JP2004170776A (en) * | 2002-11-21 | 2004-06-17 | Lintec Corp | Member for preventing tampering |
| JP2006053308A (en) * | 2004-08-11 | 2006-02-23 | Kyowa Tokushu Insatsu Kk | Seal |
| JP2006091440A (en) * | 2004-09-24 | 2006-04-06 | Dainippon Ink & Chem Inc | Adhesive sheet with peel detection display function |
| JP2012058529A (en) * | 2010-09-09 | 2012-03-22 | R:Kk | Opening identification label |
| CN107608175A (en) * | 2016-07-11 | 2018-01-19 | 信越化学工业株式会社 | Adhesive for thin film module, thin film module and method for selecting adhesive for thin film module |
| JP2018054824A (en) * | 2016-09-28 | 2018-04-05 | 株式会社共和 | Adhesive tape roll |
| JP2019095709A (en) * | 2017-11-27 | 2019-06-20 | リンテック株式会社 | Peeling detection label |
| WO2020013212A1 (en) * | 2018-07-11 | 2020-01-16 | リンテック株式会社 | Peel-off detection label |
| WO2020013211A1 (en) * | 2018-07-11 | 2020-01-16 | リンテック株式会社 | Peel-off detection label |
| JP2020163810A (en) * | 2019-03-29 | 2020-10-08 | リンテック株式会社 | Design expression sheet |
| US20200410902A1 (en) * | 2017-08-21 | 2020-12-31 | Lintec Corporation | Peel detection label |
| JP2022157661A (en) * | 2021-03-31 | 2022-10-14 | 大日本印刷株式会社 | information hiding card |
| TWI906203B (en) | 2018-07-11 | 2025-12-01 | 日商琳得科股份有限公司 | Peeling off test labels |
Citations (4)
| Publication number | Priority date | Publication date | Assignee | Title |
|---|---|---|---|---|
| JP3068860U (en) * | 1999-11-10 | 2000-05-26 | 王佳實業股▲分▼有限公司 | Peeling prevention sheet |
| JP2000319614A (en) * | 1999-05-12 | 2000-11-21 | Okamoto Ind Inc | Double-sided adhesive tape |
| JP2002256231A (en) * | 2001-02-27 | 2002-09-11 | Nitto Denko Hoso System Kk | Peeling detection adhesive sheet |
| JP2003084672A (en) * | 2001-09-12 | 2003-03-19 | Fuji Seal Inc | Tamper-resistant adhesive label |
-
2003
- 2003-05-30 JP JP2003154597A patent/JP2004177927A/en active Pending
Patent Citations (4)
| Publication number | Priority date | Publication date | Assignee | Title |
|---|---|---|---|---|
| JP2000319614A (en) * | 1999-05-12 | 2000-11-21 | Okamoto Ind Inc | Double-sided adhesive tape |
| JP3068860U (en) * | 1999-11-10 | 2000-05-26 | 王佳實業股▲分▼有限公司 | Peeling prevention sheet |
| JP2002256231A (en) * | 2001-02-27 | 2002-09-11 | Nitto Denko Hoso System Kk | Peeling detection adhesive sheet |
| JP2003084672A (en) * | 2001-09-12 | 2003-03-19 | Fuji Seal Inc | Tamper-resistant adhesive label |
Cited By (28)
| Publication number | Priority date | Publication date | Assignee | Title |
|---|---|---|---|---|
| JP2004170776A (en) * | 2002-11-21 | 2004-06-17 | Lintec Corp | Member for preventing tampering |
| JP2006053308A (en) * | 2004-08-11 | 2006-02-23 | Kyowa Tokushu Insatsu Kk | Seal |
| JP2006091440A (en) * | 2004-09-24 | 2006-04-06 | Dainippon Ink & Chem Inc | Adhesive sheet with peel detection display function |
| JP2012058529A (en) * | 2010-09-09 | 2012-03-22 | R:Kk | Opening identification label |
| JP2022043086A (en) * | 2016-07-11 | 2022-03-15 | 信越化学工業株式会社 | Adhesive for pellicle, pellicle, and selection method of adhesive for pellicle |
| CN107608175A (en) * | 2016-07-11 | 2018-01-19 | 信越化学工业株式会社 | Adhesive for thin film module, thin film module and method for selecting adhesive for thin film module |
| JP2018021182A (en) * | 2016-07-11 | 2018-02-08 | 信越化学工業株式会社 | Adhesive agent for pellicle, pellicle, and method for selecting adhesive agent for pellicle |
| JP7352689B2 (en) | 2016-07-11 | 2023-09-28 | 信越化学工業株式会社 | Pellicle frame with adhesive, pellicle, photomask with pellicle, exposure method, semiconductor manufacturing method, and liquid crystal display manufacturing method |
| CN107608175B (en) * | 2016-07-11 | 2023-04-07 | 信越化学工业株式会社 | Adhesive for film assembly, film assembly and method for selecting adhesive for film assembly |
| JP2022126717A (en) * | 2016-07-11 | 2022-08-30 | 信越化学工業株式会社 | Adhesive for pellicle, pellicle, and method of selecting adhesive for pellicle |
| JP2018054824A (en) * | 2016-09-28 | 2018-04-05 | 株式会社共和 | Adhesive tape roll |
| US20200410902A1 (en) * | 2017-08-21 | 2020-12-31 | Lintec Corporation | Peel detection label |
| JP2019095709A (en) * | 2017-11-27 | 2019-06-20 | リンテック株式会社 | Peeling detection label |
| WO2020013212A1 (en) * | 2018-07-11 | 2020-01-16 | リンテック株式会社 | Peel-off detection label |
| TWI821331B (en) * | 2018-07-11 | 2023-11-11 | 日商琳得科股份有限公司 | Peel detection label |
| JPWO2020013212A1 (en) * | 2018-07-11 | 2021-05-13 | リンテック株式会社 | Peeling detection label |
| JPWO2020013211A1 (en) * | 2018-07-11 | 2021-02-15 | リンテック株式会社 | Peeling detection label |
| EP3822956A4 (en) * | 2018-07-11 | 2022-06-15 | Lintec Corporation | PEEL DETECTION LABEL |
| TWI906203B (en) | 2018-07-11 | 2025-12-01 | 日商琳得科股份有限公司 | Peeling off test labels |
| CN112424854A (en) * | 2018-07-11 | 2021-02-26 | 琳得科株式会社 | Peeling detection label |
| WO2020013211A1 (en) * | 2018-07-11 | 2020-01-16 | リンテック株式会社 | Peel-off detection label |
| US12146081B2 (en) | 2018-07-11 | 2024-11-19 | Lintec Corporation | Peel-off detection label |
| CN112400200A (en) * | 2018-07-11 | 2021-02-23 | 琳得科株式会社 | Peeling detection label |
| US11479695B2 (en) | 2018-07-11 | 2022-10-25 | Linetec Corporation | Peel-off detection label |
| JP7469851B2 (en) | 2019-03-29 | 2024-04-17 | リンテック株式会社 | Design expression sheet |
| JP2020163810A (en) * | 2019-03-29 | 2020-10-08 | リンテック株式会社 | Design expression sheet |
| JP2022157661A (en) * | 2021-03-31 | 2022-10-14 | 大日本印刷株式会社 | information hiding card |
| JP7673468B2 (en) | 2021-03-31 | 2025-05-09 | 大日本印刷株式会社 | Information Concealment Cards |
Similar Documents
| Publication | Publication Date | Title |
|---|---|---|
| CZ20003933A3 (en) | Tamper-indicating article for reusable substrates | |
| JP2004177927A (en) | Adhesive sheet with peel detection display function | |
| JP4301800B2 (en) | Anti-tamper material | |
| JP2008304733A (en) | Manufacturing method and label for integrating a label into an adherend | |
| JP2004331696A (en) | Adhesive sheet with release display function | |
| JP4117040B2 (en) | Adhesive sheet or adhesive | |
| EP1213695A2 (en) | Release sheet with printed layer and manufacturing method thereof | |
| CN210667489U (en) | Multilayer film composition, logistics label and labeled package | |
| JP2002323856A (en) | Label laminate | |
| JP3907258B2 (en) | Double-sided adhesive sheet | |
| JP2007178558A (en) | Adhesive sheet with peeling detection function | |
| KR100431070B1 (en) | multilayer label sheet | |
| JP2004285243A (en) | Adhesive sheet with peel detection function | |
| JP2004231915A (en) | Adhesive sheet | |
| US5714221A (en) | Transferable cover-up articles | |
| JPH09197968A (en) | Replacement prevention sticker | |
| JP2007155885A (en) | Adhesive sheet with peeling detection function | |
| JP2004323658A (en) | Pressure-sensitive adhesive sheet with release display function and method for producing the pressure-sensitive adhesive sheet | |
| JPH08100158A (en) | Double-sided adhesive tape and card using this tape | |
| JP2006091440A (en) | Adhesive sheet with peel detection display function | |
| JP2003066850A (en) | Adhesive sheet for sticker and sticker using this | |
| JP2019172938A (en) | Manufacturing method of pressure sensitive adhesive sheet | |
| JP2002278459A (en) | Self-adhesive label | |
| JP7512796B2 (en) | Sticker-type thermal transfer image receiving sheet | |
| JP3003840U (en) | Adhesive laminate |
Legal Events
| Date | Code | Title | Description |
|---|---|---|---|
| RD01 | Notification of change of attorney |
Free format text: JAPANESE INTERMEDIATE CODE: A7421 Effective date: 20050826 |
|
| A621 | Written request for application examination |
Free format text: JAPANESE INTERMEDIATE CODE: A621 Effective date: 20060512 |
|
| A977 | Report on retrieval |
Free format text: JAPANESE INTERMEDIATE CODE: A971007 Effective date: 20081128 |
|
| A131 | Notification of reasons for refusal |
Free format text: JAPANESE INTERMEDIATE CODE: A131 Effective date: 20081202 |
|
| A02 | Decision of refusal |
Free format text: JAPANESE INTERMEDIATE CODE: A02 Effective date: 20090326 |
