JP2004176637A - 火花点火式エンジンの制御装置 - Google Patents
火花点火式エンジンの制御装置 Download PDFInfo
- Publication number
- JP2004176637A JP2004176637A JP2002344524A JP2002344524A JP2004176637A JP 2004176637 A JP2004176637 A JP 2004176637A JP 2002344524 A JP2002344524 A JP 2002344524A JP 2002344524 A JP2002344524 A JP 2002344524A JP 2004176637 A JP2004176637 A JP 2004176637A
- Authority
- JP
- Japan
- Prior art keywords
- cylinder
- fuel
- combustion
- state
- mode
- Prior art date
- Legal status (The legal status is an assumption and is not a legal conclusion. Google has not performed a legal analysis and makes no representation as to the accuracy of the status listed.)
- Granted
Links
- 239000000446 fuel Substances 0.000 claims abstract description 596
- 238000002485 combustion reaction Methods 0.000 claims abstract description 204
- 230000006835 compression Effects 0.000 claims abstract description 72
- 238000007906 compression Methods 0.000 claims abstract description 72
- 230000001052 transient effect Effects 0.000 claims description 64
- 238000002347 injection Methods 0.000 claims description 48
- 239000007924 injection Substances 0.000 claims description 48
- 230000004913 activation Effects 0.000 claims description 7
- 230000004044 response Effects 0.000 claims description 5
- 230000000694 effects Effects 0.000 abstract description 22
- 239000007789 gas Substances 0.000 description 198
- 238000000034 method Methods 0.000 description 43
- 230000008569 process Effects 0.000 description 34
- 239000000498 cooling water Substances 0.000 description 16
- 230000007246 mechanism Effects 0.000 description 15
- 238000001816 cooling Methods 0.000 description 14
- 239000000203 mixture Substances 0.000 description 13
- 230000006872 improvement Effects 0.000 description 11
- 230000007704 transition Effects 0.000 description 9
- 238000010586 diagram Methods 0.000 description 8
- XLYOFNOQVPJJNP-UHFFFAOYSA-N water Substances O XLYOFNOQVPJJNP-UHFFFAOYSA-N 0.000 description 8
- 230000007423 decrease Effects 0.000 description 7
- 238000005086 pumping Methods 0.000 description 6
- 239000010720 hydraulic oil Substances 0.000 description 5
- QVGXLLKOCUKJST-UHFFFAOYSA-N atomic oxygen Chemical compound [O] QVGXLLKOCUKJST-UHFFFAOYSA-N 0.000 description 4
- 239000003054 catalyst Substances 0.000 description 4
- 239000002826 coolant Substances 0.000 description 4
- 239000001301 oxygen Substances 0.000 description 4
- 229910052760 oxygen Inorganic materials 0.000 description 4
- 230000010349 pulsation Effects 0.000 description 4
- 230000008859 change Effects 0.000 description 3
- 238000000746 purification Methods 0.000 description 3
- 238000011144 upstream manufacturing Methods 0.000 description 3
- 230000003247 decreasing effect Effects 0.000 description 2
- 238000007599 discharging Methods 0.000 description 2
- 230000006870 function Effects 0.000 description 2
- 238000010438 heat treatment Methods 0.000 description 2
- 230000004048 modification Effects 0.000 description 2
- 238000012986 modification Methods 0.000 description 2
- 230000005855 radiation Effects 0.000 description 2
- 230000009467 reduction Effects 0.000 description 2
- 230000009471 action Effects 0.000 description 1
- 239000000567 combustion gas Substances 0.000 description 1
- 230000000994 depressogenic effect Effects 0.000 description 1
- 238000005516 engineering process Methods 0.000 description 1
- 230000000087 stabilizing effect Effects 0.000 description 1
- 238000013517 stratification Methods 0.000 description 1
- 239000000725 suspension Substances 0.000 description 1
- 238000009834 vaporization Methods 0.000 description 1
- 230000008016 vaporization Effects 0.000 description 1
Images
Classifications
-
- F—MECHANICAL ENGINEERING; LIGHTING; HEATING; WEAPONS; BLASTING
- F02—COMBUSTION ENGINES; HOT-GAS OR COMBUSTION-PRODUCT ENGINE PLANTS
- F02B—INTERNAL-COMBUSTION PISTON ENGINES; COMBUSTION ENGINES IN GENERAL
- F02B1/00—Engines characterised by fuel-air mixture compression
- F02B1/12—Engines characterised by fuel-air mixture compression with compression ignition
Landscapes
- Combustion Methods Of Internal-Combustion Engines (AREA)
- Exhaust-Gas Circulating Devices (AREA)
- Output Control And Ontrol Of Special Type Engine (AREA)
- Electrical Control Of Air Or Fuel Supplied To Internal-Combustion Engine (AREA)
- Combined Controls Of Internal Combustion Engines (AREA)
Abstract
【解決手段】排気行程と吸気行程が重なる一対の気筒間において排気行程側の先行気筒2A,2Dから排出される既燃ガスがそのまま吸気行程側の後続気筒2B,2Cに気筒間ガス通路22を介して導入され、後続気筒2B,2Cから排出されるガスのみが排気通路20に導かれるようにする。そして、先行気筒2A,2Dでは理論空燃比よりも所定量大きいリーン空燃比で燃焼を行わせ、後続気筒2B,2Cでは、先行気筒2A,2Dから導入された既燃ガスに燃料を供給して圧縮自己着火による燃焼を行わせる。更に、燃料停止状態から燃料復帰する際には、先行気筒2A,2Dに対して略理論空燃比とした状態で強制点火による燃焼を行わせる。
【選択図】 図1
Description
【発明の属する技術分野】
本発明は、火花点火式エンジンの制御装置に関し、より詳しくは、多気筒エンジンにおいて燃費改善及びエミッション向上のために各気筒の燃焼状態を制御する装置に関するものである。
【0002】
【従来の技術】
従来から、火花点火式エンジンにおいて、各気筒内の混合気の空燃比を理論空燃比よりも大きいリーン空燃比とした状態で燃焼を行わせることにより燃費改善を図る技術が研究されており、燃焼室内に直接燃料を噴射する燃料噴射弁を備え、低回転低負荷域等では上記燃料噴射弁から圧縮行程で燃料を噴射することにより成層燃焼を行わせ、これによって超リーン燃焼を実現するようにしたものが知られている(例えば、特許文献1参照。)。
【0003】
上記のように成層燃焼により超リーン燃焼を行うと、熱効率が向上するとともに、吸入空気量が多くなって吸気負圧が低減され、これらによって大幅に燃費が改善される。また、このような超リーンの成層燃焼状態では過剰に存在する空気の一部がEGRに置き換わっても充分に燃焼し得るため、比較的多量のEGRが可能であって、これによりNOx低減等に有利となる。そして、このように多量のEGRを導入した場合でも、ポンピングロス低減効果は変わりなく得られ、かつ、非成層で吸入空気量及びEGR量を制限する通常の燃焼と比べれば熱効率も高められて、燃費改善効果が得られる。
【0004】
ところで、成層燃焼を行うとある程度までは空燃比がリーンになるにつれて燃費改善効果が高められるが、ある程度以上にリーンになると、燃焼速度が遅くなりすぎてその終期に近い燃焼が仕事に寄与しなくなることにより、却って燃費が悪化する傾向が生じる。このように、成層燃焼でのリーン化による燃費改善にも限界があった。
【0005】
一方、燃費改善のための別の手法として、圧縮自己着火が研究されている。この圧縮自己着火は、ディーゼルエンジンと同様に圧縮行程終期に燃焼室内を高温、高圧にして燃料を自己着火させるようにするものであり、空燃比が超リーンの状態や多量のEGRが導入されている状態でもこのような圧縮自己着火が行われれば燃焼室全体が一気に燃焼するため、仕事に寄与しない遅い燃焼が避けられ、燃費改善に有利となる。
【0006】
しかし通常の火花点火式エンジン(ガソリンエンジン)では燃焼のために強制点火が必要であって、圧縮上死点付近での燃焼室内の温度、圧力が圧縮自己着火を生じさせる程度までには高められず、圧縮自己着火を行わせるためには燃焼室内の温度または圧力を大幅に高めるための格別の工夫が必要となる。
【0007】
このような課題に対し、本願出願人は、吸気、圧縮、膨張、排気の各行程からなるサイクルを行う多気筒エンジンにおいて、少なくとも低負荷低回転域では、排気行程と吸気行程が重なる一対の気筒間において排気行程側の気筒である先行気筒から排出される既燃ガスをそのまま吸気行程側の気筒である後続気筒に導入し、この後続気筒から排出されるガスを排気通路に導くようにするとともに、この2気筒接続状態にあるときに、先行気筒において理論空燃比よりも所定量大きいリーン空燃比とした状態で強制点火により燃焼を行わせ、後続気筒では先行気筒から導入されたリーン空燃比の既燃ガスに燃料を供給するとともに圧縮自己着火により燃焼を行わせるようにすることを考えた(特願2002−029836号)。
【0008】
これによると、少なくとも低負荷低回転域において、先行気筒ではリーン空燃比で強制点火による燃焼が行われ、熱効率が高められるとともにポンピングロスが低減されることにより大幅な燃費改善効果が得られ、また、後続気筒では先行気筒から導入されたリーン空燃比の既燃ガスに燃料が供給されて燃焼が行われる。このとき、先行気筒から気筒管ガス通路を介して導かれるガスは高温であるために圧縮行程終期に圧縮自己着火可能な程度にまで燃焼室内の温度が上昇し、圧縮自己着火が行われる。圧縮自己着火により急速に燃焼が行われるため、効率よく燃焼が仕事に寄与することとなり、これとポンピングロス低減とで燃費が大幅に改善される。
【0009】
一方、従来から知られた燃費向上技術として、エンジン負荷が非常に小さい減速域では燃料供給を停止するものがある。このようにすると、エンジン出力が不要な場合に燃料を消費しないようにできるので、特に低負荷領域を多用する運転状態のときに燃費を向上させることができる。
【0010】
【特許文献1】
特開平10−274085号公報
【0011】
【発明が解決しようとする課題】
しかし、上記のような2気筒接続状態としつつ後続気筒で圧縮自己着火による燃焼をさせる技術と、減速域で燃料供給を停止する技術とを併用すると、燃料停止状態から、2気筒接続状態としつつ後続気筒で圧縮自己着火による燃焼を行わせる状態に移行する際、燃料復帰(燃料供給を再開すること)後の燃焼が不安定になり易い、という問題があった。これは、後続気筒で圧縮自己着火による燃焼を行うために筒内温度を充分高い状態に維持しておく必要があるにもかかわらず、燃料停止によって空気のみが筒内を通過する状態が続くことにより、後続気筒が冷却され、温度が低下してしまうことが主な原因である。
【0012】
本発明は、このような課題を考慮してなされたものであり、2気筒接続状態としつつ後続気筒で圧縮自己着火による燃焼をさせる技術と、減速域で燃料供給を停止する技術とを併用して、より高い燃費改善効果を得つつ、燃料復帰後の燃焼の安定性を高めることができる火花点火式エンジンの制御装置を提供するものである。
【0013】
【課題を解決するための手段】
請求項1の発明は、各気筒が所定の位相差をもって吸気、圧縮、膨張、排気の各行程からなるサイクルを行うようになっている多気筒の火花点火式エンジンにおいて、排気行程と吸気行程が重なる一対の気筒間において排気行程側の気筒である先行気筒から排出される既燃ガスがそのまま吸気行程側の気筒である後続気筒に気筒間ガス通路を介して導入され、この後続気筒から排出される排ガスが排気通路に導かれるような2気筒接続状態にガス流通経路が構成されるとともに、運転状態に応じ、少なくとも所定の低負荷低回転域では特殊運転モードが選択され、所定の減速域では燃料停止モードが選択されるように構成され、上記特殊運転モードでは、上記ガス流通経路を上記2気筒接続状態とするとともに、上記先行気筒に対しては理論空燃比よりも所定量大きいリーン空燃比とした状態で燃焼を行わせ、上記後続気筒に対しては上記先行気筒から導入されたリーン空燃比の既燃ガスに燃料を供給して所定の空燃比とした状態で燃焼を行わせ、上記特殊運転モードとされる場合の一部又は全部において、上記後続気筒で圧縮自己着火による燃焼を行わせ、上記燃料停止モードでは、各気筒への燃料供給を停止するものとし、上記燃料停止モードから、上記後続気筒で圧縮自己着火による燃焼を行わせる特殊運転モードに切換える際、その切換えを円滑にするように、少なくとも各気筒に対する燃焼状態を過渡的に制御する燃料復帰過渡モードを所定期間経由させるように構成し、上記燃料復帰過渡モードの少なくとも燃料復帰時を含む初期において、少なくとも上記先行気筒に対して略理論空燃比とした状態で強制点火による燃焼を行わせることを特徴とする火花点火式エンジンの制御装置である。
【0014】
この構成によると、少なくとも低負荷低回転域において、先行気筒では空気が過剰に存在するリーン空燃比で燃焼が行われ、このリーン燃焼によって熱効率が高められるとともにポンピングロスが低減され、大幅な燃費改善効果が得られる。また、後続気筒では、先行気筒から導入されたリーン空燃比の既燃ガスに追加燃料が供給されて燃焼が行われる。先行気筒から気筒間ガス通路を介して導入されるガスは高温であるために、追加燃料の気化が促進され、後続気筒での良好な燃焼を得ることができる。また、先行気筒ではリーン空燃比で燃焼が行われることによりNOx発生量が比較的少なく抑えられ、後続気筒では、先行気筒から既燃ガスが導入されることで多量のEGR(排気再循環)が行われているのと同等の状態となることからNOxの発生が充分に抑制され、排ガス浄化が促進される。更に後続気筒で圧縮自己着火を行う場合は、燃焼室全体に亘り一気に燃焼するので、仕事に寄与しない遅い燃焼が避けられ、高い燃費改善効果が得られる。また、所定の減速域では燃料の供給が停止されるので、エンジン出力が不要である場合に燃料を消費することがなく、燃費をより向上させることができる。以上の作用効果は、請求項5、10および11にも共通するものである。
【0015】
更に、燃料停止モードから、後続気筒で圧縮自己着火による燃焼を行わせる特殊運転モード(以下第1特殊運転モードという)に切換える際、燃料復帰過渡モードで少なくとも先行気筒で略理論空燃比とした状態で強制点火による燃焼を行わせる。このような燃焼はリーン空燃比での燃焼や圧縮自己着火による燃焼に比べて安定した燃焼が得られ易く、また理論空燃比付近での燃焼により、燃焼ガス温度を高くすることができる。従って、燃料停止モード中に各気筒内を通過する空気によって筒内温度が低下した場合でも、確実に失火を防止して安定した燃焼状態で燃料復帰させることができるとともに、先行気筒、後続気筒の双方を加熱できて、円滑に次の第1特殊運転モードに移行することができる。
【0016】
請求項2の発明は、請求項1記載の火花点火式エンジンの制御装置において、上記ガス流通経路が、各気筒にそれぞれ新気を導入する各気筒独立状態に切換え可能に構成され、運転状態に応じ、所定の高負荷ないし高回転の領域では、上記ガス流通経路を上記各気筒独立状態とするとともに、各気筒においてそれぞれ独立して略理論空燃比もしくはそれよりも小さな空燃比で燃焼を行わせる通常運転モードが選択されるように構成され、上記燃料停止モードの直前が上記通常運転モードであった場合、上記燃料復帰過渡モードの燃料復帰時を含む初期には上記ガス流通経路を上記各気筒独立状態とするとともに、各気筒において略理論空燃比とした状態で強制点火による燃焼を行わせ、後期には上記ガス流通経路を上記2気筒接続状態とするとともに、上記先行気筒に対してはリーン空燃比とした状態で強制点火による燃焼を行わせ、上記後続気筒に対しては上記先行気筒から導入されたリーン空燃比の既燃ガスに燃料を供給して実質的な理論空燃比とした状態で強制点火による燃焼を行わせることを特徴とする。
【0017】
このようにすると、通常運転モードから燃料停止モードに移行後、燃料復帰して第1特殊運転モードに移行する際、燃料復帰過渡モードで少なくとも2段階の状態を経ることになる。
【0018】
燃料復帰時を含む第1の段階は、ガス流通経路を各気筒独立状態とするとともに、各気筒において略理論空燃比とした状態で強制点火による燃焼を行わせるものである。このようにすれば、先行気筒のみならず後続気筒においても安定度の高い燃焼で燃料復帰させることができるので、一層確実な安定燃焼を得ることができるとともに、先行気筒、後続気筒ともに筒内を早期に加熱できて、第1特殊運転モードに移行するとともに後続気筒での圧縮自己着火が可能となる。
【0019】
なお、この第1の段階のガス流通経路は通常運転モードと同じ各気筒独立状態である。従って、燃料停止モード中に通常運転モードに相当する回転数から特殊運転モードに相当する回転数に低下しても、直ちにガス流通経路を2気筒接続状態に切換える必要がなく、各気筒独立状態のままにしておけば良い。そうすることで、たとえば燃料停止モード中、特殊運転モードに相当する低回転までエンジン回転が低下している運転状態から、急激に負荷を増大(アクセルを大きく踏み込む)させて通常運転モード領域で燃料復帰させるような場合には各気筒独立状態のままガス流通経路を切換えることなく燃料復帰させることができ、速やかに通常運転モードに移行することができる。
【0020】
燃料復帰モードの第2の段階は、ガス流通経路を2気筒接続状態に切換え、先行気筒に対してはリーン空燃比とした状態で強制点火による燃焼を行わせ、後続気筒に対しては先行気筒から導入されたリーン空燃比の既燃ガスに燃料を供給して実質的な理論空燃比とした状態で強制点火による燃焼を行わせる。ここで、実質的な理論空燃比とは、先行気筒から導入された既燃ガス中に含まれる酸素量と、後続気筒での燃焼のために追加供給される燃料の量とが理論空燃比に相当する関係にあることをいう。
【0021】
このような燃焼形態は、後続気筒で強制点火による燃焼を行わせる特殊運転モード(以下第2特殊運転モードという)と同等の制御によって得られ、後続気筒で強制点火による燃焼を行わせる点が第1特殊運転モードと異なっている。従って、第1の段階から直接第1特殊運転モードに移行するよりも、この第2段階を経由させて後続気筒で安定性の高い強制点火による燃焼を行わせてから第1特殊運転モードに移行した方が、より安定性が高く、円滑なモードの移行を図ることができる。
【0022】
また、燃料復帰モードで第1段階、第2段階と経由する間、燃焼によって後続気筒の筒内温度が上昇する。従って第1特殊運転モードに移行したときに圧縮自己着火による安定した燃焼を得ることができる。
【0023】
請求項3の発明は、請求項1または2記載の火花点火式エンジンの制御装置において、上記燃料停止モードの直前が上記特殊運転モードであった場合、上記燃料復帰過渡モード中は上記ガス流通経路を上記2気筒接続状態とするとともに、その燃料復帰過渡モードの少なくとも燃料復帰時を含む初期において、上記先行気筒に対して略理論空燃比とした状態で強制点火による燃焼を行わせることを特徴とする。
【0024】
このようにすると、燃料復帰過渡モードの少なくとも燃料復帰時を含む初期に、先行気筒に対して略理論空燃比とした状態で強制点火による燃焼を行わせるので、安定した燃焼で燃料復帰させることができるとともに、先行気筒、後続気筒ともに加熱することができる。
【0025】
また、特殊運転モードから燃料停止モード、燃料復帰過渡モードを経て第1特殊運転モードに移行する間、ガス流通経路が常時2気筒接続状態となるので、ガス流通経路の切換えに伴う応答遅れを伴うことなく、速やかに各モードの移行をなすことができる。
【0026】
なお、後続気筒では燃焼が行われないが、先行気筒では略理論空燃比での燃焼が行われるために、燃焼温度が高く、先行気筒から導入された高温の既燃ガスが通過することにより、筒内温度の上昇が図られる。
【0027】
請求項4の発明は、請求項3記載の火花点火式エンジンの制御装置において、上記燃料停止モードの直前が上記特殊運転モードであった場合、上記燃料復帰過渡モードの後期において、上記先行気筒に対しては空気過剰率が1よりも大きく2以下となるような空燃比とした状態で強制点火による均質燃焼を行わせるとともに、上記後続気筒に対しては上記先行気筒から導入されたリーン空燃比の既燃ガスに燃料を供給して実質的な理論空燃比とした状態で強制点火による燃焼を行わせ、その後、上記後続気筒で圧縮自己着火による燃焼を行わせる特殊運転モードに切換えるとともに上記先行気筒の空燃比をより大きく設定して強制点火による成層燃焼をさせることを特徴とする。
【0028】
このようにすると、燃料復帰過渡モードの初期には先行気筒に対して略理論空燃比とした状態で強制点火による燃焼を行わせて安定した燃料復帰とするとともに、後期には第2特殊運転モードと同等の制御を行うことにより、後続気筒の筒内温度を速やかに上昇させ、早期に圧縮自己着火による燃焼を行い易くすることができる。
【0029】
請求項5の発明は、各気筒が所定の位相差をもって吸気、圧縮、膨張、排気の各行程からなるサイクルを行うようになっている多気筒の火花点火式エンジンにおいて、排気行程と吸気行程が重なる一対の気筒間において排気行程側の気筒である先行気筒から排出される既燃ガスがそのまま吸気行程側の気筒である後続気筒に気筒間ガス通路を介して導入され、この後続気筒から排出される排ガスが排気通路に導かれるような2気筒接続状態にガス流通経路が構成されるとともに、運転状態に応じ、少なくとも所定の低負荷低回転域では特殊運転モードが選択され、所定の減速域では燃料停止モードが選択されるように構成され、上記特殊運転モードでは、上記ガス流通経路を上記2気筒接続状態とするとともに、上記先行気筒に対しては理論空燃比よりも所定量大きいリーン空燃比とした状態で燃焼を行わせ、上記後続気筒に対しては上記先行気筒から導入されたリーン空燃比の既燃ガスに燃料を供給して所定の空燃比とした状態で燃焼を行わせ、上記特殊運転モードとされる場合の一部又は全部において、上記後続気筒で圧縮自己着火による燃焼を行わせ、上記燃料停止モードでは、各気筒への燃料供給を停止するものとし、上記燃料停止モードから、上記後続気筒で圧縮自己着火による燃焼を行わせる特殊運転モードに切換える際、その切換えを円滑にするように、少なくとも各気筒に対する燃焼状態を過渡的に制御する燃料復帰過渡モードを所定期間経由させるように構成し、上記燃料復帰過渡モードでは、上記ガス流通経路を上記2気筒接続状態とするとともに、上記先行気筒に対してはリーン空燃比とした状態で強制点火による燃焼を行わせ、上記後続気筒に対しては上記先行気筒から導入されたリーン空燃比の既燃ガスに燃料を供給して実質的な理論空燃比とした状態で強制点火による燃焼を行わせるとともに、燃料復帰後は上記後続気筒での燃焼を行うための燃料噴射時期を、燃料の活性化が促進されるように進角補正することを特徴とする火花点火式エンジンの制御装置である。
【0030】
請求項6の発明は、請求項5記載の火花点火式エンジンの制御装置において、上記進角補正は、上記後続気筒での燃焼を行うための燃料噴射を上記先行気筒内で行うとともに、その燃料噴射時期が上記先行気筒の膨張行程ないし排気行程の間とすることによりなされることを特徴とする。
【0031】
これらのようにすると、上記の請求項1、5、10および11に共通する作用効果が得られるとともに、燃料復帰過渡モードにおいて2気筒接続状態とするとともに、燃料復帰時から後続気筒でも燃焼を行わせるので、後続気筒の筒内温度をより速やかに上昇させることができ、早期に圧縮自己着火による燃焼を行い易くすることができる。また燃料復帰後は、後続気筒での燃焼を行うための燃料噴射時期を進角補正(通常の特殊運転モードの場合に比べ早期化する)して燃料の活性化を促進するので、より安定化した後続気筒での燃焼を得ることができる。
【0032】
特に、後続気筒での燃焼を行うための燃料噴射を先行気筒内で行うと、その燃料は先行気筒から排出される高温の既燃ガスと混合して後続気筒に導かれるため、活性化が促進される。そして、その噴射時期を先行気筒の膨張行程ないし排気行程の間(後続気筒では前サイクルの排気行程から当該サイクルの吸気行程の間に相当する)とすれば、後続気筒での点火時期までの間に、燃料活性化の時間を充分確保することができる。
【0033】
請求項7の発明は、請求項5記載の火花点火式エンジンの制御装置において、上記進角補正は、上記後続気筒での燃焼を行うための燃料が少なくとも2以上に分割されて噴射され、少なくとも1の燃料噴射を上記先行気筒内で行うとともに、その燃料噴射時期が上記先行気筒の膨張行程ないし排気行程の間に設定され、少なくとも1の燃料噴射を上記後続気筒内で行うことによりなされることを特徴とする。
【0034】
このようにすると、後続気筒での点火時に、点火プラグの周辺に2種類の燃料状態を形成することができる。1つは先行気筒内で噴射され、均一に混合され、活性化された混合気であり、もう1つは、後続気筒内で噴射され、点火プラグ周辺を中心に偏在する燃料である。点火プラグ周辺に偏在する比較的高濃度の燃料によって後続気筒での着火性をより高めることができるとともに、均一に活性化された混合気によって燃焼の安定化をもはかることができる。
【0035】
請求項8の発明は、請求項1乃至7のいずれか1項に記載の火花点火式エンジンの制御装置において、上記燃料復帰過渡モードの期間は、上記燃料停止モードの期間が長いほど、またはエンジン温度が低いほど長くなるように設定されることを特徴とする。
【0036】
このようにすると、燃料停止モードの期間が長く、筒内温度の低下の程度が大きい場合には燃料復帰過渡モードの期間を長くして、筒内温度が充分上昇してから第1特殊運転モードに移行させることができる一方、燃料停止モードの期間が短く、筒内温度の低下の程度が小さい場合には燃料復帰過渡モードの期間を短くして、速やかに第1特殊運転モードに移行させることができる。即ち、燃料復帰過渡モードの期間を必要最小限に設定することができ、燃費改善効果を一層高めることができる。
【0037】
なお、ここでいう期間とは、時間であっても良いが、その他に時間の代用特性となるもの、例えばサイクル(1サイクルは吸気、圧縮、膨張および排気の4行程からなる)の経過量や回転数の減少量などとしても良い。
【0038】
請求項9の発明は、請求項1乃至8のいずれか1項に記載の火花点火式エンジンの制御装置において、上記燃料停止モード中、エンジン回転数が所定の燃料復帰回転数以下となったときには、燃料の供給を再開させて上記燃料停止モードを脱するように構成され、上記燃料復帰回転数は、上記燃料停止モードの直前が上記通常運転モードであった場合よりも上記特殊運転モードであった場合の方が高い値になるように設定されることを特徴とする。
【0039】
このようにすると、燃料復帰回転数を、燃料停止モード前のモードに応じて必要最小限に設定することができる。燃料復帰回転数は、燃料停止モード中にその回転数以下になった場合、エンジン停止を防止するために燃料の供給を再開すべき回転数として設定される。従って、燃料復帰回転数が低いほど燃料停止期間が長くなる傾向にあり、燃費改善効果が大きくなる一方、エンジン停止に対する余裕度は小さくなる。即ち、燃料復帰回転数は、エンジン停止に対する余裕度を確保できる最小限の回転数とすることが望ましい。燃料停止モード前のモードが特殊運転モードであった場合の方が、通常運転モードであった場合よりも相対的に筒内温度が低いため、低回転時のエンジン停止に対する余裕度が小さい。そこで、そのような場合に燃料復帰回転数を高めに設定することによりエンジン停止に対する余裕度を充分確保するとともに、燃料停止モード前のモードが通常運転モードであった場合には燃料復帰回転数を低めに設定することにより燃料停止による燃費改善効果を高めることができる。
【0040】
請求項10の発明は、各気筒が所定の位相差をもって吸気、圧縮、膨張、排気の各行程からなるサイクルを行うようになっている多気筒の火花点火式エンジンにおいて、排気行程と吸気行程が重なる一対の気筒間において排気行程側の気筒である先行気筒から排出される既燃ガスがそのまま吸気行程側の気筒である後続気筒に気筒間ガス通路を介して導入され、この後続気筒から排出される排ガスが排気通路に導かれるような2気筒接続状態と、各気筒にそれぞれ新気を導入する各気筒独立状態とにガス流通経路が切換えられるように構成され、運転状態に応じ、所定の低負荷低回転域では特殊運転モードが選択され、所定の高負荷ないし高回転の領域では通常運転モードが選択され、所定の減速域では燃料停止モードが選択されるように構成され、上記特殊運転モードでは、上記ガス流通経路を上記2気筒接続状態とするとともに、上記先行気筒に対しては理論空燃比よりも所定量大きいリーン空燃比とした状態で燃焼を行わせ、上記後続気筒に対しては上記先行気筒から導入されたリーン空燃比の既燃ガスに燃料を供給して所定の空燃比とした状態で燃焼を行わせ、上記通常運転モードでは、上記ガス流通経路を上記各気筒独立状態とするとともに、各気筒においてそれぞれ独立して理論空燃比もしくは理論空燃比よりも小さな空燃比で燃焼を行わせ、上記燃料停止モードでは各気筒への燃料供給を停止するとともに、その燃料停止モード中、エンジン回転数が所定の燃料復帰回転数以下となったときには、燃料の供給を再開させて上記燃料停止モードを脱するように構成され、上記燃料復帰回転数は、燃料復帰時の上記ガス流通経路が、上記各気筒独立状態である場合よりも上記2気筒接続状態である場合の方が高い値になるように設定されることを特徴とする火花点火式エンジンの制御装置である。
【0041】
このようにすると、上記の請求項1、5、10および11に共通する作用効果が得られるとともに、燃料復帰時のガス流通経路が2気筒接続状態となる場合には比較的高いエンジン回転数で燃料復帰させることによりエンジン停止に対する余裕度を充分確保するとともに、各気筒独立状態となる場合には比較的低いエンジン回転数で燃料復帰させることにより燃料停止の期間を増大させ、燃費改善効果を高めることができる。
【0042】
請求項11の発明は、各気筒が所定の位相差をもって吸気、圧縮、膨張、排気の各行程からなるサイクルを行うようになっている多気筒の火花点火式エンジンにおいて、排気行程と吸気行程が重なる一対の気筒間において排気行程側の気筒である先行気筒から排出される既燃ガスがそのまま吸気行程側の気筒である後続気筒に気筒間ガス通路を介して導入され、この後続気筒から排出される排ガスが排気通路に導かれるような2気筒接続状態と、各気筒にそれぞれ新気を導入する各気筒独立状態とにガス流通経路が切換えられるように構成され、運転状態に応じ、所定の低負荷低回転域では特殊運転モードが選択され、所定の高負荷ないし高回転の領域では通常運転モードが選択され、所定の減速域では燃料停止モードが選択されるように構成され、上記特殊運転モードでは、上記ガス流通経路を上記2気筒接続状態とするとともに、上記先行気筒に対しては理論空燃比よりも所定量大きいリーン空燃比とした状態で燃焼を行わせ、上記後続気筒に対しては上記先行気筒から導入されたリーン空燃比の既燃ガスに燃料を供給して所定の空燃比とした状態で燃焼を行わせ、上記通常運転モードでは、上記ガス流通経路を上記各気筒独立状態とするとともに、各気筒においてそれぞれ独立して理論空燃比もしくは理論空燃比よりも小さな空燃比で燃焼を行わせ、上記燃料停止モードでは各気筒への燃料供給を停止するものとし、上記後続気筒の筒内温度予測手段を備え、上記特殊運転モードから上記燃料停止モードに移行した場合において、その燃料停止モード中に上記後続気筒の筒内温度予測手段による予測値が所定温度より低いとき、上記ガス流通経路を上記各気筒独立状態に切換えることを特徴とする火花点火式エンジンの制御装置である。
【0043】
このようにすると、上記の請求項1、5、10および11に共通する作用効果が得られるとともに、燃料停止モード中の後続気筒の筒内温度が低い場合には、燃料復帰後、燃料復帰過渡モードで速やかに通常運転モードと同等の制御を行うことができ、安定した燃料復帰を行うことができる。即ち、燃料停止モードの前が特殊運転モードであったとしても、燃料停止モード中に後続気筒の筒内温度を予測し、その予測値が所定温度以下であった場合には予めガス流通経路を各気筒独立状態に切換えておき、燃料復帰後は速やかに(あらためてガス流通経路を切換えることなく)通常運転モードと同等の制御(各気筒で理論空燃比での燃焼を行う)で燃料復帰させることができ、安定した燃焼状態を得ることができる。
【0044】
なお、上記各請求項に示す特殊運転モード、通常運転モード、燃料停止モードおよび燃料復帰過渡モードという運転モードは、必ずしも外形的にそのモードの制御と判別し得る(例えばサブルーチンといった形で)もののみを指すものではなく、ガス流通経路、燃料噴射制御(量や時期)、点火時期制御などを総合した実質的な制御が上記各モードにおける制御と同等であるものをも包含している。
【0045】
【発明の実施の形態】
以下、図面に基づいて本発明の実施の形態を説明する。
【0046】
図1は本発明の一実施形態によるエンジンの概略構成を示し、図2はエンジン本体1の一つの気筒とそれに対して設けられた吸・排気弁等の構造を概略的に示している。これらの図において、エンジン本体1は複数の気筒を有し、図示の実施形態では4つの気筒2A〜2Dを有している。各気筒2A〜2Dにはピストン3が嵌挿され、ピストン3の上方に燃焼室4が形成されている。
【0047】
各気筒2A〜2Dの燃焼室4の頂部には点火プラグ7が装備され、そのプラグ先端が燃焼室4内に臨んでいる。この点火プラグ7には、電子制御による点火時期のコントロールが可能な点火回路8が接続されている。
【0048】
燃焼室4の側方部には、燃焼室4内に燃料を直接噴射する燃料噴射弁9が設けられている。この燃料噴射弁9は、図略のニードル弁及びソレノイドを内蔵し、パルス信号が入力されることにより、そのパルス入力時期にパルス幅に対応する時間だけ駆動されて開弁し、その開弁時間に応じた量の燃料を噴射するように構成されている。なお、この燃料噴射弁9には、図外の燃料ポンプにより燃料供給通路等を介して燃料が供給され、かつ、圧縮行程での燃焼室内の圧力よりも高い燃料圧力を与え得るように燃料供給系統が構成されている。
【0049】
また、各気筒2A〜2Dの燃焼室4に対して吸気ポート11、11a,11b及び排気ポート12、12a,12bが開口し、これらのポートに吸気通路15、排気通路20等が接続されるとともに、各ポートが吸気弁31、31a,31b及び排気弁32、32a,32bにより開閉されるようになっている。
【0050】
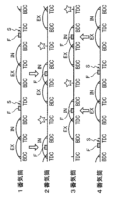
そして、各気筒が所定の位相差をもって吸気、圧縮、膨張、排気の各行程からなるサイクルを行うようになっており、4気筒エンジンの場合、気筒列方向一端側から1番気筒2A、2番気筒2B、3番気筒2C、4番気筒2Dと呼ぶと、図6に示すように上記サイクルが1番気筒2A、3番気筒2C、4番気筒2D、2番気筒2Bの順にクランク角で180°ずつの位相差をもって行われるようになっている。なお、図6において、EXは排気行程、INは吸気行程であり、また、Fは燃料噴射、Sは強制点火を表し、図中の星マークは圧縮自己着火(条件によっては強制点火)が行われることを表している。
【0051】
排気行程と吸気行程が重なる一対の気筒間には、排気行程と吸気行程が重なるときの排気行程側の気筒(当明細書ではこれを先行気筒と呼ぶ)から吸気行程側の気筒(当明細書ではこれを後続気筒と呼ぶ)へ既燃ガスをそのまま導くことができるように、気筒間ガス通路22が設けられている。当実施形態の4気筒エンジンでは、図6に示すように1番気筒2Aの排気行程(EX)と2番気筒2Bの吸気行程(IN)とが重なり、また4番気筒2Dの排気行程(EX)と3番気筒2Cの吸気行程(IN)が重なるので、1番気筒2Aと2番気筒2B、及び、4番気筒2Dと3番気筒2Cがそれぞれ一対をなし、1番気筒2A及び4番気筒2Dが先行気筒、2番気筒2B及び3番気筒2Cが後続気筒となる。
【0052】
各気筒の吸・排気ポートとこれに接続される吸気通路、排気通路及び気筒間ガス通路は、具体的には次のように構成されている。
【0053】
先行気筒である1番気筒2A及び4番気筒2Dには、それぞれ、新気を導入するための吸気ポート11と、既燃ガス(排気ガス)を排気通路に送り出すための第1排気ポート12aと、既燃ガスを後続気筒に導出するための第2排気ポート12bとが配設されている。また、後続気筒である2番気筒2B及び3番気筒2Cには、それぞれ、新気を導入するための第1吸気ポート11aと、先行気筒からの既燃ガスを導入するための第2吸気ポート11bと、既燃ガスを排気通路に送り出すための排気ポート32とが配設されている。
【0054】
図1に示す例では、1番,4番気筒2A,2Dにおける吸気ポート11および2番,3番気筒2B,2Cにおける第1吸気ポート11aが、1気筒当り2個ずつ、燃焼室の左半部側に並列的に設けられる一方、1番,4番気筒2A,2Dにおける第1排気ポート12a及び第2排気ポート12bならびに2番,3番気筒2B,2Cにおける第2吸気ポート11b及び排気ポート12が、燃焼室の右半部側に並列的に設けられている。
【0055】
1番,4番気筒2A,2Dにおける吸気ポート11および2番,3番気筒2B,2Cにおける第1吸気ポート11aには、吸気通路15における気筒別の分岐吸気通路16の下流端が接続されている。各分岐吸気通路16の下流端近傍には、共通の軸を介して互いに連動する多連スロットル弁17が設けられており、この多連スロットル弁17は制御信号に応じてアクチュエータ18により駆動され、吸入空気量を調節するようになっている。
【0056】
吸気通路15における集合部より上流の共通吸気通路には吸気流量を検出するエアフローセンサ19および吸気温を測定する吸気温センサ27が設けられている。エアフローセンサ19は、吸気流量を検出するだけでなく、吸気の脈動を検知することによりガス流通経路状態を検出することができる。即ち、各気筒独立状態のときには180°CA(クランク角)周期で吸気脈動が起こるのに対し、2気筒接続状態のときには、360°CA周期で吸気脈動が起こるので、その差異によってガス流通経路状態を検出する。2気筒接続状態のときに吸気脈動が360°CA周期となるのは、後続気筒2B,2Cへの吸気が、吸気通路15からではなく気筒間ガス通路22からなされるためである。
【0057】
1番,4番気筒2A,2Dにおける第1排気ポート12aおよび2番,3番気筒2B,2Cにおける排気ポート12には、排気通路20における気筒別の分岐排気通路21の上流端が接続されている。また、1番気筒2Aと2番気筒2Bとの間及び3番気筒2Cと4番気筒2Dとの間にそれぞれ気筒間ガス通路22が設けられ、先行気筒である1番,4番気筒2A,2Dの第2排気ポート12bに気筒間ガス通路22の上流端が接続されるとともに、後続気筒である2番,3番気筒2B,2Cの第2吸気ポート11bに気筒間ガス通路22の下流端が接続されている。
【0058】
上記気筒間ガス通路22は、互いに隣接する気筒間を接続する比較的短い通路であり、ウォータージャケット26に覆設されている。ウォータージャケット26は、その内部に気筒間ガス通路22を取り囲むような冷却水通路52(図3参照)を備える。そして先行気筒から排出される既燃ガスがこの気筒間ガス通路22を通る際、放熱を抑制する場合は冷却水を停止し、放熱を促進する場合は冷却水を循環させるようになっている。なお、冷却水通路52には、冷却水を循環させるための冷却用ポンプ50およびそれを駆動する冷却用ポンプ駆動モータ51が設けられるとともに、冷却水の温度を測定するためのガス通路冷却水温センサ57が設けられている(図3参照)。
【0059】
また、気筒間ガス通路22には、酸素濃度に応じて出力がリニアに変化するリニアO2センサ25が設けられており、その出力に応じ、所定のリーン空燃比とされる先行気筒2A,2Dに対する燃料噴射量がフィードバック制御される。
【0060】
排気通路20における分岐排気通路21の下流の集合部には排気ガス中の酸素濃度を検出することにより空燃比を検出するO2センサ23が設けられている。O2センサ23は、理論空燃比付近で出力が急変するλO2センサであり、このO2センサ23の出力に基いて後続気筒2B,2C(各気筒独立状態のときは気筒2A,2Dを含む)に対する燃料噴射量がフィードバック制御される。さらにO2センサ23の下流の排気通路20には排気浄化用の三元触媒24が設けられている。この三元触媒24は、一般に知られているように、排気ガスの空燃比が理論空燃比(つまり空気過剰率λがλ=1)付近にあるときにHC,CO及びNOxに対して高い浄化性能を示す触媒である。
【0061】
各気筒の吸・排気ポートを開閉する吸・排気弁とこれらに対する動弁機構は、次のようになっている。
【0062】
1番,4番気筒2A,2Dにおける吸気ポート11、第1排気ポート12a及び第2排気ポート12bにはそれぞれ吸気弁31、第1排気弁32a及び第2排気弁32bが設けられ、また、2番,3番気筒2B,2Cにおける第1吸気ポート11a、第2吸気ポート11b及び排気ポート12にはそれぞれ第1吸気弁31a、第2吸気弁31b及び排気弁32が設けられている。そして、各気筒の吸気行程や排気行程が上述のような所定の位相差をもって行われるように、これら吸・排気弁がそれぞれカムシャフト33,34等からなる動弁機構により所定のタイミングで開閉するように駆動される。
【0063】
さらに、これらの吸・排気弁のうちで第1排気弁32a、第2排気弁32b、第1吸気弁31a及び第2吸気弁31bに対しては、各弁を作動状態と停止状態とに切換える弁停止機構35が設けられている。この弁停止機構35は、従来から知られているため詳しい図示は省略するが、例えば、カムシャフト33,34のカムと弁軸との間に介装されたタペットに作動油の給排が可能な油圧室が設けられ、この油圧室に作動油が供給されている状態ではカムの作動が弁に伝えられて弁が開閉作動され、油圧室から作動油が排出されたときにはカムの作動が弁に伝えられなくなることで弁が停止されるようになっている。
【0064】
上記第1排気弁32aの弁停止機構35と第1吸気弁31aの弁停止機構35とに対する作動油給排用の通路36には第1コントロール弁37が、また第2排気弁32bの弁停止機構35と第2吸気弁31bの弁停止機構35とに対する作動油給排用の通路38には第2コントロール弁39がそれぞれ設けられている(図3参照)。
【0065】
図3は駆動、制御系統の構成を示している。この図において、マイクロコンピュータ等からなるエンジン制御用のECU(コントロールユニット)40には、エアフローセンサ19、O2センサ23、リニアO2センサ25および吸気温センサ27からの信号が入力され、運転状態を判別するためにエンジン回転数を検出する回転数センサ47、アクセル開度(アクセルペダル踏込み量)を検出するアクセル開度センサ48および車速センサ55等からの信号が入力され、更に各冷却水の温度を検知するためにエンジン冷却水温センサ56やガス通路冷却水温センサ57からの信号が入力されている。このECU40から、各燃料噴射弁9と、多連スロットル弁17のアクチュエータ18と、上記第1,第2のコントロール弁37,39と、冷却用ポンプ駆動モータ51とに対して制御信号が出力されている。
【0066】
上記ECU40は、少なくとも低負荷低回転域で、ガス流通経路を2気筒接続状態(図7参照)としつつ燃焼を行わせる特殊運転モードに制御する制御手段を構成するものであって、運転状態判別手段41、弁停止機構制御手段42、吸入空気量制御手段43、燃焼制御手段44、ガス通路冷却制御手段49及び筒内温度状態推測手段53を備えている。
【0067】
運転状態判別手段41は、上記回転数センサ45及びアクセル開度センサ46等からの信号によりエンジンの運転状態(エンジン回転数及びエンジン負荷)を調べ、運転状態が図4(a)に示すような低負荷低回転側の運転領域A、高負荷側ないし高回転側の運転領域B、減速域の運転領域Cのいずれの領域にあるかを判別する。
【0068】
各運転領域、または運転領域の移行状態によって、特殊運転モード、通常運転モード、燃料停止モード、燃料復帰過渡モードの何れかの運転モードが選択される。各運転モードについては後述する。
【0069】
弁停止機構制御手段42は、ガス流通経路(2気筒接続状態か各気筒独立状態か)に応じて、上記各コントロール弁37,39を制御することにより、各弁停止機構35を次のように制御する。
【0070】
【0071】
吸入空気量制御手段43は、アクチュエータ18を制御することによりスロットル弁17の開度(スロットル開度)を制御するものであり、運転状態に応じてマップ等から目標吸入空気量を求め、その目標吸入空気量に応じてスロットル開度を制御する。ここで、2気筒接続状態として先行気筒2A,2Dおよび後続気筒2B,2Cで燃焼を行わせる時は、先行気筒2A,2Dに供給された空気で、先行気筒2A,2Dおよび後続気筒2B,2Cに供給された燃料を燃焼し得るようにスロットル開度が調節される。
【0072】
燃焼制御手段44は、燃料噴射制御手段45と点火制御手段46とからなっており、燃料噴射制御手段45により、各気筒2A〜2Dに設けられた燃料噴射弁9からの燃料噴射量や噴射タイミング、或いは燃料供給の停止や復帰をエンジンの運転状態に応じて制御するとともに、点火制御手段46により運転状態に応じた点火時期の制御及び点火停止等の制御を行う。従って、各気筒における空燃比も燃焼制御手段44によって設定される。
【0073】
ガス通路冷却制御手段49は、2気筒接続状態にあるとき、気筒間ガス通路22内を流れる既燃ガス温度の制御を行う。ガス通路冷却制御手段49は、筒内温度状態推測手段53による後続気筒の混合気温度の推定値(詳細は後述する)に基き、その混合気温度が所定値以上であるとき、冷却用ポンプ駆動モータ51を作動させる。その冷却用ポンプ駆動モータ51に駆動される冷却用ポンプ50によって冷却水が冷却水通路52内を循環し、ウォータージャケット26内の気筒間ガス通路22を冷却する。このため、先行気筒2A,2Dから気筒間ガス通路22を経由して後続気筒2B,2Cに導かれる既燃ガスの温度が降下するので、後続気筒2B,2Cの筒内温度が圧縮自己着火に適した温度に維持される。
【0074】
筒内温度状態推測手段53は、特殊運転モード中の後続気筒の筒内温度状態を推測し、燃焼直前の混合気温度を推定する。その推定値に基いて、弁停止機構制御手段42ではガス流通経路の切換えを行い、燃焼制御手段44では先行気筒の空燃比の補正を行い、ガス通路冷却制御手段49では冷却用ポンプ駆動モータ51のON/OFFを切換える。
【0075】
図5は、筒内温度状態推測手段53による2気筒接続状態の際の後続気筒2B,2Cの筒内温度推測手順の主要ブロック図である。図5は、縦3列の構成になっているが、左列のP10〜P26は、ECU40に入力される各種センサからの信号やECU40内部のパラメータにより、直接あるいは簡単な演算で得られる入力パラメータである。中央列の既燃ガス流量P30は、演算過程で得られる中間パラメータである。右列の先行気筒既燃ガス温度P40、気筒間ガス通路内の既燃ガス温度P50は主要な演算結果であり、後続気筒の燃焼直前の混合気温度P60は、最終的な演算結果である。このように筒内温度状態推測手段53は、各入力パラメータから先行気筒既燃ガス温度P40、気筒間ガス通路内の既燃ガス温度P50を順に求めて行き、最終的に後続気筒の燃焼直前の混合気温度P60を求めるようになっている。
【0076】
先行気筒既燃ガス温度P40を求める過程を先行気筒演算部、気筒間ガス通路内の既燃ガス温度P50を求める過程を気筒間ガス通路演算部、そして後続気筒の燃焼直前の混合気温度P60を求める過程を後続気筒演算部として、次にこれらについて説明する。
【0077】
最初の先行気筒演算部では、先行気筒空燃比P10、点火時期P12、エンジン冷却水温P14、吸気温度P16、エンジン回転数P18および空気充填量P20によって先行気筒既燃ガス温度P40が求められる。先行気筒空燃比P10は、エアフローセンサ19による吸入空気量と、燃料噴射制御手段45による燃料噴射量から求められるパラメータであり、リニアO2センサ25でフィードバック制御される。点火時期P12は、燃料噴射制御手段45により決定されるパラメータである。エンジン冷却水温P14、吸気温度P16、エンジン回転数P18および空気充填量P20は、それぞれエンジン冷却水温センサ56、吸気温センサ27、回転数センサ47およびエアフローセンサ19により得られるパラメータである。
【0078】
次の気筒間ガス通路演算部では、先行気筒演算部で得られた先行気筒既燃ガス温度P40と、吸気温度P16、車速P22、ガス通路冷却水温P24および既燃ガス流量P30とから、気筒間ガス通路内の既燃ガス温度P50が求められる。車速P22およびガス通路冷却水温P24は、車速センサ55およびガス通路冷却水温センサ57から得られるパラメータである。既燃ガス流量P30は、エンジン回転数P18と空気充填量P20とにより算出される中間パラメータである。
【0079】
最後の後続気筒演算部では、気筒間ガス通路内の既燃ガス温度P50と、エンジン回転数P18、空気充填量P20、既燃ガス流量P30および後続気筒空燃比P26とから、後続気筒の燃焼直前の混合気温度P60が求められる。後続気筒空燃比P26は、先行気筒空燃比P10と燃料噴射制御手段45による燃料噴射量から求められるパラメータであり、O2センサ23でフィードバック制御される。
【0080】
次に、当実施形態での運転領域と運転運転モードについて説明する。図4(a)は、エンジン本体1の運転領域を示す説明図であり、横軸にエンジン回転数、縦軸にエンジン負荷を示す。
【0081】
低負荷低回転域の運転領域Aでは、エンジンが未暖気である場合等を除き、原則として特殊運転モードが選択される。特殊運転モードでは、ガス流通経路を2気筒接続状態(気筒間ガス通路22を開通させて、先行気筒2A,2Dから排出される既燃ガスをそのまま後続気筒2B,2Cに導入し、この後続気筒2B,2Cから排出される排ガスが排気通路に導かれる状態)とするとともに、先行気筒2A,2Dに対しては理論空燃比よりも所定量大きいリーン空燃比とした状態で燃焼を行わせ、後続気筒2B,2Cに対しては先行気筒2A,2Dから導入されたリーン空燃比の既燃ガスに燃料を供給して所定の空燃比とした状態で燃焼を行わせる。当実施形態では、特殊運転モードにおける後続気筒2B,2Cの空燃比を、実質的な理論空燃比としている。ここで実質的な理論空燃比とは、先行気筒2A,2Dから導入された既燃ガス中に含まれる酸素量と、後続気筒2B,2Cでの燃焼のために追加供給される燃料の量とが理論空燃比(空気過剰率λ=1)に相当する関係にあることをいう。このようにすると、排気通路20に三元触媒24のみを設けるだけで充分に排気浄化がなされるので、別途排気浄化手段を設ける必要が無く、コストを低減することができる。
【0082】
更に特殊運転モードは、第1特殊運転モードと第2特殊運転モードとに細別される。第1特殊運転モードは、運転領域Aの全域において優先的に選択されるモードで、後続気筒2B,2Cで圧縮自己着火による燃焼を行わせる。圧縮自己着火を行うためには、圧縮行程後期に筒内温度が高温になっている必要があるが、後続気筒2B,2Cには先行気筒2A,2Dから高温の既燃ガスが導入されるので、外気を導入する従来のエンジンに対し圧縮行程後期の筒内温度を格段に上昇させる事が出来、圧縮自己着火を可能にしている。
【0083】
第2特殊運転モードは、運転領域Aの全域において予備的に選択されるモードで、後続気筒2B,2Cで強制点火による燃焼を行わせる。エンジン本体1の運転状態や外気温等の影響で、常に運転領域Aにおいて後続気筒2B,2Cでの圧縮自己着火による燃焼が安定して行い得るとは限らない。そのようなときは第2特殊運転モードを選択し、強制点火により確実に着火させ、安定した燃焼を行わせるようにしている。
【0084】
当実施形態では、原則として運転領域Aの全域で第1特殊運転モードとなるように設定しているが、運転領域Aを更に分割し、比較的低負荷低回転の領域を第2特殊運転モード、比較的高負荷高回転の領域を第1特殊運転モードとなるように設定しても良い。
【0085】
また、当実施形態では特殊運転モード中の先行気筒2A,2Dでは、強制点火による燃焼を行わせるようにしているが、先行気筒2A,2Dの筒内温度を上昇させる手段(たとえば内部RGRを増大させる等)を用いて、先行気筒2A,2Dでも圧縮自己着火を行わせるようにしても良い。
【0086】
運転領域Aよりも高負荷ないし高回転の運転領域Bでは、通常運転モードが選択される。通常運転モードでは、従来の一般的なエンジンと同様に、ガス流通経路を各気筒独立状態とするとともに各気筒2A〜2Dで、それぞれ独立して略理論空燃比もしくはそれよりも小さな空燃比で燃焼を行わせる。
【0087】
運転者がアクセル開度を全閉、または略全閉とするような減速域では、燃料停止モードが選択される。燃料停止モードでは、各気筒2A〜2Dへの燃料供給が停止される。従って、エンジン本体1はタイヤ側から逆駆動されることになり、その負荷は逆駆動負荷特性で示される負値となる。その際、車両としてはエンジンブレーキの効いた状態となる。図4(a)に示す運転領域Cは、そのような逆駆動負荷特性を示す線上の領域である。即ち、当実施形態では運転領域Cにおいて燃料停止モードが選択される。なお、逆駆動負荷特性は、ガス流通経路その他の条件により変化するが、ここでは代表的に1本の特性で示している。
【0088】
また、燃料停止モード中、エンジン回転数が燃料復帰回転数r6より低下すると、エンジン停止を防止するために燃料供給を再開(燃料復帰)し、特殊運転モードに移行するように設定されている。
【0089】
以上のような当実施形態の装置の作用を、図4〜図12を参照しつつ説明する。特殊運転モードでは前述のように第1排気弁32a及び第1吸気弁31aが停止状態、第2排気弁32b及び第2吸気弁31bが作動状態とされることにより、実質的な新気及びガスの流通経路は図7に示すようになり、先行気筒(1番,4番気筒)2A,2Dから排出される既燃ガスがそのまま気筒間ガス通路22を介して後続気筒(2番,3番気筒)2B,2Cに導入されるとともに、この後続気筒2B,2Cから排出されるガスのみが排気通路20に導かれるような2気筒接続状態とされる。
【0090】
この状態において、先行気筒2A,2Dにそれぞれ吸気行程で吸気通路15から新気が導入され(図7中の矢印a)、先行気筒2A,2DではリニアO2センサ25により検出される空燃比が理論空燃比の略2倍ないしそれ以上の超リーン空燃比となるように燃料噴射量がフィードバック制御されつつ圧縮行程で燃料が噴射され、かつ、所定点火時期に点火が行われて、超リーン空燃比での成層燃焼が行われる(図6参照)。
【0091】
その後、先行気筒2A,2Dの吸気行程と後続気筒2B,2Cの排気行程が重なる期間に、先行気筒2A,2Dから排出された既燃ガスがガス通路22を通って後続気筒2B,2Cに導入される(図6中の白抜き矢印及び図7中の矢印b)。そして、後続気筒2B,2Cでは、先行気筒2A,2Dから導入されたリーン空燃比の既燃ガスに燃料が供給されて、実質的に理論空燃比となるように燃料噴射量が制御されつつ、吸気行程で燃料が噴射される。このとき、第1特殊運転モードでは後続気筒2B,2Cにおいて点火プラグ7での強制点火が停止され、圧縮行程の上死点付近で燃焼室内の圧力、温度の上昇により圧縮自己着火が行われ、第2特殊運転モードでは、後続気筒2B,2Cにおいて点火プラグ7での強制点火による燃焼が行われる。
【0092】
こうして第1特殊運転モードでは、後続気筒2B,2Cで、多量のEGRガス相当の既燃ガス成分を含み、かつ、空燃比がリーンであるという条件下でも、圧縮自己着火により燃焼が急速に行われ、これにより熱効率が大幅に向上されることとなる。
【0093】
また、筒内温度状態推測手段53によって後続気筒の燃焼直前の混合気温度Tの推定がなされ、その温度が所定値T1より低くなったときには第2特殊運転モードに切換える(図9のステップS17参照)。即ち、後続気筒2B,2Cの筒内温度が安定して圧縮自己着火を行い得るほど上昇していないときは、強制点火による燃焼を行う。逆に、後続気筒2B,2Cの筒内温度が上昇しすぎ、ノッキング等の懸念が生じた場合には、冷却用ポンプ駆動モータ51によって冷却用ポンプ50を作動させ、ウォータージャケット26内の気筒間ガス通路22を冷却する。これによって先行気筒2A,2Dから後続気筒2B,2Cに導かれる既燃ガスが冷却され、後続気筒2B,2Cの筒内温度上昇が抑制されるので、第1特殊運転モードを継続することができる。
【0094】
つまり、先行気筒2A,2Dでは超リーンでの成層燃焼により熱効率が高められるとともにポンピングロスが低減され、一方、後続気筒2B,2Cでは、先行気筒2A,2Dと同様にポンピングロス低減効果が得られるとともに、圧縮自己着火による燃焼を行う場合には、均一な混合気分布状態で圧縮自己着火が行われることにより熱効率が高められるとともに、これらの作用により、燃費が大幅に改善されることとなる。
【0095】
また、先行気筒2A,2Dでは理論空燃比の略2倍もしくはそれ以上のリーン空燃比とされることでNOx発生量が比較的少なく抑えられ、後続気筒2B,2Cでは、先行気筒2A,2Dから既燃ガスが導入されることで多量のEGRが行われているのと同等の状態となることからNOxの発生が充分に抑制される。このような点からもエミッションの向上に有利となる。
【0096】
一方、通常運転モードでは前述のように第1排気弁32a及び第1吸気弁31aが作動状態、第2排気弁32b及び第2吸気弁31bが停止状態とされることにより、実質的な新気及びガスの流通経路は図8に示すようになり、実質的に各気筒2A〜2Dの吸気ポート31,31a及び排気ポート12a,12が独立し、吸気通路15から各気筒2A〜2Dの吸気ポート31,31aに新気が導入されるとともに各気筒2A〜2Dの排気ポート31,31aから排気通路20に既燃ガスが排出される。そしてこの場合は、理論空燃比もしくはそれよりリッチとなるように吸入空気量及び燃料噴射量が制御されることにより、出力性能が確保される。
【0097】
また、燃料停止モードでは、各気筒2A〜2Dへの燃料供給が停止される。従って、エンジン出力を必要としない惰行運転時や下り坂における燃料消費が削減され、燃費を向上させることができる。更に、エンジン本体1が逆駆動されることによって得られるエンジンブレーキの効果を高めることができる。なお、燃料停止モード中のガス流通経路は、原則として燃料停止モードに切換わる直前のモードに従う。但し、条件によっては燃料停止モード中に切換える場合もある(図10のステップS51,S55参照)。
【0098】
次に、各運転モードの変遷と燃料復帰過渡モードについて説明する。図4(b)は、燃料停止モードを挟んで、その前後のモードの組み合わせパターンを示す表である。このパターンに応じて、燃料復帰時の制御が設定されている。図4(b)中に示されるA4,A5,A6,B1,B2,C1,C2,C4,C5及びC6の各記号は、図4(a)に示された各ポイントに相当する運転状態である。従って、運転状態A4,A5及びA6は、第1特殊運転モードを代表するポイントであり、運転状態B1及びB2は通常運転モードを代表するポイントであり、運転状態C1,C2,C4,C5及びC6は燃料停止モードを代表するポイントである。運転状態B1と運転状態C1のエンジン回転数は略等しく、r1である。以下同様に、運転状態B2と運転状態C2のエンジン回転数は略等しく、r2であり、運転状態A4と運転状態C4のエンジン回転数は略等しく、r4であり、運転状態A5と運転状態C5のエンジン回転数は略等しく、r5であり、運転状態A6と運転状態C6のエンジン回転数は略等しく、r6である。なお、エンジン回転数r6は燃料復帰回転数である。
【0099】
図4(b)の横軸(列)には、燃料停止モード前の運転状態を代表するポイントとして、運転状態A4,B1を、縦軸(行)には燃料停止モード後の運転状態を代表するポイントとして、運転状態A5,A6,B2を示す。各欄には、これらの組み合わせからなるパターン番号と、経由する燃料停止モード中の運転状態を示す。例えばパターン1は、運転状態A4(第1特殊運転モード)から、運転状態C4,C5(燃料停止モード)を経由して運転状態A5(第1特殊運転モード)に至るパターンを示す。他のパターン2乃至5も同様の表記に従う。なお、パターン1,2,3及び5は減速方向であるが、パターン4は増速方向である。これは、例えば下り坂において、アクセルを全閉としていても増速する場合などに起こる。
【0100】
パターン1乃至5のうち、パターン1,2および3には、燃料停止モードから第1特殊運転モードに切換える際、燃料復帰過渡モードを経由するように設定されている。
【0101】
パターン1における燃料停止モードおよび燃料復帰過渡モードは次のようになっている。パターン1では、運転状態が運転状態A4→C4→C5→A5と変遷する。運転状態A4から運転状態C4となると、第1特殊運転モードから燃料停止モードへ切換わり、燃料の供給が停止される。そして、運転状態C5までの間、ガス流通経路は運転状態A4と同じ2気筒接続状態に維持される。その後運転状態A5となると、最終的には第1特殊運転モードに切換わるが、それまでの所定期間、燃料復帰過渡モードとなる。パターン1における燃料復帰過渡モードは、第1の段階(燃料復帰時からS1サイクル経過まで。なお1サイクルは吸気、圧縮、膨張および排気の4行程からなる。)と、それ以降の第2の段階(S2サイクル経過(S2>S1)まで)に分かれている。第1の段階では、ガス流通経路を2気筒接続状態に維持したまま、先行気筒2A,2Dで理論空燃比(空気過剰率λ=1)での燃焼を行わせる(図11のステップS133参照)。こうすることにより、燃料停止モード中に先行気筒2A,2D内を通過する空気によって筒内温度が低下した場合でも、確実に失火を防止して安定した燃焼状態で燃料復帰させることができる。また、この第1の段階では後続気筒2B,2Cでの燃焼が行われないが、先行気筒2A,2Dから導入された理論空燃比での燃焼による高温の既燃ガスが通過することにより、筒内温度を上昇させている。こうして、先行気筒、後続気筒の双方を加熱している。
【0102】
パターン1における燃料復帰過渡モードの第2の段階では、ガス流通経路を2気筒接続状態に維持したまま、先行気筒2A,2Dに対しては空気過剰率λ>1となるようなリーン空燃比での燃焼を行わせ、後続気筒2B,2Cに対しては先行気筒2A,2Dから導入されたリーン空燃比の既燃ガスに燃料を供給して実質的な理論空燃比とした状態で強制点火による燃焼を行わせる。即ち、第2特殊運転モードと同等の制御を行う(図11のステップS143参照)。この場合の先行気筒2A,2Dの空燃比は、一般的な第2特殊運転モードに準じて空気過剰率λ≒2としても良いが、1<λ≦2として、ややリッチ気味にしておき、均質燃焼させると燃焼がより安定するので望ましい。この第2の段階は、第1の段階に比べ、より第1特殊運転モードに近く、後続気筒2B,2Cの筒内温度が上昇し易いので、第1特殊運転モードへの移行を早期化させることができる。
【0103】
ところで、第1の段階のサイクル数S1および第2の段階のサイクル数S2は、運転状態によって変動し、燃料停止モードの期間が長いほど、またはエンジン温度が低いほど長くなるように設定されている。従って、燃料停止モードの期間が長く、筒内温度の低下の程度が大きい場合には燃料復帰過渡モードの期間(S1およびS2)を長くして、筒内温度が充分上昇してから第1特殊運転モードに移行させることができる一方、燃料停止モードの期間が短く、筒内温度の低下の程度が小さい場合には燃料復帰過渡モードの期間を短くして、速やかに第1特殊運転モードに移行させることができる。このように燃料復帰過渡モードの期間が必要最小限となるように設定することにより、燃費改善効果を一層高めている。
【0104】
こうして燃料復帰からS2サイクル後に燃料復帰過渡モードから第1特殊運転モードに切換わるが、その際、筒内温度状態推測手段53による後続気筒2B,2Cの筒内温度予測値Tが、所定のT1に達しない時は、第2特殊運転モードと同等の制御のまま燃料復帰過渡モードを終了する(図11のステップS117参照)。
【0105】
次に、パターン2における燃料停止モードおよび燃料復帰過渡モードは次のようになっている。パターン2では、運転状態が運転状態B1→C1→C5→A5と変遷する。運転状態B1から運転状態C1となると、通常運転モードから燃料停止モードへ切換わり、燃料の供給が停止される。そして、運転状態C5までの間、ガス流通経路は運転状態B1と同じ各気筒独立状態に維持される。その後運転状態A5となると、最終的には第1特殊運転モードに切換わるが、それまでの所定期間、燃料復帰過渡モードとなる。パターン2における燃料復帰過渡モードは、第1の段階(燃料復帰時からS1サイクル経過まで)と、それ以降の第2の段階(S2サイクル経過(S2>S1)まで)に分かれている。第1の段階では、ガス流通経路を各気筒独立状態に維持したまま、各気筒2A〜2Dで理論空燃比(空気過剰率λ=1)での燃焼を行わせる。即ち通常運転モードと同等の制御を行う(図11のステップS135参照)。こうすることにより、先行気筒2A,2Dのみならず後続気筒2B,2Cにおいても安定度の高い燃焼で燃料復帰させ、一層確実な安定燃焼を得るとともに、先行気筒、後続気筒ともに筒内を早期に加熱している。
【0106】
パターン2における燃料復帰過渡モードの第2の段階では、パターン1における燃料復帰過渡モードの第2の段階と同様の制御、即ち第2特殊運転モードと同等の制御を行う(図11のステップS143参照)。この第2の段階は、第1の段階に比べ、より第1特殊運転モードに近く、安定性の高い燃焼を行いながら、円滑なモードの移行を図っている。
【0107】
但し、第2の段階であっても、筒内温度状態推測手段53による後続気筒2B,2Cの筒内温度予測値Tが、所定のT1に達しない時は、引き続き通常運転モードと同様の制御を行い(図11のステップS147参照)、後続気筒2B,2Cの筒内温度上昇の促進を図る。
【0108】
そして、パターン1と同様、燃料復帰からS2サイクル後に燃料復帰過渡モードから第1特殊運転モードに切換わる。その際もパターン1と同様、筒内温度状態推測手段53による後続気筒2B,2Cの筒内温度予測値Tが、所定のT1に達しない時は、第2特殊運転モードと同等の制御としつつ燃料復帰過渡モードを終了する(図11のステップS117参照)。また、第1の段階のサイクル数S1および第2の段階のサイクル数S2を、燃料停止モードの期間が長いほど、またはエンジン温度が低いほど長くなるように設定することもパターン1と同様である。
【0109】
次に、パターン3における燃料停止モードおよび燃料復帰過渡モードは次のようになっている。パターン3では、運転状態が運転状態A4(又はB1)→C4(又はC1)→C6→A6と変遷する。運転状態A4(又は運転状態B1)から運転状態C4(又は運転状態C1)となると、特殊運転モード(又は通常運転モード)から燃料停止モードへ切換わり、燃料の供給が停止される。そして、運転状態C6付近までの間、ガス流通経路は燃料停止モードへ切換わる前のモードの状態に維持される。そして、筒内温度状態推測手段53による後続気筒2B,2Cの筒内温度予測値Tが、所定の温度T2以上であるときは、そのまま運転状態C6まで維持し続け、エンジン回転数が燃料復帰回転数r6となったときに燃料停止モードを終了し、運転状態A6とする。その際、燃料停止モードの前が運転状態A4であった場合にはパターン1の制御に、運転状態B1であった場合にはパターン2の制御にそれぞれ従う。
【0110】
一方、筒内温度予測値Tが、所定の温度T2に達しない場合は、運転状態C6に達する前(例えばエンジン回転数がr6+200rpmより小さくなったとき)に、前のモードによらず、ガス流通経路を各気筒独立状態に切換える(図10のステップS51参照)。そして、運転状態C6に達して運転状態A6に切換わる際、パターン2の制御に従う。このようにして、後続気筒2B,2Cが低温の場合には、燃料停止モードの前が特殊運転モードであったとしても、燃料復帰前に予めガス流通経路を各気筒独立状態に切換えておき、燃料復帰後は速やかに(あらためてガス流通経路と切換えることなく)各気筒2A〜2Dで理論空燃比での燃焼を行うようにして燃料復帰させ、安定した燃焼状態を得ている。なお、所定の温度T2は、上記所定の温度T1と同じであっても良い。
【0111】
ところで、図4(a)には燃料復帰回転数を所定値r6として示しているが、これを、燃料復帰時のガス流通経路によって変動する燃料復帰回転数N1としても良い。即ち燃料復帰回転数N1は、燃料復帰時のガス流通経路が、2気筒接続状態である場合には比較的高い値、各気筒独立状態である場合には比較的低い値に設定される。こうすることで、燃料復帰時のガス流通経路が2気筒接続状態となる場合にはエンジン停止に対する余裕度を充分確保するとともに、各気筒独立状態となる場合には燃料停止の期間を増大させ、燃費改善効果を高めることができる。
【0112】
次に、パターン4における燃料停止モードおよび燃料復帰は次のようになっている。パターン4では、運転状態が運転状態A4→C4→C2→B2と変遷する。運転状態A4から運転状態C4となると、特殊運転モードから燃料停止モードへ切換わり、燃料の供給が停止される。そして、運転状態C2までの間、ガス流通経路は運転状態A4と同じ2気筒接続状態に維持される。その後運転状態B2となると、燃料復帰過渡モードを経由することなく、速やかに通常運転モードに移行し、ガス流通経路を各気筒独立状態に切換えるとともに各気筒2A〜2Dで理論空燃比(空気過剰率λ=1)での燃焼を行わせる(図9のステップS31)。なお、燃料停止モード中にエンジン回転数が運転領域Aの最大回転数r3を超えた場合、予めガス流通経路を各気筒独立状態に切換えておくようにしても良い。
【0113】
次に、パターン5における燃料停止モードおよび燃料復帰は次のようになっている。パターン5では、運転状態が運転状態B1→C1→C2→B2と変遷する。運転状態B1から運転状態C1となると、通常運転モードから燃料停止モードへ切換わり、燃料の供給が停止される。そして、運転状態C2までの間、ガス流通経路は運転状態B1と同じ各気筒独立状態に維持される。その後運転状態B2となると、燃料復帰過渡モードを経由することなく通常運転モードに移行する。このとき、ガス流通経路は各気筒独立状態が維持されているので、あらためて切換える必要がなく、速やかに通常運転モードに移行することができる。
【0114】
図9は、燃料停止モードから、その後のモードに切換える場合の制御のフローチャートである。制御スタート後、ステップS1で各センサ情報(アクセル開度、エンジン回転数、吸入空気量、エンジン水温、ガス流通経路状態、吸気温度、O2センサ出力、燃料噴射時期、点火時期、車速等)を読み込む。次のステップS3で、運転状態が運転領域Bにあるか否かの判定がなされ、NOであればステップS5に移行し、筒内温度状態推測手段53による後続気筒の筒内温度Tの推定を行う(図5参照)。次のステップS7で運転状態が運転領域Aにあるか否かの判定がなされ、YESであればステップS9でモードM=0であるか否かの判定がなされる。モードMは、現状の運転モードを示すパラメータであり、M=0であれば燃料停止モードか燃料復帰過渡モードかの何れかであることを示す。ステップS9でNOであれば現状のモードは特殊運転モードか通常運転モードであり、更に次のステップS11に移行してエンジン水温によってエンジンが温間(暖気が完了している)にあるか否かの判定がなされる。ステップS11でYESであれば、特殊運転モードとする事が決定され、次のステップS13に移行して、後続気筒2B,2Cの筒内温度Tが所定値T1以上であるか否かの判定がなされる。YESであれば、後続気筒2B,2Cの筒内温度は安定して圧縮自己着火を行い得る高温に達しているので、ステップS15に移行して第1特殊運転モードの制御を行う。次のステップS19でモードM=1(現状モードが特殊運転モードであることを示す)を入力し、リターンする。
【0115】
遡って、ステップS13でNOと判定されたときには、後続気筒2B,2Cの筒内温度は安定して圧縮自己着火を行い得る高温に達していないので、ステップS17に移行して第2特殊運転モードの制御を行う。
【0116】
更に遡って、ステップS9でYESと判定されると、運転領域AにありながらモードM=0であることを示す。これは、燃料停止モードから特殊運転モードに切換わる過渡状態であることを示しており、ステップS21に移行して燃料復帰過渡モードの制御(詳細を図11に示す)を行う。
【0117】
また、ステップS3でYES、つまり運転領域Bにあると判定された場合およびステップS11でNO、つまり運転領域Aにあるが未暖気状態であると判定された場合にはステップS31に移行し、通常運転モードの制御を行い、ステップS33でモードM=2(現状モードが通常運転モードであることを示す)とする。
【0118】
また、ステップS7でNO、つまり運転領域AでもBでもないと判定されたときには運転領域Cにあることを示しており、分岐フロー▲1▼(図10に示す)に移行する。
【0119】
図10は、図9の分岐フロー▲1▼を示すフローチャートである。ステップS35に移行したとき、運転状態は運転領域Cにある。ここでモードM=0であるか否かの判定がなされ、YESであれば、運転状態Cに移行してから、少なくとも1回以上このステップS35を経過していることを示し、次のステップS39に移行する。ステップS35でNOであれば、運転状態Cに移行してから、初めてステップS35を経過することを示している。その場合、ステップS37に移行して前モードM1にモードMの値を入力する。前モードM1は、燃料停止モードの前の運転モードを示すパラメータである。この時点ではモードMは運転状態Cに移行する前の値であり、1(特殊運転モード)または2(通常運転モード)である。これらの値を前モードM1に入力することにより、燃料停止モードに切換わる前のモードが記憶される。その後ステップS39に移行する。
【0120】
ステップS39で燃料供給の停止を行い、次のステップS41でモードM=0を入力する。次のステップS43で燃料復帰回転数N1の設定、更新がなされる。燃料復帰回転数N1は、AT車では1,000rpm程度の値であるが、ガス流通経路が2気筒接続状態である場合には、各気筒独立状態である場合よりも高い値に設定される。また、燃料停止モード前が特殊運転モードであったか通常運転モードであったかによって、特殊運転モードであった場合には通常運転モードであった場合に比べて高い値に設定するようにしても良い。その他、燃料復帰回転数N1は、エンジン水温が低いときには高めに設定する等の補正がなされる。
【0121】
次のステップS45では、前モードM1=1であるか否かの判定がなされ、YES(特殊運転モード)であればステップS47に移行し、エンジン回転数Nが、N<N1+200rpmであるか否かの判定がなされる。YESであればエンジン回転数Nが燃料復帰回転数N1付近まで低下していることを示す。そして、ステップS49に移行し、後続気筒の筒内温度Tが所定値T2以上であるか否かの判定がなされる。YESであれば、図4(b)のパターン1と同様の制御で燃料復帰させるため、ステップS55に移行して予めガス流通経路を2気筒接続状態としておく。そしてステップS57でガス流通経路モードM2=1(2気筒接続状態を示す)を入力し、リターンする。
【0122】
遡って、ステップS47でNO、つまりN≧N1+200rpmであると判定されると、エンジン回転数Nが未だ燃料復帰回転数N1付近まで低下していないことを示すので、ステップS55に移行してガス流通経路を2気筒接続状態とする。
【0123】
更に遡って、ステップS45でNO、つまり前モードM1=2(通常運転モード)と判定された場合、およびステップS49でNO、つまり前モードM1=1(特殊運転モード)であってもエンジン回転数Nが燃料復帰回転数N1付近まで低下しており、かつ後続気筒2B,2Cの筒内温度Tが所定値T2よりも低いと判定された場合には、図4(b)のパターン2と同様の制御で燃料復帰させるため、ステップS51に移行し、予めガス流通経路を各気筒独立態としておく。そしてステップS53でガス流通経路モードM2=2(各気筒独立状態を示す)を入力し、リターンする。
【0124】
図11は、図9のステップS21(燃料復帰過渡モードの制御)の詳細を示すサブルーチンである。燃料復帰過渡モードに入ると、ステップS101で、燃料復帰時点からのサイクル数Sをカウントする。初回はS=0であり、以後720°CA(1サイクルに相当)毎にサイクル数Sを増分させる。
【0125】
次のステップS103でサイクル数Sが所定値S1よりも小か否かの判定がなされる。YESであれば燃料復帰過渡モードの第1の段階であることを示し、ステップS131,S132に移行する。ステップS131およびステップS132では、前モードM1とガス流通経路モードM2の判定がなされ、前モードM1=1かつガス流通経路モードM2=1の場合のみステップS133に移行して、ガス流通経路を2気筒接続状態としつつ先行気筒2A,2Dで理論空燃比(空気過剰率λ=1)での燃焼を行わせる。その後、モードM=0のままリターンする。ステップS131およびステップS132で、前モードM1とガス流通経路モードM2の少なくとも一方が2である場合は、ステップS135に移行し、通常運転モードと同等の制御、即ちガス流通経路を各気筒独立状態としつつ、各気筒2A〜2Dで理論空燃比(空気過剰率λ=1)での燃焼を行わせる。その後、モードM=0のままリターンする。
【0126】
遡ってステップS103でNO、即ち燃料復帰過渡モードの第1の段階が終了したと判定されるとステップS105に移行し、サイクル数Sが所定値S2(S2>S1)よりも小か否かの判定がなされる。所定値S1、S2は、燃料停止モードの期間(サイクル数)が長いほど、またはエンジン温度が低いほど長くなるように設定されており、数〜数十サイクル程度の期間である。ステップS105でYESと判定されると、燃料復帰過渡モードの第2の段階であることを示し、ステップS141に移行する。ステップS141で前モードM1の判定がなされ、前モードM1=1(特殊運転モード)であればステップS143に移行し、第2特殊運転モードと同等の制御、即ちガス流通経路を2気筒接続状態としつつ、先行気筒2A,2Dではリーン空燃比で強制点火による燃焼を行わせ、後続気筒2B,2Cでは先行気筒2A,2Dから導入された既燃ガスに燃料を供給して実質的な理論空燃比(空気過剰率λ=1)とし、強制点火による燃焼を行わせる。その後、モードM=0のままリターンする。ステップS141で前モードM1=2(通常運転モード)と判定されればステップS145に移行し、後続気筒2B,2Cの筒内温度Tが所定値T1以上であるか否かの判定がなされる。YESであればステップS143に移行するが、NOであればステップS147に移行し、ステップS135と同様の、通常運転モードと同等の制御を行い、その後、モードM=0のままリターンする。
【0127】
遡ってステップS105でNO、即ち燃料復帰過渡モードの第2の段階が終了したと判定されるとステップS107に移行し、サイクル数Sのリセットを行う。そしてステップS109に移行してエンジン水温によってエンジンが温間にあるか否かの判定がなされる。ステップS109でYESであれば、ステップS111に移行して、後続気筒の筒内温度Tが所定値T1以上であるか否かの判定がなされる。YESであれば、後続気筒2B,2Cの筒内温度は安定して圧縮自己着火を行い得る高温に達しているので、ステップS113に移行して第1特殊運転モードと同等の制御、即ちガス流通経路を2気筒接続状態としつつ、先行気筒2A,2Dではリーン空燃比で強制点火による燃焼を行わせ、後続気筒2B,2Cでは先行気筒2A,2Dから導入された既燃ガスに燃料を供給して実質的な理論空燃比(空気過剰率λ=1)とし、圧縮自己着火による燃焼を行わせる。その後、ステップS119に移行し、モードM=1を入力してリターンする。このモードM=1を入力することにより、燃料復帰過渡モードの終了となり、次のルーチンでは図9のステップS9でNOと判定され、ステップS11へ移行することとなる。
【0128】
遡って、ステップS111でNOと判定されたときには、後続気筒2B,2Cの筒内温度は安定して圧縮自己着火を行い得る高温に達していないので、ステップS117に移行してステップS143と同様の、第2特殊運転モードと同等の制御を行い、ステップS119に移行する。
【0129】
また、ステップS109でNO、つまり未暖気状態であると判定された場合にはステップS115に移行し、ステップS135と同様の、通常運転モードと同等の制御を行い、ステップS119に移行する。
【0130】
次に、当実施形態の変形例について図4(b)および図12を参照しつつ説明する。この変形例は、図4(b)のパターン1の第1の段階、および第2の段階に関する部分の制御である。変形例のパターン1における燃料復帰過渡モードは次のようになっている。第1の段階では、第2特殊運転モードと同等の制御、即ちガス流通経路を2気筒接続状態としつつ、先行気筒2A,2Dではリーン空燃比で強制点火による燃焼を行わせ、後続気筒2B,2Cでは先行気筒2A,2Dから導入された既燃ガスに燃料を供給して実質的な理論空燃比(空気過剰率λ=1)とし、強制点火による燃焼を行わせる(図12のステップS203参照)。但し、未暖気の場合は暖気を促進させるため、通常運転モードと同等の制御を行う(図12のステップS201,S135参照)。
【0131】
変形例のパターン1における燃料復帰過渡モードの第2の段階は、図11のステップS143に替えて図12のステップS205を適用する。即ち、第2特殊運転モードをベースに、後続気筒2B,2Cの燃料を先行気筒2A,2Dにおいて先行気筒2A,2Dの膨張行程後半に噴射する。このようにすると、先行気筒2A,2Dで噴射された燃料は先行気筒2A,2Dから排出される高温の既燃ガスと混合して後続気筒2B,2Cに導かれるため、活性化が促進される。そして、その噴射時期が後続気筒2B,2Cの吸気行程に先立つ、前サイクルの排気行程後半に相当するので、後続気筒2B,2Cでの点火時期までの間に、燃料活性化の時間が充分確保される。
【0132】
また、後続気筒2B,2Cの燃料を2以上に分割し、少なくとも1の燃料噴射を先行気筒2A,2Dで行うとともに、その燃料噴射時期を先行気筒2A,2Dの膨張行程後半に設定し、少なくとも1の燃料噴射を後続気筒2B,2Cで行うようにしても良い。このようにすると、後続気筒2B,2Cでの点火時に、点火プラグ7の周辺に2種類の燃料状態を形成することができる。1つは先行気筒2A,2D内で噴射され、均一に混合され、活性化された混合気であり、もう1つは、後続気筒2B,2C内で噴射され、点火プラグ7を中心に偏在する燃料である。点火プラグ7周辺に偏在する比較的高濃度の燃料によって後続気筒2B,2Cでの着火性をより高めることができるとともに、均一に活性化された混合気によって燃焼の安定化をもはかることができる。
【0133】
本発明の実施形態は、上記実施形態、あるいはその変形例に限定するものではなく、特許請求の範囲内で適宜変形して良い。例えば、ウォータージャケット26による冷却機構を設けず、第2特殊運転モード中に後続気筒2B,2Cの筒内温度が上昇しすぎた場合には、通常運転モードに切換えるようにしても良い。
【0134】
【発明の効果】
以上のように本発明の火花点火式エンジンの制御装置は、各気筒が所定の位相差をもって吸気、圧縮、膨張、排気の各行程からなるサイクルを行うようになっている多気筒の火花点火式エンジンにおいて、排気行程と吸気行程が重なる一対の気筒間において排気行程側の気筒である先行気筒から排出される既燃ガスがそのまま吸気行程側の気筒である後続気筒に気筒間ガス通路を介して導入され、この後続気筒から排出される排ガスが排気通路に導かれるような2気筒接続状態にガス流通経路が構成されるとともに、運転状態に応じ、少なくとも所定の低負荷低回転域では特殊運転モードが選択され、所定の減速域では燃料停止モードが選択されるように構成され、上記特殊運転モードでは、上記ガス流通経路を上記2気筒接続状態とするとともに、上記先行気筒に対しては理論空燃比よりも所定量大きいリーン空燃比とした状態で燃焼を行わせ、上記後続気筒に対しては上記先行気筒から導入されたリーン空燃比の既燃ガスに燃料を供給して所定の空燃比とした状態で燃焼を行わせ、上記特殊運転モードとされる場合の一部又は全部において、上記後続気筒で圧縮自己着火による燃焼を行わせ、上記燃料停止モードでは、各気筒への燃料供給を停止するものとし、上記燃料停止モードから、上記後続気筒で圧縮自己着火による燃焼を行わせる特殊運転モードに切換える際、その切換えを円滑にするように、少なくとも各気筒に対する燃焼状態を過渡的に制御する燃料復帰過渡モードを所定期間経由させるように構成し、上記燃料復帰過渡モードの少なくとも燃料復帰時を含む初期において、少なくとも上記先行気筒に対して略理論空燃比とした状態で強制点火による燃焼を行わせることを特徴とするので、2気筒接続状態としつつ後続気筒で圧縮自己着火による燃焼をさせる技術と、減速域で燃料供給を停止する技術とを併用して、より高い燃費改善効果を得つつ、燃料復帰後の燃焼の安定性を高めることができる。
【図面の簡単な説明】
【図1】本発明の一実施形態による装置を備えたエンジン全体の概略平面図である。
【図2】エンジン本体等の概略断面図である。
【図3】制御系統のブロック図である。
【図4】(a)は運転領域を示す説明図であり、(b)は燃料停止モード前後のモードの組み合わせパターンを示す表である。
【図5】後続気筒の燃焼前の筒内温度状態を推測する手順を示す主要ブロック図である。
【図6】各気筒の排気行程、吸気行程、燃料噴射時期および点火時期等を示す図である。
【図7】低負荷低回転時の実質的な新気およびガスの流通経路を示す説明図である。
【図8】高負荷、高低回転側の運転領域にある時の実質的な新気およびガスの流通経路を示す説明図である。
【図9】燃料停止モードから、その後のモードに切換える場合の制御のフローチャートである。
【図10】図9からの分岐フローチャートである。
【図11】燃料復帰過渡モードの制御を示すサブルーチンのフローチャートである。
【図12】燃料復帰過渡モードの制御の変形例を示すサブルーチンのフローチャートである。
【符号の説明】
1 エンジン本体
2A,2D 気筒(先行気筒)
2B,2C 気筒(後続気筒)
9 燃料噴射弁
11 吸気ポート
11a,11b 吸気ポート
12,12a,12b 排気ポート
15 吸気通路
20 排気通路
22 気筒間ガス通路
25 リニアO2センサ
31,31a,31b 吸気弁
32,32a,32b 排気弁
35 弁停止機構
40 ECU
41 運転状態判別手段
42 弁停止機構制御手段
43 吸入空気量制御手段
44 燃焼制御手段
53 筒内温度状態推測手段
Claims (11)
- 各気筒が所定の位相差をもって吸気、圧縮、膨張、排気の各行程からなるサイクルを行うようになっている多気筒の火花点火式エンジンにおいて、
排気行程と吸気行程が重なる一対の気筒間において排気行程側の気筒である先行気筒から排出される既燃ガスがそのまま吸気行程側の気筒である後続気筒に気筒間ガス通路を介して導入され、この後続気筒から排出される排ガスが排気通路に導かれるような2気筒接続状態にガス流通経路が構成されるとともに、
運転状態に応じ、少なくとも所定の低負荷低回転域では特殊運転モードが選択され、所定の減速域では燃料停止モードが選択されるように構成され、
上記特殊運転モードでは、上記ガス流通経路を上記2気筒接続状態とするとともに、上記先行気筒に対しては理論空燃比よりも所定量大きいリーン空燃比とした状態で燃焼を行わせ、上記後続気筒に対しては上記先行気筒から導入されたリーン空燃比の既燃ガスに燃料を供給して所定の空燃比とした状態で燃焼を行わせ、
上記特殊運転モードとされる場合の一部又は全部において、上記後続気筒で圧縮自己着火による燃焼を行わせ、
上記燃料停止モードでは、各気筒への燃料供給を停止するものとし、
上記燃料停止モードから、上記後続気筒で圧縮自己着火による燃焼を行わせる特殊運転モードに切換える際、その切換えを円滑にするように、少なくとも各気筒に対する燃焼状態を過渡的に制御する燃料復帰過渡モードを所定期間経由させるように構成し、
上記燃料復帰過渡モードの少なくとも燃料復帰時を含む初期において、少なくとも上記先行気筒に対して略理論空燃比とした状態で強制点火による燃焼を行わせることを特徴とする火花点火式エンジンの制御装置。 - 上記ガス流通経路が、各気筒にそれぞれ新気を導入する各気筒独立状態に切換え可能に構成され、
運転状態に応じ、所定の高負荷ないし高回転の領域では、上記ガス流通経路を上記各気筒独立状態とするとともに、各気筒においてそれぞれ独立して略理論空燃比もしくはそれよりも小さな空燃比で燃焼を行わせる通常運転モードが選択されるように構成され、
上記燃料停止モードの直前が上記通常運転モードであった場合、上記燃料復帰過渡モードの燃料復帰時を含む初期には上記ガス流通経路を上記各気筒独立状態とするとともに、各気筒において略理論空燃比とした状態で強制点火による燃焼を行わせ、後期には上記ガス流通経路を上記2気筒接続状態とするとともに、上記先行気筒に対してはリーン空燃比とした状態で強制点火による燃焼を行わせ、上記後続気筒に対しては上記先行気筒から導入されたリーン空燃比の既燃ガスに燃料を供給して実質的な理論空燃比とした状態で強制点火による燃焼を行わせる
ことを特徴とする請求項1記載の火花点火式エンジンの制御装置。 - 上記燃料停止モードの直前が上記特殊運転モードであった場合、上記燃料復帰過渡モード中は上記ガス流通経路を上記2気筒接続状態とするとともに、その燃料復帰過渡モードの少なくとも燃料復帰時を含む初期において、上記先行気筒に対して略理論空燃比とした状態で強制点火による燃焼を行わせることを特徴とする請求項1または2記載の火花点火式エンジンの制御装置。
- 上記燃料停止モードの直前が上記特殊運転モードであった場合、上記燃料復帰過渡モードの後期において、上記先行気筒に対しては空気過剰率が1よりも大きく2以下となるような空燃比とした状態で強制点火による均質燃焼を行わせるとともに、上記後続気筒に対しては上記先行気筒から導入されたリーン空燃比の既燃ガスに燃料を供給して実質的な理論空燃比とした状態で強制点火による燃焼を行わせ、
その後、上記後続気筒で圧縮自己着火による燃焼を行わせる特殊運転モードに切換えるとともに上記先行気筒の空燃比をより大きく設定して強制点火による成層燃焼をさせる
ことを特徴とする請求項3記載の火花点火式エンジンの制御装置。 - 各気筒が所定の位相差をもって吸気、圧縮、膨張、排気の各行程からなるサイクルを行うようになっている多気筒の火花点火式エンジンにおいて、
排気行程と吸気行程が重なる一対の気筒間において排気行程側の気筒である先行気筒から排出される既燃ガスがそのまま吸気行程側の気筒である後続気筒に気筒間ガス通路を介して導入され、この後続気筒から排出される排ガスが排気通路に導かれるような2気筒接続状態にガス流通経路が構成されるとともに、
運転状態に応じ、少なくとも所定の低負荷低回転域では特殊運転モードが選択され、所定の減速域では燃料停止モードが選択されるように構成され、
上記特殊運転モードでは、上記ガス流通経路を上記2気筒接続状態とするとともに、上記先行気筒に対しては理論空燃比よりも所定量大きいリーン空燃比とした状態で燃焼を行わせ、上記後続気筒に対しては上記先行気筒から導入されたリーン空燃比の既燃ガスに燃料を供給して所定の空燃比とした状態で燃焼を行わせ、
上記特殊運転モードとされる場合の一部又は全部において、上記後続気筒で圧縮自己着火による燃焼を行わせ、
上記燃料停止モードでは、各気筒への燃料供給を停止するものとし、
上記燃料停止モードから、上記後続気筒で圧縮自己着火による燃焼を行わせる特殊運転モードに切換える際、その切換えを円滑にするように、少なくとも各気筒に対する燃焼状態を過渡的に制御する燃料復帰過渡モードを所定期間経由させるように構成し、
上記燃料復帰過渡モードでは、上記ガス流通経路を上記2気筒接続状態とするとともに、上記先行気筒に対してはリーン空燃比とした状態で強制点火による燃焼を行わせ、上記後続気筒に対しては上記先行気筒から導入されたリーン空燃比の既燃ガスに燃料を供給して実質的な理論空燃比とした状態で強制点火による燃焼を行わせるとともに、燃料復帰後は上記後続気筒での燃焼を行うための燃料噴射時期を、燃料の活性化が促進されるように進角補正する
ことを特徴とする火花点火式エンジンの制御装置。 - 上記進角補正は、上記後続気筒での燃焼を行うための燃料噴射を上記先行気筒内で行うとともに、その燃料噴射時期が上記先行気筒の膨張行程ないし排気行程の間とすることによりなされることを特徴とする請求項5記載の火花点火式エンジンの制御装置。
- 上記進角補正は、
上記後続気筒での燃焼を行うための燃料が少なくとも2以上に分割されて噴射され、
少なくとも1の燃料噴射を上記先行気筒内で行うとともに、その燃料噴射時期が上記先行気筒の膨張行程ないし排気行程の間に設定され、
少なくとも1の燃料噴射を上記後続気筒内で行う
ことによりなされることを特徴とする請求項5記載の火花点火式エンジンの制御装置。 - 上記燃料復帰過渡モードの期間は、上記燃料停止モードの期間が長いほど、またはエンジン温度が低いほど長くなるように設定される
ことを特徴とする請求項1乃至7のいずれか1項に記載の火花点火式エンジンの制御装置。 - 上記燃料停止モード中、エンジン回転数が所定の燃料復帰回転数以下となったときには、燃料の供給を再開させて上記燃料停止モードを脱するように構成され、
上記燃料復帰回転数は、上記燃料停止モードの直前が上記通常運転モードであった場合よりも上記特殊運転モードであった場合の方が高い値になるように設定される
ことを特徴とする請求項1乃至8のいずれか1項に記載の火花点火式エンジンの制御装置。 - 各気筒が所定の位相差をもって吸気、圧縮、膨張、排気の各行程からなるサイクルを行うようになっている多気筒の火花点火式エンジンにおいて、
排気行程と吸気行程が重なる一対の気筒間において排気行程側の気筒である先行気筒から排出される既燃ガスがそのまま吸気行程側の気筒である後続気筒に気筒間ガス通路を介して導入され、この後続気筒から排出される排ガスが排気通路に導かれるような2気筒接続状態と、各気筒にそれぞれ新気を導入する各気筒独立状態とにガス流通経路が切換えられるように構成され、
運転状態に応じ、所定の低負荷低回転域では特殊運転モードが選択され、所定の高負荷ないし高回転の領域では通常運転モードが選択され、所定の減速域では燃料停止モードが選択されるように構成され、
上記特殊運転モードでは、上記ガス流通経路を上記2気筒接続状態とするとともに、上記先行気筒に対しては理論空燃比よりも所定量大きいリーン空燃比とした状態で燃焼を行わせ、上記後続気筒に対しては上記先行気筒から導入されたリーン空燃比の既燃ガスに燃料を供給して所定の空燃比とした状態で燃焼を行わせ、
上記通常運転モードでは、上記ガス流通経路を上記各気筒独立状態とするとともに、各気筒においてそれぞれ独立して理論空燃比もしくは理論空燃比よりも小さな空燃比で燃焼を行わせ、
上記燃料停止モードでは各気筒への燃料供給を停止するとともに、その燃料停止モード中、エンジン回転数が所定の燃料復帰回転数以下となったときには、燃料の供給を再開させて上記燃料停止モードを脱するように構成され、
上記燃料復帰回転数は、燃料復帰時の上記ガス流通経路が、上記各気筒独立状態である場合よりも上記2気筒接続状態である場合の方が高い値になるように設定される
ことを特徴とする火花点火式エンジンの制御装置。 - 各気筒が所定の位相差をもって吸気、圧縮、膨張、排気の各行程からなるサイクルを行うようになっている多気筒の火花点火式エンジンにおいて、
排気行程と吸気行程が重なる一対の気筒間において排気行程側の気筒である先行気筒から排出される既燃ガスがそのまま吸気行程側の気筒である後続気筒に気筒間ガス通路を介して導入され、この後続気筒から排出される排ガスが排気通路に導かれるような2気筒接続状態と、各気筒にそれぞれ新気を導入する各気筒独立状態とにガス流通経路が切換えられるように構成され、
運転状態に応じ、所定の低負荷低回転域では特殊運転モードが選択され、所定の高負荷ないし高回転の領域では通常運転モードが選択され、所定の減速域では燃料停止モードが選択されるように構成され、
上記特殊運転モードでは、上記ガス流通経路を上記2気筒接続状態とするとともに、上記先行気筒に対しては理論空燃比よりも所定量大きいリーン空燃比とした状態で燃焼を行わせ、上記後続気筒に対しては上記先行気筒から導入されたリーン空燃比の既燃ガスに燃料を供給して所定の空燃比とした状態で燃焼を行わせ、
上記通常運転モードでは、上記ガス流通経路を上記各気筒独立状態とするとともに、各気筒においてそれぞれ独立して理論空燃比もしくは理論空燃比よりも小さな空燃比で燃焼を行わせ、
上記燃料停止モードでは各気筒への燃料供給を停止するものとし、
上記後続気筒の筒内温度予測手段を備え、
上記特殊運転モードから上記燃料停止モードに移行した場合において、その燃料停止モード中に上記後続気筒の筒内温度予測手段による予測値が所定温度より低いとき、上記ガス流通経路を上記各気筒独立状態に切換える
ことを特徴とする火花点火式エンジンの制御装置。
Priority Applications (1)
| Application Number | Priority Date | Filing Date | Title |
|---|---|---|---|
| JP2002344524A JP3818254B2 (ja) | 2002-11-27 | 2002-11-27 | 火花点火式エンジンの制御装置 |
Applications Claiming Priority (1)
| Application Number | Priority Date | Filing Date | Title |
|---|---|---|---|
| JP2002344524A JP3818254B2 (ja) | 2002-11-27 | 2002-11-27 | 火花点火式エンジンの制御装置 |
Publications (2)
| Publication Number | Publication Date |
|---|---|
| JP2004176637A true JP2004176637A (ja) | 2004-06-24 |
| JP3818254B2 JP3818254B2 (ja) | 2006-09-06 |
Family
ID=32705985
Family Applications (1)
| Application Number | Title | Priority Date | Filing Date |
|---|---|---|---|
| JP2002344524A Expired - Fee Related JP3818254B2 (ja) | 2002-11-27 | 2002-11-27 | 火花点火式エンジンの制御装置 |
Country Status (1)
| Country | Link |
|---|---|
| JP (1) | JP3818254B2 (ja) |
Cited By (7)
| Publication number | Priority date | Publication date | Assignee | Title |
|---|---|---|---|---|
| JP2014051936A (ja) * | 2012-09-07 | 2014-03-20 | Mazda Motor Corp | 火花点火式直噴エンジン |
| JP2014051935A (ja) * | 2012-09-07 | 2014-03-20 | Mazda Motor Corp | 火花点火式直噴エンジン |
| JP2014051934A (ja) * | 2012-09-07 | 2014-03-20 | Mazda Motor Corp | 火花点火式直噴エンジン |
| CN104234852A (zh) * | 2013-06-11 | 2014-12-24 | 福特环球技术公司 | 专用egr汽缸的后燃烧喷射 |
| CN105201661A (zh) * | 2014-06-19 | 2015-12-30 | 福特环球技术公司 | 用于停止并起动带有专用egr的发动机的系统和方法 |
| CN107161593A (zh) * | 2017-06-22 | 2017-09-15 | 苏州朗睿杰自动化科技有限公司 | 一种可调节高度的多用导料架 |
| CN107882645A (zh) * | 2012-06-28 | 2018-04-06 | 康明斯有限公司 | 用于控制专用egr发动机的技术 |
-
2002
- 2002-11-27 JP JP2002344524A patent/JP3818254B2/ja not_active Expired - Fee Related
Cited By (8)
| Publication number | Priority date | Publication date | Assignee | Title |
|---|---|---|---|---|
| CN107882645A (zh) * | 2012-06-28 | 2018-04-06 | 康明斯有限公司 | 用于控制专用egr发动机的技术 |
| JP2014051936A (ja) * | 2012-09-07 | 2014-03-20 | Mazda Motor Corp | 火花点火式直噴エンジン |
| JP2014051935A (ja) * | 2012-09-07 | 2014-03-20 | Mazda Motor Corp | 火花点火式直噴エンジン |
| JP2014051934A (ja) * | 2012-09-07 | 2014-03-20 | Mazda Motor Corp | 火花点火式直噴エンジン |
| CN104234852A (zh) * | 2013-06-11 | 2014-12-24 | 福特环球技术公司 | 专用egr汽缸的后燃烧喷射 |
| CN105201661A (zh) * | 2014-06-19 | 2015-12-30 | 福特环球技术公司 | 用于停止并起动带有专用egr的发动机的系统和方法 |
| CN105201661B (zh) * | 2014-06-19 | 2020-01-17 | 福特环球技术公司 | 用于停止并起动带有专用egr的发动机的系统和方法 |
| CN107161593A (zh) * | 2017-06-22 | 2017-09-15 | 苏州朗睿杰自动化科技有限公司 | 一种可调节高度的多用导料架 |
Also Published As
| Publication number | Publication date |
|---|---|
| JP3818254B2 (ja) | 2006-09-06 |
Similar Documents
| Publication | Publication Date | Title |
|---|---|---|
| JP3894089B2 (ja) | 火花点火式エンジンの制御装置 | |
| US8417437B2 (en) | Control method and system of engine | |
| KR20040074591A (ko) | 다기통 불꽃 점화 엔진용 제어 장치 | |
| JPH08312398A (ja) | 内燃エンジンのアイドル回転数制御装置 | |
| US6941905B2 (en) | Control unit for spark ignition-type engine | |
| JP3818254B2 (ja) | 火花点火式エンジンの制御装置 | |
| US7363906B2 (en) | Control system for internal combustion engine | |
| JP3882630B2 (ja) | 火花点火式直噴エンジンの制御装置 | |
| JP3879613B2 (ja) | 火花点火式エンジンの制御装置 | |
| JP4285091B2 (ja) | 火花点火式エンジンの制御装置 | |
| JP2006097603A (ja) | 内燃機関の制御装置 | |
| JP4045867B2 (ja) | 火花点火式エンジンの運転モード検出装置および同制御装置 | |
| JP3829779B2 (ja) | 火花点火式4サイクルエンジンの制御装置 | |
| JP3951852B2 (ja) | エンジンの制御装置 | |
| JP4123093B2 (ja) | 内燃機関の燃料噴射制御装置 | |
| JP4123122B2 (ja) | 火花点火式エンジンの制御装置 | |
| JP3888261B2 (ja) | 火花点火式エンジンの制御装置 | |
| JP3951855B2 (ja) | 火花点火式エンジンの制御装置 | |
| JP3951856B2 (ja) | 火花点火式エンジンの制御装置 | |
| JP3551744B2 (ja) | 筒内噴射型内燃機関用排ガス還流制御装置 | |
| JP3972744B2 (ja) | 火花点火式4サイクルエンジンの制御装置 | |
| JP3815402B2 (ja) | 火花点火式エンジンの制御装置 | |
| JP3894083B2 (ja) | 火花点火式エンジンの制御装置 | |
| JP3951829B2 (ja) | 火花点火式4サイクルエンジンの制御装置 | |
| JP2004124760A (ja) | 火花点火式エンジンの制御装置 |
Legal Events
| Date | Code | Title | Description |
|---|---|---|---|
| A621 | Written request for application examination |
Free format text: JAPANESE INTERMEDIATE CODE: A621 Effective date: 20050307 |
|
| A977 | Report on retrieval |
Free format text: JAPANESE INTERMEDIATE CODE: A971007 Effective date: 20060518 |
|
| TRDD | Decision of grant or rejection written | ||
| A01 | Written decision to grant a patent or to grant a registration (utility model) |
Free format text: JAPANESE INTERMEDIATE CODE: A01 Effective date: 20060523 |
|
| A61 | First payment of annual fees (during grant procedure) |
Free format text: JAPANESE INTERMEDIATE CODE: A61 Effective date: 20060605 |
|
| R150 | Certificate of patent or registration of utility model |
Free format text: JAPANESE INTERMEDIATE CODE: R150 |
|
| FPAY | Renewal fee payment (event date is renewal date of database) |
Free format text: PAYMENT UNTIL: 20090623 Year of fee payment: 3 |
|
| FPAY | Renewal fee payment (event date is renewal date of database) |
Free format text: PAYMENT UNTIL: 20100623 Year of fee payment: 4 |
|
| FPAY | Renewal fee payment (event date is renewal date of database) |
Free format text: PAYMENT UNTIL: 20110623 Year of fee payment: 5 |
|
| FPAY | Renewal fee payment (event date is renewal date of database) |
Free format text: PAYMENT UNTIL: 20120623 Year of fee payment: 6 |
|
| LAPS | Cancellation because of no payment of annual fees |
