GB2552459A - Improved toenail treatment kit - Google Patents
Improved toenail treatment kit Download PDFInfo
- Publication number
- GB2552459A GB2552459A GB1611936.4A GB201611936A GB2552459A GB 2552459 A GB2552459 A GB 2552459A GB 201611936 A GB201611936 A GB 201611936A GB 2552459 A GB2552459 A GB 2552459A
- Authority
- GB
- United Kingdom
- Prior art keywords
- toenail
- adhesive
- clip
- bridge member
- kit according
- Prior art date
- Legal status (The legal status is an assumption and is not a legal conclusion. Google has not performed a legal analysis and makes no representation as to the accuracy of the status listed.)
- Granted
Links
Classifications
-
- A—HUMAN NECESSITIES
- A61—MEDICAL OR VETERINARY SCIENCE; HYGIENE
- A61F—FILTERS IMPLANTABLE INTO BLOOD VESSELS; PROSTHESES; DEVICES PROVIDING PATENCY TO, OR PREVENTING COLLAPSING OF, TUBULAR STRUCTURES OF THE BODY, e.g. STENTS; ORTHOPAEDIC, NURSING OR CONTRACEPTIVE DEVICES; FOMENTATION; TREATMENT OR PROTECTION OF EYES OR EARS; BANDAGES, DRESSINGS OR ABSORBENT PADS; FIRST-AID KITS
- A61F5/00—Orthopaedic methods or devices for non-surgical treatment of bones or joints; Nursing devices ; Anti-rape devices
- A61F5/01—Orthopaedic devices, e.g. long-term immobilising or pressure directing devices for treating broken or deformed bones such as splints, casts or braces
- A61F5/11—Devices for correcting deformities of the nails
-
- A—HUMAN NECESSITIES
- A61—MEDICAL OR VETERINARY SCIENCE; HYGIENE
- A61K—PREPARATIONS FOR MEDICAL, DENTAL OR TOILETRY PURPOSES
- A61K31/00—Medicinal preparations containing organic active ingredients
- A61K31/16—Amides, e.g. hydroxamic acids
-
- A—HUMAN NECESSITIES
- A61—MEDICAL OR VETERINARY SCIENCE; HYGIENE
- A61K—PREPARATIONS FOR MEDICAL, DENTAL OR TOILETRY PURPOSES
- A61K31/00—Medicinal preparations containing organic active ingredients
- A61K31/16—Amides, e.g. hydroxamic acids
- A61K31/17—Amides, e.g. hydroxamic acids having the group >N—C(O)—N< or >N—C(S)—N<, e.g. urea, thiourea, carmustine
-
- A—HUMAN NECESSITIES
- A61—MEDICAL OR VETERINARY SCIENCE; HYGIENE
- A61K—PREPARATIONS FOR MEDICAL, DENTAL OR TOILETRY PURPOSES
- A61K9/00—Medicinal preparations characterised by special physical form
- A61K9/10—Dispersions; Emulsions
- A61K9/12—Aerosols; Foams
-
- A—HUMAN NECESSITIES
- A61—MEDICAL OR VETERINARY SCIENCE; HYGIENE
- A61B—DIAGNOSIS; SURGERY; IDENTIFICATION
- A61B17/00—Surgical instruments, devices or methods
- A61B17/54—Chiropodists' instruments, e.g. pedicure
Landscapes
- Health & Medical Sciences (AREA)
- Chemical & Material Sciences (AREA)
- Life Sciences & Earth Sciences (AREA)
- Animal Behavior & Ethology (AREA)
- General Health & Medical Sciences (AREA)
- Public Health (AREA)
- Veterinary Medicine (AREA)
- Medicinal Chemistry (AREA)
- Pharmacology & Pharmacy (AREA)
- Epidemiology (AREA)
- Nursing (AREA)
- Orthopedic Medicine & Surgery (AREA)
- Engineering & Computer Science (AREA)
- Biomedical Technology (AREA)
- Heart & Thoracic Surgery (AREA)
- Vascular Medicine (AREA)
- Dispersion Chemistry (AREA)
- Containers And Packaging Bodies Having A Special Means To Remove Contents (AREA)
- Medicinal Preparation (AREA)
- Adhesives Or Adhesive Processes (AREA)
Abstract
A kit for the treatment of an ingrowing toenail comprising an aerosol spray, a clip 1 and toenail adhesive. The aerosol spray comprises a relief formulation for cooling or pain relief, comprising urea and panthenol. The clip 1 comprises at least two hook-shaped members 3 wherein each hook-shaped member terminates in a substantially flat surface 4 configured to abut a lower surface of a toenail, and a bridge member 2 to which the hook members 3 are connected or formed with. The bridge member 2 is provided with a substantially planar underside configured to abut an uppermost surface of the toenail. The toenail adhesive comprises either application means suitable for application of the toenail adhesive to the substantially planar underside of the bridge member 2, or is pre-applied to the bridge member 2 and protected by a backing paper until required.
Description
(54) Title of the Invention: Improved toenail treatment kit Abstract Title: Ingrowing toenail treatment kit (57) A kit for the treatment of an ingrowing toenail comprising an aerosol spray, a clip 1 and toenail adhesive. The aerosol spray comprises a relief formulation for cooling or pain relief, comprising urea and panthenol. The clip 1 comprises at least two hook-shaped members 3 wherein each hook-shaped member terminates in a substantially flat surface 4 configured to abut a lower surface of a toenail, and a bridge member 2 to which the hook members 3 are connected or formed with. The bridge member 2 is provided with a substantially planar underside configured to abut an uppermost surface of the toenail. The toenail adhesive comprises either application means suitable for application of the toenail adhesive to the substantially planar underside of the bridge member 2, or is pre-applied to the bridge member 2 and protected by a backing paper until required.
08 17
Y/2
S'Z'7
6^^
Fig. 3
2/2
A”
Fig. 4
08 17
Improved Toenail Treatment Kit
The present invention is directed to an improved treatment of in-growing toe nail. In particular, the present invention is directed to an ingrowing toenail treatment kit consisting essentially of a combination of a clip, toenail adhesive and an aerosol spray for imparting relief to the skin surrounding the toenail.
Ingrown toenails are a very common problem affecting primarily the great toenail. The medical term for ingrown toenail is onychocryptosis. Onychocryptosis is a pathological affliction of the nail unit where the toenail damages the soft tissues of the nail fold to an extent sufficient to pierce the flesh causing paronychia (inflammation) and secondary bacterial infection. When established ingrown toenails are often painful. Leading up to this point when the toenail is ingrowing but has not yet pierced the skin they can be uncomfortable and irritating. The nail folds can have various degrees of redness and swelling. Frequently, when the skin is not pierced ingrown toenails may resolve without medical treatment. Complicated cases may require treatment by a podiatrist.
There are, however, currently limited treatments available for use at home. The device of the present invention is intended for the less severe ‘pre’ condition of ingrowing toenails, in other words, the ‘pre’ condition is where the toenail has not yet pierced the skin. In this instance, the sufferer may feel discomfort and pressure where the nail is pressing against the side of the edge of the toe. The sideways growing portion of toenail acts like a foreign body and pokes into or pinches off a small piece of skin at the outer edge of the toe. This may cause a break in the skin, causing inflammation and possibly infection. The inflammation often causes more thickening of the nail skin fold, further exacerbating the problem. The protruding piece of toenail keeps pushing into the skin, causing further injury and pain.
The treatment of the present invention has been developed to treat milder cases of ingrowing toenail for toenails that cause discomfort to the consumer but have not yet breached the skin of the skin surrounding the toenail.
According to a first aspect of the present invention there is provided an ingrowing toenail treatment kit for the treatment and/or correction of an ingrowing toenail consisting essentially of: an aerosol spray, a clip and toenail adhesive, wherein the aerosol spray comprises a relief formulation; and wherein the clip comprises at least two hook-shaped members wherein each hook-shaped member terminates in a substantially flat surface configured, in use, to abut a lower surface of a toenail, and wherein the clip further comprises a bridge member to which the hook members are connected or formed with, the bridge member being provided with a substantially planar underside configured, in use, to abut an uppermost surface of the toenail; and wherein the toenail adhesive comprises application means suitable, in use, for application of the toenail adhesive to the substantially planar underside of the bridge member.
-1According to a second aspect of the present invention there is provided an ingrowing toenail treatment kit for the treatment and/or correction of an ingrowing toenail consisting essentially of: an aerosol spray, a clip and toenail adhesive, wherein the aerosol spray comprises a relief formulation; and wherein the clip comprises at least two hook-shaped members wherein each hook-shaped member terminates in a substantially flat surface configured, in use, to abut a lower surface of a toenail, and wherein the clip further comprises a bridge member to which the hook members are connected or formed with, the bridge member being provided with a substantially planar underside configured, in use, to abut an uppermost surface of the toenail; and wherein the toenail adhesive is provided on the substantially planar underside of the bridge member together with a release paper which can be removed, in use, to expose the toenail adhesive.
In the context of the present invention “relief formulation” is understood to mean a formulation capable of imparting a cooling effect to the skin surrounding the toenail and/or a relieving effect to the skin surrounding the toenail.
Preferably the relief formulation may also be capable of being absorbed into the surface of the toenail to improve the condition thereof.
The aerosol spray comprises a combination of urea and panthenol. The urea and panthenol are present in a ratio of about 1:1 to about 1.5:1.
The clip is configured to exert a force on the toenail ,in use, such that the nail is leveraged away from the toe by the substantially flat terminating ends of each hook-shaped member exerting an upward force on the toenail, preferably at or adjacent the corners of the toenail. Preferably the at least two hook-shaped members are spaced-apart with respect to each other on the bridge member to be suitable, in use, to exert an upward force at or adjacent to the corners of a toenail. Most preferably the clip is sized to be most suitable for engagement with a big toenail on the first toe, also known as the hallux toe and/or the big toe. The clip can be provided with at least three hook-shaped members wherein the third of said members is located toward the middle of the bridge member and may be suitable to act, in use, as a counter to said at least two hook-shaped members located toward the corners of the toenail.
The clip is configured to be adhered to the toenail and lift the edge of the toenail away from the surrounding skin. By adhering the clip to the toenail, the clip can remain attached to the toenail whilst the toenail grows with the aim of eventually permitting the toenail to grow in a direction which will not prompt the toenail to pierce or be likely to pierce the surrounding skin. Once the clip is attached to the toenail, the substantially flat terminus ends of the hook-shaped members engage with the underside of the toenail whist the curved parts of the hook-shaped members impinge on the skin of
-2the toe adjacent and/or beneath the toenail to permit a pivoting motion to leverage the toenail away from the surrounding skin.
The clip is preferably made of a rigid or a resilient material, and more preferably of a rigid or resilient plastics material and most preferably is made from an acrylonitrile butadiene styrene co-polymer.
The adhesive according to the first aspect of the present invention may be provided in liquid or gel format. The adhesive may be provided in a container with the application means being integral or connected thereto, said application means may be provided in the form of a rollerball, a teat, a brush or the like.
Alternatively the adhesive according to the first aspect of the present invention may be provided as a semi-solid adhesive layer or the like on a tape wherein the adhesive is covered on both sides by a removable release layer such that, in use, the adhesive layer and one of the release layers are both removed from the other release layer, followed by the exposed adhesive layer being brought into contact with the planar underside of the bridge member to which the adhesive layer has a greater adherence than the remaining release layer which can be removed to leave a one side of the adhesive layer adhered to the planar underside of the bridge member and the other side of the adhesive layer exposed for bringing into contact with the upper surface of the toenail.
The adhesive according to the second aspect of the present invention may be provided as a semisolid adhesive layer or the like attached on one side to the planar underside of the bridge member and covered on the other side of the adhesive layer with a removable release layer wherein, in use, the adhesive layer has a greater adherence to the bridge member than the release layer which can be removed to leave a one side of the adhesive layer adhered to the planar underside of the bridge member and the other side of the adhesive layer exposed for bringing into contact with the upper surface of the toenail.
Preferably the adhesive is provided in the form of a cosmetic-grade cyno-acrylate or the like to provide secure attachment until such time as the user would wish to remove the clip using an organic removal fluid, such as nail varnish remover or the like.
Preferably a kit according to the first aspect of the present invention consists of said aerosol spray, said clip and said toenail adhesive.
Preferably a kit according to the second aspect of the present invention consists of said aerosol spray, said clip and said toenail adhesive.
The present invention will now be described in more detail with reference to the accompanying figures in which:
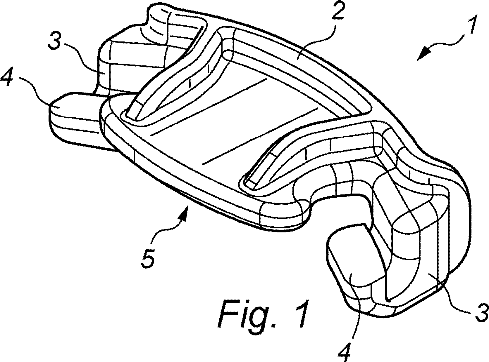
Fig.1 illustrates a perspective view of a clip;
-3Fig.2 illustrates a side view of the clip;
Fig.3 illustrates an aerosol spray comprises a relief formulation;
Fig.4 illustrates a container of toenail adhesive; and
Fig.5 illustrates the clip attached to a toenail of a user.
Figs. 1&2 show a clip 1 from the ingrowing toenail treatment kit of the present invention. The clip 1 is formed from a bridge member 2 from which at least two hook members 3 which, in this embodiment, are integrally formed with the bridge member 2, although they could be formed as separate pieces which are attached to the bridge member 2. The bridge member is provided with a substantially planar underside 5 which, in use, will abut the uppermost surface of the toenail. The hook members 3 are spaced apart on the bridge member 2 such that, in use, they would be at or adjacent the corners of a user’s big toenail. The hook members 3 are provided at their terminus with a substantially flat surface 4 which, in use, will abut the underside of the toenail. The clip 1 is made from a resilient plastics material.
Fig. 3 illustrates an aerosol spray 6 comprising a relief formulation which is used herein to mean a formulation capable of imparting a cooling effect to the skin surrounding the toenail and/or a pain relieving effect to the skin surrounding the toenail. The aerosol spray 6 is manually operated by a user depressing the actuator 7 which is located on a canister 8 which houses the relief formulation. The aerosol spray 6 is depicted in Fig.3 as possessing a pressurised canister 8 and, as such the canister may also house propellant which may be in the formulation or, in a bag on valve arrangement (not shown), may surround the bag holding the formulation. Alternatively the aerosol spray 6 may be a manually-operated pump spray such that no propellant is required.
The relief formulation of the aerosol spray is given in the table below:
Material Function % w/w
Water Carrier 10.00 Urea 1.32 Dexpanthenol 1.00 Ethanol Solvent 40.00 Dimethyl Ether (DME) Propellant 47.68 100.00
The action of the propellant in the spray provides cooling properties to the affected area; this cooling action gives immediate relief.
Fig. 4 illustrates a container of toenail adhesive 9 in liquid or gel form. The container 9 is provided in a resilient material so that a user can squeeze the slides thereof to cause adhesive to exit the container 9 via nozzle 10 with the aim of applying the adhesive to the planar underside 5 of the bridge member 2, as discussed in more detail below.
-4Referring now to Figs. 1,2&5 the use of the clip 1 and mode of action and positioning on the toenail 11 will now be described. The clip 1 is configured to be adhered to the toenail 11 and lift the edge 12 of the toenail 11 away from the surrounding skin 13. By adhering the clip 1 to the toenail 11 the clip 1 can remain attached to the toenail 11 whilst the toenail 11 grows with the aim of eventually permitting the toenail 11 to grow in a direction which will not prompt the toenail 11 to pierce or be likely to pierce the surrounding skin 13.
The mode of operation is the user first removes the clip 1, the spray 6 and the container 9 from the kit.
The user then sprays the skin 13 and toenail 11 with relief formulation from the aerosol spray 6. Once the formulation has dried the user will then squeeze a small amount of adhesive from the adhesive container 9 through the nozzle 10 on to the planar underside 5 of the bridge member 2 of the clip 1. The user will then orientate the clip 1 such that the substantially flat terminus ends 4 of the hookshaped members 3 engage with the underside of the toenail whist the curved parts of the hook15 shaped members 3 impinge on the skin 13 adjacent and/or beneath the toenail 11 to permit a pivoting motion to leverage the toenail 11 away from the surrounding skin 13 whilst simultaneously holding the bridge member 2 of the clip 1 against the upper surface of the toenail 11 until the adhesive sets and holds the clip 1 in place on the toenail 11.
The clip 1 can be used on any of the toenails, but the embodiment shown in Figure 5 shows its use on a user’s toenail 11 on the big toe.
The spray 9 can be used as and when required, the clip 1 should be applied along with the adhesive and left in place for one week. Preferably, a new clip 1 should be applied every week for up to 6 weeks or until the edge 12 of the toenail 11 no longer impinges on the surrounding skin 13.
Further modifications may be made without departing from the scope of the invention described herein.
Claims (17)
1. An ingrowing toenail treatment kit for the treatment and/or correction of an ingrowing toenail consisting essentially of: an aerosol spray, a clip and toenail adhesive, wherein the aerosol spray comprises a relief formulation; and wherein the clip comprises at least two hook-shaped members wherein each hook-shaped member terminates in a substantially flat surface configured, in use, to abut a lower surface of a toenail, and wherein the clip further comprises a bridge member to which the hook members are connected or formed with, the bridge member being provided with a substantially planar underside configured, in use, to abut an uppermost surface of the toenail; and wherein the toenail adhesive comprises application means suitable, in use, for application of the toenail adhesive to the substantially planar underside of the bridge member.
2. An ingrowing toenail treatment kit for the treatment and/or correction of an ingrowing toenail consisting essentially of: an aerosol spray, a clip and toenail adhesive, wherein the aerosol spray comprises a relief formulation; and wherein the clip comprises at least two hook-shaped members wherein each hook-shaped member terminates in a substantially flat surface configured, in use, to abut a lower surface of a toenail, and wherein the clip further comprises a bridge member to which the hook members are connected or formed with, the bridge member being provided with a substantially planar underside configured, in use, to abut an uppermost surface of the toenail; and wherein the toenail adhesive is provided on the substantially planar underside of the bridge member together with a release paper which can be removed, in use, to expose the toenail adhesive.
3. A kit according to claim 1 or claim 2, wherein the relief formulation is capable of imparting a cooling effect to the skin surrounding the toenail and/or imparting a pain relieving effect to the skin surrounding the toenail.
4. A kit according to any of claims 1-3, wherein the relief formulation is capable of being absorbed into the surface of the toenail to improve the condition thereof.
5. A kit according to any preceding claim, wherein the aerosol spray comprises a combination of urea and panthenol.
6. A kit according to claim 5, wherein the urea and panthenol are present in a ratio of about 1:1 to about 1.5:1.
-67. A kit according to any preceding claim, wherein the clip is configured to exert a force on the toenail, in use, such that the nail is leveraged away from the toe by the substantially flat terminating ends of each hook-shaped member exerting an upward force on the toenail.
8. A kit according to any preceding claim, wherein the at least two hook-shaped members are spaced-apart with respect to each other on the bridge member to be suitable, in use, to exert an upward force at or adjacent to the corners of a toenail.
9. A kit according to any preceding claim, wherein the clip is sized to be most suitable for engagement with a big toenail on the first toe.
10. A kit according to any preceding claim, wherein the clip is provided with at least three hookshaped members wherein the third of said members is located toward the middle of the bridge member and is suitable to act, in use, as a counter to said at least two hook-shaped members located toward the corners of the toenail.
11. A kit according to any preceding claim, wherein the clip is made of a rigid or a resilient material, and more preferably of a rigid or resilient plastics material and most preferably is made from an acrylonitrile butadiene styrene co-polymer.
12. A kit according to claim 1 or any claim dependent thereon, wherein the adhesive is provided in liquid or gel format.
13. A kit according to claim 12, wherein the adhesive is provided in a container with the application means being integral or connected thereto.
14. A kit according to claim 1 or any claim dependent thereon, wherein the adhesive is provided as a semi-solid adhesive layer or the like on a tape wherein the adhesive is covered on both sides by a removable release layer such that, in use, the adhesive layer and one of the release layers are both removed from the other release layer, followed by the exposed adhesive layer being brought into contact with the planar underside of the bridge member to which the adhesive layer has a greater adherence than the remaining release layer which can be removed to leave a one side of the adhesive layer adhered to the planar underside of the bridge member and the other side of the adhesive layer exposed for bringing into contact with the upper surface of the toenail.
15. A kit according to claim 2 or any claim dependent thereon, wherein the adhesive is provided as a semi-solid adhesive layer or the like attached on one side to the planar underside of the bridge member and covered on the other side of the adhesive layer with a removable release layer wherein, in use, the adhesive layer has a greater adherence to the bridge member than the release layer which can be removed to leave a one side of the adhesive layer adhered to the planar underside of the
-7bridge member and the other side of the adhesive layer exposed for bringing into contact with the upper surface of the toenail.
16. A kit according to claim 1, wherein the kit consists of said aerosol spray, said clip and said 5 toenail adhesive.
17. A kit according to claim 2, wherein the kit consists of said aerosol spray, said clip and said toenail adhesive.
-8Intellectual
Property
Office
Application No: GB1611936.4 Examiner: Dr Joanna Manning
Priority Applications (2)
| Application Number | Priority Date | Filing Date | Title |
|---|---|---|---|
| GB1611936.4A GB2552459B (en) | 2016-07-08 | 2016-07-08 | Improved toenail treatment kit |
| PCT/GB2017/000100 WO2018007777A1 (en) | 2016-07-08 | 2017-07-06 | Improved toenail treatment kit |
Applications Claiming Priority (1)
| Application Number | Priority Date | Filing Date | Title |
|---|---|---|---|
| GB1611936.4A GB2552459B (en) | 2016-07-08 | 2016-07-08 | Improved toenail treatment kit |
Publications (3)
| Publication Number | Publication Date |
|---|---|
| GB201611936D0 GB201611936D0 (en) | 2016-08-24 |
| GB2552459A true GB2552459A (en) | 2018-01-31 |
| GB2552459B GB2552459B (en) | 2019-11-13 |
Family
ID=56890809
Family Applications (1)
| Application Number | Title | Priority Date | Filing Date |
|---|---|---|---|
| GB1611936.4A Active GB2552459B (en) | 2016-07-08 | 2016-07-08 | Improved toenail treatment kit |
Country Status (2)
| Country | Link |
|---|---|
| GB (1) | GB2552459B (en) |
| WO (1) | WO2018007777A1 (en) |
Families Citing this family (1)
| Publication number | Priority date | Publication date | Assignee | Title |
|---|---|---|---|---|
| CN111529027B (en) * | 2020-06-19 | 2023-08-29 | 南京云科芝生健康科技有限公司 | A paronychia care tool for dermatology |
Citations (6)
| Publication number | Priority date | Publication date | Assignee | Title |
|---|---|---|---|---|
| US5462729A (en) * | 1994-08-09 | 1995-10-31 | Citra Science Ltd. | Hoof and nail conditioner |
| DE19537509A1 (en) * | 1995-09-27 | 1997-04-10 | Egsto Pharm Pharmazeutische Pr | Prods. for treating irritated skin |
| US6050966A (en) * | 1998-08-20 | 2000-04-18 | Wilberscheid; William A. | Method for straightening a nail |
| US20110200539A1 (en) * | 2007-08-31 | 2011-08-18 | Boehringer Ingelheim International Gmbh | Sprayable composition comprising extract of red vine leaves |
| EP2636401A1 (en) * | 2012-03-09 | 2013-09-11 | Dreumex B.V. | Aerosol container comprising a dermatological composition and a foaming agent |
| WO2015072910A1 (en) * | 2013-11-14 | 2015-05-21 | Lipidor Ab | Topical pharmaceutical, cosmetic and disinfectant compositions comprising phosphatidylcholine |
Family Cites Families (1)
| Publication number | Priority date | Publication date | Assignee | Title |
|---|---|---|---|---|
| JP4714871B2 (en) * | 2006-01-11 | 2011-06-29 | 株式会社アクトメント | Ingrown nail corrector |
-
2016
- 2016-07-08 GB GB1611936.4A patent/GB2552459B/en active Active
-
2017
- 2017-07-06 WO PCT/GB2017/000100 patent/WO2018007777A1/en not_active Ceased
Patent Citations (6)
| Publication number | Priority date | Publication date | Assignee | Title |
|---|---|---|---|---|
| US5462729A (en) * | 1994-08-09 | 1995-10-31 | Citra Science Ltd. | Hoof and nail conditioner |
| DE19537509A1 (en) * | 1995-09-27 | 1997-04-10 | Egsto Pharm Pharmazeutische Pr | Prods. for treating irritated skin |
| US6050966A (en) * | 1998-08-20 | 2000-04-18 | Wilberscheid; William A. | Method for straightening a nail |
| US20110200539A1 (en) * | 2007-08-31 | 2011-08-18 | Boehringer Ingelheim International Gmbh | Sprayable composition comprising extract of red vine leaves |
| EP2636401A1 (en) * | 2012-03-09 | 2013-09-11 | Dreumex B.V. | Aerosol container comprising a dermatological composition and a foaming agent |
| WO2015072910A1 (en) * | 2013-11-14 | 2015-05-21 | Lipidor Ab | Topical pharmaceutical, cosmetic and disinfectant compositions comprising phosphatidylcholine |
Also Published As
| Publication number | Publication date |
|---|---|
| GB2552459B (en) | 2019-11-13 |
| WO2018007777A1 (en) | 2018-01-11 |
| GB201611936D0 (en) | 2016-08-24 |
Similar Documents
| Publication | Publication Date | Title |
|---|---|---|
| AU2006333988B2 (en) | Adhesive patch | |
| US20160030247A1 (en) | Multi-use, flexible medical bandage | |
| EP3229856B1 (en) | Unbacked and modifiable tapes and skin dressings | |
| US6572580B2 (en) | Set depth nail notcher with patch system and method for treating nail fungus | |
| US20050266059A1 (en) | Heel moisturizing patch | |
| US20060177487A1 (en) | Moisture and lotion retainer | |
| GB2552459B (en) | Improved toenail treatment kit | |
| KR20090066415A (en) | Scar bands | |
| Cutting | Silicone and skin adhesives. | |
| KR102414320B1 (en) | Micro needle sheet cosmetic tool comprising perforous pad | |
| US20050100571A1 (en) | Method and device to treat skin affected by a corn | |
| FR2807645B1 (en) | USE OF INHIBITORS OF ALCOHOL DEHYDROGENASE IN THE COSMETIC TREATMENT OF KERATINIC MATTER | |
| AU2010202252A1 (en) | Back and body strap | |
| US20060258969A1 (en) | Shower patch | |
| TWM423535U (en) | Palm keratin and thick callus removal device | |
| US20200384252A1 (en) | System and method for applying treatment to a treatment zone | |
| JP5937368B2 (en) | Body massage kit | |
| US20200093647A1 (en) | Heel Repair Dressing | |
| JP3249097U (en) | Heel exfoliating pack products | |
| JP2002220319A (en) | Adhesive sheet for makeup | |
| CN213154575U (en) | a depilatory tablet | |
| WO2000033796A1 (en) | Device, method, and composition for skin cleansing | |
| KR200478195Y1 (en) | Cosmetic aid | |
| RU116773U1 (en) | MASK SOCK | |
| JP3123146U (en) | Back easy set |
Legal Events
| Date | Code | Title | Description |
|---|---|---|---|
| 732E | Amendments to the register in respect of changes of name or changes affecting rights (sect. 32/1977) |
Free format text: REGISTERED BETWEEN 20191212 AND 20191218 |
|
| 732E | Amendments to the register in respect of changes of name or changes affecting rights (sect. 32/1977) |
Free format text: REGISTERED BETWEEN 20230112 AND 20230118 |




