EP3708739A1 - Hard floor panel for floating installation forming a floor - Google Patents
Hard floor panel for floating installation forming a floor Download PDFInfo
- Publication number
- EP3708739A1 EP3708739A1 EP19162167.1A EP19162167A EP3708739A1 EP 3708739 A1 EP3708739 A1 EP 3708739A1 EP 19162167 A EP19162167 A EP 19162167A EP 3708739 A1 EP3708739 A1 EP 3708739A1
- Authority
- EP
- European Patent Office
- Prior art keywords
- groove
- tongue
- floor panel
- profile
- floor
- Prior art date
- Legal status (The legal status is an assumption and is not a legal conclusion. Google has not performed a legal analysis and makes no representation as to the accuracy of the status listed.)
- Granted
Links
Images
Classifications
-
- E—FIXED CONSTRUCTIONS
- E04—BUILDING
- E04F—FINISHING WORK ON BUILDINGS, e.g. STAIRS, FLOORS
- E04F15/00—Flooring
- E04F15/02—Flooring or floor layers composed of a number of similar elements
- E04F15/02038—Flooring or floor layers composed of a number of similar elements characterised by tongue and groove connections between neighbouring flooring elements
-
- E—FIXED CONSTRUCTIONS
- E04—BUILDING
- E04F—FINISHING WORK ON BUILDINGS, e.g. STAIRS, FLOORS
- E04F15/00—Flooring
- E04F15/02—Flooring or floor layers composed of a number of similar elements
- E04F15/10—Flooring or floor layers composed of a number of similar elements of other materials, e.g. fibrous or chipped materials, organic plastics, magnesite tiles, hardboard, or with a top layer of other materials
- E04F15/102—Flooring or floor layers composed of a number of similar elements of other materials, e.g. fibrous or chipped materials, organic plastics, magnesite tiles, hardboard, or with a top layer of other materials of fibrous or chipped materials, e.g. bonded with synthetic resins
-
- E—FIXED CONSTRUCTIONS
- E04—BUILDING
- E04F—FINISHING WORK ON BUILDINGS, e.g. STAIRS, FLOORS
- E04F15/00—Flooring
- E04F15/02—Flooring or floor layers composed of a number of similar elements
- E04F15/10—Flooring or floor layers composed of a number of similar elements of other materials, e.g. fibrous or chipped materials, organic plastics, magnesite tiles, hardboard, or with a top layer of other materials
- E04F15/105—Flooring or floor layers composed of a number of similar elements of other materials, e.g. fibrous or chipped materials, organic plastics, magnesite tiles, hardboard, or with a top layer of other materials of organic plastics with or without reinforcements or filling materials
-
- E—FIXED CONSTRUCTIONS
- E04—BUILDING
- E04F—FINISHING WORK ON BUILDINGS, e.g. STAIRS, FLOORS
- E04F15/00—Flooring
- E04F15/02—Flooring or floor layers composed of a number of similar elements
- E04F15/10—Flooring or floor layers composed of a number of similar elements of other materials, e.g. fibrous or chipped materials, organic plastics, magnesite tiles, hardboard, or with a top layer of other materials
- E04F15/107—Flooring or floor layers composed of a number of similar elements of other materials, e.g. fibrous or chipped materials, organic plastics, magnesite tiles, hardboard, or with a top layer of other materials composed of several layers, e.g. sandwich panels
-
- E—FIXED CONSTRUCTIONS
- E04—BUILDING
- E04F—FINISHING WORK ON BUILDINGS, e.g. STAIRS, FLOORS
- E04F2201/00—Joining sheets or plates or panels
- E04F2201/01—Joining sheets, plates or panels with edges in abutting relationship
- E04F2201/0153—Joining sheets, plates or panels with edges in abutting relationship by rotating the sheets, plates or panels around an axis which is parallel to the abutting edges, possibly combined with a sliding movement
- E04F2201/0161—Joining sheets, plates or panels with edges in abutting relationship by rotating the sheets, plates or panels around an axis which is parallel to the abutting edges, possibly combined with a sliding movement with snap action of the edge connectors
-
- E—FIXED CONSTRUCTIONS
- E04—BUILDING
- E04F—FINISHING WORK ON BUILDINGS, e.g. STAIRS, FLOORS
- E04F2201/00—Joining sheets or plates or panels
- E04F2201/04—Other details of tongues or grooves
- E04F2201/043—Other details of tongues or grooves with tongues and grooves being formed by projecting or recessed parts of the panel layers
Definitions
- the present invention relates to a hard floor panel for floating installation with the formation of a floor panel composite, in particular a laminate floor.
- Floor panels with tongue and groove profiles on the side edges for laying to form panels, such as laminate floors, are widely used and conventionally known.
- the tongue and groove profiles make it easy to lay floor panels to floor coverings.
- Such floor coverings can consist of wood fiber panels or plastic panels, for example.
- the floor panels are provided with a decorative layer and an abrasion-resistant surface layer.
- the tongue and groove profiles conventionally used have the disadvantage that gaps of different sizes are formed between the panels lying against one another. Dirt as well as moisture can penetrate into these gaps and lead to expansion or swelling of the base plate of the floor panel, in particular if wood-based panels are used as base plates. The expansion or swelling of the wood-based panel causes the surface layer to rise, so that the surface layer is exposed to increased abrasion.
- a floor panel for realizing a floor covering is known, coupling parts in the form of a groove and a tongue being provided on the edges of two opposite sides of the panels. Tongue and groove are designed in such a way that when two or more floor panels are joined together, a tension force is exerted on one another, which the floor panels forces one another.
- the tensioning force is brought about by an elastically bendable lip in the groove which is at least partially bent in the assembled state and in this way provides the aforementioned tensioning force.
- WO 2016/113706 A1 describes a hard floor panel for floating installation with the formation of a floor panel composite, the opposite side edges each being provided with tongue and groove profiles and a tongue with a joining surface in the first side edge and a groove with an upper lip in the second side edge a joining surface is provided.
- a floor panel in particular with a core made of a wood-based panel, a wood-based plastic panel or a plastic panel, with an upper side and a lower side and with side edges along the panel sides (i.e. along the long sides and transverse sides) is used for floating installation with the formation of a floor panel composite provided, whereby at least two floor panels are put together or connected to one another, the opposite side edges are provided with tongue and groove profiles, wherein a tongue and a joining surface are provided in a first side edge and a groove and a joining surface are provided in a second opposite side edge, wherein the tongue of the first side edge has an upper side and a lower side; wherein a projection with a contact surface is provided on the lower side of the spring; wherein the joining surface of the first side edge runs from the top of the floor panel to the upper tongue side and the joining surface is beveled; wherein the joining surface of the first side edge is inclined from the top of the floor panel inwardly away from the vertical towards the tongue, wherein the groove in the
- tension and line pressure Due to the combination of tension and line pressure according to the invention, it is now possible to avoid the formation of gaps between adjacent floor panels, and thus to reduce the entry of moisture and dirt into the floor covering.
- the line pressure results from the profile geometry and the pressure to be applied.
- the tongue and groove preferably have shapes that are complementary to one another.
- the protrusion on the lower side of the tongue extends along the lower lip of the groove and engages the recess of the lower lip of the groove when two panels are coupled.
- the contact surfaces of the projection of the spring and the recess lie against one another.
- the tongue is precisely positioned against the upper side and the lower side of the groove, a pressure P being exerted on the upper lip of the groove. This pressure is not only absorbed by the upper lip, but by the entire structure, since the pressure can be transmitted through the spring and the lower lip.
- the clamping force by which the panels are joined and held is produced by the pressing pressure P.
- bevel of the joining surfaces or joining edges is to be understood as a bevel or inclination of the joining surfaces or joining edges from the top of the panel inwardly away from the vertical towards the tongue or towards the groove.
- the top of the panel and the respective joining surface of the side edges usually form a right angle (90 °); i.e.
- the top of the panel and the joining surface are arranged at right angles to one another.
- the angle between the top of the panel and the joining surface is no longer rectangular, but forms an (acute) angle between 85 ° and 89 °, preferably between 87 ° and 89 °, particularly preferably 88 ° and 89 °.
- the joining surfaces are each inclined at an angle between 1 and 5 °, preferably between 1 and 3 °, particularly preferably 2 and 3 °, away from the vertical (to the top of the panel).
- the bevel or inclination of the joining surface of the first side edge of the tongue profile from the top of the floor panel to the upper tongue side is between 1 and 5 °, preferably between 1 and 3 °, particularly preferably between 1 and 2 ° .
- the bevel or inclination of the joining surface of the second side edge of the groove profile from the top of the floor panel along the upper lip to the groove is between 1 and 5 °, preferably between 1 and 3 °, particularly preferred between 1 and 2 °.
- the bevel or inclination of the joining surfaces of the tongue profile and the groove profile each have the same angle.
- the joining surface of the tongue profile can be beveled by 1 ° and the joining surface of the groove profile can also be beveled by 1 °.
- the bevel or inclination of the joining surfaces of the tongue profile and the groove profile each have different angles.
- the joining surface of the tongue profile can be beveled by 1 ° and the joining surface of the groove profile can be beveled by 2 ° (not part of the present invention).
- the joining surface of the tongue profile has no bevel or inclination (ie running at right angles to the top of the floor panel) and the second joining surface of the groove profile has a bevel or inclination (not part of the present Invention).
- first joining surface of the tongue profile would have a bevel and the second joint surface of the groove profile would have no bevel (i.e. running at right angles to the top of the floor panel).
- the profilings with tongue and groove provided in the present floor panel as coupling parts between two panels are preferably designed in one piece.
- a spring with an upper side and a lower side is provided in a first side edge.
- the distance between the top of the tongue from the top of the panel and the underside of the tongue from the underside of the panel can vary depending on the panel thickness.
- the thickness of the tongue is preferably equal to the width of the groove so that the upper lip of the groove is supported by the tongue and the tongue is in turn supported by the lower lip of the groove.
- the upper side of the tongue is flat or flat and horizontal in relation to the panel upper side.
- the upper side of the groove (or lower side of the upper lip of the groove) is also arranged flat and horizontally, so that the tongue and groove can engage or can be pushed into one another without resistance.
- the top of the tongue and the underside of the upper lip form contact surfaces which are essentially parallel to the plane defined by the floor panel.
- a recess is provided between the joining surface of the tongue profile and the top of the tongue.
- the lower side of the spring has a bevel at its edge.
- This bevel can also be described as a chamfer with an angle between 45-55 °.
- the projection provided on the lower side of the tongue extends along the lower lip of the groove.
- the projection engages in the recess of the lower lip of the groove in the coupled state of two panels.
- the angle of the contact surfaces of the protrusion of the spring and the recess of the lower lip is in Relation to the horizontal plane between 30 and 70 °. This angle is ideal to achieve an optimal compression of the floor panels and at the same time to allow easy engagement and assembly of the floor panels.
- an additional space can form between the projection of the lower tongue side and the recess in the lower lip of the groove, which e.g. acts as a dust chamber.
- the size of the dust chamber can e.g. vary between the profiles in the panel longitudinal sides (longitudinal profile) and panel transverse sides (transverse profile).
- the lower lip of the groove extends beyond the upper lip of the groove.
- the recess in the lower lip of the groove is in the portion of the lower lip that extends beyond the upper lip of the groove.
- At least one saddle is provided in the recess of the lower lip of the groove. This saddle can be differently pronounced in the transverse profile and longitudinal profile.
- the thickness of the upper lip of the groove can be greater than or equal to the thickness of the lower lip.
- the central line through the tongue and the groove is arranged below the center line of the panel. In this arrangement, the lower lip of the groove is bent when joining two floor panels so that the top of the floor panel is not subject to any changes or deformations.
- the upper and lower lips also have rounded edges, which simplifies the assembly of the panels.
- the joining surface of the upper lip can have a rounded edge or bevel.
- the bevel is provided at the point of contact between the upper lip of the groove and the top of the tongue and enables the floor panels to be easily assembled.
- an inclined surface or bevel is also provided at the free end of the lower lip of the groove, which enables the tongue-and-groove profiles to be easily pushed into one another.
- a bevel or bevel is provided over a length of 0.6 mm at an angle between 20 and 30 °, preferably 25 °.
- the bevel is in particular provided in a counter-pull arranged on the underside of the panel and enables better laying without splinters.
- the tongue and groove profiles have one of the following properties or a combination thereof: roundings at the corners (or edges) of the tongue and groove profiles; Dust chambers between all sides of the nested floor panels; in particular the above-mentioned dust chamber between the recess of the lower lip of the groove and the projection of the tongue;
- the tongue and groove profiles enable two floor panels to intervene by applying a rotary movement or a pivoting movement ("Angle-Angle").
- a first floor panel is first placed at an angle on a horizontally arranged second floor panel, followed by pivoting the first floor panel in the direction of the laying plane, so that the assembled floor panels lie in the laying plane.
- the edges or curvatures are preferably rounded or circular.
- the present floor panel preferably has a rectangular shape, the tongue and groove profiles being provided on the longitudinal side edges and on the transverse side edges.
- the longitudinal profile used for connecting the panels along the longitudinal side edges can have the same or a different tongue and groove profile than the transverse profile used for connecting the panels along the transverse side edges.
- the longitudinal profile and the transverse profile relate to the formation of a saddle in the recess of the lower lip, which also requires a larger space or chamber between the spring projection and the groove recess when the floor panels are assembled.
- the lower lip of the groove at the end of the groove also has a ramp surface which is not provided in the longitudinal profile.
- the present panels have a core made of a wood-based panel, preferably an HDF or MDF panel, a wood-based plastic panel, preferably a WPC panel, or a plastic carrier panel, preferably a PVC carrier panel. If plastic is used, the core can have at least one filler in an amount of up to 70% of the total weight of the core of the carrier plate, calcium carbonate or materials with comparable properties being preferably used.
- the thickness of the panels can be between 4 and 16 mm, preferably between 4.5 and 12 mm. Preferred panel thicknesses are 4.5 mm and 12 mm.
- the pretension caused by the interaction of tongue and groove is optimally transferred to the upper side of the floor panel, with the joining surfaces of the tongue and groove profiles being pressed against one another in the engagement direction so that there is a line pressure at the contact point of the joining surfaces Formation of an angle between the joining surfaces comes.
- the invention is explained for rectangular floor panels that can be connected to one another both on their long sides and on their transverse sides or else only on one side.
- the present floor panels have a rectangular shape with side edges 10, 20 which extend along the longitudinal sides and transverse sides of the panel and are suitable for floating installation to form a floor panel.
- the floor panels typically have a length of one to two meters.
- the thickness of the panels can also vary, but is in Figures 1A-C and 2A-C described embodiments 4.5 mm.
- Each floor panel has on the opposite edges 10, 20 the tongue-and-groove profiles described in detail below, which enable 2 adjacent floor panels to be joined together.
- a tongue 11 is provided in a first side edge 10 and a groove 21 is provided in the second opposite side edge 20.
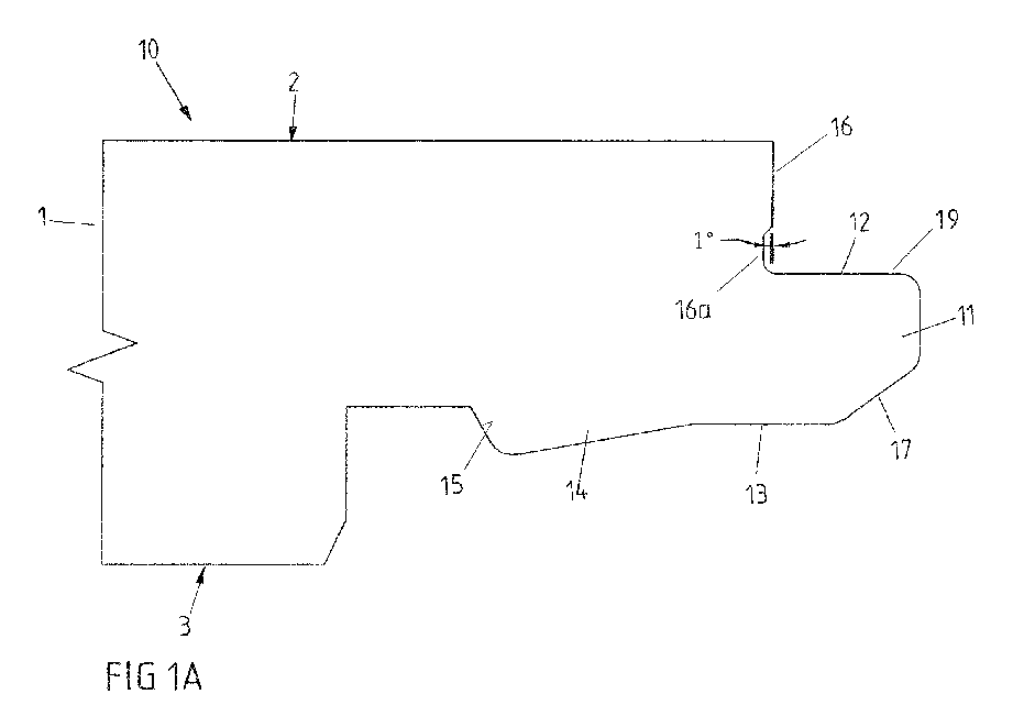
- Figure 1A shows a first spring profile, which is provided for a transverse side of the floor panel.
- the tongue 11 of the tongue profile of the first side edge 10 has an upper side 12 and a lower side 13.
- the distance of the tongue top 12 from the panel top side or panel surface 2 and the distance between the tongue bottom 13 from the panel bottom 3 can vary depending on the panel thickness.
- the upper side 12 of the tongue 11 has a flat surface 19, which is arranged horizontally in relation to the panel top.
- the length of the top of the tongue can be determined in the cross profile ( Figure 1A ) and longitudinal profile ( Figure 2A ) be the same, while the length of the lower tongue side in the transverse profile is greater than the length of the lower tongue side in the longitudinal profile.
- the lower side of the spring 11 has a bevel or bevel 17 at its edge at an angle between 45-55 °.
- the projection 14 with a contact surface 15 is provided on the lower side 13 of the spring.
- the projection 14 has an inclination between 10 ° (transverse profile) and 44 ° (longitudinal profile) with respect to the flat, horizontal section of the underside 13 of the spring.
- the length and height of the projection 14 also vary depending on the design of the spring as a transverse profile or a longitudinal profile.
- the spring profile of the Figure 1A has a joining surface 16 on the side edge, which runs from the top 2 of the floor panel to the upper tongue side 12 and has a bevel or inclination from the upper side of the floor panel in the direction of the upper tongue side.
- the bevel of the joining surface 16 runs at an angle of 1 ° with respect to the perpendicular to the top of the floor panels.
- the joining surface 16 thus has a bevel inwards away from the vertical.
- a recess 16a is provided at the transition from the joining surface 16 of the spring profile to the top 12 of the spring.
- the groove 21 provided in the second side edge 20 of the floor panel 1 has a top side and a bottom side, the top side of the groove 21 being delimited by an upper lip 22 and the underside of the groove being delimited by a lower lip 23.
- the width or width of the groove formed by the upper lip 22 and the lower lip 23 corresponds to the thickness of the tongue 11, so that the tongue 11 can be inserted into the groove 21.
- the lower side of the upper lip 23 of the groove with surface 29, like the surface 19 of the upper side of the tongue, is arranged flat and horizontally so that the tongue and groove can engage or can be pushed into one another without resistance.
- Surface 19 of the upper side of the tongue and surface 29 of the lower side of the upper lip 23 form contact surfaces which are essentially parallel to the plane defined by the floor panel.
- the thickness of the upper lip 22 and the lower lip 23 differ, wherein the upper lip 22 can be thicker than the lower lip 23. Due to a smaller thickness of the lower lip 23, this serves as an elastically bendable projection.
- a recess 24 with a contact surface 25 is provided in the lower lip 23 of the groove, the recess 24 cooperating with the contact surface 25 complementarily to the tongue 11 with the contact surface 15.
- a saddle 27 is formed in the recess 24. The formation of the saddle 27 in the transverse profile ( Figure 1B ) and the saddle 47 longitudinal profile ( Figure 2B ) is differently pronounced, which is due to the technical profile geometry and the associated prestressing effect.
- the groove profiling of the Figure 1B has a joining surface 26 on the side edge which runs along the upper lip 22.
- the joining surface 26 is - like the joining surface 16 of the tongue - beveled, the beveling of the joining surface 26 here also running at an angle of 1 ° with respect to the perpendicular to the panel top.
- a ramp surface 28 is provided at the free end of the lower lip 23 of the groove, which makes it easier for the short transverse sides to engage in one another.
- the corresponding ramp surface 48 in the longitudinal profile ( Figure 2B ), on the other hand, is less strongly developed and is rather intended as a rounding. This geometric difference is due to the different behavior of the transverse profile and the longitudinal profile when the profiles are angled in during laying.
- the ramp surface 28 enables easier placement of the transverse profiles. In addition, laying with hammer wood is guaranteed without damaging the profiles.
- this cavity or dust chamber between recess 44 and projection 34 is smaller. This is related to the selected spring mechanism of the groove profiles in the transverse profile and longitudinal profile, with the rebound in the transverse profile being greater than in the longitudinal profile.
- the transverse profile also has a higher profile spacing compared to the longitudinal profile (ie lower lip 23 of the transverse profile is longer than the lower lip 43 of the longitudinal profile.
- the slightly varying profile dimensions and geometry of the transverse profile and longitudinal profile are due in particular to the different behavior of the transverse profile and the longitudinal profile when the profiles are angled in during laying by different lever arms.
- the ones in the Figures 2A to 2C The ones in the Figures 2A to 2C
- the shown second embodiment of the tongue and groove profile is, as already mentioned, provided as a longitudinal profile in the longitudinal sides of the floor panel.
- the spring profiling of the Figure 2A essentially corresponds to the spring profiling of the Figure 1A , wherein the length of the lower spring side 13 in the transverse profile differs from the length of the lower spring side 33 in the longitudinal profile.
- the length of the lower spring side 13 in the transverse profile is longer than in the longitudinal profile of the Figure 2A .
- the geometry of the projection 14 in the transverse profile differs from the geometry of the projection 34 in the longitudinal profile.
- the projection 14 in the transverse profile is made weaker than the projection 34 in the longitudinal profile, ie the height of the projection 14 in the transverse profile is smaller than the height of the projection 34 in the longitudinal profile.
- This geometrical difference is also due to the different behavior of the transverse profile and the longitudinal profile when the profiles are angled in during laying by different lever arms.
- the groove profiling of the Figure 2B differs from the groove profiling of the Figure 1B especially in the angle of inclination of the beveled joining surface. So the joining surface 26 is the Figure 1 B beveled by 1 °, while the joining surface 46 in the Figure 2B has a bevel of 2 °. The differences in the bevel of the joining surfaces of the groove profile in the transverse profile and in the longitudinal profile are due to the length of the transverse and longitudinal sides.
- the length of the lower lip 23 of the transverse profile also differs from the length of the lower lip 43 of the longitudinal profile, the lower lip 23 of the transverse profile being longer than the lower lip 43 of the longitudinal profile.
- the ones in the Figures 3A to 3B The third embodiment of the tongue and groove profile shown is provided in the transverse sides of a floor panel with a thickness of 12 mm as a transverse profile.
- the fourth embodiment of the tongue-and-groove profiling shown is in turn provided in the longitudinal sides of a floor panel with a thickness of 12 mm as a longitudinal profile.
- the tongue and groove profiles of the Figures 3A, 3B and 4A, 4B essentially correspond to the tongue and groove profiles of Figures 1A, 1B and 2A, 2B so that reference is made to the above statements.
Landscapes
- Engineering & Computer Science (AREA)
- Architecture (AREA)
- Civil Engineering (AREA)
- Structural Engineering (AREA)
- Floor Finish (AREA)
Abstract
Die vorliegende Erfindung betrifft ein hartes Fußbodenpaneel (1) mit einer Oberseite (2) und einer Unterseite (3) und mit Seitenkanten (10, 20) entlang der Paneelseiten zur schwimmenden Verlegung unter Ausbildung eines Fußbodenpaneelverbundes, wobei jeweils mindestens zwei Fußbodenpaneele zusammengefügt werden, wobei die gegenüberliegenden Seitenkanten (10, 20) mit Feder-Nut-Profilierungen versehen sind, wobei in einer ersten Seitenkante (10) eine Feder (11) und eine Fügefläche (16) vorgesehen sind und in einer zweiten gegenüberliegenden Seitenkante (20) eine Nut (21) und eine Fügefläche 26 vorgesehen sind, wobei die Feder (11) der ersten Seitenkante (10) eine obere Seite (12) und eine untere Seite (13) aufweist; wobei an der unteren Seite (13) der Feder ein Vorsprung (14) mit einer Kontaktfläche (15) vorgesehen ist; wobei die Fügefläche (16) der ersten Seitenkante (10) von der Oberseite (2) des Fußbodenpaneels hin zur oberen Federseite (12) verläuft und die Fügefläche (16) abgeschrägt ausgebildet ist; wobei die Nut (21) in der zweiten Seitenkante (20) eine Oberseite und eine Unterseite aufweist, wobei die Oberseite der Nut (21) von einer oberen Lippe (22) begrenzt wird und die Unterseite der Nut von einer unteren Lippe (23) begrenzt wird; wobei in der unteren Lippe (23) der Nut eine Aussparung (24) mit einer Kontaktfläche (25) vorgesehen ist; wobei die Fügefläche (26) der zweiten Seitenkante (20) von der Oberseite des Fußbodenpaneels entlang der oberen Lippe (22) verläuft und die Fügefläche (26) abgeschrägt ausgebildet ist; wobei im zusammengefügten Zustand von mindestens zwei Fußbodenpaneelen der Vorsprung (14) der Feder (10) in die Aussparung (24) der unteren Lippe (23) der Nut eingreift, so dass die Kontaktflächen (15, 25) des Vorsprungs (14) der Feder und der Aussparung (24) der unteren Lippe der Nut eine Spannkraft aufeinander ausüben; und wobei es bei Anlage der abgeschrägten Fügeflächen (16) der ersten Seitenkante (10) der Feder-Profilierung und der abgeschrägten Fügefläche (26) der zweiten Seitenkante (20) der Nut-Profilierung im zusammengefügten Zustand von mindestens zwei Fußbodenpaneelen zu einer Linienpressung entlang der abgeschrägten Fügeflächen (16, 26) der Seitenkanten der Feder-Profilierung und der Nut-Profilierung kommt. The present invention relates to a hard floor panel (1) with an upper side (2) and an underside (3) and with side edges (10, 20) along the panel sides for floating installation to form a floor panel composite, with at least two floor panels being joined together the opposite side edges (10, 20) are provided with tongue and groove profiles, a tongue (11) and a joining surface (16) being provided in a first side edge (10) and a groove (20) in a second opposite side edge (20) 21) and a joining surface 26 are provided, the tongue (11) of the first side edge (10) having an upper side (12) and a lower side (13); wherein a projection (14) with a contact surface (15) is provided on the lower side (13) of the spring; wherein the joining surface (16) of the first side edge (10) runs from the top (2) of the floor panel to the upper tongue side (12) and the joining surface (16) is beveled; wherein the groove (21) in the second side edge (20) has a top and a bottom, the top of the groove (21) being delimited by an upper lip (22) and the bottom of the groove being delimited by a lower lip (23) becomes; wherein a recess (24) with a contact surface (25) is provided in the lower lip (23) of the groove; wherein the joining surface (26) of the second side edge (20) extends from the top of the floor panel along the upper lip (22) and the joining surface (26) is beveled; wherein in the assembled state of at least two floor panels, the projection (14) of the tongue (10) engages in the recess (24) of the lower lip (23) of the groove, so that the contact surfaces (15, 25) of the projection (14) of the tongue and the recess (24) of the lower lip of the groove exert a clamping force on one another; and when the beveled joining surfaces (16) of the first side edge (10) of the tongue profile and the beveled joining surface (26) of the second side edge (20) of the groove profile are in contact with at least two floor panels in the assembled state, resulting in a line pressure along the beveled joining surfaces (16, 26) of the side edges of the tongue profile and the groove profile comes.
Description
Die vorliegende Erfindung betrifft ein hartes Fußbodenpaneel zur schwimmenden Verlegung unter Ausbildung eines Fußbodenpaneelverbundes, insbesondere eines Laminatfußbodens.The present invention relates to a hard floor panel for floating installation with the formation of a floor panel composite, in particular a laminate floor.
Fußbodenpaneele mit Feder-Nut-Profilen an den Seitenkanten zur Verlegung zu Paneelverbunden, wie Laminatfußböden, sind weit verbreitet und herkömmlich bekannt. Die Feder-Nut-Profile ermöglichen eine einfache Verlegung von Fußbodenpaneelen zu Fußbodenbelägen. Solche Fußbodenbeläge können zum Beispiel aus Holzfaserplatten oder Kunststoffplatten bestehen. Meistens sind die Fußbodenpaneele mit einer Dekorschicht und einer abriebfesten Oberflächenschicht versehen.Floor panels with tongue and groove profiles on the side edges for laying to form panels, such as laminate floors, are widely used and conventionally known. The tongue and groove profiles make it easy to lay floor panels to floor coverings. Such floor coverings can consist of wood fiber panels or plastic panels, for example. Most of the time, the floor panels are provided with a decorative layer and an abrasion-resistant surface layer.
Die herkömmlich verwendeten Feder-Nut-Profile weisen jedoch den Nachteil auf, dass es zwischen den aneinander liegenden Paneelen zur Ausbildung von Spalten mit unterschiedlicher Größe kommt. Schmutz wie auch Feuchtigkeit können in diese Spalten eindringen und zu einer Expansion bzw. Quellung der Trägerplatte des Fußbodenpaneels, insbesondere im Falle der Verwendung von Holzwerkstoffplatten als Trägerplatten, führen. Die Expansion bzw. Quellung der Holzwerkstoffträgerplatte verursacht ein Anheben der Oberflächenschicht, so dass die Oberflächenschicht einem verstärkten Abrieb ausgesetzt ist.The tongue and groove profiles conventionally used, however, have the disadvantage that gaps of different sizes are formed between the panels lying against one another. Dirt as well as moisture can penetrate into these gaps and lead to expansion or swelling of the base plate of the floor panel, in particular if wood-based panels are used as base plates. The expansion or swelling of the wood-based panel causes the surface layer to rise, so that the surface layer is exposed to increased abrasion.
Unterschiedliche Vorrichtungen, um die Fußbodenpaneele während der Installation zusammenzufügen, können solche Spalten reduzieren bzw. verhindern. Die Verwendung von entsprechenden Vorrichtungen verkompliziert jedoch die Anwendung der Fußbodenpaneele und ist somit nicht von Vorteil.Different devices for joining the floor panels together during installation can reduce or prevent such gaps. However, the use of corresponding devices complicates the use of the floor panels and is therefore not advantageous.
Entsprechend wurden in der Vergangenheit verschiedene alternative Feder-Nut-Profile entwickelt, um die Spaltengröße zu verringern.Accordingly, various alternative tongue and groove profiles have been developed in the past to reduce the gap size.
So ist zum Beispiel aus der
Aber auch diese Ansätze bedingen einen Spalt auf der Oberseite der zusammengefügten Paneele, und hier insbesondere an den Kontaktpunkten der Fügeflächen der beiden sich gegenüberliegenden Seitenkanten von zwei zusammengefügten Fußbodenpaneelen, durch welchen Feuchtigkeit und Schmutz zwischen die Fußbodenpaneele eindringen kann.But even these approaches require a gap on the top of the assembled panels, and here in particular at the contact points of the joining surfaces of the two opposite side edges of two assembled floor panels, through which moisture and dirt can penetrate between the floor panels.
Es war demnach die Aufgabe der vorliegenden Erfindung, die aus dem Stand der Technik bekannten Feder-Nut-Profile derart weiter zu entwickeln, so dass eine Spaltbildung an den Fügeflächen der Fußbodenpaneele vermieden wird, umso das Eindringen von Feuchtigkeit und Schmutz und die damit einhergehenden Nachteile zu verhindern.It was therefore the object of the present invention to further develop the tongue and groove profiles known from the prior art in such a way that the formation of gaps on the joining surfaces of the floor panels is avoided, as is the penetration of moisture and dirt and the associated disadvantages to prevent.
Diese Aufgabe wird mit einem Fußbodenpaneel mit den Merkmalen des Anspruchs 1 gelöst.This object is achieved with a floor panel with the features of
Entsprechend wird ein Fußbodenpaneel, insbesondere mit einem Kern aus einer Holzwerkstoffplatte, einer Holzwerkstoff-Kunststoff-Platte oder einer Kunststoffplatte, mit einer Oberseite und einer Unterseite und mit Seitenkanten entlang der Paneelseiten (d.h. entlang der Längsseiten und Querseiten) zur schwimmenden Verlegung unter Ausbildung eines Fußbodenpaneelverbundes bereitgestellt,
wobei jeweils mindestens zwei Fußbodenpaneele zusammengefügt bzw. miteinander verbunden werden,
wobei die gegenüberliegenden Seitenkanten mit Feder-Nut-Profilierungen versehen sind,
wobei in einer ersten Seitenkante eine Feder und eine Fügefläche vorgesehen sind und in einer zweiten gegenüberliegenden Seitenkante eine Nut und eine Fügefläche vorgesehen sind,
wobei die Feder der ersten Seitenkante eine obere Seite und eine untere Seite aufweist;
wobei an der unteren Seite der Feder ein Vorsprung mit einer Kontaktfläche vorgesehen ist;
wobei die Fügefläche der ersten Seitenkante von der Oberseite des Fußbodenpaneels hin zur oberen Federseite verläuft und die Fügefläche abgeschrägt ausgebildet ist; wobei die Fügefläche der ersten Seitenkante von der Oberseite des Fußbodenpaneels nach innen weg von der Senkrechten hin zur Feder geneigt ist,
wobei die Nut in der zweiten Seitenkante eine Oberseite und eine Unterseite aufweist,
wobei die Oberseite der Nut von einer oberen Lippe begrenzt wird und die Unterseite der Nut von einer unteren Lippe begrenzt wird;
wobei in der unteren Lippe der Nut eine Aussparung mit einer Kontaktfläche vorgesehen ist;
wobei die Fügefläche der zweiten Seitenkante von der Oberseite des Fußbodenpaneels entlang der oberen Lippe der Nut verläuft und die Fügefläche abgeschrägt ausgebildet ist; wobei die Fügefläche der zweiten Seitenkante von der Oberseite des Fußbodenpaneels nach innen weg von der Senkrechten hin zur Nut geneigt ist,
wobei im zusammengefügten Zustand von mindestens zwei Fußbodenpaneelen der Vorsprung der Feder in die Aussparung der unteren Lippe der Nut eingreift, so dass die Kontaktflächen des Vorsprungs der Feder und der Aussparung der unteren Lippe der Nut eine Spannkraft aufeinander ausüben; und
wobei es bei Anlage der abgeschrägten Fügefläche der ersten Seitenkante der Feder-Profilierung und der abgeschrägten Fügefläche der zweiten Seitenkante der Nut-Profilierung im zusammengefügten Zustand von mindestens zwei Fußbodenpaneelen an den Kontaktpunkten zu einer Linienpressung entlang der abgeschrägten Fügeflächen der Seitenkanten der Feder-Profilierung und der Nut-Profilierung kommt.Accordingly, a floor panel, in particular with a core made of a wood-based panel, a wood-based plastic panel or a plastic panel, with an upper side and a lower side and with side edges along the panel sides (i.e. along the long sides and transverse sides) is used for floating installation with the formation of a floor panel composite provided,
whereby at least two floor panels are put together or connected to one another,
the opposite side edges are provided with tongue and groove profiles,
wherein a tongue and a joining surface are provided in a first side edge and a groove and a joining surface are provided in a second opposite side edge,
wherein the tongue of the first side edge has an upper side and a lower side;
wherein a projection with a contact surface is provided on the lower side of the spring;
wherein the joining surface of the first side edge runs from the top of the floor panel to the upper tongue side and the joining surface is beveled; wherein the joining surface of the first side edge is inclined from the top of the floor panel inwardly away from the vertical towards the tongue,
wherein the groove in the second side edge has a top and a bottom,
wherein the top of the groove is bounded by an upper lip and the bottom of the groove is bounded by a lower lip;
wherein a recess with a contact surface is provided in the lower lip of the groove;
wherein the joining surface of the second side edge extends from the top of the floor panel along the upper lip of the groove and the joining surface is beveled; wherein the joining surface of the second side edge is inclined from the top of the floor panel inwardly away from the vertical towards the groove,
wherein in the assembled state of at least two floor panels, the projection of the tongue engages in the recess of the lower lip of the groove, so that the contact surfaces of the projection of the tongue and the recess of the lower lip of the groove exert a tension force on one another; and
with the beveled joining surface of the first side edge of the tongue profile and the beveled joint surface of the second side edge of the groove profile in the joined state of at least two floor panels at the contact points to a line pressure along the beveled joint surfaces of the side edges of the tongue profile and the Groove profiling is coming.
Durch die erfindungsgemäße Kombination von Spannkraft und Linienpressung ist es nunmehr möglich, die Bildung von Spalten zwischen anliegenden Fußbodenpaneelen zu vermeiden, und somit den Eintritt von Feuchtigkeit und Schmutz in den Fußbodenbelag zu reduzieren. Die Linienpressung ergibt sich dabei aus der Profilgeometrie und dem aufzubringenden Druck.Due to the combination of tension and line pressure according to the invention, it is now possible to avoid the formation of gaps between adjacent floor panels, and thus to reduce the entry of moisture and dirt into the floor covering. The line pressure results from the profile geometry and the pressure to be applied.
Feder und Nut weisen bevorzugt Formen auf, die zueinander komplementär sind. Der Vorsprung an der unteren Seite der Feder erstreckt sich entlang der unteren Lippe der Nut und greift in die Aussparung der unteren Lippe der Nut im gekoppelten Zustand von zwei Paneelen ein. Die Kontaktflächen des Vorsprungs der Feder und der Aussparung liegen aneinander an. Die Feder setzt im zusammengefügten Zustand der Fußbodenpaneele präzise gegen die obere Seite und die untere Seite der Nut an, wobei ein Druck P auf die obere Lippe der Nut ausgeübt wird. Dieser Druck wird nicht nur von der oberen Lippe aufgenommen, sondern von der kompletten Struktur, da der Druck durch die Feder und die untere Lippe übertragen werden kann. Durch den Pressdruck P wird die Spannkraft hervorgerufen, durch die die Paneele zusammengefügt und gehalten werden.The tongue and groove preferably have shapes that are complementary to one another. The protrusion on the lower side of the tongue extends along the lower lip of the groove and engages the recess of the lower lip of the groove when two panels are coupled. The contact surfaces of the projection of the spring and the recess lie against one another. In the assembled state of the floor panels, the tongue is precisely positioned against the upper side and the lower side of the groove, a pressure P being exerted on the upper lip of the groove. This pressure is not only absorbed by the upper lip, but by the entire structure, since the pressure can be transmitted through the spring and the lower lip. The clamping force by which the panels are joined and held is produced by the pressing pressure P.
Wie oben ausgeführt, kommt es bei Anlage der abgeschrägten Fügefläche der Feder-Profilkante und der abgeschrägten Fügefläche der oberen Lippe der Nut-Profilkante zu einer Linienpressung, wodurch ein Eindringen von Feuchtigkeit verhindert wird.As stated above, when the beveled joining surface of the tongue profile edge and the beveled joining surface of the upper lip of the groove profile edge come into contact with a line pressure, which prevents moisture penetration.
Unter Abschrägung der Fügeflächen bzw. Fügekanten ist im Sinne der vorliegenden Erfindung eine Anschrägung oder Neigung der Fügeflächen bzw. Fügekanten von der Oberseite des Paneels nach innen weg von der Senkrechten hin zur Feder bzw. hin zur Nut zu verstehen.In the context of the present invention, bevel of the joining surfaces or joining edges is to be understood as a bevel or inclination of the joining surfaces or joining edges from the top of the panel inwardly away from the vertical towards the tongue or towards the groove.
Üblicherweise bilden Paneeloberseite und die jeweilige Fügefläche der Seitenkanten einen rechten Winkel (90°) aus; d.h. Paneeloberseite und Fügefläche sind rechtwinklig zueinander angeordnet. Im vorliegenden Fall ist der Winkel zwischen Paneeloberseite und Fügefläche nicht länger rechtwinklig, sondern bildet einen (spitzen) Winkel zwischen 85° und 89°, bevorzugt zwischen 87° und 89°, besonders bevorzugt 88° und 89°.The top of the panel and the respective joining surface of the side edges usually form a right angle (90 °); i.e. The top of the panel and the joining surface are arranged at right angles to one another. In the present case, the angle between the top of the panel and the joining surface is no longer rectangular, but forms an (acute) angle between 85 ° and 89 °, preferably between 87 ° and 89 °, particularly preferably 88 ° and 89 °.
Mit anderen Worten, die Fügeflächen sind jeweils um einen Winkel zwischen 1 und 5°, bevorzugt zwischen 1 und 3°, besonders bevorzugt 2 und 3° weg von der Senkrechten (zur Paneeloberseite) geneigt.In other words, the joining surfaces are each inclined at an angle between 1 and 5 °, preferably between 1 and 3 °, particularly preferably 2 and 3 °, away from the vertical (to the top of the panel).
Entsprechend beträgt in einer Ausführungsform des vorliegenden Paneels die Abschrägung oder Neigung der Fügefläche der ersten Seitenkante der Feder-Profilierung von der Oberseite des Fußbodenpaneels hin zur oberen Federseite zwischen 1 und 5°, bevorzugt zwischen 1 und 3°, besonders bevorzugt zwischen 1 und 2°.Correspondingly, in one embodiment of the present panel, the bevel or inclination of the joining surface of the first side edge of the tongue profile from the top of the floor panel to the upper tongue side is between 1 and 5 °, preferably between 1 and 3 °, particularly preferably between 1 and 2 ° .
In einer anderen Ausführungsform des vorliegenden Paneels beträgt die Abschrägung bzw. Neigung der Fügefläche der zweiten Seitenkante der Nut-Profilierung von der Oberseite des Fußbodenpaneels entlang der oberen Lippe bis hin der Nut zwischen 1 und 5°, bevorzugt zwischen 1 und 3°, besonders bevorzugt zwischen 1 und 2°.In another embodiment of the present panel, the bevel or inclination of the joining surface of the second side edge of the groove profile from the top of the floor panel along the upper lip to the groove is between 1 and 5 °, preferably between 1 and 3 °, particularly preferred between 1 and 2 °.
In einer bevorzugten Ausführungsform weisen Abschrägung bzw. Neigung der Fügeflächen der Feder-Profilierung und der Nut-Profilierung jeweils die gleichen Winkel auf. So kann die Fügefläche der Feder-Profilierung um 1° abgeschrägt sein und die Fügefläche der Nut-Profilierung kann ebenfalls um 1° abgeschrägt sein.In a preferred embodiment, the bevel or inclination of the joining surfaces of the tongue profile and the groove profile each have the same angle. The joining surface of the tongue profile can be beveled by 1 ° and the joining surface of the groove profile can also be beveled by 1 °.
Es ist aber auch möglich, dass Abschrägung bzw. Neigung der Fügeflächen der Feder-Profilierung und der Nut-Profilierung jeweils unterschiedliche Winkel aufweisen. So kann die Fügefläche der Feder-Profilierung um 1° abgeschrägt sein und die Fügefläche der Nut-Profilierung kann um 2° abgeschrägt sein (kein Teil der vorliegenden Erfindung).However, it is also possible that the bevel or inclination of the joining surfaces of the tongue profile and the groove profile each have different angles. Thus, the joining surface of the tongue profile can be beveled by 1 ° and the joining surface of the groove profile can be beveled by 2 ° (not part of the present invention).
Es ist auch möglich, dass in einer Variante die Fügefläche der Feder-Profilierung keine Abschrägung bzw. Neigung aufweist (d.h. im rechten Winkel zur Oberseite des Fußbodenpaneels verlaufend) und zweite Fügefläche der Nut-Profilierung eine Abschrägung bzw. Neigung aufweist (kein Teil der vorliegenden Erfindung)..It is also possible that, in a variant, the joining surface of the tongue profile has no bevel or inclination (ie running at right angles to the top of the floor panel) and the second joining surface of the groove profile has a bevel or inclination (not part of the present Invention)..
Der umgekehrte Fall ist auch möglich. In solch einer Variante würde die erste Fügefläche der Feder-Profilierung eine Abschrägung aufweisen und die zweite Fügefläche der Nut-Profilierung keine Abschrägung (d.h. im rechten Winkel zur Oberseite des Fußbodenpaneels verlaufend) aufweisen.The reverse is also possible. In such a variant, the first joining surface of the tongue profile would have a bevel and the second joint surface of the groove profile would have no bevel (i.e. running at right angles to the top of the floor panel).
Bei Anlage der abgeschrägten Fügefläche der Feder-Profilierung und der abgeschrägten Fügefläche der Nut-Profilierung im zusammengefügten Zustand von zwei Fußbodenpaneelen kommt es an dem Kontaktpunkt der Fügeflächen zu einer Linienpressung. Aufgrund der Abschrägung der Fügeflächen bildet sich ausgehend von dem (oberen) Kontaktpunkt als Scheitelpunkt ein Winkel zwischen den gegenüberliegenden Fügeflächen aus, dessen Größe von den Winkelgrößen der abgeschrägten Fügeflächen abhängig ist und zwischen 2 und 10°, bevorzugt zwischen 2 und 6°, bevorzugt zwischen 2 und 3° liegt. So kann der Winkel zwischen den gegenüberliegenden Fügeflächen bei einer Abschrägung der Fügefläche der Feder-Profilierung von 1° und einer Abschrägung der Fügefläche der Nut-Profilierung von 1° insgesamt 2° betragen. Im Falle einer Abschrägung der Fügefläche der Feder-Profilierung von 1° und einer Abschrägung der Fügefläche der Nut-Profilierung von 2° beträgt der Winkel zwischen den gegenüberliegenden Fügeflächen insgesamt 3°.When the beveled joining surface of the tongue profile and the beveled joining surface of the groove profile are placed in the joined state of two floor panels, there is a line pressure at the contact point of the joining surfaces. Due to the bevel of the joining surfaces, starting from the (upper) contact point as the apex, an angle forms between the opposite joining surfaces, the size of which depends on the angular sizes of the beveled joining surfaces and between 2 and 10 °, preferably between 2 and 6 °, preferably between 2 and 3 °. Thus, the angle between the opposing joining surfaces with a bevel of the joining surface of the tongue profile of 1 ° and a bevel of the joining surface of the groove profile of 1 ° can total 2 °. In the case of a bevel of the joining surface of the spring profile of 1 ° and a bevel of the joining surface of the groove profile of 2 °, the angle between the opposing joining surfaces is a total of 3 °.
Im Folgenden werden die Konstruktion der Feder-Profilierung und der Nut-Profilierung näher beschrieben.The construction of the tongue profile and the groove profile are described in more detail below.
Die in dem vorliegenden Fußbodenpaneel vorgesehenen Profilierungen mit Feder und Nut als Kopplungsteile zwischen zwei Paneelen sind bevorzugt einstückig ausgebildet.The profilings with tongue and groove provided in the present floor panel as coupling parts between two panels are preferably designed in one piece.
Wie oben angeführt, ist in einer ersten Seitenkante eine Feder mit einer oberen Seite und unteren Seite vorgesehen. Der Abstand der Federoberseite von der Oberseite des Paneels und der Federunterseite von der Unterseite des Paneels kann in Abhängigkeit von der Paneeldicke variieren.As stated above, a spring with an upper side and a lower side is provided in a first side edge. The distance between the top of the tongue from the top of the panel and the underside of the tongue from the underside of the panel can vary depending on the panel thickness.
Die Dicke der Feder ist bevorzugt gleich der Weite der Nut, so dass die obere Lippe der Nut durch die Feder gestützt wird, und die Feder wiederum durch die untere Lippe der Nut gestützt wird.The thickness of the tongue is preferably equal to the width of the groove so that the upper lip of the groove is supported by the tongue and the tongue is in turn supported by the lower lip of the groove.
Die obere Seite der Feder ist flach bzw. eben und horizontal in Bezug auf die Paneeloberseite ausgebildet. Die obere Seite der Nut (bzw. untere Seite der oberen Lippe der Nut) ist ebenfalls eben und horizontal angeordnet, so dass Feder und Nut ohne Widerstand ineinandergreifen können bzw. ineinander schiebbar sind. Oberseite der Feder und der Unterseite der oberen Lippe bilden Kontaktflächen, die im Wesentlichen parallel zu der von dem Fußbodenpaneel definierten Ebene verlaufen.The upper side of the tongue is flat or flat and horizontal in relation to the panel upper side. The upper side of the groove (or lower side of the upper lip of the groove) is also arranged flat and horizontally, so that the tongue and groove can engage or can be pushed into one another without resistance. The top of the tongue and the underside of the upper lip form contact surfaces which are essentially parallel to the plane defined by the floor panel.
In einer weiteren Ausführungsform des vorliegenden Fußbodenpaneels ist zwischen der Fügefläche der Feder-Profilierung und der Oberseite der Feder eine Aussparung vorgesehen.In a further embodiment of the present floor panel, a recess is provided between the joining surface of the tongue profile and the top of the tongue.
Es ist auch vorgesehen, dass die untere Seite der Feder an ihrer Kante eine Schräge aufweist. Diese Abschrägung kann auch als eine Fase mit einem Winkel zwischen 45-55° beschrieben werden.It is also provided that the lower side of the spring has a bevel at its edge. This bevel can also be described as a chamfer with an angle between 45-55 °.
Wie oben bereits beschrieben, erstreckt sich der an der unteren Seite der Feder vorgesehene Vorsprung entlang der unteren Lippe der Nut. Der Vorsprung greift in die Aussparung der unteren Lippe der Nut im gekoppelten Zustand von zwei Paneelen ein. Der Winkel der Kontaktflächen des Vorsprungs der Feder und der Aussparung der unteren Lippe beträgt in Bezug auf die horizontale Ebene zwischen 30 und 70°. Dieser Winkel ist ideal, um ein optimales Zusammenpressen der Fußbodenpaneele zu erreichen und gleichzeitig ein einfaches Eingreifen und Zusammenbauen der Fußbodenpaneele zu ermöglichen.As already described above, the projection provided on the lower side of the tongue extends along the lower lip of the groove. The projection engages in the recess of the lower lip of the groove in the coupled state of two panels. The angle of the contact surfaces of the protrusion of the spring and the recess of the lower lip is in Relation to the horizontal plane between 30 and 70 °. This angle is ideal to achieve an optimal compression of the floor panels and at the same time to allow easy engagement and assembly of the floor panels.
Im zusammengefügten bzw. gekoppelten Zustand von Feder und Nut kann sich zwischen Vorsprung der unteren Federseite und Aussparung in der unteren Lippe der Nut ein zusätzlicher Raum ausbilden, der z.B. als Staubkammer fungiert. Die Größe der Staubkammer kann z.B. zwischen den Profilen in den Paneellängsseiten (Längsprofil) und Paneelquerseiten (Querprofil) variieren.In the joined or coupled state of tongue and groove, an additional space can form between the projection of the lower tongue side and the recess in the lower lip of the groove, which e.g. acts as a dust chamber. The size of the dust chamber can e.g. vary between the profiles in the panel longitudinal sides (longitudinal profile) and panel transverse sides (transverse profile).
Es ist auch vorgesehen, dass sich die untere Lippe der Nut über die obere Lippe der Nut hinaus erstreckt. In diesem Fall befindet sich die Aussparung in der unteren Lippe der Nut in dem Abschnitt der unteren Lippe, der sich über die obere Lippe der Nut hinaus erstreckt.It is also contemplated that the lower lip of the groove extends beyond the upper lip of the groove. In this case, the recess in the lower lip of the groove is in the portion of the lower lip that extends beyond the upper lip of the groove.
In einer Ausführungsform des vorliegenden Fußbodenpaneels ist in der Aussparung der unteren Lippe der Nut mindestens ein Sattel vorgesehen. Dieser Sattel kann im Querprofil und Längsprofil unterschiedlich stark ausgeprägt sein.In one embodiment of the present floor panel, at least one saddle is provided in the recess of the lower lip of the groove. This saddle can be differently pronounced in the transverse profile and longitudinal profile.
Die Dicke der oberen Lippe der Nut kann größer oder gleich sein als die Dicke der unteren Lippe. Im Falle von unterschiedlichen Dicken von oberer und unterer Lippe ist die Zentrallinie durch die Feder und die Nut unterhalb der Mittellinie des Paneels angeordnet. In dieser Anordnung wird die untere Lippe der Nut beim Zusammenfügen von zwei Fußbodenpaneelen gebogen, so dass die Oberseite des Fußbodenpaneels keinen Veränderungen oder Umformungen ausgesetzt ist.The thickness of the upper lip of the groove can be greater than or equal to the thickness of the lower lip. In the case of different thicknesses of the upper and lower lip, the central line through the tongue and the groove is arranged below the center line of the panel. In this arrangement, the lower lip of the groove is bent when joining two floor panels so that the top of the floor panel is not subject to any changes or deformations.
Auch weisen obere und untere Lippen abgerundete Kanten auf, wodurch das Zusammenfügen der Paneele vereinfacht wird. So kann die Fügefläche der oberen Lippe eine abgerundete Kante oder Fase aufweisen. Die Fase ist am Kontaktpunkt von obere Lippe der Nut mit der Oberseite der Feder vorgesehen und ermöglicht ein einfaches Zusammenfügen der Fußbodenpaneele.The upper and lower lips also have rounded edges, which simplifies the assembly of the panels. For example, the joining surface of the upper lip can have a rounded edge or bevel. The bevel is provided at the point of contact between the upper lip of the groove and the top of the tongue and enables the floor panels to be easily assembled.
In einer anderen Ausführungsform ist am freien Ende der unteren Lippe der Nut ebenfalls eine Neigungsfläche bzw. Fase (oder auch Rampenfläche) vorgesehen, wodurch ein einfaches Schieben der Feder-Nut-Profile ineinander ermöglicht wird.In another embodiment, an inclined surface or bevel (or ramp surface) is also provided at the free end of the lower lip of the groove, which enables the tongue-and-groove profiles to be easily pushed into one another.
Am Übergang von Feder- und Nut-Profilierung zur Unterseite des Paneels ist eine Fase bzw. Abschrägung über eine Länge von 0,6 mm mit einem Winkel zwischen 20 und 30°, bevorzugt 25° vorgesehen. Die Fase ist insbesondere in einem auf der Paneelunterseite angeordneten Gegenzug vorgesehen und ermöglicht ein besseres Verlegen ohne Splitterbildung.At the transition from tongue and groove profiling to the underside of the panel, a bevel or bevel is provided over a length of 0.6 mm at an angle between 20 and 30 °, preferably 25 °. The bevel is in particular provided in a counter-pull arranged on the underside of the panel and enables better laying without splinters.
In weiteren Ausführungsformen des vorliegenden Fußbodenpaneels ist vorgesehen, dass die Feder-Nut-Profilierungen eine der folgenden Eigenschaften oder einer Kombination davon aufweisen: Rundungen an den Ecken (bzw. Kanten) der Feder-Nut-Profilierungen; Staubkammern zwischen allen Seiten der ineinandergefügten Fußbodenpaneele; insbesondere die oben erwähnte Staubkammer zwischen Aussparung der unteren Lippe der Nut und dem Vorsprung der Feder;In further embodiments of the present floor panel it is provided that the tongue and groove profiles have one of the following properties or a combination thereof: roundings at the corners (or edges) of the tongue and groove profiles; Dust chambers between all sides of the nested floor panels; in particular the above-mentioned dust chamber between the recess of the lower lip of the groove and the projection of the tongue;
Die Feder-Nut-Profilierungen ermöglichen ein Eingreifen von zwei Fußbodenpaneelen ineinander unter Aufbringen einer Drehbewegung bzw. Schwenkbewegung ("Angle-Angle"). Hierbei wird zunächst ein erstes Fußbodenpaneel schräg an einem horizontal angeordneten zweiten Fußbodenpaneel angesetzt gefolgt von einem Schwenken des ersten Fußbodenpaneels in Richtung der Verlegeebene, so dass die zusammengefügten Fußbodenpaneele in der Verlegeebene liegen. Damit die zwei Fußbodenpaneele ineinander mit einer Drehbewegung eingreifen können sind die Kanten bzw. Krümmungen bevorzugt abgerundet bzw. kreisförmig.The tongue and groove profiles enable two floor panels to intervene by applying a rotary movement or a pivoting movement ("Angle-Angle"). Here, a first floor panel is first placed at an angle on a horizontally arranged second floor panel, followed by pivoting the first floor panel in the direction of the laying plane, so that the assembled floor panels lie in the laying plane. So that the two floor panels can engage one another with a rotary movement, the edges or curvatures are preferably rounded or circular.
Das vorliegende Fußbodenpaneel weist bevorzugt eine rechteckige Form auf, wobei an den längsverlaufenden Seitenkanten und an den querverlaufenden Seitenkanten jeweils die Feder-Nut-Profilierungen vorgesehen sind.The present floor panel preferably has a rectangular shape, the tongue and groove profiles being provided on the longitudinal side edges and on the transverse side edges.
Das für Verbindung der Paneele entlang der längsverlaufenden Seitenkanten verwendete Längsprofil kann die gleiche oder eine unterschiedliche Feder-Nut-Profilierung als das für die Verbindung der Paneele entlang der querverlaufenden Seitenkanten verwendete Querprofil aufweisen.The longitudinal profile used for connecting the panels along the longitudinal side edges can have the same or a different tongue and groove profile than the transverse profile used for connecting the panels along the transverse side edges.
Wesentliche Unterschiede zwischen Längsprofil und Querprofil betreffen die Ausbildung eines Sattels in der Aussparung der unteren Lippe, wodurch auch ein größerer Raum bzw. Kammer zwischen Federvorsprung und Nutaussparung im zusammengefügten Zustand der Fußbodenpaneele beding ist. Auch weist im Falle des Querprofils die untere Lippe der Nut am Nutende eine Rampenfläche auf, die im Längsprofil nicht vorgesehen ist.Significant differences between the longitudinal profile and the transverse profile relate to the formation of a saddle in the recess of the lower lip, which also requires a larger space or chamber between the spring projection and the groove recess when the floor panels are assembled. In the case of the transverse profile, the lower lip of the groove at the end of the groove also has a ramp surface which is not provided in the longitudinal profile.
Wie oben angeführt weisen die vorliegende Paneele einen Kern aus einer Holzwerkstoffplatte, bevorzugt einer HDF- oder MDF-Platte, aus einem Holzwerkstoff-Kunststoff-Platte, bevorzugt einer WPC-Platte, oder aus einer Kunststoffträgerplatte, bevorzugt PVC-Trägerplatte, auf. Im Falle der Verwendung von Kunststoff kann der der Kern wenigstens einen Füllstoff in einer Menge von bis zu 70% des Gesamtgewichts des Kerns der Trägerplatte aufweisen, wobei bevorzugt Calciumkarbonat oder Materialien mit vergleichbaren Eigenschaften verwendet werden.As stated above, the present panels have a core made of a wood-based panel, preferably an HDF or MDF panel, a wood-based plastic panel, preferably a WPC panel, or a plastic carrier panel, preferably a PVC carrier panel. If plastic is used, the core can have at least one filler in an amount of up to 70% of the total weight of the core of the carrier plate, calcium carbonate or materials with comparable properties being preferably used.
Die Dicke der Paneele kann zwischen 4 und 16 mm, bevorzugt zwischen 4,5 und 12 mm. Bevorzugte Paneeldicken sind 4,5 mm und 12 mm.The thickness of the panels can be between 4 and 16 mm, preferably between 4.5 and 12 mm. Preferred panel thicknesses are 4.5 mm and 12 mm.
Wie oben angeführt, werden die vorliegenden Fußbodenpaneele zum schwimmenden Verlegen von Fußbodenpaneelen verwendet. Ein entsprechendes Verlegeverfahren umfasst dabei die folgenden Schritte:
- Verlegen eines ersten Fußbodenpaneels, und
- Anfügen eines zweiten Fußbodenpaneels an das erste Fußbodenpaneel, wobei die Feder des zweiten Fußbodenpaneels in die Nut des ersten Fußbodenpaneels eingefügt wird, wobei die untere Lippe der Nut-Profilierung in dem zusammengefügten Zustand nach außen gebogen ist, so das die untere Lippe eine Kraft bereitstellt durch welche die Paneele permanent zueinander gezwungen werden.
- Laying a first floor panel, and
- Attaching a second floor panel to the first floor panel, the tongue of the second floor panel being inserted into the groove of the first floor panel, the lower lip of the groove profile being bent outwards in the assembled state, so that the lower lip provides a force through which the panels are permanently forced to one another.
Die durch das Zusammenwirken von Feder und Nut hervorgerufene Vorspannung wird optimal auf die obere Seite des Fußbodenpaneels übertragen, wobei in der Eingriffsrichtung die Fügeflächen der Nut- und Feder-Profilierungen derart aneinander gepresst werden, so dass es an dem Kontaktpunkt der Fügeflächen zu einer Linienpressung unter Ausbildung eines Winkels zwischen den Fügeflächen kommt.The pretension caused by the interaction of tongue and groove is optimally transferred to the upper side of the floor panel, with the joining surfaces of the tongue and groove profiles being pressed against one another in the engagement direction so that there is a line pressure at the contact point of the joining surfaces Formation of an angle between the joining surfaces comes.
Die vorliegende Erfindung wird anhand der folgenden Ausführungsbeispiele unter Bezugnahme auf die Figuren im Folgenden im Detail erläutert. Es zeigen:
- Figur 1A
- ein schematischer Querschnitt eines Fußbodenpaneels mit einer Dicke von 4,5 mm mit einer Feder-Profilierung gemäß einer ersten Ausführungsform (Querprofil);
- Figur 1B
- ein schematischer Querschnitt eines Fußbodenpaneels mit einer Dicke von 4,5 mm mit einer Nut-Profilierung gemäß einer ersten Ausführungsform (Querprofil);
- Figur 1C
- ein schematischer Querschnitt von zwei zusammengefügten Fußbodenpaneelen mit der in
Figur 1A gezeigten Feder-Profilierung und der inFigur 1B gezeigten Nut-Profilierung; - Figur 2A
- ein schematischer Querschnitt eines Fußbodenpaneels mit einer Dicke von 4,5 mm mit einer Feder-Profilierung gemäß einer zweiten Ausführungsform (Längsprofil);
- Figur 2B
- ein schematischer Querschnitt eines Fußbodenpaneels mit einer Dicke von 4,5 mm mit einer Nut-Profilierung gemäß einer zweiten Ausführungsform (Längsprofil);
- Figur 2C
- ein
schematischer Querschnitt von 2 zusammengefügten Fußbodenpaneelen mit der inFigur 2A gezeigten Feder-Profilierung und der inFigur 2B gezeigten Nut-Profilierung; - Figur 3A
- ein schematischer Querschnitt eines Fußbodenpaneels mit einer
Dicke von 12 mm mit einer Feder-Profilierung gemäß einer dritten Ausführungsform (Querprofil); - Figur 3B
- ein schematischer Querschnitt eines Fußbodenpaneels mit einer
Dicke von 12 mm mit einer Nut-Profilierung gemäß einer dritten Ausführungsform (Querprofil); - Figur 4A
- ein schematischer Querschnitt eines Fußbodenpaneels mit einer
Dicke von 12 mm mit einer Feder-Profilierung gemäß einer vierten Ausführungsform (Längsprofil); und - Figur 4B
- ein schematischer Querschnitt eines Fußbodenpaneels mit einer
Dicke von 12 mm mit einer Nut-Profilierung gemäß einer vierten Ausführungsform (Längsprofil);
- Figure 1A
- a schematic cross section of a floor panel with a thickness of 4.5 mm with a spring profile according to a first embodiment (transverse profile);
- Figure 1B
- a schematic cross section of a floor panel with a thickness of 4.5 mm with a groove profile according to a first embodiment (transverse profile);
- Figure 1C
- a schematic cross-section of two assembled floor panels with the in
Figure 1A spring profiling shown and the inFigure 1B groove profiling shown; - Figure 2A
- a schematic cross section of a floor panel with a thickness of 4.5 mm with a spring profile according to a second embodiment (longitudinal profile);
- Figure 2B
- a schematic cross section of a floor panel with a thickness of 4.5 mm with a groove profile according to a second embodiment (longitudinal profile);
- Figure 2C
- a schematic cross section of 2 assembled floor panels with the in FIG
Figure 2A spring profiling shown and the inFigure 2B groove profiling shown; - Figure 3A
- a schematic cross section of a floor panel with a thickness of 12 mm with a spring profile according to a third embodiment (transverse profile);
- Figure 3B
- a schematic cross section of a floor panel with a thickness of 12 mm with a groove profile according to a third embodiment (transverse profile);
- Figure 4A
- a schematic cross section of a floor panel with a thickness of 12 mm with a spring profile according to a fourth embodiment (longitudinal profile); and
- Figure 4B
- a schematic cross section of a floor panel with a thickness of 12 mm with a groove profile according to a fourth embodiment (longitudinal profile);
Die Erfindung wird für rechteckige Fußbodenpaneele erläutert, die sowohl an ihren Längsseiten als auch an ihren Querseiten oder aber auch nur an einer Seite miteinander verbunden werden können.The invention is explained for rectangular floor panels that can be connected to one another both on their long sides and on their transverse sides or else only on one side.
So sind die in den
Die vorliegenden Fußbodenpaneele weisen eine rechteckige Form mit Seitenkanten 10,20, die sich entlang der Längsseiten und Querseiten des Paneels erstrecken und zur schwimmenden Verlegung unter Ausbildung eines Fußbodenpaneels geeignet sind.The present floor panels have a rectangular shape with side edges 10, 20 which extend along the longitudinal sides and transverse sides of the panel and are suitable for floating installation to form a floor panel.
Die Fußbodenpaneele weisen typischerweise eine Länge von ein bis 2 m auf. Die Dicke der Paneele kann ebenfalls variieren, beträgt jedoch in den in
Jedes Fußbodenpaneel weist an den gegenüberliegenden Kanten 10, 20 die im Folgenden im Detail beschriebenen Feder-Nut-Profilierungen auf, die ein zusammenfügen von 2 benachbarten Fußbodenpaneelen ermöglicht. Dabei ist in einer ersten Seitenkante 10 eine Feder 11 vorgesehen und in der zweiten gegenüberliegenden Seitenkante 20 eine Nut 21 vorgesehen.Each floor panel has on the
Der Abstand der Federoberseite 12 von der Paneeleoberseite bzw. Paneeloberfläche 2 und der Abstand der Federunterseite 13 von der Paneelunterseite 3 kann in Abhängigkeit von der Paneeldicke variieren.The distance of the tongue top 12 from the panel top side or
Die obere Seite 12 der Feder 11 weist eine eben ausgebildete Fläche 19 auf, die horizontal in Bezug auf die Paneele Oberseite angeordnet. Die Länge der Federoberseite kann im Querprofil (
Die untere Seite der Feder 11 weist an ihrer Kante eine Schräge bzw. Fase 17 mit einem Winkel zwischen 45-55° auf.The lower side of the
An der unteren Seite 13 der Feder ist der Vorsprung 14 mit einer Kontaktfläche 15 vorgesehen. Der Vorsprung 14 weist eine Neigung zwischen 10° (Querprofil) und 44° (Längsprofil) in Bezug auf den flachen, horizontalen Abschnitt der Unterseite 13 der Feder auf.The
Länge und Höhe des Vorsprungs 14 variieren ebenfalls in Abhängigkeit von der Ausbildung der Feder als Querprofil oder Längsprofil.The length and height of the
Das Feder-Profil der
Am Übergang der Fügefläche 16 der Feder-Profilierung zur Oberseite 12 der Feder ist eine Aussparung 16a vorgesehen.A
Die gemäß der Darstellung der
Die untere Seite der oberen Lippe 23 der Nut mit Fläche 29 ist wie die Fläche 19 der Federoberseite eben und horizontal angeordnet, so dass Feder und Nut ohne Widerstand ineinandergreifen können bzw. ineinander schiebbar sind. Fläche 19 der Oberseite der Feder und Fläche 29 der Unterseite der oberen Lippe 23 bilden Kontaktflächen, die im Wesentlichen parallel zu der von dem Fußbodenpaneel definierten Ebene verlaufen.The lower side of the
Die Dicke der oberen Lippe 22 und der unteren Lippe 23 unterscheiden sich, wobei die obere Lippe 22 dicker sein kann als die untere Lippe 23. Aufgrund einer geringeren Dicke der unteren Lippe 23 dient diese als elastisch verbbiegbarer Vorsprung.The thickness of the
In der unteren Lippe 23 der Nut ist eine Aussparung 24 mit einer Kontaktfläche 25 vorgesehen, wobei Aussparung 24 mit Kontaktfläche 25 komplementär zu der Feder 11 mit Kontaktfläche 15 zusammenwirkt. In der Aussparung 24 ist ein Sattel 27 ausgebildet. Die Ausbildung des Sattels 27 im Querprofil (
Die Nut-Profilierung der
Am Übergang der Fügefläche 26 zur Unterseite der oberen Lippe 23 mit der Fläche 29 ist eine Abschrägung oder Fase 26a vorgesehen.At the transition of the joining
Am freien Ende der unteren Lippe 23 der Nut ist eine Rampenfläche 28 vorgesehen, die ein ineinander Eingreifen der kurzen Querseiten vereinfacht. Die korrespondierende Rampenfläche 48 im Längsprofil (
Im zusammengefügten Zustand (siehe
Bei Anlage der abgeschrägten Fügefläche 16 der Feder-Profilierung und der abgeschrägten Fügefläche 26 der Nut-Profilierung im zusammengefügten Zustand von zwei Fußbodenpaneelen kommt es an dem Kontakt der Fügeflächen 16,26 zu einer Linienpressung entlang der abgeschrägten Fügeflächen 16,26. Zwischen der abgeschrägten Fügeflächen 16, 26 wird ein Winkel von 2° gebildet. Die oberen Kontaktpunkte der Fügeflächen 16, 26 werden somit unter Ausbildung einer fast durchgängigen Oberfläche zusammengepresst.When the beveled joining
Aufgrund der geometrischen Ausführung der Feder-Nut-Profilierungen werden zwischen allen Seiten der ineinandergefügten Fußbodenpaneele Staubkammern ausgebildet. Speziell sei auf die Kammer hingewiesen, die sich im Querprofil zwischen der Aussparung 24 der unteren Lippe 23 der Nut 20 und dem Vorsprung 14 der Feder 11 zeigt (
Im Längsprofil (siehe
Im gekoppelten Zustand der in
Die in den
Die Feder-Profilierung der
Zudem unterscheidet sich die Geometrie des Vorsprungs 14 im Querprofil von der Geometrie des Vorsprungs 34 im Längsprofil. So ist der Vorsprung 14 im Querprofil schwächer ausgebildet als der Vorsprung 34 im Längsprofil, d.h. die Höhe des Vorsprungs 14 Querprofil ist kleiner als die Höhe des Vorsprungs 34 im Längsprofil. Auch dieser geometrische Unterschied ist durch das unterschiedliche Verhalten von Querprofil und Längsprofil beim Einwinkeln der Profile während des Verlegens durch unterschiedliche Hebelarme bedingt.In addition, the geometry of the
Die Nut-Profilierung der
Im zusammengefügten Zustand (siehe
Auch unterscheidet sich die Länge der unteren Lippe 23 des Querprofils von der Länge der unteren Lippe 43 des Längsprofils, wobei die untere Lippe 23 des Querprofils länger ist als die untere Lippe 43 des Längsprofils.The length of the
Die in den
Die in den
Die Feder-Nut-Profilierungen der
- 11
- FußbodenpaneelFloor panel
- 22
- Oberseite des FußbodenpaneelsTop of the floor panel
- 33
- Unterseite des FußbodenpaneelsUnderside of the floor panel
- 10, 3010, 30
- erste Seitenkante eines Paneels mit einer Dicke von 4,5 mm mit FederProfilierungfirst side edge of a panel with a thickness of 4.5 mm with tongue profile
- 11,3111.31
- Federfeather
- 12, 3212, 32
- Oberseite der FederTop of the feather
- 13, 3313, 33
- Unterseite der FederUnderside of the feather
- 14, 3414, 34
- Vorsprunghead Start
- 15, 3515, 35
-
Kontaktfläche des Vorsprungs 14, 34Contact surface of the
14, 34projection - 16, 3616, 36
- abgeschrägte Fügeflächebeveled joining surface
- 16a, 36a16a, 36a
-
Aussparung in Fügefläche 16, 36Recess in joining
16, 36surface - 17,3717.37
- Fasechamfer
- 19, 3919, 39
- Kontaktfläche auf der Oberseite 12, 32Contact surface on the top 12, 32
- 20, 4020, 40
- zweite Seitenkante mit einer Dicke von 4,5 mm mit Nut-Profilierungsecond side edge with a thickness of 4.5 mm with groove profiling
- 21, 4121, 41
- NutGroove
- 22, 4222, 42
- obere Lippeupper lip
- 23, 4323, 43
- untere Lippelower lip
- 24, 4424, 44
- Aussparung in der unteren Lippe 23,43Recess in the lower lip 23.43
- 25, 4525, 45
-
Kontaktfläche der Aussparung 24, 44Contact surface of the
24, 44recess - 26,4626.46
- abgeschrägte Fügeflächebeveled joining surface
- 26a, 46a26a, 46a
- Fasechamfer
- 27, 4727, 47
-
Sattel in der Aussparung 24, 44Saddle in
24, 44recess - 28, 4828, 48
- RampenflächeRamp area
- 29,4929.49
-
Kontaktfläche an der Unterseite der oberen Lippe 22,42Contact surface on the underside of the
22, 42upper lip
- 50, 7050, 70
- erste Seitenkante eines Paneels mit einer Dicke von 12 mm mit FederProfilierungfirst side edge of a panel with a thickness of 12 mm with tongue profile
- 51, 7151, 71
- Federfeather
- 52, 7252, 72
- Oberseite der FederTop of the feather
- 53, 7353, 73
- Unterseite der FederUnderside of the feather
- 54, 7454, 74
- Vorsprunghead Start
- 55, 7555, 75
-
Kontaktfläche des Vorsprungs 54, 74Contact surface of the
54, 74projection - 56, 7656, 76
- abgeschrägte Fügeflächebeveled joining surface
- 56a, 76a56a, 76a
-
Aussparung in Fügefläche 56, 76Recess in joining
56, 76surface - 57, 7757, 77
- Fasechamfer
- 59, 7959, 79
- Kontaktfläche auf der Oberseite 52, 72Contact surface on the top 52, 72
- 60, 8060, 80
- zweite Seitenkante mit einer Dicke von 12 mm mit Nut-Profilierungsecond side edge with a thickness of 12 mm with groove profiling
- 61, 8161, 81
- NutGroove
- 62, 8262, 82
- obere Lippeupper lip
- 63, 8363, 83
- untere Lippelower lip
- 64, 8464, 84
- Aussparung in der unteren Lippe 63,83Recess in the lower lip 63.83
- 65, 8565, 85
-
Kontaktfläche der Aussparung 64, 84Contact surface of the
64, 84recess - 66, 8666, 86
- abgeschrägte Fügeflächebeveled joining surface
- 66a, 86a66a, 86a
- Fasechamfer
- 67, 8767, 87
-
Sattel in der Aussparung 64, 84Saddle in
64, 84recess - 68, 8868, 88
- RampenflächeRamp area
- 69,4969.49
-
Kontaktfläche an der Unterseite der oberen Lippe 62,82Contact surface on the underside of the
62, 82upper lip
Claims (15)
wobei jeweils mindestens zwei Fußbodenpaneele zusammengefügt werden,
wobei die gegenüberliegenden Seitenkanten (10, 20; 30, 40; 50, 60; 70, 80) mit Feder-Nut-Profilierungen versehen sind,
wobei in einer ersten Seitenkante (10, 30, 50, 70) eine Feder (11, 31, 51, 71) und eine Fügefläche (16, 36, 56, 76) vorgesehen sind und in einer zweiten gegenüberliegenden Seitenkante (20, 40, 60, 80) eine Nut (21, 41, 61, 81) und eine Fügefläche (26, 46, 66, 86) vorgesehen sind,
wobei die Feder (11, 31, 51, 71) der ersten Seitenkante (10, 30, 50, 70) eine obere Seite (12, 32, 52, 72) und eine untere Seite (13, 33, 53, 73) aufweist;
wobei an der unteren Seite (13, 33, 53, 73) der Feder ein Vorsprung (14, 34, 54, 74) mit einer Kontaktfläche (15, 35, 55, 75) vorgesehen ist;
wobei die Fügefläche (16, 36, 56, 76) der ersten Seitenkante (10, 30, 50, 70) von der Oberseite (2) des Fußbodenpaneels (1) hin zur oberen Federseite (12, 32, 52, 72) verläuft und die Fügefläche (16, 36, 56, 76) abgeschrägt ausgebildet ist,
wobei die Fügefläche (16, 36, 56, 76) der ersten Seitenkante (10, 30, 50, 70) von der Oberseite des Fußbodenpaneels nach innen weg von der Senkrechten hin zur Feder (11, 31, 51, 71) geneigt ist,
wobei die Nut (21, 41, 61, 81) in der zweiten Seitenkante (20, 40, 60, 80) eine Oberseite und eine Unterseite aufweist,
wobei die Oberseite der Nut (21, 41, 61, 81) von einer oberen Lippe (22, 42, 62, 82) begrenzt wird und die Unterseite der Nut von einer unteren Lippe (23, 43, 63, 83) begrenzt wird;
wobei in der unteren Lippe (23, 43, 63, 83) der Nut (21, 41, 61, 81) eine Aussparung (24, 44, 64, 84) mit einer Kontaktfläche (25, 45, 65, 85) vorgesehen ist;
wobei die Fügefläche (26, 46, 66, 86) der zweiten Seitenkante (20, 40, 60, 80) von der Oberseite (2) des Fußbodenpaneels (1) entlang der oberen Lippe (22, 42, 62, 82) verläuft und die Fügefläche (26, 46, 66, 86) abgeschrägt ausgebildet ist;
wobei die Fügefläche (26, 46, 66, 86) der zweiten Seitenkante (20, 40, 60, 80) von der Oberseite des Fußbodenpaneels nach innen weg von der Senkrechten hin zur Nut (21, 41, 61, 81) geneigt ist,
wobei im zusammengefügten Zustand von mindestens zwei Fußbodenpaneelen der Vorsprung (14, 34, 54, 74) der Feder (11, 31, 51, 71) in die Aussparung (24, 44, 64, 84) der unteren Lippe (23, 43, 63, 83) der Nut (21, 41, 61, 81) eingreift, so dass die Kontaktflächen (15,35, 55, 75; 25, 45, 65, 85) des Vorsprungs (14, 34, 54, 74) der Feder (11, 31, 51, 71) und der Aussparung (24, 44, 64, 84) der unteren Lippe (23, 43, 63, 83) der Nut (21, 41, 61, 81) eine Spannkraft aufeinander ausüben; und
wobei es bei Anlage der abgeschrägten Fügeflächen (16 , 36, 56, 76) der ersten Seitenkante (10, 30, 50, 70) der Feder-Profilierung und der abgeschrägten Fügefläche (26, 46, 66, 86) der zweiten Seitenkante (20, 40, 60, 80) der Nut-Profilierung im zusammengefügten Zustand von mindestens zwei Fußbodenpaneelen an den Kontaktpunkten der Fügeflächen zu einer Linienpressung entlang der abgeschrägten Fügeflächen (16, 36, 56, 76; 26, 46, 66, 86) der Seitenkanten der Feder-Profilierung und der Nut-Profilierung kommt.Hard floor panel (1) with a core made of a wood-based panel, a wood-based plastic panel or a plastic panel with an upper side (2) and an underside (3) and with side edges (10, 20; 30, 40; 50, 60; 70 , 80) along the panel sides for floating installation with the formation of a floor panel composite,
at least two floor panels are joined together,
the opposite side edges (10, 20; 30, 40; 50, 60; 70, 80) are provided with tongue and groove profiles,
wherein a tongue (11, 31, 51, 71) and a joining surface (16, 36, 56, 76) are provided in a first side edge (10, 30, 50, 70) and in a second opposite side edge (20, 40, 60, 80) a groove (21, 41, 61, 81) and a joining surface (26, 46, 66, 86) are provided,
wherein the tongue (11, 31, 51, 71) of the first side edge (10, 30, 50, 70) has an upper side (12, 32, 52, 72) and a lower side (13, 33, 53, 73) ;
a projection (14, 34, 54, 74) with a contact surface (15, 35, 55, 75) being provided on the lower side (13, 33, 53, 73) of the spring;
wherein the joining surface (16, 36, 56, 76) of the first side edge (10, 30, 50, 70) runs from the top (2) of the floor panel (1) to the upper tongue side (12, 32, 52, 72) and the joining surface (16, 36, 56, 76) is beveled,
wherein the joining surface (16, 36, 56, 76) of the first side edge (10, 30, 50, 70) is inclined from the top of the floor panel inwardly away from the vertical towards the tongue (11, 31, 51, 71),
wherein the groove (21, 41, 61, 81) in the second side edge (20, 40, 60, 80) has a top and a bottom,
wherein the top of the groove (21, 41, 61, 81) is delimited by an upper lip (22, 42, 62, 82) and the underside of the groove is delimited by a lower lip (23, 43, 63, 83);
with a recess (24, 44, 64, 84) with a contact surface (25, 45, 65, 85) being provided in the lower lip (23, 43, 63, 83) of the groove (21, 41, 61, 81) ;
wherein the joining surface (26, 46, 66, 86) of the second side edge (20, 40, 60, 80) extends from the top (2) of the floor panel (1) along the upper lip (22, 42, 62, 82) and the joining surface (26, 46, 66, 86) is chamfered;
wherein the joining surface (26, 46, 66, 86) of the second side edge (20, 40, 60, 80) is inclined from the top of the floor panel inwardly away from the vertical towards the groove (21, 41, 61, 81),
wherein in the assembled state of at least two floor panels, the projection (14, 34, 54, 74) of the tongue (11, 31, 51, 71) into the recess (24, 44, 64, 84) of the lower lip (23, 43, 63, 83) of the groove (21, 41, 61, 81) engages, so that the contact surfaces (15, 35, 55, 75; 25, 45, 65, 85) of the projection (14, 34, 54, 74) of the The spring (11, 31, 51, 71) and the recess (24, 44, 64, 84) of the lower lip (23, 43, 63, 83) of the groove (21, 41, 61, 81) exert a tensioning force on one another; and
whereby when the beveled joining surfaces (16, 36, 56, 76) of the first side edge (10, 30, 50, 70) of the tongue profile and the beveled joining surface (26, 46, 66, 86) of the second side edge (20 , 40, 60, 80) of the groove profile in the joined state of at least two floor panels at the contact points of the joining surfaces to form a line pressure along the beveled joining surfaces (16, 36, 56, 76; 26, 46, 66, 86) of the side edges of the Spring profiling and the groove profiling comes.
Priority Applications (15)
| Application Number | Priority Date | Filing Date | Title |
|---|---|---|---|
| EP19162167.1A EP3708739B1 (en) | 2019-03-12 | 2019-03-12 | Hard floor panel for floating installation forming a floor |
| ES19162167T ES2871478T3 (en) | 2019-03-12 | 2019-03-12 | Hard floor panel for floating installation, forming a set of floor panels |
| HUE19162167A HUE054623T2 (en) | 2019-03-12 | 2019-03-12 | Hard floor panel for floating installation to form a floor panel together |
| PL19162167T PL3708739T3 (en) | 2019-03-12 | 2019-03-12 | HARD FLOOR PANEL FOR FLOATING LAYING WITH JOINING FLOOR PANEL |
| PT191621671T PT3708739T (en) | 2019-03-12 | 2019-03-12 | HARD FLOOR PANEL FOR FLOATING LAYING WITH FORMATION OF A FLOOR PANEL ASSEMBLY |
| CA3133140A CA3133140A1 (en) | 2019-03-12 | 2020-02-24 | Hard floor panel for floating installation with the formation of a flooring panel network |
| KR1020217032467A KR20210134388A (en) | 2019-03-12 | 2020-02-24 | Rigid floor panels for floating installation forming a floor panel network |
| CN202080020930.7A CN113631783A (en) | 2019-03-12 | 2020-02-24 | Rigid floor panel for floating laying to form a floor panel composite |
| EP20708052.4A EP3938596A1 (en) | 2019-03-12 | 2020-02-24 | Hard flooring panel for laying in a floating manner to form a flooring panel composite |
| UAA202104967A UA127335C2 (en) | 2019-03-12 | 2020-02-24 | SOLID FLOOR PANEL FOR FLOATING INSTALLATION WITH FLOOR PANEL ASSEMBLY |
| AU2020233900A AU2020233900A1 (en) | 2019-03-12 | 2020-02-24 | Hard flooring panel for laying in a floating manner to form a flooring panel composite |
| PCT/EP2020/054767 WO2020182453A1 (en) | 2019-03-12 | 2020-02-24 | Hard flooring panel for laying in a floating manner to form a flooring panel composite |
| US17/436,133 US11976470B2 (en) | 2019-03-12 | 2020-02-24 | Hard floor panel for floating installation with the formation of a flooring panel network |
| JP2021554743A JP2022524448A (en) | 2019-03-12 | 2020-02-24 | Hard floor panel that forms a flooring panel network by laying construction |
| US18/442,151 US12385261B2 (en) | 2019-03-12 | 2024-02-15 | Hard floor panel for floating installation with the formation of a flooring panel network |
Applications Claiming Priority (1)
| Application Number | Priority Date | Filing Date | Title |
|---|---|---|---|
| EP19162167.1A EP3708739B1 (en) | 2019-03-12 | 2019-03-12 | Hard floor panel for floating installation forming a floor |
Publications (2)
| Publication Number | Publication Date |
|---|---|
| EP3708739A1 true EP3708739A1 (en) | 2020-09-16 |
| EP3708739B1 EP3708739B1 (en) | 2021-02-17 |
Family
ID=65766912
Family Applications (2)
| Application Number | Title | Priority Date | Filing Date |
|---|---|---|---|
| EP19162167.1A Active EP3708739B1 (en) | 2019-03-12 | 2019-03-12 | Hard floor panel for floating installation forming a floor |
| EP20708052.4A Pending EP3938596A1 (en) | 2019-03-12 | 2020-02-24 | Hard flooring panel for laying in a floating manner to form a flooring panel composite |
Family Applications After (1)
| Application Number | Title | Priority Date | Filing Date |
|---|---|---|---|
| EP20708052.4A Pending EP3938596A1 (en) | 2019-03-12 | 2020-02-24 | Hard flooring panel for laying in a floating manner to form a flooring panel composite |
Country Status (13)
| Country | Link |
|---|---|
| US (2) | US11976470B2 (en) |
| EP (2) | EP3708739B1 (en) |
| JP (1) | JP2022524448A (en) |
| KR (1) | KR20210134388A (en) |
| CN (1) | CN113631783A (en) |
| AU (1) | AU2020233900A1 (en) |
| CA (1) | CA3133140A1 (en) |
| ES (1) | ES2871478T3 (en) |
| HU (1) | HUE054623T2 (en) |
| PL (1) | PL3708739T3 (en) |
| PT (1) | PT3708739T (en) |
| UA (1) | UA127335C2 (en) |
| WO (1) | WO2020182453A1 (en) |
Cited By (3)
| Publication number | Priority date | Publication date | Assignee | Title |
|---|---|---|---|---|
| EP4119741A1 (en) * | 2021-07-16 | 2023-01-18 | Flooring Industries Limited, SARL | Decorative panel |
| WO2023285954A1 (en) * | 2021-07-16 | 2023-01-19 | Flooring Industries Limited, Sarl | Decorative panel |
| CN118292618A (en) * | 2024-05-13 | 2024-07-05 | 安徽艾雅伦新材料科技股份有限公司 | A combined easy-to-join wood-plastic floor and installation method thereof |
Families Citing this family (5)
| Publication number | Priority date | Publication date | Assignee | Title |
|---|---|---|---|---|
| FR3090711B1 (en) * | 2018-12-21 | 2022-02-04 | Gerflor | PANEL FOR CREATING A LOOSE-LAYING FLOOR COVERING |
| PL3708739T3 (en) * | 2019-03-12 | 2021-08-02 | Flooring Technologies Ltd. | HARD FLOOR PANEL FOR FLOATING LAYING WITH JOINING FLOOR PANEL |
| PL4141193T3 (en) | 2021-08-23 | 2024-04-29 | Fritz Egger Gmbh & Co. Og | Panel, in particular floor panel, with sealing function |
| KR102548790B1 (en) * | 2023-03-03 | 2023-06-28 | 주식회사 광성인더스트리 | Prefabricated anti-noise mat with a structure that makes it easy to open and close the door |
| EP4477816A1 (en) * | 2023-06-12 | 2024-12-18 | Flooring Technologies Ltd. | Hard floor panel for floating installation forming a floor panel assembly |
Citations (5)
| Publication number | Priority date | Publication date | Assignee | Title |
|---|---|---|---|---|
| EP1026341A2 (en) | 1996-06-11 | 2000-08-09 | Unilin Beheer B.V. | Floor covering, consisting of hard floor panels and method for manufacturing such floor panels |
| WO2010114236A2 (en) * | 2009-03-31 | 2010-10-07 | Oh Kwang Seok | Flooring article |
| WO2011085306A1 (en) * | 2010-01-11 | 2011-07-14 | Mannington Mills, Inc. | Floor covering with interlocking design |
| WO2016113706A1 (en) * | 2015-01-15 | 2016-07-21 | Flooring Industries Limited, Sarl | Floor panel for forming a floor covering |
| DE202018101660U1 (en) * | 2018-03-23 | 2018-04-23 | Franz Eschlbeck | Panel, second panel and panel connection |
Family Cites Families (27)
| Publication number | Priority date | Publication date | Assignee | Title |
|---|---|---|---|---|
| JPS59179937U (en) * | 1983-05-19 | 1984-12-01 | 日本ノボパン工業株式会社 | Floor structure using particle board |
| SE512290C2 (en) | 1998-06-03 | 2000-02-28 | Valinge Aluminium Ab | Locking system for mechanical joining of floorboards and floorboard provided with the locking system |
| BE1012141A6 (en) * | 1998-07-24 | 2000-05-02 | Unilin Beheer Bv | FLOOR COVERING, FLOOR PANEL THEREFOR AND METHOD for the realization of such floor panel. |
| DE19851200C1 (en) * | 1998-11-06 | 2000-03-30 | Kronotex Gmbh Holz Und Kunstha | Floor panel has a tongue and groove joint between panels with additional projections and recesses at the underside of the tongue and the lower leg of the groove for a sealed joint with easy laying |
| SE518184C2 (en) | 2000-03-31 | 2002-09-03 | Perstorp Flooring Ab | Floor covering material comprising disc-shaped floor elements which are joined together by means of interconnecting means |
| US20040031225A1 (en) * | 2002-08-14 | 2004-02-19 | Gregory Fowler | Water resistant tongue and groove flooring |
| BE1015760A6 (en) * | 2003-06-04 | 2005-08-02 | Flooring Ind Ltd | Laminated floorboard has a decorative overlay and color product components inserted into recesses which, together, give a variety of visual wood effects |
| US6922965B2 (en) * | 2003-07-25 | 2005-08-02 | Ilinois Tool Works Inc. | Bonded interlocking flooring |
| KR100566083B1 (en) * | 2003-08-07 | 2006-03-30 | 주식회사 한솔홈데코 | Prefab flooring |
| BE1016216A5 (en) | 2004-09-24 | 2006-05-02 | Flooring Ind Ltd | FLOOR PANEL AND FLOOR COVERING COMPOSED OF SUCH FLOOR PANELS. |
| JP2007154419A (en) * | 2005-11-30 | 2007-06-21 | Eidai Co Ltd | Plate material to be actually joined |
| BE1017350A6 (en) * | 2006-10-31 | 2008-06-03 | Flooring Ind Ltd | Panel for floor covering, has space that defines predetermined distance between upper edges of floor panels which are locked through coupler |
| DE102007015907B4 (en) | 2007-04-02 | 2011-08-25 | Flooring Technologies Ltd. | System for connecting and locking two building boards, in particular floor panels, and building board, in particular floor panel |
| DE102007043308B4 (en) | 2007-09-11 | 2009-12-03 | Flooring Technologies Ltd. | Device for connecting and locking two building panels, in particular floor panels |
| DK2339092T3 (en) * | 2009-12-22 | 2019-07-22 | Flooring Ind Ltd Sarl | Method of Manufacturing Coating Panels |
| DE102010004717A1 (en) * | 2010-01-15 | 2011-07-21 | Pergo (Europe) Ab | Set of panels comprising retaining profiles with a separate clip and method for introducing the clip |
| CN201762959U (en) * | 2010-09-01 | 2011-03-16 | 江苏洛基木业有限公司 | Lock catch for softwood or plastic floors |
| US8806832B2 (en) * | 2011-03-18 | 2014-08-19 | Inotec Global Limited | Vertical joint system and associated surface covering system |
| EP2763850B1 (en) * | 2011-10-03 | 2018-07-18 | Unilin, BVBA | Floor panel |
| CN104870726B (en) * | 2012-09-19 | 2017-11-07 | 依诺泰克环球有限公司 | Facing sheet and related latching system |
| BE1024157B1 (en) * | 2016-04-25 | 2017-11-24 | Flooring Industries Limited, Sarl | Set of floor panels and method for installing this set of floor panels. |
| CN106121176A (en) * | 2016-08-18 | 2016-11-16 | 浙江大友木业有限公司 | Dual snap close solid wooden floor board |
| EA039273B1 (en) * | 2018-01-09 | 2021-12-27 | Велинге Инновейшн Аб | PANEL SET |
| SE542114C2 (en) * | 2018-01-27 | 2020-02-25 | Ipendor Ab | Joining system for floor panels |
| CN108643512B (en) * | 2018-06-13 | 2023-08-08 | 巴洛克木业(中山)有限公司 | Lock catch structure and solid wood composite floor with same |
| PL3708739T3 (en) * | 2019-03-12 | 2021-08-02 | Flooring Technologies Ltd. | HARD FLOOR PANEL FOR FLOATING LAYING WITH JOINING FLOOR PANEL |
| KR20230158018A (en) * | 2021-03-19 | 2023-11-17 | 뵈린게 이노베이션 에이비이 | Building panels with mechanical locking system |
-
2019
- 2019-03-12 PL PL19162167T patent/PL3708739T3/en unknown
- 2019-03-12 ES ES19162167T patent/ES2871478T3/en active Active
- 2019-03-12 HU HUE19162167A patent/HUE054623T2/en unknown
- 2019-03-12 EP EP19162167.1A patent/EP3708739B1/en active Active
- 2019-03-12 PT PT191621671T patent/PT3708739T/en unknown
-
2020
- 2020-02-24 JP JP2021554743A patent/JP2022524448A/en active Pending
- 2020-02-24 CA CA3133140A patent/CA3133140A1/en active Pending
- 2020-02-24 WO PCT/EP2020/054767 patent/WO2020182453A1/en not_active Ceased
- 2020-02-24 AU AU2020233900A patent/AU2020233900A1/en not_active Abandoned
- 2020-02-24 CN CN202080020930.7A patent/CN113631783A/en active Pending
- 2020-02-24 EP EP20708052.4A patent/EP3938596A1/en active Pending
- 2020-02-24 UA UAA202104967A patent/UA127335C2/en unknown
- 2020-02-24 KR KR1020217032467A patent/KR20210134388A/en active Pending
- 2020-02-24 US US17/436,133 patent/US11976470B2/en active Active
-
2024
- 2024-02-15 US US18/442,151 patent/US12385261B2/en active Active
Patent Citations (5)
| Publication number | Priority date | Publication date | Assignee | Title |
|---|---|---|---|---|
| EP1026341A2 (en) | 1996-06-11 | 2000-08-09 | Unilin Beheer B.V. | Floor covering, consisting of hard floor panels and method for manufacturing such floor panels |
| WO2010114236A2 (en) * | 2009-03-31 | 2010-10-07 | Oh Kwang Seok | Flooring article |
| WO2011085306A1 (en) * | 2010-01-11 | 2011-07-14 | Mannington Mills, Inc. | Floor covering with interlocking design |
| WO2016113706A1 (en) * | 2015-01-15 | 2016-07-21 | Flooring Industries Limited, Sarl | Floor panel for forming a floor covering |
| DE202018101660U1 (en) * | 2018-03-23 | 2018-04-23 | Franz Eschlbeck | Panel, second panel and panel connection |
Cited By (3)
| Publication number | Priority date | Publication date | Assignee | Title |
|---|---|---|---|---|
| EP4119741A1 (en) * | 2021-07-16 | 2023-01-18 | Flooring Industries Limited, SARL | Decorative panel |
| WO2023285954A1 (en) * | 2021-07-16 | 2023-01-19 | Flooring Industries Limited, Sarl | Decorative panel |
| CN118292618A (en) * | 2024-05-13 | 2024-07-05 | 安徽艾雅伦新材料科技股份有限公司 | A combined easy-to-join wood-plastic floor and installation method thereof |
Also Published As
| Publication number | Publication date |
|---|---|
| KR20210134388A (en) | 2021-11-09 |
| US12385261B2 (en) | 2025-08-12 |
| HUE054623T2 (en) | 2021-09-28 |
| ES2871478T3 (en) | 2021-10-29 |
| EP3938596A1 (en) | 2022-01-19 |
| UA127335C2 (en) | 2023-07-19 |
| US20240183173A1 (en) | 2024-06-06 |
| US20220205253A1 (en) | 2022-06-30 |
| US11976470B2 (en) | 2024-05-07 |
| PL3708739T3 (en) | 2021-08-02 |
| WO2020182453A1 (en) | 2020-09-17 |
| AU2020233900A1 (en) | 2021-09-23 |
| CA3133140A1 (en) | 2020-09-17 |
| JP2022524448A (en) | 2022-05-02 |
| CN113631783A (en) | 2021-11-09 |
| PT3708739T (en) | 2021-05-17 |
| EP3708739B1 (en) | 2021-02-17 |
Similar Documents
| Publication | Publication Date | Title |
|---|---|---|
| EP3708739B1 (en) | Hard floor panel for floating installation forming a floor | |
| EP1294995B1 (en) | Flooring system comprising a plurality of identical floorboards | |
| DE10101202B4 (en) | parquet board | |
| EP2078801B1 (en) | Device for locking two building slabs | |
| DE69713629T3 (en) | Flooring, consisting of hard floor slabs | |
| DE69916666T2 (en) | Rectangular base plate | |
| EP1246981B1 (en) | Panel elements | |
| EP1242701B1 (en) | Joint | |
| DE20002413U1 (en) | connection | |
| DE102007015907B4 (en) | System for connecting and locking two building boards, in particular floor panels, and building board, in particular floor panel | |
| DE102006006124A1 (en) | Device for locking two building panels | |
| DE20116962U1 (en) | Connection system for floor boards and floor boards therefor | |
| EP1490566A1 (en) | Panel and interlocking system for panels | |
| DE20203311U1 (en) | panel member | |
| DE102010024513B4 (en) | Cover made of composite panels | |
| DE10305695B4 (en) | Cladding panel, in particular floor panel | |
| DE60213360T2 (en) | Floor system with floor panels and method for connecting such panels | |
| EP2487309B1 (en) | Construction panels with hook connection | |
| WO2008064692A1 (en) | Tongue and groove floor panel | |
| DE10038662A1 (en) | Connection for floor panels; has spring in one panel to fit in groove in adjacent floor panel and has locking unit with locking recess and pin in one panel engaging with locking element in other panel | |
| EP3420158B1 (en) | Device for locking two floor panels | |
| DE20018760U1 (en) | Tongue and groove connection for panels | |
| DE10253236B4 (en) | Floor panel and method for laying a floor panel | |
| EP4477816A1 (en) | Hard floor panel for floating installation forming a floor panel assembly | |
| DE20021779U1 (en) | Floor panel for detachable connection with other floor panels |
Legal Events
| Date | Code | Title | Description |
|---|---|---|---|
| STAA | Information on the status of an ep patent application or granted ep patent |
Free format text: STATUS: EXAMINATION IS IN PROGRESS |
|
| PUAI | Public reference made under article 153(3) epc to a published international application that has entered the european phase |
Free format text: ORIGINAL CODE: 0009012 |
|
| 17P | Request for examination filed |
Effective date: 20191104 |
|
| AK | Designated contracting states |
Kind code of ref document: A1 Designated state(s): AL AT BE BG CH CY CZ DE DK EE ES FI FR GB GR HR HU IE IS IT LI LT LU LV MC MK MT NL NO PL PT RO RS SE SI SK SM TR |
|
| AX | Request for extension of the european patent |
Extension state: BA ME |
|
| GRAP | Despatch of communication of intention to grant a patent |
Free format text: ORIGINAL CODE: EPIDOSNIGR1 |
|
| STAA | Information on the status of an ep patent application or granted ep patent |
Free format text: STATUS: GRANT OF PATENT IS INTENDED |
|
| INTG | Intention to grant announced |
Effective date: 20200930 |
|
| GRAS | Grant fee paid |
Free format text: ORIGINAL CODE: EPIDOSNIGR3 |
|
| GRAA | (expected) grant |
Free format text: ORIGINAL CODE: 0009210 |
|
| STAA | Information on the status of an ep patent application or granted ep patent |
Free format text: STATUS: THE PATENT HAS BEEN GRANTED |
|
| AK | Designated contracting states |
Kind code of ref document: B1 Designated state(s): AL AT BE BG CH CY CZ DE DK EE ES FI FR GB GR HR HU IE IS IT LI LT LU LV MC MK MT NL NO PL PT RO RS SE SI SK SM TR |
|
| REG | Reference to a national code |
Ref country code: GB Ref legal event code: FG4D Free format text: NOT ENGLISH |
|
| REG | Reference to a national code |
Ref country code: CH Ref legal event code: EP |
|
| REG | Reference to a national code |
Ref country code: DE Ref legal event code: R096 Ref document number: 502019000792 Country of ref document: DE |
|
| REG | Reference to a national code |
Ref country code: AT Ref legal event code: REF Ref document number: 1361664 Country of ref document: AT Kind code of ref document: T Effective date: 20210315 |
|
| REG | Reference to a national code |
Ref country code: IE Ref legal event code: FG4D Free format text: LANGUAGE OF EP DOCUMENT: GERMAN |
|
| REG | Reference to a national code |
Ref country code: RO Ref legal event code: EPE |
|
| REG | Reference to a national code |
Ref country code: PT Ref legal event code: SC4A Ref document number: 3708739 Country of ref document: PT Date of ref document: 20210517 Kind code of ref document: T Free format text: AVAILABILITY OF NATIONAL TRANSLATION Effective date: 20210510 |
|
| REG | Reference to a national code |
Ref country code: SE Ref legal event code: TRGR |
|
| REG | Reference to a national code |
Ref country code: NL Ref legal event code: FP |
|
| REG | Reference to a national code |
Ref country code: LT Ref legal event code: MG9D |
|
| REG | Reference to a national code |
Ref country code: SK Ref legal event code: T3 Ref document number: E 37305 Country of ref document: SK |
|
| PG25 | Lapsed in a contracting state [announced via postgrant information from national office to epo] |
Ref country code: NO Free format text: LAPSE BECAUSE OF FAILURE TO SUBMIT A TRANSLATION OF THE DESCRIPTION OR TO PAY THE FEE WITHIN THE PRESCRIBED TIME-LIMIT Effective date: 20210517 Ref country code: LT Free format text: LAPSE BECAUSE OF FAILURE TO SUBMIT A TRANSLATION OF THE DESCRIPTION OR TO PAY THE FEE WITHIN THE PRESCRIBED TIME-LIMIT Effective date: 20210217 Ref country code: FI Free format text: LAPSE BECAUSE OF FAILURE TO SUBMIT A TRANSLATION OF THE DESCRIPTION OR TO PAY THE FEE WITHIN THE PRESCRIBED TIME-LIMIT Effective date: 20210217 Ref country code: GR Free format text: LAPSE BECAUSE OF FAILURE TO SUBMIT A TRANSLATION OF THE DESCRIPTION OR TO PAY THE FEE WITHIN THE PRESCRIBED TIME-LIMIT Effective date: 20210518 Ref country code: HR Free format text: LAPSE BECAUSE OF FAILURE TO SUBMIT A TRANSLATION OF THE DESCRIPTION OR TO PAY THE FEE WITHIN THE PRESCRIBED TIME-LIMIT Effective date: 20210217 |
|
| PG25 | Lapsed in a contracting state [announced via postgrant information from national office to epo] |
Ref country code: RS Free format text: LAPSE BECAUSE OF FAILURE TO SUBMIT A TRANSLATION OF THE DESCRIPTION OR TO PAY THE FEE WITHIN THE PRESCRIBED TIME-LIMIT Effective date: 20210217 Ref country code: LV Free format text: LAPSE BECAUSE OF FAILURE TO SUBMIT A TRANSLATION OF THE DESCRIPTION OR TO PAY THE FEE WITHIN THE PRESCRIBED TIME-LIMIT Effective date: 20210217 |
|
| REG | Reference to a national code |
Ref country code: HU Ref legal event code: AG4A Ref document number: E054623 Country of ref document: HU |
|
| PG25 | Lapsed in a contracting state [announced via postgrant information from national office to epo] |
Ref country code: IS Free format text: LAPSE BECAUSE OF FAILURE TO SUBMIT A TRANSLATION OF THE DESCRIPTION OR TO PAY THE FEE WITHIN THE PRESCRIBED TIME-LIMIT Effective date: 20210617 |
|
| PG25 | Lapsed in a contracting state [announced via postgrant information from national office to epo] |
Ref country code: SM Free format text: LAPSE BECAUSE OF FAILURE TO SUBMIT A TRANSLATION OF THE DESCRIPTION OR TO PAY THE FEE WITHIN THE PRESCRIBED TIME-LIMIT Effective date: 20210217 Ref country code: EE Free format text: LAPSE BECAUSE OF FAILURE TO SUBMIT A TRANSLATION OF THE DESCRIPTION OR TO PAY THE FEE WITHIN THE PRESCRIBED TIME-LIMIT Effective date: 20210217 |
|
| REG | Reference to a national code |
Ref country code: ES Ref legal event code: FG2A Ref document number: 2871478 Country of ref document: ES Kind code of ref document: T3 Effective date: 20211029 |
|
| REG | Reference to a national code |
Ref country code: DE Ref legal event code: R097 Ref document number: 502019000792 Country of ref document: DE |
|
| PG25 | Lapsed in a contracting state [announced via postgrant information from national office to epo] |
Ref country code: MC Free format text: LAPSE BECAUSE OF FAILURE TO SUBMIT A TRANSLATION OF THE DESCRIPTION OR TO PAY THE FEE WITHIN THE PRESCRIBED TIME-LIMIT Effective date: 20210217 Ref country code: DK Free format text: LAPSE BECAUSE OF FAILURE TO SUBMIT A TRANSLATION OF THE DESCRIPTION OR TO PAY THE FEE WITHIN THE PRESCRIBED TIME-LIMIT Effective date: 20210217 |
|
| PLBE | No opposition filed within time limit |
Free format text: ORIGINAL CODE: 0009261 |
|
| STAA | Information on the status of an ep patent application or granted ep patent |
Free format text: STATUS: NO OPPOSITION FILED WITHIN TIME LIMIT |
|
| 26N | No opposition filed |
Effective date: 20211118 |
|
| PG25 | Lapsed in a contracting state [announced via postgrant information from national office to epo] |
Ref country code: AL Free format text: LAPSE BECAUSE OF FAILURE TO SUBMIT A TRANSLATION OF THE DESCRIPTION OR TO PAY THE FEE WITHIN THE PRESCRIBED TIME-LIMIT Effective date: 20210217 Ref country code: LU Free format text: LAPSE BECAUSE OF NON-PAYMENT OF DUE FEES Effective date: 20210312 Ref country code: IE Free format text: LAPSE BECAUSE OF NON-PAYMENT OF DUE FEES Effective date: 20210312 |
|
| PG25 | Lapsed in a contracting state [announced via postgrant information from national office to epo] |
Ref country code: IS Free format text: LAPSE BECAUSE OF FAILURE TO SUBMIT A TRANSLATION OF THE DESCRIPTION OR TO PAY THE FEE WITHIN THE PRESCRIBED TIME-LIMIT Effective date: 20210617 |
|
| PGFP | Annual fee paid to national office [announced via postgrant information from national office to epo] |
Ref country code: RO Payment date: 20230301 Year of fee payment: 5 Ref country code: CZ Payment date: 20230301 Year of fee payment: 5 Ref country code: BG Payment date: 20230317 Year of fee payment: 5 |
|
| PGFP | Annual fee paid to national office [announced via postgrant information from national office to epo] |
Ref country code: SK Payment date: 20230302 Year of fee payment: 5 Ref country code: PT Payment date: 20230227 Year of fee payment: 5 Ref country code: HU Payment date: 20230301 Year of fee payment: 5 |
|
| PG25 | Lapsed in a contracting state [announced via postgrant information from national office to epo] |
Ref country code: CY Free format text: LAPSE BECAUSE OF FAILURE TO SUBMIT A TRANSLATION OF THE DESCRIPTION OR TO PAY THE FEE WITHIN THE PRESCRIBED TIME-LIMIT Effective date: 20210217 |
|
| PGFP | Annual fee paid to national office [announced via postgrant information from national office to epo] |
Ref country code: NL Payment date: 20230322 Year of fee payment: 5 |
|
| PGFP | Annual fee paid to national office [announced via postgrant information from national office to epo] |
Ref country code: IT Payment date: 20230331 Year of fee payment: 5 Ref country code: ES Payment date: 20230414 Year of fee payment: 5 |
|
| PG25 | Lapsed in a contracting state [announced via postgrant information from national office to epo] |
Ref country code: SI Free format text: LAPSE BECAUSE OF FAILURE TO SUBMIT A TRANSLATION OF THE DESCRIPTION OR TO PAY THE FEE WITHIN THE PRESCRIBED TIME-LIMIT Effective date: 20210217 |
|
| PG25 | Lapsed in a contracting state [announced via postgrant information from national office to epo] |
Ref country code: MK Free format text: LAPSE BECAUSE OF FAILURE TO SUBMIT A TRANSLATION OF THE DESCRIPTION OR TO PAY THE FEE WITHIN THE PRESCRIBED TIME-LIMIT Effective date: 20210217 |
|
| PG25 | Lapsed in a contracting state [announced via postgrant information from national office to epo] |
Ref country code: MT Free format text: LAPSE BECAUSE OF FAILURE TO SUBMIT A TRANSLATION OF THE DESCRIPTION OR TO PAY THE FEE WITHIN THE PRESCRIBED TIME-LIMIT Effective date: 20210217 |
|
| PG25 | Lapsed in a contracting state [announced via postgrant information from national office to epo] |
Ref country code: BG Free format text: LAPSE BECAUSE OF NON-PAYMENT OF DUE FEES Effective date: 20240312 |
|
| PG25 | Lapsed in a contracting state [announced via postgrant information from national office to epo] |
Ref country code: PT Free format text: LAPSE BECAUSE OF NON-PAYMENT OF DUE FEES Effective date: 20240912 |
|
| PG25 | Lapsed in a contracting state [announced via postgrant information from national office to epo] |
Ref country code: CZ Free format text: LAPSE BECAUSE OF NON-PAYMENT OF DUE FEES Effective date: 20240312 |
|
| REG | Reference to a national code |
Ref country code: SK Ref legal event code: MM4A Ref document number: E 37305 Country of ref document: SK Effective date: 20240312 |
|
| PG25 | Lapsed in a contracting state [announced via postgrant information from national office to epo] |
Ref country code: RO Free format text: LAPSE BECAUSE OF NON-PAYMENT OF DUE FEES Effective date: 20240312 Ref country code: PT Free format text: LAPSE BECAUSE OF NON-PAYMENT OF DUE FEES Effective date: 20240912 Ref country code: CZ Free format text: LAPSE BECAUSE OF NON-PAYMENT OF DUE FEES Effective date: 20240312 Ref country code: BG Free format text: LAPSE BECAUSE OF NON-PAYMENT OF DUE FEES Effective date: 20240312 |
|
| REG | Reference to a national code |
Ref country code: NL Ref legal event code: MM Effective date: 20240401 |
|
| PG25 | Lapsed in a contracting state [announced via postgrant information from national office to epo] |
Ref country code: HU Free format text: LAPSE BECAUSE OF NON-PAYMENT OF DUE FEES Effective date: 20240313 |
|
| PG25 | Lapsed in a contracting state [announced via postgrant information from national office to epo] |
Ref country code: HU Free format text: LAPSE BECAUSE OF NON-PAYMENT OF DUE FEES Effective date: 20240313 |
|
| PG25 | Lapsed in a contracting state [announced via postgrant information from national office to epo] |
Ref country code: NL Free format text: LAPSE BECAUSE OF NON-PAYMENT OF DUE FEES Effective date: 20240401 |
|
| PG25 | Lapsed in a contracting state [announced via postgrant information from national office to epo] |
Ref country code: NL Free format text: LAPSE BECAUSE OF NON-PAYMENT OF DUE FEES Effective date: 20240401 |
|
| PG25 | Lapsed in a contracting state [announced via postgrant information from national office to epo] |
Ref country code: SK Free format text: LAPSE BECAUSE OF NON-PAYMENT OF DUE FEES Effective date: 20240312 |
|
| PG25 | Lapsed in a contracting state [announced via postgrant information from national office to epo] |
Ref country code: SK Free format text: LAPSE BECAUSE OF NON-PAYMENT OF DUE FEES Effective date: 20240312 |
|
| PGFP | Annual fee paid to national office [announced via postgrant information from national office to epo] |
Ref country code: SE Payment date: 20250311 Year of fee payment: 7 |
|
| PGFP | Annual fee paid to national office [announced via postgrant information from national office to epo] |
Ref country code: DE Payment date: 20250311 Year of fee payment: 7 |
|
| PGFP | Annual fee paid to national office [announced via postgrant information from national office to epo] |
Ref country code: BE Payment date: 20250320 Year of fee payment: 7 |
|
| PGFP | Annual fee paid to national office [announced via postgrant information from national office to epo] |
Ref country code: FR Payment date: 20250324 Year of fee payment: 7 Ref country code: PL Payment date: 20250227 Year of fee payment: 7 |
|
| REG | Reference to a national code |
Ref country code: ES Ref legal event code: FD2A Effective date: 20250425 |
|
| PG25 | Lapsed in a contracting state [announced via postgrant information from national office to epo] |
Ref country code: IT Free format text: LAPSE BECAUSE OF NON-PAYMENT OF DUE FEES Effective date: 20240312 |
|
| PGFP | Annual fee paid to national office [announced via postgrant information from national office to epo] |
Ref country code: GB Payment date: 20250324 Year of fee payment: 7 |
|
| PGFP | Annual fee paid to national office [announced via postgrant information from national office to epo] |
Ref country code: TR Payment date: 20250303 Year of fee payment: 7 |
|
| REG | Reference to a national code |
Ref country code: AT Ref legal event code: MM01 Ref document number: 1361664 Country of ref document: AT Kind code of ref document: T Effective date: 20240312 |
|
| PG25 | Lapsed in a contracting state [announced via postgrant information from national office to epo] |
Ref country code: ES Free format text: LAPSE BECAUSE OF NON-PAYMENT OF DUE FEES Effective date: 20240313 |
|
| PGFP | Annual fee paid to national office [announced via postgrant information from national office to epo] |
Ref country code: CH Payment date: 20250401 Year of fee payment: 7 |
|
| PG25 | Lapsed in a contracting state [announced via postgrant information from national office to epo] |
Ref country code: AT Free format text: LAPSE BECAUSE OF NON-PAYMENT OF DUE FEES Effective date: 20240312 |
