EP3399238A3 - Cooking device and method for operating a cooking device - Google Patents
Cooking device and method for operating a cooking device Download PDFInfo
- Publication number
- EP3399238A3 EP3399238A3 EP18168657.7A EP18168657A EP3399238A3 EP 3399238 A3 EP3399238 A3 EP 3399238A3 EP 18168657 A EP18168657 A EP 18168657A EP 3399238 A3 EP3399238 A3 EP 3399238A3
- Authority
- EP
- European Patent Office
- Prior art keywords
- cooking device
- operating
- cooking
- relates
- furthermore
- Prior art date
- Legal status (The legal status is an assumption and is not a legal conclusion. Google has not performed a legal analysis and makes no representation as to the accuracy of the status listed.)
- Granted
Links
Classifications
-
- F—MECHANICAL ENGINEERING; LIGHTING; HEATING; WEAPONS; BLASTING
- F24—HEATING; RANGES; VENTILATING
- F24C—DOMESTIC STOVES OR RANGES ; DETAILS OF DOMESTIC STOVES OR RANGES, OF GENERAL APPLICATION
- F24C15/00—Details
- F24C15/16—Shelves, racks or trays inside ovens; Supports therefor
-
- F—MECHANICAL ENGINEERING; LIGHTING; HEATING; WEAPONS; BLASTING
- F24—HEATING; RANGES; VENTILATING
- F24C—DOMESTIC STOVES OR RANGES ; DETAILS OF DOMESTIC STOVES OR RANGES, OF GENERAL APPLICATION
- F24C7/00—Stoves or ranges heated by electric energy
- F24C7/08—Arrangement or mounting of control or safety devices
Landscapes
- Engineering & Computer Science (AREA)
- Chemical & Material Sciences (AREA)
- Combustion & Propulsion (AREA)
- Mechanical Engineering (AREA)
- General Engineering & Computer Science (AREA)
- Electric Ovens (AREA)
- Electric Stoves And Ranges (AREA)
- General Preparation And Processing Of Foods (AREA)
Abstract
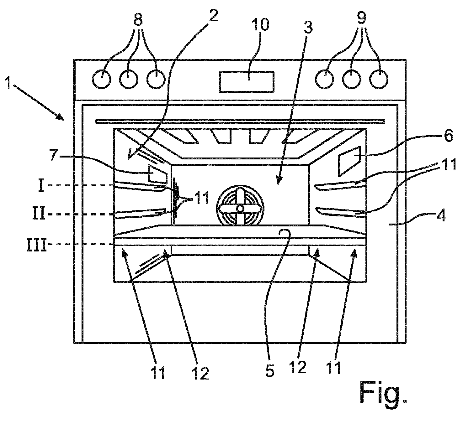
Die Erfindung betrifft Verfahren zum Betreiben eines Gargeräts (1), welches einen Garraum (3) aufweist, in den ein Gargutträger (5) einbringbar ist. Des Weiteren betrifft die Erfindung auch Gargeräte mit derartigen Garräumen. The invention relates to a method for operating a cooking appliance (1), which has a cooking chamber (3), in which a food support (5) can be introduced. Furthermore, the invention also relates to cooking appliances with such cooking chambers.
Priority Applications (1)
| Application Number | Priority Date | Filing Date | Title |
|---|---|---|---|
| PL18168657T PL3399238T3 (en) | 2008-12-01 | 2009-11-30 | Cooking device and method for operating a cooking device |
Applications Claiming Priority (2)
| Application Number | Priority Date | Filing Date | Title |
|---|---|---|---|
| DE102008044231A DE102008044231A1 (en) | 2008-12-01 | 2008-12-01 | Method for operating a cooking appliance and cooking appliance |
| EP09177480.2A EP2192351B1 (en) | 2008-12-01 | 2009-11-30 | Method for operating a cooking device and cooking device |
Related Parent Applications (2)
| Application Number | Title | Priority Date | Filing Date |
|---|---|---|---|
| EP09177480.2A Division-Into EP2192351B1 (en) | 2008-12-01 | 2009-11-30 | Method for operating a cooking device and cooking device |
| EP09177480.2A Division EP2192351B1 (en) | 2008-12-01 | 2009-11-30 | Method for operating a cooking device and cooking device |
Publications (3)
| Publication Number | Publication Date |
|---|---|
| EP3399238A2 EP3399238A2 (en) | 2018-11-07 |
| EP3399238A3 true EP3399238A3 (en) | 2019-02-20 |
| EP3399238B1 EP3399238B1 (en) | 2021-01-13 |
Family
ID=42028266
Family Applications (3)
| Application Number | Title | Priority Date | Filing Date |
|---|---|---|---|
| EP09177480.2A Active EP2192351B1 (en) | 2008-12-01 | 2009-11-30 | Method for operating a cooking device and cooking device |
| EP19202220.0A Active EP3627054B1 (en) | 2008-12-01 | 2009-11-30 | Cooking device and method for operating a cooking device |
| EP18168657.7A Active EP3399238B1 (en) | 2008-12-01 | 2009-11-30 | Cooking device and method for operating a cooking device |
Family Applications Before (2)
| Application Number | Title | Priority Date | Filing Date |
|---|---|---|---|
| EP09177480.2A Active EP2192351B1 (en) | 2008-12-01 | 2009-11-30 | Method for operating a cooking device and cooking device |
| EP19202220.0A Active EP3627054B1 (en) | 2008-12-01 | 2009-11-30 | Cooking device and method for operating a cooking device |
Country Status (3)
| Country | Link |
|---|---|
| EP (3) | EP2192351B1 (en) |
| DE (1) | DE102008044231A1 (en) |
| PL (3) | PL2192351T3 (en) |
Families Citing this family (5)
| Publication number | Priority date | Publication date | Assignee | Title |
|---|---|---|---|---|
| DE102011051106A1 (en) * | 2011-06-16 | 2012-12-20 | Rational Ag | Operating device for chicken cooking appliance, has display device displaying offer for selection and/or characterization of treatment zones, where number and/or characterization of treatment zones is selected, adjusted and/or changed |
| FR2977127B1 (en) * | 2011-06-30 | 2014-07-04 | Thirode Grandes Cuisines Poligny | METHOD OF CONDUCTING AN OVEN BY IMAGE OF ITS LOAD |
| DE102012217350A1 (en) * | 2012-09-26 | 2014-03-27 | BSH Bosch und Siemens Hausgeräte GmbH | Cooking appliance |
| DE102014217629A1 (en) * | 2014-09-03 | 2016-03-03 | BSH Hausgeräte GmbH | Food support with an identification means |
| DE102018103758B4 (en) * | 2018-02-20 | 2023-03-23 | Miele & Cie. Kg | Recognition device for recognizing an accessory device in or on a cooking appliance, cooking appliance device with a recognition device, accessory device for receiving in or on a cooking appliance device, cooking appliance with a recognition device or a cooking appliance device and method for operating a recognition device |
Citations (7)
| Publication number | Priority date | Publication date | Assignee | Title |
|---|---|---|---|---|
| US3043290A (en) * | 1961-03-01 | 1962-07-10 | Moffats Ltd | Oven rack elevating and lowering mechanism |
| JPH04306421A (en) * | 1991-04-02 | 1992-10-29 | Tiger Vacuum Bottle Co Ltd | Cooking pan lifter device in microwave oven |
| EP0949456A2 (en) * | 1998-04-07 | 1999-10-13 | Wang Ping | Oven with automatically movable shelf |
| DE19954470A1 (en) * | 1999-11-12 | 2001-06-07 | Aeg Hausgeraete Gmbh | Device and method for operating a pyrolysis oven |
| EP1504666A1 (en) * | 2003-08-06 | 2005-02-09 | BSH Bosch und Siemens Hausgeräte GmbH | Cooking apparatus with browning sensor |
| EP1505349A2 (en) * | 2003-08-06 | 2005-02-09 | BSH Bosch und Siemens Hausgeräte GmbH | Cooking device with browning sensor |
| EP1994827A1 (en) * | 2007-05-25 | 2008-11-26 | Indesit Company, S.P.A. | A baking oven |
Family Cites Families (10)
| Publication number | Priority date | Publication date | Assignee | Title |
|---|---|---|---|---|
| JPH0781715B2 (en) | 1986-12-17 | 1995-09-06 | 松下電器産業株式会社 | Heating device |
| JPH05332550A (en) * | 1992-05-29 | 1993-12-14 | Toshiba Corp | Heating cooker |
| DE19926762A1 (en) * | 1999-06-11 | 2000-12-14 | Bsh Bosch Siemens Hausgeraete | Cooking device with height-adjustable food support and method for operating a cooking device |
| DE10063694C2 (en) | 2000-12-20 | 2003-06-05 | Bsh Bosch Siemens Hausgeraete | Process for distinguishing the shape of shelves in an oven and oven |
| KR100514908B1 (en) * | 2002-09-02 | 2005-09-14 | 삼성전자주식회사 | Cooking apparatus having heater |
| DE102004026882A1 (en) | 2004-05-27 | 2005-12-22 | E.G.O. Elektro-Gerätebau GmbH | Oven for baking food has a baking tray support with a stepless adjustment of its height relative to the heating, using an electronic control or manual setting, to control an electromotor drive for a telescopic or spindle mechanism |
| KR100671831B1 (en) * | 2004-12-03 | 2007-01-22 | 주식회사 대우일렉트로닉스 | Microwave Tray Detection Device |
| DE202005015851U1 (en) * | 2005-10-10 | 2007-02-15 | Eisfink Max Maier Gmbh & Co. Kg | Documentation system for the catering industry |
| DE102006012502B4 (en) * | 2006-03-16 | 2010-11-25 | Electrolux Home Products Corporation N.V. | Cooking oven |
| DE102007005484B4 (en) * | 2007-01-30 | 2011-11-10 | Rational Ag | Method for selecting at least one work program for implementation in at least one food processing room |
-
2008
- 2008-12-01 DE DE102008044231A patent/DE102008044231A1/en not_active Withdrawn
-
2009
- 2009-11-30 PL PL09177480T patent/PL2192351T3/en unknown
- 2009-11-30 EP EP09177480.2A patent/EP2192351B1/en active Active
- 2009-11-30 EP EP19202220.0A patent/EP3627054B1/en active Active
- 2009-11-30 EP EP18168657.7A patent/EP3399238B1/en active Active
- 2009-11-30 PL PL18168657T patent/PL3399238T3/en unknown
- 2009-11-30 PL PL19202220.0T patent/PL3627054T3/en unknown
Patent Citations (7)
| Publication number | Priority date | Publication date | Assignee | Title |
|---|---|---|---|---|
| US3043290A (en) * | 1961-03-01 | 1962-07-10 | Moffats Ltd | Oven rack elevating and lowering mechanism |
| JPH04306421A (en) * | 1991-04-02 | 1992-10-29 | Tiger Vacuum Bottle Co Ltd | Cooking pan lifter device in microwave oven |
| EP0949456A2 (en) * | 1998-04-07 | 1999-10-13 | Wang Ping | Oven with automatically movable shelf |
| DE19954470A1 (en) * | 1999-11-12 | 2001-06-07 | Aeg Hausgeraete Gmbh | Device and method for operating a pyrolysis oven |
| EP1504666A1 (en) * | 2003-08-06 | 2005-02-09 | BSH Bosch und Siemens Hausgeräte GmbH | Cooking apparatus with browning sensor |
| EP1505349A2 (en) * | 2003-08-06 | 2005-02-09 | BSH Bosch und Siemens Hausgeräte GmbH | Cooking device with browning sensor |
| EP1994827A1 (en) * | 2007-05-25 | 2008-11-26 | Indesit Company, S.P.A. | A baking oven |
Also Published As
| Publication number | Publication date |
|---|---|
| EP2192351B1 (en) | 2020-07-15 |
| EP2192351A2 (en) | 2010-06-02 |
| EP2192351A3 (en) | 2017-11-01 |
| EP3627054B1 (en) | 2023-07-12 |
| PL3399238T3 (en) | 2021-06-28 |
| DE102008044231A1 (en) | 2010-06-02 |
| EP3627054A1 (en) | 2020-03-25 |
| EP3399238A2 (en) | 2018-11-07 |
| PL3627054T3 (en) | 2023-11-20 |
| PL2192351T3 (en) | 2020-12-14 |
| EP3399238B1 (en) | 2021-01-13 |
Similar Documents
| Publication | Publication Date | Title |
|---|---|---|
| CA2781278C (en) | Brassica plants comprising mutant fad3 alleles | |
| EP2182370A3 (en) | Sample processing apparatus and cleaning method | |
| EP2005831A3 (en) | Cooking and smoking apparatus | |
| EP2283758A4 (en) | Cleaning sheet and process for producing the same | |
| EP2338964A3 (en) | Liquid cleaning and/or cleansing composition | |
| EP2631083A3 (en) | Device for feeding book blocks into a processing device infeed channel | |
| EP3399238A3 (en) | Cooking device and method for operating a cooking device | |
| GB2455039A8 (en) | Press-working method and press working apparatus | |
| EP2901863A3 (en) | 3D-food product forming apparatus and process | |
| EP1889963A3 (en) | Determining fabric temperature in a fabric treating appliance | |
| AP2011005595A0 (en) | Biomass stove apparatus and method for its use. | |
| EP2597191A3 (en) | System with a rinsing unit of a washing machine and a capsule holder | |
| EP4023243A3 (en) | Compositions and methods for treating celiac sprue disease | |
| AP3357A (en) | Acid cleaning method in the brewing industry | |
| EP2413012A3 (en) | Connector | |
| PL2291104T3 (en) | Cooking machine, in particular for kneading dough | |
| EP2055397A3 (en) | In-situ chamber cleaning method | |
| EP2226567A4 (en) | Top plate for cooking appliance and process for producing the same | |
| EP2602557A3 (en) | Extractor hood, kitchen furniture and arrangement | |
| EP2422682A3 (en) | Dishwasher with a damping device and method for producing a damping device | |
| EP2445311A3 (en) | Combination cooking device | |
| EP2306086A3 (en) | Grate bar | |
| ATE507043T1 (en) | DEVICE FOR INSERTING A PULL-OUT PIN INTO A PULL-OUT TOOL | |
| EP2380442A3 (en) | 3D-food product forming apparatus and process | |
| EP1945076A4 (en) | Removable grill for cooking apparatus |
Legal Events
| Date | Code | Title | Description |
|---|---|---|---|
| PUAI | Public reference made under article 153(3) epc to a published international application that has entered the european phase |
Free format text: ORIGINAL CODE: 0009012 |
|
| STAA | Information on the status of an ep patent application or granted ep patent |
Free format text: STATUS: THE APPLICATION HAS BEEN PUBLISHED |
|
| AC | Divisional application: reference to earlier application |
Ref document number: 2192351 Country of ref document: EP Kind code of ref document: P |
|
| AK | Designated contracting states |
Kind code of ref document: A2 Designated state(s): AT BE BG CH CY CZ DE DK EE ES FI FR GB GR HR HU IE IS IT LI LT LU LV MC MK MT NL NO PL PT RO SE SI SK SM TR |
|
| PUAL | Search report despatched |
Free format text: ORIGINAL CODE: 0009013 |
|
| AK | Designated contracting states |
Kind code of ref document: A3 Designated state(s): AT BE BG CH CY CZ DE DK EE ES FI FR GB GR HR HU IE IS IT LI LT LU LV MC MK MT NL NO PL PT RO SE SI SK SM TR |
|
| RIC1 | Information provided on ipc code assigned before grant |
Ipc: F24C 7/08 20060101AFI20190115BHEP Ipc: F24C 15/16 20060101ALI20190115BHEP |
|
| STAA | Information on the status of an ep patent application or granted ep patent |
Free format text: STATUS: REQUEST FOR EXAMINATION WAS MADE |
|
| 17P | Request for examination filed |
Effective date: 20190820 |
|
| RBV | Designated contracting states (corrected) |
Designated state(s): AT BE BG CH CY CZ DE DK EE ES FI FR GB GR HR HU IE IS IT LI LT LU LV MC MK MT NL NO PL PT RO SE SI SK SM TR |
|
| STAA | Information on the status of an ep patent application or granted ep patent |
Free format text: STATUS: EXAMINATION IS IN PROGRESS |
|
| 17Q | First examination report despatched |
Effective date: 20200120 |
|
| GRAP | Despatch of communication of intention to grant a patent |
Free format text: ORIGINAL CODE: EPIDOSNIGR1 |
|
| STAA | Information on the status of an ep patent application or granted ep patent |
Free format text: STATUS: GRANT OF PATENT IS INTENDED |
|
| INTG | Intention to grant announced |
Effective date: 20200908 |
|
| GRAS | Grant fee paid |
Free format text: ORIGINAL CODE: EPIDOSNIGR3 |
|
| GRAA | (expected) grant |
Free format text: ORIGINAL CODE: 0009210 |
|
| STAA | Information on the status of an ep patent application or granted ep patent |
Free format text: STATUS: THE PATENT HAS BEEN GRANTED |
|
| AC | Divisional application: reference to earlier application |
Ref document number: 2192351 Country of ref document: EP Kind code of ref document: P |
|
| AK | Designated contracting states |
Kind code of ref document: B1 Designated state(s): AT BE BG CH CY CZ DE DK EE ES FI FR GB GR HR HU IE IS IT LI LT LU LV MC MK MT NL NO PL PT RO SE SI SK SM TR |
|
| REG | Reference to a national code |
Ref country code: GB Ref legal event code: FG4D Free format text: NOT ENGLISH |
|
| REG | Reference to a national code |
Ref country code: CH Ref legal event code: EP |
|
| REG | Reference to a national code |
Ref country code: IE Ref legal event code: FG4D Free format text: LANGUAGE OF EP DOCUMENT: GERMAN |
|
| REG | Reference to a national code |
Ref country code: DE Ref legal event code: R096 Ref document number: 502009016317 Country of ref document: DE |
|
| REG | Reference to a national code |
Ref country code: AT Ref legal event code: REF Ref document number: 1354856 Country of ref document: AT Kind code of ref document: T Effective date: 20210215 |
|
| REG | Reference to a national code |
Ref country code: NL Ref legal event code: MP Effective date: 20210113 |
|
| REG | Reference to a national code |
Ref country code: LT Ref legal event code: MG9D |
|
| PG25 | Lapsed in a contracting state [announced via postgrant information from national office to epo] |
Ref country code: LT Free format text: LAPSE BECAUSE OF FAILURE TO SUBMIT A TRANSLATION OF THE DESCRIPTION OR TO PAY THE FEE WITHIN THE PRESCRIBED TIME-LIMIT Effective date: 20210113 Ref country code: NO Free format text: LAPSE BECAUSE OF FAILURE TO SUBMIT A TRANSLATION OF THE DESCRIPTION OR TO PAY THE FEE WITHIN THE PRESCRIBED TIME-LIMIT Effective date: 20210413 Ref country code: PT Free format text: LAPSE BECAUSE OF FAILURE TO SUBMIT A TRANSLATION OF THE DESCRIPTION OR TO PAY THE FEE WITHIN THE PRESCRIBED TIME-LIMIT Effective date: 20210513 Ref country code: FI Free format text: LAPSE BECAUSE OF FAILURE TO SUBMIT A TRANSLATION OF THE DESCRIPTION OR TO PAY THE FEE WITHIN THE PRESCRIBED TIME-LIMIT Effective date: 20210113 Ref country code: GR Free format text: LAPSE BECAUSE OF FAILURE TO SUBMIT A TRANSLATION OF THE DESCRIPTION OR TO PAY THE FEE WITHIN THE PRESCRIBED TIME-LIMIT Effective date: 20210414 Ref country code: HR Free format text: LAPSE BECAUSE OF FAILURE TO SUBMIT A TRANSLATION OF THE DESCRIPTION OR TO PAY THE FEE WITHIN THE PRESCRIBED TIME-LIMIT Effective date: 20210113 Ref country code: BG Free format text: LAPSE BECAUSE OF FAILURE TO SUBMIT A TRANSLATION OF THE DESCRIPTION OR TO PAY THE FEE WITHIN THE PRESCRIBED TIME-LIMIT Effective date: 20210413 |
|
| PG25 | Lapsed in a contracting state [announced via postgrant information from national office to epo] |
Ref country code: LV Free format text: LAPSE BECAUSE OF FAILURE TO SUBMIT A TRANSLATION OF THE DESCRIPTION OR TO PAY THE FEE WITHIN THE PRESCRIBED TIME-LIMIT Effective date: 20210113 Ref country code: SE Free format text: LAPSE BECAUSE OF FAILURE TO SUBMIT A TRANSLATION OF THE DESCRIPTION OR TO PAY THE FEE WITHIN THE PRESCRIBED TIME-LIMIT Effective date: 20210113 |
|
| PG25 | Lapsed in a contracting state [announced via postgrant information from national office to epo] |
Ref country code: IS Free format text: LAPSE BECAUSE OF FAILURE TO SUBMIT A TRANSLATION OF THE DESCRIPTION OR TO PAY THE FEE WITHIN THE PRESCRIBED TIME-LIMIT Effective date: 20210513 |
|
| REG | Reference to a national code |
Ref country code: DE Ref legal event code: R097 Ref document number: 502009016317 Country of ref document: DE |
|
| PG25 | Lapsed in a contracting state [announced via postgrant information from national office to epo] |
Ref country code: SM Free format text: LAPSE BECAUSE OF FAILURE TO SUBMIT A TRANSLATION OF THE DESCRIPTION OR TO PAY THE FEE WITHIN THE PRESCRIBED TIME-LIMIT Effective date: 20210113 Ref country code: CZ Free format text: LAPSE BECAUSE OF FAILURE TO SUBMIT A TRANSLATION OF THE DESCRIPTION OR TO PAY THE FEE WITHIN THE PRESCRIBED TIME-LIMIT Effective date: 20210113 Ref country code: EE Free format text: LAPSE BECAUSE OF FAILURE TO SUBMIT A TRANSLATION OF THE DESCRIPTION OR TO PAY THE FEE WITHIN THE PRESCRIBED TIME-LIMIT Effective date: 20210113 |
|
| PLBE | No opposition filed within time limit |
Free format text: ORIGINAL CODE: 0009261 |
|
| STAA | Information on the status of an ep patent application or granted ep patent |
Free format text: STATUS: NO OPPOSITION FILED WITHIN TIME LIMIT |
|
| PG25 | Lapsed in a contracting state [announced via postgrant information from national office to epo] |
Ref country code: SK Free format text: LAPSE BECAUSE OF FAILURE TO SUBMIT A TRANSLATION OF THE DESCRIPTION OR TO PAY THE FEE WITHIN THE PRESCRIBED TIME-LIMIT Effective date: 20210113 Ref country code: DK Free format text: LAPSE BECAUSE OF FAILURE TO SUBMIT A TRANSLATION OF THE DESCRIPTION OR TO PAY THE FEE WITHIN THE PRESCRIBED TIME-LIMIT Effective date: 20210113 Ref country code: RO Free format text: LAPSE BECAUSE OF FAILURE TO SUBMIT A TRANSLATION OF THE DESCRIPTION OR TO PAY THE FEE WITHIN THE PRESCRIBED TIME-LIMIT Effective date: 20210113 |
|
| 26N | No opposition filed |
Effective date: 20211014 |
|
| PG25 | Lapsed in a contracting state [announced via postgrant information from national office to epo] |
Ref country code: ES Free format text: LAPSE BECAUSE OF FAILURE TO SUBMIT A TRANSLATION OF THE DESCRIPTION OR TO PAY THE FEE WITHIN THE PRESCRIBED TIME-LIMIT Effective date: 20210113 |
|
| PG25 | Lapsed in a contracting state [announced via postgrant information from national office to epo] |
Ref country code: SI Free format text: LAPSE BECAUSE OF FAILURE TO SUBMIT A TRANSLATION OF THE DESCRIPTION OR TO PAY THE FEE WITHIN THE PRESCRIBED TIME-LIMIT Effective date: 20210113 |
|
| PG25 | Lapsed in a contracting state [announced via postgrant information from national office to epo] |
Ref country code: IT Free format text: LAPSE BECAUSE OF FAILURE TO SUBMIT A TRANSLATION OF THE DESCRIPTION OR TO PAY THE FEE WITHIN THE PRESCRIBED TIME-LIMIT Effective date: 20210113 |
|
| PG25 | Lapsed in a contracting state [announced via postgrant information from national office to epo] |
Ref country code: IS Free format text: LAPSE BECAUSE OF FAILURE TO SUBMIT A TRANSLATION OF THE DESCRIPTION OR TO PAY THE FEE WITHIN THE PRESCRIBED TIME-LIMIT Effective date: 20210513 |
|
| PG25 | Lapsed in a contracting state [announced via postgrant information from national office to epo] |
Ref country code: MC Free format text: LAPSE BECAUSE OF FAILURE TO SUBMIT A TRANSLATION OF THE DESCRIPTION OR TO PAY THE FEE WITHIN THE PRESCRIBED TIME-LIMIT Effective date: 20210113 |
|
| REG | Reference to a national code |
Ref country code: CH Ref legal event code: PL |
|
| PG25 | Lapsed in a contracting state [announced via postgrant information from national office to epo] |
Ref country code: LU Free format text: LAPSE BECAUSE OF NON-PAYMENT OF DUE FEES Effective date: 20211130 Ref country code: BE Free format text: LAPSE BECAUSE OF NON-PAYMENT OF DUE FEES Effective date: 20211130 |
|
| REG | Reference to a national code |
Ref country code: BE Ref legal event code: MM Effective date: 20211130 |
|
| PG25 | Lapsed in a contracting state [announced via postgrant information from national office to epo] |
Ref country code: LI Free format text: LAPSE BECAUSE OF NON-PAYMENT OF DUE FEES Effective date: 20211130 Ref country code: CH Free format text: LAPSE BECAUSE OF NON-PAYMENT OF DUE FEES Effective date: 20211130 |
|
| PG25 | Lapsed in a contracting state [announced via postgrant information from national office to epo] |
Ref country code: IE Free format text: LAPSE BECAUSE OF NON-PAYMENT OF DUE FEES Effective date: 20211130 |
|
| PG25 | Lapsed in a contracting state [announced via postgrant information from national office to epo] |
Ref country code: FR Free format text: LAPSE BECAUSE OF NON-PAYMENT OF DUE FEES Effective date: 20211130 |
|
| REG | Reference to a national code |
Ref country code: AT Ref legal event code: MM01 Ref document number: 1354856 Country of ref document: AT Kind code of ref document: T Effective date: 20211130 |
|
| PG25 | Lapsed in a contracting state [announced via postgrant information from national office to epo] |
Ref country code: AT Free format text: LAPSE BECAUSE OF NON-PAYMENT OF DUE FEES Effective date: 20211130 |
|
| REG | Reference to a national code |
Ref country code: DE Ref legal event code: R084 Ref document number: 502009016317 Country of ref document: DE |
|
| PG25 | Lapsed in a contracting state [announced via postgrant information from national office to epo] |
Ref country code: CY Free format text: LAPSE BECAUSE OF FAILURE TO SUBMIT A TRANSLATION OF THE DESCRIPTION OR TO PAY THE FEE WITHIN THE PRESCRIBED TIME-LIMIT Effective date: 20210113 |
|
| PG25 | Lapsed in a contracting state [announced via postgrant information from national office to epo] |
Ref country code: NL Free format text: LAPSE BECAUSE OF NON-PAYMENT OF DUE FEES Effective date: 20210113 |
|
| PG25 | Lapsed in a contracting state [announced via postgrant information from national office to epo] |
Ref country code: HU Free format text: LAPSE BECAUSE OF FAILURE TO SUBMIT A TRANSLATION OF THE DESCRIPTION OR TO PAY THE FEE WITHIN THE PRESCRIBED TIME-LIMIT; INVALID AB INITIO Effective date: 20091130 |
|
| PG25 | Lapsed in a contracting state [announced via postgrant information from national office to epo] |
Ref country code: MK Free format text: LAPSE BECAUSE OF FAILURE TO SUBMIT A TRANSLATION OF THE DESCRIPTION OR TO PAY THE FEE WITHIN THE PRESCRIBED TIME-LIMIT Effective date: 20210113 |
|
| PG25 | Lapsed in a contracting state [announced via postgrant information from national office to epo] |
Ref country code: MT Free format text: LAPSE BECAUSE OF FAILURE TO SUBMIT A TRANSLATION OF THE DESCRIPTION OR TO PAY THE FEE WITHIN THE PRESCRIBED TIME-LIMIT Effective date: 20210113 |
|
| PGFP | Annual fee paid to national office [announced via postgrant information from national office to epo] |
Ref country code: DE Payment date: 20251130 Year of fee payment: 17 |
|
| PGFP | Annual fee paid to national office [announced via postgrant information from national office to epo] |
Ref country code: GB Payment date: 20251120 Year of fee payment: 17 |
|
| PGFP | Annual fee paid to national office [announced via postgrant information from national office to epo] |
Ref country code: TR Payment date: 20251206 Year of fee payment: 17 |
|
| PGFP | Annual fee paid to national office [announced via postgrant information from national office to epo] |
Ref country code: PL Payment date: 20251124 Year of fee payment: 17 |
