EP2716420A1 - Knife - Google Patents
Knife Download PDFInfo
- Publication number
- EP2716420A1 EP2716420A1 EP13000781.8A EP13000781A EP2716420A1 EP 2716420 A1 EP2716420 A1 EP 2716420A1 EP 13000781 A EP13000781 A EP 13000781A EP 2716420 A1 EP2716420 A1 EP 2716420A1
- Authority
- EP
- European Patent Office
- Prior art keywords
- housing part
- locking
- housing
- knife according
- arm
- Prior art date
- Legal status (The legal status is an assumption and is not a legal conclusion. Google has not performed a legal analysis and makes no representation as to the accuracy of the status listed.)
- Granted
Links
Images
Classifications
-
- B—PERFORMING OPERATIONS; TRANSPORTING
- B26—HAND CUTTING TOOLS; CUTTING; SEVERING
- B26B—HAND-HELD CUTTING TOOLS NOT OTHERWISE PROVIDED FOR
- B26B5/00—Hand knives with one or more detachable blades
-
- B—PERFORMING OPERATIONS; TRANSPORTING
- B26—HAND CUTTING TOOLS; CUTTING; SEVERING
- B26B—HAND-HELD CUTTING TOOLS NOT OTHERWISE PROVIDED FOR
- B26B1/00—Hand knives with adjustable blade; Pocket knives
- B26B1/08—Hand knives with adjustable blade; Pocket knives with sliding blade
-
- B—PERFORMING OPERATIONS; TRANSPORTING
- B26—HAND CUTTING TOOLS; CUTTING; SEVERING
- B26B—HAND-HELD CUTTING TOOLS NOT OTHERWISE PROVIDED FOR
- B26B5/00—Hand knives with one or more detachable blades
- B26B5/001—Hand knives with one or more detachable blades with blades being slid out of handle immediately prior to use
-
- B—PERFORMING OPERATIONS; TRANSPORTING
- B26—HAND CUTTING TOOLS; CUTTING; SEVERING
- B26B—HAND-HELD CUTTING TOOLS NOT OTHERWISE PROVIDED FOR
- B26B5/00—Hand knives with one or more detachable blades
- B26B5/001—Hand knives with one or more detachable blades with blades being slid out of handle immediately prior to use
- B26B5/003—Hand knives with one or more detachable blades with blades being slid out of handle immediately prior to use comprising retraction means for the blade or the blade holder
Definitions
- the invention relates to a knife.
- a knife is in the DE 10 2009 032 362 described.
- the knife comprises a housing on which a knife blade is mounted.
- a second housing part of the housing is relatively movable formed to a first housing part and can be displaced in this way between a closed and an open position. In the open position, access to a housing interior is possible.
- the knife includes a housing and a blade.
- the housing comprises a first and at least one second housing part, wherein the second housing part can be fastened to the first housing part.
- the second housing part is e.g. releasably held to the first housing part.
- the second housing part is relatively movable to the first housing part to allow access to the housing interior, e.g. a blade change can be performed.
- the second housing part is movable relative to the first housing part at least between an open position and a closed position.
- the second housing part is detachably lockable to the first housing part by means of a locking device.
- the Locking device is movable between a locking position and a release position. In the locking position, the second housing part is locked relative to the first housing part in at least one direction, ie not movable in at least one direction. In the release position, the second housing part can be moved relative to the first housing part in at least one direction.
- the locking device comprises cooperating locking means, which are directly or indirectly associated with the first and the second housing part.
- the locking means are e.g. attached directly to the first housing part or to the second housing part.
- the locking means may be attached to an additional part which is fixed to the first or the second housing part.
- the locking position the locking means are engaged.
- a movement of the housing part relative to the other housing part is not possible in the locking position in at least one direction.
- the locking means are disengaged.
- the housing part can be moved relative to the other housing part.
- the locking means comprise a movable arm having at least one locking surface, wherein the locking surface is detachably movable in the movement path of at least one holding surface of the second locking means.
- the arm is movable between the latch position and the release position. In the locking position of the arm, the locking surface is in the path of movement of the support surface. In the release position, the locking surface is moved out of the movement path of the holding surface.
- the second housing part can not be moved in at least one direction relative to the first housing part.
- the holding surface of the second locking means is formed, for example, on a projection of the second housing part.
- the arm is e.g. by a restoring force, such as the force of a separate spring or the restoring force of the material of the arm, loaded in the locking position.
- a restoring force such as the force of a separate spring or the restoring force of the material of the arm
- the arm comprises a free end.
- the arm is e.g. material uniformly formed with a housing part or attached to the housing part additional housing part.
- the free end of the arm protrudes e.g. into an interior of the housing.
- the arm extends e.g. parallel to a housing longitudinal axis.
- the free end has e.g. in the direction of the blade outlet opening of the housing.
- the locking surface is e.g. assigned to the free end of the arm.
- the locking surface is e.g. arranged on an end face of the free end.
- the arm is reset in the locked position.
- the arm may e.g. be loaded by a spring element in the locking position.
- the arm is formed of an elastically deformable material, which returns to a deformation by restoring force in the initial shape.
- the arm is adjustable by means of the actuation between the locking position and the release position.
- the actuation is e.g. assigned to the second housing part.
- the actuation is adjustable between an unactuated position and an actuated position.
- the actuation is formed according to an embodiment of an elastic tongue, which consists of one of the housing parts is cut free.
- the tongue is, for example, attached to one side of a housing part and has a free end, which is elastically deformable.
- the locking means are e.g. formed by cooperating locking means.
- the latching means are e.g. automatically engaged when the housing parts are in a certain relative position.
- the arm automatically engages with the latch surface when the housing parts are moved to the closed position.
- the arm is e.g. associated with a third housing part, which is attached to the first and / or to the second housing part by means of a fastening device.
- the third housing part is e.g. releasably attached to another housing part.
- the arm is formed or attached to the third housing part.
- the fastening device is e.g. designed as a locking device.
- the arm may e.g. be integrally connected to the third housing part.
- An embodiment is characterized in that the third housing part forms fastening means and / or locking means, and / or bearing means and / or holding means.
- the third housing part may, for example, have locking means which limit the movement of one housing part relative to another housing part in at least one direction of movement.
- first fastening means are formed on the third housing part, which cooperate with second fastening means which are associated with the first housing part and / or the second housing part.
- the third housing part may be fastened in this way to the first and / or to the second housing part.
- the fastening means may be formed, for example, by cooperating locking means.
- the third housing part On the third housing part are e.g. Bearing means formed which serve to support the blade carrier or form an abutment for the blade carrier. Furthermore, e.g. holding means are formed on the third housing part, e.g. to fix a spring.
- a housing part on first guide means which cooperate with second guide means of at least one other housing part, to guide the housing part relative to the other housing part on a movement path.
- the cooperating guide means form a guide device.
- one of the housing parts can be movably guided on a movement path relative to another housing part.
- a housing part can be guided relative to another housing part on a movement path in its seat.
- the second housing part may be movable relative to the first housing part between one of the closed position and at least the open position by means of the guide means.
- a third housing part, which forms an arm, is e.g. guided by the guide means on the first or the second housing part and in this way movable into a seat.
- the guide means of a housing part may e.g. be formed on opposite longitudinal sides of the housing part and cooperate with guide means of another housing part, which are complementary.
- the guide means may e.g. be formed by at least one web, which is formed on a housing part, wherein the web is slidable in a groove which is formed on the other housing part.
- the guide means can limit the degree of freedom of the relative movement of the housing parts.
- one of the housing parts on first stop means which cooperate with stop means of another housing part to the movement of the housing part relative to the other housing part at least in one Limit movement direction.
- two housing parts are guided relative to each other by means of a guide device on a movement path relative to each other.
- the stop means By means of the stop means, a movement in at least one direction can then be prevented in a certain relative position.
- a relative movement of the housing parts in a second direction can be prevented by means of the locking device when it is in the locking position.
- the movement of the second housing part relative to the first housing part in the closed position is prevented in a first direction from the locking surface of the arm when the arm is in the locking position.
- the movement of the second housing part relative to the first housing part in the closed position in a second direction is prevented by cooperating stops of the housing parts.
- first guide means and the second guide means form a guide link.
- the guide slot forms e.g. a guideway on which a housing part can move relative to the other housing part only on the link path.
- the second housing part or the third housing part forms a guide slot with the first housing part.
- the second housing part or the third housing part is displaceable by means of the guide slot in a seat.
- the seat is defined for example by cooperating stop means of the mutually guided housing parts. and is by means of the guide slot by a guided movement in a seat
- the knife according to the invention as a whole is designated by the reference numeral 10 in the figures.
- Like reference numerals in the different figures indicate like parts, even if small letters are added or omitted.
- the knife 10 has a housing 11, comprising a first housing part 12, a second housing part 13 and a third housing part 54.
- the housing part 13 is movable relative to the housing part 12 between a closed position and an open position. In the open position, access to an interior I of the housing 11 and thus a blade change is possible.
- the closed position is shown.
- a locking device V By means of a locking device V, the housing part 13 can be locked in the closed position. An unlocking of the locking device V is necessary to move the housing part 13 in the open position. Of the locking device V is in Fig. 1 only to recognize an actuating button 14.
- the knife 10 comprises a guide device, with which the housing part 13 is guided on the housing part 12.
- Fig. 5 It can be seen that the housing part 13 at side portions 36 and 37 with a Guide web 38 is provided, each guide web 38 is guided in a guide groove 39 of the housing part 12.
- the guide webs 38 form with the guide grooves 39 a longitudinal guide by means of which the housing part 13 relative to the housing part 12 in the directions x1, x2 between the in the Fig. 1 to 5 shown closed position and the open position, not shown, can be moved.
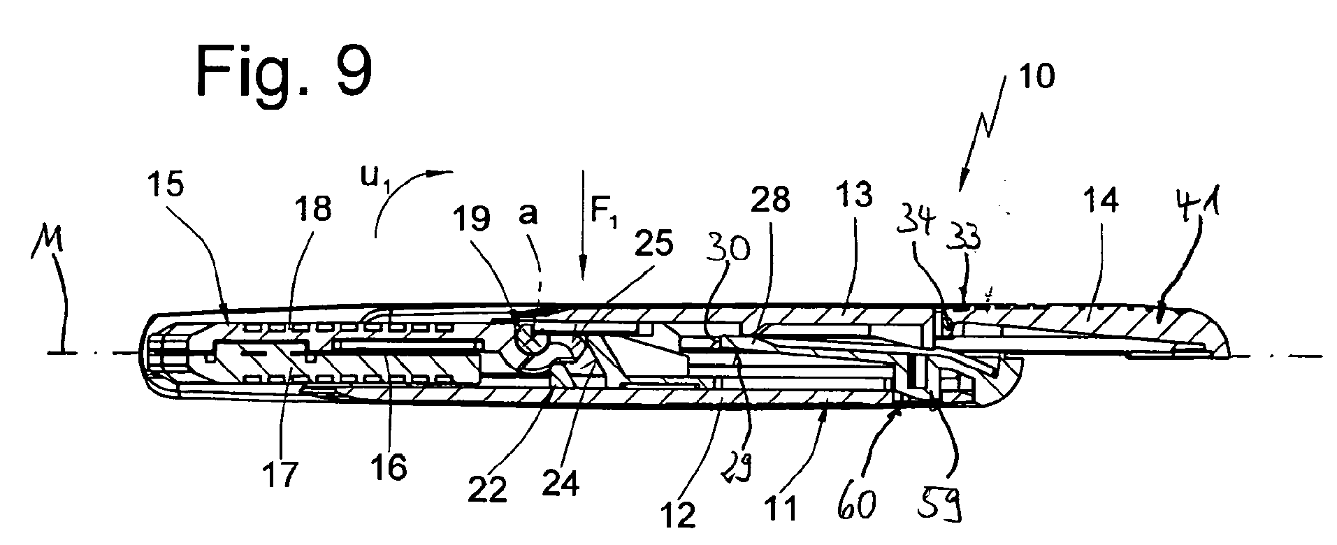
- the locking device V comprises in addition to the actuating button 14, an elastically deformable locking arm 28 (see Fig. 4 ), which is formed on the housing part 54 of the housing 11.
- the locking arm 28 extends for example approximately parallel to the housing longitudinal axis M in the interior I.
- a free end portion 29 faces the front end of the blade, on which the opening for exit of the blade is provided on the housing 11.
- At the end portion 29 of the locking arm 28 is provided with a locking surface 30.
- the locking surface 30 cooperates with a holding surface 31.
- the holding surface 31 is formed on a stop 32 of the housing part 13. In the in Fig. 4 shown locking position, the locking surface 30 is arranged in the movement path of the support surface 31.
- the housing part 13 is not movable from the closed position in the direction x1 in the open position. Because in the closed position according to Fig. 4 a stopper surface 64 of the second housing part 13 abuts against a stop surface 58 of the first housing part 12, the second housing part 13 can not be moved further in the direction x2.
- the actuating button 14 is formed in the present embodiment of a portion of the housing wall of the second housing part 13. However, the actuating button 14 is fastened to the second housing part 13 only at one end region 41, while an end region facing away from it forms a free end 33, which is separated from other wall regions of the housing part 13 by a gap 52.
- the free end 33 of the operation key 14 is moved in the direction of z1, press formed on the free end 33 actuating bar 34 on an upper outer surface 35 of the end portion 29 and moves the locking arm 28, in particular the end portion 29, in the direction z1 from the movement path of the support surface 31 in the release position, indicated by a dashed line in Fig. 4 is shown.
- the locking arm 28 springs back in the direction z2 in its initial position.
- the housing part 13 can be made of the in the Fig. 1 to 5 shown closed position in the direction x1 are moved to the open position, which is not shown.
- the open position is defined for example by the interaction of a stop surface of the first housing part 12 or the blade carrier 15 with a stop surface of the second housing part 13.
- a stop surface of the first housing part 12 or the blade carrier 15 with a stop surface of the second housing part 13.
- an intermediate position of the housing parts 12 and 13 is shown.
- the knife 10 also includes a blade carrier 15 in which a blade 16 is held.
- the blade carrier 15 is between an in Fig. 1 shown basic position and a cutting position, not shown movable.
- the blade carrier 15 comprises a base part 17 and a holding part 18.
- the blade 16 is held in a holding position of the holding part 18 between a holding surface 45 of the base part 17 and a holding surface 46 of the holding part 18 in a blade seat.
- the base 17 has a projection 47 which engages through a slot 48 of the blade 16 and engages in a recess 49 of the holding part 18.
- the holding part 18 is pivotable relative to the base part 17 about a pivot axis a between the holding position and a change position. In the change position, the blade is out of the blade seat removable and eg exchangeable for a new blade.
- the pivot axis a is formed by an axle 19 formed on the base 17.
- a bearing structure 20 is formed, which surrounds the axle 19 partially.
- the axle structure 19 and the bearing structure 20 form a pivot joint G.
- the holding part 18 forms a two-armed lever, wherein a first lever arm is formed by an end region 23 and a second lever arm by an end region 40.
- a first abutment wall 21 and a second abutment wall 22 are formed on the third housing part 54 of the housing 11.
- the abutment walls 21 and 22 protrude into an inner space 65 of the housing 11 and cooperate with the end portion 23 of the holding part 18.
- an abutment surface 24 of the abutment wall 21 with a surface 25 of the end portion 23 and an outer surface 26 of the abutment wall 22 cooperate with an inner surface of a recess 27 of the end portion 23, as will be explained in more detail below.
- a spring also not shown attached, which loads the base 17 in the direction x1 and thereby contrary to the illustration in the drawings, the surface 25 of the end portion 23 against the abutment surface 24 of first abutment wall 21 presses.
- the abutment surface 24 is formed as an inclined surface, ie it forms an angle to the directions of movement x1, x2. In this way, a force F1 is exerted by the abutment surface 24 in the direction z1 on the end portion 23, which causes a moment about the pivot axis a in the direction u1.
- a front portion 42 of the housing part 13 is but according to Fig. 4 in the trajectory of the end portion 40 and prevents pivoting of the end portion 40 of the support member 18 in the direction u1 in the change position.
- the support member 18 can pivot in the direction u1 about the pivot axis a in the change position, which is not shown is.
- the blade 16 is now accessible and can be removed from the blade seat and replaced with a new blade.
- the blade carrier 15 If, in the change position of the holding part 18, the blade carrier 15 is moved in the direction x2, then the inner surface of the recess 27 comes into contact with the outer surface 26 of the abutment wall 22.
- the abutment wall 22 prevents in this way that the blade carrier 15 is moved unintentionally in the direction x2 during the blade change and the user injured.
- the housing part 13 In order to pivot the holding part 18 from the change position to the holding position, the housing part 13 is displaced from the open position in the direction x2. From the front region 42, a force is exerted on a surface 43 of the lever arm 40 in the direction z1. The force in the direction z1 results in a moment which is directed counter to the pivoting direction u1, so that the holding part 18 pivots in the opposite direction to u1.
- the housing part 13 again according to Fig. 1 to 5 is in the closed position, the holding part 18 pivoted back into its holding position and the lever arm 40 is held by the housing part 13 in the holding position.
- the blade carrier 15 To the blade carrier 15 from a in the Fig. 1 to 5 illustrated basic position in which the blade 16 is arranged in the housing 11 so that the user can not hurt to move to a cutting position (not shown), in which the blade 16 projects out of the housing 11, the blade carrier 15 must to be moved in the direction of x2.
- the housing 11 has recesses 50 and 51 on opposite sides. Through the recesses 50 and 51 of the blade carrier 15 can be grasped and moved in the direction x2.
- the surface 43 of the holding part 18 and a surface 44 of the base 17 are accessible through the recesses 50 and 51.
- the surfaces 43 and 44 are provided with a structure so that the blade carrier 15 can be gripped and moved out in the direction x2 from a front opening 66 of the housing 11.
- a rear region 61 of the third housing part 54 forms a housing outer surface 63, while a front region 62 comprises the first abutment wall 21, the second abutment wall 22, the locking arm 28 and the attachment structure 53.
- the third housing part 54 comprises on opposite side areas guide webs 55 which cooperate with guide grooves 56 of the first housing part 12 such that the third housing part 54 is inserted into the first housing part 12 and relative to the first housing part 12 in the directions x1, x2 slidably.
- the third housing part 54 includes a stop shoulder 57 which cooperates with a stop surface 58 of the first housing part 12.
- the third housing part 54 further comprises a latching projection 59 which can be releasably engaged with a latching recess 60 of the first housing part 12.
- a latching projection 59 which can be releasably engaged with a latching recess 60 of the first housing part 12.
- the Locking projection 59 and the locking recess form a fastening device which is formed in the present case as a locking device.
- the blade carrier 15 is arranged in the basic position in the housing part 12.
- One end portion of the spring, not shown, is attached to the blade carrier 15 and another end portion is attached to the attachment structure 53.
- the second housing part 13 is inserted with its guide webs 38 in the guide grooves 39 and moved in the direction x2.
- the stop 32 passes through the locking arm 28 and moves it out of the path of movement of the stop 32. This is possible because the free end 29 of the locking arm 28 is provided with an inclined surface.
- the housing parts are in the closed position.
- the holding surface 31 latches in the closed behind the locking surface 30 of the locking arm 28.
- the locking device V is in the locked position. A movement of the housing part 13 relative to the housing part 12 in the directions x1 and x2 is prevented in this position.
Landscapes
- Life Sciences & Earth Sciences (AREA)
- Forests & Forestry (AREA)
- Engineering & Computer Science (AREA)
- Mechanical Engineering (AREA)
- Knives (AREA)
- Details Of Cutting Devices (AREA)
Abstract
Die Erfindung betrifft ein Messer (10) mit einem Gehäuse (11, 12, 13, 54) und mit einer Klinge (16), mit einem ersten Gehäuseteil (12) und wenigstens einem zweiten Gehäuseteil (13), wobei das zweite Gehäuseteil (13) relativ zu dem ersten Gehäuseteil (12) auf einer Bewegungsbahn mindestens zwischen einer offenen Position, in welcher der Zugriff auf einen Gehäuseinnenraum möglich ist, und einer geschlossenen Position relativbewegbar ist, und in wenigstens einer Position mittels einer Verriegelungsvorrichtung (V) lösbar verriegelbar ist, wobei dem ersten Gehäuseteil (12) erste Verriegelungsmittel und dem zweiten Gehäuseteil (13) zweite Verriegelungsmittel zugeordnet sind.The invention relates to a knife (10) with a housing (11, 12, 13, 54) and with a blade (16), with a first housing part (12) and at least one second housing part (13), wherein the second housing part (13 ) relative to the first housing part (12) on a movement path at least between an open position in which access to a housing interior is possible, and a closed position is relatively movable, and in at least one position by means of a locking device (V) is releasably lockable, wherein the first housing part (12) first locking means and the second housing part (13) second locking means are assigned.
Die Besonderheit besteht darin, dass die ersten Verriegelungsmittel einen zwischen einer Riegelposition und einer Löseposition bewegbaren Arm (28) umfassen, welcher mindestens eine Riegelfläche (30) aufweist, wobei die Riegelfläche (30) lösbar in die Bewegungsbahn wenigstens einer Haltefläche (31) der zweiten Verriegelungsmittel bewegbar ist. The special feature consists in that the first locking means comprise a movable between a locking position and a release arm (28) having at least one locking surface (30), wherein the locking surface (30) releasably in the path of movement of at least one holding surface (31) of the second Locking means is movable.
Description
Die Erfindung betrifft ein Messer. Ein solches Messer ist in der
Das Messer umfasst ein Gehäuse, an welchem eine Messerklinge gelagert ist. Ein zweites Gehäuseteil des Gehäuses ist relativbewegbar zu einem ersten Gehäuseteil ausgebildet und kann auf diese Weise zwischen einer geschlossenen und einer offenen Position verlagert werden. In der offenen Position ist der Zugriff auf einen Gehäuseinnenraum möglich.The knife comprises a housing on which a knife blade is mounted. A second housing part of the housing is relatively movable formed to a first housing part and can be displaced in this way between a closed and an open position. In the open position, access to a housing interior is possible.
Es ist Aufgabe der Erfindung ein Messer zu schaffen, welches einfach gefertigt werden kann und leicht montierbar ist. Außerdem war es Aufgabe der Erfindung ein Messer zu schaffen, welches eine geringe Teilezahl umfasst.It is an object of the invention to provide a knife, which can be easily manufactured and is easy to install. In addition, it was an object of the invention to provide a knife which comprises a small number of parts.
Die Aufgabe wird gelöst durch ein Messer mit den Merkmalen des Anspruchs 1.The object is achieved by a knife having the features of claim 1.
Das Messer umfasst ein Gehäuse sowie eine Klinge. Das Gehäuse umfasst ein erstes und wenigstens ein zweites Gehäuseteil, wobei das zweite Gehäuseteil an dem ersten Gehäuseteil befestigbar ist. Das zweite Gehäuseteil ist z.B. lösbar an dem ersten Gehäuseteil gehalten. Das zweite Gehäuseteil ist zu dem ersten Gehäuseteil relativbewegbar, um einen Zugriff auf den Gehäuseinnenraum zu ermöglichen, damit z.B. ein Klingenwechsel durchgeführt werden kann. Das zweite Gehäuseteil ist relativ zu dem ersten Gehäuseteil wenigstens zwischen einer offenen Position und einer geschlossenen Position bewegbar.The knife includes a housing and a blade. The housing comprises a first and at least one second housing part, wherein the second housing part can be fastened to the first housing part. The second housing part is e.g. releasably held to the first housing part. The second housing part is relatively movable to the first housing part to allow access to the housing interior, e.g. a blade change can be performed. The second housing part is movable relative to the first housing part at least between an open position and a closed position.
In wenigstens einer Position, z.B. in der geschlossenen Position, ist das zweite Gehäuseteil an dem ersten Gehäuseteil mittels einer Verriegelungsvorrichtung lösbar verriegelbar. Die Verriegelungsvorrichtung ist zwischen einer Riegelposition und einer Löseposition bewegbar. In der Riegelposition ist das zweite Gehäuseteil relativ zu dem ersten Gehäuseteil in wenigstens eine Richtung verriegelt, d.h. in wenigstens eine Richtung nicht bewegbar. In der Löseposition kann das zweite Gehäuseteil relativ zu dem ersten Gehäuseteil in wenigstens eine Richtung bewegt werden.In at least one position, for example in the closed position, the second housing part is detachably lockable to the first housing part by means of a locking device. The Locking device is movable between a locking position and a release position. In the locking position, the second housing part is locked relative to the first housing part in at least one direction, ie not movable in at least one direction. In the release position, the second housing part can be moved relative to the first housing part in at least one direction.
Die Verriegelungsvorrichtung umfasst zusammenwirkende Verriegelungsmittel, die dem ersten und dem zweiten Gehäuseteil mittelbar oder unmittelbar zugeordnet sind. Die Verriegelungsmittel sind z.B. unmittelbar an dem ersten Gehäuseteil oder an dem zweiten Gehäusteil befestigt. Gemäß einer Alternative oder zusätzlich können die Verriegelungsmittel an einem zusätzlichen Teil befestigt sein, welches an dem ersten oder dem zweiten Gehäuseteil befestigt ist. In der Riegelposition sind die Verriegelungsmittel in Eingriff. Eine Bewegung des Gehäuseteils relativ zu dem anderen Gehäuseteil ist in der Riegelposition in wenigstens eine Richtung nicht möglich. In der Löseposition sind die Verriegelungsmittel außer Eingriff. In der Löseposition kann das Gehäuseteil relativ zu dem anderen Gehäuseteil bewegt werden.The locking device comprises cooperating locking means, which are directly or indirectly associated with the first and the second housing part. The locking means are e.g. attached directly to the first housing part or to the second housing part. According to an alternative or in addition, the locking means may be attached to an additional part which is fixed to the first or the second housing part. In the locking position, the locking means are engaged. A movement of the housing part relative to the other housing part is not possible in the locking position in at least one direction. In the release position, the locking means are disengaged. In the release position, the housing part can be moved relative to the other housing part.
Die Verriegelungsmittel umfassen einen bewegbaren Arm mit mindestens einer Riegelfläche, wobei die Riegelfläche lösbar in der Bewegungsbahn wenigstens einer Haltefläche der zweiten Verriegelungsmittel bewegbar ist. Der Arm ist zwischen der Riegelposition und der Löseposition bewegbar. In der Riegelposition des Arms befindet sich die Riegelfläche in der Bewegungsbahn der Haltefläche. In der Löseposition ist die Riegelfläche aus der Bewegungsbahn der Haltefläche herausbewegt. Wenn sich die Riegelfläche in der Bewegungsbahn der Haltefläche befindet, kann das zweite Gehäuseteil in wenigstens eine Richtung nicht relativ zu dem ersten Gehäuseteil bewegt werden. Die Haltefläche der zweiten Verriegelungsmittel ist z.B. an einem Vorsprung des zweiten Gehäuseteils ausgebildet.The locking means comprise a movable arm having at least one locking surface, wherein the locking surface is detachably movable in the movement path of at least one holding surface of the second locking means. The arm is movable between the latch position and the release position. In the locking position of the arm, the locking surface is in the path of movement of the support surface. In the release position, the locking surface is moved out of the movement path of the holding surface. When the locking surface is in the movement path of the holding surface, the second housing part can not be moved in at least one direction relative to the first housing part. The holding surface of the second locking means is formed, for example, on a projection of the second housing part.
Der Arm ist z.B. durch eine Rückstellkraft, wie z.B. die Kraft einer gesonderten Feder oder die Rückstellkraft des Materials des Arms, in die Riegelposition belastet. Bei einer Bewegung des Arms in die Löseposition bewegt sich der Arm automatisch in die Riegelposition zurück, sobald die Kraft, welche den Arm in die Riegelposition belastet, nachlässt.The arm is e.g. by a restoring force, such as the force of a separate spring or the restoring force of the material of the arm, loaded in the locking position. Upon movement of the arm to the release position, the arm will automatically move back to the latch position as soon as the force loading the arm into the latch position ceases.
Gemäß einer Ausführungsform umfasst der Arm ein freies Ende. Der Arm ist z.B. werkstoffeinheitlich mit einem Gehäuseteil oder einem an dem Gehäuseteil befestigten zusätzlichen Gehäuseteil ausgebildet. Das freie Ende des Arms ragt z.B. in einen Innenraum des Gehäuses hinein. Der Arm erstreckt sich z.B. parallel zu einer Gehäuselängsachse. Das freie Ende weist z.B. in Richtung der Klingenaustrittsöffnung des Gehäuses.According to one embodiment, the arm comprises a free end. The arm is e.g. material uniformly formed with a housing part or attached to the housing part additional housing part. The free end of the arm protrudes e.g. into an interior of the housing. The arm extends e.g. parallel to a housing longitudinal axis. The free end has e.g. in the direction of the blade outlet opening of the housing.
Die Riegelfläche ist z.B. dem freien Ende des Arms zugeordnet. Die Riegelfläche ist z.B. an einer Stirnseite des freien Endes angeordnet.The locking surface is e.g. assigned to the free end of the arm. The locking surface is e.g. arranged on an end face of the free end.
Z.B. ist der Arm in die Riegelposition rückstellbelastet. Der Arm kann z.B. von einem Federelement in die Riegelposition belastet sein. Alternativ ist der Arm aus einem elastisch verformbaren Material gebildet, welches nach einer Verformung durch Rückstellkraft in die Ausgangsform zurückkehrt.For example, the arm is reset in the locked position. The arm may e.g. be loaded by a spring element in the locking position. Alternatively, the arm is formed of an elastically deformable material, which returns to a deformation by restoring force in the initial shape.
Gemäß einer Ausführungsform ist der Arm mittels der Betätigung zwischen der Riegelposition und der Löseposition verstellbar. Die Betätigung ist z.B. dem zweiten Gehäuseteil zugeordnet. Die Betätigung ist zwischen einer unbetätigten Position und einer betätigten Position verstellbar.According to one embodiment, the arm is adjustable by means of the actuation between the locking position and the release position. The actuation is e.g. assigned to the second housing part. The actuation is adjustable between an unactuated position and an actuated position.
Die Betätigung ist gemäß einer Ausführungsform von einer elastischen Zunge gebildet, die aus einem der Gehäuseteile freigeschnitten ist. Die Zunge ist z.B. einseitig an einem Gehäuseteil befestigt und weist ein freies Ende auf, welches elastisch verformbar ist.The actuation is formed according to an embodiment of an elastic tongue, which consists of one of the housing parts is cut free. The tongue is, for example, attached to one side of a housing part and has a free end, which is elastically deformable.
Die Verriegelungsmittel sind z.B. von zusammenwirkenden Rastmitteln gebildet. Die Rastmittel geraten z.B. automatisch in Eingriff, wenn sich die Gehäuseteile in einer bestimmten Relativposition befinden. Z.B. rastet der Arm automatisch in den Eingriff mit der Riegelfläche ein, wenn die Gehäuseteile in die geschlossene Position bewegt werden.The locking means are e.g. formed by cooperating locking means. The latching means are e.g. automatically engaged when the housing parts are in a certain relative position. For example, The arm automatically engages with the latch surface when the housing parts are moved to the closed position.
Der Arm ist z.B. einem dritten Gehäuseteil zugeordnet, welches an dem ersten und / oder an dem zweiten Gehäuseteil mittels einer Befestigungsvorrichtung befestigt ist. Das dritte Gehäuseteil ist z.B. lösbar an einem anderen Gehäuseteil befestigt. Insbesondere ist der Arm an dem dritten Gehäuseteil ausgebildet oder befestigt. Die Befestigungsvorrichtung ist z.B. als Rastvorrichtung ausgebildet. Der Arm kann z.B. einstückig mit dem dritten Gehäuseteil verbunden sein.The arm is e.g. associated with a third housing part, which is attached to the first and / or to the second housing part by means of a fastening device. The third housing part is e.g. releasably attached to another housing part. In particular, the arm is formed or attached to the third housing part. The fastening device is e.g. designed as a locking device. The arm may e.g. be integrally connected to the third housing part.
Eine Ausführungsform ist dadurch gekennzeichnet, dass das dritte Gehäuseteil Befestigungsmittel und / oder Verriegelungsmittel, und / oder Lagermittel und / oder Haltemittel ausbildet. Das dritte Gehäuseteil kann z.B. Verriegelungsmittel aufweisen, welche die Bewegung eines Gehäuseteils relativ zu einem anderen Gehäuseteil in wenigstens eine Bewegungsrichtung begrenzen.An embodiment is characterized in that the third housing part forms fastening means and / or locking means, and / or bearing means and / or holding means. The third housing part may, for example, have locking means which limit the movement of one housing part relative to another housing part in at least one direction of movement.
Gemäß einer Ausführungsform sind an dem dritten Gehäuseteil erste Befestigungsmittel ausgebildet, die mit zweiten Befestigungsmitteln zusammenwirken, die dem ersten Gehäuseteil und / oder dem zweiten Gehäuseteil zugeordnet sind. Das dritte Gehäuseteil kann auf diese Weise an dem ersten und / oder an dem zweiten Gehäuseteil befestigt sein. Die Befestigungsmittel können z.B. von zusammenwirkenden Rastmitteln gebildet sein.According to one embodiment, first fastening means are formed on the third housing part, which cooperate with second fastening means which are associated with the first housing part and / or the second housing part. The third housing part may be fastened in this way to the first and / or to the second housing part. The fastening means may be formed, for example, by cooperating locking means.
An dem dritten Gehäuseteil sind z.B. Lagermittel ausgebildet, welche der Lagerung des Klingenträgers dienen oder ein Widerlager für den Klingenträger bilden. Des Weiteren sind z.B. an dem dritten Gehäuseteil Haltemittel ausgebildet, um z.B. eine Feder zu befestigen.On the third housing part are e.g. Bearing means formed which serve to support the blade carrier or form an abutment for the blade carrier. Furthermore, e.g. holding means are formed on the third housing part, e.g. to fix a spring.
Z.B. weist gemäß einer Ausführungsform ein Gehäuseteil erste Führungsmittel auf, die mit zweiten Führungsmitteln wenigstens eines anderen Gehäuseteils zusammenwirken, um das Gehäuseteil relativ zu dem anderen Gehäuseteil auf einer Bewegungsbahn zu führen. Die zusammenwirkenden Führungsmittel bilden eine Führungsvorrichtung. Mittels der Führungsmittel kann eines der Gehäuseteile relativ zu einem anderen Gehäuseteil auf einer Bewegungsbahn bewegbar geführt sein. Z.B. kann ein Gehäuseteil relativ zu einem anderen Gehäuseteil auf einer Bewegungsbahn in seinen Sitz geführt werden. Beispielsweise kann das zweite Gehäuseteil mittels der Führungsmittel relativ zu dem ersten Gehäuseteil zwischen einer der geschlossenen Position und wenigstens der offenen Position bewegbar sein. Ein drittes Gehäuseteil, welches einen Arm ausbildet, ist z.B. mittels der Führungsmittel an dem ersten oder dem zweiten Gehäuseteil geführt und auf diese Weise in einen Sitz bewegbar. Die Führungsmittel eines Gehäuseteils können z.B. an gegenüberliegenden Längsseiten des Gehäuseteils ausgebildet sein und mit Führungsmitteln eines anderen Gehäuseteils zusammen wirken, die komplementär ausgebildet sind. Die Führungsmittel können z.B. von wenigstens einem Steg gebildet sein, welcher an einem Gehäuseteil ausgebildet ist, wobei der Steg in einer Nut gleitend verschiebbar ist, die an dem anderen Gehäuseteil ausgebildet ist. Die Führungsmittel können den Freiheitsgrad der Relativbewegung der Gehäuseteile begrenzen.For example, According to one embodiment, a housing part on first guide means, which cooperate with second guide means of at least one other housing part, to guide the housing part relative to the other housing part on a movement path. The cooperating guide means form a guide device. By means of the guide means, one of the housing parts can be movably guided on a movement path relative to another housing part. For example, a housing part can be guided relative to another housing part on a movement path in its seat. For example, the second housing part may be movable relative to the first housing part between one of the closed position and at least the open position by means of the guide means. A third housing part, which forms an arm, is e.g. guided by the guide means on the first or the second housing part and in this way movable into a seat. The guide means of a housing part may e.g. be formed on opposite longitudinal sides of the housing part and cooperate with guide means of another housing part, which are complementary. The guide means may e.g. be formed by at least one web, which is formed on a housing part, wherein the web is slidable in a groove which is formed on the other housing part. The guide means can limit the degree of freedom of the relative movement of the housing parts.
Gemäß einer Ausgestaltung der Erfindung weist eines der Gehäuseteile erste Anschlagmittel auf, die mit Anschlagmitteln eines anderen Gehäuseteils zusammenwirken, um die Bewegung des Gehäuseteils relativ zu dem anderen Gehäuseteil wenigstens in eine Bewegungsrichtung zu begrenzen. Z.B. sind zwei Gehäuseteile mittels einer Führungsvorrichtung auf einer Bewegungsbahn relativbeweglich zueinander geführt. Mittels der Anschlagmittel kann dann in einer bestimmten Relativ-Position eine Bewegung in wenigstens eine Richtung verhinderbar sein. Zusätzlich kann z.B. eine Relativbewegung der Gehäuseteile in eine zweite Richtung mittels der Verriegelungsvorrichtung verhindert sein, wenn sich diese in der Riegelposition befindet.According to one embodiment of the invention, one of the housing parts on first stop means which cooperate with stop means of another housing part to the movement of the housing part relative to the other housing part at least in one Limit movement direction. For example, two housing parts are guided relative to each other by means of a guide device on a movement path relative to each other. By means of the stop means, a movement in at least one direction can then be prevented in a certain relative position. In addition, for example, a relative movement of the housing parts in a second direction can be prevented by means of the locking device when it is in the locking position.
Z.B. wird die Bewegung des zweiten Gehäuseteils relativ zu dem ersten Gehäuseteil in der geschlossenen Position in eine erste Richtung von der Riegelfläche des Arms verhind ert, wenn sich der Arm in der Riegelposition befindet. Z.B. wird die Bewegung des zweiten Gehäuseteils relativ zu dem ersten Gehäuseteil in der geschlossenen Position in einer zweiten Richtung von zusammenwirkenden Anschlägen der Gehäuseteile verhindert. Durch eine Bewegung kann der Arm in die Löseposition bewegt werden, wodurch die Riegelfläche aus der Bewegungsbahn der Haltefläche bewegt wird. Das zweite Gehäuseteil kann dann in die erste Richtung bewegt werden.For example, the movement of the second housing part relative to the first housing part in the closed position is prevented in a first direction from the locking surface of the arm when the arm is in the locking position. For example, the movement of the second housing part relative to the first housing part in the closed position in a second direction is prevented by cooperating stops of the housing parts. By a movement of the arm can be moved to the release position, whereby the locking surface is moved out of the movement path of the support surface. The second housing part can then be moved in the first direction.
Z.B. bilden die ersten Führungsmittel und die zweiten Führungsmittel eine Führungskulisse. Die Führungskulisse bildet z.B. eine Führungsbahn, auf welcher sich ein Gehäuseteil relativ zu dem anderen Gehäuseteil lediglich auf der Kulissenbahn bewegen kann.For example, the first guide means and the second guide means form a guide link. The guide slot forms e.g. a guideway on which a housing part can move relative to the other housing part only on the link path.
Gemäß einer Ausführungsform bildet das zweite Gehäuseteil oder das dritte Gehäuseteil mit dem ersten Gehäuseteil eine Führungskulisse. Z.B. ist das zweite Gehäuseteil oder das dritte Gehäuseteil mittels der Führungskulisse in einen Sitz verlagerbar.According to one embodiment, the second housing part or the third housing part forms a guide slot with the first housing part. For example, the second housing part or the third housing part is displaceable by means of the guide slot in a seat.
Der Sitz ist z.B. durch zusammenwirkende Anschlagmittel der aneinander geführten Gehäuseteile definiert.
und ist mittels der Führungskulisse durch eine geführte Bewegung in einen SitzThe seat is defined for example by cooperating stop means of the mutually guided housing parts.
and is by means of the guide slot by a guided movement in a seat
Weitere Vorteile der Erfindung ergeben sich anhand eines in den Figuren dargestellten Ausführungsbeispiels. Es zeigen:
-
Fig. 1 eine schematische perspektivische Darstellung des Messers, wobei sich ein zweites Gehäuseteil in der geschlossenen Position befindet, -
Fig. 2 eine schematische perspektivische rückwärtige Darstellung des Messers gemäßFig. 1 , -
Fig. 3 eine schematische Seitenansicht des Messers gemäßFig. 1 , -
Fig. 4 eine schematische Schnittdarstellung gemäß Schnittlinie IV - IV inFig. 3 , -
Fig. 5 eine schematische Schnittdarstellung gemäß Schnittlinie V - V inFig. 3 , -
Fig. 6 eine schematische perspektivische Darstellung des Messers, wobei sich das zweite Gehäuseteil in einer Position zwischen der geschlossenen und der offenen Position befindet, -
Fig. 7 eine schematische perspektivische rückwärtige Darstellung des Messers gemäßFig. 6 , -
Fig. 8 eine schematische Seitenansicht des Messers gemäßFig. 6 , -
Fig. 9 eine schematische Schnittdarstellung gemäß Schnittlinie IX - IX inFig. 8 , -
Fig. 10 eine schematische Schnittdarstellung gemäß Schnittlinie X - X inFig. 8 , -
Fig. 11 eine schematische perspektivische Explosionsdarstellung des ersten Gehäuseteils und eines dritten Gehäuseteils, -
Fig. 12 eine schematische perspektivische rückwärtige Explosionsdarstellung der Gehäuseteile gemäßFig. 11 , -
Fig. 13 eine schematische Seitenansicht der Gehäuseteile gemäßFig. 11 , -
Fig. 14 eine schematische Schnittdarstellung gemäß Schnittlinie XIV - XIV inFig. 13 , -
Fig. 15 eine schematische Schnittdarstellung gemäß Schnittlinie XV - XV inFig. 13 , -
Fig. 16 eine schematische perspektivische Ansicht der Gehäuseteile gemäßFig. 11 im montierten Zustand, -
Fig. 17 in Anlehnung anFig. 16 eine schematische rückwärtige perspektivische Ansicht, -
Fig. 18 in Anlehnung anFig. 16 eine schematische Seitenansicht, -
Fig. 19 eine schematische Schnittdarstellung gemäß Schnittlinie XIX - XIX inFig. 18 , -
Fig. 20 eine schematische Schnittdarstellung gemäß Schnittlinie XX - XX inFig. 18 , -
Fig. 21 eine schematische Seitenansicht, wobei das zweite und das dritte Gehäuseteil an dem ersten Gehäuseteil montiert sind und wobei der Klingenträger nicht dargestellt ist, -
Fig. 22 eine schematische Schnittdarstellung gemäß Schnittlinie XXII - XXII inFig. 21 , -
Fig. 23 eine schematische Schnittdarstellung gemäß Schnittlinie XXIII - XXIII inFig. 21 .
-
Fig. 1 a schematic perspective view of the knife, wherein a second housing part is in the closed position, -
Fig. 2 a schematic perspective rear view of the knife according toFig. 1 . -
Fig. 3 a schematic side view of the knife according toFig. 1 . -
Fig. 4 a schematic sectional view along section line IV - IV inFig. 3 . -
Fig. 5 a schematic sectional view along section line V - V inFig. 3 . -
Fig. 6 a schematic perspective view of the knife, wherein the second housing part is in a position between the closed and the open position, -
Fig. 7 a schematic perspective rear view of the knife according toFig. 6 . -
Fig. 8 a schematic side view of the knife according toFig. 6 . -
Fig. 9 a schematic sectional view along section line IX - IX inFig. 8 . -
Fig. 10 a schematic sectional view along section line X - X inFig. 8 . -
Fig. 11 a schematic perspective exploded view of the first housing part and a third housing part, -
Fig. 12 a schematic perspective rear exploded view of the housing parts according toFig. 11 . -
Fig. 13 a schematic side view of the housing parts according toFig. 11 . -
Fig. 14 a schematic sectional view along section line XIV - XIV inFig. 13 . -
Fig. 15 a schematic sectional view along section line XV - XV inFig. 13 . -
Fig. 16 a schematic perspective view of the housing parts according toFig. 11 in the assembled state, -
Fig. 17 based onFig. 16 a schematic rear perspective view, -
Fig. 18 based onFig. 16 a schematic side view, -
Fig. 19 a schematic sectional view along section line XIX - XIX inFig. 18 . -
Fig. 20 a schematic sectional view along section line XX - XX inFig. 18 . -
Fig. 21 a schematic side view, wherein the second and the third housing part are mounted on the first housing part and wherein the blade carrier is not shown, -
Fig. 22 a schematic sectional view according to section line XXII - XXII inFig. 21 . -
Fig. 23 a schematic sectional view according to section line XXIII - XXIII inFig. 21 ,
Das erfindungsgemäße Messer insgesamt wird in den Fig. mit dem Bezugszeichen 10 bezeichnet. Gleiche Bezugszeichen in den unterschiedlichen Fig. bezeichnen gleiche Teile, auch wenn kleine Buchstaben hinzugefügt oder weggelassen sind.The knife according to the invention as a whole is designated by the
Das Messer 10 weist ein Gehäuse 11 auf, umfassend ein erstes Gehäuseteil 12, ein zweites Gehäuseteil 13 sowie ein drittes Gehäuseteil 54. Das Gehäuseteil 13 ist relativ zu dem Gehäuseteil 12 zwischen einer geschlossenen Position und einer offenen Position bewegbar. In der offenen Position ist ein Zugriff auf einen Innenraum I des Gehäuses 11 und somit ein Klingenwechsel möglich. In den
Das Messer 10 umfasst eine Führungsvorrichtung, mit welcher das Gehäuseteil 13 an dem Gehäuseteil 12 geführt ist. In
Die Verriegelungsvorrichtung V umfasst außer der Betätigungstaste 14 einen elastisch verformbaren Verriegelungsarm 28 (siehe
Die Betätigungstaste 14 ist im vorliegenden Ausführungsbeispiel von einem Bereich der Gehäusewand des zweiten Gehäuseteils 13 gebildet. Die Betätigungstaste 14 ist aber lediglich an einem Endbereich 41 an dem zweiten Gehäuseteil 13 befestigt, während ein davon abgewandter Endbereich ein freies Ende 33 bildet, welches durch einen Spalt 52 von anderen Wandbereichen des Gehäuseteils 13 getrennt ist. Wenn das freie Ende 33 der Betätigungstaste 14 in Richtung z1 bewegt wird, drückt ein an dem freien Ende 33 ausgebildeter Betätigungssteg 34 auf eine obere Außenfläche 35 des Endbereichs 29 und bewegt den Verriegelungsarm 28, insbesondere den Endbereich 29, in Richtung z1 aus der Bewegungsbahn der Haltefläche 31 in die Löseposition, die durch eine gestrichelte Linie in
Das Messer 10 umfasst außerdem einen Klingenträger 15, in welchem eine Klinge 16 gehalten ist. Der Klingenträger 15 ist zwischen einer in
In
Das Halteteil 18 ist relativ zu dem Grundteil 17 um eine Schwenkachse a zwischen der Halteposition und einer Wechselposition schwenkbar. In der Wechselposition ist die Klinge aus dem Klingensitz entnehmbar und z.B. gegen eine neue Klinge austauschbar. Die Schwenkachse a ist von einer an dem Grundteil 17 ausgebildeten Achsstruktur 19 gebildet. An dem Halteteil 18 ist eine Lagerstruktur 20 ausgebildet, welche die Achsstruktur 19 teilweise umgreift. Die Achsstruktur 19 und die Lagerstruktur 20 bilden ein Schwenkgelenk G. Das Halteteil 18 bildet einen zweiarmigen Hebel, wobei ein erster Hebelarm von einem Endbereich 23 und ein zweiter Hebelarm von einem Endbereich 40 gebildet ist.The holding
An dem dritten Gehäuseteil 54 des Gehäuses 11 sind eine erste Widerlagerwand 21 sowie eine zweite Widerlagerwand 22 ausgebildet. Die Widerlagerwände 21 und 22 ragen in einen Innenraum 65 des Gehäuses 11 hinein und wirken mit dem Endbereich 23 des Halteteils 18 zusammen. Insbesondere wirken eine Widerlagerfläche 24 der Widerlagerwand 21 mit einer Oberfläche 25 des Endbereichs 23 und eine Außenfläche 26 der Widerlagerwand 22 mit einer Innenfläche einer Aussparung 27 des Endbereichs 23 zusammen, wie weiter unten genauer erläutert wird.On the
An einer nicht dargestellten Befestigungsstruktur des Grundteils 17 und einer Befestigungsstruktur 53 des Gehäuseteils 12 ist eine ebenfalls nicht dargestellte Feder befestigt, die das Grundteil 17 in Richtung x1 belastet und dabei entgegen der Darstellung in den Zeichnungen die Oberfläche 25 des Endbereichs 23 gegen die Widerlagerfläche 24 der ersten Widerlagerwand 21 drückt. Die Widerlagerfläche 24 ist als Schrägfläche ausgebildet, d.h. sie bildet einen Winkel zu den Bewegungsrichtungen x1, x2. Auf diese Weise wird von der Widerlagerfläche 24 eine Kraft F1 in Richtung z1 auf den Endbereich 23 ausgeübt, die ein Moment um die Schwenkachse a in Richtung u1 verursacht. Ein vorderer Bereich 42 des Gehäuseteils 13 befindet sich aber gemäß
Auch in einer in den
Sobald das Gehäuseteil 13 soweit in Richtung x1 bewegt ist, dass sich der vordere Bereich 42 nicht mehr in der Bewegungsbahn des Endbereichs 40 befindet (offene Position), kann das Halteteil 18 in Richtung u1 um die Schwenkachse a in die Wechselposition schwenken, die nicht dargestellt ist. Die Klinge 16 ist nun zugänglich und kann aus dem Klingensitz entnommen und gegen eine neue Klinge ausgetauscht werden.Once the
Wird in der Wechselposition des Halteteils 18 der Klingenträger 15 in Richtung x2 bewegt, so gerät die Innenfläche der Aussparung 27 mit der Außenfläche 26 der Widerlagerwand 22 in Kontakt. Die Widerlagerwand 22 verhindert auf diese Weise, dass der Klingenträger 15 während des Klingenwechsels ungewollt in Richtung x2 bewegt wird und der Benutzer sich verletzt.If, in the change position of the holding
Um das Halteteil 18 aus der Wechselposition in die Halteposition zu schwenken, wird das Gehäuseteil 13 aus der offenen Position in Richtung x2 verschoben. Von dem vorderen Bereich 42 wird eine Kraft auf eine Oberfläche 43 des Hebelarms 40 in Richtung z1 ausgeübt. Die Kraft in Richtung z1 hat ein Moment zur Folge, welches der Schwenkrichtung u1 entgegen gerichtet ist, so dass das Halteteil 18 in entgegen gesetzter Richtung zu u1 schwenkt. Wenn sich das Gehäuseteil 13 wieder gemäß der
Um den Klingenträger 15 aus einer in den
In den
Nachfolgend wird die Montage des Messers beschrieben:
Die Führungsstege 55 des dritten Gehäuseteils 54 werden gemäß derFig. 11 inbis 20die Führungsnuten 56 des ersten Gehäuseteils 12 eingeführt unddas Gehäuseteil 54 wird relativ zudem Gehäuseteil 12 in Richtung x2 verschoben, bis die Anschlagschulter 57 ander Anschlagfläche 58 anschlägt und der Rastvorsprung 59mit der Rastaussparung 60 verrastet ist.Das Gehäuseteil 54 ist dann unbewegbar festmit dem Gehäuseteil 12 verbunden.
- The
guide webs 55 of thethird housing part 54 are according to theFig. 11 to 20 inserted into theguide grooves 56 of thefirst housing part 12 and thehousing part 54 is displaced relative to thehousing part 12 in the direction x2 until thestop shoulder 57 abuts against thestop surface 58 and the latchingprojection 59 is latched to the latchingrecess 60. Thehousing part 54 is then immovably fixedly connected to thehousing part 12.
Daraufhin wird der Klingenträger 15 in der Grundposition in dem Gehäuseteil 12 angeordnet. Ein Endbereich der nicht dargestellten Feder wird an dem Klingenträger 15 und ein anderer Endbereich an der Befestigungsstruktur 53 befestigt. Anschließend wird das zweite Gehäuseteil 13 mit seinen Führungsstegen 38 in die Führungsnuten 39 eingesetzt und in Richtung x2 verschoben. Dabei passiert der Anschlag 32 den Verriegelungsarm 28 und bewegt diesen aus der Bewegungsbahn des Anschlags 32. Dies ist möglich, weil das freie Ende 29 des Verriegelungsarms 28 mit einer Schrägfläche versehen ist.Then, the
Sobald die Stopperfläche 64 des zweiten Gehäuseteils 13 an der Anschlagfläche 58 des ersten Gehäuseteils 12 anliegt, befinden sich die Gehäuseteile in der geschlossenen Position. Die Haltefläche 31 verrastet in der geschlossenen hinter der Riegelfläche 30 des Verriegelungsarms 28. Die Verriegelungsvorrichtung V befindet sich in der Riegelposition. Eine Bewegung des Gehäuseteils 13 relativ zu dem Gehäuseteil 12 in die Richtungen x1 und x2 wird in dieser Position verhindert.As soon as the
Claims (15)
Priority Applications (3)
| Application Number | Priority Date | Filing Date | Title |
|---|---|---|---|
| CN201380062386.2A CN104812537B (en) | 2012-10-02 | 2013-10-02 | Knife |
| US14/432,915 US11161260B2 (en) | 2012-10-02 | 2013-10-02 | Knife |
| PCT/DE2013/000559 WO2014053114A1 (en) | 2012-10-02 | 2013-10-02 | Knife |
Applications Claiming Priority (1)
| Application Number | Priority Date | Filing Date | Title |
|---|---|---|---|
| DE102012019107.3A DE102012019107B4 (en) | 2012-10-02 | 2012-10-02 | knife |
Publications (2)
| Publication Number | Publication Date |
|---|---|
| EP2716420A1 true EP2716420A1 (en) | 2014-04-09 |
| EP2716420B1 EP2716420B1 (en) | 2019-02-27 |
Family
ID=47748385
Family Applications (2)
| Application Number | Title | Priority Date | Filing Date |
|---|---|---|---|
| EP13000781.8A Active EP2716420B1 (en) | 2012-10-02 | 2013-02-15 | Knife |
| EP13004720.2A Active EP2716421B1 (en) | 2012-10-02 | 2013-09-30 | Knife |
Family Applications After (1)
| Application Number | Title | Priority Date | Filing Date |
|---|---|---|---|
| EP13004720.2A Active EP2716421B1 (en) | 2012-10-02 | 2013-09-30 | Knife |
Country Status (7)
| Country | Link |
|---|---|
| US (2) | US11161260B2 (en) |
| EP (2) | EP2716420B1 (en) |
| CN (2) | CN104768717B (en) |
| DE (1) | DE102012019107B4 (en) |
| ES (2) | ES2726536T3 (en) |
| PL (1) | PL2716421T3 (en) |
| WO (2) | WO2014053113A1 (en) |
Cited By (1)
| Publication number | Priority date | Publication date | Assignee | Title |
|---|---|---|---|---|
| EP3470185A1 (en) * | 2017-10-16 | 2019-04-17 | Martor KG | Knife |
Families Citing this family (13)
| Publication number | Priority date | Publication date | Assignee | Title |
|---|---|---|---|---|
| DE102012019107B4 (en) * | 2012-10-02 | 2014-12-11 | Martor Kg | knife |
| WO2016085982A1 (en) * | 2014-11-24 | 2016-06-02 | Ellegala Dilantha B | Magnetic locking utility knife |
| DE102015005768A1 (en) * | 2015-05-08 | 2016-11-10 | Martor Kg | knife |
| DE102016008724A1 (en) * | 2016-07-21 | 2018-01-25 | Martor Kg | knife |
| CN106272568B (en) * | 2016-10-17 | 2018-03-20 | 顺德工业(江苏)有限公司 | A kind of cutter |
| DE102016012990A1 (en) * | 2016-10-31 | 2018-05-03 | Martor Kg | knife |
| DE202017106014U1 (en) | 2017-10-04 | 2019-01-10 | Peter Schekalla | knife |
| US11376751B2 (en) | 2019-02-23 | 2022-07-05 | Martor Kg | Blade assembly and knife therefor |
| CN110228084B (en) * | 2019-04-23 | 2021-10-15 | 广州宝瑰贸易有限公司 | Trigger cutter |
| CN112171722B (en) * | 2020-09-04 | 2025-03-14 | 广州宝瑰贸易有限公司 | Push-type safety knife |
| USD1054825S1 (en) * | 2023-03-01 | 2024-12-24 | Ningbo Xingwei Cutting-Tools Technology Co., Ltd. | Utility knife |
| US20250114955A1 (en) * | 2023-10-04 | 2025-04-10 | Kai U.S.A., Ltd. | Slider cartridge for out the front knife |
| US20250178221A1 (en) * | 2023-12-05 | 2025-06-05 | Ming Yang | Handle Holder of Blade Tool |
Citations (5)
| Publication number | Priority date | Publication date | Assignee | Title |
|---|---|---|---|---|
| US3593417A (en) * | 1969-08-13 | 1971-07-20 | Stanley Works | Hand tool having a holder for spare blades and the like |
| US4604805A (en) * | 1983-12-14 | 1986-08-12 | John F. Cuscovitch | Holder for detachable blades |
| EP2153949A2 (en) * | 2008-08-15 | 2010-02-17 | The Stanley Works | Utility knife |
| DE102009032362B3 (en) | 2009-07-08 | 2010-06-17 | Martor Kg | Knife, has knife housing including two housing parts, where one of housing parts is designed as part of drive device by which retaining parts are moved between blade rest position and blade operating position |
| WO2012065586A1 (en) * | 2010-11-18 | 2012-05-24 | Martor Kg | Knife |
Family Cites Families (36)
| Publication number | Priority date | Publication date | Assignee | Title |
|---|---|---|---|---|
| US2662284A (en) * | 1949-04-20 | 1953-12-15 | Russell Hicks | Knife construction having a sliding blade |
| DE2736395C2 (en) * | 1977-08-12 | 1979-07-12 | Martor-Argentax E.H. Beermann Kg, 5650 Solingen | Knife with a longitudinally displaceable, tension spring-loaded knife blade holder |
| GB1585641A (en) * | 1977-09-08 | 1981-03-11 | Stanley Tools Ltd | Replaceable blade knife |
| DE3736968A1 (en) * | 1987-10-31 | 1989-05-18 | Beermann Kg Martor Argentax | SECURITY CARTON KNIFE |
| TW338358U (en) * | 1998-02-23 | 1998-08-11 | Chin Cheng Huang Co Ltd | A manual works knife |
| DE19925123A1 (en) * | 1999-06-01 | 2000-12-07 | Lutz Kolbert | Knife shaft for changeable blades, in which shaft body is one-piece grip part and turning bearing for cover is close to receiver for spare blades |
| US6192589B1 (en) * | 1999-06-25 | 2001-02-27 | The Stanley Works | Utility knife |
| US6678958B1 (en) * | 2002-05-01 | 2004-01-20 | Awi Acquisition Company | Utility knife with blade storage |
| CN2685033Y (en) * | 2004-03-19 | 2005-03-16 | 仇建平 | Lock catching practical knife holder |
| DE102004063045B3 (en) * | 2004-12-22 | 2006-06-08 | Martor Kg | knife |
| DE102005049411B3 (en) * | 2005-10-13 | 2007-03-01 | Martor Kg | Knife, has operation lug, held outside of blade bolt at base plate, where inner surfaces hold bolt in its closed position close to plate and release bolt for opening bolt and taking out knife blade |
| DE102005057213B3 (en) * | 2005-11-29 | 2007-03-22 | Martor Kg | Cutter for individual changeable steel strip blades has front end of housing round blade gap projecting and at obtuse angle to central longitudinal axis |
| WO2007131039A1 (en) * | 2006-05-02 | 2007-11-15 | Pool Dan B | Utility knife with cam clamping means |
| US7987602B2 (en) * | 2007-10-14 | 2011-08-02 | Pacific Handy Cutter, Inc. | Safety cutter apparatus |
| US9676106B2 (en) * | 2008-04-29 | 2017-06-13 | Pacific Handy Cutter, Inc. | Safety cutter with guard-actuated blade deployment |
| US8069571B2 (en) * | 2008-04-29 | 2011-12-06 | Pacific Handy Cutter, Inc. | Spring back safety and film cutter |
| CN201271892Y (en) * | 2008-05-04 | 2009-07-15 | 邬岳伟 | Art designing knife with automatic shrinkage blade |
| DE102010019571B4 (en) * | 2010-05-05 | 2020-05-20 | Martor Kg | knife |
| DE202010006500U1 (en) * | 2010-05-05 | 2011-10-05 | Martor Kg | knife |
| US20110283543A1 (en) * | 2010-05-21 | 2011-11-24 | Yuewei Wu | Utility Knife With Step Extending Blade |
| DE102010034395A1 (en) * | 2010-08-13 | 2012-02-16 | Martor Kg | cutting tool |
| US20120073142A1 (en) * | 2010-09-24 | 2012-03-29 | Zeng min-zheng | Cutting Apparatus |
| DE102011007234B3 (en) * | 2011-04-12 | 2012-09-20 | Martor Kg | Safety Knife |
| TWI466763B (en) * | 2012-08-21 | 2015-01-01 | Hacksaw & Knife Manufactory Co Ltd | The blade automatically retracts the utility knife |
| DE102012019107B4 (en) * | 2012-10-02 | 2014-12-11 | Martor Kg | knife |
| DE202012103935U1 (en) * | 2012-10-15 | 2012-10-29 | Birgit Julius Gmbh | Knives, in particular safety knives |
| US10814505B2 (en) * | 2014-05-06 | 2020-10-27 | Martor Kg | Knife with automatic blade retraction |
| DE102014208473B4 (en) * | 2014-05-06 | 2019-06-19 | Martor Kg | Knife with automatic blade reset |
| USD821174S1 (en) * | 2014-05-26 | 2018-06-26 | Martor Kg | Safety cutter |
| US20160288343A1 (en) * | 2015-04-06 | 2016-10-06 | Hacksaw & Knife Manufactory Co., Ltd. | Box cutter structure |
| DE102015008407B4 (en) * | 2015-07-02 | 2018-03-22 | Martor Kg | knife |
| DE102016008724A1 (en) * | 2016-07-21 | 2018-01-25 | Martor Kg | knife |
| US10434668B1 (en) * | 2017-05-25 | 2019-10-08 | Scott Kollias | Multifunctional cutting tool |
| WO2018218246A1 (en) * | 2017-05-26 | 2018-11-29 | Hyde Tools, Inc. | Self-retracting knife with a plurality of extended cutting positions |
| DE102017009630B4 (en) * | 2017-10-16 | 2019-08-08 | Martor Kg | knife |
| USD864692S1 (en) * | 2017-10-18 | 2019-10-29 | Martor Kg | Utility knife |
-
2012
- 2012-10-02 DE DE102012019107.3A patent/DE102012019107B4/en not_active Expired - Fee Related
-
2013
- 2013-02-15 EP EP13000781.8A patent/EP2716420B1/en active Active
- 2013-02-15 ES ES13000781T patent/ES2726536T3/en active Active
- 2013-09-30 PL PL13004720.2T patent/PL2716421T3/en unknown
- 2013-09-30 EP EP13004720.2A patent/EP2716421B1/en active Active
- 2013-09-30 ES ES13004720.2T patent/ES2573306T3/en active Active
- 2013-10-02 US US14/432,915 patent/US11161260B2/en active Active
- 2013-10-02 WO PCT/DE2013/000558 patent/WO2014053113A1/en not_active Ceased
- 2013-10-02 CN CN201380051669.7A patent/CN104768717B/en active Active
- 2013-10-02 CN CN201380062386.2A patent/CN104812537B/en active Active
- 2013-10-02 US US14/423,603 patent/US9770833B2/en active Active
- 2013-10-02 WO PCT/DE2013/000559 patent/WO2014053114A1/en not_active Ceased
Patent Citations (5)
| Publication number | Priority date | Publication date | Assignee | Title |
|---|---|---|---|---|
| US3593417A (en) * | 1969-08-13 | 1971-07-20 | Stanley Works | Hand tool having a holder for spare blades and the like |
| US4604805A (en) * | 1983-12-14 | 1986-08-12 | John F. Cuscovitch | Holder for detachable blades |
| EP2153949A2 (en) * | 2008-08-15 | 2010-02-17 | The Stanley Works | Utility knife |
| DE102009032362B3 (en) | 2009-07-08 | 2010-06-17 | Martor Kg | Knife, has knife housing including two housing parts, where one of housing parts is designed as part of drive device by which retaining parts are moved between blade rest position and blade operating position |
| WO2012065586A1 (en) * | 2010-11-18 | 2012-05-24 | Martor Kg | Knife |
Cited By (1)
| Publication number | Priority date | Publication date | Assignee | Title |
|---|---|---|---|---|
| EP3470185A1 (en) * | 2017-10-16 | 2019-04-17 | Martor KG | Knife |
Also Published As
| Publication number | Publication date |
|---|---|
| CN104768717B (en) | 2016-10-12 |
| ES2726536T3 (en) | 2019-10-07 |
| US11161260B2 (en) | 2021-11-02 |
| DE102012019107A1 (en) | 2014-06-05 |
| US20150258695A1 (en) | 2015-09-17 |
| EP2716421B1 (en) | 2016-04-06 |
| WO2014053114A1 (en) | 2014-04-10 |
| EP2716421A1 (en) | 2014-04-09 |
| CN104812537B (en) | 2018-04-24 |
| CN104768717A (en) | 2015-07-08 |
| PL2716421T3 (en) | 2016-10-31 |
| DE102012019107B4 (en) | 2014-12-11 |
| ES2573306T3 (en) | 2016-06-07 |
| CN104812537A (en) | 2015-07-29 |
| US20150328782A1 (en) | 2015-11-19 |
| US9770833B2 (en) | 2017-09-26 |
| WO2014053113A1 (en) | 2014-04-10 |
| EP2716420B1 (en) | 2019-02-27 |
Similar Documents
| Publication | Publication Date | Title |
|---|---|---|
| EP2716420B1 (en) | Knife | |
| EP3272477B1 (en) | Knife | |
| EP2207649B1 (en) | Knife | |
| DE102012001491B4 (en) | knife | |
| EP3030385B1 (en) | Knife | |
| DE102007052060A1 (en) | knife | |
| EP3041646B1 (en) | Knife | |
| EP3470185B1 (en) | Knife | |
| EP4289574B1 (en) | Knife | |
| EP3698928B1 (en) | Knife with blade device | |
| EP3827938B1 (en) | Blade | |
| DE19931953A1 (en) | Mounting for end of slat on longitudinal strut in frame comprises base mounting attached to longitudinal strut, slide attached to this and to support for slat, and locking device including movable clip which fits free side of mounting | |
| EP1997990A1 (en) | Check device for windows, doors and the like | |
| DE102008007090B3 (en) | Craft knife designed for safe operation, has blade carrier swinging about axis fixed relative to casing, with spring bias for safe retraction after cutting | |
| EP2566668B1 (en) | Knife | |
| DE202010006500U1 (en) | knife | |
| DE102010051575B4 (en) | knife | |
| DE102010064554B3 (en) | knife | |
| EP4545253A1 (en) | Supporting device for a tool and device comprising a supporting device and a tool | |
| EP4491357A1 (en) | Knife | |
| DE102024111545A1 (en) | Carrying device for a tool and device comprising a carrying device and a tool | |
| DE102023129092A1 (en) | Fastening device for a holding device for a tool and fastening device with carrying device with carrying part | |
| WO2014032645A1 (en) | Cutting device |
Legal Events
| Date | Code | Title | Description |
|---|---|---|---|
| PUAI | Public reference made under article 153(3) epc to a published international application that has entered the european phase |
Free format text: ORIGINAL CODE: 0009012 |
|
| AK | Designated contracting states |
Kind code of ref document: A1 Designated state(s): AL AT BE BG CH CY CZ DE DK EE ES FI FR GB GR HR HU IE IS IT LI LT LU LV MC MK MT NL NO PL PT RO RS SE SI SK SM TR |
|
| AX | Request for extension of the european patent |
Extension state: BA ME |
|
| 17P | Request for examination filed |
Effective date: 20141009 |
|
| RBV | Designated contracting states (corrected) |
Designated state(s): AL AT BE BG CH CY CZ DE DK EE ES FI FR GB GR HR HU IE IS IT LI LT LU LV MC MK MT NL NO PL PT RO RS SE SI SK SM TR |
|
| 17Q | First examination report despatched |
Effective date: 20151028 |
|
| STAA | Information on the status of an ep patent application or granted ep patent |
Free format text: STATUS: EXAMINATION IS IN PROGRESS |
|
| GRAP | Despatch of communication of intention to grant a patent |
Free format text: ORIGINAL CODE: EPIDOSNIGR1 |
|
| STAA | Information on the status of an ep patent application or granted ep patent |
Free format text: STATUS: GRANT OF PATENT IS INTENDED |
|
| INTG | Intention to grant announced |
Effective date: 20181109 |
|
| GRAS | Grant fee paid |
Free format text: ORIGINAL CODE: EPIDOSNIGR3 |
|
| GRAA | (expected) grant |
Free format text: ORIGINAL CODE: 0009210 |
|
| STAA | Information on the status of an ep patent application or granted ep patent |
Free format text: STATUS: THE PATENT HAS BEEN GRANTED |
|
| AK | Designated contracting states |
Kind code of ref document: B1 Designated state(s): AL AT BE BG CH CY CZ DE DK EE ES FI FR GB GR HR HU IE IS IT LI LT LU LV MC MK MT NL NO PL PT RO RS SE SI SK SM TR |
|
| REG | Reference to a national code |
Ref country code: GB Ref legal event code: FG4D Free format text: NOT ENGLISH |
|
| REG | Reference to a national code |
Ref country code: CH Ref legal event code: EP Ref country code: CH Ref legal event code: NV Representative=s name: E. BLUM AND CO. AG PATENT- UND MARKENANWAELTE , CH |
|
| REG | Reference to a national code |
Ref country code: AT Ref legal event code: REF Ref document number: 1100663 Country of ref document: AT Kind code of ref document: T Effective date: 20190315 |
|
| REG | Reference to a national code |
Ref country code: IE Ref legal event code: FG4D Free format text: LANGUAGE OF EP DOCUMENT: GERMAN |
|
| REG | Reference to a national code |
Ref country code: DE Ref legal event code: R096 Ref document number: 502013012255 Country of ref document: DE |
|
| REG | Reference to a national code |
Ref country code: NL Ref legal event code: FP |
|
| REG | Reference to a national code |
Ref country code: LT Ref legal event code: MG4D |
|
| PG25 | Lapsed in a contracting state [announced via postgrant information from national office to epo] |
Ref country code: LT Free format text: LAPSE BECAUSE OF FAILURE TO SUBMIT A TRANSLATION OF THE DESCRIPTION OR TO PAY THE FEE WITHIN THE PRESCRIBED TIME-LIMIT Effective date: 20190227 Ref country code: SE Free format text: LAPSE BECAUSE OF FAILURE TO SUBMIT A TRANSLATION OF THE DESCRIPTION OR TO PAY THE FEE WITHIN THE PRESCRIBED TIME-LIMIT Effective date: 20190227 Ref country code: NO Free format text: LAPSE BECAUSE OF FAILURE TO SUBMIT A TRANSLATION OF THE DESCRIPTION OR TO PAY THE FEE WITHIN THE PRESCRIBED TIME-LIMIT Effective date: 20190527 Ref country code: PT Free format text: LAPSE BECAUSE OF FAILURE TO SUBMIT A TRANSLATION OF THE DESCRIPTION OR TO PAY THE FEE WITHIN THE PRESCRIBED TIME-LIMIT Effective date: 20190627 Ref country code: FI Free format text: LAPSE BECAUSE OF FAILURE TO SUBMIT A TRANSLATION OF THE DESCRIPTION OR TO PAY THE FEE WITHIN THE PRESCRIBED TIME-LIMIT Effective date: 20190227 |
|
| PG25 | Lapsed in a contracting state [announced via postgrant information from national office to epo] |
Ref country code: HR Free format text: LAPSE BECAUSE OF FAILURE TO SUBMIT A TRANSLATION OF THE DESCRIPTION OR TO PAY THE FEE WITHIN THE PRESCRIBED TIME-LIMIT Effective date: 20190227 Ref country code: GR Free format text: LAPSE BECAUSE OF FAILURE TO SUBMIT A TRANSLATION OF THE DESCRIPTION OR TO PAY THE FEE WITHIN THE PRESCRIBED TIME-LIMIT Effective date: 20190528 Ref country code: IS Free format text: LAPSE BECAUSE OF FAILURE TO SUBMIT A TRANSLATION OF THE DESCRIPTION OR TO PAY THE FEE WITHIN THE PRESCRIBED TIME-LIMIT Effective date: 20190627 Ref country code: LV Free format text: LAPSE BECAUSE OF FAILURE TO SUBMIT A TRANSLATION OF THE DESCRIPTION OR TO PAY THE FEE WITHIN THE PRESCRIBED TIME-LIMIT Effective date: 20190227 Ref country code: BG Free format text: LAPSE BECAUSE OF FAILURE TO SUBMIT A TRANSLATION OF THE DESCRIPTION OR TO PAY THE FEE WITHIN THE PRESCRIBED TIME-LIMIT Effective date: 20190527 Ref country code: RS Free format text: LAPSE BECAUSE OF FAILURE TO SUBMIT A TRANSLATION OF THE DESCRIPTION OR TO PAY THE FEE WITHIN THE PRESCRIBED TIME-LIMIT Effective date: 20190227 |
|
| REG | Reference to a national code |
Ref country code: ES Ref legal event code: FG2A Ref document number: 2726536 Country of ref document: ES Kind code of ref document: T3 Effective date: 20191007 |
|
| PG25 | Lapsed in a contracting state [announced via postgrant information from national office to epo] |
Ref country code: SK Free format text: LAPSE BECAUSE OF FAILURE TO SUBMIT A TRANSLATION OF THE DESCRIPTION OR TO PAY THE FEE WITHIN THE PRESCRIBED TIME-LIMIT Effective date: 20190227 Ref country code: RO Free format text: LAPSE BECAUSE OF FAILURE TO SUBMIT A TRANSLATION OF THE DESCRIPTION OR TO PAY THE FEE WITHIN THE PRESCRIBED TIME-LIMIT Effective date: 20190227 Ref country code: CZ Free format text: LAPSE BECAUSE OF FAILURE TO SUBMIT A TRANSLATION OF THE DESCRIPTION OR TO PAY THE FEE WITHIN THE PRESCRIBED TIME-LIMIT Effective date: 20190227 Ref country code: AL Free format text: LAPSE BECAUSE OF FAILURE TO SUBMIT A TRANSLATION OF THE DESCRIPTION OR TO PAY THE FEE WITHIN THE PRESCRIBED TIME-LIMIT Effective date: 20190227 Ref country code: DK Free format text: LAPSE BECAUSE OF FAILURE TO SUBMIT A TRANSLATION OF THE DESCRIPTION OR TO PAY THE FEE WITHIN THE PRESCRIBED TIME-LIMIT Effective date: 20190227 Ref country code: IT Free format text: LAPSE BECAUSE OF FAILURE TO SUBMIT A TRANSLATION OF THE DESCRIPTION OR TO PAY THE FEE WITHIN THE PRESCRIBED TIME-LIMIT Effective date: 20190227 Ref country code: EE Free format text: LAPSE BECAUSE OF FAILURE TO SUBMIT A TRANSLATION OF THE DESCRIPTION OR TO PAY THE FEE WITHIN THE PRESCRIBED TIME-LIMIT Effective date: 20190227 |
|
| REG | Reference to a national code |
Ref country code: DE Ref legal event code: R097 Ref document number: 502013012255 Country of ref document: DE |
|
| PG25 | Lapsed in a contracting state [announced via postgrant information from national office to epo] |
Ref country code: PL Free format text: LAPSE BECAUSE OF FAILURE TO SUBMIT A TRANSLATION OF THE DESCRIPTION OR TO PAY THE FEE WITHIN THE PRESCRIBED TIME-LIMIT Effective date: 20190227 Ref country code: SM Free format text: LAPSE BECAUSE OF FAILURE TO SUBMIT A TRANSLATION OF THE DESCRIPTION OR TO PAY THE FEE WITHIN THE PRESCRIBED TIME-LIMIT Effective date: 20190227 |
|
| PLBE | No opposition filed within time limit |
Free format text: ORIGINAL CODE: 0009261 |
|
| STAA | Information on the status of an ep patent application or granted ep patent |
Free format text: STATUS: NO OPPOSITION FILED WITHIN TIME LIMIT |
|
| 26N | No opposition filed |
Effective date: 20191128 |
|
| PG25 | Lapsed in a contracting state [announced via postgrant information from national office to epo] |
Ref country code: SI Free format text: LAPSE BECAUSE OF FAILURE TO SUBMIT A TRANSLATION OF THE DESCRIPTION OR TO PAY THE FEE WITHIN THE PRESCRIBED TIME-LIMIT Effective date: 20190227 |
|
| PG25 | Lapsed in a contracting state [announced via postgrant information from national office to epo] |
Ref country code: TR Free format text: LAPSE BECAUSE OF FAILURE TO SUBMIT A TRANSLATION OF THE DESCRIPTION OR TO PAY THE FEE WITHIN THE PRESCRIBED TIME-LIMIT Effective date: 20190227 |
|
| PG25 | Lapsed in a contracting state [announced via postgrant information from national office to epo] |
Ref country code: MC Free format text: LAPSE BECAUSE OF FAILURE TO SUBMIT A TRANSLATION OF THE DESCRIPTION OR TO PAY THE FEE WITHIN THE PRESCRIBED TIME-LIMIT Effective date: 20190227 Ref country code: LU Free format text: LAPSE BECAUSE OF NON-PAYMENT OF DUE FEES Effective date: 20200215 |
|
| PG25 | Lapsed in a contracting state [announced via postgrant information from national office to epo] |
Ref country code: IE Free format text: LAPSE BECAUSE OF NON-PAYMENT OF DUE FEES Effective date: 20200215 |
|
| PG25 | Lapsed in a contracting state [announced via postgrant information from national office to epo] |
Ref country code: MT Free format text: LAPSE BECAUSE OF FAILURE TO SUBMIT A TRANSLATION OF THE DESCRIPTION OR TO PAY THE FEE WITHIN THE PRESCRIBED TIME-LIMIT Effective date: 20190227 Ref country code: CY Free format text: LAPSE BECAUSE OF FAILURE TO SUBMIT A TRANSLATION OF THE DESCRIPTION OR TO PAY THE FEE WITHIN THE PRESCRIBED TIME-LIMIT Effective date: 20190227 |
|
| PG25 | Lapsed in a contracting state [announced via postgrant information from national office to epo] |
Ref country code: MK Free format text: LAPSE BECAUSE OF FAILURE TO SUBMIT A TRANSLATION OF THE DESCRIPTION OR TO PAY THE FEE WITHIN THE PRESCRIBED TIME-LIMIT Effective date: 20190227 |
|
| PGFP | Annual fee paid to national office [announced via postgrant information from national office to epo] |
Ref country code: NL Payment date: 20250220 Year of fee payment: 13 |
|
| PGFP | Annual fee paid to national office [announced via postgrant information from national office to epo] |
Ref country code: DE Payment date: 20250122 Year of fee payment: 13 |
|
| PGFP | Annual fee paid to national office [announced via postgrant information from national office to epo] |
Ref country code: ES Payment date: 20250318 Year of fee payment: 13 |
|
| PGFP | Annual fee paid to national office [announced via postgrant information from national office to epo] |
Ref country code: AT Payment date: 20250217 Year of fee payment: 13 Ref country code: BE Payment date: 20250218 Year of fee payment: 13 Ref country code: CH Payment date: 20250301 Year of fee payment: 13 |
|
| PGFP | Annual fee paid to national office [announced via postgrant information from national office to epo] |
Ref country code: FR Payment date: 20250220 Year of fee payment: 13 |
|
| PGFP | Annual fee paid to national office [announced via postgrant information from national office to epo] |
Ref country code: GB Payment date: 20250220 Year of fee payment: 13 |


