EP2485007A3 - Heat exchanger with finned tubes - Google Patents
Heat exchanger with finned tubes Download PDFInfo
- Publication number
- EP2485007A3 EP2485007A3 EP12151556.3A EP12151556A EP2485007A3 EP 2485007 A3 EP2485007 A3 EP 2485007A3 EP 12151556 A EP12151556 A EP 12151556A EP 2485007 A3 EP2485007 A3 EP 2485007A3
- Authority
- EP
- European Patent Office
- Prior art keywords
- fluid
- flow path
- housing
- heat exchanger
- inlet
- Prior art date
- Legal status (The legal status is an assumption and is not a legal conclusion. Google has not performed a legal analysis and makes no representation as to the accuracy of the status listed.)
- Withdrawn
Links
- 239000012530 fluid Substances 0.000 abstract 7
Classifications
-
- F—MECHANICAL ENGINEERING; LIGHTING; HEATING; WEAPONS; BLASTING
- F28—HEAT EXCHANGE IN GENERAL
- F28D—HEAT-EXCHANGE APPARATUS, NOT PROVIDED FOR IN ANOTHER SUBCLASS, IN WHICH THE HEAT-EXCHANGE MEDIA DO NOT COME INTO DIRECT CONTACT
- F28D1/00—Heat-exchange apparatus having stationary conduit assemblies for one heat-exchange medium only, the media being in contact with different sides of the conduit wall, in which the other heat-exchange medium is a large body of fluid, e.g. domestic or motor car radiators
- F28D1/02—Heat-exchange apparatus having stationary conduit assemblies for one heat-exchange medium only, the media being in contact with different sides of the conduit wall, in which the other heat-exchange medium is a large body of fluid, e.g. domestic or motor car radiators with heat-exchange conduits immersed in the body of fluid
- F28D1/04—Heat-exchange apparatus having stationary conduit assemblies for one heat-exchange medium only, the media being in contact with different sides of the conduit wall, in which the other heat-exchange medium is a large body of fluid, e.g. domestic or motor car radiators with heat-exchange conduits immersed in the body of fluid with tubular conduits
- F28D1/053—Heat-exchange apparatus having stationary conduit assemblies for one heat-exchange medium only, the media being in contact with different sides of the conduit wall, in which the other heat-exchange medium is a large body of fluid, e.g. domestic or motor car radiators with heat-exchange conduits immersed in the body of fluid with tubular conduits the conduits being straight
- F28D1/05316—Assemblies of conduits connected to common headers, e.g. core type radiators
- F28D1/05341—Assemblies of conduits connected to common headers, e.g. core type radiators with multiple rows of conduits or with multi-channel conduits combined with a particular flow pattern, e.g. multi-row multi-stage radiators
-
- F—MECHANICAL ENGINEERING; LIGHTING; HEATING; WEAPONS; BLASTING
- F28—HEAT EXCHANGE IN GENERAL
- F28D—HEAT-EXCHANGE APPARATUS, NOT PROVIDED FOR IN ANOTHER SUBCLASS, IN WHICH THE HEAT-EXCHANGE MEDIA DO NOT COME INTO DIRECT CONTACT
- F28D1/00—Heat-exchange apparatus having stationary conduit assemblies for one heat-exchange medium only, the media being in contact with different sides of the conduit wall, in which the other heat-exchange medium is a large body of fluid, e.g. domestic or motor car radiators
- F28D1/02—Heat-exchange apparatus having stationary conduit assemblies for one heat-exchange medium only, the media being in contact with different sides of the conduit wall, in which the other heat-exchange medium is a large body of fluid, e.g. domestic or motor car radiators with heat-exchange conduits immersed in the body of fluid
- F28D1/04—Heat-exchange apparatus having stationary conduit assemblies for one heat-exchange medium only, the media being in contact with different sides of the conduit wall, in which the other heat-exchange medium is a large body of fluid, e.g. domestic or motor car radiators with heat-exchange conduits immersed in the body of fluid with tubular conduits
- F28D1/053—Heat-exchange apparatus having stationary conduit assemblies for one heat-exchange medium only, the media being in contact with different sides of the conduit wall, in which the other heat-exchange medium is a large body of fluid, e.g. domestic or motor car radiators with heat-exchange conduits immersed in the body of fluid with tubular conduits the conduits being straight
- F28D1/0535—Heat-exchange apparatus having stationary conduit assemblies for one heat-exchange medium only, the media being in contact with different sides of the conduit wall, in which the other heat-exchange medium is a large body of fluid, e.g. domestic or motor car radiators with heat-exchange conduits immersed in the body of fluid with tubular conduits the conduits being straight the conduits having a non-circular cross-section
- F28D1/05366—Assemblies of conduits connected to common headers, e.g. core type radiators
- F28D1/05391—Assemblies of conduits connected to common headers, e.g. core type radiators with multiple rows of conduits or with multi-channel conduits combined with a particular flow pattern, e.g. multi-row multi-stage radiators
-
- F—MECHANICAL ENGINEERING; LIGHTING; HEATING; WEAPONS; BLASTING
- F28—HEAT EXCHANGE IN GENERAL
- F28F—DETAILS OF HEAT-EXCHANGE AND HEAT-TRANSFER APPARATUS, OF GENERAL APPLICATION
- F28F1/00—Tubular elements; Assemblies of tubular elements
- F28F1/10—Tubular elements and assemblies thereof with means for increasing heat-transfer area, e.g. with fins, with projections, with recesses
- F28F1/12—Tubular elements and assemblies thereof with means for increasing heat-transfer area, e.g. with fins, with projections, with recesses the means being only outside the tubular element
- F28F1/24—Tubular elements and assemblies thereof with means for increasing heat-transfer area, e.g. with fins, with projections, with recesses the means being only outside the tubular element and extending transversely
- F28F1/32—Tubular elements and assemblies thereof with means for increasing heat-transfer area, e.g. with fins, with projections, with recesses the means being only outside the tubular element and extending transversely the means having portions engaging further tubular elements
Landscapes
- Engineering & Computer Science (AREA)
- Physics & Mathematics (AREA)
- Thermal Sciences (AREA)
- Mechanical Engineering (AREA)
- General Engineering & Computer Science (AREA)
- Geometry (AREA)
- Heat-Exchange Devices With Radiators And Conduit Assemblies (AREA)
Abstract
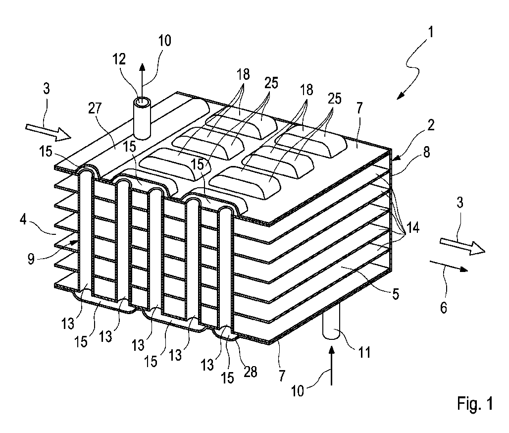
Die vorliegende Erfindung betrifft einen Rippenrohrwärmeübertrager (1), insbesondere für Fahrzeuganwendungen, mit einem Gehäuse (2), das einen ersten Strömungspfad (3) für ein erstes Fluid umschließt und das einen ersten Einlass (4) für das erste Fluid sowie einen ersten Auslass (5) für das erste Fluid aufweist, und mit einem Rohrsystem (9), das einen zweiten Strömungspfad (10) für ein zweites Fluid bildet, das einen zweiten Einlass (11) für das zweite Fluid sowie einen zweiten Auslass (12) für das zweite Fluid aufweist und das im Gehäuse (2) wärmeübertragend mit dem ersten Strömungspfad (3) gekoppelt ist, wobei das Rohrsystem (9) eine Vielzahl zueinander paralleler Rohre (13) aufweist, die sich zwischen zwei den ersten Strömungspfad (3) seitlich begrenzenden Gehäusewänden (7) erstrecken, die innerhalb des ersten Strömungspfads (3) mit Rippen (14) versehen sind und die außerhalb des ersten Strömungspfads (3) miteinander fluidisch verbunden sind.The present invention relates to a finned tube heat exchanger (1), in particular for vehicle applications, comprising a housing (2) enclosing a first flow path (3) for a first fluid and having a first inlet (4) for the first fluid and a first outlet (4). 5) for the first fluid, and with a piping system (9) forming a second fluid path (10) having a second inlet (11) for the second fluid and a second outlet (12) for the second fluid Having fluid and in the housing (2) heat-transmitting coupled to the first flow path (3), wherein the pipe system (9) has a plurality of mutually parallel tubes (13) extending between two the first flow path (3) laterally bounding housing walls ( 7) which are provided within the first flow path (3) with ribs (14) and which are fluidly connected to each other outside the first flow path (3).
Eine vereinfachte Herstellbarkeit lässt sich erreichen, wenn die fluidische Verbindung der Rohre (13) innerhalb der beiden Gehäusewände (7) erfolgt. A simplified manufacturability can be achieved if the fluidic connection of the tubes (13) takes place within the two housing walls (7).
Applications Claiming Priority (1)
| Application Number | Priority Date | Filing Date | Title |
|---|---|---|---|
| DE102011003609A DE102011003609A1 (en) | 2011-02-03 | 2011-02-03 | Finned tube heat exchanger |
Publications (2)
| Publication Number | Publication Date |
|---|---|
| EP2485007A2 EP2485007A2 (en) | 2012-08-08 |
| EP2485007A3 true EP2485007A3 (en) | 2014-06-18 |
Family
ID=45558532
Family Applications (1)
| Application Number | Title | Priority Date | Filing Date |
|---|---|---|---|
| EP12151556.3A Withdrawn EP2485007A3 (en) | 2011-02-03 | 2012-01-18 | Heat exchanger with finned tubes |
Country Status (4)
| Country | Link |
|---|---|
| US (1) | US9494367B2 (en) |
| EP (1) | EP2485007A3 (en) |
| JP (1) | JP2012163324A (en) |
| DE (1) | DE102011003609A1 (en) |
Families Citing this family (12)
| Publication number | Priority date | Publication date | Assignee | Title |
|---|---|---|---|---|
| US9267414B2 (en) * | 2010-08-26 | 2016-02-23 | Modine Manufacturing Company | Waste heat recovery system and method of operating the same |
| JP5796563B2 (en) * | 2011-11-29 | 2015-10-21 | 株式会社デンソー | Heat exchanger |
| KR101400833B1 (en) * | 2012-12-26 | 2014-05-29 | 주식회사 경동나비엔 | Pin-tube type heat exchanger |
| KR102122257B1 (en) * | 2013-12-24 | 2020-06-26 | 엘지전자 주식회사 | Heat exchanger |
| EP3246647B1 (en) * | 2016-05-19 | 2019-10-30 | Borgwarner Emissions Systems Spain, S.L.U. | Heat exchange device |
| US20170356674A1 (en) * | 2016-06-13 | 2017-12-14 | Laars Heating Systems Company | Water management header for a boiler or water heater |
| WO2018142460A1 (en) * | 2017-01-31 | 2018-08-09 | 三菱電機株式会社 | Heat exchanger and refrigeration cycle apparatus |
| US10684080B2 (en) * | 2017-07-19 | 2020-06-16 | General Electric Company | Additively manufactured heat exchanger |
| DE102017219433B4 (en) * | 2017-10-30 | 2022-08-11 | Hanon Systems | Heat exchanger for an internal combustion engine |
| EP3842723B1 (en) * | 2019-12-23 | 2024-12-18 | Hamilton Sundstrand Corporation | Two-stage fractal heat exchanger |
| KR102749268B1 (en) * | 2019-12-24 | 2024-12-31 | 니혼 캐리어 가부시키가이샤 | Heat exchanger and refrigeration cycle device |
| US20240230250A1 (en) * | 2021-05-20 | 2024-07-11 | Airborne ECS, LLC | Refrigerant Heat Exchanger with Integral Multipass and Flow Distribution Technology |
Citations (3)
| Publication number | Priority date | Publication date | Assignee | Title |
|---|---|---|---|---|
| US2064036A (en) * | 1935-08-12 | 1936-12-15 | Oakes Prod Corp | Method of making a condenser |
| US2950092A (en) * | 1957-11-01 | 1960-08-23 | Carrier Corp | Heat exchange construction |
| JP2007298260A (en) * | 2006-05-08 | 2007-11-15 | Sanden Corp | Heat exchanger |
Family Cites Families (16)
| Publication number | Priority date | Publication date | Assignee | Title |
|---|---|---|---|---|
| US2028455A (en) * | 1933-11-14 | 1936-01-21 | Karmazin Engineering Company | Header construction |
| US2028456A (en) * | 1935-05-07 | 1936-01-21 | Karmazin Engineering Company | Refrigerating apparatus |
| US3430693A (en) | 1965-06-16 | 1969-03-04 | Johnson Construction Co Ab | Heat exchange element with condensate collector |
| US3430692A (en) * | 1967-06-16 | 1969-03-04 | John Karmazin | Return bend construction for heat exchangers |
| DE3528499C1 (en) * | 1985-08-08 | 1987-03-12 | Konvekta Gmbh | Heat exchanger device with heat exchanger tubes and sheet-shaped fins |
| USD304855S (en) * | 1985-08-19 | 1989-11-28 | Sanden Corporation | Heat exchanger |
| US5524707A (en) * | 1993-06-15 | 1996-06-11 | Fredrich; Carl | Heat exchanger and method of manufacture |
| JPH0755384A (en) * | 1993-08-19 | 1995-03-03 | Sanden Corp | Multi-tube heat exchanger |
| US6435273B1 (en) * | 1998-12-14 | 2002-08-20 | Vladlen Futernik | Device for air temperature control in a vehicle |
| KR20040065626A (en) * | 2003-01-15 | 2004-07-23 | 엘지전자 주식회사 | Heat exchanger |
| JP3818270B2 (en) * | 2003-04-17 | 2006-09-06 | 株式会社デンソー | Heat exchanger |
| JP2005326135A (en) * | 2004-04-12 | 2005-11-24 | Showa Denko Kk | Heat exchanger |
| TWM267509U (en) * | 2004-11-03 | 2005-06-11 | Forward Electronics Co Ltd | Improved structure of heat exchange radiator |
| JP4725560B2 (en) * | 2006-09-29 | 2011-07-13 | 株式会社デンソー | Adsorption module and method of manufacturing adsorption module |
| CN101772687B (en) * | 2007-06-01 | 2011-11-16 | 开利公司 | Parallel flow heat exchanger with connectors |
| EP2131131A1 (en) * | 2008-06-06 | 2009-12-09 | Scambia Industrial Developments AG | Heat exchanger |
-
2011
- 2011-02-03 DE DE102011003609A patent/DE102011003609A1/en not_active Withdrawn
-
2012
- 2012-01-18 EP EP12151556.3A patent/EP2485007A3/en not_active Withdrawn
- 2012-02-01 JP JP2012019906A patent/JP2012163324A/en active Pending
- 2012-02-02 US US13/364,635 patent/US9494367B2/en not_active Expired - Fee Related
Patent Citations (3)
| Publication number | Priority date | Publication date | Assignee | Title |
|---|---|---|---|---|
| US2064036A (en) * | 1935-08-12 | 1936-12-15 | Oakes Prod Corp | Method of making a condenser |
| US2950092A (en) * | 1957-11-01 | 1960-08-23 | Carrier Corp | Heat exchange construction |
| JP2007298260A (en) * | 2006-05-08 | 2007-11-15 | Sanden Corp | Heat exchanger |
Also Published As
| Publication number | Publication date |
|---|---|
| US20120199327A1 (en) | 2012-08-09 |
| US9494367B2 (en) | 2016-11-15 |
| DE102011003609A1 (en) | 2012-08-09 |
| JP2012163324A (en) | 2012-08-30 |
| EP2485007A2 (en) | 2012-08-08 |
Similar Documents
| Publication | Publication Date | Title |
|---|---|---|
| EP2485007A3 (en) | Heat exchanger with finned tubes | |
| EP3306254B1 (en) | Heat exchanger with a heat exchanger tank structure and production method therefor | |
| EP2241849A3 (en) | Micro-channel heat exchanger in the form of a core-type radiator with special return pipe arrangement | |
| EP4033192A3 (en) | Heat exchangers | |
| WO2012103009A3 (en) | Heat pipe system having common vapor rail | |
| EP4246075A3 (en) | Heat exchanger for heat pump applications | |
| EP1867944A3 (en) | Heat exchanger | |
| RU2017118516A (en) | MULTI-WAY MICROCHANNEL HEAT EXCHANGER WITH MULTIPLE BENT PLATES | |
| MY195134A (en) | Heat Exchanger and Refrigeration System Using Same | |
| EP2977697A3 (en) | Heat exchanger and heat exchanging unit | |
| WO2016085817A3 (en) | Frost tolerant microchannel heat exchanger | |
| EP2765366A3 (en) | Area heater element, method for producing same and tool | |
| MY194235A (en) | Nozzle system | |
| EP4541974A3 (en) | Advanced passive wedge wire screen intake | |
| EP2887000A3 (en) | Combo-cooler | |
| DE102016118016A1 (en) | Coriolis mass flowmeter and method of operating a Coriolis mass flowmeter | |
| EP3106642A3 (en) | Exhaust silencer for transverse installation in a vehicle | |
| US20140166142A1 (en) | Compensator of an exhaust gas aftertreatment system | |
| EP2447626A3 (en) | Heat exchanger, in particular for use with refrigerated cabinets | |
| CN103423546A (en) | High-pressure-drop short-distance throttling device applicable to small-diameter pipelines | |
| EP3011248A1 (en) | Apparatus for influencing the outflow region of a tube carrier plate of a tube bundle heat exchanger | |
| EP2757336A3 (en) | Heat exchanger with optimised heat transmission and heating device with such a heat exchanger | |
| WO2014049024A3 (en) | Subsea heat exchanger | |
| WO2013013924A1 (en) | Flow rectifier | |
| US8770947B2 (en) | Pumping device |
Legal Events
| Date | Code | Title | Description |
|---|---|---|---|
| PUAI | Public reference made under article 153(3) epc to a published international application that has entered the european phase |
Free format text: ORIGINAL CODE: 0009012 |
|
| AK | Designated contracting states |
Kind code of ref document: A2 Designated state(s): AL AT BE BG CH CY CZ DE DK EE ES FI FR GB GR HR HU IE IS IT LI LT LU LV MC MK MT NL NO PL PT RO RS SE SI SK SM TR |
|
| AX | Request for extension of the european patent |
Extension state: BA ME |
|
| RAP1 | Party data changed (applicant data changed or rights of an application transferred) |
Owner name: EBERSPAECHER EXHAUST TECHNOLOGY GMBH & CO. KG |
|
| PUAL | Search report despatched |
Free format text: ORIGINAL CODE: 0009013 |
|
| AK | Designated contracting states |
Kind code of ref document: A3 Designated state(s): AL AT BE BG CH CY CZ DE DK EE ES FI FR GB GR HR HU IE IS IT LI LT LU LV MC MK MT NL NO PL PT RO RS SE SI SK SM TR |
|
| AX | Request for extension of the european patent |
Extension state: BA ME |
|
| RIC1 | Information provided on ipc code assigned before grant |
Ipc: F28F 1/32 20060101AFI20140509BHEP Ipc: F28D 1/053 20060101ALI20140509BHEP |
|
| 17P | Request for examination filed |
Effective date: 20141215 |
|
| RBV | Designated contracting states (corrected) |
Designated state(s): AL AT BE BG CH CY CZ DE DK EE ES FI FR GB GR HR HU IE IS IT LI LT LU LV MC MK MT NL NO PL PT RO RS SE SI SK SM TR |
|
| 17Q | First examination report despatched |
Effective date: 20180226 |
|
| RAP1 | Party data changed (applicant data changed or rights of an application transferred) |
Owner name: GAISER, GERD |
|
| RIN1 | Information on inventor provided before grant (corrected) |
Inventor name: GAISER, GERD |
|
| STAA | Information on the status of an ep patent application or granted ep patent |
Free format text: STATUS: THE APPLICATION HAS BEEN WITHDRAWN |
|
| 18W | Application withdrawn |
Effective date: 20181030 |
