EP1859956A3 - Frame with locking elements on its exterior side panels - Google Patents
Frame with locking elements on its exterior side panels Download PDFInfo
- Publication number
- EP1859956A3 EP1859956A3 EP07107183A EP07107183A EP1859956A3 EP 1859956 A3 EP1859956 A3 EP 1859956A3 EP 07107183 A EP07107183 A EP 07107183A EP 07107183 A EP07107183 A EP 07107183A EP 1859956 A3 EP1859956 A3 EP 1859956A3
- Authority
- EP
- European Patent Office
- Prior art keywords
- frame
- side panels
- locking elements
- exterior side
- side wall
- Prior art date
- Legal status (The legal status is an assumption and is not a legal conclusion. Google has not performed a legal analysis and makes no representation as to the accuracy of the status listed.)
- Withdrawn
Links
Classifications
-
- E—FIXED CONSTRUCTIONS
- E04—BUILDING
- E04F—FINISHING WORK ON BUILDINGS, e.g. STAIRS, FLOORS
- E04F13/00—Coverings or linings, e.g. for walls or ceilings
- E04F13/07—Coverings or linings, e.g. for walls or ceilings composed of covering or lining elements; Sub-structures therefor; Fastening means therefor
- E04F13/08—Coverings or linings, e.g. for walls or ceilings composed of covering or lining elements; Sub-structures therefor; Fastening means therefor composed of a plurality of similar covering or lining elements
- E04F13/0862—Coverings or linings, e.g. for walls or ceilings composed of covering or lining elements; Sub-structures therefor; Fastening means therefor composed of a plurality of similar covering or lining elements composed of a number of elements which are identical or not, e.g. carried by a common web, support plate or grid
-
- B—PERFORMING OPERATIONS; TRANSPORTING
- B44—DECORATIVE ARTS
- B44C—PRODUCING DECORATIVE EFFECTS; MOSAICS; TARSIA WORK; PAPERHANGING
- B44C5/00—Processes for producing special ornamental bodies
- B44C5/02—Mountings for pictures; Mountings of horns on plates
-
- B—PERFORMING OPERATIONS; TRANSPORTING
- B44—DECORATIVE ARTS
- B44C—PRODUCING DECORATIVE EFFECTS; MOSAICS; TARSIA WORK; PAPERHANGING
- B44C5/00—Processes for producing special ornamental bodies
- B44C5/04—Ornamental plaques, e.g. decorative panels, decorative veneers
- B44C5/0461—Ornamental plaques, e.g. decorative panels, decorative veneers used as wall coverings
-
- E—FIXED CONSTRUCTIONS
- E04—BUILDING
- E04F—FINISHING WORK ON BUILDINGS, e.g. STAIRS, FLOORS
- E04F13/00—Coverings or linings, e.g. for walls or ceilings
- E04F13/07—Coverings or linings, e.g. for walls or ceilings composed of covering or lining elements; Sub-structures therefor; Fastening means therefor
- E04F13/08—Coverings or linings, e.g. for walls or ceilings composed of covering or lining elements; Sub-structures therefor; Fastening means therefor composed of a plurality of similar covering or lining elements
- E04F13/088—Coverings or linings, e.g. for walls or ceilings composed of covering or lining elements; Sub-structures therefor; Fastening means therefor composed of a plurality of similar covering or lining elements fixed directly to the wall by means of magnets, hook and loop-type or similar fasteners, not necessarily involving the side faces of the covering element
Landscapes
- Engineering & Computer Science (AREA)
- Architecture (AREA)
- Civil Engineering (AREA)
- Structural Engineering (AREA)
- Mirrors, Picture Frames, Photograph Stands, And Related Fastening Devices (AREA)
- Packaging Of Annular Or Rod-Shaped Articles, Wearing Apparel, Cassettes, Or The Like (AREA)
- Buffer Packaging (AREA)
Abstract
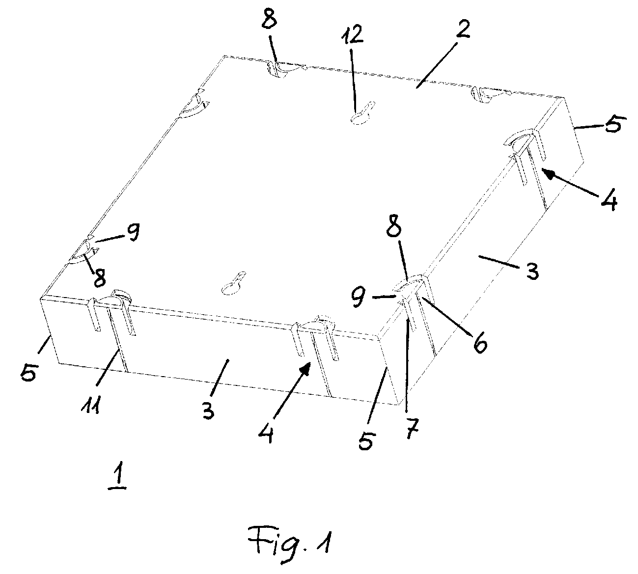
Es wird ein schachtelartiger Rahmen (1) beschrieben zur Aufnahme von flachen Körpern, insbesondere Dekorplatten, und zum kassettenartigen Zusammensetzen einer Vielzahl solcher Rahmen. Der Rahmen (1) weist eine Grundplatte (2) und senkrecht dazu angeordnete Seitenwände (3) auf, wobei Verschlusselemente für die Seitenwände angeordnet sind, die aus einem verschiebbaren Verriegelungselement und einem gegengleichen Aufnahmeelement (4) bestehen, um die Seitenwand (3) mit einer gegenüberliegenden Seitenwand (3) eines benachbarten Rahmens zu verbinden. A box-like frame (1) is described for receiving flat bodies, in particular decorative panels, and for assembling a plurality of such frames in a cassette-like manner. The frame (1) has a base plate (2) and perpendicular thereto arranged side walls (3), wherein closure elements are arranged for the side walls, consisting of a displaceable locking element and a counter-receiving element (4) to the side wall (3) with an opposite side wall (3) of an adjacent frame to connect.
Applications Claiming Priority (1)
| Application Number | Priority Date | Filing Date | Title |
|---|---|---|---|
| CH8532006 | 2006-05-24 |
Publications (2)
| Publication Number | Publication Date |
|---|---|
| EP1859956A2 EP1859956A2 (en) | 2007-11-28 |
| EP1859956A3 true EP1859956A3 (en) | 2009-04-29 |
Family
ID=38510315
Family Applications (1)
| Application Number | Title | Priority Date | Filing Date |
|---|---|---|---|
| EP07107183A Withdrawn EP1859956A3 (en) | 2006-05-24 | 2007-04-28 | Frame with locking elements on its exterior side panels |
Country Status (1)
| Country | Link |
|---|---|
| EP (1) | EP1859956A3 (en) |
Families Citing this family (2)
| Publication number | Priority date | Publication date | Assignee | Title |
|---|---|---|---|---|
| CN113550520B (en) * | 2021-07-30 | 2022-09-20 | 温州市柳义室内装饰设计事务所 | Dampproofing decorative board |
| CN116581460A (en) * | 2023-06-12 | 2023-08-11 | 云南浩鑫铝箔有限公司 | A kind of aluminum plate shell stacked with battery packs for new energy vehicles |
Citations (5)
| Publication number | Priority date | Publication date | Assignee | Title |
|---|---|---|---|---|
| EP0044371A1 (en) * | 1980-07-23 | 1982-01-27 | L'IMMOBILIERE THIONVILLOISE Société Anonyme Française | Composable panels for continuous impervious coverings |
| DE8812209U1 (en) * | 1987-09-28 | 1988-12-01 | Steuler Wandfliesen GmbH & Co KG, 5410 Höhr-Grenzhausen | Decorative element for tiled surfaces |
| US5616389A (en) * | 1995-10-30 | 1997-04-01 | Blatz; Warren J. | Surface covering tile |
| US5916102A (en) * | 1998-01-26 | 1999-06-29 | Glaazart U.S.A., Inc. | Removable tile display |
| WO2003083234A1 (en) * | 2002-04-03 | 2003-10-09 | Välinge Innovation AB | Mechanical locking system for floorboards |
-
2007
- 2007-04-28 EP EP07107183A patent/EP1859956A3/en not_active Withdrawn
Patent Citations (5)
| Publication number | Priority date | Publication date | Assignee | Title |
|---|---|---|---|---|
| EP0044371A1 (en) * | 1980-07-23 | 1982-01-27 | L'IMMOBILIERE THIONVILLOISE Société Anonyme Française | Composable panels for continuous impervious coverings |
| DE8812209U1 (en) * | 1987-09-28 | 1988-12-01 | Steuler Wandfliesen GmbH & Co KG, 5410 Höhr-Grenzhausen | Decorative element for tiled surfaces |
| US5616389A (en) * | 1995-10-30 | 1997-04-01 | Blatz; Warren J. | Surface covering tile |
| US5916102A (en) * | 1998-01-26 | 1999-06-29 | Glaazart U.S.A., Inc. | Removable tile display |
| WO2003083234A1 (en) * | 2002-04-03 | 2003-10-09 | Välinge Innovation AB | Mechanical locking system for floorboards |
Also Published As
| Publication number | Publication date |
|---|---|
| EP1859956A2 (en) | 2007-11-28 |
Similar Documents
| Publication | Publication Date | Title |
|---|---|---|
| EP2187447A3 (en) | Fitting device for solar modules with a large aspect ratio | |
| EP2492415A3 (en) | Floor panel with a wood material core, a decorative coating and locking profiles | |
| EP2269851A3 (en) | Side window for a motor vehicle | |
| EP2055864A3 (en) | Formwork panel | |
| DE102014108238A1 (en) | Glass plate element with a fastening element and a glass plate element having glass showcase | |
| EP1859956A3 (en) | Frame with locking elements on its exterior side panels | |
| EP1905900A3 (en) | Bridge with two framework-type plates and set for its manufacture | |
| EP2261719A3 (en) | sample chamber and method of fabrication | |
| EP2444562A3 (en) | Safety area | |
| EP2194200A3 (en) | Connection piece for connecting parts horizontally to a wall | |
| EP2138666A3 (en) | Bracing frame for building facades | |
| EP1746234A3 (en) | Fitting for folding and sliding wall | |
| EP2127901A3 (en) | Method for manufacturing floor panels and pressed sheet for performing the method | |
| EP1445390A3 (en) | Facade structure and retaining element for use in such a structure | |
| EP1947028A3 (en) | Device for storing and proportioning a number of components | |
| EP1834545A3 (en) | Shelving system | |
| EP1627978A3 (en) | Formwork element | |
| EP1830030A3 (en) | Frame construction | |
| EP1832683A3 (en) | Manhole covering | |
| EP1596028A3 (en) | Floor made of plates of floor cement and construction set for its generation | |
| EP1826354A3 (en) | Window sill or door step | |
| EP1596019A3 (en) | Glass partition assembly | |
| EP1913916A3 (en) | Folding ramp | |
| DE202006003866U1 (en) | Enclosure framework for installation of glass bricks in e.g. dry construction walls, has inner and outer frames movable against each other and insertable into one another, where frames are made from material e.g. sheet steel and plastic | |
| DE202008011573U1 (en) | panel member |
Legal Events
| Date | Code | Title | Description |
|---|---|---|---|
| PUAI | Public reference made under article 153(3) epc to a published international application that has entered the european phase |
Free format text: ORIGINAL CODE: 0009012 |
|
| AK | Designated contracting states |
Kind code of ref document: A2 Designated state(s): AT BE BG CH CY CZ DE DK EE ES FI FR GB GR HU IE IS IT LI LT LU LV MC MT NL PL PT RO SE SI SK TR |
|
| AX | Request for extension of the european patent |
Extension state: AL BA HR MK YU |
|
| RTI1 | Title (correction) |
Free format text: FRAME WITH LOCKING ELEMENTS ON ITS EXTERIOR SIDE PANELS |
|
| PUAL | Search report despatched |
Free format text: ORIGINAL CODE: 0009013 |
|
| AK | Designated contracting states |
Kind code of ref document: A3 Designated state(s): AT BE BG CH CY CZ DE DK EE ES FI FR GB GR HU IE IS IT LI LT LU LV MC MT NL PL PT RO SE SI SK TR |
|
| AX | Request for extension of the european patent |
Extension state: AL BA HR MK RS |
|
| RIC1 | Information provided on ipc code assigned before grant |
Ipc: E04F 13/08 20060101ALI20090324BHEP Ipc: B65D 21/02 20060101ALI20090324BHEP Ipc: B44C 5/02 20060101AFI20071002BHEP |
|
| AKX | Designation fees paid | ||
| REG | Reference to a national code |
Ref country code: DE Ref legal event code: 8566 |
|
| STAA | Information on the status of an ep patent application or granted ep patent |
Free format text: STATUS: THE APPLICATION IS DEEMED TO BE WITHDRAWN |
|
| 18D | Application deemed to be withdrawn |
Effective date: 20091030 |
