EP1469440A2 - Method for transmission of security information. - Google Patents
Method for transmission of security information. Download PDFInfo
- Publication number
- EP1469440A2 EP1469440A2 EP03029647A EP03029647A EP1469440A2 EP 1469440 A2 EP1469440 A2 EP 1469440A2 EP 03029647 A EP03029647 A EP 03029647A EP 03029647 A EP03029647 A EP 03029647A EP 1469440 A2 EP1469440 A2 EP 1469440A2
- Authority
- EP
- European Patent Office
- Prior art keywords
- radio
- security
- information
- transmission
- relevant information
- Prior art date
- Legal status (The legal status is an assumption and is not a legal conclusion. Google has not performed a legal analysis and makes no representation as to the accuracy of the status listed.)
- Granted
Links
- 230000005540 biological transmission Effects 0.000 title claims abstract description 33
- 238000000034 method Methods 0.000 title claims abstract description 30
- 230000002457 bidirectional effect Effects 0.000 description 1
- 238000004891 communication Methods 0.000 description 1
- 230000006735 deficit Effects 0.000 description 1
- 230000002349 favourable effect Effects 0.000 description 1
- 230000001360 synchronised effect Effects 0.000 description 1
Images
Classifications
-
- G—PHYSICS
- G08—SIGNALLING
- G08C—TRANSMISSION SYSTEMS FOR MEASURED VALUES, CONTROL OR SIMILAR SIGNALS
- G08C17/00—Arrangements for transmitting signals characterised by the use of a wireless electrical link
- G08C17/02—Arrangements for transmitting signals characterised by the use of a wireless electrical link using a radio link
-
- G—PHYSICS
- G08—SIGNALLING
- G08C—TRANSMISSION SYSTEMS FOR MEASURED VALUES, CONTROL OR SIMILAR SIGNALS
- G08C2201/00—Transmission systems of control signals via wireless link
- G08C2201/60—Security, fault tolerance
- G08C2201/63—Redundant transmissions
Definitions
- the invention relates to a method for data transmission between a mobile radio transmitter and a radio receiver Machine or system. Furthermore, a radio transmitter and a radio receiver is offered to carry out the method become.
- Radio connections also offer more time-critical transmission Information less favorable conditions than cables, because the information has a significantly longer period of time for transmission need.
- the invention has for its object a particularly reliable Method for data transmission between a mobile Control unit radio transmitter and a radio receiver one Offer machine or system.
- a radio transmitter is also intended and a radio receiver for performing such Procedures are offered.
- the task is for the method by the features of the claim 1 solved.
- Advantageous process variants will be described in subclaims 2-12.
- For the radio transmitter is the task by claim 13 and for Radio receiver solved by claim 14.
- the inventive method for data transmission sees one first radio connection between a radio transmitter and a Radio receiver of the machine / system for the transmission of safety-relevant Information and a second radio link for the transmission of non-security-relevant information in front.
- two separate radio connections ensures that security-relevant information can be transmitted and no blockage or impairment a transmission channel e.g. through non-security-relevant Information can take place.
- a separate radio connection for the transmission of safety-relevant Information will be the reliability of the Data transmission improved.
- the first and second radio links are advantageous set up simultaneously and operated in parallel.
- the first radio connection for the transmission of safety-relevant Information regardless of the second radio connection operated with a maximum package life.
- the first radio connection for the transmission of safety-relevant Information synchronous to the second radio connection operated.
- the first radio connection offers a larger number of data fields ("Slots") than for the security-relevant to be transmitted Information needed can be duplicates the security-relevant information about the first radio connection will be shipped, increasing the reliability of the Data transmission is increased again.
- To limit the Transfer time can be the number of transfers Duplicates are specified and limited.
- duplicates can be made as long of security-relevant information is transmitted, until new security-relevant information is available and / or until the transmitted information is received correctly were. This makes the transmission security even more improved.
- the first and second radio connection established via a single radio system be, resulting in a cost-saving and compact design is achieved.
- two separate radio systems can be provided, which also means Failure of a radio system, e.g. of the radio system for transmission of non-security related information, one Radio transmission of the safety-relevant information ensured is. In the event of failure of a Radio system the respective still functioning radio system Transfer the security-related information.
- safety-relevant Information about a first radio connection after Bluetooth standard in SCO mode and the non-security relevant Information about the second radio link after Bluetooth standard transmitted in ACL mode are provided.
- the first and the second radio connection can be made via a single one Radio system based on the Bluetooth standard, that is operated in parallel in SCO mode and in ACL mode.
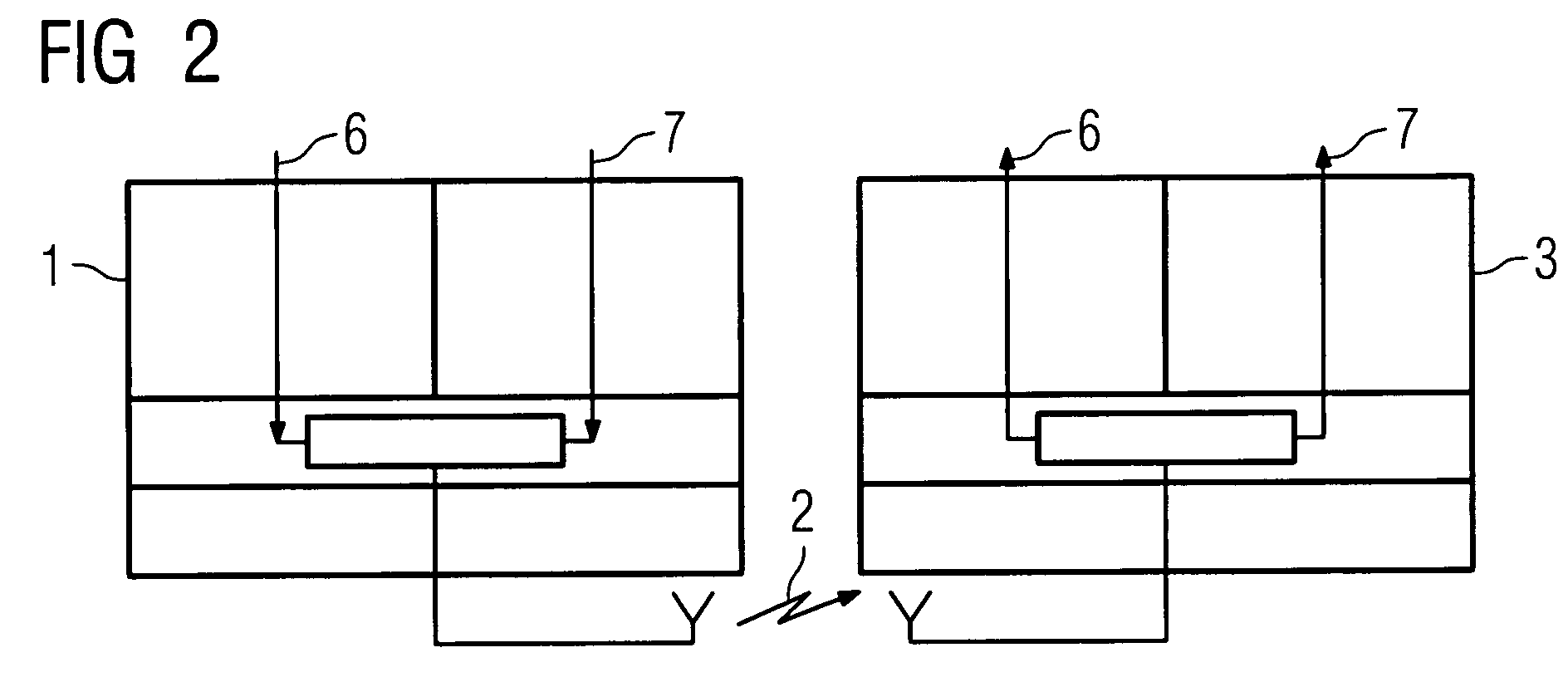
- Radio transmitter 1 for data transmission via a Radio link 2 with a radio receiver 3 with a machine / system 4 communicates. According to those described Methods for data transmission are via the radio link 2 established a first and a second radio connection.
- each radio transmitter 1 can also act as a receiver and everyone Radio receiver 3 can also be designed as a transmitter around a bidirectional Enable communication (not shown in detail).
- the first and second radio connection can a single radio transmitter 1 and a single radio receiver 3 (i.e. a single radio system) and can be set up via the radio link 2 security-relevant information of the Radio transmitter 1 via the first radio link 6 and non-security-relevant Information about the second radio link 7 are transmitted.
- radio transmitter 1a and 1b shows a data transmission with separate radio transmitters 1a and 1b and separate radio receivers 3a and 3b (i.e. two separate radio systems), with radio transmitter 1a and radio receiver 3a safety-relevant information of the radio transmitter 1 and non-safety-relevant via radio transmitter 1b and radio receiver 3b Information about radio links 10 and 11 are transmitted.
- FIG. 4 shows safety-relevant information 1 x generated on the axis 12 (time axis) over time. These are sent as duplicates 1 'on the axis 13 in the radio transmitter 1 and received by the radio receiver 3 on the axis 14. Duplicates 1 received without errors are deleted in the radio receiver 3 and the undeleted duplicates 1 are forwarded to the machine / system 4 on axis 15.
Landscapes
- Engineering & Computer Science (AREA)
- Computer Networks & Wireless Communication (AREA)
- Physics & Mathematics (AREA)
- General Physics & Mathematics (AREA)
- Mobile Radio Communication Systems (AREA)
- Selective Calling Equipment (AREA)
Abstract
Die Erfindung betrifft ein Verfahren zur Datenübertragung zwischen einem mobilen Funksender und einem Funkempfänger einer Maschine oder Anlage, wobei eine erste Funkverbindung zwischen Bediengerät und Maschine/Anlage zur Übertragung von sicherheitsrelevanten Informationen und eine zweite Funkverbindung zur Übertragung von nicht-sicherheits-relevanten Informationen vorgesehen ist. The invention relates to a method for data transmission between a mobile radio transmitter and a radio receiver of a machine or system, wherein a first radio connection between the operating device and the machine / system is provided for the transmission of safety-relevant information and a second radio connection for the transmission of non-safety-relevant information.
Description
Die Erfindung betrifft ein Verfahren zur Datenübertragung zwischen einem mobilen Funksender und einem Funkempfänger einer Maschine oder Anlage. Ferner sollen ein Funksender und ein Funkempfänger zur Durchführung des Verfahrens angeboten werden.The invention relates to a method for data transmission between a mobile radio transmitter and a radio receiver Machine or system. Furthermore, a radio transmitter and a radio receiver is offered to carry out the method become.
Mobile Funksender verfügen üblicherweise über eine Sender/Empfängereinheit, arbeiten somit also mit einem physikalischen Kanal. Werden sicherheitsrelevante Informationen gemeinsam mit nicht-sicherheitsrelevanten Informationen über diesen Kanal übertragen, besteht die Gefahr, daß sicherheitsrelevante Informationen von nicht- sicherheitsrelevanten Informationen blockiert und damit verzögert übertragen werden. Funkverbindungen bieten außerdem für die Übertragung zeitkritischer Informationen ungünstigere Voraussetzungen als Kabel, da die Informationen eine deutlich größere Zeitspanne zur Übertragung benötigen.Mobile radio transmitters usually have a transmitter / receiver unit, thus work with a physical Channel. Are security-relevant information together with non-security related information about transmit this channel, there is a risk that safety-relevant Information from non-security related information blocked and thus transmitted with a delay. Radio connections also offer more time-critical transmission Information less favorable conditions than cables, because the information has a significantly longer period of time for transmission need.
Wird eine Funkverbindung zur Übertragung sicherheits-relevanter Informationen eingesetzt, ist also sicherzustellen, daß diese nicht von nicht sicherheitsrelevanten Informationen blockiert werden, eine möglichst niedrige Zeitspanne zur Übertragung benötigen und keine veralteten Informationen übertragen werden.Is a radio link for transmission more relevant to security? Information used, it must therefore be ensured that not information that is not security-relevant blocked, the shortest possible time for transmission need and do not transfer outdated information become.
Der Erfindung liegt die Aufgabe zugrunde, ein besonders zuverlässiges Verfahren zur Datenübertragung zwischen einem mobilen Bediengerät Funksender und einem Funkempfänger einer Maschine oder Anlage anzubieten. Ferner sollen ein Funksender sowie ein Funkempfänger zur Durchführung eines derartigen Verfahrens angeboten werden. The invention has for its object a particularly reliable Method for data transmission between a mobile Control unit radio transmitter and a radio receiver one Offer machine or system. A radio transmitter is also intended and a radio receiver for performing such Procedures are offered.
Die Aufgabe wird für das Verfahren durch die Merkmale des Patentanspruchs
1 gelöst. Vorteilhafte Verfahrensvarianten werden
in den Unteransprüchen 2 - 12 beschrieben. Für den Funksender
wird die Aufgabe durch Patentanspruch 13 und für den
Funkempfänger durch Patentanspruch 14 gelöst.The task is for the method by the features of the
Das erfindungsgemäße Verfahren zur Datenübertragung sieht eine erste Funkverbindung zwischen einem Funksender und einem Funkempfänger der Maschine/Anlage zur Übertragung von sicherheitsrelevanten Informationen und eine zweite Funkverbindung zur Übertragung von nicht-sicherheitsrelevanten Informationen vor. Durch die Verwendung zweier separater Funkverbindungen wird sichergestellt, daß sicherheitsrelevante Informationen übertragen werden können und keine Blockade oder Beeinträchtigung eines Übertragungskanals z.B. durch nicht-sicherheitsrelevante Informationen stattfinden kann. Durch Verwendung einer separaten Funkverbindung für das Übertragen von sicherheitsrelevanten Informationen wird die Zuverlässigkeit der Datenübertragung verbessert.The inventive method for data transmission sees one first radio connection between a radio transmitter and a Radio receiver of the machine / system for the transmission of safety-relevant Information and a second radio link for the transmission of non-security-relevant information in front. By using two separate radio connections ensures that security-relevant information can be transmitted and no blockage or impairment a transmission channel e.g. through non-security-relevant Information can take place. By using a separate radio connection for the transmission of safety-relevant Information will be the reliability of the Data transmission improved.
Vorteilhafterweise werden die erste und zweite Funkverbindung simultan aufgebaut und parallel nebeneinander betrieben.The first and second radio links are advantageous set up simultaneously and operated in parallel.
Nach einer weiteren vorteilhaften Verfahrensvariante wird die erste Funkverbindung zur Übertragung von sicherheitsrelevanten Informationen unabhängig von der zweiten Funkverbindung mit einer maximalen Paketlebensdauer betrieben.According to a further advantageous process variant, the first radio connection for the transmission of safety-relevant Information regardless of the second radio connection operated with a maximum package life.
Bei einer weiteren vorteilhaften Verfahrensvariante wird die erste Funkverbindung zur Übertragung von sicherheitsrelevanten Informationen synchron zur zweiten Funkverbindung betrieben.In a further advantageous method variant, the first radio connection for the transmission of safety-relevant Information synchronous to the second radio connection operated.
Bietet die erste Funkverbindung eine größere Anzahl von Datenfeldern ("Slots") als für die zu übertragenden sicherheitsrelevanten Informationen notwendig ist, können Duplikate der sicherheitsrelevanten Informationen über die erste Funkverbindung versendet werden, wodurch die Zuverlässigkeit der Datenübertragung nochmals erhöht wird. Zur Begrenzung der Zeitdauer der Übertragung kann die Anzahl der zu übertragenden Duplikate vorgegeben und begrenzt werden.The first radio connection offers a larger number of data fields ("Slots") than for the security-relevant to be transmitted Information needed can be duplicates the security-relevant information about the first radio connection will be shipped, increasing the reliability of the Data transmission is increased again. To limit the Transfer time can be the number of transfers Duplicates are specified and limited.
Nach einer weiteren Verfahrensvariante können solange Duplikate von sicherheitsrelevanten Informationen übertragen werden, bis neue sicherheitsrelevante Informationen vorliegen und/oder bis die übertragenen Informationen korrekt empfangen wurden. Hierdurch wird die Übertragungssicherheit nochmals verbessert.According to a further process variant, duplicates can be made as long of security-relevant information is transmitted, until new security-relevant information is available and / or until the transmitted information is received correctly were. This makes the transmission security even more improved.
Im Funkempfänger fehlerfrei empfangene Duplikate von sicherheitsrelevanten Informationen werden nur ein einziges Mal weitergegeben und weiterverarbeitet. Entsprechende weitere fehlerfrei empfangene Duplikate werden vernichtet.Duplicates of security-relevant received correctly in the radio receiver Information is only used once passed on and processed. Corresponding others duplicates received without errors will be destroyed.
Gemäß einer weiteren Verfahrensvariante kann die erste und zweite Funkverbindung über ein einziges Funksystem aufgebaut werden, wodurch eine kostensparende und kompakte Ausführung erreicht wird. Gemäß einer weiteren Verfahrensvariante können zwei separate Funksysteme vorgesehen sein, wodurch auch bei Ausfall eines Funksystems, z.B. des Funksystems zur Übertragung von nicht-sicherheitsrelevanten Informationen, eine Funkübertragung der sicherheitsrelevanten Informationen sichergestellt ist. Vorteilhafterweise kann bei Ausfall eines Funksystems das jeweilige noch funktionierende Funksystem die Übertragung der sicherheitsrelevanten Informationen übernehmen.According to a further method variant, the first and second radio connection established via a single radio system be, resulting in a cost-saving and compact design is achieved. According to a further method variant, two separate radio systems can be provided, which also means Failure of a radio system, e.g. of the radio system for transmission of non-security related information, one Radio transmission of the safety-relevant information ensured is. In the event of failure of a Radio system the respective still functioning radio system Transfer the security-related information.
Gemäß einer weiteren Verfahrensvariante werden sicherheitsrelevante Informationen über eine erste Funkverbindung nach dem Bluetooth-Standard im SCO-Modus und die nicht-sicherheitsrelevanten Informationen über die zweite Funkverbindung nach Bluetooth-Standard im ACL-Modus übertragen. According to a further variant of the method, safety-relevant Information about a first radio connection after Bluetooth standard in SCO mode and the non-security relevant Information about the second radio link after Bluetooth standard transmitted in ACL mode.
Die erste und die zweite Funkverbindung können über ein einziges Funksystem nach Bluetooth-Standard aufgebaut werden, daß parallel im SCO-Modus und im ACL-Modus betrieben wird.The first and the second radio connection can be made via a single one Radio system based on the Bluetooth standard, that is operated in parallel in SCO mode and in ACL mode.
Die Erfindung ist anhand von Ausführungsbeispielen in den Zeichnungsfiguren näher erläutert. Es zeigen:
- FIG 1
- eine schematische Darstellung einer Datenübertragung zwischen einem Funksender und einem Funkempfänger, der mit einer Maschine/Anlage in Verbindung steht,
- FIG 2
- eine Datenübertragung über ein einziges Funksystem,
- FIG 3
- eine Datenübertragung über zwei separate Funksysteme sowie
- FIG 4
- eine Datenübertragung von Duplikaten von sicherheitsrelevanten Informationen.
- FIG. 1
- 1 shows a schematic representation of a data transmission between a radio transmitter and a radio receiver, which is connected to a machine / system,
- FIG 2
- data transmission via a single radio system,
- FIG 3
- a data transmission via two separate radio systems as well
- FIG 4
- a data transfer of duplicates of security-relevant information.
FIG 1 zeigt einen Funksender 1 zur Datenübertragung über eine
Funkstrecke 2 mit einem Funkempfänger 3, der mit einer Maschine/Anlage
4 in Verbindung steht. Gemäß den beschriebenen
Verfahren zur Datenübertragung werden über die Funkstrecke 2
eine erste und eine zweite Funkverbindung aufgebaut.1 shows a
Generell kann jeder Funksender 1 auch als Empfänger und jeder
Funkempfänger 3 auch als Sender ausgebildet sein um eine bidirektionale
Kommunikation zu ermöglichen (nicht näher abgebildet).In general, each
Nach FIG 2 können die erste und zweite Funkverbindung über
ein einzigen Funksender 1 und einen einzigen Funkempfänger 3
(also ein einziges Funksystem) aufgebaut werden und können
über die Funkstrecke 2 sicherheitsrelevante Informationen des
Funksenders 1 über die erste Funkverbindung 6 und nicht-sicherheitsrelevante
Informationen über die zweite Funkverbindung
7 übertragen werden. According to FIG 2, the first and second radio connection can
a
FIG 3 zeigt eine Datenübertragung mit separaten Funksendern
1a und 1b und separaten Funkempfängern 3a und 3b (also zwei
separaten Funksystemen), wobei über Funksender 1a und Funkempfänger
3a sicherheitsrelevante Informationen des Funksenders
1 und über Funksender 1b und Funkempfänger 3b nicht-sicherheitsrelevante
Informationen jeweils über Funkstrecken
10 und 11 übertragen werden.3 shows a data transmission with
FIG 4 zeigt im Zeitablauf auf der Achse 12 (Zeitachse) erzeugte
sicherheitsrelevante Informationen 1x. Diese werden
als Duplikate l' auf der Achse 13 im Funksender 1 verschickt
und vom Funkempfänger 3 auf der Achse 14 empfangen. Fehlerfrei
empfangene Duplikate l werden im Funkempfänger 3 gelöscht
und es werden die nicht-gelöschten Duplikate l an die
Maschine/Anlage 4 auf Achse 15 weitergeleitet.FIG. 4 shows safety-
Claims (14)
Applications Claiming Priority (2)
| Application Number | Priority Date | Filing Date | Title |
|---|---|---|---|
| DE10317131A DE10317131A1 (en) | 2003-04-14 | 2003-04-14 | Procedure for data transmission of security-relevant information |
| DE10317131 | 2003-04-14 |
Publications (3)
| Publication Number | Publication Date |
|---|---|
| EP1469440A2 true EP1469440A2 (en) | 2004-10-20 |
| EP1469440A3 EP1469440A3 (en) | 2007-07-04 |
| EP1469440B1 EP1469440B1 (en) | 2015-06-17 |
Family
ID=32892341
Family Applications (1)
| Application Number | Title | Priority Date | Filing Date |
|---|---|---|---|
| EP03029647.9A Expired - Lifetime EP1469440B1 (en) | 2003-04-14 | 2003-12-22 | Method for transmission of security information. |
Country Status (3)
| Country | Link |
|---|---|
| US (1) | US20040224641A1 (en) |
| EP (1) | EP1469440B1 (en) |
| DE (1) | DE10317131A1 (en) |
Cited By (21)
| Publication number | Priority date | Publication date | Assignee | Title |
|---|---|---|---|---|
| WO2007047128A1 (en) * | 2005-10-13 | 2007-04-26 | Advanced Medical Optics, Inc. | Reliable communications for wireless devices |
| WO2008064381A3 (en) * | 2006-11-28 | 2008-07-17 | Keba Ag | Method for the operation of a wireless communication link between a mobile manual operator device and a machine controller, and corresponding system components |
| US8749188B2 (en) | 2008-11-07 | 2014-06-10 | Abbott Medical Optics Inc. | Adjustable foot pedal control for ophthalmic surgery |
| US9005157B2 (en) | 2008-11-07 | 2015-04-14 | Abbott Medical Optics Inc. | Surgical cassette apparatus |
| US9133835B2 (en) | 2008-11-07 | 2015-09-15 | Abbott Medical Optics Inc. | Controlling of multiple pumps |
| US9295765B2 (en) | 2006-11-09 | 2016-03-29 | Abbott Medical Optics Inc. | Surgical fluidics cassette supporting multiple pumps |
| US9386922B2 (en) | 2012-03-17 | 2016-07-12 | Abbott Medical Optics Inc. | Device, system and method for assessing attitude and alignment of a surgical cassette |
| US9492317B2 (en) | 2009-03-31 | 2016-11-15 | Abbott Medical Optics Inc. | Cassette capture mechanism |
| US9522221B2 (en) | 2006-11-09 | 2016-12-20 | Abbott Medical Optics Inc. | Fluidics cassette for ocular surgical system |
| US9566188B2 (en) | 2008-11-07 | 2017-02-14 | Abbott Medical Optics Inc. | Automatically switching different aspiration levels and/or pumps to an ocular probe |
| US9635152B2 (en) | 2005-10-13 | 2017-04-25 | Abbott Medical Optics Inc. | Power management for wireless devices |
| US9757275B2 (en) | 2006-11-09 | 2017-09-12 | Abbott Medical Optics Inc. | Critical alignment of fluidics cassettes |
| US9795507B2 (en) | 2008-11-07 | 2017-10-24 | Abbott Medical Optics Inc. | Multifunction foot pedal |
| US10219940B2 (en) | 2008-11-07 | 2019-03-05 | Johnson & Johnson Surgical Vision, Inc. | Automatically pulsing different aspiration levels to an ocular probe |
| US10342701B2 (en) | 2007-08-13 | 2019-07-09 | Johnson & Johnson Surgical Vision, Inc. | Systems and methods for phacoemulsification with vacuum based pumps |
| US10349925B2 (en) | 2008-11-07 | 2019-07-16 | Johnson & Johnson Surgical Vision, Inc. | Method for programming foot pedal settings and controlling performance through foot pedal variation |
| US10363166B2 (en) | 2007-05-24 | 2019-07-30 | Johnson & Johnson Surgical Vision, Inc. | System and method for controlling a transverse phacoemulsification system using sensed data |
| US10478336B2 (en) | 2007-05-24 | 2019-11-19 | Johnson & Johnson Surgical Vision, Inc. | Systems and methods for transverse phacoemulsification |
| US10596032B2 (en) | 2007-05-24 | 2020-03-24 | Johnson & Johnson Surgical Vision, Inc. | System and method for controlling a transverse phacoemulsification system with a footpedal |
| US10959881B2 (en) | 2006-11-09 | 2021-03-30 | Johnson & Johnson Surgical Vision, Inc. | Fluidics cassette for ocular surgical system |
| US11337855B2 (en) | 2006-11-09 | 2022-05-24 | Johnson & Johnson Surgical Vision, Inc. | Holding tank devices, systems, and methods for surgical fluidics cassette |
Families Citing this family (3)
| Publication number | Priority date | Publication date | Assignee | Title |
|---|---|---|---|---|
| US8055814B2 (en) * | 2005-03-18 | 2011-11-08 | Rockwell Automation Technologies, Inc. | Universal safety I/O module |
| DE102007041902A1 (en) | 2007-09-04 | 2009-03-12 | Siemens Ag | Method and device for the wireless transmission of signals |
| KR100921772B1 (en) * | 2007-11-21 | 2009-10-15 | 한국전자통신연구원 | How to Forward and Receive Safety Messages |
Citations (2)
| Publication number | Priority date | Publication date | Assignee | Title |
|---|---|---|---|---|
| GB2297667A (en) | 1995-02-01 | 1996-08-07 | Brian Page Controls Ltd | Portable control device with multi-mode transmission |
| DE10221189A1 (en) | 2001-05-21 | 2002-11-28 | Siemens Ag Oesterreich | Industrial equipment and installations control, includes several peripheral units with sensor/actuator elements |
Family Cites Families (6)
| Publication number | Priority date | Publication date | Assignee | Title |
|---|---|---|---|---|
| DE3813590A1 (en) * | 1987-05-08 | 1988-11-17 | Hauni Werke Koerber & Co Kg | Machine tool |
| WO1999029474A2 (en) * | 1997-12-06 | 1999-06-17 | Elan Schaltelemente Gmbh & Co. Kg | Monitoring and control device for monitoring a technical facility subject to enhanced safety requirements, especially a handling device |
| DE19930263A1 (en) * | 1999-06-25 | 2000-12-28 | Biotronik Mess & Therapieg | Method and device for data transmission between an electromedical implant and an external device |
| US7103344B2 (en) * | 2000-06-08 | 2006-09-05 | Menard Raymond J | Device with passive receiver |
| US7073083B2 (en) * | 2001-07-18 | 2006-07-04 | Thomas Licensing | Method and system for providing emergency shutdown of a malfunctioning device |
| EP1294135B1 (en) * | 2001-09-14 | 2006-11-22 | Motorola, Inc. | Method for enhancing the communication capability in a wireless telecommunication system |
-
2003
- 2003-04-14 DE DE10317131A patent/DE10317131A1/en not_active Withdrawn
- 2003-12-22 EP EP03029647.9A patent/EP1469440B1/en not_active Expired - Lifetime
-
2004
- 2004-03-01 US US10/788,471 patent/US20040224641A1/en not_active Abandoned
Patent Citations (2)
| Publication number | Priority date | Publication date | Assignee | Title |
|---|---|---|---|---|
| GB2297667A (en) | 1995-02-01 | 1996-08-07 | Brian Page Controls Ltd | Portable control device with multi-mode transmission |
| DE10221189A1 (en) | 2001-05-21 | 2002-11-28 | Siemens Ag Oesterreich | Industrial equipment and installations control, includes several peripheral units with sensor/actuator elements |
Cited By (57)
| Publication number | Priority date | Publication date | Assignee | Title |
|---|---|---|---|---|
| US8923768B2 (en) | 2005-10-13 | 2014-12-30 | Abbott Medical Optics Inc. | Reliable communications for wireless devices |
| US9635152B2 (en) | 2005-10-13 | 2017-04-25 | Abbott Medical Optics Inc. | Power management for wireless devices |
| EP2216913A1 (en) * | 2005-10-13 | 2010-08-11 | Abbott Medical Optics Inc. | Reliable communications for wireless devices |
| AU2006303937B2 (en) * | 2005-10-13 | 2010-10-21 | Johnson & Johnson Surgical Vision, Inc. | Reliable communications for wireless devices |
| US8380126B1 (en) | 2005-10-13 | 2013-02-19 | Abbott Medical Optics Inc. | Reliable communications for wireless devices |
| WO2007047128A1 (en) * | 2005-10-13 | 2007-04-26 | Advanced Medical Optics, Inc. | Reliable communications for wireless devices |
| US9295765B2 (en) | 2006-11-09 | 2016-03-29 | Abbott Medical Optics Inc. | Surgical fluidics cassette supporting multiple pumps |
| US10959881B2 (en) | 2006-11-09 | 2021-03-30 | Johnson & Johnson Surgical Vision, Inc. | Fluidics cassette for ocular surgical system |
| US10441461B2 (en) | 2006-11-09 | 2019-10-15 | Johnson & Johnson Surgical Vision, Inc. | Critical alignment of fluidics cassettes |
| US11337855B2 (en) | 2006-11-09 | 2022-05-24 | Johnson & Johnson Surgical Vision, Inc. | Holding tank devices, systems, and methods for surgical fluidics cassette |
| US9757275B2 (en) | 2006-11-09 | 2017-09-12 | Abbott Medical Optics Inc. | Critical alignment of fluidics cassettes |
| US11065153B2 (en) | 2006-11-09 | 2021-07-20 | Johnson & Johnson Surgical Vision, Inc. | Fluidics cassette for ocular surgical system |
| US11058577B2 (en) | 2006-11-09 | 2021-07-13 | Johnson & Johnson Surgical Vision, Inc. | Fluidics cassette for ocular surgical system |
| US9522221B2 (en) | 2006-11-09 | 2016-12-20 | Abbott Medical Optics Inc. | Fluidics cassette for ocular surgical system |
| WO2008064381A3 (en) * | 2006-11-28 | 2008-07-17 | Keba Ag | Method for the operation of a wireless communication link between a mobile manual operator device and a machine controller, and corresponding system components |
| US11690758B2 (en) | 2007-05-24 | 2023-07-04 | Johnson & Johnson Surgical Vision, Inc. | System and method for controlling a transverse phacoemulsification system with a footpedal |
| US10857030B2 (en) | 2007-05-24 | 2020-12-08 | Johnson & Johnson Surgical Vision, Inc. | System and method for controlling a transverse phacoemulsification system using sensed data |
| US11911315B2 (en) | 2007-05-24 | 2024-02-27 | Johnson & Johnson Surgical Vision, Inc. | System and method for controlling a transverse phacoemulsification system using sensed data |
| US10596032B2 (en) | 2007-05-24 | 2020-03-24 | Johnson & Johnson Surgical Vision, Inc. | System and method for controlling a transverse phacoemulsification system with a footpedal |
| US10485699B2 (en) | 2007-05-24 | 2019-11-26 | Johnson & Johnson Surgical Vision, Inc. | Systems and methods for transverse phacoemulsification |
| US10478336B2 (en) | 2007-05-24 | 2019-11-19 | Johnson & Johnson Surgical Vision, Inc. | Systems and methods for transverse phacoemulsification |
| US11504272B2 (en) | 2007-05-24 | 2022-11-22 | Johnson & Johnson Surgical Vision, Inc. | Systems and methods for transverse phacoemulsification |
| US10363166B2 (en) | 2007-05-24 | 2019-07-30 | Johnson & Johnson Surgical Vision, Inc. | System and method for controlling a transverse phacoemulsification system using sensed data |
| US10342701B2 (en) | 2007-08-13 | 2019-07-09 | Johnson & Johnson Surgical Vision, Inc. | Systems and methods for phacoemulsification with vacuum based pumps |
| US11266526B2 (en) | 2008-11-07 | 2022-03-08 | Johnson & Johnson Surgical Vision, Inc. | Automatically pulsing different aspiration levels to an ocular probe |
| US9271806B2 (en) | 2008-11-07 | 2016-03-01 | Abbott Medical Optics Inc. | Adjustable foot pedal control for ophthalmic surgery |
| US8749188B2 (en) | 2008-11-07 | 2014-06-10 | Abbott Medical Optics Inc. | Adjustable foot pedal control for ophthalmic surgery |
| US10238778B2 (en) | 2008-11-07 | 2019-03-26 | Johnson & Johnson Surgical Vision, Inc. | Automatically switching different aspiration levels and/or pumps to an ocular probe |
| US10349925B2 (en) | 2008-11-07 | 2019-07-16 | Johnson & Johnson Surgical Vision, Inc. | Method for programming foot pedal settings and controlling performance through foot pedal variation |
| US9005157B2 (en) | 2008-11-07 | 2015-04-14 | Abbott Medical Optics Inc. | Surgical cassette apparatus |
| US10219940B2 (en) | 2008-11-07 | 2019-03-05 | Johnson & Johnson Surgical Vision, Inc. | Automatically pulsing different aspiration levels to an ocular probe |
| US9133835B2 (en) | 2008-11-07 | 2015-09-15 | Abbott Medical Optics Inc. | Controlling of multiple pumps |
| US10478534B2 (en) | 2008-11-07 | 2019-11-19 | Johnson & Johnson Surgical Vision, Inc. | Automatically switching different aspiration levels and/or pumps to an ocular probe |
| US11369728B2 (en) | 2008-11-07 | 2022-06-28 | Johnson & Johnson Surgical Vision, Inc. | Automatically switching different aspiration levels and/or pumps to an ocular probe |
| US11369729B2 (en) | 2008-11-07 | 2022-06-28 | Johnson & Johnson Surgical Vision, Inc. | Automatically switching different aspiration levels and/or pumps to an ocular probe |
| US9795507B2 (en) | 2008-11-07 | 2017-10-24 | Abbott Medical Optics Inc. | Multifunction foot pedal |
| US10668192B2 (en) | 2008-11-07 | 2020-06-02 | Johnson & Johnson Surgical Vision, Inc. | Automatically switching different aspiration levels and/or pumps to an ocular probe |
| US10813790B2 (en) | 2008-11-07 | 2020-10-27 | Johnson & Johnson Surgical Vision, Inc. | Automatically pulsing different aspiration levels to an ocular probe |
| US11364145B2 (en) | 2008-11-07 | 2022-06-21 | Johnson & Johnson Surgical Vision, Inc. | Automatically pulsing different aspiration levels to an ocular probe |
| US9566188B2 (en) | 2008-11-07 | 2017-02-14 | Abbott Medical Optics Inc. | Automatically switching different aspiration levels and/or pumps to an ocular probe |
| US10265443B2 (en) | 2008-11-07 | 2019-04-23 | Johnson & Johnson Surgical Vision, Inc. | Surgical cassette apparatus |
| US10905588B2 (en) | 2008-11-07 | 2021-02-02 | Johnson & Johnson Surgical Vision, Inc. | Automatically pulsing different aspiration levels to an ocular probe |
| US10251983B2 (en) | 2008-11-07 | 2019-04-09 | Johnson & Johnson Surgical Vision, Inc. | Automatically switching different aspiration levels and/or pumps to an ocular probe |
| US10993839B2 (en) | 2008-11-07 | 2021-05-04 | Johnson & Johnson Surgical Vision, Inc. | Automatically pulsing different aspiration levels to an ocular probe |
| US9877865B2 (en) | 2009-03-31 | 2018-01-30 | Abbott Medical Optics Inc. | Cassette capture mechanism |
| US9492317B2 (en) | 2009-03-31 | 2016-11-15 | Abbott Medical Optics Inc. | Cassette capture mechanism |
| US11872159B2 (en) | 2012-03-17 | 2024-01-16 | Johnson & Johnson Surgical Vision, Inc. | Pre-alignment surgical cassette interface |
| US11154422B2 (en) | 2012-03-17 | 2021-10-26 | Johnson & Johnson Surgical Vision, Inc. | Surgical cassette manifold, system, and methods thereof |
| US10888456B2 (en) | 2012-03-17 | 2021-01-12 | Johnson & Johnson Surgical Vision, Inc. | Surgical cassette |
| US10583040B2 (en) | 2012-03-17 | 2020-03-10 | Johnson & Johnson Surgical Vision, Inc. | Device, system and method for assessing attitude and alignment of a surgical cassette |
| US9700457B2 (en) | 2012-03-17 | 2017-07-11 | Abbott Medical Optics Inc. | Surgical cassette |
| US10980668B2 (en) | 2012-03-17 | 2021-04-20 | Johnson & Johnson Surgical Vision, Inc. | Surgical cassette |
| US9386922B2 (en) | 2012-03-17 | 2016-07-12 | Abbott Medical Optics Inc. | Device, system and method for assessing attitude and alignment of a surgical cassette |
| US9895262B2 (en) | 2012-03-17 | 2018-02-20 | Abbott Medical Optics Inc. | Device, system and method for assessing attitude and alignment of a surgical cassette |
| US10219938B2 (en) | 2012-03-17 | 2019-03-05 | Johnson & Johnson Surgical Vision, Inc. | Surgical cassette manifold, system, and methods thereof |
| US10857029B2 (en) | 2012-03-17 | 2020-12-08 | Johnson & Johnson Surgical Vision, Inc. | Valve system of surgical cassette manifold, system, and methods thereof |
| US10265217B2 (en) | 2012-03-17 | 2019-04-23 | Johnson & Johnson Surgical Vision, Inc. | Pre-alignment surgical cassette interface |
Also Published As
| Publication number | Publication date |
|---|---|
| US20040224641A1 (en) | 2004-11-11 |
| EP1469440A3 (en) | 2007-07-04 |
| DE10317131A1 (en) | 2004-10-28 |
| EP1469440B1 (en) | 2015-06-17 |
Similar Documents
| Publication | Publication Date | Title |
|---|---|---|
| EP1469440A2 (en) | Method for transmission of security information. | |
| DE112010001370B4 (en) | Signal transmission device for an elevator | |
| EP3189629B1 (en) | Method for serially transmitting a frame from a transmitter to at least one receiver by means of a bus system, and a subscriber station for a bus system | |
| EP2795848B1 (en) | Subscriber station of a bus system and method for transferring messages between subscriber stations of a bus system | |
| DE112015003282T5 (en) | A communication system, a communication control device and a method for preventing transmission of abusive information | |
| EP3177973B1 (en) | Method for operating security control and automation network having such security control | |
| DE19922171B4 (en) | Communication system with a communication bus | |
| DE3902243A1 (en) | METHOD FOR SWITCHING DIGITAL SIGNAL CONNECTIONS IN TRANSMISSION NETWORKS | |
| EP2145430B1 (en) | Method and system for the secure transmission of process data to be cyclically transmitted | |
| WO2020126760A1 (en) | Subscriber station for a serial bus system and method for communication in a serial bus system | |
| DE102015212951A1 (en) | Communication system for aggregates and control units of a vehicle and vehicle comprising the communication system | |
| DE10318068B4 (en) | Method and device for packet-oriented transmission of security-relevant data | |
| AT404656B (en) | LINE-REDUNDANT FIELD BUS SYSTEM, PREFERABLY WITH RING TOPOLOGY | |
| EP3744046B1 (en) | Subscriber station for a serial bus system, and method for fault signalling for a message received in a serial bus system | |
| EP2795821B1 (en) | Subscriber station of a bus system and method for transferring data between subscriber stations of a bus system | |
| EP2087655B1 (en) | Method for sending a data transfer block and method and system for transferring a data transfer block | |
| EP1283468A2 (en) | Central unit for a redundant automation system | |
| DE10252109B4 (en) | Method for parameterization | |
| DE69826824T2 (en) | Method for securing a transmission between two radio transmission devices | |
| EP3987697B1 (en) | Method for operating a communication network, communication network, and subscribers for a communication network | |
| DE10085335B4 (en) | Dynamic parity inversion for I / O connections | |
| DE102008042172A1 (en) | A method of operating a multi-node communication system and a multi-node communication system | |
| DE102012209093A1 (en) | Subscriber station for bus system in vehicle has transmission device to send error portion to send transmitted massage of another subscriber station and to abort own message to be sent when transmitted message is incorrectly recognized | |
| EP0981258B1 (en) | Method for the digital transport of information and/or data over a transmission link | |
| EP1548992A1 (en) | System for maintaining error-free communication in a data bus |
Legal Events
| Date | Code | Title | Description |
|---|---|---|---|
| PUAI | Public reference made under article 153(3) epc to a published international application that has entered the european phase |
Free format text: ORIGINAL CODE: 0009012 |
|
| AK | Designated contracting states |
Kind code of ref document: A2 Designated state(s): AT BE BG CH CY CZ DE DK EE ES FI FR GB GR HU IE IT LI LU MC NL PT RO SE SI SK TR |
|
| AX | Request for extension of the european patent |
Extension state: AL LT LV MK |
|
| PUAL | Search report despatched |
Free format text: ORIGINAL CODE: 0009013 |
|
| AK | Designated contracting states |
Kind code of ref document: A3 Designated state(s): AT BE BG CH CY CZ DE DK EE ES FI FR GB GR HU IE IT LI LU MC NL PT RO SE SI SK TR |
|
| AX | Request for extension of the european patent |
Extension state: AL LT LV MK |
|
| 17P | Request for examination filed |
Effective date: 20070822 |
|
| AKX | Designation fees paid |
Designated state(s): DE FR GB IT |
|
| 17Q | First examination report despatched |
Effective date: 20110418 |
|
| RAP1 | Party data changed (applicant data changed or rights of an application transferred) |
Owner name: SIEMENS AKTIENGESELLSCHAFT |
|
| RAP1 | Party data changed (applicant data changed or rights of an application transferred) |
Owner name: SIEMENS AKTIENGESELLSCHAFT |
|
| GRAP | Despatch of communication of intention to grant a patent |
Free format text: ORIGINAL CODE: EPIDOSNIGR1 |
|
| INTG | Intention to grant announced |
Effective date: 20150113 |
|
| GRAS | Grant fee paid |
Free format text: ORIGINAL CODE: EPIDOSNIGR3 |
|
| GRAA | (expected) grant |
Free format text: ORIGINAL CODE: 0009210 |
|
| AK | Designated contracting states |
Kind code of ref document: B1 Designated state(s): DE FR GB IT |
|
| REG | Reference to a national code |
Ref country code: GB Ref legal event code: FG4D Free format text: NOT ENGLISH |
|
| REG | Reference to a national code |
Ref country code: DE Ref legal event code: R096 Ref document number: 50315293 Country of ref document: DE |
|
| REG | Reference to a national code |
Ref country code: FR Ref legal event code: PLFP Year of fee payment: 13 |
|
| REG | Reference to a national code |
Ref country code: DE Ref legal event code: R097 Ref document number: 50315293 Country of ref document: DE |
|
| PLBE | No opposition filed within time limit |
Free format text: ORIGINAL CODE: 0009261 |
|
| STAA | Information on the status of an ep patent application or granted ep patent |
Free format text: STATUS: NO OPPOSITION FILED WITHIN TIME LIMIT |
|
| 26N | No opposition filed |
Effective date: 20160318 |
|
| REG | Reference to a national code |
Ref country code: FR Ref legal event code: PLFP Year of fee payment: 14 |
|
| REG | Reference to a national code |
Ref country code: FR Ref legal event code: PLFP Year of fee payment: 15 |
|
| PGFP | Annual fee paid to national office [announced via postgrant information from national office to epo] |
Ref country code: FR Payment date: 20201217 Year of fee payment: 18 |
|
| PGFP | Annual fee paid to national office [announced via postgrant information from national office to epo] |
Ref country code: IT Payment date: 20201223 Year of fee payment: 18 |
|
| PGFP | Annual fee paid to national office [announced via postgrant information from national office to epo] |
Ref country code: DE Payment date: 20210218 Year of fee payment: 18 Ref country code: GB Payment date: 20210104 Year of fee payment: 18 |
|
| REG | Reference to a national code |
Ref country code: DE Ref legal event code: R119 Ref document number: 50315293 Country of ref document: DE |
|
| GBPC | Gb: european patent ceased through non-payment of renewal fee |
Effective date: 20211222 |
|
| PG25 | Lapsed in a contracting state [announced via postgrant information from national office to epo] |
Ref country code: GB Free format text: LAPSE BECAUSE OF NON-PAYMENT OF DUE FEES Effective date: 20211222 Ref country code: DE Free format text: LAPSE BECAUSE OF NON-PAYMENT OF DUE FEES Effective date: 20220701 |
|
| PG25 | Lapsed in a contracting state [announced via postgrant information from national office to epo] |
Ref country code: FR Free format text: LAPSE BECAUSE OF NON-PAYMENT OF DUE FEES Effective date: 20211231 |
|
| PG25 | Lapsed in a contracting state [announced via postgrant information from national office to epo] |
Ref country code: IT Free format text: LAPSE BECAUSE OF NON-PAYMENT OF DUE FEES Effective date: 20211222 |
