EP1437547A2 - Device for producing steam as well as its cleaning method and method for operating the same - Google Patents
Device for producing steam as well as its cleaning method and method for operating the same Download PDFInfo
- Publication number
- EP1437547A2 EP1437547A2 EP04000045A EP04000045A EP1437547A2 EP 1437547 A2 EP1437547 A2 EP 1437547A2 EP 04000045 A EP04000045 A EP 04000045A EP 04000045 A EP04000045 A EP 04000045A EP 1437547 A2 EP1437547 A2 EP 1437547A2
- Authority
- EP
- European Patent Office
- Prior art keywords
- water
- water level
- water inlet
- heater
- steam
- Prior art date
- Legal status (The legal status is an assumption and is not a legal conclusion. Google has not performed a legal analysis and makes no representation as to the accuracy of the status listed.)
- Withdrawn
Links
Images
Classifications
-
- F—MECHANICAL ENGINEERING; LIGHTING; HEATING; WEAPONS; BLASTING
- F22—STEAM GENERATION
- F22B—METHODS OF STEAM GENERATION; STEAM BOILERS
- F22B1/00—Methods of steam generation characterised by form of heating method
- F22B1/28—Methods of steam generation characterised by form of heating method in boilers heated electrically
- F22B1/284—Methods of steam generation characterised by form of heating method in boilers heated electrically with water in reservoirs
Definitions
- the invention relates to a device for generating steam according to the Preamble of claim 1 and a method for cleaning and a Method for operating such a device.
- a so-called steam generator such as he is used in steam showers or steam baths.
- Such a steam generator is known from EP 0 300 577 A1.
- water is evaporated in a boiler using an electric heater and this steam is introduced into the interior of a cabin.
- the boiler can be filled with water.
- Another one Pipe system with a branch can be the boiler after a Steam generation process can be emptied. It can also be cleaned of the boiler.
- these pipe systems are susceptible to Pollution and / or calcification.
- the invention has for its object a aforementioned device as well as a method for cleaning and a method for operating a to create such a facility with which the disadvantages of the state technology, especially cleaning and operation can be done easily and the construction of such a facility is kept as simple as possible.
- a device for generating steam has a housing where there is a water supply. There is also a water inlet and a water drain as well as a steam outlet and heating provided for steam generation.
- the water drain is automatic working siphon trained and in particular forms the only one Drain from the housing or water supply.
- an automatic suction lifter is that it does pumps or the like can be dispensed with. Furthermore is in the invention advantageously a water drain or a pipe without branches or the like. educated. This keeps the effort and susceptibility to failure low.
- the automatic Water drain or siphon from reaching or exceeding one certain water level in the water supply active or activated by itself.
- Such an automatic or automatic activation has the advantage that there is no need for further sensors or the like can be.
- the specific water level from which the siphon works, is advantageously in the upper area of the water supply.
- the suction lifter In addition to an automatic start of work of the suction lifter can be provided be that it also stops automatically. This is advantageously done at a certain water level in the stock. This water level is for example very low or is present when the water supply is empty.
- the water it is advantageous to drain the water to be placed at a low point in the water supply.
- a funnel-like depression can be used for this provided in the bottom of the water reservoir or in its lower part his. So dirt or other particles can get on this Be deepened and flushed out of the water supply via the water outlet be removed. By placing it at the lowest point particles sink or slip almost automatically to the water drain.
- An upper water level sensor marks an upper water level, which closes the water inlet should mark.
- a lower water level sensor sets one accordingly lower water level, which is the point to open the water inlet should mark. It is therefore possible to use the water level sensors the water level in the water supply in a particular Keep area.
- the heater is advantageously arranged in an area while the water level sensors are located in another area could be.
- a water-permeable partition is advantageous here provided, for example with recesses or holes. These are advantageously provided in the lower area of the partition. The advantage of such a partition is that it allows water movements, which the operation or accuracy of the water level sensors disturb or impair, for example as a result the operation of the heater, only very slightly in the area of the water level sensors reach. This thus increases the reliability of the Detection of the water level.
- the water inlet can in turn an area of the water level sensors may be arranged so that it not fresh and therefore cold water with the possibly hot Heating directly connects. It is also possible to add water to be provided in another area to ensure movement here too and unrest in the water from the water level sensors if possible keep away.
- An electric heater for example a electric tubular heater. It is arranged in the water supply in such a way that it washes around and at least partially surrounded by water is. In particular, the heating is complete at the upper water level covered and at least partially exposed at the lower water level.
- a valve can be provided on the water inlet.
- An electromagnetic valve is advantageously used, which can be operated in a simple manner and is reliable.
- the water inlet, in particular also the valve of the water inlet are advantageously arranged higher than the highest area of the water outlet. So its function is not affected by the water drain. Furthermore, it is possible to let the water supply flow directly into or onto the housing. It runs particularly advantageously from above into the housing, for example into an upper region or the cover, so that an additional rinsing effect is achieved, especially when cleaning the water supply.
- the water drain can be designed such that it has a channel or has a pipe, which start from the water supply and first can run down to a lower bend. Assuming that run up and down again with an upper bend. In this way, the aforementioned suction lifter or a suction lifter knee is created. As soon as the water level starts from the water supply If the upper bend is reached, the water runs off via this upper bend and sucks the water supply empty. This vacuuming is usually done until a substantial amount of air is sucked in the water supply has been emptied.
- a method according to the invention for cleaning the aforementioned Device for steam generation can provide that the water inlet is opened and fills the water supply until the siphon water drain is activated. As mentioned above, this takes place on the Point at which the water drain between the water supply and the upper one Bending of the outgoing duct or pipe is filled and the suction effect starts. To do this, the top bend should be at one level which are between the lowest and the highest point in the water supply lies.
- the water supply essentially becomes due to the siphon water drain emptied. It advantageously drains it completely. Furthermore, it is possible to design the water drain so that it is emptied stops the water supply to the desired extent automatically, in particular in the same way that it was activated automatically is.
- the water inlet can again replenish the water supply after emptying. This filling advantageously takes place up to one certain upper water level. Alternatively, he can by next time you use the steam generator, stay empty.
- water supply during emptying There are two options for water supply during emptying. On the one hand, it is possible to close the water inlet. This can be triggered, for example, by a signal from the water level sensor become. Alternatively, the water inlet can be used for easier drainage and opened a simpler set up during emptying stay. Water runs from the water inlet into the water supply after even during emptying, which is particularly true towards the end of the The process of emptying can be used for increased rinsing of particles or the like from the water supply. After this Stopping the emptying, the water supply refills the water supply on. This replenishment can go up to a certain upper water level take place, for example in the manner as described at the beginning has been.
- a method according to the invention for operating an aforementioned device for steam generation can be a multi-step process exhibit.
- the water inlet is used to fill the water supply open.
- an upper water level at the upper water level sensor the water inlet is closed.
- the operation of the heater can advantageously be independent of that Water level between the lower and the upper water level sensor respectively.
- the operation can be carried out independently of refilling run off of water.
- a fuse can be provided be the heating when the water level falls below switches off until at least the lower water level has been exceeded again.
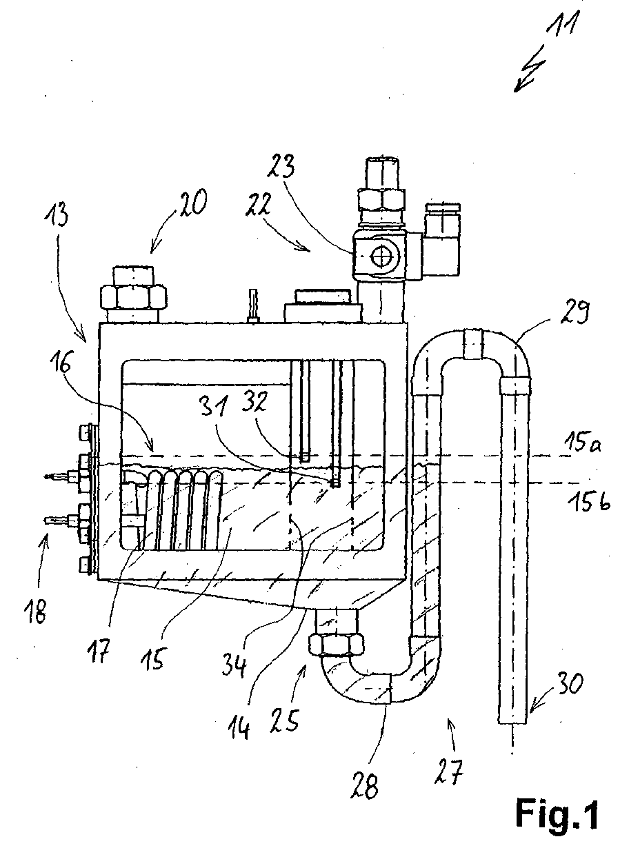
- FIG. 1 An embodiment of the invention is schematic in the drawing shown and is explained in more detail below, the drawing shows a section through a steam generator according to the invention.
- a steam generator 11 is a schematic view with partial section shown.
- the steam generator 11 has a housing 13 with a funnel-shaped bottom 14.
- a Water supply 15 From this water 16 which consists of a spiral of tubular heaters 17, generates steam.
- the heater 16 is connected to the external electrical connections 18 powered.
- a water inlet 22 is arranged on the upper right housing part. He has a valve 23. By means of this valve 23 can water over the Water inlet 22 controlled in the housing 13 or to the water supply 15 can be let in.
- a water drain 25 goes off.
- this water drain 25 for example, after a steam generation process remaining water in the housing 13 drained around on the one hand to avoid standing water in the housing and on the other hand to rinse out dirt and lime particles. this will explained in more detail below.
- the water outlet 25 is designed as a suction lifter 27. He points to that a lower bend 28 on the bottom 14 of the housing 13th followed. From there, a drain pipe runs up to the upper bend 29. From there the drain pipe runs down again to a sewage connection 30 or the like.
- the water level sensors 31 and 32 are by means of connections, not shown, with a corresponding control or evaluation connected. Here known ones Water level sensors are used.
- the partitions 34 can also be a tube that the Surrounds sensors 31 and 32.
- the heater 16 is in the left area arranged.
- In the middle area are the water level sensors 31 and 32 arranged.
- the water is refilled in the area on the right in the housing 13 via the water inlet 22.
- the partition walls 34 are water-permeable in the lower area, for example through larger holes in the manner of a perforated plate. One more way is that they do not fully extend to the bottom of the housing 13 to lead.
- the partition walls 34 By means of the partition walls 34, on the one hand, the emergence can violent water movement, especially the surface of the water influencing, avoided. This enables a reasonably exact determination of the actual water level using the sensors 31 and 32.
- Such water movements can be caused by running of water, on the other hand by boiling or boiling water arise in the area of the heater 16.
- partition walls 34 Another advantage of the partition walls 34 is that the incoming fresh Water, which is usually cold, does not directly affect the circumstances something exposed heater 16 can hit. This would be true allow increased vapor formation. On the other hand, however due to the rapid temperature changes, the tubular heater 17 under Under certain circumstances, wear out faster and be damaged.
- An upper water level 15a and a lower water level are shown 15b. They correspond to the positions of the water level sensors 31 and 32.
- the upper water level 15a is a little above the highest point of the heater 16.
- At the lower water level 15b protrudes the upper part of the heater 16 out of the water.
- the water level between the water levels 15a and 15b In the operation of the Steam generator 11, the water level between the water levels 15a and 15b.
- the steam generator 11 or the housing 13 without water for example.
- the valve 23 is opened and over the water inlet 22 water flows into the housing 13.
- the water level the water supply 15 then increases. He reaches the top one Water level 15a and thus the upper water level sensor 32, see above the valve 23 is closed.
- the heater 16 is activated and steam is created.
- the invention After operating the steam generator, it is according to one version the invention possible to empty it and thereby accumulated or to remove contaminants.
- Similar steam generators were located on a water drain a valve below the bottom of the housing. This was opened for draining water, while draining the still in the housing water is washed out and removed were. There was often the problem that this was due to the evaporation process hot water as well as the impurities Damaged valves quickly.
- suction lifter 27 extends with the upper bend 29 well above the heater 16 and water level sensors 31 and 32, for example up to the uppermost area of the housing 13th
- the water level is the water supply 15 for example as shown.
- the valve 23 is opened and water flows through the water inlet 22 into the housing 13.
- the water level rises in the housing and, as shown, at the same time in the drain pipe between the lower and top bend. After a while the water level is like this high that it extends beyond the upper bend 29.
- the upper bend 29 begins drain through the sewage connection 30 and the siphon enters Action. Water is thus drained from the housing 13 aspirated, according to the suction lifter principle until the entire water supply 15 is suctioned off and the housing 13 is empty. As mentioned, contaminants such as dirt or Lime particles are flushed out of the housing 13 through the water outlet 25 and also vacuumed. The suction then starts automatically off as soon as 25 air is drawn in via the water drain. Then the system or the steam generator 11 is emptied. I'm emptying The steam generator 11 can then remain in this state until a new process should be initiated for steam generation.
- the valve 23 can be opened again and Water can be let into the housing 13, as explained at the beginning.
- the suction lifter 27 only occurs when the housing 13 is completely full or filling the upper bend 29 in action.
- the valve 23 remain permanently open, for example until it drops activation of the water level under the upper water level sensor 32 of the suction lifter 27 can also be determined by the control can.
Landscapes
- Engineering & Computer Science (AREA)
- Life Sciences & Earth Sciences (AREA)
- Sustainable Development (AREA)
- Sustainable Energy (AREA)
- Physics & Mathematics (AREA)
- Thermal Sciences (AREA)
- Mechanical Engineering (AREA)
- General Engineering & Computer Science (AREA)
- Cleaning By Liquid Or Steam (AREA)
- Devices For Medical Bathing And Washing (AREA)
Abstract
Bei einem Ausführungsbeispiel der Erfindung ist es möglich, einen Dampfgenerator (11) zu schaffen, der einen Wasservorrat (15) in einem Gehäuse ( 13) aufweist. Des weiteren sind ein Wasserzulauf (22) mit Ventil (23), ein Wasserablauf (25) eine Heizung (16) in dem Gehäuse und ein Dampfausgang (22) vorgesehen. Erfindungsgemäß ist der Wasserablauf (25) als selbsttätig aktiviert und arbeitender Saugheber (27) ausgebildet, der ab einem bestimmten Wasserstand des Wasservorrats (15) aktiviert wird. Dies erfolgt beispielsweise dadurch, dass eine obere Biegung (29) des Saughebers (27) in etwa auf Höhe des höchsten Wasserstandes im Gehäuse (13) liegt. Wird dieser Wasserstand erreicht, aktiviert sich der Saugheber (27) von selber und saugt das Gehäuse (13) leer. In one embodiment of the invention, it is possible to create a steam generator (11) which has a water reservoir (15) in a housing (13). A water inlet (22) with valve (23), a water outlet (25), a heater (16) in the housing and a steam outlet (22) are also provided. According to the invention, the water drain (25) is automatically activated and a working suction lifter (27) is formed which is activated from a certain water level in the water supply (15). This takes place, for example, in that an upper bend (29) of the suction lifter (27) lies approximately at the level of the highest water level in the housing (13). If this water level is reached, the suction lifter (27) activates itself and sucks the housing (13) empty.
Description
Die Erfindung betrifft eine Einrichtung zur Dampferzeugung gemäß dem Oberbegriff des Anspruchs 1 sowie ein Verfahren zum Reinigen und ein Verfahren zum Betrieb einer solchen Einrichtung. Insbesondere betrifft die Erfindung einen sogenannten Dampfgenerator, wie er beispielsweise in Dampfduschkabinen oder Dampfbädern verwendet wird.The invention relates to a device for generating steam according to the Preamble of claim 1 and a method for cleaning and a Method for operating such a device. In particular concerns the invention a so-called steam generator, such as he is used in steam showers or steam baths.
Aus der EP 0 300 577 A1 ist ein derartiger Dampfgenerator bekannt. Dort wird Wasser in einem Boiler mittels einer Elektroheizung verdampft und dieser Dampf wird in das Innere einer Kabine eingeleitet. Über ein Rohrsystem kann der Boiler mit Wasser befüllt werden. Über ein weiteres Rohrsystem mit einer Abzweigung kann der Boiler nach einem Dampferzeugungs-Vorgang entleert werden. Dabei kann auch ein Reinigen des Boilers stattfinden. Diese Rohrsysteme sind jedoch anfällig für Verschmutzung und/oder Verkalkung. Such a steam generator is known from EP 0 300 577 A1. There, water is evaporated in a boiler using an electric heater and this steam is introduced into the interior of a cabin. About one Pipe system, the boiler can be filled with water. Another one Pipe system with a branch can be the boiler after a Steam generation process can be emptied. It can also be cleaned of the boiler. However, these pipe systems are susceptible to Pollution and / or calcification.
Der Erfindung liegt die Aufgabe zugrunde, eine vorgenannte Einrichtung sowie ein Verfahren zum Reinigen und ein Verfahren zum Betrieb einer solchen Einrichtung zu schaffen, mit denen die Nachteile des Standes der Technik vermieden werden können, insbesondere Reinigen und Betrieb leicht vonstatten gehen können und der Aufbau einer solchen Einrichtung möglichst einfach gehalten ist.The invention has for its object a aforementioned device as well as a method for cleaning and a method for operating a to create such a facility with which the disadvantages of the state technology, especially cleaning and operation can be done easily and the construction of such a facility is kept as simple as possible.
Gelöst wird diese Aufgabe durch eine Einrichtung mit den Merkmalen
des Anspruchs 1 sowie Verfahren mit den Merkmalen der Ansprüche 12
und 15. Vorteilhafte sowie bevorzugte Ausgestaltungen der Erfindung
sind Gegenstand der weiteren Ansprüche und werden im folgenden näher
erläutert. Der Wortlaut der Ansprüche wird durch ausdrückliche Bezugnahme
zum Inhalt der Beschreibung gemacht.This task is solved by a facility with the characteristics
of claim 1 and method with the features of
Erfindungsgemäß weist eine Einrichtung zur Dampferzeugung ein Gehäuse auf, in dem ein Wasservorrat ist. Des weiteren sind ein Wasserzulauf und ein Wasserablauf sowie ein Dampfausgang und eine Heizung zur Dampferzeugung vorgesehen. Der Wasserablauf ist als selbsttätig arbeitender Saugheber ausgebildet und bildet insbesondere den einzigen Ablauf aus dem Gehäuse bzw. dem Wasservorrat.According to the invention, a device for generating steam has a housing where there is a water supply. There is also a water inlet and a water drain as well as a steam outlet and heating provided for steam generation. The water drain is automatic working siphon trained and in particular forms the only one Drain from the housing or water supply.
Der Vorteil eines selbsttätig arbeitenden Saughebers ist der, dass damit auf Pumpen oder dergleichen verzichtet werden kann. Des weiteren ist bei der Erfindung vorteilhaft ein Wasserablauf bzw. ein Rohr ohne Abzweigungen odgl. ausgebildet. Dies hält den Aufwand sowie eine Störanfälligkeit gering.The advantage of an automatic suction lifter is that it does pumps or the like can be dispensed with. Furthermore is in the invention advantageously a water drain or a pipe without branches or the like. educated. This keeps the effort and susceptibility to failure low.
Bei einer Ausgestaltungsmöglichkeit der Erfindung ist der selbsttätige Wasserablauf bzw. Saugheber ab Erreichen oder Überschreiten eines bestimmten Wasserstandes in dem Wasservorrat aktiv bzw. aktiviert sich von selber. Eine solche selbsttätige oder automatische Aktivierung hat den Vorteil, dass dadurch auf weitere Sensorik oder dergleichen verzichtet werden kann. Der bestimmte Wasserstand, ab dem der Saugheber arbeitet, liegt vorteilhaft im oberen Bereich des Wasservorrats.In one embodiment of the invention, the automatic Water drain or siphon from reaching or exceeding one certain water level in the water supply active or activated by itself. Such an automatic or automatic activation has the advantage that there is no need for further sensors or the like can be. The specific water level from which the siphon works, is advantageously in the upper area of the water supply.
Neben einem selbsttätigen Arbeitsbeginn des Saughebers kann vorgesehen sein, dass er auch selbsttätig stoppt. Dies erfolgt vorteilhaft bei einem bestimmten Wasserstand im Vorrat. Dieser Wasserstand ist beispielsweise sehr gering bzw. liegt bei entleertem Wasservorrat vor.In addition to an automatic start of work of the suction lifter can be provided be that it also stops automatically. This is advantageously done at a certain water level in the stock. This water level is for example very low or is present when the water supply is empty.
In weiterer Ausgestaltung der Erfindung ist es von Vorteil, den Wasserablauf an einem tiefen Punkt des Wasservorrats anzuordnen. Besonders vorteilhaft ist hier der tiefste Punkt. Hierzu kann eine trichterartige Vertiefung im Boden des Wasservorrats oder in seinem unteren Teil vorgesehen sein. So können Verschmutzungen oder andere Partikel an diese Vertiefung gespült werden und über den Wasserablauf aus dem Wasservorrat entfernt werden. Durch die Anordnung an dem tiefsten Punkt sinken oder rutschen Partikel nahezu von alleine an den Wasserablauf.In a further embodiment of the invention, it is advantageous to drain the water to be placed at a low point in the water supply. Especially the lowest point is advantageous here. A funnel-like depression can be used for this provided in the bottom of the water reservoir or in its lower part his. So dirt or other particles can get on this Be deepened and flushed out of the water supply via the water outlet be removed. By placing it at the lowest point particles sink or slip almost automatically to the water drain.
Es ist möglich, zwei Wasserstandssensoren in dem Wasservorrat vorzusehen oder ihm zuzuordnen. Ein oberer Wasserstandssensor markiert einen oberen Wasserstand, welcher ein Schließen des Wasserzulaufs markieren soll. Ein unterer Wasserstandssensor stellt entsprechend einen unteren Wasserstand dar, der den Punkt zum Öffnen des Wasserzulaufs markieren soll. Somit ist es möglich, mittels der Wasserstandssensoren den Wasserstand in dem Wasservorrat in einem bestimmten Bereich zu halten.It is possible to have two water level sensors in the water supply or assign it to. An upper water level sensor marks an upper water level, which closes the water inlet should mark. A lower water level sensor sets one accordingly lower water level, which is the point to open the water inlet should mark. It is therefore possible to use the water level sensors the water level in the water supply in a particular Keep area.
In weiterer Ausgestaltung der Erfindung kann vorgesehen sein, den Wasservorrat in zwei Bereiche zu unterteilen, die nebeneinander liegen können. Dabei ist die Heizung vorteilhaft in einem Bereich angeordnet, während die Wasserstandssensoren in einem anderen Bereich angeordnet sein können. Vorteilhaft ist hier eine wasserdurchlässige Trennwand vorgesehen, beispielsweise mit Ausnehmungen oder Löchern. Diese sind vorteilhaft im unteren Bereich der Trennwand vorgesehen. Der Vorteil einer solchen Trennwand ist der, dass dadurch Wasserbewegungen, welche den Betrieb oder die Genauigkeit der Wasserstandssensoren stören oder beeinträchtigen könnten, beispielsweise infolge des Betriebs der Heizung, nur sehr geringfügig in den Bereich der Wasserstandssensoren gelangen. Dies erhöht somit die Zuverlässigkeit der Erfassung der Wasserhöhe.In a further embodiment of the invention can be provided To divide the water supply into two areas that are next to each other can. The heater is advantageously arranged in an area while the water level sensors are located in another area could be. A water-permeable partition is advantageous here provided, for example with recesses or holes. These are advantageously provided in the lower area of the partition. The advantage of such a partition is that it allows water movements, which the operation or accuracy of the water level sensors disturb or impair, for example as a result the operation of the heater, only very slightly in the area of the water level sensors reach. This thus increases the reliability of the Detection of the water level.
Des weiteren ist es bei der Unterteilung in Bereiche möglich, den Dampfausgang im Bereich der Heizung vorzusehen. Vorteilhaft ist er allgemein in etwa über der Heizung angeordnet, so dass hier der Dampf möglichst einfach austreten kann. Der Wasserzulauf wiederum kann in einem Bereich der Wasserstandssensoren angeordnet sein, damit er nicht frisches und somit kaltes Wasser mit der unter Umständen heißen Heizung direkt in Verbindung bringt. Ebenso ist es möglich, den Wasserzulauf in einem anderen Bereich vorzusehen, um auch hier Bewegung und Unruhe im Wasser von den Wasserstandssensoren möglichst fern zu halten.Furthermore, it is possible to divide into areas that Provide steam outlet in the area of the heating. It is advantageous generally located approximately above the heater, so here the steam can exit as easily as possible. The water inlet can in turn an area of the water level sensors may be arranged so that it not fresh and therefore cold water with the possibly hot Heating directly connects. It is also possible to add water to be provided in another area to ensure movement here too and unrest in the water from the water level sensors if possible keep away.
Als Heizung bietet sich eine elektrische Heizung an, beispielsweise ein elektrischer Rohrheizkörper. Sie ist derart in dem Wasservorrat angeordnet, dass sie von Wasser umspült und zumindest teilweise umgeben ist. Insbesondere ist die Heizung beim oberen Wasserstand vollständig bedeckt und liegt beim unteren Wasserstand zumindest teilweise frei.An electric heater, for example a electric tubular heater. It is arranged in the water supply in such a way that it washes around and at least partially surrounded by water is. In particular, the heating is complete at the upper water level covered and at least partially exposed at the lower water level.
An dem Wasserzulauf kann ein Ventil vorgesehen sein. Vorteilhaft wird
ein elektromagnetisches Ventil verwendet, welches auf einfache Art und
Weise betätigt werden kann und betriebssicher ist. Der Wasserzulauf,
insbesondere auch das Ventil des Wasserzulaufs, sind vorteilhaft höher
als der höchste Bereich des Wasserablaufs angeordnet. Somit wird seine
Funktion nicht durch den Wasserablauf beeinträchtigt.
Des weiteren ist es möglich, den Wasserzulauf direkt in oder an das
Gehäuse münden zu lassen. Besonders vorteilhaft läuft er von oben in
das Gehäuse, beispielsweise in einen oberen Bereich oder den Deckel,
so dass vor allem beim Reinigen des Wasservorrats eine zusätzliche
ausspülende Wirkung erzielt wird.A valve can be provided on the water inlet. An electromagnetic valve is advantageously used, which can be operated in a simple manner and is reliable. The water inlet, in particular also the valve of the water inlet, are advantageously arranged higher than the highest area of the water outlet. So its function is not affected by the water drain.
Furthermore, it is possible to let the water supply flow directly into or onto the housing. It runs particularly advantageously from above into the housing, for example into an upper region or the cover, so that an additional rinsing effect is achieved, especially when cleaning the water supply.
Der Wasserablauf kann derart ausgebildet sein, dass er einen Kanal oder ein Rohr aufweist, welche vom Wasservorrat ausgehen und zuerst nach unten zu einer unteren Biegung laufen können. Davon ausgehend laufen sie nach oben und mit einer oberen Biegung wieder nach unten. Auf diese Weise entsteht der vorgenannte Saugheber bzw. ein Saugheber-Knie. Sobald der Wasserstand vom Wasservorrat ausgehend die obere Biegung erreicht, läuft das Wasser über diese obere Biegung ab und saugt den Wasservorrat leer. Dieses Leersaugen erfolgt in der Regel so lange, bis ein wesentlicher Luftanteil angesaugt wird, welches ein erfolgtes Leeren des Wasservorrats bedeutet.The water drain can be designed such that it has a channel or has a pipe, which start from the water supply and first can run down to a lower bend. Assuming that run up and down again with an upper bend. In this way, the aforementioned suction lifter or a suction lifter knee is created. As soon as the water level starts from the water supply If the upper bend is reached, the water runs off via this upper bend and sucks the water supply empty. This vacuuming is usually done until a substantial amount of air is sucked in the water supply has been emptied.
Ein erfindungsgemäßes Verfahren zum Reinigen einer vorgenannten Einrichtung zur Dampferzeugung kann vorsehen, dass der Wasserzulauf geöffnet wird und den Wasservorrat so lange füllt, bis der Saugheber-Wasserablauf aktiviert wird. Dies erfolgt eben, wie vorgenannt, an dem Punkt, an dem der Wasserablauf zwischen Wasservorrat und oberer Biegung des abgehenden Kanals oder Rohrs gefüllt ist und die Saugwirkung einsetzt. Zu diesem Zweck sollte die obere Biegung auf einer Höhe liegen, welche zwischen dem tiefsten und dem höchsten Punkt im Wasservorrat liegt.A method according to the invention for cleaning the aforementioned Device for steam generation can provide that the water inlet is opened and fills the water supply until the siphon water drain is activated. As mentioned above, this takes place on the Point at which the water drain between the water supply and the upper one Bending of the outgoing duct or pipe is filled and the suction effect starts. To do this, the top bend should be at one level which are between the lowest and the highest point in the water supply lies.
Durch den Saugheber-Wasserablauf wird der Wasservorrat im wesentlichen entleert. Vorteilhaft entleert er ihn vollständig. Des weiteren ist es möglich, den Wasserablauf derart auszubilden, dass er nach einem Entleeren des Wasservorrats in gewünschtem Maße selbsttätig stoppt, insbesondere auf dieselbe Art und Weise, wie er selbsttätig aktiviert worden ist. Der Wasserzulauf kann den Wasservorrat wiederum erneut auffüllen nach dem Entleeren. Vorteilhaft erfolgt dieses Auffüllen bis zu einem bestimmten oberen Wasserstand. Alternativ kann er bis zum nächsten Einsatz des Dampfgenerators leer bleiben.The water supply essentially becomes due to the siphon water drain emptied. It advantageously drains it completely. Furthermore, it is possible to design the water drain so that it is emptied stops the water supply to the desired extent automatically, in particular in the same way that it was activated automatically is. The water inlet can again replenish the water supply after emptying. This filling advantageously takes place up to one certain upper water level. Alternatively, he can by next time you use the steam generator, stay empty.
Für den Wasserzulauf gibt es zwei Möglichkeiten während des Entleerens. Einerseits ist es möglich, den Wasserzulauf zu schließen. Dies kann beispielsweise durch ein Signal des Wasserstandssensors ausgelöst werden. Alternativ kann der Wasserzulauf für einen einfacheren Ablauf und einen einfacheren Aufbau während des Entleerens geöffnet bleiben. Dabei läuft Wasser von dem Wasserzulauf in den Wasservorrat nach auch während des Entleerens, was insbesondere gegen Ende des Vorgangs des Entleerens genutzt werden kann zum verstärkten Ausspülen von Partikeln oder dergleichen aus dem Wasservorrat. Nach dem Stoppen des Entleerens füllt der Wasserzulauf den Wasservorrat wieder auf. Dieses Auffüllen kann bis zu einem bestimmten oberen Wasserstand erfolgen, beispielsweise in der Art, wie es eingangs beschrieben worden ist.There are two options for water supply during emptying. On the one hand, it is possible to close the water inlet. This can be triggered, for example, by a signal from the water level sensor become. Alternatively, the water inlet can be used for easier drainage and opened a simpler set up during emptying stay. Water runs from the water inlet into the water supply after even during emptying, which is particularly true towards the end of the The process of emptying can be used for increased rinsing of particles or the like from the water supply. After this Stopping the emptying, the water supply refills the water supply on. This replenishment can go up to a certain upper water level take place, for example in the manner as described at the beginning has been.
Ein erfindungsgemäßes Verfahren zum Betrieb einer vorgenannten Einrichtung zur Dampferzeugung kann einen Ablauf mit mehreren Schritten aufweisen. Zuerst wird der Wasserzulauf zum Füllen des Wasservorrats geöffnet. Sobald ein oberer Wasserstand beim oberen Wasserstandssensor erreicht ist, wird der Wasserzulauf geschlossen. Danach beginnt der Betrieb der Heizung zum Erzeugen von Dampf, wobei der Dampf in die Sauna oder Kabine eingeleitet wird. Unterschreitet das Wasser bei einem bestimmten Verbrauch durch Verdampfen den unteren Wasserstand beim unteren Wasserstandssensor, wird über den Wasserzulauf der Nachfüllvorgang eingeleitet. Dazu wird der Wasserzulauf geöffnet. Ein Nachfüllen erfolgt vorteilhaft bis zum oberen Wasserstand, wie zuvor erwähnt. Der Betrieb der Heizung kann vorteilhaft unabhängig von dem Wasserstand zwischen dem unteren und dem oberen Wasserstandssensor erfolgen. Ebenso kann der Betrieb unabhängig von einem Nachfüllen von Wasser ablaufen. Alternativ dazu kann eine Sicherung vorgesehen sein, welche die Heizung bei Unterschreiten des unteren Wasserstands so lange abschaltet, bis mindestens der untere Wasserstand wieder überschritten worden ist.A method according to the invention for operating an aforementioned device for steam generation can be a multi-step process exhibit. First, the water inlet is used to fill the water supply open. As soon as an upper water level at the upper water level sensor the water inlet is closed. After that starts the operation of the heater to produce steam, the steam being in the sauna or cabin is initiated. Falls below the water a certain consumption by evaporating the lower water level at the lower water level sensor, is via the water inlet the refilling process is initiated. To do this, the water inlet is opened. Refilling to the upper water level is advantageous, as before mentioned. The operation of the heater can advantageously be independent of that Water level between the lower and the upper water level sensor respectively. Likewise, the operation can be carried out independently of refilling run off of water. Alternatively, a fuse can be provided be the heating when the water level falls below switches off until at least the lower water level has been exceeded again.
Diese und weitere Merkmale gehen außer aus den Ansprüchen auch aus der Beschreibung und der Zeichnung hervor, wobei die einzelnen Merkmale jeweils für sich allein oder zu mehreren in Form von Unterkombinationen bei einer Ausführungsform der Erfindung und auf anderen gebieten verwirklicht sein und vorteilhafte sowie für sich schutzfähige Ausführungen darstellen können, für die Schutz beansprucht wird. Die Unterteilung der Anmeldung in einzelne Abschnitte sowie Zwischen-Überschriften beschränken die unter diesen gemachten Aussagen nicht in ihrer Allgemeingültigkeit.These and other features go beyond the claims from the description and the drawing, the individual Features individually or in groups in the form of sub-combinations in one embodiment of the invention and others areas to be realized and advantageous as well as protectable Can represent designs for which protection is claimed. The division of the application into individual sections and subheadings do not limit the statements made under these in their generality.
Ein Ausführungsbeispiel der Erfindung ist in der Zeichnung schematisch dargestellt und wird im folgenden näher erläutert, wobei die Zeichnung einen Schnitt durch einen erfindungsgemäßen Dampfgenerator zeigt.An embodiment of the invention is schematic in the drawing shown and is explained in more detail below, the drawing shows a section through a steam generator according to the invention.
In Figur 1 ist ein Dampfgenerator 11 in schematisierter Ansicht mit Teilschnitt
dargestellt. Der Dampfgenerator 11 weist ein Gehäuse 13 auf mit
einem trichterförmigen Boden 14. In dem Gehäuse befindet sich ein
Wasservorrat 15. Aus diesem Wasser wird mittels der Heizung 16, welche
aus einer Spirale von Rohrheizkörpern 17 besteht, Dampf erzeugt. In Figure 1, a
Die Heizung 16 wird über die nach außen geführten elektrischen Anschlüsse
18 mit Energie versorgt.The
Über einen Dampfausgang 20 am linken oberen Gehäuseteil wird der
erzeugte Dampf abgeführt. Über nicht dargestellte Dampfleitungen wird
er in eine Dampfkabine oder dergleichen eingeführt.Via a
Am rechten oberen Gehäuseteil ist ein Wasserzulauf 22 angeordnet. Er
weist ein Ventil 23 auf. Mittels dieses Ventils 23 kann Wasser über den
Wasserzulauf 22 gesteuert in das Gehäuse 13 bzw. zu dem Wasservorrat
15 eingelassen werden.A
Vom Gehäuse 13, insbesondere vom untersten Ende des trichterförmigen
Bodens 14, geht ein Wasserablauf 25 ab. Über diesen Wasserablauf
25 wird beispielsweise nach einem Dampferzeugungsvorgang das
restliche, in dem Gehäuse 13 befindliche Wasser abgelassen um einerseits
stehendes Wasser in dem Gehäuse zu vermeiden und andererseits
um Verschmutzungen und Kalkpartikel auszuspülen. Dies wird
nachfolgend näher erläutert.From the
Der Wasserablauf 25 ist als Saugheber 27 ausgebildet. Dazu weist er
eine untere Biegung 28 auf, welche an den Boden 14 des Gehäuses 13
anschließt. Von dort aus verläuft ein Ablaufrohr nach oben bis zu der
oberen Biegung 29. Von da verläuft das Ablaufrohr wieder nach unten
zu einem Abwasseranschluss 30 oder dergleichen hin.The
Des weiteren sind in dem Gehäuse 13 ein unterer Wasserstandssensor
31 sowie ein oberer Wasserstandssensor 32 angeordnet. Diese reichen
von oben in das Gehäuse und können Wasserstände feststellen, die ihrer
Position entsprechen. Die Wasserstandssensoren 31 und 32 sind
mittels nicht dargestellter Anschlüsse mit einer entsprechenden Steuerung
oder Auswertung verbunden. Hier können an sich bekannte
Wasserstandssensoren verwendet werden.Furthermore, there is a lower water level sensor in the
In dem Gehäuse 13 befinden sich zwei Trennwände 34 und teilen es in
drei Bereiche. Die Trennwände 34 können auch ein Rohr sein, das die
Sensoren 31 und 32 umgibt. In dem linken Bereich ist die Heizung 16
angeordnet. Im mittleren Bereich sind die Wasserstandssensoren 31
und 32 angeordnet. Im rechten Bereich erfolgt ein Auffüllen des Wassers
in dem Gehäuse 13 über den Wasserzulauf 22. Die Trennwände 34
sind im unteren Bereich wasserdurchlässig ausgebildet, beispielsweise
durch größere Bohrungen nach Art eines Lochblechs. Eine weitere Möglichkeit
ist die, sie nicht vollständig bis zum Boden des Gehäuses 13 zu
führen. Mittels der Trennwände 34 kann einerseits das Entstehen zu
heftiger Wasserbewegungen, insbesondere die Oberfläche des Wassers
beeinflussend, vermieden werden. Dies ermöglicht eine einigermaßen
genaue Bestimmung des tatsächlichen Wasserstands mittels der Sensoren
31 und 32. Solche Wasserbewegungen können einmal durch Zulaufen
des Wassers, zum anderen durch kochendes oder siedendes Wasser
im Bereich der Heizung 16 entstehen.In the
Ein weiterer Vorteil der Trennwände 34 ist der, dass das zulaufende frische
Wasser, welches in der Regel kalt ist, nicht direkt auf die unter Umständen
etwas freiliegende Heizung 16 treffen kann. Dies würde zwar
eine verstärkte Dampfbildung ermöglichen. Zum anderen jedoch könnten
durch die raschen Temperaturwechsel die Rohrheizkörper 17 unter
Umständen schneller verschleißen und Schaden nehmen.Another advantage of the
Dargestellt sind ein oberer Wasserstand 15a und ein unterer Wasserstand
15b. Sie entsprechen den Positionen der Wasserstandssensoren
31 und 32. Der obere Wasserstand 15a ist ein Stück oberhalb des
höchsten Punktes der Heizung 16. Beim unteren Wasserstand 15b ragt
der obere Teil der Heizung 16 aus dem Wasser heraus. Im Betrieb des
Dampfgenerators 11 wird der Wasserstand zwischen den Wasserständen
15a und 15b gehalten.An
Zum Beginn des Betriebs ist der Dampfgenerator 11 bzw. das Gehäuse
13 beispielsweise ohne Wasser. Das Ventil 23 wird geöffnet und über
den Wasserzulauf 22 strömt Wasser in das Gehäuse 13. Der Wasserstand
des Wasservorrats 15 steigt daraufhin. Erreicht er den oberen
Wasserstand 15a und somit den oberen Wasserstandssensor 32, so
wird das Ventil 23 geschlossen. Die Heizung 16 wird aktiviert und Dampf
wird erzeugt.At the start of operation, the
Aufgrund der Dampferzeugung wird Wasser verbraucht, so dass der
Wasserstand sinkt. Sobald beim Unterschreiten des unteren Wasserstandes
15b der untere Wasserstandssensor 31 registriert, dass er nicht
mehr im Wasser eingetaucht ist, öffnet eine entsprechende Steuerung
das Ventil 23 wieder. Wasser wird wieder nachgefüllt bis der obere
Wasserstand 15a erreicht ist. Dies geht im Betrieb laufend so weiter.Due to the generation of steam, water is consumed, so that
Water level drops. As soon as it falls below the lower water level
15b the lower
Nach dem Betrieb des Dampfgenerators ist es gemäß einer Ausführung der Erfindung möglich, ihn zu entleeren und dabei von angesammelten oder entstandenen Verunreinigungen zu befreien. Bei früheren Ausführungen ähnlicher Dampfgeneratoren befand sich an einem Wasserablauf unterhalb des Bodens des Gehäuses ein Ventil. Dieses wurde geöffnet zum Ablassen von Wasser, wobei beim Ablassen des noch im Gehäuse befindlichen Wassers Verunreinigungen ausgespült und entfernt wurden. Hierbei bestand häufig das Problem, dass das durch den Verdampfungsvorgang heiße Wasser sowie auch die Verunreinigungen die Ventile schnell beschädigt haben. After operating the steam generator, it is according to one version the invention possible to empty it and thereby accumulated or to remove contaminants. In previous versions Similar steam generators were located on a water drain a valve below the bottom of the housing. This was opened for draining water, while draining the still in the housing water is washed out and removed were. There was often the problem that this was due to the evaporation process hot water as well as the impurities Damaged valves quickly.
Wie zu erkennen ist, ist bei dem Dampfgenerator 11 kein Ventil mehr im
Ablauf des Wassers aus dem Gehäuse vorgesehen. Insbesondere ist
auch keine weitere Abzweigung oder dergleichen vorgesehen, was allgemein
für die Erfindung von Vorteil ist. Der Saugheber 27 reicht mit der
oberen Biegung 29 weit über die Heizung 16 und Wasserstandssensoren
31 und 32, beispielsweise bis in den obersten Bereich des Gehäuses
13.As can be seen, there is no longer a valve in the
Nach dem Betrieb des Dampfgenerators ist der Wasserstand des Wasservorrats
15 beispielsweise so wie eingezeichnet. Zum Entleeren, welches
durch eine Steuerung automatisch oder manuell begonnen wird,
wird das Ventil 23 geöffnet und über den Wasserzulauf 22 fließt Wasser
in das Gehäuse 13. Der Wasserstand steigt dabei in dem Gehäuse und,
wie dargestellt, gleichzeitig auch in dem Ablaufrohr zwischen unterer
und oberer Biegung. Nach einer gewissen Zeit ist der Wasserstand so
hoch, dass er über die obere Biegung 29 hinausreicht.After operating the steam generator, the water level is the
Sobald die obere Biegung 29 mit Wasser vollgelaufen ist, beginnt es
über den Abwasseranschluss 30 abzulaufen und der Saugheber tritt in
Aktion. Wasser wird so über den Wasserablauf aus dem Gehäuse 13
abgesaugt, und zwar gemäß dem Saugheber-Prinzip so lange, bis der
gesamte Wasservorrat 15 abgesaugt ist und das Gehäuse 13 leer ist.
Dabei werden, wie gesagt, Verunreinigungen wie beispielsweise Dreckoder
Kalkpartikel aus dem Gehäuse 13 durch den Wasserablauf 25 gespült
und ebenfalls abgesaugt. Das Absaugen setzt dann selbsttätig
wieder aus, sobald über den Wasserablauf 25 Luft angesaugt wird.
Dann ist das System bzw. der Dampfgenerator 11 entleert. Im entleerten
Zustand kann der Dampfgenerator 11 dann bleiben, bis ein neuer Vorgang
zur Dampferzeugung eingeleitet werden soll.As soon as the
Ausgehend vom entleerten Zustand kann bei einem solchen erneuten
Dampferzeugungs-Vorgang das Ventil 23 wieder geöffnet werden und
Wasser in das Gehäuse 13 eingelassen werden, wie eingangs erläutert.
Der Saugheber 27 tritt nämlich nur bei vollständig gefülltem Gehäuse 13
bzw. Füllens der oberen Biegung 29 in Aktion.Starting from the emptied state, it can be renewed
Steam generation process, the
Während des Entleerens des Gehäuses gibt es für den Wasserzulauf 22
zwei Möglichkeiten. Einerseits kann nach Aktivieren des Saughebers 27
das Ventil 23 permanent offen bleiben, beispielsweise bis durch Sinken
des Wasserstands unter den oberen Wasserstandssensor 32 das Aktivieren
des Saughebers 27 auch von der Steuerung festgestellt werden
kann. Alternativ dazu ist es möglich, in einer Art Ablaufprogramm gewisse
Zeiten vorzugeben, die erfahrungsgemäß nach Überschreiten der
beiden Wasserstände 15a und 15b nach oben bis zum beginnenden Aktivieren
des Saughebers benötigt werden, bis der Saugheber 27 eben
aktiviert ist. Nach Erreichen dieser Zeit kann dann das Ventil 23 geschlossen
werden. Es ist möglich, diese Zeit vor dem Erreichen des
oberen Wasserstandssensors 32 beim absinkenden Wasserstand zu
bestimmen. So kann Wasser eingespart werden, weil nämlich der Wasserzulauf
22 früher gestoppt wird. Dabei ist jedoch darauf zu achten,
dass die Zeit mindestens so lange gewählt wird, dass auf alle Fälle der
Saugheber 27 durch Füllen der oberen Biegung 29 aktiviert wird.During the draining of the housing there is 22 for the water inlet
two possibilities. On the one hand, after activating the
Claims (15)
Applications Claiming Priority (2)
| Application Number | Priority Date | Filing Date | Title |
|---|---|---|---|
| DE2003101450 DE10301450A1 (en) | 2003-01-09 | 2003-01-09 | Device for generating steam and process for cleaning and operating the same |
| DE10301450 | 2003-01-09 |
Publications (2)
| Publication Number | Publication Date |
|---|---|
| EP1437547A2 true EP1437547A2 (en) | 2004-07-14 |
| EP1437547A3 EP1437547A3 (en) | 2005-05-04 |
Family
ID=32478232
Family Applications (1)
| Application Number | Title | Priority Date | Filing Date |
|---|---|---|---|
| EP04000045A Withdrawn EP1437547A3 (en) | 2003-01-09 | 2004-01-05 | Device for producing steam as well as its cleaning method and method for operating the same |
Country Status (2)
| Country | Link |
|---|---|
| EP (1) | EP1437547A3 (en) |
| DE (1) | DE10301450A1 (en) |
Cited By (12)
| Publication number | Priority date | Publication date | Assignee | Title |
|---|---|---|---|---|
| EP1514563A1 (en) * | 2003-09-03 | 2005-03-16 | Fresenius Medical Care Deutschland GmbH | Connection device for sterilant or cleaning agent |
| US7753009B2 (en) | 2006-10-19 | 2010-07-13 | Whirlpool Corporation | Washer with bio prevention cycle |
| US7886392B2 (en) | 2006-08-15 | 2011-02-15 | Whirlpool Corporation | Method of sanitizing a fabric load with steam in a fabric treatment appliance |
| US7904981B2 (en) | 2006-08-15 | 2011-03-15 | Whirlpool Corporation | Water supply control for a steam generator of a fabric treatment appliance |
| US7913339B2 (en) | 2006-08-15 | 2011-03-29 | Whirlpool Corporation | Water supply control for a steam generator of a fabric treatment appliance using a temperature sensor |
| CN105190182A (en) * | 2013-03-08 | 2015-12-23 | 松下知识产权经营株式会社 | Heating cooker |
| US20160150906A1 (en) * | 2014-11-27 | 2016-06-02 | Lg Electronics Inc. | Cooker and steam generator |
| CN110594716A (en) * | 2019-10-15 | 2019-12-20 | 珠海格力电器股份有限公司 | Steam generator and steam box |
| CN111700492A (en) * | 2020-07-20 | 2020-09-25 | 珠海格力电器股份有限公司 | A waterway system for cooking equipment and cooking equipment |
| US10844533B2 (en) | 2007-05-07 | 2020-11-24 | Whirlpool Corporation | Method for controlling a household washing machine |
| CN115507353A (en) * | 2021-06-22 | 2022-12-23 | 佛山市顺德区美的洗涤电器制造有限公司 | Scale detection method and steam generating system |
| EP4137015A1 (en) * | 2017-07-12 | 2023-02-22 | Home Tech Innovation, Inc. | Food storage and cooking system |
Families Citing this family (18)
| Publication number | Priority date | Publication date | Assignee | Title |
|---|---|---|---|---|
| US7627920B2 (en) | 2006-06-09 | 2009-12-08 | Whirlpool Corporation | Method of operating a washing machine using steam |
| US7765628B2 (en) | 2006-06-09 | 2010-08-03 | Whirlpool Corporation | Steam washing machine operation method having a dual speed spin pre-wash |
| US7730568B2 (en) | 2006-06-09 | 2010-06-08 | Whirlpool Corporation | Removal of scale and sludge in a steam generator of a fabric treatment appliance |
| US7941885B2 (en) | 2006-06-09 | 2011-05-17 | Whirlpool Corporation | Steam washing machine operation method having dry spin pre-wash |
| US7841219B2 (en) | 2006-08-15 | 2010-11-30 | Whirlpool Corporation | Fabric treating appliance utilizing steam |
| US7591859B2 (en) | 2006-08-15 | 2009-09-22 | Whirlpool Corporation | Water supply control for a steam generator of a fabric treatment appliance using a weight sensor |
| US7665332B2 (en) | 2006-08-15 | 2010-02-23 | Whirlpool Corporation | Steam fabric treatment appliance with exhaust |
| DE102006046408A1 (en) * | 2006-09-20 | 2008-04-03 | Hansgrohe Ag | Steam generating device, particularly steam generator for steam room or steam shower cubicle, has housing and container, where connection for water inlet, steam outlet, water overflow and heating device are provided on container |
| US7690062B2 (en) | 2007-08-31 | 2010-04-06 | Whirlpool Corporation | Method for cleaning a steam generator |
| US7861343B2 (en) | 2007-08-31 | 2011-01-04 | Whirlpool Corporation | Method for operating a steam generator in a fabric treatment appliance |
| US7905119B2 (en) | 2007-08-31 | 2011-03-15 | Whirlpool Corporation | Fabric treatment appliance with steam generator having a variable thermal output |
| US8037565B2 (en) | 2007-08-31 | 2011-10-18 | Whirlpool Corporation | Method for detecting abnormality in a fabric treatment appliance having a steam generator |
| US8555676B2 (en) | 2007-08-31 | 2013-10-15 | Whirlpool Corporation | Fabric treatment appliance with steam backflow device |
| US7918109B2 (en) | 2007-08-31 | 2011-04-05 | Whirlpool Corporation | Fabric Treatment appliance with steam generator having a variable thermal output |
| US8555675B2 (en) | 2007-08-31 | 2013-10-15 | Whirlpool Corporation | Fabric treatment appliance with steam backflow device |
| US7966683B2 (en) | 2007-08-31 | 2011-06-28 | Whirlpool Corporation | Method for operating a steam generator in a fabric treatment appliance |
| EP3161379B1 (en) | 2014-06-25 | 2021-09-01 | Alfred Kärcher SE & Co. KG | Pressure reservoir device and hand steam appliance |
| DE202014010713U1 (en) | 2014-06-25 | 2016-05-23 | Alfred Kärcher Gmbh & Co. Kg | Pressure accumulator device and handheld steam device |
Family Cites Families (6)
| Publication number | Priority date | Publication date | Assignee | Title |
|---|---|---|---|---|
| US4705936A (en) * | 1985-01-17 | 1987-11-10 | Masco Corporation | Electronically controlled electric steam humidifier |
| EP0280782A1 (en) * | 1987-02-03 | 1988-09-07 | E. Schönmann & Co. AG | Steam generator |
| DE8901904U1 (en) * | 1989-02-17 | 1989-07-20 | Lechmetall Landsberg GmbH, 8910 Landsberg | Steam generator for cooking appliances with decalcification device |
| DE4029511A1 (en) * | 1990-09-18 | 1992-03-19 | Ego Elektro Blanc & Fischer | Steam-producing heater system - has heated medium chamber segregated except for slots from separating chamber |
| IT224189Z2 (en) * | 1991-04-10 | 1996-02-09 | C Ar El Costruzione Armadi Ele | EQUIPMENT FOR THE PRODUCTION OF STEAM FOR AIR HUMIDIFICATION |
| DE19912444C2 (en) * | 1999-03-19 | 2001-11-29 | Rational Ag | Steam generator of a cooking device with a device for electronic calcification monitoring |
-
2003
- 2003-01-09 DE DE2003101450 patent/DE10301450A1/en not_active Withdrawn
-
2004
- 2004-01-05 EP EP04000045A patent/EP1437547A3/en not_active Withdrawn
Cited By (19)
| Publication number | Priority date | Publication date | Assignee | Title |
|---|---|---|---|---|
| US7419645B2 (en) | 2003-09-03 | 2008-09-02 | Fresenius Medical Care Deutschland Gmbh | Disinfecting and cleaning agent connection device |
| EP1514563A1 (en) * | 2003-09-03 | 2005-03-16 | Fresenius Medical Care Deutschland GmbH | Connection device for sterilant or cleaning agent |
| US7886392B2 (en) | 2006-08-15 | 2011-02-15 | Whirlpool Corporation | Method of sanitizing a fabric load with steam in a fabric treatment appliance |
| US7904981B2 (en) | 2006-08-15 | 2011-03-15 | Whirlpool Corporation | Water supply control for a steam generator of a fabric treatment appliance |
| US7913339B2 (en) | 2006-08-15 | 2011-03-29 | Whirlpool Corporation | Water supply control for a steam generator of a fabric treatment appliance using a temperature sensor |
| US7753009B2 (en) | 2006-10-19 | 2010-07-13 | Whirlpool Corporation | Washer with bio prevention cycle |
| US10844533B2 (en) | 2007-05-07 | 2020-11-24 | Whirlpool Corporation | Method for controlling a household washing machine |
| US11993886B2 (en) | 2007-05-07 | 2024-05-28 | Whirlpool Corporation | Method for controlling a household washing machine |
| CN105190182A (en) * | 2013-03-08 | 2015-12-23 | 松下知识产权经营株式会社 | Heating cooker |
| EP2966359A4 (en) * | 2013-03-08 | 2016-01-13 | Panasonic Ip Man Co Ltd | HEATED COOKING APPARATUS |
| CN105190182B (en) * | 2013-03-08 | 2017-07-11 | 松下知识产权经营株式会社 | heating cooker |
| US10492637B2 (en) | 2013-03-08 | 2019-12-03 | Panasonic Intellectual Property Management Co., Ltd. | Heating cooker |
| US20160150906A1 (en) * | 2014-11-27 | 2016-06-02 | Lg Electronics Inc. | Cooker and steam generator |
| US10851989B2 (en) * | 2014-11-27 | 2020-12-01 | Lg Electronics Inc. | Cooker and steam generator |
| KR20160063842A (en) * | 2014-11-27 | 2016-06-07 | 엘지전자 주식회사 | Steam generator and Cooker including the same |
| EP4137015A1 (en) * | 2017-07-12 | 2023-02-22 | Home Tech Innovation, Inc. | Food storage and cooking system |
| CN110594716A (en) * | 2019-10-15 | 2019-12-20 | 珠海格力电器股份有限公司 | Steam generator and steam box |
| CN111700492A (en) * | 2020-07-20 | 2020-09-25 | 珠海格力电器股份有限公司 | A waterway system for cooking equipment and cooking equipment |
| CN115507353A (en) * | 2021-06-22 | 2022-12-23 | 佛山市顺德区美的洗涤电器制造有限公司 | Scale detection method and steam generating system |
Also Published As
| Publication number | Publication date |
|---|---|
| EP1437547A3 (en) | 2005-05-04 |
| DE10301450A1 (en) | 2004-07-22 |
Similar Documents
| Publication | Publication Date | Title |
|---|---|---|
| EP1437547A2 (en) | Device for producing steam as well as its cleaning method and method for operating the same | |
| EP2324152B1 (en) | Device for cleaning a component, in particular an evaporator of a condenser device | |
| EP2207929B1 (en) | Method for operating a rinsing liquid device in a household appliance for cleaning pieces of laundry, and rinsing liquid device | |
| DE102007052835A1 (en) | Method and device for cleaning a component, in particular an evaporator of a condenser device, and laundry or tumble dryer with such a device | |
| EP1717518B1 (en) | Cooking device with a cooking chamber drain and a siphon | |
| EP2366315B1 (en) | System for generating steam for a domestic appliance and method for operating such a steam generation system | |
| EP2406420A1 (en) | Laundry drying unit having a lint screen arranged within a process air circuit and a method for operating said laundry drying unit | |
| DE2451339A1 (en) | COMBINATION OF A FULLY AUTOMATIC WASHING MACHINE WITH A CONDENSATION DRYER | |
| DE102007049061A1 (en) | Method and device for cleaning a component, in particular an evaporator of a condenser device, and laundry or tumble dryer with such a device | |
| EP2489299B1 (en) | Water-guiding household device with a storage container | |
| EP1980792A2 (en) | Method for cleaning a steamer and steamer therefor | |
| DE10310486B4 (en) | Top-guided return line system | |
| DE102005018861B4 (en) | Dishwasher and method of controlling a dishwasher | |
| DE3204412A1 (en) | HOUSEHOLD DRYER WITH AN ABOVE CONDENSATE COLLECTOR | |
| DE69521538T2 (en) | Device for regulating the level of washing liquid in a dishwasher | |
| DE3930835A1 (en) | Dishwasher etc. with storage container - for softened water emptied into work container, equipped with separator part containers | |
| DE1610285A1 (en) | Combined washing and drying machine | |
| EP1468640B1 (en) | Program-controlled dishwasher with overflow security system | |
| EP1861536B1 (en) | Detergent dispensing unit | |
| EP2489296A2 (en) | Method for filling a treatment area of a water-guiding household appliance | |
| DE19806700C2 (en) | Arrangement for drying dishes in a dishwasher | |
| CH695923A5 (en) | Kitchen equipment with steam generator e.g. for steam cooking devices, has steam generator, tray for admission of water and heater which can be lowered into tray | |
| EP2372014A1 (en) | Laundry drying device with a chamber pump and method for pumping condensate | |
| DE69819068T2 (en) | Dishwasher with a liquid metering device | |
| DE19716168C2 (en) | Plant and process for waste water use |
Legal Events
| Date | Code | Title | Description |
|---|---|---|---|
| PUAI | Public reference made under article 153(3) epc to a published international application that has entered the european phase |
Free format text: ORIGINAL CODE: 0009012 |
|
| AK | Designated contracting states |
Kind code of ref document: A2 Designated state(s): AT BE BG CH CY CZ DE DK EE ES FI FR GB GR HU IE IT LI LU MC NL PT RO SE SI SK TR |
|
| AX | Request for extension of the european patent |
Extension state: AL LT LV MK |
|
| PUAL | Search report despatched |
Free format text: ORIGINAL CODE: 0009013 |
|
| AK | Designated contracting states |
Kind code of ref document: A3 Designated state(s): AT BE BG CH CY CZ DE DK EE ES FI FR GB GR HU IE IT LI LU MC NL PT RO SE SI SK TR |
|
| AX | Request for extension of the european patent |
Extension state: AL LT LV MK |
|
| 17P | Request for examination filed |
Effective date: 20050826 |
|
| AKX | Designation fees paid |
Designated state(s): AT BE BG CH CY CZ DE DK EE ES FI FR GB GR HU IE IT LI LU MC NL PT RO SE SI SK TR |
|
| 17Q | First examination report despatched |
Effective date: 20070509 |
|
| STAA | Information on the status of an ep patent application or granted ep patent |
Free format text: STATUS: THE APPLICATION IS DEEMED TO BE WITHDRAWN |
|
| 18D | Application deemed to be withdrawn |
Effective date: 20070920 |
