[go: up one dir, main page]

EP1355386B1 - Round plug connector for shielded electrical cables - Google Patents

Round plug connector for shielded electrical cables Download PDF

Info

Publication number
EP1355386B1
EP1355386B1 EP03005857A EP03005857A EP1355386B1 EP 1355386 B1 EP1355386 B1 EP 1355386B1 EP 03005857 A EP03005857 A EP 03005857A EP 03005857 A EP03005857 A EP 03005857A EP 1355386 B1 EP1355386 B1 EP 1355386B1
Authority
EP
European Patent Office
Prior art keywords
contact element
insulating body
plug connector
bent
resilient end
Prior art date
Legal status (The legal status is an assumption and is not a legal conclusion. Google has not performed a legal analysis and makes no representation as to the accuracy of the status listed.)
Expired - Lifetime
Application number
EP03005857A
Other languages
German (de)
French (fr)
Other versions
EP1355386A1 (en
Inventor
Albert Ferderer
Hartmut Schwettmann
Current Assignee (The listed assignees may be inaccurate. Google has not performed a legal analysis and makes no representation or warranty as to the accuracy of the list.)
Harting Electric Stiftung and Co KG
Original Assignee
Harting Electric GmbH and Co KG
Priority date (The priority date is an assumption and is not a legal conclusion. Google has not performed a legal analysis and makes no representation as to the accuracy of the date listed.)
Filing date
Publication date
Family has litigation
First worldwide family litigation filed litigation Critical https://patents.darts-ip.com/?family=28458808&utm_source=google_patent&utm_medium=platform_link&utm_campaign=public_patent_search&patent=EP1355386(B1) "Global patent litigation dataset” by Darts-ip is licensed under a Creative Commons Attribution 4.0 International License.
Application filed by Harting Electric GmbH and Co KG filed Critical Harting Electric GmbH and Co KG
Publication of EP1355386A1 publication Critical patent/EP1355386A1/en
Application granted granted Critical
Publication of EP1355386B1 publication Critical patent/EP1355386B1/en
Anticipated expiration legal-status Critical
Expired - Lifetime legal-status Critical Current

Links

Images

Classifications

    • HELECTRICITY
    • H01ELECTRIC ELEMENTS
    • H01RELECTRICALLY-CONDUCTIVE CONNECTIONS; STRUCTURAL ASSOCIATIONS OF A PLURALITY OF MUTUALLY-INSULATED ELECTRICAL CONNECTING ELEMENTS; COUPLING DEVICES; CURRENT COLLECTORS
    • H01R13/00Details of coupling devices of the kinds covered by groups H01R12/70 or H01R24/00 - H01R33/00
    • H01R13/648Protective earth or shield arrangements on coupling devices, e.g. anti-static shielding  
    • H01R13/658High frequency shielding arrangements, e.g. against EMI [Electro-Magnetic Interference] or EMP [Electro-Magnetic Pulse]
    • H01R13/6591Specific features or arrangements of connection of shield to conductive members
    • H01R13/6597Specific features or arrangements of connection of shield to conductive members the conductive member being a contact of the connector
    • HELECTRICITY
    • H01ELECTRIC ELEMENTS
    • H01RELECTRICALLY-CONDUCTIVE CONNECTIONS; STRUCTURAL ASSOCIATIONS OF A PLURALITY OF MUTUALLY-INSULATED ELECTRICAL CONNECTING ELEMENTS; COUPLING DEVICES; CURRENT COLLECTORS
    • H01R13/00Details of coupling devices of the kinds covered by groups H01R12/70 or H01R24/00 - H01R33/00
    • H01R13/648Protective earth or shield arrangements on coupling devices, e.g. anti-static shielding  
    • H01R13/658High frequency shielding arrangements, e.g. against EMI [Electro-Magnetic Interference] or EMP [Electro-Magnetic Pulse]
    • H01R13/6591Specific features or arrangements of connection of shield to conductive members
    • H01R13/65912Specific features or arrangements of connection of shield to conductive members for shielded multiconductor cable

Definitions

  • the invention relates to a circular connector for shielded electrical cable with a carrier body arranged in an insulating body and a cable gland, consisting of a pressure / clamping part and a metallic screw, wherein when screwing the screw on the carrier body, the pressure / clamping member presses against the insulating body.
  • Such a connector is required in order to be able to use shielded electrical cables with a quick connection technology instead of hitherto unshielded cables and lines, which are connected to each other in non-critical areas by means of quick connection technology.
  • Connectors are known from the prior art, which pass either their shielding over a metallic or metallized shell or a center conductor to a mating connector. So is out of the DE 198 37 530 C1 a cable entry is known in which a shielded cable by means of an electrically conductive seal ring is contacted with an electrically conductive pressure screw.
  • the invention is therefore based on the object to form a connector of the type mentioned in that in the field of quick connect technology connectors with shielded electrical cables or conductors can be used, with either the shield on the metallic outer shell, an integrated center conductor or at the same time both conductive parts can be passed on. According to different specifications, shields are to be realized via the center conductor or the outer shell.
  • a contact element for contacting a cable shield of the electrical conductor, a contact element is provided, wherein the contact element is arranged on the side facing the cable connection side of the insulator, that the contact element is provided as a flat bent part with a bent, resilient end over engages a projection provided in a recess disposed axially in the outer wall of the insulating body, that the contact element is provided with an opening into which the cable shield is inserted, wherein the cable shield is received in the recess and clamped with the resilient end, and that the contact element with the bent, resilient end is arranged so that presses the bending edge of the resilient end against the inner wall of the screw when screwing the screw.
  • an already known connector by simple measures according to the invention off or can be retrofitted, and that when using a contact element, the shielding of an electrical conductor via an electrically conductive outer shell or z. B. is arranged in the center of the connector ladder or both forwarded to a mating connector.
  • a specially shaped contact element is integrated into an already known insulating body.
  • one side of the contact element to a built-in insulating contact part, while the other side is provided with an opening for the shielding braid to be twisted shielded electrical cable and a bent resilient contact end which clamps the Ablegeflecht in a recess provided in the insulating body.
  • the bent resilient contact end is shaped so that it comes into contact with a metallic screw sleeve surrounding the connector.
  • Fig.1 is shown in an exploded perspective view of a complete inventive connector 1. Starting from the bottom left to the top right, the following parts are shown. First, a metallic plug-in part 2, which can be screwed onto a mating connector, is latched with an insulating carrier body 3, in which contact elements, not further shown here, are held for signal transmission. Especially emphasized and shown is the contact part 10, the insulation displacement terminal 19 has at the connection-side part 14 in a corresponding, slot-shaped receptacle 21 of an insulating body 20. (See also Fig.
  • the contact part is formed from the two sections of a plug-side part 12 and a connection-side part 14, wherein the contact part can also be made in one piece.
  • the plug-side part has a plug pin 15 for contacting with a mating connector and a socket 16 into which a pin-shaped projection 17 of the connection-side part 14 can be inserted.
  • the part 14 is held by means of a locking spring 18 in the insulating body 20.
  • the second side of the connection-side part is designed as a cutting clamp 19, in which the contact element 25 is pressed with a bend 26 provided for this purpose.
  • the contact element 25 is formed as a U-shaped flat bent part with an asymmetrically arranged round opening 29 in the central region 27, bent by 90 ° bend 26 and bent over at least 35 ° to the central region resilient end 28.
  • the contact element is contacted on the Abwinklungsseite 26 in the receptacle 21 'with the insulation displacement terminal 19 and clamped on the other side with the bent resilient end 28 in the axially arranged recess 23 in the insulating body 30.
  • the insulating body 10 is rotated by about 180 ° and shown from the view of the pressure / clamping member 30, so that the position of the contact element 25 is made clear again on the surface of this Isolier Sciencesseite.
  • the axially arranged lateral recess 23 has a stepped structure and a projection 23 'is provided, around which the cable shield is to be guided, and over which engages the resilient end 28 of the contact part 25 in the recess 23 ,
  • a collar 32 is formed on the insulating body facing side of the pressure / clamping member 30, the raised polarizing means 34 which engage in corresponding recesses 24 in the insulating body 20. Furthermore, a further recess 36 is provided in the collar over the entire height of the collar into which the contact element 25 extends with the bent, resilient end 28.
  • the cable shield 52 is twisted before mounting the connector and threaded through the opening 29 in the contact element. Subsequently, the individual conductors 54 are inserted into the conductor guide channels 22 of the insulating part and the pressure / clamping part 30 is placed with the contact element 25 on the insulating body 20.
  • the twisted cable shield is inserted into the axially formed on the outer wall of the insulating recess 23, wherein the bent, resilient end 28 presses the twisted cable shield into the recess.
  • About the insulator protruding single conductor ends 54 and cable shielding are cut off and pushed insulating body with cable gland in the support body 3.
  • the individual conductors guided in the conductor guide channels are cut by the insulation displacement contacts which are firmly inserted in the support body (not shown here) and at the same time an electrically conductive connection to the contact part 10 is produced. Subsequently, the screw sleeve 40 is pushed and screwed to the carrier body 3.
  • the bent, resilient end 28 is inserted into a groove 5 provided in the carrier body and with the bending edge 28 'pressed against the inner wall 42 of the external screw, so that in addition to an internal shield hereby also a second electrically conductive outer shield via the screw 40 takes place.
  • this shielding is only active when the sleeve 45 is pulled over the threaded sleeve 40 and the male part 2, so that the insulating part of the support body 3 is bridged, as in the Fig. 3 shown in the connector 1 shown completely.
  • FIG. 4 is shown in detail how the contact member 25 presses with its bending edge 28 'against the inner wall 42 of the metallic screw 40 to pass on the potential of the cable shield 52, which is guided through the opening 29 and abuts the resilient end 28.
  • the cutting clamp 19 is contacted, which is positioned in the receptacle 21.

Landscapes

  • Details Of Connecting Devices For Male And Female Coupling (AREA)
  • Coupling Device And Connection With Printed Circuit (AREA)

Description

Die Erfindung betrifft einen Rundsteckverbinder für abgeschirmte elektrische Kabel mit einem in einem Trägerkörper angeordneten Isolierkörper und einer Kabelverschraubung, bestehend aus einem Druck/Klemmteil und einer metallischen Schraubhülse, wobei beim Aufschrauben der Schraubhülse auf den Trägerkörper, das Druck/Klemmteil gegen den Isolierkörper drückt.The invention relates to a circular connector for shielded electrical cable with a carrier body arranged in an insulating body and a cable gland, consisting of a pressure / clamping part and a metallic screw, wherein when screwing the screw on the carrier body, the pressure / clamping member presses against the insulating body.

Ein derartiger Steckverbinder wird benötigt, um anstelle bisher ungeschirmter Kabel und Leitungen, die in unkritischen Bereichen mittels Schnellanschlusstechnik miteinander verbunden werden, abgeschirmte elektrische Kabel mit einer Schnellanschlusstechnik nutzen zu können.Such a connector is required in order to be able to use shielded electrical cables with a quick connection technology instead of hitherto unshielded cables and lines, which are connected to each other in non-critical areas by means of quick connection technology.

Aus dem Stand der Technik sind Steckverbinder bekannt, die entweder ihre Abschirmung über eine metallische oder metallisierte Hülle oder über einen Mittelleiter an einen Gegenstecker weitergeben.
So ist aus der DE 198 37 530 C1 eine Kabeleinführung bekannt bei der ein geschirmtes Kabel mittels eines elektrisch leitenden Gleitringes erfolgt, der mit einer elektrisch leitenden Druckschraube kontaktiert.
Connectors are known from the prior art, which pass either their shielding over a metallic or metallized shell or a center conductor to a mating connector.
So is out of the DE 198 37 530 C1 a cable entry is known in which a shielded cable by means of an electrically conductive seal ring is contacted with an electrically conductive pressure screw.

Der Erfindung liegt daher die Aufgabe zugrunde, einen Steckverbinder der eingangs genannten Art dahingehend auszubilden, dass auch im Bereich der Schnellanschlusstechnik Steckverbinder mit abgeschirmten elektrischen Kabeln oder Leitern verwendet werden können, wobei wahlweise die Abschirmung über die metallische Außenhülle, über einen integrierten Mittelleiter oder gleichzeitig über beide leitende Teile weitergegeben werden kann. Gemäß unterschiedlicher Vorgaben sind Abschirmungen über den Mittelleiter oder die Außenhülle zu realisieren.The invention is therefore based on the object to form a connector of the type mentioned in that in the field of quick connect technology connectors with shielded electrical cables or conductors can be used, with either the shield on the metallic outer shell, an integrated center conductor or at the same time both conductive parts can be passed on. According to different specifications, shields are to be realized via the center conductor or the outer shell.

Diese Aufgabe wird dadurch gelöst, dass zur Kontaktierung einer Kabelschirmung des elektrischen Leiters ein Kontaktelement vorgesehen ist, wobei das Kontaktelement auf der zum Kabelanschluss weisenden Seite des Isolierkörpers angeordnet ist, dass das Kontaktelement als flaches Biegeteil mit einem umgebogenen, federnden Ende versehen ist, das über einen Vorsprung greift, der in einer axial in der Außenwandung des Isolierkörpers angeordneten Ausnehmung vorgesehen ist, dass das Kontaktelement mit einer Öffnung versehen ist, in die die Kabelschirmung eingeführt ist, wobei die Kabelschirmung in der Ausnehmung aufgenommen ist und mit dem federnden Ende festgeklemmt ist, und dass das Kontaktelement mit dem umgebogenen, federnden Ende so angeordnet ist, das beim Aufschrauben der Schraubhülse die Biegekante des federnden Endes gegen die Innenwand der Schraubhülse drückt.This object is achieved in that for contacting a cable shield of the electrical conductor, a contact element is provided, wherein the contact element is arranged on the side facing the cable connection side of the insulator, that the contact element is provided as a flat bent part with a bent, resilient end over engages a projection provided in a recess disposed axially in the outer wall of the insulating body, that the contact element is provided with an opening into which the cable shield is inserted, wherein the cable shield is received in the recess and clamped with the resilient end, and that the contact element with the bent, resilient end is arranged so that presses the bending edge of the resilient end against the inner wall of the screw when screwing the screw.

Vorteilhafte Ausgestaltungen der Erfindung sind in den Ansprüchen 2 - 5 angegeben.Advantageous embodiments of the invention are specified in claims 2-5.

Die mit der Erfindung erzielten Vorteile bestehen insbesondere darin, dass ein schon bekannter Steckverbinder durch einfache Maßnahmen erfindungsgemäß aus- bzw. umgerüstet werden kann, und dass bei Einsatz eines Kontaktelementes die Schirmung eines elektrischen Leiters über eine elektrisch leitende Außenhülle oder z. B. einen im Zentrum des Steckverbinders angeordneten Leiter oder über beide an einen Gegenstecker weitergeleitet wird. Dabei wird ein speziell geformtes Kontaktelement in einen bereits bekannten Isolierkörper integriert.
Dabei weist die eine Seite des Kontaktelementes zu einem im Isolierkörper integrierten Kontaktteil, während die andere Seite, mit einer Öffnung für das zu verdrillende Abschirmgeflecht des geschirmten elektrischen Kabels versehen ist sowie einem umgebogenen federnden Kontaktende, das das Abschirmgeflecht in einer im Isolierkörper vorgesehenen Ausnehmung festklemmt.
The advantages achieved by the invention are, in particular, that an already known connector by simple measures according to the invention off or can be retrofitted, and that when using a contact element, the shielding of an electrical conductor via an electrically conductive outer shell or z. B. is arranged in the center of the connector ladder or both forwarded to a mating connector. In this case, a specially shaped contact element is integrated into an already known insulating body.
In this case, one side of the contact element to a built-in insulating contact part, while the other side is provided with an opening for the shielding braid to be twisted shielded electrical cable and a bent resilient contact end which clamps the Abschirmgeflecht in a recess provided in the insulating body.

Das umgebogene federnde Kontaktende ist dabei so geformt, dass es mit einer den Steckverbinder umgebenden metallischen Schraubhülse in Kontakt gelangt.The bent resilient contact end is shaped so that it comes into contact with a metallic screw sleeve surrounding the connector.

Ein Ausführungsbeispiel der Erfindung ist in der Zeichnung dargestellt und wird im folgenden näher erläutert. Es zeigen:

Fig. 1
einen Rundsteckverbinder in einer auseinandergezogenen Darstellung,
Fig. 2a
elektrische Verbindung des Innenleiters in einer auseinandergezogenen Darstellung,
Fig. 2b
einen Isolierkörper mit einem Kontaktelement um 180° gegenüber der Fig. 2a gedreht,
Fig. 3
eine isometrische Darstellung eines kompletten Rundsteckverbinders, und
Fig. 4
eine Detaildarstellung der Kontaktierung zwischen dem Kontaktelement und der Hülse.
An embodiment of the invention is illustrated in the drawing and will be explained in more detail below. Show it:
Fig. 1
a circular connector in an exploded view,
Fig. 2a
electrical connection of the inner conductor in an exploded view,
Fig. 2b
an insulating body with a contact element 180 ° relative to the Fig. 2a turned,
Fig. 3
an isometric view of a complete circular connector, and
Fig. 4
a detailed representation of the contact between the contact element and the sleeve.

In der Fig.1 ist in einer auseinandergezogenen perspektivischen Darstellung ein kompletter erfindungsgemäßer Steckverbinder 1 gezeigt. Von links unten beginnend nach rechts oben sind folgende Teile dargestellt. Zunächst ist ein metallisches und auf einen Gegenstecker schraubbares Steckteil 2 mit einem isolierenden Trägerkörper 3 verrastet, in dem hier nicht weiter dargestellte Kontaktelemente für eine Signalübertragung gehalten sind.
Speziell herausgehoben und gezeigt ist das Kontaktteil 10, dessen Schneidklemme 19 am anschlussseitigen Teil 14 in eine entsprechende, schlitzförmige Aufnahme 21 eines Isolierkörpers 20 weist. (Siehe auch Fig. 2a) Auf den Isolierkörper, in dem auch Leiterführungskanäle 22 vorgesehen sind, in denen signalführende elektrische Einzelleiter 54 geführt sind, folgt ein Druck/Klemmteil 30, mit dem das elektrische Kabel 50 gegen Auszug aus dem Steckverbinder 1 gesichert ist.
Zwischen dem Isolierkörper und der Kabelverschraubung ist ein Kontaktelement 25 eingefügt, das weiter unten erklärt wird.
Darauf folgt eine metallische Schraubhülse 40 mit der der Steckverbinder nach dem Aufschrauben auf das Trägergehäuse 3 zusammengehalten wird sowie eine Schirmhülse 45, die bei entsprechender Positionierung den elektrischen Kontakt von der Schraubhülse 40 über den isolierenden Trägerkörper 3 zum metallischen Steckteil 2 weiterleitet.
In the Fig.1 is shown in an exploded perspective view of a complete inventive connector 1. Starting from the bottom left to the top right, the following parts are shown. First, a metallic plug-in part 2, which can be screwed onto a mating connector, is latched with an insulating carrier body 3, in which contact elements, not further shown here, are held for signal transmission.
Especially emphasized and shown is the contact part 10, the insulation displacement terminal 19 has at the connection-side part 14 in a corresponding, slot-shaped receptacle 21 of an insulating body 20. (See also Fig. 2a ) On the insulating body, in which conductor guide channels 22 are provided, in which signal-carrying electrical single conductor 54 are guided, followed by a pressure / clamping member 30, with which the electrical cable 50 is secured against extract from the connector 1.
Between the insulating body and the cable gland, a contact element 25 is inserted, which will be explained below.
This is followed by a metallic screw sleeve 40 with which the connector is held together after screwing onto the carrier housing 3 and a shielding sleeve 45, which passes the electrical contact of the threaded sleeve 40 on the insulating carrier body 3 to the metallic plug-in part 2 with appropriate positioning.

In der Fig. 2a ist das bereits in Fig. 1 angedeutete Kontaktteil 10 mit seinen relevanten Einzelteilen gezeigt. Das Kontaktteil wird aus den beiden Teilstücken eines steckseitigen Teiles 12 und eines anschlussseitigen Teiles 14 gebildet, wobei das Kontaktteil auch einstückig gefertigt sein kann.
Das steckseitige Teil weist einen Steckstift 15 zur Kontaktierung mit einem Gegenstecker und eine Buchse 16 auf, in die ein stiftförmiger Ansatz 17 des anschlussseitigen Teiles 14 einfügbar ist. Das Teil 14 wird mittels einer Arretierungsfeder 18 im Isolierkörper 20 festgehalten. Die zweite Seite des anschlussseitigen Teiles ist als Schneidklemme 19 ausgebildet, in die das Kontaktelement 25 mit einer dazu vorgesehenen Abwinklung 26 eingedrückt wird.
Das Kontaktelement 25 ist als U-förmiges flaches Biegeteil mit einer asymmetrisch angeordneten runden Öffnung 29 im mittleren Bereich 27, einer um 90° abgebogenen Abwinklung 26 und einem auf mindestens 35° zum mittleren Bereich umgebogenen federnden Ende 28 ausgebildet.
Bei der Montage wird das Kontaktelement auf der Abwinklungsseite 26 in der Aufnahme 21' mit der Schneidklemme 19 kontaktiert und auf der anderen Seite mit dem umgebogenen federnden Ende 28 in der axial angeordneten Ausnehmung 23 im Isolierkörper 30 eingeklemmt.
In the Fig. 2a is that already in Fig. 1 indicated contact part 10 shown with its relevant items. The contact part is formed from the two sections of a plug-side part 12 and a connection-side part 14, wherein the contact part can also be made in one piece.
The plug-side part has a plug pin 15 for contacting with a mating connector and a socket 16 into which a pin-shaped projection 17 of the connection-side part 14 can be inserted. The part 14 is held by means of a locking spring 18 in the insulating body 20. The second side of the connection-side part is designed as a cutting clamp 19, in which the contact element 25 is pressed with a bend 26 provided for this purpose.
The contact element 25 is formed as a U-shaped flat bent part with an asymmetrically arranged round opening 29 in the central region 27, bent by 90 ° bend 26 and bent over at least 35 ° to the central region resilient end 28.
During assembly, the contact element is contacted on the Abwinklungsseite 26 in the receptacle 21 'with the insulation displacement terminal 19 and clamped on the other side with the bent resilient end 28 in the axially arranged recess 23 in the insulating body 30.

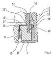
In der Fig. 2b ist der Isolierkörper 10 um etwa 180° gedreht und aus Sicht des Druck/Klemmteiles 30 gezeigt, so dass die Lage des Kontaktelementes 25 auf der Oberfläche dieser Isolierkörperseite noch einmal verdeutlicht wird. Dabei ist auch zu erkennen, dass die axial angeordnete, seitliche Ausnehmung 23 eine treppenförmige Struktur aufweist sowie ein Vorsprung 23' vorgesehen ist, um den herum die Kabelschirmung zu führen ist, und über die das federnde Ende 28 des Kontaktteiles 25 in die Ausnehmung 23 greift.In the Fig. 2b the insulating body 10 is rotated by about 180 ° and shown from the view of the pressure / clamping member 30, so that the position of the contact element 25 is made clear again on the surface of this Isolierkörperseite. It can also be seen that the axially arranged lateral recess 23 has a stepped structure and a projection 23 'is provided, around which the cable shield is to be guided, and over which engages the resilient end 28 of the contact part 25 in the recess 23 ,

Wie weiterhin aus der Fig. 2a zu erkennen, ist an der zum Isolierkörper weisenden Seite des Druck/Klemmteiles 30 ein Kragen 32 angeformt, der erhabene Polarisationsmittel 34 aufweist, die in entsprechende Ausnehmungen 24 im Isolierkörper 20 eingreifen.
Weiterhin ist im Kragen eine weitere Ausnehmung 36 über die gesamte Höhe des Kragens vorgesehen, in die das Kontaktelement 25 mit dem umgebogenen, federnden Ende 28 hineinreicht.
Die Kabelschirmung 52 wird vor der Montage des Steckverbinders verdrillt und durch die Öffnung 29 im Kontaktelement gefädelt.
Anschließend werden die Einzelleiter 54 in die Leiterführungskanäle 22 des Isolierteiles eingeschoben und das Druck/Klemmteil 30 mit dem Kontaktelement 25 auf den Isolierkörper 20 aufgesetzt.
Dabei wird die verdrillte Kabelschirmung in die axial an der Außenwandung des Isolierkörpers eingeformte Ausnehmung 23 eingelegt, wobei das umgebogene, federnde Ende 28 die verdrillte Kabelschirmung in die Ausnehmung presst.
Über den Isolierkörper hinausragende Einzelleiterenden 54 sowie Kabelschirmung werden abgeschnitten und Isolierkörper mit Kabelverschraubung in den Trägerkörper 3 geschoben. Dabei werden die in den Leiterführungskanälen geführten Einzelleiter durch die im Trägerkörper fest eingefügten (hier nicht gezeigten) Schneidklemmkontakte geschnitten und gleichzeitig eine elektrisch leitende Verbindung zu dem Kontaktteil 10 hergestellt. Anschließend wird die Schraubhülse 40 aufgeschoben und mit dem Trägerkörper 3 verschraubt. Dabei wird das umgebogene, federnde Ende 28 in eine dafür vorgesehene Nut 5 im Trägerkörper eingefügt und mit der Biegekante 28' gegen die Innenwandung 42 der Außenverschraubung gedrückt, so dass neben einer innenliegenden Abschirmung hiermit auch eine zweite elektrisch leitende Außenabschirmung über die Schraubhülse 40 erfolgt. Diese Abschirmung wird jedoch erst aktiv, wenn die Hülse 45 über die Schraubhülse 40 und das Steckteil 2 gezogen wird, so dass der isolierende Teil des Trägerkörpers 3 überbrückt ist, wie in der Fig. 3 bei dem komplett dargestellten Steckverbinder 1 gezeigt.
As continues from the Fig. 2a can be seen, a collar 32 is formed on the insulating body facing side of the pressure / clamping member 30, the raised polarizing means 34 which engage in corresponding recesses 24 in the insulating body 20.
Furthermore, a further recess 36 is provided in the collar over the entire height of the collar into which the contact element 25 extends with the bent, resilient end 28.
The cable shield 52 is twisted before mounting the connector and threaded through the opening 29 in the contact element.
Subsequently, the individual conductors 54 are inserted into the conductor guide channels 22 of the insulating part and the pressure / clamping part 30 is placed with the contact element 25 on the insulating body 20.
In this case, the twisted cable shield is inserted into the axially formed on the outer wall of the insulating recess 23, wherein the bent, resilient end 28 presses the twisted cable shield into the recess.
About the insulator protruding single conductor ends 54 and cable shielding are cut off and pushed insulating body with cable gland in the support body 3. The individual conductors guided in the conductor guide channels are cut by the insulation displacement contacts which are firmly inserted in the support body (not shown here) and at the same time an electrically conductive connection to the contact part 10 is produced. Subsequently, the screw sleeve 40 is pushed and screwed to the carrier body 3. The bent, resilient end 28 is inserted into a groove 5 provided in the carrier body and with the bending edge 28 'pressed against the inner wall 42 of the external screw, so that in addition to an internal shield hereby also a second electrically conductive outer shield via the screw 40 takes place. However, this shielding is only active when the sleeve 45 is pulled over the threaded sleeve 40 and the male part 2, so that the insulating part of the support body 3 is bridged, as in the Fig. 3 shown in the connector 1 shown completely.

In der Fig. 4 ist im Detail gezeigt, wie das Kontaktelement 25 mit seiner Biegekante 28' gegen die Innenwandung 42 der metallischen Schraubhülse 40 drückt, um das Potenzial der Kabelschirmung 52 weiterzuleiten, die durch die Öffnung 29 geführt ist und an dem federnden Ende 28 anliegt.
Auf der anderen Seite des Kontaktelentes 25 wird mit der Abwinklung 26, die in der Aufnahme 21' eingefügt ist, die Schneidklemme 19 kontaktiert, die in der Aufnahme 21 positioniert ist.
In the Fig. 4 is shown in detail how the contact member 25 presses with its bending edge 28 'against the inner wall 42 of the metallic screw 40 to pass on the potential of the cable shield 52, which is guided through the opening 29 and abuts the resilient end 28.
On the other side of the contact element 25, with the bend 26, which is inserted in the receptacle 21 ', the cutting clamp 19 is contacted, which is positioned in the receptacle 21.

Es besteht also die Möglichkeit das Potenzial der Abschirmung innerhalb des Steckverbinders mittels des Kontaktteiles 10 und des Kontaktelementes 25 oder über die Außenhülle mittels der Schraubhülse 40 und der Hülse 45 oder über beide Maßnahmen zu übertragen.It is therefore possible to transfer the potential of the shield within the connector by means of the contact part 10 and the contact element 25 or over the outer shell by means of the threaded sleeve 40 and the sleeve 45 or both measures.

Claims (5)

  1. A circular plug connector for shielded electric cables (50), comprising an insulating body (20) arranged in a carrier body (3) and a screwed cable gland, consisting of a pressure/clamping part (30) and a metallic threaded sleeve (40), the pressure/clamping part pressing against the insulating body when the threaded sleeve is screwed onto the carrier body,
    including a contact element (25) provided for contacting a cable shielding (52) of the electrical conductor (50), the contact element being arranged on the side of the insulating body (20) facing the cable connection, characterized in that
    the contact element (25) is in the form of a flat bent part provided with a bent-over, resilient end (28) which engages over a projection (23') provided in a recess (23) that is axially arranged in the outer wall of the insulating body,
    the contact element (25) is provided with an opening (29) in which the cable shielding (52) is inserted, the cable shielding being received in the recess (23) and clamped in place by means of the bent-over, resilient end (28), and
    the contact element (25) with the bent-over, resilient end (28) is arranged such that when the threaded sleeve (40) is screwed on, the bending edge (28') of the resilient end presses against the inner wall (42) of the threaded sleeve.
  2. The plug connector according to claim 1, characterized in that
    opposite the resilient end (28), the contact element (25) includes an angled portion (26) which dives into a slot-shaped seat (21') in the insulating body (20).
  3. The plug connector according to claim 1 or 2, characterized in that
    arranged in the slot (21) is an insulation displacement termination (19) which contacts the angled portion (26) of the contact element (25).
  4. The plug connector according to any of the preceding claims, characterized in that
    the insulating body (20) and the pressure/clamping part (30) have cooperating polarizing means (24, 34) provided thereon.
  5. The plug connector according to any of the preceding claims, characterized in that
    the insulating body (20) is provided as a conductor guide part for electrical conductors (54) which are contacted by insulation displacement contacts in appropriately shaped conductor guide ducts (22).
EP03005857A 2002-04-13 2003-03-15 Round plug connector for shielded electrical cables Expired - Lifetime EP1355386B1 (en)

Applications Claiming Priority (2)

Application Number Priority Date Filing Date Title
DE10216483A DE10216483C1 (en) 2002-04-13 2002-04-13 Circular connectors for shielded electrical cables
DE10216483 2002-04-13

Publications (2)

Publication Number Publication Date
EP1355386A1 EP1355386A1 (en) 2003-10-22
EP1355386B1 true EP1355386B1 (en) 2010-07-28

Family

ID=28458808

Family Applications (1)

Application Number Title Priority Date Filing Date
EP03005857A Expired - Lifetime EP1355386B1 (en) 2002-04-13 2003-03-15 Round plug connector for shielded electrical cables

Country Status (4)

Country Link
US (1) US6716041B2 (en)
EP (1) EP1355386B1 (en)
JP (1) JP3860557B2 (en)
DE (2) DE10216483C1 (en)

Families Citing this family (64)

* Cited by examiner, † Cited by third party
Publication number Priority date Publication date Assignee Title
DE20318593U1 (en) 2003-12-02 2004-02-26 Harting Electric Gmbh & Co. Kg Arrangement of an element in a circular connector
US7515693B2 (en) 2004-08-06 2009-04-07 Powerphone, Inc. Call handler systems and methods
JP4516819B2 (en) * 2004-10-20 2010-08-04 株式会社オーディオテクニカ Condenser microphone
US8157589B2 (en) 2004-11-24 2012-04-17 John Mezzalingua Associates, Inc. Connector having a conductively coated member and method of use thereof
US7114990B2 (en) 2005-01-25 2006-10-03 Corning Gilbert Incorporated Coaxial cable connector with grounding member
US20070161299A1 (en) * 2006-01-07 2007-07-12 Kuo-Hsiung Chen Structure for firmly combining cables with clamping element
DE202006011850U1 (en) * 2006-08-02 2006-10-05 Harting Electric Gmbh & Co. Kg Contact element for screened plug connector linking screen of electric cable to plug connector has sectionally openable conductive wall segment of cable support part in free section
TWI422105B (en) * 2008-06-13 2014-01-01 Furutech Co Ltd Power plug
US8075337B2 (en) 2008-09-30 2011-12-13 Belden Inc. Cable connector
US8025518B2 (en) 2009-02-24 2011-09-27 Corning Gilbert Inc. Coaxial connector with dual-grip nut
US7824216B2 (en) 2009-04-02 2010-11-02 John Mezzalingua Associates, Inc. Coaxial cable continuity connector
US8573996B2 (en) 2009-05-22 2013-11-05 Ppc Broadband, Inc. Coaxial cable connector having electrical continuity member
US8287320B2 (en) 2009-05-22 2012-10-16 John Mezzalingua Associates, Inc. Coaxial cable connector having electrical continuity member
US8444445B2 (en) 2009-05-22 2013-05-21 Ppc Broadband, Inc. Coaxial cable connector having electrical continuity member
US9570845B2 (en) 2009-05-22 2017-02-14 Ppc Broadband, Inc. Connector having a continuity member operable in a radial direction
US9017101B2 (en) 2011-03-30 2015-04-28 Ppc Broadband, Inc. Continuity maintaining biasing member
US8272893B2 (en) 2009-11-16 2012-09-25 Corning Gilbert Inc. Integrally conductive and shielded coaxial cable connector
TWI549386B (en) 2010-04-13 2016-09-11 康寧吉伯特公司 Coaxial connector with inhibited ingress and improved grounding
DE102010017265B4 (en) * 2010-06-07 2012-03-01 Phoenix Contact Gmbh & Co. Kg A cable termination device and method for connecting a cable to a cable termination device
US8888526B2 (en) 2010-08-10 2014-11-18 Corning Gilbert, Inc. Coaxial cable connector with radio frequency interference and grounding shield
US8167636B1 (en) * 2010-10-15 2012-05-01 John Mezzalingua Associates, Inc. Connector having a continuity member
US8323053B2 (en) 2010-10-18 2012-12-04 John Mezzalingua Associates, Inc. Connector having a constant contact nut
US8167635B1 (en) 2010-10-18 2012-05-01 John Mezzalingua Associates, Inc. Dielectric sealing member and method of use thereof
TWI558022B (en) 2010-10-27 2016-11-11 康寧吉伯特公司 Push-on cable connector with a coupler and retention and release mechanism
US8337229B2 (en) 2010-11-11 2012-12-25 John Mezzalingua Associates, Inc. Connector having a nut-body continuity element and method of use thereof
US8414322B2 (en) 2010-12-14 2013-04-09 Ppc Broadband, Inc. Push-on CATV port terminator
US8398421B2 (en) 2011-02-01 2013-03-19 John Mezzalingua Associates, Inc. Connector having a dielectric seal and method of use thereof
US8157588B1 (en) 2011-02-08 2012-04-17 Belden Inc. Cable connector with biasing element
US8465322B2 (en) 2011-03-25 2013-06-18 Ppc Broadband, Inc. Coaxial cable connector
US8342879B2 (en) 2011-03-25 2013-01-01 John Mezzalingua Associates, Inc. Coaxial cable connector
US8366481B2 (en) 2011-03-30 2013-02-05 John Mezzalingua Associates, Inc. Continuity maintaining biasing member
US8388377B2 (en) 2011-04-01 2013-03-05 John Mezzalingua Associates, Inc. Slide actuated coaxial cable connector
US8348697B2 (en) 2011-04-22 2013-01-08 John Mezzalingua Associates, Inc. Coaxial cable connector having slotted post member
WO2012162431A2 (en) 2011-05-26 2012-11-29 Belden Inc. Coaxial cable connector with conductive seal
US9711917B2 (en) 2011-05-26 2017-07-18 Ppc Broadband, Inc. Band spring continuity member for coaxial cable connector
US8758050B2 (en) 2011-06-10 2014-06-24 Hiscock & Barclay LLP Connector having a coupling member for locking onto a port and maintaining electrical continuity
US8591244B2 (en) 2011-07-08 2013-11-26 Ppc Broadband, Inc. Cable connector
US9190744B2 (en) 2011-09-14 2015-11-17 Corning Optical Communications Rf Llc Coaxial cable connector with radio frequency interference and grounding shield
US20130072057A1 (en) 2011-09-15 2013-03-21 Donald Andrew Burris Coaxial cable connector with integral radio frequency interference and grounding shield
US9147955B2 (en) 2011-11-02 2015-09-29 Ppc Broadband, Inc. Continuity providing port
DE102011056715A1 (en) * 2011-12-20 2013-06-20 Telegärtner Karl Gärtner GmbH Cable connecting device
US9136654B2 (en) 2012-01-05 2015-09-15 Corning Gilbert, Inc. Quick mount connector for a coaxial cable
US9407016B2 (en) 2012-02-22 2016-08-02 Corning Optical Communications Rf Llc Coaxial cable connector with integral continuity contacting portion
US9287659B2 (en) 2012-10-16 2016-03-15 Corning Optical Communications Rf Llc Coaxial cable connector with integral RFI protection
US9147963B2 (en) * 2012-11-29 2015-09-29 Corning Gilbert Inc. Hardline coaxial connector with a locking ferrule
US9153911B2 (en) 2013-02-19 2015-10-06 Corning Gilbert Inc. Coaxial cable continuity connector
US9172154B2 (en) 2013-03-15 2015-10-27 Corning Gilbert Inc. Coaxial cable connector with integral RFI protection
CN103199397A (en) * 2013-03-27 2013-07-10 江苏宏信电子科技有限公司 Radio frequency coaxial connector
US9052469B2 (en) 2013-04-26 2015-06-09 Corning Cable Systems Llc Preterminated fiber optic connector sub-assemblies, and related fiber optic connectors, cable assemblies, and methods
US10290958B2 (en) 2013-04-29 2019-05-14 Corning Optical Communications Rf Llc Coaxial cable connector with integral RFI protection and biasing ring
DK3000154T3 (en) 2013-05-20 2019-07-22 Corning Optical Comm Rf Llc COAXIAL CABLE CONNECTOR WITH INTEGRAL RFI PROTECTION
US9548557B2 (en) 2013-06-26 2017-01-17 Corning Optical Communications LLC Connector assemblies and methods of manufacture
US9048599B2 (en) 2013-10-28 2015-06-02 Corning Gilbert Inc. Coaxial cable connector having a gripping member with a notch and disposed inside a shell
TWM482872U (en) * 2014-03-25 2014-07-21 Amphenol Ltw Technology Co Ltd Connection structure of insulation-piercing connector
DE102014109040B4 (en) * 2014-06-27 2016-03-10 Phoenix Contact Gmbh & Co. Kg Cable connection component, cable connection device, cable connection device and mounting method
WO2016073309A1 (en) 2014-11-03 2016-05-12 Corning Optical Communications Rf Llc Coaxial cable connector with integral rfi protection
US10033122B2 (en) 2015-02-20 2018-07-24 Corning Optical Communications Rf Llc Cable or conduit connector with jacket retention feature
US9590287B2 (en) 2015-02-20 2017-03-07 Corning Optical Communications Rf Llc Surge protected coaxial termination
US10211547B2 (en) 2015-09-03 2019-02-19 Corning Optical Communications Rf Llc Coaxial cable connector
US10396474B2 (en) 2015-11-19 2019-08-27 Corning Optical Communications Rf Llc Coaxial cable connector
US9525220B1 (en) 2015-11-25 2016-12-20 Corning Optical Communications LLC Coaxial cable connector
CN108616015B (en) * 2016-12-12 2020-04-24 富士康(昆山)电脑接插件有限公司 Electric connector and assembly thereof
CN110611291B (en) * 2018-09-30 2021-05-18 中航光电科技股份有限公司 connector
US12034264B2 (en) 2021-03-31 2024-07-09 Corning Optical Communications Rf Llc Coaxial cable connector assemblies with outer conductor engagement features and methods for using the same

Family Cites Families (7)

* Cited by examiner, † Cited by third party
Publication number Priority date Publication date Assignee Title
US3015794A (en) * 1956-03-30 1962-01-02 Bendix Corp Electrical connector with grounding strip
US5310359A (en) * 1993-06-10 1994-05-10 Molex Incorporated Cable connector with strain relief
CA2135578A1 (en) * 1993-11-17 1995-05-18 Julio F. Rodrigues Electrical connector having a conductor holding block
US6116955A (en) * 1995-05-05 2000-09-12 The Boeing Company EMI terminating and grounding strain relief clamp assembly
DE29621436U1 (en) * 1996-12-10 1997-02-27 Chen, Michael Y., Taipei Fully shielded electrical socket assembly
JP3485150B2 (en) * 1997-07-02 2004-01-13 矢崎総業株式会社 Shield connector
DE19837530C5 (en) * 1998-05-28 2005-09-08 Harting Electric Gmbh & Co. Kg cable entry

Also Published As

Publication number Publication date
EP1355386A1 (en) 2003-10-22
US6716041B2 (en) 2004-04-06
DE50312922D1 (en) 2010-09-09
US20030194890A1 (en) 2003-10-16
JP2003317875A (en) 2003-11-07
DE10216483C1 (en) 2003-11-20
JP3860557B2 (en) 2006-12-20

Similar Documents

Publication Publication Date Title
EP1355386B1 (en) Round plug connector for shielded electrical cables
DE102009021594B4 (en) Electrical connector and electrical connector and method for connecting the remainder of a multicore cable to an electrical connector
EP1239550B1 (en) Plug connector
EP1926179B1 (en) Connector for assembled electric conductors
EP2797175B1 (en) Connector for a data and/or telecommunication cable comprising several wires
DE102008006340A1 (en) Connector assembly with molded shielded housing
EP3959781B1 (en) Plug connector and plug connector assembly
AT504850B1 (en) ELECTRICAL CABLE WITH BOTH CABLE CONNECTED CABLE PLUG CONNECTORS
EP1912294A2 (en) Shield contact for a connector housing
EP2731201B1 (en) Electrical connector and method for assembling parts of an electrical connector
DE9214719U1 (en) Shielded connector with cable connection
EP3116074B1 (en) Plug socket module
DE3201142C2 (en)
EP2417675B1 (en) Plug system housing for multi-core cables
DE102017222809B4 (en) Electrical connector and connector
DE19751786A1 (en) Round plug connector for screened electrical cable
EP1467441A2 (en) Connector for quick connection in collet attachment technologie
EP2071676A2 (en) Connector assembly
DE202007011829U1 (en) contact element
EP1538714A1 (en) Arrangement for a contact element in a circular connector
DE202012101303U1 (en) connector housing
DE19803677B4 (en) Electrical connector housing
DE102022203174B3 (en) Circular connector and method of making a circular connector
EP3954002A1 (en) Discharging plug for a battery of an electric bicycle
DE202017107625U1 (en) Electrical connector

Legal Events

Date Code Title Description
PUAI Public reference made under article 153(3) epc to a published international application that has entered the european phase

Free format text: ORIGINAL CODE: 0009012

AK Designated contracting states

Kind code of ref document: A1

Designated state(s): AT BE BG CH CY CZ DE DK EE ES FI FR GB GR HU IE IT LI LU MC NL PT SE SI SK TR

AX Request for extension of the european patent

Extension state: AL LT LV MK RO

17P Request for examination filed

Effective date: 20040213

AKX Designation fees paid

Designated state(s): CH DE ES FR GB IT LI

GRAP Despatch of communication of intention to grant a patent

Free format text: ORIGINAL CODE: EPIDOSNIGR1

GRAS Grant fee paid

Free format text: ORIGINAL CODE: EPIDOSNIGR3

GRAA (expected) grant

Free format text: ORIGINAL CODE: 0009210

AK Designated contracting states

Kind code of ref document: B1

Designated state(s): CH DE ES FR GB IT LI

REG Reference to a national code

Ref country code: GB

Ref legal event code: FG4D

Free format text: NOT ENGLISH

REG Reference to a national code

Ref country code: CH

Ref legal event code: EP

REF Corresponds to:

Ref document number: 50312922

Country of ref document: DE

Date of ref document: 20100909

Kind code of ref document: P

PG25 Lapsed in a contracting state [announced via postgrant information from national office to epo]

Ref country code: IT

Free format text: LAPSE BECAUSE OF FAILURE TO SUBMIT A TRANSLATION OF THE DESCRIPTION OR TO PAY THE FEE WITHIN THE PRESCRIBED TIME-LIMIT

Effective date: 20100728

PLBE No opposition filed within time limit

Free format text: ORIGINAL CODE: 0009261

STAA Information on the status of an ep patent application or granted ep patent

Free format text: STATUS: NO OPPOSITION FILED WITHIN TIME LIMIT

PG25 Lapsed in a contracting state [announced via postgrant information from national office to epo]

Ref country code: ES

Free format text: LAPSE BECAUSE OF FAILURE TO SUBMIT A TRANSLATION OF THE DESCRIPTION OR TO PAY THE FEE WITHIN THE PRESCRIBED TIME-LIMIT

Effective date: 20101108

26N No opposition filed

Effective date: 20110429

REG Reference to a national code

Ref country code: DE

Ref legal event code: R097

Ref document number: 50312922

Country of ref document: DE

Effective date: 20110429

PGFP Annual fee paid to national office [announced via postgrant information from national office to epo]

Ref country code: GB

Payment date: 20120327

Year of fee payment: 10

PGFP Annual fee paid to national office [announced via postgrant information from national office to epo]

Ref country code: CH

Payment date: 20120425

Year of fee payment: 10

REG Reference to a national code

Ref country code: CH

Ref legal event code: PL

GBPC Gb: european patent ceased through non-payment of renewal fee

Effective date: 20130315

PG25 Lapsed in a contracting state [announced via postgrant information from national office to epo]

Ref country code: CH

Free format text: LAPSE BECAUSE OF NON-PAYMENT OF DUE FEES

Effective date: 20130331

Ref country code: GB

Free format text: LAPSE BECAUSE OF NON-PAYMENT OF DUE FEES

Effective date: 20130315

Ref country code: LI

Free format text: LAPSE BECAUSE OF NON-PAYMENT OF DUE FEES

Effective date: 20130331

REG Reference to a national code

Ref country code: FR

Ref legal event code: PLFP

Year of fee payment: 14

REG Reference to a national code

Ref country code: FR

Ref legal event code: PLFP

Year of fee payment: 15

PGFP Annual fee paid to national office [announced via postgrant information from national office to epo]

Ref country code: DE

Payment date: 20170307

Year of fee payment: 15

Ref country code: FR

Payment date: 20170213

Year of fee payment: 15

REG Reference to a national code

Ref country code: DE

Ref legal event code: R119

Ref document number: 50312922

Country of ref document: DE

PG25 Lapsed in a contracting state [announced via postgrant information from national office to epo]

Ref country code: DE

Free format text: LAPSE BECAUSE OF NON-PAYMENT OF DUE FEES

Effective date: 20181002

PG25 Lapsed in a contracting state [announced via postgrant information from national office to epo]

Ref country code: FR

Free format text: LAPSE BECAUSE OF NON-PAYMENT OF DUE FEES

Effective date: 20180331