EP1178448A3 - Apparatus for engaging and dispensing articles - Google Patents
Apparatus for engaging and dispensing articles Download PDFInfo
- Publication number
- EP1178448A3 EP1178448A3 EP01870140A EP01870140A EP1178448A3 EP 1178448 A3 EP1178448 A3 EP 1178448A3 EP 01870140 A EP01870140 A EP 01870140A EP 01870140 A EP01870140 A EP 01870140A EP 1178448 A3 EP1178448 A3 EP 1178448A3
- Authority
- EP
- European Patent Office
- Prior art keywords
- control means
- movement
- engaging
- stopped
- delivery
- Prior art date
- Legal status (The legal status is an assumption and is not a legal conclusion. Google has not performed a legal analysis and makes no representation as to the accuracy of the status listed.)
- Withdrawn
Links
- 238000006073 displacement reaction Methods 0.000 abstract 1
Classifications
-
- B—PERFORMING OPERATIONS; TRANSPORTING
- B65—CONVEYING; PACKING; STORING; HANDLING THIN OR FILAMENTARY MATERIAL
- B65H—HANDLING THIN OR FILAMENTARY MATERIAL, e.g. SHEETS, WEBS, CABLES
- B65H3/00—Separating articles from piles
- B65H3/08—Separating articles from piles using pneumatic force
- B65H3/0808—Suction grippers
- B65H3/0816—Suction grippers separating from the top of pile
-
- G—PHYSICS
- G07—CHECKING-DEVICES
- G07F—COIN-FREED OR LIKE APPARATUS
- G07F11/00—Coin-freed apparatus for dispensing, or the like, discrete articles
- G07F11/02—Coin-freed apparatus for dispensing, or the like, discrete articles from non-movable magazines
- G07F11/04—Coin-freed apparatus for dispensing, or the like, discrete articles from non-movable magazines in which magazines the articles are stored one vertically above the other
- G07F11/045—Coin-freed apparatus for dispensing, or the like, discrete articles from non-movable magazines in which magazines the articles are stored one vertically above the other for sheet shaped or pliable articles
-
- G—PHYSICS
- G07—CHECKING-DEVICES
- G07F—COIN-FREED OR LIKE APPARATUS
- G07F11/00—Coin-freed apparatus for dispensing, or the like, discrete articles
- G07F11/02—Coin-freed apparatus for dispensing, or the like, discrete articles from non-movable magazines
- G07F11/04—Coin-freed apparatus for dispensing, or the like, discrete articles from non-movable magazines in which magazines the articles are stored one vertically above the other
- G07F11/14—Coin-freed apparatus for dispensing, or the like, discrete articles from non-movable magazines in which magazines the articles are stored one vertically above the other with means for raising the stack of articles to permit delivery of the topmost
-
- G—PHYSICS
- G07—CHECKING-DEVICES
- G07F—COIN-FREED OR LIKE APPARATUS
- G07F11/00—Coin-freed apparatus for dispensing, or the like, discrete articles
- G07F11/02—Coin-freed apparatus for dispensing, or the like, discrete articles from non-movable magazines
- G07F11/04—Coin-freed apparatus for dispensing, or the like, discrete articles from non-movable magazines in which magazines the articles are stored one vertically above the other
- G07F11/16—Delivery means
-
- G—PHYSICS
- G07—CHECKING-DEVICES
- G07F—COIN-FREED OR LIKE APPARATUS
- G07F11/00—Coin-freed apparatus for dispensing, or the like, discrete articles
- G07F11/02—Coin-freed apparatus for dispensing, or the like, discrete articles from non-movable magazines
- G07F11/04—Coin-freed apparatus for dispensing, or the like, discrete articles from non-movable magazines in which magazines the articles are stored one vertically above the other
- G07F11/16—Delivery means
- G07F11/165—Delivery means using xyz-picker or multi-dimensional article picking arrangements
- G07F11/1657—Delivery means using xyz-picker or multi-dimensional article picking arrangements the picking arrangements using suction
-
- B—PERFORMING OPERATIONS; TRANSPORTING
- B65—CONVEYING; PACKING; STORING; HANDLING THIN OR FILAMENTARY MATERIAL
- B65H—HANDLING THIN OR FILAMENTARY MATERIAL, e.g. SHEETS, WEBS, CABLES
- B65H2403/00—Power transmission; Driving means
- B65H2403/50—Driving mechanisms
- B65H2403/52—Translation screw-thread mechanisms
-
- B—PERFORMING OPERATIONS; TRANSPORTING
- B65—CONVEYING; PACKING; STORING; HANDLING THIN OR FILAMENTARY MATERIAL
- B65H—HANDLING THIN OR FILAMENTARY MATERIAL, e.g. SHEETS, WEBS, CABLES
- B65H2405/00—Parts for holding the handled material
- B65H2405/30—Other features of supports for sheets
- B65H2405/33—Compartmented support
- B65H2405/331—Juxtaposed compartments
- B65H2405/3311—Juxtaposed compartments for storing articles horizontally or slightly inclined
Landscapes
- Physics & Mathematics (AREA)
- General Physics & Mathematics (AREA)
- Engineering & Computer Science (AREA)
- Mechanical Engineering (AREA)
- Vending Machines For Individual Products (AREA)
- Manipulator (AREA)
- De-Stacking Of Articles (AREA)
- Specific Conveyance Elements (AREA)
Abstract
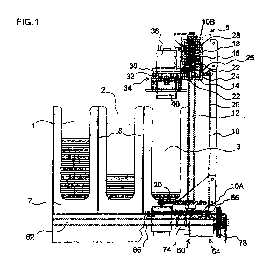
Le dispositif de saisie et délivrance d'objets (5) est constitué d'un dispositif d'aspiration (36, 38, 40) associé à des moyens motorisés assurant sa montée/descente dans des colonnes (1, 2, 3) de stockage d'objets et la délivrance de ceux-ci. Il est porté par un châssis mobile (10) en assurant le déplacement entre les colonnes de stockage et les moyens de délivrance.The device for seizing and delivering objects (5) consists of a suction device (36, 38, 40) associated with motorized means ensuring its rise / fall in storage columns (1, 2, 3) of objects and the delivery thereof. It is carried by a mobile chassis (10) ensuring the movement between the storage columns and the means of delivery.
Le dispositif (5) comporte un élément (16) dont le déplacement dans un premier plan est arrêté à un niveau supérieur et qui est associé à un moyen de commande (12) par l'intermé-diaire d'un élément mobile (14). Lorsque le déplace-ment de l'élément (16) est arrêté, la poursuite de l'actionnement du moyen de commande (12) assure le déplacement de l'élé-ment mobile (14) qui force l'élément (16) à se déplacer dans un second plan, notamment à effectuer une rotation autour du moyen de commande (12). The device (5) comprises an element (16) whose movement in a first plane is stopped at a higher level and which is associated with a control means (12) by means of a mobile element (14) . When the movement of the element (16) is stopped, the continued actuation of the control means (12) ensures the displacement of the movable element (14) which forces the element (16) to move in a second plane, in particular to rotate around the control means (12).
Applications Claiming Priority (2)
| Application Number | Priority Date | Filing Date | Title |
|---|---|---|---|
| BE200000414 | 2000-06-28 | ||
| BE2000/0414A BE1013576A3 (en) | 2000-06-28 | 2000-06-28 | Input device and delivery of objects. |
Publications (2)
| Publication Number | Publication Date |
|---|---|
| EP1178448A2 EP1178448A2 (en) | 2002-02-06 |
| EP1178448A3 true EP1178448A3 (en) | 2002-08-14 |
Family
ID=3896579
Family Applications (1)
| Application Number | Title | Priority Date | Filing Date |
|---|---|---|---|
| EP01870140A Withdrawn EP1178448A3 (en) | 2000-06-28 | 2001-06-27 | Apparatus for engaging and dispensing articles |
Country Status (2)
| Country | Link |
|---|---|
| EP (1) | EP1178448A3 (en) |
| BE (1) | BE1013576A3 (en) |
Cited By (10)
| Publication number | Priority date | Publication date | Assignee | Title |
|---|---|---|---|---|
| US7131580B2 (en) | 1992-09-04 | 2006-11-07 | Coinstar, Inc. | Coin counter and voucher dispensing machine and method |
| US7653599B2 (en) | 2002-02-15 | 2010-01-26 | Coinstar, Inc. | Methods and systems for exchanging and/or transferring various forms of value |
| US7865432B2 (en) | 2002-02-15 | 2011-01-04 | Coinstar, Inc. | Methods and systems for exchanging and/or transferring various forms of value |
| US7971699B2 (en) | 1992-09-04 | 2011-07-05 | Coinstar, Inc. | Coin counter/sorter and coupon/voucher dispensing machine and method |
| US8033375B2 (en) | 2002-02-15 | 2011-10-11 | Coinstar, Inc. | Methods and systems for exchanging and/or transferring various forms of value |
| US8874467B2 (en) | 2011-11-23 | 2014-10-28 | Outerwall Inc | Mobile commerce platforms and associated systems and methods for converting consumer coins, cash, and/or other forms of value for use with same |
| US9022841B2 (en) | 2013-05-08 | 2015-05-05 | Outerwall Inc. | Coin counting and/or sorting machines and associated systems and methods |
| US9129294B2 (en) | 2012-02-06 | 2015-09-08 | Outerwall Inc. | Coin counting machines having coupon capabilities, loyalty program capabilities, advertising capabilities, and the like |
| US9230381B2 (en) | 2013-02-27 | 2016-01-05 | Outerwall Inc. | Coin counting and sorting machines |
| US9235945B2 (en) | 2014-02-10 | 2016-01-12 | Outerwall Inc. | Coin input apparatuses and associated methods and systems |
Families Citing this family (18)
| Publication number | Priority date | Publication date | Assignee | Title |
|---|---|---|---|---|
| ATE382909T1 (en) | 2002-02-15 | 2008-01-15 | Coinstar Inc | DEVICE AND METHOD FOR ISSUING CARD |
| WO2003090020A2 (en) | 2002-04-16 | 2003-10-30 | Pukka, Inc. | Methods and apparatuses for purchasing telephone calling card minutes using an electronic commerce kiosk and for conducting other forms of electronic commerce. |
| TW200414082A (en) * | 2002-10-11 | 2004-08-01 | Vend Tech Solutions Holdings Pty Ltd | Vending machine for dispensing bags |
| FR2846315B1 (en) * | 2002-10-25 | 2004-12-31 | Pascal Borreca | DEVICE FOR TAKING OBJECTS STACKED ONE OVER THE OTHERS |
| US7748619B2 (en) | 2005-12-05 | 2010-07-06 | Coinstar, Inc. | Card dispensing apparatuses and associated methods of operation |
| US9233812B2 (en) | 2005-12-05 | 2016-01-12 | Outerwall Inc. | Card dispensing apparatuses and associated methods of operation |
| ES2562107T3 (en) | 2009-08-12 | 2016-03-02 | Outerwall Inc. | Card dispensing devices and associated operating procedures |
| US9064268B2 (en) | 2010-11-01 | 2015-06-23 | Outerwall Inc. | Gift card exchange kiosks and associated methods of use |
| US9036890B2 (en) | 2012-06-05 | 2015-05-19 | Outerwall Inc. | Optical coin discrimination systems and methods for use with consumer-operated kiosks and the like |
| FI124496B (en) * | 2012-11-23 | 2014-09-30 | Gip Finland Oy | Device for storing and dispensing goods |
| US9227800B2 (en) | 2013-03-14 | 2016-01-05 | Outerwall Inc. | Multi-function card handling apparatus and methods of operation |
| US9443367B2 (en) | 2014-01-17 | 2016-09-13 | Outerwall Inc. | Digital image coin discrimination for use with consumer-operated kiosks and the like |
| US10346819B2 (en) | 2015-11-19 | 2019-07-09 | Coinstar Asset Holdings, Llc | Mobile device applications, other applications and associated kiosk-based systems and methods for facilitating coin saving |
| IT201700024573A1 (en) * | 2017-03-06 | 2018-09-06 | Alberto Cabilli | DISTRIBUTOR FOR NEWSPAPERS |
| IT201700066924A1 (en) * | 2017-06-19 | 2018-12-19 | Alberto Cabilli | Newspaper distributor |
| CN108038977A (en) * | 2018-01-27 | 2018-05-15 | 河南恒纯农业科技有限公司 | Self-service juice extractor of peeling |
| WO2021226540A1 (en) | 2020-05-08 | 2021-11-11 | Coinstar Asset Holdings, Llc | Kiosk-based systems and methods for direct deposit of coin and/or other cash value |
| CN113205640B (en) * | 2021-04-22 | 2022-06-07 | 安徽中屏科技有限公司 | Automatic intelligent receiving and sending device for examination room manuscript paper |
Citations (5)
| Publication number | Priority date | Publication date | Assignee | Title |
|---|---|---|---|---|
| US4024963A (en) * | 1975-05-07 | 1977-05-24 | Hautau Charles F | Apparatus for transferring articles |
| FR2673612A1 (en) * | 1991-03-05 | 1992-09-11 | Saceri | Device for destacking and automatic dispensing of trays |
| US5431531A (en) * | 1993-06-30 | 1995-07-11 | The Singer Company N.V. | Label picking up device |
| US5549444A (en) * | 1993-10-13 | 1996-08-27 | Societe D'exploitation Des Machines Dubuit | Loader for machine for printing objects from a stack |
| US5605432A (en) * | 1993-03-24 | 1997-02-25 | Hauni Maschinenbau Ag | Robot manipulator |
Family Cites Families (13)
| Publication number | Priority date | Publication date | Assignee | Title |
|---|---|---|---|---|
| US3893589A (en) | 1973-03-23 | 1975-07-08 | Marrick Ind Inc | Vending machine with traveling release |
| US4118280A (en) * | 1976-05-03 | 1978-10-03 | Mcdonnell Douglas Corporation | Automated microbial analyzer |
| FR2480101A1 (en) | 1980-04-10 | 1981-10-16 | Guigan Jean | DEVICE FOR AUTOMATICALLY STORING AND DISPENSING OBJECTS |
| IT1138808B (en) * | 1981-06-23 | 1986-09-17 | Rockwell Rimoldi Spa | PICKING AND POSITIONING DEVICE OF STACKED FABRIC PIECES |
| US4921237A (en) * | 1986-09-05 | 1990-05-01 | Datacard Corporation | Input hopper apparatus and method |
| US5139384A (en) * | 1989-02-23 | 1992-08-18 | Philip Tuttobene | Article vending machine |
| US5226778A (en) * | 1989-09-28 | 1993-07-13 | Murata Kikai Kabushiki Kaisha | Yarn supply device for automatic winder |
| US5332549A (en) * | 1992-07-01 | 1994-07-26 | Pb Diagnostic Systems, Inc. | Assay module transport apparatus for use in an automated analytical instrument |
| FR2711116B1 (en) | 1993-10-11 | 1996-01-05 | Forenia Line Europ | Automatic object dispenser. |
| BE1011471A3 (en) | 1997-09-24 | 1999-10-05 | Staar Sa | Clearing device and distribution boxes, tapes ... |
| US5928952A (en) * | 1997-11-05 | 1999-07-27 | Zymark Corporation | Scheduled system and method for processing chemical products |
| US6029972A (en) | 1998-03-19 | 2000-02-29 | Gamemax Corporation | Toothed wheel operated adjusting device for card stacking machines |
| JP3903118B2 (en) | 1998-11-16 | 2007-04-11 | 旭精工株式会社 | Card body dispensing device |
-
2000
- 2000-06-28 BE BE2000/0414A patent/BE1013576A3/en not_active IP Right Cessation
-
2001
- 2001-06-27 EP EP01870140A patent/EP1178448A3/en not_active Withdrawn
Patent Citations (5)
| Publication number | Priority date | Publication date | Assignee | Title |
|---|---|---|---|---|
| US4024963A (en) * | 1975-05-07 | 1977-05-24 | Hautau Charles F | Apparatus for transferring articles |
| FR2673612A1 (en) * | 1991-03-05 | 1992-09-11 | Saceri | Device for destacking and automatic dispensing of trays |
| US5605432A (en) * | 1993-03-24 | 1997-02-25 | Hauni Maschinenbau Ag | Robot manipulator |
| US5431531A (en) * | 1993-06-30 | 1995-07-11 | The Singer Company N.V. | Label picking up device |
| US5549444A (en) * | 1993-10-13 | 1996-08-27 | Societe D'exploitation Des Machines Dubuit | Loader for machine for printing objects from a stack |
Cited By (17)
| Publication number | Priority date | Publication date | Assignee | Title |
|---|---|---|---|---|
| US7874478B2 (en) | 1992-09-04 | 2011-01-25 | Coinstar, Inc. | Coin counter and voucher dispensing machine and method |
| US7303119B2 (en) | 1992-09-04 | 2007-12-04 | Coinstar, Inc. | Coin counter and voucher dispensing machine and method |
| US7527193B2 (en) | 1992-09-04 | 2009-05-05 | Coinstar, Inc. | Coin counter and voucher dispensing machine and method |
| US7131580B2 (en) | 1992-09-04 | 2006-11-07 | Coinstar, Inc. | Coin counter and voucher dispensing machine and method |
| US7971699B2 (en) | 1992-09-04 | 2011-07-05 | Coinstar, Inc. | Coin counter/sorter and coupon/voucher dispensing machine and method |
| US8033375B2 (en) | 2002-02-15 | 2011-10-11 | Coinstar, Inc. | Methods and systems for exchanging and/or transferring various forms of value |
| US7865432B2 (en) | 2002-02-15 | 2011-01-04 | Coinstar, Inc. | Methods and systems for exchanging and/or transferring various forms of value |
| US8024272B2 (en) | 2002-02-15 | 2011-09-20 | Coinstar, Inc. | Methods and systems for exchanging/transferring gift cards |
| US7653599B2 (en) | 2002-02-15 | 2010-01-26 | Coinstar, Inc. | Methods and systems for exchanging and/or transferring various forms of value |
| US8103586B2 (en) | 2002-02-15 | 2012-01-24 | Coinstar, Inc. | Methods and systems for exchanging and/or transferring various forms of value |
| US8229851B2 (en) | 2002-02-15 | 2012-07-24 | Coinstar, Inc. | Methods and systems for exchanging/transferring gift cards |
| US8332313B2 (en) | 2002-02-15 | 2012-12-11 | Coinstar, Inc. | Methods and systems for exchanging and/or transferring various forms of value |
| US8874467B2 (en) | 2011-11-23 | 2014-10-28 | Outerwall Inc | Mobile commerce platforms and associated systems and methods for converting consumer coins, cash, and/or other forms of value for use with same |
| US9129294B2 (en) | 2012-02-06 | 2015-09-08 | Outerwall Inc. | Coin counting machines having coupon capabilities, loyalty program capabilities, advertising capabilities, and the like |
| US9230381B2 (en) | 2013-02-27 | 2016-01-05 | Outerwall Inc. | Coin counting and sorting machines |
| US9022841B2 (en) | 2013-05-08 | 2015-05-05 | Outerwall Inc. | Coin counting and/or sorting machines and associated systems and methods |
| US9235945B2 (en) | 2014-02-10 | 2016-01-12 | Outerwall Inc. | Coin input apparatuses and associated methods and systems |
Also Published As
| Publication number | Publication date |
|---|---|
| BE1013576A3 (en) | 2002-04-02 |
| EP1178448A2 (en) | 2002-02-06 |
Similar Documents
| Publication | Publication Date | Title |
|---|---|---|
| EP1178448A3 (en) | Apparatus for engaging and dispensing articles | |
| CN1163209C (en) | Anti-toppling mechanism | |
| FR2720058A1 (en) | Device for the transfer of articles in an automated warehouse. | |
| EP1323404A8 (en) | Hard capsule | |
| EP1477838A9 (en) | Coverslip pick-up and laydown apparatus and method | |
| EP1644280B1 (en) | Lift | |
| CA1307546C (en) | Automatic transferring device for laminar articles | |
| EP1980503B1 (en) | Installation for delivering objects, in particular for pharmacy | |
| US6752467B1 (en) | Vacuum truck dump container apparatus | |
| EP0103572A1 (en) | Multipurpose container handling device | |
| FR2739935A1 (en) | DEVICE FOR TRANSFERRING MICRO QUANTITY SAMPLES OF LIQUIDS | |
| WO2003066408A1 (en) | Hand truck materials handling device | |
| WO1992014674A1 (en) | Spacing or lifting device | |
| CA2724925C (en) | Retractable and automatic positioning wheels for snowmobiles | |
| EP0458712B1 (en) | Device for spraying a disinfectant in a receptacle | |
| WO1997004756A3 (en) | Methacrylate backbone surfactants in nanoparticulate formulations | |
| CH685117A5 (en) | Ramp loading and unloading of the tray sidewalls of a vehicle transporting goods. | |
| EP3552720A1 (en) | Mail sorting installation with a tray conveyor with retractable edge and shuttle robot for handling trays | |
| FR2742338A1 (en) | APPARATUS FOR ADMINISTERING A FLUID | |
| EP1323584A3 (en) | Swingable holding device | |
| EP1545720B1 (en) | Golf ball dispenser | |
| FR2609016A1 (en) | VERTICAL AUTOMATIC MACHINE FOR GLASS CUTTING | |
| EP0214877A1 (en) | Guiding device, especially for a robot-type machine having wheels | |
| EP0509944B1 (en) | Lateral tipping apparatus for, in particular, mounting on a truck or similar | |
| EP2537502B1 (en) | castor brake for hospital bed |
Legal Events
| Date | Code | Title | Description |
|---|---|---|---|
| PUAI | Public reference made under article 153(3) epc to a published international application that has entered the european phase |
Free format text: ORIGINAL CODE: 0009012 |
|
| AK | Designated contracting states |
Kind code of ref document: A2 Designated state(s): AT BE CH CY DE DK ES FI FR GB GR IE IT LI LU MC NL PT SE TR |
|
| AX | Request for extension of the european patent |
Free format text: AL;LT;LV;MK;RO;SI |
|
| PUAL | Search report despatched |
Free format text: ORIGINAL CODE: 0009013 |
|
| AK | Designated contracting states |
Kind code of ref document: A3 Designated state(s): AT BE CH CY DE DK ES FI FR GB GR IE IT LI LU MC NL PT SE TR |
|
| AX | Request for extension of the european patent |
Free format text: AL;LT;LV;MK;RO;SI |
|
| 17P | Request for examination filed |
Effective date: 20021021 |
|
| AKX | Designation fees paid |
Designated state(s): AT BE CH CY DE DK ES FI FR GB GR IE IT LI LU MC NL PT SE TR |
|
| 17Q | First examination report despatched |
Effective date: 20040329 |
|
| 17Q | First examination report despatched |
Effective date: 20040329 |
|
| STAA | Information on the status of an ep patent application or granted ep patent |
Free format text: STATUS: THE APPLICATION HAS BEEN WITHDRAWN |
|
| 18W | Application withdrawn |
Effective date: 20070326 |
