EP1170122A2 - Device and method for imaging surfaces in printing machines - Google Patents
Device and method for imaging surfaces in printing machines Download PDFInfo
- Publication number
- EP1170122A2 EP1170122A2 EP01115346A EP01115346A EP1170122A2 EP 1170122 A2 EP1170122 A2 EP 1170122A2 EP 01115346 A EP01115346 A EP 01115346A EP 01115346 A EP01115346 A EP 01115346A EP 1170122 A2 EP1170122 A2 EP 1170122A2
- Authority
- EP
- European Patent Office
- Prior art keywords
- imaging
- printing
- unit
- printing machines
- surfaces according
- Prior art date
- Legal status (The legal status is an assumption and is not a legal conclusion. Google has not performed a legal analysis and makes no representation as to the accuracy of the status listed.)
- Granted
Links
Images
Classifications
-
- B—PERFORMING OPERATIONS; TRANSPORTING
- B41—PRINTING; LINING MACHINES; TYPEWRITERS; STAMPS
- B41C—PROCESSES FOR THE MANUFACTURE OR REPRODUCTION OF PRINTING SURFACES
- B41C1/00—Forme preparation
- B41C1/10—Forme preparation for lithographic printing; Master sheets for transferring a lithographic image to the forme
- B41C1/1075—Mechanical aspects of on-press plate preparation
Definitions
- the invention relates to a method in printing machines for imaging surfaces, wherein the surfaces to be imaged image information from the previous print job exhibit.
- the printing press is equipped with at least one with an inking unit, possibly with one Dampening unit interacting printing form cylinder and possibly with a rubber cylinder fitted.
- the invention further relates to a device in printing machines for imaging surfaces, the printing press having at least one which can be shut off from the printing form cylinder Inking unit, possibly interacting with a dampening unit that can also be switched off Printing form cylinder, possibly with a rubber cylinder interacting with the printing form cylinder and an imaging device for applying an image information carrying Layer is equipped.
- a method for the regeneration of a is preferred previously known directly illustrated printing form suitable for offset printing.
- the regeneration the printing plate includes the removal of the images on the printing form and a hydrophilization of the surface of the printing form.
- the Regeneration by applying an ionized process gas to the printing form through an application device is applied. This is a reactive deletion of the images and the simultaneous hydrophilization in one process step.
- the one there Volatile reaction products are removed using a suction device.
- the task is characterized by the features of the 1st, 2nd, 8th, 9th, 18th and 17th Claim solved.
- the upper part of a printing tower contains a sheet-fed offset printing machine an impression cylinder 5, a blanket cylinder 4 and a printing form cylinder 1.
- the cylinders mentioned are in one another during the printing process Contact.
- An inking unit 2 and a dampening unit 3 are set on the printing form cylinder 1.
- the inking unit 2 and the dampening unit 3, as well as the rubber cylinder 4, are on demand can be switched off from the printing form cylinder 1 by means not shown.
- On the printing form cylinder 1 can also be a printing form (not shown here) in the form of an imageable one Pressure plate clamped. Instead of this usual pressure plate, it is also possible to use one Apply sleeve to the printing form cylinder 1.
- the printing form cylinder 1 is mounted in the frame of the printing press and on a traverse 64 assigned to the printing form cylinder 1 movable imaging device 6.
- the structure of such an imaging device 6 is shown in FIG.
- the central part of the imaging device 6 is the imaging unit 62 Embodiment of an imaging device working according to an ink-jet principle. It it is also possible to use other order facilities.
- One (not in the figures embodiment) consists of a device with a laser insertable transfer film.
- the imaging unit 62 is in the direction of movement of the imaging device 6 (arrow direction) an erasing unit 61 integrated in the imaging device 6. This consists of a laser to which a suction 65 is assigned.
- the imaging unit 62 is followed by a hardening unit 63.
- the hardening unit 63 is designed as a laser. It is also possible to use a UV-based device instead of such a laser use.
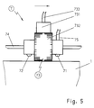
- FIG. 4 Another embodiment of the invention is shown in FIG. 4 in conjunction with FIG. 5 seen.
- a traverse 74 On a traverse 74 is an axially movable imaging device 7 arranged. This consists of a coating unit 73 with an upstream one Extinguishing device 71 including suction 75.
- the coating unit 73 is an imaging unit 72 downstream, with this also being assigned a hardening device can (not shown in the figures).
- the imaging unit 72 is an ablation laser executed.
- the coating unit 73 consists of an anilox roller 732, which has a chamber doctor blade 731 including the necessary supply lines 733 is assigned.
- Other facilities can be used for coating, e.g. Spray.
- the erasing unit 71, the coating unit 73 and the imaging unit 72 can also be arranged one behind the other in the direction of rotation of the printing form cylinder 1.
- the printing unit including the printing form cylinder 1 washed. Then the inking and dampening unit 2, 3 and the rubber cylinder 4 turned off from the printing form cylinder 1. The printing form cylinder 1 can also be disengaged become.
- the data for this are from a digital Memory provided.
- the imaging device 6 is located outside the printing device Area on the outer edge of the printing form cylinder 1.
- the imaging device 6 moves in the axial direction (arrow direction).
- the laser of the erasing unit 61 strikes the one existing from the previous print job Layer. This layer is evaporated by the laser and eliminated by the suction 65.
- the coating is carried out using a color-friendly coating material on the ink-repellent surface of the printing form cylinder 1 or on the surface the printing form.
- the color-friendly layer contains the image information of the current one Print job.
- the coating is carried out with an ink-repellent coating material on the color-friendly surface.
- the image-bearing elements are here the non-coated areas of the surface of the printing form cylinder 1 or Printing form.
- the coating material is applied to the ink jet process in one operation brought surface to be coated.
- the coated Zones in the area of influence of the hardening unit 63, so that the layer is hardened can. This is done by a laser or by UV light.
- the inking unit 2 the The dampening unit 3 and possibly the blanket cylinder 4 are again placed on the printing form cylinder 1. If necessary, the printing form cylinder is engaged again. So that the usual coloring of the Printing form or the surface of the printing form cylinder 1 begin and the current print job be carried out.
- the method according to the invention can also be carried out with the device shown in FIG will be realized.
- the arrangement of the erasing unit 61 ', imaging unit 62' and Hardening unit 63 'perpendicular to the axis of the printing form cylinder 1 becomes the existing one on a track Image information deleted, the current image information transmitted and hardened.
- a further embodiment of the invention can be achieved by the device shown in FIGS. 4 and 5 will be realized.
- an imageable layer is applied to the Transfer form cylinder 1. This is done in the following way:
- a deletion unit 71 opens the surface of the printing form cylinder 1 or existing image-bearing layer removed from the surface of the printing form. The residues are suctioned off. When moving the imaging device 7 through the coating unit 73 a coating on the surface of the printing form cylinder 1 or applied to the surface of the printing form.
- a color-friendly one becomes in one work step Layer applied to the surface to be coated.
- the surface is in this case ink-repellent.
- This layer is then imaged by the imaging unit 72 and hardened if necessary.
- an ablation laser creates areas of the color-friendly layer the non-image-bearing areas, so that the color-repellent surface of the Printing form cylinder 1 or the printing form is exposed.
- FIGS. 4 and 5 This can be advantageous in one step with the deletion and application of the imageable Layer.
- the device shown in FIGS. 4 and 5 is used. But it can also be done by a separate operation.
- a color-repellent layer is applied to the color-friendly one Bring surface of the printing form cylinder 1 or the printing plate. The imaging is done now in such a way that the ink-repellent layer is removed from the image-bearing areas, so that the color-friendly surface is exposed.
- the execution of the current print job can then begin. This will be the Inking unit 2, the dampening unit 3 and possibly the rubber cylinder 4 again on the printing form cylinder 1 employed. If necessary, the printing form cylinder is engaged again. This can be the usual Start coloring the printing form or the surface of the printing form cylinder 1 and the current print job will be executed.
Landscapes
- Engineering & Computer Science (AREA)
- Mechanical Engineering (AREA)
- Manufacturing & Machinery (AREA)
- Manufacture Or Reproduction Of Printing Formes (AREA)
- Rotary Presses (AREA)
- Printing Methods (AREA)
- Accessory Devices And Overall Control Thereof (AREA)
- Ink Jet (AREA)
- Investigating Materials By The Use Of Optical Means Adapted For Particular Applications (AREA)
- Electric Connection Of Electric Components To Printed Circuits (AREA)
- Inking, Control Or Cleaning Of Printing Machines (AREA)
Abstract
Die Erfindung betrifft ein Verfahren in Druckmaschinen zum Bebildern von Oberflächen, wobei die zu bebildernden Oberflächen Bildinformationen vom vorhergehenden Druckauftrag aufweisen.The invention relates to a method in printing machines for imaging surfaces, wherein the surfaces to be imaged image information from the previous print job exhibit.
Aufgabe der Erfindung ist es, ein Verfahren und eine Einrichtung zu schaffen, die in der Druckmaschine eine schnelle und ohne großen Aufwand zu bewerkstelligende Regenerierung von Bildinformationen tragenden Oberflächen ermöglicht.The object of the invention is to provide a method and a device which in the Printing machine a quick regeneration that can be accomplished with little effort of surfaces carrying image information.
Erfindungsgemäß wird die Aufgabe dadurch gelöst, dass eine die aktuelle Bildinformation tragende farbfreundliche Schicht durch einen Arbeitsgang auf die zu bebildernde farbabweisende Oberfläche aufgebracht wird, wobei im Zuge dieses Arbeitsganges mit einer vorgeordneten Löscheinheit (61; 61') die vom vorhergehenden Druckauftrag noch vorhandene Bildinformation gelöscht wird. According to the invention, the object is achieved in that a color-friendly layer carrying the current image information is applied to the color-repellent surface to be imaged by one work step, with the image information still available from the previous print job being deleted in the course of this work step using an upstream deletion unit (61; 61 ') becomes.
Description
Die Erfindung betrifft ein Verfahren in Druckmaschinen zum Bebildern von Oberflächen, wobei die zu bebildernden Oberflächen Bildinformationen vom vorhergehenden Druckauftrag aufweisen. Die Druckmaschine ist mit mindestens einem mit einem Farbwerk, ggf. mit einem Feuchtwerk zusammenwirkenden Druckformzylinder und ggf. mit einem Gummizylinder ausgestattet.The invention relates to a method in printing machines for imaging surfaces, wherein the surfaces to be imaged image information from the previous print job exhibit. The printing press is equipped with at least one with an inking unit, possibly with one Dampening unit interacting printing form cylinder and possibly with a rubber cylinder fitted.
Die Erfindung betrifft weiterhin eine Einrichtung in Druckmaschinen zum Bebildern von Oberflächen, wobei die Druckmaschine mit mindestens einem vom Druckformzylinder abstellbares Farbwerk, ggf. mit einem ebenfalls abstellbaren Feuchtwerk zusammenwirkenden Druckformzylinder, ggf. mit einem mit dem Druckformzylinder zusammenwirkenden Gummizylinder und einer Bebilderungseinrichtung zum Aufbringen einer die Bildinformation tragenden Schicht ausgestattet ist.The invention further relates to a device in printing machines for imaging surfaces, the printing press having at least one which can be shut off from the printing form cylinder Inking unit, possibly interacting with a dampening unit that can also be switched off Printing form cylinder, possibly with a rubber cylinder interacting with the printing form cylinder and an imaging device for applying an image information carrying Layer is equipped.
Aus der Druckschrift DE 41 23 959 C1 ist ein Verfahren zur Regenerierung einer vorzugsweise vorher direkt bebilderten für den Offsetdruck geeigneten Druckform bekannt. Die Regenerierung der Druckplatte umfasst die Entfernung der Bebilderung auf der Druckform und eine Hydrophilierung der Oberfläche der Druckform. Gemäß dieser Druckschrift erfolgt die Regenerierung dadurch, dass auf die Druckform ein ionisiertes Prozessgas durch einer Beaufschlagungseinrichtung aufgebracht wird. Dabei wird ein reaktives Löschen der Bebilderung und die gleichzeitige Hydrophilierung in einem Prozessschritt vorgenommen. Die dabei entstehenden flüchtigen Reaktionsprodukte werden mit Hilfe einer Absaugvorrichtung abgeführt.From the document DE 41 23 959 C1, a method for the regeneration of a is preferred previously known directly illustrated printing form suitable for offset printing. The regeneration the printing plate includes the removal of the images on the printing form and a hydrophilization of the surface of the printing form. According to this document, the Regeneration by applying an ionized process gas to the printing form through an application device is applied. This is a reactive deletion of the images and the simultaneous hydrophilization in one process step. The one there Volatile reaction products are removed using a suction device.
Nachteilig an dieser Lösung ist der große Zeitaufwand zur Regenerierung der Druckplatte.A disadvantage of this solution is the large amount of time it takes to regenerate the printing plate.
Ausgehend von diesem Stand der Technik ist es Aufgabe der Erfindung, ein Verfahren und eine Einrichtung zu schaffen, die in der Druckmaschine eine schnelle und ohne großen Aufwand zu bewerkstelligende Regenerierung von Bildinformationen tragenden Oberflächen ermöglicht.Based on this prior art, it is an object of the invention, a method and To create a facility that is quick and easy in the press Regeneration of surfaces carrying image information to be accomplished allows.
Erfindungsgemäß wird die Aufgabe durch die Merkmale des 1., 2.,8., 9., 18. und des 17. Anspruchs gelöst. According to the invention, the task is characterized by the features of the 1st, 2nd, 8th, 9th, 18th and 17th Claim solved.
Diese Lösung hat den Vorteil, dass nunmehr der Zeitaufwand für das Umrüsten der Druckmaschine erheblich reduziert werden kann.This solution has the advantage that now the time required for converting the printing press can be significantly reduced.
Anhand eines Ausführungsbeispieles soll die Erfindung nachfolgend näher erläutert werden. Die dazugehörigen Zeichnungen haben folgende Bedeutungen:
Figur 1- Schematische Darstellung der Walzenanordnung eines Druckwerkes einer Bogenoffsetdruckmaschine mit Bebilderungseinrichtung
Figur 2- Darstellung des Aufbaus der Bebilderungseinrichtung
Figur 3- Darstellung einer weiteren Ausführung der Bebilderungseinrichtung
Figur 4- Schematische Darstellung der Walzenanordnung eines Druckwerkes einer Bogenoffsetdruckmaschine mit Bebilderungseinrichtung und integrierten Beschichtungseinheit
Figur 5- Darstellung des Aufbaus der Bebilderungseinrichtung nach
Figur 4
- Figure 1
- Schematic representation of the roller arrangement of a printing unit of a sheet-fed offset printing machine with an imaging device
- Figure 2
- Representation of the structure of the imaging device
- Figure 3
- Representation of a further embodiment of the imaging device
- Figure 4
- Schematic representation of the roller arrangement of a printing unit of a sheet-fed offset printing machine with imaging device and integrated coating unit
- Figure 5
- Representation of the construction of the imaging device according to FIG. 4
Wie aus der Figur 1 ersichtlich, enthält der obere Teil eines Druckturmes einer Bogenoffsetdruckmaschine
einen Gegendruckzylinder 5, einen Gummizylinder 4 und einen Druckformzylinder
1. Die genannten Zylinder stehen während des Druckprozesses miteinander in
Kontakt. An den Druckformzylinder 1 sind ein Farbwerk 2 und ein Feuchtwerk 3 angestellt.
Das Farbwerk 2 und das Feuchtwerk 3 sind, ebenso wie der Gummizylinder 4, bei Bedarf
durch nicht dargestellte Einrichtungen vom Druckformzylinder 1 abstellbar. Auf dem Druckformzylinder
1 kann auch eine (hier nicht dargestellte) Druckform in Form einer bebilderbaren
Druckplatte aufgespannt sein. Statt dieser üblichen Druckplatte ist es auch möglich, einen
Sleeve auf den Druckformzylinder 1 aufzubringen.As can be seen from FIG. 1, the upper part of a printing tower contains a sheet-fed offset printing machine
an
Dem Druckformzylinder 1 ist eine im Gestell der Druckmaschine gelagerte und auf einer Traverse
64 axial zum Druckformzylinder 1 verfahrbare Bebilderungseinrichtung 6 zugeordnet.
In der Figur 2 ist der Aufbau einer derartigen Bebilderungseinrichtung 6 dargestellt. The
Zentraler Teil der Bebilderungseinrichtung 6 ist die Bebilderungseinheit 62. Diese ist im
Ausführungsbeispiel eine nach einem Ink-Jet-Prinzip arbeitende Bebilderungseinrichtung. Es
ist aber auch möglich, andere Auftrag-Einrichtungen einzusetzen. Eine (in den Figuren nicht
dargestellte) Ausführung besteht darin, eine Einrichtung mit einer durch einen Laser
beaufschlagbaren Transferfolie einzusetzen.The central part of the
Der Bebilderungseinheit 62 ist in Bewegungsrichtung der Bebilderungseinrichtung 6 (Pfeilrichtung)
eine in die Bebilderungseinrichtung 6 integrierte Löscheinheit 61 vorgeordnet. Diese
besteht aus einem Laser, dem eine Absaugung 65 zugeordnet ist. Der Bebilderungseinheit
62 ist eine Härteinheit 63 nachgeordnet. Die Härteinheit 63 ist als ein Laser ausgeführt.
Es ist auch möglich, statt eines derartigen Lasers eine auf UV-Basis arbeitende Einrichtung
einzusetzen.The
In einer anderen Ausführung der Erfindung (siehe Figur 3) sind im Gegensatz zu der oben
beschriebenen Lösung die integrierte Löscheinheit 61', die Bebilderungseinheit 62' und die
Härteinheit 63' in Bewegungsrichtung des Druckformzylinders 1 gesehen (siehe Pfeil) hintereinander
angeordnet. Auch hier ist die Löscheinheit 61' mit einer Absaugung 65' versehen.
Die Bebilderungseinrichtung 6' ist analog der Bebilderungseinrichtung 6 auf einer Traverse
64' axial verfahrbar.In another embodiment of the invention (see Figure 3) are in contrast to that above
described solution the integrated erase unit 61 ', the imaging unit 62' and
Hardening unit 63 'seen in the direction of movement of the printing form cylinder 1 (see arrow) one behind the other
arranged. Here too, the extinguishing unit 61 'is provided with a suction 65'.
The imaging device 6 'is analogous to the
Aus der Figur 4 im Zusammenhang mit der Figur 5 ist eine weitere Ausführung der Erfindung
ersichtlich. Auf einer Traverse 74 ist eine ebenfalls axial verfahrbare Bebilderungseinrichtung
7 angeordnet. Diese besteht aus einer Beschichtungseinheit 73 mit einer vorgeordneten
Löscheinrichtung 71 einschließlich Absaugung 75. Der Beschichtungseinheit 73 ist eine Bebilderungseinheit
72 nachgeordnet, wobei dieser auch eine Härteinrichtung zugeordnet sein
kann (in den Figuren nicht dargestellt). Die Bebilderungseinheit 72 ist als ein Ablations-Laser
ausgeführt.Another embodiment of the invention is shown in FIG. 4 in conjunction with FIG. 5
seen. On a
Die Beschichtungseinheit 73 besteht aus einer Rasterwalze 732, der eine Kammerrakel 731
einschließlich der erforderlichen Versorgungsleitungen 733 zugeordnet ist. Andere Einrichtungen
zum Beschichten können eingesetzt werden, wie z.B. Sprüheinrichtungen.The
Die Löscheinheit 71, die Beschichtungseinheit 73 und die Bebilderungseinheit 72 können
auch in Drehrichtung des Druckformzylinders 1 hintereinander angeordnet sein. The
Das erfindungsgemäße Verfahren wird auf folgende Weise realisiert:The method according to the invention is implemented in the following way:
Nach dem Ausführen eines Druckauftrages wird das Druckwerk einschließlich des Druckformzylinders
1 gewaschen. Danach werden das Farb- und Feuchtwerk 2, 3 und der Gummizylinder
4 vom Druckformzylinder 1 abgestellt. Der Druckformzylinder 1 kann auch ausgekuppelt
werden.After executing a print job, the printing unit including the
Anschließend kann sofort mit der Bebilderung des Druckformzylinders 1 bzw. der Druckplatte
oder des Sleeves begonnen werden. Die Daten hierfür werden von einem digitalen
Speicher zur Verfügung gestellt.Then immediately with the imaging of the
Bei Beginn der Bebilderung befindet sich die Bebilderungseinrichtung 6 außerhalb des druckenden
Bereichs am äußeren Rand des Druckformzylinders 1. Zum Durchführen der Bebilderung
bewegt sich die Bebilderungseinrichtung 6 in axialer Richtung (Pfeilrichtung). Dabei
trifft der Laser der Löscheinheit 61 auf die vom vorhergehenden Druckauftrag vorhandene
Schicht. Diese Schicht wird durch den Laser verdampft und durch die Absaugung 65 eliminiert.At the beginning of the imaging process, the
Infolge der axialen Bewegung der Bebilderungseinheit 6 gelangen die derart gelöschten Zonen
des Druckformzylinders 1 nunmehr in den Bereich der Bebilderungseinheit 62. Durch
diese wird eine Beschichtung auf den Druckformzylinder 1 aufgebracht, welche die Bildinformation
enthält.As a result of the axial movement of the
In einer Ausführung erfolgt die Beschichtung mit einem farbfreundlichen Beschichtungs-Material
auf die farbabweisende Oberfläche des Druckformzylinders 1 oder auf die Oberfläche
der Druckform. Dabei enthält die farbfreundliche Schicht die Bildinformation des aktuellen
Druckauftrages.In one embodiment, the coating is carried out using a color-friendly coating material
on the ink-repellent surface of the
In einer anderen Ausführung erfolgt die Beschichtung mit einem farbabweisenden Beschichtungs-Material
auf die farbfreundliche Oberfläche. Die bildtragenden Elemente sind
hier die nicht beschichteten Bereiche der Oberfläche des Druckformzylinders 1 oder der
Druckform. In another embodiment, the coating is carried out with an ink-repellent coating material
on the color-friendly surface. The image-bearing elements are
here the non-coated areas of the surface of the
Das Beschichtungs-Material wird durch ein Ink-Jet-Verfahren in einem Arbeitsgang auf die zu beschichtende Oberfläche gebracht. In einer anderen Variante erfolgt das Auftragen der die Bildinformation tragenden Schicht auf die zu bebildernde Oberfläche über eine mit einem Laser zusammenwirkende Transfer-Folie. Durch den thermischen Einfluss des Lasers wird dann das auf der Transferfolie befindliche Medium von der Transferfolie auf die zu bebildernde Oberfläche übertragen.The coating material is applied to the ink jet process in one operation brought surface to be coated. In another variant, the the layer carrying the image information onto the surface to be imaged via a with a Laser interacting transfer film. Due to the thermal influence of the laser then the medium located on the transfer film from the transfer film to the one to be imaged Surface transferred.
Durch die weiterführende Bewegung der Bebilderungseinrichtung 6 gelangen die beschichteten
Zonen in den Einflussbereich der Härteinheit 63, so dass die Schicht ausgehärtet werden
kann. Das erfolgt durch einen Laser oder durch UV-Licht.Due to the continued movement of the
Dieser Vorgang wird kontinuierlich fortgeführt, bis die Bebilderungseinrichtung 6 am anderem
Ende des Druckformzylinders 1 angekommen ist.This process is continued until the
Damit ist die Beschichtung innerhalb eines Arbeitsganges abgeschlossen und die Ausführung
des aktuellen Druckauftrages kann beginnen. Hierzu werden das Farbwerk 2, das
Feuchtwerk 3 und ggf. der Gummizylinder 4 wieder an den Druckformzylinder 1 angestellt.
Der Druckformzylinder wird ggf. wieder eingekuppelt. Damit kann die übliche Einfärbung der
Druckform bzw. der Oberfläche des Druckformzylinders 1 beginnen und der aktuelle Druckauftrag
ausgeführt werden.This completes the coating within one work step and the execution
of the current print job can begin. The
Das erfindungsgemäße Verfahren kann auch mit der in der Figur 4 dargestellten Einrichtung
realisiert werden. Durch die Anordnung der Löscheinheit 61', Bebilderungseinheit 62' und
Härteinheit 63' rechtwinklig zur Achse des Druckformzylinders 1 wird auf einer Spur die vorhandene
Bildinformation gelöscht, die aktuelle Bildinformation übertragen und ausgehärtet.The method according to the invention can also be carried out with the device shown in FIG
will be realized. The arrangement of the erasing unit 61 ', imaging unit 62' and
Hardening unit 63 'perpendicular to the axis of the
Eine weitere Ausführung der Erfindung kann durch die in den Figuren 4 und 5 gezeigte Einrichtung
realisiert werden. Bei diesem Verfahren wird eine bebilderbare Schicht auf den
Druckformzylinder 1 übertragen. Das geschieht auf folgende Weise:A further embodiment of the invention can be achieved by the device shown in FIGS. 4 and 5
will be realized. In this method, an imageable layer is applied to the
Durch eine Löscheinheit 71 wird die auf der Oberfläche des Druckformzylinders 1 bzw. auf
der Oberfläche der Druckform vorhandene bildtragende Schicht entfernt. Die Rückstände
werden abgesaugt. Beim Weiterbewegen der Bebilderungseinrichtung 7 wird durch die Beschichtungseinheit
73 eine Beschichtung auf die Oberfläche des Druckformzylinders 1 bzw.
auf die Oberfläche der Druckform aufgebracht. A
In einer Form der Ausführung wird innerhalb eines Arbeitsganges eine farbfreundliche Schicht auf die zu beschichtende Oberfläche gebracht. Die Oberfläche ist in diesem Fall farbabweisend.In one form of execution, a color-friendly one becomes in one work step Layer applied to the surface to be coated. The surface is in this case ink-repellent.
Diese Schicht wird anschließend durch die Bebilderungseinheit 72 bebildert und ggf. ausgehärtet.
Dabei werden durch einen Ablations-Laser Bereiche der farbfreundlichen Schicht an
den nicht bildtragenden Bereichen entfernt, so dass die farbabweisende Oberfläche des
Druckformzylinders 1 bzw. der Druckform freigelegt wird.This layer is then imaged by the
Das kann vorteilhaft in einem Arbeitsgang mit dem Löschen und dem Aufbringen der bebilderbaren Schicht erfolgen. Dabei wird die in den Figuren 4 und 5 gezeigte Einrichtung eingesetzt. Es kann aber auch durch einen gesonderten Arbeitsgang erfolgen.This can be advantageous in one step with the deletion and application of the imageable Layer. The device shown in FIGS. 4 and 5 is used. But it can also be done by a separate operation.
In einer anderen Ausführung wird eine farbabweisende Schicht auf die hier farbfreundliche
Oberfläche des Druckformzylinders 1 bzw. der Druckplatte gebracht. Die Bebilderung erfolgt
nunmehr so, dass die farbabweisende Schicht an den bildtragenden Bereichen entfernt wird,
so dass die farbfreundliche Oberfläche freigelegt wird.In another version, a color-repellent layer is applied to the color-friendly one
Bring surface of the
Damit kann die Ausführung des aktuellen Druckauftrages beginnen. Hierzu werden das
Farbwerk 2, das Feuchtwerk 3 und ggf. der Gummizylinder 4 wieder an den Druckformzylinder
1 angestellt. Der Druckformzylinder wird ggf. wieder eingekuppelt. Damit kann die übliche
Einfärbung der Druckform bzw. der Oberfläche des Druckformzylinders 1 beginnen und
der aktuelle Druckauftrag ausgeführt werden. The execution of the current print job can then begin. This will be the
- 11
- DruckformzylinderPlate cylinder
- 22
- Farbwerkinking
- 33
- Feuchtwerkdampening
- 44
- Gummizylinderrubber cylinder
- 55
- GegendruckzylinderImpression cylinder
- 66
- Bebilderungseinrichtungimaging
- 6161
- Löscheinheitextinguishing unit
- 6262
- Bebilderungseinheitimaging unit
- 6363
- HärteinheitHärteinheit
- 6464
- Traversetraverse
- 6565
- Absaugungsuction
- 6'6 '
- Bebilderungseinrichtungimaging
- 61'61 '
- Löscheinheitextinguishing unit
- 62'62 '
- Bebilderungseinheitimaging unit
- 63'63 '
- HärteinheitHärteinheit
- 64'64 '
- Traversetraverse
- 65'65 '
- Absaugungsuction
- 77
- Bebilderungseinrichtungimaging
- 7171
- Löscheinheitextinguishing unit
- 7272
- Bebilderungseinheitimaging unit
- 7373
- Beschichtungseinheitcoating unit
- 731731
- Kammerrakelchambered doctor blade
- 732732
- Rasterwalzeanilox roller
- 733733
- Versorgungsleitungsupply line
- 7474
- Traversetraverse
- 7575
- Absaugungsuction
Claims (30)
dadurch gekennzeichnet, dass
die Bebilderungseinrichtung (6; 6') eine integrierte Löscheinheit (61, 61') aufweist, die in Bewegungsrichtung der Bebilderungseinrichtung (6; 6') dieser vorgeordnet ist.Device in printing machines for imaging surfaces, the printing machine having at least one inking unit (2) which can be switched off from the printing form cylinder (1), possibly a printing form cylinder (1) which interacts with a dampening unit (3) which can also be switched off, and possibly a printing cylinder (1) ) interacting rubber cylinder (4) and a traversing imaging device (6, 6 ') with an imaging unit (62, 62') for applying image-bearing or non-image-bearing layers,
characterized in that
the imaging device (6; 6 ') has an integrated erasing unit (61, 61') which is arranged upstream of the imaging device (6; 6 ') in the direction of movement.
dadurch gekennzeichnet, dass
die Bebilderungseinrichtung (7) eine integrierte Löscheinheit (71) aufweist, die in Bewegungsrichtung der Beschichtungseinheit (73) vorgeordnet ist.Device in printing machines for imaging surfaces, the printing machine having at least one inking unit (2) that can be switched off from the printing form cylinder (1), possibly with a printing form cylinder (1) that interacts with a dampening unit (3) that can also be switched off, and possibly with a printing plate cylinder (1 ) interacting rubber cylinder (4), a traversing imaging device (7) with a coating unit (73) for applying a layer and an ablation laser for imaging the surfaces,
characterized in that
the imaging device (7) has an integrated erasing unit (71) which is arranged upstream of the coating unit (73).
Applications Claiming Priority (2)
| Application Number | Priority Date | Filing Date | Title |
|---|---|---|---|
| DE10032703A DE10032703A1 (en) | 2000-07-05 | 2000-07-05 | Process and device in printing machines for imaging surfaces |
| DE10032703 | 2000-07-05 |
Publications (3)
| Publication Number | Publication Date |
|---|---|
| EP1170122A2 true EP1170122A2 (en) | 2002-01-09 |
| EP1170122A3 EP1170122A3 (en) | 2003-08-27 |
| EP1170122B1 EP1170122B1 (en) | 2005-08-24 |
Family
ID=7647903
Family Applications (1)
| Application Number | Title | Priority Date | Filing Date |
|---|---|---|---|
| EP01115346A Expired - Lifetime EP1170122B1 (en) | 2000-07-05 | 2001-06-26 | Device for imaging surfaces in printing machines |
Country Status (4)
| Country | Link |
|---|---|
| US (1) | US6637335B2 (en) |
| EP (1) | EP1170122B1 (en) |
| AT (1) | ATE302688T1 (en) |
| DE (2) | DE10032703A1 (en) |
Cited By (3)
| Publication number | Priority date | Publication date | Assignee | Title |
|---|---|---|---|---|
| EP1179424A2 (en) * | 2000-08-09 | 2002-02-13 | Koenig & Bauer Aktiengesellschaft | Image-forming equipment |
| US9701120B2 (en) | 2007-08-20 | 2017-07-11 | R.R. Donnelley & Sons Company | Compositions compatible with jet printing and methods therefor |
| US10022965B2 (en) | 2006-02-21 | 2018-07-17 | R.R. Donnelley & Sons Company | Method of operating a printing device and an image generation kit |
Families Citing this family (18)
| Publication number | Priority date | Publication date | Assignee | Title |
|---|---|---|---|---|
| US7036430B2 (en) * | 2002-12-26 | 2006-05-02 | Creo Il Ltd. | Method for producing a flexographic printing plate formed by inkjetted fluid |
| JP2004322511A (en) * | 2003-04-25 | 2004-11-18 | Konica Minolta Medical & Graphic Inc | Printing method |
| DE10319685A1 (en) * | 2003-05-02 | 2004-11-18 | Werner Kammann Maschinenfabrik Gmbh | Device for exposing printing plates of a printing unit |
| JP2005319782A (en) * | 2004-05-05 | 2005-11-17 | Man Roland Druckmas Ag | Method and device for manufacturing printing plate |
| DE102004022087A1 (en) * | 2004-05-05 | 2005-12-01 | Man Roland Druckmaschinen Ag | Method and device for the production of printing plates |
| DE102005004891A1 (en) * | 2005-02-03 | 2006-08-10 | Man Roland Druckmaschinen Ag | Device for transporting printing paper rolls |
| DE102005006064A1 (en) * | 2005-02-10 | 2006-08-24 | Man Roland Druckmaschinen Ag | Device for applying a fluid to a printing plate |
| JP2007050637A (en) * | 2005-08-19 | 2007-03-01 | Fujifilm Corp | Plate making equipment |
| DE102005046242A1 (en) * | 2005-09-28 | 2007-03-29 | Man Roland Druckmaschinen Ag | Process for imaging printing forms |
| DE102005048983A1 (en) * | 2005-10-13 | 2007-04-19 | Man Roland Druckmaschinen Ag | Process for imaging printing forms |
| US8881651B2 (en) | 2006-02-21 | 2014-11-11 | R.R. Donnelley & Sons Company | Printing system, production system and method, and production apparatus |
| ATE453509T1 (en) | 2006-02-21 | 2010-01-15 | Moore Wallace North Am Inc | SYSTEMS AND METHODS FOR HIGH-SPEED VARIABLE PRINTING OPERATIONS |
| US9463643B2 (en) | 2006-02-21 | 2016-10-11 | R.R. Donnelley & Sons Company | Apparatus and methods for controlling application of a substance to a substrate |
| US8869698B2 (en) | 2007-02-21 | 2014-10-28 | R.R. Donnelley & Sons Company | Method and apparatus for transferring a principal substance |
| DE102007024611A1 (en) | 2007-05-25 | 2008-11-27 | Manroland Ag | Method and device for producing a permanent and erasable image on a printing form |
| DE102008031140A1 (en) | 2007-07-19 | 2009-01-22 | Heidelberger Druckmaschinen Ag | Apparatus and method for treating a rotating printing surface with a process fluid |
| MX2010001992A (en) | 2007-08-20 | 2010-08-31 | Moore Wallace North Am Inc | Apparatus and methods for controlling application of a substance to a substrate. |
| CN106218217B (en) * | 2016-07-20 | 2018-11-16 | 长兴佳迪嘉科技有限公司 | Novel ink-scraping device |
Family Cites Families (16)
| Publication number | Priority date | Publication date | Assignee | Title |
|---|---|---|---|---|
| JPS5426924B2 (en) * | 1974-06-11 | 1979-09-06 | ||
| US4718340A (en) * | 1982-08-09 | 1988-01-12 | Milliken Research Corporation | Printing method |
| DE3636129A1 (en) * | 1986-10-23 | 1988-05-05 | Man Technologie Gmbh | PRINT FORM FOR FLAT PRINTING |
| US5148746A (en) * | 1988-08-19 | 1992-09-22 | Presstek, Inc. | Print-head and plate-cleaning assembly |
| DE4013465A1 (en) * | 1990-04-27 | 1991-10-31 | Heidelberger Druckmasch Ag | PRINTING MACHINE WITH WASHING DEVICE |
| US5129321A (en) * | 1991-07-08 | 1992-07-14 | Rockwell International Corporation | Direct-to-press imaging system for use in lithographic printing |
| FR2709572B1 (en) * | 1993-06-23 | 1995-10-27 | Nipson | Method of printing at least one image and press for implementation. |
| DE19508843A1 (en) * | 1995-03-11 | 1996-09-12 | Kba Planeta Ag | Process for forming images on printing plate using digital information |
| DE19612927B4 (en) * | 1995-05-11 | 2009-12-10 | Kodak Graphic Communications Canada Company, Burnaby | Printing machine and image forming method for a printing press |
| US5713287A (en) * | 1995-05-11 | 1998-02-03 | Creo Products Inc. | Direct-to-Press imaging method using surface modification of a single layer coating |
| US5943956A (en) * | 1997-03-18 | 1999-08-31 | Machine Design Service, Inc. | Cleaning system for blanket cylinders |
| US5878664A (en) * | 1997-07-15 | 1999-03-09 | Hartka; Theodore J | Printing system and method |
| IL122953A (en) * | 1998-01-15 | 2000-11-21 | Scitex Corp Ltd | Printing member for use with a printing system and method of imaging the printing member |
| US5996499A (en) * | 1998-05-26 | 1999-12-07 | Creo Products Inc. | On-site generation of processless thermal printing plates using reactive materials |
| IL124981A0 (en) * | 1998-06-17 | 1999-01-26 | Scitex Corp Ltd | A system and method for offset lithographic printing utilizing a reusable plate |
| US6180325B1 (en) * | 1999-06-23 | 2001-01-30 | Creo Srl | Method for masking and exposing photosensitive printing plates |
-
2000
- 2000-07-05 DE DE10032703A patent/DE10032703A1/en not_active Ceased
-
2001
- 2001-06-26 DE DE50107174T patent/DE50107174D1/en not_active Expired - Lifetime
- 2001-06-26 EP EP01115346A patent/EP1170122B1/en not_active Expired - Lifetime
- 2001-06-26 AT AT01115346T patent/ATE302688T1/en not_active IP Right Cessation
- 2001-07-05 US US09/899,752 patent/US6637335B2/en not_active Expired - Fee Related
Cited By (3)
| Publication number | Priority date | Publication date | Assignee | Title |
|---|---|---|---|---|
| EP1179424A2 (en) * | 2000-08-09 | 2002-02-13 | Koenig & Bauer Aktiengesellschaft | Image-forming equipment |
| US10022965B2 (en) | 2006-02-21 | 2018-07-17 | R.R. Donnelley & Sons Company | Method of operating a printing device and an image generation kit |
| US9701120B2 (en) | 2007-08-20 | 2017-07-11 | R.R. Donnelley & Sons Company | Compositions compatible with jet printing and methods therefor |
Also Published As
| Publication number | Publication date |
|---|---|
| DE50107174D1 (en) | 2005-09-29 |
| US20030005834A1 (en) | 2003-01-09 |
| ATE302688T1 (en) | 2005-09-15 |
| DE10032703A1 (en) | 2002-01-17 |
| EP1170122B1 (en) | 2005-08-24 |
| US6637335B2 (en) | 2003-10-28 |
| EP1170122A3 (en) | 2003-08-27 |
Similar Documents
| Publication | Publication Date | Title |
|---|---|---|
| EP1170122B1 (en) | Device for imaging surfaces in printing machines | |
| EP0906825B1 (en) | Method for operating a rotary press | |
| EP0788880B1 (en) | Printing machine with at least an interchangeable forme cylinder | |
| DE19612927B4 (en) | Printing machine and image forming method for a printing press | |
| DE4211638C2 (en) | Process and device for painting and for printing sheets in a coating unit with a printing unit | |
| DE29507416U1 (en) | Device for cleaning ink transfer cylinders | |
| WO1999042291A1 (en) | Sheet-fed letterpress rotary with printing units for multicolour printing and at least one coating unit | |
| DE19942617A1 (en) | Device and method for performing a flying plate change | |
| DE10311514B4 (en) | Method for operating an offset printing unit and offset printing unit | |
| EP1188559B1 (en) | Device for imaging cylindrical surfaces in printing machines | |
| CH652345A5 (en) | Offset rotary printing machine with an apparatus for interrupting the supply of damping medium | |
| DE4444453A1 (en) | Mechanical removal mechanism for forme plate | |
| DE10112417C1 (en) | Preparation method and appliance for printing comprise printing cylinder, pressure unit, doctor blade, and induction heater | |
| DE10110640A1 (en) | Correction of the print form in a rotary printing process is based upon range of external factors | |
| DE102010001314A1 (en) | Method for operating sheet-fed offset print machine, involves arranging multiple aggregates in series, forming printing elements, paint work or combination of printing element and paint work | |
| EP1354700B1 (en) | Process for handling renewable imageable printing plates or cylinders in printing machines | |
| EP1179425B1 (en) | Method for treating a reusable printing form or cylinder in a printing machine | |
| EP0640477A1 (en) | Rotary printing machine for producing newspapers | |
| EP1401660B1 (en) | Method and device for producing different printed images on the same print substrate | |
| EP1834769A2 (en) | Sheet fed printing press | |
| EP1167023B1 (en) | Method for applying image forming coatings in printing machines | |
| EP1167024B1 (en) | Method and means for applying imageable coatings in printing machines | |
| DE4427815B4 (en) | Use of a cleaning process for cylinders or rollers of inking units of a multicolor printing machine | |
| DE102007004217A1 (en) | Method for cleaning of cylinders and rollers in offset printing machine, involves moving away dampening solution case from operating position for printing operation, in which dampening ductor is dipped in dampening solution | |
| DE102013014370A1 (en) | Method for cleaning printing element of rotary offset printing machine, involves selecting combination of different cleaning programs stored in control computer of printing machine through touchscreen |
Legal Events
| Date | Code | Title | Description |
|---|---|---|---|
| PUAI | Public reference made under article 153(3) epc to a published international application that has entered the european phase |
Free format text: ORIGINAL CODE: 0009012 |
|
| AK | Designated contracting states |
Kind code of ref document: A2 Designated state(s): AT BE CH CY DE DK ES FI FR GB GR IE IT LI LU MC NL PT SE TR |
|
| AX | Request for extension of the european patent |
Free format text: AL;LT;LV;MK;RO;SI |
|
| PUAL | Search report despatched |
Free format text: ORIGINAL CODE: 0009013 |
|
| AK | Designated contracting states |
Designated state(s): AT BE CH CY DE DK ES FI FR GB GR IE IT LI LU MC NL PT SE TR |
|
| AX | Request for extension of the european patent |
Extension state: AL LT LV MK RO SI |
|
| RIC1 | Information provided on ipc code assigned before grant |
Ipc: 7B 41C 1/10 A Ipc: 7B 41F 31/30 B Ipc: 7B 41N 3/00 B |
|
| 17P | Request for examination filed |
Effective date: 20030716 |
|
| 17Q | First examination report despatched |
Effective date: 20040129 |
|
| AKX | Designation fees paid |
Designated state(s): AT BE CH CY DE DK ES FI FR GB GR IE IT LI LU MC NL PT SE TR |
|
| GRAP | Despatch of communication of intention to grant a patent |
Free format text: ORIGINAL CODE: EPIDOSNIGR1 |
|
| RTI1 | Title (correction) |
Free format text: DEVICE FOR IMAGING SURFACES IN PRINTING MACHINES |
|
| GRAS | Grant fee paid |
Free format text: ORIGINAL CODE: EPIDOSNIGR3 |
|
| GRAA | (expected) grant |
Free format text: ORIGINAL CODE: 0009210 |
|
| AK | Designated contracting states |
Kind code of ref document: B1 Designated state(s): AT BE CH CY DE DK ES FI FR GB GR IE IT LI LU MC NL PT SE TR |
|
| PG25 | Lapsed in a contracting state [announced via postgrant information from national office to epo] |
Ref country code: NL Free format text: LAPSE BECAUSE OF FAILURE TO SUBMIT A TRANSLATION OF THE DESCRIPTION OR TO PAY THE FEE WITHIN THE PRESCRIBED TIME-LIMIT Effective date: 20050824 Ref country code: FI Free format text: LAPSE BECAUSE OF FAILURE TO SUBMIT A TRANSLATION OF THE DESCRIPTION OR TO PAY THE FEE WITHIN THE PRESCRIBED TIME-LIMIT Effective date: 20050824 Ref country code: IE Free format text: LAPSE BECAUSE OF FAILURE TO SUBMIT A TRANSLATION OF THE DESCRIPTION OR TO PAY THE FEE WITHIN THE PRESCRIBED TIME-LIMIT Effective date: 20050824 |
|
| REG | Reference to a national code |
Ref country code: GB Ref legal event code: FG4D Free format text: NOT ENGLISH |
|
| REG | Reference to a national code |
Ref country code: CH Ref legal event code: EP |
|
| REG | Reference to a national code |
Ref country code: IE Ref legal event code: FG4D Free format text: LANGUAGE OF EP DOCUMENT: GERMAN |
|
| REF | Corresponds to: |
Ref document number: 50107174 Country of ref document: DE Date of ref document: 20050929 Kind code of ref document: P |
|
| PG25 | Lapsed in a contracting state [announced via postgrant information from national office to epo] |
Ref country code: GR Free format text: LAPSE BECAUSE OF FAILURE TO SUBMIT A TRANSLATION OF THE DESCRIPTION OR TO PAY THE FEE WITHIN THE PRESCRIBED TIME-LIMIT Effective date: 20051124 Ref country code: SE Free format text: LAPSE BECAUSE OF FAILURE TO SUBMIT A TRANSLATION OF THE DESCRIPTION OR TO PAY THE FEE WITHIN THE PRESCRIBED TIME-LIMIT Effective date: 20051124 Ref country code: DK Free format text: LAPSE BECAUSE OF FAILURE TO SUBMIT A TRANSLATION OF THE DESCRIPTION OR TO PAY THE FEE WITHIN THE PRESCRIBED TIME-LIMIT Effective date: 20051124 |
|
| PG25 | Lapsed in a contracting state [announced via postgrant information from national office to epo] |
Ref country code: ES Free format text: LAPSE BECAUSE OF FAILURE TO SUBMIT A TRANSLATION OF THE DESCRIPTION OR TO PAY THE FEE WITHIN THE PRESCRIBED TIME-LIMIT Effective date: 20051205 |
|
| GBT | Gb: translation of ep patent filed (gb section 77(6)(a)/1977) |
Effective date: 20051212 |
|
| PG25 | Lapsed in a contracting state [announced via postgrant information from national office to epo] |
Ref country code: PT Free format text: LAPSE BECAUSE OF FAILURE TO SUBMIT A TRANSLATION OF THE DESCRIPTION OR TO PAY THE FEE WITHIN THE PRESCRIBED TIME-LIMIT Effective date: 20060124 |
|
| NLV1 | Nl: lapsed or annulled due to failure to fulfill the requirements of art. 29p and 29m of the patents act | ||
| REG | Reference to a national code |
Ref country code: IE Ref legal event code: FD4D |
|
| ET | Fr: translation filed | ||
| PLBI | Opposition filed |
Free format text: ORIGINAL CODE: 0009260 |
|
| PLAX | Notice of opposition and request to file observation + time limit sent |
Free format text: ORIGINAL CODE: EPIDOSNOBS2 |
|
| PG25 | Lapsed in a contracting state [announced via postgrant information from national office to epo] |
Ref country code: BE Free format text: LAPSE BECAUSE OF NON-PAYMENT OF DUE FEES Effective date: 20060630 Ref country code: MC Free format text: LAPSE BECAUSE OF NON-PAYMENT OF DUE FEES Effective date: 20060630 Ref country code: LI Free format text: LAPSE BECAUSE OF NON-PAYMENT OF DUE FEES Effective date: 20060630 Ref country code: CH Free format text: LAPSE BECAUSE OF NON-PAYMENT OF DUE FEES Effective date: 20060630 |
|
| 26 | Opposition filed |
Opponent name: HEIDELBERGER DRUCKMASCHINEN AG Effective date: 20060523 |
|
| PLBB | Reply of patent proprietor to notice(s) of opposition received |
Free format text: ORIGINAL CODE: EPIDOSNOBS3 |
|
| REG | Reference to a national code |
Ref country code: CH Ref legal event code: PL |
|
| PG25 | Lapsed in a contracting state [announced via postgrant information from national office to epo] |
Ref country code: AT Free format text: LAPSE BECAUSE OF NON-PAYMENT OF DUE FEES Effective date: 20060626 |
|
| BERE | Be: lapsed |
Owner name: KOENIG & BAUER A.G. Effective date: 20060630 |
|
| PG25 | Lapsed in a contracting state [announced via postgrant information from national office to epo] |
Ref country code: TR Free format text: LAPSE BECAUSE OF FAILURE TO SUBMIT A TRANSLATION OF THE DESCRIPTION OR TO PAY THE FEE WITHIN THE PRESCRIBED TIME-LIMIT Effective date: 20050824 Ref country code: LU Free format text: LAPSE BECAUSE OF NON-PAYMENT OF DUE FEES Effective date: 20060626 |
|
| PG25 | Lapsed in a contracting state [announced via postgrant information from national office to epo] |
Ref country code: CY Free format text: LAPSE BECAUSE OF FAILURE TO SUBMIT A TRANSLATION OF THE DESCRIPTION OR TO PAY THE FEE WITHIN THE PRESCRIBED TIME-LIMIT Effective date: 20050824 |
|
| PLCK | Communication despatched that opposition was rejected |
Free format text: ORIGINAL CODE: EPIDOSNREJ1 |
|
| PLBN | Opposition rejected |
Free format text: ORIGINAL CODE: 0009273 |
|
| STAA | Information on the status of an ep patent application or granted ep patent |
Free format text: STATUS: OPPOSITION REJECTED |
|
| 27O | Opposition rejected |
Effective date: 20081128 |
|
| PGFP | Annual fee paid to national office [announced via postgrant information from national office to epo] |
Ref country code: FR Payment date: 20110630 Year of fee payment: 11 |
|
| PGFP | Annual fee paid to national office [announced via postgrant information from national office to epo] |
Ref country code: GB Payment date: 20110620 Year of fee payment: 11 |
|
| PGFP | Annual fee paid to national office [announced via postgrant information from national office to epo] |
Ref country code: IT Payment date: 20110623 Year of fee payment: 11 |
|
| PGFP | Annual fee paid to national office [announced via postgrant information from national office to epo] |
Ref country code: DE Payment date: 20110624 Year of fee payment: 11 |
|
| GBPC | Gb: european patent ceased through non-payment of renewal fee |
Effective date: 20120626 |
|
| PG25 | Lapsed in a contracting state [announced via postgrant information from national office to epo] |
Ref country code: IT Free format text: LAPSE BECAUSE OF NON-PAYMENT OF DUE FEES Effective date: 20120626 |
|
| REG | Reference to a national code |
Ref country code: FR Ref legal event code: ST Effective date: 20130228 |
|
| REG | Reference to a national code |
Ref country code: DE Ref legal event code: R119 Ref document number: 50107174 Country of ref document: DE Effective date: 20130101 |
|
| PG25 | Lapsed in a contracting state [announced via postgrant information from national office to epo] |
Ref country code: GB Free format text: LAPSE BECAUSE OF NON-PAYMENT OF DUE FEES Effective date: 20120626 Ref country code: DE Free format text: LAPSE BECAUSE OF NON-PAYMENT OF DUE FEES Effective date: 20130101 Ref country code: FR Free format text: LAPSE BECAUSE OF NON-PAYMENT OF DUE FEES Effective date: 20120702 |
