EP0082824A2 - Shoe with an elastified upper - Google Patents
Shoe with an elastified upper Download PDFInfo
- Publication number
- EP0082824A2 EP0082824A2 EP82830112A EP82830112A EP0082824A2 EP 0082824 A2 EP0082824 A2 EP 0082824A2 EP 82830112 A EP82830112 A EP 82830112A EP 82830112 A EP82830112 A EP 82830112A EP 0082824 A2 EP0082824 A2 EP 0082824A2
- Authority
- EP
- European Patent Office
- Prior art keywords
- shoe
- sole
- attached
- crossed
- elasticized
- Prior art date
- Legal status (The legal status is an assumption and is not a legal conclusion. Google has not performed a legal analysis and makes no representation as to the accuracy of the status listed.)
- Withdrawn
Links
Images
Classifications
-
- A—HUMAN NECESSITIES
- A43—FOOTWEAR
- A43B—CHARACTERISTIC FEATURES OF FOOTWEAR; PARTS OF FOOTWEAR
- A43B23/00—Uppers; Boot legs; Stiffeners; Other single parts of footwear
- A43B23/02—Uppers; Boot legs
- A43B23/0205—Uppers; Boot legs characterised by the material
Definitions
- the invention relates to a shoe with an elasticated upper specially designed for deformed feet.
- the main purpose of this invention is to provide a shoe that can adapt to the feet) suffering from various significant deformations without causing pain.
- this invention consist mainly in the fact that this shoe can be fitted with ease and without pain by any type of foot having one or more deformations of significant size; that it can be mass produced like normal shoes; that it can be made indifferently in the form of shoes, sandals, boots for men or women; that having the thickness of the vamp greater than that of normal shoes, it has a greater insulating power and consequently helps to protect the feet against the cold; that the elasticity of the vamp produces a massaging effect on the foot when the shoe is put on and taken off and, moreover, facilitates the lifting of the foot when walking.
- the present invention consists in providing a shoe comprising a sole and an upper attached to the sole in which at least part of the surface of the upper is elasticized and in which the upper is formed by an elastic fabric which is preliminarily stitched under pressure; differently, the footprint is formed by a non-elastic fabric (such as leather) which is previously pleated and sewn with elasticated fabric.
- a non-elastic fabric such as leather
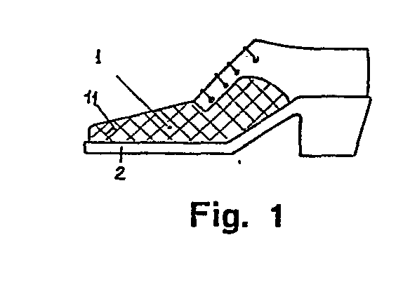
- Figure 1 shows, in side view, a woman's shoe with a flexible upper in accordance with the invention
- Figure 2 shows, in side view, a man's shoe with a flexible upper.
- a shoe according to the invention essentially comprises a vamp (1) which is flexible, that is to say elasticized over all or part of its surface and traditionally attached to the sole (2).
- the elasticity is obtained with a fabric which is inherently elastic but which has been preliminarily stitched along seam lines (1) crossed while it was kept stretched before being successively attached to the sole (2) after having left it to withdraw; differently, elasticity is obtained with a non-elastic material, such as natural or synthetic leather, previously pleated and sewn with elasticated thread according to crossed seam lines (11).
- seam lines (11) can reproduce any type of design, such as squares or diamonds, as illustrated in Figure 1 and Figure 2.
- the vamp (1) can be finished and / or embellished with different finishes like a normal shoe.
Landscapes
- Chemical & Material Sciences (AREA)
- Engineering & Computer Science (AREA)
- Materials Engineering (AREA)
- Footwear And Its Accessory, Manufacturing Method And Apparatuses (AREA)
Abstract
Pour réaliser une chaussure pouvant s'adapter à des pieds atteints de différentes déformations de taille importante sans provoquer de douleur, on utilise une chaussure comprenant une semelle (2) et une empeigne (1) attachée à la dite semelle (2), dans laquelle cette empeigne (1) est élastifiée sur tout ou partie de sa surface. La dite empeigne (1) élastifiée est obtenue avec un tissu en soi élastique, préliminairement piqué avec des coutures (11) croisées, effectuées sur le tissu maintenu tendu avant d'être attaché à la semelle en position de retrait; de façon différente, elle est obtenue avec une matière non élastique, comme du cuir naturel ou artificiel, préliminairement plissé et cousu ainsi selon des lignes croisées (11). To make a shoe that can adapt to feet suffering from different large deformations without causing pain, a shoe is used comprising a sole (2) and an upper (1) attached to said sole (2), in which this upper (1) is elasticized over all or part of its surface. Said elasticated upper (1) is obtained with a fabric which is inherently elastic, preliminary stitched with crossed seams (11), made on the fabric kept stretched before being attached to the sole in the retracted position; differently, it is obtained with a non-elastic material, such as natural or artificial leather, previously pleated and thus sewn in crossed lines (11).
Description
L'invention concerne une chaussure à empeigne élastifiée spécialement prévue pour des pieds déformés.The invention relates to a shoe with an elasticated upper specially designed for deformed feet.
On sait qu'une personne ayant des pieds déformés et en particulier si la déformation provoque des douleurs, n'est pas en mesure de chausser des chaussures normales mais au contraire qu'elle a besoin de chaussures corrigées spécialement, c'est-à-dire de chaussures avec l'empeigne qui recouvre la surface déformée du pied de façon à réduire le plus possible la pression de la paroi de la chaussure sur la partie déformée du pied et donc ne provoquant pas de douleur mais plutôt la soulageant.We know that a person with deformed feet and in particular if the deformation causes pain, is not able to put on normal shoes but on the contrary that he needs specially corrected shoes, that is to say say shoes with the vamp which covers the deformed surface of the foot so as to reduce as much as possible the pressure of the wall of the shoe on the deformed part of the foot and therefore not causing pain but rather relieving it.
Ces chaussures doivent être fabriquées sur mesure en rapport avec chaque type de déformation et en conséquence elles sont coûteuses.These shoes must be made to measure in relation to each type of deformation and therefore they are expensive.
Le but principal de cette invention est de proposer une chaussure pouvant s'adapter à des pieds )atteints de différentes déformations importantes sans provoquer de douleur.The main purpose of this invention is to provide a shoe that can adapt to the feet) suffering from various significant deformations without causing pain.
Nous avons obtenu ce résultat conformémet à l'invention en adoptant l'idée de fabriquer une chaussure appropriée avec une empeigne souple, c'est-à-dire élastifiée.We obtained this result in accordance with the invention by adopting the idea of making an appropriate shoe with a flexible, that is to say elasticated, upper.
Les avantages de cette invention consistent surtout dans le fait que cette chaussure peut être chaussée avec facilité et sans douleur par n'importe quel type de pied ayant une ou plusieurs déformations de taille importante; qu'elle peut être fabriquée en série comme les chaussures normales; qu'elle peut être réalisée indifféremment sous forme de chaussure, sandale, botte d'homme ou de femme; qu'ayant l'épaisseur de l'empeigne plus grande que celle des chaussures normales, elle a un pouvoir isolant plus important et en conséquence aide à protéger les pieds contre le froid; que l'élasticité de l'empeigne produit un effet de massage du pied lorsque la chaussure est mise et enlevée et en outre, facilite le soulèvement du pied lors de la marche. En substance, la présente invention consiste à proposer une chaussure comprenant une semmlle et une empeigne attachée à la semelle dans laquelle au moins une partie de la surface de l'empeigne est élastifiée et dans laquelle l'empeigne est formée par un tissu élastique préliminairement piqué sous tension; de façon différente, l'empei gne est formée par un tissu non élastique (comme le cuir) préliminairement plissé et cousu avec du £il élastifié.The advantages of this invention consist mainly in the fact that this shoe can be fitted with ease and without pain by any type of foot having one or more deformations of significant size; that it can be mass produced like normal shoes; that it can be made indifferently in the form of shoes, sandals, boots for men or women; that having the thickness of the vamp greater than that of normal shoes, it has a greater insulating power and consequently helps to protect the feet against the cold; that the elasticity of the vamp produces a massaging effect on the foot when the shoe is put on and taken off and, moreover, facilitates the lifting of the foot when walking. In essence, the present invention consists in providing a shoe comprising a sole and an upper attached to the sole in which at least part of the surface of the upper is elasticized and in which the upper is formed by an elastic fabric which is preliminarily stitched under pressure; differently, the footprint is formed by a non-elastic fabric (such as leather) which is previously pleated and sewn with elasticated fabric.
L'invention sera expliquée ci-dessous plus en dé tails à l'aide des dessins en annexe n'illustrant qu'une forme de réalisation.The invention will be explained below in more detail with the aid of the accompanying drawings which do not illustrate than an embodiment.
La Figure 1 représente, en vue latérale, une chaus sure de femme à empeigne souple conformément à l'invention; la Figure 2 représente, en vue laté rale, une chaussure d'homme à empeigne souple. Une chaussure conforme à l'invention comprend essentiellemente une empeigne (1) qui est souple c'est-à-dire élastifiée sur tout ou partie de sa surface et attachée de façon traditionnelle à la semelle (2).Figure 1 shows, in side view, a woman's shoe with a flexible upper in accordance with the invention; Figure 2 shows, in side view, a man's shoe with a flexible upper. A shoe according to the invention essentially comprises a vamp (1) which is flexible, that is to say elasticized over all or part of its surface and traditionally attached to the sole (2).
L'élasticité est obtenue avec un tissu en soi élastique mais qui a été préliminairemnnt piqué selon des lignes de couture (1) croisées alors qu'il était maintenu tendu avant d'être successivement fixé à la semelle (2) après l'avoir laissé se retirer; de façon différente, l'élasticité est obtenue avec une matière non élastique, comme du cuir naturel ou synthétique, préliminairement plissé et cousu avec du fil élastifié selon des lignes de couture (11) croisées.The elasticity is obtained with a fabric which is inherently elastic but which has been preliminarily stitched along seam lines (1) crossed while it was kept stretched before being successively attached to the sole (2) after having left it to withdraw; differently, elasticity is obtained with a non-elastic material, such as natural or synthetic leather, previously pleated and sewn with elasticated thread according to crossed seam lines (11).
Evidemment ces lignes de couture (11) peuvent reproduire n'importe quel type de dessin, comme des carrés ou diamants, comme illustré dans la Figure 1 et la Figure 2. En outre, l'empeigne (1) peut être finie et/ou embellie avec des finitions différentes comme une.chaussure normale.Obviously these seam lines (11) can reproduce any type of design, such as squares or diamonds, as illustrated in Figure 1 and Figure 2. In addition, the vamp (1) can be finished and / or embellished with different finishes like a normal shoe.
Claims (5)
Applications Claiming Priority (2)
| Application Number | Priority Date | Filing Date | Title |
|---|---|---|---|
| IT8145209A IT8145209A0 (en) | 1981-12-21 | 1981-12-21 | PHYSIOLOGICAL SHOE WITH ELASTICIZED UPPER FOR COMPENSATION AND PROTECTION OF PAINFUL AND NON-PAINFUL DEFORMATIONS OF THE FOOT |
| IT4520981 | 1981-12-21 |
Publications (2)
| Publication Number | Publication Date |
|---|---|
| EP0082824A2 true EP0082824A2 (en) | 1983-06-29 |
| EP0082824A3 EP0082824A3 (en) | 1984-10-03 |
Family
ID=11256765
Family Applications (1)
| Application Number | Title | Priority Date | Filing Date |
|---|---|---|---|
| EP82830112A Withdrawn EP0082824A3 (en) | 1981-12-21 | 1982-04-26 | Shoe with an elastified upper |
Country Status (2)
| Country | Link |
|---|---|
| EP (1) | EP0082824A3 (en) |
| IT (1) | IT8145209A0 (en) |
Cited By (24)
| Publication number | Priority date | Publication date | Assignee | Title |
|---|---|---|---|---|
| WO1998043506A1 (en) * | 1997-03-28 | 1998-10-08 | Fila U.S.A., Inc. | Engineered textile |
| US7546698B2 (en) | 2006-05-25 | 2009-06-16 | Nike, Inc. | Article of footwear having an upper with thread structural elements |
| US7574818B2 (en) | 2006-05-25 | 2009-08-18 | Nike, Inc. | Article of footwear having an upper with thread structural elements |
| US7870681B2 (en) | 2006-05-25 | 2011-01-18 | Nike, Inc. | Article of footwear having an upper with thread structural elements |
| EP2394523A1 (en) | 2010-06-11 | 2011-12-14 | Salomon S.A.S. | Shoe with improved walking comfort |
| US8122616B2 (en) | 2008-07-25 | 2012-02-28 | Nike, Inc. | Composite element with a polymer connecting layer |
| US8132340B2 (en) | 2009-04-07 | 2012-03-13 | Nike, Inc. | Footwear incorporating crossed tensile strand elements |
| US8266827B2 (en) | 2009-08-24 | 2012-09-18 | Nike, Inc. | Article of footwear incorporating tensile strands and securing strands |
| US8312645B2 (en) | 2006-05-25 | 2012-11-20 | Nike, Inc. | Material elements incorporating tensile strands |
| US8312646B2 (en) | 2006-05-25 | 2012-11-20 | Nike, Inc. | Article of footwear incorporating a tensile element |
| US8388791B2 (en) | 2009-04-07 | 2013-03-05 | Nike, Inc. | Method for molding tensile strand elements |
| US8407815B2 (en) | 2010-08-13 | 2013-04-02 | Nike, Inc. | Apparel incorporating tensile strands |
| US8418380B2 (en) | 2006-05-25 | 2013-04-16 | Nike, Inc. | Article of footwear having an upper incorporating a tensile strand with a cover layer |
| US8631589B2 (en) | 2010-07-30 | 2014-01-21 | Nike, Inc. | Article of footwear incorporating floating tensile strands |
| US8789734B2 (en) | 2009-05-18 | 2014-07-29 | Nike, Inc. | Carry bags with tensile strand reinforcing elements |
| US8819963B2 (en) | 2012-02-24 | 2014-09-02 | Nike, Inc. | Articles of footwear with tensile strand elements |
| US8887410B2 (en) | 2012-02-24 | 2014-11-18 | Nike, Inc. | Articles of footwear with tensile strand elements |
| US8893405B2 (en) | 2006-05-25 | 2014-11-25 | Nike, Inc. | Article of footwear incorporating tensile strands with an elongated cross-sectional shape |
| US8904671B2 (en) | 2006-05-25 | 2014-12-09 | Nike, Inc. | Footwear incorporating a tensile element with a deposition layer |
| US8925129B2 (en) | 2012-02-24 | 2015-01-06 | Nike, Inc. | Methods of manufacturing articles of footwear with tensile strand elements |
| US8973288B2 (en) | 2010-07-30 | 2015-03-10 | Nike, Inc. | Footwear incorporating angled tensile strand elements |
| US9113674B2 (en) | 2011-12-15 | 2015-08-25 | Nike, Inc. | Footwear having an upper with forefoot tensile strand elements |
| US9808048B2 (en) | 2012-06-21 | 2017-11-07 | Nike, Inc. | Footwear incorporating looped tensile strand elements |
| US11284658B2 (en) | 2011-07-08 | 2022-03-29 | Nike, Inc. | Water shorts with webbed configuration |
Families Citing this family (1)
| Publication number | Priority date | Publication date | Assignee | Title |
|---|---|---|---|---|
| US7752775B2 (en) | 2000-03-10 | 2010-07-13 | Lyden Robert M | Footwear with removable lasting board and cleats |
Family Cites Families (4)
| Publication number | Priority date | Publication date | Assignee | Title |
|---|---|---|---|---|
| US2188168A (en) * | 1938-09-03 | 1940-01-23 | Winkel Mabel | Shoe |
| US2205356A (en) * | 1938-12-12 | 1940-06-18 | Gruensfelder | Shoe of elastic material |
| FR2105444A5 (en) * | 1970-09-02 | 1972-04-28 | Keloglanian Girard | |
| FR2457651A1 (en) * | 1979-05-22 | 1980-12-26 | Frapima Sarl | Shoe for sensitive feet - has upper of skin and stretch fabric |
-
1981
- 1981-12-21 IT IT8145209A patent/IT8145209A0/en unknown
-
1982
- 1982-04-26 EP EP82830112A patent/EP0082824A3/en not_active Withdrawn
Cited By (50)
| Publication number | Priority date | Publication date | Assignee | Title |
|---|---|---|---|---|
| WO1998043506A1 (en) * | 1997-03-28 | 1998-10-08 | Fila U.S.A., Inc. | Engineered textile |
| US8312646B2 (en) | 2006-05-25 | 2012-11-20 | Nike, Inc. | Article of footwear incorporating a tensile element |
| US10413012B2 (en) | 2006-05-25 | 2019-09-17 | Nike, Inc. | Material elements incorporating tensile strands |
| US7770307B2 (en) | 2006-05-25 | 2010-08-10 | Nike, Inc. | Article of footwear having an upper with thread structural elements |
| US7814852B2 (en) | 2006-05-25 | 2010-10-19 | Nike, Inc. | Article of footwear having an upper with thread structural elements |
| US7870681B2 (en) | 2006-05-25 | 2011-01-18 | Nike, Inc. | Article of footwear having an upper with thread structural elements |
| US7870682B2 (en) | 2006-05-25 | 2011-01-18 | Nike, Inc. | Article of footwear having an upper with thread structural elements |
| US9144269B2 (en) | 2006-05-25 | 2015-09-29 | Nike, Inc. | Method of manufacturing an article of footwear incorporating a tensile element |
| US8904671B2 (en) | 2006-05-25 | 2014-12-09 | Nike, Inc. | Footwear incorporating a tensile element with a deposition layer |
| US8893405B2 (en) | 2006-05-25 | 2014-11-25 | Nike, Inc. | Article of footwear incorporating tensile strands with an elongated cross-sectional shape |
| US7546698B2 (en) | 2006-05-25 | 2009-06-16 | Nike, Inc. | Article of footwear having an upper with thread structural elements |
| US7574818B2 (en) | 2006-05-25 | 2009-08-18 | Nike, Inc. | Article of footwear having an upper with thread structural elements |
| US9138029B2 (en) | 2006-05-25 | 2015-09-22 | Nike, Inc. | Article of footwear having an upper incorporating a tensile strand with a cover layer |
| US9609917B2 (en) | 2006-05-25 | 2017-04-04 | Nike, Inc. | Article of footwear incorporating tensile strands with an elongated cross-sectional shape |
| US10506848B2 (en) | 2006-05-25 | 2019-12-17 | Nike, Inc. | Footwear incorporating a tensile element with a deposition layer |
| US8418380B2 (en) | 2006-05-25 | 2013-04-16 | Nike, Inc. | Article of footwear having an upper incorporating a tensile strand with a cover layer |
| US9801430B2 (en) | 2006-05-25 | 2017-10-31 | Nike, Inc. | Footwear incorporating a tensile element with a deposition layer |
| US8312645B2 (en) | 2006-05-25 | 2012-11-20 | Nike, Inc. | Material elements incorporating tensile strands |
| US8464441B2 (en) | 2008-07-25 | 2013-06-18 | Nike, Inc. | Composite element with a polymer connecting layer |
| US8122616B2 (en) | 2008-07-25 | 2012-02-28 | Nike, Inc. | Composite element with a polymer connecting layer |
| US8132340B2 (en) | 2009-04-07 | 2012-03-13 | Nike, Inc. | Footwear incorporating crossed tensile strand elements |
| US9186858B2 (en) | 2009-04-07 | 2015-11-17 | Nike, Inc. | Method for molding tensile strand elements |
| US8388791B2 (en) | 2009-04-07 | 2013-03-05 | Nike, Inc. | Method for molding tensile strand elements |
| US8789734B2 (en) | 2009-05-18 | 2014-07-29 | Nike, Inc. | Carry bags with tensile strand reinforcing elements |
| US9420850B2 (en) | 2009-08-24 | 2016-08-23 | Nike, Inc. | Article of footwear incorporating tensile strands and securing strands |
| US8266827B2 (en) | 2009-08-24 | 2012-09-18 | Nike, Inc. | Article of footwear incorporating tensile strands and securing strands |
| US9055785B2 (en) | 2009-08-24 | 2015-06-16 | Nike, Inc. | Article of footwear incorporating tensile strands and securing strands |
| EP2394523A1 (en) | 2010-06-11 | 2011-12-14 | Salomon S.A.S. | Shoe with improved walking comfort |
| US8973288B2 (en) | 2010-07-30 | 2015-03-10 | Nike, Inc. | Footwear incorporating angled tensile strand elements |
| US9844244B2 (en) | 2010-07-30 | 2017-12-19 | Nike, Inc. | Footwear incorporating angled tensile strand elements |
| US9198479B2 (en) | 2010-07-30 | 2015-12-01 | Nike, Inc. | Article of footwear incorporating floating tensile strands |
| US10758009B2 (en) | 2010-07-30 | 2020-09-01 | Nike, Inc. | Footwear incorporating angled tensile strand elements |
| US9681706B2 (en) | 2010-07-30 | 2017-06-20 | Nike, Inc. | Footwear incorporating angled tensile strand elements |
| US9706811B2 (en) | 2010-07-30 | 2017-07-18 | Nike, Inc. | Article of footwear incorporating floating tensile strands |
| US8631589B2 (en) | 2010-07-30 | 2014-01-21 | Nike, Inc. | Article of footwear incorporating floating tensile strands |
| US8407815B2 (en) | 2010-08-13 | 2013-04-02 | Nike, Inc. | Apparel incorporating tensile strands |
| US8555415B2 (en) | 2010-08-13 | 2013-10-15 | Nike, Inc. | Apparel incorporating tensile strands |
| US11284658B2 (en) | 2011-07-08 | 2022-03-29 | Nike, Inc. | Water shorts with webbed configuration |
| US10912349B2 (en) | 2011-12-15 | 2021-02-09 | Nike, Inc. | Footwear having an upper with forefoot tensile strand elements |
| US9113674B2 (en) | 2011-12-15 | 2015-08-25 | Nike, Inc. | Footwear having an upper with forefoot tensile strand elements |
| US9713363B2 (en) | 2011-12-15 | 2017-07-25 | Nike, Inc. | Footwear having an upper with forefoot tensile strand elements |
| US9427047B2 (en) | 2012-02-24 | 2016-08-30 | Nike, Inc. | Methods of manufacturing articles of footwear with tensile strand elements |
| US9872538B2 (en) | 2012-02-24 | 2018-01-23 | Nike, Inc. | Articles of footwear with tensile strand elements |
| US8819963B2 (en) | 2012-02-24 | 2014-09-02 | Nike, Inc. | Articles of footwear with tensile strand elements |
| US9451808B2 (en) | 2012-02-24 | 2016-09-27 | Nike, Inc. | Articles of footwear with tensile strand elements |
| US8887410B2 (en) | 2012-02-24 | 2014-11-18 | Nike, Inc. | Articles of footwear with tensile strand elements |
| US9402444B2 (en) | 2012-02-24 | 2016-08-02 | Nike, Inc. | Articles of footwear with tensile strand elements |
| US8925129B2 (en) | 2012-02-24 | 2015-01-06 | Nike, Inc. | Methods of manufacturing articles of footwear with tensile strand elements |
| US9808048B2 (en) | 2012-06-21 | 2017-11-07 | Nike, Inc. | Footwear incorporating looped tensile strand elements |
| US10070693B2 (en) | 2012-06-21 | 2018-09-11 | Nike, Inc. | Footwear incorporating looped tensile strand elements |
Also Published As
| Publication number | Publication date |
|---|---|
| EP0082824A3 (en) | 1984-10-03 |
| IT8145209A0 (en) | 1981-12-21 |
Similar Documents
| Publication | Publication Date | Title |
|---|---|---|
| EP0082824A2 (en) | Shoe with an elastified upper | |
| CA2792262C (en) | Orthopedic device for the mechanical treatment of hallux valgus | |
| FR2617685A1 (en) | ARTICLE OF FOOTWEAR COMPRISING TWO SEPARATE ELEMENTS | |
| JPH04502787A (en) | Improved waterproof breathable socks | |
| USD503521S1 (en) | Wrapped edge shoe sole | |
| USD503847S1 (en) | Wrapped demi heel shoe sole | |
| US7207961B1 (en) | Medical apparatus for feet | |
| US1407992A (en) | Sandal or slipper | |
| US4302889A (en) | Boot to be worn after skiing | |
| FR2895235A1 (en) | SEMI-ORTHOPEDIC FOOTWEAR ARTICLE, INTENDED TO BE WEARED BY PERSONS WITH HALLUX VALGUX PATHOLOGIES OR TOOTH CLAWS | |
| FR2559039A3 (en) | CLOSED SHOE COMPRISING HOUSING FOR THE BIG ORTEIL IN ITS END | |
| FR2526668A1 (en) | Multiple ply waterproof boot for sail boarding etc. - having extensible fabric and rubber body with over-moulded sole and seams | |
| US2415004A (en) | Bootee | |
| US2139746A (en) | Method of making welting | |
| US3710485A (en) | One-piece slipper | |
| BE456573A (en) | ||
| BE1012754A6 (en) | Shoes for children. | |
| FR2762780A1 (en) | COMPRESSION LEG | |
| FR3066365A1 (en) | SHOE | |
| FR2923363A1 (en) | Upper for e.g. shoe, has deformable part covered by coating made of elastic material whose elasticity is less than that of part to form deformable zone in non covered zone based on morphology of upper foot, where coating limits deformation | |
| WO1998025494A1 (en) | Active anatomical and physiological insole for active and passive self-lengthening effects on the foot and its arch while walking or running | |
| EP0386079B1 (en) | Abdominal support | |
| US1701573A (en) | Overshoe | |
| FR2638617A1 (en) | Load-distributing orthopaedic sole | |
| US1706126A (en) | Method of manufacturing boots and shoes |
Legal Events
| Date | Code | Title | Description |
|---|---|---|---|
| PUAI | Public reference made under article 153(3) epc to a published international application that has entered the european phase |
Free format text: ORIGINAL CODE: 0009012 |
|
| AK | Designated contracting states |
Designated state(s): AT BE CH DE FR GB LI LU NL SE |
|
| PUAL | Search report despatched |
Free format text: ORIGINAL CODE: 0009013 |
|
| AK | Designated contracting states |
Designated state(s): AT BE CH DE FR GB LI LU NL SE |
|
| STAA | Information on the status of an ep patent application or granted ep patent |
Free format text: STATUS: THE APPLICATION IS DEEMED TO BE WITHDRAWN |
|
| 18D | Application deemed to be withdrawn |
Effective date: 19850206 |
