DE4241938B4 - Endoscope especially with stereo side-view optics - Google Patents
Endoscope especially with stereo side-view optics Download PDFInfo
- Publication number
- DE4241938B4 DE4241938B4 DE19924241938 DE4241938A DE4241938B4 DE 4241938 B4 DE4241938 B4 DE 4241938B4 DE 19924241938 DE19924241938 DE 19924241938 DE 4241938 A DE4241938 A DE 4241938A DE 4241938 B4 DE4241938 B4 DE 4241938B4
- Authority
- DE
- Germany
- Prior art keywords
- endoscope
- solid
- image
- endoscope according
- distal
- Prior art date
- Legal status (The legal status is an assumption and is not a legal conclusion. Google has not performed a legal analysis and makes no representation as to the accuracy of the status listed.)
- Expired - Lifetime
Links
Classifications
-
- A—HUMAN NECESSITIES
- A61—MEDICAL OR VETERINARY SCIENCE; HYGIENE
- A61B—DIAGNOSIS; SURGERY; IDENTIFICATION
- A61B1/00—Instruments for performing medical examinations of the interior of cavities or tubes of the body by visual or photographical inspection, e.g. endoscopes; Illuminating arrangements therefor
- A61B1/005—Flexible endoscopes
- A61B1/0051—Flexible endoscopes with controlled bending of insertion part
-
- A—HUMAN NECESSITIES
- A61—MEDICAL OR VETERINARY SCIENCE; HYGIENE
- A61B—DIAGNOSIS; SURGERY; IDENTIFICATION
- A61B1/00—Instruments for performing medical examinations of the interior of cavities or tubes of the body by visual or photographical inspection, e.g. endoscopes; Illuminating arrangements therefor
- A61B1/00163—Optical arrangements
- A61B1/00174—Optical arrangements characterised by the viewing angles
- A61B1/00181—Optical arrangements characterised by the viewing angles for multiple fixed viewing angles
-
- A—HUMAN NECESSITIES
- A61—MEDICAL OR VETERINARY SCIENCE; HYGIENE
- A61B—DIAGNOSIS; SURGERY; IDENTIFICATION
- A61B1/00—Instruments for performing medical examinations of the interior of cavities or tubes of the body by visual or photographical inspection, e.g. endoscopes; Illuminating arrangements therefor
- A61B1/00163—Optical arrangements
- A61B1/00193—Optical arrangements adapted for stereoscopic vision
-
- A—HUMAN NECESSITIES
- A61—MEDICAL OR VETERINARY SCIENCE; HYGIENE
- A61B—DIAGNOSIS; SURGERY; IDENTIFICATION
- A61B1/00—Instruments for performing medical examinations of the interior of cavities or tubes of the body by visual or photographical inspection, e.g. endoscopes; Illuminating arrangements therefor
- A61B1/04—Instruments for performing medical examinations of the interior of cavities or tubes of the body by visual or photographical inspection, e.g. endoscopes; Illuminating arrangements therefor combined with photographic or television appliances
- A61B1/05—Instruments for performing medical examinations of the interior of cavities or tubes of the body by visual or photographical inspection, e.g. endoscopes; Illuminating arrangements therefor combined with photographic or television appliances characterised by the image sensor, e.g. camera, being in the distal end portion
Landscapes
- Health & Medical Sciences (AREA)
- Life Sciences & Earth Sciences (AREA)
- Surgery (AREA)
- Biomedical Technology (AREA)
- Medical Informatics (AREA)
- Optics & Photonics (AREA)
- Pathology (AREA)
- Radiology & Medical Imaging (AREA)
- Biophysics (AREA)
- Engineering & Computer Science (AREA)
- Physics & Mathematics (AREA)
- Heart & Thoracic Surgery (AREA)
- Nuclear Medicine, Radiotherapy & Molecular Imaging (AREA)
- Molecular Biology (AREA)
- Animal Behavior & Ethology (AREA)
- General Health & Medical Sciences (AREA)
- Public Health (AREA)
- Veterinary Medicine (AREA)
- Endoscopes (AREA)
- Instruments For Viewing The Inside Of Hollow Bodies (AREA)
Abstract
Endoskop
mit einem Endoskopschaft, an dessen distalem Ende ein Festkörper-Bildaufnahmesystem
angeordnet ist, das wie bei einer Seitblickoptik ausgebildet ist
und das wenigstens zwei Bildaufnehmer zur Stereobeobachtung aufweist,
dadurch gekennzeichnet, dass
der Endoskopschaft im distalen
Bereich derart abwinkelbar ist, dass die Blickrichtung des Festkörper-Bildaufnahmesystems
oder zumindest eines Bildaufnehmers näherungsweise parallel zur Achse
des proximalen Teils des Endoskopschaftes ist und,
dass der
Endoskopschaft im distalen Bereich derart bewegbar ist, dass der
Mittelpunkt der Stereobasis auf die Achse des proximalen Teils des
Endoskopschafts fällt
und,
dass die Bildaufnehmer im distalen Bereich des Endoskops axial
zur Längsachse
des distalen abwinkelbaren Bereichs hintereinander angeordnet sind.Endoscope with an endoscope shaft, at the distal end of which a solid-state image recording system is arranged, which is designed like a side view optic and which has at least two image recorders for stereo observation, characterized in that
the endoscope shaft can be angled in the distal area such that the viewing direction of the solid-state image recording system or at least one image sensor is approximately parallel to the axis of the proximal part of the endoscope shaft, and,
that the endoscope shaft can be moved in the distal region in such a way that the center of the stereo base falls on the axis of the proximal part of the endoscope shaft and,
that the image recorders are arranged one behind the other in the distal area of the endoscope axially to the longitudinal axis of the distal angled area.
Description
Die Erfindung bezieht sich auf ein Endoskop mit einem Endoskopschaft, an dessen distalem Ende ein Festkörper-Bildaufnahmesystem angeordnet ist, das wie bei einer Seitblickoptik ausgebildet ist und das wenigstens zwei Bildaufnehmer zur Stereobeobachtung aufweist, gemäß dem Oberbegriff des Patentanspruchs 1.The Invention relates to an endoscope with an endoscope shaft, a solid-state imaging system is arranged at the distal end thereof is, which is designed like a side view optics and at least has two image recorders for stereo observation, according to the generic term of claim 1.
Der Einsatz von Endoskopen in der Chirurgie hat sich mittlerweile erfolgreich bewährt und dient neben den herkömmlichen chirurgischen Operationstechniken in vielen Fällen als ein minimal invasives Alternativ-Verfahren, das den Vorteil weit geringerer Belastung für den Patienten und wesentlich kürzere Heilungszeiten ermöglicht. Neben den Anwendungen zu Zwecken von inkorporalen Manipulationen, bspw. durch geeignetes Endoskopbesteck zum Behandeln von krankhaften Körperstellen, finden Endoskope vornehmlich ihren Einsatz als Beobachtungs- und Untersuchungsmittel von Hohlräumen innerhalb des menschlichen Körpers.The Use of endoscopes in surgery has meanwhile been successful proven and serves alongside the conventional ones surgical techniques in many cases as a minimally invasive Alternative procedure that has the benefit of far less stress for the Patients and much shorter Healing times enabled. In addition to the use for the purposes of incorporeal manipulation, For example, with a suitable endoscope set for treating pathological Parts of the body, endoscopes are mainly used as observation and Means of examination of cavities within of the human body.
Neben den hinlänglich bekannten, konventionellen starren Stablinsen-Endoskopen, die nur über einen einzigen optischen Sichtkanal verfügen und dem Operateur nur ein zweidimensionales Abbild des Beobachtungsraumes verschaffen, sind Endoskopsysteme bekannt, die aufgrund der Nutzung stereoskopischer Optiksysteme das Operationsumfeld in seiner räumlichen Anordnung wiederzugeben vermögen.Next the sufficient known, conventional rigid rod endoscopes that only have one single optical viewing channel and the operator only one create a two-dimensional image of the observation room Endoscope systems are known due to the use of stereoscopic Optical systems reflect the operating environment in its spatial arrangement capital.
Erste Überlegungen
zur räumlichen
Betrachtung mit Hilfe von Endoskopen, den sog. Stereoendoskopen,
gehen bspw. auf die deutsche Patentschrift
Der proximale Teil des Endoskops ist mit einem Doppelokularansatz verbunden, der die Beobachtung des Objektes mit beiden Augen gleichzeitig ermöglicht.The proximal part of the endoscope is connected to a double eyepiece, which enables observation of the object with both eyes at the same time.
Neben der reinen visuellen Betrachtung des Operateurs ist es aus einer Vielzahl von Gründen erwünscht und bei den minimalinvasiven endoskopischen Operationstechniken sogar notwendig, die Darstellung des Operationsgebietes videotechnisch über eine Kamera-Monitor-Einheit zu realisieren. Darüber hinaus kann das endoskopische Vorgehen videotechnisch gespeichert werden, so dass eine eingehendere Betrachtung auch nach dem Eingriff möglich ist. In diesem Zusammenhang ist es bspw. für das beschriebene, konventionelle, optische Stereo-Endoskop-System erforderlich, dass auf die zwei getrennten optischen Beobachtungssysteme proximal jeweils ein Kamerasystem angekoppelt werden muss. Derartige Ankoppelvorgänge erfordern jedoch zum Teil sehr aufwendige Justierarbeiten, die ferner den Umgang mit dem Endoskop entscheidend erschweren. Hinzu kommt, dass bei den beschriebenen, optischen Stereosystemen die in dem Endoskop vorhandenen optischen Elemente, bspw. Stablinsen, in ihren Führungsröhren eine gewisse laterale Beweglichkeit aufweisen, wodurch eine systembedingte Unscharfe zumindest bei der Justierung des Systems nicht zu verhindern ist.Next the pure visual observation of the surgeon is one Variety of reasons he wishes and minimally invasive endoscopic surgical techniques even necessary to display the area of operation via video Realize camera monitor unit. In addition, the endoscopic Procedure can be stored video-technically, so that a more detailed Viewing is also possible after the procedure. In this context is it for the described, conventional, optical stereo endoscope system required that on the two separate optical observation systems a camera system must be coupled proximally. such Ankoppelvorgänge However, sometimes require very complex adjustment work, which also the Completely complicate handling of the endoscope. On top of that in the described optical stereo systems, those in the endoscope optical elements, e.g. rod lenses, have a certain lateral in their guide tubes Have mobility, which means a system-related blurring at least cannot be prevented when adjusting the system.
Alternativ zur konventionellen Bildübertragung zwischen dem distalen Ende und dem proximalen Ende des Erdoskops mit Hilfe von optischen Komponenten (Abbildungslinsen, Lichtleitfaseranordnungen, u.a.) werden verstärkt auch Video-Bildaufnehmer, wie bspw. CCD-Chips verwendet. Es ist deshalb mehrfach vorgeschlagen worden anstelle der herkömmlichen optischen Übertragungssysteme in der Bildebene der jeweils distal angeordneten Objektive einen Bildaufnehmer anzuordnen, der mittels eines Übertragungssystems mit einer proximal angeordneten Versorgungseinheit verbunden ist. Hierzu wird exemplarisch auf die US-Patentschrift 4 261 344 A verwiesen.alternative for conventional image transmission between the distal end and the proximal end of the earth scope with the help of optical components (imaging lenses, optical fiber arrangements, etc.) are strengthened also video image recorders, such as. CCD chips used. It has therefore been proposed several times been instead of the conventional one optical transmission systems in an image sensor of the image plane of the lenses arranged distally in each case to be arranged using a transmission system is connected to a proximally arranged supply unit. For this purpose, reference is made, for example, to US Pat. No. 4,261,344 A.
Hierbei finden Festkörper-Bildaufnahmevorrichtungen, unter, denen ladungsgekoppelte Sensorentypen, bspw. CCD-arrays am geeignetsten, erscheinen, weitverbreitete Anwendung.in this connection find solid state imaging devices, among which charge-coupled sensor types, e.g. CCD arrays on most appropriate, appear, widespread application.
Die distale Anordnung derartiger Bildaufnahmesysteme weist u.a. den Vorteil auf, dass die Bildübertragung vom distalen Ende zum proximalen Ende des Endoskops elektronisch vollzogen werden kann, d.h. die Signalübertragung erfolgt über entsprechende elektrische Leitungen. Flexiblere Endoskopführungen ohne optische Verzerrungen können somit gewährleistet werden. Ebenso fallen die erheblichen Kostenanteile für das optische Stablinsenübertragungssystem weg, wodurch "elektronische Beobachtungsendoskope" günstiger produziert werden können.The The distal arrangement of such image recording systems includes the Advantage on that image transmission electronically from the distal end to the proximal end of the endoscope can be carried out, i.e. the signal transmission takes place via appropriate electric lines. More flexible endoscope guides without optical distortions can thus guaranteed become. The considerable share of costs for the optical also falls Rod lens transmission system away, causing "electronic Observation endoscopes "cheaper can be produced.
Aus den US-Patentschriften 4 699 125 A oder 4 926 257 A gehen derartige Endoskope hervor, an deren distalen Ende Bildaufnahmesysteme vorgesehen sind, die im wesentlichen aus einem Objektiv und einem Festkörperbildaufnahmeelement, vorzugsweise CCD-Array, zusammengesetzt sind.Out U.S. Patents 4,699,125 A or 4,926,257 A disclose such Endoscopes emerge, at the distal end of which imaging systems are provided which essentially consist of a lens and a solid-state imaging element, preferably CCD array.
Vergleichbare
elektronische Endoskope sind ferner in folgenden Druckschriften
beschrieben:
Bei den genannten Endoskopen ist in der Bildebene des distal angeordneten Objektivs ein Halbleiterbildaufnehmer derart angeordnet, dass die lichtempfindliche Sensorfläche mit der Achse des Endoskops einen 90°-Winkel einschließt. Mit dem Ziel der Verringerung des Endoskopquerschnittes im distalen Bereich sind somit zumindest durch die dzt. kleinstmögliche Dimensionierung von Festkörper-Bildaufnahmesensoren Grenzen gesetzt.In the endoscopes mentioned, there is a half in the image plane of the distally arranged lens Conductor imager arranged such that the light-sensitive sensor surface includes a 90 ° angle with the axis of the endoscope. With the aim of reducing the endoscope cross-section in the distal area, there are limits at least due to the smallest possible dimensioning of solid-state image recording sensors.
Alternativ
zu den sog. Geradeausblick-Endoskopen, wie sie aus dem vorgenannten
Stand der Technik zu entnehmen sind, bieten sog. Seitblick-Endoskope
mit parallel zur Endoskopachse ausgerichteten Flächensensoren eine weitergehende
Minimierung des Endoskopquerschnittes. Derartige Vorrichtungen gehen
bspw. aus der
Im
Gegensatz zu den elektronischen Endoskopen, die nur über ein
einziges Bildaufnahmesystem verfügen,
geht aus der deutschen Offenlegungsschrift
Aus
der
Aus
der
Aus
der
Aus
der
Aus
der
Der Erfindung liegt die Aufgabe zugrunde, ein Endoskop mit einem Endoskopschaft, an dessen distalem Ende ein Festkörper-Bildaufnahmesystem angeordnet ist, das in Art einer Seitblickoptik ausgebildet ist, derart weiterzubilden, dass bei möglichst minimalen Endoskopquerschnitt ein möglichst optimaler räumlicher Eindruck des Sichtfeldes erreichbar ist. Ferner soll die dreidimensionale Beobachtung möglichst den gesamten Hohlraum, innerhalb dem das Stereoendoskop eingeführt ist, erfassen. Dem Operateuer soll ein möglichst einfach zu bedienendes Beobachtungswerkzeug gegeben werden, das bspw. die Notwendigkeit von Justierungen an der Optik während des Gebrauchs vollkommen ausschließt und die Handhabung weitgehend vereinfacht, so dass die räumliche Orientierung jederzeit unproblematisch ist. Außerdem sollen möglichst großflächige Bildsensoren mit entsprechend hoher Bildauflösung zum Einsatz kommen. Diese Aufgabe wird durch ein Endoskop mit den im kennzeichnenden Teil des Patentanspruchs 1 angegebenen Merkmalen gelöst.The The invention has for its object an endoscope with an endoscope shaft, a solid-state imaging system is arranged at the distal end thereof which is designed in the manner of a side view optics, that with the minimum possible Endoscope cross-section if possible optimal spatial Impression of the field of vision is achievable. Furthermore, the three-dimensional Observation if possible the entire cavity within which the stereo endoscope is inserted, to capture. The operator should be able to use one that is as simple as possible Observation tools are given, for example, the need of adjustments to the optics during completely excludes the use and largely handling simplified so that the spatial Orientation is unproblematic at all times. In addition, if possible large-scale image sensors with a correspondingly high image resolution for Come into play. This task is performed using an endoscope with the characterizing part of claim 1 specified features solved.
Vorteilhafte Weiterbildungen sind in den Unteransprüchen angegeben.advantageous Further developments are specified in the subclaims.
Die Erfindung geht von dem Grundgedanken aus, dass das distale Ende eines Seitblickendoskops, das wenigstens zwei Bildaufnehmer aufweist, sowohl in einer Stellung die Seitblickrichtung und in einer zweiten Stellung die Geradeausblickrichtung einnimmt. Durch die Umstellung der Blickrichtung des Bildaufnahmesystems um wenigstens 90° kann bspw. durch zusätzliche Drehung des Endoskops um dessen Längsachse die Gesamtheit eines Hohlraums erfasst werden.The Invention is based on the basic idea that the distal end a side view endoscope that has at least two image recorders, both in one position the side gaze direction and in a second position takes the straight line of sight. By changing the viewing direction of the Image recording system by at least 90 ° can, for example, by additional Rotation of the endoscope about its longitudinal axis is the entirety of one Cavity are detected.
Erfindungsgemäß weist das Endoskop mit einem an seinem distalen Ende angebrachten Festkörper-Bildaufnahmesystem, das wie bei einer Seitblickoptik ausgebildet ist, wenigstens zwei Bildaufnehmer auf, die im distalen Bereich des Endoskops axial hintereinander angeordnet sind. Zusätzlich ist der Endoskopschaft im distalen Bereich derart abwinkelbar, dass die Blickrichtung des Festkörper-Bildaufnahmesystems in etwa parallel zur Achse des proximalen Teils des Endoskopschaftes ausgerichtet werden kann.According to the invention the endoscope with a solid-state imaging system attached to its distal end, which is designed like a side view optic, at least two Imager on axially one behind the other in the distal area of the endoscope are arranged. additionally the endoscope shaft can be bent in the distal area in such a way that the viewing direction of the solid-state imaging system approximately parallel to the axis of the proximal part of the endoscope shaft can be aligned.
Darüber hinaus ist es erfindungsgemäß möglich, den Mittelpunkt der Stereobasis des Festkörper-Bildaufnahmesystems in etwa auf der Achse des proximalen Teils des Endoskopschaftes anzuordnen.Furthermore it is possible according to the invention, the Center of the stereo base of the solid-state imaging system in to be arranged approximately on the axis of the proximal part of the endoscope shaft.
In anderen Worten ausgedrückt, besteht der allgemeine Erfindungsgedanke darin, ein Stereobildaufnahme-Endoskop für den Eindringvorgang in den Hohlraum mit möglichst geringem Querschnitt des Endoskopschaftes zu realisieren, gleichwohl aber für eine möglichst große Stereobasis bei gleichzeitiger Verwendung großflächiger Festkörper-Bildsensoren mit hoher Bildauflösung zu sorgen, um einen möglichst ausgeprägten dreidimensionalen Seheindruck zu gewährleisten. Hierbei sind die Bildaufnahmesysteme im distalen Bereich des Endoskopschaftes in Seitblickrichtung derart vorgesehen, so dass die lichtempfindlichen Festkörper-Bildsensoren in Endoskoplängsachse hintereinander angeordnet sind. Dies hat den Vorteil, dass der kleinste Endoskopschaftquerschnitt nicht von beiden Dimensionen eines Bildsensors abhängt, sondern nur von einer Sensorlängsseite. Eine möglichst geringe Endoskopquerschnittsbemaßung ist somit möglich.In in other words The general idea of the invention is a stereo imaging endoscope for the Penetration process in the cavity with the smallest possible cross section to realize the endoscope shaft, but nevertheless for one if possible size Stereo base with simultaneous use of large-area solid-state image sensors high image resolution to take care of you as possible pronounced to ensure three-dimensional visual impression. Here are the Image acquisition systems in the distal area of the endoscope shaft in a sideways view provided such that the light-sensitive solid-state image sensors in the longitudinal axis of the endoscope are arranged one behind the other. This has the advantage of being the smallest Endoscope shaft cross-section not from both dimensions of an image sensor depends but only from one long side of the sensor. One if possible small endoscope cross-sectional dimensions are therefore possible.
Ist das Endoskop innerhalb des zu beobachtenden Hohlraumes eingebracht, so ist die am distalen Endoskopende angebrachte Beobachtungseinheit aus einer Seitblickrichtung erfindungsgemäß in eine zweite Stellung, die eine Geradeausblickrichtung ermöglicht, überführbar. Zur einfacheren Handhabung des Endoskops für den Operateur ist vorzugsweise eine definierte Lageänderung des Endoskopschaftes zwischen Seitblickrichtung und Geradeausblickrichtung vorgesehen. Die Handhabung wird für den Operateur wesentlich vereinfacht und die Zuordnung zwischen Seitblick- und Geradeausblickrichtung wird dadurch vereinfacht. Die Orientierung im Hohlraum durch zwei vorgegebene Blickrichtungseinstellungen wird dadurch verbessert.is the endoscope is inserted inside the cavity to be observed, this is the observation unit attached to the distal end of the endoscope from a side view direction according to the invention into a second position, which enables a straight view, can be transferred. For easier handling of the endoscope for the surgeon is preferably a defined change in position of the endoscope shaft between the side view direction and the straight view direction intended. Handling becomes essential for the surgeon simplified and the assignment between side view and straight view direction is simplified. The orientation in the cavity by two Predefined viewing direction settings are thereby improved.
Natürlich kann je nach Anwendungsfall auch eine kontinuierliche Bewegung des Endoskopschaftes in mehrere Richtungen erfolgen.Of course you can depending on the application, a continuous movement of the endoscope shaft done in several directions.
Die zur Endoskoplängsachse parallele Blickrichtung des abgewinkelten Endoskopschaftes am distalen Bereich, wobei der Mittelpunkt der Stereobasis auf der Verlängerung der Endoskopachse liegt, wird erfindungsgemäß derart ermöglicht, dass durch eine mehrfache Abwinkelung relativ zur Endoskoplängsachse das Festkörper-Bildaufnahmesystem quasi in Geradeausblickrichtung in Verlängerung der Endoskoplängsachse umklappbar ist. Die diskrete Deformation des Endoskopschaftes kann mit Hilfe (gemäß Anspruch 7) einer im distalen Bereich des Endoskopschaftes vorgesehenen Baueinheit, die in bevorzugter Weise aus einem Werkstoff mit thermischen oder mechanischen Gedächtnisvermögen besteht, vorgenommen werden. Hierzu wird der Endoskopschaft, der einen starren und einen sich verformbaren Teil aufweist, während des Einführvorganges in den Hohlraum durch eine längliche Trokarhülse hindurch geführt. Tritt der sich verformbare Teil des Endoskopschaftes im Hohlraum aus der Trokarhülse hervor, so nimmt er automatisch seine vorgegebene Form an, die derart vorgesehen ist, dass das Bildaufnahmesystem vorzugsweise in Geradeausblickrichtung orientiert ist.The viewing direction of the angled endoscope shaft at the distal region parallel to the longitudinal axis of the endoscope, the center of the stereo base being on the extension of the endoscope axis, is made possible according to the invention in such a way that the solid-state image recording system can be folded over in an extension of the longitudinal axis of the endoscope, as it were in a straight line of sight, by a multiple bending , The discrete deformation of the endoscope shaft can be carried out with the aid (according to claim 7) of a structural unit provided in the distal region of the endoscope shaft, which preferably consists of a material with thermal or mechanical memory. For this purpose, the endoscope shaft, which has a rigid and a deformable part, is inserted into the cavity through an elongated trocar sleeve during the insertion process passed through. If the deformable part of the endoscope shaft emerges from the trocar sleeve in the cavity, it automatically assumes its predetermined shape, which is provided in such a way that the image recording system is preferably oriented in the direction of the straight view.
Diese Abwinkelung des Endoskopschaftes im distalen Bereich kann auch gesteuert vorsichgehen, indem innerhalb des sich verformbaren Teils des Endoskopschaftes Bowdenzüge oder steuerbare Gelenke vorgesehen sind, die manuell oder motorisch bedienbar sind.This Angling the endoscope shaft in the distal area can also be controlled be careful by moving inside the deformable part of the endoscope shaft cables or controllable joints are provided that can be operated manually or by motor are.
Neben der Möglichkeit einer 90°-Abwinkelung des Endoskopschaftes im distalen Bereich, die eine zur Endoskoplängsachse parallele aber nicht koaxiale räumliche Beobachtungsmöglichkeit bietet, ist erfindungsgemäß eine weitere Möglichkeit der Abwinkelung des Endoskopschaftes im distalen Bereich vorgesehen, die eine mit der Achse des proximalen Teils des Endoskopschaftes koaxiale Beobachtung in räumlicher Qualität vorsieht.Next The possibility a 90 ° bend of the endoscope shaft in the distal area, one to the longitudinal axis of the endoscope parallel but not coaxial spatial observability offers is another according to the invention possibility the angling of the endoscope shaft is provided in the distal area, one with the axis of the proximal part of the endoscope shaft coaxial observation in spatial quality provides.
Die vorstehende Beobachtungsvariante weist zusätzlich den Vorteil auf, dass der Operateur einen räumlichen Seheindruck von dem Beobachtungsfeld durch das Endoskop vermittelt bekommt, das sich unmittelbar in Vorstoßrichtung des Endoskops und somit weitgehend koaxial mit der Endoskoplängsachse vor dem distalen Bereich des Endoskops befindet.The The above observation variant also has the advantage that the surgeon has a spatial Visual impression of the observation field conveyed by the endoscope gets that directly in the direction of advance of the endoscope and thus largely coaxial with the longitudinal axis of the endoscope in front of the distal area of the endoscope.
Die Handhabung des Endoskops mit koaxialer Anordnung des Festkörper-Bildaufnahmesystems in Geradeausblickrichtung ist ähnlich wie bei kon ventionellen Stablinsenendoskopen. Eine Umgewöhnung auf anderweitige Abbildungseigenschaften wird mit dieser Endoskoplösung vermeidbar.The Handling of the endoscope with coaxial arrangement of the solid-state imaging system in Straight-ahead direction is similar as with conventional rod lens endoscopes. Get used to other imaging properties can be avoided with this endoscope solution.
Der Einsatz derartiger Stereoendoskope mit möglichst großer Stereobasis, zum Erzielen eines intensiven räumlichen Seheindrucks dient dem Operateur in erster Linie zur besseren Abschätzung von räumlichen Beabstandungen. Insbesondere das Hantieren von weiteren endoskopischen Werkzeugen, zur Durchführung inkorporaler Behandlungen im Sichtkegel des Stereoendoskops wird durch die Räumlichkeit des Seheindruckes entscheidend vereinfacht. Der Operateur ist somit in der Lage mit wenigstens zwei in dem Hohlraum eingebrachten Werkzeugen derart zu agieren, als würde der, Operateur einen direkten Einblick zu der zu behandelnden Stelle besitzen. Ferner ist es möglich, absolute Vermessungen durch das erfindungsgemäße Stereoendoskop vorzunehmen. Neben der bereits erwähnten entscheidenden Verbesserung zur kontrollierten Durchführung komplizierter Operationstechniken mittels Endoskopwerkzeugen innerhalb von Hohlräumen, bspw. Magen, Blase, Darm etc., kann mit dem erfindungsgemäßen Stereoendoskop durch die räumliche Beobachtung der gesamten Innenseite von schlauchförmigen Hohlräumen wie Darmgefäße eine verbesserte Diagnose durchgeführt werden.The Use of such stereo endoscopes with the largest possible stereo base to achieve an intense spatial The surgeon primarily uses visual impressions to better assess spatial Spacings. In particular, handling other endoscopic ones Tools to carry out incorporeal treatments in the cone of the stereo endoscope through the space the visual impression decisively simplified. The surgeon is thus capable with at least two tools inserted in the cavity to act as if the surgeon gives a direct insight into the area to be treated have. It is also possible to carry out absolute measurements using the stereo endoscope according to the invention. In addition to the one already mentioned crucial improvement to controlled implementation more complicated Surgical techniques using endoscope tools within cavities, e.g. Stomach, bladder, intestine etc., can with the stereo endoscope according to the invention through spatial observation the entire inside of tubular cavities like Intestinal vessels an improved Diagnosis carried out become.
Gemäß Anspruch 2 weist das am distalen Ende des Endoskops angebrachte Festkörper-Bildaufnahmesystem wenigstens zwei Bildaufnehmer auf, die im wesentlichen aus einem Objektiv und einem lichtempfindlichen Festkörper-Bildsensor, bspw. einem CCD-Array, bestehen. Die jeweils paarweise zugeordneten Bildaufnehmer sind dabei derart zueinander angeordnet, so dass zumindest die optischen Achsen ihrer Objektive einen Konvergenzwinkel einschließen, der bspw. über steuerbare Mikrostellelemente einstellbar ist. Durch die Änderung des Konvergenzwinkels ist es bspw. möglich, den Abstand zwischen der Objektivebene und dem Entfernungspunkt, an dem sich die Sichtfelder beider Bildaufnahmesysteme überschneiden, in einem gewissen Bereich zu variieren. Somit ist der Operateur in der Lage, das optische System in seinen räumlichen Abbildungsqualitäten optimal an den Entfernungsbereich vor der Objektivebene anzupassen, auf den sich das Beobachtungsinteresse, bspw. bedingt durch die Vornahme eines Operationsvorganges mittels weiterer Endoskopwerkzeuge, bezieht.According to claim 2 has the solid-state imaging system attached to the distal end of the endoscope at least two image recorders, which essentially consist of one Lens and a light-sensitive solid-state image sensor, for example. A CCD array. The image recorders assigned in pairs are of this type arranged to each other so that at least the optical axes of their Lenses include a convergence angle, which can be controlled, for example Micro adjusting elements is adjustable. By changing the convergence angle for example, is it possible the distance between the lens plane and the distance point, where the fields of view of both image acquisition systems overlap, to vary within a certain range. So the surgeon is able to optimally reproduce the optical system in its spatial imaging qualities to adapt to the distance range in front of the lens plane interest in observation, for example due to the execution an operation using additional endoscope tools.
Ebenso sieht eine bevorzugte Ausführungsform gemäß Anspruch 13 die Veränderbarkeit der Stereobasis der Bildaufnehmer vor, so dass die räumlichen Betrachtungsqualitäten an die aktuellen Gegebenheiten des Sichtfeldes angepasst werden können.As well sees a preferred embodiment according to claim 13 the changeability the stereo base of the image sensor so that the spatial viewing qualities can be adapted to the current conditions of the field of vision.
Zur Beleuchtung der zu beobachtenden inkorporalen Körperstellen dienen vorzugsweise Lichtleiterausgänge, die jeweils in Blickrichtung der Festkörper-Bildaufnahme-Systeme angeordnet sind. Eine symmetrische Anordnung der Lichtausgänge um die Bildaufnahmesysteme ermöglicht ferner eine homogene Ausleuchtung, die insbesondere für stereoskopische Aufnahmen unabdingbar sind.to Illumination of the incorporeal parts of the body to be observed are preferably used Optical fiber outputs, which are each arranged in the direction of view of the solid-state imaging systems. A symmetrical arrangement of the light outputs around the image recording systems allows also a homogeneous illumination, especially for stereoscopic Recordings are essential.
Als besonders vorteilhaft hat sich erwiesen, dass die Bildaufnehmer, zumindest aber die Festkörper-Bildsensoren mechanisch vorzugsweise auf einer einzigen Leiterplatte angebracht sind. Eine derartige Kombination verhindert eine ungewollte De-Justierung und garantiert für eine ungestörte Übertragung der durch die Bildaufnehmer gewonnenen Bildsignale, die durch die Festkörper-Bildsensoren in elektrische Signale umgewandelt und über entsprechende Leitungen entlang des Endoskopschaftes zur einer proximal angebrachten Videobildverarbeitungseinheit weitergeleitet werden.As It has proven particularly advantageous that the image recorders, at least the solid-state image sensors mechanically preferably attached to a single circuit board are. Such a combination prevents unwanted misalignment and guaranteed for an undisturbed transmission the image signals obtained by the image recorders, which are generated by the Solid-state image sensors converted into electrical signals and via appropriate lines along the endoscope shaft to a proximally attached video image processing unit to get redirected.
Die elektronische Ansteuerung der Festkörper-Bildsensoren in Form von geeigneten Taktsignalen, die für eine einwandfreie Funktion der Sensoren notwendig sind, und die Bereitstellung der Versorgungsspannung können für zwei oder mehr Sensoren über identische Signalleitungen bzw. Versorgungsleitungen geleitet werden, da die notwendigen Eingangssignale für die Festkörper-Bildsensoren identisch sind. Die Verwendung von mehr als einem Bildaufnehmer führt somit nicht zu einer Verdopplung der Eingangs-Signalleitungen, so dass der Endoskopquerschnitt auf ein Minimum gehalten werden kann. Pro Bildaufnehmer muss nur eine Ausgangssignalleitung vorgesehen werden, um die Videobildinformation nach proximal zu übertragen.The electronic control of the solid-state image sensors in the form of suitable clock signals, which ensure that the sensors function properly are necessary, and the provision of the supply voltage for two or more sensors can be routed via identical signal lines or supply lines, since the necessary input signals for the solid-state image sensors are identical. The use of more than one image sensor therefore does not lead to a doubling of the input signal lines, so that the endoscope cross section can be kept to a minimum. Only one output signal line has to be provided per image sensor in order to transmit the video image information proximally.
Es hat sich als vorteilhaft erwiesen, dass gemäß Anspruch 18 die für das taktweise Auslesen der Festkörper-Bildsensoren erforderlichen Taktsignale in einer elektronischen Aufbereitungseinheit, die im distalen Bereich des Endoskopschaftes angebracht ist, aufbereitet werden.It has proven to be advantageous that according to claim 18 for the clockwise Reading out the solid-state image sensors required clock signals in an electronic processing unit, prepared in the distal area of the endoscope shaft become.
Die von zwei Bildaufnahmesystemen aufgenommen einzelnen Objektfelder werden wie bereits besprochen in elektrische Signale umgewandelt und an eine proximal angebrachte Kontroll-, Verarbeitungs- und Darstellungseinheit weitergeleitet. Die proximalseitige Kontrolleinheit sorgt für die Generierung der Takte zum Auslesen der Bildaufnehmer, die Verarbeitungseinheit für die zweikanalige Weiterverarbeitung der durch die Bildaufnehmer gewonnenen Bildsignale die sodann als Videosignale einer Darstellungseinheit zugeleitet werden.The Individual object fields recorded by two image acquisition systems are converted into electrical signals as already discussed and to a proximally attached control, processing and display unit forwarded. The proximal control unit takes care of the generation the clocks for reading out the image recorders, the processing unit for the two-channel further processing of the image signals obtained by the image recorders which are then fed as video signals to a display unit become.
Bspw. können die Videosignale der beiden Bildaufnahmesysteme abwechselnd je 50 mal/sec auf einen Monitor übertragen werden. Mit einem derartigen Monitor, der mittels einer durch Infrarotstrahlen gekoppelten Brille zu betrachten ist, die mit einer Flüssigkristallschicht ausgestattet ist, können beide aufgenommenen Objektfelder, die synchron mit der Bildschirmfrequenz abwechselnd auf dem Bildschirm erscheinen mit dem zugeordneten Auge betrachtet werden. Hierzu nimmt durch synchrone Abdunkelung der Brille das Bild bspw. des rechten Bildaufnahmesystems das rechte Auge und im nächsten Augenblick das des linken Bildaufnahmesystems das linke Auge wahr. Im Gehirn werden die visuellen Informationen bei entsprechend hoher Bildwiedergabefrequenz zu einem dreidimensionalen Bild verarbeitet. Somit kann ein dreidimensionales Bild nach dem vorgenannten "Ein-Monitor-Shutter-Prinzip" erzeugt werden. Durch Betrachten des Bildschirmes kann der Operateur ohne Anstrengung und augenermüdenden Benutzung von Durchblickendoskopen den Vorgang innerhalb eines Hohlraumes beobachten während er mit weiteren Werkzeugendoskopen arbeitet. Operationen werden dadurch erheblich erleichtert, in dem das dreidimensionale Abbild auf dem Monitor quasi einen direkten Blick durch die Bauchdecke ermöglicht.For example. can the video signals of the two image recording systems alternately 50 each times / sec on a monitor become. With such a monitor by means of infrared rays paired glasses to be considered with a liquid crystal layer is equipped both recorded object fields that are synchronous with the screen frequency alternately appear on the screen with the assigned eye to be viewed as. For this purpose, the Glasses the image, for example, the right image acquisition system the right one Eye and in the next Instant that of the left imaging system the left eye is true. In the brain, the visual information becomes correspondingly high Image playback frequency processed into a three-dimensional image. Consequently a three-dimensional image can be generated according to the aforementioned "one monitor shutter principle". By looking at the screen, the surgeon can effortlessly and eye tiring Using look-through endoscopes the process within a cavity watch during he works with other tool endoscopes. Operations thereby made considerably easier in which the three-dimensional image on the monitor a direct look through the abdominal wall allows.
Gemäß Anspruch 20 ist es vorgesehen, dass der distale Endbereich des Endoskops mit dem Festkörper-Bildaufnahmesystem für die Stereobetrachtung als vom Instrument lösbare Stereovideosonde ausgeführt ist, welche ein magnetisches Element enthält, durch das die Sonde z.B. unter Verwendung eines zweiten äußeren Magneten an, beispielsweise der Bauchdecke positionierbar und befestigbar ist. Hiermit wird es möglich Beobachtungspositionen einzunehmen, an die man mit einem einzigen Endoskopeinstich nicht hinkommt, ohne dabei weitere Einstiche vornehmen zu müssen. Ist erst einmal die Videosonde in das Körperinnere eingebracht und mittels eines äußeren Magneten unterhalb der bspw. Bauchdecke fixiert, so kann durch Verschieben des äußeren Magneten die Videosonde an fast beliebige Stellen unterhalb der Bauchdecke gebracht werden.According to claim 20 it is provided that the distal end region of the endoscope with the solid-state imaging system for the Stereo viewing is designed as a stereo video probe detachable from the instrument, which contains a magnetic element through which the probe e.g. using a second outer magnet on, for example, the abdominal wall can be positioned and fastened is. This makes it possible Take observation positions to which one can be observed Endoscope puncture does not get there without making further punctures to have to. Once the video probe is inserted into the inside of the body and by means of an external magnet fixed below the abdominal wall, for example, by moving of the outer magnet the video probe to almost any location below the abdominal wall to be brought.
Die Erfindung wird nachstehend anhand von Ausführungsbeispielen unter Bezugnahme auf die Zeichnung exemplarisch beschrieben, auf die im übrigen bezüglich der Offenbarung aller im Text nicht näher erläuterten erfindungsgemäßen Einzelheiten ausdrücklich verwiesen wird. Es zeigen:The The invention is described below with reference to exemplary embodiments described on the drawing as an example, to the rest of the Disclosure of all details according to the invention not explained in detail in the text is expressly referred to becomes. Show it:
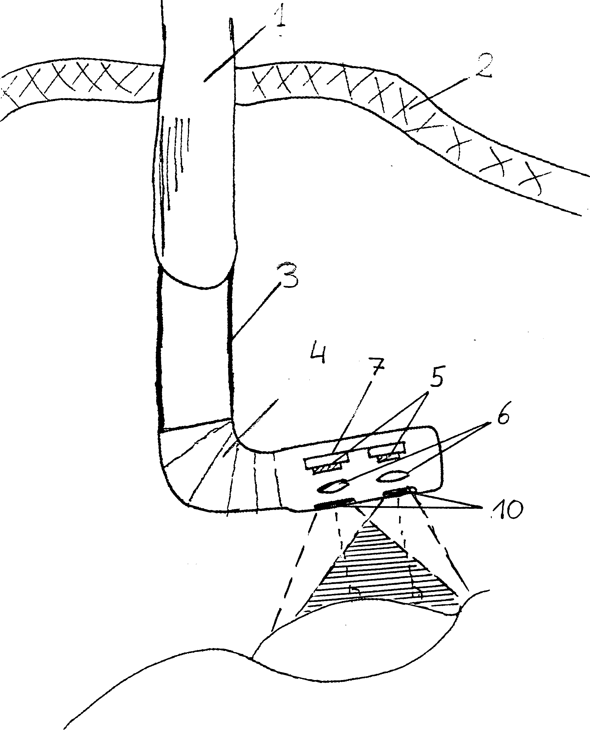
In
Die
zur Stereobetrachtung erforderlichen Bildaufnahmesysteme bestehen
aus einem Paar identisch ausgebildeter Bildlaufnehmer, die jeweils einen
Festkörper-Bildsensor (
Die Festkörper-Bildsensoren sind in Achsrichtung des Endoskopschaftes hintereinander angeordnet, so dass die Möglichkeit der gegenseitigen Beabstandung in fast beliebigen Bereichen variierbar ist.The Solid-state image sensors are arranged one behind the other in the axial direction of the endoscope shaft, so the possibility mutual spacing can be varied in almost any area.
Durch
die gegenseitige Überlappung
beider Objektfelder die in der
Wird
das Endoskop an seinem starren Endoskopschaft (
Unter
Verwendung eines durchsichtigen Materials für die Trokarhülse
In
Die
parallel angeordneten Festkörper-Bildsensoren
(
In
In
Das
Einbringen des an sich nicht geradlinigen Endoskopkopfes erfolgt
ebenfalls mit Hilfe einer Trokarhülse (
Als weitere besondere Ausführungsform sind in beiden der vorgenannten Endoskopen Führungskanäle vorgesehen, durch die insbesondere im abgewinkelten Zustand der distalen Bereiche Werkzeuge in den Beobachtungsbereich einbringbar sind (nicht dargestellt). Hiermit kann mit nur einem Endoskopeingriff sowohl eine räumliche Beobachtung als auch Manipulationen mit geeigneten Werkzeugen vorgenommen werden.As further special embodiment guide channels are provided in both of the aforementioned endoscopes, through which in particular tools in the angled state of the distal areas Observation area can be introduced (not shown). Herewith can be both spatial with just one endoscope intervention Observation as well as manipulations made with suitable tools become.
Es
ist jedoch auch denkbar, dass eine Vielzahl von Bildaufnahme Systemen
in dem distalen Bereich des Endoskopschaftes vorgesehen werden können. Als
besonders geeignete Ausführungsform zeigt
die
Durch
einen Strahlteiler
Claims (21)
Priority Applications (3)
| Application Number | Priority Date | Filing Date | Title |
|---|---|---|---|
| DE19924241938 DE4241938B4 (en) | 1992-12-11 | 1992-12-11 | Endoscope especially with stereo side-view optics |
| PCT/DE1993/001187 WO1994013190A1 (en) | 1992-12-11 | 1993-12-11 | Endoscope, especially with stereo side-look optics |
| US09/174,255 US6450950B2 (en) | 1992-11-12 | 1998-10-16 | Endoscope having stereo-lateral-view optics |
Applications Claiming Priority (1)
| Application Number | Priority Date | Filing Date | Title |
|---|---|---|---|
| DE19924241938 DE4241938B4 (en) | 1992-12-11 | 1992-12-11 | Endoscope especially with stereo side-view optics |
Publications (2)
| Publication Number | Publication Date |
|---|---|
| DE4241938A1 DE4241938A1 (en) | 1994-06-16 |
| DE4241938B4 true DE4241938B4 (en) | 2004-11-04 |
Family
ID=6475079
Family Applications (1)
| Application Number | Title | Priority Date | Filing Date |
|---|---|---|---|
| DE19924241938 Expired - Lifetime DE4241938B4 (en) | 1992-11-12 | 1992-12-11 | Endoscope especially with stereo side-view optics |
Country Status (2)
| Country | Link |
|---|---|
| DE (1) | DE4241938B4 (en) |
| WO (1) | WO1994013190A1 (en) |
Cited By (2)
| Publication number | Priority date | Publication date | Assignee | Title |
|---|---|---|---|---|
| EP3613331A1 (en) | 2018-08-24 | 2020-02-26 | Karl Storz SE & Co. KG | Endoscope with a movable component |
| WO2025087649A1 (en) * | 2023-10-24 | 2025-05-01 | Karl Storz Se & Co. Kg | Endoscope device for image capture |
Families Citing this family (16)
| Publication number | Priority date | Publication date | Assignee | Title |
|---|---|---|---|---|
| JPH0829701A (en) * | 1994-07-18 | 1996-02-02 | Olympus Optical Co Ltd | Stereoscopic viewing endoscope system |
| US5613936A (en) * | 1995-02-22 | 1997-03-25 | Concurrent Technologies Corp. | Stereo laparoscope apparatus |
| US5976076A (en) * | 1995-02-22 | 1999-11-02 | Kolff; Jack | Stereo laparoscope with synchronized optics |
| US6767321B2 (en) | 1999-10-04 | 2004-07-27 | Robert Czarnek | Stereo laparoscope with discrete working distance |
| AU6282399A (en) * | 1999-10-04 | 2001-05-10 | Jack Kolff | Stereo laparoscope with synchronized optics |
| IL138632A (en) * | 2000-09-21 | 2008-06-05 | Minelu Zonnenschein | Multiple view endoscopes |
| DE60110761T2 (en) | 2000-03-16 | 2006-05-04 | Medigus Ltd. | DEVICE FOR FUNDOPLICATION |
| JP2001275964A (en) | 2000-03-29 | 2001-10-09 | Matsushita Electric Ind Co Ltd | Video scope |
| DE10116056B4 (en) | 2001-03-30 | 2005-09-08 | Karl Storz Gmbh & Co. Kg | Endoscopic visualization device with different image systems |
| DE10259795A1 (en) * | 2002-12-19 | 2004-07-08 | Siemens Ag | Imaging device for installation in the roof area or in the outside mirror of a motor vehicle |
| CA2533549C (en) * | 2005-01-21 | 2009-12-15 | Karl Storz Development Corp. | Variable direction of view instrument with distal image sensor |
| DE102008018636B4 (en) | 2008-04-11 | 2011-01-05 | Storz Endoskop Produktions Gmbh | Device and method for endoscopic 3D data acquisition |
| FR2979054A1 (en) * | 2011-08-17 | 2013-02-22 | Albert Edmond Andre Jean Leon Guenier | Rigid video-endoscope with vision deviated to ninety degrees, for use by dental surgeon, has sensors movable around rotational axes, and optical systems preceding sensors, where axes of systems coincide with axes of sensors |
| DE102013110543A1 (en) * | 2013-09-24 | 2015-03-26 | Karl Storz Gmbh & Co. Kg | Apparatus for capturing an image of an object field on a human or animal body |
| DE102019114817B4 (en) * | 2019-06-03 | 2021-12-02 | Karl Storz Se & Co. Kg | Imaging system and method of observation |
| DE102024101803A1 (en) * | 2024-01-23 | 2025-07-24 | Schölly Fiberoptic GmbH | Endoscope and associated robotic surgical system |
Citations (16)
| Publication number | Priority date | Publication date | Assignee | Title |
|---|---|---|---|---|
| DE164966C (en) * | ||||
| DE1261276B (en) * | 1965-07-21 | 1968-02-15 | Storz Karl | Device for steering a flexible shaft, in particular an endoscope shaft, in body cavities |
| DE1541153B1 (en) * | 1966-05-27 | 1971-06-09 | Olympus Optical Co | Hose arrangement for examining the inner walls of curved organs |
| US4261344A (en) * | 1979-09-24 | 1981-04-14 | Welch Allyn, Inc. | Color endoscope |
| DE3233924A1 (en) * | 1981-09-12 | 1983-04-21 | Fuji Photo Optical Co., Ltd., Omiya, Saitama | ENDOSCOPE WITH A FIXED-BODY IMAGE RECORDING DEVICE |
| JPS60232524A (en) * | 1984-05-02 | 1985-11-19 | Olympus Optical Co Ltd | Stereoscopic image type electronic endoscope |
| US4562831A (en) * | 1981-12-14 | 1986-01-07 | Fuji Photo Film Co. Ltd. | Endoscope system using solid state imaging device |
| US4699125A (en) * | 1985-06-28 | 1987-10-13 | Kabushiki Kaisha Toshiba | Endoscope apparatus |
| JPS63201618A (en) * | 1987-02-18 | 1988-08-19 | Olympus Optical Co Ltd | Three-dimensional measuring endoscope device |
| DE3806190A1 (en) * | 1987-02-27 | 1988-09-08 | Olympus Optical Co | ELECTRONIC ENDOSCOPE DEVICE |
| US4926257A (en) * | 1986-12-19 | 1990-05-15 | Olympus Optical Co., Ltd. | Stereoscopic electronic endoscope device |
| US4941457A (en) * | 1989-08-17 | 1990-07-17 | Olympus Optical Co., Ltd. | Endoscope using an optical guide twisted on the tip side to have the visual field direction and curvature axis coincide with each other |
| US4989586A (en) * | 1989-07-21 | 1991-02-05 | Olympus Optical Co., Ltd. | Endoscope having a solid-state image pickup device |
| DE3921233A1 (en) * | 1989-06-28 | 1991-02-14 | Storz Karl Gmbh & Co | ENDOSCOPE WITH A VIDEO DEVICE AT THE DISTAL END |
| US5050584A (en) * | 1989-09-22 | 1991-09-24 | Olympus Optical Co., Ltd. | Endoscope with a solid-state image pickup device |
| DE9113080U1 (en) * | 1991-10-21 | 1991-12-05 | Siemens AG, 8000 München | Endoscope for observing a hidden surgical field |
Family Cites Families (2)
| Publication number | Priority date | Publication date | Assignee | Title |
|---|---|---|---|---|
| JPS59204018A (en) * | 1983-05-06 | 1984-11-19 | Sumitomo Electric Ind Ltd | Stereoscopic vision endoscope |
| US4895431A (en) * | 1986-11-13 | 1990-01-23 | Olympus Optical Co., Ltd. | Method of processing endoscopic images |
-
1992
- 1992-12-11 DE DE19924241938 patent/DE4241938B4/en not_active Expired - Lifetime
-
1993
- 1993-12-11 WO PCT/DE1993/001187 patent/WO1994013190A1/en not_active Ceased
Patent Citations (18)
| Publication number | Priority date | Publication date | Assignee | Title |
|---|---|---|---|---|
| DE164966C (en) * | ||||
| DE1261276B (en) * | 1965-07-21 | 1968-02-15 | Storz Karl | Device for steering a flexible shaft, in particular an endoscope shaft, in body cavities |
| DE1541153B1 (en) * | 1966-05-27 | 1971-06-09 | Olympus Optical Co | Hose arrangement for examining the inner walls of curved organs |
| US4261344A (en) * | 1979-09-24 | 1981-04-14 | Welch Allyn, Inc. | Color endoscope |
| DE3233924A1 (en) * | 1981-09-12 | 1983-04-21 | Fuji Photo Optical Co., Ltd., Omiya, Saitama | ENDOSCOPE WITH A FIXED-BODY IMAGE RECORDING DEVICE |
| US4685451A (en) * | 1981-09-12 | 1987-08-11 | Fuji Photo Optical Co., Ltd. | Endoscope apparatus using solid state image pickup device |
| US4562831A (en) * | 1981-12-14 | 1986-01-07 | Fuji Photo Film Co. Ltd. | Endoscope system using solid state imaging device |
| JPS60232524A (en) * | 1984-05-02 | 1985-11-19 | Olympus Optical Co Ltd | Stereoscopic image type electronic endoscope |
| US4699125A (en) * | 1985-06-28 | 1987-10-13 | Kabushiki Kaisha Toshiba | Endoscope apparatus |
| US4926257A (en) * | 1986-12-19 | 1990-05-15 | Olympus Optical Co., Ltd. | Stereoscopic electronic endoscope device |
| JPS63201618A (en) * | 1987-02-18 | 1988-08-19 | Olympus Optical Co Ltd | Three-dimensional measuring endoscope device |
| DE3806190A1 (en) * | 1987-02-27 | 1988-09-08 | Olympus Optical Co | ELECTRONIC ENDOSCOPE DEVICE |
| US4873572A (en) * | 1987-02-27 | 1989-10-10 | Olympus Optical Co., Ltd. | Electronic endoscope apparatus |
| DE3921233A1 (en) * | 1989-06-28 | 1991-02-14 | Storz Karl Gmbh & Co | ENDOSCOPE WITH A VIDEO DEVICE AT THE DISTAL END |
| US4989586A (en) * | 1989-07-21 | 1991-02-05 | Olympus Optical Co., Ltd. | Endoscope having a solid-state image pickup device |
| US4941457A (en) * | 1989-08-17 | 1990-07-17 | Olympus Optical Co., Ltd. | Endoscope using an optical guide twisted on the tip side to have the visual field direction and curvature axis coincide with each other |
| US5050584A (en) * | 1989-09-22 | 1991-09-24 | Olympus Optical Co., Ltd. | Endoscope with a solid-state image pickup device |
| DE9113080U1 (en) * | 1991-10-21 | 1991-12-05 | Siemens AG, 8000 München | Endoscope for observing a hidden surgical field |
Cited By (2)
| Publication number | Priority date | Publication date | Assignee | Title |
|---|---|---|---|---|
| EP3613331A1 (en) | 2018-08-24 | 2020-02-26 | Karl Storz SE & Co. KG | Endoscope with a movable component |
| WO2025087649A1 (en) * | 2023-10-24 | 2025-05-01 | Karl Storz Se & Co. Kg | Endoscope device for image capture |
Also Published As
| Publication number | Publication date |
|---|---|
| WO1994013190A1 (en) | 1994-06-23 |
| DE4241938A1 (en) | 1994-06-16 |
Similar Documents
| Publication | Publication Date | Title |
|---|---|---|
| DE4241938B4 (en) | Endoscope especially with stereo side-view optics | |
| EP1618836B1 (en) | Larygoscope with OCT | |
| DE10116056B4 (en) | Endoscopic visualization device with different image systems | |
| DE3921233C2 (en) | ||
| DE4422522B4 (en) | Observation and / or documentation device with upstream endoscope and method for their operation | |
| DE102004006541B4 (en) | endoscope | |
| DE69519975T2 (en) | Medical observation instrument | |
| DE68927186T2 (en) | VIDEO ENDOSCOPE | |
| US20020007110A1 (en) | Endoscope, in particular, having stereo-lateral-view optics | |
| DE102010041857A1 (en) | stereo endoscope | |
| EP1065987A1 (en) | Endoscope adapter which can be detected using computer assisted surgery | |
| DE102012206412A1 (en) | Rotary device and method for rotating an endoscope | |
| EP3922162A1 (en) | Endoscope with pivotable imaging device | |
| DE102004028168A1 (en) | Scanning mirror unit and beam scanning probe | |
| DE102010041847A1 (en) | Sensor unit for a stereo endoscope and stereo endoscopy system | |
| EP0901772A1 (en) | Laryngoscope | |
| EP1508066A1 (en) | Microendoscope | |
| DE10000091A1 (en) | endoscope | |
| DE112019001432T5 (en) | ENDOSCOPE AND ARM SYSTEM | |
| WO2019029772A1 (en) | 3D VIDEO ENDOSCOPE | |
| EP1006390A1 (en) | Microscope/endoscope assembly | |
| DE19532095C1 (en) | Endoscope with stereoscopic image effect | |
| DE10234160B4 (en) | Videoscope | |
| EP3922161B1 (en) | Endoscope with pivotable imaging device | |
| DE102023129188B3 (en) | endoscope device for image acquisition |
Legal Events
| Date | Code | Title | Description |
|---|---|---|---|
| 8110 | Request for examination paragraph 44 | ||
| 8125 | Change of the main classification |
Ipc: A61B 1/05 |
|
| 8364 | No opposition during term of opposition | ||
| R071 | Expiry of right | ||
| R071 | Expiry of right |
