DE202022001505U1 - Inhaler for administering powdered dry substances - Google Patents
Inhaler for administering powdered dry substances Download PDFInfo
- Publication number
- DE202022001505U1 DE202022001505U1 DE202022001505.4U DE202022001505U DE202022001505U1 DE 202022001505 U1 DE202022001505 U1 DE 202022001505U1 DE 202022001505 U DE202022001505 U DE 202022001505U DE 202022001505 U1 DE202022001505 U1 DE 202022001505U1
- Authority
- DE
- Germany
- Prior art keywords
- active substance
- piercing
- nozzle
- substance
- inhaler
- Prior art date
- Legal status (The legal status is an assumption and is not a legal conclusion. Google has not performed a legal analysis and makes no representation as to the accuracy of the status listed.)
- Active
Links
- 239000000126 substance Substances 0.000 title claims abstract description 35
- 239000013543 active substance Substances 0.000 claims abstract description 37
- 230000000241 respiratory effect Effects 0.000 claims abstract description 16
- 238000009423 ventilation Methods 0.000 claims abstract description 3
- 239000000203 mixture Substances 0.000 claims abstract 3
- 239000000843 powder Substances 0.000 claims description 9
- 230000002093 peripheral effect Effects 0.000 claims description 4
- 239000000969 carrier Substances 0.000 description 5
- 239000013039 cover film Substances 0.000 description 5
- 239000010408 film Substances 0.000 description 2
- 239000011888 foil Substances 0.000 description 2
- 239000000825 pharmaceutical preparation Substances 0.000 description 2
- 125000006850 spacer group Chemical group 0.000 description 2
- BUHVIAUBTBOHAG-FOYDDCNASA-N (2r,3r,4s,5r)-2-[6-[[2-(3,5-dimethoxyphenyl)-2-(2-methylphenyl)ethyl]amino]purin-9-yl]-5-(hydroxymethyl)oxolane-3,4-diol Chemical compound COC1=CC(OC)=CC(C(CNC=2C=3N=CN(C=3N=CN=2)[C@H]2[C@@H]([C@H](O)[C@@H](CO)O2)O)C=2C(=CC=CC=2)C)=C1 BUHVIAUBTBOHAG-FOYDDCNASA-N 0.000 description 1
- 238000005054 agglomeration Methods 0.000 description 1
- 230000002776 aggregation Effects 0.000 description 1
- XAGFODPZIPBFFR-UHFFFAOYSA-N aluminium Chemical compound [Al] XAGFODPZIPBFFR-UHFFFAOYSA-N 0.000 description 1
- 229910052782 aluminium Inorganic materials 0.000 description 1
- 239000003814 drug Substances 0.000 description 1
- 229940079593 drug Drugs 0.000 description 1
- 230000005484 gravity Effects 0.000 description 1
- 230000037361 pathway Effects 0.000 description 1
- 230000000149 penetrating effect Effects 0.000 description 1
- 230000001681 protective effect Effects 0.000 description 1
Images
Classifications
-
- A—HUMAN NECESSITIES
- A61—MEDICAL OR VETERINARY SCIENCE; HYGIENE
- A61M—DEVICES FOR INTRODUCING MEDIA INTO, OR ONTO, THE BODY; DEVICES FOR TRANSDUCING BODY MEDIA OR FOR TAKING MEDIA FROM THE BODY; DEVICES FOR PRODUCING OR ENDING SLEEP OR STUPOR
- A61M15/00—Inhalators
- A61M15/0001—Details of inhalators; Constructional features thereof
- A61M15/0003—Details of inhalators; Constructional features thereof with means for dispensing more than one drug
-
- A—HUMAN NECESSITIES
- A61—MEDICAL OR VETERINARY SCIENCE; HYGIENE
- A61M—DEVICES FOR INTRODUCING MEDIA INTO, OR ONTO, THE BODY; DEVICES FOR TRANSDUCING BODY MEDIA OR FOR TAKING MEDIA FROM THE BODY; DEVICES FOR PRODUCING OR ENDING SLEEP OR STUPOR
- A61M15/00—Inhalators
- A61M15/0001—Details of inhalators; Constructional features thereof
- A61M15/002—Details of inhalators; Constructional features thereof with air flow regulating means
-
- A—HUMAN NECESSITIES
- A61—MEDICAL OR VETERINARY SCIENCE; HYGIENE
- A61M—DEVICES FOR INTRODUCING MEDIA INTO, OR ONTO, THE BODY; DEVICES FOR TRANSDUCING BODY MEDIA OR FOR TAKING MEDIA FROM THE BODY; DEVICES FOR PRODUCING OR ENDING SLEEP OR STUPOR
- A61M15/00—Inhalators
- A61M15/0028—Inhalators using prepacked dosages, one for each application, e.g. capsules to be perforated or broken-up
- A61M15/003—Inhalators using prepacked dosages, one for each application, e.g. capsules to be perforated or broken-up using capsules, e.g. to be perforated or broken-up
- A61M15/0033—Details of the piercing or cutting means
- A61M15/0035—Piercing means
-
- A—HUMAN NECESSITIES
- A61—MEDICAL OR VETERINARY SCIENCE; HYGIENE
- A61M—DEVICES FOR INTRODUCING MEDIA INTO, OR ONTO, THE BODY; DEVICES FOR TRANSDUCING BODY MEDIA OR FOR TAKING MEDIA FROM THE BODY; DEVICES FOR PRODUCING OR ENDING SLEEP OR STUPOR
- A61M15/00—Inhalators
- A61M15/0001—Details of inhalators; Constructional features thereof
- A61M15/0021—Mouthpieces therefor
-
- A—HUMAN NECESSITIES
- A61—MEDICAL OR VETERINARY SCIENCE; HYGIENE
- A61M—DEVICES FOR INTRODUCING MEDIA INTO, OR ONTO, THE BODY; DEVICES FOR TRANSDUCING BODY MEDIA OR FOR TAKING MEDIA FROM THE BODY; DEVICES FOR PRODUCING OR ENDING SLEEP OR STUPOR
- A61M2202/00—Special media to be introduced, removed or treated
- A61M2202/06—Solids
- A61M2202/064—Powder
Landscapes
- Health & Medical Sciences (AREA)
- Engineering & Computer Science (AREA)
- Bioinformatics & Cheminformatics (AREA)
- Pulmonology (AREA)
- Anesthesiology (AREA)
- Biomedical Technology (AREA)
- Heart & Thoracic Surgery (AREA)
- Hematology (AREA)
- Life Sciences & Earth Sciences (AREA)
- Animal Behavior & Ethology (AREA)
- General Health & Medical Sciences (AREA)
- Public Health (AREA)
- Veterinary Medicine (AREA)
- Pharmacology & Pharmacy (AREA)
- Medicinal Preparation (AREA)
Abstract
Inhalator zur Verabreichung pulverförmiger Trockensubstanzen dadurch gekennzeichnet, dass zum gleichzeitigen Öffnen der Wirkstoffkavitäten (21,22) eine Anstechdüse verwendet wird, die ein oder mehrere Anstechelemente (32,33) beinhaltet, ferner eine Ausblasdüse (39) mit integriertem Filterelement (34) welche die pulverförmige Trockensubstanz über einen respiratorischen Pfad (31) und über ein Mundstück (37) an den Patienten weiterreicht, wobei zur Erreichung der spezifizierten Strömungsgeschwindigkeit der pulverförmigen Trockensubstanz- Luft Mischung der respiratorische Pfad (31) mit ein oder mehreren Entlüftungsbohrungen (40) durchbrochen ist, wobei die Ausblasdüse zusammen mit den Mundstück (37) Elementen aus einem Bauteil besteht. Inhaler for administering powdered dry substances, characterized in that a piercing nozzle containing one or more piercing elements (32, 33) is used to simultaneously open the active substance cavities (21, 22), and a blow-out nozzle (39) with an integrated filter element (34) which powdered dry substance passed on to the patient via a respiratory path (31) and via a mouthpiece (37), with the respiratory path (31) being perforated with one or more ventilation bores (40) in order to achieve the specified flow rate of the powdered dry substance-air mixture, wherein the blow-out nozzle consists of one component together with the mouthpiece (37) elements.
Description
Die vorliegende Erfindung betrifft einen Inhalator zur Verabreichung pulverförmiger Trockensubstanzen.The present invention relates to an inhaler for administering powdered dry substances.
Stand der TechnikState of the art
Vorrichtungen zur Verabreichung von pulverförmigen Trockensubstanzen, z.B. pharmazeutischen Präparaten, durch Inhalation bestehen in bekannten Ausführungen aus einem in der Regel etwa handtellergroßen Gerät, in dessen Inneren sich die aktiven Substanzen, beispielsweise in einem aufgewickelten Blister Streifen aus tiefgezogener Aluminiumfolie oder alternativ eine Substanzträgerscheibe aus Kunststoff mit gesiegelter Deckfolie befinden. Diese Streifen oder diese Substanzträgerscheiben werden durch relative Bewegung verschiedener Gehäuseteile, beispielsweise in Form von Schutzkappen oder durch separate Schwenkhebel für jede Anwendung schrittweise weiterbewegt, wobei die jeweiligen, die Substanz enthaltenden Kavitäten geöffnet und dadurch die aktiven Substanzen zur Inhalation freigegeben werden.Devices for the administration of powdered dry substances, e.g. pharmaceutical preparations, by inhalation consist in known designs of a device, usually about the size of the palm of a hand, inside which the active substances are stored, for example in a rolled-up blister strip made of deep-drawn aluminum foil or alternatively a substance carrier disc made of plastic sealed cover foil. These strips or these substance carrier disks are moved step by step by relative movement of different housing parts, for example in the form of protective caps or by separate pivoting levers for each application, with the respective cavities containing the substance being opened and the active substances thus being released for inhalation.
Auch sind Inhalatoren bekannt, die zur Verabreichung von zwei verschiedenen Trocken-Substanzen von beispielsweise pharmazeutischen Präparaten zwei aufgewickelte Blister Streifen oder zwei Substanzträgerscheiben verwenden. Solche Inhalatoren werden beispielsweise in der
In der Regel sind auf solchen Inhalatoren 30 oder 60 Einzeldosen untergebracht, um den Monatsbedarf eines Patienten bei einmaliger oder zweimaliger Inhalation pro Tag abdecken zu können. Bei einem Doppelblisterstreifen- oder einem Doppelsubstanzträgerscheibe- Inhalator werden zeitgleich zwei verschiedene aktive Substanzen dosiert. Die Öffnung der Substanzkavitäten erfolgt beispielsweise durch schrittweises Abziehen einer die Kavitäten abdeckenden Folie, bzw. durch ein Einstechen der Anstechdüse der auf gesiegelten Deckfolie der abdeckenden Substanzträgerscheibenkavität.As a rule, 30 or 60 individual doses are accommodated on such inhalers in order to be able to cover the monthly requirement of a patient with one or two inhalations per day. With a double blister strip or a double substance carrier disc inhaler, two different active substances are dosed at the same time. The substance cavities are opened, for example, by gradually pulling off a film covering the cavities, or by piercing the piercing nozzle of the sealed cover film of the covering substance carrier disk cavity.
Bei der Inhalation der pulverförmigen Wirksubstanz, muss der Inhalator waagrecht orientiert gehalten werden. In diesem Fall ist bei der Öffnung der Wirkstoff Kavität durch schrittweises Abziehen oder durch Einstechen in die Deckfolie immer eine Wirkstoff Kavität der parallel angeordneten Substanzträger mit der Kavitäten Öffnung in Richtung der Gravitation wirkenden Kräfte geöffnet, so dass aufgrund der wirkenden Gravität, der pulverförmige Wirkstoff aus der Kavität fallen kann. In einem solchen Falle, wäre die sehr kleine und präzis zu dosierenden pulverförmige Wirksubstanz nicht in der spezifizierten Dosiermenge zu verabreichen. Ein solcher Inhalator ist aus der
Es ist eine Aufgabe der vorliegenden Erfindung, einen Inhalator bereitzustellen, der die gleichzeitige Verabreichung von zwei pulverförmigen Trockensubstanzen ermöglicht. Insbesondere sollte beim Einstechen der Anstechdüse der mit Wirkstoff gefüllten Kavitäten kein Pulver unkontrolliert aus der Kavität in den Inhalator fallen.It is an object of the present invention to provide an inhaler which enables the simultaneous administration of two powdered dry substances. In particular, no powder should fall out of the cavity into the inhaler in an uncontrolled manner when the piercing nozzle of the cavities filled with active substance is pierced.
Es ist eine weitere Aufgabe der vorliegenden Erfindung, einen Inhalator bereitzustellen, der ein unkontrolliertes Entleeren der pulverförmigen Wirkstoffkavität verhindert. Insbesondere sollte beim Einstechen der Anstechdüse der mit Wirkstoff gefüllten Kavitäten kein Pulver in die Anstechdüse und in den Respiratorischen Pfad ohne Inhalation durch den Patienten gelangen. Ferner sollte die Anstechdüse, der respiratorischer Pfad und das Mundstück aus Kostengründen aus einem Teil bestehen.A further object of the present invention is to provide an inhaler which prevents uncontrolled emptying of the powdered active substance cavity. In particular, when piercing the piercing nozzle of the cavities filled with active substance, no powder should get into the piercing nozzle and into the respiratory path without inhalation by the patient. Furthermore, the piercing nozzle, the respiratory path and the mouthpiece should consist of one part for reasons of cost.
Beschreibung der ErfindungDescription of the invention
Es ist eine Aufgabe der vorliegenden Erfindung einen Pulver Inhalator mit einer Anstechdüse zu schaffen, welche beim Einstechen der Anstechdüse in die Deckfolie, ein unkontrolliertes Austreten der pulverförmigen Wirksubstanz aus der Kavität des Substanzträgers verhindert, wobei der dabei entstehende Ringspalt in der Größe so dimensioniert sein muss, dass die Kavität zur Entnahme der pulverförmigen Trockensubstanz ausreichend belüftet wird, idealer Weise bilden dabei die Anstechdüse, der respiratorischer Pfad, die Anstechelemente, die Ausblasdüse und das Mundstück ein Bauteil, als die aus dem Stand der Technik bekannten Geräte.It is an object of the present invention to create a powder inhaler with a piercing nozzle which, when the piercing nozzle pierces the cover film, prevents the powdery active substance from escaping uncontrolled from the cavity of the substance carrier, with the resulting annular gap having to be dimensioned accordingly that the cavity for removing the powdered dry substance is sufficiently ventilated, ideally the piercing nozzle, the respiratory path, the piercing elements, the blow-out nozzle and the mouthpiece form one component than the devices known from the prior art.
Eine weitere Aufgabe der vorliegenden Erfindung besteht darin, eine Anstechdüse so zu gestalten, dass beim Anstechen der Kavität mittels Anstechdüse die pulverförmige Wirksubstanz nicht unkontrolliert in die Anstechdüse und in den respiratorischen Pfad gelangt. Die Umsetzung dieser Anforderung verhindert eine Doppel Dosierung der pulverförmigen Wirksubstanz im Falle einer versehentlich vergessenen Inhalation des Patienten.A further object of the present invention is to design a piercing nozzle in such a way that when the cavity is pierced by means of a piercing nozzle, the active substance in powder form does not get into the piercing nozzle and into the respiratory path in an uncontrolled manner. The implementation of this requirement prevents double dosing of the powdered active substance in the event of the patient accidentally forgetting to inhale.
Figurenlistecharacter list
Ein Ausführungsbeispiel der Erfindung ist in den Zeichnungen dargestellt und wird in der nachfolgenden Beschreibung näher erläutert.
-
1 zeigt eine isometrische Darstellung der beiden Substanzträger mit gesiegelter Deckfolie mit verschlossener Wirksubstanz Kavität eines Inhalators gemäß einem Ausführungsbeispiel der Erfindung. -
2 zeigt eine isometrische Darstellung der beiden Substanzträger mit gepiercter Deckfolie mit Einstechdüse in der Endposition eines Inhalators gemäß einem Ausführungsbeispiel der Erfindung. -
3 zeigt eine isometrische Darstellung eines Mundstücks mit integriertem respiratorischem Pfad und den beiden Anstechelementen eines Inhalators gemäß einem Ausführungsbeispiel der Erfindung.
-
1 shows an isometric representation of the two substance carriers with a sealed cover film with a closed active substance cavity of an inhaler according to an exemplary embodiment of the invention. -
2 shows an isometric representation of the two substance carriers with a pierced cover film with a piercing nozzle in the end position of an inhaler according to an exemplary embodiment of the invention. -
3 shows an isometric view of a mouthpiece with an integrated respiratory path and the two piercing elements of an inhaler according to an embodiment of the invention.
Detaillierte Beschreibung der ErfindungDetailed description of the invention
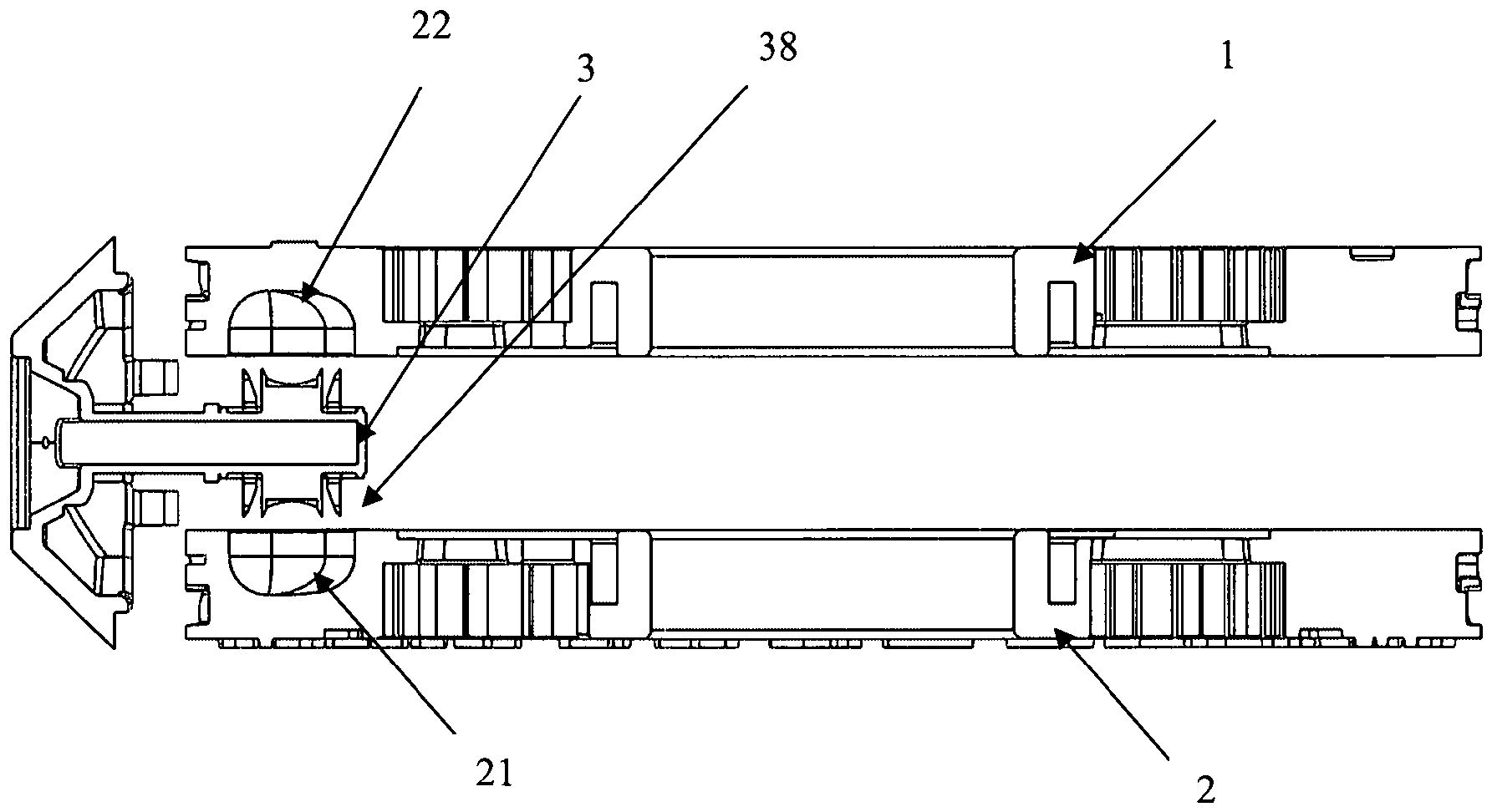
Die
Die beiden Substantzträgerscheiben (1,2) sind dabei drehbar auf einer gemeinsamen Drehachse angeordnet. Ein Mundstück (37) mit integrierter Anstechdüse (3), die ein erstes Anstechelement (32) und ein zweites Anstechelement (33) aufweist. Anstechelement (32) und Anstechelement (33) sind dabei so angeordnet, dass die Anstechdüse (3) zwischen den Kavitäten der beiden Substanzträgerscheiben (1, 2) positioniert ist. Zur Entnahme der pulverförmigen Wirkstoffsubstanz wird mittels Anstechelementen (32, 33) die Folie zur Abdeckung der Wirkstoffkavität (21,22) durchstochen. Dabei werden die beiden Substansträger (1,2) entlang der Drehachse bewegt.The two substance carrier disks (1,2) are arranged so as to be rotatable on a common axis of rotation. A mouthpiece (37) with an integrated piercing nozzle (3) which has a first piercing element (32) and a second piercing element (33). The piercing element (32) and the piercing element (33) are arranged in such a way that the piercing nozzle (3) is positioned between the cavities of the two substance carrier disks (1, 2). To remove the powdered active substance, the film covering the active substance cavity (21, 22) is pierced by means of piercing elements (32, 33). The two substance carriers (1,2) are moved along the axis of rotation.
Die
Die Entnahme der pulverförmigen Substanz aus der Wirkstoff Kavität der Substanzträger (1,2) erfolgt mittels einer Ausblasdüse (39). Die Ausblasdüse (39) ist dabei in kleine Öffnungen, sogenannte Einzelfilterflächen (41) unterteilt, die Unterteilung erfolgt über kreuzförmig angeordnete Stege welche als Filterelement (34) bezeichnet wird.The powdered substance is removed from the active substance cavity of the substance carrier (1,2) by means of a blow-off nozzle (39). The blow-out nozzle (39) is divided into small openings, so-called individual filter surfaces (41), the subdivision takes place via webs arranged in the shape of a cross which are referred to as filter element (34).
Die
Die Anstechdüse (3), besteht aus einer Ausblasdüse an deren abgewandten Ende ein respiratorischer Pfad (31) angeordnet ist, welcher eine Öffnung besitzt. Diese Öffnung ist in ein Mundstück (37) integriert.The piercing nozzle (3) consists of a blow-out nozzle at the opposite end of which a respiratory path (31) is arranged, which has an opening. This opening is integrated into a mouthpiece (37).
BezugszeichenlisteReference List
- 11
- Obenliegende SubstanzträgerscheibeOverhead substance carrier disc
- 22
- untenliegende Substanzträgerscheibeunderlying substance carrier disc
- 33
- Anstechdüsepiercing nozzle
- 2121
- untere Wirksubstanz Kavitätlower active substance cavity
- 2222
- obere Wirksubstanz Kavitätupper active substance cavity
- 3131
- respiratorischer Pfadrespiratory pathway
- 3232
- erstes Anstechelementfirst piercing element
- 3333
- zweites Anstechelementsecond piercing element
- 3434
- Filterelementfilter element
- 3535
- Umlaufendes Elementrevolving element
- 3636
- Distanzelementspacer element
- 3737
- Mundstückmouthpiece
- 3838
- Ringspaltannular gap
- 3939
- Ausblasdüseexhaust nozzle
- 4040
- Entlüftungsbohrungvent hole
- 4141
- Einzelfilterflächenelementsingle filter sheet element
ZITATE ENTHALTEN IN DER BESCHREIBUNGQUOTES INCLUDED IN DESCRIPTION
Diese Liste der vom Anmelder aufgeführten Dokumente wurde automatisiert erzeugt und ist ausschließlich zur besseren Information des Lesers aufgenommen. Die Liste ist nicht Bestandteil der deutschen Patent- bzw. Gebrauchsmusteranmeldung. Das DPMA übernimmt keinerlei Haftung für etwaige Fehler oder Auslassungen.This list of the documents cited by the applicant was generated automatically and is included solely for the better information of the reader. The list is not part of the German patent or utility model application. The DPMA assumes no liability for any errors or omissions.
Zitierte PatentliteraturPatent Literature Cited
- WO 03/0617431 [0003]WO 03/0617431 [0003]
- WO 2005/079727 A2 [0003]WO 2005/079727 A2 [0003]
- WO 2005/014089 A1 [0003]WO 2005/014089 A1 [0003]
- WO 2021/121448 A1 [0003, 0005]WO 2021/121448 A1 [0003, 0005]
Claims (4)
Priority Applications (1)
| Application Number | Priority Date | Filing Date | Title |
|---|---|---|---|
| DE202022001505.4U DE202022001505U1 (en) | 2022-07-07 | 2022-07-07 | Inhaler for administering powdered dry substances |
Applications Claiming Priority (1)
| Application Number | Priority Date | Filing Date | Title |
|---|---|---|---|
| DE202022001505.4U DE202022001505U1 (en) | 2022-07-07 | 2022-07-07 | Inhaler for administering powdered dry substances |
Publications (1)
| Publication Number | Publication Date |
|---|---|
| DE202022001505U1 true DE202022001505U1 (en) | 2022-09-09 |
Family
ID=83447399
Family Applications (1)
| Application Number | Title | Priority Date | Filing Date |
|---|---|---|---|
| DE202022001505.4U Active DE202022001505U1 (en) | 2022-07-07 | 2022-07-07 | Inhaler for administering powdered dry substances |
Country Status (1)
| Country | Link |
|---|---|
| DE (1) | DE202022001505U1 (en) |
Citations (4)
| Publication number | Priority date | Publication date | Assignee | Title |
|---|---|---|---|---|
| WO2003061743A1 (en) | 2002-01-25 | 2003-07-31 | Glaxo Group Limited | Medicament dispenser |
| WO2005014089A1 (en) | 2003-07-24 | 2005-02-17 | Glaxo Group Limited | Medicament dispenser |
| WO2005079727A2 (en) | 2004-02-16 | 2005-09-01 | Glaxo Group Limited | Counter for use with a medicament dispenser |
| WO2021121448A1 (en) | 2019-12-18 | 2021-06-24 | Markus Mezger | Inhaler |
-
2022
- 2022-07-07 DE DE202022001505.4U patent/DE202022001505U1/en active Active
Patent Citations (4)
| Publication number | Priority date | Publication date | Assignee | Title |
|---|---|---|---|---|
| WO2003061743A1 (en) | 2002-01-25 | 2003-07-31 | Glaxo Group Limited | Medicament dispenser |
| WO2005014089A1 (en) | 2003-07-24 | 2005-02-17 | Glaxo Group Limited | Medicament dispenser |
| WO2005079727A2 (en) | 2004-02-16 | 2005-09-01 | Glaxo Group Limited | Counter for use with a medicament dispenser |
| WO2021121448A1 (en) | 2019-12-18 | 2021-06-24 | Markus Mezger | Inhaler |
Similar Documents
| Publication | Publication Date | Title |
|---|---|---|
| DE3336486C2 (en) | ||
| DE69522119T2 (en) | INHALING DEVICE, METHOD FOR DISTRIBUTING PHARMACEUTICALLY ACTIVE SUBSTANCES AND A METHOD FOR ADMINISTERING DOSES OF PHARMACEUTICALLY ACTIVE SUBSTANCES | |
| DE60020575T2 (en) | Dispensing device for medicine | |
| EP0147755B1 (en) | Inhalator | |
| EP0547429B1 (en) | Powder inhaler | |
| EP0167581B1 (en) | Inhalation device | |
| DE69429286T2 (en) | MEDICINE CARRIER FOR DRY POWDER INHALER | |
| DE69607015T2 (en) | INHALATION DEVICE FOR ACCURATE AND REPRODUCIBLE, DATE DELIVERY OF POWDERED MEDICINAL PRODUCTS | |
| DE69215994T2 (en) | Inhaler | |
| DE3535561C2 (en) | Device for inhaling a powdered medical substance | |
| DE69515536T2 (en) | Device for inhaling powdered medicines | |
| DE69816054T2 (en) | EINMALINHALATOR | |
| DE69919899T2 (en) | INHALATION DEVICE | |
| DE69833286T2 (en) | inhaler | |
| DE69633645T2 (en) | Device for administering medicaments | |
| DE69528912T2 (en) | INHALER | |
| DE69424310T2 (en) | POWDER INHALATOR | |
| DE69918325T2 (en) | BREATHABLE AEROSOL DISPENSERS | |
| DE69918965T2 (en) | INHALER WITH DOSING CHAIN | |
| WO1991012040A1 (en) | Powder inhalator | |
| CH629102A5 (en) | INHALATION DEVICE. | |
| CH657054A5 (en) | DOSAGE INHALATOR. | |
| DE102009041664B4 (en) | Passive inhaler | |
| DE2421761A1 (en) | INHALATION DEVICE | |
| EP0611577A1 (en) | Powder inhalator |
Legal Events
| Date | Code | Title | Description |
|---|---|---|---|
| R207 | Utility model specification |
