DE202011000151U1 - Distance monitoring device - Google Patents
Distance monitoring device Download PDFInfo
- Publication number
- DE202011000151U1 DE202011000151U1 DE202011000151U DE202011000151U DE202011000151U1 DE 202011000151 U1 DE202011000151 U1 DE 202011000151U1 DE 202011000151 U DE202011000151 U DE 202011000151U DE 202011000151 U DE202011000151 U DE 202011000151U DE 202011000151 U1 DE202011000151 U1 DE 202011000151U1
- Authority
- DE
- Germany
- Prior art keywords
- vehicle
- distance
- monitoring device
- distance monitoring
- display
- Prior art date
- Legal status (The legal status is an assumption and is not a legal conclusion. Google has not performed a legal analysis and makes no representation as to the accuracy of the status listed.)
- Expired - Lifetime
Links
Images
Classifications
-
- B—PERFORMING OPERATIONS; TRANSPORTING
- B60—VEHICLES IN GENERAL
- B60W—CONJOINT CONTROL OF VEHICLE SUB-UNITS OF DIFFERENT TYPE OR DIFFERENT FUNCTION; CONTROL SYSTEMS SPECIALLY ADAPTED FOR HYBRID VEHICLES; ROAD VEHICLE DRIVE CONTROL SYSTEMS FOR PURPOSES NOT RELATED TO THE CONTROL OF A PARTICULAR SUB-UNIT
- B60W30/00—Purposes of road vehicle drive control systems not related to the control of a particular sub-unit, e.g. of systems using conjoint control of vehicle sub-units
- B60W30/08—Active safety systems predicting or avoiding probable or impending collision or attempting to minimise its consequences
- B60W30/095—Predicting travel path or likelihood of collision
- B60W30/0956—Predicting travel path or likelihood of collision the prediction being responsive to traffic or environmental parameters
-
- G—PHYSICS
- G08—SIGNALLING
- G08G—TRAFFIC CONTROL SYSTEMS
- G08G1/00—Traffic control systems for road vehicles
- G08G1/16—Anti-collision systems
- G08G1/166—Anti-collision systems for active traffic, e.g. moving vehicles, pedestrians, bikes
Landscapes
- Engineering & Computer Science (AREA)
- Automation & Control Theory (AREA)
- Transportation (AREA)
- Mechanical Engineering (AREA)
- Physics & Mathematics (AREA)
- General Physics & Mathematics (AREA)
- Traffic Control Systems (AREA)
- Optical Radar Systems And Details Thereof (AREA)
Abstract
Abstandsüberwachungsvorrichtung (1) eines Fahrzeugs (10), insbesondere Kraftfahrzeugs, zur Überwachung eines Abstands (14) zu einem Nachfolgefahrzeug (12), umfassend:
a) eine Steuereinrichtung (2);
b) mindestens eine rückwärtig ausgerichtete Messeinrichtung (3); und
c) mindestens eine im Bereich eines Fahrzeughecks (11) des Fahrzeugs (10) angebrachte Anzeigeeinrichtung (4);
wobei die Steuereinrichtung (2) zur Aktivierung der mindestens einen Anzeigeeinrichtung (4) ausgebildet ist, wenn ein durch die mindestens eine Messeinrichtung (3) gemessener Abstand (14) einen vorbestimmten Sicherheitsabstandswert über einen vorbestimmten Zeitabschnitt hinaus unterschreitet.Distance monitoring device (1) of a vehicle (10), in particular motor vehicle, for monitoring a distance (14) to a follower vehicle (12), comprising:
a) a control device (2);
b) at least one rear-facing measuring device (3); and
c) at least one display device (4) mounted in the region of a vehicle rear (11) of the vehicle (10);
wherein the control device (2) is designed to activate the at least one display device (4) if a distance (14) measured by the at least one measuring device (3) falls below a predetermined safety distance value over a predetermined period of time.
Description
Die Erfindung betrifft eine Abstandsüberwachungsvorrichtung eines Fahrzeugs zur Überwachung eines Abstands zu einem Nachfolgefahrzeug.The invention relates to a distance monitoring device of a vehicle for monitoring a distance to a follower vehicle.
Zunehmende Verkehrsdichte, hoher Zeitdruck und Ablenkung eines Fahrers eines Fahrzeugs, insbesondere Kraftfahrzeugs, durch unterschiedliche Reize und Situationen kann zu einer Unterschreitung von Sicherheitsabständen zu einem vorausfahrenden Fahrzeug und im schlimmsten Fall zu Unfällen führen.Increasing traffic density, high time pressure and distraction of a driver of a vehicle, in particular motor vehicle, by different stimuli and situations can lead to a shortfall of safety distances to a vehicle in front and in the worst case to accidents.
Vorrichtungen zur Überwachung eines Abstands eines Fahrzeugs kommen bei so genannten Assistenzsystemen für Fahrzeug, z. B. Einparkhilfen und Auffahrwarnsystemen, zum Einsatz. Automatisch arbeitende Systeme überwachen den Abstand zu einem vorausfahrenden Fahrzeug und können diesen durch Beschleunigen oder Abbremsen des Fahrzeugs korrigieren.Devices for monitoring a distance of a vehicle come in so-called assistance systems for vehicle, eg. As parking aids and Auffahrwarnsystemen used. Automatically operating systems monitor the distance to a preceding vehicle and can correct it by accelerating or braking the vehicle.
Verhält sich ein verantwortungsvoller Fahrer eines Kraftfahrzeugs entsprechend den gesetzlichen Verkehrsvorschriften und hält die Geschwindigkeitsbegrenzungen ein, so wird er oft vom nachfolgenden Verkehr als „Schleicher” angesehen und durch Unterschreiten eines Sicherheitsabstands vom Nachfolgefahrzeug bedrängt. Dabei kann es dazu kommen, dass der so bedrängte Fahrer bremst, wodurch der nachfolgende zu Fehlreaktionen veranlasst werden kann. Das Unterschreiten von Sicherheitsabständen führt nicht nur bei dem vorausfahrenden, sondern auch bei dem nachfolgenden Fahrer zu einer erhöhten Konzentration, was wiederum zu einer schnellen Ermüdung führen kann.If a responsible driver of a motor vehicle behaves in accordance with the statutory traffic regulations and adheres to the speed limits, then he is often considered by the subsequent traffic as a "stealth" and harassed by falling below a safety distance from the successor vehicle. It can happen that the driver so under pressure brakes, whereby the subsequent can be caused to false reactions. Falling below safety distances leads not only to the driver driving ahead, but also to the driver following behind to an increased concentration, which in turn can lead to rapid fatigue.
Die Aufgabe der vorliegenden Erfindung besteht darin, eine Abstandsüberwachungsvorrichtung eines Fahrzeugs bereitzustellen.The object of the present invention is to provide a distance monitoring device of a vehicle.
Die Aufgabe wird durch eine Abstandsüberwachungsvorrichtung mit den Merkmalen des Anspruchs 1 gelöst.The object is achieved by a distance monitoring device having the features of
Demgemäß umfasst eine Abstandsüberwachungsvorrichtung eines Fahrzeugs, insbesondere Kraftfahrzeug, zur Überwachung eines Abstands zu einem Nachfolgefahrzeug: eine Steuereinrichtung; mindestens eine rückwärtig ausgerichtete Messeinrichtung, welche beispielsweise im Bereich eines Fahrzeughecks des Fahrzeugs angebracht ist; und mindestens eine im Bereich eines Fahrzeughecks des Fahrzeugs angebrachte Anzeigeeinrichtung. Die Steuereinrichtung ist zur Aktivierung der mindestens einen Anzeigeeinrichtung ausgebildet, wenn ein durch die mindestens eine Messeinrichtung gemessener Abstand einen vorbestimmten Sicherheitsabstandswert über einen vorbestimmten Zeitabschnitt hinaus unterschreitet.Accordingly, a distance monitoring device of a vehicle, in particular a motor vehicle, for monitoring a distance to a following vehicle comprises: a control device; at least one rear-facing measuring device, which is mounted, for example, in the region of a vehicle rear of the vehicle; and at least one mounted in the region of a vehicle rear of the vehicle display device. The control device is designed to activate the at least one display device when a distance measured by the at least one measuring device falls below a predetermined safety distance value over a predetermined period of time.
Damit wird ein Abstand zu einem nachfolgenden Fahrzeug überwacht. Eine rückseitig ausgerichtete Sensorik der mindestens einen Messeinrichtung misst den Abstand zu dem nachfolgenden Fahrzeug. Unterschreitet das Nachfolgefahrzeug einen Sicherheitsabstand über einen vorbestimmten Zeitraum, so wird die Anzeigeeinrichtung aktiviert und warnt den Fahrer des Nachfolgefahrzeugs, dass er den Sicherheitsabstand unterschreitet. Damit wird dieser frühzeitig gewarnt, ohne bei ihm Fehlreaktionen auszulösen, wie dies bei einem unerwarteten Bremsen des Vordermanns vorkommen kann.This monitors a distance to a following vehicle. A rear-facing sensor system of the at least one measuring device measures the distance to the following vehicle. If the follower vehicle falls below a safe distance over a predetermined period of time, the display device is activated and warns the driver of the follower vehicle that he falls below the safety distance. Thus, this is warned early, without triggering false reactions, as may occur in an unexpected braking of the car in front.
Außerdem wird der Fahrer des vorausfahrenden Fahrzeugs nicht zu Fehlreaktionen aufgrund eines Bedrängtseins veranlasst.In addition, the driver of the preceding vehicle is not caused to erroneous reactions due to an oppressed.
Somit wird die Verkehrssicherheit beider Fahrzeuge erhöht.Thus, the traffic safety of both vehicles is increased.
Die Steuereinrichtung kann zur Vorbestimmung des vorbestimmten Sicherheitsabstandswertes und des vorbestimmten Zeitabschnitts in Abhängigkeit ausgebildet sein und dabei Betriebsparameter des Fahrzeugs und/oder Umgebungsparameter des Fahrzeugs berücksichtigen. Damit wird eine Anpassung an Betriebs- und Umgebungsbedingungen erzielt.The control device can be designed to predetermine the predetermined safety distance value and the predetermined time interval depending on operating parameters of the vehicle and / or environmental parameters of the vehicle. This achieves adaptation to operating and environmental conditions.
Ein Betriebsparameter des Fahrzeugs kann eine Fahrzeuggeschwindigkeit sein. Bei größerer Fahrgeschwindigkeit vergrößert sich der Sicherheitsabstandswert. Bei stehendem oder im Schritttempo fahrendem Fahrzeug kann die Abstandsüberwachungsvorrichtung ausgeschaltet sein.An operating parameter of the vehicle may be a vehicle speed. At higher speeds, the safety distance increases. When the vehicle is stationary or at a walking pace, the distance monitoring device may be switched off.
Umgebungsparameter des Fahrzeugs können eine Außentemperatur, ein Helligkeitswert und/oder ein Wert eines Regensensors sein. Damit ist eine Anpassung des Sicherheitsabstandswertes an Wetter und Tageszeit sowie Sichtverhältnisse möglich.Environmental parameters of the vehicle may be an outside temperature, a brightness value and / or a value of a rain sensor. Thus, an adjustment of the safety distance value of weather and time of day and visibility is possible.
Die Steuereinrichtung kann zur Aktivierung der mindestens einen Anzeigeeinrichtung in mindestens zwei Warnstufen ausgebildet sein. Das kann zum Beispiel durch Veränderung der Helligkeit der Anzeigeeinrichtung, und/oder durch Blinken, Pulsieren, Aufblitzen erfolgen, wobei der Grad der Unterschreitung des Sicherheitsabstands dem nachfolgenden Fahrer angegeben wird.The control device can be designed to activate the at least one display device in at least two warning levels. This can be done for example by changing the brightness of the display device, and / or by flashing, pulsating, flashing, wherein the degree of underrun of the safety distance is indicated to the subsequent driver.
Die mindestens eine Anzeigeeinrichtung kann eine alphanumerische Anzeige und/oder mindestens eine Symbolanzeige aufweisen.The at least one display device may have an alphanumeric display and / or at least one icon display.
Es ist auch eine Kombination der Anzeigeeinrichtung mit am Fahrzeug schon vorhandenen Rückleuchten möglich, insofern dies nach den jeweiligen nationalen Gesetzen zulässig ist. So können bei einer ersten Warnstufe zum Beispiel die Rückfahrscheinwerfer aufleuchten. Eine Steigerung kann durch Aktivieren der rückwärtigen Blinkleuchten (einzeln oder als Warnblinkanlage) sein. Als höchste Warnstufe könnten die Bremsleuchten zunächst blinkend dann kontinuierlich aufleuchten. It is also a combination of the display device with the vehicle already existing taillights possible, insofar as this is permitted by the respective national laws. For example, at a first warning level, the reversing lights may light up. An increase can be by activating the rear turn signals (individually or as hazard warning lights). As the highest warning level, the brake lights could initially flash flashing then continuously.
Eine rückseitig ausgerichtete, beispielsweise im Rückfenster oder rückseitig angebrachte Anzeigeeinrichtung mit alphanumerischen Zeichen und Warnsymbolen (Warndreieck, Ausrufezeichen) kann den erforderlichen Sicherheitsabstand oder/und den aktuellen Abstand (in einer entsprechenden nationalen Maßeinheit) anzeigen. Zudem kann an der Anzeigeeinrichtung ein kritischer Fahrzeugzustand, beispielsweise Einschalten des ESP oder ABS, angezeigt werden, um eine Warnung an den nachfolgenden Verkehr zu übermitteln.A rear-facing, for example in the rear window or rear-mounted display with alphanumeric characters and warning symbols (warning triangle, exclamation point) can display the required safety distance and / or the current distance (in a corresponding national unit). In addition, a critical vehicle state, for example switching on the ESP or ABS, can be displayed on the display device in order to transmit a warning to the following traffic.
Die mindestens eine Messeinrichtung kann für eine Entfernungsmessung mit Infrarot, Ultraschall, Radar, und/oder Laser ausgebildet sein. Auch eine Entfernungsmessung mit einer Kamera kann möglich sein. Möglich ist auch eine Abstandsmessung per Satelliten gestützter Navigation, beispielsweise GPS, sofern die Genauigkeit ausreichend gewährleistet ist, was gerade bei größeren Abständen der Fall ist. Zudem kann auch eine Abstandsmessung auch durch Kommunikation einzelner Fahrzeuge untereinander vorgenommen werden, beispielsweise wenn beide Fahrzeuge von einem Hersteller stammen bzw. mit entsprechenden Systemen ausgestattet sind, die eine solche Messung ermöglichen.The at least one measuring device can be designed for a distance measurement with infrared, ultrasound, radar, and / or laser. Also, a distance measurement with a camera may be possible. Also possible is a distance measurement by satellite-based navigation, such as GPS, if the accuracy is sufficiently ensured, which is the case especially for larger distances. In addition, a distance measurement can also be made by communication of individual vehicles with each other, for example, when both vehicles come from a manufacturer or are equipped with appropriate systems that allow such a measurement.
Es ist auch denkbar, dass rückseitige Abstandssensoren eines Parkassistenzsystems Bestandteil der Abstandsüberwachungsvorrichtung sein können, oder deren Signale von der Abstandsüberwachungsvorrichtung als Abstandswerte oder zur Plausibilisierung der Abstandsmesswerte der mindestens einen Messeinrichtung dienen können.It is also conceivable that rear-side distance sensors of a parking assistance system can be part of the distance monitoring device, or their signals from the distance monitoring device can serve as distance values or for plausibility of the distance measurement values of the at least one measuring device.
Die Abstandsüberwachungsvorrichtung kann weiterhin eine Bedienungseinrichtung mit mindestens einem Betätigungselement und einer Bedieneranzeige umfassen. Damit wird dem Fahrer des Fahrzeugs der Betriebszustand der Abstandsüberwachungsvorrichtung gemeldet. Außerdem wird ihm signalisiert, wenn ein Nachfolgefahrzeug den Sicherheitsabstand unterschreitet und dass dieses erkannt wird. Dies kann dem Fahrer auch akustisch oder/und zum Beispiel visuell auf einem Mulifunktionsdisplay des Fahrzeugs gemeldet werden.The distance monitoring device may further comprise an operating device with at least one actuating element and an operator display. Thus, the operating state of the distance monitoring device is reported to the driver of the vehicle. In addition, it is signaled when a follower vehicle falls below the safety distance and that this is detected. This can also be reported to the driver acoustically and / or visually on a multi-functional display of the vehicle.
Weiterhin kann die Abstandsüberwachungsvorrichtung eine Speichereinrichtung zur Speicherung vorbestimmter Werte umfassen. Dadurch ist es möglich, vorbestimmte Sicherheitsabstandswerte und weitere Grenzwerte aus einer Tabelle auszulesen, wenn bestimmte Betriebs- und Umgebungszustände vorliegen. Die Speichereinrichtung kann auch Sicherheitsfaktoren enthalten, mit denen Grenzwerte in Abhängigkeit von bestimmten Betriebs- und Umgebungszuständen erhöht oder erniedrigt werden können. Diese Berechnungen können in der Steuereinrichtung ausgeführt werden.Furthermore, the distance monitoring device may comprise a memory device for storing predetermined values. This makes it possible to read out predetermined safety distance values and other limit values from a table when certain operating and ambient conditions exist. The memory device may also include safety factors with which limit values can be increased or decreased depending on specific operating and environmental conditions. These calculations can be performed in the controller.
Die Steuereinrichtung kann für eine Verbindung mit einem Steuergerät des Fahrzeugs ausgebildet sein. Dies kann zum Beispiel eine Schnittstelle für einen Fahrzeugbus (CAN) sein. Damit kann die Steuereinrichtung Messwerte und Parameter der im Fahrzeug schon vorhandenen Sensoren und/oder Systeme erfassen.The control device may be designed for a connection to a control device of the vehicle. This can be, for example, an interface for a vehicle bus (CAN). Thus, the control device can record measured values and parameters of the sensors and / or systems already present in the vehicle.
Die Erfindung wird anhand einer beispielhaften Ausführung mit Bezug auf die beigefügten Zeichnungen näher erläutert. Hierbei zeigen:The invention will be explained in more detail with reference to an exemplary embodiment with reference to the accompanying drawings. Hereby show:
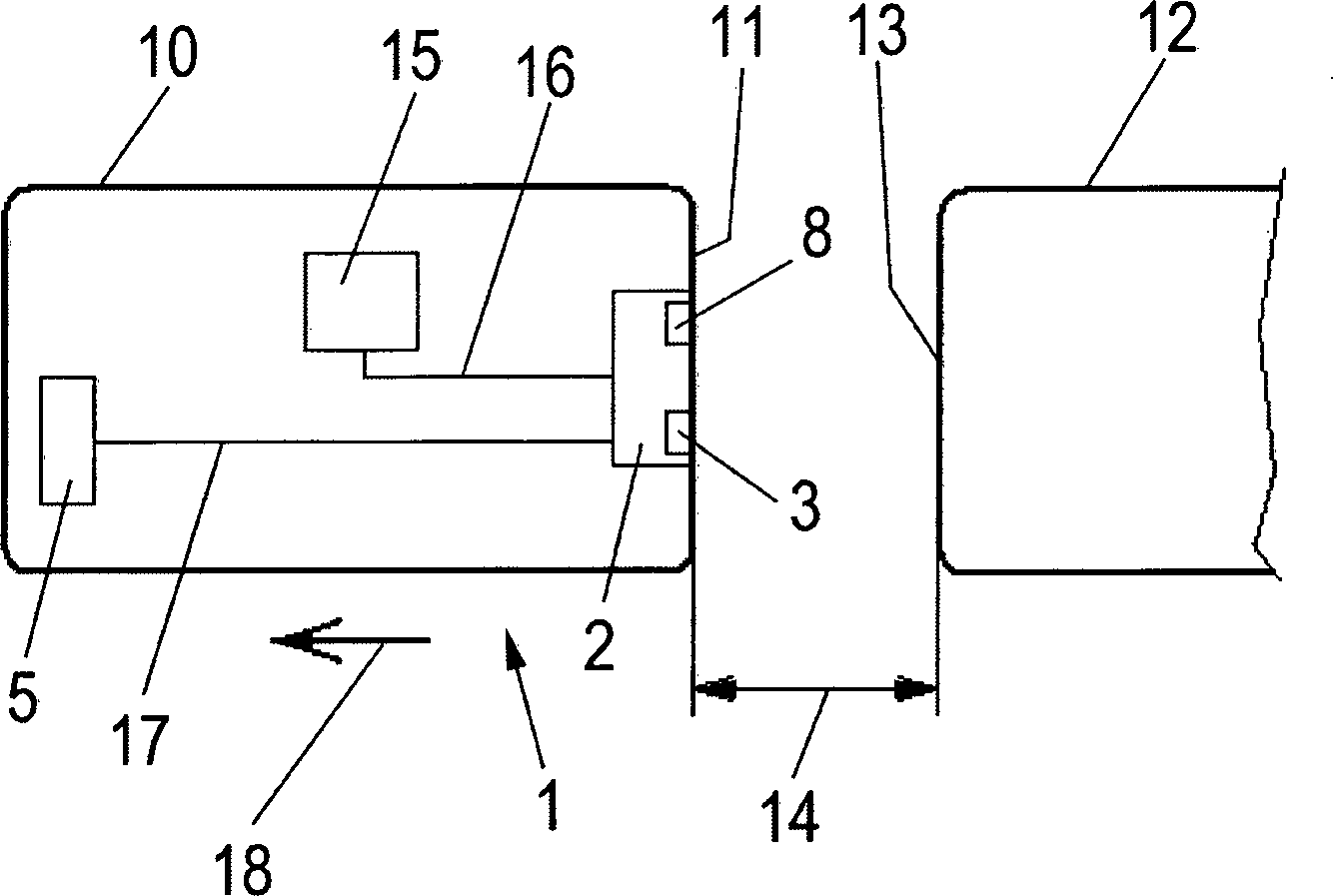
Das Fahrzeug
In dem Fahrzeug
Die Abstandsüberwachungsvorrichtung
Die Steuereinrichtung
Die mindestens eine Messeinrichtung
Weiterhin ist die mindestens eine Anzeigeeinrichtung
Die Bedienungseinrichtung
Die Steuereinrichtung
Außerdem weist die Überwachungseinrichtung
Die Funktionsweise der Abstandsüberwachungsvorrichtung
Der Fahrer des Fahrzeugs
Die Steuereinrichtung
Mittels weiterer Parameter kann der Sicherheitsabstandswert des Abstands
Sobald das Nachfolgefahrzeug
In Abhängigkeit des gemessenen, unterschrittenen Abstands
Die Erfindung ist durch das oben beschriebene Ausführungsbeispiel nicht eingeschränkt. Sie ist im Rahmen der beigefügten Ansprüche modifizierbar.The invention is not limited by the embodiment described above. It is modifiable within the scope of the appended claims.
Es ist zum Beispiel denkbar, dass die mindestens eine Messeinrichtung
Anstelle der Anschlussleitung
Die Anzeigeeinrichtung
BezugszeichenlisteLIST OF REFERENCE NUMBERS
- 11
- AbstandsüberwachungsvorrichtungDistance monitoring device
- 22
- Steuereinrichtungcontrol device
- 33
- Messeinrichtungmeasuring device
- 44
- Anzeigeeinrichtungdisplay
- 55
- Bedienungseinrichtungoperating device
- 66
- Betätigungselementeactuators
- 77
- Bedieneranzeigeoperator display
- 88th
- Speichereinrichtungmemory device
- 99
- Parametereingangparameter input
- 1010
- Fahrzeugvehicle
- 1111
- Fahrzeugheckvehicle rear
- 1212
- Folgefahrzeugthe following vehicle
- 1313
- FolgefahrzeugfrontFollow vehicle front
- 1414
- Abstanddistance
- 1515
- Steuergerätcontrol unit
- 1616
- Verbindungconnection
- 1717
- Anschlussleitungconnecting cable
- 1818
- Fahrtrichtungdirection of travel
Claims (13)
Priority Applications (1)
| Application Number | Priority Date | Filing Date | Title |
|---|---|---|---|
| DE202011000151U DE202011000151U1 (en) | 2011-01-21 | 2011-01-21 | Distance monitoring device |
Applications Claiming Priority (1)
| Application Number | Priority Date | Filing Date | Title |
|---|---|---|---|
| DE202011000151U DE202011000151U1 (en) | 2011-01-21 | 2011-01-21 | Distance monitoring device |
Publications (1)
| Publication Number | Publication Date |
|---|---|
| DE202011000151U1 true DE202011000151U1 (en) | 2011-03-24 |
Family
ID=43797232
Family Applications (1)
| Application Number | Title | Priority Date | Filing Date |
|---|---|---|---|
| DE202011000151U Expired - Lifetime DE202011000151U1 (en) | 2011-01-21 | 2011-01-21 | Distance monitoring device |
Country Status (1)
| Country | Link |
|---|---|
| DE (1) | DE202011000151U1 (en) |
Cited By (9)
| Publication number | Priority date | Publication date | Assignee | Title |
|---|---|---|---|---|
| DE102013208164A1 (en) * | 2013-05-03 | 2014-11-06 | Robert Bosch Gmbh | Distance measuring Equipment |
| DE102014105627A1 (en) | 2014-04-22 | 2015-10-22 | Haldex Brake Products Gmbh | Use of an automatic dock leveler docking system of a commercial vehicle trailer |
| EP2757542A3 (en) * | 2013-01-22 | 2015-11-11 | Josef Haidlmair | Distance warning device and method for improving road safety |
| DE102014214879A1 (en) | 2014-07-29 | 2016-02-18 | Volkswagen Aktiengesellschaft | Warning device for a vehicle |
| DE102017003440A1 (en) | 2017-04-08 | 2018-10-11 | Man Truck & Bus Ag | Method for operating a vehicle, in particular a motor vehicle |
| DE102017123994A1 (en) * | 2017-10-16 | 2019-04-18 | Dr. Ing. H.C. F. Porsche Aktiengesellschaft | Driver assistance method and driver assistance device |
| DE102018005009A1 (en) * | 2018-06-20 | 2019-12-24 | Willi Schönfeldt | Set-up clearance-Warner |
| DE102022131960A1 (en) | 2022-12-02 | 2024-06-13 | Zf Cv Systems Global Gmbh | Rear area monitoring system of a vehicle and method for controlling it |
| DE102023105028A1 (en) * | 2023-03-01 | 2024-09-05 | Audi Aktiengesellschaft | Motor vehicle |
-
2011
- 2011-01-21 DE DE202011000151U patent/DE202011000151U1/en not_active Expired - Lifetime
Cited By (12)
| Publication number | Priority date | Publication date | Assignee | Title |
|---|---|---|---|---|
| EP2757542A3 (en) * | 2013-01-22 | 2015-11-11 | Josef Haidlmair | Distance warning device and method for improving road safety |
| DE102013208164A1 (en) * | 2013-05-03 | 2014-11-06 | Robert Bosch Gmbh | Distance measuring Equipment |
| US9971034B2 (en) | 2013-05-03 | 2018-05-15 | Robert Bosch Gmbh | Rangefinder |
| DE102013208164B4 (en) * | 2013-05-03 | 2019-05-23 | Robert Bosch Gmbh | Distance measuring Equipment |
| DE102014105627A1 (en) | 2014-04-22 | 2015-10-22 | Haldex Brake Products Gmbh | Use of an automatic dock leveler docking system of a commercial vehicle trailer |
| DE102014214879A1 (en) | 2014-07-29 | 2016-02-18 | Volkswagen Aktiengesellschaft | Warning device for a vehicle |
| DE102017003440A1 (en) | 2017-04-08 | 2018-10-11 | Man Truck & Bus Ag | Method for operating a vehicle, in particular a motor vehicle |
| DE102017003440B4 (en) * | 2017-04-08 | 2021-04-29 | Man Truck & Bus Se | Method for operating a vehicle, in particular a motor vehicle |
| DE102017123994A1 (en) * | 2017-10-16 | 2019-04-18 | Dr. Ing. H.C. F. Porsche Aktiengesellschaft | Driver assistance method and driver assistance device |
| DE102018005009A1 (en) * | 2018-06-20 | 2019-12-24 | Willi Schönfeldt | Set-up clearance-Warner |
| DE102022131960A1 (en) | 2022-12-02 | 2024-06-13 | Zf Cv Systems Global Gmbh | Rear area monitoring system of a vehicle and method for controlling it |
| DE102023105028A1 (en) * | 2023-03-01 | 2024-09-05 | Audi Aktiengesellschaft | Motor vehicle |
Similar Documents
| Publication | Publication Date | Title |
|---|---|---|
| DE202011000151U1 (en) | Distance monitoring device | |
| DE102009007885B4 (en) | Method for detecting vehicles entering or leaving one's own lane | |
| EP2620314B1 (en) | Device and method for monitoring the operation of a vehicle and device and method for warning the driver | |
| EP1796949B1 (en) | Method and device for driver assistance | |
| EP2813408A1 (en) | Method and device for controlling a vehicle | |
| EP3280625A1 (en) | Control system and method for assisting motor vehicles in safely pulling in after overtaking | |
| EP2726329A1 (en) | Method for controlling a reversible belt tensioner of a safety belt in a motor vehicle | |
| DE102005062275A1 (en) | Method for detecting impending rear end impact upon first vehicle entails additionally checking whether second vehicle is starting overtaking action, and if overtaking maneuver is detected, a rear end impact is excluded | |
| DE102013020733A1 (en) | Assistance system and assistance system for assisting a vehicle driver in starting and / or turning a vehicle | |
| DE102011085825A1 (en) | Method and device for warning the driver of a motor vehicle in case of lack of attention | |
| DE102014207399A1 (en) | Device and method for coping with accidental situations with living beings | |
| EP1750236B1 (en) | Method and device for controlling a driver assist system | |
| EP1585083A2 (en) | Method and apparatus for warning a vehicle driver | |
| DE102019127410A1 (en) | Method for automatically assisting a motor vehicle to drive on an exit of a higher-level road | |
| EP1612082A1 (en) | Lane-changing assistant for motor vehicle | |
| EP2098431B1 (en) | Motor vehicle with driver assistance systems | |
| DE102018210593A1 (en) | Driving ability detection device for a vehicle | |
| DE102015011320A1 (en) | Method and system for ensuring a safe departure of a bus from a bus stop from the standstill of the bus | |
| EP4201744A1 (en) | Method and system for controlling light emission of a vehicle lamp | |
| DE102016206048B4 (en) | Collision warning system and collision warning procedure | |
| DE102015103360B4 (en) | EMERGENCY VEHICLE MANEUVERING COMMUNICATIONS | |
| EP3020603B1 (en) | System for preventing accidents caused by rear collisions | |
| DE10360263A1 (en) | Warning arrangement for warning a motor vehicle driver that indicators have not been activated under certain conditions or have been activated for a long time under other conditions | |
| DE102008046695A1 (en) | Critical driving condition identifying method for motor vehicle, involves comparing actual driving conditions after diversion situation of driver with future driving conditions, and forming measure for criticality of actual conditions | |
| EP2868536A1 (en) | Activation of vehicle components based on information from the environment |
Legal Events
| Date | Code | Title | Description |
|---|---|---|---|
| R207 | Utility model specification |
Effective date: 20110428 |
|
| R163 | Identified publications notified | ||
| R163 | Identified publications notified |
Effective date: 20110923 |
|
| R156 | Lapse of ip right after 3 years | ||
| R156 | Lapse of ip right after 3 years |
Effective date: 20140801 |
