DE202008004148U1 - furniture body - Google Patents
furniture body Download PDFInfo
- Publication number
- DE202008004148U1 DE202008004148U1 DE202008004148U DE202008004148U DE202008004148U1 DE 202008004148 U1 DE202008004148 U1 DE 202008004148U1 DE 202008004148 U DE202008004148 U DE 202008004148U DE 202008004148 U DE202008004148 U DE 202008004148U DE 202008004148 U1 DE202008004148 U1 DE 202008004148U1
- Authority
- DE
- Germany
- Prior art keywords
- bar
- furniture carcass
- rear wall
- wall
- carcass according
- Prior art date
- Legal status (The legal status is an assumption and is not a legal conclusion. Google has not performed a legal analysis and makes no representation as to the accuracy of the status listed.)
- Expired - Lifetime
Links
- 238000010276 construction Methods 0.000 description 4
- 210000002414 leg Anatomy 0.000 description 3
- 238000004026 adhesive bonding Methods 0.000 description 2
- 239000000463 material Substances 0.000 description 2
- 238000003466 welding Methods 0.000 description 2
- BUHVIAUBTBOHAG-FOYDDCNASA-N (2r,3r,4s,5r)-2-[6-[[2-(3,5-dimethoxyphenyl)-2-(2-methylphenyl)ethyl]amino]purin-9-yl]-5-(hydroxymethyl)oxolane-3,4-diol Chemical compound COC1=CC(OC)=CC(C(CNC=2C=3N=CN(C=3N=CN=2)[C@H]2[C@@H]([C@H](O)[C@@H](CO)O2)O)C=2C(=CC=CC=2)C)=C1 BUHVIAUBTBOHAG-FOYDDCNASA-N 0.000 description 1
- 238000009434 installation Methods 0.000 description 1
- 239000002184 metal Substances 0.000 description 1
- 230000002093 peripheral effect Effects 0.000 description 1
- 239000011343 solid material Substances 0.000 description 1
- 210000000689 upper leg Anatomy 0.000 description 1
Classifications
-
- A—HUMAN NECESSITIES
- A47—FURNITURE; DOMESTIC ARTICLES OR APPLIANCES; COFFEE MILLS; SPICE MILLS; SUCTION CLEANERS IN GENERAL
- A47B—TABLES; DESKS; OFFICE FURNITURE; CABINETS; DRAWERS; GENERAL DETAILS OF FURNITURE
- A47B47/00—Cabinets, racks or shelf units, characterised by features related to dismountability or building-up from elements
- A47B47/04—Cabinets, racks or shelf units, characterised by features related to dismountability or building-up from elements made mainly of wood or plastics
- A47B47/042—Panels connected without frames
-
- A—HUMAN NECESSITIES
- A47—FURNITURE; DOMESTIC ARTICLES OR APPLIANCES; COFFEE MILLS; SPICE MILLS; SUCTION CLEANERS IN GENERAL
- A47B—TABLES; DESKS; OFFICE FURNITURE; CABINETS; DRAWERS; GENERAL DETAILS OF FURNITURE
- A47B95/00—Fittings for furniture
- A47B95/04—Keyplates; Ornaments or the like
- A47B95/043—Protecting rims, buffers or the like
Landscapes
- Life Sciences & Earth Sciences (AREA)
- Engineering & Computer Science (AREA)
- Wood Science & Technology (AREA)
- Furniture Connections (AREA)
Abstract
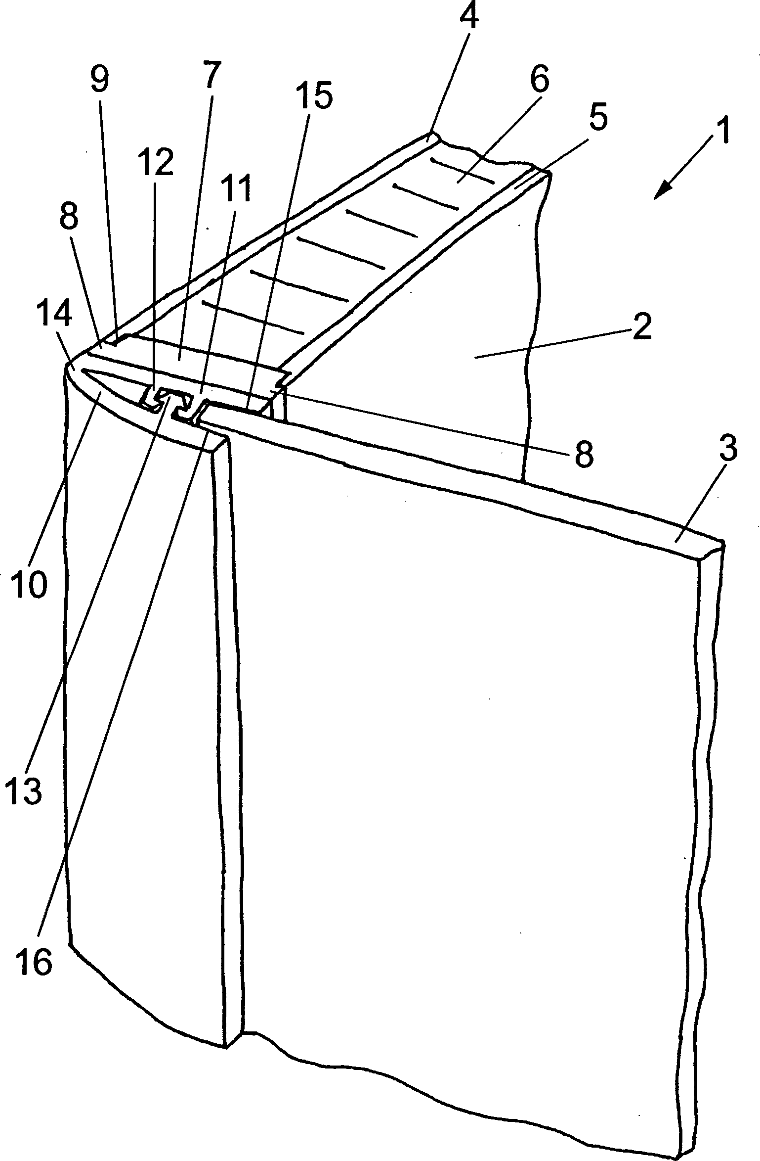
Möbelkorpus mit zwei beabstandet angeordneten Seitenwänden (2), an denen eine Rückwand (3) festgelegt ist, wobei die Seitenwände (2) vorzugsweise als Leichtbauplatten mit zwei äußeren Deckplatten (4, 5) und einer Zwischenlage (6) ausgebildet sind, dadurch gekennzeichnet, dass zum Festlegen der Rückwand (3) ein bewegbares Halteelement (10, 10', 10'', 10''', 20, 33) vorgesehen ist, das von einer Öffnungsposition in eine Schließposition bewegbar ist.Furniture body with two spaced side walls (2) on which a rear wall (3) is fixed, wherein the side walls (2) are preferably formed as lightweight panels with two outer cover plates (4, 5) and an intermediate layer (6), characterized in that a movable retaining element (10, 10 ', 10' ', 10' '', 20, 33) is provided for fixing the rear wall (3), which can be moved from an open position into a closed position.
Description
Die vorliegende Erfindung betrifft ein Möbelkorpus mit zwei beabstandet angeordneten Seitenwänden, an denen eine Rückwand festgelegt ist, wobei die Seitenwände als Leichtbauplatte mit zwei äußeren Deckplatten und einer Zwischenlage ausgebildet sind.The The present invention relates to a furniture carcass with two spaced side walls, where a rear wall is set, the side walls as a lightweight board with two outer cover plates and an intermediate layer are formed.
Die
Die
Es ist daher Aufgabe der vorliegenden Erfindung einen Möbelkorpus zu schaffen, bei dem eine Rückwand auf einfache Weise an einer Seitenwand in Leichtbauweise montierbar ist.It is therefore an object of the present invention, a furniture body to create a back wall in a simple way a side wall in lightweight construction can be mounted.
Diese Aufgabe wird mit einem Möbelkorpus mit den Merkmalen des Anspruches 1 gelöst.These Task is with a furniture body with the characteristics of Claim 1 solved.
Erfindungsgemäß ist zum Festlegen der Rückwand ein bewegbares Halteelement vorgesehen, das von einer Öffnungsposition in eine Schließposition bewegbar ist. Dadurch kann die Rückwand auf einfache Weise an den Seitenwänden montiert werden, da nach einer Positionierung der Rückwand diese über das Halteelement entsprechend fixiert werden kann, wobei die bewegbaren Halteelemente ebenso an einer Boden- und/oder Deckenwand vorgesehen werden können.According to the invention for fixing the rear wall, a movable holding element provided that from an open position to a closed position is movable. This allows the back wall in a simple way be mounted on the side walls, because after positioning the rear wall corresponding to this over the retaining element can be fixed, wherein the movable holding elements as well a floor and / or ceiling wall can be provided.
Gemäß einer bevorzugten Ausgestaltung der Erfindung weist das Halteelement eine Anlagefläche auf, die in der Schließposition klemmend an der Rückwand anliegt. Meistens reichen die Klemmkräfte aus, um die Rückwand dauerhaft zu fixieren. Denn die Rückwand ist keinen besonderen mechanischen Belastungen ausgesetzt.According to one preferred embodiment of the invention, the holding element has a Contact surface, the clamping in the closed position rests against the rear wall. Mostly, the clamping forces are sufficient to fix the back wall permanently. Because the back wall is not exposed to any special mechanical loads.
Vorzugsweise ist das Halteelement mit einer Leiste gekoppelt, die an einer Schmalseite der Seitenwände festgelegt ist. Eine solche Leiste kann insbesondere dauerhaft als Abschluss einer Leichtbauplatte festgelegt sein. Dabei kann die Leiste auf der zur Seitenwand gerichteten Seite gestuft ausgebildet sein, so dass die Befestigungsfläche im Bereich der stabileren äußeren Deckplatten vergrößert ist.Preferably the retaining element is coupled to a strip which on a narrow side the side walls is fixed. Such a bar can especially permanently determined as completion of a lightweight board be. In this case, the bar on the side facing the side wall be stepped, so that the mounting surface in the area of more stable outer cover plates is enlarged.
Für eine einfache Montage ist das Halteelement vorzugsweise mit der Leiste verrastbar. Dabei kann zum Verrasten eine Nut mit federnden Nutwänden und eine im Querschnitt pilzkopfförmige Leiste vorgesehen sein. Dadurch kann die Rückwand über die gesamte Höhe der Seitenwand festgelegt werden. Hierfür kann das Halteelement über ein Filmscharnier verschwenkbar an einer mit der Seitenwand verbundenen Leiste gehalten sein. Dadurch braucht zum Festlegen der Rückwand die Leiste lediglich verschwenkt und verrastet zu werden.For a simple assembly, the retaining element is preferably with the Lockable bar. It can be used for locking a groove with resilient Grooved walls and a cross-section mushroom-shaped Bar be provided. This allows the back wall over the entire height of the side wall are set. Therefor the retaining element can be pivoted via a film hinge be held on a connected to the side wall bar. This needs for fixing the rear wall, the bar is merely pivoted and to be locked.
Alternativ kann das Halteelement auch mehrere einzelne Halteabschnitte aufweisen, die zum Festklemmen der Rückwand an einer Leiste verrastbar sind. Die Halteabschnitte können dabei an mehreren Stellen der Leiste im Bereich einer Rückwand festgelegt werden, so dass nur wenige Befestigungspunkte vorhanden sind.alternative the holding element can also have a plurality of individual holding sections, which can be latched to a strip for clamping the rear wall are. The holding sections can in several places the bar are set in the area of a back wall, so that only a few attachment points are available.
Für eine stabile Befestigung der Rückwand kann diese randseitig im Bereich der Seitenwände U-förmig eingefasst sein.For a stable attachment of the rear wall can this edge bordered in the area of the side walls U-shaped be.
Gemäß einer weiteren Ausgestaltung der Erfindung ist das Halteelement über mindestens einen Bolzen an einer Leiste an einer Seitenwand festgelegt. Der Bolzen kann dabei mit der Leiste verrastbar oder verschraubbar ausgebildet sein. Dabei kann der Bolzen in eine Öffnung an einer Leiste an einer Schmalseite der Leichtbauplatte eingreifen. Über den Bolzen kann dann ein Ausleger zum Festklemmen der Rückwand an der Leiste gekoppelt sein.According to one Another embodiment of the invention, the retaining element via set at least one bolt on a bar on a side wall. The bolt can be latched or screwed to the bar be educated. In this case, the bolt in an opening engage a strip on a narrow side of the lightweight panel. about The bolt can then be a boom for clamping the rear wall be coupled to the bar.
Die Erfindung wird nachfolgend anhand mehrerer Ausführungsbeispiele mit Bezug auf die beigefügten Zeichnungen näher erläutert. Es zeigen:The Invention will be described below with reference to several embodiments with reference to the accompanying drawings explained. Show it:
Ein
nur teilweise dargestellter Möbelkorpus umfasst zwei beabstandet
angeordnete Seitenwände
Die
Seitenwand
Zur
Festlegung einer Rückwand
Zur
Montage der Rückwand
In
In
In
den
An
der Leiste
Das
Halteelement
In
In
In
den
Zur
Fixierung der Rückwand
Die
als zusammenfügbar beschriebenen Leistenpaare wie die Leisten
ZITATE ENTHALTEN IN DER BESCHREIBUNGQUOTES INCLUDE IN THE DESCRIPTION
Diese Liste der vom Anmelder aufgeführten Dokumente wurde automatisiert erzeugt und ist ausschließlich zur besseren Information des Lesers aufgenommen. Die Liste ist nicht Bestandteil der deutschen Patent- bzw. Gebrauchsmusteranmeldung. Das DPMA übernimmt keinerlei Haftung für etwaige Fehler oder Auslassungen.This list The documents listed by the applicant have been automated generated and is solely for better information recorded by the reader. The list is not part of the German Patent or utility model application. The DPMA takes over no liability for any errors or omissions.
Zitierte PatentliteraturCited patent literature
- - DE 2231577 [0002] - DE 2231577 [0002]
- - WO 2007/131903 [0003] - WO 2007/131903 [0003]
Claims (12)
Priority Applications (2)
| Application Number | Priority Date | Filing Date | Title |
|---|---|---|---|
| DE202008004148U DE202008004148U1 (en) | 2008-03-26 | 2008-03-26 | furniture body |
| EP09153437A EP2105063A1 (en) | 2008-03-26 | 2009-02-23 | Furniture body |
Applications Claiming Priority (1)
| Application Number | Priority Date | Filing Date | Title |
|---|---|---|---|
| DE202008004148U DE202008004148U1 (en) | 2008-03-26 | 2008-03-26 | furniture body |
Publications (1)
| Publication Number | Publication Date |
|---|---|
| DE202008004148U1 true DE202008004148U1 (en) | 2009-08-06 |
Family
ID=40756459
Family Applications (1)
| Application Number | Title | Priority Date | Filing Date |
|---|---|---|---|
| DE202008004148U Expired - Lifetime DE202008004148U1 (en) | 2008-03-26 | 2008-03-26 | furniture body |
Country Status (2)
| Country | Link |
|---|---|
| EP (1) | EP2105063A1 (en) |
| DE (1) | DE202008004148U1 (en) |
Cited By (4)
| Publication number | Priority date | Publication date | Assignee | Title |
|---|---|---|---|---|
| WO2012131603A3 (en) * | 2011-03-28 | 2013-01-03 | Unilin, Bvba | Composed element and rear wall construction applied herewith |
| US9175703B2 (en) | 2008-12-17 | 2015-11-03 | Unilin, Bvba | Composed element, multi-layered board and panel-shaped element for forming this composed element |
| US9719542B2 (en) | 2010-06-03 | 2017-08-01 | Unilin, Bvba | Composed element and corner connection applied herewith |
| US10293512B2 (en) | 2011-06-29 | 2019-05-21 | Unilin Bvba | Drawer, drawer construction and method for manufacturing a drawer |
Citations (8)
| Publication number | Priority date | Publication date | Assignee | Title |
|---|---|---|---|---|
| DE2231577A1 (en) | 1972-06-28 | 1974-01-10 | Heinze Fa R | PACKAGING REAR FIXING OF THE FURNITURE |
| DE7224117U (en) * | 1972-06-28 | 1976-02-12 | Fa. Richard Heinze, 4900 Herford | FASTENING ELEMENT |
| DE7805519U1 (en) * | 1978-02-24 | 1978-06-29 | Roggenkamp, Dieter H., 4830 Guetersloh | PICTURE FRAME |
| WO1990011456A1 (en) * | 1989-03-23 | 1990-10-04 | Kaell Sven | Fittings |
| DE19524535A1 (en) * | 1995-07-05 | 1997-01-16 | Padis Preisauszeichnung & Disp | Clamping device and associated holding device |
| DE19830740A1 (en) * | 1998-07-09 | 2000-01-13 | Grass Gmbh Hoechst | Furniture drawer guide rail with fixer and dowel join uses fixer head with splayed head ribbed to engage dowel hole ribs and lock home when tipped |
| DE10216625A1 (en) * | 2002-04-15 | 2003-10-30 | Reinhold Weiser | Fastening device for sealing mounting of flat component has flat component and optionally support frame held between mounting frame and sealing device, and snap-on device locks onto mounting frame and sealing device on outside |
| DE102006022313A1 (en) * | 2006-05-11 | 2007-11-15 | Fritz Egger Gmbh & Co. | Additional element for a furniture part made of a lightweight board, furniture part and furniture |
Family Cites Families (3)
| Publication number | Priority date | Publication date | Assignee | Title |
|---|---|---|---|---|
| DE6909680U (en) * | 1969-03-10 | 1969-09-25 | Rehau Plastiks Gmbh Fa | REAR BRACKET PROFILE FOR FURNITURE |
| DE2008785B2 (en) * | 1970-02-25 | 1972-02-10 | Xaver Frede, Möbelfabrik, 4401 Ha vixbeck | PROFILE STRIP FOR CONNECTING TWO WALLS OR PANELS |
| DE3215365C2 (en) * | 1981-05-09 | 1985-03-28 | Huwil-Werke GmbH Möbelschloß- und Beschlagfabriken, 5207 Ruppichteroth | Furniture rear panel connector |
-
2008
- 2008-03-26 DE DE202008004148U patent/DE202008004148U1/en not_active Expired - Lifetime
-
2009
- 2009-02-23 EP EP09153437A patent/EP2105063A1/en not_active Withdrawn
Patent Citations (9)
| Publication number | Priority date | Publication date | Assignee | Title |
|---|---|---|---|---|
| DE2231577A1 (en) | 1972-06-28 | 1974-01-10 | Heinze Fa R | PACKAGING REAR FIXING OF THE FURNITURE |
| DE7224117U (en) * | 1972-06-28 | 1976-02-12 | Fa. Richard Heinze, 4900 Herford | FASTENING ELEMENT |
| DE7805519U1 (en) * | 1978-02-24 | 1978-06-29 | Roggenkamp, Dieter H., 4830 Guetersloh | PICTURE FRAME |
| WO1990011456A1 (en) * | 1989-03-23 | 1990-10-04 | Kaell Sven | Fittings |
| DE19524535A1 (en) * | 1995-07-05 | 1997-01-16 | Padis Preisauszeichnung & Disp | Clamping device and associated holding device |
| DE19830740A1 (en) * | 1998-07-09 | 2000-01-13 | Grass Gmbh Hoechst | Furniture drawer guide rail with fixer and dowel join uses fixer head with splayed head ribbed to engage dowel hole ribs and lock home when tipped |
| DE10216625A1 (en) * | 2002-04-15 | 2003-10-30 | Reinhold Weiser | Fastening device for sealing mounting of flat component has flat component and optionally support frame held between mounting frame and sealing device, and snap-on device locks onto mounting frame and sealing device on outside |
| DE102006022313A1 (en) * | 2006-05-11 | 2007-11-15 | Fritz Egger Gmbh & Co. | Additional element for a furniture part made of a lightweight board, furniture part and furniture |
| WO2007131903A2 (en) | 2006-05-11 | 2007-11-22 | Fritz Egger Gmbh & Co. | Additional element for a furniture part made of a lightweight structural panel, furniture part and piece of furniture |
Cited By (22)
| Publication number | Priority date | Publication date | Assignee | Title |
|---|---|---|---|---|
| US10731689B2 (en) | 2008-12-17 | 2020-08-04 | Unilin, Bvba | Composed element, multi-layered board and panel-shaped element for forming this composed element |
| US9175703B2 (en) | 2008-12-17 | 2015-11-03 | Unilin, Bvba | Composed element, multi-layered board and panel-shaped element for forming this composed element |
| US9347470B2 (en) | 2008-12-17 | 2016-05-24 | Unilin, Bvba | Composed element, multi-layered board and panel-shaped element for forming this composed element |
| US12123441B2 (en) | 2008-12-17 | 2024-10-22 | Unilin Bv | Composed element, multi-layered board and panel-shaped element for forming this composed element |
| US9695856B2 (en) | 2008-12-17 | 2017-07-04 | Unilin, Bvba | Composed element, multi-layered board and panel-shaped element for forming this composed element |
| US11788568B2 (en) | 2008-12-17 | 2023-10-17 | Flooring Industries Limited Sarl | Composed element, multi-layered board and panel-shaped element for forming this composed element |
| US11319977B2 (en) | 2008-12-17 | 2022-05-03 | Flooring Industries Limited, Sarl | Composed element, multi-layered board and panel-shaped element for forming this composed element |
| US9797427B2 (en) | 2008-12-17 | 2017-10-24 | Unilin, Bvba | Composed element, multi-layered board and panel-shaped element for forming this composed element |
| US11085475B2 (en) | 2008-12-17 | 2021-08-10 | Flooring Industries Limited, Sarl | Composed element, multi-layered board and panel-shaped element for forming this composed element |
| US10323670B2 (en) | 2008-12-17 | 2019-06-18 | Unilin, Bvba | Composed element, multi-layered board and panel-shaped element for forming this composed element |
| US10935063B2 (en) | 2008-12-17 | 2021-03-02 | Unilin Bv | Composed element, multi-layered board and panel-shaped element for forming this composed element |
| US9719542B2 (en) | 2010-06-03 | 2017-08-01 | Unilin, Bvba | Composed element and corner connection applied herewith |
| US10982700B2 (en) | 2010-06-03 | 2021-04-20 | Unilin Bv | Composed element and corner connection applied herewith |
| US12000418B2 (en) | 2010-06-03 | 2024-06-04 | Unilin, Bv | Composed element and corner connection applied herewith |
| US10570938B2 (en) | 2011-03-28 | 2020-02-25 | Unilin, Bvba | Composed element and rear wall construction applied herewith |
| US9781997B2 (en) | 2011-03-28 | 2017-10-10 | Unilin Bvba | Composed element and rear wall construction applied herewith |
| US11668335B2 (en) | 2011-03-28 | 2023-06-06 | Flooring Industries Limited, Sarl | Composed element and rear wall construction applied herewith |
| WO2012131603A3 (en) * | 2011-03-28 | 2013-01-03 | Unilin, Bvba | Composed element and rear wall construction applied herewith |
| US12018706B2 (en) | 2011-03-28 | 2024-06-25 | Unilin Bv | Composed element and rear wall construction applied herewith |
| RU2600089C2 (en) * | 2011-03-28 | 2016-10-20 | Унилин, Бвба | Composed element and rear wall construction applied herewith |
| US12313106B2 (en) | 2011-03-28 | 2025-05-27 | Unilin, Bv | Composed element and rear wall construction applied herewith |
| US10293512B2 (en) | 2011-06-29 | 2019-05-21 | Unilin Bvba | Drawer, drawer construction and method for manufacturing a drawer |
Also Published As
| Publication number | Publication date |
|---|---|
| EP2105063A1 (en) | 2009-09-30 |
Similar Documents
| Publication | Publication Date | Title |
|---|---|---|
| EP3735152B1 (en) | Arrangement of a furniture panel and a movement fitting with integrated assembly element for the movement fitting, furniture body, and furniture comprising such a furniture panel | |
| DE102012101220A1 (en) | drawer | |
| EP3579726A1 (en) | Drawer | |
| DE202008004148U1 (en) | furniture body | |
| WO2016131579A1 (en) | Cover element for fastening element module i | |
| WO2007057118A1 (en) | Window unit having decorative strip mounted thereon | |
| DE202008005264U1 (en) | Stop for a furniture | |
| DE202008004145U1 (en) | furniture body | |
| DE102021122180A1 (en) | Side frame for a drawer | |
| AT520767B1 (en) | Arrangement of a support bar for a drawer bottom and a holding device | |
| DE202008004146U1 (en) | furniture body | |
| DE202009005193U1 (en) | Device for attaching strips | |
| DE2047112B2 (en) | THREE-PIECE HOLDER MADE OF PLASTIC FOR BOARDS OF DIFFERENT LENGTHS, IN PARTICULAR FOR MOTOR VEHICLE LICENSE PLATES | |
| DE2903635A1 (en) | Door lock assembly unit - has escutcheon and lock as entity in door recess fixed by screws | |
| DE202014104926U1 (en) | Wall component, drawer with such a wall component and furniture | |
| DE102009036205A1 (en) | Receiver for receiving fastening device in e.g. caravan sector, has pillar inserted into fastening unit and clamped between receiver and support that forms counter bearing at receiver in clamped state of pillar | |
| EP1780345A2 (en) | Connector for u-shaped section members and connection assembly | |
| EP4181734B1 (en) | Adapter unit for connecting a drawer base to a side frame of a drawer, side frame and drawer | |
| DE29812639U1 (en) | Striking plate | |
| DE202008011872U1 (en) | Furniture | |
| DE102016103520B3 (en) | Door frame arrangement and spacer for a Türzargenanordnung | |
| DE20102359U1 (en) | Drawer | |
| DE102024107466A1 (en) | Music stand unit assembly structure of a grand piano | |
| DE102013100297A1 (en) | Door leaf has projection portion that is connected with hole to form an inaccessible latching connection, and adhesive which is applied to lock side of groove to reinforce the latching connection in hardened state | |
| EP1728452A1 (en) | Connection element for producing furniture |
Legal Events
| Date | Code | Title | Description |
|---|---|---|---|
| R163 | Identified publications notified | ||
| R207 | Utility model specification |
Effective date: 20090910 |
|
| R150 | Term of protection extended to 6 years | ||
| R150 | Term of protection extended to 6 years |
Effective date: 20111022 |
|
| R151 | Term of protection extended to 8 years |
Effective date: 20140402 |
|
| R152 | Term of protection extended to 10 years | ||
| R071 | Expiry of right |
