DE19905239B4 - Positioning device for positioning of medical tools for MR-assisted examination and treatment of body parts - Google Patents
Positioning device for positioning of medical tools for MR-assisted examination and treatment of body parts Download PDFInfo
- Publication number
- DE19905239B4 DE19905239B4 DE19905239A DE19905239A DE19905239B4 DE 19905239 B4 DE19905239 B4 DE 19905239B4 DE 19905239 A DE19905239 A DE 19905239A DE 19905239 A DE19905239 A DE 19905239A DE 19905239 B4 DE19905239 B4 DE 19905239B4
- Authority
- DE
- Germany
- Prior art keywords
- positioning device
- objects
- fixing
- patient
- positioning
- Prior art date
- Legal status (The legal status is an assumption and is not a legal conclusion. Google has not performed a legal analysis and makes no representation as to the accuracy of the status listed.)
- Revoked
Links
- 238000011282 treatment Methods 0.000 title claims abstract description 22
- 238000001574 biopsy Methods 0.000 claims description 14
- 238000003384 imaging method Methods 0.000 claims description 8
- 230000033001 locomotion Effects 0.000 claims description 6
- 239000000463 material Substances 0.000 claims description 6
- 230000001225 therapeutic effect Effects 0.000 claims description 5
- 238000002560 therapeutic procedure Methods 0.000 claims description 5
- 239000002872 contrast media Substances 0.000 claims description 3
- 238000003745 diagnosis Methods 0.000 claims description 3
- 238000006073 displacement reaction Methods 0.000 claims description 3
- 230000004807 localization Effects 0.000 claims description 2
- PXHVJJICTQNCMI-UHFFFAOYSA-N Nickel Chemical compound [Ni] PXHVJJICTQNCMI-UHFFFAOYSA-N 0.000 claims 2
- 230000006978 adaptation Effects 0.000 claims 2
- 229910052751 metal Inorganic materials 0.000 claims 2
- 239000002184 metal Substances 0.000 claims 2
- 239000004033 plastic Substances 0.000 claims 2
- 229920003023 plastic Polymers 0.000 claims 2
- RYGMFSIKBFXOCR-UHFFFAOYSA-N Copper Chemical compound [Cu] RYGMFSIKBFXOCR-UHFFFAOYSA-N 0.000 claims 1
- 241001503485 Mammuthus Species 0.000 claims 1
- ZOKXTWBITQBERF-UHFFFAOYSA-N Molybdenum Chemical compound [Mo] ZOKXTWBITQBERF-UHFFFAOYSA-N 0.000 claims 1
- 239000004696 Poly ether ether ketone Substances 0.000 claims 1
- BQCADISMDOOEFD-UHFFFAOYSA-N Silver Chemical compound [Ag] BQCADISMDOOEFD-UHFFFAOYSA-N 0.000 claims 1
- RTAQQCXQSZGOHL-UHFFFAOYSA-N Titanium Chemical compound [Ti] RTAQQCXQSZGOHL-UHFFFAOYSA-N 0.000 claims 1
- 229910052782 aluminium Inorganic materials 0.000 claims 1
- XAGFODPZIPBFFR-UHFFFAOYSA-N aluminium Chemical compound [Al] XAGFODPZIPBFFR-UHFFFAOYSA-N 0.000 claims 1
- JUPQTSLXMOCDHR-UHFFFAOYSA-N benzene-1,4-diol;bis(4-fluorophenyl)methanone Chemical compound OC1=CC=C(O)C=C1.C1=CC(F)=CC=C1C(=O)C1=CC=C(F)C=C1 JUPQTSLXMOCDHR-UHFFFAOYSA-N 0.000 claims 1
- 229910010293 ceramic material Inorganic materials 0.000 claims 1
- 239000003795 chemical substances by application Substances 0.000 claims 1
- 239000002131 composite material Substances 0.000 claims 1
- 229910052802 copper Inorganic materials 0.000 claims 1
- 239000010949 copper Substances 0.000 claims 1
- -1 e.g. PA Polymers 0.000 claims 1
- 239000000835 fiber Substances 0.000 claims 1
- 239000011521 glass Substances 0.000 claims 1
- 239000002241 glass-ceramic Substances 0.000 claims 1
- PCHJSUWPFVWCPO-UHFFFAOYSA-N gold Chemical compound [Au] PCHJSUWPFVWCPO-UHFFFAOYSA-N 0.000 claims 1
- 229910052737 gold Inorganic materials 0.000 claims 1
- 239000010931 gold Substances 0.000 claims 1
- 229910001092 metal group alloy Inorganic materials 0.000 claims 1
- 150000002739 metals Chemical class 0.000 claims 1
- 229910052750 molybdenum Inorganic materials 0.000 claims 1
- 239000011733 molybdenum Substances 0.000 claims 1
- 210000003205 muscle Anatomy 0.000 claims 1
- 229910052759 nickel Inorganic materials 0.000 claims 1
- 230000003287 optical effect Effects 0.000 claims 1
- TWNQGVIAIRXVLR-UHFFFAOYSA-N oxo(oxoalumanyloxy)alumane Chemical compound O=[Al]O[Al]=O TWNQGVIAIRXVLR-UHFFFAOYSA-N 0.000 claims 1
- 229920003229 poly(methyl methacrylate) Polymers 0.000 claims 1
- 229920002530 polyetherether ketone Polymers 0.000 claims 1
- 239000004926 polymethyl methacrylate Substances 0.000 claims 1
- 229920006324 polyoxymethylene Polymers 0.000 claims 1
- 239000004810 polytetrafluoroethylene Substances 0.000 claims 1
- 229920001343 polytetrafluoroethylene Polymers 0.000 claims 1
- 229910052709 silver Inorganic materials 0.000 claims 1
- 239000004332 silver Substances 0.000 claims 1
- 229910052715 tantalum Inorganic materials 0.000 claims 1
- GUVRBAGPIYLISA-UHFFFAOYSA-N tantalum atom Chemical compound [Ta] GUVRBAGPIYLISA-UHFFFAOYSA-N 0.000 claims 1
- 229910052719 titanium Inorganic materials 0.000 claims 1
- 239000010936 titanium Substances 0.000 claims 1
- 238000002595 magnetic resonance imaging Methods 0.000 description 22
- 238000000034 method Methods 0.000 description 12
- 210000000481 breast Anatomy 0.000 description 7
- 210000001519 tissue Anatomy 0.000 description 6
- 210000003484 anatomy Anatomy 0.000 description 3
- 210000000746 body region Anatomy 0.000 description 2
- 230000006835 compression Effects 0.000 description 2
- 238000007906 compression Methods 0.000 description 2
- 238000001514 detection method Methods 0.000 description 2
- 238000002604 ultrasonography Methods 0.000 description 2
- 206010006187 Breast cancer Diseases 0.000 description 1
- 208000026310 Breast neoplasm Diseases 0.000 description 1
- 206010028980 Neoplasm Diseases 0.000 description 1
- 238000007792 addition Methods 0.000 description 1
- 201000008275 breast carcinoma Diseases 0.000 description 1
- 230000008878 coupling Effects 0.000 description 1
- 238000010168 coupling process Methods 0.000 description 1
- 238000005859 coupling reaction Methods 0.000 description 1
- 208000037265 diseases, disorders, signs and symptoms Diseases 0.000 description 1
- 230000009977 dual effect Effects 0.000 description 1
- 238000011156 evaluation Methods 0.000 description 1
- 230000010354 integration Effects 0.000 description 1
- 238000011835 investigation Methods 0.000 description 1
- 238000013532 laser treatment Methods 0.000 description 1
- 230000003902 lesion Effects 0.000 description 1
- 210000000056 organ Anatomy 0.000 description 1
- 238000007388 punch biopsy Methods 0.000 description 1
- 230000000284 resting effect Effects 0.000 description 1
- 230000035945 sensitivity Effects 0.000 description 1
- 210000004872 soft tissue Anatomy 0.000 description 1
- 230000003319 supportive effect Effects 0.000 description 1
- 238000002626 targeted therapy Methods 0.000 description 1
- 238000003325 tomography Methods 0.000 description 1
- 238000012285 ultrasound imaging Methods 0.000 description 1
- 238000011144 upstream manufacturing Methods 0.000 description 1
Classifications
-
- A—HUMAN NECESSITIES
- A61—MEDICAL OR VETERINARY SCIENCE; HYGIENE
- A61B—DIAGNOSIS; SURGERY; IDENTIFICATION
- A61B90/00—Instruments, implements or accessories specially adapted for surgery or diagnosis and not covered by any of the groups A61B1/00 - A61B50/00, e.g. for luxation treatment or for protecting wound edges
- A61B90/10—Instruments, implements or accessories specially adapted for surgery or diagnosis and not covered by any of the groups A61B1/00 - A61B50/00, e.g. for luxation treatment or for protecting wound edges for stereotaxic surgery, e.g. frame-based stereotaxis
-
- A—HUMAN NECESSITIES
- A61—MEDICAL OR VETERINARY SCIENCE; HYGIENE
- A61B—DIAGNOSIS; SURGERY; IDENTIFICATION
- A61B5/00—Measuring for diagnostic purposes; Identification of persons
- A61B5/05—Detecting, measuring or recording for diagnosis by means of electric currents or magnetic fields; Measuring using microwaves or radio waves
- A61B5/055—Detecting, measuring or recording for diagnosis by means of electric currents or magnetic fields; Measuring using microwaves or radio waves involving electronic [EMR] or nuclear [NMR] magnetic resonance, e.g. magnetic resonance imaging
-
- A—HUMAN NECESSITIES
- A61—MEDICAL OR VETERINARY SCIENCE; HYGIENE
- A61B—DIAGNOSIS; SURGERY; IDENTIFICATION
- A61B5/00—Measuring for diagnostic purposes; Identification of persons
- A61B5/70—Means for positioning the patient in relation to the detecting, measuring or recording means
- A61B5/702—Posture restraints
-
- A—HUMAN NECESSITIES
- A61—MEDICAL OR VETERINARY SCIENCE; HYGIENE
- A61B—DIAGNOSIS; SURGERY; IDENTIFICATION
- A61B5/00—Measuring for diagnostic purposes; Identification of persons
- A61B5/70—Means for positioning the patient in relation to the detecting, measuring or recording means
- A61B5/708—Breast positioning means
-
- G—PHYSICS
- G16—INFORMATION AND COMMUNICATION TECHNOLOGY [ICT] SPECIALLY ADAPTED FOR SPECIFIC APPLICATION FIELDS
- G16H—HEALTHCARE INFORMATICS, i.e. INFORMATION AND COMMUNICATION TECHNOLOGY [ICT] SPECIALLY ADAPTED FOR THE HANDLING OR PROCESSING OF MEDICAL OR HEALTHCARE DATA
- G16H40/00—ICT specially adapted for the management or administration of healthcare resources or facilities; ICT specially adapted for the management or operation of medical equipment or devices
- G16H40/60—ICT specially adapted for the management or administration of healthcare resources or facilities; ICT specially adapted for the management or operation of medical equipment or devices for the operation of medical equipment or devices
- G16H40/63—ICT specially adapted for the management or administration of healthcare resources or facilities; ICT specially adapted for the management or operation of medical equipment or devices for the operation of medical equipment or devices for local operation
-
- A—HUMAN NECESSITIES
- A61—MEDICAL OR VETERINARY SCIENCE; HYGIENE
- A61B—DIAGNOSIS; SURGERY; IDENTIFICATION
- A61B10/00—Instruments for taking body samples for diagnostic purposes; Other methods or instruments for diagnosis, e.g. for vaccination diagnosis, sex determination or ovulation-period determination; Throat striking implements
- A61B10/02—Instruments for taking cell samples or for biopsy
- A61B10/0233—Pointed or sharp biopsy instruments
-
- A—HUMAN NECESSITIES
- A61—MEDICAL OR VETERINARY SCIENCE; HYGIENE
- A61B—DIAGNOSIS; SURGERY; IDENTIFICATION
- A61B18/00—Surgical instruments, devices or methods for transferring non-mechanical forms of energy to or from the body
- A61B18/18—Surgical instruments, devices or methods for transferring non-mechanical forms of energy to or from the body by applying electromagnetic radiation, e.g. microwaves
- A61B18/20—Surgical instruments, devices or methods for transferring non-mechanical forms of energy to or from the body by applying electromagnetic radiation, e.g. microwaves using laser
-
- A—HUMAN NECESSITIES
- A61—MEDICAL OR VETERINARY SCIENCE; HYGIENE
- A61B—DIAGNOSIS; SURGERY; IDENTIFICATION
- A61B90/00—Instruments, implements or accessories specially adapted for surgery or diagnosis and not covered by any of the groups A61B1/00 - A61B50/00, e.g. for luxation treatment or for protecting wound edges
- A61B90/36—Image-producing devices or illumination devices not otherwise provided for
- A61B90/37—Surgical systems with images on a monitor during operation
- A61B2090/374—NMR or MRI
-
- A—HUMAN NECESSITIES
- A61—MEDICAL OR VETERINARY SCIENCE; HYGIENE
- A61B—DIAGNOSIS; SURGERY; IDENTIFICATION
- A61B90/00—Instruments, implements or accessories specially adapted for surgery or diagnosis and not covered by any of the groups A61B1/00 - A61B50/00, e.g. for luxation treatment or for protecting wound edges
- A61B90/10—Instruments, implements or accessories specially adapted for surgery or diagnosis and not covered by any of the groups A61B1/00 - A61B50/00, e.g. for luxation treatment or for protecting wound edges for stereotaxic surgery, e.g. frame-based stereotaxis
- A61B90/11—Instruments, implements or accessories specially adapted for surgery or diagnosis and not covered by any of the groups A61B1/00 - A61B50/00, e.g. for luxation treatment or for protecting wound edges for stereotaxic surgery, e.g. frame-based stereotaxis with guides for needles or instruments, e.g. arcuate slides or ball joints
Landscapes
- Health & Medical Sciences (AREA)
- Life Sciences & Earth Sciences (AREA)
- Engineering & Computer Science (AREA)
- Biomedical Technology (AREA)
- Physics & Mathematics (AREA)
- Public Health (AREA)
- General Health & Medical Sciences (AREA)
- Medical Informatics (AREA)
- Surgery (AREA)
- Pathology (AREA)
- Nuclear Medicine, Radiotherapy & Molecular Imaging (AREA)
- Veterinary Medicine (AREA)
- Heart & Thoracic Surgery (AREA)
- Molecular Biology (AREA)
- Animal Behavior & Ethology (AREA)
- Biophysics (AREA)
- Radiology & Medical Imaging (AREA)
- High Energy & Nuclear Physics (AREA)
- Oral & Maxillofacial Surgery (AREA)
- Business, Economics & Management (AREA)
- General Business, Economics & Management (AREA)
- Epidemiology (AREA)
- Primary Health Care (AREA)
- Physical Education & Sports Medicine (AREA)
- Magnetic Resonance Imaging Apparatus (AREA)
Abstract
Positioniereinrichtung zur Positionierung von medizinischen Werkzeugen (14) zur MR-gestützten Untersuchung und Behandlung von Körperteilen von Patienten oder an anderen Objekten, die auf einer Patientenauflage (4) eines Patiententisches (2) gelagert sind, dadurch gekennzeichnet, dass am Patiententisch (2) ein auswechselbares Rahmengestell (3) befestigt ist, an dem die Patientenauflage (4) sowie ein Fixierungssystem angeordnet sind, mit dessen Hilfe die zu untersuchenden Körperteile oder Objekte während der gesamten Dauer der Untersuchung und Behandlung in definierter Lage im Untersuchungsbereich (19) des Magnetresonanztomographen (18) ortsfest gehalten werden, und an dem sich ein Führungssystem (12) für die benötigten medizinischen Werkzeuge (14) befindet, die über ein computergestütztes Werkzeug-Navigationssystem (13) manuell oder automatisch steuerbar sind.positioning for the positioning of medical tools (14) for MR-guided examination and treatment of body parts of patients or other objects on a patient pad (4) of a patient table (2) are stored, characterized on the patient table (2) an exchangeable frame (3) attached to which the patient support (4) and a fixation system are arranged, with the help of which to be examined body parts or objects during the duration of the examination and treatment in defined Position in the examination area (19) of the magnetic resonance tomograph (18) to be held stationary, and to which a management system (12) for The necessities medical tools (14) located, which has a computerized tool navigation system (13) are manually or automatically controllable.
Description
Die Erfindung betrifft eine Positioniereinrichtung zur Positionierung von medizinischen Werkzeugen zur MR-gestützten Untersuchung und Behandlung von Körperteilen von Patienten oder an anderen Objekten, die auf einer Patientenauflage eines Patiententisches gelagert sind.The The invention relates to a positioning device for positioning from medical tools to MR-assisted Examination and treatment of body parts of patients or on other objects resting on a patient support of a patient table are stored.
Die
Magnetresonanztomographie (MRT) ist ein strahlungsfreies bildgebendes
Verfahren und gewinnt zunehmend an Bedeutung in der medizinischen
Diagnostik und Therapie. Speziell in der Mammadiagnostik stellt
die Magnetresonanztomographie aufgrund ihrer hohen Sensitivität und ihres hervorragenden
Weichteilkontrastes eine wertvolle Ergänzungsmethode zur Aufdeckung
von kleinsten suspekten, nicht palpablen Gewebebereichen (mit und
ohne Kontrastmittelapplikation) im Vergleich zu anderen bildgebenden
Verfahren dar. Innerhalb der Mammadiagnostik hat sich die MR-gestützte Gewebebiopsie
mit z.B. einer Stanzbiopsienadel als eine weit verbreitete und angewendete
Methode zur histologischen Beurteilung erkrankter Körperregionen, wie
z.B. durch Mammakarzinome, durchgesetzt. Biopsieapparaturen oder
MR-Brustspulen für
die magnetresonanztomographisch gestützte Mammabiopsie sind allgemein
bekannt (z.B.
Es
sind verschiedene Konzepte zur äußeren Fixierung
von insbesondere weichen anatomischen Strukturen bekannt. So können Körperteile
in der in
Zur
Navigation und Positionierung von diagnostischen und therapeutischen
Instrumenten sind eine Reihe von Verfahren und stereotaktischen
Vorrichtungen bekannt. So können
Instrumente mittels der in
Eine
Bildakquisition von fixierten anatomischen Strukturen, insbesondere
der Mamma, mittels Magnetresonanztomographie, mit dem Ziel einer bildbasierten
Instrumentenführung
ist aus einer Vielzahl von Quellen bekannt. So werden nach
In
Es
ist nach
Es
ist nach
Es sind jedoch bisher keine Verfahren oder Konzepte einer automatischen, manuell oder nicht manuell gesteuerten Navigation und Positionierung von medizinischen Instrumenten innerhalb des Magnetresonanztomographen bekannt.It However, no methods or concepts of an automatic, manual or not manually controlled navigation and positioning of medical instruments within the magnetic resonance tomograph known.
Die praktizierte MR-basierte Instrumentennavigation und -positionierung sieht eine Verlagerung des Patienten aus dem Isozentrum des MRT in einen vorgelagerten, dem medizinischen Personal zugänglichen Bereich vor.The practiced MR-based instrument navigation and positioning sees a shift of the patient from the isocenter of the MRI in an upstream, the medical staff accessible Area in front.
Wesentlicher Grund dafür sind im allgemeinen die engen Platzverhältnisse innerhalb des Untersuchungsbereiches dieser Geräte, wodurch besonders bei einem geschlossenen MRT, die Bewegungsfreiheit des Anwenders oder die Zugänglichkeit medizinischer Instrumente zu dem Untersuchungsobjekt stark eingeschränkt ist.essential the reason for this are generally the tight space within the study area these devices, especially for a closed MRI, freedom of movement of the user or accessibility medical instruments to the examination object is severely limited.
Mit der oben genannten Patientenverlagerung aus dem Untersuchungsbereich des MRT, die im allgemeinen über eine Verschiebung des Patiententisches erfolgt, muss zusätzlich mit möglichen Körperbewegungen des Patienten gerechnet werden. Dadurch kann sich aber die Genauigkeit der Biopsie durch Verschiebungen zuvor ermittelter Biopsiezielkoordinaten, insbesondere bei der Erfassung von Kleinsttumoren, stark verringern. Zur Sicherstellung der Biopsie-Treffer werden häufig mehrfache Wiederholungen der einzelnen Untersuchungsschritte notwendig, wodurch oft längere Untersuchungszeiten mit hohen Patientenbelastungen wie auch unwirtschaftliche Untersuchungskosten die Folge sind. Des Weiteren konnte festgestellt werden, dass einige der zurzeit verwendeten Biopsiesysteme nicht vollständig MR-kompatibel sind, so dass während der Schnittbilderstellung mit Bildstörungen (Artefakten) oder unerwünschten Deflektionen von z.B. medizinischen Nadeln im Magnetfeld zu rechnen ist. Die Fixierung der zu untersuchenden Objekte erfolgt bei den bekannten Systemen hauptsächlich nach subjektiven Aspekten, so dass Zirkulationsstörungen im Gewebe die Folge sein können.With the above-mentioned patient relocation from the examination area of the MRI, which in general over a shift of the patient table takes place, must be in addition with possible body movements of the patient. This can affect the accuracy the biopsy by shifts of previously determined biopsy target coordinates, especially in the detection of very small tumors. To ensure the biopsy hits are often repeated repetitions the individual examination steps necessary, whereby often longer examination times with high patient loads as well as uneconomical examination costs the result. Furthermore, it was found that some of the currently used biopsy systems are not fully MR compatible, so that while the Schnittbildstellung with picture disturbances (artifacts) or unwanted Deflections of e.g. computing medical needles in the magnetic field is. The fixation of the objects to be examined takes place at the known systems mainly according to subjective aspects, so that circulatory disorders in the tissue the result can be.
Als zukünftige Ergänzungen zu den MR-gestützten diagnostischen Anwendungen sind therapeutische Behandlungsverfahren unter MR-Kontrolle zu nennen, die sowohl in Einzelsitzungen oder direkt im Anschluss an die diagnostische Untersuchung angewendet werden könnten, wie zum Beispiel mit einer Laserbehandlung von Mammakarzinomen als zukünftiges Behandlungsverfahren. Systeme, mit denen beispielsweise eine gezielte Therapie mittels Laserapplikatoren im MRT möglich wäre; sind zur Zeit nicht bekannt.When future additions to the MR-based Diagnostic applications are therapeutic treatment procedures to call under MR control, both in individual sessions or applied immediately after the diagnostic examination could become, such as with a laser treatment of breast cancer as a future Treatment methods. Systems with which, for example, a targeted Therapy using laser applicators on MRI would be possible; are currently unknown.
Der Erfindung liegt nun die Aufgabe zugrunde, die Durchführung von MR-gestützten Gewebebiopsien oder minimalinvasiven therapeutischen Eingriffen innerhalb eines MRT schneller, effizienter und mit einer hohen Genauigkeit durchzuführen, ohne dass eine Patientenverlagerung aus dem homogenen Magnetfeldbereich des MRT während der gesamten Untersuchung/Behandlung notwendig ist.Of the Invention is now the object of the implementation of MR-guided Tissue biopsies or minimally invasive therapeutic procedures within an MRI faster, more efficiently and with a high degree of accuracy perform, without a patient relocation from the homogeneous magnetic field area of the MRI during the entire examination / treatment is necessary.
Diese Aufgabe wird durch die im Patentanspruch 1 aufgeführten Merkmale gelöst.These Task is achieved by the features listed in claim 1 solved.
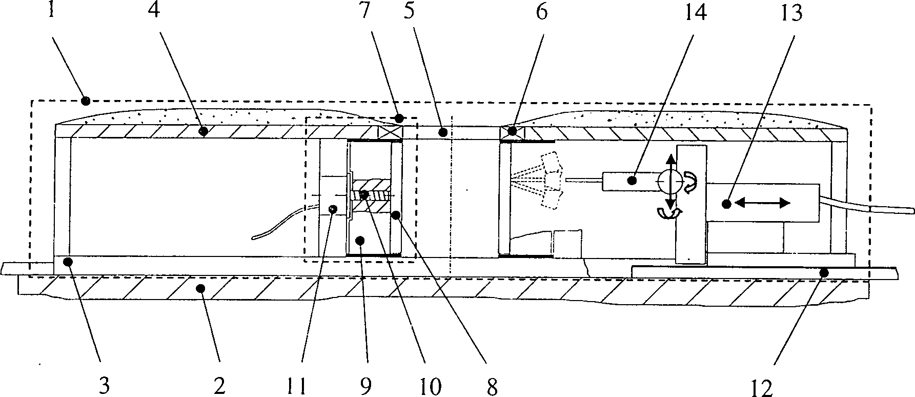
Ein Vorteil der Erfindung ist, dass die Positioniereinrichtung ein automatisch gesteuertes Werkzeug-Navigationssystem umfasst, mit dem sich Gewebebiopsien oder minimal-invasive therapeutische Eingriffe mit hoher Genauigkeit durchführen lassen. Ein weiterer Vorteil ist, dass die Lage zwischen dem Patienten und dem bildgebenden Gerät (MRT) während des gesamten Untersuchungsvorganges oder während einer Behandlung unverändert ist. Einen Vorteil bildet auch das Fixierungssystem aus individuell verstellbaren Fixierungseinheiten, die lösbar mit dem Rahmengestell verbunden sind und kontrollier- sowie reproduzierbare Fixierungen von Körperteilen/Objekten ermöglichen.One Advantage of the invention is that the positioning automatically Controlled tool navigation system includes tissue biopsies or minimally invasive therapeutic interventions with high accuracy carry out to let. Another advantage is that the location between the patient and the imaging device (MRI) during the whole examination procedure or during a treatment is unchanged. Another advantage is the fixation system made of individually adjustable Fixation units that are detachable connected to the frame and controllable and reproducible Fixations of body parts / objects enable.
Bei einer weiteren vorteilhaften Ausführung ist das Rahmengestell so ausgebildet, dass es den Zugang zum Patienten oder zu den Untersuchungsobjekten und Systemkomponenten der Positioniereinrichtung von allen Seiten ermöglicht, wobei innerhalb des Rahmengestelles ein Freiraum existiert, in dem die zu untersuchenden/behandelnden Körperteile/Objekte innerhalb des Untersuchungsbereiches des bildgebenden Gerätes (MRT) stabilisiert, diagnostiziert und therapiert werden können. at A further advantageous embodiment is the frame designed so that it gives access to the patient or to the examination objects and system components of the positioning device from all sides allows wherein within the framework a free space exists in the the body parts / objects to be examined / treated within the examination area of the imaging device (MRI) stabilized, diagnosed and can be treated.
Eine weitere vorteilhafte Ausführung der Positioniereinrichtung besteht darin, dass alle verwendeten Systemkomponenten und Werkzeuge aus MR-kompatiblen Materialien bestehen, wodurch eine MR-gestützte Untersuchung/Behandlung auch innerhalb des Untersuchungsbereiches möglich ist. Zudem begünstigen diese Materialien einen störungsfreien Einsatz während der Bildgebung und vermeiden unerwünschte Deflektionen im MRT-Magnetfeld.A further advantageous embodiment the positioning device is that all used System components and tools consist of MR-compatible materials, resulting in an MR-assisted examination / treatment is also possible within the examination area. In addition, favor These materials are trouble-free Use during Imaging and avoid unwanted deflections in the MRI magnetic field.
Ein Ausführungs- und Anwendungsbeispiel der Erfindung wird anhand von fünf Figuren näher erläutert. Es zeigen:One execution and application example of the invention will be described with reference to five figures explained in more detail. It demonstrate:
In
Wie
in
Ergänzend hierzu
zeigen
In
Claims (31)
Priority Applications (1)
| Application Number | Priority Date | Filing Date | Title |
|---|---|---|---|
| DE19905239A DE19905239B4 (en) | 1999-02-02 | 1999-02-02 | Positioning device for positioning of medical tools for MR-assisted examination and treatment of body parts |
Applications Claiming Priority (1)
| Application Number | Priority Date | Filing Date | Title |
|---|---|---|---|
| DE19905239A DE19905239B4 (en) | 1999-02-02 | 1999-02-02 | Positioning device for positioning of medical tools for MR-assisted examination and treatment of body parts |
Publications (2)
| Publication Number | Publication Date |
|---|---|
| DE19905239A1 DE19905239A1 (en) | 2000-08-31 |
| DE19905239B4 true DE19905239B4 (en) | 2006-08-24 |
Family
ID=7896880
Family Applications (1)
| Application Number | Title | Priority Date | Filing Date |
|---|---|---|---|
| DE19905239A Revoked DE19905239B4 (en) | 1999-02-02 | 1999-02-02 | Positioning device for positioning of medical tools for MR-assisted examination and treatment of body parts |
Country Status (1)
| Country | Link |
|---|---|
| DE (1) | DE19905239B4 (en) |
Families Citing this family (16)
| Publication number | Priority date | Publication date | Assignee | Title |
|---|---|---|---|---|
| DE10029739A1 (en) * | 2000-06-23 | 2002-02-07 | Daum Gmbh I Ins | Piezoelectric drive for neuro surgery is non magnetic can be used with NMR is minimally invasive |
| DE10030507C2 (en) * | 2000-06-28 | 2003-04-24 | Karlsruhe Forschzent | Manipulator for interventional and operative interventions under CT / MRI control |
| US6582381B1 (en) | 2000-07-31 | 2003-06-24 | Txsonics Ltd. | Mechanical positioner for MRI guided ultrasound therapy system |
| US9733234B2 (en) | 2002-03-11 | 2017-08-15 | Jp Scientific Limited | Probe for extraction of molecules of interest from a sample |
| US9870907B2 (en) | 2002-03-11 | 2018-01-16 | Jp Scientific Limited | Probe for extraction of molecules of interest from a sample |
| US7232689B2 (en) | 2002-03-11 | 2007-06-19 | Pawliszyn Janusz B | Calibration procedure for investigating biological systems |
| US8598325B2 (en) | 2002-03-11 | 2013-12-03 | Janusz B. Pawliszyn | Solid-phase microextraction coatings and methods for their preparation |
| US20090026122A1 (en) | 2002-03-11 | 2009-01-29 | Janusz | Biocompatible solid-phase microextraction coatings and methods for their preparation |
| US7259019B2 (en) | 2002-03-11 | 2007-08-21 | Pawliszyn Janusz B | Multiple sampling device and method for investigating biological systems |
| US7384794B2 (en) | 2002-03-11 | 2008-06-10 | Pawliszyn Janusz B | Micro-devices and analytical procedures for investigation of biological systems |
| EP1642148A1 (en) | 2003-06-30 | 2006-04-05 | Koninklijke Philips Electronics N.V. | Table position sensing for magnetic resonance imaging |
| DE102005023121B4 (en) * | 2005-05-19 | 2010-10-07 | Dresel, Christian, Dr.med. | Device and method for automatic application and / or stimulation in magnetic resonance imaging (MRI) |
| DE102011006353A1 (en) | 2011-03-29 | 2012-10-04 | Siemens Aktiengesellschaft | mammography system |
| EP3046487B1 (en) | 2013-09-18 | 2020-11-11 | Koninklijke Philips N.V. | Interventional tool stepper for electromagnetic tracking |
| US10545077B2 (en) | 2016-03-02 | 2020-01-28 | Jp Scientific Limited | Solid phase microextraction coating |
| JP6803400B2 (en) | 2016-05-10 | 2020-12-23 | ジェイ・ピィ・サイエンティフィック・リミテッドJp Scientific Limited | Systems and methods for desorbing and detecting analytes adsorbed on solid-phase microextractors |
Citations (2)
| Publication number | Priority date | Publication date | Assignee | Title |
|---|---|---|---|---|
| US5569266A (en) * | 1991-03-11 | 1996-10-29 | Fischer Imaging Corporation | Magnetic resonance imaging device useful for guiding a medical instrument |
| US5590653A (en) * | 1993-03-10 | 1997-01-07 | Kabushiki Kaisha Toshiba | Ultrasonic wave medical treatment apparatus suitable for use under guidance of magnetic resonance imaging |
-
1999
- 1999-02-02 DE DE19905239A patent/DE19905239B4/en not_active Revoked
Patent Citations (2)
| Publication number | Priority date | Publication date | Assignee | Title |
|---|---|---|---|---|
| US5569266A (en) * | 1991-03-11 | 1996-10-29 | Fischer Imaging Corporation | Magnetic resonance imaging device useful for guiding a medical instrument |
| US5590653A (en) * | 1993-03-10 | 1997-01-07 | Kabushiki Kaisha Toshiba | Ultrasonic wave medical treatment apparatus suitable for use under guidance of magnetic resonance imaging |
Also Published As
| Publication number | Publication date |
|---|---|
| DE19905239A1 (en) | 2000-08-31 |
Similar Documents
| Publication | Publication Date | Title |
|---|---|---|
| DE19905239B4 (en) | Positioning device for positioning of medical tools for MR-assisted examination and treatment of body parts | |
| DE19732784C1 (en) | Positioning system and method for exact position determination of a manually operated manipulator in an MR tomograph | |
| DE69427211T2 (en) | Apparatus for carrying out magnetic resonance processes | |
| DE69827238T2 (en) | METHOD AND SYSTEM FOR POSITIONING A DEVICE VISIBLE BY MAGNETIC RESONANCE | |
| DE60314678T2 (en) | Localization mechanism for NMR-compatible biopsy device | |
| DE4225001C1 (en) | Stereo-tactic additional device for nuclear spin tomography for investigation of mammary disorders - has two compression plates parallel and displaceable towards one another, between which object for investigation e.g breast is positioned | |
| US6675037B1 (en) | MRI-guided interventional mammary procedures | |
| DE10083670B4 (en) | System for the translation of electromagnetic and optical position measuring systems | |
| DE69515288T2 (en) | Stereotaxy systems | |
| DE102004061591B3 (en) | Method for operating an imaging medical device | |
| DE4442609C1 (en) | Stereotactic additional device for carrying out pattern-guided biopsy of female breast | |
| DE10207736B4 (en) | Method for determining the position of a local antenna | |
| WO2002013709A1 (en) | Device for navigating and positioning medical instruments in magnetic resonance tomographs | |
| US6270506B1 (en) | Medical targeting apparatus | |
| DE3902249A1 (en) | Method of fixing the position of predetermined sites in the human body | |
| DE69432605T2 (en) | MAGNETIC RESONANCE DISPLAY DEVICE FOR TOOLING | |
| DE102008032313B3 (en) | Medical device for navigating e.g. medical instrument, in heart and lung of patient during e.g. minimal invasive surgery, has system control for operating and controlling imaging medical device and positioning and navigation device | |
| DE102004020783A1 (en) | diagnostic device | |
| EP2545541B1 (en) | Mri training device | |
| EP2922467A1 (en) | Coil arrangement for a magnetic resonance imaging device | |
| WO2009109515A1 (en) | Medical system | |
| EP1489966B1 (en) | Passive movement of a patient in a magnetic resonance tomograph | |
| DE102014219376A1 (en) | A method for acquiring a high-resolution magnetic resonance image data set of at least one limited body region with at least one anatomical structure of a patient | |
| DE10352197B4 (en) | Surgical operation assisting system, comprising robot guided endoscopic device for creation of visual information and environment made of neutral materials | |
| DE4412164A1 (en) | Position indicator for medical tomograph units with dial light indicator |
Legal Events
| Date | Code | Title | Description |
|---|---|---|---|
| OP8 | Request for examination as to paragraph 44 patent law | ||
| 8122 | Nonbinding interest in granting licences declared | ||
| 8363 | Opposition against the patent | ||
| 8364 | No opposition during term of opposition | ||
| 8331 | Complete revocation |
