DE19706663B4 - Method for controlling an air conditioning system in a motor vehicle - Google Patents
Method for controlling an air conditioning system in a motor vehicle Download PDFInfo
- Publication number
- DE19706663B4 DE19706663B4 DE19706663A DE19706663A DE19706663B4 DE 19706663 B4 DE19706663 B4 DE 19706663B4 DE 19706663 A DE19706663 A DE 19706663A DE 19706663 A DE19706663 A DE 19706663A DE 19706663 B4 DE19706663 B4 DE 19706663B4
- Authority
- DE
- Germany
- Prior art keywords
- evaporator
- compressor
- refrigerant
- sensor
- air
- Prior art date
- Legal status (The legal status is an assumption and is not a legal conclusion. Google has not performed a legal analysis and makes no representation as to the accuracy of the status listed.)
- Expired - Fee Related
Links
- 238000000034 method Methods 0.000 title claims abstract description 14
- 238000004378 air conditioning Methods 0.000 title claims abstract description 12
- 239000003507 refrigerant Substances 0.000 claims abstract description 38
- 238000013021 overheating Methods 0.000 claims abstract description 25
- 230000033228 biological regulation Effects 0.000 claims abstract description 5
- 239000003990 capacitor Substances 0.000 claims description 4
- 238000011144 upstream manufacturing Methods 0.000 claims description 3
- 238000006073 displacement reaction Methods 0.000 claims description 2
- 238000012360 testing method Methods 0.000 claims description 2
- 239000003570 air Substances 0.000 description 18
- 238000005057 refrigeration Methods 0.000 description 7
- 230000006870 function Effects 0.000 description 6
- 230000006835 compression Effects 0.000 description 5
- 238000007906 compression Methods 0.000 description 5
- 230000001276 controlling effect Effects 0.000 description 5
- 238000005461 lubrication Methods 0.000 description 5
- 238000001816 cooling Methods 0.000 description 3
- 230000008859 change Effects 0.000 description 2
- 238000010586 diagram Methods 0.000 description 2
- 238000002474 experimental method Methods 0.000 description 2
- 230000009467 reduction Effects 0.000 description 2
- 230000001105 regulatory effect Effects 0.000 description 2
- 230000004913 activation Effects 0.000 description 1
- 239000012080 ambient air Substances 0.000 description 1
- 230000005540 biological transmission Effects 0.000 description 1
- 230000001419 dependent effect Effects 0.000 description 1
- 230000003828 downregulation Effects 0.000 description 1
- 239000012528 membrane Substances 0.000 description 1
- 230000009993 protective function Effects 0.000 description 1
- 238000010992 reflux Methods 0.000 description 1
- 238000005204 segregation Methods 0.000 description 1
- 238000013519 translation Methods 0.000 description 1
Classifications
-
- B—PERFORMING OPERATIONS; TRANSPORTING
- B60—VEHICLES IN GENERAL
- B60H—ARRANGEMENTS OF HEATING, COOLING, VENTILATING OR OTHER AIR-TREATING DEVICES SPECIALLY ADAPTED FOR PASSENGER OR GOODS SPACES OF VEHICLES
- B60H1/00—Heating, cooling or ventilating [HVAC] devices
- B60H1/32—Cooling devices
- B60H1/3204—Cooling devices using compression
- B60H1/3205—Control means therefor
-
- F—MECHANICAL ENGINEERING; LIGHTING; HEATING; WEAPONS; BLASTING
- F24—HEATING; RANGES; VENTILATING
- F24F—AIR-CONDITIONING; AIR-HUMIDIFICATION; VENTILATION; USE OF AIR CURRENTS FOR SCREENING
- F24F11/00—Control or safety arrangements
- F24F11/70—Control systems characterised by their outputs; Constructional details thereof
- F24F11/80—Control systems characterised by their outputs; Constructional details thereof for controlling the temperature of the supplied air
- F24F11/83—Control systems characterised by their outputs; Constructional details thereof for controlling the temperature of the supplied air by controlling the supply of heat-exchange fluids to heat-exchangers
-
- F—MECHANICAL ENGINEERING; LIGHTING; HEATING; WEAPONS; BLASTING
- F24—HEATING; RANGES; VENTILATING
- F24F—AIR-CONDITIONING; AIR-HUMIDIFICATION; VENTILATION; USE OF AIR CURRENTS FOR SCREENING
- F24F11/00—Control or safety arrangements
- F24F11/70—Control systems characterised by their outputs; Constructional details thereof
- F24F11/80—Control systems characterised by their outputs; Constructional details thereof for controlling the temperature of the supplied air
- F24F11/83—Control systems characterised by their outputs; Constructional details thereof for controlling the temperature of the supplied air by controlling the supply of heat-exchange fluids to heat-exchangers
- F24F11/84—Control systems characterised by their outputs; Constructional details thereof for controlling the temperature of the supplied air by controlling the supply of heat-exchange fluids to heat-exchangers using valves
-
- F—MECHANICAL ENGINEERING; LIGHTING; HEATING; WEAPONS; BLASTING
- F25—REFRIGERATION OR COOLING; COMBINED HEATING AND REFRIGERATION SYSTEMS; HEAT PUMP SYSTEMS; MANUFACTURE OR STORAGE OF ICE; LIQUEFACTION SOLIDIFICATION OF GASES
- F25B—REFRIGERATION MACHINES, PLANTS OR SYSTEMS; COMBINED HEATING AND REFRIGERATION SYSTEMS; HEAT PUMP SYSTEMS
- F25B41/00—Fluid-circulation arrangements
- F25B41/30—Expansion means; Dispositions thereof
- F25B41/31—Expansion valves
- F25B41/34—Expansion valves with the valve member being actuated by electric means, e.g. by piezoelectric actuators
-
- B—PERFORMING OPERATIONS; TRANSPORTING
- B60—VEHICLES IN GENERAL
- B60H—ARRANGEMENTS OF HEATING, COOLING, VENTILATING OR OTHER AIR-TREATING DEVICES SPECIALLY ADAPTED FOR PASSENGER OR GOODS SPACES OF VEHICLES
- B60H1/00—Heating, cooling or ventilating [HVAC] devices
- B60H1/32—Cooling devices
- B60H2001/3236—Cooling devices information from a variable is obtained
- B60H2001/3238—Cooling devices information from a variable is obtained related to the operation of the compressor
-
- B—PERFORMING OPERATIONS; TRANSPORTING
- B60—VEHICLES IN GENERAL
- B60H—ARRANGEMENTS OF HEATING, COOLING, VENTILATING OR OTHER AIR-TREATING DEVICES SPECIALLY ADAPTED FOR PASSENGER OR GOODS SPACES OF VEHICLES
- B60H1/00—Heating, cooling or ventilating [HVAC] devices
- B60H1/32—Cooling devices
- B60H2001/3236—Cooling devices information from a variable is obtained
- B60H2001/3239—Cooling devices information from a variable is obtained related to flow
- B60H2001/3241—Cooling devices information from a variable is obtained related to flow of air
-
- B—PERFORMING OPERATIONS; TRANSPORTING
- B60—VEHICLES IN GENERAL
- B60H—ARRANGEMENTS OF HEATING, COOLING, VENTILATING OR OTHER AIR-TREATING DEVICES SPECIALLY ADAPTED FOR PASSENGER OR GOODS SPACES OF VEHICLES
- B60H1/00—Heating, cooling or ventilating [HVAC] devices
- B60H1/32—Cooling devices
- B60H2001/3236—Cooling devices information from a variable is obtained
- B60H2001/3255—Cooling devices information from a variable is obtained related to temperature
-
- B—PERFORMING OPERATIONS; TRANSPORTING
- B60—VEHICLES IN GENERAL
- B60H—ARRANGEMENTS OF HEATING, COOLING, VENTILATING OR OTHER AIR-TREATING DEVICES SPECIALLY ADAPTED FOR PASSENGER OR GOODS SPACES OF VEHICLES
- B60H1/00—Heating, cooling or ventilating [HVAC] devices
- B60H1/32—Cooling devices
- B60H2001/3236—Cooling devices information from a variable is obtained
- B60H2001/3255—Cooling devices information from a variable is obtained related to temperature
- B60H2001/3261—Cooling devices information from a variable is obtained related to temperature of the air at an evaporating unit
-
- B—PERFORMING OPERATIONS; TRANSPORTING
- B60—VEHICLES IN GENERAL
- B60H—ARRANGEMENTS OF HEATING, COOLING, VENTILATING OR OTHER AIR-TREATING DEVICES SPECIALLY ADAPTED FOR PASSENGER OR GOODS SPACES OF VEHICLES
- B60H1/00—Heating, cooling or ventilating [HVAC] devices
- B60H1/32—Cooling devices
- B60H2001/3236—Cooling devices information from a variable is obtained
- B60H2001/3255—Cooling devices information from a variable is obtained related to temperature
- B60H2001/3263—Cooling devices information from a variable is obtained related to temperature of the refrigerant at an evaporating unit
-
- B—PERFORMING OPERATIONS; TRANSPORTING
- B60—VEHICLES IN GENERAL
- B60H—ARRANGEMENTS OF HEATING, COOLING, VENTILATING OR OTHER AIR-TREATING DEVICES SPECIALLY ADAPTED FOR PASSENGER OR GOODS SPACES OF VEHICLES
- B60H1/00—Heating, cooling or ventilating [HVAC] devices
- B60H1/32—Cooling devices
- B60H2001/3269—Cooling devices output of a control signal
- B60H2001/3285—Cooling devices output of a control signal related to an expansion unit
-
- F—MECHANICAL ENGINEERING; LIGHTING; HEATING; WEAPONS; BLASTING
- F24—HEATING; RANGES; VENTILATING
- F24F—AIR-CONDITIONING; AIR-HUMIDIFICATION; VENTILATION; USE OF AIR CURRENTS FOR SCREENING
- F24F2140/00—Control inputs relating to system states
- F24F2140/20—Heat-exchange fluid temperature
-
- F—MECHANICAL ENGINEERING; LIGHTING; HEATING; WEAPONS; BLASTING
- F25—REFRIGERATION OR COOLING; COMBINED HEATING AND REFRIGERATION SYSTEMS; HEAT PUMP SYSTEMS; MANUFACTURE OR STORAGE OF ICE; LIQUEFACTION SOLIDIFICATION OF GASES
- F25B—REFRIGERATION MACHINES, PLANTS OR SYSTEMS; COMBINED HEATING AND REFRIGERATION SYSTEMS; HEAT PUMP SYSTEMS
- F25B2500/00—Problems to be solved
- F25B2500/19—Calculation of parameters
-
- F—MECHANICAL ENGINEERING; LIGHTING; HEATING; WEAPONS; BLASTING
- F25—REFRIGERATION OR COOLING; COMBINED HEATING AND REFRIGERATION SYSTEMS; HEAT PUMP SYSTEMS; MANUFACTURE OR STORAGE OF ICE; LIQUEFACTION SOLIDIFICATION OF GASES
- F25B—REFRIGERATION MACHINES, PLANTS OR SYSTEMS; COMBINED HEATING AND REFRIGERATION SYSTEMS; HEAT PUMP SYSTEMS
- F25B2600/00—Control issues
- F25B2600/25—Control of valves
- F25B2600/2513—Expansion valves
-
- F—MECHANICAL ENGINEERING; LIGHTING; HEATING; WEAPONS; BLASTING
- F25—REFRIGERATION OR COOLING; COMBINED HEATING AND REFRIGERATION SYSTEMS; HEAT PUMP SYSTEMS; MANUFACTURE OR STORAGE OF ICE; LIQUEFACTION SOLIDIFICATION OF GASES
- F25B—REFRIGERATION MACHINES, PLANTS OR SYSTEMS; COMBINED HEATING AND REFRIGERATION SYSTEMS; HEAT PUMP SYSTEMS
- F25B2700/00—Sensing or detecting of parameters; Sensors therefor
- F25B2700/17—Speeds
- F25B2700/171—Speeds of the compressor
-
- F—MECHANICAL ENGINEERING; LIGHTING; HEATING; WEAPONS; BLASTING
- F25—REFRIGERATION OR COOLING; COMBINED HEATING AND REFRIGERATION SYSTEMS; HEAT PUMP SYSTEMS; MANUFACTURE OR STORAGE OF ICE; LIQUEFACTION SOLIDIFICATION OF GASES
- F25B—REFRIGERATION MACHINES, PLANTS OR SYSTEMS; COMBINED HEATING AND REFRIGERATION SYSTEMS; HEAT PUMP SYSTEMS
- F25B2700/00—Sensing or detecting of parameters; Sensors therefor
- F25B2700/21—Temperatures
- F25B2700/2106—Temperatures of fresh outdoor air
-
- F—MECHANICAL ENGINEERING; LIGHTING; HEATING; WEAPONS; BLASTING
- F25—REFRIGERATION OR COOLING; COMBINED HEATING AND REFRIGERATION SYSTEMS; HEAT PUMP SYSTEMS; MANUFACTURE OR STORAGE OF ICE; LIQUEFACTION SOLIDIFICATION OF GASES
- F25B—REFRIGERATION MACHINES, PLANTS OR SYSTEMS; COMBINED HEATING AND REFRIGERATION SYSTEMS; HEAT PUMP SYSTEMS
- F25B2700/00—Sensing or detecting of parameters; Sensors therefor
- F25B2700/21—Temperatures
- F25B2700/2115—Temperatures of a compressor or the drive means therefor
- F25B2700/21151—Temperatures of a compressor or the drive means therefor at the suction side of the compressor
-
- F—MECHANICAL ENGINEERING; LIGHTING; HEATING; WEAPONS; BLASTING
- F25—REFRIGERATION OR COOLING; COMBINED HEATING AND REFRIGERATION SYSTEMS; HEAT PUMP SYSTEMS; MANUFACTURE OR STORAGE OF ICE; LIQUEFACTION SOLIDIFICATION OF GASES
- F25B—REFRIGERATION MACHINES, PLANTS OR SYSTEMS; COMBINED HEATING AND REFRIGERATION SYSTEMS; HEAT PUMP SYSTEMS
- F25B2700/00—Sensing or detecting of parameters; Sensors therefor
- F25B2700/21—Temperatures
- F25B2700/2115—Temperatures of a compressor or the drive means therefor
- F25B2700/21152—Temperatures of a compressor or the drive means therefor at the discharge side of the compressor
-
- Y—GENERAL TAGGING OF NEW TECHNOLOGICAL DEVELOPMENTS; GENERAL TAGGING OF CROSS-SECTIONAL TECHNOLOGIES SPANNING OVER SEVERAL SECTIONS OF THE IPC; TECHNICAL SUBJECTS COVERED BY FORMER USPC CROSS-REFERENCE ART COLLECTIONS [XRACs] AND DIGESTS
- Y02—TECHNOLOGIES OR APPLICATIONS FOR MITIGATION OR ADAPTATION AGAINST CLIMATE CHANGE
- Y02B—CLIMATE CHANGE MITIGATION TECHNOLOGIES RELATED TO BUILDINGS, e.g. HOUSING, HOUSE APPLIANCES OR RELATED END-USER APPLICATIONS
- Y02B30/00—Energy efficient heating, ventilation or air conditioning [HVAC]
- Y02B30/70—Efficient control or regulation technologies, e.g. for control of refrigerant flow, motor or heating
Landscapes
- Engineering & Computer Science (AREA)
- Mechanical Engineering (AREA)
- General Engineering & Computer Science (AREA)
- Physics & Mathematics (AREA)
- Thermal Sciences (AREA)
- Chemical & Material Sciences (AREA)
- Combustion & Propulsion (AREA)
- Air-Conditioning For Vehicles (AREA)
Abstract
Verfahren zur Regelung einer mit einem ölhaltigen Kältemittel betriebenen Klimaanlage in einem Kraftfahrzeug, welche einen Verdampfer (4), einen leistungsgeregelten Kompressor (2), einen Kondensator (3) und ein steuerbares Expansionsventil (5) umfasst und mit einer elektronischen Regelungseinrichtung (10), die in Abhängigkeit mehrerer Parameter Ausgangssignale erzeugt, die zur Ansteuerung des Expansionsventils (5) dienen, wobei der Regelungseinrichtung (10) Signale mindestens eines Lufttemperatursensors (15), eines Sensors (16) für die Ermittlung der Überhitzung des Kältemittels ausgangsseitig des Verdampfers (4), eines Heißgastemperatursensors (17) und eines Sensors (9) für die Kompressordrehzahl zugeführt werden, dadurch gekennzeichnet, dass eine Regelung der Überhitzung (K) des Kältemittels im Verdampfer (4) erfolgt, indem für die Berechnung der Ausgangssignale zur Ansteuerung des Expansionsventils (5) der Abregelgrad des Kompressors (2) und die jeweilige Verdampferlast berücksichtigt werden.method for controlling one with an oily one refrigerant operated air conditioning in a motor vehicle, which is an evaporator (4), a capacity-controlled compressor (2), a condenser (3) and a controllable expansion valve (5) and having an electronic Control device (10), which depends on several parameters Output signals generated to control the expansion valve (5), wherein the control device (10) signals at least an air temperature sensor (15), a sensor (16) for the determination overheating of the refrigerant on the output side of the evaporator (4), a hot gas temperature sensor (17) and a sensor (9) for supplied the compressor speed be characterized in that a control of overheating (K) of the refrigerant in the evaporator (4) takes place by calculating the output signals for controlling the expansion valve (5) the degree of regulation of the compressor (2) and the respective evaporator load are taken into account.
Description
Die Erfindung betrifft ein Verfahren zur Regelung einer mit einem ölhaltigen Kältemittel betriebenen Klimaanlage in einem Kraftfahrzeug sowie eine Klimaanlage zur Durchführung des Verfahrens.The The invention relates to a method for controlling an oil-containing refrigerant operated air conditioning in a motor vehicle and air conditioning to carry out of the procedure.
In
der
In
der
Die
In Kraftfahrzeugklimaanlagen werden üblicherweise thermostatische Expansionsventile verwendet, wobei die Öffnung für den Kältemitteldurchtritt durch die Stellung eines Drosselkörpers bestimmt wird. Diese Stellung wird von einem Druck- bzw. Temperaturwertgeber oder von einer Membran beeinflusst, die einerseits von dem Kältemitteldampf zwischen Verdampfer und Verdichter und andererseits von einem Steuermedium beaufschlagt wird. In Schließrichtung ist der Drosselkörper durch eine Feder vorgespannt.In Automotive air conditioning systems are usually thermostatic Used expansion valves, wherein the opening for the refrigerant passage through the Position of a throttle body is determined. This position is from a pressure or temperature transmitter or influenced by a membrane, on the one hand by the refrigerant vapor between Evaporator and compressor and on the other hand from a control medium is charged. In the closing direction is the throttle body biased by a spring.
Die Grundeinstellung des Expansionsventils wird in Kältekreisläufen mit geregelten Verdichtern mit geringer Überhitzung ausgeführt, so daß ausreichende Schmierung auch bei niedrigen Kältemitteldurchsätzen gewährleistet ist. Jedoch liegt die leistungsoptimale Überhitzung des Kältemittels bei Kälteanlagen mit ölhaltigem Kältemittel bei ca. 10K bis 12K. Ein Problem besteht jedoch darin, dass der Kompressor vom Antriebsmotor des Fahrzeugs angetrieben wird und damit ständigen Drehzahlschwankungen unterworfen ist. Damit ändern sich auch ständig die Betriebsbedingungen, die jedoch nicht in ihrem gesamten Bereich die leistungsoptimale Überhitzung zulassen. So muß beispielsweise bei hohen Drehzahlen eine niedrige Überhitzung gewählt werden, damit die Verdichtungstemperatur keinen kritischen Wert annimmt. Ein weiteres Problem besteht darin, dass mit zunehmender Überhitzung eine Entmischung von Kältemittel und Öl stattfindet, was sowohl hinsichtlich der Schmierung des Kompressors als auch der Geräuschentwicklung nachteilig ist. Bei geringem Kältemitteldurchsatz und hohen Temperaturen im Kältemittel kann es daher vorkommen, dass der Kompressor fast ausschließlich Kältemittelanteile ansaugt und Ölanteile im Rohrsystem zurückbleiben, so dass eine ausreichende Schmierung nicht mehr gegeben ist.The The basic setting of the expansion valve is used in refrigeration circuits with regulated compressors low overheating executed so that sufficient Lubrication guaranteed even at low refrigerant flow rates is. However, the performance-optimal overheating of the refrigerant is in refrigeration systems with oily refrigerant at about 10K to 12K. One problem, however, is that the compressor driven by the drive motor of the vehicle and thus constant speed fluctuations is subject. Change with it also constantly the operating conditions, but not in their entire range the optimal performance overheating allow. For example low overheating is selected at high speeds, so that the compression temperature does not assume a critical value. Another problem is that with increasing overheating a segregation of refrigerant and oil takes place, both in terms of lubrication of the compressor as also the noise is disadvantageous. With low refrigerant flow and high temperatures in the refrigerant It may therefore happen that the compressor draws in almost exclusively refrigerant components and oil shares to remain in the pipe system, so that adequate lubrication is no longer present.
Der vorliegenden Erfindung liegt daher die Aufgabe zugrunde, ein Verfahren zur Regelung einer mit einem ölhaltigen Kältemittel betriebenen Klimaanlage zu schaffen, welche überwiegend im leistungsoptimalen Überhitzungsbereich des Kältemittels arbeitet und lediglich bei hohen Drehzahlen des Kompressors und bei Betrieb mit kleinen Hubvolumina des Kompressors eine Abregelung der Überhitzung des Kältemittels erfolgt, so dass eine wirksame Begrenzung der Verdichtungsendtemperatur erfolgt und eine stets ausreichende Schmierung des Kompressors gewährleistet ist. Außerdem ist es Aufgabe der Erfindung, eine Klimaanlage für ein Kraftfahrzeug zu schaffen, mit der das Regelverfahren ausführbar ist.The present invention is therefore an object of the invention to provide a method for controlling a operated with an oil-containing refrigerant air conditioning, which works mainly in the power optimal overheating of the refrigerant and only at high speeds of the compressor and when operating with small strokes of the compressor down-regulation of overheating of the refrigerant takes place, so that an effective limitation of the compression end temperature takes place and always sufficient lubrication of the compressor is ensured. Moreover, it is an object of the invention to provide an air conditioner for a motor vehicle, with which the control method executable is.
Diese Aufgabe wird durch ein Verfahren zur Regelung einer Klimaanlage mit den Merkmalen des Anspruchs 1 sowie durch eine Klimananlage für ein Kraftfahrzeug mit den Merkmalen des Anspruchs 7 gelöst.These Task is by a method of controlling an air conditioner with the features of claim 1 and by an air conditioning system for a motor vehicle solved with the features of claim 7.
Die wesentlichen Vorteile der Erfindung sind darin zu sehen, dass die Kälteanlage mit einem guten Wirkungsgrad durch leistungsoptimale Überhitzung betrieben wird und auch bei kleinen Hubvolumina des Kompressors stets ein ausreichender Ölrückfluss zur Schmierung des Kompressors gewährleistet ist.The Significant advantages of the invention can be seen in that the refrigeration plant operated with a high degree of efficiency through power-optimized overheating is always and even with small strokes of the compressor sufficient oil reflux ensures lubrication of the compressor.
Die Verdampferlast kann in geeigneter Weise aus der Gebläseleistung eines Verdampfergebläses und aus der Temperatur der dem Verdampfer zugeführten Luft ermittelt werden. Hierbei ist es auch möglich, als zugeführte Luft die Umgebungsluft des Fahrzeugs anzusehen, so dass das Signal des Außentemperaturfühlers zur Bestimmung der Verdampferlast dient.The Evaporator load can be suitably from the blower power an evaporator blower and are determined from the temperature of the air supplied to the evaporator. It is also possible as supplied Air to view the ambient air of the vehicle, so that the signal of the outside temperature sensor for Determination of evaporator load is used.
Die Ermittlung des Abregelgrades des Kompressors kann näherungsweise über die Außentemperatur und die Drehzahl erfolgen. Je niedriger die Außentemperatur, desto geringer der Kälteleistungsbedarf. In solchen Zuständen wird der intern geregelte Kompressor bei verringertem Hubvolumen betrieben. Bei hohen Drehzahlen wird die Förderleistung des Kompressors ebenfalls durch Verringerung des Hubvolumens angepaßt. Der Zusammenhang zwischen Abregelgrad, Außentemperatur und Drehzahl kann in einem Vorversuch ermittelt werden.The Determining the Abregelgrades of the compressor can approximately on the outside temperature and the speed is done. The lower the outside temperature, the lower the cooling capacity requirement. In such states is the internally regulated compressor with reduced displacement operated. At high speeds, the capacity of the compressor also adapted by reducing the stroke volume. Of the Correlation between Abregelgrad, outdoor temperature and speed can be determined in a preliminary experiment.
Da je nach Drehzahl des Antriebsmotors und somit auch der Drehzahl des Kompressors bereits eine teilweise Verringerung des Hubvolumens zu einem deutlichen Anstieg der Verdichtungstemperatur führen kann, wird es als zweckmäßig angesehen, dass bei einem Abregelgrad, der einem Hubvolumen von etwa 50% oder geringer entspricht, die Ansteuerung des Expansionsventils im Sinne einer Zunahme des Kältemitteldurchsatzes erfolgt. Es wird außerdem als vorteilhaft angesehen, dass bereits ab einer Heißgastemperatur von ca. 90°C die Überhitzung des Kältemittels abgesenkt wird, so dass bei Überschreiten der Heißgastemperatur von ca. 130°C die Überhitzung auf dem niedrigsten Wert, nämlich bei ca. 2K liegt.There depending on the speed of the drive motor and thus also the speed the compressor already a partial reduction of the stroke volume can lead to a significant increase in the compression temperature, it is considered appropriate that at a degree of regulation, the stroke volume of about 50% or less corresponds to the activation of the expansion valve in the sense of a Increase in refrigerant flow rate he follows. It will as well regarded as advantageous that already from a hot gas temperature from about 90 ° C the overheating of the refrigerant is lowered, so when exceeded the hot gas temperature from about 130 ° C the overheating at the lowest value, viz at about 2K.
Ein Ausführungsbeispiel der Erfindung ist nachstehend anhand der Zeichnung näher erläutert. In der Zeichnung zeigt:One embodiment The invention is explained below with reference to the drawing. In the drawing shows:
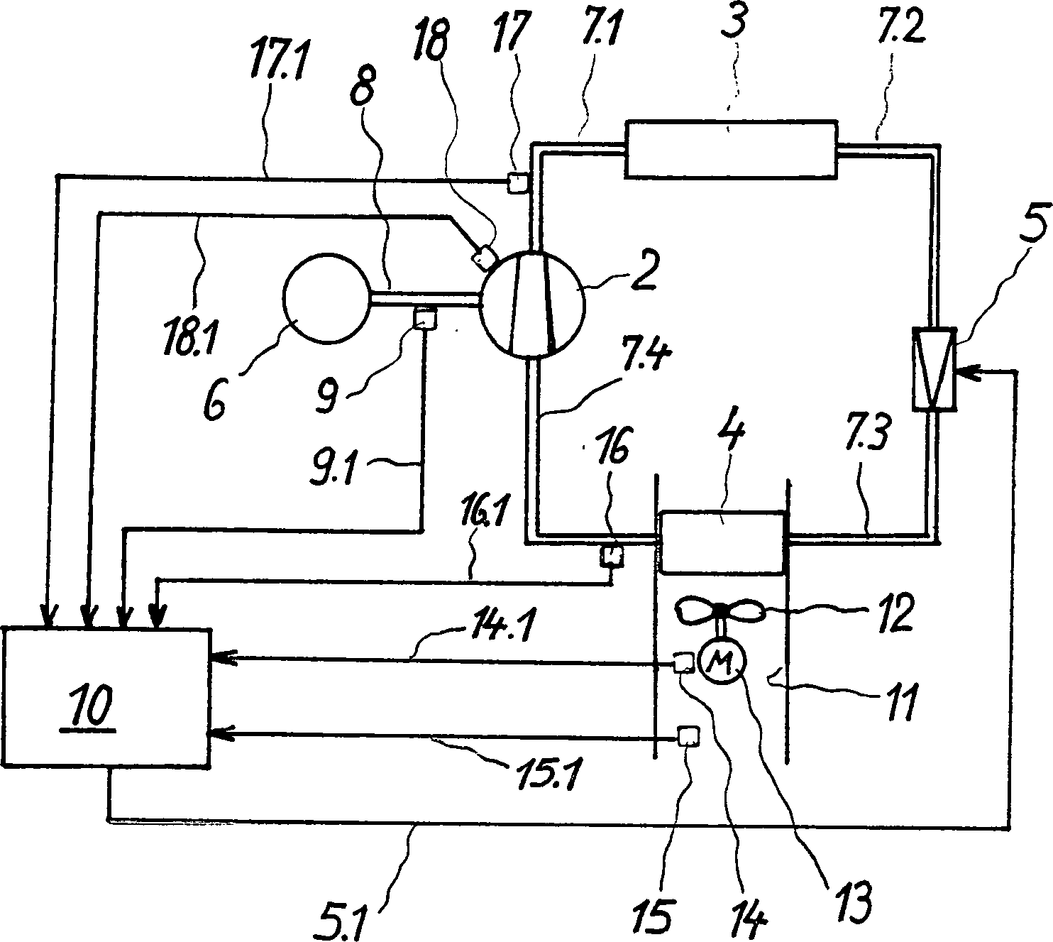
Die
Der
Verdampfer
Das
Expansionsventil
Ein Sensor
ein
Sensor
ein
Temperatursensor
ein Sensor
ein Heißgastemperatursensor
A sensor
a sensor
a temperature sensor
a sensor
a hot gas temperature sensor
Der
Sensor
Die
genannten Sensoren sind jeweils über eine
Signalleitung mit der Regelungseinrichtung
Der
Abregelgrad des intern geregelten Kompressors wird über die
Außenlufttemperatur
und die Drehzahl des Kompressors näherungsweise ermittelt, indem
durch einen Vorversuch der Zusammenhang zwischen Abregelgrad einerseits
und Außentemperatur
sowie Drehzahl andererseits ermittelt wurde und die Sensoren
Aus
den Signalen der Sensoren
Durch
die vorstehend beschriebene Erfindung ergibt sich eine Schutzfunktion
gegen hohe Verdichtungsendtemperaturen sowie eine Sicherung des Ölrückflusses
bei kleinen Kompressorhubvolumina. Die Regelung der Überhitzung
nach den in
Die
Bestimmung des Abregelgrades des Kompressors könnte je nach Kompressortyp
auch wie folgt erfolgen. Bei einem Taumelscheibenkompressor wird
der Abregelgrad auf einfachste Weise dadurch bestimmt, dass die
Neigung der Taumelscheibe durch einen Sensor
Claims (9)
Priority Applications (1)
| Application Number | Priority Date | Filing Date | Title |
|---|---|---|---|
| DE19706663A DE19706663B4 (en) | 1997-02-20 | 1997-02-20 | Method for controlling an air conditioning system in a motor vehicle |
Applications Claiming Priority (1)
| Application Number | Priority Date | Filing Date | Title |
|---|---|---|---|
| DE19706663A DE19706663B4 (en) | 1997-02-20 | 1997-02-20 | Method for controlling an air conditioning system in a motor vehicle |
Publications (2)
| Publication Number | Publication Date |
|---|---|
| DE19706663A1 DE19706663A1 (en) | 1998-08-27 |
| DE19706663B4 true DE19706663B4 (en) | 2007-01-11 |
Family
ID=7820898
Family Applications (1)
| Application Number | Title | Priority Date | Filing Date |
|---|---|---|---|
| DE19706663A Expired - Fee Related DE19706663B4 (en) | 1997-02-20 | 1997-02-20 | Method for controlling an air conditioning system in a motor vehicle |
Country Status (1)
| Country | Link |
|---|---|
| DE (1) | DE19706663B4 (en) |
Families Citing this family (12)
| Publication number | Priority date | Publication date | Assignee | Title |
|---|---|---|---|---|
| DE19908043C2 (en) * | 1999-02-24 | 2001-08-30 | Mannesmann Vdo Ag | Electrically driven compression refrigeration system of a motor vehicle |
| JP2001124387A (en) * | 1999-10-26 | 2001-05-11 | Sanden Corp | Air-conditioning device for vehicle |
| DE10021610A1 (en) * | 2000-05-04 | 2001-11-08 | Linde Ag | Method for operating a (composite) refrigeration system |
| DE10027617A1 (en) | 2000-06-02 | 2001-12-06 | Mannesmann Vdo Ag | Device for driving an air conditioning compressor |
| JP4699597B2 (en) * | 2000-11-10 | 2011-06-15 | カルソニックカンセイ株式会社 | Mode switching type refrigeration system control apparatus and control method |
| DE10338388B3 (en) * | 2003-08-21 | 2005-04-21 | Daimlerchrysler Ag | Method for controlling an air conditioning system |
| DE102007005500A1 (en) * | 2007-01-30 | 2008-07-31 | Behr Gmbh & Co. Kg | Air conditioning system i.e. motor vehicle air conditioning system, has temperature sensor provided in area of suction tube of evaporator, where sensor determines temperature data for controlling performance of compressor |
| DE102007005498A1 (en) * | 2007-01-30 | 2008-07-31 | Behr Gmbh & Co. Kg | Air conditioner, particularly vehicle air conditioner, has coolant cycle, in which compressor, gas cooler and air flow through compressor are arranged, and regulating device is provided for performance of compressor |
| ATE529280T1 (en) * | 2007-02-10 | 2011-11-15 | Behr Hella Thermocontrol Gmbh | METHOD FOR OPERATING A REFRIGERANT CIRCUIT OF AN AIR CONDITIONING SYSTEM FOR THE INTERIOR OF A VEHICLE |
| DE102009026942B4 (en) * | 2009-06-15 | 2016-02-04 | Honeywell Technologies Sarl | Method for controlling heat pump and refrigeration systems |
| US20150027149A1 (en) * | 2010-08-23 | 2015-01-29 | Carrier Commercial Refrigeration, Inc. | Electric expansion valve control for a refrigeration system |
| DE102020115267A1 (en) | 2020-06-09 | 2021-12-09 | Stiebel Eltron Gmbh & Co. Kg | Method for regulating a compression refrigeration system and a compression refrigeration system |
Citations (5)
| Publication number | Priority date | Publication date | Assignee | Title |
|---|---|---|---|---|
| DE3706152A1 (en) * | 1987-02-26 | 1988-09-08 | Sueddeutsche Kuehler Behr | METHOD FOR CONTROLLING A VEHICLE AIR CONDITIONER AND VEHICLE AIR CONDITIONER FOR IMPLEMENTING THE METHOD |
| DE3843924A1 (en) * | 1987-12-28 | 1989-07-13 | Diesel Kiki Co | AIR CONDITIONING AND AIR CONDITIONER FOR MOTOR VEHICLES |
| DE3915349A1 (en) * | 1988-05-11 | 1989-11-23 | Hitachi Ltd | COOLING DEVICE |
| DE4005728A1 (en) * | 1990-02-23 | 1991-08-29 | Behr Gmbh & Co | Vehicle refrigeration circuit - has electrically-controlled thermostatic expansion valve controlled by line temp. between compressor and condenser |
| US5257508A (en) * | 1990-09-14 | 1993-11-02 | Nartron Corporation | Environmental control system |
-
1997
- 1997-02-20 DE DE19706663A patent/DE19706663B4/en not_active Expired - Fee Related
Patent Citations (6)
| Publication number | Priority date | Publication date | Assignee | Title |
|---|---|---|---|---|
| DE3706152A1 (en) * | 1987-02-26 | 1988-09-08 | Sueddeutsche Kuehler Behr | METHOD FOR CONTROLLING A VEHICLE AIR CONDITIONER AND VEHICLE AIR CONDITIONER FOR IMPLEMENTING THE METHOD |
| EP0288658B1 (en) * | 1987-02-26 | 1991-09-11 | Behr GmbH & Co. | Method and device for control of an air conditioning system for vehicles |
| DE3843924A1 (en) * | 1987-12-28 | 1989-07-13 | Diesel Kiki Co | AIR CONDITIONING AND AIR CONDITIONER FOR MOTOR VEHICLES |
| DE3915349A1 (en) * | 1988-05-11 | 1989-11-23 | Hitachi Ltd | COOLING DEVICE |
| DE4005728A1 (en) * | 1990-02-23 | 1991-08-29 | Behr Gmbh & Co | Vehicle refrigeration circuit - has electrically-controlled thermostatic expansion valve controlled by line temp. between compressor and condenser |
| US5257508A (en) * | 1990-09-14 | 1993-11-02 | Nartron Corporation | Environmental control system |
Also Published As
| Publication number | Publication date |
|---|---|
| DE19706663A1 (en) | 1998-08-27 |
Similar Documents
| Publication | Publication Date | Title |
|---|---|---|
| DE69834512T2 (en) | A refrigeration cycle apparatus | |
| DE60201101T2 (en) | A method of automotive air conditioning for preventing the condensation of moisture on the windshield | |
| DE19713197B4 (en) | Method for operating an air conditioning system in a motor vehicle and air conditioning with a refrigerant circuit | |
| DE19706663B4 (en) | Method for controlling an air conditioning system in a motor vehicle | |
| DE602004011870T2 (en) | Device and method for controlling the degree of superheating in a heat pump system | |
| DE60106658T2 (en) | Freezing circuit having device | |
| DE112008001709B4 (en) | Displacement control system for a variable displacement compressor | |
| DE3706152A1 (en) | METHOD FOR CONTROLLING A VEHICLE AIR CONDITIONER AND VEHICLE AIR CONDITIONER FOR IMPLEMENTING THE METHOD | |
| DE60110491T2 (en) | Humidity control method for variable displacement air conditioning system | |
| DE2950264A1 (en) | HOT GAS BYPASS VALVE CONTROL FOR CENTRIFUGAL LIQUID COOLERS | |
| DE10051582C2 (en) | Vehicle air conditioning | |
| DE102008028925A1 (en) | Refrigerant cycle device for vehicle | |
| DE3829096A1 (en) | DEVICE FOR CONTROLLING FLOW RATE ADJUSTMENT DEVICES OF A REFRIGERANT COMPRESSOR | |
| DE69507533T2 (en) | Air conditioning with heat pump | |
| DE102005000846A1 (en) | control device | |
| DE10053426C2 (en) | Air conditioning for vehicles | |
| DE3816500A1 (en) | METHOD FOR REGULATING THE OPERATION OF A REFRIGERANT COMPRESSOR | |
| EP0443099A2 (en) | Refrigeration system | |
| DE19745028A1 (en) | Procedure for evaporator icing-protected control for air conditioning plant | |
| DE102012208819B4 (en) | METHOD FOR CONTROLLING AND CONTROLLING REFRIGERATION PLANTS AND HEAT PUMPS WITH AIRBREAKED EVAPORATOR | |
| WO2005123428A1 (en) | Method and device for controlling a coolant circuit of an air conditioning system for a vehicle | |
| DE10392657T5 (en) | Air conditioning, which uses an adjustable compressor | |
| DE10255147B9 (en) | A method of controlling an air conditioning system powered by a vehicle engine | |
| DE102006047415A1 (en) | Vehicle air conditioning with variable displacement compressor | |
| DE102007005498A1 (en) | Air conditioner, particularly vehicle air conditioner, has coolant cycle, in which compressor, gas cooler and air flow through compressor are arranged, and regulating device is provided for performance of compressor |
Legal Events
| Date | Code | Title | Description |
|---|---|---|---|
| OM8 | Search report available as to paragraph 43 lit. 1 sentence 1 patent law | ||
| 8110 | Request for examination paragraph 44 | ||
| 8125 | Change of the main classification |
Ipc: B60H 132 |
|
| 8364 | No opposition during term of opposition | ||
| R119 | Application deemed withdrawn, or ip right lapsed, due to non-payment of renewal fee |
Effective date: 20110901 |
