DE102022123426A1 - Device for measuring the length of an object - Google Patents
Device for measuring the length of an object Download PDFInfo
- Publication number
- DE102022123426A1 DE102022123426A1 DE102022123426.6A DE102022123426A DE102022123426A1 DE 102022123426 A1 DE102022123426 A1 DE 102022123426A1 DE 102022123426 A DE102022123426 A DE 102022123426A DE 102022123426 A1 DE102022123426 A1 DE 102022123426A1
- Authority
- DE
- Germany
- Prior art keywords
- value
- light
- path length
- retina
- length
- Prior art date
- Legal status (The legal status is an assumption and is not a legal conclusion. Google has not performed a legal analysis and makes no representation as to the accuracy of the status listed.)
- Pending
Links
Images
Classifications
-
- A—HUMAN NECESSITIES
- A61—MEDICAL OR VETERINARY SCIENCE; HYGIENE
- A61B—DIAGNOSIS; SURGERY; IDENTIFICATION
- A61B5/00—Measuring for diagnostic purposes; Identification of persons
- A61B5/103—Measuring devices for testing the shape, pattern, colour, size or movement of the body or parts thereof, for diagnostic purposes
- A61B5/107—Measuring physical dimensions, e.g. size of the entire body or parts thereof
- A61B5/1075—Measuring physical dimensions, e.g. size of the entire body or parts thereof for measuring dimensions by non-invasive methods, e.g. for determining thickness of tissue layer
-
- A—HUMAN NECESSITIES
- A61—MEDICAL OR VETERINARY SCIENCE; HYGIENE
- A61B—DIAGNOSIS; SURGERY; IDENTIFICATION
- A61B3/00—Apparatus for testing the eyes; Instruments for examining the eyes
- A61B3/10—Objective types, i.e. instruments for examining the eyes independent of the patients' perceptions or reactions
- A61B3/102—Objective types, i.e. instruments for examining the eyes independent of the patients' perceptions or reactions for optical coherence tomography [OCT]
-
- A—HUMAN NECESSITIES
- A61—MEDICAL OR VETERINARY SCIENCE; HYGIENE
- A61B—DIAGNOSIS; SURGERY; IDENTIFICATION
- A61B3/00—Apparatus for testing the eyes; Instruments for examining the eyes
- A61B3/10—Objective types, i.e. instruments for examining the eyes independent of the patients' perceptions or reactions
- A61B3/12—Objective types, i.e. instruments for examining the eyes independent of the patients' perceptions or reactions for looking at the eye fundus, e.g. ophthalmoscopes
- A61B3/1225—Objective types, i.e. instruments for examining the eyes independent of the patients' perceptions or reactions for looking at the eye fundus, e.g. ophthalmoscopes using coherent radiation
-
- A—HUMAN NECESSITIES
- A61—MEDICAL OR VETERINARY SCIENCE; HYGIENE
- A61B—DIAGNOSIS; SURGERY; IDENTIFICATION
- A61B5/00—Measuring for diagnostic purposes; Identification of persons
- A61B5/0059—Measuring for diagnostic purposes; Identification of persons using light, e.g. diagnosis by transillumination, diascopy, fluorescence
- A61B5/0062—Arrangements for scanning
- A61B5/0066—Optical coherence imaging
-
- A—HUMAN NECESSITIES
- A61—MEDICAL OR VETERINARY SCIENCE; HYGIENE
- A61B—DIAGNOSIS; SURGERY; IDENTIFICATION
- A61B5/00—Measuring for diagnostic purposes; Identification of persons
- A61B5/103—Measuring devices for testing the shape, pattern, colour, size or movement of the body or parts thereof, for diagnostic purposes
- A61B5/107—Measuring physical dimensions, e.g. size of the entire body or parts thereof
- A61B5/1076—Measuring physical dimensions, e.g. size of the entire body or parts thereof for measuring dimensions inside body cavities, e.g. using catheters
-
- A—HUMAN NECESSITIES
- A61—MEDICAL OR VETERINARY SCIENCE; HYGIENE
- A61B—DIAGNOSIS; SURGERY; IDENTIFICATION
- A61B5/00—Measuring for diagnostic purposes; Identification of persons
- A61B5/103—Measuring devices for testing the shape, pattern, colour, size or movement of the body or parts thereof, for diagnostic purposes
- A61B5/107—Measuring physical dimensions, e.g. size of the entire body or parts thereof
- A61B5/1079—Measuring physical dimensions, e.g. size of the entire body or parts thereof using optical or photographic means
-
- A—HUMAN NECESSITIES
- A61—MEDICAL OR VETERINARY SCIENCE; HYGIENE
- A61B—DIAGNOSIS; SURGERY; IDENTIFICATION
- A61B5/00—Measuring for diagnostic purposes; Identification of persons
- A61B5/68—Arrangements of detecting, measuring or recording means, e.g. sensors, in relation to patient
- A61B5/6801—Arrangements of detecting, measuring or recording means, e.g. sensors, in relation to patient specially adapted to be attached to or worn on the body surface
- A61B5/6813—Specially adapted to be attached to a specific body part
- A61B5/6814—Head
- A61B5/6821—Eye
-
- G—PHYSICS
- G01—MEASURING; TESTING
- G01B—MEASURING LENGTH, THICKNESS OR SIMILAR LINEAR DIMENSIONS; MEASURING ANGLES; MEASURING AREAS; MEASURING IRREGULARITIES OF SURFACES OR CONTOURS
- G01B9/00—Measuring instruments characterised by the use of optical techniques
- G01B9/02—Interferometers
- G01B9/02055—Reduction or prevention of errors; Testing; Calibration
- G01B9/02062—Active error reduction, i.e. varying with time
- G01B9/02064—Active error reduction, i.e. varying with time by particular adjustment of coherence gate, i.e. adjusting position of zero path difference in low coherence interferometry
-
- G—PHYSICS
- G01—MEASURING; TESTING
- G01B—MEASURING LENGTH, THICKNESS OR SIMILAR LINEAR DIMENSIONS; MEASURING ANGLES; MEASURING AREAS; MEASURING IRREGULARITIES OF SURFACES OR CONTOURS
- G01B9/00—Measuring instruments characterised by the use of optical techniques
- G01B9/02—Interferometers
- G01B9/0209—Low-coherence interferometers
- G01B9/02091—Tomographic interferometers, e.g. based on optical coherence
Landscapes
- Health & Medical Sciences (AREA)
- Life Sciences & Earth Sciences (AREA)
- Physics & Mathematics (AREA)
- General Health & Medical Sciences (AREA)
- Medical Informatics (AREA)
- Animal Behavior & Ethology (AREA)
- Veterinary Medicine (AREA)
- Engineering & Computer Science (AREA)
- Biomedical Technology (AREA)
- Heart & Thoracic Surgery (AREA)
- Public Health (AREA)
- Molecular Biology (AREA)
- Surgery (AREA)
- Biophysics (AREA)
- Pathology (AREA)
- Dentistry (AREA)
- Oral & Maxillofacial Surgery (AREA)
- Nuclear Medicine, Radiotherapy & Molecular Imaging (AREA)
- Radiology & Medical Imaging (AREA)
- Ophthalmology & Optometry (AREA)
- General Physics & Mathematics (AREA)
- Eye Examination Apparatus (AREA)
Abstract
Eine Vorrichtung (1) zur Bestimmung der Länge eines Objekts (6) unter Durchführung einer optischen Kohärenztomografie, umfassend ein Interferometer mit einer Lichtquelle (2), einem Probenarm (4) und einem Referenzarm (5), wobei das von der Lichtquelle (2) ausgesandte Licht durch einen Strahlteiler (3) aufteilbar ist, so dass erstes Licht (4a) auf dem Probenarm (4) in Auslauf- und Rücklaufrichtung und zweites Licht (5a) auf dem Referenzarm (5) in Auslauf- und Rücklaufrichtung führbar ist, wobei das erste und das zweite rücklaufende Licht (4a, 5a) zur Interferenz bringbar sind, wobei eine Auswerteeinheit (8) zum Erfassen und Verarbeiten von Signalen des interferierenden ersten und zweiten Lichts (4a, 5a) angeordnet ist und wobei eine Weglängenschalteinheit (13a, 13b) im Strahlengang des Probenarms (4) und/ oder im Strahlengang des Referenzarms (5) angeordnet ist, welche die optische Weglänge des die Weglängenschalteinheit (13a, 13b) jeweils durchlaufenden Lichts (4a, 5a) verändert, ist im Hinblick auf die Aufgabe, die eigentlich miteinander konkurrierenden Ziele hohe Auflösung bzw. Bildqualität und Erzeugung möglichst geringer Datenraten bei der Messung von Längen von Objekten möglichst zu vereinbaren, dadurch gekennzeichnet, dass mindestens eine Weglängenschalteinheit (13a, 13b) eine optische Weglänge zeitlich alternierend von einem ersten Wert auf einen zweiten Wert verbringt. A device (1) for determining the length of an object (6) by carrying out optical coherence tomography, comprising an interferometer with a light source (2), a sample arm (4) and a reference arm (5), wherein the light source (2) The light emitted can be split by a beam splitter (3), so that the first light (4a) can be guided on the sample arm (4) in the outflow and return directions and the second light (5a) can be guided on the reference arm (5) in the outflow and return directions, whereby the first and the second returning light (4a, 5a) can be brought into interference, an evaluation unit (8) being arranged for detecting and processing signals of the interfering first and second light (4a, 5a) and a path length switching unit (13a, 13b ) is arranged in the beam path of the sample arm (4) and/or in the beam path of the reference arm (5), which changes the optical path length of the light (4a, 5a) passing through the path length switching unit (13a, 13b), is in view of the task, to reconcile the actually competing goals of high resolution or image quality and the generation of the lowest possible data rates when measuring the lengths of objects, characterized in that at least one path length switching unit (13a, 13b) alternates an optical path length from a first value to a second value spent.
Description
Die Erfindung betrifft eine Vorrichtung nach dem Oberbegriff des Anspruchs 1.The invention relates to a device according to the preamble of
Unter der Bezeichnung optische Kohärenztomografie (in englischer Sprache „Optical Coherence Tomography“, üblicherweise abgekürzt durch OCT), wird ein bildgebendes Verfahren verstanden.The term optical coherence tomography (in English “Optical Coherence Tomography”, usually abbreviated to OCT) refers to an imaging procedure.
Mit diesem Verfahren können zwei- und dreidimensionale Bilder aus lichtstreuenden Strukturen gewonnen werden. Bei diesem Verfahren wird üblicherweise Licht mit einer gewissen Bandbreite in einem Strahlteiler in zwei Teilstrahlen geteilt. Der erste Teilstrahl fällt auf die zu untersuchende Probe bzw. das Objekt, der zweite Teilstrahl durchläuft eine Referenzstrecke.With this process, two- and three-dimensional images can be obtained from light-scattering structures. In this process, light with a certain bandwidth is usually split into two partial beams in a beam splitter. The first partial beam falls on the sample or object to be examined, the second partial beam passes through a reference path.
Das von der Probe bzw. dem Objekt reflektierte Licht interferiert mit dem Referenzstrahl. Durch Signale aus der Interferenz lässt sich die Probe tiefenaufgelöst, also in der Tiefe der optischen Achse des ersten Teilstrahls, durch sogenannte A-Scans untersuchen.The light reflected from the sample or object interferes with the reference beam. Using signals from the interference, the sample can be examined with depth resolution, i.e. at the depth of the optical axis of the first partial beam, using so-called A-scans.
Zusätzlich ist es möglich, die Probe auch noch flächig bzw. lateral mit dem ersten Teilstrahl abzutasten, um OCT-Bilder zu erhalten.In addition, it is possible to scan the sample flatly or laterally with the first partial beam in order to obtain OCT images.
Vor diesem Hintergrund ist aus der
Um die Augenlänge, das heißt die Länge von der Kornea (Hornhaut) bis zur Retina (Netzhaut) mit voller OCT-Auflösung, also mit einer Auflösung von weniger als 10 µm, messen zu können, ist derzeit eine entsprechend große Messtiefe von ca. 40 - 45 mm notwendig. Hierbei wird die volle Tiefe mit voller Auflösung gemessen. Ein anderer Ansatz kann darin bestehen, die Auflösung, das heißt die OCT-Bandbreite, zu reduzieren.In order to be able to measure the length of the eye, i.e. the length from the cornea to the retina, with full OCT resolution, i.e. with a resolution of less than 10 µm, a correspondingly large measuring depth of approx. 40 is currently required - 45 mm necessary. The full depth is measured with full resolution. Another approach may be to reduce the resolution, i.e. the OCT bandwidth.
Bei Verwendung der vollen OCT-Bandbreite bzw. Auflösung treten sehr hohe Datenraten auf, die nicht, oder nur schwer zu behandeln bzw. verarbeiten sind. Der technische Aufwand und die damit verbundenen Kosten sind entsprechend hoch. Eine Reduzierung der Auflösung hätte allerdings den Nachteil, dass die Qualität der Messergebnisse leidet, und die Bildqualität wahrnehmbar zurückgeht.When using the full OCT bandwidth or resolution, very high data rates occur that are impossible or difficult to handle or process. The technical effort and the associated costs are correspondingly high. However, reducing the resolution would have the disadvantage that the quality of the measurement results would suffer and the image quality would noticeably decrease.
Der Erfindung liegt daher die Aufgabe zu Grunde, die eigentlich miteinander konkurrierenden Ziele hohe Auflösung bzw. Bildqualität und Erzeugung möglichst geringer Datenraten bei der Messung von Längen von Objekten möglichst zu vereinbaren.The invention is therefore based on the object of reconciling as far as possible the actually competing goals of high resolution or image quality and generating the lowest possible data rates when measuring the lengths of objects.
Die vorliegende Erfindung löst die zuvor genannte Aufgabe durch die Merkmale des Anspruchs 1.The present invention solves the aforementioned problem through the features of
Erfindungsgemäß wird durch mindestens eine Weglängenschalteinheit eine optische Weglänge zeitlich alternierend von einem ersten Wert auf einen zweiten Wert verbracht, um im Wesentlichen nur zwei Strukturen zu erfassen, die zur Messung der Länge eines Objekts, beispielsweise eines menschlichen Auges, notwendig sind.According to the invention, an optical path length is alternately moved from a first value to a second value by at least one path length switching unit in order to essentially detect only two structures that are necessary for measuring the length of an object, for example a human eye.
Zunächst ist erkannt worden, dass die eingangs genannten Ansätze dahingehend nachteilig sind, dass bei der Vermessung eines menschlichen Auges große Teile akquirierter Datensätze den relativ uninteressanten Bereich des Glaskörpers mit abdecken würden, der in der Regel keine Informationen bietet, die für die Augenlängenmessung von Belang sind.First of all, it was recognized that the approaches mentioned at the beginning are disadvantageous in that when measuring a human eye, large parts of acquired data sets would cover the relatively uninteresting area of the vitreous body, which generally does not provide any information that is relevant for measuring the length of the eye .
Vor diesem Hintergrund ist weiter erkannt worden, dass die Lehre der
Mit dieser Erfindung ist es erstmalig möglich, mit einer sehr hohen Präzision von ca. 10 µm die Augenlänge zu vermessen, wobei gleichzeitig die Messgeschwindigkeit, das Signal-Rausch-Verhältnis (SNR) und die Bildqualität optimiert sind, und wobei gleichzeitig die Datenraten so gering sind, wie sie bei einer OCT mit vergleichsweiser geringer Bildtiefe (ca. 10 mm) erforderlich wären.With this invention it is possible for the first time to measure the length of the eye with a very high precision of approx. 10 µm, while at the same time the measurement speed, the signal-to-noise ratio (SNR) and the image quality are optimized, and at the same time the data rates are so low as would be required for an OCT with a comparatively small image depth (approx. 10 mm).
Die Weglängenschalteinheit könnte den ersten Wert der optischen Weglänge nach einem definierten Zeitintervall auf den zweiten Wert verbringen und darauf nach Ablauf des Zeitintervalls oder eines weiteren Zeitintervalls den zweiten Wert wieder auf den ersten Wert verbringen. Hierdurch ist eine automatisierte Weglängenvariation möglich, die reproduzierbare Messungen erlaubt.The path length switching unit could change the first value of the optical path length to the second value after a defined time interval and then change the second value back to the first value after the time interval or a further time interval has elapsed. This enables automated path length variation, which allows reproducible measurements.
Die Weglängenschalteinheit könnte die alternierende Änderung der Werte über einen vorgebbaren Zeitraum wiederholen, bevorzugt periodisch mit einer definierten Frequenz, durchführen. Durch die Vorgabe des Zeitraums als Messzeitraum und/ oder die Vorgabe der Frequenz ist das Signal-zu-Rausch-Verhältnis variabel einstellbar und optimierbar.The path length switching unit could alternately change the values via a predetermined value Repeat for a certain period of time, preferably periodically with a defined frequency. By specifying the time period as the measurement period and/or specifying the frequency, the signal-to-noise ratio can be variably adjusted and optimized.
Vor diesem Hintergrund könnte die Frequenz im Bereich 1 bis 1000 Hz liegen. In diesem Frequenzbereich treten Datenraten auf, die problemlos verarbeitbar sind.Given this, the frequency could be in the
Die Differenz zwischen den optischen Weglängen beim ersten Wert und beim zweiten Wert könnte in Abhängigkeit von der zu messenden Länge des untersuchten Objekts variabel einstellbar sein, wobei die zu erwartende Länge als externer Parameter in die Auswerteeinheit oder in eine Steuereinheit eingebbar ist. Hierdurch ist eine Kalibrierung der Vorrichtung möglich.The difference between the optical path lengths for the first value and the second value could be variably adjustable depending on the length of the examined object to be measured, with the expected length being input as an external parameter into the evaluation unit or into a control unit. This makes it possible to calibrate the device.
Durch die Auswerteinheit könnten aus den erfassten und verarbeiteten Signalen Strukturen des Objekts ermittelbar sein, die jeweils während der Einstellung des ersten Werts und des zweiten Werts detektierbar sind, wobei der räumliche Abstand dieser Strukturen voneinander als Länge des Objekts durch die Auswerteeinheit ermittelbar und ausgebbar ist. Hierdurch ist es möglich, beispielsweise bei einem menschlichen Auge als Strukturen die Hornhaut und die Netzhaut zu erfassen und deren Abstand zu verwenden, um die Länge des Auges zu ermitteln.The evaluation unit could be able to determine structures of the object from the detected and processed signals, which can each be detected during the setting of the first value and the second value, with the spatial distance of these structures from one another being able to be determined and output by the evaluation unit as the length of the object. This makes it possible, for example, to record the cornea and the retina as structures in a human eye and to use their distance to determine the length of the eye.
Der Weglängenoffset zwischen den beiden Pfaden oder Weglängen ist bevorzugt so gewählt, dass alle relevanten Augenlängen abgedeckt werden. Der Offset wird bei der Inbetriebnahme der Vorrichtung präzise kalibriert. Durch schnelles Alternieren zwischen beiden Positionen und der anschließenden Detektion von Kornea- und Retinaposition in den OCT-Signalen kann bei bekanntem Offset auf die Gesamtaugenlänge geschlossen werden.The path length offset between the two paths or path lengths is preferably chosen so that all relevant eye lengths are covered. The offset is precisely calibrated when the device is put into operation. By quickly alternating between the two positions and then detecting the position of the cornea and retina in the OCT signals, the total eye length can be determined if the offset is known.
Es könnte ein verstellbares Teleskop vorgesehen sein, um eine zu erfassende Struktur im Fokus zu halten. So kann das Signal-zu-Rausch-Verhältnis (SNR) im Bereich der Struktur verbessert werden. Konkret könnte die Abbildung in zwei Abbildungspfaden durch individuelle Optiken so angepasst sein, dass die korneale Abbildung einen Fokus im Bereich der Kornea hat. Die retinale Abbildung ist so gestaltet, dass es einen Fokus im Bereich der Retina gibt. Dadurch ist ein optimales Signal-zu-Rausch-Verhältnis (SNR) in beiden Bereichen gewährleistet. Zur weiteren Optimierung des SNR könnte ein verstellbares Fokusteleskop verwendet werden, welches eine mögliche Fehlsichtigkeit des Auges kompensiert, um die Retina immer im Fokus zu halten.An adjustable telescope could be provided to keep a structure to be captured in focus. In this way, the signal-to-noise ratio (SNR) in the area of the structure can be improved. Specifically, the imaging could be adjusted in two imaging paths using individual optics so that the corneal imaging has a focus in the area of the cornea. The retinal image is designed so that there is a focus in the retina area. This ensures an optimal signal-to-noise ratio (SNR) in both areas. To further optimize the SNR, an adjustable focus telescope could be used, which compensates for possible ametropia of the eye in order to always keep the retina in focus.
Die Auswerteeinheit könnte die konjugiert komplexe Ebene eines Signals von der reellen Ebene des Signals differenzieren. Hierdurch können Datenraten reduziert werden. Zur Reduktion der Datenraten könnte insbesondere, aber nicht ausschließlich, im Bereich des retinalen Scans - ähnlich zur Full-Range-OCT - die konjugiert komplexe (CC) Ebene des Signals von der reellen Ebene des Signals differenziert werden.The evaluation unit could differentiate the conjugate complex level of a signal from the real level of the signal. This allows data rates to be reduced. In order to reduce the data rates, particularly, but not exclusively, in the area of the retinal scan - similar to full-range OCT - the conjugate complex (CC) level of the signal could be differentiated from the real level of the signal.
Vor diesem Hintergrund könnte mit der Auswerteeinheit jeweils eine numerische Phasenkorrektur ausführbar sein, um die Ebene zu ermitteln, in welcher ein Signal einer zu erfassenden Struktur des Objekts liegt. Über eine numerische Phasenkorrektur könnte ermittelt werden, in welcher dieser Ebenen, komplexe oder reelle, und damit in welchem echten Abstand zum Referenzarm, das Signal der Retina liegt. Dies ist möglich, indem für jede Messung jeweils eine reelle sowie eine komplex konjugierte Phasenkorrektur angewendet wird und beide Signale miteinander verglichen werden. Dadurch kann die hermitesche Symmetrie für FD-OCT gebrochen werden, durch die es erschwert wird, eindeutige optische Längen zwischen zwei Bildbereichen zu ermitteln.Against this background, a numerical phase correction could be carried out with the evaluation unit in order to determine the plane in which a signal of a structure of the object to be detected lies. A numerical phase correction could be used to determine in which of these planes, complex or real, and thus at what real distance from the reference arm, the retina signal lies. This is possible by applying a real and a complex conjugate phase correction to each measurement and comparing both signals with each other. This can break the Hermitian symmetry for FD-OCT, which makes it difficult to determine clear optical lengths between two image areas.
Es könnte ein dispersives Element, bevorzugt eine lichtleitende Faser, im Referenzarm oder Probenarm angeordnet sein. Bei hinreichend starker eingebrachter Dispersion im OCT-Interferometer oder -Aufbau kommt es zu einer starken Amplitudendifferenz nach Fouriertransformation der Signale, da Signale, die nicht aus der zu einem Phasenvektor passenden Ebene stammen, stark verzerrt werden. Sollte das Interferometer selbst kaum dispersive Eigenschaften zeigen, können optische Elemente mit dispersiven Eigenschaften eingefügt werden, so dass dieser Effekt hinreichend groß wird. Dies kann etwa durch ein Stück Faser im Referenzarm oder Probenarm mit dispersiven Eigenschaften geschehen.A dispersive element, preferably a light-conducting fiber, could be arranged in the reference arm or sample arm. If the dispersion is sufficiently strong in the OCT interferometer or setup, a strong amplitude difference occurs after Fourier transformation of the signals, since signals that do not come from the plane that matches a phase vector are strongly distorted. If the interferometer itself hardly shows any dispersive properties, optical elements with dispersive properties can be inserted so that this effect becomes sufficiently large. This can be done, for example, by using a piece of fiber in the reference arm or sample arm with dispersive properties.
Bei einem Verfahren zur Bestimmung der Länge eines Auges, könnte eine Vorrichtung der hier beschriebenen Art verwendet werden, wobei mindestens eine Weglängenschalteinheit eine optische Weglänge zeitlich alternierend von einem ersten Wert auf einen zweiten Wert verbringt, um beim ersten Wert Licht in den Bereich der Hornhaut (Kornea) zu verbringen oder zu fokussieren, und beim zweiten Wert Licht in den Bereich der Netzhaut (Retina) zu verbringen oder zu fokussieren. Hierdurch kann die Länge eines Auges zuverlässig ermittelt werden.In a method for determining the length of an eye, a device of the type described here could be used, with at least one path length switching unit alternating an optical path length from a first value to a second value in order to direct light into the area of the cornea at the first value ( cornea) to spend or focus, and at the second value to spend or focus light in the area of the retina. This allows the length of an eye to be reliably determined.
Vor diesem Hintergrund könnte beim ersten Wert die örtliche Position der Hornhaut erfasst werden und beim zweiten Wert könnte die örtliche Position der Netzhaut erfasst werden, wobei die Länge des Auges durch den Abstand der Positionen voneinander ermittelt wird.Against this background, the local position of the cornea could be recorded with the first value and the local position of the retina could be recorded with the second value, with the length of the eye is determined by the distance between the positions.
Durch Auswerten einer Vielzahl oder einer Reihe von Messungen der Positionen von Hornhaut und Netzhaut könnte die Bewegung des Auges während der Messungen erfasst werden, wobei die Ergebnisse dieser Auswertung genutzt werden, um Fehler bei der Erfassung der Hornhaut und der Netzhaut zu korrigieren. Hierdurch können Bewegungen des Auges kompensiert werden, um die Messgenauigkeit bei der Bestimmung der Länge des Auges zu erhöhen.By evaluating a plurality or series of measurements of the positions of the cornea and retina, the movement of the eye during the measurements could be detected, with the results of this evaluation being used to correct errors in the detection of the cornea and retina. This allows movements of the eye to be compensated for in order to increase the measurement accuracy when determining the length of the eye.
Die Netzhaut oder ihr zugeordnetes Signal könnten sich entweder in einer reellen Ebene oder einem reellen Bildteil eines OCT-Bildes oder in einer komplex konjugierten Ebene oder einem komplex konjugierten Bildteil eines OCT-Bildes befinden, wobei zur Bestimmung der Länge des Auges entweder die Bewegungstrajektorien von Hornhaut und Netzhaut ausgewertet werden oder wobei eine Phasenanalyse der Signale von Hornhaut und Netzhaut durchgeführt wird.The retina or its associated signal could be located either in a real plane or a real image part of an OCT image or in a complex conjugate plane or a complex conjugate image part of an OCT image, with either the movement trajectories of the cornea being used to determine the length of the eye and retina are evaluated or a phase analysis of the signals from the cornea and retina is carried out.
Bilder der Hornhaut und der Netzhaut könnten dargestellt und/ oder auf einem Monitor in Echtzeit dargestellt werden. So kann eine Person die Bilder bewerten und auswerten.Images of the cornea and retina could be displayed and/or displayed on a monitor in real time. This allows a person to rate and evaluate the images.
Die hier beschriebene Vorrichtung kann alle hier beschriebenen Verfahrensschritte einzeln oder in Kombination ausführen.The device described here can carry out all of the method steps described here individually or in combination.
Die hier beschriebene Vorrichtung kann bei der Augenlängenmessung, Achslängenmessung, Biometrie und Funduslängenmessung verwendet werden.The device described here can be used for eye length measurement, axial length measurement, biometry and fundus length measurement.
In der Zeichnung zeigen
-
1 eine schematische Darstellung einer Vorrichtung mit einer Weglängenschalteinheit, -
2 eine schematische Darstellung der Bildgebung im kornealen Bereich und im retinalen Bereich, und -
3 diverse Linsenkonfigurationen zur Fokussierung.
-
1 a schematic representation of a device with a path length switching unit, -
2 a schematic representation of the imaging in the corneal area and in the retinal area, and -
3 various lens configurations for focusing.
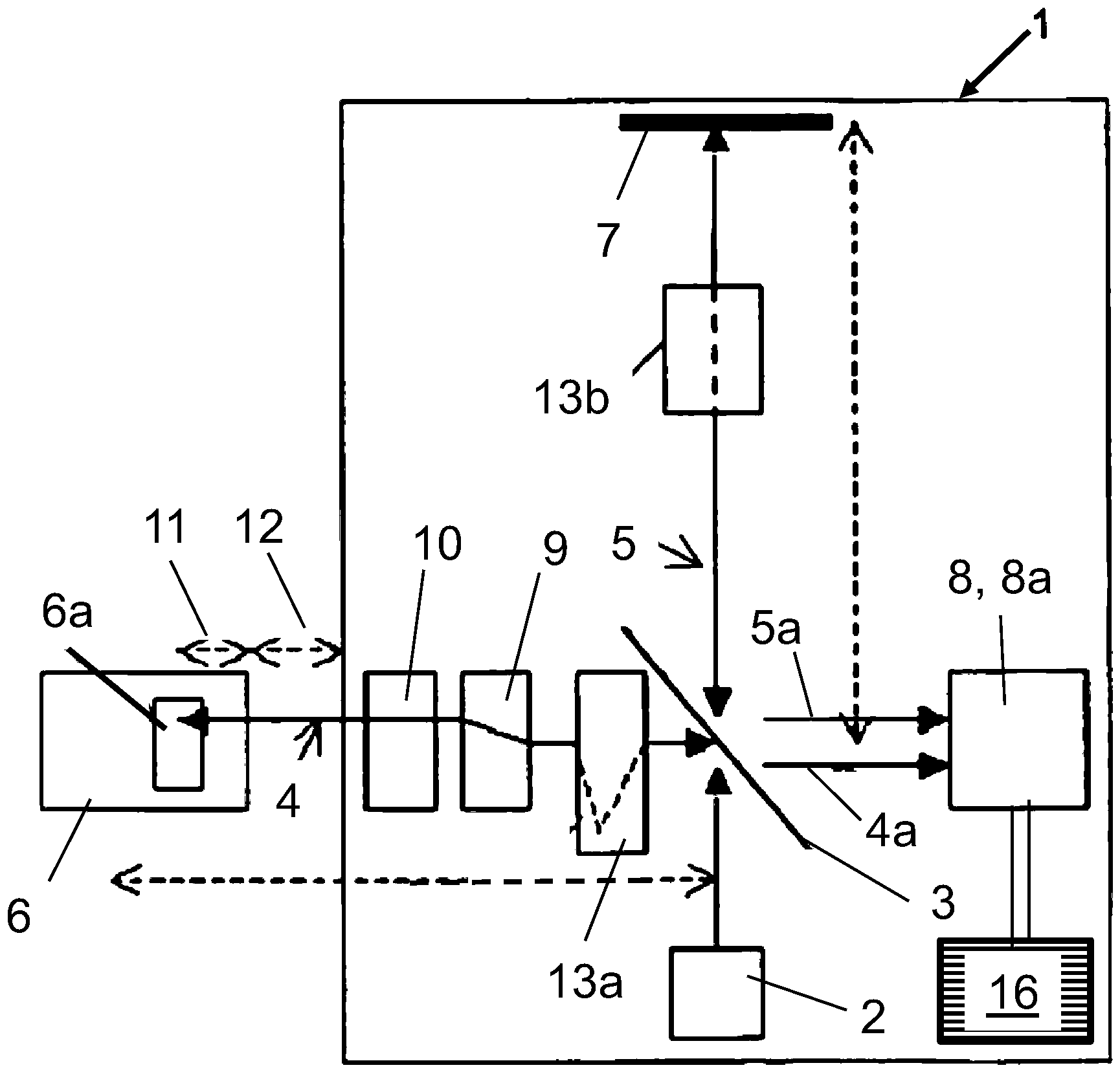
Von einer Probe 6, nämlich einem Auge, wird als rücklaufendes Licht 4a ein rücklaufender Probenstrahl zurückgeworfen und interferiert mit einem von einem Spiegel 7 reflektierten rücklaufenden Referenzstrahl als rücklaufendem Licht 5a.From a
Eine Auswerteeinheit 8 wertet die Signale der interferierenden Strahlen bzw. Lichter 4a, 5a aus und erstellt aus den Signalen Tiefenschnittbilder.An evaluation unit 8 evaluates the signals of the interfering beams or
Zur Erzeugung der Tiefenschnittbilder wird der Probenstrahl durch eine Ablenkeinheit 9 auf verschiedene laterale Positionen auf der Probe 6 gelenkt. Diese Positionen definieren den Messbereich 6a.To generate the depth section images, the sample beam is directed to different lateral positions on the
Eine optische Einheit 10 kann den Probenstrahl falls erforderlich in eine bestimmte Tiefe der Probe 6 fokussieren.An
Das Tiefenschnittbild wird in der Tiefe 11 der Probe 6 aufgenommen. Die Tiefe 11 kann unabhängig von der Position bzw. Bewegung des Spiegels 7 und vom Abstand 12 der Vorrichtung 1 zur Probe 6 durch eine Weglängenschalteinheit 13a und/ oder 13b festgelegt werden, die im Strahlengang des Probenarms 4 und/ oder des Referenzarms 5 angeordnet ist.The depth section image is recorded at
Insoweit zeigt
Die Auswerteeinheit 8 ist zum Erfassen und Verarbeiten von Signalen des interferierenden ersten und zweiten Lichts 4a, 5a angeordnet, wobei eine Weglängenschalteinheit 13a, 13b im Strahlengang des Probenarms 4 und/ oder im Strahlengang des Referenzarms 5 angeordnet ist, welche die optische Weglänge des die Weglängenschalteinheit 13a, 13b jeweils durchlaufenden Lichts 4a, 5a verändert.The evaluation unit 8 is arranged for detecting and processing signals of the interfering first and
Mindestens eine der Weglängenschalteinheiten 13a, 13b verbringt eine optische Weglänge zeitlich alternierend von einem ersten Wert auf einen zweiten Wert.At least one of the path
Mindestens eine der Weglängenschalteinheiten 13a, 13b verbringt den ersten Wert nach einem definierten Zeitintervall auf den zweiten Wert und darauf nach Ablauf des Zeitintervalls oder eines weiteren Zeitintervalls den zweiten Wert wieder auf den ersten Wert.At least one of the path
Die Weglängenschalteinheit 13a, 13b führt die alternierende Änderung der Werte über einen vorgebbaren Zeitraum, bevorzugt periodisch mit einer definierten Frequenz, durch. Die Frequenz liegt im Bereich 1 bis 1000 Hz.The path
Die Differenz zwischen den optischen Weglängen beim ersten Wert und beim zweiten Wert ist in Abhängigkeit von der zu messenden Länge des untersuchten Objekts 6 variabel einstellbar, wobei die zu erwartende Länge als externer Parameter in die Auswerteeinheit 8 oder in eine Steuereinheit 8a eingebbar ist.The difference between the optical path lengths for the first value and the second value can be variably adjusted depending on the length of the examined
Durch die Auswerteinheit 8 sind aus den erfassten und verarbeiteten Signalen Strukturen des Objekts ermittelbar, die jeweils während der Einstellung des ersten Werts und des zweiten Werts detektierbar sind.The evaluation unit 8 can be used to determine structures of the object from the detected and processed signals, which can be detected during the setting of the first value and the second value.
Der räumliche Abstand dieser Strukturen voneinander ist als Länge des Objekts 6 durch die Auswerteeinheit 8 ermittelbar und ausgebbar.The spatial distance between these structures can be determined and output as the length of the
Als optische Einheit 10 ist ein verstellbares Teleskop vorgesehen, um eine zu erfassende Struktur im Fokus zu halten.An adjustable telescope is provided as the
Die Auswerteeinheit 8 differenziert die konjugiert komplexe Ebene eines Signals von der reellen Ebene des Signals. Mit der Auswerteeinheit 8 ist jeweils eine numerische Phasenkorrektur ausführbar, um die Ebene zu ermitteln, in welcher ein Signal einer zu erfassenden Struktur des Objekts 6 liegt.The evaluation unit 8 differentiates the conjugate complex level of a signal from the real level of the signal. With the evaluation unit 8, a numerical phase correction can be carried out in order to determine the plane in which a signal of a structure of the
Es könnte ein dispersives Element, bevorzugt eine lichtleitende Faser, im Referenzarm 5 oder Probenarm 4 angeordnet sein. Dies ist hier jedoch nicht dargestellt.A dispersive element, preferably a light-conducting fiber, could be arranged in the
In
Beim ersten Wert wird die örtliche Position der Hornhaut 14 erfasst und beim zweiten Wert wird die örtliche Position der Netzhaut 15 erfasst, wobei die Länge des Auges durch den Abstand der Positionen voneinander ermittelt wird.The first value detects the local position of the
Durch Auswerten einer Vielzahl oder einer Reihe von Messungen der Positionen von Hornhaut 14 und Netzhaut 15 kann die Bewegung des Auges während der Messungen erfasst werden und die Ergebnisse dieser Auswertung können genutzt werden, um Fehler bei der Erfassung der Hornhaut 14 und der Netzhaut 15 zu korrigieren.By evaluating a plurality or series of measurements of the positions of the
Die Netzhaut 15 oder ihr zugeordnetes Signal könnte sich entweder in einer reellen Ebene oder einem reellen Bildteil eines OCT-Bildes oder in einer komplex konjugierten Ebene oder einem komplex konjugierten Bildteil eines OCT-Bildes befinden, wobei zur Bestimmung der Länge des Auges entweder die Bewegungstrajektorien von Hornhaut 14 und Netzhaut 15 ausgewertet werden oder wobei eine Phasenanalyse der Signale von Hornhaut 14 und Netzhaut 15 durchgeführt wird.The
Bilder der Hornhaut und der Netzhaut werden auf einem Monitor 16 in Echtzeit dargestellt.Images of the cornea and retina are displayed on a
Konkret wird die Augenlängenmessung mit der Vorrichtung 1 wie folgt durchgeführt:
- Es werden durch
13a, 13b zwei optische Wege realisiert.mindestens eine Weglängenschalteinheit
- Two optical paths are implemented by at least one path
13a, 13b.length switching unit
Der erste optische Weg, repräsentiert durch den ersten Wert, hat eine optische Weglänge, die kurz vor der Hornhaut (Kornea) 14 des Patienten weglängengleich mit dem Referenzarm 5 ist („DC Position“). Sie wird durch geeignete Linsen dergestalt realisiert, dass sich der Fokus im Bereich der Hornhaut (Kornea) 14 befindet.The first optical path, represented by the first value, has an optical path length that is the same length as the
Der zweite optische Weg, repräsentiert durch den zweiten Wert, hat eine solche Weglänge, dass die DC-Position im Bereich der Netzhaut (Retina) 15 eines typisch langen Auges ist.The second optical path, represented by the second value, has a path length such that the DC position is in the area of the
In
Die oberen Kästen zeigen die Verhältnisse bei einem Standardauge, die mittleren bei einem kurzen Auge und die unteren bei einem langen Auge.The top boxes show the conditions for a standard eye, the middle ones for a short eye and the bottom boxes for a long eye.
Der durch den Doppelpfeil dargestellte Offset ist der, insbesondere mechanisch, durch den Aufbau der Weglängenschalteinheit 13a, 13b vorgegebene Unterschied der Weglängen der beiden Strahlengänge.The offset shown by the double arrow is, in particular mechanical, due to the structure the path
Um den Einfluss von Bewegungen des Patienten auf das Messergebnis zu minimieren, ist eine schnelle Umschaltung und eine alternierende Messung der Positionen von Kornea 14 und Retina 15 nötig.In order to minimize the influence of the patient's movements on the measurement result, a quick switchover and an alternating measurement of the positions of
Mithilfe der Weglängenschalteinheit 13a, 13b ist dies im Millisekunden-Bereich möglich. Idealerweise wird eine ganze Serie von alternierenden Positionen gemessen. Aus dieser Serie kann auf die Bewegungstrajektorie des Auges / Messinstruments geschlossen werden, um einen eventuellen Restfehler zu korrigieren.With the help of the path
Bei der hier beschriebenen Verwendung der Vorrichtung 1 ist es möglich, dass die Retina 15 sich entweder im konjugiert komplexen oder im reellen Bildteil befindet.When using the
Eine Zuordnung, und damit die korrekte Bestimmung der Augenlänge, kann auf zwei Weisen geschehen.An assignment and thus the correct determination of the eye length can be done in two ways.
Entweder durch Überprüfen der Bewegungstrajektorien zwischen Kornea 14 und Retina 15, wobei diese gleichsinnig sind, wenn die Retina 15 ebenfalls im reellen Bildteil ist, und gegensinnig, wenn diese im konjugiert komplexen ist, oder auf Basis einer Phasenanalyse der Signale.Either by checking the movement trajectories between
Zur weiteren Optimierung der Signalausbeute an der Retina 15 kann mithilfe eines Fokusteleskops ein optimaler Fokus auf der Retina 15 für verschiedene Augenlängen realisiert werden.To further optimize the signal yield on the
Hierfür kann eine Linsenkonfiguration realisiert werden, die einen konstanten Füllungsgrad der Pupille erreicht, so dass immer mit maximaler numerischer Apertur für die verschiedenen Augenlängen gearbeitet wird, um das SNR noch weiter zu optimieren. Naturgemäß erreicht man auf diese Weise höhere SNRs bei kürzeren Augen.For this purpose, a lens configuration can be implemented that achieves a constant degree of filling of the pupil, so that the maximum numerical aperture is always used for the different eye lengths in order to further optimize the SNR. Naturally, higher SNRs are achieved in this way with shorter eyes.
Bezugszeichenliste:List of reference symbols:
- 11
- Vorrichtungcontraption
- 22
- Lichtquellelight source
- 33
- StrahlteilerBeam splitter
- 44
- ProbenarmSample poor
- 4a4a
- aus- und rücklaufendes Lichtout and back light
- 55
- ReferenzarmReference arm
- 5a5a
- aus- und rücklaufendes Lichtout and back light
- 66
- Probe (Auge)sample (eye)
- 6a6a
- MessbereichMeasuring range
- 77
- SpiegelMirror
- 88th
- AuswerteeinheitEvaluation unit
- 8a8a
- SteuereinheitControl unit
- 99
- AblenkeinheitDeflection unit
- 1010
- optische Einheitoptical unit
- 1111
- Tiefedepth
- 1212
-
Abstand der Vorrichtung 1 zur Probe 6Distance between
device 1 andsample 6 - 13a, 13b13a, 13b
- WeglängenschalteinheitPath length switching unit
- 1414
- Hornhaut oder KorneaCornea or cornea
- 1515
- Netzhaut oder RetinaRetina or retina
- 1616
- Monitormonitor
ZITATE ENTHALTEN IN DER BESCHREIBUNGQUOTES INCLUDED IN THE DESCRIPTION
Diese Liste der vom Anmelder aufgeführten Dokumente wurde automatisiert erzeugt und ist ausschließlich zur besseren Information des Lesers aufgenommen. Die Liste ist nicht Bestandteil der deutschen Patent- bzw. Gebrauchsmusteranmeldung. Das DPMA übernimmt keinerlei Haftung für etwaige Fehler oder Auslassungen.This list of documents listed by the applicant was generated automatically and is included solely for the better information of the reader. The list is not part of the German patent or utility model application. The DPMA assumes no liability for any errors or omissions.
Zitierte PatentliteraturCited patent literature
- WO 2012104097 A1 [0006, 0013]WO 2012104097 A1 [0006, 0013]
Claims (15)
Priority Applications (4)
| Application Number | Priority Date | Filing Date | Title |
|---|---|---|---|
| EP23735260.4A EP4577096A1 (en) | 2022-08-25 | 2023-06-22 | Device for measuring the length of an object |
| PCT/EP2023/066957 WO2024041775A1 (en) | 2022-08-25 | 2023-06-22 | Device for measuring the length of an object |
| JP2025511869A JP2025527011A (en) | 2022-08-25 | 2023-06-22 | A device for measuring the length of an object |
| CN202380052262.XA CN119630333A (en) | 2022-08-25 | 2023-06-22 | Object length measuring equipment |
Applications Claiming Priority (2)
| Application Number | Priority Date | Filing Date | Title |
|---|---|---|---|
| DE102022003104.3 | 2022-08-25 | ||
| DE102022003104 | 2022-08-25 |
Publications (1)
| Publication Number | Publication Date |
|---|---|
| DE102022123426A1 true DE102022123426A1 (en) | 2024-03-07 |
Family
ID=89905381
Family Applications (1)
| Application Number | Title | Priority Date | Filing Date |
|---|---|---|---|
| DE102022123426.6A Pending DE102022123426A1 (en) | 2022-08-25 | 2022-09-14 | Device for measuring the length of an object |
Country Status (1)
| Country | Link |
|---|---|
| DE (1) | DE102022123426A1 (en) |
Citations (7)
| Publication number | Priority date | Publication date | Assignee | Title |
|---|---|---|---|---|
| US20070076217A1 (en) * | 2005-10-05 | 2007-04-05 | Chris Baker | Optical coherence tomography for eye-length measurement |
| US20100165291A1 (en) * | 2008-12-26 | 2010-07-01 | Canon Kabushiki Kaisha | Image acquisition apparatus and image acquisition method using optical coherence tomography |
| DE202012002375U1 (en) * | 2012-03-08 | 2012-04-23 | Wavelight Gmbh | Device for optical coherence tomography |
| DE102012002012A1 (en) * | 2011-02-04 | 2012-08-09 | Heidelberg Engineering Gmbh | Method and device for the sequential recording of interferometric depth-sectional images at different depths, in particular for the analysis of the eye |
| DE102014115155A1 (en) * | 2014-10-17 | 2016-04-21 | Carl Zeiss Ag | Optical coherence tomography for measurement at the retina |
| WO2017182360A1 (en) * | 2016-04-19 | 2017-10-26 | Carl Zeiss Meditec Ag | Method and system for eye observation and eye therapy, in particular apparatus for laser-assisted cataract surgery |
| WO2022008116A1 (en) * | 2020-07-10 | 2022-01-13 | Heidelberg Engineering Gmbh | Arrangement and method for determining eye lengths |
-
2022
- 2022-09-14 DE DE102022123426.6A patent/DE102022123426A1/en active Pending
Patent Citations (8)
| Publication number | Priority date | Publication date | Assignee | Title |
|---|---|---|---|---|
| US20070076217A1 (en) * | 2005-10-05 | 2007-04-05 | Chris Baker | Optical coherence tomography for eye-length measurement |
| US20100165291A1 (en) * | 2008-12-26 | 2010-07-01 | Canon Kabushiki Kaisha | Image acquisition apparatus and image acquisition method using optical coherence tomography |
| DE102012002012A1 (en) * | 2011-02-04 | 2012-08-09 | Heidelberg Engineering Gmbh | Method and device for the sequential recording of interferometric depth-sectional images at different depths, in particular for the analysis of the eye |
| WO2012104097A1 (en) | 2011-02-04 | 2012-08-09 | Heidelberg Engineering Gmbh | Method and device for the sequential recording of interferometric deep sectional images at different depths, in particular for analysis of the eye |
| DE202012002375U1 (en) * | 2012-03-08 | 2012-04-23 | Wavelight Gmbh | Device for optical coherence tomography |
| DE102014115155A1 (en) * | 2014-10-17 | 2016-04-21 | Carl Zeiss Ag | Optical coherence tomography for measurement at the retina |
| WO2017182360A1 (en) * | 2016-04-19 | 2017-10-26 | Carl Zeiss Meditec Ag | Method and system for eye observation and eye therapy, in particular apparatus for laser-assisted cataract surgery |
| WO2022008116A1 (en) * | 2020-07-10 | 2022-01-13 | Heidelberg Engineering Gmbh | Arrangement and method for determining eye lengths |
Similar Documents
| Publication | Publication Date | Title |
|---|---|---|
| EP1223848B1 (en) | System for measuring the optical image quality of an eye in a contactless manner | |
| EP2367469B1 (en) | Device and method for swept-source optical coherence domain reflectometry | |
| EP2799002B1 (en) | Method and analysis system for performing ophthalmic examinations | |
| DE68911975T2 (en) | Ophthalmoscopic diagnostic method and device. | |
| DE60125319T2 (en) | WAVE FRONT REFRACTOR FOR THE SIMULTANEOUS RECORDING OF TWO HARTMANN SHACK IMAGES | |
| EP1555932A1 (en) | Ophthalmologic apparatus and related positioning method | |
| WO2004045401A2 (en) | Ophthalmological appliance comprising an eye tracker | |
| DE60130301T2 (en) | Aberration-free delivery system | |
| EP2621330B1 (en) | Method and device for determining various biometric parameters of an eye by interferometry | |
| DE68911974T2 (en) | Ophthalmic diagnostic procedure and device. | |
| DE102022123426A1 (en) | Device for measuring the length of an object | |
| WO2024041775A1 (en) | Device for measuring the length of an object | |
| DE102007031923A1 (en) | Device for eye examination by eccentric photo refraction, has light source that is arranged such that proximity of eye background or retina is illustrated, where produced light spot is eccentric to symmetry axis of eye that is examined | |
| EP2432373B1 (en) | Method and analysis system for measuring a geometry of the eye | |
| EP4639074A1 (en) | Device for measuring the eye length | |
| DE102008059876B4 (en) | Ophthalmoscopy system and ophthalmoscopy procedure | |
| EP1632170B1 (en) | Fast wavefront measurement | |
| DE102012019469A1 (en) | Method for the realization of OCT and other image recordings of an eye | |
| EP0979634B1 (en) | Device for the confocal measurement of light reflection of a body part | |
| DE102022122164A1 (en) | Device for determining the length of an object, in particular the length of an eye | |
| DE10250570A1 (en) | Ophthalmic device and device positioning method | |
| DE102022113798A1 (en) | Device for carrying out optical coherence tomography | |
| DE102020118533A1 (en) | microscope | |
| WO2023134971A1 (en) | Method and apparatus for generating images of an object | |
| EP3858224A1 (en) | Method and device for aligning an eye relative to a device axis |
Legal Events
| Date | Code | Title | Description |
|---|---|---|---|
| R163 | Identified publications notified | ||
| R082 | Change of representative |
Representative=s name: WESCH, ARNO, DR. RER. NAT., DE |
