[go: up one dir, main page]

DE102020130196A1 - Refrigeration system for a motor vehicle with an additional heat exchanger as an undercooling section, motor vehicle with such a refrigeration system - Google Patents

Refrigeration system for a motor vehicle with an additional heat exchanger as an undercooling section, motor vehicle with such a refrigeration system Download PDF

Info

Publication number
DE102020130196A1
DE102020130196A1 DE102020130196.0A DE102020130196A DE102020130196A1 DE 102020130196 A1 DE102020130196 A1 DE 102020130196A1 DE 102020130196 A DE102020130196 A DE 102020130196A DE 102020130196 A1 DE102020130196 A1 DE 102020130196A1
Authority
DE
Germany
Prior art keywords
heat exchanger
refrigeration system
refrigerant
motor vehicle
coolant
Prior art date
Legal status (The legal status is an assumption and is not a legal conclusion. Google has not performed a legal analysis and makes no representation as to the accuracy of the status listed.)
Pending
Application number
DE102020130196.0A
Other languages
German (de)
Inventor
Christian Rebinger
Helmut Rottenkolber
Dirk Schroeder
Current Assignee (The listed assignees may be inaccurate. Google has not performed a legal analysis and makes no representation or warranty as to the accuracy of the list.)
Audi AG
Original Assignee
Audi AG
Priority date (The priority date is an assumption and is not a legal conclusion. Google has not performed a legal analysis and makes no representation as to the accuracy of the date listed.)
Filing date
Publication date
Application filed by Audi AG filed Critical Audi AG
Priority to DE102020130196.0A priority Critical patent/DE102020130196A1/en
Publication of DE102020130196A1 publication Critical patent/DE102020130196A1/en
Pending legal-status Critical Current

Links

Images

Classifications

    • BPERFORMING OPERATIONS; TRANSPORTING
    • B60VEHICLES IN GENERAL
    • B60HARRANGEMENTS OF HEATING, COOLING, VENTILATING OR OTHER AIR-TREATING DEVICES SPECIALLY ADAPTED FOR PASSENGER OR GOODS SPACES OF VEHICLES
    • B60H1/00Heating, cooling or ventilating [HVAC] devices
    • B60H1/00642Control systems or circuits; Control members or indication devices for heating, cooling or ventilating devices
    • B60H1/00814Control systems or circuits characterised by their output, for controlling particular components of the heating, cooling or ventilating installation
    • B60H1/00878Control systems or circuits characterised by their output, for controlling particular components of the heating, cooling or ventilating installation the components being temperature regulating devices
    • B60H1/00899Controlling the flow of liquid in a heat pump system
    • B60H1/00921Controlling the flow of liquid in a heat pump system where the flow direction of the refrigerant does not change and there is an extra subcondenser, e.g. in an air duct
    • BPERFORMING OPERATIONS; TRANSPORTING
    • B60VEHICLES IN GENERAL
    • B60HARRANGEMENTS OF HEATING, COOLING, VENTILATING OR OTHER AIR-TREATING DEVICES SPECIALLY ADAPTED FOR PASSENGER OR GOODS SPACES OF VEHICLES
    • B60H1/00Heating, cooling or ventilating [HVAC] devices
    • B60H1/00271HVAC devices specially adapted for particular vehicle parts or components and being connected to the vehicle HVAC unit
    • B60H1/00278HVAC devices specially adapted for particular vehicle parts or components and being connected to the vehicle HVAC unit for the battery
    • BPERFORMING OPERATIONS; TRANSPORTING
    • B60VEHICLES IN GENERAL
    • B60HARRANGEMENTS OF HEATING, COOLING, VENTILATING OR OTHER AIR-TREATING DEVICES SPECIALLY ADAPTED FOR PASSENGER OR GOODS SPACES OF VEHICLES
    • B60H1/00Heating, cooling or ventilating [HVAC] devices
    • B60H1/32Cooling devices
    • B60H1/3204Cooling devices using compression
    • B60H1/323Cooling devices using compression characterised by comprising auxiliary or multiple systems, e.g. plurality of evaporators, or by involving auxiliary cooling devices
    • FMECHANICAL ENGINEERING; LIGHTING; HEATING; WEAPONS; BLASTING
    • F25REFRIGERATION OR COOLING; COMBINED HEATING AND REFRIGERATION SYSTEMS; HEAT PUMP SYSTEMS; MANUFACTURE OR STORAGE OF ICE; LIQUEFACTION SOLIDIFICATION OF GASES
    • F25BREFRIGERATION MACHINES, PLANTS OR SYSTEMS; COMBINED HEATING AND REFRIGERATION SYSTEMS; HEAT PUMP SYSTEMS
    • F25B6/00Compression machines, plants or systems, with several condenser circuits
    • F25B6/04Compression machines, plants or systems, with several condenser circuits arranged in series
    • BPERFORMING OPERATIONS; TRANSPORTING
    • B60VEHICLES IN GENERAL
    • B60HARRANGEMENTS OF HEATING, COOLING, VENTILATING OR OTHER AIR-TREATING DEVICES SPECIALLY ADAPTED FOR PASSENGER OR GOODS SPACES OF VEHICLES
    • B60H1/00Heating, cooling or ventilating [HVAC] devices
    • B60H1/00271HVAC devices specially adapted for particular vehicle parts or components and being connected to the vehicle HVAC unit
    • B60H2001/00307Component temperature regulation using a liquid flow
    • BPERFORMING OPERATIONS; TRANSPORTING
    • B60VEHICLES IN GENERAL
    • B60HARRANGEMENTS OF HEATING, COOLING, VENTILATING OR OTHER AIR-TREATING DEVICES SPECIALLY ADAPTED FOR PASSENGER OR GOODS SPACES OF VEHICLES
    • B60H1/00Heating, cooling or ventilating [HVAC] devices
    • B60H1/00642Control systems or circuits; Control members or indication devices for heating, cooling or ventilating devices
    • B60H1/00814Control systems or circuits characterised by their output, for controlling particular components of the heating, cooling or ventilating installation
    • B60H1/00878Control systems or circuits characterised by their output, for controlling particular components of the heating, cooling or ventilating installation the components being temperature regulating devices
    • B60H2001/00949Control systems or circuits characterised by their output, for controlling particular components of the heating, cooling or ventilating installation the components being temperature regulating devices comprising additional heating/cooling sources, e.g. second evaporator
    • FMECHANICAL ENGINEERING; LIGHTING; HEATING; WEAPONS; BLASTING
    • F25REFRIGERATION OR COOLING; COMBINED HEATING AND REFRIGERATION SYSTEMS; HEAT PUMP SYSTEMS; MANUFACTURE OR STORAGE OF ICE; LIQUEFACTION SOLIDIFICATION OF GASES
    • F25BREFRIGERATION MACHINES, PLANTS OR SYSTEMS; COMBINED HEATING AND REFRIGERATION SYSTEMS; HEAT PUMP SYSTEMS
    • F25B2400/00General features or devices for refrigeration machines, plants or systems, combined heating and refrigeration systems or heat-pump systems, i.e. not limited to a particular subgroup of F25B
    • F25B2400/04Refrigeration circuit bypassing means
    • F25B2400/0409Refrigeration circuit bypassing means for the evaporator
    • FMECHANICAL ENGINEERING; LIGHTING; HEATING; WEAPONS; BLASTING
    • F25REFRIGERATION OR COOLING; COMBINED HEATING AND REFRIGERATION SYSTEMS; HEAT PUMP SYSTEMS; MANUFACTURE OR STORAGE OF ICE; LIQUEFACTION SOLIDIFICATION OF GASES
    • F25BREFRIGERATION MACHINES, PLANTS OR SYSTEMS; COMBINED HEATING AND REFRIGERATION SYSTEMS; HEAT PUMP SYSTEMS
    • F25B2400/00General features or devices for refrigeration machines, plants or systems, combined heating and refrigeration systems or heat-pump systems, i.e. not limited to a particular subgroup of F25B
    • F25B2400/05Compression system with heat exchange between particular parts of the system
    • F25B2400/054Compression system with heat exchange between particular parts of the system between the suction tube of the compressor and another part of the cycle
    • FMECHANICAL ENGINEERING; LIGHTING; HEATING; WEAPONS; BLASTING
    • F25REFRIGERATION OR COOLING; COMBINED HEATING AND REFRIGERATION SYSTEMS; HEAT PUMP SYSTEMS; MANUFACTURE OR STORAGE OF ICE; LIQUEFACTION SOLIDIFICATION OF GASES
    • F25BREFRIGERATION MACHINES, PLANTS OR SYSTEMS; COMBINED HEATING AND REFRIGERATION SYSTEMS; HEAT PUMP SYSTEMS
    • F25B2700/00Sensing or detecting of parameters; Sensors therefor
    • F25B2700/19Pressures
    • F25B2700/193Pressures of the compressor
    • F25B2700/1931Discharge pressures
    • FMECHANICAL ENGINEERING; LIGHTING; HEATING; WEAPONS; BLASTING
    • F25REFRIGERATION OR COOLING; COMBINED HEATING AND REFRIGERATION SYSTEMS; HEAT PUMP SYSTEMS; MANUFACTURE OR STORAGE OF ICE; LIQUEFACTION SOLIDIFICATION OF GASES
    • F25BREFRIGERATION MACHINES, PLANTS OR SYSTEMS; COMBINED HEATING AND REFRIGERATION SYSTEMS; HEAT PUMP SYSTEMS
    • F25B2700/00Sensing or detecting of parameters; Sensors therefor
    • F25B2700/19Pressures
    • F25B2700/193Pressures of the compressor
    • F25B2700/1933Suction pressures
    • FMECHANICAL ENGINEERING; LIGHTING; HEATING; WEAPONS; BLASTING
    • F25REFRIGERATION OR COOLING; COMBINED HEATING AND REFRIGERATION SYSTEMS; HEAT PUMP SYSTEMS; MANUFACTURE OR STORAGE OF ICE; LIQUEFACTION SOLIDIFICATION OF GASES
    • F25BREFRIGERATION MACHINES, PLANTS OR SYSTEMS; COMBINED HEATING AND REFRIGERATION SYSTEMS; HEAT PUMP SYSTEMS
    • F25B2700/00Sensing or detecting of parameters; Sensors therefor
    • F25B2700/21Temperatures
    • F25B2700/2115Temperatures of a compressor or the drive means therefor
    • F25B2700/21151Temperatures of a compressor or the drive means therefor at the suction side of the compressor
    • FMECHANICAL ENGINEERING; LIGHTING; HEATING; WEAPONS; BLASTING
    • F25REFRIGERATION OR COOLING; COMBINED HEATING AND REFRIGERATION SYSTEMS; HEAT PUMP SYSTEMS; MANUFACTURE OR STORAGE OF ICE; LIQUEFACTION SOLIDIFICATION OF GASES
    • F25BREFRIGERATION MACHINES, PLANTS OR SYSTEMS; COMBINED HEATING AND REFRIGERATION SYSTEMS; HEAT PUMP SYSTEMS
    • F25B2700/00Sensing or detecting of parameters; Sensors therefor
    • F25B2700/21Temperatures
    • F25B2700/2115Temperatures of a compressor or the drive means therefor
    • F25B2700/21152Temperatures of a compressor or the drive means therefor at the discharge side of the compressor

Landscapes

  • Engineering & Computer Science (AREA)
  • Physics & Mathematics (AREA)
  • Mechanical Engineering (AREA)
  • Thermal Sciences (AREA)
  • General Engineering & Computer Science (AREA)
  • Air-Conditioning For Vehicles (AREA)

Abstract

Beschrieben wird eine Kälteanlage (10) für ein Kraftfahrzeug, wobei die Kälteanlage (10) um-fasst: einen Kältemittelverdichter (12); einen ersten, indirekt wirkenden Wärmeübertrager (18), der bezogen auf eine Strömungsrichtung von Kältemittel stromabwärts von dem Kältemittelverdichter (12) angeordnet ist und in dem die Kondensation von Kältemittel erfolgt; und wenigstens einen Verdampfer (22) mit einer dem Verdampfer (22) zugeordneten Ventileinrichtung (AE2), insbesondere einem zugeordneten Expansionsventil. Dabei ist vorgesehen, dass bezogen auf die Strömungsrichtung von Kältemittel in einem Kühlbetrieb der Kälteanlage (10) stromabwärts von dem ersten Wärmeübertrager (18) wenigstens ein zweiter, direkt oder indirekt wirkender Wärmeübertrager (40) angeordnet ist, in dem eine weitere Ab-/Auskühlung bzw. Unterkühlung des Kältemittels erfolgt.A refrigeration system (10) for a motor vehicle is described, the refrigeration system (10) comprising: a refrigerant compressor (12); a first, indirectly acting heat exchanger (18) which is arranged downstream of the refrigerant compressor (12) in relation to a flow direction of refrigerant and in which the condensation of refrigerant takes place; and at least one evaporator (22) with a valve device (AE2) assigned to the evaporator (22), in particular an assigned expansion valve. It is provided that at least one second, directly or indirectly acting heat exchanger (40) is arranged downstream of the first heat exchanger (18) with respect to the direction of flow of refrigerant in cooling mode of the refrigeration system (10), in which further cooling or supercooling of the refrigerant takes place.

Description

Die Erfindung betrifft eine Kälteanlage für ein Kraftfahrzeug, wobei die Kälteanlage umfasst: einen Kältemittelverdichter; einen ersten, indirekt wirkenden Wärmeübertrager, der bezogen auf eine Strömungsrichtung von Kältemittel stromabwärts von dem Kältemittelverdichter angeordnet ist und in dem eine Kühlung und/oder Kondensation von Kältemittel erfolgt; und wenigstens einen Verdampfer mit einer dem Verdampfer zugeordneten Ventileinrichtung, insbesondere einem zugeordneten Expansionsventil.The invention relates to a refrigeration system for a motor vehicle, the refrigeration system comprising: a refrigerant compressor; a first, indirectly acting heat exchanger, which is arranged downstream of the refrigerant compressor in relation to a flow direction of refrigerant and in which cooling and/or condensation of refrigerant takes place; and at least one evaporator with a valve device assigned to the evaporator, in particular an assigned expansion valve.

Aus der DE 10 2012 212 227 A1 ist eine Kälteanlage eines Kraftfahrzeugs bekannt mit einer Wärmeübertragungsvorrichtung, die eine vor einer Expansionsvorrichtung angeordnete Unterkühlstrecke aufweist.From the DE 10 2012 212 227 A1 a refrigeration system of a motor vehicle is known with a heat transfer device which has a sub-cooling section arranged in front of an expansion device.

Aus der DE 10 2017 212 309 B3 ist ein Kühlmittelkreislauf eines Kraftfahrzeugs mit zumindest zwei Kühlmittelkreisen und einem Latentwärmespeicher bekannt, wobei der Kühlmittelkreislauf eine Unterkühlstrecke aufweist. Es ist keine Kälteanlage bzw. kein Kältemittelkreislauf beschrieben.From the DE 10 2017 212 309 B3 a coolant circuit of a motor vehicle with at least two coolant circuits and a latent heat accumulator is known, the coolant circuit having a supercooling section. No refrigeration system or refrigerant circuit is described.

Es hat sich gezeigt, dass bei Kälteanlagen für elektrisch angetriebene Kraftfahrzeuge mit einem indirekt wirkenden ersten Wärmeübertrager, der auch als äußerer Wärmeübertrager bezeichnet werden kann, für einen leistungsoptimierten Betrieb ein höherer Kältemittelmassenstrom und damit eine höhere Fördermenge am Kältemittelverdichter erforderlich ist. Ferner kann eine erhöhte Fördermenge am Kältemittelverdichter unter Umständen akustisch in einem Innenraum des Fahrzeugs wahrgenommen werden (hohe Verdichterleistung), was unerwünscht ist. Weiterhin arbeiten solche (indirekten) Systeme zumeist bei höheren Druckverhältnissen, welche sich wiederum nachteilig auf die Systemeffizienz auswirken.It has been shown that in refrigeration systems for electrically powered motor vehicles with an indirectly acting first heat exchanger, which can also be referred to as an external heat exchanger, a higher refrigerant mass flow and thus a higher flow rate at the refrigerant compressor is required for performance-optimized operation. Furthermore, an increased delivery volume at the refrigerant compressor can sometimes be heard acoustically in an interior of the vehicle (high compressor output), which is undesirable. Furthermore, such (indirect) systems usually work at higher pressure ratios, which in turn have an adverse effect on system efficiency.

Die der Erfindung zu Grunde liegende Aufgabe wird darin gesehen, eine Kälteanlage anzugeben, bei der unter Beibehaltung der geforderten Systemleistung die Effizienz des Betriebs verbessert werden kann.The object on which the invention is based is seen as specifying a refrigeration system in which the efficiency of operation can be improved while maintaining the required system performance.

Diese Aufgabe wird gelöst durch eine Kälteanlage mit den Merkmalen des Patentanspruchs 1 und durch eine Kraftfahrzeug mit einer solchen Kälteanlage. Vorteilhafte Ausgestaltungen mit zweckmäßigen Weiterbildungen sind in den abhängigen Patentansprüchen angegeben.This object is achieved by a refrigeration system with the features of patent claim 1 and by a motor vehicle with such a refrigeration system. Advantageous configurations with expedient developments are specified in the dependent patent claims.

Vorgeschlagen wird also eine Kälteanlage für ein Kraftfahrzeug, wobei die Kälteanlage umfasst: einen Kältemittelverdichter; einen ersten, indirekt wirkenden Wärmeübertrager, der bezogen auf eine Strömungsrichtung von Kältemittel stromabwärts von dem Kältemittelverdichter angeordnet ist und in dem eine Kühlung und/oder Kondensation von Kältemittel erfolgt; und wenigstens einen Verdampfer mit einer dem Verdampfer zugeordneten Ventileinrichtung, insbesondere einem zugeordneten Expansionsventil. Dabei ist vorgesehen, dass bezogen auf die Strömungsrichtung von Kältemittel in einem Kühlbetrieb (AC-Betrieb) der Kälteanlage stromabwärts von dem ersten Wärmeübertrager wenigstens ein zweiter, direkt oder indirekt wirkender Wärmeübertrager angeordnet ist, in dem eine weitere Ab-/Auskühlung bzw. Unterkühlung des Kältemittels erfolgt.A refrigeration system for a motor vehicle is therefore proposed, the refrigeration system comprising: a refrigerant compressor; a first, indirectly acting heat exchanger, which is arranged downstream of the refrigerant compressor in relation to a flow direction of refrigerant and in which cooling and/or condensation of refrigerant takes place; and at least one evaporator with a valve device assigned to the evaporator, in particular an assigned expansion valve. It is provided that at least one second, directly or indirectly acting heat exchanger is arranged downstream of the first heat exchanger with respect to the direction of flow of refrigerant in cooling mode (AC mode) of the refrigeration system, in which further cooling/cooling or supercooling of the refrigerant takes place.

In Bezug auf die Wirkungsweise der hier beschriebenen Wärmeübertrager wird darauf hingewiesen, dass ein direkt wirkender Wärmeübertrager von Luft, insbesondere Umgebungsluft, direkt beaufschlagt ist, also eine direkte Wärmeübertragung zwischen Luft und Kältemittel erfolgt. Ein indirekt wirkender Wärmeübertrager weist einen Kühlmittelkreislauf auf, wobei die Wärmeübertragung zwischen Kühlmittel und Kältemittel erfolgt. Das Kühlmittel kann beispielsweise in einem von (Umgebungs-) Luft beaufschlagten im Kühlmittelkreislauf enthaltenen Kühler abgekühlt werden.With regard to the mode of operation of the heat exchanger described here, it is pointed out that air, in particular ambient air, acts directly on a directly acting heat exchanger, ie direct heat transfer takes place between air and refrigerant. An indirectly acting heat exchanger has a coolant circuit, with the heat being transferred between coolant and refrigerant. The coolant can be cooled, for example, in a cooler contained in the coolant circuit and acted upon by (ambient) air.

Durch die Einbindung mindestens einen zweiten, direkt oder indirekt wirkenden Wärmeübertragers kann die Effizienz der Kälteanlage verbessert werden. Durch die weitere Ab-/Auskühlung bzw. Unterkühlung kann das Temperaturniveau des Kältemittels weiter gesenkt werden, so dass es andernorts im Kältemittelkreislauf, beispielsweise im Verdampfer, mehr Wärme aufgenommen werden kann. Mit anderen Worten wird durch den zweiten Wärmeübertrager, der eine Unterkühlung des Kältemittels bewirkt, ein Enthalpiezugewinn erreicht, wodurch zum Erzielen derselben Kälteleistung ein reduzierter Kältemittelmassenstrom erforderlich wird. Durch die Ausgestaltung der erweiterten bzw. zusätzlichen Ab-/Auskühlstrecke bzw. Unterkühlstrecke als direkt oder indirekt wirkender Wärmeübertrager, können die den Wärmeübertrager beaufschlagende Luft oder das im Wärmeübertrager zirkulierende Kühlmittel als Wärmesenken wirken, die dem Kältemittel effektiv Wärme entziehen können.The efficiency of the refrigeration system can be improved by integrating at least one second, directly or indirectly acting heat exchanger. The temperature level of the refrigerant can be lowered further as a result of the further cooling down/cooling down or supercooling, so that more heat can be absorbed elsewhere in the refrigerant circuit, for example in the evaporator. In other words, the second heat exchanger, which causes supercooling of the refrigerant, achieves an enthalpy gain, as a result of which a reduced refrigerant mass flow is required to achieve the same refrigeration capacity. Due to the design of the extended or additional cooling/cooling section or sub-cooling section as a directly or indirectly acting heat exchanger, the air acting on the heat exchanger or the coolant circulating in the heat exchanger can act as heat sinks that can effectively extract heat from the coolant.

Bei der Kälteanlage kann der erste indirekt wirkende Wärmeübertrager mit einem ersten Kühlmittelkreislauf verbunden sein, in dem ein erstes Kühlmittel zirkuliert, und der zweite Wärmeübertrager kann als indirekt wirkender Wärmeübertrager mit einem zweiten Kühlmittelkreislauf verbunden sein, in dem ein zweites Kühlmittel zirkuliert. Das zweite Kühlmittel kann in seiner Zusammensetzung dem ersten Kühlmittel entsprechen. Kreislaufbezogen kann das zweite Kühlmittel unabhängig von dem ersten Kühlmittel zirkulieren. Mit anderen Worten zirkulieren das erste und das zweite Kühlmittel in getrennten Kühlm ittelkreisen.In the refrigeration system, the first indirectly acting heat exchanger can be connected to a first coolant circuit in which a first coolant circulates, and the second heat exchanger can be connected as an indirect heat exchanger to a second coolant circuit in which a second coolant circulates. The composition of the second coolant can correspond to that of the first coolant. In relation to the circuit, the second coolant can circulate independently of the first coolant. With other words The first and second coolants circulate in separate coolant circuits.

Die Kälteanlage kann wenigstens einen dritten Wärmeübertrager, insbesondere einen Chiller, aufweisen, der strömungstechnisch parallel oder in Reihe zu dem Verdampfer angeordnet ist. Insbesondere die strömungstechnisch parallel Anordnung bietet dabei für den Betrieb der Kälteanlage flexible Betriebseinstellungen, weil Kältemittel wahlweise durch den Verdampfer oder/und den dritten Wärmeübertrager (Chiller) geleitet werden kann. Der dritte Wärmeübertrager kann insbesondere dazu eingerichtet sein, mittels eines Kühlmittelkreislaufs Abwärme von wenigstens einer elektrischen Komponente des Kraftfahrzeugs, wie beispielsweise Hochvoltbatterie, ab-zuführen, wobei das erwärmte Kühlmittel die Wärme im dritten Wärmeübertrager bzw. Chiller an das zu verdampfende Kältemittel abgeben kann.The refrigeration system can have at least one third heat exchanger, in particular a chiller, which in terms of flow is arranged parallel to or in series with the evaporator. In particular, the parallel arrangement in terms of flow technology offers flexible operating settings for the operation of the refrigeration system, because refrigerant can be routed through the evaporator and/or the third heat exchanger (chiller) as desired. The third heat exchanger can in particular be set up to dissipate waste heat from at least one electrical component of the motor vehicle, such as a high-voltage battery, by means of a coolant circuit, with the heated coolant being able to give off the heat in the third heat exchanger or chiller to the refrigerant to be evaporated.

Bei der Kälteanlage kann der zweite Kühlmittelkreislauf mit dem dritten Wärmeübertrager, insbesondere Chiller, verbunden sein. Dabei kann der zweite Kühlmittelkreislauf mit dem zweiten Wärmeübertrager und dem dritten Wärmeübertrager, insbesondere Chiller, derart ausgebildet sein, dass der zweite Wärmeübertrager mit Kühlmittel beaufschlagt ist, das im Wesentlichen die tiefste Temperatur im zweiten Kühlmittelkreislauf aufweist. Mit anderen Worten ist der zweite Wärmeübertrager, der für die Unterkühlung von Kältemittel eingesetzt wird, in Strömungsrichtung des Kühlmittels dem dritten Wärmeübertrager bzw. Chiller als nächste Komponente nachgeschaltet. Man kann auch davon sprechen, dass der zweite Wärmeübertrager dem dritten Wärmeübertrager bzw. Chiller direkt nachgeschaltet ist. Hierdurch kann gewährleistet werden, dass im zweiten Wärmeübertrager stets Kühlmittel mit möglichst geringer Temperatur anliegt, so dass dem Kältemittel Wärme entzogen und dieses aus-/ abgekühlt bzw. unterkühlt werden kann.In the refrigeration system, the second coolant circuit can be connected to the third heat exchanger, in particular a chiller. The second coolant circuit can be designed with the second heat exchanger and the third heat exchanger, in particular a chiller, in such a way that the second heat exchanger is charged with coolant that essentially has the lowest temperature in the second coolant circuit. In other words, the second heat exchanger, which is used for the supercooling of refrigerant, is the next component downstream of the third heat exchanger or chiller in the flow direction of the coolant. One can also say that the second heat exchanger is directly downstream of the third heat exchanger or chiller. In this way, it can be ensured that coolant with the lowest possible temperature is always present in the second heat exchanger, so that heat can be withdrawn from the coolant and this can be cooled off or supercooled.

Die Kälteanlage kann in dem Kältemittelkreislauf einen Bypassabschnitt aufweisen, der dazu eingerichtet ist, den zweiten Wärmeübertrager zu umgehen. Hierdurch kann ein für die Ab-/Auskühlung bzw. Unterkühlung von Kältemitteln einzusetzender zweiter Wärmeübertrager auch in einer Kälteanlage mit Wärmepumpenfunktion eingesetzt werden, wobei in einem Wärmepumpenbetrieb keine Unterkühlung stattfindet bzw. erforderlich ist.The refrigeration system can have a bypass section in the refrigerant circuit, which is set up to bypass the second heat exchanger. As a result, a second heat exchanger to be used for cooling down/cooling down or subcooling of refrigerants can also be used in a refrigeration system with a heat pump function, with no subcooling taking place or being necessary in heat pump operation.

Dabei kann der Bypassabschnitt zwischen dem ersten Wärmeübertrager und dem zweiten Wärmeübertrager abzweigen und bezogen auf die Strömungsrichtung von Kältemittel in einem Kühlbetrieb der Kälteanlage stromabwärts von dem zweiten Wärmeübertrager mit dem Kältemittelkreislauf verbunden sein.The bypass section can branch off between the first heat exchanger and the second heat exchanger and be connected to the refrigerant circuit downstream of the second heat exchanger in relation to the flow direction of refrigerant in cooling operation of the refrigeration system.

Ergänzend kann stromabwärts von dem zweiten Wärmeübertrager und stromaufwärts von der Verbindung des Bypassabschnitts mit dem Kältemittkreislauf ein Absperrorgan, insbesondere als Rückschlagventil ausgeführt, angeordnet sein. Hierdurch kann ein Rückströmen von Kältemittel vermieden werden, wenn das Kältemittel den zweiten Wärmeübertrager umgehen soll.In addition, a shut-off device, in particular designed as a check valve, can be arranged downstream of the second heat exchanger and upstream of the connection of the bypass section to the refrigerant circuit. This can prevent refrigerant from flowing back if the refrigerant is to bypass the second heat exchanger.

Zwischen dem Abzweig des Bypassabschnitts und dem zweiten Wärmeübertrager kann eine Ventileinrichtung, insbesondere ein Absperrventil, angeordnet sein, die dazu eingerichtet ist, den Kältemittelstrom durch den zweiten Wärmeübertrager freizugeben oder zu verhindern. Weiter kann der Bypassabschnitt eine Bypassventileinrichtung, insbesondere ein Absperrventil, aufweisen, die dazu eingerichtet ist, den Kältemittelstrom durch den Bypassabschnitt freizugeben oder zu verhindern. Mittels wenigstens einer der vorgenannten Ventileinrichtungen ist es möglich, den Bypassabschnitt bzw. den zweiten Wärmeübertrager in den Kältemittelkreislauf einzubinden oder von der Durchströmung mit Kältemittel auszuschließen. Dies unterstützt die Anwendung bzw. den Einbau eines zweiten Wärmeübetragers für die Unterkühlung von Kältemittel in einer Kälteanlage mit Wärmepumpenfunktion.A valve device, in particular a shut-off valve, can be arranged between the branch of the bypass section and the second heat exchanger, which is set up to release or prevent the flow of refrigerant through the second heat exchanger. Furthermore, the bypass section can have a bypass valve device, in particular a shut-off valve, which is set up to release or prevent the flow of refrigerant through the bypass section. By means of at least one of the aforementioned valve devices, it is possible to integrate the bypass section or the second heat exchanger into the refrigerant circuit or to exclude it from the flow of refrigerant. This supports the use or installation of a second heat exchanger for the subcooling of refrigerants in a refrigeration system with a heat pump function.

In einer weiteren Ausgestaltung der Bypassventileinrichtung als stufenlosverstellbares Ventil können neben der Funktionsabbildung vollständiges Sperren bzw. Durchströmen auch beliebige Zwischenstellung ermöglicht werden, die ihrerseits für ein erweitertes Wärmemanagement innerhalb der Prozessführung eingesetzt werden können. Dabei wird ein gleichzeitiges Durchströmen beider Kältemittelstränge ermöglicht mit verschiedenen Kältemittelverteilungen.In a further embodiment of the bypass valve device as an infinitely variable valve, any intermediate position can be made possible in addition to the functional depiction of complete blocking or flow, which in turn can be used for extended heat management within the process control. Simultaneous flow through both refrigerant lines is made possible with different refrigerant distributions.

Der zweite Wärmeübertrager kann dabei luftseitig mit einem (stufenlos) verschließbaren Kühllufteintritt versehen werden, der seinerseits speziell bei niedrigeren Umgebungstemperaturen besagte Kältemittelverteilung positiv beeinflussen kann.The second heat exchanger can be provided on the air side with a (continuously) closable cooling air inlet, which in turn can have a positive effect on said refrigerant distribution, especially at lower ambient temperatures.

Ein Kraftfahrzeug, insbesondere ein zumindest teilweise elektrisch angetriebenes Kraftfahrzeug, kann mit einer oben beschriebenen Kälteanlage ausgerüstet sein. Bei einem Elektrofahrzeug kann der effiziente Betrieb der Kälteanlage unter Einbindung eines zweiten Wärmeübertragers als Ab-/- Auskühlstrecke bzw. Unterkühlungsstrecke zu Stromeinsparungen führen, so dass hierdurch eine größere Reichweite des Elektrofahrzeugs erzielt werden kann.A motor vehicle, in particular an at least partially electrically driven motor vehicle, can be equipped with a refrigeration system as described above. In an electric vehicle, the efficient operation of the refrigeration system with the integration of a second heat exchanger as a cooling/cooling section or supercooling section can lead to electricity savings, so that a greater range of the electric vehicle can be achieved.

Bei dem Kraftfahrzeug kann der zweite Wärmeübertrager als direkt wirkender Wärmeübertrager bezogen auf einen Luftstrom einem Kühlerpaket des Kraftfahrzeugs vorgeschaltet sein. Alternativ kann der zweite Wärmeübertrager als direkt wirkender Wärmeübertrager im Bereich einer Schürze des Kraftfahrzeugs, insbesondere in einem separat ausgeführten Luftkanal, angeordnet sein. Ferner kann der zweite Wärmeübertrager seitlich oder/und unterhalb eines üblicherweise mittig angeordneten Kühlers bzw. Kühlerpakets angeordnet bzw. angebracht sein.In the motor vehicle, the second heat exchanger can be connected upstream of a cooler package of the motor vehicle as a directly acting heat exchanger based on an air flow. Alternatively can the second heat exchanger can be arranged as a directly acting heat exchanger in the area of an apron of the motor vehicle, in particular in a separately designed air duct. Furthermore, the second heat exchanger can be arranged or attached to the side and/or below a cooler or cooler package, which is usually arranged in the middle.

Weitere Vorteile und Einzelheiten der Erfindung ergeben sich aus der nachfolgenden Beschreibung von Ausführungsformen unter Bezugnahme auf die Figuren. Dabei zeigt:

  • 1 ein schematisches und vereinfachtes Schaltbild einer Kälteanlage für ein Kraftfahrzeug;
  • 2 ein schematisches und vereinfachtes Schaltbild einer weiteren Kälteanlage für ein Kraftfahrzeug;
  • 3 ein schematisches und vereinfachtes Schaltbild einer weiteren Kälteanlage für ein Kraftfahrzeug;
  • 4 ein schematisches und vereinfachtes Schaltbild einer weiteren Kälteanlage für ein Kraftfahrzeug;
  • 5 ein schematisches und vereinfachtes Schaltbild einer weiteren Kälteanlage für ein Kraftfahrzeug;
  • 6 eine schematische und vereinfachte Darstellung eines Kraftfahrzeugs.
Further advantages and details of the invention result from the following description of embodiments with reference to the figures. It shows:
  • 1 a schematic and simplified circuit diagram of a refrigeration system for a motor vehicle;
  • 2 a schematic and simplified circuit diagram of another refrigeration system for a motor vehicle;
  • 3 a schematic and simplified circuit diagram of another refrigeration system for a motor vehicle;
  • 4 a schematic and simplified circuit diagram of another refrigeration system for a motor vehicle;
  • 5 a schematic and simplified circuit diagram of another refrigeration system for a motor vehicle;
  • 6 a schematic and simplified representation of a motor vehicle.

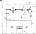
In 1 ist eine Ausführungsform einer Kälteanlage 10 für ein Kraftfahrzeug schematisch und vereinfacht dargestellt. Die Kälteanlage 10 umfasst einen Kältemittelkreislauf 11, der in einem Kälteanlagenbetrieb (kurz auch AC-Betrieb genannt) betrieben werden kann. Die Kälteanlage 10 umfasst einen Kältemittelverdichter 12, einen indirekt wirkenden ersten (äußeren) Wärmeübertrager 18 und einen ersten Verdampfer 22. Dem ersten Verdampfer 22 ist ein erstes Expansionsorgan, insbesondere Expansionsventil AE2, vorgeschaltet.In 1 an embodiment of a refrigeration system 10 for a motor vehicle is shown schematically and in simplified form. The refrigeration system 10 includes a refrigerant circuit 11, which can be operated in a refrigeration system mode (also called AC mode for short). The refrigeration system 10 includes a refrigerant compressor 12, an indirectly acting first (external) heat exchanger 18 and a first evaporator 22. The first evaporator 22 is preceded by a first expansion element, in particular an expansion valve AE2.

Der erste Wärmeübertrager 18 ist mit einem hier angedeuteten Kühlmittelkreislauf 18.1 verbunden. Im ersten Wärmeübertrager erfolgt somit eine Wärmeabgabe von dem erhitzten und unter Hochdruck stehenden Kältemittel an das Kühlmittel im Kühlmittelkreislauf 18.1. Das Kühlmittel im Kühlmittelkreislauf 18.1 kann seinerseits mittels eines beispielsweise mit Luft beaufschlagten Kühlers, der hier nicht dargestellt ist, gekühlt werden.The first heat exchanger 18 is connected to a coolant circuit 18.1 indicated here. In the first heat exchanger, heat is thus released from the heated and high-pressure refrigerant to the coolant in the coolant circuit 18.1. The coolant in the coolant circuit 18.1 can in turn be cooled by means of a cooler which is acted upon by air, for example, and which is not shown here.

Der erste Wärmeübertrager 18 kann mit einem hier als Rechteck illustrierten hochdruckseitigen Kältemittelspeicher 19, auch als Sammler bezeichnet, ausgeführt sein. Der Sammler 19 ist ausgangsseitig am ersten Wärmeübertrager 18 im Kältemittelkreis 11 vorgesehen. Alternativ kann ein niederdruckseitiger Kältemittelsammler 24 (Niederdruck-Akkumulator) vorgesehen sein, der gestrichelt dargestellt ist.The first heat exchanger 18 can be designed with a high-pressure-side refrigerant reservoir 19, also referred to as a collector, illustrated here as a rectangle. The collector 19 is provided on the outlet side on the first heat exchanger 18 in the refrigerant circuit 11 . Alternatively, a low-pressure-side refrigerant collector 24 (low-pressure accumulator) can be provided, which is shown in broken lines.

Stromabwärts von dem ersten Wärmeübertrager 18, der als Gaskühler bzw. Kondensator (Verflüssiger) wirkt bzw. eingesetzt wird, ist ein zweiter Wärmeübertrager 40 angeordnet. Der zweite Wärmeübertrager 40 dient dazu bzw. ist dazu eingerichtet, eine zusätzliche Aus-/ Abkühlung bzw. Unterkühlung des Kältemittels zu bewirken. Im Beispiel der 1 ist der zweite Wärmeübertrager 40 als direkt wirkender Wärmeübertrager ausgebildet, d.h. er wird direkt mit Luft, insbesondere Umgebungsluft UL beaufschlagt, um dem Kältemittel Wärme zu entziehen. Mit anderen Worten bildet der zweite Wärmeübertrager 40 eine Nachkühl- bzw. Unterkühlstrecke in dem Kältemittelkreislauf 11. A second heat exchanger 40 is arranged downstream of the first heat exchanger 18, which acts or is used as a gas cooler or condenser (liquefier). The second heat exchanger 40 serves or is set up to bring about additional cooling/cooling or supercooling of the refrigerant. In the example of 1 the second heat exchanger 40 is designed as a directly acting heat exchanger, ie air, in particular ambient air UL, is applied directly to it in order to extract heat from the refrigerant. In other words, the second heat exchanger 40 forms an after-cooling or sub-cooling section in the refrigerant circuit 11.

2 zeigt eine zur 1 im Wesentlichen gleich aufgebaute Kälteanlage 10, so dass für bereits beschriebene Komponenten Bezug auf die Beschreibung der 1 genommen werden kann. Im Unterschied zu dem direkt wirkenden zweiten Wärmeübertrager 40 der 1 ist der zweite Wärmeübertrager 40a der 2 als indirekt wirkender Wärmeübertrager ausgeführt. Der zweite Wärmeübertrager 40a ist hier mit einem Kühlmittelkreis 40.1 verbunden. Der Kühlmittelkreis 40.1 kann bezogen auf die gesamte Kälteanlage 10 auch als zweiter Kühlmittelkreislauf 40.1 bezeichnet werden, wobei der zum ersten Wärmeübertrager 18 zugeordnete Kühlmittelkreislauf 18.1 als erster Kühlmittelkreislauf bezeichnet werden kann. Der Kühlmittelkreislauf 40a des zweiten Wärmeübertragers 40a kann beispielsweise einen hier nicht dargestellten, von Luft beaufschlagten Kühler aufweisen, so dass das Kühlmittel gekühlt werden kann. Alternativ ist es möglich dass der zweite Kühlmittelkreis 40.1 mit einer weiteren Komponente des Kältemittelkreislaufs 11 verbunden ist, in der das Kühlmittel Wärme an das Kältemittel abgeben kann. 2 shows a to 1 essentially the same structure refrigeration system 10, so that for components already described reference to the description of 1 can be taken. In contrast to the directly acting second heat exchanger 40 of 1 is the second heat exchanger 40a of 2 designed as an indirect heat exchanger. The second heat exchanger 40a is connected here to a coolant circuit 40.1. The coolant circuit 40.1 can also be referred to as the second coolant circuit 40.1 in relation to the entire refrigeration system 10, with the coolant circuit 18.1 assigned to the first heat exchanger 18 being able to be referred to as the first coolant circuit. The coolant circuit 40a of the second heat exchanger 40a can have, for example, a cooler (not shown here) that is acted upon by air, so that the coolant can be cooled. Alternatively, it is possible for the second coolant circuit 40.1 to be connected to a further component of the coolant circuit 11, in which the coolant can give off heat to the coolant.

3 zeigt eine Kälteanlage 10, die grundsätzlich eine AC-Funktion (Innenraumkühlung/ Entfeuchtung über den Verdampfer 22 und Hochvoltkomponentenkühlung über den Chiller 28) abbildet und durch eine Erweiterung der Verschaltung im Umfeld des zweiten Wärmeübertragers um eine Wärmepumpenfunktion erweitert wird. Die Kälteanlage weist zusätzlich zu den aus den 1 und 2 bekannten Komponenten einen dritten Wärmeübertrager, insbesondere Chiller 28 auf. Der Verdampfer 22 ist einer Klimatisierungseinrichtung 32 für die Innenraumklimatisierung des Kraftfahrzeugs zugeordnet, was auch für die Beispiele der 1 und 2 gilt. Der dritte Wärmeübertrager 28 ist Teil einer nicht weiter dargestellten Kühlungseinrichtung einer elektrischen Antriebs- oder Speichereinheit des Kraftfahrzeugs, insbesondere kann der Chiller 28 für die Kühlung einer Batterie oder/und eines Elektromotors eingesetzt werden. Die Kühlungseinrichtung ist in der 3 vereinfacht durch Kühlmittelleitungen 28.2 repräsentiert, in denen ein Kühlmittel, beispielsweise ein Wasser-Glykol-Gemisch, zwischen dem Chiller 28 und der zu kühlenden elektrischen Komponente zirkulieren kann. 3 shows a refrigeration system 10, which basically represents an AC function (interior cooling/dehumidification via the evaporator 22 and high-voltage component cooling via the chiller 28) and is expanded to include a heat pump function by expanding the circuitry in the area surrounding the second heat exchanger. The refrigeration system has in addition to the from the 1 and 2 known components a third heat exchanger, in particular chiller 28. The evaporator 22 is associated with an air conditioning device 32 for the interior air conditioning of the motor vehicle, which also applies to the examples of 1 and 2 is applicable. The third heat exchanger 28 is part of a cooling device, not shown, of an electrical drive or storage unit unit of the motor vehicle, in particular the chiller 28 can be used to cool a battery and/or an electric motor. The cooling device is in the 3 represented in simplified form by coolant lines 28.2, in which a coolant, for example a water-glycol mixture, can circulate between the chiller 28 and the electrical component to be cooled.

Der Verdampfer 22 ist in allen Beispielen der 1 bis 3 beispielhaft als Frontverdampfer für ein Fahrzeug gezeigt. Der Verdampfer 22 steht stellvertretend auch für weitere in einem Fahrzeug mögliche Verdampfer, wie beispielsweise Fondverdampfer, die strömungstechnisch parallel zueinander angeordnet sein können. Mit anderen Worten umfasst die Kälteanlage 10 also wenigstens einen (für die Innenraumklimatisierung vorgesehenen) Verdampfer 22.The evaporator 22 is in all examples 1 until 3 shown as an example as a front evaporator for a vehicle. The evaporator 22 is also representative of other evaporators possible in a vehicle, such as rear evaporators, which can be arranged parallel to one another in terms of flow. In other words, the refrigeration system 10 thus comprises at least one evaporator 22 (provided for the interior air conditioning).

Die Kälteanlage kann optional einen inneren Wärmeübertrager 20 aufweisen, der in den 1 bis 3 gestrichelt dargestellt ist.The refrigeration system can optionally have an internal heat exchanger 20 in the 1 until 3 is shown in dashed lines.

Der zweite Wärmeübertrager kann in einer Kälteanlage 10 gemäß 3 als direkter Wärmeübertrager 40 (1) oder als indirekter Wärmeübertrager 40a (2) ausgeführt sein. Damit die Aus-/ Abkühlungs- bzw. Unterkühlungsfunktion bei Bedarf, insbesondere in einem Wärmepumpenbetrieb der Kälteanlage 10 umgangen werden kann, ist im Kältemittelkreislauf 11 ein Bypassabschnitt 42 angeordnet.The second heat exchanger can be used in a refrigeration system 10 according to FIG 3 as a direct heat exchanger 40 ( 1 ) or as an indirect heat exchanger 40a ( 2 ) to be executed. A bypass section 42 is arranged in the refrigerant circuit 11 so that the cooling off/cooling off or supercooling function can be bypassed if required, in particular when the refrigeration system 10 is in heat pump operation.

Der Bypassabschnitt 42 kann beispielweise stromaufwärts von dem zweiten Wärmeübertrager 40 abzweigen, etwa an einem Abzweig Ab4. Der Bypassabschnitt 42 kann bei einem Abzweig Ab9 wieder in den Kältemittelkreislauf 11 münden bzw. mit diesem verbunden sein. Der Abzweig Ab9 ist dabei stromabwärts von dem zweiten Wärmeübertrager 40 bzw. 40a angeordnet.The bypass section 42 can, for example, branch off upstream of the second heat exchanger 40, for example at a branch Ab4. At a branch Ab9, the bypass section 42 can again open into the refrigerant circuit 11 or be connected to it. The branch Ab9 is arranged downstream of the second heat exchanger 40 or 40a.

Zwischen dem Abzweig Ab4 und dem zweiten Wärmeübertrager 40 kann eine Ventileinrichtung, insbesondere ein Absperrventil A6 angeordnet sein. Im Bypassabschnitt 42 kann stromabwärts von dem Abzweig Ab4 eine Bypassventileinrichtung, insbesondere ein Bypassabsperrventil A7, angeordnet sein. Mittels der Absperrventile A6, A7 kann der Kältemittelfluss durch den zweiten Wärmeübertrager 40, 40a bzw. den Bypassabschnitt 42 ermöglicht oder verhindert werden oder (allgemeiner gesprochen) wahlweise eingestellt werden. Um eine Rückströmen von Kältemittel in den zweiten Wärmeübertrager 40, 40a zu verhindern kann stromabwärts von diesem und stromaufwärts von dem Abzweig Ab9 ein weiteres Absperrventil, hier als Rückschlagventil R6 ausgeführt, angeordnet sein. Die Absperrventile A6 und A7 können auch zu einem Kombinationsventil, beispielsweise einem 3-2-Wegeventil zusammengeführt werden.A valve device, in particular a shut-off valve A6, can be arranged between the branch Ab4 and the second heat exchanger 40. A bypass valve device, in particular a bypass shut-off valve A7, can be arranged in the bypass section 42 downstream of the branch Ab4. The flow of refrigerant through the second heat exchanger 40, 40a or the bypass section 42 can be made possible or prevented or (more generally speaking) optionally adjusted by means of the shut-off valves A6, A7. In order to prevent refrigerant from flowing back into the second heat exchanger 40, 40a, a further shut-off valve, designed here as a check valve R6, can be arranged downstream of this and upstream of the branch Ab9. The check valves A6 and A7 can also be combined to form a combination valve, for example a 3-2-way valve.

In einer weiteren Ausgestaltung können die Ventileinrichtungen A6 und A7 als stufenlosverstellbares Ventil ausgeführt sein. Hierdurch können neben der Funktionsabbildung vollständiges Sperren bzw. Durchströmen auch beliebige Zwischenstellungen ermöglicht werden, die ihrerseits für ein erweitertes Wärmemanagement innerhalb der Prozessführung eingesetzt werden können. Dabei wird ein gleichzeitiges Durchströmen beider Kältemittelstränge ermöglicht mit verschiedenen Kältemittelverteilungen. Der zweite Wärmeübertrager 40 kann dabei luftseitig mit einem (stufenlos) verschließbaren bzw. verstellbaren Kühllufteintritt 41 versehen sein, der seinerseits speziell bei niedrigeren Umgebungstemperaturen die Kältemittelverteilung positiv beeinflussen kann. Eine Kombination der stufenlos verstellbaren Ventile A6 und A7 entspräche in diesem Fall beispielsweise einem Drehschieberkonzept.In a further embodiment, the valve devices A6 and A7 can be designed as a continuously adjustable valve. In this way, in addition to the functional representation of complete blocking or flow, any intermediate positions can also be made possible, which in turn can be used for extended heat management within the process control. Simultaneous flow through both refrigerant lines is made possible with different refrigerant distributions. The second heat exchanger 40 can be provided on the air side with a (continuously) closable or adjustable cooling air inlet 41, which in turn can have a positive effect on the refrigerant distribution, especially at lower ambient temperatures. In this case, a combination of the infinitely variable valves A6 and A7 would correspond to a rotary slide concept, for example.

In einem Wärmepumpenbetrieb der Kälteanlage 10 kann das Kältemittel ausgehend vom Kältemittelverdichter 12 durch den ersten indirekt wirkenden Wärmeübertrager 18 strömen. Danach wird das Kältemittel bei geöffnetem Bypassabsperrventil A7 und geschlossenem Absperrventil A6 durch den Bypassabschnitt 42 geleitet. Von dem Bypassabschnitt 42 gelangt das Kältemittel im Kältemittelkreislauf 11 zu einem Abzweig Ab1. Danach strömt das Kältemittel je nach Einstellung von zugeordneten Expansionsventilen AE1 bzw. AE2 vollständig oder als Teilmassenstrom in den dritten Wärmeübertrager bzw. Chiller 28 oder/und den Verdampfer 22. Der dritte Wärmeübertrager bzw. Chiller kann dabei als Wasserwärmepumpen-Verdampfer eingesetzt werden, um über den Kühlmittelkreis 28.2 Wärme aus den Hochvoltkomponenten, insbesondere der E-Maschine aufzunehmen, die für die Erwärmung des Kabinenzuluftstroms eingesetzt wird. Wenn beispielsweise das Kühlmittel im Kühlmittelkreislauf erwärmt werden soll, um die Hochvoltbatterie auf eine optimale Betriebstemperatur zu bringen, etwa bei bzw. kurz nach einem Systemstart der Kälteanlage 10 beim Start des Fahrzeugs oder bei geringen Außentemperaturen, beispielsweise kleiner als 5°C, kann so die über den Verdichter 12 erzeugte Wärme, ohne vorhergehende Abgabe am ersten Wärmeübertrager 18 direkt zu dem Chiller 28 gefördert werden. Je nachdem, ob der Batterieheizprozess über einen rechts- oder linksläufigen Dreiecksprozess erfolgt ist dem Chiller 28 noch ein weiteres Expansionsorgan im Bedarfsfall nachzuschalten, insbesondere zwischen dem Chiller 28 und dem Abzweig Ab2.When the refrigeration system 10 is in heat pump operation, the refrigerant can flow from the refrigerant compressor 12 through the first indirectly acting heat exchanger 18 . The refrigerant is then passed through the bypass section 42 with the bypass shut-off valve A7 open and the shut-off valve A6 closed. From the bypass section 42, the refrigerant in the refrigerant circuit 11 reaches a branch Ab1. Thereafter, depending on the setting of associated expansion valves AE1 or AE2, the refrigerant flows completely or as a partial mass flow into the third heat exchanger or chiller 28 and/or the evaporator 22. The third heat exchanger or chiller can be used as a water heat pump evaporator in order to the coolant circuit 28.2 to absorb heat from the high-voltage components, in particular the electric machine, which is used for heating the cabin air flow. If, for example, the coolant in the coolant circuit is to be heated in order to bring the high-voltage battery to an optimal operating temperature, for example at or shortly after a system start of the refrigeration system 10 when the vehicle is started or at low outside temperatures, for example less than 5°C, the Heat generated via the compressor 12 can be conveyed directly to the chiller 28 without prior delivery at the first heat exchanger 18 . Depending on whether the battery heating process takes place via a right-handed or left-handed triangular process, the chiller 28 can be followed by another expansion element, if necessary, in particular between the chiller 28 and the branch Ab2.

Weiterhin kann ein Dreiecksprozess mit stehendem Wasser im Chiller 28 abgebildet werden, so dass nur die in Wärme umgewandelte Antriebsleistung des Verdichters 12 an den ersten Wärmeübertrager abgegeben wird, der seinerseits über eine nicht weiter dargestellte systemseitige Verschaltung mit einem Innenraumwärmeübertrager, seinerseits innerhalb des Klimagerätes 32 positioniert, zur Erwärmung des Kabinenzuluftstroms verbunden ist.Furthermore, a triangular process with standing water in the chiller 28 can be mapped, so that only the drive power of the compressor 12 that has been converted into heat is transferred to the first heat exchanger trager is delivered, which in turn is connected via a system-side interconnection, not shown, to an interior heat exchanger, in turn positioned within the air conditioning unit 32, for heating the cabin supply air flow.

4 zeigt eine zur 3 ähnliche Darstellung der Kälteanlage 10. In diesem Beispiel wird verdeutlicht, dass der zweite Kühlmittelkreislauf 40.1 mit dem Kühlmittelkreislauf 28.2 des Chillers 28 verbunden sein kann. Mit anderen Worten sind der Chiller 28 und der zweite (indirekte) Wärmeübertrager 40a im gleichen Kühlmittelkreislauf 40.1/28.2 eingebunden. Bei einer solchen Ausgestaltung ist der zweite Wärmeübertrager 40a im Kühlmittelkreislauf 40.1/28.2 so angeordnet, dass er im Wesentlichen direkt nach dem Chiller 28 angeordnet ist. Hierdurch wird an dem zweiten Wärmeübertrager 40a stets Kühlmittel mit einer möglichst geringen, insbesondere innerhalb des Kühlmittelkreislaufs tiefsten, Temperatur bereitgestellt. Nachdem das Kühlmittel durch den zweiten Wärmeübertrager 40a geströmt ist, gelangt es zu der zu kühlenden (Hochvolt-)Batterie 44, bevor das Kühlmittel im Chiller 28 wieder Wäre an das Kältemittel im Kältemittelkreislauf 11 abgibt. Alternativ ist auch eine geänderte Verschaltung in der Weise zweiter Wärmeübertrager 40a zum Chiller 28 und danach zur Hochvoltkomponente 44 denkbar. 4 shows a to 3 Similar representation of the refrigeration system 10. This example makes it clear that the second coolant circuit 40.1 can be connected to the coolant circuit 28.2 of the chiller 28. In other words, the chiller 28 and the second (indirect) heat exchanger 40a are integrated in the same coolant circuit 40.1/28.2. In such a configuration, the second heat exchanger 40a is arranged in the coolant circuit 40.1/28.2 in such a way that it is arranged essentially directly after the chiller 28. As a result, coolant is always provided at the second heat exchanger 40a at the lowest possible temperature, in particular the lowest temperature within the coolant circuit. After the coolant has flowed through the second heat exchanger 40a, it reaches the (high-voltage) battery 44 to be cooled before the coolant in the chiller 28 gives off heat to the coolant in the coolant circuit 11 again. Alternatively, a modified connection in the manner of the second heat exchanger 40a to the chiller 28 and then to the high-voltage component 44 is also conceivable.

Es wird allgemein darauf hingewiesen, dass bei einem indirekten Wärmeübertrager 40a unterschiedliche Kühlmittel eingesetzt werden können, wie beispielsweise ein Wasser-Glykol-Gemisch, ein Öl oder eine sonstige als Kühlmittel geeignete Flüssigkeit bzw. Flüssigkeitszusammensetzung.It is generally pointed out that in the case of an indirect heat exchanger 40a, different coolants can be used, such as, for example, a water-glycol mixture, an oil or another liquid or liquid composition suitable as a coolant.

5 zeigt ein Beispiel einer etwas komplexeren Kälteanlage 10, die den zweiten, direkt oder indirekt wirkenden Wärmeübertrager 40 bzw. 40a und den Bypassabschnitt 42 aufweist. Die Kälteanlage 10 weist insbesondere auch eine erweiterte Wärmepumpenfunktion sowie Reheat-Funktion auf. Zusätzlich bzw. ergänzend zu der Konfiguration gemäß der 1 bis 4 ist stromabwärts des Verdichters 12 ein Absperrventil A4 angeordnet. Stromaufwärts des Verdampfers 22 ist ein Expansionsventil AE2 vorgesehen. 5 shows an example of a somewhat more complex refrigeration system 10, which has the second, directly or indirectly acting heat exchanger 40 or 40a and the bypass section 42. The refrigeration system 10 also has, in particular, an extended heat pump function and a reheat function. In addition or in addition to the configuration according to the 1 until 4 a check valve A4 is arranged downstream of the compressor 12 . An expansion valve AE2 is provided upstream of the evaporator 22 .

Im Rahmen der Beschreibung der 5 wird in dem gesamten Kältemittelkreislauf 11 der Kälteanlage 10 der Abschnitt vom Verdichter 12 zum äußeren Wärmeübertrager 18, zum inneren Wärmeübertrager 20 und zum Verdampfer 22 als Primärstrang 14 bezeichnet.As part of the description of 5 the section from the compressor 12 to the external heat exchanger 18, to the internal heat exchanger 20 and to the evaporator 22 is referred to as the primary line 14 in the entire refrigerant circuit 11 of the refrigeration system 10.

Die Kälteanlage 10 umfasst weiter ein Heizregister 26 (auch als Heizkondensator oder Heizgaskühler bezeichnet). Stromaufwärts des Heizregisters 26 ist ein Absperrventil A3 angeordnet. Stromabwärts des Heizregisters 26 ist ein Absperrventil A1 angeordnet. Ferner ist stromabwärts des Heizregisters 26 ein Expansionsventil AE4 angeordnet.The refrigeration system 10 further includes a heating register 26 (also referred to as a heating condenser or heating gas cooler). A shut-off valve A3 is arranged upstream of the heating register 26 . A shut-off valve A1 is arranged downstream of the heating register 26 . Furthermore, an expansion valve AE4 is arranged downstream of the heating register 26 .

Im Rahmen der Beschreibung der 5 wird in dem gesamten Kältemittelkreislauf der Kälteanlage 10 der Abschnitt vom Verdichter 12 zum Heizregister 26, zum Expansionsventil AE4 und zu einem Abzweig Ab2 als Sekundärstrang 16 bezeichnet. Der Sekundärstrang 16 umfasst einen Heizzweig 16.1, der sich von dem Absperrventil A3 über das Heizregister 26 zum Absperrventil A1 erstreckt. Weiter umfasst der Sekundärstrang 16 einen Nachheizzweig bzw. Reheat-Zweig 16.2, der stromaufwärts mit dem Heizregister 26 und stromabwärts mit dem äußeren Wärmeübertrager 18 fluidverbindbar ist. Dabei mündet der Sekundärstrang 16 bzw. der Reheat-Zweig 16.2 bei einem Abzweigpunkt Ab2 in den Primärstrang 14.As part of the description of 5 the section from the compressor 12 to the heating register 26, to the expansion valve AE4 and to a branch Ab2 is referred to as the secondary line 16 in the entire refrigerant circuit of the refrigeration system 10. The secondary branch 16 includes a heating branch 16.1, which extends from the shut-off valve A3 via the heating register 26 to the shut-off valve A1. Secondary line 16 also includes an after-heating branch or reheat branch 16.2, which can be fluidly connected to heating register 26 upstream and to external heat exchanger 18 downstream. The secondary line 16 or the reheat branch 16.2 opens into the primary line 14 at a branching point Ab2.

Die Kälteanlage 10 der 5 kann in unterschiedlichen Modi betrieben werden, die nachfolgend kurz beschrieben werden.The refrigeration system 10 of 5 can be operated in different modes, which are briefly described below.

Im AC-Betrieb des Kältemittelkreislaufs 11 strömt das auf Hochdruck verdichtete Kältemittel ausgehend von dem Kältemittelverdichter 12 bei offenem Absperrventil A4 in den äußeren Wärmeübertrager 18. Von dort strömt es zu dem zweiten Wärmeübertrager 40/ 40a zur weiteren Abkühlung bzw. Unterkühlung des Kältemittels, dem sich stromabwärts anschließenden Hochdruckabschnitt des inneren Wärmeübertragers 20 und dem vollständig geöffneten Expansionsventil AE3. Über einen Abzweigpunkt Ab1 kann das Kältemittel zum Expansionsventil AE2 und in den Innenraum-Verdampfer 22 strömen (Verdampferabschnitt 22.1). Parallel oder alternativ kann das Kältemittel über einen Abzweigpunkt Ab4 und das Expansionsventil AE1 in den Chiller 28 strömen (Chillerabschnitt 28.1). Aus dem Verdampfer 22 oder/und dem Chiller 28 strömt das Kältemittel niederdruckseitig in den Sammler 24 und durch den Niederdruckabschnitt des inneren Wärmeübertragers 20 zurück zum Verdichter 12. Für das Beispiel der Kälteanlage 10 der 5 wird eher ein niederdruckseitiger Kältemittelsammler 24 vorgesehen, weshalb der hochdruckseitige Sammler 19 gestrichelt dargestellt istIn AC operation of the refrigerant circuit 11, the refrigerant compressed to high pressure flows from the refrigerant compressor 12 with the shut-off valve A4 open into the outer heat exchanger 18. From there it flows to the second heat exchanger 40/ 40a for further cooling or subcooling of the refrigerant which is downstream subsequent high-pressure section of the internal heat exchanger 20 and the fully open expansion valve AE3. The refrigerant can flow to the expansion valve AE2 and into the interior evaporator 22 via a branch point Ab1 (evaporator section 22.1). In parallel or alternatively, the refrigerant can flow into the chiller 28 (chiller section 28.1) via a branch point Ab4 and the expansion valve AE1. The refrigerant flows from the evaporator 22 and/or the chiller 28 on the low-pressure side into the collector 24 and through the low-pressure section of the internal heat exchanger 20 back to the compressor 12. For the example of the refrigeration system 10 of FIG 5 a refrigerant collector 24 on the low-pressure side is provided, which is why the collector 19 on the high-pressure side is shown in dashed lines

In dem AC-Betrieb ist der Heizzweig 16.1 bzw. der Sekundärstrang 16 mittels des Absperrventils A3 abgesperrt, so dass heißes Kältemittel nicht durch das Heizregister 26 strömen kann. Zur Rückholung von Kältemittel aus dem inaktiven Heizzweig 16.1 kann das als Absperrventil ausgebildete Absperrorgan A5 geöffnet werden, so dass das Kältemittel über das Absperrorgan A5 und das Rückschlagventil R2, bei gleichzeitig geschlossenem Absperrorgan A2, in Richtung des Sammlers 24 strömen kann.In AC operation, the heating branch 16.1 or the secondary line 16 is shut off by means of the shut-off valve A3, so that hot refrigerant cannot flow through the heating register 26. To retrieve refrigerant from the inactive heating branch 16.1, the shut-off element A5, which is designed as a shut-off valve, can be opened so that the refrigerant can flow in the direction of the collector 24 via the shut-off element A5 and the non-return valve R2, with the shut-off element A2 being closed at the same time.

Im AC-Betrieb wird der zweite Wärmeübertrager 40, 40a als Ab-/ Auskühl- bzw. Unterkühlungsstrecke von Kältemittel durchströmt, wie dies bereits oben für die Beispiele der 1 bis 4 beschrieben worden ist. Dabei ist insbesondere das Absperrventil A6 geöffnet und das Bypassabsperrventil A7 ist geschlossen.In AC operation, refrigerant flows through the second heat exchanger 40, 40a as a cooling/cooling or supercooling section, as already mentioned above for the examples in FIG 1 until 4 has been described. In particular, the shut-off valve A6 is open and the bypass shut-off valve A7 is closed.

Im Heizbetrieb des Kältemittelkreislaufs 11 wird das Absperrventil A4 geschlossen und das Absperrventil A3 geöffnet, so dass heißes Kältemittel in den Heizzweig 16.1 strömen kann.In the heating mode of the refrigerant circuit 11, the shut-off valve A4 is closed and the shut-off valve A3 is opened, so that hot refrigerant can flow into the heating branch 16.1.

Zur Durchführung der Heizfunktion mittels des Chillers 28 zur Realisierung eines Wasser-Wärmepumpenbetriebs strömt das mittels des Kältemittelverdichters 12 verdichtete Kältemittel über das geöffnete Absperrventil A3 in das Heizregister 26 . Am Heizregister 26 wird Wärme an einen in den Fahrzeuginnenraum geführten Zuluftstrom L abgegeben. Das Kältemittel strömt anschließend über das geöffnete Absperrventil A1 und den Abzweigpunkt Ab1. Es wird mittels des Expansionsventils AE1 in den Chiller 28 zur Aufnahme von Abwärme der in einem Kühlmittelkreislauf 28.2 angeordneten elektrischen und/oder elektronischen Komponenten entspannt. Bei dieser Heizfunktion sind die Expansionsventile AE3 und AE4 geschlossen, das Absperrventil A5 geschlossen und das Absperrventil A2 geöffnet. Dabei kann über das Absperrventil A2 im Wasser-Wärmepumpenbetrieb ausgelagertes Kältemittel aus einem Bidirektionalzweig 14.1 bzw. dem Primärstrang 14 abgesaugt und über das Rückschlagventil R2 dem Sammler 24 zugeführt werden.In order to carry out the heating function by means of the chiller 28 in order to implement water heat pump operation, the refrigerant compressed by means of the refrigerant compressor 12 flows into the heating register 26 via the open shut-off valve A3. At the heating register 26, heat is given off to a supply air flow L guided into the vehicle interior. The refrigerant then flows via the open shut-off valve A1 and the branch point Ab1. It is expanded by means of the expansion valve AE1 in the chiller 28 to absorb waste heat from the electrical and/or electronic components arranged in a coolant circuit 28.2. With this heating function, the expansion valves AE3 and AE4 are closed, the shut-off valve A5 is closed and the shut-off valve A2 is open. In this case, via the shut-off valve A2 during water heat pump operation, refrigerant that has been removed can be sucked out of a bidirectional branch 14.1 or the primary line 14 and fed to the collector 24 via the check valve R2.

Zur Durchführung der Heizfunktion für den Innenraum des Kraftfahrzeugs mittels des ersten (äußeren) Wärmeübertragers 18 als Wärmepumpenverdampfer strömt das mittels des Kältemittelverdichters 12 verdichtete Kältemittel über das geöffnete Absperrventil A3 zur Abgabe von Wärme an einen Zuluftstrom L in das Heizregister 26. Anschließend wird es über das geöffnete Absperrventil A1 mittels des Expansionsventils AE3 in den äußeren Wärmeübertrager 18 zur Aufnahme von Wärme aus der Umgebungsluft entspannt. Danach strömt das Kältemittel über einen Wärmepumpenrückführzweig 15 zum Sammler 24 und zurück zum Kältemittelverdichter 12. Die Expansionsventile AE1, AE2 und AE4 bleiben dabei, ebenso wie das Absperrventil A5, geschlossen.To carry out the heating function for the interior of the motor vehicle by means of the first (outer) heat exchanger 18 as a heat pump evaporator, the refrigerant compressed by means of the refrigerant compressor 12 flows via the open shut-off valve A3 to release heat to an inlet air flow L into the heating register 26. It is then discharged via the open check valve A1 relaxed by means of the expansion valve AE3 in the outer heat exchanger 18 for absorbing heat from the ambient air. The refrigerant then flows via a heat pump return branch 15 to the collector 24 and back to the refrigerant compressor 12. The expansion valves AE1, AE2 and AE4 remain closed, as does the shut-off valve A5.

Wie sich aus der Darstellung der 5 ergibt, wird bei dieser Heizfunktion mit dem ersten Wärmeübertrager 18 als Wärmepumpenverdampfer, das Kältemittel durch den Bypassabschnitt 42 geleitet. Dabei ist das Bypassabsperrventil A7 geöffnet und das Absperrventil A6 ist geschlossen. Ein Rückströmen von Kältemittel in den zweiten Wärmeübertrager 40, 40a wird dabei durch das Rückschlagventil R6 verhindert.As can be seen from the presentation of 5 results, the refrigerant is passed through the bypass section 42 in this heating function with the first heat exchanger 18 as a heat pump evaporator. The bypass shut-off valve A7 is open and the shut-off valve A6 is closed. A backflow of refrigerant into the second heat exchanger 40, 40a is prevented by the check valve R6.

Wird das Rückschlagventil R6 gegen ein nicht dargestelltes Absperrventil getauscht, kann der zweite Wärmeübertrage 28 auch in einem Wärmepumpenbetrieb bei entgegengesetzter Durchströmung zum AC-Betrieb eingebunden werden und dabei direkt Wärme aus der Umgebungsluft aufnehmen. Ansonsten erfolgt bzw. kann wie beschrieben eine Wärmeaufnahme über den ersten Wärmeübertrager 18 indirekt über die Umgebungsluft bzw. über weitere in den Kühlmittelkreis 18.1 wärmeeinbringende Komponenten erfolgen.If the check valve R6 is exchanged for a shut-off valve (not shown), the second heat exchanger 28 can also be integrated in heat pump operation with the opposite flow to AC operation and thereby absorb heat directly from the ambient air. Otherwise, as described, heat is or can be absorbed via the first heat exchanger 18 indirectly via the ambient air or via other components that introduce heat into the coolant circuit 18.1.

Eine indirekte Dreiecksschaltung kann dadurch realisiert werden, dass bei geöffnetem Absperrventil A1 das von dem Kältemittelverdichter 12 verdichtete Kältemittel mittels des Expansionsventils AE1 in den Chiller 28 entspannt wird, wobei gleichzeitig kühlmittelseitig, also in dem Kühlmittelkreislauf 28.2 kein Massenstrom erzeugt wird, also bspw. das als Kühlmittel verwendete Fluid, wie etwa Wasser oder Wasser-Glykol-Gemisch, auf der Kühlmittelseite des Chillers 28 stehen bleibt bzw. der Chiller 28 nicht aktiv von Kühlmittel durchströmt wird. Die Expansionsventile AE2, AE3 und AE4 bleiben bei dieser Schaltvariante geschlossen.An indirect delta connection can be implemented in that, when the shut-off valve A1 is open, the refrigerant compressed by the refrigerant compressor 12 is expanded by means of the expansion valve AE1 into the chiller 28, with no mass flow being generated at the same time on the coolant side, i.e. in the coolant circuit 28.2, i.e. the as Coolant fluid used, such as water or water-glycol mixture, remains on the coolant side of the chiller 28 or the chiller 28 is not actively flowed through by coolant. The expansion valves AE2, AE3 and AE4 remain closed with this switching variant.

Bei einem Nachheiz- bzw.- Reheat-Betrieb wird der in den Fahrzeuginnenraum zugeführte Zuluftstrom L mittels des Verdampfers 22 zunächst gekühlt und damit entfeuchtet. Mit der auf das Kältemittel durch Verdampfung und Entfeuchtung übertragenen Wärme sowie der dem Kältemittel über den Verdichter 12 zugeführten Wärme kann der Zuluftstrom L mittels des Heizregisters 26 vollständig oder zumindest teilweise wieder erwärmt werden.In an after-heating or reheat operation, the supply air flow L fed into the vehicle interior is first cooled by means of the evaporator 22 and thus dehumidified. With the heat transferred to the refrigerant by evaporation and dehumidification and the heat supplied to the refrigerant via the compressor 12, the supply air flow L can be completely or at least partially reheated by means of the heating register 26.

Hierzu weist die Kälteanlage 10, insbesondere das Klimagerät 32, zwischen dem Verdampfer 22 und dem Heizregister 26 einstellbare, insbesondere steuerbare und schwenkbare, Temperaturklappen auf, die hier aber nicht weiter dargestellt sind.For this purpose, the refrigeration system 10, in particular the air conditioning unit 32, between the evaporator 22 and the heating register 26 has adjustable, in particular controllable and pivotable, temperature flaps, which are not shown here in detail.

Es wird darauf hingewiesen, dass in den 1 bis 5 jeweils mehrere Temperatur- oder/und Drucksensoren ptX (X = Zahl) dargestellt sind, wobei diese insbesondere dazu dienen, entsprechende Temperatur- oder/und Druckwerte erfassen zu können, die beim Betrieb der Kälteanlage 10 berücksichtigt werden können. Es wird darauf hingewiesen, dass die Lage oder/und die Anzahl an solchen Sensoren auch variieren kann und hier in den 1 bis 5 rein beispielhaft gezeigt ist.It is noted that in the 1 until 5 several temperature and/or pressure sensors ptX (X=number) are shown, these serving in particular to be able to detect corresponding temperature and/or pressure values that can be taken into account during operation of the refrigeration system 10 . It is pointed out that the location and/or the number of such sensors can also vary, and here in the 1 until 5 is shown purely as an example.

6 zeigt in einer schematischen und vereinfachten Darstellung ein Kraftfahrzeug 50, das eine oben beschriebene Kälteanlage 10 aufweisen kann. Die Kälteanlage 10 ist in der 6 lediglich als vereinfachtes gestricheltes Rechteck dargestellt. Der oben für ein Beispiel der Kälteanlage 10 beschriebene direkt wirkende zweite Wärmeübertrager 40 kann bei einem solchen Fahrzeug 50 im Bereich einer Schürze 52 angeordnet sein. Mit Schürze 52 wird dabei ein im Frontbereich oder Seitenbereich des Kraftfahrzeugs 50 angeordnetes Bauteil bezeichnet, das von außen sichtbar ist. Der zweite Wärmeübertrager 40 kann dabei insbesondere hinter bzw. in einer solchen Schürze 52 angeordnet sein, so dass der zweite Wärmeübertrager 40 von außen nicht sichtbar bzw. schwer einsehbar am Fahrzeug 50 angebracht ist. Die beiden rein beispielhaft und illustrativ dargestellten, gestrichelten Rechtecke 40 zeigen mögliche Positionen eines zweiten Wärmeübertragers 40, beispielsweise vorne am Fahrzeug 50, etwa im Bereich eines üblichen Kühlers 54 bzw. Kühlerpakets 54, oder seitlich bzw. seitliche vorne am Fahrzeug 50, etwa im Bereich von Lufteinlässen 56 bzw. einem Kotflügel 58. 6 shows a motor vehicle 50 in a schematic and simplified representation, which can have a refrigeration system 10 as described above. The refrigeration system 10 is in the 6 only shown as a simplified dashed rectangle. The directly acting second heat exchanger 40 described above for an example of the refrigeration system 10 can be arranged in such a vehicle 50 in the area of an apron 52 . The apron 52 designates a component which is arranged in the front area or side area of the motor vehicle 50 and is visible from the outside. The second heat exchanger 40 can in particular be arranged behind or in such an apron 52 so that the second heat exchanger 40 is not visible from the outside or is attached to the vehicle 50 so that it is difficult to see. The two dashed rectangles 40 shown purely by way of example and illustratively show possible positions of a second heat exchanger 40, for example at the front of the vehicle 50, for example in the area of a conventional cooler 54 or cooler pack 54, or on the side or at the front of the vehicle 50, for example in the area of air intakes 56 and a fender 58.

Die hier in verschiedenen Beispielen vorgestellte Kälteanlage mit einem ersten (äußeren), indirekt wirkenden Wärmeübertrager 18 weist zur Steigerung der Effizienz des Kälteanlagenbetriebs, insbesondere in einem Kühlbetrieb (AC-Betrieb), den zweiten Wärmeübertrager 40, 40a zur weiteren Aus-/ Abkühlung bzw. Unterkühlung von Kältemittel auf. Optional kann für eine Kälteanlage 10 mit Wärmepumpenfunktion (3 bis 5) ein Bypassabschnitt 42 angeordnet sein, so dass der zweite Wärmeübertrager 40, 40a in Abhängigkeit von einem ausgewählten Betriebszustand der Kälteanlage 10 umgangen werden kann bzw. das Durchströmen mit Kältemittel verhindert bzw. inaktiviert werden kann.The refrigeration system presented here in various examples with a first (external), indirectly acting heat exchanger 18 has the second heat exchanger 40, 40a for further cooling/cooling or Refrigerant subcooling. Optionally, for a refrigeration system 10 with heat pump function ( 3 until 5 ) A bypass section 42 may be arranged so that the second heat exchanger 40, 40a can be bypassed depending on a selected operating state of the refrigeration system 10 or the flow of refrigerant can be prevented or deactivated.

Wie sich aus den verschiedenen Beispielen ergibt, ist die Umsetzung bzw. Einbindung von wenigsten einem zweiten Wärmeübertrager 40, 40a generell für alle Kältemittel bzw. alle Kältekreisvarianten denkbar. Die beschriebene Struktur der Kältanlagen 10 kann sowohl für unterkritisch als auch für überkritisch arbeitende Kältemittel bzw. Prozesse angewandt werden. Weiter ist es, wie oben beschrieben, einerseits möglich diesen Aufbau für Systeme mit einem hochdruckseitig angeordneten Kältemittelspeicher 19 umzusetzen und damit eine reale Unterkühlung des im System zirkulierenden Kältemittels zu erwirken. Andererseits können aber auch Systeme mit niederdruckseitig angeordneten Kältemittelspeichern 24 von einem nachgelagerten Wärmeübertrager 40, 40a profitieren, der letztlich ein weitere Auskühlung des Kältemittels ermöglicht und damit den Gesamtprozess effizienter arbeiten lässt.As can be seen from the various examples, the implementation or integration of at least one second heat exchanger 40, 40a is generally conceivable for all refrigerants or all refrigeration circuit variants. The described structure of the refrigeration system 10 can be used for both subcritical and supercritical refrigerants or processes. Furthermore, as described above, it is possible on the one hand to implement this design for systems with a refrigerant reservoir 19 arranged on the high-pressure side and thus to achieve real supercooling of the refrigerant circulating in the system. On the other hand, however, systems with refrigerant reservoirs 24 arranged on the low-pressure side can also benefit from a downstream heat exchanger 40, 40a, which ultimately enables the refrigerant to cool down further and thus allows the overall process to work more efficiently.

ZITATE ENTHALTEN IN DER BESCHREIBUNGQUOTES INCLUDED IN DESCRIPTION

Diese Liste der vom Anmelder aufgeführten Dokumente wurde automatisiert erzeugt und ist ausschließlich zur besseren Information des Lesers aufgenommen. Die Liste ist nicht Bestandteil der deutschen Patent- bzw. Gebrauchsmusteranmeldung. Das DPMA übernimmt keinerlei Haftung für etwaige Fehler oder Auslassungen.This list of documents cited by the applicant was generated automatically and is included solely for the better information of the reader. The list is not part of the German patent or utility model application. The DPMA assumes no liability for any errors or omissions.

Zitierte PatentliteraturPatent Literature Cited

  • DE 102012212227 A1 [0002]DE 102012212227 A1 [0002]
  • DE 102017212309 B3 [0003]DE 102017212309 B3 [0003]

Claims (12)

Kälteanlage (10) für ein Kraftfahrzeug, wobei die Kälteanlage (10) umfasst: einen Kältemittelverdichter (12); einen ersten, indirekt wirkenden Wärmeübertrager (18), der bezogen auf eine Strömungsrichtung von Kältemittel stromabwärts von dem Kältemittelverdichter (12) angeordnet ist und in dem die Kondensation von Kältemittel erfolgt; wenigstens einen Verdampfer (22) mit einer dem Verdampfer (22) zugeordneten Ventileinrichtung (AE2), insbesondere einem zugeordneten Expansionsventil; dadurch gekennzeichnet, dass bezogen auf die Strömungsrichtung von Kältemittel in einem Kühlbetrieb der Kälteanlage (10) stromabwärts von dem ersten Wärmeübertrager (18) wenigstens ein zweiter, direkt oder indirekt wirkender Wärmeübertrager (40) angeordnet ist, in dem eine weitere Ab-/Auskühlung bzw. Unterkühlung des Kältemittels erfolgt.Refrigeration system (10) for a motor vehicle, the refrigeration system (10) comprising: a refrigerant compressor (12); a first, indirectly acting heat exchanger (18) which is arranged downstream of the refrigerant compressor (12) in relation to a flow direction of refrigerant and in which the condensation of refrigerant takes place; at least one evaporator (22) with a valve device (AE2) assigned to the evaporator (22), in particular an assigned expansion valve; characterized in that at least one second, directly or indirectly acting heat exchanger (40) is arranged downstream of the first heat exchanger (18) with respect to the direction of flow of refrigerant in cooling operation of the refrigeration system (10), in which further cooling/cooling or .Subcooling of the refrigerant takes place. Kälteanlage (10) nach Anspruch 1, dadurch gekennzeichnet, dass der erste indirekt wirkende Wärmeübertrager (18) mit einem ersten Kühlmittelkreislauf (18.1) verbunden ist, in dem ein erstes Kühlmittel zirkuliert, und der zweite Wärmeübertrager (40) als indirekt wirkender Wärmeübertrager (40a) mit einem zweiten Kühlmittelkreislauf (40.1) verbunden ist, in dem ein zweites Kühlmittel zirkuliert.Refrigeration system (10) after claim 1 , characterized in that the first indirectly acting heat exchanger (18) is connected to a first coolant circuit (18.1) in which a first coolant circulates, and the second heat exchanger (40) as an indirectly acting heat exchanger (40a) is connected to a second coolant circuit (40.1 ) is connected, in which a second coolant circulates. Kälteanlage (10) nach Anspruch 1 oder 2, dadurch gekennzeichnet, dass sie wenigstens einen dritten Wärmeübertrager (28), insbesondere Chiller, aufweist, der strömungstechnisch parallel oder in Reihe zu dem Verdampfer (22) angeordnet ist.Refrigeration system (10) after claim 1 or 2 , characterized in that it has at least one third heat exchanger (28), in particular a chiller, which is arranged in flow terms parallel to or in series with the evaporator (22). Kälteanlage (10) nach Anspruch 2 und 3, dadurch gekennzeichnet, dass der zweite Kühlmittelkreislauf (40.1; 28.1) mit dem dritten Wärmeübertrager (28), insbesondere Chiller, verbunden ist.Refrigeration system (10) after claim 2 and 3 , characterized in that the second coolant circuit (40.1; 28.1) is connected to the third heat exchanger (28), in particular a chiller. Kälteanlage (10) nach Anspruch 4, dadurch gekennzeichnet, dass der zweite Kühlmittelkreislauf (40.1; 28.1) mit dem zweiten Wärmeübertrager (40a) und dem dritten Wärmeübertrager (28), insbesondere Chiller, derart ausgebildet ist, dass der zweite Wärmeübertrager (40a) mit Kühlmittel beaufschlagt ist, das im Wesentlichen die tiefste Temperatur im zweiten Kühlmittelkreislauf (40.1; 28.2) aufweist.Refrigeration system (10) after claim 4 , characterized in that the second coolant circuit (40.1; 28.1) with the second heat exchanger (40a) and the third heat exchanger (28), in particular a chiller, is designed in such a way that the second heat exchanger (40a) is charged with coolant which is essentially has the lowest temperature in the second coolant circuit (40.1; 28.2). Kälteanlage (10) nach einem der vorhergehenden Ansprüche, dadurch gekennzeichnet, dass sie in dem Kältemittelkreislauf (11) einen Bypassabschnitt (42) aufweist, der dazu eingerichtet ist, den zweiten Wärmeübertrager (40, 40a) zu umgehen.Refrigeration system (10) according to one of the preceding claims, characterized in that it has a bypass section (42) in the refrigerant circuit (11) which is set up to bypass the second heat exchanger (40, 40a). Kälteanlage (10) nach Anspruch 6, dadurch gekennzeichnet, dass der Bypassabschnitt (42) zwischen dem ersten Wärmeübertrager (18) und dem zweiten Wärmeübertrager (40, 40a) abzweigt (Ab4) und bezogen auf die Strömungsrichtung von Kältemittel in einem Kühlbetrieb der Kälteanlage stromabwärts von dem zweiten Wärmeübertrager (40, 40a) mit dem Kältemittelkreislauf (10) verbunden ist (Ab9).Refrigeration system (10) after claim 6 , characterized in that the bypass section (42) between the first heat exchanger (18) and the second heat exchanger (40, 40a) branches off (Ab4) and relative to the flow direction of refrigerant in a cooling operation of the refrigeration system downstream of the second heat exchanger (40, 40a) is connected to the refrigerant circuit (10) (Ab9). Kälteanlage (10) nach Anspruch 7, dadurch gekennzeichnet, dass stromabwärts von dem zweiten Wärmeübertrager (40, 40a) und stromaufwärts von der Verbindung (Ab9) des Bypassabschnitts (42) mit dem Kältemittkreislauf (11) ein Rückschlagventil (R6) angeordnet ist.Refrigeration system (10) after claim 7 , characterized in that a check valve (R6) is arranged downstream of the second heat exchanger (40, 40a) and upstream of the connection (Ab9) of the bypass section (42) to the refrigerant circuit (11). Kälteanlage (10) nach Anspruch 7 oder 8, dadurch gekennzeichnet, dass zwischen dem Abzweig (Ab4) des Bypassabschnitts (42) und dem zweiten Wärmeübertrager (40, 40a) eine Ventileinrichtung (A6), insbesondere ein Absperrventil, angeordnet ist, die dazu eingerichtet ist, den Kältemittelstrom durch den zweiten Wärmeübertrager (40, 40a) freizugeben oder zu verhindernRefrigeration system (10) after claim 7 or 8th , characterized in that between the branch (Ab4) of the bypass section (42) and the second heat exchanger (40, 40a) a valve device (A6), in particular a shut-off valve, is arranged, which is set up to the refrigerant flow through the second heat exchanger ( 40, 40a) to release or prevent Kälteanlage (10) nach einem der Ansprüche 6 bis 9, dadurch gekennzeichnet, dass der Bypassabschnitt (42) eine Bypassventileinrichtung (A7), insbesondere ein Absperrventil, aufweist, die dazu eingerichtet ist, den Kältemittelstrom durch den Bypassabschnitt (42) freizugeben oder zu verhindern.Refrigeration system (10) according to one of Claims 6 until 9 , characterized in that the bypass section (42) has a bypass valve device (A7), in particular a shut-off valve, which is set up to release or prevent the flow of refrigerant through the bypass section (42). Kraftfahrzeug, insbesondere zumindest teilweise elektrisch angetriebenes Kraftfahrzeug, mit einer Kälteanlage (10) nach einem der vorhergehenden Ansprüche.Motor vehicle, in particular at least partially electrically driven motor vehicle, with a refrigeration system (10) according to one of the preceding claims. Kraftfahrzeug nach Anspruch 11, dadurch gekennzeichnet, dass der zweite Wärmeübertrager (40) als direkt wirkender Wärmeübertrager (40) bezogen auf einen Luftstrom (UL) einem Kühlerpaket des Kraftfahrzeugs vorgeschaltet ist oder dass der zweite Wärmeübertrager (409 als direkt wirkender Wärmeübertrager (40) im Bereich einer Schürze des Kraftfahrzeugs angeordnet ist.motor vehicle after claim 11 , characterized in that the second heat exchanger (40) as a directly acting heat exchanger (40) in relation to an air flow (UL) is connected upstream of a radiator pack of the motor vehicle or in that the second heat exchanger (409) as a directly acting heat exchanger (40) in the area of an apron of the Motor vehicle is arranged.
DE102020130196.0A 2020-11-16 2020-11-16 Refrigeration system for a motor vehicle with an additional heat exchanger as an undercooling section, motor vehicle with such a refrigeration system Pending DE102020130196A1 (en)

Priority Applications (1)

Application Number Priority Date Filing Date Title
DE102020130196.0A DE102020130196A1 (en) 2020-11-16 2020-11-16 Refrigeration system for a motor vehicle with an additional heat exchanger as an undercooling section, motor vehicle with such a refrigeration system

Applications Claiming Priority (1)

Application Number Priority Date Filing Date Title
DE102020130196.0A DE102020130196A1 (en) 2020-11-16 2020-11-16 Refrigeration system for a motor vehicle with an additional heat exchanger as an undercooling section, motor vehicle with such a refrigeration system

Publications (1)

Publication Number Publication Date
DE102020130196A1 true DE102020130196A1 (en) 2022-05-19

Family

ID=81345351

Family Applications (1)

Application Number Title Priority Date Filing Date
DE102020130196.0A Pending DE102020130196A1 (en) 2020-11-16 2020-11-16 Refrigeration system for a motor vehicle with an additional heat exchanger as an undercooling section, motor vehicle with such a refrigeration system

Country Status (1)

Country Link
DE (1) DE102020130196A1 (en)

Cited By (6)

* Cited by examiner, † Cited by third party
Publication number Priority date Publication date Assignee Title
WO2024120855A1 (en) * 2022-12-05 2024-06-13 Audi Ag Cooling unit having a heat pump function and a bypass section flowed through in heat pump operation, and motor vehicle having such a cooling unit
US20250058603A1 (en) * 2023-08-17 2025-02-20 Hyundai Motor Company Heat pump system for a vehicle
WO2026008317A1 (en) * 2024-07-05 2026-01-08 Valeo Systemes Thermiques Thermal conditioning system for a motor vehicle
WO2026008261A1 (en) * 2024-07-05 2026-01-08 Valeo Systemes Thermiques Thermal conditioning system for a motor vehicle
FR3164145A1 (en) * 2024-07-05 2026-01-09 Valeo Systemes Thermiques Automotive Vehicle Thermal Conditioning System
US12545080B2 (en) * 2023-08-17 2026-02-10 Hyundai Motor Company Heat pump system for a vehicle

Citations (5)

* Cited by examiner, † Cited by third party
Publication number Priority date Publication date Assignee Title
US5092138A (en) 1990-07-10 1992-03-03 The University Of Maryland Refrigeration system
US5235820A (en) 1991-11-19 1993-08-17 The University Of Maryland Refrigerator system for two-compartment cooling
WO2008037896A2 (en) 2006-09-28 2008-04-03 Heliotrans Module usable for heat storage and transfer
DE102012212227A1 (en) 2012-07-12 2014-01-16 Behr Gmbh & Co. Kg Cooling system, particularly vehicle air conditioning system, has heat transmission device with one or multiple thermoelectric elements, particularly Peltier elements, which are connected with subcooling path
DE102017212309B3 (en) 2017-07-19 2018-09-06 Bayerische Motoren Werke Aktiengesellschaft Coolant circuit with at least two cooling circuits and a latent heat storage

Patent Citations (5)

* Cited by examiner, † Cited by third party
Publication number Priority date Publication date Assignee Title
US5092138A (en) 1990-07-10 1992-03-03 The University Of Maryland Refrigeration system
US5235820A (en) 1991-11-19 1993-08-17 The University Of Maryland Refrigerator system for two-compartment cooling
WO2008037896A2 (en) 2006-09-28 2008-04-03 Heliotrans Module usable for heat storage and transfer
DE102012212227A1 (en) 2012-07-12 2014-01-16 Behr Gmbh & Co. Kg Cooling system, particularly vehicle air conditioning system, has heat transmission device with one or multiple thermoelectric elements, particularly Peltier elements, which are connected with subcooling path
DE102017212309B3 (en) 2017-07-19 2018-09-06 Bayerische Motoren Werke Aktiengesellschaft Coolant circuit with at least two cooling circuits and a latent heat storage

Cited By (8)

* Cited by examiner, † Cited by third party
Publication number Priority date Publication date Assignee Title
WO2024120855A1 (en) * 2022-12-05 2024-06-13 Audi Ag Cooling unit having a heat pump function and a bypass section flowed through in heat pump operation, and motor vehicle having such a cooling unit
US20250058603A1 (en) * 2023-08-17 2025-02-20 Hyundai Motor Company Heat pump system for a vehicle
US12545080B2 (en) * 2023-08-17 2026-02-10 Hyundai Motor Company Heat pump system for a vehicle
WO2026008317A1 (en) * 2024-07-05 2026-01-08 Valeo Systemes Thermiques Thermal conditioning system for a motor vehicle
WO2026008261A1 (en) * 2024-07-05 2026-01-08 Valeo Systemes Thermiques Thermal conditioning system for a motor vehicle
FR3164144A1 (en) * 2024-07-05 2026-01-09 Valeo Systemes Thermiques Automotive Vehicle Thermal Conditioning System
FR3164147A1 (en) * 2024-07-05 2026-01-09 Valeo Systemes Thermiques Automotive Vehicle Thermal Conditioning System
FR3164145A1 (en) * 2024-07-05 2026-01-09 Valeo Systemes Thermiques Automotive Vehicle Thermal Conditioning System

Similar Documents

Publication Publication Date Title
EP3697635B1 (en) Method for operating a coolant circuit and vehicle air-conditioning system
DE102020111511B4 (en) Refrigeration system and heat pump arrangement for battery-powered vehicles and method for operating a refrigeration system and heat pump arrangement
DE102020117471B4 (en) Heat pump arrangement with indirect battery heating for battery-operated motor vehicles and method for operating a heat pump arrangement
DE102011118162B4 (en) Combined refrigeration system and heat pump and method for operating the system with function-dependent refrigerant transfer within the refrigerant circuit
DE102015218824B4 (en) Heat pump system and method for operating such a system
DE102015122721B4 (en) Air conditioning system of a motor vehicle and method for operating the air conditioning system
EP3444542B1 (en) Circulation system for a vehicle and method for same
DE102010042127B4 (en) Refrigerant circuit of an air conditioning system of a motor vehicle
DE102020130196A1 (en) Refrigeration system for a motor vehicle with an additional heat exchanger as an undercooling section, motor vehicle with such a refrigeration system
DE102020111505B4 (en) Heat pump arrangement for battery-operated vehicles and method for operating a heat pump arrangement
DE102019107191A1 (en) Heating system for an electric or hybrid vehicle, electric or hybrid vehicle, method for operating a heating system
EP3595919B1 (en) Cooling system of a vehicle, comprising a coolant circuit which can be operated as a cooling circuit for an ac operation and as a heat pump circuit for a heating operation
DE102018201945B4 (en) Method for operating a refrigerant circuit and vehicle refrigeration system
DE112021003804T5 (en) STEAM INJECTION MODULE AND HEAT PUMP SYSTEM WITH THIS MODULE
DE102018207049B4 (en) Refrigeration system for a vehicle with a refrigerant circuit having a heat pump function
DE102020119813B4 (en) Refrigerant circuit of a combined refrigeration and heat pump system with integrated steam injection circuit
DE102019203292B4 (en) Method for operating a refrigeration system for a vehicle with a refrigerant circuit having a heat pump function
DE102012022564A1 (en) Air conditioning device for motor vehicle, comprises mechanically driven compressor and electrically driven compressor, which are fluidically connected in series, where each compressor is individually bypassed by assigned bypass line
DE102016004999B3 (en) Vehicle air conditioning
DE102016203045A1 (en) Tempering device for tempering an interior of a vehicle and method for operating such a tempering device
DE102019203295A1 (en) Method for operating a refrigeration system for a vehicle with a refrigerant circuit having a heat pump function
WO2023280507A1 (en) Refrigeration circuit, and heat management system and motor vehicle having a refrigeration circuit of this type
WO2024120855A1 (en) Cooling unit having a heat pump function and a bypass section flowed through in heat pump operation, and motor vehicle having such a cooling unit
DE102018211568B4 (en) Refrigeration system with a cooled oil circuit for a motor vehicle, motor vehicle with such a refrigeration system
DE102021200937A1 (en) Air conditioning system for a motor vehicle

Legal Events

Date Code Title Description
R012 Request for examination validly filed
R016 Response to examination communication