DE102019115021A1 - Stent graft with sealing element - Google Patents
Stent graft with sealing element Download PDFInfo
- Publication number
- DE102019115021A1 DE102019115021A1 DE102019115021.3A DE102019115021A DE102019115021A1 DE 102019115021 A1 DE102019115021 A1 DE 102019115021A1 DE 102019115021 A DE102019115021 A DE 102019115021A DE 102019115021 A1 DE102019115021 A1 DE 102019115021A1
- Authority
- DE
- Germany
- Prior art keywords
- sealing element
- stent graft
- stent
- graft body
- chimney
- Prior art date
- Legal status (The legal status is an assumption and is not a legal conclusion. Google has not performed a legal analysis and makes no representation as to the accuracy of the status listed.)
- Pending
Links
Images
Classifications
-
- A—HUMAN NECESSITIES
- A61—MEDICAL OR VETERINARY SCIENCE; HYGIENE
- A61F—FILTERS IMPLANTABLE INTO BLOOD VESSELS; PROSTHESES; DEVICES PROVIDING PATENCY TO, OR PREVENTING COLLAPSING OF, TUBULAR STRUCTURES OF THE BODY, e.g. STENTS; ORTHOPAEDIC, NURSING OR CONTRACEPTIVE DEVICES; FOMENTATION; TREATMENT OR PROTECTION OF EYES OR EARS; BANDAGES, DRESSINGS OR ABSORBENT PADS; FIRST-AID KITS
- A61F2/00—Filters implantable into blood vessels; Prostheses, i.e. artificial substitutes or replacements for parts of the body; Appliances for connecting them with the body; Devices providing patency to, or preventing collapsing of, tubular structures of the body, e.g. stents
- A61F2/02—Prostheses implantable into the body
- A61F2/04—Hollow or tubular parts of organs, e.g. bladders, tracheae, bronchi or bile ducts
- A61F2/06—Blood vessels
- A61F2/07—Stent-grafts
-
- A—HUMAN NECESSITIES
- A61—MEDICAL OR VETERINARY SCIENCE; HYGIENE
- A61F—FILTERS IMPLANTABLE INTO BLOOD VESSELS; PROSTHESES; DEVICES PROVIDING PATENCY TO, OR PREVENTING COLLAPSING OF, TUBULAR STRUCTURES OF THE BODY, e.g. STENTS; ORTHOPAEDIC, NURSING OR CONTRACEPTIVE DEVICES; FOMENTATION; TREATMENT OR PROTECTION OF EYES OR EARS; BANDAGES, DRESSINGS OR ABSORBENT PADS; FIRST-AID KITS
- A61F2/00—Filters implantable into blood vessels; Prostheses, i.e. artificial substitutes or replacements for parts of the body; Appliances for connecting them with the body; Devices providing patency to, or preventing collapsing of, tubular structures of the body, e.g. stents
- A61F2/95—Instruments specially adapted for placement or removal of stents or stent-grafts
- A61F2/958—Inflatable balloons for placing stents or stent-grafts
-
- A—HUMAN NECESSITIES
- A61—MEDICAL OR VETERINARY SCIENCE; HYGIENE
- A61F—FILTERS IMPLANTABLE INTO BLOOD VESSELS; PROSTHESES; DEVICES PROVIDING PATENCY TO, OR PREVENTING COLLAPSING OF, TUBULAR STRUCTURES OF THE BODY, e.g. STENTS; ORTHOPAEDIC, NURSING OR CONTRACEPTIVE DEVICES; FOMENTATION; TREATMENT OR PROTECTION OF EYES OR EARS; BANDAGES, DRESSINGS OR ABSORBENT PADS; FIRST-AID KITS
- A61F2/00—Filters implantable into blood vessels; Prostheses, i.e. artificial substitutes or replacements for parts of the body; Appliances for connecting them with the body; Devices providing patency to, or preventing collapsing of, tubular structures of the body, e.g. stents
- A61F2/02—Prostheses implantable into the body
- A61F2/04—Hollow or tubular parts of organs, e.g. bladders, tracheae, bronchi or bile ducts
- A61F2/06—Blood vessels
- A61F2002/061—Blood vessels provided with means for allowing access to secondary lumens
-
- A—HUMAN NECESSITIES
- A61—MEDICAL OR VETERINARY SCIENCE; HYGIENE
- A61F—FILTERS IMPLANTABLE INTO BLOOD VESSELS; PROSTHESES; DEVICES PROVIDING PATENCY TO, OR PREVENTING COLLAPSING OF, TUBULAR STRUCTURES OF THE BODY, e.g. STENTS; ORTHOPAEDIC, NURSING OR CONTRACEPTIVE DEVICES; FOMENTATION; TREATMENT OR PROTECTION OF EYES OR EARS; BANDAGES, DRESSINGS OR ABSORBENT PADS; FIRST-AID KITS
- A61F2/00—Filters implantable into blood vessels; Prostheses, i.e. artificial substitutes or replacements for parts of the body; Appliances for connecting them with the body; Devices providing patency to, or preventing collapsing of, tubular structures of the body, e.g. stents
- A61F2/02—Prostheses implantable into the body
- A61F2/04—Hollow or tubular parts of organs, e.g. bladders, tracheae, bronchi or bile ducts
- A61F2/06—Blood vessels
- A61F2002/065—Y-shaped blood vessels
- A61F2002/067—Y-shaped blood vessels modular
-
- A—HUMAN NECESSITIES
- A61—MEDICAL OR VETERINARY SCIENCE; HYGIENE
- A61F—FILTERS IMPLANTABLE INTO BLOOD VESSELS; PROSTHESES; DEVICES PROVIDING PATENCY TO, OR PREVENTING COLLAPSING OF, TUBULAR STRUCTURES OF THE BODY, e.g. STENTS; ORTHOPAEDIC, NURSING OR CONTRACEPTIVE DEVICES; FOMENTATION; TREATMENT OR PROTECTION OF EYES OR EARS; BANDAGES, DRESSINGS OR ABSORBENT PADS; FIRST-AID KITS
- A61F2/00—Filters implantable into blood vessels; Prostheses, i.e. artificial substitutes or replacements for parts of the body; Appliances for connecting them with the body; Devices providing patency to, or preventing collapsing of, tubular structures of the body, e.g. stents
- A61F2/02—Prostheses implantable into the body
- A61F2/04—Hollow or tubular parts of organs, e.g. bladders, tracheae, bronchi or bile ducts
- A61F2/06—Blood vessels
- A61F2/07—Stent-grafts
- A61F2002/072—Encapsulated stents, e.g. wire or whole stent embedded in lining
-
- A—HUMAN NECESSITIES
- A61—MEDICAL OR VETERINARY SCIENCE; HYGIENE
- A61F—FILTERS IMPLANTABLE INTO BLOOD VESSELS; PROSTHESES; DEVICES PROVIDING PATENCY TO, OR PREVENTING COLLAPSING OF, TUBULAR STRUCTURES OF THE BODY, e.g. STENTS; ORTHOPAEDIC, NURSING OR CONTRACEPTIVE DEVICES; FOMENTATION; TREATMENT OR PROTECTION OF EYES OR EARS; BANDAGES, DRESSINGS OR ABSORBENT PADS; FIRST-AID KITS
- A61F2/00—Filters implantable into blood vessels; Prostheses, i.e. artificial substitutes or replacements for parts of the body; Appliances for connecting them with the body; Devices providing patency to, or preventing collapsing of, tubular structures of the body, e.g. stents
- A61F2/02—Prostheses implantable into the body
- A61F2/04—Hollow or tubular parts of organs, e.g. bladders, tracheae, bronchi or bile ducts
- A61F2/06—Blood vessels
- A61F2/07—Stent-grafts
- A61F2002/077—Stent-grafts having means to fill the space between stent-graft and aneurysm wall, e.g. a sleeve
-
- A—HUMAN NECESSITIES
- A61—MEDICAL OR VETERINARY SCIENCE; HYGIENE
- A61F—FILTERS IMPLANTABLE INTO BLOOD VESSELS; PROSTHESES; DEVICES PROVIDING PATENCY TO, OR PREVENTING COLLAPSING OF, TUBULAR STRUCTURES OF THE BODY, e.g. STENTS; ORTHOPAEDIC, NURSING OR CONTRACEPTIVE DEVICES; FOMENTATION; TREATMENT OR PROTECTION OF EYES OR EARS; BANDAGES, DRESSINGS OR ABSORBENT PADS; FIRST-AID KITS
- A61F2210/00—Particular material properties of prostheses classified in groups A61F2/00 - A61F2/26 or A61F2/82 or A61F9/00 or A61F11/00 or subgroups thereof
- A61F2210/0014—Particular material properties of prostheses classified in groups A61F2/00 - A61F2/26 or A61F2/82 or A61F9/00 or A61F11/00 or subgroups thereof using shape memory or superelastic materials, e.g. nitinol
-
- A—HUMAN NECESSITIES
- A61—MEDICAL OR VETERINARY SCIENCE; HYGIENE
- A61F—FILTERS IMPLANTABLE INTO BLOOD VESSELS; PROSTHESES; DEVICES PROVIDING PATENCY TO, OR PREVENTING COLLAPSING OF, TUBULAR STRUCTURES OF THE BODY, e.g. STENTS; ORTHOPAEDIC, NURSING OR CONTRACEPTIVE DEVICES; FOMENTATION; TREATMENT OR PROTECTION OF EYES OR EARS; BANDAGES, DRESSINGS OR ABSORBENT PADS; FIRST-AID KITS
- A61F2250/00—Special features of prostheses classified in groups A61F2/00 - A61F2/26 or A61F2/82 or A61F9/00 or A61F11/00 or subgroups thereof
- A61F2250/0014—Special features of prostheses classified in groups A61F2/00 - A61F2/26 or A61F2/82 or A61F9/00 or A61F11/00 or subgroups thereof having different values of a given property or geometrical feature, e.g. mechanical property or material property, at different locations within the same prosthesis
- A61F2250/0023—Special features of prostheses classified in groups A61F2/00 - A61F2/26 or A61F2/82 or A61F9/00 or A61F11/00 or subgroups thereof having different values of a given property or geometrical feature, e.g. mechanical property or material property, at different locations within the same prosthesis differing in porosity
-
- A—HUMAN NECESSITIES
- A61—MEDICAL OR VETERINARY SCIENCE; HYGIENE
- A61F—FILTERS IMPLANTABLE INTO BLOOD VESSELS; PROSTHESES; DEVICES PROVIDING PATENCY TO, OR PREVENTING COLLAPSING OF, TUBULAR STRUCTURES OF THE BODY, e.g. STENTS; ORTHOPAEDIC, NURSING OR CONTRACEPTIVE DEVICES; FOMENTATION; TREATMENT OR PROTECTION OF EYES OR EARS; BANDAGES, DRESSINGS OR ABSORBENT PADS; FIRST-AID KITS
- A61F2250/00—Special features of prostheses classified in groups A61F2/00 - A61F2/26 or A61F2/82 or A61F9/00 or A61F11/00 or subgroups thereof
- A61F2250/0058—Additional features; Implant or prostheses properties not otherwise provided for
- A61F2250/0067—Means for introducing or releasing pharmaceutical products into the body
-
- A—HUMAN NECESSITIES
- A61—MEDICAL OR VETERINARY SCIENCE; HYGIENE
- A61F—FILTERS IMPLANTABLE INTO BLOOD VESSELS; PROSTHESES; DEVICES PROVIDING PATENCY TO, OR PREVENTING COLLAPSING OF, TUBULAR STRUCTURES OF THE BODY, e.g. STENTS; ORTHOPAEDIC, NURSING OR CONTRACEPTIVE DEVICES; FOMENTATION; TREATMENT OR PROTECTION OF EYES OR EARS; BANDAGES, DRESSINGS OR ABSORBENT PADS; FIRST-AID KITS
- A61F2250/00—Special features of prostheses classified in groups A61F2/00 - A61F2/26 or A61F2/82 or A61F9/00 or A61F11/00 or subgroups thereof
- A61F2250/0058—Additional features; Implant or prostheses properties not otherwise provided for
- A61F2250/0069—Sealing means
-
- A—HUMAN NECESSITIES
- A61—MEDICAL OR VETERINARY SCIENCE; HYGIENE
- A61F—FILTERS IMPLANTABLE INTO BLOOD VESSELS; PROSTHESES; DEVICES PROVIDING PATENCY TO, OR PREVENTING COLLAPSING OF, TUBULAR STRUCTURES OF THE BODY, e.g. STENTS; ORTHOPAEDIC, NURSING OR CONTRACEPTIVE DEVICES; FOMENTATION; TREATMENT OR PROTECTION OF EYES OR EARS; BANDAGES, DRESSINGS OR ABSORBENT PADS; FIRST-AID KITS
- A61F2250/00—Special features of prostheses classified in groups A61F2/00 - A61F2/26 or A61F2/82 or A61F9/00 or A61F11/00 or subgroups thereof
- A61F2250/0058—Additional features; Implant or prostheses properties not otherwise provided for
- A61F2250/0071—Additional features; Implant or prostheses properties not otherwise provided for breakable or frangible
-
- A—HUMAN NECESSITIES
- A61—MEDICAL OR VETERINARY SCIENCE; HYGIENE
- A61F—FILTERS IMPLANTABLE INTO BLOOD VESSELS; PROSTHESES; DEVICES PROVIDING PATENCY TO, OR PREVENTING COLLAPSING OF, TUBULAR STRUCTURES OF THE BODY, e.g. STENTS; ORTHOPAEDIC, NURSING OR CONTRACEPTIVE DEVICES; FOMENTATION; TREATMENT OR PROTECTION OF EYES OR EARS; BANDAGES, DRESSINGS OR ABSORBENT PADS; FIRST-AID KITS
- A61F2250/00—Special features of prostheses classified in groups A61F2/00 - A61F2/26 or A61F2/82 or A61F9/00 or A61F11/00 or subgroups thereof
- A61F2250/0058—Additional features; Implant or prostheses properties not otherwise provided for
- A61F2250/0096—Markers and sensors for detecting a position or changes of a position of an implant, e.g. RF sensors, ultrasound markers
- A61F2250/0098—Markers and sensors for detecting a position or changes of a position of an implant, e.g. RF sensors, ultrasound markers radio-opaque, e.g. radio-opaque markers
-
- A—HUMAN NECESSITIES
- A61—MEDICAL OR VETERINARY SCIENCE; HYGIENE
- A61F—FILTERS IMPLANTABLE INTO BLOOD VESSELS; PROSTHESES; DEVICES PROVIDING PATENCY TO, OR PREVENTING COLLAPSING OF, TUBULAR STRUCTURES OF THE BODY, e.g. STENTS; ORTHOPAEDIC, NURSING OR CONTRACEPTIVE DEVICES; FOMENTATION; TREATMENT OR PROTECTION OF EYES OR EARS; BANDAGES, DRESSINGS OR ABSORBENT PADS; FIRST-AID KITS
- A61F2310/00—Prostheses classified in A61F2/28 or A61F2/30 - A61F2/44 being constructed from or coated with a particular material
- A61F2310/00005—The prosthesis being constructed from a particular material
- A61F2310/00011—Metals or alloys
- A61F2310/00017—Iron- or Fe-based alloys, e.g. stainless steel
Landscapes
- Health & Medical Sciences (AREA)
- Gastroenterology & Hepatology (AREA)
- Pulmonology (AREA)
- Cardiology (AREA)
- Oral & Maxillofacial Surgery (AREA)
- Transplantation (AREA)
- Engineering & Computer Science (AREA)
- Biomedical Technology (AREA)
- Heart & Thoracic Surgery (AREA)
- Vascular Medicine (AREA)
- Life Sciences & Earth Sciences (AREA)
- Animal Behavior & Ethology (AREA)
- General Health & Medical Sciences (AREA)
- Public Health (AREA)
- Veterinary Medicine (AREA)
- Prostheses (AREA)
Abstract
Die Erfindung betrifft einen Chimney-Stentgraft mit einem rohrförmigen Stentgraft-Körper (2) und mindestens einem Dichtungselement (3), wobei das Dichtungselement (3) den Stentgraft-Körper (2) in einem mittleren Abschnitt umschließt und Dichtungselement (3) eine schwamm- und/oder gewirrartige, elastische Struktur umfasst. Das Dichtungselement (3) sorgt für eine Abdichtung der zwischen dem Chimney-Stentgraft (1) und der Gefäßwand bzw. weiteren parallelen Stentgrafts entstehenden Lücken und verhindert so eine Leckage. The invention relates to a chimney stent graft with a tubular stent graft body (2) and at least one sealing element (3), the sealing element (3) enclosing the stent graft body (2) in a central section and the sealing element (3) a spongy and / or tangled, elastic structure. The sealing element (3) ensures that the gaps that arise between the chimney stent graft (1) and the vessel wall or other parallel stent grafts are sealed and thus prevents leakage.
Description
Die Erfindung betrifft einen Stentgraft mit einem Dichtungselement zum intravaskulären Einsatz insbesondere bei der Chimney-Technik.The invention relates to a stent graft with a sealing element for intravascular use, especially in the chimney technique.
Die Behandlung von abdominalen Aortenaneurysmen ist herausfordernd. Dies gilt insbesondere dann, wenn die Behandlung einen Gefäßabschnitt betrifft, der auch Viszeral- oder Nierenarterien einschließt. In Krankenhäusern, die auf entsprechende Eingriffe spezialisiert sind, sind die Mortalitäts- und Komplikationsraten zwar auch bei offenen Eingriffen vergleichsweise gering, diese positiven Ergebnisse sind jedoch nicht auf die Vielzahl von Zentren übertragbar.Treatment of abdominal aortic aneurysms is challenging. This is especially true if the treatment affects a section of the vessel that also includes the visceral or renal arteries. In hospitals that specialize in such interventions, the mortality and complication rates are comparatively low even with open interventions, but these positive results cannot be transferred to the large number of centers.
Alternative minimalinvasive Interventionen, mit denen ein offener Eingriff und das damit verbundene Risiko von Wundinfektionen oder auch das Risiko einer Vollnarkose vermieden werden kann, sind im Stand der Technik bekannt.Alternative minimally invasive interventions with which an open intervention and the associated risk of wound infections or the risk of general anesthesia can be avoided are known in the prior art.
Eine mögliche Form der minimalinvasiven Behandlung eines (Aorten-) Aneurysmas sieht die Überbrückung des geschwächten Gefäßabschnitts vor, innerhalb dessen sich das Aneurysma in Form einer Aussackung der geschwächten Gefäßwand ausbildet. Hierbei wird in der Regel ein Stentgraft (eine Gefäßprothese mit einem Stent und einem weitestgehend flüssigkeitsundurchlässigen Überzug) so platziert, dass dieser den geschwächten Gefäßabschnitt überbrückt und so einer möglichen Ruptur des Aneurysmas vorbeugt.One possible form of minimally invasive treatment of an (aortic) aneurysm provides for the bridging of the weakened vessel section, within which the aneurysm develops in the form of a bulging out of the weakened vessel wall. As a rule, a stent graft (a vascular prosthesis with a stent and a largely liquid-impermeable coating) is placed in such a way that it bridges the weakened vascular section and thus prevents a possible rupture of the aneurysm.
Nachteilig an dieser Technik ist, dass durch den Stentgraft häufig nicht nur der geschwächte Gefäßabschnitt, also das Aneurysma selbst, sondern auch weitere von dem betroffenen Gefäß abzweigende Seitenäste überdeckt und somit von der Blutzufuhr abgetrennt werden können. Dies kann zu einer Unterversorgung der von diesen Gefäßen abhängigen Organe und Gewebe führen.The disadvantage of this technique is that the stent graft often covers not only the weakened vessel section, i.e. the aneurysm itself, but also other side branches branching off the affected vessel and can thus be separated from the blood supply. This can lead to an undersupply of the organs and tissues that are dependent on these vessels.
Um diesen bekannten Komplikationen vorzubeugen sind derzeit insbesondere zwei Implantationstechniken etabliert. Zum einen kann der zu implantierende Stentgraft speziell an die Gefäßanatomie des Patienten angepasst sein. Solche individualisierten Stentgrafts beruhen entweder auf dem Baukastenprinzip oder werden vollständig neu angefertigt. Nachteilig an solchen individualisierten Systemen ist, dass sie recht teuer in der Anschaffung sind, vor allem wenn es sich um komplette Individualanfertigungen handelt. Zudem sind solche Systeme bei Notfällen nicht unmittelbar verfügbar, sondern müssen selbst im Fall von Baukastensystemen zunächst angepasst bzw. gefertigt werden. Bei vollständigen Individualanfertigungen kann dies Tage bis Wochen dauern.In order to prevent these known complications, two implantation techniques in particular are currently established. On the one hand, the stent graft to be implanted can be specially adapted to the vascular anatomy of the patient. Such individualized stent grafts are either based on the modular principle or are completely new. The disadvantage of such individualized systems is that they are quite expensive to purchase, especially when it comes to completely custom-made products. In addition, such systems are not immediately available in emergencies, but must first be adapted or manufactured even in the case of modular systems. For completely custom-made products, this can take days to weeks.
Eine andere bekannte Implantationstechnik sieht vor, überdeckte Seitenäste durch jeweils eigene Stentgrafts wieder an die Blutversorgung des Hauptastes anzuschließen. Eine dieser Techniken, die sogenannte „Chimney-Technik“, hat sich in letzter Zeit besonders bewährt.Another known implantation technique provides for the covered side branches to be reconnected to the blood supply of the main branch by means of their own stent grafts. One of these techniques, the so-called “chimney technique”, has been particularly effective recently.
Bei der Chimney-Technik wird der Anschluss der Seitenäste, die durch den im Hauptast platzierten Stentgraft überdeckten wurden, mit dem Blutstrom dadurch wieder hergestellt, dass weitere, dem Durchmesser des jeweiligen Seitenastes angepasste Stentgrafts parallel zu dem Hauptast-Stentgraft eingesetzt werden. Dabei reicht der in der Regel deutlich kleinerer Seitenast-Stentgraft vom Anfang des Hauptast-Stentgrafts, den er um wenige Millimeter überragt, bis in den Seitenast hinein. Das für diese Technik charakteristische „Überragen“ des Hauptast-Stentgrafts durch den Seitenast-Stentgraft erinnert an einen Schornstein (englisch: chimney).In the chimney technique, the connection of the side branches, which were covered by the stent graft placed in the main branch, is re-established with the blood flow by inserting additional stent grafts adapted to the diameter of the respective side branch parallel to the main branch stent graft. The usually much smaller side branch stent graft extends from the beginning of the main branch stent graft, which it protrudes by a few millimeters, into the side branch. The “protruding” of the main branch stent graft by the side branch stent graft, which is characteristic of this technique, is reminiscent of a chimney.
Die Chimney-Technik bietet viele Vorteile gegenüber anderen Interventionstechniken. So können beispielsweise für die gesamte Intervention gängige Stentgrafts verwendet werden und es müssen keine an die spezielle Gefäßanatomie angepassten Modelle gefertigt werden. Dies macht diese Technik nicht nur jederzeit - auch in Notfällen - verfügbar sondern zudem vergleichsweise kostengünstig.The chimney technique offers many advantages over other intervention techniques. For example, common stent grafts can be used for the entire intervention and there is no need to produce models adapted to the specific vascular anatomy. This not only makes this technology available at all times - even in emergencies - but also makes it comparatively inexpensive.
Nachteilig an der Chimney-Technik mit herkömmlichen Stentgrafts ist jedoch vor allem, dass es zwischen den Stentgrafts und der Gefäßwand aufgrund der aneinander liegenden runden Formen der verschiedenen Stentgrafts zwangsläufig zu Zwischenräumen, Ritzen oder Spalten und in der Folge zu Leckagen kommen kann, wenn Blut durch diese Zwischenräume gelangt. Diese als Typ 1a Endoleckagen bezeichneten Lecks, können die Langlebigkeit eines solchen Arrangements von Stentgrafts negativ beeinflussen.The main disadvantage of the chimney technique with conventional stent grafts, however, is that between the stent grafts and the vessel wall, due to the round shapes of the various stent grafts lying one against the other, there are inevitably gaps, cracks or gaps and, as a result, leaks when blood passes gets these spaces. These leaks, known as type 1a endoleak, can have a negative impact on the longevity of such an arrangement of stent grafts.
Ein weiterer Nachteil der Chimney-Technik mit herkömmlichen Stentgrafts besteht in den konkurrierenden radialen Kräften und den Expansionszwängen der parallel verlaufenden Stentgrafts. So besteht eine potentielle Gefahr, dass die Durchmesser der parallel verlaufenden Stentgrafts sich gegenseitig einengen, was wiederum zu einer gefährlichen Unterversorgung der jeweils angeschlossenen Organe und Gewebe führen kann. Diese Gefahr besteht besonders im Bereich der Abzweigung in den Seitenast.Another disadvantage of the chimney technique with conventional stent grafts is the competing radial forces and the expansion constraints of the parallel stent grafts. There is thus a potential risk that the diameters of the parallel stent grafts will constrict each other, which in turn can lead to a dangerous undersupply of the connected organs and tissues. This danger exists particularly in the area of the branch into the side branch.
Gerade bei dem Einsatz herkömmlicher Stentgrafts ist diese Gefahr besonders hoch, da deren Durchmesser tendenziell eher größer gewählt werden müssen, um die Gefahr von Leckagen zu minimieren. Genau dies führt jedoch gleichzeitig zu einem Aufeinandertreffen größerer Radialkräfte und somit zu einem höheren Risiko der beschriebenen Durchmesserreduktionen.This risk is particularly high when conventional stent grafts are used, since their diameters tend to have to be chosen to be larger in order to minimize the risk of leakage. However, it is precisely this that simultaneously leads to a meeting of larger radial forces and thus leads to a higher risk of the described diameter reductions.
Entsprechend stehen sich bei der Auswahl eines geeigneten Stentgrafts für die Chimney-Technik grundsätzlich zwei Interessen entgegen: Einerseits soll der Stentgraft möglichst flexibel sein, um eine gute Passgenauigkeit und somit Abdichtung zu erzielen. Andererseits muss die Radialkraft aber auch groß genug sein, um dem Druck des eigentlichen Stentgrafts im Hauptast zu widerstehen. Eine größere Radialkraft führt jedoch immer auch zu einer geringeren Flexibilität und umgekehrt.Accordingly, when selecting a suitable stent graft for the chimney technique, there are basically two opposing interests: On the one hand, the stent graft should be as flexible as possible in order to achieve a good fit and thus a seal. On the other hand, the radial force must also be large enough to withstand the pressure of the actual stent graft in the main branch. However, a greater radial force always leads to less flexibility and vice versa.
Um diese widerstreitenden Interessen des Anwenders und die sich entgegenstehenden Anforderungen an den Stentgraft zu überwinden, wurden im Stand der Technik verschiedene Vorrichtungen vorgeschlagen.In order to overcome these conflicting interests of the user and the conflicting demands on the stent graft, various devices have been proposed in the prior art.
Zur Vermeidung bzw. Minimierung von Leckagen bei der Platzierung von Stentgrafts beispielsweise im Rahmen der Chimney-Technik beschreiben die
Nachteilig an diesen bekannten Stentgrafts bei ihrem Einsatz in der Chimney-Technik ist unter anderem, dass eine Stent-in-Stent-artige Situation geschaffen wird, die zu einer Versteifung des Gefäßes an dieser Stelle führt. Dies sollte jedoch unbedingt vermieden werden. Auch schaffen die bekannten Vorrichtungen keine ausreichende Abdichtung bis hin in die engsten Bereiche zwischen den aneinander liegenden Stents, sodass es trotz Einsatz dieser speziellen Stentgrafts immer noch zu Leckagen kommen kann.A disadvantage of these known stent grafts when they are used in the chimney technique is, among other things, that a stent-in-stent-like situation is created, which leads to a stiffening of the vessel at this point. However, this should be avoided at all costs. The known devices also do not provide sufficient sealing right down to the narrowest areas between the stents lying against one another, so that leaks can still occur despite the use of these special stent grafts.
Zudem kann es durch die Anordnung zweier sich kragenförmig überlappender Stents zu unerwünschten und nachteiligen Strömungsverläufen im Gefäß kommen, die auf Dauer die Offenheitsrate des Gefäßes oder des Stentgrafts negativ beeinflussen, also zu Gefäßverengungen oder in der Folge sogar zu Verstopfungen durch ungewollte Thrombenbildung führen.In addition, the arrangement of two collar-shaped overlapping stents can lead to undesirable and disadvantageous flow patterns in the vessel, which in the long term have a negative effect on the patency rate of the vessel or the stent graft, i.e. lead to vasoconstriction or, as a result, even to blockages due to undesired thrombus formation.
Nicht zuletzt führt ein Stentgraft der bekannten Bauart durch die Stent-in-Stent Anordnung immer auch zu einem größeren Profil, also zu einem größeren Durchmesser, was den Einsatz in kleineren Gefäßen erschweren oder sogar unmöglich machen kann.Last but not least, a stent graft of the known type always leads to a larger profile, that is to say to a larger diameter, due to the stent-in-stent arrangement, which can make use in smaller vessels difficult or even impossible.
Es ist daher Aufgabe der Erfindung einen Stentgraft, nachfolgend der Unterscheidbarkeit halber als „Chimney-Stentgraft“ bezeichnet, zur Verfügung zu stellen, der die genannten Nachteile überwindet und insbesondere zur Verwendung bei der Chimney-Technik geeignet ist.It is therefore the object of the invention to provide a stent graft, hereinafter referred to as a “chimney stent graft” for the sake of differentiation, which overcomes the disadvantages mentioned and is particularly suitable for use in the chimney technique.
Gelöst wird diese Aufgabe durch eine Erfindung mit den Merkmalen des Anspruchs 1. Vorteilhafte Ausgestaltungen sind jeweils Gegenstand der abhängigen Ansprüche. Es ist darauf hinzuweisen, dass die in den Ansprüchen einzeln aufgeführten Merkmale auch in beliebiger und technologisch sinnvoller Weise miteinander kombiniert werden können und somit weitere Ausgestaltungen der Erfindung aufzeigen.This object is achieved by an invention with the features of
Ein erfindungsgemäßer Chimney-Stentgraft umfasst einen Stentgraft-Körper und zumindest ein Dichtungselement.A chimney stent graft according to the invention comprises a stent graft body and at least one sealing element.
Sofern von einem „Stentgraft-Körper“ als Teil des erfindungsgemäßen Chimney-Stentgrafts gesprochen wird, so soll, um eine Unterscheidung zu bekannten Stentgrafts zu schaffen, damit der Stentgraft-Anteil des erfindungsgemäßen Chimney-Stentgrafts ohne Dichtungselemente gemeint sein.If a “stent graft body” is used as part of the chimney stent graft according to the invention, in order to distinguish it from known stent grafts, the stent graft portion of the chimney stent graft according to the invention without sealing elements should be meant.
Aus Gründen der besseren Verständlichkeit soll nachfolgend zudem immer nur von „einem“ oder „dem“ Dichtungselement gesprochen werden, auch wenn erfindungsgemäß mehr als ein Dichtungselement vorgesehen sein kann.For the sake of better understanding, only “one” or “the” sealing element should be used below, even if more than one sealing element can be provided according to the invention.
Der Stentgraft-Körper an sich entspricht in seinem Aufbau im Wesentlichen bekannten Stentgrafts (Gefäßprothesen) mit einem expandierbaren Stent (dem Metallgerüst) und einer an dem Stent festgelegten Hülle (dem „Graft“). Die Hülle umfasst in der Regel eine im Wesentlichen flüssigkeitsundurchlässige Polymerhülle, die den Stent zumindest teilweise umgibt.The structure of the stent graft body essentially corresponds to known stent grafts (vascular prostheses) with an expandable stent (the metal framework) and a sheath (the “graft”) attached to the stent. The sheath generally comprises a substantially liquid-impermeable polymer sheath which at least partially surrounds the stent.
Der Stentgraft-Körper kann ballonexpandierbar oder selbstexpandierbar sein, wobei ballonexpandierbare Stentgrafts wegen ihrer höheren Radialkraft zu bevorzugen sind. Die Hülle kann die für Stentgrafts typischen Materialien wie verschiedene Polymere und insbesondere PTFE umfassen. Die Hülle kann auch mehrschichtig aufgebaut sein und zusätzliche Beschichtungen umfassen, wie beispielsweise antithrombogene, antirestenotische oder antibiotische Eigenschaften aufweisen, um nur einige zu nennen. Hier sind dem Fachmann eine Vielzahl an Materialien und Wirkstoffen bekannt, aus denen er die für den jeweiligen Zweck geeigneten Materialien und Wirkstoffe auswählen kann.The stent graft body can be balloon-expandable or self-expandable, with balloon-expandable stent grafts being preferred because of their higher radial force. The sheath can comprise the materials typical for stent grafts, such as various polymers and in particular PTFE. The shell can also have a multilayer structure and comprise additional coatings, such as, for example, have anti-thrombogenic, anti-restenotic or antibiotic properties, to name just a few. The person skilled in the art is familiar with a large number of materials and active ingredients from which he can select the materials and active ingredients suitable for the respective purpose.
Das Dichtungselement des erfindungsgemäßen Chimney-Stentgrafts ist im mittleren Abschnitt des Stentgraft-Körpers vorgesehen. Der mittlere Abschnitt definiert sich erfindungsgemäß als der Abschnitt des Stentgraft-Körpers, der zum distalen und proximalen Ende des Stentgraft-Körpers jeweils einen Abstand von 1 bis 15 mm und vorzugsweise von 5 bis 10 mm einhält. Sofern mehrere Dichtungselemente vorgesehen sind, so sind vorzugsweise insbesondere zwei Dichtungselemente im mittleren Abschnitt des Stent-Körpers vorgesehen.The sealing element of the chimney stent graft according to the invention is in the middle section of the stent graft body provided. According to the invention, the middle section is defined as the section of the stent graft body which maintains a distance of 1 to 15 mm and preferably 5 to 10 mm from the distal and proximal ends of the stent graft body. If several sealing elements are provided, two sealing elements in particular are preferably provided in the middle section of the stent body.
Das Dichtungselement ist vorzugsweise im Wesentlichen hohlzylinder- bzw. ringförmig ausgebildet. Den jeweiligen Anforderungen entsprechend können jedoch auch Dichtungselemente sonstiger Formen vorgesehen sein, beispielsweise sich kegelartig verjüngende, hantelförmig ausgestellte, gewellte, runde oder gänzlich amorphe Dichtungselemente. Solche Formen können in verschieden ausgebildeten Gefäßanatomien jeweils vorteilhaft sein. Eine amorphe Form kann beispielsweise beim Einsatz des Chimney-Stentgrafts in unregelmäßig geformten Gefäßen vorteilhaft sein. Hier wird der Fachmann ohne erfinderisch tätig zu werden die Form wählen, die eine für den Einsatz bestmögliche Abdichtung verspricht.The sealing element is preferably designed essentially in the shape of a hollow cylinder or ring. According to the respective requirements, however, sealing elements of other shapes can also be provided, for example, conically tapering, dumbbell-shaped, corrugated, round or completely amorphous sealing elements. Such shapes can be advantageous in differently designed vessel anatomies. An amorphous shape can be advantageous, for example, when using the chimney stent graft in irregularly shaped vessels. Here, the person skilled in the art will choose the shape that promises the best possible seal for the application, without becoming inventive.
Die Enden der Wandung des Dichtungselements sind vorzugsweise nahezu eckig ausgestaltet, wobei auch Ausführungsformen mit abgerundeten oder auch nur teilweise abgerundeten Enden der Wandung denkbar sind. Auch hier entscheidet der Fachmann sich für die Form, die für den jeweiligen Einsatzzweck die bestmögliche Abdichtung verspricht.The ends of the wall of the sealing element are preferably designed to be almost angular, with embodiments with rounded or even only partially rounded ends of the wall being conceivable. Here, too, the expert decides on the shape that promises the best possible seal for the respective application.
Der innere Durchmesser des frei expandierten Dichtungselements entspricht im Wesentlichen dem äußeren Durchmesser des frei expandierten Stentgraft-Körpers. Das Dichtungselement lässt sich wie auch der Stentgraft-Körper auf einen kleineren Durchmesser komprimieren. Der innere Durchmesser des komprimierten Dichtungselements entspricht dann im Wesentlichen dem äußeren Durchmesser des komprimierten Stentgraft-Körpers.The inner diameter of the freely expanded sealing element corresponds essentially to the outer diameter of the freely expanded stent graft body. Like the stent graft body, the sealing element can be compressed to a smaller diameter. The inner diameter of the compressed sealing element then essentially corresponds to the outer diameter of the compressed stent graft body.
Sofern der Begriff „frei expandiert“ verwendet wird, so ist hierunter erfindungsgemäß ein Zustand zu verstehen, bei dem das jeweilige Element, also der Chimney-Stentgraft in seiner Gesamtheit, der Stentgraft-Körper allein oder das Dichtungselement allein, den jeweils maximal vorgesehenen expandierten Zustand ohne äußere Zwänge bei der für den Einsatz vorgesehenen Temperatur erreicht hat. Dies ist bei einem Ballon expandierbaren Element beispielsweise die Aufweitung des Elements mittels Ballonexpansion auf den vorgesehenen nominalen Durchmesser und bei einem selbstexpandierenden Element die Aufweitung außerhalb eines Zuführelements ohne äußere Zwänge jeweils bei einer Temperatur, die der durchschnittlichen menschlichen Körpertemperatur im Gefäß entspricht. Entsprechend beziehen sich etwaige Dimensionsangaben aus Gründen der Nachvollziehbarkeit und Objektivität auf den frei expandierten Zustand soweit nicht anders erwähnt.If the term "freely expanded" is used, this is to be understood according to the invention as a state in which the respective element, i.e. the chimney stent graft in its entirety, the stent graft body alone or the sealing element alone, has the maximum intended expanded state has reached the temperature intended for use without external constraints. In the case of a balloon expandable element, this is, for example, the expansion of the element by means of balloon expansion to the intended nominal diameter and, in the case of a self-expanding element, the expansion outside of a supply element without external constraints, in each case at a temperature that corresponds to the average human body temperature in the vessel. Correspondingly, any dimensional information relates to the freely expanded state for reasons of comprehensibility and objectivity, unless otherwise stated.
Der maximale äußere Durchmesser des frei expandierten Dichtungselements liegt zwischen 1 und 10 mm, vorzugsweise zwischen 2 und 8 mm und insbesondere zwischen 3 und 6 mm größer als der innere Durchmesser des frei expandierten Dichtungselements.The maximum outer diameter of the freely expanded sealing element is between 1 and 10 mm, preferably between 2 and 8 mm and in particular between 3 and 6 mm larger than the inner diameter of the freely expanded sealing element.
Das Dichtungselement ist vorzugsweise konzentrisch um den Stentgraft-Körper vorgesehen, es sind jedoch auch Ausführungsformen denkbar, bei denen das Dichtungselement exzentrisch um den Stentgraft-Körper angeordnet ist. Eine solche exzentrische Anordnung des Dichtungselements kann beispielsweise beim Einsatz des Chimney-Stentgraft in unregelmäßig geformten Gefäßen vorteilhaft sein. Eine konzentrische Anordnung des Dichtungselements hingegen sollte den größten Bereich von Standardinterventionen abdecken können, bei denen man einer gewöhnlichen Gefäßmorphologie begegnet.The sealing element is preferably provided concentrically around the stent graft body, but embodiments are also conceivable in which the sealing element is arranged eccentrically around the stent graft body. Such an eccentric arrangement of the sealing element can be advantageous, for example, when using the chimney stent graft in irregularly shaped vessels. A concentric arrangement of the sealing element, on the other hand, should be able to cover the largest range of standard interventions in which one encounters common vascular morphology.
Wichtig ist bei der Anbringung des Dichtungselements, egal ob diese exzentrisch oder konzentrisch erfolgt, dass eine ausreichende Anpassung an die vorgegebene Umgebung möglich ist.When attaching the sealing element, regardless of whether it is eccentric or concentric, it is important that sufficient adaptation to the given environment is possible.
Das Dichtungselement ist mit dem Stentgraft-Körper verbunden und passt sich dem Umfang des Stentgraft-Körpers im komprimierten Zustand ebenso wie im expandierten Zustand an. Das Dichtungselement kann temporär und/oder dauerhaft mit dem Stentgraft-Körper verbunden sein.The sealing element is connected to the stent graft body and adapts to the circumference of the stent graft body in the compressed state as well as in the expanded state. The sealing element can be temporarily and / or permanently connected to the stent graft body.
Unter einer temporären Verbindung von Stentgraft-Körper und Dichtungselement ist erfindungsgemäß eine solche Verbindung zu verstehen, die während bzw. nach der Platzierung und Expansion des Chimney-Stentgrafts lösbar vorgesehen ist. Entsprechend bleibt nach der Implantation die relative Anordnung von Stentgraft-Körper und Dichtungselement zueinander auf Dauer vor allem durch die aufeinander wirkenden Drücke zwischen Stentgraft-Körper und Dichtungselement einerseits sowie (Hauptast-) Stentgraft und Gefäßwand andererseits erhalten.According to the invention, a temporary connection between the stent graft body and the sealing element is to be understood as a connection which is provided releasably during or after the placement and expansion of the chimney stent graft. Accordingly, after the implantation, the relative arrangement of the stent graft body and sealing element to one another is maintained in the long term, mainly due to the pressures acting on one another between the stent graft body and sealing element on the one hand and (main branch) stent graft and vessel wall on the other.
Beispiele für eine solche temporäre Verbindung sind beispielsweise das Vernähen mit bioresorbierbaren Fäden oder das Verkleben mit bioresorbierbaren Klebstoffen von Dichtungselement und zumindest Teilen des Stentgraft-Körpers.Examples of such a temporary connection are, for example, sewing with bioresorbable threads or gluing with bioresorbable adhesives of the sealing element and at least parts of the stent graft body.
Auch sind temporäre Verbindungen denkbar, bei denen das Dichtungselement mithilfe von insbesondere ringförmigen Halteelementen an dem Stentgraft-Körper angeordnet ist, wobei die ringförmigen Haltelemente vorzugsweise Sollbruchstellen aufweisen, die bei Ausdehnung des Chimney-Stentgrafts reißen und so eine Aufweitung des Chimney-Stentgrafts ermöglichen. Anstelle von ringförmigen Halteelementen könnten hier beispielsweise auch eine Schlauchfolie oder Fäden vorgesehen sein, die bei der Expansion entlang einer perforierten Naht aufreißen. Dem Fachmann sind weitere Techniken bekannt, aus denen er eine geeignete auswählt.Temporary connections are also conceivable in which the sealing element is arranged on the stent graft body with the aid of in particular annular retaining elements, the annular Holding elements preferably have predetermined breaking points which tear when the chimney stent graft expands and thus enable the chimney stent graft to expand. Instead of annular retaining elements, a tubular film or threads could also be provided here, which tear open along a perforated seam during expansion. Further techniques are known to the person skilled in the art, from which he can select a suitable one.
Unter einer dauerhaften Verbindung von Stentgraft-Körper und Dichtungselement ist erfindungsgemäß hingegen eine solche Verbindung zu verstehen, die auch nach der Platzierung und Expansion des Chimney-Stentgrafts weiter besteht. Dabei wird die relative Anordnung von Stentgraft-Körper und Dichtungselement zueinander auch oder vor allem durch die dauerhafte Verbindung von Stentgraft-Körper und Dichtungselement aufrechterhalten.In contrast, a permanent connection between the stent graft body and the sealing element is to be understood according to the invention as a connection which continues to exist even after the placement and expansion of the chimney stent graft. The relative arrangement of the stent graft body and sealing element to one another is also or primarily maintained by the permanent connection of stent graft body and sealing element.
Beispiele für eine solche dauerhafte Verbindung sind beispielsweise das Vernähen, Verkleben oder Verschweißen, auch Ultraschall-Schweißen, von Dichtungselement und zumindest Teilen des Stentgraft-Körpers. Der Fachmann wählt hier eine geeignete Technik aus.Examples of such a permanent connection are, for example, the sewing, gluing or welding, including ultrasonic welding, of the sealing element and at least parts of the stent graft body. The person skilled in the art selects a suitable technique here.
Kombinationen von dauerhaften und temporären Verbindungen sind denkbar. So kann das Dichtungselement beispielsweise dauerhaft mit dem Stentgraft-Körper verbunden sein und zusätzliche ringförmigen Halteelemente mit Sollbruchstellen umfassen, die um das Dichtungselement herumreichen und so dessen komprimierten Zustand fixieren. Der Fachmann wird anhand dieser Beispiele leicht weitere geeignete Ausführungsformen auswählen können, ohne dabei erfinderisch tätig werden zu müssen.Combinations of permanent and temporary connections are conceivable. For example, the sealing element can be permanently connected to the stent graft body and comprise additional ring-shaped holding elements with predetermined breaking points which extend around the sealing element and thus fix its compressed state. On the basis of these examples, the person skilled in the art will easily be able to select further suitable embodiments without having to be inventive.
Um die Platzierung des Chimney-Stentgrafts zu erleichtern, können neben den bekannten röntgendichten Markern an den Enden des Stentgraft-Körpers zusätzliche röntgendichte Marker im Bereich des Dichtungselements vorgesehen sein. Diese zusätzlichen Marker können beispielsweise an entsprechenden Stellen des Stentgraft-Körpers, am Dichtungselement oder gegebenenfalls an vorhandenen Halteelementen vorgesehen sein. Die zusätzlichen Marker vereinfachen die Platzierung des erfindungsgemäßen Chimney-Stentgrafts, indem sie dem Behandler die Bereiche anzeigen, die für die gewünschte Abdichtung relevant sind.In order to facilitate the placement of the chimney stent graft, in addition to the known radiopaque markers at the ends of the stent graft body, additional radiopaque markers can be provided in the area of the sealing element. These additional markers can be provided, for example, at corresponding points on the stent graft body, on the sealing element or, if appropriate, on existing holding elements. The additional markers simplify the placement of the chimney stent graft according to the invention by showing the practitioner the areas that are relevant for the desired seal.
Materialien für entsprechende röntgendichte Marker sind dem Fachmann bekannt.Materials for corresponding radiopaque markers are known to the person skilled in the art.
Das Dichtungselement dient dazu, Durchlässe zwischen dem Stentgraft-Körper einerseits und der Gefäßwand sowie den übrigen Stentgrafts wie beispielsweise dem (Hauptast-) Stentgraft andererseits abzudichten. Hierzu umfasst das Dichtungselement ein biokompatibles Material, das sich flexibel an die äußere Umgebung anpassen bzw. in die äußere Umgebung einfügen kann.The sealing element serves to seal passages between the stent graft body on the one hand and the vessel wall and the other stent grafts such as the (main branch) stent graft on the other hand. For this purpose, the sealing element comprises a biocompatible material that can be flexibly adapted to the external environment or can be inserted into the external environment.
Es ist insbesondere wichtig, dass das Material für das Dichtungselement einerseits stark kompressibel ist, sich andererseits aber auch selbst nach längerer Zeit wieder auf den ursprünglichen nicht komprimierten Zustand aufweitet. Der Zustand der Kompression sollte demnach möglichst vollständig reversibel sein.It is particularly important that the material for the sealing element on the one hand is highly compressible, but on the other hand also expands to the original uncompressed state even after a long time. The state of compression should therefore be reversible as completely as possible.
Wesentlich für die Erfindung ist dabei, dass das Dichtungselement eine schwamm- und/oder gewirrartige und dabei gleichzeitig elastische Struktur aufweist. Unter einer solchen Struktur sind erfindungsgemäß Strukturen zu verstehen, die ein eigenes Volumen und eine Kompaktheit aufweisen und so einen Durchfluss von Flüssigkeiten weitestgehend unterbinden können, jedoch gleichzeitig ausreichend kompressibel sind, um in einem Katheter platziert zu werden. Eine schwamm- und/oder gewirrartige Struktur im Sinne dieses Patents kann somit sowohl eine poröse als auch eine stark verzweigte bzw. verästelte Struktur sein. Ein geeignetes Gewirr kann beispielsweise aus nur einem oder wenigen Filamenten geformt sein, es sind jedoch auch Gewirre aus einer Vielzahl von Filamenten bis hin zu vliesartigen Strukturen denkbar.It is essential for the invention that the sealing element has a sponge-like and / or tangled and at the same time elastic structure. According to the invention, such a structure is to be understood as meaning structures that have their own volume and compactness and thus can largely prevent a flow of liquids, but at the same time are sufficiently compressible to be placed in a catheter. A spongy and / or tangled structure in the sense of this patent can thus be both a porous and a strongly branched or ramified structure. A suitable tangle can be formed from just one or a few filaments, for example, but tangles from a large number of filaments through to fleece-like structures are also conceivable.
Geeignete Materialien für das Dichtungselement umfassen unter anderem insbesondere Formgedächtnismaterialien, wie beispielsweise Formgedächtnispolymere (FGP) oder Formgedächtnislegierungen (FGL), oder Federstahle. Bekannte Materialien sind hier beispielsweise Nitionol und andere.Suitable materials for the sealing element include, among other things, in particular shape memory materials, such as shape memory polymers (SMA) or shape memory alloys (SMA), or spring steels. Well-known materials here are, for example, Nitionol and others.
Weitere geeignete Materialien für das Dichtungselement umfassen auch sonstige flexible Materialien, insbesondere elastische Polymere (Elastomere), die nach einer erfolgten Kompression wieder einen expandierten Zustand einnehmen können. Hierzu zählen verschiedenste Polymere wie beispielsweise verschiedene Polyurethan-Verbindungen.Further suitable materials for the sealing element also include other flexible materials, in particular elastic polymers (elastomers), which can assume an expanded state again after compression has taken place. These include a wide variety of polymers such as various polyurethane compounds.
Entsprechend kann eine erfindungsgemäße schwammartige Struktur des Dichtungselements durch verschiedenste Materialien und Materialkombinationen erreicht werden. Mögliche Strukturen umfassen beispielsweise geflochtene und nicht geflochtene Materialien, Vliese oder auch mehrschichtig angeordnete Materialien oder Materialkombinationen oder Kombinationen hieraus.Accordingly, a sponge-like structure of the sealing element according to the invention can be achieved using a wide variety of materials and material combinations. Possible structures include, for example, braided and non-braided materials, fleeces or also materials arranged in multiple layers or combinations of materials or combinations thereof.
Vorzugsweise weist das Dichtungselement neben der bestimmten Ausformung oder dem Einsatz bestimmter Strukturen, die eine Thrombenbildung fördern, noch zusätzliche thrombogene Eigenschaften auf. Das Dichtungselement kann entsprechend aus thrombogenen Materialien gefertigt sein, wie beispielsweise verschiedenen Polyamide wie PET oder Nylon, um nur einige zu nennen. Auch kann das Dichtungselement mit einem thrombogenen Mittel beschichtetet sein. Hier steht dem Fachmann eine Vielzahl bekannter thrombogener Beschichtungsmittel zu Verfügung. Vorteilhaft an der Verwendung thrombenfördernder Strukturen sowie thrombogener Materialien oder Beschichtungen ist, dass eine zusätzliche Abdichtung des Dichtungselements durch einen sich an dem thrombogenen Material bildenden Thrombus erreicht wird. Das Dichtungselement wird entsprechend in seinem passgenauen Zustand und seiner Abdichtung durch die Thrombenbildung verstärkt.In addition to the specific shape or the use of specific structures that promote thrombus formation, the sealing element preferably also has additional thrombogenic properties. The sealing element can accordingly be made of thrombogenic materials, such as for example various polyamides such as PET or nylon, to name just a few. The sealing element can also be coated with a thrombogenic agent. A large number of known thrombogenic coating agents are available to the person skilled in the art. The advantage of using thrombus-promoting structures and thrombogenic materials or coatings is that the sealing element is additionally sealed by a thrombus forming on the thrombogenic material. The sealing element is correspondingly reinforced in its precisely fitting state and its sealing by the thrombus formation.
Ein Dichtungselement mit einer solchen erfindungsgemäßen Struktur hat wesentliche Vorteile gegenüber den aus dem Stand der Technik bekannten schirmartigen Abdichtungselementen.A sealing element with such a structure according to the invention has significant advantages over the umbrella-like sealing elements known from the prior art.
So ist durch das für die Funktion wesentliche Dichtungselement ein dichterer Abschluss möglich als mit den bekannten schirmartigen Systemen, denn es kann sich wesentlich dichter auch in die feinsten Spalten ausdehnen. Der erfindungsgemäße Chimney-Stentgraft hält durch das spezielle Dichtungselement auch dem gegen die Dichtung wirkenden Blutstrom besser stand. Eine schirmartige Konstruktion birgt immer das Risiko, bei zu großen Drücken umzuklappen und somit einen Durchfluss zu ermöglichen. Erst durch den durch die Kompaktheit des erfindungsgemäßen Dichtungselements besonders dichten und stabilen Abschluss wird eine Leckage auch dauerhaft zuverlässig unterbunden.The sealing element, which is essential for the function, enables a more tight seal than with the known umbrella-like systems, because it can expand much more tightly into even the finest gaps. The chimney stent graft according to the invention also withstands the blood flow acting against the seal better thanks to the special sealing element. An umbrella-like construction always carries the risk of folding over if the pressure is too high and thus allowing a flow. It is only through the particularly tight and stable closure due to the compactness of the sealing element according to the invention that a leak is also reliably and permanently prevented.
Der erfindungsgemäße Chimney-Stentgraft kann auch mit einer deutlich größeren Radialkraft des Stentgraftkörpers konstruiert und hergestellt werden, da die Abdichtung, die eigentlich eine erhöhte Flexibilität des Stentgrafts erfordert, nun durch das flexible separate Dichtungselement erzielt wird.The chimney stent graft according to the invention can also be designed and manufactured with a significantly greater radial force of the stent graft body, since the seal, which actually requires increased flexibility of the stent graft, is now achieved by the flexible separate sealing element.
Diese Eigenschaften machen den Einsatz des erfindungsgemäßen Chimney-Stentgrafts beispielsweise auch im Zusammenhang mit endovaskulären Aortenreparaturen (EVAR) interessant, da hier genau diese Eigenschaften einer guten Abdichtung verbunden mit einer hohen Radialkraft gefordert sind.These properties make the use of the chimney stent graft according to the invention interesting, for example, in connection with endovascular aortic repairs (EVAR), since precisely these properties of a good seal combined with a high radial force are required here.
Zudem wird durch das erfindungsgemäße Dichtungselement gegenüber den bekannten Vorrichtungen auch eine Stent-in-Stent ähnliche Situation vermieden, die zu einer Versteifung des Gefäßes an dieser Stelle führt, welche unbedingt vermieden werden sollte.In addition, the sealing element according to the invention also avoids a stent-in-stent-like situation compared to the known devices, which leads to a stiffening of the vessel at this point, which should be avoided at all costs.
Nicht zuletzt kann der erfindungsgemäße Chimney-Stentgraft mit einem kleineren Profil hergestellt und somit auch in kleineren Gefäßen eingesetzt werden.Last but not least, the chimney stent graft according to the invention can be produced with a smaller profile and thus also used in smaller vessels.
Auch wenn die vorliegende Erfindung durchweg als „Chimney-Stentgraft“ bezeichnet wird, so ist diese Bezeichnung lediglich der Einfachheit halber gewählt und nur beispielhaft für einen möglichen Einsatz der erfindungsgemäßen Vorrichtung. Die Bezeichnung ist somit keinesfalls einschränkend für eine entsprechende Verwendung bei der Chimney-Technik zu verstehen. Der Fachmann wird problemlos weitere Einsatzmöglichkeiten eines erfindungsgemäßen Stentgraft-Körpers mit Dichtungselement im klinischen Alltag finden, für die dieser ebenso gut geeignet ist wie im Rahmen der Chimney-Technik.Even if the present invention is consistently referred to as a “chimney stent graft”, this designation is only chosen for the sake of simplicity and is only an example of a possible use of the device according to the invention. The designation is therefore in no way to be understood as limiting for a corresponding use in the chimney technique. The person skilled in the art will easily find further possible uses of a stent graft body according to the invention with a sealing element in everyday clinical practice, for which this is just as well suited as in the context of the chimney technique.
Die Erfindung sowie das technische Umfeld werden nachfolgend anhand der Figuren näher erläutert. Es ist darauf hinzuweisen, dass die Figuren eine besonders bevorzugte Ausführungsvariante der Erfindung zeigen. Die Erfindung ist jedoch nicht auf die gezeigte Ausführungsvariante beschränkt. Insbesondere umfasst die Erfindung, soweit es technisch sinnvoll ist, beliebige Kombinationen der technischen Merkmale, die in den Ansprüchen aufgeführt oder in der Beschreibung als erfindungsrelevant beschrieben sind.The invention and the technical environment are explained in more detail below with reference to the figures. It should be pointed out that the figures show a particularly preferred embodiment variant of the invention. However, the invention is not limited to the embodiment variant shown. In particular, as far as it is technically sensible, the invention comprises any combination of the technical features that are listed in the claims or described in the description as being relevant to the invention.
Es zeigen:
-
1 Eine erste Ausführungsform des erfindungsgemäßen Chimney-Stentgrafts -
2 Detailansichten des Dichtungselements -
3 Querschnitt durch ein Blutgefäß mit einem Hauptast-Stentgraft und zwei erfindungsgemäßen Chimney-Stentgrafts
-
1 A first embodiment of the chimney stent graft according to the invention -
2 Detailed views of the sealing element -
3 Cross section through a blood vessel with a main branch stent graft and two chimney stent grafts according to the invention
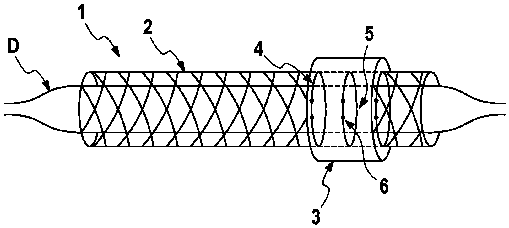
Das Dichtungselement
Das Dichtungselement
BezugszeichenlisteList of reference symbols
- 1, 1'1, 1 '
- Chimney-StentgraftChimney stent graft
- 22
- Stentgraft-KörperStent graft body
- 33
- DichtungselementSealing element
- 44th
- HalteelementRetaining element
- 55
- SollbruchstellePredetermined breaking point
- 66th
- Markermarker
- AA.
- HauptastMain branch
- BB.
- SeitenastSide branch
- CC.
- Hauptast-StentgraftMain branch stent graft
- DD.
- BallonkatheterBalloon catheter
ZITATE ENTHALTEN IN DER BESCHREIBUNGQUOTES INCLUDED IN THE DESCRIPTION
Diese Liste der vom Anmelder aufgeführten Dokumente wurde automatisiert erzeugt und ist ausschließlich zur besseren Information des Lesers aufgenommen. Die Liste ist nicht Bestandteil der deutschen Patent- bzw. Gebrauchsmusteranmeldung. Das DPMA übernimmt keinerlei Haftung für etwaige Fehler oder Auslassungen.This list of the documents listed by the applicant was generated automatically and is included solely for the better information of the reader. The list is not part of the German patent or utility model application. The DPMA assumes no liability for any errors or omissions.
Zitierte PatentliteraturPatent literature cited
- WO 2017/114302 A1 [0015]WO 2017/114302 A1 [0015]
- WO 2017/114305 A1 [0015]WO 2017/114305 A1 [0015]
- WO 2004/000167 A1 [0015]WO 2004/000167 A1 [0015]
Claims (10)
Priority Applications (3)
| Application Number | Priority Date | Filing Date | Title |
|---|---|---|---|
| DE102019115021.3A DE102019115021A1 (en) | 2019-06-04 | 2019-06-04 | Stent graft with sealing element |
| US16/891,536 US12409025B2 (en) | 2019-06-04 | 2020-06-03 | Stent graft with sealing element |
| EP20178026.9A EP3747399A1 (en) | 2019-06-04 | 2020-06-03 | Stent graft with sealing element |
Applications Claiming Priority (1)
| Application Number | Priority Date | Filing Date | Title |
|---|---|---|---|
| DE102019115021.3A DE102019115021A1 (en) | 2019-06-04 | 2019-06-04 | Stent graft with sealing element |
Publications (1)
| Publication Number | Publication Date |
|---|---|
| DE102019115021A1 true DE102019115021A1 (en) | 2020-12-10 |
Family
ID=70977423
Family Applications (1)
| Application Number | Title | Priority Date | Filing Date |
|---|---|---|---|
| DE102019115021.3A Pending DE102019115021A1 (en) | 2019-06-04 | 2019-06-04 | Stent graft with sealing element |
Country Status (3)
| Country | Link |
|---|---|
| US (1) | US12409025B2 (en) |
| EP (1) | EP3747399A1 (en) |
| DE (1) | DE102019115021A1 (en) |
Cited By (1)
| Publication number | Priority date | Publication date | Assignee | Title |
|---|---|---|---|---|
| DE102022125260A1 (en) * | 2022-09-29 | 2024-04-04 | Olympus Winter & Ibe Gmbh | Implant |
Families Citing this family (3)
| Publication number | Priority date | Publication date | Assignee | Title |
|---|---|---|---|---|
| CN113171147A (en) * | 2021-04-07 | 2021-07-27 | 北京昕为医疗科技有限公司 | Grafts suitable for treating vascular diseases |
| US20240032934A1 (en) * | 2022-07-29 | 2024-02-01 | Medtronic Vacular, Inc. | Method of treating short or no neck aneurysms |
| WO2024226955A2 (en) * | 2023-04-26 | 2024-10-31 | Life Seal Vascular, Inc. | Prophylactic system and support structure for an aneurysm |
Family Cites Families (13)
| Publication number | Priority date | Publication date | Assignee | Title |
|---|---|---|---|---|
| US7044962B2 (en) | 2002-06-25 | 2006-05-16 | Scimed Life Systems, Inc. | Implantable prosthesis with displaceable skirt |
| US7854760B2 (en) * | 2005-05-16 | 2010-12-21 | Boston Scientific Scimed, Inc. | Medical devices including metallic films |
| US7481836B2 (en) | 2006-03-30 | 2009-01-27 | Medtronic Vascular, Inc. | Prosthesis with coupling zone and methods |
| US20090319029A1 (en) * | 2008-06-04 | 2009-12-24 | Nellix, Inc. | Docking apparatus and methods of use |
| US8333800B2 (en) * | 2010-04-29 | 2012-12-18 | Medtronic Vascular, Inc. | Mobile external coupling with internal sealing cuff for branch vessel connection |
| US20140277388A1 (en) * | 2013-03-12 | 2014-09-18 | Aga Medical Corporation | Biocompatible foam occlusion device for self-expanding heart valves |
| US20150122687A1 (en) * | 2013-11-06 | 2015-05-07 | Edwards Lifesciences Corporation | Bioprosthetic heart valves having adaptive seals to minimize paravalvular leakage |
| CN105496603B (en) | 2015-12-30 | 2018-11-06 | 先健科技(深圳)有限公司 | Intraluminal stent |
| CN105662511B (en) | 2015-12-30 | 2018-10-26 | 先健科技(深圳)有限公司 | Endoluminal stent |
| US10188500B2 (en) * | 2016-02-12 | 2019-01-29 | Medtronic Vascular, Inc. | Stent graft with external scaffolding and method |
| US11202701B2 (en) * | 2016-06-30 | 2021-12-21 | Washington University | Device and method of inhibiting endoleaks |
| WO2018045097A1 (en) * | 2016-08-31 | 2018-03-08 | Endologix, Inc. | Systems and methods with stent and filling structure |
| US11583383B2 (en) * | 2016-12-28 | 2023-02-21 | Lifetech Scientific (Shenzhen) Co. Ltd. | Luminal stent |
-
2019
- 2019-06-04 DE DE102019115021.3A patent/DE102019115021A1/en active Pending
-
2020
- 2020-06-03 EP EP20178026.9A patent/EP3747399A1/en active Pending
- 2020-06-03 US US16/891,536 patent/US12409025B2/en active Active
Cited By (1)
| Publication number | Priority date | Publication date | Assignee | Title |
|---|---|---|---|---|
| DE102022125260A1 (en) * | 2022-09-29 | 2024-04-04 | Olympus Winter & Ibe Gmbh | Implant |
Also Published As
| Publication number | Publication date |
|---|---|
| EP3747399A1 (en) | 2020-12-09 |
| US12409025B2 (en) | 2025-09-09 |
| US20200383770A1 (en) | 2020-12-10 |
Similar Documents
| Publication | Publication Date | Title |
|---|---|---|
| DE69702343T2 (en) | ENDOLUMINAL PROSTHESIS FOR CHANNEL BRANCHING IN A HUMAN OR ANIMAL BODY AND RELATED PRODUCTION METHOD | |
| DE69826444T2 (en) | ENDOVASCULAR IMPLANT TO IMPROVE AN ANEURYSMAS OF THE ABDOMINALAORTA | |
| EP3528748B2 (en) | Intraluminal vessel prosthesis for implantation into the heart or cardiac vessels of a patient | |
| EP1916965B1 (en) | Stent-graft prosthesis | |
| DE69736369T2 (en) | Self-expanding stent made of a titanium alloy | |
| DE60225932T2 (en) | SYSTEM FOR FIXING ENDOLUMINAL DEVICES | |
| DE60319353T2 (en) | BRANCHED TANK | |
| DE60311967T2 (en) | BRAZED MODULAR STENT WITH SANDWATCH INTERFACES | |
| DE69702316T2 (en) | ENDOLUMINAL PROSTHESES FOR BODY LUME SYSTEMS HAVING MULTIPLE BRANCHES | |
| DE69827192T2 (en) | Stent and stent-graft for the treatment of branched blood vessels | |
| DE69617912T2 (en) | EXPANDABLE INTRALUMINAL TISSUE TO MEND ANEURYSM | |
| EP3747399A1 (en) | Stent graft with sealing element | |
| EP3678589B1 (en) | Intraluminal vessel prosthesis system | |
| DE2159666B2 (en) | Apparatus for growing a tubular piece of tissue in a living body | |
| EP1653883A1 (en) | Stent for implantation in a blood vessel, especially in the region of the aortic arch | |
| EP3215055B1 (en) | Modular stent graft system | |
| EP3541321B1 (en) | Multi-lumen implant | |
| EP2809267A1 (en) | Intraluminal vascular prosthesis | |
| DE102016102008A1 (en) | Vascular prosthesis with side branches | |
| DE102018105679A1 (en) | Temporary occlusion of aneurysmal necks | |
| DE102017111964A1 (en) | Stentgraft with pockets | |
| EP2482765B1 (en) | SYSTÈME COMPRENANT UN CATHETER À BALLONNET ET GREFFE D'ENDOPROTHÈSE& xA;POUR LE PLACEMENT DANS UN VAISSEAU BIFURQUÉ | |
| EP1295571A1 (en) | Aorta implant | |
| EP3694449A1 (en) | Expandable vascular implant | |
| EP3793477A1 (en) | Multi-lumen implant |
Legal Events
| Date | Code | Title | Description |
|---|---|---|---|
| R082 | Change of representative |
Representative=s name: HOEFER & PARTNER PATENTANWAELTE MBB, DE |
|
| R082 | Change of representative |
Representative=s name: HOEFER & PARTNER PATENTANWAELTE MBB, DE |
