DE102019100756A1 - Device for treating a web - Google Patents
Device for treating a web Download PDFInfo
- Publication number
- DE102019100756A1 DE102019100756A1 DE102019100756.9A DE102019100756A DE102019100756A1 DE 102019100756 A1 DE102019100756 A1 DE 102019100756A1 DE 102019100756 A DE102019100756 A DE 102019100756A DE 102019100756 A1 DE102019100756 A1 DE 102019100756A1
- Authority
- DE
- Germany
- Prior art keywords
- web
- sealing
- treatment chamber
- slot
- segments
- Prior art date
- Legal status (The legal status is an assumption and is not a legal conclusion. Google has not performed a legal analysis and makes no representation as to the accuracy of the status listed.)
- Pending
Links
Images
Classifications
-
- F—MECHANICAL ENGINEERING; LIGHTING; HEATING; WEAPONS; BLASTING
- F26—DRYING
- F26B—DRYING SOLID MATERIALS OR OBJECTS BY REMOVING LIQUID THEREFROM
- F26B13/00—Machines and apparatus for drying fabrics, fibres, yarns, or other materials in long lengths, with progressive movement
- F26B13/005—Seals, locks, e.g. gas barriers for web drying enclosures
-
- D—TEXTILES; PAPER
- D06—TREATMENT OF TEXTILES OR THE LIKE; LAUNDERING; FLEXIBLE MATERIALS NOT OTHERWISE PROVIDED FOR
- D06B—TREATING TEXTILE MATERIALS USING LIQUIDS, GASES OR VAPOURS
- D06B23/00—Component parts, details, or accessories of apparatus or machines, specially adapted for the treating of textile materials, not restricted to a particular kind of apparatus, provided for in groups D06B1/00 - D06B21/00
- D06B23/14—Containers, e.g. vats
- D06B23/18—Sealing arrangements
Landscapes
- Engineering & Computer Science (AREA)
- Textile Engineering (AREA)
- Mechanical Engineering (AREA)
- General Engineering & Computer Science (AREA)
- Treatment Of Fiber Materials (AREA)
Abstract
Die Erfindung betrifft eine Vorrichtung zum Behandeln einer Warenbahn (1), umfassend eine Behandlungskammer (2), Mittel zum Transportieren der Warenbahn (1) durch die Behandlungskammer (2), wobei die Behandlungskammer (2) einen Einlaufschlitz (3) und einen Auslaufschlitz (4) für die Warenbahn (1) aufweist, und Mittel (7) zum weitgehenden Abdichten des Einlaufschlitzes (3) und/oder des Auslaufschlitzes (4). Die Vorrichtung soll während des Betriebs im Bereich des Einlaufschlitzes (3) und/oder des Auslaufschlitzes (4) unabhängig von einer Form der Warenbahn (1) weitgehend abgedichtet werden können. Dies wird dadurch erreicht, dass die Mittel (7) zum Abdichten eine Vielzahl von Segmenten (8) umfassen, deren freie Enden (8.3) jeweils unterschiedlich in der Höhe einstellbar sind. The invention relates to a device for treating a material web (1), comprising a treatment chamber (2), means for transporting the material web (1) through the treatment chamber (2), the treatment chamber (2) having an inlet slot (3) and an outlet slot ( 4) for the web (1), and means (7) for largely sealing the inlet slot (3) and / or the outlet slot (4). The device should be able to be largely sealed during operation in the area of the inlet slot (3) and / or the outlet slot (4), regardless of the shape of the web (1). This is achieved in that the means (7) for sealing comprise a plurality of segments (8), the free ends (8.3) of which can each be adjusted in height differently.
Description
Die Erfindung betrifft eine Vorrichtung zum Behandeln einer Warenbahn, umfassend eine Behandlungskammer, Mittel zum Transportieren der Warenbahn durch das Gehäuse, wobei die Behandlungskammer einen Einlaufschlitz und einen Auslaufschlitz für die Warenbahn aufweist, und Mittel zum weitgehenden Abdichten des Einlaufschlitzes und/oder des Auslaufschlitzes.The invention relates to a device for treating a web, comprising a treatment chamber, means for transporting the web through the housing, the treatment chamber having an inlet slot and an outlet slot for the web, and means for largely sealing the inlet slot and / or the outlet slot.
Solche Vorrichtungen sind an sich bekannt und z.B. in der
Die Mittel zum Abdichten dürfen in vielen Fällen nicht so ausgebildet sein, dass sie die Warenbahn berühren oder auf andere Weise die Oberfläche(n) und/oder Beschichtung(en) beeinflussen.Such devices are known per se and for example in the
In many cases, the sealing means must not be designed in such a way that they touch the web or influence the surface (s) and / or coating (s) in any other way.
In vielen Vorrichtungen zum Behandeln einer Warenbahn ist diese nicht in einer Ebene glatt gespannt, sondern bildet eine konkave oder konvexe Wölbung. Diese Wölbung ist abhängig von der Qualität - insbesondere einem Gewicht - der Warenbahn und einer auf diese einwirkende Querspannung. Hierbei können die bekannten Mittel zum Abdichten nicht ausreichend an die jeweilige Form der Warenbahn angepasst werden, so dass ein offen bleibender Querschnitt des Schlitzes relativ groß und die Dichtwirkung entsprechend unbefriedigend ist.In many devices for treating a material web, it is not tensioned smoothly in one plane, but forms a concave or convex curvature. This curvature depends on the quality - in particular a weight - of the material web and a transverse tension acting on it. In this case, the known means for sealing cannot be adequately adapted to the respective shape of the web, so that an open cross section of the slot is relatively large and the sealing effect is accordingly unsatisfactory.
Es ist daher die Aufgabe der Erfindung, eine Vorrichtung zum Behandeln einer Warenbahn zu schaffen, die während des Betriebs im Bereich eines Einlaufschlitzes und/oder eines Auslaufschlitzes unabhängig von einer Form der Warenbahn weitgehend abgedichtet werden kann, ohne dass ein negativer Einfluss auf eine oder beide Oberflächen der Warenbahn erfolgt.It is therefore the object of the invention to provide a device for treating a web that can be largely sealed during operation in the area of an inlet slot and / or an outlet slot, regardless of the shape of the web, without having a negative influence on one or both Surface of the web is done.
Die Aufgabe ist durch die Merkmale des Anspruchs 1 gelöst. Die Mittel zum Abdichten umfassen eine Vielzahl von Segmenten, deren freie Enden jeweils unterschiedlich in der Höhe, das heißt senkrecht zu den idealisiert ebenen Hauptflächen der Warenbahn, einstellbar sind. Hierdurch kann eine Form eines offenen Teils - eines Spalts - des Einlaufschlitzes weitgehend an eine Wölbung der Warenbahn angepasst werden, so dass der Spalt insgesamt sehr schmal sein kann. Je größer die Anzahl der Segmente je Längeneinheit, desto genauer ist die Anpassung an die Form der Warenbahn. Insgesamt wird unter der Berücksichtigung, dass die Oberflächen der Warenbahn nicht von den Mitteln zum Abdichten berührt werden, die Vorrichtung bestmöglich abgedichtet, und es können nur geringe Mengen an Falschluft eintreten bzw. an Behandlungsluft austreten. Die Behandlung der Warenbahn und der Energiehaushalt der Vorrichtung werden insgesamt verbessert.The object is solved by the features of
Die Unteransprüche betreffen die vorteilhafte Ausgestaltung der Erfindung.The subclaims relate to the advantageous embodiment of the invention.
In einer Ausgestaltung erfolgt das Verstellen der freien Enden mittels einer inhärenten Bewegungsautomatik. Eine solche ist z.B. als Fin Ray bekannt. Die Bewegungsautomatik wird durch eine Vielzahl von in sich steifen Stegen bewirkt, die gelenkartig innen an Wandungen des Segments befestigt sind. Hierdurch ist eine relativ gute und einfache Anpassung an die Form der Warenbahn gegeben.In one embodiment, the free ends are adjusted by means of an inherent automatic movement. Such is e.g. known as Fin Ray. The automatic movement is brought about by a large number of rigid webs which are fastened to the inside of the segment in the manner of joints. This results in a relatively good and simple adaptation to the shape of the web.
In einer weiteren Ausgestaltung ist zum Verstellen der Segmente ein Rundstab angeordnet. Dieser ist entsprechend der Wölbung der Warenbahn elastisch biegbar. Der runde Querschnitt gewährleistet eine definierte Berührungsfläche des Stabes an die Segmente und damit eine hohe Präzision der Verstellung.In a further embodiment, a round bar is arranged to adjust the segments. This is elastically bendable according to the curvature of the web. The round cross-section ensures a defined contact area of the rod with the segments and thus a high precision of the adjustment.
In einer weiteren Ausgestaltung ist zum Verstellen ein Truss-Rod angeordnet (Zug-/Druckstab; bekannt z.B. als Halsspannstab für Saiteninstrumente, besonders für Gitarren). Der Truss-Rod besteht aus zwei Stäben, deren Enden aneinander befestigt sind. Hierbei ist z.B. an zugeordneten ersten der Enden eine feste Verbindung und an zugeordneten zweiten der Enden eine einstellbar verschiebbare Verbindung angeordnet, z.B. mittels Gewinden, die ein Spannelement bilden. Je nach einer eingestellten Spannung ist der Rundstab gerade oder in eine von zwei entgegengesetzten Richtungen gebogen. Hierdurch ist das Verstellen einfach durch Änderung einer Spannung eines Spannelementes durchführbar.In a further embodiment, a truss rod is arranged for adjustment (tension / compression rod; known, for example, as a neck tension rod for string instruments, especially for guitars). The truss rod consists of two rods, the ends of which are attached to each other. Here, e.g. a fixed connection is arranged at assigned first of the ends and an adjustable, displaceable connection is arranged at assigned second of the ends, e.g. by means of threads that form a clamping element. Depending on a set tension, the round bar is straight or bent in one of two opposite directions. As a result, the adjustment can be carried out simply by changing a tension of a tensioning element.
In einer weiteren Ausgestaltung sind die Mittel zum Verstellen zum automatischen Anpassen an eine Lage der Warenbahn ausgerüstet. Hierdurch weist der Spalt immer eine optimale Weite auf.In a further embodiment, the means for adjusting are equipped for automatic adjustment to a position of the web. As a result, the gap always has an optimal width.
In einer weiteren Ausgestaltung ist mindestens ein Näherungssensor zum Bestimmen der Lage der Warenbahn angeordnet. Dies erleichtert entsprechende Kontrollen, so dass eine Gefahr reduziert wird, dass die Warenbahn obere und/oder untere Begrenzungen des Spaltes berührt. Anderseits kann mit dem Näherungssensor ein sicheres Signal erzeugt werden, das als Leitgröße für eine automatische Regelung der Weite des Spalts genutzt werden kann.In a further embodiment, at least one proximity sensor is arranged to determine the position of the web. This facilitates appropriate controls, so that a risk is reduced that the web touches the upper and / or lower boundaries of the gap. On the other hand, a safe signal can be generated with the proximity sensor that can be used as a guide for automatic control of the width of the gap.
In einer weiteren Ausgestaltung sind Mittel zum Anpassen der Mittel zum Abdichten an eine Breite der Warenbahn angeordnet. Hierdurch kann die Breite des Spalts auf einen optimalen Wert minimiert werden.In a further embodiment, means for adapting the means for sealing to a width of the web are arranged. In this way, the width of the gap can be minimized to an optimal value.
In einer weiteren Ausgestaltung ist eine Wandung des Segments aus einem elastisch verformbaren Material gefertigt. Dies erleichtert die Einstellung der Mittel zum Abdichten, weil eine Rückstellung eines ausgelenkten Segments bei einer Entlastung selbsttätig erfolgt. Im Zusammenspiel mit den Stegen weist das Segment trotz der verformbaren Außenhaut eine gute Gesamtstabilität auf.In a further embodiment, a wall of the segment is made from an elastically deformable material. This makes it easier to set the sealing means because a deflected segment is automatically reset when the load is released. In combination with the webs, the segment has good overall stability despite the deformable outer skin.
In einer weiteren Ausgestaltung weist das Segment eine hohe Quersteifigkeit auf. Dies verhindert eine gegenseitige Störung bei der Verstellung der einzelnen Segmente.In a further embodiment, the segment has high transverse rigidity. This prevents mutual interference when adjusting the individual segments.
In einer weiteren Ausgestaltung sind die Mittel zum Abdichten höhenverstellbar gelagert. Dies bietet eine von mehreren Möglichkeiten zum Anpassen an eine durchhängende oder an eine aufwölbende Warenbahn.In a further embodiment, the means for sealing are height-adjustable. This offers one of several options for adapting to a sagging or an arching web.
Alternativ oder zusätzlich zur Höhenverstellbarkeit sind zum selben Zweck die Mittel zum Abdichten im Bereich der freien Enden überlappend angeordnet.As an alternative or in addition to the height adjustability, the means for sealing are arranged to overlap in the region of the free ends for the same purpose.
Die Erfindung wird anhand der beigefügten schematischen Zeichnung weiter erläutert. Dabei zeigen
-
1 einen Querschnitt einer Vorrichtung zum Behandeln einer Warenbahn, -
2 eine Ansicht auf einen Einlaufschlitz der Vorrichtung mit Spannketten, -
3 eine perspektivische Ansicht eines Segments, -
4 einen Längsschnitt sowie eine perspektivische Ansicht (4a) eines Verstellstabs, -
5 einen Querschnitt durch den Verstellstab der4 und -
6 einen Querschnitt durch den Einlaufschlitz der2 in a) passivem und b) aktiviertem Zustand.
-
1 3 shows a cross section of a device for treating a material web, -
2nd 2 shows a view of an inlet slot of the device with tension chains, -
3rd a perspective view of a segment, -
4th a longitudinal section and a perspective view (4a) an adjustment rod, -
5 a cross section through the adjusting rod4th and -
6 a cross section through the inlet slot of the2nd in a) passive and b) activated state.
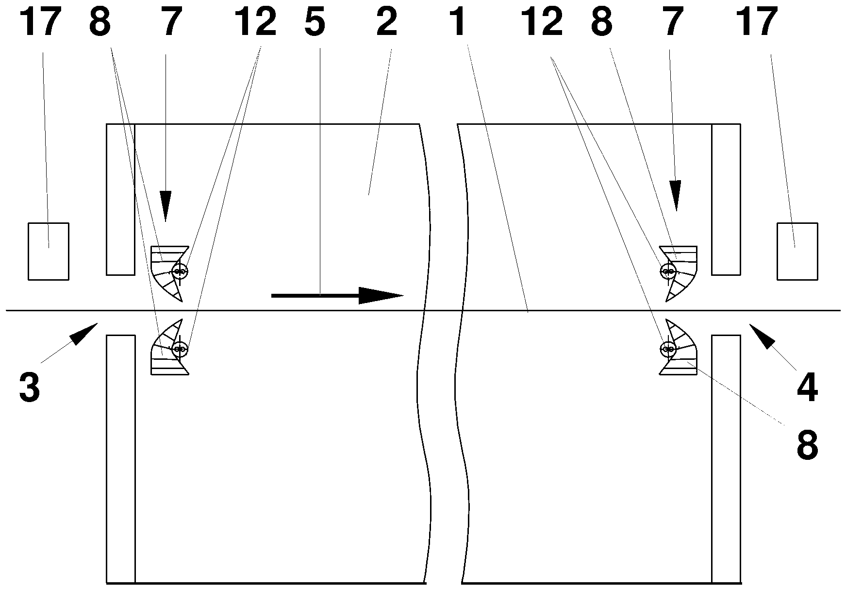
Wie aus der
Wie aus den
Jedes der Segmente
Das Segment
Jedes der Segmente
Die Konstruktion des Segments
Vorzugsweise ist das Segment
Zwischen den Schenkeln ist eine Vielzahl von hier fünf Stegen
An der die Hypotenuse bildenden Wandung
In einer der die Schenkel bildenden Wandungen
Der Verstellstab
Bei einem neutralen geradlinigen Verlauf des Verstellstabes
Einer der Lagerböcke
In der
Jeder Reihe von Segmenten
Die Wirkung der Krafteinwirkung durch den Verstellstab
Nach der
Für den Einlaufschlitz
Der Vorrichtung ist mindestens ein Näherungssensor
Im Betrieb wird die Behandlungskammer
Die Spalte der Schlitze
Das Verschieben und Verdrehen erfolgt z.B. mittels der Motore, die vorzugsweise mittels einer Steuer- und Regeleinrichtung anhand von Signalen des Näherungssensors
Es ist alternativ möglich, die Segmente
BezugszeichenlisteReference list
- 11
- WarenbahnGoods web
- 22nd
- BehandlungskammerTreatment chamber
- 33rd
- EinlaufschlitzInlet slot
- 44th
- AuslaufschlitzOutlet slot
- 55
- Pfeil (Transportrichtung)Arrow (transport direction)
- 66
- Halterholder
- 6.16.1
- Schienerail
- 77
- Mittel zum AbdichtenSealing means
- 88th
- Segmentsegment
- 8.18.1
- WandungWall
- 8.28.2
- WandungWall
- 8.38.3
- EndeThe End
- 99
- Stegweb
- 1010th
- Fußfoot
- 1111
- HinterschneidungUndercut
- 1212th
- VerstellstabAdjustment rod
- 1313
- HülleCover
- 1414
- erster Stabfirst staff
- 1515
- zweiter Stabsecond staff
- 1616
- LagerbockBearing block
- 1717th
- NäherungssensorProximity sensor
ZITATE ENTHALTEN IN DER BESCHREIBUNG QUOTES INCLUDE IN THE DESCRIPTION
Diese Liste der vom Anmelder aufgeführten Dokumente wurde automatisiert erzeugt und ist ausschließlich zur besseren Information des Lesers aufgenommen. Die Liste ist nicht Bestandteil der deutschen Patent- bzw. Gebrauchsmusteranmeldung. Das DPMA übernimmt keinerlei Haftung für etwaige Fehler oder Auslassungen.This list of documents listed by the applicant has been generated automatically and is only included for the better information of the reader. The list is not part of the German patent or utility model application. The DPMA assumes no liability for any errors or omissions.
Zitierte PatentliteraturPatent literature cited
- DE 10333483 A1 [0002]DE 10333483 A1 [0002]
- DE 10007004 A1 [0002]DE 10007004 A1 [0002]
- DE 1785636 A [0002]DE 1785636 A [0002]
- DE 19916411 A1 [0020]DE 19916411 A1 [0020]
- EP 0860355 A1 [0020]EP 0860355 A1 [0020]
- EP 0045713 A1 [0020]EP 0045713 A1 [0020]
Claims (11)
Priority Applications (4)
| Application Number | Priority Date | Filing Date | Title |
|---|---|---|---|
| DE102019100756.9A DE102019100756A1 (en) | 2019-01-14 | 2019-01-14 | Device for treating a web |
| EP19832299.2A EP3911904A1 (en) | 2019-01-14 | 2019-12-12 | Device for treating a material web |
| CN201980089046.6A CN113557402B (en) | 2019-01-14 | 2019-12-12 | Device for treating a material web |
| PCT/EP2019/084789 WO2020148033A1 (en) | 2019-01-14 | 2019-12-12 | Device for treating a material web |
Applications Claiming Priority (1)
| Application Number | Priority Date | Filing Date | Title |
|---|---|---|---|
| DE102019100756.9A DE102019100756A1 (en) | 2019-01-14 | 2019-01-14 | Device for treating a web |
Publications (1)
| Publication Number | Publication Date |
|---|---|
| DE102019100756A1 true DE102019100756A1 (en) | 2020-07-16 |
Family
ID=69137838
Family Applications (1)
| Application Number | Title | Priority Date | Filing Date |
|---|---|---|---|
| DE102019100756.9A Pending DE102019100756A1 (en) | 2019-01-14 | 2019-01-14 | Device for treating a web |
Country Status (4)
| Country | Link |
|---|---|
| EP (1) | EP3911904A1 (en) |
| CN (1) | CN113557402B (en) |
| DE (1) | DE102019100756A1 (en) |
| WO (1) | WO2020148033A1 (en) |
Citations (11)
| Publication number | Priority date | Publication date | Assignee | Title |
|---|---|---|---|---|
| DE886588C (en) * | 1950-02-20 | 1953-08-17 | Willy Ing Weber | Suction cup for suction machines for tissue |
| DE1785636A1 (en) | 1964-04-16 | 1973-11-15 | Famatex Gmbh Fabrik Fuer Texti | DEVICE FOR FASTENING FABRICS OR KNITTED FABRICS OR FABRICS |
| DE3009019A1 (en) * | 1980-03-08 | 1981-09-24 | M.A.N.- Roland Druckmaschinen AG, 6050 Offenbach | PAPER RAILWAY LOCK ON A VACUUM OR GAS CHAMBER |
| EP0045713A1 (en) | 1980-07-31 | 1982-02-10 | Albert-Frankenthal AG | Device for diverting waste sheets from the main stream |
| US4681536A (en) * | 1984-08-17 | 1987-07-21 | Otto Junker Gmbh | Charging sluice for annealing oven |
| DE3140935C3 (en) * | 1981-10-15 | 1994-04-14 | Babcock Textilmasch | Arrangement for sealing the inlet and outlet slots of treatment devices for webs guided on tension chains |
| EP0860355A1 (en) | 1997-02-25 | 1998-08-26 | Deutsches Zentrum für Luft- und Raumfahrt e.V. | Aerodynamic structure with variable camber such as landing flaps, airfoil, horizontal and vertical stabilizer |
| DE19916411A1 (en) | 1999-04-01 | 2000-11-16 | Leif Kniese | Dynamic lever to improve power transmission |
| DE10007004A1 (en) | 2000-02-16 | 2001-09-13 | Dornier Gmbh Lindauer | Method for guiding a web and heat treatment device |
| DE10333483A1 (en) | 2003-07-22 | 2005-02-24 | Btm Textilmaschinen Gmbh | Process for heat treatment of a web and treatment device |
| DE69927716T2 (en) * | 1998-08-12 | 2006-05-04 | Kimberly-Clark Worldwide, Inc., Neenah | LEAKAGE CONTROL DEVICE FOR TREATING RUNNING PAPER WEBS |
Family Cites Families (10)
| Publication number | Priority date | Publication date | Assignee | Title |
|---|---|---|---|---|
| US1487362A (en) * | 1922-03-15 | 1924-03-18 | Otis D Rice | Drying apparatus |
| US2818661A (en) * | 1953-11-06 | 1958-01-07 | American Viscose Corp | Automatic door and conveying system |
| GB879091A (en) * | 1958-10-22 | 1961-10-04 | Julien Dungler | Improvements in and relating to thermal treatments at high pressure |
| DE3703072A1 (en) * | 1987-02-03 | 1988-08-11 | Babcock Textilmasch | DEVICE FOR SEALING THE INLET AND OUTLET SLOTS ON TENSIONER DRYERS AND THE LIKE |
| US4922628A (en) * | 1989-04-24 | 1990-05-08 | Advance Systems, Inc. | Web dryers or the like having airfoil means for controlling a running web at the dryer exit |
| DE4236299C2 (en) * | 1992-10-28 | 2003-03-06 | Emtec Magnetics Gmbh | Sealing device at the inlet and / or outlet of a floating dryer for webs |
| DE102011114622A1 (en) * | 2011-09-30 | 2013-04-04 | Sitech Sitztechnik Gmbh | Vehicle seat with sidewalls formed from autoreactive scaffolding structures |
| DE102013217930A1 (en) * | 2013-09-09 | 2015-03-12 | Robert Bosch Gmbh | Wiper lip for a windshield wiper device |
| DE102014105060A1 (en) * | 2014-04-09 | 2015-10-15 | Trützschler GmbH + Co KG Textilmaschinenfabrik | Dryers for a textile web |
| SG11201704746TA (en) * | 2014-12-23 | 2017-07-28 | 3M Innovative Properties Co | Edge contact substrate transport method and apparatus |
-
2019
- 2019-01-14 DE DE102019100756.9A patent/DE102019100756A1/en active Pending
- 2019-12-12 EP EP19832299.2A patent/EP3911904A1/en not_active Withdrawn
- 2019-12-12 WO PCT/EP2019/084789 patent/WO2020148033A1/en not_active Ceased
- 2019-12-12 CN CN201980089046.6A patent/CN113557402B/en not_active Expired - Fee Related
Patent Citations (11)
| Publication number | Priority date | Publication date | Assignee | Title |
|---|---|---|---|---|
| DE886588C (en) * | 1950-02-20 | 1953-08-17 | Willy Ing Weber | Suction cup for suction machines for tissue |
| DE1785636A1 (en) | 1964-04-16 | 1973-11-15 | Famatex Gmbh Fabrik Fuer Texti | DEVICE FOR FASTENING FABRICS OR KNITTED FABRICS OR FABRICS |
| DE3009019A1 (en) * | 1980-03-08 | 1981-09-24 | M.A.N.- Roland Druckmaschinen AG, 6050 Offenbach | PAPER RAILWAY LOCK ON A VACUUM OR GAS CHAMBER |
| EP0045713A1 (en) | 1980-07-31 | 1982-02-10 | Albert-Frankenthal AG | Device for diverting waste sheets from the main stream |
| DE3140935C3 (en) * | 1981-10-15 | 1994-04-14 | Babcock Textilmasch | Arrangement for sealing the inlet and outlet slots of treatment devices for webs guided on tension chains |
| US4681536A (en) * | 1984-08-17 | 1987-07-21 | Otto Junker Gmbh | Charging sluice for annealing oven |
| EP0860355A1 (en) | 1997-02-25 | 1998-08-26 | Deutsches Zentrum für Luft- und Raumfahrt e.V. | Aerodynamic structure with variable camber such as landing flaps, airfoil, horizontal and vertical stabilizer |
| DE69927716T2 (en) * | 1998-08-12 | 2006-05-04 | Kimberly-Clark Worldwide, Inc., Neenah | LEAKAGE CONTROL DEVICE FOR TREATING RUNNING PAPER WEBS |
| DE19916411A1 (en) | 1999-04-01 | 2000-11-16 | Leif Kniese | Dynamic lever to improve power transmission |
| DE10007004A1 (en) | 2000-02-16 | 2001-09-13 | Dornier Gmbh Lindauer | Method for guiding a web and heat treatment device |
| DE10333483A1 (en) | 2003-07-22 | 2005-02-24 | Btm Textilmaschinen Gmbh | Process for heat treatment of a web and treatment device |
Also Published As
| Publication number | Publication date |
|---|---|
| CN113557402B (en) | 2023-03-14 |
| WO2020148033A1 (en) | 2020-07-23 |
| CN113557402A (en) | 2021-10-26 |
| EP3911904A1 (en) | 2021-11-24 |
Similar Documents
| Publication | Publication Date | Title |
|---|---|---|
| DE1292990B (en) | Device for the simultaneous carrying, transporting and guiding of a material web by means of a supplied gaseous flow means | |
| DE2752034C2 (en) | Device for pressure treatment of a material web in a calender or a smoothing unit | |
| DE4437375C2 (en) | Device and method for moistening a passing web of material | |
| DE29617524U1 (en) | Coating facility | |
| EP0019101B1 (en) | Apparatus for the wet-treatment of textile material in rope form | |
| EP1355002B1 (en) | Device for adjusting the position of a drainage foil | |
| DE102019100756A1 (en) | Device for treating a web | |
| DE3545270C1 (en) | Spreader | |
| DE3325590C2 (en) | Treatment unit for textile tubular goods with at least one cylindrical spreader | |
| CH670217A5 (en) | ||
| DE3235601C2 (en) | Device for covering web entry and web exit slots on tenter frames | |
| EP1191144B1 (en) | Curtain coating apparatus | |
| DE2715526C2 (en) | ||
| DE8111908U1 (en) | DEVICE FOR HOT-AIR DRYING A TRACK OF GOODS | |
| DE2844550C2 (en) | Loom with spreader device | |
| DE2725356C2 (en) | Device for holding and moving textile webs | |
| DE3625832C2 (en) | ||
| DE2521017A1 (en) | Strip material air cushion handling machine - has upper and lower nozzle boxes offset to avoid mutual interference | |
| DE9015581U1 (en) | stretcher | |
| EP3293307B1 (en) | Device for the adjustment of a dewatering foil in a paper machine | |
| DE1511232B2 (en) | PAPER MACHINE WITH TWO SLAVES | |
| DE2133191C3 (en) | Ski edge | |
| DE3128760C1 (en) | Rolled edge stripper for smoothing rolled edges on moving webs | |
| DE1511232C3 (en) | Paper machine with two Fourdrinier wires | |
| DE19960347A1 (en) | Device for deflecting a shingled stream on a roller table |
Legal Events
| Date | Code | Title | Description |
|---|---|---|---|
| R012 | Request for examination validly filed | ||
| R016 | Response to examination communication | ||
| R082 | Change of representative |
Representative=s name: PAUL & ALBRECHT PATENTANWAELTE PARTG MBB, DE |
