DE102017223800A1 - Cooling a rotor of an electric machine - Google Patents
Cooling a rotor of an electric machine Download PDFInfo
- Publication number
- DE102017223800A1 DE102017223800A1 DE102017223800.3A DE102017223800A DE102017223800A1 DE 102017223800 A1 DE102017223800 A1 DE 102017223800A1 DE 102017223800 A DE102017223800 A DE 102017223800A DE 102017223800 A1 DE102017223800 A1 DE 102017223800A1
- Authority
- DE
- Germany
- Prior art keywords
- rotor
- volume
- cavity
- heat
- sub
- Prior art date
- Legal status (The legal status is an assumption and is not a legal conclusion. Google has not performed a legal analysis and makes no representation as to the accuracy of the status listed.)
- Withdrawn
Links
Images
Classifications
-
- H—ELECTRICITY
- H02—GENERATION; CONVERSION OR DISTRIBUTION OF ELECTRIC POWER
- H02K—DYNAMO-ELECTRIC MACHINES
- H02K1/00—Details of the magnetic circuit
- H02K1/06—Details of the magnetic circuit characterised by the shape, form or construction
- H02K1/22—Rotating parts of the magnetic circuit
- H02K1/28—Means for mounting or fastening rotating magnetic parts on to, or to, the rotor structures
- H02K1/30—Means for mounting or fastening rotating magnetic parts on to, or to, the rotor structures using intermediate parts, e.g. spiders
-
- H—ELECTRICITY
- H02—GENERATION; CONVERSION OR DISTRIBUTION OF ELECTRIC POWER
- H02K—DYNAMO-ELECTRIC MACHINES
- H02K9/00—Arrangements for cooling or ventilating
- H02K9/22—Arrangements for cooling or ventilating by solid heat conducting material embedded in, or arranged in contact with, the stator or rotor, e.g. heat bridges
- H02K9/225—Heat pipes
-
- H—ELECTRICITY
- H02—GENERATION; CONVERSION OR DISTRIBUTION OF ELECTRIC POWER
- H02K—DYNAMO-ELECTRIC MACHINES
- H02K1/00—Details of the magnetic circuit
- H02K1/06—Details of the magnetic circuit characterised by the shape, form or construction
- H02K1/22—Rotating parts of the magnetic circuit
- H02K1/32—Rotating parts of the magnetic circuit with channels or ducts for flow of cooling medium
-
- H—ELECTRICITY
- H02—GENERATION; CONVERSION OR DISTRIBUTION OF ELECTRIC POWER
- H02K—DYNAMO-ELECTRIC MACHINES
- H02K2213/00—Specific aspects, not otherwise provided for and not covered by codes H02K2201/00 - H02K2211/00
- H02K2213/03—Machines characterised by numerical values, ranges, mathematical expressions or similar information
Landscapes
- Engineering & Computer Science (AREA)
- Power Engineering (AREA)
- Motor Or Generator Cooling System (AREA)
Abstract
Die Erfindung betrifft einen Rotor, bspw. für eine elektrische Maschine für ein Antriebssystem eines Flugzeugs, und insbesondere die Kühlung des Rotors. Der Rotor weist Speichen auf, die eine Nabe des Rotors mit einem Magnetträger verbinden. Die Speichen sind jeweils als Wärmerohr mit einem Hohlraum und einem in dem Hohlraum angeordneten Wärmetransportmedium ausgebildet. Der Hohlraum ist mit einem ersten Teilvolumen in thermischem Kontakt mit dem Magnetträger und mit einem zweiten Teilvolumen mit einer kühleren Sektion des Rotors, bspw. mit der Nabe. Bei Rotation des Rotors und dementsprechend in dem Hohlraum auf das Medium wirkender Zentrifugalkraft wird das Medium in flüssiger Form in das erste Teilvolumen getrieben, wo es aufgrund eines Wärmeeintrags vom Magnetträger verdampft. Die entstehende gasförmige Phase wir vom nachkommenden flüssigen Medium verdrängt und gelangt zum zweiten Teilvolumen, wo sie kondensiert und wieder in den Kreislauf eintritt. The invention relates to a rotor, for example for an electric machine for a drive system of an aircraft, and more particularly to the cooling of the rotor. The rotor has spokes which connect a hub of the rotor to a magnet carrier. The spokes are each formed as a heat pipe with a cavity and a heat transfer medium arranged in the cavity. The cavity is in thermal contact with the magnetic carrier with a first sub-volume and with a second sub-volume with a cooler section of the rotor, for example with the hub. Upon rotation of the rotor and, accordingly, in the cavity acting on the medium centrifugal force, the medium is driven in liquid form into the first sub-volume, where it evaporates due to a heat input from the magnetic carrier. The resulting gaseous phase is displaced by the incoming liquid medium and reaches the second partial volume, where it condenses and re-enters the circulation.
Description
Die Erfindung betrifft einen Rotor, vorzugsweise für eine elektrische Maschine, und insbesondere die Kühlung des Rotors.The invention relates to a rotor, preferably for an electric machine, and in particular the cooling of the rotor.
Für mobile Anwendungen, bspw. zum Antrieb von Luftfahrzeugen wie etwa Flugzeugen oder Helikoptern oder auch für elektrisch angetriebene Wasserfahrzeuge etc., werden als Alternative zu den gebräuchlichen Verbrennungskraftmaschinen Konzepte beruhend auf elektrischen Antriebssystemen untersucht und eingesetzt. Ein derartiges elektrisches Antriebssystem, welches als rein elektrisches oder auch als hybrid-elektrisches Antriebssystem ausgebildet sein kann, weist in der Regel zumindest eine elektrische Maschine auf, die zum Antreiben des Vortriebsmittels des Luftfahrzeugs als Elektromotor betrieben wird. Weiterhin sind eine entsprechende Quelle elektrischer Energie zur Versorgung des Elektromotors sowie in der Regel eine Leistungselektronik vorgesehen, mit deren Hilfe der Elektromotor betrieben wird. Im Falle eines hybridelektrischen Antriebssystems ist desweiteren ein Verbrennungsmotor vorgesehen, der seriell oder parallel in das Antriebssystem integriert ist und bspw. einen Generator antreibt, welcher seinerseits elektrische Energie zur Verfügung stellt, die in einer Batterie gespeichert und/oder dem Elektromotor zugeführt werden kann.For mobile applications, for example for the propulsion of aircraft such as airplanes or helicopters or for electrically powered watercraft, etc., concepts based on electric drive systems are being investigated and used as an alternative to the conventional internal combustion engines. Such an electric drive system, which can be embodied as a purely electrical or as a hybrid-electric drive system, generally has at least one electrical machine which is operated to drive the propulsion means of the aircraft as an electric motor. Furthermore, a corresponding source of electrical energy for supplying the electric motor and usually a power electronics are provided, by means of which the electric motor is operated. In the case of a hybrid electric drive system, an internal combustion engine is further provided which is serially or parallel integrated into the drive system and, for example, drives a generator, which in turn provides electrical energy that can be stored in a battery and / or supplied to the electric motor.
Derartige Systeme werden bspw. in
Die für derartige mobile Anwendungen einzusetzenden elektrischen Antriebe sowie die entsprechenden elektrischen Maschinen, d.h. Elektromotoren und Generatoren, müssen sich durch extrem hohe Leistungsdichten auszeichnen, um die benötigten Leistungen erzeugen zu können. Während für viele technische Anwendungen Leistungsdichten in Größenordnungen von 2kW/kg ausreichend sind, werden bspw. für die Elektrifizierung der Luftfahrt, d.h. für elektrisch oder hybrid-elektrisch angetriebene Luftfahrzeuge, aber auch für andere -insbesondere mobile- Anwendungen elektrische Maschinen mit Leistungsdichten in Größenordnungen von 20kW/kg und mehr angestrebt. Eine solche Maschine bzw. ein für eine solche Maschine geeigneter Rotor werden bspw. in der
Für die genannten mobilen Anwendungen werden demnach hochleistungsdichte, elektrische Maschinen benötigt, wobei mit steigender Leistungsdichte insbesondere die Kühlung der Maschine eine wesentliche Rolle spielt. Bspw. erlauben permanenterregte synchrone Drehfeldmaschinen entsprechend hohe Leistungs- und Drehmomentdichten. Zur Erreichung des benötigten Drehmoments wird bei Direktantrieben ein vergleichsweise großer Rotordurchmesser eingesetzt, was zu einer scheibenförmigen Läufergestalt führt. Aus Leichtbaugründen werden zudem für hochleistungsdichte Anwendungen häufig Oberflächenmagnete verwendet, die möglichst nah am Luftspalt unterhalb einer notwendigen Bandage zur Kompensation der auf die Magnete wirkenden Zentrifugalbeschleunigung angebracht werden. Die Rotorstruktur trägt die Magnete und überträgt das Drehmoment auf eine bzw. von einer Welle. Zur Minimierung der Masse des Rotors wird dieser oft aus Leichtmetall und mit einer Strebenstruktur gestaltet. Im Stator werden wegen diverser Vorteile häufig konzentrierte Wicklungen genutzt. Gegenüber Drehfeldmaschinen mit verteilter Wicklung liegen die Vorteile von konzentrierten Wicklungen im hohen Wicklungsfaktor, im hohen Nutfüllfaktor, kurzen Wickelköpfen und damit einer hohen volumetrischen und gravimetrischen Ausnutzung sowie einer hohen Effizienz. Allerdings erzeugen konzentrierte Wicklungen eine sehr stufenförmige, als „Feldwelle“ bezeichnete orts- und zeitabhängige Verteilung der magnetischen Spannung, welche Fourier-transformiert eine große Anzahl von Harmonischen mit signifikanten Amplituden ergibt. Die Subharmonischen und Harmonischen der Arbeitsfeldwelle rotieren im Betrieb mit unterschiedlichen Geschwindigkeiten relativ zur Rotordrehung und erzeugen dabei nachteilige Effekte wie Wirbelstromverluste in den Rotorpermanentmagneten aufgrund der elektromagnetischen Kopplung, lokale Eisensättigung im Stator und Schwingungen der elektrischen Maschine. Die Verluste in den Permanentmagneten können stark leistungsbegrenzend für die Maschine sein, da sich die Magnete erwärmen und eine gewisse Temperatur nicht überschritten werden darf, damit die magnetische Flussdichte nicht signifikant sinkt oder die Magnete gar entmagnetisieren.Accordingly, high-power-density electrical machines are required for the mobile applications mentioned, with the cooling of the machine playing an essential role in particular with increasing power density. For example. Permanently excited synchronous induction machines allow correspondingly high power and torque densities. To achieve the required torque, a comparatively large rotor diameter is used in direct drives, which leads to a disc-shaped rotor shape. For reasons of lightweight construction, surface magnets which are mounted as close as possible to the air gap below a necessary bandage for compensation of the centrifugal acceleration acting on the magnets are also frequently used for high-power-density applications. The rotor structure carries the magnets and transmits the torque to or from a shaft. To minimize the mass of the rotor, this is often made of light metal and with a strut structure. The stator often uses concentrated windings for various benefits. Compared to rotary field machines with distributed winding, the advantages of concentrated windings are the high winding factor, the high slot fill factor, short end windings and thus high volumetric and gravimetric utilization as well as high efficiency. However, concentrated windings produce a very step-like distribution of the magnetic voltage, referred to as "field wave", which gives Fourier transforms a large number of harmonics with significant amplitudes. The subharmonics and harmonics of the working field wave rotate at different speeds relative to the rotor rotation during operation and thereby produce adverse effects such as eddy current losses in the rotor permanent magnet due to the electromagnetic coupling, local iron saturation in the stator and vibrations of the electric machine. The losses in the permanent magnets can be very power limiting for the machine, since the magnets heat up and a certain temperature must not be exceeded, so that the magnetic flux density does not decrease significantly or even demagnetize the magnets.
Ein Ansatz zur Beeinflussung der Magnettemperaturen liegt darin, den Rotor aus einem geeigneten Material herzustellen, mit einer ausreichend hohen Masse und demensprechend mit einer hohen thermischen Kapazität und/oder mit einer möglichst großen Oberfläche für einen konvektiven Wärmeübergang auszustatten. Obwohl die thermische Leitfähigkeit von Leichtbaumetallen wie Aluminium mit ca. 150 W/m/K bereits vielversprechend ist, reicht sie häufig nicht aus, um Verlustwärme so auf die Rotorstruktur zu leiten, dass eine homogene Temperaturverteilung sowie eine niedrige Temperatur im Magnetträger im direkten Umfeld der Magnete erreicht wird. Abhilfe wird dann mit Kühlrippen direkt am Magnetträger geschaffen, die den konvektiven Wärmeübergang durch die höhere Oberfläche verbessern, aber auch die Rotormasse erhöhen, aerodynamischen Widerstand erzeugen und mechanisch keine weitere Funktion erfüllen.One approach for influencing the magnet temperatures is to make the rotor from a suitable material, to provide it with a sufficiently high mass and thus with a high thermal capacity and / or with as large a surface as possible for a convective heat transfer. Although the thermal conductivity of lightweight metals such as aluminum is already promising at about 150 W / m / K, it is often insufficient to direct heat loss to the rotor structure in such a way that a homogeneous temperature distribution and a low temperature in the magnetic carrier in the immediate vicinity of the Magnets is achieved. Remedy is then created with cooling fins directly on the magnetic carrier, which improve the convective heat transfer through the higher surface, but also increase the rotor mass, generate aerodynamic drag and mechanically fulfill no other function.
Eine adäquate Kühlung kann auch mit Hilfe von Wärmetauschern oder, wie in der
Es ist daher eine Aufgabe der vorliegenden Erfindung, eine effiziente Möglichkeit zur Kühlung einer elektrischen Maschine anzugeben.It is therefore an object of the present invention to provide an efficient way of cooling an electrical machine.
Diese Aufgabe wird durch den in Anspruch 1 beschriebenen Rotor sowie durch das in Anspruch 10 beschriebene Verfahren gelöst. Die Unteransprüche beschreiben vorteilhafte Ausgestaltungen.This object is achieved by the rotor described in
Der Rotor umfasst einen radial inneren Bereich, bspw. eine Nabe, einen Magnetträger, welcher radial außerhalb des radial inneren Bereichs angeordnet ist und den radial inneren Bereich umgibt, sowie zumindest eine, in der Regel aber eine Vielzahl von Speichen. Die Speiche stellt eine radiale Verbindung zwischen dem radial inneren Bereich und dem im Wesentlichen kreisringförmigen, zum Tragen eines magnetischen Mittels des Rotors, bspw. eines Permanentmagneten, ausgebildeten Magnetträger dar, erstreckt sich also zwischen dem Magnetträger und dem radial inneren Bereich. Desweiteren ist die Speiche zumindest teilweise als Heatpipe bzw. Wärmerohr mit einem Wärmetransportmedium in einem geschlossenen Hohlraum ausgebildet und derart angeordnet, dass eine am Magnetträger auftretende Wärme über das Wärmerohr von dem Magnetträger weg, bspw. in einer Richtung zum radial inneren Bereich bzw. zur Nabe hin, abtransportiert wird.The rotor comprises a radially inner region, for example a hub, a magnet carrier, which is arranged radially outside the radially inner region and surrounds the radially inner region, and at least one, but generally a plurality of spokes. The spoke is a radial connection between the radially inner region and the substantially annular, for carrying a magnetic means of the rotor, for example. A permanent magnet, formed magnetic carrier, thus extending between the magnet carrier and the radially inner region. Furthermore, the spoke is at least partially formed as a heat pipe or heat pipe with a heat transport medium in a closed cavity and arranged such that a heat occurring at the magnetic carrier via the heat pipe away from the magnetic carrier, for example. In a direction to the radially inner region or the hub out, is transported away.
Ein solches Wärmerohr kann sich bspw. an der Bauart und der Funktionsweise eines Zwei-Phasen-Thermosiphons orientieren.Such a heat pipe may, for example, be based on the design and operation of a two-phase thermosyphon.
Die Ausbildung der Speiche als Wärmerohr bedeutet, dass sich der Hohlraum zumindest teilweise in der Speiche erstreckt und dass in dem Hohlraum eine vorgegebene Menge eines fluiden Wärmetransportmediums vorgesehen ist. Diese Menge ist derart vorgegeben, dass der Hohlraum nur teilweise von dem Wärmetransportmedium in flüssigem Zustand gefüllt ist, d.h. das Volumen des Wärmetransportmediums in flüssigem Zustand ist geringer als das Volumen des Hohlraums. Das verbleibende, nicht mit flüssigem Wärmetransportmedium angefüllte Volumen des Hohlraums kann von dem Wärmetransportmedium in gasförmigem, verdampftem Zustand eingenommen werden.The formation of the spoke as a heat pipe means that the cavity extends at least partially in the spoke and that in the cavity a predetermined amount of a fluid heat transport medium is provided. This amount is predetermined such that the cavity is only partially filled by the heat transport medium in the liquid state, i. the volume of the heat transport medium in the liquid state is less than the volume of the cavity. The remaining, not filled with liquid heat transfer medium volume of the cavity can be occupied by the heat transfer medium in a gaseous, vaporized state.
Diese Ausbildung des Rotors bzw. der Speiche erlaubt also eine effiziente, passive Kühlung ohne zusätzlichen Aufwand bspw. in Form von Pumpen oder anderen Gerätschaften.This design of the rotor or the spoke thus allows efficient, passive cooling without additional effort, for example. In the form of pumps or other equipment.
Der Hohlraum weist ein erstes Ende, ein zweites Ende und einen zwischen den beiden Enden liegenden Zwischenbereich auf, wobei sich am ersten Ende ein erstes Teilvolumen des Hohlraums, am zweiten Ende ein zweites Teilvolumen des Hohlraums und im Zwischenbereich ein weiteres Teilvolumen des Hohlraums befinden. Diese drei Teilvolumina, die gemeinsam den Hohlraum bilden, sind fluidisch miteinander verbunden, so dass das im Hohlraum in gasförmigem oder flüssigem Zustand vorliegende Wärmetransportmedium ohne weiteres zwischen den Teilvolumina strömen kann. Der Hohlraum ist derart angeordnet und ausgebildet, dass das erste und das zweite Teilvolumen bzw. die entsprechenden Enden in radialer Richtung voneinander beabstandet sind. Das heißt nicht zwangsläufig, dass die Enden in tangentialer Richtung, d.h. in Umfangsrichtung, an derselben Position liegen. Bspw. ist nicht ausgeschlossen, dass die Speiche nicht exakt radial ausgerichtet ist, dass sie also unter einem Winkel a zur radialen Richtung steht und nicht parallel hierzu, wobei für diesen Winkel jedoch gelten muss a≠90°. Das erste Teilvolumen ist in thermischem Kontakt mit dem eine Wärmequelle darstellenden Magnetträger, so dass Wärme vom Magnetträger auf das flüssige Wärmetransportmedium im ersten Teilvolumen übergehen kann. Desweiteren ist zumindest das zweite Teilvolumen und vorzugsweise auch das weitere Teilvolumen in thermischem Kontakt mit einem eine Wärmesenke darstellenden, kühleren Bereich des Rotors, der im Normalbetrieb des Rotors, d.h. insbesondere wenn der Rotor bzw. die elektrische Maschine keine Fehlfunktion aufweist, eine niedrigere Temperatur aufweist, als der Magnetträger, so dass Wärme vom gasförmigen bzw. verdampften Wärmetransportmedium im zweiten und ggf. im weiteren Teilvolumen auf den kühleren Bereich übergehen kann. Durch die Verwendung von „zumindest“ wird hier bereits angedeutet, dass das weitere Teilvolumen im Zwischenbereich ebenfalls thermisch mit einem kühleren Bereich des Rotors verbunden ist. Es ist also davon auszugehen, dass das Wärmetransportmedium auch im Zwischenbereich Wärme an eine umgebende Struktur, bspw. die Wand der Speiche, abgeben kann. Diese Wand kann bereits den „kühleren Bereich“ bzw. die Wärmesenke darstellen. Es kann jedoch davon ausgegangen werden, dass die Wand thermisch mit einem weiteren Bereich verbunden ist, bspw. mit der Nabe, wohin die Wärme abfließen kann. Jedoch kann die Wärme auch direkt von der Wand abgenommen werden, da die Speiche und mit ihr die Wand bei Drehung des Rotors von der Umgebungsluft umströmt und dadurch gekühlt wird.The cavity has a first end, a second end and an intermediate region lying between the two ends, wherein at the first end a first partial volume of the cavity, at the second end a second partial volume of the cavity and in the intermediate region a further partial volume of the cavity. These three sub-volumes, which together form the cavity, are fluidically connected to one another so that the heat transport medium present in the cavity in gaseous or liquid state can readily flow between the sub-volumes. The cavity is arranged and formed such that the first and the second sub-volume or the respective ends are spaced apart in the radial direction. This does not necessarily mean that the ends are tangential, i. E. in the circumferential direction, at the same position. For example. It can not be ruled out that the spoke is not exactly radially aligned, ie that it is at an angle a to the radial direction and not parallel to it, but for this angle a ≠ 90 ° must apply. The first subvolume is in thermal contact with the magnetic carrier representing a heat source so that heat from the magnetic carrier can transfer to the liquid heat transport medium in the first subvolume. Furthermore, at least the second sub-volume, and preferably also the further sub-volume, is in thermal contact with a cooler portion of the rotor representing a heat sink which is in normal operation of the rotor, i. in particular when the rotor or the electrical machine has no malfunction, has a lower temperature than the magnetic carrier, so that heat from the gaseous or vaporized heat transfer medium in the second and possibly in the further sub-volume can pass to the cooler area. Through the use of "at least", it is already indicated here that the additional partial volume in the intermediate region is also thermally connected to a cooler region of the rotor. It is therefore to be assumed that the heat transport medium can also transfer heat to a surrounding structure, for example the wall of the spoke, in the intermediate region. This wall can already represent the "cooler area" or the heat sink. However, it can be assumed that the wall is thermally connected to another area, for example to the hub, where the heat can flow. However, the heat can also be removed directly from the wall, since the spoke and with it the wall when the rotor is rotated by the ambient air flows around and is thereby cooled.
Der Hohlraum erstreckt sich also in radialer Richtung zwischen einem vergleichsweise nabennahen, eine Wärmesenke darstellenden Bereich des Rotors und dem eine Wärmequelle darstellenden Magnetträger vom ersten zum zweiten Ende des Hohlraums. Dabei ist der Hohlraum an seinem ersten Ende in thermischem Kontakt mit dem Magnetträger, so dass die Wärme vom Magnetträger auf das Medium im Hohlraum übertragbar ist.The cavity thus extends in the radial direction between a region of the rotor that is comparatively close to the hub, a heat sink, and the magnetic carrier, which represents a heat source, from the first to the second end of the cavity. The cavity is at its first End in thermal contact with the magnetic carrier, so that the heat from the magnetic carrier is transferable to the medium in the cavity.
Das Wärmetransportmedium im Hohlraum ist derart gewählt, dass es zumindest im Normalbetrieb des Rotors aufgrund der vom Magnetträger auf das Wärmetransportmedium im ersten Teilvolumen übertragenen Wärme verdampft und zumindest bzw. spätestens im zweiten Teilvolumen, d.h. an der Wärmesenke, kondensiert. Durch „zumindest“ wird wiederum ausgedrückt, dass das Wärmetransportmedium auch auf dem Weg vom ersten zum zweiten Teilvolumen, d.h. im weiteren Teilvolumen, kondensieren kann und nicht zwangsläufig erst im zweiten Teilvolumen.The heat transport medium in the cavity is selected such that, at least during normal operation of the rotor, it evaporates due to the heat transferred from the magnetic carrier to the heat transport medium in the first partial volume and at least or at the latest in the second partial volume, i. at the heat sink, condensed. By "at least" is again expressed that the heat transport medium also on the way from the first to the second partial volume, i. in the further partial volume, can condense and not necessarily only in the second partial volume.
Der Hohlraum kann sich vorteilhafterweise in radialer Richtung über die Erstreckung der Speiche hinausgehend in den Magnetträger hinein erstrecken, so dass sich das erste Teilvolumen des Hohlraums zumindest teilweise im Magnetträger befindet. Damit befindet sich das erste Teilvolumen auch näher an der eigentlichen Wärmequelle, d.h. am magnetischen Mittel des Rotors, womit eine effizientere Kühlung gewährleistet ist.The cavity may advantageously extend in the radial direction beyond the extension of the spoke into the magnet carrier, so that the first partial volume of the cavity is at least partially located in the magnet carrier. Thus, the first partial volume is also closer to the actual heat source, i. at the magnetic means of the rotor, whereby a more efficient cooling is ensured.
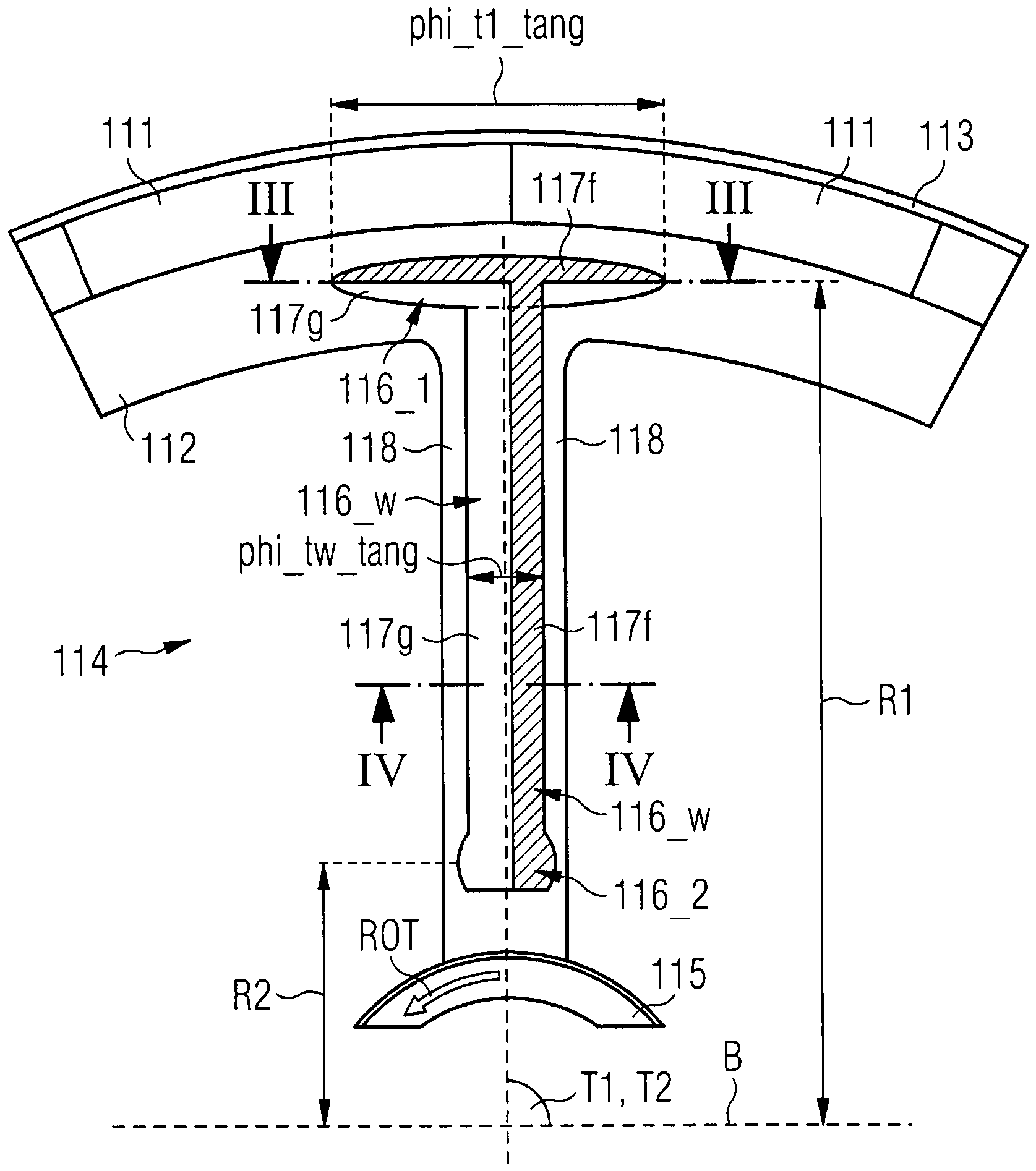
Der Hohlraum weist im Bereich des ersten Teilvolumens eine tangentiale Erstreckung
Ebenso kann gelten, dass der Hohlraum im Bereich des ersten Teilvolumens eine axiale Erstreckung
Jede dieser beiden Maßnahmen für sich bewirkt eine vergrößerte Kontaktfläche zwischen dem ersten Teilvolumen und dem Magnetträger und damit eine verbesserte Kühlwirkung.Each of these two measures per se causes an enlarged contact surface between the first sub-volume and the magnetic carrier and thus an improved cooling effect.
Die tangentiale Erstreckung der Speiche entlang des Bereichs des Zwischenbereichs kann konstant oder aber veränderlich sein. Wenn phi_t1_tang > phi_tw_tang bzw.
phi_t1_ax > phi_tw_ax gelten soll, ist die tangentiale bzw. axiale Erstreckung des ersten Teilvolumens in jedem Fall größer als diejenige des weiteren Teilvolumens im gesamten Zwischenbereich. Wenn also das weitere Teilvolumen veränderliche tangentiale bzw. axiale Erstreckungen jeweils mit einer maximalen und einer minimalen Erstreckung aufweist, ist die tangentiale bzw. axiale Erstreckung des ersten Teilvolumens größer als die jeweilige maximale Erstreckung des weiteren Teilvolumens.The tangential extent of the spoke along the area of the intermediate area may be constant or variable. If phi_t1_tang> phi_tw_tang or
phi_t1_ax> phi_tw_ax, the tangential or axial extent of the first subvolume is in any case greater than that of the further subvolume in the entire intermediate range. Thus, if the further sub-volume has variable tangential or axial extensions each with a maximum and a minimum extension, the tangential or axial extent of the first sub-volume is greater than the respective maximum extent of the further sub-volume.
Ein radialer Querschnitt des Hohlraums im Zwischenbereich kann bspw. im Wesentlichen rechteckig sein und tangentiale bzw. axiale Erstreckungen
„Im Wesentlichen rechteckig“ soll bedeuten, dass die den Hohlraum begrenzenden Wand parallel zueinander sind. Dabei können die entsprechenden Ecken, in denen Wände einen Winkel von ca. 90° einschließend aneinander stoßen bzw. angrenzen, tatsächlich rechtwinklig oder aber abgerundet sein."Substantially rectangular" is intended to mean that the walls bounding the cavity are parallel to each other. In this case, the corresponding corners, in which walls abut an angle of approximately 90 ° adjacent to each other or adjoin, in fact be right-angled or rounded.
Der „radiale“ Querschnitt ist derjenige Querschnitt, der sich bei radialer Blickrichtung auf den Hohlraum ergibt.The "radial" cross-section is that cross-section that results in the radial direction of view of the cavity.
Der Hohlraum weist einen ersten Bereich zum Transport einer flüssigen Phase des Wärmetransportmediums und einen zweiten Bereich zum Transport einer gasförmigen Phase des Wärmetransportmediums auf, wobei die unterschiedlichen Phasen im Betriebszustand des Rotors in entgegengesetzten Richtungen strömen. Der erste und der zweite Bereich liegen aufgrund der Drehung des Rotors in tangentialer Richtung gesehen hintereinander, wobei vorzugsweise keine Trennwand zwischen dem ersten Bereich und dem zweiten Bereich angeordnet ist. Dies wird möglich, da die beiden Strömungen allein aufgrund der Drehung des Rotors weitestgehend voneinander getrennt sind.The cavity has a first region for transporting a liquid phase of the heat transport medium and a second region for transporting a gaseous phase of the heat transport medium, wherein the different phases flow in opposite directions in the operating state of the rotor. The first and the second area are due to the rotation of the rotor in the tangential direction seen one behind the other, preferably no partition between the first region and the second region is arranged. This is possible because the two flows are largely separated from each other solely due to the rotation of the rotor.
Der radial innere Bereich, zu dem die Wärme abgeführt wird, kann bspw. eine Nabe des Rotors sein. Dabei sei angemerkt, dass der Begriff „Nabe“ derart zu verstehen ist, dass diese Nabe zum Einen dasjenige Bauteil meinen kann, mit dem der Rotor auf eine Welle aufgeschoben und daran befestigt wird. Zum Anderen soll der Begriff „Nabe“ auch diejenige Ausführung umfassen, bei der der Rotor bereits eine Welle bzw. einen Teil davon umfasst, bei der also die Welle und der Rotorgrundkörper eine integrale Einheit bilden.The radially inner region, to which the heat is dissipated, may, for example, be a hub of the rotor. It should be noted that the term "hub" is to be understood such that this hub on the one hand can mean that component with which the rotor is pushed onto a shaft and secured thereto. On the other hand, the term "hub" should also include the embodiment in which the rotor already comprises a shaft or a part thereof, in which therefore form the shaft and the rotor body an integral unit.
Der radial innere Bereich, zu dem die Wärme abgeführt wird, kann auch eine zusätzliche Strebenstruktur aufweisen, die derart angeordnet und ausgebildet ist, dass sie ein radial inneres Ende der Speiche mit der Nabe des Rotors verbindet. Die Strebenstruktur kann bspw. als Fachwerkstruktur mit einer Vielzahl von sich kreuzenden Streben ausgebildet sein.The radially inner region to which the heat is dissipated may also have an additional strut structure arranged and configured to connect a radially inner end of the spoke to the hub of the rotor. The strut structure may be formed, for example, as a framework structure with a plurality of intersecting struts.
Eine entsprechende elektrische Maschine, die als Generator oder als Elektromotors arbeiten kann, kann Teil eines Antriebssystem eines Fahrzeugs sein, insbesondere eines Luftfahrzeugs, und einen Stator sowie den beschriebenen Rotor umfassen.A corresponding electric machine, which can operate as a generator or as an electric motor, can be part of a drive system of a vehicle, in particular of an aircraft, and a stator and the rotor described.
Das entsprechende Luftfahrzeug weist also bspw. zum Antrieb eines Propellers ein Antriebssystem mit zumindest einer derartigen elektrischen Maschine auf.The corresponding aircraft thus has, for example, for driving a propeller, a drive system with at least one such electrical machine.
Bei dem Verfahren zur Kühlung des Rotors im Betrieb des Rotors, d.h. bei drehendem Rotor, bewirkt demnach das unter der Ausnutzung der Zentrifugalkraft wirkende, zumindest teilweise durch die Speiche realisierte Wärmerohr eine Kühlung des Magnetträgers des Rotors.In the method of cooling the rotor during operation of the rotor, i. When the rotor rotates, therefore, the heat pipe acting under the utilization of the centrifugal force, at least partially realized by the spoke, effects a cooling of the magnetic carrier of the rotor.
Insbesondere bei Ausgestaltung des Rotors bzw. des Hohlraums mit den oben eingeführten Teilvolumina treibt die aufgrund der Drehung des Rotors auftretende Zentrifugalkraft eine flüssige Phase des Wärmetransportmediums in das erste Teilvolumen. Zumindest ein Teil der flüssigen Phase verdampft im ersten Teilvolumen aufgrund einer von dem Magnetträger auf das erste Teilvolumen übertragenen Wärme, wodurch eine gasförmige Phase des Wärmetransportmediums gebildet wird und wodurch die Kühlung des Rotors bewirkt wird.In particular, in the embodiment of the rotor or the cavity with the sub-volumes introduced above, the centrifugal force occurring due to the rotation of the rotor drives a liquid phase of the heat-transporting medium into the first sub-volume. At least a portion of the liquid phase vaporizes in the first sub-volume due to heat transferred from the magnetic carrier to the first sub-volume, thereby forming a gaseous phase of the heat-transporting medium and causing cooling of the rotor.
Die gasförmige Phase wird aus dem ersten Teilvolumen zumindest durch weiterhin in das erste Teilvolumen getriebene flüssige Phase verdrängt. Die so verdrängte gasförmige Phase strömt entlang des weiteren Teilvolumens in Richtung zum zweiten Teilvolumen, wobei die gasförmige Phase auf dem Weg zum zweiten Teilvolumen und/oder im zweiten Teilvolumen Wärme an eine den Hohlraum umgebende Wand abgibt. Schließlich kondensiert die gasförmige Phase aufgrund des Abgebens der Wärme zur flüssigen Phase.The gaseous phase is displaced from the first partial volume at least by further driven into the first partial volume liquid phase. The thus displaced gaseous phase flows along the further partial volume in the direction of the second partial volume, wherein the gaseous phase emits heat on the way to the second partial volume and / or in the second partial volume to a wall surrounding the cavity. Finally, the gaseous phase condenses due to the release of heat to the liquid phase.
Die an die Wand abgegebene Wärme kann über die Wand in einer Richtung zur Nabe hin geführt und/oder von einem Luftstrom aufgenommen werden, der die Speiche aufgrund der Drehung des Rotors umströmt.The heat delivered to the wall may be directed across the wall in a direction toward the hub and / or received by an air flow that flows around the spoke due to the rotation of the rotor.
Die vorliegende Erfindung löst das Problem der zu hohen Temperaturen im Rotor und in den Magneten und die hieraus resultierenden Leistungsbeschränkung sowie das Problem der Reduzierung der Rotormasse und des aerodynamischen Widerstands unter den gegebenen Randbedingungen durch eine Funktionsintegration. Die für das Drehmoment relevante Biegesteifigkeit der Rotorspeichen bei gleichzeitig geringem Gewicht wird durch Hohlprofile erzeugt, die ein hohes Flächenträgheitsmoment aufweisen. Der dementsprechend zur Verfügung stehende Hohlraum in den Speichen wird basierend auf dem Konzept einer rotierenden Heatpipe genutzt. Bei Wärmerohren bzw. Heatpipes in der hier eingesetzten Anwendung handelt es sich um geschlossene zweiphasige Systeme, die einen besonders hohen Wärmetransport zwischen einer warmen und einer kalten Stelle des Rotors ermöglichen. Stark vereinfacht betrachtet bewirkt das Volumen einer funktionierenden Heatpipe eine Wärmeleitung zwischen einer Wärmequelle und einer Wärmesenke, die eine um mindestens eine Größenordnung höhere äquivalente Wärmeleitfähigkeit aufweist als das generell als vorteilhaft angesehene Leitermaterial Kupfer. Man unterscheidet zwischen Heatpipes, die aufgrund der sogenannten Docht- bzw. Kapillarwirkung arbeiten, und denjenigen, die die Schwerkraft nutzen. Im hier vorgestellten Ansatz wird auf dem Prinzip der Letztgenannten aufgebaut, wobei jedoch an die Stelle der Schwerkraft die bei Rotation des Rotors auftretende Zentrifugalkraft tritt.The present invention solves the problem of excessively high temperatures in the rotor and in the magnets and the resulting power restriction and the problem of reducing the rotor mass and the aerodynamic resistance under the given boundary conditions by a functional integration. The relevant for the torque bending stiffness of the rotor spokes at the same time low weight is generated by hollow sections, which have a high area moment of inertia. The corresponding cavity in the spokes is used based on the concept of a rotating heat pipe. Heat pipes or heat pipes in the application used here are closed two-phase systems, which allow a particularly high heat transfer between a hot and a cold point of the rotor. In a very simplified manner, the volume of a functioning heat pipe causes a heat conduction between a heat source and a heat sink, which has at least an order of magnitude higher equivalent thermal conductivity than the generally considered advantageous conductor material copper. A distinction is made between heat pipes, which work due to the so-called wick or capillary effect, and those that use gravity. In the approach presented here is based on the principle of the latter, but taking the place of gravity, the centrifugal force occurring during rotation of the rotor occurs.
Im Betrieb des Rotors ergibt sich wie einleitend beschrieben eine Aufheizung der am Magnetträger befestigten Permanentmagnete. Der dementsprechend ebenfalls erwärmte Magnetträger ist in thermischem Kontakt mit den Speichen, so dass die im Magnetträger auftretende Wärme auch zu den Speichen und dort insbesondere jeweils zu deren erstem Teilvolumen fließt. Dies bewirkt, dass das Arbeitsmedium im ersten Teilvolumen aufgrund der übertragenen Wärme verdampft. Auf dem Weg zum kälteren, radial inneren Bereich der Speiche in Richtung Rotornabe, d.h. spätestens im zweiten Teilvolumen, kondensiert das Arbeitsmedium in der Speiche. Ein Transport der flüssigen Phase des Arbeitsmediums zur Wärmequelle, d.h. zum ersten Teilvolumen, wird bei rotierendem Rotor automatisch durch die auf die Flüssigkeit wirkende Zentrifugalkraft sichergestellt. Die entsprechende Strömung dieser Flüssigkeit in das erste Teilvolumen bewirkt eine Verdrängung der dort aufgrund der Verdampfung befindlichen gasförmigen Phase des Arbeitsmediums. Zudem trifft die Flüssigkeitsströmung mit Ihrer gesamten kinetischen Energie im Wesentlichen rechtwinklig auf den heißen Bereich der Wandung des ersten Teilvolumens, welche das erste Teilvolumen vom Magnetträger trennt, und bildet hier vor der vollständigen Verdampfung eine Staupunktströmung mit entsprechend hohen Wärmeübergangskoeffizienten.During operation of the rotor, as described in the introduction, a heating of the permanent magnets attached to the magnetic carrier results. The accordingly also heated magnetic carrier is in thermal contact with the spokes, so that the heat occurring in the magnetic carrier also flows to the spokes and there in particular to each of the first sub-volume. This causes the working fluid in the first subvolume to evaporate due to the heat transferred. On the way to the colder, radially inner portion of the spoke towards the rotor hub, i. at the latest in the second partial volume, the working medium condenses in the spoke. Transport of the liquid phase of the working medium to the heat source, i. to the first partial volume, is automatically ensured by the centrifugal force acting on the liquid with a rotating rotor. The corresponding flow of this liquid into the first sub-volume causes a displacement of there located due to the evaporation gaseous phase of the working medium. In addition, the liquid flow with its total kinetic energy essentially meets the hot region of the wall of the first partial volume, which separates the first partial volume from the magnetic carrier, and forms a stagnation point flow with correspondingly high heat transfer coefficients before complete evaporation.
Der Transport der gasförmigen Phase vom ersten zum zweiten Teilvolumen wird zusätzlich zu dem durch die Verdrängung der gasförmigen Phase durch die flüssige Phase bewirkten Effekt durch die bei der Verdampfung entstehenden Druckverhältnisse sichergestellt. Da bei Drehung des Rotors insbesondere auf die flüssige Phase auch Trägheitskräfte in tangentialer Richtung wirken, ist außerdem eine weitestgehende räumliche Trennung einerseits der Flüssigkeitsströmung in Richtung zum ersten Teilvolumen und andererseits der Gasströmung in Richtung zum zweiten Teilvolumen automatisch gewährleistet. Mögliche negative Interaktionen der beiden Strömungen, bspw. Scherströmungsinstabilitäten, werden so verhindert und eine kontinuierliche Versorgung der Verdampferstelle im ersten Teilvolumen mit Flüssigkeit wird sichergestellt. Daher werden innerhalb der hohlen Speiche, im Gegensatz zu konventionellen Heatpipes, keine weiteren Wandstrukturen benötigt. Die gasförmige Phase kann sich über die gesamte Länge der Speiche abkühlen und prinzipiell an jeder radialen Position der Heatpipe, spätestens aber im zweiten Teilvolumen, unter Abgabe der Kondensationsenthalpie kondensieren. Hierbei hilft auch, dass sich die gasförmige Phase bei rotierendem Rotor in tangentialer Richtung der Staupunktlinie der äußeren Luftströmung um die Speiche befindet, in deren Nähe ein besonders hoher lokaler Wärmeübergangskoeffizient zu erwarten ist.The transport of the gaseous phase from the first to the second partial volume is ensured, in addition to the effect caused by the displacement of the gaseous phase by the liquid phase, by the pressure conditions arising during the evaporation. Since upon rotation of the rotor in particular on the liquid phase and inertial forces act in the tangential direction, a far-reaching spatial separation on the one hand the liquid flow in the direction of the first subvolume and on the other hand, the gas flow in the direction of the second subvolume is automatically guaranteed. Possible negative interactions of the two flows, for example shear flow instabilities, are so prevented and a continuous supply of the evaporator site in the first part volume with liquid is ensured. Therefore, in contrast to conventional heatpipes, no further wall structures are required within the hollow spoke. The gaseous phase can cool down over the entire length of the spoke and in principle condense at each radial position of the heat pipe, but at the latest in the second partial volume, giving off the condensation enthalpy. This also helps that the gaseous phase is located at a rotating rotor in the tangential direction of the stagnation point line of the outer air flow around the spoke, in the vicinity of which a particularly high local heat transfer coefficient can be expected.
Die Neuheit der Erfindung liegt in der Funktionsintegration einer gekapselten, passiven Zweiphasenkühlung in die Rotorspeichen, wobei sowohl strukturmechanische als auch wärmetechnische Vorteile kombiniert werden. Die Ausbildung der Speichen als geschlossene Hohlprofile ist strukturmechanisch erstrebenswert, um ihre Masse bei hoher Biege- und Torsionssteifigkeit zu minimieren. Der entstehende Hohlraum wird hier sinnvoll und effektiv genutzt, um die an den Permanentmagneten entstehende Wärme sehr effizient bei nur geringem Zusatzgewicht des Arbeitsmediums und lediglich minimalen erforderlichen Abdichtmaßnahmen von den temperaturgefährdeten Magneten weg zu transportieren und die Temperatur an der Rotorstruktur gleichmäßiger zu verteilen. Die sich im Betrieb des Rotors drehenden Speichen erzeugen sowohl die nötige Zentrifugalkraft auf die Flüssigkeit sowie eine äußere Staupunktluftströmung, die den Wärmetausch zwischen Speiche und Umgebung signifikant erhöht.The novelty of the invention lies in the functional integration of an encapsulated, passive two-phase cooling in the rotor spokes, wherein both structural mechanical and thermal advantages are combined. The formation of the spokes as closed hollow profiles is structurally desirable to minimize their mass at high bending and torsional rigidity. The resulting cavity is used here sensibly and effectively to transport the heat generated at the permanent magnets very efficiently with only a small additional weight of the working medium and only minimal sealing measures required of the temperature-prone magnets and to distribute the temperature at the rotor structure more evenly. The spokes rotating during operation of the rotor produce both the necessary centrifugal force on the liquid and an external stagnation point air flow which significantly increases the heat exchange between the spoke and the surroundings.
Die Homogenisierung der Rotortemperatur und die damit einhergehende Reduzierung der thermischen Gradienten in der Rotorstruktur haben positive Effekte auf die strukturmechanische Belastung des Rotors, da lokale Dehnungen und daraus resultierende zusätzliche Spannungen in der ohnehin hochbelasteten Struktur wesentlich verringert werden.The homogenization of the rotor temperature and the concomitant reduction of the thermal gradient in the rotor structure have positive effects on the structural mechanical load of the rotor, since local strains and resulting additional stresses in the already highly loaded structure are substantially reduced.
Der Fertigungsaufwand zur Herstellung dieser besonderen Rotorstruktur bleibt trotz des Vorsehens der in die Speichen und ggf. auch in den Magnetträger integrierten Hohlräume aufgrund der Verfügbarkeit von modernen Herstellverfahren wie bspw. dem „Additive Manufacturing“ gering. Das korrekte Abdichten und Befüllen der Heatpipes bei gleichzeitiger Einstellung des Arbeitsdrucks stellen zu berücksichtigende Prozessschritte dar, die jedoch wie bei jeder Heatpipe beherrscht werden müssen.Despite the provision of the cavities integrated in the spokes and possibly also in the magnetic carrier, the production costs for producing this special rotor structure remain low due to the availability of modern production methods such as, for example, "additive manufacturing". The correct sealing and filling of the heatpipes with simultaneous adjustment of the working pressure are to be considered process steps, which, however, must be mastered as with any heat pipe.
Der hier vorgestellte Ansatz kann grundsätzlich bei diversen Ausführungen von elektrischen Maschinen eingesetzt werden, bspw. auch bei Traktionsantrieben, insbesondere wenn mit hohen Magnettemperaturen umzugehen ist und/oder wenn es hieraus resultierende Leistungsbeschränkungen gibt.The approach presented here can in principle be used in various embodiments of electrical machines, for example, even in traction drives, especially when dealing with high magnet temperatures and / or if there are resulting performance limitations.
Allgemein kann davon ausgegangen werden, dass die Erfindung zumindest bei allen Rotoren eingesetzt werden kann, die außen gekühlt werden müssen und bei denen im Rotorbereich ein Fluid, bspw. Luft oder auch ein anderes Gas, vorbeiströmt, an das die Wärme abgegeben werden kann.In general, it can be assumed that the invention can be used at least for all rotors which have to be cooled on the outside and in which a fluid, for example air or another gas, flows past in the rotor region, to which the heat can be released.
sondern allgemein Rotoren, die außen gekühlt werden müssen und bei denen im Rotorbereich ein Fluid (Luft, anderes Gas) vorbeiströmt, an das die Wärme abgegeben werden kannbut in general rotors, which must be cooled outside and where in the rotor area a fluid (air, other gas) flows past, to which the heat can be given off
Weitere Vorteile und Ausführungsformen ergeben sich aus den Zeichnungen und der entsprechenden Beschreibung.Further advantages and embodiments will become apparent from the drawings and the corresponding description.
Im Folgenden werden die Erfindung und beispielhafte Ausführungsformen anhand von Zeichnungen näher erläutert. Dort werden gleiche Komponenten in verschiedenen Figuren durch gleiche Bezugszeichen gekennzeichnet. Es ist daher möglich, dass sich bei der Beschreibung einer zweiten Figur zu einem bestimmten Bezugszeichen, welches bereits im Zusammenhang mit einer anderen, ersten Figur erläutert wurde, keine näheren Erläuterungen finden. In einem solchen Fall kann bei der Ausführungsform der zweiten Figur davon ausgegangen werden, dass die dort mit diesem Bezugszeichen gekennzeichnete Komponente auch ohne nähere Erläuterung im Zusammenhang mit der zweiten Figur die gleichen Eigenschaften und Funktionalitäten aufweist, wie im Zusammenhang mit der ersten Figur erläutert. Desweiteren werden der Übersichtlichkeit wegen teilweise nicht sämtliche Bezugszeichen in sämtlichen Figuren dargestellt, sondern nur diejenigen, auf die in der Beschreibung der jeweiligen Figur Bezug genommen wird.In the following the invention and exemplary embodiments will be explained in more detail with reference to drawings. There, the same components in different figures are identified by the same reference numerals. It is therefore possible that in the description of a second figure for a particular reference, which has already been explained in connection with another, the first figure, no further explanation. In such a case, it can be assumed in the embodiment of the second figure that the component identified there by this reference symbol also without further explanation in connection with the second figure has the same properties and functionalities as explained in connection with the first figure. Furthermore, for the sake of clarity, not all the reference signs in all figures are shown in part, but only those which are referred to in the description of the respective figure.
Es zeigen:
-
1 eine elektrische Maschine, -
2 eine Speiche eines Rotors der elektrischen Maschine -
3 eine radiale Sicht auf ein erstes Teilvolumen eines Hohlraums des Rotors, -
4 einen Querschnitt der Speiche, -
5 eine weitere Ausführungsform eines Rotors, -
6 eine Detailansicht der weiteren Ausführungsform, -
7 ein Flugzeug mit einem Antriebssystem.
-
1 an electric machine, -
2 a spoke of a rotor of the electric machine -
3 a radial view of a first partial volume of a cavity of the rotor, -
4 a cross section of the spoke, -
5 a further embodiment of a rotor, -
6 a detailed view of the further embodiment, -
7 an airplane with a propulsion system.
Es sei angemerkt, dass sich Begriffe wie „axial“, „radial“, „tangential“ bzw. „in Umfangsrichtung“ etc. auf die in der jeweiligen Figur bzw. im jeweils beschriebenen Beispiel zum Einsatz kommende Welle bzw. Achse beziehen. Mit anderen Worten beziehen sich die Richtungen axial, radial, tangential stets auf eine Drehachse des Rotors. Dabei beschreibt „axial“ eine Richtung parallel zur Rotationsachse, „radial“ beschreibt eine Richtung orthogonal zur Rotationsachse, auf diese zu oder auch von ihr weg, und „tangential“ ist eine Bewegung bzw. Richtung orthogonal zur Achse sowie orthogonal zur radialen Richtung, die also in konstantem radialen Abstand zur Rotationsachse und bei konstanter Axialposition kreisförmig um die Rotationsachse herum gerichtet ist. Die tangentiale Richtung kann ggf. auch als Umfangsrichtung bezeichnet werden.It should be noted that terms such as "axial", "radial", "tangential" and "circumferentially" etc. refer to the shaft or axis used in the respective figure or in the example described in each case. In other words, the directions always relate axially, radially, tangentially to an axis of rotation of the rotor. In this case, "axially" describes a direction parallel to the axis of rotation, "radial" describes a direction orthogonal to, toward or away from the axis of rotation, and "tangential" is a movement or direction orthogonal to the axis and orthogonal to the radial direction Thus, at a constant radial distance from the axis of rotation and at a constant axial position is directed in a circle around the axis of rotation around. The tangential direction may possibly also be referred to as the circumferential direction.
Weiterhin sollen die Begriffe „axial“, „radial“ bzw. „tangential“ im Zusammenhang mit einer Fläche, bspw. einer Oberfläche oder einer Querschnittsfläche, bedeuten, dass der Normalenvektor der jeweiligen axialen, radialen bzw. tangentialen Fläche in axialer, radialer bzw. tangentialer Richtung orientiert ist, wodurch die Orientierung der jeweiligen Fläche im Raum eindeutig beschrieben ist.Furthermore, the terms "axial", "radial" or "tangential" in connection with a surface, for example a surface or a cross-sectional area, mean that the normal vector of the respective axial, radial or tangential surface in the axial, radial or Tangent direction is oriented, whereby the orientation of the respective surface in space is clearly described.
Mit dem Begriff „elektromagnetische Wechselwirkung“ ist die bei einer elektrischen Maschine bekannte Wechselwirkung zwischen den Magnetfeldern der magnetischen Mittel des Rotors, bspw. Permanentmagnete, und den magnetischen Mitteln des Stators, bspw. stromdurchflossene Spulen, gemeint, aufgrund derer der Elektromotor sein Drehmoment entwickelt bzw. aufgrund derer ein Generator einen elektrischen Strom liefert.By the term "electromagnetic interaction" is meant the interaction known in an electrical machine between the magnetic fields of the magnetic means of the rotor, for example permanent magnets, and the magnetic means of the stator, for example current-carrying coils, on the basis of which the electric motor develops or develops its torque due to which a generator supplies an electric current.
Eine „drehfeste“ Verbindung zweier Komponenten, bspw. eines Rotors mit einer Welle, soll sich dadurch auszeichnen, dass sich eine Rotation einer der Komponenten grundsätzlich auf die andere Komponente überträgt. Gleiches gilt für den Fall, dass eine der Komponenten abgebremst wird. In diesem Fall wird aufgrund der drehfesten Verbindung auch die jeweils andere Komponente gebremst. Es kann davon ausgegangen werden, dass die Rotationsfrequenzen bzw. Drehzahlen zweier drehfest miteinander verbundener Komponenten stets identisch sind.A "non-rotatable" connection of two components, for example a rotor with a shaft, should be distinguished by the fact that a rotation of one of the components basically transfers to the other component. The same applies in the event that one of the components is braked. In this case, the other component is also braked due to the rotationally fixed connection. It can be assumed that the rotational frequencies or rotational speeds of two rotatably connected components are always identical.
Weiterhin sei angemerkt, dass im Rahmen der Beschreibung die Begriffe „flüssige Phase“ und „flüssiges Wärmetransportmedium“ synonym verwendet werden und denselben Gegenstand bezeichnen. Gleiches gilt für die Begriffe „gasförmige Phase“ und „gasförmiges Wärmetransportmedium“.It should also be noted that in the context of the description the terms "liquid phase" and "liquid heat transport medium" are used interchangeably and designate the same article. The same applies to the terms "gaseous phase" and "gaseous heat transport medium".
Die
Der Elektromotor
Der Rotor
Der Stator
Die ersten und die zweiten magnetischen Mittel
Die
Die Speiche
Der Hohlraum
Der Hohlraum
Das erste Teilvolumen
Der Hohlraum
Wie in der
Auch in axialer Richtung kann für den Fall, dass sich der Hohlraum
Die
„Im Wesentlichen rechteckig“ soll hier bedeuten, dass die den Hohlraum
Die
Aufgrund dieser Effekte der automatischen Trennung der flüssigen Phase
Insbesondere mit Bezug auf die
Im Normalbetrieb des Rotors
Da aufgrund der Drehung des Rotors
Das entlang der Wand
Auf das somit wieder bereit stehende flüssige Wärmetransportmedium
Das Wärmetransportmedium
Der verfahrenstechnische Zusammenhang des hier gewählten Konzepts liegt in der chemischen Natur des Wärmetransportmediums
Ebenfalls in der
Zur Erhöhung der Verdampfungsfläche direkt am oder im Magnetträger
Es sei angemerkt, dass die sich augenscheinlich aus den Figuren ergebenden Mengen- bzw. Volumenverhältnisse der flüssigen Phase
Die
Die Strebenstruktur
Der kühlere Bereich, zu dem die Wärme abgeführt wird, umfasst also auch in dieser Ausführung zumindest den radial inneren Bereich
Die
Die
ZITATE ENTHALTEN IN DER BESCHREIBUNG QUOTES INCLUDE IN THE DESCRIPTION
Diese Liste der vom Anmelder aufgeführten Dokumente wurde automatisiert erzeugt und ist ausschließlich zur besseren Information des Lesers aufgenommen. Die Liste ist nicht Bestandteil der deutschen Patent- bzw. Gebrauchsmusteranmeldung. Das DPMA übernimmt keinerlei Haftung für etwaige Fehler oder Auslassungen.This list of the documents listed by the applicant has been generated automatically and is included solely for the better information of the reader. The list is not part of the German patent or utility model application. The DPMA assumes no liability for any errors or omissions.
Zitierte PatentliteraturCited patent literature
- WO 2015106993 A1 [0003]WO 2015106993 A1 [0003]
- WO 2015128121 A1 [0003]WO 2015128121 A1 [0003]
- WO 2017025224 A1 [0003]WO 2017025224 A1 [0003]
- DE 102016206909 [0004]DE 102016206909 [0004]
- DE 102016218741 [0007]DE 102016218741 [0007]
Claims (15)
Priority Applications (1)
| Application Number | Priority Date | Filing Date | Title |
|---|---|---|---|
| DE102017223800.3A DE102017223800A1 (en) | 2017-12-27 | 2017-12-27 | Cooling a rotor of an electric machine |
Applications Claiming Priority (1)
| Application Number | Priority Date | Filing Date | Title |
|---|---|---|---|
| DE102017223800.3A DE102017223800A1 (en) | 2017-12-27 | 2017-12-27 | Cooling a rotor of an electric machine |
Publications (1)
| Publication Number | Publication Date |
|---|---|
| DE102017223800A1 true DE102017223800A1 (en) | 2019-06-27 |
Family
ID=66768727
Family Applications (1)
| Application Number | Title | Priority Date | Filing Date |
|---|---|---|---|
| DE102017223800.3A Withdrawn DE102017223800A1 (en) | 2017-12-27 | 2017-12-27 | Cooling a rotor of an electric machine |
Country Status (1)
| Country | Link |
|---|---|
| DE (1) | DE102017223800A1 (en) |
Cited By (1)
| Publication number | Priority date | Publication date | Assignee | Title |
|---|---|---|---|---|
| DE102022111442A1 (en) | 2022-05-09 | 2023-11-09 | eMoSys GmbH | Fluid-cooled, multi-phase permanently excited synchronous machine |
Citations (8)
| Publication number | Priority date | Publication date | Assignee | Title |
|---|---|---|---|---|
| US20110285339A1 (en) * | 2010-05-19 | 2011-11-24 | Searete Llc, A Limited Liability Corporation Of The State Of Delaware | Heat removal from motor components |
| WO2015106993A1 (en) | 2014-01-15 | 2015-07-23 | Siemens Aktiengesellschaft | Redundant drive system |
| WO2015128121A1 (en) | 2014-02-27 | 2015-09-03 | Siemens Aktiengesellschaft | Method for operating an internal combustion engine coupled to a generator, and device for carrying out the method |
| DE102014214136A1 (en) * | 2014-07-21 | 2016-01-21 | Robert Bosch Gmbh | Rotor arrangement for an electrical machine with a cooling device and electric machine |
| DE102015201610A1 (en) * | 2015-01-30 | 2016-08-04 | Siemens Aktiengesellschaft | Cooling device for cooling a high-pole rotor |
| WO2017025224A1 (en) | 2015-08-07 | 2017-02-16 | Siemens Aktiengesellschaft | Drive system and method for driving a means of propulsion of a vehicle by using cryogenic cooling |
| DE102016206909A1 (en) | 2016-04-22 | 2017-10-26 | Siemens Aktiengesellschaft | Power unit component |
| DE102016218741A1 (en) | 2016-09-28 | 2018-03-29 | Siemens Aktiengesellschaft | Electric machine with improved cooling |
-
2017
- 2017-12-27 DE DE102017223800.3A patent/DE102017223800A1/en not_active Withdrawn
Patent Citations (8)
| Publication number | Priority date | Publication date | Assignee | Title |
|---|---|---|---|---|
| US20110285339A1 (en) * | 2010-05-19 | 2011-11-24 | Searete Llc, A Limited Liability Corporation Of The State Of Delaware | Heat removal from motor components |
| WO2015106993A1 (en) | 2014-01-15 | 2015-07-23 | Siemens Aktiengesellschaft | Redundant drive system |
| WO2015128121A1 (en) | 2014-02-27 | 2015-09-03 | Siemens Aktiengesellschaft | Method for operating an internal combustion engine coupled to a generator, and device for carrying out the method |
| DE102014214136A1 (en) * | 2014-07-21 | 2016-01-21 | Robert Bosch Gmbh | Rotor arrangement for an electrical machine with a cooling device and electric machine |
| DE102015201610A1 (en) * | 2015-01-30 | 2016-08-04 | Siemens Aktiengesellschaft | Cooling device for cooling a high-pole rotor |
| WO2017025224A1 (en) | 2015-08-07 | 2017-02-16 | Siemens Aktiengesellschaft | Drive system and method for driving a means of propulsion of a vehicle by using cryogenic cooling |
| DE102016206909A1 (en) | 2016-04-22 | 2017-10-26 | Siemens Aktiengesellschaft | Power unit component |
| DE102016218741A1 (en) | 2016-09-28 | 2018-03-29 | Siemens Aktiengesellschaft | Electric machine with improved cooling |
Cited By (1)
| Publication number | Priority date | Publication date | Assignee | Title |
|---|---|---|---|---|
| DE102022111442A1 (en) | 2022-05-09 | 2023-11-09 | eMoSys GmbH | Fluid-cooled, multi-phase permanently excited synchronous machine |
Similar Documents
| Publication | Publication Date | Title |
|---|---|---|
| WO2017025224A1 (en) | Drive system and method for driving a means of propulsion of a vehicle by using cryogenic cooling | |
| DE102016218741B4 (en) | Electric machine with improved cooling | |
| WO2019020684A1 (en) | ELECTRIC MOTOR WITH COOLING DEVICE | |
| EP3439147B1 (en) | Rotor for an electric machine | |
| DE212014000185U1 (en) | energy converters | |
| WO2018050330A1 (en) | Rotor with coil arrangement and winding support | |
| WO2019141518A1 (en) | Bogie of a rail vehicle | |
| DE102022205029A1 (en) | INTEGRATED TRANSMISSION IN ELECTRIC MOTOR SYSTEMS | |
| DE102016210857A1 (en) | Electric final drive for a vehicle | |
| DE102013208976A1 (en) | Fully integrated electric drive device | |
| DE102020114691A1 (en) | Electromechanical energy converter with cooling of the rotor winding | |
| EP2848879B1 (en) | Cooling device for a super conductor and superconducting synchronous engine | |
| DE102017223800A1 (en) | Cooling a rotor of an electric machine | |
| AT516304B1 (en) | flywheel energy storage | |
| AT512853B1 (en) | Differential drive for an energy recovery plant | |
| EP2226920A2 (en) | Co-generation unit with a combustion piston engine and an electric machine | |
| DE112017005515T5 (en) | COOLING AN ELECTRICAL MACHINE | |
| DE102016214269A1 (en) | wheel hub drive | |
| DE102016222850B4 (en) | Electric machine and motor vehicle | |
| DE102023122599A1 (en) | ROTOR, ELECTRIC ROTARY DEVICE AND DRIVE DEVICE | |
| DE102023111274A1 (en) | Electrically operated axle drive train | |
| DE102020112591A1 (en) | COOLING DEVICE FOR USE IN MAGNETIC ALTERNATING FIELDS, COIL ARRANGEMENT, ELECTRIC MACHINE AND AIRPLANE | |
| DE102014212167A1 (en) | Cooling device for cooling an electric machine with coolant transfer in the radial direction | |
| DE102021121752A1 (en) | Active part with gravity-driven cooling device, electrical machine and motor vehicle | |
| DE102019116174A1 (en) | Energy storage device and method for energy storage |
Legal Events
| Date | Code | Title | Description |
|---|---|---|---|
| R163 | Identified publications notified | ||
| R081 | Change of applicant/patentee |
Owner name: ROLLS-ROYCE DEUTSCHLAND LTD & CO KG, DE Free format text: FORMER OWNER: SIEMENS AKTIENGESELLSCHAFT, 80333 MUENCHEN, DE |
|
| R005 | Application deemed withdrawn due to failure to request examination |
