DE102017213295B4 - IMPROVED SYSTEM FOR CLEANING COMPONENTS USED TO CLEAN INKJET PRINTHEADS IN INKJET PRINTERS - Google Patents
IMPROVED SYSTEM FOR CLEANING COMPONENTS USED TO CLEAN INKJET PRINTHEADS IN INKJET PRINTERS Download PDFInfo
- Publication number
- DE102017213295B4 DE102017213295B4 DE102017213295.7A DE102017213295A DE102017213295B4 DE 102017213295 B4 DE102017213295 B4 DE 102017213295B4 DE 102017213295 A DE102017213295 A DE 102017213295A DE 102017213295 B4 DE102017213295 B4 DE 102017213295B4
- Authority
- DE
- Germany
- Prior art keywords
- shaft
- cord
- components
- component
- cleaning system
- Prior art date
- Legal status (The legal status is an assumption and is not a legal conclusion. Google has not performed a legal analysis and makes no representation as to the accuracy of the status listed.)
- Active
Links
Images
Classifications
-
- B—PERFORMING OPERATIONS; TRANSPORTING
- B41—PRINTING; LINING MACHINES; TYPEWRITERS; STAMPS
- B41J—TYPEWRITERS; SELECTIVE PRINTING MECHANISMS, i.e. MECHANISMS PRINTING OTHERWISE THAN FROM A FORME; CORRECTION OF TYPOGRAPHICAL ERRORS
- B41J2/00—Typewriters or selective printing mechanisms characterised by the printing or marking process for which they are designed
- B41J2/005—Typewriters or selective printing mechanisms characterised by the printing or marking process for which they are designed characterised by bringing liquid or particles selectively into contact with a printing material
- B41J2/01—Ink jet
- B41J2/135—Nozzles
- B41J2/165—Prevention or detection of nozzle clogging, e.g. cleaning, capping or moistening for nozzles
- B41J2/16517—Cleaning of print head nozzles
- B41J2/16552—Cleaning of print head nozzles using cleaning fluids
-
- B—PERFORMING OPERATIONS; TRANSPORTING
- B41—PRINTING; LINING MACHINES; TYPEWRITERS; STAMPS
- B41J—TYPEWRITERS; SELECTIVE PRINTING MECHANISMS, i.e. MECHANISMS PRINTING OTHERWISE THAN FROM A FORME; CORRECTION OF TYPOGRAPHICAL ERRORS
- B41J2/00—Typewriters or selective printing mechanisms characterised by the printing or marking process for which they are designed
- B41J2/005—Typewriters or selective printing mechanisms characterised by the printing or marking process for which they are designed characterised by bringing liquid or particles selectively into contact with a printing material
- B41J2/01—Ink jet
- B41J2/135—Nozzles
- B41J2/165—Prevention or detection of nozzle clogging, e.g. cleaning, capping or moistening for nozzles
- B41J2/16517—Cleaning of print head nozzles
- B41J2/16535—Cleaning of print head nozzles using wiping constructions
-
- B—PERFORMING OPERATIONS; TRANSPORTING
- B41—PRINTING; LINING MACHINES; TYPEWRITERS; STAMPS
- B41J—TYPEWRITERS; SELECTIVE PRINTING MECHANISMS, i.e. MECHANISMS PRINTING OTHERWISE THAN FROM A FORME; CORRECTION OF TYPOGRAPHICAL ERRORS
- B41J2/00—Typewriters or selective printing mechanisms characterised by the printing or marking process for which they are designed
- B41J2/005—Typewriters or selective printing mechanisms characterised by the printing or marking process for which they are designed characterised by bringing liquid or particles selectively into contact with a printing material
- B41J2/01—Ink jet
- B41J2/135—Nozzles
- B41J2/165—Prevention or detection of nozzle clogging, e.g. cleaning, capping or moistening for nozzles
- B41J2/16517—Cleaning of print head nozzles
- B41J2/16535—Cleaning of print head nozzles using wiping constructions
- B41J2002/1655—Cleaning of print head nozzles using wiping constructions with wiping surface parallel with nozzle plate and mounted on reels, e.g. cleaning ribbon cassettes
-
- B—PERFORMING OPERATIONS; TRANSPORTING
- B41—PRINTING; LINING MACHINES; TYPEWRITERS; STAMPS
- B41J—TYPEWRITERS; SELECTIVE PRINTING MECHANISMS, i.e. MECHANISMS PRINTING OTHERWISE THAN FROM A FORME; CORRECTION OF TYPOGRAPHICAL ERRORS
- B41J2/00—Typewriters or selective printing mechanisms characterised by the printing or marking process for which they are designed
- B41J2/005—Typewriters or selective printing mechanisms characterised by the printing or marking process for which they are designed characterised by bringing liquid or particles selectively into contact with a printing material
- B41J2/01—Ink jet
- B41J2/135—Nozzles
- B41J2/165—Prevention or detection of nozzle clogging, e.g. cleaning, capping or moistening for nozzles
- B41J2/16517—Cleaning of print head nozzles
- B41J2/16552—Cleaning of print head nozzles using cleaning fluids
- B41J2002/16558—Using cleaning liquid for wet wiping
Landscapes
- Ink Jet (AREA)
Abstract
Ein System in einem Tintenstrahldrucker reinigt Komponenten in einem Druckkopfreinigungssystem. Das System enthält einen rechteckigen Rahmen, einen Aktuator, der mit einem bidirektional rotierendem Ausgabeschaft eingerichtet ist, einen Schaft, der mit dem rotierenden Ausgabeschaft verbunden ist, ein Spülbauteil, das pneumatisch mit einer Flüssigkeitsquelle verbunden ist, um einer Flüssigkeit von der Fluidquelle zu ermöglichen, zu dem Bauteil zu fließen und durch Öffnungen in dem Spülbauteil hindurch auszutreten. Schnüre sind mit dem Schaft und dem Bauteil verbunden, um das Spülbauteil von einer ersten Position an einem Ende des Rahmens zu einer zweiten Position an einem anderen Ende des Rahmens zu bewegen, während der Ausgabeschaft des Aktuators in eine Richtung rotiert. Flüssigkeit wird durch die Öffnungen in dem Spülbauteil hindurch freigesetzt, um Komponenten eines Druckkopfreinigungssystems zu reinigen, während sich das Spülbauteil bewegt. Der Aktuator wird umgekehrt, um das Spülbauteil zu der ersten Position zurückzubewegen. A system in an inkjet printer cleans components in a printhead cleaning system. The system includes a rectangular frame, an actuator configured with a bidirectionally rotating output shaft, a shaft connected to the rotating output shaft, and a purge member pneumatically connected to a fluid source to allow fluid from the fluid source to flow to the component and exit through openings in the purge member. Cords are connected to the shaft and the member to move the purge member from a first position at one end of the frame to a second position at another end of the frame while the output shaft of the actuator rotates in one direction. Fluid is released through the openings in the purge member to clean components of a printhead cleaning system as the purge member moves. The actuator is reversed to move the purge member back to the first position.
Description
Diese Anmeldung beansprucht die Priorität der provisorischen US-Patentanmeldung, die die Seriennummer 62/369,892 hat, die den Titel „
Tintenstrahldrucker haben einen oder mehrere Druckköpfe, die Tropfen flüssigen Materials, allgemein als Tinte bezeichnet, auf ein Substrat oder zuvor ausgestoßene Materialtropfen ausstoßen. Jeder Druckkopf enthält eine Vielzahl von Tintenstrahlern, die typischerweise in einem Feld angeordnet sind. Jeder Tintenstrahler hat eine Düse, die mit einer Öffnung in einer Blende des Druckkopfs kommuniziert, um zu ermöglichen, dass ein oder mehrere Tropfen Materials von dem Tintenstrahler und durch die Öffnung hindurch, mit der die Tintenstrahldüse in der Blende kommuniziert, ausgeworfen werden können. Die Tintenstrahler können in einer Vielfalt unterschiedlicher Konfigurationen, die dem Fachmann bekannt sind, implementiert werden. Einige gut bekannte Konfigurationen verwenden piezoelektrische und thermische Auswerfer in den Tintenstrahlern.Inkjet printers have one or more printheads that eject drops of liquid material, commonly referred to as ink, onto a substrate or previously ejected drops of material. Each printhead contains a plurality of inkjets, typically arranged in an array. Each inkjet has a nozzle that communicates with an opening in an aperture of the printhead to allow one or more drops of material to be ejected from the inkjet and through the opening with which the inkjet nozzle communicates in the aperture. The inkjets can be implemented in a variety of different configurations known to those skilled in the art. Some well-known configurations utilize piezoelectric and thermal ejectors in the inkjets.
Ein Teil der Tinte, die von den Tintenstrahlern ausgeworfen wird, klebt an der Blende an und kann Staub und andere Ablagerungen sammeln. Falls die Tinte und die Ablagerungen nicht von der Blende entfernt werden, können die Resttinte und Ablagerungen ein oder mehrere Öffnungen in der Blende versperren. Druckkopfreinigung wird typischerweise innerhalb einer Wartungsstation, die innerhalb des Druckergehäuses montiert ist, ausgeführt, sodass der Druckkopf und die Wartungsstation relativ zu einander zum Reinigen bewegt werden können. Die meisten Wartungsstationen enthalten Wischer, die sich über die Blenden der Druckköpfe hinwegbewegen, um Resttinte und Ablagerungen, die sich auf den Blenden gesammelt haben, zu entfernen. Die Wischer sind positioniert, um die Resttinte und Ablagerungen in einen Behälter zum Sammeln zu lenken. Der Behälter wird von Zeit zu Zeit entfernt und gereinigt.Some of the ink ejected from the inkjets sticks to the aperture and can collect dust and other debris. If the ink and debris are not removed from the aperture, the residual ink and debris can block one or more openings in the aperture. Printhead cleaning is typically performed within a service station mounted inside the printer body so that the printhead and service station can be moved relative to each other for cleaning. Most service stations contain wipers that move across the printhead apertures to remove residual ink and debris that has collected on the apertures. The wipers are positioned to direct the residual ink and debris into a receptacle for collection. The receptacle is removed and cleaned periodically.
Tintenstrahldrucker mit einer konventionellen Reinigungsfunktion werden beispielsweise in den Veröffentlichungsschriften
Die Patentveröffentlichungsschrift
Die Patentveröffentlichungsschrift
Die Wischer und Komponenten, die die Wischer unterstützen und manövrieren, sammeln auch Resttinte und Ablagerungen. Deshalb benötigen die Wischer und zugehörige Komponenten ebenfalls Reinigung. Techniker führen diese Reinigung typischerweise täglich aus und die Ergebnisse können von Techniker zu Techniker variieren. Bei Tintenstrahldruckern ist ein effizientes Reinigen der Wischer und zugehöriger Komponenten ohne Benutzereingriff oder weiteres Kontaminieren anderer Komponenten in dem Drucker vorteilhaft.The wipers and components that support and maneuver the wipers also collect residual ink and debris. Therefore, the wipers and associated components also require cleaning. Technicians typically perform this cleaning daily, and results can vary from technician to technician. For inkjet printers, efficient cleaning of the wipers and associated components without user intervention or further contaminating other components in the printer is beneficial.
Ein vorteilhaftes und effizientes Reinigen der Wischer und zugehöriger Komponenten ohne Benutzereingriff oder weiteres Kontaminieren wird durch Bereitstellen eines verbesserten Systems zum Reinigen von Komponenten, die zum Reinigen von Tintenstrahldruckköpfen in Tintenstrahldruckern verwendet werden, gemäß Anspruch 1 erreicht. Bevorzugte Ausführungsformen werden in den abhängigen Ansprüchen beansprucht.Advantageous and efficient cleaning of the wipers and associated components without user intervention or further contamination is achieved by providing an improved system for cleaning components used to clean inkjet printheads in inkjet printers according to claim 1. Preferred embodiments are claimed in the dependent claims.
Insbesondere enthält ein Reinigungssystem, das ein effizientes Reinigen der Komponenten ermöglicht, die verwendet werden, um Druckköpfe in einem Tintenstrahldrucker zu reinigen, ein Paar paralleler Bauteile, mindestens zwei Querbauteile, die das Paar paralleler Bauteile schneiden, um einen Rahmen zu bilden, einen Aktuator, der mit einem bidirektional rotierenden Ausgabeschaft eingerichtet ist, einen Schaft, der mit dem rotierenden Ausgabeschaft des Aktuators wirkverbunden ist, um mit dem Ausgabeschaft zu rotieren, wenn er rotiert, ein Bauteil, das eine Vielzahl von Öffnungen hat, wobei das Bauteil pneumatisch mit einer Flüssigkeitsquelle verbunden ist, um einer Flüssigkeit zu ermöglichen, von der Flüssigkeitsquelle zu dem Bauteil zu fließen und durch die Öffnungen hindurch auszutreten, wobei das Bauteil parallel zu den mindestens zwei Querbauteilen ist, und mindestens eine Schnur, die ein erstes Ende und ein zweites Ende hat, wobei das erste Ende und das zweite Ende um den Schaft in entgegengesetzte Richtungen gewickelt sind und die mindestens eine Schnur mit dem Bauteil wirkverbunden ist, um dem Aktuator zu ermöglichen, den Schaft zu rotieren und das Bauteil von einer ersten Position an einem Ende des Paars paralleler Bauteile zu einer zweiten Position am anderen Ende des Paars paralleler Bauteile zu bewegen, während die Flüssigkeit durch die Öffnungen in dem Bauteil hindurch austritt, und das Bauteil zu der ersten Position zurückzubewegen.In particular, a cleaning system that enables efficient cleaning of the components used to clean printheads in an inkjet printer includes a pair of parallel members, at least two transverse members intersecting the pair of parallel members to form a frame, an actuator configured with a bidirectionally rotating output shaft, a shaft operatively connected to the rotating output shaft of the actuator to rotate with the output shaft as it rotates, a member having a plurality of openings, the member being pneumatically connected to a fluid source to allow fluid to flow from the fluid source to the member and exit through the openings, the member being parallel to the at least two transverse members, and at least one cord having a first end and a second end, the first end and the second end being wrapped around the shaft in opposite directions, and the at least one cord being operatively connected to the member to allow the actuator to rotate the shaft and the member from a first position at one end of the pair of parallel members to a second position at the other end of the pair of parallel members while the liquid exits through the openings in the member, and to return the member to the first position.
Die vorgenannten Aspekte und andere Merkmale eines Reinigungssystems, das effizient Komponenten reinigt, die zum Reinigen von Druckköpfen in dem Drucker verwendet werden, sind in der folgenden Beschreibung, in Verbindung mit den beigefügten Zeichnungen, erläutert.
-
1 ist eine Perspektivansicht eines Systems, das Komponenten, die zum Reinigen der Blende einer oder mehrerer Druckköpfe in einem Tintenstrahldrucker verwendet werden, reinigt. -
2 ist eine Querschnittsansicht eines rotierenden Schafts in dem System aus1 . -
3 ist eine Bodenansicht des in2 gezeigten Schafts und Spülbauteils. -
4A ist eine Perspektivansicht eines Spannmechanismus in dem System aus1 . -
4B ist eine seitliche Perspektivansicht des Spannmechanismus, der in4A gezeigt ist. -
4C ist eine Perspektivansicht des Spannmechanismus, der in4A gezeigt ist, von unterhalb des Mechanismus. -
4D ist eine seitliche Perspektivansicht des Spannmechanismus, der in4A gezeigt ist, von oberhalb des Mechanismus. -
5 ist eine Perspektivansicht eines Behälters, der positioniert ist, um Flüssigkeit von dem in1 gezeigten System zu sammeln.
-
1 is a perspective view of a system that cleans components used to clean the aperture of one or more printheads in an inkjet printer. -
2 is a cross-sectional view of a rotating shaft in the system of1 . -
3 is a ground view of the2 shown shaft and flushing component. -
4A is a perspective view of a clamping mechanism in the system of1 . -
4B is a side perspective view of the clamping mechanism used in4A is shown. -
4C is a perspective view of the clamping mechanism used in4A shown from below the mechanism. -
4D is a side perspective view of the clamping mechanism used in4A shown from above the mechanism. -
5 is a perspective view of a container positioned to transfer liquid from the1 system shown.
Für ein allgemeines Verständnis der vorliegenden Ausführungsformen wird auf die Zeichnungen Bezug genommen. In den Zeichnungen wurden durchgehend ähnliche Bezugszeichen verwendet, um ähnliche Elemente zu kennzeichnen.For a general understanding of the present embodiments, reference is made to the drawings. Throughout the drawings, similar reference numerals have been used to identify similar elements.
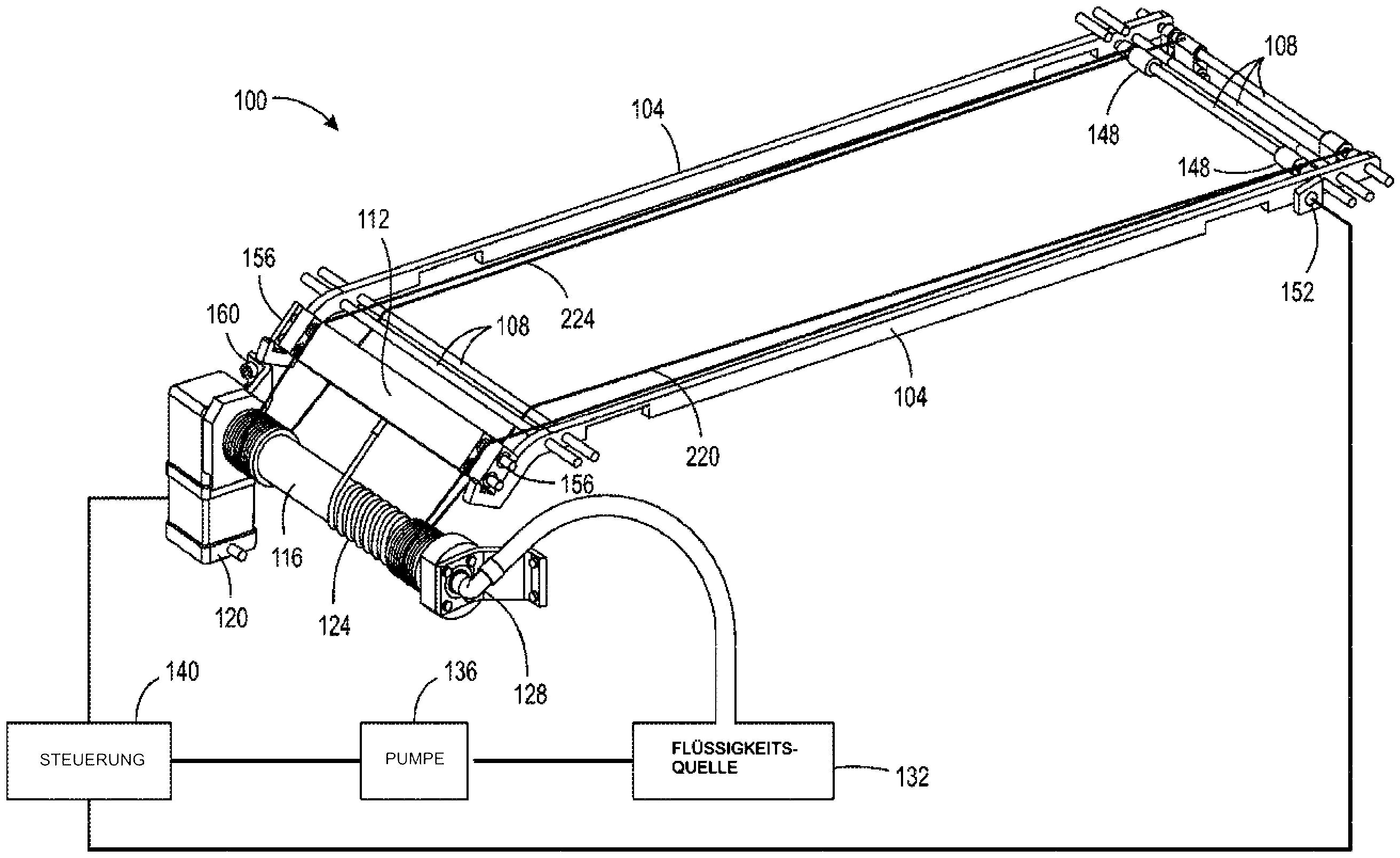
Unter weiterer Bezugnahme auf
Unter Bezugnahme auf
Jede mechanische Verknüpfung arbeitet um zwei Achsen herum, von denen eine fest ist und durch das Querbauteil, um das die Verknüpfung herum montiert ist, definiert ist, und die andere rotiert um das Querbauteil und ist durch den Schaft 420 definiert. Die Umlenkrollen 412 führen die Schnur 220 und stellen eine verringerte Reibung sicher, wenn sich die Schnur bewegt, weil der Schaft 116 rotiert. Die Schnur 220 wird um die Umlenkrollen 412 verlegt, um Spannstabilität sicherzustellen, während die Länge des Pfads der Schnur variiert, wenn die Spülstange 112 ihre Position nahe des Aktuators 120 verlässt und sich entlang der Führungsschienen 104 bewegt. Während sich die Schnurpfadlänge verringert, bewegen Torsionsfedern 416 den rotierenden Schaft 420 abwärts, um die Schnurpfadlängenvariation auszugleichen und Spannung in der Schnur aufrechtzuerhalten. Während sich die Schnurpfadlänge vergrößert, werden die Torsionsfedern 416 komprimiert und der rotierende Schaft 420 bewegt sich aufwärts, um die Schnurpfadlängenvariation auszugleichen und die Spannungserhöhung in der Schnur zu begrenzen. Die Spannmechanismen 148 ermöglichen es der Nennspannung der Schnüre 220 und 224 auch, angepasst zu werden.Each mechanical linkage operates around two axes, one of which is fixed and defined by the cross member around which the linkage is mounted, and the other of which rotates around the cross member and is defined by the
Im Betrieb wird das Druckkopfreinigungssystem von Zeit zu Zeit bewegt, sodass die Spülstange 112 des Reinigungssystems 100 über das Druckkopfreinigungssystem hinweg laufen kann. Sobald es platziert ist, betreibt die Steuerung 140 den Aktuator 120, um in die Richtung entgegen dem Uhrzeigersinn zu rotieren, um den Abschnitt der Schnüre 220 und 224, die um die geriffelten Muttern 216 an den Enden des Schafts 116 im Uhrzeigersinn gerollt sind, abzuwickeln. Während dieses Abwickeln der Schnüre stattfindet, empfangen die anderen Enden der Schnüre 220 und 224 einen Abschnitt der Schnüre und rollen sie um den anderen Abschnitt der geriffelten Muttern auf den Enden des Schafts an dem zweiten Ende der Schnüre herum. Die Spannmechanismen 148 halten die Schnüre stramm, während dieses Abwickeln und Aufwickeln der Schnüre stattfinden und die Räder 156 des Spülbauteils 112 rollen entlang dem Paar Führungsschienen 104. Die Steuerung 140 betreibt auch die Pumpe 136, um Reinigungsflüssigkeit von der Flüssigkeitsquelle 132 in den Verbindungsgang 208 des Schafts 116 und Rohr 124 zu bewegen, damit sie in das Spülbauteil 112 gelangt. Der Druck der fließenden Reinigungsflüssigkeit ermöglicht den Öffnungen 228 in dem Spülbauteil, die Reinigungsflüssigkeit auf die Komponenten des Druckkopfreinigungssystems freizusetzen und der Behälter beginnt, die Flüssigkeit zu empfangen, während sie von den Komponenten tropft. Wenn die Steuerung 140 ein Signal von dem Sensor 152 empfängt, dass das Spülbauteil 112 das entfernte Ende des Rahmens erreicht hat, betreibt die Steuerung 140 den Aktuator 120, die Richtung der Rotation seines Ausgabeschafts umzukehren. Diese Rotation im Uhrzeigersinn wickelt den Abschnitt der Schnüre 220 und 224, die entgegen dem Uhrzeigersinn um die geriffelten Muttern 216 an den Enden des Schafts 116 gerollt sind, ab. Während diese Abwicklung der Schnüre stattfindet, empfangen die anderen Enden der Schnüre 220 und 224 einen Abschnitt der Schnüre und rollen sie um die geriffelten Muttern 216 an den Enden des Schafts 166 an den ersten Enden der Schnüre. Die Spannmechanismen 148 halten die Schnüre stramm, während dieses Abwickeln und Aufwickeln der Schnüre stattfindet, und die Räder 156 des Spülbauteils 112 rollen entlang einem Paar Führungsschienen 104, um das Spülglied 112 zur ersten Position zurückzubewegen. Wenn die Steuerung 140 feststellt, dass das Signal von dem Sensor 160 anzeigt, dass das Spülbauteil 112 seine erste Position erreicht hat, deaktiviert es den Aktuator 120 und die Pumpe 136. Das Druckkopfreinigungssystem kann an eine Position zurückbewegt werden, wo es verwendet werden kann, um die Blenden von Druckköpfen zu reinigen.In operation, the printhead cleaning system is moved from time to time so that the
Claims (10)
Applications Claiming Priority (4)
| Application Number | Priority Date | Filing Date | Title |
|---|---|---|---|
| US201662369892P | 2016-08-02 | 2016-08-02 | |
| US62/369,892 | 2016-08-02 | ||
| US15/228,431 US10046566B2 (en) | 2016-08-02 | 2016-08-04 | System for cleaning components used to clean inkjet printheads in inkjet printers |
| US15/228,431 | 2016-08-04 |
Publications (2)
| Publication Number | Publication Date |
|---|---|
| DE102017213295A1 DE102017213295A1 (en) | 2018-02-08 |
| DE102017213295B4 true DE102017213295B4 (en) | 2025-05-28 |
Family
ID=60996375
Family Applications (1)
| Application Number | Title | Priority Date | Filing Date |
|---|---|---|---|
| DE102017213295.7A Active DE102017213295B4 (en) | 2016-08-02 | 2017-08-01 | IMPROVED SYSTEM FOR CLEANING COMPONENTS USED TO CLEAN INKJET PRINTHEADS IN INKJET PRINTERS |
Country Status (1)
| Country | Link |
|---|---|
| DE (1) | DE102017213295B4 (en) |
Citations (5)
| Publication number | Priority date | Publication date | Assignee | Title |
|---|---|---|---|---|
| US6810889B2 (en) * | 2001-04-16 | 2004-11-02 | Hercules Systems, Inc. | Vehicle washing apparatus |
| DE60319337T2 (en) * | 2003-03-06 | 2009-03-05 | Hewlett-Packard Development Co., L.P., Houston | Printer maintenance system and procedure |
| US20090179950A1 (en) * | 2008-01-16 | 2009-07-16 | Silverbrook Research Pty Ltd | Printhead maintenance facility with nozzle face wiper having single skew blade |
| US8777214B2 (en) * | 2011-09-15 | 2014-07-15 | Konica Minolta, Inc. | Sheet feeder and image forming apparatus |
| US20180037031A1 (en) * | 2016-08-02 | 2018-02-08 | Xerox Corporation | System for cleaning components used to clean inkjet printheads in inkjet printers |
-
2017
- 2017-08-01 DE DE102017213295.7A patent/DE102017213295B4/en active Active
Patent Citations (5)
| Publication number | Priority date | Publication date | Assignee | Title |
|---|---|---|---|---|
| US6810889B2 (en) * | 2001-04-16 | 2004-11-02 | Hercules Systems, Inc. | Vehicle washing apparatus |
| DE60319337T2 (en) * | 2003-03-06 | 2009-03-05 | Hewlett-Packard Development Co., L.P., Houston | Printer maintenance system and procedure |
| US20090179950A1 (en) * | 2008-01-16 | 2009-07-16 | Silverbrook Research Pty Ltd | Printhead maintenance facility with nozzle face wiper having single skew blade |
| US8777214B2 (en) * | 2011-09-15 | 2014-07-15 | Konica Minolta, Inc. | Sheet feeder and image forming apparatus |
| US20180037031A1 (en) * | 2016-08-02 | 2018-02-08 | Xerox Corporation | System for cleaning components used to clean inkjet printheads in inkjet printers |
Also Published As
| Publication number | Publication date |
|---|---|
| DE102017213295A1 (en) | 2018-02-08 |
Similar Documents
| Publication | Publication Date | Title |
|---|---|---|
| DE60301603T2 (en) | Maintenance procedure for an inkjet printhead | |
| DE10028318B4 (en) | Method and apparatus for cleaning a printhead of an inkjet printer | |
| DE69319065T2 (en) | Cleaning device with wiper blade for a color jet print head | |
| DE60300063T2 (en) | Ink jet recording apparatus | |
| DE19749670B4 (en) | A system for wet cleaning a printhead wherein a printhead treatment fluid is applied without direct contact | |
| DE3128366C2 (en) | ||
| DE69320439T2 (en) | Trolley for the cover device of an inkjet printer maintenance station | |
| DE60102860T2 (en) | Solvent dispenser for conveyor belt cleaner and application process | |
| DE3030795C2 (en) | ||
| DE10147999B4 (en) | Inkjet cover with vent | |
| DE69508454T2 (en) | Improved cleaning device and an ink jet recording device provided therewith | |
| DE10152591A1 (en) | Pressure compensation device for ink cartridges of inkjet printers | |
| DE60122093T2 (en) | A waiting station for printers with ejection nozzles perpendicular to the carriage movement direction | |
| DE102017213295B4 (en) | IMPROVED SYSTEM FOR CLEANING COMPONENTS USED TO CLEAN INKJET PRINTHEADS IN INKJET PRINTERS | |
| US10668730B2 (en) | System for cleaning components used to clean inkjet printheads in inkjet printers | |
| DE2613149A1 (en) | DEVICE FOR CLEANING CONVEYOR BELTS | |
| DE602006000911T2 (en) | Imaging device | |
| WO1999004975A2 (en) | Method and device for covering and cleaning the nozzles of an ink-jet print head | |
| DE602005000725T2 (en) | Ink jet recording apparatus | |
| DE602005000446T2 (en) | Ink jet recording apparatus and its maintenance mechanism | |
| DE60014488T2 (en) | Screen printing device with a cleaning unit that can be replaced within a stencil | |
| DE3142700C2 (en) | Paper guide for printer | |
| DE3712923A1 (en) | THERMAL INK PRINTER | |
| DE102012106416A1 (en) | Printer for printing image on recording medium, has collecting container comprising tank for humidification liquid, which is passed from tank into space between pressure latch and collecting container | |
| DE2756334B2 (en) | Device for covering the nozzle surface on an ink writing head in an ink writing mechanism |
Legal Events
| Date | Code | Title | Description |
|---|---|---|---|
| R082 | Change of representative |
Representative=s name: GRUENECKER PATENT- UND RECHTSANWAELTE PARTG MB, DE |
|
| R012 | Request for examination validly filed | ||
| R016 | Response to examination communication | ||
| R018 | Grant decision by examination section/examining division |
